
ГОСУДАРСТВЕННЫЙ СТАНДАРТ СОЮЗА ССР
ПРОГРАММА И МЕТОДИКА ИСПЫТАНИЙ
СИЛЬФОННЫХ КОМПЕНСАТОРОВ
И УПЛОТНЕНИЙ
ОБЩИЕ ТРЕБОВАНИЯ
ГОСТ 28697-90
ГОСУДАРСТВЕННЫЙ КОМИТЕТ СССР ПО
УПРАВЛЕНИЮ
КАЧЕСТВОМ ПРОДУКЦИИ И СТАНДАРТАМ
Москва
ГОСУДАРСТВЕННЫЙ СТАНДАРТ СОЮЗА ССР
|
ПРОГРАММА И МЕТОДИКА ИСПЫТАНИЙ СИЛЬФОННЫХ КОМПЕНСАТОРОВ И УПЛОТНЕНИЙ Общие требования Programme and test methods of
bellows |
ГОСТ |
Дата введения 01.01.92
Настоящий стандарт распространяется на программу и методику контрольных испытаний сильфонных компенсаторов и металлических уплотнений, проводимых на этапах их разработки и производства.
Стандарт устанавливает общие требования, необходимые виды испытаний, последовательность, правила и условия их проведения, а также порядок оформления результатов.
Стандарт не распространяется на предварительные и типовые испытания, которые должны проводиться по специальным программам.
Термины и определения, используемые в настоящем стандарте, приведены в приложении 1.
Положения настоящего стандарта являются обязательными.
1.1. В процессе создания сильфонных металлических компенсаторов и уплотнений (далее - СК и УП), а также их производства в общем случае следует проводить приемочные, квалификационные, приемосдаточные и периодические испытания.
По данному стандарту проводят также арбитражные испытания. Определение арбитражных испытаний и порядок организации их проведения приведены в п. 1.5.
1.2. По уровню проведения приемочные испытания могут быть: государственные, межведомственные, ведомственные.
Приемочные испытания проводятся приемочными комиссиями, назначенными приказом руководителя предприятия-разработчика. Государственные приемочные комиссии назначаются министерством (ведомством) - разработчиком продукции.
1.3. Приемочные испытания не проводят в случаях:
1) модернизации продукции путем изменений, вносимых в конструкцию изделия, его материальное исполнение или технологический процесс изготовления;
2) создания типоразмерного ряда на базе ранее поставленного на производство изделия или расширения существующего типоразмерного ряда одним или несколькими изделиями, отличающимися значениями условного прохода (Dу) и (или) условного давления (Py)
Примечания:
1. По перечислению 1 в установленном порядке назначаются типовые испытания данной продукции.
2. По перечислению 2 допускается проведение приемочных испытаний вновь разработанных типоразмеров СК и УП, что оговаривается в техническом задании на их разработку.
1.4. Квалификационные испытания не проводят:
1) при изготовлении опытных образцов для приемочных испытаний предприятием, назначенным в качестве изготовителя данной продукции;
2) при изготовлении образцов продукции для типовых испытаний предприятием - изготовителем данной продукции.
1.6. Приемочные, квалификационные, периодические и арбитражные испытания проводят на образцах единичных изделий или на типовых представителях групп однородной продукции (подконтрольных партий продукции).
Примечание. Отбор образцов продукции на испытания из числа типовых представителей (подконтрольных партий) проводится методом однократной выборки с учетом требований ГОСТ 18321.
1.8. В общем случае продукция (СК, УП) считается однородной, если она характеризуется:
1) общностью конструктивно-технологического решения, под которой в данном случае понимается единая конструкция сильфона и единый технологический процесс изготовления данной группы изделий;
2) одинаковым материальным исполнением основных составных частей изделий (сильфон, присоединительная арматура);
3) общностью функционального назначения, под которой понимается способность обеспечить перемещение одного и того же вида: осевой ход, сдвиг, угловой ход (поворот) или их комбинации, независимо от типов изделий.
Примечания:
1. Масштабные изменения конструкции изделий в пределах типоразмерного ряда (по Dy, Ру) признаками неоднородности не являются.
2. В общем случае группу однородной продукции могут составить несколько единичных изделий, типоразмерный ряд изделий или несколько типоразмерных рядов.
1.9. Испытания следует проводить в порядке, установленном приложением 2; порядок оформления, представления и утверждения документов по результатам испытаний приведен в приложении 3.
Типовые формы актов приемочных комиссий приведены в приложениях 4, 5.
1.10. К началу проведения приемосдаточных испытаний производственным персоналом предприятия - изготовителя СК, УП должно быть проверено:
1) соответствие технологического процесса изготовления продукции требованиям технологической документации, действующей на момент начала испытаний;
2) полнота пооперационного контроля, выполняемого в процессе изготовления изделий;
3) соответствие продукции требованиям конструкторской документации, включая основные размеры, испытания на прочность и герметичность, внешний вид и маркировку;
4) исправность испытательного оборудования и средств измерения.
1) аттестацию испытательного подразделения;
2) материально-техническое и метрологическое обеспечение испытаний;
3) изготовление опытных образцов или образцов продукции (типовых представителей) и приемку их службой технического контроля предприятия-изготовителя;
4) назначение приемочной комиссии и создание необходимых условий для ее работы - при проведении приемочных испытаний;
5) назначение ответственного сдатчика испытываемых опытных образцов изделий - при проведении приемочных испытаний;
6) назначение ответственного лица за проведение квалификационных, периодических и других испытаний продукции;
7) подготовку документации в соответствии с табл. 1 и технологического оснащения, необходимого для выполнения испытаний.
Таблица 1
|
Виды испытаний |
||||
|
приемочные |
квалификационные |
приемосдаточные |
периодические и другие |
|
|
Техническое задание на разработку СК (УП) и все дополнения к нему (при наличии) |
+ |
- |
- |
- |
|
Проект НТД на продукцию |
+ |
- |
- |
- |
|
НТД на продукцию |
- |
+ |
+ |
+ |
|
Материалы предварительных испытаний (в случае их проведения) |
+ |
- |
- |
- |
|
Акт приёмочных испытаний |
- |
+ |
- |
- |
|
Комплект КД |
+ |
+ |
+ |
+ |
|
Комплект ТД |
- |
- |
+ |
- |
|
Типовая (или частная) программа и методика испытаний (в случае разработки) |
+ |
+ |
+ |
+ |
|
Карта технического уровня и качества продукции по ГОСТ 2.116 |
+ |
+ |
- |
- |
|
Паспорт (паспорта) на образцы изделий или типовые представители группы однородной продукции с отметкой о проверке или приемке их службой технического контроля |
+ |
+ |
- |
+ |
|
Материалы пооперационной приемки в процессе изготовления |
- |
- |
+ |
- |
|
Акт отбора образцов на испытания |
- |
- |
- |
+ |
|
Документы, подтверждающие соответствие применяемых материалов нормативно-техническим документам на материал |
+ |
+ |
+ |
+ |
|
Документы, подтверждающие аттестацию испытательных стендов и поверку средств измерения |
+ |
+ |
+ |
+ |
|
Материалы испытаний головной организации по государственным испытаниям* |
+ |
- |
- |
- |
|
Приказ (решение) о назначении приемочной комиссии |
+ |
- |
- |
- |
|
Приказ (распоряжение) о назначении ответственного сдатчика |
+ |
- |
- |
- |
|
Приказ (распоряжение) о назначении ответственного лица за проведение испытаний |
- |
+ |
- |
+ |
__________
* ГОГИП передает материалы испытаний, протоколы испытаний и заключения в распоряжение приемочной комиссии по ее запросу.
Примечания:
1. Знак «+» означает, что документ представляется, знак «-» - документ не представляется.
2. По требованию приемочной комиссии должны представляться и другие документы, если их разработка предусмотрена ТЗ - для приемочных испытаний.
1.12. Назначение ответственного лица за проведение квалификационных, периодических и других испытаний продукции должно проводиться приказом (распоряжением) руководителя предприятия-изготовителя.
Назначение ответственного сдатчика должно проводиться приказом (распоряжением) руководителя предприятия, проводящего испытания.
1.13. Испытания следует проводить в закрытых отапливаемых помещениях при температуре окружающего воздуха (293 ± 10) К ((20 ± 10) °С).
1.15. Испытания следует проводить с применением имитаторов рабочих сред (питьевая вода, атмосферный воздух), если применение конкретной испытательной среды не указано в НТД на данную продукцию.
2.1. Объект испытаний
2.1.1. Объектом испытания являются:
1) опытные образцы единичных изделий или образцы - типовые представители групп однородной продукции (далее - опытные образцы) - при приемочных испытаниях;
2) образцы единичных изделий или образцы - типовые представители групп однородной продукции, впервые осваиваемые данным предприятием (далее - образцы осваиваемой продукции) - при квалификационных испытаниях;
3) образцы единичных изделий или образцы - типовые представители групп однородной продукции, выпускаемых данным предприятием (далее - образцы выпускаемой продукции) - при периодических испытаниях готовой продукции;
4) образцы изделий по перечислениям 1-3, планируемые для поставки на экспорт;
5) выпускаемая продукция в объеме изготовленных партий - при приемосдаточных испытаниях;
6) образцы конкретной продукции, по которой в установленном порядке должна быть проведена независимая оценка качества, - при арбитражных и других видах контрольных испытаний (экспертиз).
2.1.2. Приемосдаточным испытаниям следует подвергать каждую партию продукции.
2.1.3. Испытаниям всех видов (кроме приемосдаточных) подвергают не менее двух образцов каждого единичного изделия, конкретного изделия (типоразмера) или типового представителя группы однородной продукции. На каждом образце наносят индекс «И», означающий принадлежность изделия к испытаниям. Количество образцов, подлежащих испытаниям, должно соответствовать указанному в НТД на данную продукцию.
2.2. Контролируемые параметры и характеристики
2.2.1. В общем случае состав испытаний и последовательность проверок должны соответствовать указанным в табл. 2, если другие испытания не предусмотрены нормативно-технической документацией на данную продукцию. При необходимости проведения дополнительных проверок должны быть разработаны частные (рабочие) программы и методики испытаний, учитывающие требования настоящего стандарта и согласованные в установленном порядке с заказчиком (основным потребителем).
Таблица 2
|
Виды испытаний |
||||
|
приемочные |
квалификационные |
приемосдаточные |
периодические и другие |
|
|
Прочность |
- |
- |
+ |
- |
|
Термостойкость |
- |
- |
+ |
- |
|
Герметичность |
- |
- |
+ |
- |
|
Основные размеры и маркировка |
- |
- |
+ |
- |
|
Внешний вид |
- |
- |
+ |
- |
|
Жесткость и амплитуды статических перемещений |
+ |
+ |
- |
+ |
|
Вибропрочность |
+ |
+ |
- |
+ |
|
Ударостойкость |
+ |
+ |
- |
+ |
|
Вероятность безотказной работы |
+ |
+ |
- |
+ |
|
Герметичность |
+ |
+ |
- |
+ |
|
Масса |
+ |
+ |
- |
+ |
Примечание. Знак «+» означает, что испытания проводят, знак «-» - не проводят.
2.2.2. Испытаниям согласно табл. 2 подвергают все образцы, предъявленные на испытания.
2.3. Условия и порядок проведения испытаний
2.3.1. Испытания СК и УП на прочность проводят пробным гидравлическим давлением испытательной среды, значение которого для заданного условного давления Ру установлено ГОСТ 356, если другие нормы не предусмотрены НТД на данную продукцию.
При испытаниях изделия должны быть предохранены от растяжения (сжатия).
Примечание. Допускается проводить испытания при давлении испытательной среды Pисп = Ру если это предусмотрено НТД на данную продукцию. Испытательная среда - вода.
2.3.2. Испытаниям на термостойкость подлежат СК и УП, предназначенные для эксплуатации на рабочих средах с температурой более 423 К (150 °С).
Испытания осуществляют путем контрольного прогрева изделий в предварительно нагретой печи до температуры (548 ± 25) К ((275 ± 25) °С).
Примечание. Изделия, конструкция которых содержит направляющий патрубок, подвергают испытанию на термостойкость до установки патрубка.
2.3.3. Испытания на герметичность проводят в соответствии с п. 2.3.11.
2.3.4. Основные размеры СК и УП контролируют измерительным инструментом второго класса точности путем сравнения фактических значений с размерами, установленными конструкторской, документацией.
Маркировку изделий проверяют визуально.
2.3.5. Внешний вид СК и УП проверяют осмотром на отсутствие повреждений и дефектов элементов конструкции. При осмотре должно быть проверено качество поверхности сильфона и присоединительных поверхностей фланцев.
2.3.6. Определение жесткостей - осевой (Сl), сдвига (Cd) угловой (поворота, Сg) следует проводить при атмосферном давлении испытательной среды в пределах амплитуд перемещений (l, d, g), установленных НТД на данную продукцию. Испытательная среда - воздух.
2.3.7. Амплитуды перемещении (статические) l, g, d, установленные НТД на данную продукцию (проектом НТД), контролируют в процессе определения жесткостей (Сl, Сg, Cd) согласно п. 2.3.6.
Диапазон частот и допустимое виброускорение принимаются в соответствии с требованиями НТД на данную продукцию.
Характеристики ударных нагрузок по ускорению, длительности импульса, числу ударов устанавливаются НТД на продукцию.
Примечание. В зависимости от особенностей конструкции изделий, их массы и габаритных размеров проверку СК и УП на способность противостоять разрушающему действию ударных нагрузок допускается проводить путем имитации воздействия удара другими видами нагружения, эквивалентными ему по уровню напряжений в конструкции, вызванных ударом.
Примечания:
1. Значение ВБР для вновь разработанных изделий должно быть определено на предварительных испытаниях - в случае их проведения. В случае, если предварительные испытания не проводят, определение ВБР проводят на приемочных испытаниях.
2. Определение ВБР следует проводить экспериментальным способом или с учетом дополнительной информации об испытаниях аналогов (или основных элементов СК, УП) по нормативно-технической документации, действующей в отрасли - разработчике продукции.
2.3.10.1. Подтверждение ВБР осуществляется испытательной наработкой при числе отказов, равном нулю.
2.3.10.2. При воздействии на СК и УП нескольких видов перемещений (нагрузок) испытания следует проводить на одном эквивалентном режиме, соответствующем по повреждающему действию совокупности эксплуатационных нагрузок (режимов нагружения).
Параметры эквивалентного режима испытаний определяет разработчик СК и УП расчетным путем по методикам, действующим в отрасли, а сам расчет приобщают к материалам испытаний (если эти параметры не указаны в НТД на данную продукцию).
2.3.11. Испытания на герметичность следует проводить в процессе приемосдаточных испытаний изделий, а также после испытаний по пп. 2.3.8, 2.3.9 и 2.3.10.
Пороговая чувствительность системы контроля герметичности, а также уровень (класс) герметичности изделий устанавливается в зависимости от условий эксплуатации НТД на продукцию.
2.3.12. Контроль массы должен осуществляться взвешиванием образцов, предъявленных к испытаниям.
2.4. Требования к метрологическому обеспечению испытаний
2.4.1. Материально-техническое и метрологическое обеспечение испытаний осуществляется предприятием, проводящим испытания.
2.4.2. Необходимые средства измерения (приборы и устройства) назначают с учетом погрешностей измерения контролируемых величин, установленных НТД на продукцию, из числа разрешенных для применения.
2.4.3. Типовой перечень видов приборов и устройств, применяемых при проверке параметров и характеристик СК и УП, приведен в приложении 6.
Конкретный перечень материалов, средств измерений и регистрации должен быть приведен в частных (рабочих) методиках испытаний.
2.5. Требования по безопасности работ
2.5.1. Безопасность и безаварийность проведения испытаний обеспечивает предприятие, на котором проводят испытания, в соответствии с требованиями, действующими в отрасли.
2.5.2. Испытательные стенды необходимо обеспечить ограждениями и предупреждающими знаками по ГОСТ 12.4.026 с поясняющей надписью: «ОСТОРОЖНО! ВЕДУТСЯ ИСПЫТАНИЯ!».
2.5.3. При возникновении аварийной ситуации испытания должны быть немедленно прекращены, стенд и аппаратура обесточены. Возобновление испытаний допускается только после устранения причин, вызвавших аварийную ситуацию.
2.5.4. Все работы по испытаниям проводятся персоналом, прошедшим соответствующую подготовку, под руководством ответственного сдатчика или лица, ответственного за испытания.
2.5.5. Перемещения предметов весом более 20 кг должны проводиться с помощью грузоподъемных средств.
3.1. В зависимости от состава испытательного оборудования и средств измерения на основе настоящего стандарта должны разрабатываться частные (рабочие) методики испытаний.
3.2. Методика приемосдаточных испытаний
3.2.1. Испытанию на прочность следует подвергать изделия в собранном виде, без защитных кожухов. Изделия должны быть очищены от посторонних предметов; наличие лакокрасочных покрытий на присоединительных поверхностях и сильфонах не допускается.
3.2.2. Процесс нагружения СК и УП давлением осуществляют последовательно ступенчато, с выдержкой через каждые 0,1 Рисп (но не менее 0,05 МПа (0,5 кгс/см2)), в течение 1-2 мин. Во всех случаях не допускается нагружать изделие давлением, превышающем значение пробного давления Рпр, а также значение условного давления Ру при испытаниях по п. 2.3.10.
3.2.3. СК и УП считают выдержавшими испытания, если под нагрузкой пробного давления Рпр в течение 5 мин не наблюдалось падения давления, а после снижения нагрузки от значения пробного давления до условного Ру не наблюдалась потеря осевой устойчивости.
3.2.4. Контроль термостойкости проводят визуально после прогрева изделий в течение 1 ч в предварительно нагретой печи. Видимые отслоения, вспучивания, трещины и разрывы на внутренней и наружной поверхностях сильфона и сварных швах не допускаются.
3.2.5. Контроль герметичности следует проводить в соответствии с требованиями п. 3.7.
Точность контроля размеров обусловлена предельными отклонениями, заданными конструкторской документацией.
3.2.7. Контроль внешнего вида следует проводить в условиях, указанных в п. 3.2.6. Поверхности сильфонов и присоединительные поверхности фланцев проверяют сравнением с контрольным образцом допустимого состояния поверхности (контрольными образцами). Контрольные образцы на присоединительные поверхности СК и УП и поверхности гофрированной части сильфонов должны быть изготовлены предприятием - изготовителем продукции, согласованы с разработчиком и утверждены в установленном порядке.
Повреждения элементов конструкций СК и УП, а также дефекты на поверхностях сильфонов и присоединительных поверхностях фланцев, большие, чем у контрольных образцов, не допускаются.
3.3. Методика определения (проверки) жесткостей и амплитуд статических перемещений
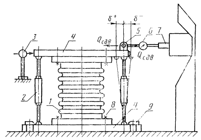
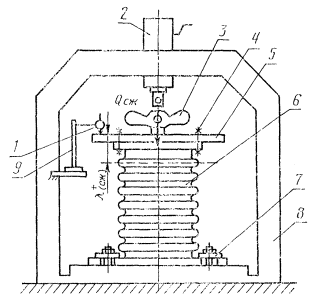
3.3.1. Определение осевой жесткости Сl при сжатии-растяжении
3.3.1.1. Сильфонный компенсатор или уплотнение (испытываемый образец) устанавливают на стенд в соответствии с приложением 7, черт. 1, 2.
Проводят совмещение центра приложения силы, обеспечивающей перемещения, с центром изделия (осью симметрии). Допускаемое отклонение устанавливают в соответствии с технической документацией на испытательное оборудование (стенд).
Установка считается правильной, если перемещение свободного конца изделия при сжатии (растяжении) происходит без перекосов. Допускаемые отклонения не должны превышать значение допуска на параллельность торцевых поверхностей изделия, установленного КД на СК (УП).
3.3.1.3. Аналогично п. 3.3.1.2 к изделию прикладывают осевое усилие, которое обеспечивает сжатие (растяжение) сильфона СК (УП) на значение амплитуды осевого хода, указанной в НТД на данную продукцию. Сжатие (растяжение) осуществляют ступенчато, через рапные интервалы, до 3-5 точек. При этом в каждой точке (i) фиксируют значение текущего перемещения liсж(раст) по индикатору и прилагаемое усилие Qiсж(раст) - по динамометру.
3.3.1.4. Измерения по п. 3.3.1.3 выполняют 3 раза, после чего определяют средние значения прилагаемого усилия Q¢iсж(раст) в каждой i-й точке.
По средним значениям прилагаемых усилий Q¢i
определяют численные значения жесткости (
) кН/м, при любом зафиксированном значении перемещения по
формуле
.
Примечание. При определении значения усилия Q¢i дополнительное влияние массы присоединительной арматуры DQ должно быть исключено:
Qiсж = Qi + DQ,
Qi раст = Qi - DQ.
3.3.2. Определение угловой жесткости Сg при повороте (изгибе) СК и УП
3.3.2.1. Образец СК поворотного типа устанавливают на стенд в соответствии с приложением 7, черт. 3.
В испытательной системе для измерения значений углового хода (поворота) у свободной стороны образца на присоединительную арматуру СК должен быть установлен рычаг, создающий изгибающий момент Мизг, и оптический квадрант, фиксирующий угол поворота. Усилие поворота на значение амплитуды, установленной НТД на данную продукцию, через равные интервалы в 3-5 точках следует измерять динамометром.
3.3.2.2. Среднее значение жесткости определяют в порядке, приведенном в п. 3.3.1.4.
По средним значениям усилий Q¢i изг определяют численные значения жесткости Сg i, кН×м/град, при любом зафиксированном значении угла поворота (в i-й точке) по формуле
,
где Мизг - изгибающий момент, создаваемый усилием Q¢i изг, в текущей точке i на плече l кН×м;
Мизг.i = Q¢i изг.l.
3.3.2.3. Определение угловой жесткости универсальных СК, а также УП проводят методом, аналогичным указанному в пп. 3.3.2.1, 3.3.2.2, в соответствии с приложением 7, черт. 4.
Шарнирный узел технологической оснастки обеспечивает поворот (изгиб) гофрированной оболочки относительно центра поворота изделия.
Примечание. При определении численных значений жесткостей СК (УП) в этом случае усилие, создаваемое трением в шарнирных соединениях оснастки, должно быть исключено из полученных результатов измерения.
3.3.3. Определение жесткости Сd при сдвиге СК и УП
3.3.3.1. Сильфонный компенсатор или уплотнение устанавливают на стенд в соответствии с приложением 7, черт. 5.
3.3.3.2. В испытательной системе для измерения усилия должен быть установлен динамометр, а для измерения значения перемещения (сдвига) - индикатор.
Изделия сдвигового типа подвергают испытаниям в состоянии поставки, а изделия универсального типа и сдвигово-поворотного - с использованием специальной технологической оснастки.
3.3.3.3. К образцу СК (УП) со стороны подвижного конца в направлении, перпендикулярном оси изделия, прикладывают усилие сдвига Qсдв, измеряемое динамометром.
Перемещение (сдвиг di) осуществляют ступенчато, через равные интервалы 3-5 точек, до значения амплитуды, указанной в НТД на данную продукцию.
3.3.3.4. Численное значение жесткости сдвига Cd i, кН/м, определяется по формуле
,
где Q¢i сдв - среднее значение усилия по 3 измерениям.
Примечание. При определении численных значений жесткости СК (УП), измерение жесткости которых проводят с применением технологической оснастки, усилие, создаваемое трением (DQ) в шарнирных узлах, должно быть исключено.
3.3.4. Проверку амплитуд перемещений проводят при определении соответствующих жесткостей по методике, приведенной в пп. 3.3.1.3, 3.3.2.1, 3.3.2.3, 3.3.3.
3.4. Методика испытаний на вибропрочность
1) воздействие вибраций в диапазоне частот от 5 до 60 Гц при амплитудах виброускорения до 19,6 м/с2, с проверкой этого воздействия в резонансной зоне диапазона частот;
2) воздействие вибраций в диапазоне частот от 5 до 2000 Гц при амплитудах виброускорения до 294 м/с2.
Примечание. Испытательная оснастка должна быть предварительно проверена во всем диапазоне частот на наличие собственных резонансов, данные о которых (при наличии) заносятся в паспорт оснастки (или документ, его заменяющий). Возникновение при испытании изделия резонансных колебаний на собственных резонансных частотах оснастки признаком резонанса изделия не является.
3.4.3. Испытания образцов изделий - по п. 3.4.1, перечисление 1.
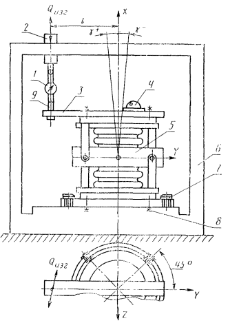
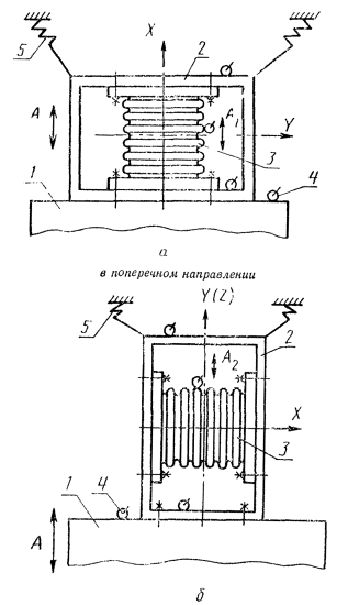
3.4.3.1. Изделие устанавливают на вибрационный стенд в соответствии с приложением 7, черт. 6. Испытания проводят при воздействии вибрационных нагрузок в осевом (здесь и далее: вдоль оси X) и в поперечном (здесь и далее: вдоль осей Y, Z) направлениях.
Целесообразность применения специальных и разгрузочных устройств, оснастки определяется испытательным подразделением.
3.4.3.2. Изделие подвергают испытанию в сборе, если иные требования не оговорены НТД на данную продукцию.
Допускается бесконтактный метод измерения амплитуд виброперемещения элементов гофров.
3.4.3.4. Испытания на вибропрочность состоят из следующих этапов:
1) испытания по обнаружению резонансных частот (резонансов);
2) испытания на вибропрочность в заданном частотном диапазоне;
3) испытания на вибропрочность на резонансных частотах.
После прохождения всего диапазона частот в прямом направлении (от нижней частоты к верхней) проводится его повторное прохождение в обратном направлении. Признаком резонанса считается увеличение в два раза и более амплитуды виброперемещения (виброускорения) отдельных частей или конструктивных элементов изделия по сравнению с амплитудой виброперемещения (виброускорения) точек крепления, измеряемых датчиками, установленными со стороны источника вибраций:
;
,
где А - амплитуда виброперемещения (виброускорения) точек крепления к столу виброускорителя стенда, мм (м/с2);
А1 - амплитуда виброперемещения (виброускорения) элементов конструкции СК (УП) в осевом направлении, мм (м/с2);
А2 - то же, в поперечном направлении.
Примечания:
1. В пределах всего заданного НТД на данную продукцию диапазона частот могут быть выявлены одна или несколько резонансных частот.
2. Разбивка заданного диапазона частот на полосы частот производится в соответствии с правилами, установленными в отраслевых нормативно-технических документах, в зависимости от конструкции, назначения и области применения СК и УП, если иные требования не предусмотрены НТД на данную продукцию.
3. Разность амплитуд виброперемещений (виброускорений) в двух любых точках одного элемента изделия не должна быть более 15 %.
3.4.3.6. В случае необнаружения резонансов в процессе испытаний по п. 3.4.3.5 изделия подвергают испытаниям на вибропрочность в диапазоне частот, заданном НТД на данную продукцию.
Испытания проводят при плавном изменении частоты возмущающих колебаний и при скорости ее непрерывной развертки, обеспечивающей следующую продолжительность испытаний:
2 ч - для осевого воздействия вибрационных нагрузок;
4 ч - для поперечного воздействия вибрационных нагрузок.
Во время испытаний допускаются перерывы, но при этом должна сохраняться общая продолжительность испытаний.
3.4.3.7. Образец считают выдержавшим испытания на вибропрочность (п. 3.4.3.6), если после воздействия вибрационных нагрузок он не потерял герметичность и при визуальном осмотре не установлено механических повреждений (трещин, разрушений) его элементов.
3.4.3.8. При обнаружении резонансов в процессе испытаний по п. 3.4.3.5 изделия подвергают испытаниям на вибропрочность на соответствующих резонансных частотах и в тех положениях, при которых они были обнаружены.
Испытания по п. 3.4.3.6 в этом случае не проводят.
3.4.3.9. Для изделий, у которых резонансные колебания одной и той же частоты имели место в осевом и поперечном направлениях, испытания по п. 3.4.3.8 проводят только в том положении, при котором амплитуда виброперемещения (виброускорения) была больше.
Продолжительность испытаний (выдержки) на каждой обнаруженной резонансной частоте определяют из условия совершения изделием 106 колебаний. Критерий оценки результатов испытаний на вибропрочность на резонансных частотах аналогичен указанному в п. 3.4.3.7.
3.4.4. Испытания образцов изделий - по п. 3.4.1, перечисление 2.
3.4.4.1. Образцы подвергают вибрации аналогично пп. 3.4.2, 3.4.3.1-3.4.3.3, в соответствии с параметрами вибрационного воздействия, приведенными в НТД на данную продукцию: вид вибрации; диапазон частот (с разбивкой на полосы частот); виброускорение; время воздействия вибрации в каждой полосе частот и во всем диапазоне в целом.
3.4.4.2. Образец считают выдержавшим испытания на вибропрочность, если после воздействия вибрационных нагрузок он не потерял герметичность и при визуальном осмотре не установлено механических повреждений (трещин, разрушений) его элементов.
3.5. Методика испытаний на ударостойкость
3.5.1. Сильфонный компенсатор или уплотнение в сборе устанавливают на стенд в соответствии с приложением 7, черт. 7. Изделия, предназначенные для эксплуатации на жидких средах, должны быть заполнены имитатором рабочей среды (средой).
Целесообразность применения специальных устройств, оснастки и имитаторов граничных условий определяется испытательным подразделением, исходя из конструктивных особенностей, габаритных размеров и массы испытываемых изделий, если требования не установлены НТД на данную продукцию.
3.5.2. При установке образца СК или УП на стенд должно быть обеспечено совмещение центра масс изделия (в сборе с оснасткой) с осью действия ударного импульса стенда. Допускаемое отклонение устанавливается в соответствии с документацией на испытательное оборудование (стенд).
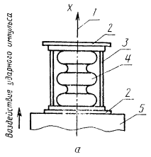
3.5.3. Испытания проводят приложением ударных нагрузок в осевом и поперечном направлениях, указанных в НТД на данную продукцию, характеризующихся:
1) численным значением ударного ускорения (м/с2);
2) длительностью импульса (мс);
3) количеством ударных воздействий.
3.5.4. Датчик ускорения должен быть установлен в центральной части грузового стола стенда таким образом, чтобы его ось совпадала с направлением ударного воздействия.
3.5.5. После воздействия каждого удара необходимо проверить крепление изделия на столе стенда, а также провести осмотр изделия на предмет своевременного выявления трещин и разрушений. После завершения испытаний на ударостойкость проводят проверку герметичности образца.
3.5.6. Образцы СК и УП, испытания которых с воздействием заданных ударных нагрузок на стендах провести невозможно (вследствие большой массы, габаритных размеров или конструктивных особенностей), по согласованию с заказчиком (основным потребителем), разработчиком и головной организацией по испытаниям допускается испытывать с помощью имитации ударных воздействий другими нагрузками (например гидравлическим ударом, статическим перемещением и т.п.), при условии, если они по уровню напряжений, возникающих при их приложении в оболочке сильфона и элементах ограничительной арматуры, эквивалентны заданным ударным нагрузкам.
Примечание. Испытания проводят в соответствии с отраслевыми методиками. Расчеты параметров нагружений и напряженного состояния сильфона СК (УП) должны быть приложены к протоколу испытаний.
3.5.7. Образец считают выдержавшим испытания на ударостойкость, если после воздействия ударных нагрузок (или нагрузок, имитирующих удар) он не потерял герметичность и при визуальном осмотре не установлено повреждений (трещин и разрушений) его элементов.
3.6. Методика испытаний по подтверждению вероятности безотказной работы
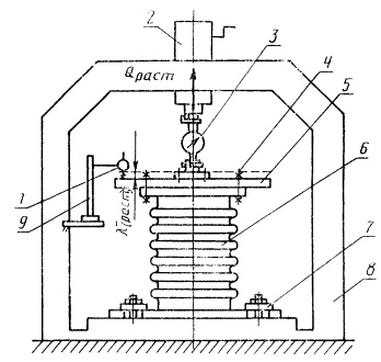
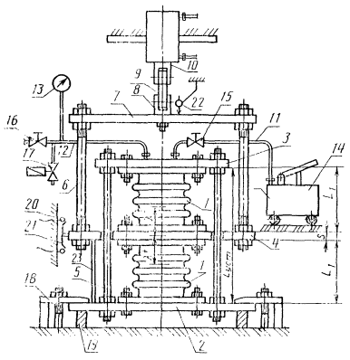
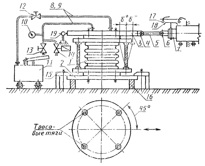
3.6.1. Испытания по подтверждению ВБР с заданной доверительной вероятностью проводят на стендах, обеспечивающих необходимые виды и амплитуды перемещений при воздействии внутреннего (наружного) гидравлического давления, равного Ру.
3.6.2. В зависимости от типа СК (УП) и установленного программой вида перемещений, изделия в сборе устанавливают на стенд в соответствии с приложением 7, черт. 8-16.
Примечание. Перед проведением испытаний защитные кожухи должны быть сняты.
3.6.3. Испытания следует проводить при частоте перемещений не более 40 циклов в минуту. Отклонение испытательного давления от заданного программой испытаний не должно быть более 5 %.
Испытательная система должна обеспечивать:
измерение давления испытательной среды (МПа) и значение амплитуды перемещений (мм, градус);
регистрацию количества наработанных циклов;
возможность внешнего осмотра изделия в процессе испытаний.
3.6.4. Подтверждение ВБР должно проводиться испытательной наработкой Nи, численное значение которой не должно быть менее 1,15 от численного значения назначенной наработки Nн при числе отказов, равном нулю: Nи ³ 1,15Nн.
Примечания:
1. Численное значение испытательной наработки Nи, устанавливает разработчик СК (УП) в НТД на продукцию расчетным путем по методике, действующей в отрасли, в зависимости от исходных количественных показателей (вероятности безотказной работы, доверительной вероятности, коэффициента вариации или значения среднего квадратического отклонения, принятого закона распределения наработок до отказа и количества образцов, подвергаемых испытаниям).
2. При проведении периодических испытаний изделий, используемых для ремонтных целей, подтверждение ВБР должно проводиться испытательной наработкой, численное значение которой не должно быть менее численного значения назначенной наработки, при числе отказов, равном нулю: Nи ³ Nн.
3.6.5. Образцы считают выдержавшими испытания, а вероятность безотказной работы партии изготовленной продукции подтвержденной, если испытанные наработкой Nи образцы не потеряли герметичность и не имеют механических повреждений.
3.7. Методика испытаний на герметичность
3.7.1. Испытания СК и УП на герметичность следует осуществлять масс-спектрометрическим, гидростатическим или пузырьковым методами.
3.7.2. Метод (способ) контроля герметичности устанавливается конструкторской документацией на изделия с учетом положений и требований отраслевой нормативно-технической документации, а пороговая чувствительность системы контроля - НТД на данную продукцию.
3.7.3. В общем случае устанавливают следующие диапазоны для пороговой чувствительности систем контроля герметичности в зависимости от условного давления Ру изделий:
более 5×10-2 до 5, л×мкм/рт. ст./с - Ру £ 1,0 МПа (10 кгс/см2);
более 5×10-3 до 5×10-2, л×мкм/рт. ст./с - Ру св. 1,0 (10) до 4,0 (40) включительно, МПа (кгс/см2);
более 5×10-5 до 5×10-3, л×мкм/рт. ст./с - Ру > 4,0 МПа (40 кгс/см2).
3.7.4. Допускается применять следующие методы контроля герметичности.
Macс-спектрометрический метод - способы контроля:
гелиевой или вакуумной камеры;
гелиевого щупа;
обдува гелием;
гидростатический метод - компрессионный гидравлический способ контроля;
пузырьковый метод контроля - способы контроля:
обмыливания (нанесения полимерного состава);
компрессионный (погружения в жидкость).
Примечание. Другие методы, не снижающие требований к герметичности и обеспечивающие заданный уровень пороговой чувствительности системы контроля, должны быть согласованы с заказчиком (основным потребителем) и разработчиком продукции.
3.7.5. При испытании СК или УП способами, предусматривающими создание внутри изделия избыточного давления испытательной среды, образцы должны быть предохранены от растяжения.
3.7.6. Поверхность сильфонов и сварных швов, соединяющих сильфон с арматурой, не должны иметь следов ржавчины, масла, эмульсии и других загрязнений, а также лакокрасочных покрытий.
Перед контролем герметичности изделий масс-спектрометрическим методом проводится осушка их поверхности и внутренних полостей от воды и других жидких сред. Режим осушки (температура, продолжительность) должен устанавливаться технологическим процессом, а максимальное значение температуры не должно быть больше 423 К (150 °С).
3.7.7. Образец считают выдержавшим испытания на герметичность, если не было отмечено падения давления внутри образца, а проникновение испытательной среды (контрольных жидкости или газа) через стенки конструкции образца (в том числе соединения его элементов) не превышало норм, установленных КД.
3.8. Методика контроля массы
3.8.1. Контроль массы СК и УП осуществляют методом взвешивания изделий на весах. Типы весов должны определяться НТД на продукцию в зависимости от области применения изделий, их габаритных размеров, номинальных значений массы и допускаемых ее отклонений.
3.8.2. Взвешиванию подлежат только сухие образцы, с предварительно отделенными транспортировочно-монтажными креплениями и приспособлениями, не входящими в конструкцию изделия при его эксплуатации.
3.8.3. При взвешивании контролируемое изделие должно быть установлено на площадке весов таким образом, чтобы центр массы изделия по вертикальной оси относительно совпадал с центром площадки весов.
3.8.4. Результаты контроля массы образцов серийно выпускаемой продукции считают положительными, если фактическое значение массы изделий соответствует требованиям НТД на данную продукцию.
4.1. Обработка данных испытаний
4.1.1. Обработка данных испытаний заключается в проведении вычислений и расчетов, а также в анализе и сравнении полученных значений параметров и характеристик с их значениями, указанными в НТД на данную продукцию, с учетом предельных отклонений.
4.1.2. Обработка данных испытаний должна проводиться персоналом испытательных подразделений.
4.2. Оформление результатов испытаний
4.2.1. По результатам испытаний (проверок) составляются протоколы испытаний (проверок). На каждый контролируемый параметр или характеристику составляется отдельный протокол.
Примечание. Допускается составление одного протокола для оформления результатов нескольких испытаний (проверок).
4.2.2. В протоколы испытаний в общем случае должны включаться:
1) вид испытаний (в соответствии с табл. 2) - в заголовок протокола;
2) наименование, условное обозначение и обозначение изделий;
3) заводские номера испытываемых образцов;
4) наименование предприятия - изготовителя образцов;
5) дата составления протокола;
6) контролируемые параметры и характеристики;
7) место проведения испытаний (наименование предприятия или организации, проводившей испытания);
8) условное обозначение стендового оборудования;
9) обозначение документа (программы, методики, программы и методики), в соответствии с которым проводились испытания;
10) период времени, в течение которого проводились испытания;
11) данные испытаний, включая: условия и режимы испытаний; данные текущего измерения параметров (при необходимости) и значения измеряемых величин в контрольных точках измерений; полученные итоговые значения контролируемых параметров и характеристик и пр.;
12) сведения о результатах визуального осмотра образцов в процессе испытаний и после их окончания, с указанием мест расположения и характера обнаруженных повреждений, разрушений;
13) результаты взвешивания (контроля массы) образцов;
14) результаты измерения жесткостных характеристик;
15) результаты испытания на вибропрочность в виде заключения: «Испытания выдержал» или «Испытания не выдержал в результате ...»;
16) результаты испытаний образцов на ударостойкость в виде заключения: «Испытания выдержал» или «Испытания не выдержал в результате ...»;
17) данные испытаний образцов (испытательная наработка Nи; наличие или отсутствие отказавших образцов; количество отказавших образцов (при наличии) и количество циклов, наработанных ими к моменту отказа) и результаты испытаний по проверке (подтверждению) вероятности безотказной работы (ВБР) в виде заключения о соответствии образцов требованиям НТД на данную продукцию по безотказности;
18) результаты испытаний образцов на герметичность в виде заключения: «Испытания выдержал» или «Испытания не выдержал в результате ...», с указанием метода контроля и сведений о пороговой чувствительности системы контроля;
19) замечания по конструкторской документации, проекту НТД на продукцию и заключение по техническому уровню и качеству изделий (для опытных образцов).
4.2.3. К протоколам испытаний в общем случае должны быть приложены:
1) табличный и (или) графический материал по определению жесткостей;
2) расчеты параметров нагружения и напряжений в сильфоне - при имитации ударной нагрузки (в случае отсутствия их в НТД на данную продукцию);
3) расчет эквивалентных режимов испытаний при проверке вероятности безотказной работы (в случае отсутствия в НТД на данную продукцию);
4) расчет числового значения испытательной наработки Nи (при числе отказов, равном нулю) для испытаний по проверке ВБР (в случае отсутствия указания в НТД на данную продукцию);
5) фотографии разрушений, (при наличии), вызванных воздействием вибрационных, ударных и (или) циклических нагрузок.
Примечание. Фотографии комплектуют в виде отдельного приложения к материалам испытаний.
4.2.4. Протоколы межведомственных и ведомственных приемочных испытаний подписывают руководитель испытательного подразделения и члены (член) комиссии.
4.2.5. Протоколы государственных приемочных испытаний, проводимых ГОГИП или ее базовыми испытательными подразделениями, подписывает руководитель испытательного подразделения.
4.2.6. Протоколы квалификационных, периодических и других видов испытаний подписывают: руководитель испытательного подразделения; лицо, ответственное за испытания; представитель заказчика* (основного потребителя) и органа государственного надзора, при необходимости.
__________
* Представитель заказчика на предприятии, проводившем испытания.
4.2.7. Каждый протокол испытаний должен иметь обозначение, содержащее: условный код предприятия, проводившего испытания (четырехзначный буквенный код, входящий в структуру обозначений КД по ГОСТ 2.201); две последние цифры года составления данного протокола; порядковый номер протокола (в году его составления).
Структура обозначения протоколов испытаний:

Пример. ИЯНШ.91.011
4.2.8. Правила оформления протоколов и других документов по испытаниям должны соответствовать изложенным в приложении 3, п. 2.6.
Порядок учета, хранения и обращения документов по испытаниям приведен и приложении 8.
Справочное
Таблица 3
|
Термин |
Пояснение |
|
Испытания |
По ГОСТ 16504 |
|
Объем испытаний |
То же |
|
Объект испытаний |
» |
|
Образец для испытаний |
» |
|
Опытный образец |
» |
|
Данные испытаний |
» |
|
Результаты испытаний |
» |
|
Протокол испытаний |
» |
|
Программа испытаний |
» |
|
Методика испытаний |
» |
|
Условия испытаний |
» |
|
Испытательное оборудование |
» |
|
Контрольные испытания |
» |
|
Государственные испытания |
» |
|
Межведомственные испытания |
» |
|
Ведомственные испытания |
» |
|
Приемочные испытания |
» |
|
Квалификационные испытания |
» |
|
Приемосдаточные испытания |
» |
|
Периодические испытания |
» |
|
Предварительные испытания |
» |
|
Типовые испытания |
» |
|
Головная организация по государственным испытаниям продукции |
» |
|
Испытательное подразделение |
» |
|
Базовое испытательное подразделение головной организации |
» |
|
Подконтрольная партия продукции |
Партия изделия конкретного типоразмера, которая подвергается контролю (испытаниям) или из которой производится выборка образцов для испытаний |
|
Типовой представитель группы однородной продукции |
Конкретный типоразмер изделия, отбираемый (назначаемый) из данной группы однородной продукции, результаты испытаний которого распространяют на всю группу однородной продукции |
|
Сильфонный компенсатор |
По ГОСТ 25756 |
|
Сильфонное уплотнение |
То же |
|
Типы СК (УП) |
» |
|
Ограничительная арматура |
» |
|
Присоединительная арматура |
» |
|
Параметры и технические характеристики СК, УП: |
По ГОСТ 25756 |
|
жесткость, в том числе |
То же |
|
жесткость осевая (Cl) |
» |
|
жесткость угловая (Cg) |
» |
|
жесткость сдвиговая (Cd) |
» |
|
осевой ход (l) |
» |
|
угловой ход (g) |
» |
|
сдвиг (d) |
» |
|
цикл деформации сильфонного компенсатора (уплотнения) |
» |
|
вибропрочность |
По ГОСТ 24346 |
|
ударостойкость |
Способность конструкции СК, УП противостоять разрушающему действию ударных нагрузок |
|
герметичность |
Свойство конструкции СК, УП препятствовать газовому или жидкостному обмену между средами, разделенными стенками конструкции |
|
потеря герметичности |
По ГОСТ 25756 |
|
потеря устойчивости |
То же |
|
вероятность безотказной работы |
По РД 50-650 (ГОСТ 27.002) |
|
наработка |
То же |
|
назначенная наработка |
» |
|
Давление условное Ру |
По ГОСТ 356 |
|
Давление пробное Рпр |
То же |
Обязательное
1. Приемочные испытания
1.1. Приемочные испытания (ведомственные, межведомственные, государственные) организовывает предприятие - разработчик продукции.
1.2. В состав приемочной комиссии в общем случае включаются представители: предприятия (организации)-заказчика (основного потребителя) - председатель; предприятия-разработчика - заместитель председателя; предприятия-изготовителя; предприятия - разработчика объекта применения; представителя органа государственного надзора, при необходимости.
1.3. Предприятия (организации) письменно уведомляют предприятие-разработчика по его запросу о направлении своих представителей в состав приемочной комиссии.
1.4. Приемочная комиссия работает под руководством председателя, а в его отсутствие - под руководством заместителя председателя.
1.5. Испытания проводят в сроки, определяемые графиком, согласованным с испытательным подразделением.
1.6. Испытательные подразделения, а также организации должны быть аттестованы на право проведения испытаний в порядке, установленном Госстандартом СССР.
1.7. Предприятие-разработчик обеспечивает для приемочной комиссии необходимые условия работы.
1.8. Комиссия несет ответственность за:
1) объективность заключений и выводов;
2) правильность предложений и рекомендаций;
3) сроки и качество оформления материалов комиссии по результатам испытаний.
1.9. Комиссия имеет право:
1) требовать предоставления дополнительной информации об образцах, предъявленных на испытания;
2) приглашать для консультации специалистов других специализированных организаций (предприятий);
3) принимать непосредственное участие в испытаниях;
4) в технически обоснованных случаях засчитывать в качестве результатов испытаний результаты ранее проведенных проверок качества изделий;
5) рекомендовать продукцию к постановке на серийное производство;
6) назначать квалификационные испытания в случаях недостаточного подтверждения параметров и характеристик на приемочных испытаниях;
7) принимать в качестве бесспорных документы головной организации по государственным испытаниям или ее базовых испытательных подразделений;
8) приостанавливать испытания в случаях нарушения правил техники безопасности или несоответствия испытательных или измерительных средств программе (методике) испытаний, до устранения этих нарушений;
9) прекращать испытания в случаях несоответствия параметров и характеристик, полученных при испытаниях, требованиям документации и возобновлять их после рассмотрения вопросов с заинтересованными организациями (предприятиями) и принятия согласованного решения о дальнейшем выполнении работ.
1.10. Все решения приемочной комиссии оформляются протоколами с указанием должностных лиц, присутствующих на заседаниях комиссии. Протоколы испытаний оформляются в соответствии с п. 4.2.
1.11. При участии в работе комиссии Регистра СССР его представитель подписывает протоколы пленарных совещаний комиссии. По окончании работы комиссии представитель Регистра СССР составляет «Акт регистра СССР», который является неотъемлемой частью материалов приемочной комиссии. При этом в акте приемочной комиссии его подпись не предусматривается.
1.12. Каждый член комиссии, в том числе председатель и его заместитель, вправе письменно изложить свое особое мнение по тому или иному вопросу, рассматриваемому комиссией. Особое мнение должно быть рассмотрено при утверждении материалов приемочной комиссии.
1.13. Оформление актов испытаний должно выполняться в соответствии с приложением 3, п. 2.2.
2. Квалификационные и периодические испытания
2.1. Проведение квалификационных и периодических испытаний организовывает предприятие - изготовитель продукции при участии представителя заказчика (основного потребителя) и органа государственного надзора, при необходимости.
2.2. В случае проведения испытаний на предприятии (организации), не являющемся изготовителем, испытания проводит испытательное подразделение данного предприятия (организации), аттестованное в порядке, установленном Госстандартом СССР, при участии представителя заказчика на этом предприятии (организации) и органа государственного надзора, при необходимости.
2.2.1. Испытания проводятся в сроки, определяемые графиком, согласованным с испытательным подразделением. График оформляется лицом, назначенным ответственным за испытания.
2.2.2. По результатам испытаний испытательное подразделение выдает предприятию-изготовителю результаты испытаний в виде протоколов.
2.3. Протоколы испытаний оформляются в соответствии с п. 4.2.
Оформление актов испытаний - в соответствии с приложением 3, пп. 2.3, 2.4.
3. Приемосдаточные испытания
3.1. Приемосдаточные испытания проводит служба технического контроля предприятия-изготовителя, а в случаях, оговоренных при заказе, представитель заказчика (основного потребителя) или представитель органа государственного надзора. В этом случае приемка продукции службой технического контроля предшествует приемке продукции заказчиком (основным потребителем) или представителем органа государственного надзора.
3.2. Основанием для приемки продукции служит уведомление о ее готовности, представляемое изготовителем продукции.
3.3. По результатам приемки оформляются документы, предусмотренные положениями о приемке продукции производственно-технического назначения, и заполняется паспорт.
3.4. О соблюдении особых условий заказчика, оговоренных при заказе продукции, делается отметка в документах на ее приемку.
Рекомендуемое
1. Документы, составляемые по результатам испытаний
В общем случае в состав документов, составляемых по результатам испытаний опытных образцов и серийно выпускаемой продукции, входят:
1) протоколы испытаний с приложениями;
2) акт испытаний (заключение - при арбитражных испытаниях).
2. Требования к оформлению и порядку утверждения документов испытаний
2.1. Порядок оформления протоколов испытаний - по п. 4.2.
2.2. Порядок оформления, представления и утверждения актов приемочных испытаний
2.2.1. По результатам рассмотрения документов, представляемых комиссии (табл. 1), последняя составляет акт. Оформление актов межведомственной (ведомственной) приемочной комиссии - в соответствии с приложением 4, оформление актов государственной приемочной комиссии - в соответствии с приложением 5.
2.2.4. Если государственные испытания проводит базовое испытательное подразделение головной организации или головная организация по государственным испытаниям, то протоколы испытаний и приложения к ним государственной комиссии представляются этими испытательными подразделениями или головной организацией.
Примечание. Документы направляются в несброшюрованном виде в одном (первом) экземпляре.
2.2.6. После утверждения документов по пп. 2.2.2, 2.2.5 настоящего приложения документы возвращаются предприятию - разработчику СК (УП) для регистрации, снятия копий и рассылки их заинтересованным предприятиям (организациям).
2.2.7. Акты приемочных комиссий по пп. 2.2.2 и 2.2.3 настоящего приложения подлежат регистрации (присвоению очередного порядкового номера в году составления акта) на предприятии-разработчике.
Регистрация актов испытаний проводится после их утверждения.
2.2.8. Снятие копий с документов допускается любым способом, обеспечивающим однозначное прочтение документов. Комплекты копий документов должны быть сброшюрованы и иметь обложку из мягкого картона с этикеткой, в которой указываются: наименование темы, обозначение НТД на продукцию, номер и дата утверждения акта приемочных испытаний.
2.2.9. Предприятие-разработчик оставляет подлинный экземпляр документов (первый машинописный) у себя на хранение, а остальные экземпляры (копии) высылает в течение 10 дней с момента получения утвержденного экземпляра документов:
заказчику (основному потребителю) - 1 экз.;
головному разработчику конкретного вида техники, составной частью которого является СК или УП (в случае испытания составных частей) - 1 экз.;
предприятию-изготовителю - 1 экз.
Примечание. Необходимость направления материалов другим организациям (предприятиям) должна быть оговорена в акте приемочных испытаний.
утверждение и регистрация НТД на продукцию в порядке, установленном ГОСТ 1.3;
корректировка конструкторской и технологической документации по результатам приемочных испытаний в порядке, установленном ГОСТ 2.503.
2.3. Порядок оформления, представления и утверждения актов квалификационных испытаний
1) наименование, тип и обозначение изделий в соответствии с основным КД;
2) обозначение НТД на продукцию;
3) заводские номера образцов;
4) дату составления документа;
5) цели испытаний;
6) наименование предприятия, проводившего испытания;
7) наименование предприятия - разработчика СК (УП);
8) период времени, в течение которого проводились испытания;
9) соответствие образцов СК или УП, предъявленных на испытания, требованиям КД и НТД на продукцию;
10) наименование и обозначение программы и методики испытаний, в соответствии с которой произведены испытания образцов;
11) результаты проведенных испытаний с заключением о соответствии образцов продукции требованиям КД и НТД на продукцию;
12) устранение недостатков продукции (КД), выявленных приемочной комиссией и указанных в акте;
13) состояние готовности предприятия-изготовителя к серийному выпуску данной продукции в заданном объеме;
14) рекомендации о присвоении КД литеры «А» после внесения в нее в установленном порядке конкретных изменений по результатам испытаний (в случае необходимости);
15) рекомендации об использовании (или списании) образцов, прошедших испытания;
16) рекомендации о возможности поставки первой промышленной партии продукции потребителю.
К акту прилагаются протоколы испытаний с соответствующими приложениями.
2.3.2. Акт квалификационных испытаний подписывают: представитель предприятия-изготовителя (лицо, ответственное за проведение испытаний), представитель заказчика (основного потребителя) при предприятии-изготовителе и представитель органа государственного надзора, при необходимости.
2.3.3. Акт квалификационных испытаний утверждает руководитель (заместитель руководителя) предприятия - изготовителя СК, УП.
Регистрация актов квалификационных испытаний проводится предприятием-изготовителем.
2.4. Порядок оформления (кроме перечислений 12-14, 16 п. 2.3.1), представления и утверждения актов периодических испытаний продукции аналогичен изложенному в п. 2.3 настоящего приложения.
2.5. Порядок оформления, представления документов (заключений) других видов испытаний (экспертиз) готовой продукции (по п. 1.5) - в соответствии с утвержденным Уставом (Положением) о предприятии (организации), проводившем испытания (экспертизу), согласованным в установленном порядке с органами Госстандарта, и порядком, действующим на этом предприятии (организации).
2.6. Правила оформления документов
2.6.1. Текстовая часть документов (протоколов испытаний и прилагаемых к ним материалов, акта испытаний и прочих документов) выполняется машинописным способом и оформляется в соответствии с общими требованиями к текстовым документам по ГОСТ 2.105, на листах белой бумаги формата А4 по ГОСТ 2.301 без рамки, основной надписи и дополнительных граф к ней.
2.6.2. Качество исполнения документов по пп. 2.6.1 и 2.6.2 настоящего приложения должно обеспечивать возможность многократного снятия с них копий или изготовления дубликата.
2.6.3. Наименование объекта испытаний во всех документах одного комплекта и в заголовках документов должно быть одинаковым с наименованием изделия в НТД на продукцию и основном конструкторском документе. Обозначение изделий - по ГОСТ 2.201.
Рекомендуемое
|
УТВЕРЖДАЮ Председатель приемочной комиссии _______________________________________ должность и наименование организации (предприятия) ___________________________________________ Личная подпись Расшифровка подписи _______________________________________ Дата АКТ № _______ приемочной _______________________________________________________ комиссии межведомственной, ведомственной по теме ____________________________________________________________________ наименование темы ___________________________________________________________________________ наименование и тип продукции ___________________________________________________________________________ обозначение проекта НТД на продукцию; ___________________________________________________________________________ заводские номера образцов, подвергнутых испытаниям ___________________________________________________________________________ дата составления документа ___________________________________________________________________________ межведомственная, ведомственная приемочная комиссия в составе: председателя _______________________________________________________________ фамилия, инициалы, должность, организация (предприятие) заместителя председателя ____________________________________________________ фамилия, инициалы, должность, организация (предприятие) и членов: __________________________________________________________________ фамилия, инициалы, должность, организация (предприятие) __________________________________________________________________________ фамилия, инициалы, должность, организация (предприятие) назначенная приказом (распоряжением) по ____________________________________ наименование ___________________________________ от __________________№ ________________ организации (предприятия) дата провела приемочные испытания опытных образцов ______________________________ наименование _________________________________________________________________________ продукции и ее обозначение в соответствии с основным конструкторским документом; ____________________________________________________________, разработанных заводские номера образцов предприятием ____________________________________, изготовленных предприятием наименование ____________________________________ и принятых службой технического контроля наименование изготовителя. Испытания проводились в период с ___________________ по ___________________ дата дата на стенде (стендах) предприятия (организации) _________________________________ наименование по программе и методике ___________________________________________________. обозначение документа 1. Краткое изложение результатов испытаний по всем пунктам приемочных испытаний ________________________________________________________________ приводятся: 1) оценка полученных результатов по каждому виду испытаний в виде __________________________________________________________________________ заключения о соответствии контролируемого параметра (характеристики) __________________________________________________________________________ требованиям проекта НТД и (или) необходимости корректировки установленных в них __________________________________________________________________________ численных значений параметров (характеристик); __________________________________________________________________________ 2) сведения об отмеченных дефектах и данные по их устранению (при наличии); __________________________________________________________________________ 3) оценка соответствия испытательного оборудования, а также средств измерения __________________________________________________________________________ и испытаний требованиям программы и методики). 2. Заключение по конструкторской документации _____________________________ излагаются сведения __________________________________________________________________________ о степени соответствия образцов требованиям КД и предложения по ее корректировке для __________________________________________________________________________ изготовления установочной партии при подготовке серийного производства 3. Заключение о достаточности проведенных испытаний и соответствии образцов требованиям проекта НТД ___________________________________________________ __________________________________________________________________________ __________________________________________________________________________ 4. Краткая оценка технико-экономической эффективности продукции по лимитной цене и полезному эффекту ___________________________________________________ __________________________________________________________________________ 5. Краткая оценка технического уровня и качества продукции по карте технического уровня и качества __________________________________________________________ __________________________________________________________________________ 6. Рекомендации: 1) о возможности (целесообразности) постановки продукции на серийное производство (без проведения квалификационных испытаний или после их проведения) _______________________________________________________________ __________________________________________________________________________ 2) о присвоении конструкторской документации литеры «01» («А») после ее корректировки (в случае необходимости) по результатам приемочных испытаний __________________________________________________________________________ __________________________________________________________________________ 3) о возможности дальнейшего использования образцов, прошедших испытания (или указание об их списании) _______________________________________________ __________________________________________________________________________ 7. Указание о согласовании проекта технических условий __________________________________________________________________________ __________________________________________________________________________ Приложения: 1) протоколы приемочных испытаний с приложениями. 2) Акт Регистра СССР (при необходимости). Акт после утверждения разослать: __________________________________________________________________________ наименования предприятий и организаций, которым должен быть направлен акт - __________________________________________________________________________ в соответствии с приложением 3) __________________________________________________________________________ Заместитель председателя комиссии __________________ ____________________ Личная подпись Расшифровка подписи Члены комиссии: __________________ ____________________ Личные подписи Расшифровка подписей |
Рекомендуемое
|
УТВЕРЖДАЮ Наименование организации дата и номер Приказа (Решения) АКТ № ________ приемочной государственной комиссии по теме _________________________________________ наименование темы ___________________________________________________________________________ наименование и тип продукции; обозначение проекта НТД; ___________________________________________________________________________ заводские номера образцов, подвергнутых испытаниям ___________________________________________________________________________ дата составления документа Государственная приемочная комиссия в составе: председателя _______________________________________________________________ фамилия, инициалы, должность, организация (предприятие) заместителя председателя ____________________________________________________ фамилия, инициалы, должность, организация (предприятие) и членов: __________________________________________________________________ фамилия, инициалы, должность, организация (предприятие) ___________________________________________________________________________ фамилия, инициалы, должность, организация (предприятие) назначенная Приказом (Распоряжением) ________________________________________ наименование организации от _______________________ № _________________, в период с____________________ дата дата по __________ рассмотрела результаты государственных испытаний опытных образцов дата ___________________________________________________________________________ наименование продукции и ее обозначение в соответствии ___________________________________________________________________________ с основным конструкторским документом; _____________________________________________________________, разработанных заводские номера образцов предприятием ____________________________________, изготовленных предприятием наименование ____________________________________ и принятых службой технического контроля наименование изготовителя. Испытания проводились в период с ____________________ по ___________________ дата дата на стенде (стендах) предприятия (организации) __________________________________ наименование по программе и методике ____________________________________________________. обозначение документа |
|
Остальные требования к содержанию документа - в соответствии с приложением 4. |
|
Рекомендации: 1) о возможности (целесообразности) постановки продукции на серийное производство и (или) поставки ее на экспорт ____________________________________ ___________________________________________________________________________ |
|
Приложения: 1) протоколы приемочных испытаний с приложениями. 2) Акт Регистра СССР (при необходимости). Акт после утверждения разослать: ___________________________________________________________________________ наименования предприятий и организаций, которым должен быть ___________________________________________________________________________ направлен акт - в соответствии с приложением 3) ___________________________________________________________________________ Председатель комиссии __________________ _____________________ Личная подпись Расшифровка подписи Заместитель председателя комиссии __________________ _____________________ Личная подпись Расшифровка подписи Члены комиссии: __________________ _____________________ Личные подписи Расшифровка подписей |
Рекомендуемое
1. Индикаторы часового типа ИЧ первого класса точности - для измерения линейных перемещений.
2. Оптические квадранты типов КО-1М и КО-3М - для измерения угловых перемещений.
3. Динамометры типов ДОР и ДОС второго класса точности - для измерения усилий.
4. Манометры типов МОШ и МТИ не ниже первого класса точности - для измерения гидравлического давления.
5. Датчики-акселерометры типа КД - для измерения виброперемещений (виброускорений).
6. Датчики-акселерометры - для измерения амплитуд ударных ускорений.
7. Электронные частотомеры типов Ч3-33, Ч3-36 и др. - для измерения частоты вибраций.
8. Электронные или механические часы различных типов - для измерения текущего времени выполнения процесса испытаний (в часах, минутах, секундах).
9. Электронные или механические счетчики - для регистрации количества циклов нагружения образцов СК и УП статическим перемещением (количества циклов срабатывания стенда).
Рекомендуемое
Определение жесткости СК и УП при сжатии
1 - индикатор; 2 - редуктор; 3 - динамометр типа ДОС; 4 - болт крепежный; 5 - балка; 6 - компенсатор сильфонный; 7 - прижим; 8 - стенд; 9 - стойка индикаторная
Черт. 1
Определение жесткости СК и УП при растяжении
1 - индикатор; 2 - редуктор; 3 - динамометр типа ДОР; 4 - болт крепежный; 5 - балка; 6 - компенсатор сильфонный; 7 - прижим; 8 - стенд; 9 - стойка индикаторная
Черт. 2
Определение угловой жесткости СК и УП поворотного типа
1 - динамометр; 2 - силовой орган; 3 - балка; 4 - оптический квадрант; 5 - компенсатор сильфонный; 6 - стенд; 7 - прижим; 8 - болт крепежный; 9 - серьга
Черт. 3
Определение угловой жесткости СК и УП универсального типа
1 - динамометр; 2 - силовой орган; 3 - балка; 4 - оптический квадрант; 5 - компенсатор сильфонный; 6 - шарнир; 7 - прижим; 8 - стенд; 9 - серьга
Черт. 4
Определение жесткости при сдвиге СК и УП универсального и сдвигового типов
1 - компенсатор сильфонный; 2 - стяжка (технологическая или штатная); 3 - индикатор; 4 - оснастка; 5 - серьга; 6 - динамометр; 7 - шток силового органа; 8 - болт крепежный; 9 - прижим
Черт. 5
Испытания СК и УП на вибропрочность
в осевом направлении
1 - стол вибропреобразователя; 2 - жесткая оснастка; 3 - компенсатор сильфонный; 4 - датчики-акселерометры; 5 - устройство статический разгрузки подвижной системы вибровозбудителя; А - амплитуда перемещения стола вибровозбудителя стенда; А1, А2 - амплитуды виброперемещений элементов гофров сильфона
Черт. 6
Испытания СК и УП на ударостойкость
положение изделия при испытании в направлении оси X
положение изделия при испытании в направлении осей Y (Z)

1 - ось действия ударного импульса стенда; 2 - технологические фланцы; 3 - ограничительная арматура СК, УП (при наличии); 4 - компенсатор сильфонный; 5 - грузовой стол стенда; 6 - имитатор граничных условий; 7 - оснастка
Черт. 7
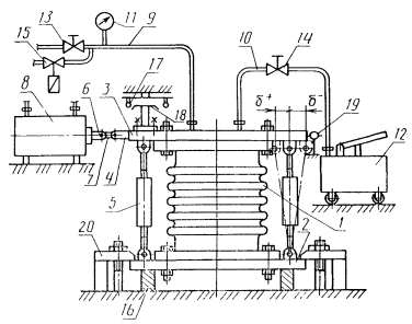
Испытания СК и УП универсального типа по подтверждению вероятности безотказной работы при сжатии-растяжении
1 - компенсатор сильфонный; 2 - заглушка нижняя; 3 - заглушка верхняя; 4 - фланец промежуточный; 5, 6 - стяжка; 7 - перекладина; 8 - серьга; 9 - переходник; 10 - шток гидроцилиндра; 11, 12 - шланг гибкий; 13 - манометр; 14 - насос; 15, 16 - клапан запорный; 17 - клапан предохранительный; 18 - прижим; 19 - подставка; 20 - выключатель конечный; 21 - планка нажимная; 22 - индикатор; 23 - подставка технологическая (установочная)
Черт. 8
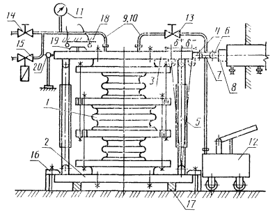
Испытания универсальных разгруженных СК по подтверждению вероятности безотказной работы при сжатии-растяжении

1 - компенсатор сильфонный разгруженного типа; 2 - заглушка нижняя; 3 - заглушка верхняя; 4 - серьга; 5 - переходник; 6 - шток гидроцилиндра; 7, 8 - шланг гибкий; 9 - манометр; 10 - насос; 11, 12 - клапан запорный; 13 - клапан предохранительный; 14 - подставка; 15 - выключатель конечный; 16 - планка нажимная; 17 - индикатор; 18 - прижим
Черт. 9
Испытания СК и УП универсального типа по подтверждению вероятности безотказной работы при изгибе (повороте)

1 - компенсатор сильфонный; 2 - заглушка нижняя; 3 - заглушка верхняя; 4 - шток гидроцилиндра; 5 - шарнир; 6 - вилка; 7 - переходник; 8 - привод; 9, 10 - шланг гибкий; 11 - манометр; 12 - насос; 13, 14 - клапан запорный; 15 - клапан предохранительный; 16 - прижим; 17 - подставка; 18 - выключатель конечный; 19 - планка нажимная; 20 - квадрант оптический
Черт. 10
Испытание СК сдвигово-поворотного типа по подтверждению вероятности безотказной работы при изгибе (повороте)

1 - компенсатор сильфонный; 2 - заглушка нижняя; 3 - заглушка верхняя; 4, 6 - серьга; 5 - переходник; 7 - балка; 8 - шток гидроцилиндра; 9, 10 - шланг гибкий; 11 - манометр; 12 - насос; 13, 14 - клапан запорный; 15 - клапан предохранительный; 16 - прижим; 17 - подставка; 18 - выключатель конечный; 19 - планка нажимная; 20 - квадрант оптический
Черт. 11
Испытание по подтверждению вероятности безотказной работы сильфонных компенсаторов поворотного типа

1 - компенсатор сильфонный; 2 - заглушка нижняя; 3 - заглушка верхняя; 4 - вилка; 5 - переходник; 6 - серьга; 7 - шток гидроцилиндра; 8, 9 - шланг гибкий; 10 - манометр; 11 - насос; 12, 13 - клапан запорный; 14 - клапан предохранительный; 15 - прижим; 16 - подставка; 17 - выключатель конечный; 18 - планка нажимная; 19 - квадрант оптический
Черт. 12
Испытание СК и УП универсального типа по подтверждению вероятности безотказной работы при сдвиге

1 - компенсатор сильфонный; 2 - заглушка нижняя; 3 - заглушка верхняя; 4, 6 - серьга; 5 - талреп; 7 - переходник; 8 - привод; 9, 10 - шланг гибкий; 11 - манометр; 12 - насос; 13, 14 - клапан запорный; 15 - клапан предохранительный; 16 - подставка; 17 - выключатель конечный; 18 - планка нажимная; 19 - индикатор; 20 - прижим
Черт. 13
Испытание универсальных разгруженных СК по подтверждению вероятности безотказной работы при сдвиге

1 - компенсатор сильфонный; 2 - заглушка нижняя; 3 - заглушка верхняя; 4, 6 - серьга; 5 - талреп; 7 - переходник; 8 - шток гидроцилиндра; 9, 10 - шланг гибкий; 11 - манометр; 12 - насос; 13, 14 - клапан запорный; 15 - клапан предохранительный; 16 - прижим; 17 - подставка; 18 - выключатель конечный; 19 - планка нажимная; 20 - индикатор
Черт. 14
Испытание СК сдвигово-поворотного типа по подтверждению вероятности безотказной работы при сдвиге

1 - компенсатор сильфонный; 2 - заглушка нижняя; 3 - заглушка верхняя; 4, 6 - серьга; 5 - талреп; 7 - переходник; 8 - шток гидроцилиндра; 9, 10 - шланг гибкий; 11 - манометр; 12 - насос; 13, 14 - клапан запорный; 15 - клапан предохранительный; 16 - прижим; 17 - выключатель конечный; 18 - планка нажимная; 19 - индикатор
Черт. 15
Испытание по подтверждению вероятности безотказной работы СК (УП) сдвигового типа
1 - компенсатор сильфонный; 2 - заглушка нижняя; 3 - заглушка верхняя; 4, 6 - серьга; 5 - переходник; 7 - шток гидроцилиндра; 8, 9 - шланг гибкий; 10 - манометр; 11 - насос; 12, 13 - клапан запорный; 14 - клапан предохранительный; 15 - прижим; 16 - подставка; 17 - выключатель конечный; 18 - планка нажимная; 19 - индикатор
Черт. 16
Рекомендуемое
1. Учет, хранение и обращение документов
1.1. Подлинники (первые машинописные экземпляры) комплектов, включая акт испытаний (заключения по испытаниям), протоколы испытаний и приложения к ним, подлежат учету и хранению в отделе технической документации (ОТД) или бюро технической документации (БТД) предприятия, проводившего регистрацию акта (приложение 3).
Общие правила приемки подлинников документов на хранение, учета, хранения и обращения - в соответствии с ГОСТ 2.501.
1.3. Учет, хранение и обращение копий документов производится в соответствии с правилами, установленными ГОСТ 2.501. Хранение документов на предприятиях-разработчиках осуществляется в деле НТД на данную продукцию.
1.4. Срок хранения документов испытаний - 5 лет, но не меньше срока периодических испытаний.
2. Порядок передачи (рассылки) документов по запросам
2.1. Передача (рассылка) документов испытаний по запросам проводится предприятием (организацией), хранящим подлинник (см. п. 1.1 настоящего приложения).
2.2. Передача (рассылка) документов может проводиться в виде полного комплекта документов или отдельных составных частей - по согласованию сторон.
2.3. Передача подлинников документов приемочных испытаний осуществляется по решению Министерства (ведомства) по подчиненности предприятия, проводившего испытания.
ИНФОРМАЦИОННЫЕ ДАННЫЕ
1. УТВЕРЖДЕН И ВВЕДЕН В ДЕЙСТВИЕ Постановлением Государственного комитета СССР по управлению качеством продукции и стандартам от 25.10.90 № 2686
2. ВВЕДЕН ВПЕРВЫЕ
3 ССЫЛОЧНЫЕ НОРМАТИВНО-ТЕХНИЧЕСКИЕ ДОКУМЕНТЫ
|
Обозначение НТД, на который дана ссылка |
Номер пункта, приложения |
|
ГОСТ 1.3-85 |
|
|
ГОСТ 2.105-79 |
|
|
1.11; перечисление 7 |
|
|
Приложение 1 |
|
|
Приложение 1 |
|
|
ГОСТ 24555-81 |
Приложение 1 |
|
ГОСТ 25756-83 |
|
СОДЕРЖАНИЕ