Государственный комитет Российской Федерации
по связи и информатизации
УТВЕРЖДЕНО
начальником Управления электросвязи
Госкомсвязи России
05.06.98
РУКОВОДСТВО ПО ЭКСПЛУАТАЦИИ
ЛИНЕЙНО-КАБЕЛЬНЫХ СООРУЖЕНИЙ
МЕСТНЫХ СЕТЕЙ СВЯЗИ
Москва - 1998
За последние годы на местных сетях связи начали применяться многопарные кабели в алюминиевой и стальной гофрированной оболочках, оптические кабели, а также кабели в пластмассовой оболочке с гидрофобным заполнением. Внедряются новые способы сращивания жил и восстановления оболочек кабелей. Разработаны и внедряются новые типы колодцев и трубопроводов кабельной канализации.
Применяются новые методы технической эксплуатации линейно-кабельных сооружений и прогрессивные формы организации и стимулирования труда работников линейно-кабельного цеха.
Правильная организация технической эксплуатации линейно-кабельных сооружений имеет большое значение для бесперебойного обеспечения телефонной связью органов государственного управления, предприятий, организаций, учреждений и населения.
С целью улучшения эксплуатации линейно-кабельных сооружений местных сетей связи разработано данное Руководство.
Настоящее «Руководство по эксплуатации линейно-кабельных сооружений местных сетей связи» содержит указания по организации эксплуатации, техническому обслуживанию, текущему и капитальному ремонту линейно-кабельных сооружений. В нем приведены характеристики линейно-кабельных сооружений.
Даны рекомендации по предупреждению и устранению аварий и повреждений линейно-кабельных сооружений, а также по монтажу кабельных линий и содержанию их под постоянным избыточным газовым давлением.
Рассмотрены основные виды работ по переустройству линейно-кабельных сооружений. Особое внимание уделено вопросам взаимоотношений местных сетей связи с проектными и строительными организациями связи и вопросам технического надзора за сохранностью линейно-кабельных сооружений.
С введением в действие настоящего Руководства утрачивают силу: «Руководство по эксплуатации кабельных сооружений городских телефонных сетей» (М., Связь, 1970), «Руководство по эксплуатации кабельных сооружений сельских телефонных сетей» (М., Связь, 1977) и «Руководство по эксплуатации канализационных сооружений городских телефонных сетей» (М., Связь, 1971).
Выполнение содержащихся в данном Руководстве указаний обязательно для всех работников местных, сетей связи, занятых технической эксплуатацией линейно-кабельных сооружений.
Руководство составлено коллективом авторов Ленинградского отраслевого научно-исследовательского института связи (ЛОНИИС) и ОАО «Мостелефонстрой» и согласовано с УЭС Госкомсвязи России.
1.1. Местные сети связи по своему назначению подразделяются на:
- сети связи общего пользования, представляющие составные части взаимоувязанной сети связи Российской Федерации, открытые для пользования всем физическим и юридическим лицам;
- ведомственные сети связи - сети электросвязи органов исполнительной власти, учреждений, предприятий, организаций, создаваемые для удовлетворения производственных и специальных нужд, имеющие выход на местные сети связи общего пользования;
- внутрипроизводственные и технологические сети связи - сети электросвязи органов исполнительной власти, предприятий, учреждений, организаций, колхозов, совхозов, создаваемые для управления внутрипроизводственной деятельностью и технологическими процессами, не имеющие выхода на местные сети связи общего пользования;
- выделенные сети связи - сети электросвязи физических и юридических лиц, не имеющие выхода на местные сети связи общего пользования.
1.2. Линейно-кабельные сооружения являются одним из элементов местных сетей связи.
1.3. Строительство, реконструкция и капитальный ремонт линейно-кабельных сооружений местных сетей связи осуществляются в соответствии с «Руководством по строительству линейных сооружений местных сетей связи» (М., АООТ «ССКТБ - ТОМАСС», 1995), «Отраслевыми строительно-технологическими нормами на монтаж сооружений и устройств связи, радиовещания и телевидения» (ОСТН 600-93), «Положением об организации и проведении ремонта специализированных основных фондов связи» (М., ХОЗУ МС СССР, 1987), техническими условиями и ГОСТ.
1.4. Перенос или переустройство линейно-кабельных сооружений местных сетей связи, вызванные новым строительством, расширением, реконструкцией населенных пунктов и отдельных зданий, дорог и мостов, производятся заказчиком строительства за свой счет в соответствии со стандартами и по техническим условиям владельцев сетей связи (Федеральный закон «О связи», статья 23).
1.5. Приемка в эксплуатацию вновь построенных, реконструированных и капитально отремонтированных линейно-кабельных сооружений местных сетей связи производится в соответствии с указаниями «Руководства по приемке в эксплуатацию линейных сооружений проводной связи и проводного вещания» (М., ССКТБ, 1990).
1.6. Надзор за проведением юридическими и физическими лицами земляных работ в охранных зонах линий местных сетей связи производится согласно «Правилам охраны линий и сооружений связи Российской Федерации» (М., Ассоциация «Резонанс», 1995).
1.7. Техническая эксплуатация линейно-кабельных сооружений местных сетей связи должна производиться в соответствии с указаниями настоящего Руководства и нормативно-технической документацией Государственного комитета Российской Федерации по связи и информатизации.
1.8. Состав линейно-кабельных сооружений местных сетей связи и основные эксплуатационно-технические требования к этим сооружениям приведены в «Правилах технического обслуживания и ремонта линий кабельных, воздушных и смешанных местных сетей связи» (М., 1996).
1.9. В Приложении 37 указаны основные нормативно-технические документы по линейно-кабельным сооружениям местных сетей связи.
2.1.1. На местных сетях связи применяются кабели:
- типа Т (ТУ 16.К71-008-87) с медными жилами, воздушно-бумажной изоляцией жил, в свинцовой, стальной гофрированной и алюминиевой оболочках;
- типов ТП и СТПА (ГОСТ 22498-88) с медными жилами, полиэтиленовой, поливинилхлоридной (для типа ТП) или алюминиевой (для типа СТПА) оболочке;
- типа ТП4пп0ЗП (ТУ АХЦ 3550.00.00-95) с медными жилами, пленко-пористой полиэтиленовой изоляцией жил, полиэтиленовой оболочкой и гидрофобным заполнением;
- типа ТЗ (ТУ 16.К78-03-88) с медными жилами, кордельно-бумажной изоляцией жил в свинцовой оболочке;
- высокочастотные типа МКС (ГОСТ 15125-92) с медными жилами, кордельно-полистирольной изоляцией жил, в свинцовой, алюминиевой или стальной гофрированной оболочках;
- высокочастотные типа КСПП (ТУ 16.К71-061-89) с медными жилами, полиэтиленовой изоляцией и оболочкой;
- марки КТПЗБбШп (ТУ 16.К71-007-87) с медными жилами, полиэтиленовой изоляцией и оболочкой;
- марок ПРППМ и ПРПВМ (ТУ 16.705.450-87) с медными жилами, полиэтиленовой изоляцией жил соответственно в полиэтиленовой или поливинилхлоридной оболочке;
- станционные марок ТСВ (ТУ 16.К71-005-87) с медными жилами, поливинилхлоридной изоляцией и оболочкой;
- оптические марок ОК, ОН (ТУ 16-705.296-86); ОКК, ОКС (ТУ 16.К71-084-90); ОККП (ТУ 3587-004-13173860-95); ОКСТ-10-..., ОКСТН-10..., ОКСТ-50-..., ОКСТН-50-... (ТУ 16.К12-13-95); ОМЗКГ4м-10-..., ОМЗКГН4м0-10..., ОЗКГ4м0-50-..., ОЗКГН4м0-50-... (ТУ 16.К12-14-96); ДПО, ДПЛ, СПЛ, ДПС (ТУ 3587-006-05755714-96).
2.1.2. На местных сетях связи применяются изолированные провода марок ПТПЖ, ПТПВЖ (ТУ 16.К03-01-87) с жилами из стальной оцинкованной проволоки; ЛТВ-П, ЛТВ-В (ТУ 16.К45-001-87); ПКСВ (ТУ 16.К71-80-90) и ТРП, ТРВ (ТУ 16.К04.005-87) с медными жилами.
2.1.3. В Приложении 1 приведены электрические параметры, в Приложении 2 - конструктивные характеристики кабелей и проводов с медными жилами. В Приложении 3 даны наружные диаметры кабелей местной связи. В Приложении 4 приведены конструктивные и оптические параметры оптических кабелей, применяемых на местных сетях связи.
2.1.4. Для восстановления оболочек кабелей с медными жилами на местных сетях связи применяют муфты следующих марок:
полиэтиленовые: МП (ТУ 45-86 АХПО.446.000 ТУ), МГ (ТУ 45-93 АХПО.446.00 ТУ), тупиковые МТ (ТУ 52-96-008-27564371-95);
свинцовые: соединительные МС, МСк (ТУ 1461-78), соединительные МСС, разветвительные МСР и газонепроницаемые МСГ (ТУ 45-76 АХПО.423.000 ТУ), газонепроницаемые ГМС и ГМСИ (ТУ 677-72).
Для монтажа оптических кабелей (ОК) местных сетей связи в колодцах кабельной канализации и в городских коллекторах используются городские оптические муфты типа МОГ - соединительные МОГ и разветвительные МОГР стандартной длины, укороченные - МОГу и тупиковые - МОГт (ТУ 5296-006-27564371-96), сертификат соответствия ОС/1-ОК-25. Для монтажа ОК местных сетей в котлованах используются муфты МОГу или МОГт в защитных кожухах или магистральные муфты типов МТОК (ТУ 5296-007-27564371-95), сертификат соответствия ОС/1-ОК-26 и ММЗОК (ТУ 45-93 АХПО.446.007 ТУ), сертификат соответствия ОС/1-ОК-32.
Допускается применение для монтажа оптических кабелей муфт зарубежного производства, имеющих сертификат Госкомсвязи России, и их установка и металлоконструкции должна быть согласована с руководством ГТС.
Типоразмеры полиэтиленовых муфт марки МП приведены в Приложении 5.
2.1.5. На местных сетях связи применяются оконечные кабельные устройства следующих типов:
платы защиты (защитные полосы), рамки с разделительными гнездами (пружинами), распределительные блоки и рамки с врезными контактами кроссового оборудования телефонной станции;
устанавливаемые в распределительных шкафах кабельные боксы с плинтами, распределительные коробки, кабельные ящики (устройства кабельные связи, устройства кабельные переходные);
кабельные воронки, междугородные кабельные шкафы.
Все шире внедряются устанавливаемые в боксах и распределительных коробках плинты с врезными контактами и распределительные коробки в металлических кожухах с внутренним замком.
Характеристики указанных оконечных кабельных устройств приведены в «Правилах технического обслуживания и ремонта линий кабельных, воздушных и смешанных местных сетей связи» (М., ГП ЦНТИ «Информсвязь», 1996).
Электрическое сопротивление изоляции оконечных кабельных устройств и их элементов указано в Приложении 6.
2.2.1. В состав кабельно-канализационных сооружений местных сетей связи входят: подземные трубопроводы и колодцы кабельной канализации связи, помещение ввода кабелей телефонных станций и коллекторов.
2.2.2. Трубопроводы кабельной канализации сооружаются из круглых и прямоугольных труб, имеющих один или несколько каналов. Для изготовления трубопроводов в основном применяется асбестоцементные, бетонные, полиэтиленовые, поливинилхлоридные и в отдельных случаях стальные трубы.
2.2.3. На магистральных направлениях кабельной канализации связи должны использоваться трубы и блоки с круглыми каналами диаметром 100 мм (для полиэтиленовых труб - 93 - 103 мм).
На незагруженных направлениях, тупиковых участках, кабельных вводах в здания и выводах на опоры воздушных линий могут применяться трубы с диаметром канала 55 - 58 и 66 - 69 мм.
На вводах в здания должны применяться полиэтиленовые и асбестоцементные трубы.
2.2.4. Асбестоцементные безнапорные трубы (ГОСТ 1839-80) с каналом диаметром 100 мм получили наибольшее распространение. Они имеют наружный диаметр 118 мм, длину 3 и 4 м и массу 6,0 кг/м. Одновременно для стыковки труб поставляются асбестоцементные муфты с внутренним диаметром 140 мм и толщиной стенки 10 мм, длиной 150 мм.
Для стыковки асбестоцементных труб применяют также муфты диаметром 116/122 мм и длиной 80 мм с кольцеобразной перегородкой 3 мм в середине муфты по внутреннему диаметру.
2.2.5. Бетонные трубы изготавливают прямоугольной формы с круглыми каналами диаметром 100 мм и длиной 1 м. Трубы могут изготавливаться одно-, двух-, трехотверстными, в перспективе до 12 отверстий (каналов) включительно.
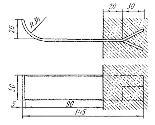
Конструктивные размеры одно-, двух-, и трехотверстных бетонных труб приведены на рис. 1.
2.2.6. Полиэтиленовые трубы изготавливаются из полиэтилена высокой плотности (ПВП) и низкой плотности (ПНП).
Для кабельной канализации используются полиэтиленовые трубы с наружным диаметром 110 и 63 мм и внутренним диаметром соответственно 97 - 110 и 55 - 57 мм. Длина труб с наружным диаметром 110 мм из ПВП или ПНП и диаметром 63 мм из ПВП равна 5,5 ... 12 м, а с наружным диаметром 63 мм из ПНП - до 200 м, в бухтах - диаметром не более 3 м. Соединение труб осуществляется методом стыковой сварки на сварочном станке с обработкой торцов труб перед сваркой. Погрузочно-разгрузочные работы и транспортировка полиэтиленовых труб должны выполняться с учетом возможности их деформации при температуре выше +205 °С и растрескивания при температуре ниже -105 °С. Прокладка полиэтиленовых труб производится при температуре не ниже -105 °С.
Рис. 1. Бетонные трубы
Конструктивные данные полиэтиленовых труб для кабельной канализации приведены в Приложении 7.
2.2.7. Поливинилхлоридные (винилитовые) трубы с наружным диаметром от 25 до 110 мм применяются для кабельной канализации и закладных устройств скрытой проводки в зданиях. Трубы характеризуются морозостойкостью до -40 °С и пределом прочности на сжатие 49 - 98 Па (500 - 1000 кгс/см2).
Соединение этих труб осуществляется сваркой встык, как и полиэтиленовых труб, а также путем устройства раструба, подогрева и использования клея или лака.
Конструктивные данные применяемых на местных сетях связи поливинилхлоридных (винилитовых) труб приведены в Приложении 8.
2.2.8. Стальные трубы должны использоваться при вынужденном уменьшении заглубления из-за наличия на трассе ранее проложенных других коммуникаций или сооружений. Изогнутые стальные трубы могут применяться при установке распределительных шкафов, устройстве кабельных вводов в здание, а также выводе подземных кабелей на опоры воздушных линий. Стальные трубы используются также при прокладке кабелей под мостами, на стенах зданий, по вертикальным шахтам, под полами, в стеновых блоках зданий и т.п.
На местных сетях связи применяются стальные трубы диаметром 6/10,2 ... 125/140 мм с массой 0,47 ... 18,24 кг/м.
2.2.9. Смотровые устройства (колодцы) кабельной канализации связи (ККС) подразделяются по следующим признакам:
- конструкции и размерам - на типовые и специальные;
- расположению - на проходные, угловые, разветвительные и станционные;
- материалам - на железобетонные и кирпичные;
- расчетной вертикальной нагрузке - для проезжей части улиц (80 т) и непроезжей части улиц (10 т);
- типоразмерам - на типовые колодцы (ККС-5, ККС-4, ККС-3, ККС-2), и специальные колодцы (ККСС-1, ККСС-2) и станционные колодцы (ККСст) четырех размеров.
2.2.10. Смотровые устройства (колодцы) кабельной канализации связи, как правило, изготавливаются из железобетона. Строительство кирпичных колодцев допускается только в сухих грунтах. Железобетонные колодцы кабельной канализации связи, устанавливаемые для эксплуатации в неагрессивных по отношению к бетону средах, при температуре окружающего воздуха от -50 °С до +50 °С и относительной влажности до 100 % при +25 °С, изготавливаются по ТУ 45-1418-83. При установке этих колодцев в агрессивных средах требуется их гидроизоляция.
Смотровые устройства (кабельные колодцы связи) типов ККС-2 ... ККС-5 имеют восьмигранную форму. Они состоят из двух отдельных составных частей (половин): нижней с днищем и половиной боковых стен и верхней с перекрытием и верхней частью боковых стен.
В угловых колодцах устанавливают одну, а в разветвительных две угловые вставки.
В перекрытии колодца предусмотрено круглое отверстие, над которым устанавливают входной люк.
Колодцы специального типа (ККСС-1, ККСС-2) изготавливают прямоугольной формы из отдельных железобетонных деталей.
Колодец типа ККС-5М предназначен для размещения контейнеров НРП-К-12 системы передачи ИКМ-30.
Габаритные, установочные размеры и масса колодцев кабельной канализации связи, изготавливаемых по ТУ 45.1418-89, приведены в Приложении 9.
2.2.11. Количество каналов трубопроводов, вводимых в колодцы кабельной канализации связи, приведено в табл. 2.1.
Таблица 2.1. Количество каналов трубопроводов, вводимых в колодцы кабельной канализации связи
|
Количество каналов |
|
|
ККС-2 |
До 2 |
|
ККС-3 |
3 - 6 |
|
ККС-4 |
7 - 12 |
|
ККС-5 |
13 - 24 |
|
ККСС-1 |
25 - 36 |
|
ККСС-2 |
37 - 48 |
2.2.12. В качестве типовых железобетонных станционных колодцев применяются разветвительные колодцы специальной формы четырех типоразмеров для АТС емкостью 3, 6, 10 и 20 тыс. номеров. На колодцы для АТС 6 тыс. номеров и более устанавливается по два люка.
2.2.13. Кирпичные колодцы строятся из красного кирпича марки 75. Швы кирпичной кладки изнутри выполняются «вподрезку», наружные стены оштукатуриваются цементным раствором марки 50. Перекрытия должны быть железобетонными. В перекрытиях колодцев делают круглые лазы, имеющие форму усеченного конуса с диаметром основания 620 мм и вершины 600 мм.
2.2.14. Все колодцы оборудуются чугунными люками с двумя крышками (чугунной и стальной), изготовленными по ГОСТ 8591-76. При этом для колодцев, размещаемых под пешеходной частью улиц, применяются люки легкого, а под проезжей частью - тяжелого типа.
Наружные крышки должны плотно прилегать к корпусам люков. Внутренние крышки люков должны быть окрашены масляной краской и иметь приспособление для запора на замок.
2.2.15. Для выкладки кабелей колодцы оборудуют консолями (ТУ 45-88 6Е0.413.000 ТУ), которые прикрепляют консольными болтами к кронштейнам (ТУ 45-36 АХПО.413.000 ТУ). Кронштейн в вертикальном положении крепят к стенке колодца с помощью ершей (фундаментных болтов). Детали оборудования смотровых устройств (колодцев) приведены на рис. 2, а на рис. 3 показаны чугунные консоли.
В колодцах типа ККС-2 кабели размещают на консольных крюках, которые заделывают в стены колодцев. Консольный крюк приведен на рис. 4.
Кронштейны из полосовой стали типа ККП применяются для оборудования типовых кабельных колодцев связи. В колодцах типа ККС-3 устанавливают кронштейны длиной 60 см, а в колодцах типа ККС-4 и ККС-5 - длиной 130 см.
Для оборудования кабельных колодцев связи с числом вводимых каналов более 24 применяют кронштейны из угловой стали длиной 130 см, а для оборудования нестандартных колодцев, помещений ввода кабелей и коллекторов используют кронштейны из угловой стали длиной 190 см.
Рис. 2. Детали оборудования смотровых устройств:
а - кронштейны ККУ-130 (190) и ККП-130 (60) с консолью, б - консольный болт, в - стальной ерш для крепления кронштейна
Рис. 3. Консоли чугунные 1-, 2-, 3-, 4-, 5- и 6-местные
Рис. 4. Консольный крюк
2.2.16. Вводы кабелей в здания телефонных станций осуществляют через специально оборудованные помещения ввода кабелей (шахты), размещаемые, как правило, в подвальном помещении, а в зданиях без подвала - на первом этаже с устройством приямков в полу помещения.
Применительно к каждой телефонной станции схема ввода, планировка помещения ввода кабелей, конструкции опорных устройств и каркасов определяются проектом и рабочими чертежами.
В помещении ввода кабелей телефонной станции устанавливаются специальные кронштейны с размещенными на них многоместными консолями.
В помещении ввода кабелей многопарные линейные кабели распаиваются на станционные кабели емкостью 100 пар.
Помещение ввода кабелей соединяется со станционным колодцем трубопроводом или коллектором. В здание АТС емкостью 10000 номеров и более ввод трубопровода выполняют с двух противоположных направлений.
2.2.17. Коллектор представляет собой подземный туннель из сборных железобетонных элементов, предназначаемый для размещения на специальных металлических конструкциях различных коммуникаций (теплопровода, электрических кабелей, телефонных кабелей). Коллекторы могут быть общими - для прокладки разных подземных коммуникаций и специальными - кабельными, предназначенными только для прокладки кабелей различного назначения. Типовые коллекторы имеют следующие внутренние габариты: ширина 1,7 ... 2,7 и высота 1,8 ... 3,0 м.
2.2.18. Для прокладки подземных коммуникаций внутри жилых кварталов в районах массового жилищного строительства применяются проходные и полупроходные коллекторы малого сечения, так называемые сцепки. Они предназначены для прокладки комплексов подземных коммуникаций от здания к зданию или от более крупных коллекторов к отдельным зданиям кварталов.
2.2.19. Для раскладки кабелей связи вдоль стены коллектора на расстоянии 0,9 м один от другого устанавливаются кронштейны типа ККУ с 4 ... 6 местными консолями.
Расстояние между консолями по вертикали должно быть не менее 0,15 м. Эксплуатационный проход между проложенными в коллекторе коммуникациями должен быть не менее 0,8 м.
2.2.20. Ввод трубопроводов в коллектор и вывод из него осуществляются с помощью специальных камер, в перекрытиях которых устанавливаются люки для подачи через них кабелей в процессе прокладки или извлечения.
Для ввода и вывода кабелей из камеры используются асбестоцементные гильзы, заделываемые в стены камеры. Концы гильзы заполняются специальными сальниковыми уплотнителями, препятствующими доступу воды в камеру.
Для входа в коллектор устраиваются люки или двери из технических подвалов зданий.
3.1.1. Организационная структура подразделений, выполняющих работы по эксплуатации линейно-кабельных сооружений местных сетей связи, зависит от емкости и структуры сети связи, видов и объемов линейно-кабельных сооружений, а также от местных условий и определяется руководителями предприятий связи, осуществляющих эксплуатацию местных сетей связи.
3.1.2. Работники подразделения по эксплуатации линейно-кабельных сооружений должны выполнять следующие основные работы:
- техническое обслуживание линейно-кабельных сооружений;
- текущий ремонт линейно-кабельных сооружений;
- содержание и установку под постоянное избыточное газовое давление соединительных и магистральных линий;
- надзор за организациями, ведущими работы по строительству, реконструкции и капитальному ремонту линейно-кабельных сооружений;
- надзор за сторонними организациями, ведущими работы в охранной зоне линейно-кабельных сооружений;
- устранение повреждений и аварий кабельных линий;
- устранение повреждений кабельной канализации;
- приемку в эксплуатацию вновь построенных, реконструированных и капитально отремонтированных линейно-кабельных сооружений.
3.1.3. Работы по капитальному ремонту линейно-кабельных сооружений должна выполнять специальная группа (бригада) или подрядная организация.
3.1.4. В соответствии с разделом 4.2 «Правил технического обслуживания и ремонта линий кабельных, воздушных и смешанных местных сетей связи» (М., ГП ЦНТИ «Информсвязь», 1996) на городских телефонных сетях (ГТС) емкостью до 2000 ... 3000 номеров работы по эксплуатации линейно-кабельных сооружений выполняет объединенная бригада, в состав которой входят кабельщики-спайщики и электромонтеры канализационных сооружений связи.
Объединенная бригада выполняет все основные работы по эксплуатации линейно-кабельных сооружений:
- техническое обслуживание и текущий ремонт линейно-кабельных сооружений;
- содержание и установку под постоянное избыточное газовое давление кабельных линий;
- устранение повреждений и аварий кабельных линий и повреждений кабельной канализации.
3.1.5. На ГТС емкостью от 2000 ... 3000 номеров до 50000 номеров для выполнения работ по эксплуатации линейно-кабельных сооружений в составе линейного цеха организуется кабельно-канализационный участок, примерная структура которого приведена на рис. 5.
Рис. 5. Структура кабельно-канализационного участка линейного цеха
3.1.6. В составе кабельно-канализационного участка организуются две бригады кабельщиков спайщиков: бригада по устранению кабельных повреждений и бригада по текущему ремонту и герметизации кабелей, а также бригада электромонтеров по обслуживанию канализационных сооружений связи.
Таким образом, при организации кабельно-канализационного участка, когда возможно формирование двух или более бригад кабельщиков-спайщиков следует применять метод раздельного обслуживания кабельных сооружений, при котором работы по устранению кабельных повреждений и работы по обслуживанию и ремонту кабельных сооружений выполняют отдельные бригады кабельщиков-спайщиков.
3.1.8. Бригада по устранению кабельных повреждений несет ответственность за:
- устранение повреждений в контрольные сроки;
- неустранение кабельных повреждений в контрольные сроки;
- повторность повреждений;
- выполнение плана восстановления поврежденных пар;
- качество выполненных работ;
- сохранность сооружений на закрепленном участке;
- соблюдение правил техники безопасности.
- техническое обслуживание кабельных сооружений;
- текущий ремонт кабельных сооружений;
- содержание и установку под постоянное избыточное газовое давление кабельных линий.
3.1.10. Бригада по текущему ремонту и герметизации кабелей несет ответственность за:
- выполнение плана работ;
- качество выполненных работ;
- техническое состояние сооружений на закрепленных за бригадой участках;
- сохранность сооружений на закрепленных участках;
- качественное содержание кабелей под постоянным избыточным газовым давлением;
- качество приемки в эксплуатацию новых и капитально отремонтированных кабельных сооружений;
- соблюдение правил техники безопасности.
- техническое обслуживание сооружений кабельной канализации;
- текущий ремонт сооружений кабельной канализации;
- устранение повреждений кабельной канализации;
- технический контроль за сохранностью кабельно-канализационных сооружений при работе сторонних организаций.
3.1.12. Бригада по обслуживанию кабельно-канализационных сооружений несет ответственность за:
- выполнение плана работ;
- качество выполненных работ;
- техническое состояние канализационных сооружений связи на закрепленных за бригадой участках;
- сохранность кабельно-канализационных сооружений на закрепленных участках;
- соблюдение правил техники безопасности.
3.1.13. На ГТС емкостью более 50000 номеров для эксплуатации линейно-кабельных сооружений организуется линейно-кабельный цех, примерная структура которого приведена на рис. 6.
3.1.14. В линейно-кабельном цехе, как правило, создаются бригады кабельщиков-спайщиков по обслуживанию и ремонту кабельных сооружений, бригада кабельщиков-спайщиков по герметизации кабелей и бригада электромонтеров по ремонту канализационных сооружений связи.
3.1.15. В состав объединенных бригад по обслуживанию и ремонту кабельных сооружений обычно входят два вида бригад (звеньев): бригады (звенья) по устранению кабельных повреждений и бригады (звенья) по техническому обслуживанию и текущему ремонту кабельных сооружений. Таким образом, в линейно-кабельном цехе, как и в кабельном канализационном участке линейного цеха, применяют метод раздельного обслуживания кабельных сооружений.
3.1.16. Бригады (звенья) по устранению кабельных повреждений выполняют работы, перечисленные в п. 3.1.7, и несут ответственность за выполнение требований, указанных в п. 3.1.8.
3.1.17. Бригада (звено) по техническому обслуживанию и текущему ремонту кабельных сооружений выполняет работы, указанные в п. 3.1.9, и несет ответственность за выполнение требований, перечисленных в п. 3.1.10, за исключением содержания кабелей под постоянным избыточным газовым давлением.
3.1.18. В случаях, когда общее количество бригад кабельщиков-спайщиков на сети больше 4 - 5 и один электромеханик практически не имеет возможности руководить ими, кабельные сооружения разделяют на технические районы.
3.1.19. Количество бригад, выделяемых на устранение повреждений на всю территорию города или технического района, определяется общим количеством повреждений и местными условиями.
В бригады по устранению повреждений выделяют наиболее квалифицированных кабельщиков-спайщиков. Бригадиром назначается монтер высшего разряда.
Задание на устранение повреждений бригады получают из бюро ремонта или от электромеханика.
3.1.20. Кабельщики-спайщики, выделенные для устранения повреждений, в свободное время (при отсутствии повреждений) производят работы по повышению сопротивления изоляции кабелей и восстановлению в них поврежденных пар, зарядке оконечных кабельных устройств (боксов, кабельных ящиков и распределительных коробок), а также по отдельным заданиям.
3.1.21. Работы по техническому обслуживанию и текущему ремонту кабельных сооружений должны производиться с закреплением их бригадами.
Линейно-кабельные сооружения сети или технического района (на крупных ГТС) должны делиться на участки, закрепляемые за отдельными бригадами кабельщиков-спайщиков.
Объем сооружений кабельного участка должен определяться, исходя из норм обслуживания, предусмотренных штатными нормативами, с учетом выделения отдельных монтеров для устранения повреждений, а также для работ по содержанию и установке кабелей под постоянное избыточное газовое давление.
3.1.22. Бригада по герметизации кабелей выполняет следующие работы:
- определение мест негерметичности оболочек кабелей и установка их под газовое давление;
- наблюдение за состоянием кабелей, содержащихся под постоянным избыточным газовым давлением.
3.1.23. Бригада по герметизации кабелей несет ответственность за:
- качественное выполнение плана работ;
- постоянное сокращение количества кабелей, имеющих негерметичную оболочку;
- выполнение правил эксплуатации при содержании кабелей под постоянным избыточным газовым давлением;
- выполнение правил техники безопасности.
3.1.24. Электромеханик по обслуживанию компрессорно-сигнальных установок (КСУ) выполняет работы по их эксплуатации и несет ответственность за техническое содержание компрессорно-сигнального оборудования.
3.1.25. Бригада электромонтеров по ремонту кабельно-канализационных сооружений выполняет работы, указанные в п. 3.1.11, и несет ответственность за соблюдение требований, перечисленных п. 3.1.12.
3.1.26. Работники участка технического надзора за сохранностью линий связи выполняют работы по обеспечению сохранности линейно-кабельных сооружений и несут ответственность за:
- соблюдение «Правил охраны линий и сооружений связи Российской Федерации» (М., 1995);
- своевременное вручение уведомлений сторонним организациям о наличии сооружений связи и условиях производства работ, а также за правильность сообщенных сведений;
- обеспечение контроля за своевременной и качественной подвеской кабельной канализации;
- линейно-кабельные сооружения, поврежденные в результате неправильных и несвоевременных согласований и отсутствия надзора за их сохранностью.
3.1.27. Эксплуатация линейно-кабельных сооружений сельских телефонных сетей (СТС) производится эксплуатационно-техническими или районными узлами связи, а также предприятиями связи других видов или филиалами предприятий, в составе которых, как правило, организуются линейно-технические цеха, линейно-технические участки, линейные и кабельные участки.
3.1.28. Организационная структура подразделений по эксплуатации линейно-кабельных сооружений СТС в основном зависит от принятого метода эксплуатации линейных сооружений СТС, видов и объемов сооружений, и также от местных условий.
3.1.29. Указания по организации обслуживания линейно-кабельных сооружений СТС при постовом (участковом), централизованном и смешанном (комбинированном) методах эксплуатации линейных сооружений СТС приведены в разделе 4.3 «Правил технического обслуживания и ремонта линий кабельных, воздушных и смешанных местных сетей связи» (М., ГП ЦНТИ «Информсвязь», 1996).
3.1.30. Права и обязанности должностных лиц подразделений по эксплуатации линейно-кабельных сооружений местных сетей связи определяются должностными инструкциями, разработанными исходя из структуры предприятия связи или его филиала, объема линейно-кабельных сооружений и местных условий. Должностные инструкции на руководителей подразделений должны утверждаться руководителем предприятия связи или его филиала, а на остальных должностных лиц - главным инженером.
Должностные инструкции должны содержать следующие разделы:
- общие положения;
- функции;
- права;
- должностные обязанности;
- ответственность.
В разделе «Общие положения» указывают: кем назначается и освобождается от должности работник; образование работника и требуемые знания, определяемые спецификой работы; взаимоотношения работника с другими подразделениями и другими работниками.
3.1.31. В Приложении 10 приведены должностные инструкции кабельщика-спайщика и электромонтера канализационных сооружений связи, в Приложении 11 - должностная инструкция электромеханика кабельно-канализационного участка.
3.2.1. Работы по эксплуатации линейно-кабельных сооружений выполняются в соответствии с годовым производственным планом, который содержит разделы по техническому обслуживанию, текущему и капитальному ремонтам. В соответствии с годовым планом составляются квартальные планы-графики работ.
Указания по составлению годового производственного плана и планов-графиков даны в разделе 4.4 «Правил технического обслуживания и ремонта линий кабельных воздушных и смешанных местных сетей связи» (М., ГП ЦНТИ «Информсвязь», 1996).
3.2.2. Планы-графики корректируются в зависимости от изменения состояния линейно-кабельных сооружений, погодных условий и других обстоятельств.
3.2.3. Периодичность осмотров кабельных и канализационных сооружений связи приведена в табл. 3.1.
3.2.4. Примерные годовые планы технического обслуживания, текущего и капитального ремонтов кабельных и канализационных сооружений связи соответственно приведены в Приложениях 12, 13, 14.
В Приложении 15 дана примерная форма журнала технического обслуживания линейно-кабельных сооружений СТС.
3.2.5. Контроль за работой кабельщиков-спайщиков и электромонтеров канализационных сооружений связи осуществляется должностными лицами структурных подразделений лично и по телефону с учетом объемов, сложности и важности выполняемых работ и местных условий. При производстве особо опасных работ должностные лица структурных подразделений непосредственно руководят их выполнением. Бригады кабельщиков-спайщиков, устраняющих повреждения, по прибытии на каждый новый участок работы сообщают в бюро ремонта о своем местонахождении и выполняемой работе. Должностные лица структурных подразделений регулярно сообщают о своем местонахождении начальнику подразделения лично или через бюро ремонта.
3.2.6. Контроль за выполнением работ по капитальному ремонту линейно-кабельных сооружений осуществляют работники линейно-кабельного цеха (участка), за которыми закреплены ремонтируемые сооружения.
3.2.7. Учет работы кабельщиков-спайщиков, устраняющих кабельные повреждения, ведется по нарядам на исправление кабелей ф.ТФ-2/6 (Приложение 16) или другой формы, которые выписываются работником бюро ремонта. В наряде на исправление кабеля работники измерительной группы записывают результаты электрических измерений, выполненных с целью определения места повреждения кабельной линии.
Учет работы кабельщиков-спайщиков и электромонтеров канализационных сооружений связи, занятых ремонтом линейно кабельных сооружений, производится по нарядам на выполнение ремонтных работ или по результатам приемки этих работ.
Таблица 3.1. Периодичность осмотров кабельных и канализационных сооружений связи
|
Периодичность осмотров |
||
|
1. |
Колодцы кабельной канализации, коллекторы, тоннели |
Один раз в 3 года |
|
2. |
Помещения ввода кабелей и станционные колодцы |
Один раз в год |
|
3. |
Кабели в канализации, коллекторах, тоннелях |
Один раз в 3 года |
|
4. |
Кабели в помещениях ввода кабелей и станционных колодцах |
Один раз в год |
|
5. |
Подвесные кабели и кабели на стенах зданий |
Один раз в 2 года |
|
6. |
Кабели в закладных устройствах зданий, в подвалах, на чердаках |
Один раз в 3 года |
|
7. |
Кабели на мостах и в берегах на пересечениях с водными преградами |
Один раз в год |
|
8. |
Распределительные шкафы: |
|
|
|
на улицах |
Один раз в год |
|
|
в подъездах |
Один раз в 3 года |
|
9. |
Распределительные коробки |
Один раз в 3 года |
|
10. |
Кабельные ящики (УКС, УКП) |
Один раз в год |
|
11. |
Заземления и молниеотводы |
Один раз в год |
|
12. |
Контейнеры промежуточных станций систем передачи |
Один раз в год |
3.2.8. На сельских телефонных сетях начальник линейно-технического (линейного) участка должен присутствовать на месте выполнения особо опасных, аварийных и сложных работ.
3.2.9. Начальник участка осуществляет выборочный контроль выполнения работ участковым электромонтером и бригадой кабельщиков-спайщиков, проверяет правильность выполнения работ и оформления технической документации.
3.2.10. Бригада кабельщиков-спайщиков в свободное время (при отсутствии повреждений) производит работы по повышению сопротивления изоляции кабелей и восстановлению в них поврежденных пар, по зарядке оконечных кабельных устройств (боксов, кабельных ящиков, коммутационных устройств и распределительных коробок), а также выполняет отдельные задания.
3.3.2. В структурном подразделении, осуществляющем техническую эксплуатацию линейно-кабельных сооружений, должна вестись техническая документация, предусмотренная указанным в п. 3.3.1 «Руководством», с учетом объема обслуживаемых сооружений и местных условий. Перечень технической документации, оформляемой в кабельно-канализационном участке, приведен в табл. 3.2.
3.4.1. Работники подразделений по технической эксплуатации линейно-кабельных сооружений местных сетей связи обеспечиваются материалами, инструментом, приборами, спецодеждой и средствами техники безопасности в соответствии с утвержденными нормами.
3.4.2. Нормы годового расхода кабелей, основных материалов и арматуры на эксплуатационное содержание и текущий ремонт линейно-кабельных сооружений приведены в Приложении 18.
3.4.3. Бригады кабельщиков-спайщиков и электромонтеров канализационных сооружений связи обеспечиваются комплектами инструментов, приспособлений, приборов, инвентарного имущества и организационной оснастки рабочих мест, приведенными в Приложении 19, а также материалами для выполнения работ. Срок службы инструментов указан в Приложении 20.
Таблица 3.2. Перечень технической документации, оформляемой в кабельно-канализационном участке
|
Вид документации |
№ приложений (форм) |
Назначение документации |
Кто заполняет форму документации |
|
|
1 |
2 |
3 |
4 |
5 |
|
1. |
Наряд на исправление кабеля*) |
Учет выполненных работ и израсходованных материалов |
Работник бюро ремонта, измеритель, кабельщик-спайщик |
|
|
2. |
Акт приемки работ по текущему и капитальному ремонтам |
ТФ 2/16 |
Учет выполненных работ |
Электромеханик участка |
|
3. |
Журнал регистрации разрешений на производство земляных работ |
Контроль за сохранностью линейно-кабельных сооружений |
Работник (инспектор) по надзору |
|
|
4. |
Предупреждение |
Предупреждение строительной организации о сохранности линейно-кабельных сооружений при производстве земляных работ |
То же |
|
|
5. |
Акт о нарушении Правил охраны линий и сооружений связи |
Документ, на основании которого возмещаются затраты на устранение повреждения линий связи |
Электромеханик участка, где произошло повреждение |
|
|
6. |
Инвентарная справка |
ТФ 3/12 |
Учет изменений в составе линейно-кабельных сооружений |
Электромеханик участка, где изменился состав линейно-кабельных сооружений |
|
7. |
Список личного состава цеха с домашними адресами и номерами телефонов |
- |
Для вызова работников цеха при аварии линейно-кабельных сооружений |
Начальник цеха |
|
8. |
Адреса работ и работы, выполняемые бригадами электромонтеров |
Учет работ, выполняемых бригадами электромонтеров |
Электромеханик |
|
|
9. |
Журнал наблюдений за состоянием воздушного давления в кабелях |
ТФ 2/19 |
Контроль за содержанием кабельных линий под давлением |
Электромеханик, обслуживающий КСУ |
|
10. |
Журнал учета сигналов о повреждении КСУ и оболочек кабелей |
Контроль за состоянием КСУ и кабелей |
То же |
|
|
11. |
Журнал выдачи ключей от помещения ввода кабелей (компрессорной) |
Учет ключей |
Работник кросса (на охраняемых АТС - работник охраны) |
|
|
*) На ГТС с компьютерным учетом кабельных повреждений допускается применение нарядов на исправление кабеля, отличающихся от формы ТФ-2/6, приведенной в приложении 16. |
||||
3.4.4. Для монтажа оптических кабелей в процессе восстановления волоконно-оптических линий связи (ВОЛС) кабельно-канализационный участок должен быть обеспечен комплектом приборов и основных устройств, состав которого приведен в Приложении 21.
3.4.5. Бригадир кабельщиков-спайщиков (электромонтеров канализационных сооружений связи) является ответственным за хранение материалов и инструментов, выданных бригаде, а также за расходование их в соответствии с установленными нормами и сроками службы.
3.4.6. Электромеханик должен проверять правильность списания материалов.
3.4.7. Аварийный запас материалов, инструментов, оборудования и приспособлений должен храниться в специальном помещении подразделения, осуществляющего эксплуатацию линейно-кабельных сооружений.
Перечень аварийного запаса инструментов, материалов, приспособлений и оборудования для кабельно-канализационного участка дан в Приложении 22.
3.4.8. В каждом филиале предприятий связи, занятом эксплуатацией линейно-кабельных сооружений, должен иметься аварийный запас по всем номенклатурам кабелей связи, находящимся в эксплуатации в количестве, необходимом для устранения аварий. Кроме аварийного запаса филиалов предприятий связи должен быть организован аварийный запас кабельной продукции предприятия связи. Количество и номенклатура кабелей определяются, исходя из местных условий.
3.4.9. Подразделение, осуществляющее эксплуатацию линейно-кабельных сооружений, должно быть обеспечено:
- транспортом для перевозки к месту работы и обратно;
- на крупных предприятиях связи - передвижными фургонами (в фургоне должны быть электроосвещение, печь, стол, скамейки, места для хранения инструментов и материалов);
- оборудованными в зданиях телефонных станций сушилками спецодежды, шкафчиками для хранения инструментов, чистой и рабочей одежды, местами для приема пищи, душевыми кабинами;
- оборудованными на линии опорными пунктами с возможностью хранения в них материалов, инструментов и лестниц;
- оборудованными в здании АТС монтерской и кабельной мастерской с кладовой.
3.4.10. Для выполнения работ по техническому обслуживанию закрепленных линейно-кабельных сооружений участковые электромонтеры СТС должны быть обеспечены в летнее время велосипедами или мотоциклами, а в зимнее время - лыжами.
3.5.1. Руководитель и инженерно-технический состав подразделения, осуществляющего работы по эксплуатации линейно-кабельных сооружений, должны обеспечивать выполнение правил техники безопасности в соответствии с указаниями, приведенными в «Правилах по охране труда при работах на кабельных линиях связи и проводного вещания (радиофикации)», ПОТ РО-45-005-95 (М., 1996).
3.5.2. В первом квартале каждого года должна проводиться проверка знаний персонала подразделения правил техники безопасности с оформлением результатов проверки и выдачей соответствующих удостоверений.
3.5.3. Проверка наличия и исправности ручного инструмента производится в соответствии с разделом 6.4 указанных в п. 3.5.1 «Правил по охране труда ...». Приставные лестницы должны проверяться в соответствии с указаниями, изложенными в главе 6 «Правил техники безопасности при работах на телефонных и телеграфных станциях», утвержденных МС СССР 25.08.82.
Результаты проверки оформляют в журнале; негодный или требующий ремонта инструмент и инвентарь должны быть немедленно изъяты из употребления.
3.5.4. Каждый новый работник подразделения, осуществляющего эксплуатацию линейно-кабельных сооружений, допускается к работе лишь после вводного инструктажа, обучения на рабочем месте и сдачи экзаменов на знание правил техники безопасности.
3.6.1. Ключи от помещения ввода кабелей и компрессорной должны храниться на неохраняемых АТС в помещении кросса, а на охраняемых АТС в помещении охраны и выдаваться под расписку в специальном журнале работникам, включенным в список, утвержденный руководителем или главным инженером филиала предприятия связи.
Второй экземпляр ключей от кабельных колодцев хранится в шкафу в помещении кабельно-канализационного участка и выдается под расписку в журнале произвольной формы работникам, обслуживающим сооружения кабельной канализации.
3.6.2. Ключи от распределительных шкафов изготавливают в четырех экземплярах, один из которых входит в состав аварийного комплекта.
Аварийный комплект ключей хранят у руководителя кабельно-канализационного участка.
Остальные три комплекта ключей должны храниться в помещении кабельно-канализационного участка с регистрацией в специальном произвольной формы журнале выдачи и приема ключей от распределительных шкафов.
4.1.1. В соответствии с главой 5 «Правил технического обслуживания и ремонта линий кабельных, воздушных и смешанных местных сетей связи» (М., ГП ЦНТИ «Информсвязь», 1996) при техническом обслуживании линейно-кабельных сооружений выполняются следующие работы:
- осмотр и профилактическое обслуживание линейно-кабельных сооружений;
- проведение плановых и контрольных измерений электрических и оптических характеристик кабельных линий;
- проведение охранных мероприятий, включая осмотр трасс линейно-кабельных сооружений и надзор за сохранностью этих сооружений;
- проверка новых кабелей, оборудования, оконечных кабельных устройств, вводимых в эксплуатацию;
- подготовка линейно-кабельных сооружений к работе в осенне-зимний, грозовой период и период паводка.
Указания по осуществлению надзора за сохранностью линейно-кабельных сооружений, согласованию строительных работ и проектной документации приведены в главах 12 и 13 настоящего Руководства.
Проверка новых кабелей, оборудования, оконечных кабельных устройств, вводимых в эксплуатацию, производится в соответствии с указанными выше Правилами.
4.1.2. Работы по проведению осмотра и профилактического обслуживания линейно-кабельных сооружений и их элементов выполняются в соответствии с годовым планом и квартальными планами-графиками технического обслуживания линейно-кабельных сооружений. Работы, выполняемые при профилактическом обслуживании, не должны включаться в план ремонта линейно-кабельных сооружений. Выявленные при осмотре недостатки, подлежащие устранению при ремонте линейно-кабельных сооружений, должны фиксироваться в журнале технического осмотра линейно-кабельных сооружений, примерная форма которого дана в Приложении 24.
4.2.1. При осмотре состояния кабелей и муфт в колодцах кабельной канализации, коллекторах, тоннелях и помещениях ввода кабелей выполняются следующие работы профилактического обслуживания:
- очистка внутренних крышек люков;
- очистка замков, их смазка и защита от загрязнений;
- установка недостающих консолей, подкладок под кабели, нумерационных колец, бирок (на кабелях с дистанционным питанием), выправка их положения;
- протирка кабелей, муфт;
- подпайка или заварка дефектных швов муфт или трещин в оболочках (шлангах кабелей);
- пайка, приварка вентилей на оболочках кабелей или муфтах;
- проверка герметичности муфт и вентилей путем их покрытия мыльной пеной;
- выправка положения кабелей и муфт на консолях;
- подпайка или выправка положения перемычек свинцовых оболочек кабелей;
- проверка проходимости каналов;
- перезаделка или заделка открытых каналов;
- чистка колодца.
Помещения ввода кабелей ежедневно и каждый раз перед началом работы должны проверяться на наличие взрывоопасного газа.
4.2.2. При профилактическом обслуживании подземных кабельных линий выполняются следующие работы:
- проверка глубины заложения кабеля на подверженных размыванию, оползанию участках трассы и подсыпка грунта;
- отвод поверхностных вод;
- укрепление размываемых оврагов, засыпка промоин;
- укрепление грунта на склонах (при прохождении по ним трасс);
- замена, вынос и установка недостающих замерных столбиков и предупредительных знаков;
- очистка площадок около замерных столбиков от растительности (в летний период);
- отвод воды с площадок промежуточных станций систем передачи;
- укрепление створных и специальных знаков.
4.2.3. При профилактическом обслуживании подвесных и настенных кабелей выполняются следующие работы:
- выправка положения кабелей и муфт;
- дополнительное крепление кабелей на стенах;
- подпайка или заварка дефектных швов муфт;
- выправка положения сдвинутых подвесов;
- дополнительное крепление или установка недостающих столбовых консолей;
- крепление каната в консолях;
- регулировка стрелы провеса каната и кабеля;
- очистка от коррозии и гидроизоляция сростков канатов;
- дополнительное крепление провода заземления к канату;
- удаление посторонних предметов и ветвей деревьев, которые могут вызвать повреждение кабелей;
- дополнительное крепление или установка недостающих металлических желобов, угольников, деревянных реек.
4.2.4. При профилактическом обслуживании кабелей, проложенных в закладных устройствах зданий, в подвалах и на чердаках, проводятся следующие работы:
- чистка ниш закладных устройств;
- выправка положения кабелей и муфт в нишах;
- дополнительное крепление кабелей и муфт к монтажным доскам;
- удаление посторонних предметов, которые могут вызвать повреждение кабелей на чердаках и в подвалах;
- установка подкладок под кабели на вводах и выводах из трубопроводов.
4.2.5. При профилактическом обслуживании кабелей на участках пересечения с водоемами производятся работы:
- укрепление размываемого берега, подсыпка грунта, щебня, песка;
- заглубление кабеля на размытом участке трассы;
- замена, вынос и установка недостающих замерных столбиков;
- укрепление створных знаков.
4.2.6. При профилактическом обслуживании кабелей, проложенных на мостах или подвешенных к мостовым металлоконструкциям, проводятся следующие работы:
- выправка положения крышек смотровых устройств;
- установка временных крышек смотровых устройств взамен отсутствующих;
- очистки смотровых устройств от ила и грязи;
- выправка положения кабелей и муфт в смотровых устройствах;
- установка и закрепление изолирующих подкладок в местах соприкосновения свинцовой оболочки с мостовыми металлоконструкциями;
- регулировка стрелы провеса несущего каната.
4.2.7. При профилактическом обслуживании распределительных шкафов проводятся следующие работы:
- выправка положения нумерационных пластин на боксах;
- очистка поверхности плинтов;
- замена отдельных кроссировочных шнуров в шкафу с зачисткой жил, присоединением, прозвонкой и связкой шнуров в жгут;
- установка параллельного кроссировочного шнура в шкафу;
- снятие свободных шнуров с выключением и приведением оставшихся шнуров в порядок;
- присоединение и отсоединение группы шнуров;
- переключение линии абонента на новую магистраль или снятие параллельного шнура;
- дополнительное крепление жил кроссировочных проводов клеммными винтами плинтов;
- замена дефектных клеммных винтов на плинтах;
- замена дефектных плинтов на боксах;
- отбор пар (из шкафа в кросс);
- выправка положения кабеля;
- дополнительное крепление кабеля в вводной трубке бокса;
- установка, выправка, уплотнение и заливка шкафной доски (или заделка доски замазкой);
- навешивание полиэтиленовой шторы (на участках с интенсивным запылением плинтов в шкафах);
- прочистка цоколя и протирка корпуса шкафа (внутри и снаружи);
- замена нумерации шкафов;
- нанесение нумерации по трафарету.
4.2.8. При профилактическом обслуживании распределительных коробок должны производиться следующие работы:
- чистка поверхности плинтов;
- дополнительное крепление кабеля в вводной трубке;
- выправка положения кабеля и абонентских проводок;
- отбор пар;
- переключение абонентских проводок;
- дополнительное крепление жил абонентских проводок клеммными винтами;
- замена дефектных клеммных винтов;
- протирка корпуса распределительной коробки;
- замена нумерации распределительных коробок;
- нанесение нумерации по трафарету.
4.2.9. При профилактическом обслуживании кабельных ящиков (УКС, УКП) производятся следующие работы:
- чистка поверхности плинтов;
- переключение или выправка положения кроссировочных проводов, кабеля и запаса кабеля;
- дополнительное крепление жил кроссировочных проводов и провода заземления клеммными винтами;
- замена дефектных клеммных винтов;
- чистка пластин угольных разрядников;
- замена угольных разрядников (угольных пластин и прокладок), протирка корпуса кабельного ящика;
- замена нумерации кабельных ящиков;
- нанесение нумерации по трафарету;
- укрепление или установка недостающих защитных металлических угольников; желобов труб, накладок;
- дополнительное крепление молниеотводов и заземлений.
4.2.10. При профилактическом обслуживании контейнеров промежуточных станций систем передачи проводятся следующие работы:
- проверка герметичности контейнеров;
- выправка кабелей на вводах в контейнеры;
- выправка проводов заземления.
4.2.11. Работы, выполняемые при профилактическом обслуживании линейно-кабельных сооружений и их элементов, бригадиры (звеньевые) должны фиксировать в «Журнале технического осмотра линейно-кабельных сооружений».
4.3.1. Измерения характеристик кабельных линий местных сетей связи производятся измерительной группой цеха (лаборатории).
Электрические измерения кабельных линий СТС проводятся в соответствии с «Руководством по электрическим измерениям линий сельских телефонных сетей» (М., Связь, 1977).
4.3.3. Измерительная группа выполняет следующие виды измерений на кабельных линиях:
- плановые (периодические) измерения электрических и оптических характеристик линий;
- контрольные измерения линий после выполнения ремонтных и восстановительных работ;
- плановые измерения уровней передачи на линиях прямых проводов;
- периодические измерения сопротивлений заземлений;
- комплекс электрических измерений при приемке в эксплуатацию вновь построенных или реконструированных кабельных линий;
- уточнение кабельных трасс с помощью кабелеискателя;
- измерения для проверки качества изделий (кабелей, боксов, распределительных коробок, разрядников, предохранителей и т.п.), поступающих от заводов-изготовителей, перед установкой их на линии.
4.3.4. Измеренные электрические характеристики (параметры) кабельных линий должны соответствовать нормам, приведенным в «Правилах технического обслуживания и ремонта линий кабельных, воздушных и смешанных местных сетей связи» (М., ГП ЦНТИ «Информсвязь», 1996), а также в отраслевых стандартах: «Линии кабельные, воздушные и смешанные ГТС. Нормы электрические эксплуатационные», ОСТ 45.36-97; «Линии кабельные абонентские ГТС. Нормы эксплуатационные», ОСТ 45.82-97; «Линии абонентские СТС. Нормы эксплуатационные», ОСТ 45.83-97.
Измеренные оптические характеристики (параметры) волоконно-оптических линий должны соответствовать нормам, приведенным в «Руководстве по измерениям характеристик линий городских телефонных сетей в процессе эксплуатации (М., 1997).
Характеристики применяемых на местных сетях связи измерительных приборов приведены в руководствах, указанных в п. 4.3.2.
Перечень измерительных приборов для бригады кабельщиков-спайщиков, устраняющих кабельные повреждения, приведен в Приложении 25.
4.3.5. Электрические измерения на кабельных линиях, связанные с защитой кабелей от коррозии, производятся в соответствии с «Руководством по проектированию и защите от коррозии подземных металлических сооружений связи» (М., Связь, 1978).
4.4.1. Кабельная канализация, кабели, проложенные в канализации, трассы подземных кабельных линий, распределительные шкафы должны быть подготовлены к работе в осенне-зимний период и период паводка.
Элементы защиты линейных сооружений, заземлители, провода заземлений и молниеотводы должны быть подготовлены к работе в грозовой период.
4.4.2. Весной после паводка и осенью перед началом заморозков производится откачка воды из колодцев кабельной канализации; на болотистых участках, где канализация постоянно затоплена водой, работы по откачке воды из колодцев не производятся.
4.4.3. На трассах канализации и подземных кабелей перед паводком должна производиться засыпка промоин щебнем и землей.
4.4.4. Ежегодно перед наступлением грозового периода должна производиться проверка разрядников, установленных в кабельных ящиках.
4.4.5. До наступления грозового периода должна производиться проверка состояния линейных заземлений.
5.1.1. Различаются текущий и капитальный ремонты линейно-кабельных сооружений.
5.1.2. Необходимость проведения и объем работ по текущему ремонту линейно-кабельных сооружений определяются по результатам осмотра и анализа технического состояния сооружений.
5.1.3. Капитальный ремонт линейно-кабельных сооружений производится с периодичностью более одного года в соответствии с указаниями «Правил технического обслуживания и ремонта линий кабельных, воздушных и смешанных местных сетей связи» (М., ГП ЦНТИ «Информсвязь», 1996).
5.2.1. Состав работ по текущему ремонту кабельных линий местных сетей связи приведен в указанных в п. 5.1.3 Правилах.
5.2.2. При текущем ремонте кабельной канализации производят:
- чистку колодцев на участках кабельной канализации;
- выправку кронштейнов и ершей;
- окраску кронштейнов и консолей;
- оштукатуривание стен кирпичных колодцев;
- заделку разошедшихся швов железобетонных колодцев;
- осадку люка колодца;
- наращивание горловины люка, заделку в горловине трещин;
- переустройство колодцев;
- гидроизоляцию колодцев при необходимости;
- ремонт непроходимых и разрушенных каналов;
- защиту трубопроводов на отдельных участках бетонными плитами;
- изменение конфигурации блока трубопроводов или замену асбестоцементных трубопроводов металлическими трубами в нижнем ряду на участках пересечения с теплопроводами;
- замену пластмассовых трубопроводов асбестоцементными или бетонными.
5.2.3. До начала работ колодцы кабельной канализации должны быть провентилированы с помощью электрических или ручных вентиляторов. Открывание колодцев, проверка наличия в них взрывоопасного газа и вентилирование выполняются в соответствии с правилами техники безопасности.
5.2.4. При каждом осмотре колодец должен быть очищен от воды и грязи. Воду из колодца откачивают насосом.
5.2.5. Крышки колодцев должны быть очищены от грязи и замазки и тщательно осмотрены. Крышки, имеющие трещины или поломки, а также неплотно закрывающиеся люки, подлежат замене. Проверяется исправность ручки и запорных устройств на нижней крышке. Неисправные замки заменяются.
5.2.6. Горловина люка должна быть осмотрена с внутренней стороны для обнаружения на ней трещин.
5.2.7. Для удаления воды отверстия всех каналов, введенных в колодец, вскрываются. Вода сливается, и одновременно осматривается кабель, вводимый в канал, после чего каналы вновь заделываются.
Свободные каналы проверяют и очищают раз в 3 года. При наличии в блоке нескольких свободных каналов ежегодной проверке подлежат не менее 1/3 каналов, расположенных в верхней, средней и нижней частях блока. Если при выборочной проверке будут обнаружены засоренные каналы, то необходимо проверить и очистить все свободные каналы данного блока. Результаты проверки оформляются в виде «Протокола проверки и очистки каналов трубопровода на направлении».
В том случае, когда канал не засорен, по нему проталкивают винтовые палки, протягивают канат или трос и, наконец, пропускают контрольный цилиндр, диаметр которого на 8 мм меньше диаметра канала. Например, по каналу диаметром 100 мм пропускают цилиндр диаметром 92 мм, а по каналу диаметром 90 мм - цилиндр диаметром 82 м.
Если же канал засорен песком или грязью, то работы по его очистке выполняют в следующей последовательности. Сначала по каналу проталкиваются винтовые палки, затем протягивается канат или трос с прикрепленной к его концу стальной щеткой малого диаметра (60 мм). К другому концу этой щетки также прикрепляется канат или трос, с помощью которого в необходимых случаях можно вытянуть щетку обратно. Если щетка малого диаметра прошла свободно, то пропускается стальная щетка большего диаметра (88 или 98 мм, в зависимости от диаметра канала). После этого по каналу пропускается контрольный цилиндр. Канал считается исправным, если в нем свободно проходит контрольный цилиндр диаметром 82 или 92 мм (в зависимости от диаметра канала).
В отдельных случаях, когда канал сильно засорен, для его очистки необходимо несколько раз пропустить стальные щетки разных диаметров. Если же канал засорен настолько, что по нему нельзя пропустить винтовые палки, то его предварительно очищают стальным полым цилиндром, укрепленным на конце винтовой палки. Этот цилиндр вводят в канал, затем его вместе с набившейся землей (грязью) вытаскивают обратно, очищают, снова проталкивают в канал и т.д. до тех пор, пока канал не очистится настолько, что по нему можно будет пропустить винтовые палки. Дальнейшая очистка канала выполняется стальными щетками.
5.2.9. Оттаивание льда в каналах трубопровода должно производиться паром, подаваемым в канал по гибкому шлангу от передвижного парообразователя. Для лучшего сохранения температуры и давления пара пространство между шлангом и стенками канала в колодце периодически закрывают войлоком или другим материалом. В пластмассовых трубопроводах лед удаляется воздухом, нагретым до температуры не выше 60 °С.
5.2.10. После окончания проверки и устранения неисправностей все каналы трубопровода заделывают: занятые кабелями - паклей и замазкой; свободные - бетонными, полиэтиленовыми или деревянными пробками, паклей и замазкой.
Замазка не должна содержать веществ, химически воздействующих на оболочку кабеля. Качество замазки предварительно проверяется в химической лаборатории.
5.2.11. При осмотре и текущем ремонте колодцев осматривают и проверяют стены, перекрытия, днища, горловины и люки колодцев, а также арматуру, установленную в них, и устраняют все выявленные дефекты. В случае нарушения устойчивости и надежности крепления люка в толще уличного покрытия и на перекрытии колодца, чаще всего происходящего в местах интенсивного движения городского транспорта, особенно там, где проезды требуют ремонта, асфальтирования или замощения, люк закрепляют щебнем и цементным раствором, а в особых случаях - кирпичной кладкой.
При снижении или повышении уровня мостовой (тротуара) соответственно опускают или поднимают люки колодцев. Заменяют люки устаревших конструкций и люки облегченного типа на люки тяжелого типа, если последние в результате реконструкции улиц оказываются на проезжей части.
В кирпичных колодцах проверяют, не отстает ли штукатурка и есть ли трещины и выбоины. Особенно внимательно проверяется горловина в месте соприкосновения с нижней частью корпуса люка. Штукатурные работы в колодцах должны выполняться при температуре воздуха не ниже +5 °С. Оштукатуривание промерзлых стен и перекрытий не допускается.
В местах с высоким уровнем грунтовых вод в цементный раствор добавляют церезит и другие материалы, способствующие лучшей гидроизоляции.
5.2.13. Одновременно осматривают и проверяют металлические детали оборудования колодцев - кронштейны, консоли и серьги. Кронштейны проверяют на прочность крепления к стенам колодца, на отсутствие изгибов, на прочность соединения двух полос или угольников заклепками и т.п. Поврежденные кронштейны при необходимости заменяют. У слабо закрепленных кронштейнов подтягивают гайки ершей, если позволяет состояние резьбы. Если ерш сильно окислился или расшатался, его целесообразно заменить. Для этого старый ерш удаляют и пробивают новое отверстие, в которое заделывают новый ерш. Старое отверстие заделывают цементным раствором. Проверяют прочность крепления консолей к кронштейнам. При необходимости подвертывают гайки консольных болтов консольными ключами. Если подвернуть гайки или отвернуть их не удается, болты срубают зубилом и устанавливают новые. При обнаружении в консолях трещин, сколов, деформаций и т.п. их заменяют.
Серьги для крепления блоков при протягивании кабелей проверяют на прочность заделок в стенах. Если требуется укрепить серьгу, в том месте, где она вставлена, делают конусообразное отверстие глубиной до хвостовой части. Затем отверстие заполняют цементным раствором состава 1:3 или 1:2.
5.2.14. После окончания проверки и ремонта каждого колодца все металлические конструкции - кронштейны, консоли, серьги, нижние крышки, запорные приспособления и внутреннюю поверхность люков тщательно очищают от окиси (ржавчины) стальной щеткой, просушивают и окрашивают битумным лаком, масляной краской или железным суриком, разведенным на олифе.
5.2.15. В помещениях ввода кабелей осмотр и текущий ремонт проводятся аналогично ремонту в колодцах. Все каналы введенных в помещения ввода кабелей трубопроводов следует тщательно проверить и очистить; кронштейны и консоли надежно укрепить и покрасить; проверить состояние помещения и устранить дефекты.
Подъем люка может вызвать увеличение высоты горловины колодца. Это потребует или наращивания ее высоты, или переустройства перекрытия и самого колодца. Поднятие люка без расширения нижней части горловины или без переустройства перекрытия допускается только в том случае, если высота горловины после установки люка на новых отметках не превысит 0,5 м. В этом случае вокруг люка производят раскопку, люк снимают и одновременно с горловиной очищают от остатков грунта и бетона. Затем горловину наращивают дополнительными железобетонными кольцами или кирпичной кладкой на цементном растворе состава 1:3. После того как достигнуты необходимые габариты, на горловину наносят слой цементного раствора и устанавливают люк. Правильность установки люка выверяют при помощи рейки согласно заданным горизонтальным отметкам. Горловину с внутренней и наружной сторон штукатурят; свежую штукатурку с внутренней стороны обжимают железными обручами. Затем устанавливают нижнюю и верхнюю крышки. Место раскопки засыпают грунтом и оформляют заявки на замощение или асфальтирование.
Если требуется поднять люк настолько, чтобы общая высота горловины составила более 0,5 м, следует расширить нижнюю часть горловины или поднять перекрытие колодца, нарастив его стены. В первом случае (наиболее приемлемом при железокирпичных перекрытиях) горловину выкладывают из кирпича в виде конуса с диаметром основания, равным приблизительно 1 м. Это необходимо для удобного спуска и подъема из колодца обслуживающего персонала. Во втором случае обнажают и снимают или разбивают перекрытие и наращивают стены колодца железобетонными плитами или кирпичной кладкой.
По достижении нужной высоты снятое перекрытие вновь опускают на наращенные стены, а если оно было разобрано, то делают заново. На перекрытие устанавливают железобетонные кольца и люк.
Опустить люк на расстояние, не превышающее толщины железобетонных колец или кирпичной кладки, можно, сняв их, а когда требуется снижение на большую величину, то опускают перекрытие.
В более сложных случаях колодец полностью переделывают.
При непрочных уличных покрытиях (неусовершенствованных мостовых), на склонах проездов с интенсивным движением городского транспорта и т.п. возможны случаи смещения люков колодцев. Обычного закрепления люка на горловине колодца в таких местах оказывается недостаточно, и поэтому применяют усиленное крепление - кирпичную кладку.
Для этого около люка вскрывают мостовую, люк и перекрытие вокруг него очищают от остатков цементного раствора и грунта и смачивают водой. Вокруг люка на цементном растворе выкладывают кольцеобразно кирпичную стенку так, чтобы она превысила основание люка на 30 - 50 мм. Кирпичное кольцо сверху обмазывают (штукатурят) цементным раствором по всей поверхности люка до перекрытия. Затем в обычном порядке производят засыпку грунта и замощение.
Если люк был сдвинут случайно (при движении нетипового тяжелого транспорта, при укладке асфальта и т.п.) и в дальнейшем новый сдвиг исключается, то люк устанавливают на прежнем месте.
5.3.1. Состав работ по капитальному ремонту линий местных сетей связи приведен в Правилах, указанных в п. 5.1.3.
5.3.2. При капитальном ремонте сооружений кабельной канализации связи выполняются следующие работы:
- приведение колодцев и трубопроводов в соответствие с нормами. В состав таких работ входят: выправка трубопроводов при осадке, разрушении стыков и перемычек между каналами; переустройство скрытых подземных колодцев на колодцы с наружными люками; переделка малогабаритных или ветхих колодцев на типовые железобетонные; замена нетиповых люков; гидроизоляция колодцев;
- устройство кабельной канализации протяженностью до 100 м для упразднения подвесных кабелей на переходах через улицу и при изменении трассы кабеля;
- ремонт пришедшей в негодность многоотверстной кабельной канализации путем возведения на этой же трассе коллектора с перекладкой в него кабеля;
- очистка свободных и занятых каналов путем перенизывания труб.
5.4.1. К приемке в эксплуатацию предъявляются линейно-кабельные сооружения, по которым выполнены все работы, предусмотренные планом ремонта.
5.4.2. Приемка в эксплуатацию отремонтированных линейно-кабельных сооружений производится приемочной комиссией, назначаемой приказом или распоряжением руководителя предприятия местной связи.
5.4.3. Порядок приемки в эксплуатацию отремонтированных линейно-кабельных сооружений местных сетей связи приведены в Правилах, указанных в п. 5.1.3.
6.1.1. Общие положения по организации работ по устранению аварий и повреждений линейно-кабельных сооружений, приведены в главе 6 «Правил технического обслуживания и ремонта линий кабельных, воздушных и смешанных местных сетей связи» (М., ЦНТИ «Информсвязь», 1996).
6.1.2. При выявлении кабельного повреждения в рабочее время работник бюро ремонта должен:
- совместно с монтером по эксплуатации абонентских устройств определить поврежденный участок кабеля и переключить поврежденные пары на свободные исправные. Все переключения должны производиться по указанию руководителя бюро ремонта и по согласованию с группой технического учета;
- выписать два экземпляра наряда на исправление кабеля. На городских телефонных сетях емкостью менее 2000 номеров и на сельских телефонных сетях наряды на исправление кабеля не выписываются и все задания даются лично по телефону;
- дать задание на измерение поврежденной кабельной линии и одновременно поставить в известность электромеханика и бригадира кабельщиков-спайщиков о кабельном повреждении на их участке и необходимости выезда на место повреждения;
- выдать бригаде кабельщиков-спайщиков наряд с результатами измерений после того, как работниками измерительной группы будет определено расстояние до места повреждения.
Результаты измерений фиксируются в нарядах на основании сообщения по телефону, а затем подтверждаются (подписываются) лицом, производившим измерения.
Примечание. В случае сообщения с землей хотя бы одной жилы межстанционного или магистрального кабеля, а также распределительного кабеля, обеспечивающего связь особо важных объектов, работник бюро ремонта должен дополнительно поставить об этом в известность руководителя кабельно-канализационного участка или линейного инженера.
6.1.3. При выявлении кабельного повреждения в вечернее время или в выходные дни дежурный персонал АТС обязан организовать переключение поврежденных пар, по которым работают особо важные абоненты, на исправные пары.
6.1.4. При выявлении кабельной аварии работник бюро ремонта должен выполнить требования п. 6.1.2 и немедленно:
- сообщить о кабельной аварии главному инженеру сети (узла), а также руководителям кабельно-канализационного участка, измерительной группы, группы технического учета и кросса;
- выявить в группе техучета номера телефонов, включенных в поврежденный кабель, предупредить абонентов о повреждении и продолжительности перерыва связи, организовать переключение важнейших абонентов на исправные пары;
- завести отдельный контрольный лист.
6.1.5. При выявлении кабельной аварии в нерабочее время дежурный персонал АТС извещает об аварии согласно п. 6.1.4 и изолирует в кроссе поврежденные пары. Остальные мероприятия, перечисленные в п. 6.1.4, выполняет вызванный на станцию персонал кросса.
6.1.6. Бригадир кабельщиков-спайщиков после извещения о кабельной аварии должен:
- совместно с подчиненной ему бригадой обследовать трассу кабеля;
- по данным электрических измерений и результатам наружного осмотра кабеля определить место повреждения, принять решение о порядке работ по устранению повреждения и устранить его.
6.1.7. Электромеханик после извещения о кабельной аварии должен:
- организовать бригаду по устранению аварии;
- руководить лично работами по устранению аварии распределительного кабеля;
- проконтролировать выполнение требований техники безопасности;
- при необходимости по согласованию со старшим электромехаником (инженером) кабельно-канализационного участка организовать сменную работу с ведением табеля на работающих;
- при организации сменной работы обеспечить телефонную связь с бригадами, устраняющими аварию кабеля;
- по возможности избегать вскрытия симметрирующих и конденсаторных муфт кабеля, уплотненного аппаратурой системы передачи;
- проконтролировать включение подкачки воздуха в поврежденный кабель (в случае если поврежденный кабель содержится под постоянным избыточным газовым давлением);
- в случае аварии кабеля, произошедшей по вине сторонней организации, составить акт с участием представителя строительной организации;
- проверить выполнение бригадиром кабельщиков-спайщиков требований п. 6.1.6.
В случае повреждения кабельной канализации электромеханик должен:
- определить место, вид и объем повреждения и его причины;
- организовать бригаду электромонтеров канализационных сооружений связи для устранения повреждения;
- составить акт с участием представителя организации, повредившей кабельную канализацию, с целью привлечения виновных к ответственности в соответствии с «Правилами охраны линий и сооружений связи Российской Федерации» (М., 1995).
6.1.8. Руководитель кабельно-канализационного участка после извещения об аварии или кабельном повреждении, указанном в примечании к п. 6.1.2, должен:
- проконтролировать выполнение работ измерительной группой по определению расстояния до места повреждения кабеля;
- проконтролировать включение подкачки воздуха в поврежденный кабель (если последний содержится под давлением);
- организовать выезд на линию бригады кабельщиков-спайщиков и электромеханика к предполагаемому месту повреждения;
- обеспечить бригаду транспортом и механизмами;
- в зависимости от результатов измерения сопротивления изоляции, расхода воздуха (в случае если кабель содержится под давлением) и результатов осмотра предполагаемого места повреждения на линии решить вопрос организации работ по устранению данного повреждения, обеспечивающих минимальный срок нарушения связи и предусматривающих круглосуточную работу по ликвидации аварии;
- в случае необходимости выполнения земляных работ получить разрешение на их проведение;
- разрешить в случае необходимости использование аварийного запаса;
- проверить выполнение электромехаником требований п. 6.1.7.
6.1.9. Главный инженер сети (узла), получив извещение об аварии кабеля, должен:
- прибыть к месту аварии и в зависимости от размеров аварии и важности связей, работающих в данном кабеле, либо лично возглавить работу, либо возложить руководство работами на руководителя кабельно-канализационного участка или другое лицо;
- систематически контролировать выполнение аварийных работ;
- при аварии кабеля межстанционной связи организовать дежурство персонала в кроссах станций и работу по перераспределению пучков соединительных линий.
6.1.10. Работник измерительной группы после извещения о повреждении (аварии) кабеля должен:
- определить расстояние до места повреждения (аварии) кабеля;
- уточнить по материалам группы технического учета предполагаемое место повреждения (аварии) на трассе кабеля;
- сообщить данные о месте повреждения (аварии) кабеля в кросс;
- если по результатам измерений место повреждения обнаружено не будет, уточнить место повреждения путем дополнительного измерения из муфты, ближайшей к предполагаемому месту повреждения.
6.1.11. Работник группы технического учета после извещения об аварии должен:
- по запросу кабельной группы или кросса подготовить список номеров телефонов, включенных в поврежденный кабель, и передать этот список в бюро ремонта;
- подготовить кроссировочные ведомости для организации временных и обходных связей и проследить за переключением их на старые данные после устранения аварии кабеля;
- выдать данные о поврежденном кабеле измерительной группе;
- внести по инвентарной справке необходимые изменения в техническую документацию.
6.1.12. При повреждении волоконно-оптической линии связи (обрыве оптических волокон линейного кабеля, повышении их затухания до величины выше допустимой) система телеконтроля оборудования линейного оптического тракта (сервисное оборудование) фиксирует отсутствие сигнала приема, что вызывает срабатывание аварийной сигнализации.
Технический персонал линейно-аппаратного зала определяет вид аварии, в случае повреждения на линии осуществляет переход на резервный тракт и сообщает об аварии через диспетчера электромеханику кабельно-канализационного участка линейно-кабельного (линейного) цеха.
Электромеханик организует работы по поиску и устранению повреждения оптического кабеля. Порядок поиска и устранения повреждения оптического кабеля приведен в разделе 7.2.
6.2.1. После устранения кабельного повреждения или аварии должны быть выполнены следующие работы:
- контрольная прозвонка восстановленного кабеля;
- проверка с испытательно-измерительного стола кросса всех ранее поврежденных линий неуплотненного кабеля и снятие изоляционных прокладок в кроссе с восстановленных линий (в случае уплотненного кабеля проверку проводит ЛАЦ);
- электрические измерения всех пар восстановленного кабеля (на постоянном и на переменном токах);
- упразднение временных и обходных связей, организованных при восстановлении поврежденного кабеля;
- выкладка и укрепление кабеля и муфт в месте выполнения работ;
- восстановление постоянного избыточного газового давления в межстанционном или магистральном кабеле.
6.2.2. После устранения кабельного повреждения или аварии оформляют следующие документы:
- протоколы контрольных измерений кабеля;
- наряды на исправление кабеля. Один экземпляр наряда кабельная группа передает в группу технического учета для корректировки технической документации, а второй экземпляр оставляет в кроссе;
- инвентарная справка в случае изменения схемы кабельной сети (на сетях до 2000 номеров заполняется «Журнал регистрации изменений линейных сооружений»), по которой корректируется техническая документация на поврежденный кабель.
После устранения повреждения кабельной канализации электромеханик проверяет выполненные ремонтные работы и делает запись в журнале регистрации повреждений кабельной канализации. Об устранении каждого повреждения трубопровода или колодца делается запись в паспорте кабельной канализации или паспорте колодца.
В случае если повреждение или авария вызваны действиями сторонней организации, составляется смета на восстановительные работы, которая предъявляется к оплате организации, повредившей кабель.
Своевременность и правильность устранения повреждений кабельной канализации контролируется начальником линейно-кабельного (линейного) цеха или линейным инженером местной телефонной сети.
6.2.3. Восстановленный кабель в кратчайшие сроки должен быть приведен в соответствие со всеми действующими нормами.
6.2.4. По окончании восстановительных работ пополняется аварийный запас кабеля и материала, если они расходовались при устранении повреждения (аварии) кабеля или повреждения кабельной канализации.
6.2.5. По окончании работ по ликвидации аварии с линейным персоналом производится разбор причин, вызвавших аварию, и рассмотрение правильности проведения восстановительных работ.
7.1.1. Методы отыскания и устранения повреждений кабелей и оконечных устройств на линиях, содержащих кабели с медными жилами, приведены в разделе 6.2 «Правил обслуживания и ремонта линий кабельных, воздушных и смешанных местных сетей связи» (М., ЦНТИ «Информсвязь», 1996).
7.1.2. Повреждение в защитной полосе кросса и на участке ввода кабеля в защитную полосу определяют следующим образом.
При повреждении в защитной полосе кросса ее тщательно осматривают, находят и устраняют повреждение. При отсутствии внешних признаков неисправности поврежденную пару выпаивают с линейных пружин и измеряют сопротивление изоляции линейной части полосы, по результатам которого судят о наличии или отсутствии повреждения в арматуре защитной полосы.
В случае отсутствия повреждения в защитной полосе следует у среза оболочки кабеля, включенного в нее, сделать продольный надрез на протяжении 5 см, отогнуть оболочку в месте надреза и осмотреть изоляцию жил. При обнаружении повреждения устранить его.
В случае отсутствия повреждения у среза оболочки кабеля в месте вскрытия необходимо разрезать поврежденную пару и измерить сопротивление изоляции в обе стороны от места вскрытия.
Если повреждение находится в расшивке кабеля, последнюю освобождают от привязок, отделяют пары, отыскивают и устраняют повреждение.
Устранять повреждения в отдельных парах расшивки рекомендуется путем просушки теплым воздухом с последующим измерением сопротивления изоляции.
При значительном количестве поврежденных пар в защитной полосе рекомендуется заменить ее новой, заряженной новым кабелем.
7.1.3. Основным методом устранения повреждений кабелей марки МКС является выполнение вставки кабеля или замена пролета. При этом новый кабель концом А нужно прокладывать в направлении А (концом А строительной длины кабеля называется тот его конец, на котором цвета жил внутри четверки в направлении по часовой стрелке чередуются в следующем порядке: красная, зеленая, желтая, синяя).
К спаечно-монтажным работам разрешается приступить только после отключения дистанционного питания по распоряжению главного инженера сети.
При выполнении спаечно-монтажных работ следует по возможности избегать вскрытия симметрирующих и конденсаторных муфт.
После замены поврежденного пролета кабель измеряют постоянным током (сопротивление изоляции, емкость) и переменным током (защищенность на дальнем и ближнем концах).
По результатам измерений определяют необходимость выполнения работ по симметрированию кабеля.
Работы по симметрированию выполняют в строгом соответствии с «Руководством по симметрированию кабелей связи в широком диапазоне частот» (М., «Связь», 1965).
7.2.1. Работы по отысканию и устранению повреждений на действующих ВОЛС местных сетей связи должны производиться группой ВОЛС предприятия связи (сети, узла и т.п.), оснащенной комплектом всех необходимых приборов и инструментов (Приложение 22). Группа должна иметь в своем распоряжении монтажную машину на базе автомобиля повышенной проходимости. В процессе поиска повреждений группе предстоит обследовать обе оконечные станции ВОЛС и ряд колодцев, поэтому машина оснащается комплектом ограждений, лестницами, шанцевым инструментом, металлоискателем, газоанализатором и помпой для откачки воды. Для монтажа и ремонта муфт в машину устанавливаются: дополнительный аккумулятор, монтажный стол и крепежные приспособления для того типа муфт, который используется на данном кабеле.
7.2.2. Состав группы: измеритель ВОЛС, три монтажника ВОЛС и водитель монтажной машины. Измеритель ВОЛС выполняет обязанности производителя работ и руководит действиями остальных членов группы.
7.2.3. Как правило, работники АТС, на которых обнаружены повреждения, не имеют средств для определения их характера и места. Они могут сообщить о поврежденном кабеле только следующее: номер кабеля, номера стоек ВСОК и СКУ, номера УССЛК и ОСП, места установки КЛТ и их тип. Этих сведений недостаточно для комплектации и организации работ на линейном кабеле. Поэтому измеритель ВОЛС перед выездом на линию должен получить паспорт-протокол данного кабеля, который хранится в архиве группы ВОЛС или в тех подразделениях предприятия связи (сети), на которые возложены обязанности по технической эксплуатации ВОЛС. Паспорт-протокол (Приложение 26) является универсальным документом и содержит все необходимые для организации работ данные. К работам следует приступать только после получения паспорта-протокола.
Если на сети подобных документов не имеется, то измеритель ВОЛС должен получить копию исполнительской документации на поврежденный кабель и выбрать оттуда все нужные ему сведения.
7.2.4. После изучения паспорта-протокола комплектуются приборы, например, для работы на кабеле ОК-50-02-5-8 готовится следующий комплект:
- оптический рефлектометр со сменным блоком для работы с многомодовым оптическим волокном на длине волны 0,85 мкм и выходным разъемом типа FC;
- комплект измерительных шнуров для рефлектометра:
многомодовый патчкорд «FC - (ЛИСТ-БУЛАВА)»;
многомодовый пигтейл «FC», приваренный к многомодовому волокну на катушке, общей длиной не менее 300 м;
- соединительные розетки «ЛИСТ-БУЛАВА» - 2 штуки;
- переходные розетки «ЛИСТ-БУЛАВА» - «ЛИСТ-Х» - 2 штуки;
- юстировочное устройство: столик или адаптер для волокна;
- комплект оптических тестеров ОМКЗ-76А;
- сварочное устройство КСС-111 или любое другое;
- блок питания сетевой и переносной аккумулятор для работы сварочного устройства в коллекторах;
- телефоны полевые ТА-57, комплект радиостанций или оптический телефон для организации служебной связи.
7.2.5. Оснащенная всем необходимым группа ВОЛС прибывает на ближайшую из оконечных станций данного кабеля и производит контрольные измерения волокон поврежденного кабеля рефлектометром с разъемов ШСС с помощью патчкорда и соединительной розетки. Перед началом измерений следует убедиться в том, что блоки аппаратуры на обеих станциях отключены.
7.2.6. Если сигнал в оптическое волокно ввести не удается, то есть на экране рефлектометра нет изображения линии, то следует убедиться в исправности ШСС и его разъема. Они проверяются внешним осмотром, протираются спиртом, и попытка ввести сигнал повторяется.
Если и при второй попытке сигнал ввести не удается, то следует вскрыть оконечное устройство (УССЛК или ОСП), извлечь из него плату или катушку данного ШСС и сломать волокно рядом с гильзой КДЗС по обе стороны от нее. Подключить рефлектометр к волокну линейного кабеля с помощью пигтейла и котировочного устройства. Если при подключении к волокну на экране рефлектометра получено изображение кривой, соответствующей нормальным характеристикам волокна, делается вывод о неисправности ШСС или о наличии обрыва на стыке волокон ШСС и кабеля, то есть в вырезанной гильзе КДЗС.
ШСС проверяют с помощью комплекта оптического тестера методом обрыва, его затухание не должно превышать 3 дБ. Если ШСС исправен, то его вновь сваривают с волокном линейного кабеля.
Сварное соединение проверяют на целостность рефлектометром. Запасы волокон ШСС и линейного кабеля укладывают в оконечное устройство, закрывают его крышкой и вновь проверяют волокно рефлектометром.
Если ШСС неисправен, то его отбраковывают и заменяют на исправный, взятый из эксплуатационного запаса.
7.2.7. В случае, когда все ШСС исправны, поочередно просматривают все волокна, настроив рефлектометр так, чтобы на экране была видна вся длина волокна или хотя бы половина линии. При обнаружении повреждений: обрывов, больших неоднородностей в виде ступеней или постепенного пропадания сигнала в шумах определяют расстояние до них и сравнивают рефлектограмму со схемой трассы на паспорте-протоколе, имея целью определить, где находится повреждение: в муфте, в строительной длине ОК или на противоположной станции.
7.2.8. При обнаружении повреждения в муфте измеритель группы ВОЛС по паспорту-протоколу определяет ее адрес и посылает на муфту машину с монтажниками. Монтажники открывают колодец, осматривают муфту и запас кабелей в колодце, проверяя их на наличие внешних повреждений. При обнаружении серьезных внешних повреждений кабелей или муфты, которые повлекут за собой замену пролета кабеля, монтажники связываются с измерителем по городскому телефону и докладывают о результатах осмотра.
Затем монтажники должны определить объем робот по устранению повреждения и количество кабеля, необходимого для замены поврежденного пролета.
7.2.9. Если при внешнем осмотре кабеля повреждений не обнаружено, то монтажники извлекают муфту из колодца, вносят ее в монтажную машину и вскрывают. По металлическим элементам кабеля или одному из волокон с помощью оптического телефона они связываются с измерителем, который, пользуясь данными паспорта-протокола, сообщает им номер и цвет модуля с поврежденным волокном. Монтажники извлекают волокно из муфты или кассеты и осматривают. Если внешних повреждений нет, то монтажники свободно выкладывают волокно на столе и измеритель вновь просматривает его рефлектограмму. При подобных действиях могут быть устранены неоднородности с большими значениями затухания, которые иногда появляются при небрежной укладке запасов волокон в муфтах типов СМОК и МГОК.
7.2.10. Если монтажники при внешнем осмотре оптического волокна обнаружили повреждение в виде обрыва, искривления волокна внутри гильзы, сползания гильзы, то они докладывают об этом измерителю. Измеритель подключает рефлектометр к данному волокну и по его команде монтажники обламывают волокно по обе стороны от гильзы, сначала дальний конец, потом ближний. Затем они подготавливают волокна и вновь сваривают их.
7.2.11. Если измеритель не наблюдает процессов скалывания, юстировки и сварки на экране рефлектометра, то это означает, что обрыв волокна находится в самой муфте или непосредственной близости от нее. В этом случае действуют следующим образом:
- обламывают волокно на сварочном устройстве и скалывают его со стороны измерителя;
- если измеритель наблюдает на экране рефлектометра изменения при выполнении этих операций и по их окончании на конце линии появляется всплеск, соответствующий нормальному сколу, то волокно на участке «измеритель - муфта» исправно;
- затем подготавливают волокно с другой стороны и юстируют готовые к сварке волокна в сварочном устройстве;
- если измеритель оценивает юстировку как нормальную, то по его команде производят сварку и при получении нормального затухания стыка делается вывод о том, что обрыв находился в вырезанной гильзе или в волокне рядом с ней;
- если при юстировке измеритель не наблюдает на экране рефлектометра длины за местом стыка волокон, это повреждение находится за стыком в самой муфте или рядом с ней;
- монтажники обследуют волокно в муфте с поврежденной стороны, осторожно пытаясь вытянуть его из модуля, если отрезок волокна вытягивается из модуля, то монтажники разделывают модуль и определяют длину остатка исправного волокна, в зависимости от его длины переделывается только это волокно или вся муфта целиком с использованием запаса линейного кабеля с поврежденной стороны;
- если обрыв волокна в муфте не обнаружен, измерителю следует переехать с прибором на противоположную оконечную станцию и попытаться найти место обрыва оттуда. При этом рекомендуется для сравнения оборвать одно из исправных волокон, чтобы точнее определить место обрыва и решить, хватит ли запаса кабеля около муфты или потребуется замена участка кабеля.
7.2.12. Обрыв или неоднородность могут появиться в любой строительной длине в результате внешних воздействий на ОК, например, при проседании канализации, при раскопках, прорыве теплотрасс, повреждениях оболочки кабеля грызунами. В этом случае измеритель отправляет монтажников осмотреть несколько колодцев в районе повреждения. Определив примерное место повреждения по паспорту-протоколу и по уличному чертежу, в ближайших колодцах монтажники по несколько раз резко изгибают кабель. По всплескам на рефлектограмме измеритель определяет колодцы по обе стороны от повреждения. По его команде монтажники обрезают кабель, вытягивают его до ближайших колодцев и определяют длину кабеля для замены поврежденного участка.
7.2.13. Если ОК поврежден в строительной длине (в пролете между колодцами) или запас не позволяет переделать муфту, то производится вставка участка исправного кабеля. Для замены подбирается кабель с волокнами, характеристики которых полностью идентичны характеристикам волокон поврежденного кабеля.
Кабель для вставки должен быть подвергнут входному контролю и проверен рефлектометром после прокладки. Результаты проверок оформляются протоколами. Проложенный кабель сдается в монтаж после того, как измерения подтвердят его исправность.
7.2.14. Длина вставки определяется исходя из энергетического потенциала аппаратуры, характеристик рефлектометров и условий прокладки. Если повреждение находится на расстоянии не более 300 м от существующей муфты, то вставка прокладывается в направлении от муфты, перекрывая место повреждения. На противоположном конце вставки монтируется новая муфта, а существующую вскрывают, вводят в нее новый кабель и переделывают.
7.2.15. При прокладке вставки в канализации связи поврежденный кабель обрезают и вытягивают из канала, а на его место затягивают исправный. Если поврежденный кабель был проложен в трубах, рекомендуется извлечь его из каналов вместе с трубами, в качестве нового кабеля использовать бронированные ОК марок ОКСТ, ОМЗКГ, ОЗКГ.
При отсутствии возможности удаления поврежденного кабеля из канала новый прокладывают в том же канале. Если этот канал не позволяет проложить новый кабель, то его прокладывают в другом, заранее подготовленном канале, обеспечивающем нормальную раскладку кабелей в колодцах.
7.2.16. После ремонта и монтажа оптической муфты ее вместе с бухтами запаса опускают в колодец и укладывают на место. По завершении ремонтных работ производят контрольные измерения всех волокон на регенерационном участке рефлектометром и оптическими тестерами.
7.2.17. Если повреждения находились в муфтах или в оконечных устройствах и значения затухания волокон после ремонта не изменились, то новый паспорт-протокол не оформляется, в старом делают пометки о ремонте.
7.2.18. Если в процессе ремонта была сделана вставка нового участка кабеля, или кабель был переключен на другую станцию, или после нескольких лет эксплуатации значительно увеличились значения затухания волокон, то после контрольных измерений оформляется новый паспорт-протокол, в котором фиксируются новые характеристики кабеля.
7.3.1. Повреждения кабельной канализации могут быть следующих видов: механические повреждения трубопроводов и колодцев; осадка канализации; повреждение перемычек между каналами; засорение каналов.
7.3.2. Механические повреждения трубопроводов и колодцев происходят главным образом в результате несоблюдения правил ведения земляных работ вблизи канализации; неточных сведений о месте расположения сооружений кабельной канализации, сообщаемых строительным организациям; недостаточного надзора или контроля за раскопками со стороны представителей ГТС. Эти повреждения вызываются землеройными механизмами, ударными и бурильными инструментами.
Трубопровод, перекрытия колодцев и люки, не соответствующие по механической нагрузке месту установки, могут быть повреждены при проезде тяжелого транспорта (трейлеров, катков при асфальтировании и т.п.).
Трубопроводы могут быть повреждены при буровых осмотрах трассы работниками газификации, при установке и ремонте тротуарного бортового камня, устройстве заборов, озеленении улиц и т.п.
7.3.3. Осадка канализации может произойти при авариях водопроводной или сточно-канализационной сети, а также вследствие ливневых дождей или других стихийных бедствий. Осадка трубопровода может произойти и там, где он проложен по неуплотненному (рыхлому) грунту, а также при оползании грунта на берегах водоемов или оврагов, неправильной подвеске трубопровода и т.п.
Во всех указанных случаях под трубопроводом образуются пустоты, и трубопровод от действия нагрузок оседает, надламываясь в местах стыка отдельных труб.
7.3.4. Разрушение перемычек между каналами и внешних оболочек многоотверстных бетонных труб происходит при длительной их эксплуатации под влиянием агрессивных веществ, находящихся в почве, а также из-за низкого качества бетона и нарушения технологии производства труб. Перемычки могут быть повреждены также острыми и неисправными инструментами при устройстве или прочистке каналов канализации.
7.3.5. Каналы трубопровода могут засориться в результате проникновения в них грунта и загрязненной воды, из которой постепенно наслаиваются твердые осадки. Эти явления имеют место из-за низкого качеств заделки труб, нарушения стыков труб при незначительной просадке трубопровода, а также вследствие незамеченного и неустраненного повреждения труб, попадания грязной воды из смотровых устройств и т.п. Кроме того, скопившаяся в каналах вода, замерзая в зимнее время, часто вызывает повреждения кабелей и разрушения труб.
7.3.6. Небольшие повреждения трубопроводов заделывают цементным раствором состава 1:3 либо накладывают на отверстие свинцовую, пластмассовую или асбестоцементную пластину, выгнутую по форме внутренней стенки канала; сверху пластину обмазывают бетоном.
7.3.7. Разрушенные (раздавленные транспортом) трубы заменяют новыми с перезаделкой стыков. Если каналы заняты кабелями, то после удаления поврежденных труб надевают на кабель разрезные трубы и заделывают швы и стыки цементным раствором состава 1:3. Разрезные трубы изготовляют из целых, разрезанных продольно острым зубилом.
7.3.8. В случае незначительного нарушения (на небольшом расстоянии) целостности многоотверстного блока трубопровода, загруженного кабелями, рекомендуется в месте повреждения выложить колодец. Колодец сооружается так, чтобы одна его стенка была прямой и параллельной кабелям, проложенным в каналах. Поврежденные трубы разбивают и удаляют. Место ввода труб в торцевые стенки колодца смещают к прямой стенке, к которой крепятся кронштейны. Консоли снизу подводятся под кабели и закрепляются на кронштейнах.
В отдельных случаях целесообразно выложить колодец нормальной формы и пропускать кабели посередине его. При этом кронштейны обычно укрепляют в дно и перекрытие колодца, кроме того, в местах входа и выхода пучка кабелей устанавливаются люки.
7.3.9. При разрушении перемычек у небольшого числа труб (1 - 2 трубы) трубопровод восстанавливается теми же способами, как и при устранении механических повреждений. Если же перемычки разрушены у большого числа труб, то повреждение устраняют по временному варианту. Эти работы включают в план капитального ремонта, при этом предусматривается строительство канализации по параллельной трассе.
7.3.10. При небольшом повреждении полиэтиленовой трубы поверх отверстия накладывается полиэтиленовая пластинка и приваривается к трубе путем прогрева места повреждения паяльной лампой через стеклоткань. Сильно разрушенные полиэтиленовые трубы заменяют новыми.
7.3.11. При повреждении многоотверстной цилиндрической бетонной трубы на значительной длине поврежденный пролет заменяется блоком из разрезных труб.
7.3.12. Работу по исправлению осевшей канализации начинают с определения места, причин и размеров просадки осмотром на месте и проталкиванием винтовых палок. В случае необходимости производят очистку свободных каналов. Способы очистки засоренных каналов описаны в п. 5.2.8.
Затем после получения разрешения раскапывают грунт до обнажения нижней поверхности осевших труб трубопровода. Сверху вдоль трубопровода укладывают балку, размеры которой выбирают в соответствии с таблицей (Приложение 35). Концы балки должны лежать на неповрежденных (неосевших) трубах блока. Стыки осевших труб разделывают. После этого трубы одну за другой выравнивают и прикрепляют временными проволочными хомутами к балке. Затем проверяют прямолинейность подвески свободных труб пробным цилиндром, а занятых - по наружной поверхности, после чего проволочные хомуты стягивают и закрепляют, а стыки труб заделывают и обмазывают цементным раствором.
7.3.13. Если произошла осадка трубопровода на значительном расстоянии, продольную балку прикрепляют (подвешивают) к нескольким поперечным балкам, концы которых укладывают на твердый грунт.
7.3.15. Если осадка трубопровода произошла в течение одного года эксплуатации после раскопки, производившейся сторонней организацией, то следует выяснить степень виновности этой организации.
Работы по исправлению осевшей канализации выполняют в соответствии с указаниями в п.п. 7.3.12 - 7.3.14, а для выяснения степени виновности сторонней организации обнажают несколько непросевших труб с обеих сторон и проверяют, были ли оставлены в земле распорки при засыпке траншеи в месте пересечения, уточняют глубину заложения проложенных сооружений, способ засыпки траншеи, затем составляют акт и отправляют его копию соответствующей организации для возмещения ущерба в соответствии с «Правилами охраны линий и сооружений связи РФ» (М., 1995).
7.3.16. Если осадка трубопровода произошла в результате сползания грунта вдоль берега реки или оврага на значительном расстоянии и в дальнейшем может повториться, целесообразно переложить канализацию по другому направлению. До выполнения этих работ необходимо удалить поврежденные трубы, кабели уложить во временные деревянные короба, укрепив их сваями со стороны реки или оврага. Короба с кабелями подвешивают к сваям на хомутах. Если масса одного погонного метра трубопроводов с кабелями небольшая, то вместо коробов может быть подвешен трубопровод с кабелями.
7.3.17. Во всех случаях, когда при исправлении трубопровода приходится удалять поврежденные трубы, все обнаженные кабели должны быть проверены и, в случае надобности, исправлены кабельщиками-спайщиками. Если к концу рабочего дня исправление канализации не закончено, то на время прекращения работ обнаженные кабели необходимо заключить в прочные деревянные короба. Применение деревянных коробов допускается только в качестве временной меры.
7.3.18. Основными видами повреждений кабельных колодцев являются: трещины в стенах или перекрытиях, смещение люка, разрушение перекрытий.
7.3.19. В колодцах мелкие трещины заделывают согласно п. 5.2.12.
Возникновение трещин в перекрытиях или стенах (но не в стыках) чаще всего связно с тем, что прочность колодца не соответствует нагрузке, которую он испытывает. В этом случае колодцы подлежат переустройству или капитальному ремонту.
7.3.20. Если кирпичный колодец неоштукатурен и находится в грунте с высоким уровнем подпочвенных вод, то его стены могут пропитаться влагой. В этом случае заделывают трещины изнутри колодца, выполняют раскопку вокруг него до днища, промывают стены снаружи водой и оштукатуривают цементным раствором с примесью церезита или другого материала, способствующего лучшей гидроизоляции. Вместо вынутого грунта при обратной засыпке целесообразно использовать щебень.
7.3.21. Смещенный люк устанавливают на место с простым или усиленным креплением. Простое крепление люка выполняют при смещении, вызванном проездом тяжелого транспорта или укаткой асфальта. Усиленное крепление производят при смещении люка на проездах с уклоном или с интенсивным движением городского транспорта и т.д.
Указания по установке и креплению люков приведены в п. 5.2.16.
8.1.1. Содержание кабельных линий под постоянным избыточным газовым давлением позволяет контролировать герметичность оболочек кабелей, при повреждении оболочки предохраняет сердечник кабеля от проникновения влаги, а также позволяет определять место повреждения оболочки.
8.1.2. Установка кабельных линий местных сетей связи под постоянное избыточное газовое давление, монтаж газонепроницаемых муфт и содержание этих линий под давлением, определение района и отыскание мест негерметичности оболочки кабеля, а также восстановление герметичности кабельных линий должны производиться в соответствии с указаниями «Руководства по содержанию кабельных линий городских телефонных сетей под избыточным воздушным давлением» (М.: Радио и связь, 1982).
8.1.3. Под постоянным избыточным газовым давлением должны содержаться заведенные в помещение ввода кабелей телефонной станции многопарные кабели без гидрофобного заполнения емкостью 100 и более пар и кабели типов ТЗ и МКС.
8.1.4. Для содержания кабельных линий под постоянным избыточным газовым давлением на местных сетях связи емкостью 1000 и более номеров применяют стационарные компрессорно-сигнальные установки (КСУ) с нагревными осушительными камерами, наполненными силикагелем, и механическим командным электропневматическим прибором (КЭП), управляющим работой камер, а также более совершенные установки без КЭП, к которым относятся:
- компрессорно-сигнальные установки с микропроцессорным управлением (КСУ-60 Э);
- унифицированные компрессорно-сигнальные установки с безнагревной регенерацией силикагеля (УКСУ);
- безнагревные короткоцикловые компрессорно-сигнальные установки (КСУ-БК), компрессорно-сигнальные установки «Суховей».
8.1.5. Величина избыточного давления газа, подаваемого в кабельные линии, должна быть 0,04 - 0,05 МПа (0,4 - 0,5 кгс/см2) независимо от материала оболочки кабелей.
8.1.6. Контейнеры систем передачи (НРП-К12, НРП-12-4, НРП-К12, НРП-6 и др.) в процессе эксплуатации должны содержаться под избыточным воздушным давлением 0,05 - 0,07 МПа (0,5 - 0,7 кгс/см2). Подкачка контейнеров осуществляется периодически после снижения давления воздуха в них до 0,02 МПа (0,2 кгс/см2).
8.1.7. В процессе эксплуатации контроль за герметичностью кабельных линий осуществляется по показаниям ротаметров установки для содержания кабельных линий под давлением.
Кабельная линия считается герметичной, если утечка газа из нее не превышает 0,04 л/мин (эбонитовый или фторопластовый поплавок ротаметра находится на шкале не выше деления 20).
При утечке газа до 0,2 л/мин кабельная линия считается негерметичной и требует ремонта (поплавок ротаметра находится на шкале не выше деления 20).
Кабельная линия, имеющая утечку более 0,2 л/мин, считается аварийной.
8.2.1. Работы по установке и содержанию кабельных линий местных сетей связи под постоянным избыточным газовым давлением и обслуживанию компрессорно-сигнальных установок (КСУ) выполняет группа по содержанию кабельных линий под давлением, входящая в состав линейно-кабельного цеха или линейно-кабельного участка линейного цеха.
Руководитель группы по содержанию кабельных линий под давлением подчиняется непосредственно начальнику линейно-кабельного цеха или руководителю линейно-кабельного участка.
8.2.2. В состав группы входят электромеханики по обслуживанию установок КСУ и бригады кабельщиков-спайщиков по герметизации кабельных линий.
8.2.3. Структура группы по содержанию кабельных линий под избыточным газовым давлением приведена в типовом проекте «Организация труда в линейно-кабельных цехах (участках) городских телефонных сетей» (М.: Прейскурантиздат, 1988).
8.2.4. Основными задачами электромехаников по обслуживанию установок для содержания кабельных линий под давлением являются:
- обеспечение бесперебойной работы установок и контроль герметичности оболочек кабелей;
- выполнение работ по осмотру и текущему ремонту оборудования;
- участие в работах по капитальному ремонту КСУ;
- ведение технической документации и отчетности, отражающих объемы выполненных работ и их качество;
- осуществление технического надзора за размещением, монтажом, подготовкой к работе и испытание установок в процессе строительства;
- приемка в эксплуатацию установок для содержания кабельных линий под давлением.
8.2.5. Основными задачами бригады по герметизации кабельных линий являются:
- обеспечение герметичности кабельных линий и контейнеров систем передачи;
- выполнение плановых заданий;
- участие в приемке в эксплуатацию установленных под постоянное избыточное газовое давление вновь построенных, реконструированных и капитально отремонтированных линий и контейнеров;
- ведение технической документации и отчетности, отражающих объемы выполненных работ и их качество.
8.2.6. На установке для содержания кабельных линий под избыточным газовым давлением должна быть оборудована аварийная сигнализация о неисправности самой установки и аварийной утечке газа в кабельных линиях. Дублирующая сигнализация выводится на щиток выносной сигнализации (ЩВС), размещаемый в автозале АТС (кроссе, ЛАЦ). При оборудовании на телефонной сети центра технической эксплуатации (обслуживания) аварийный сигнал передается также на пульт диспетчер центра.
8.2.7. При непрерывной подаче газа в кабельные линии с помощью КСУ аварийная сигнализация срабатывает в случае неисправности установки или появления кабельной линии с утечкой, превышающей 0,2 л/мин.
При периодической подкачке воздуха из баллона со сжатым воздухом аварийная сигнализация срабатывает в случае понижения избыточного давления воздуха в кабельной линии до 0,02 МПа (0,2 кгс/см2).
8.2.8. При срабатывании аварийной сигнализации установки для содержания кабельных линий под избыточным газовым давлением дежурный автозала телефонной станции (диспетчер ЦТ) должен оповестить электромеханика, обслуживающего установку, или руководство линейно-кабельного (линейного) цеха (кабельно-канализационного участка) и зарегистрировать поступивший сигнал в журнале учета повреждений установок для содержания кабельных линий под давлением и оболочек кабелей (Приложение 27).
Список работников, обслуживающих установки для содержания кабельных линий под давлением, и руководства цеха (участка) должен находиться у дежурного в автозале.
8.2.9. При повреждении оборудования установки для содержания кабельных линий под давлением электромеханик должен принять меры по устранению неполадок и обеспечить бесперебойную подачу сухого газа установкой в кабельные линии.
Устранение повреждений установок для содержания кабельных линий под давлением производится в соответствии с указаниями технических описаний и инструкций по эксплуатации конкретных установок.
Результаты работы по устранению повреждения установки записываются в журнал учета повреждений КСУ.
8.2.10. При периодической подаче воздуха в кабельные линии в случае понижения давления воздуха и срабатывании сигнализации электромеханик должен отключить сигнальное устройство, определить кабельную линию, в которой понизилось давление, и произвести подкачку воздуха.
8.2.11. При непрерывной подаче газа в кабельные линии в случае повышения утечки газа из кабельной линии электромеханик должен определить номер поврежденной кабельной линии по положению поплавков ротаметров на распределительном стативе, зафиксировать величину расхода газа в журнале наблюдений за состоянием газового давления в кабельных линиях и сообщить о повреждении оболочки кабеля в бюро ремонта и руководителю группы по содержанию кабельных линий под давлением. Кабельную линию с аварийной утечкой газа электромеханик переключает на ротаметр со стальным поплавком и производит настройку фотоэлектрического сигнализатора расхода воздуха.
Если на распределительном стативе отсутствуют ротаметры со стальными поплавками (например, в установках КСУ-БК и «Суховей»), то кабельную линию с аварийной утечкой электромеханик переключает на аварийный выход установки.
8.2.12. Работы по техническому обслуживанию, текущему и капитальному ремонтам установок для содержания кабельных линий местных сетей связи под избыточным газовым давлением производятся в соответствии с указаниями «Руководства по содержанию кабельных линий городских телефонных сетей под избыточным воздушным давлением» (М.: Радио и связь, 1982).
9.1.1. Монтаж линий местных сетей связи, содержащих телефонные кабели с медными жилами, должен производиться в соответствии с указаниями раздела 11 «Руководства по строительству линейных сооружений местных сетей связи» (М.: АООТ «ССКТБ - ТОМАСС», 1995).
9.1.2. Монтаж кабельных линий включает в себя комплекс следующих операций:
- сращивание строительных длин, участков, пролетов проложенных или подвешенных кабелей;
- ввод и включение кабелей в оконечные кабельные устройства: защитные полосы, рамки соединительных линий, вводные устройства систем передачи, кабельные боксы, распределительные коробки и кабельные ящики (устройства кабельные связи, устройства кабельные переходные);
- проверочные испытания и контрольные измерения электрических характеристик кабелей.
9.1.3. При сращивании (соединении) строительных длин кабелей выполняются следующие основные работы:
- подготовка рабочего места (колодца, котлована);
- испытание герметичности (целостности) оболочки кабеля;
- подготовка концов кабеля к электрическим испытаниям;
- электрические испытания кабеля;
- сращивание жил кабеля с помощью соединителей (СМЖ-10, UY-2 и др.) или скруткой жил;
- контрольные измерения электрических характеристик смонтированных участков кабеля;
- просушка сростков кабеля с бумажной изоляцией жил;
- монтаж (запайка, сварка) муфт или заделка сростков;
- укладка кабелей в колодцах или котлованах;
- установка на подземных бронированных кабелях чугунных муфт и заливка их массой;
- нанесение местоположения смонтированной муфты подземного кабеля на рабочий чертеж трассы кабеля;
- закрытие колодца или засыпка котлована.
9.1.4. Работы по монтажу (восстановлению оболочек кабелей) в зависимости от типа (марки) кабеля, наличия монтажных оболочек материалов, инструментов и приспособлений могут быть выполнены способами, указанными в табл. 9.1.
Монтаж муфт телефонных кабелей следует производить только при соответствии температуры окружающего воздуха нормам, установленным ГОСТ или техническими условиями для данного типа кабеля (Приложение 2).
9.1.5. Нормы расхода материалов на монтаж муфт кабелей приведены в Приложении 28, а на монтаж оконечных кабельных устройств в Приложении 29.
9.1.6. Работы по монтажу кабелей в колодцах, имеющих действующие кабели, производят только с разрешения организации, эксплуатирующей данную кабельную канализацию.
9.1.7. При проведении монтажных работ на улицах и дорогах рабочее место должно быть ограждено. С наступлением темноты на ограждениях зажигают фонарь красного цвета. Вскрытие люков и вентиляцию колодцев осуществляют с соблюдением установленных правил по технике безопасности.
9.2.1. Монтаж каждой кабельной линии (от начала до конца) поручается, как правило, одной бригаде кабельщиков-спайщиков.
При этом бригадиру выдаются наряд на выполнение работ, требование на получение необходимых материалов и следующая техническая документация:
- схема кабельной линии с распределением кабельных пар по оконечным устройствам;
- выкопировка из картограммы с показом места прокладки (номера канала) кабеля в канализации; мест установки оконечного оборудования;
- план очередности монтажа, проверки и испытания кабеля в процессе монтажа.
Таблица 9.1
|
Способ восстановления оболочки |
|
|
Многопарные, марки ТПП4эпО, и одночетверочные, марки КСПП, в полиэтиленовых оболочках |
Полиэтиленовая муфта с заделкой стыков наплавлением полиэтиленовой светостабилизированной ленты под стеклолентой; термоусаживаемые материалы, укладываемые на подклеивающий слой; полиэтиленовая муфта с заделкой стыков наплавлением полиэтиленового прутка в струе горячего азота |
|
Однопарные марки ПРППМ (ПРПВМ), одночетверочные марки КСПП и многопарные марки ТПП4эпО с числом пар не более 50 в пластмассовых оболочках |
Тупиковая пластмассовая муфта, заливаемая битумно-резиновым компаундом, полимеризующимся компаундом или герметиком ВИЛАД-31 |
|
Однопарные типа ПРППМ (ПРПВМ) и одночетверочные марки КСПП |
Обмотка сростка полиэтиленовыми лентами с промазкой липким полиизобутиленовым компаундом |
|
Многопарные в свинцовой и стальной гофрированной оболочках (марок ТГ и ТС4т0Ш4п0) |
Напаивание свинцовой муфты |
|
Многопарные в алюминиевой оболочке марок ТАШ4п0 и ТА4г0Ш4п0 |
Приклеивание к оболочке кабеля свинцовых втулок и напаивание к ним свинцовой муфты |
|
Многопарные с пластмассовой оболочкой, проложенные на стенах внутри помещений, с числом пар: |
|
|
от 20 до 100; |
Пластмассовая муфта с обмоткой мест стыков липкой пластмассовой лентой |
|
до 20 пар |
Обмотка сростка липкой пластмассовой лентой |
В некоторых случаях (при большом объеме и срочности работ) допускается участие нескольких бригад в монтаже одной и той же кабельной линии. При этом каждая из бригад несет ответственность за качество монтажа порученного ей участка кабельной линии. Соединение участков между собой (сбор кабельной линии) поручается одной из бригад, обязанной произвести предварительно приемку участков от остальных бригад.
9.2.2. Перед началом монтажа бригадир кабельщиков-спайщиков знакомится с кабельной линией, подлежащей монтажу, состоянием кабельной канализации, столбовым или стоечным хозяйством на участке работ.
В день начала работ бригадир получает ключи от колодцев и распределительных шкафов, в которых будет производиться работа.
9.2.3. План очередности монтажа, проверки и испытания кабеля в процессе монтажа должен содержать:
- разбивку кабельной линии по участкам;
- указание на место последней, завершающей спайки (сборной муфты);
- указание о том, из каких колодцев следует проверить кабель на обрыв, сообщение жил с оболочкой (экраном) и между собой, парность и герметичность оболочки кабеля.
9.2.4. Монтаж распределительных кабелей производят от наиболее удаленной распределительной коробки или кабельного ящика.
9.2.5. Монтаж соединительных линий из одночетверочных кабелей производят по усилительным участкам. Ответственный за прокладку сдает, а бригадир монтажной бригады принимает кабель в монтаж на каждом усилительном участке. При этом монтажной бригаде должны быть переданы:
- схема трассы усилительного участка с указанием (привязкой) мест расположения концов строительных длин кабелей;
- укладочная ведомость с паспортами строительных длин;
- протоколы испытаний строительных длин перед прокладкой.
Прием и сдача кабелей в монтаж актируются. В акте перечисляется вся техническая документация, принятая на время монтажа бригадиром.
9.2.6. Выбор типа и размера корпуса муфты и защитной чугунной муфты производят в зависимости от марки, числа пар жил, наружного диаметра кабеля, выбранного способа монтажа и характера прокладки.
По размерам используемых свинцовых или пластмассовых муфт на монтируемых концах кабелей делают отметки положения муфты. На концах кабелей намечают места обреза оболочки, зачистки оболочки, обреза защитных покровов: кабельной пряжи, наружного пластмассового шланга, бронепокровов.
Отметки обрезов наносят на оболочки и защитные покровы карандашом, мелом, ножом или временными перевязками из мягкой проволоки.
9.2.7. Выбранный для монтажа корпус муфты накладывают на монтируемые концы кабелей, после чего на них делают отметки обрезов оболочек.
Их выполняют таким образом, чтобы обеспечивать заход концов оболочек в цилиндрическую часть муфты на 10 - 15 мм. Отметки мест зачистки оболочки должны быть нанесены по обе стороны муфты.
Места обреза кабельной пряжи или наружного пластмассового шланга должны отстоять на 30 - 60 мм от обреза бронелент или обреза стальной оболочки.
Концы монтируемых кабелей должны заводить за корпус муфты примерно на 150 - 250 мм. В сборных муфтах для прозвонки и нумерации пар, длину разделываемых концов кабелей увеличивают.
9.2.8. Разметку мест обреза перемычек кабеля с несущим канатом производят таким образом, чтобы участок с отделенным канатом допускал свободное размещение деталей муфты за линией обреза оболочки.
9.3.1. Все кабели перед монтажом должны проверяться на:
- герметичность оболочки;
- соответствие сопротивления изоляции установленным нормам;
- обрыв жил и экрана;
- сообщение жил между собой, с экраном или оболочкой.
9.3.2. Строительные длины кабелей после просушки (перед монтажом) следует проверять на герметичность оболочки осушенным воздухом при избыточном давлении 0,08 - 0,1 МПа (0,8 - 1,0 кгс/см2). Время испытаний - 24 ч. При снижении давления в строительной длине кабеля следует убедиться в том, что концы кабеля тщательно заделаны, и повторить проверку. Негерметичные строительные длины должны заменяться на исправные.
9.3.3. Проверка на обрыв и сообщение жил производится у всех кабелей. Проверка сопротивления изоляции между жилами и землей, экраном и землей осуществляется у всех однопарных и одночетверочных кабелей. Сопротивление изоляции многопарных кабелей проверяют во всех случаях.
9.3.4. Технология выполнения работ по проверке кабелей перед монтажом, монтажу сердечников (разборке и соединению жил, восстановлению экрана и поясной изоляции), а также восстановлению оболочек и броневого покрова кабелей местных сетей связи с медными жилами приведена в указанном в п. 9.1.1 «Руководстве по строительству линейных сооружений местных сетей связи».
Указания по монтажу тупиковых муфт герметиком ВИЛАД-31 приведены во «Временном руководстве по монтажу тупиковых муфт герметиком ВИЛАД-31» (М., 1995), а по монтажу этих муфт полимеризующимся компаундом - в «Рекомендациях по монтажу многопарных кабелей полимеризующимся компаундом» (С.-Петербург, 1996).
9.3.5. Монтаж кабелей, заполненных гидрофобным составом, должен производиться в соответствии с указаниями «Руководства по монтажу соединительных муфт и оконечных кабельных устройств на кабелях с гидрофобных заполнением для местных сетей связи» (М.: АООТ «ССКТБ-ТОМАСС», 1997) и других нормативно-технических документов, регламентирующих монтаж заполненных гидрофобным составом кабелей.
При монтаже муфт кабелей, заполненных гидрофобным составом, особое внимание должно быть обращено на удаление гидрофобного заполнителя со сращиваемых концов кабеля.
Сращивание жил в заполненных гидрофобным составом кабелях, производят индивидуальными или групповыми соединителями.
Для обеспечения герметичного соединения частей муфт между собой и с оболочкой заполненного гидрофобным составом кабеля применяют структурный материал «Армокаст», термоусаживаемые трубки, двухслойную термоусаживаемую ленту «Радлен», а также термоусаживаемые манжеты с продольным замком. Сварка под стеклолентой не рекомендуется.
В процессе работы по монтажу муфт, заполненных гидрофобным составом кабелей, руки и рукоятки инструментов периодически вытирают ветошью, тряпками или бумажными полотенцами. Работу с растворителем, применяемым для очистки от гидрофобного заполнителя сердечника кабеля, и компаундом для заливки муфт производят в резиновых перчатках.
9.3.6. При монтаже кабелей способом сварки после надевания деталей муфты на концы кабелей участки оболочки в месте предполагаемой сварки зачищают и обматывают двумя - тремя слоями бумаги, закрепляемой перевязками. Это предохраняет оболочку от замасливания заполнителем, присутствие которого может привести к некачественной сварке. Перед установкой деталей муфты на сросток необходимо вытереть руки и удалить бумажные обмотки.
9.4.1. Включение одночетверочных и многопарных кабелей в оконечные кабельные устройства производят в мастерской. В кабельный ящик (УКС, УКП), распределительную коробку или бокс включают конец кабеля определенной емкости.
9.4.2. В распределительные коробки включают кабели марок ТПП4эп0, ТПВ и ТГ емкостью 10 пар, а в кабельные ящики (УКС, УКП) - кабели этих марок емкостью 10 или 20 пар.
В кабельные боксы БКТ включают кабели марок ТПП4эпО, ТГ емкостью до 100 пар.
В кабельные боксы БМ с плинтами ПН-10 включают кабели типа ТЗ, а в боксы БМ с плинтами ПЭ-6 - кабели типов МКС и КСПП.
В кабельные воронки включают кабели марки ПРППМ.
9.4.3. У кабеля перед включением в оконечное кабельное устройство измеряют сопротивление изоляции жил и проверяют их на обрыв и сообщение между собой и экраном. Затем с конца кабеля удаляют оболочку на длине, превышающей длину бокса или кабельного ящика на 20 - 30 см, а для распределительной коробки - на длине 20 - 25 см. Обнаженный пучок жил перевязывают возле обреза оболочки миткалевой лентой или суровыми нитками (шпагатом).
9.4.4. Конец кабеля вводят через втулку внутрь бокса (коробки, кабельного ящика) так, чтобы обрез оболочки кабеля выступал по 3 - 5 мм за внутреннюю кромку втулки. Если кабель слишком свободно входит во втулку, то его на длине втулки обматывают несколькими слоями липкой пластмассовой ленты.
У кабелей со свинцовой оболочкой ее припаивают к втулке припоем ПОССу-30-2, а у кабелей с пластмассовой оболочкой место стыка обматывают 5 - 6 слоями липкой полиэтиленовой (кабель ТПП4эпО) или поливинилхлоридной (кабель ТПВ) лентой; экранную проволоку припаивают к втулке или подключают к специальной «земляной» клемме (у пластмассовых распределительных коробок).
9.4.5. Заделка ввода во втулку кабеля в пластмассовой оболочке может осуществляться при помощи отрезка термоусаживаемой трубки соответствующего диаметра, предварительно надвинутой на конец кабеля, или термоусаживаемой ленты и подклеивающего материала. При фиксированном положении кабеля на участок его, примыкающий к втулке, подматывают полиэтиленовую ленту так, чтобы образовался плавный переход от кабеля к внешней поверхности втулки заподлицо с последней. Термоусаживаемая трубка с подклеивающим слоем надвигается на втулку до упора в корпус оконечного кабельного устройства и осаживается нагревом ее открытым пламенем паяльной лампы или газовой горелки.
9.4.6. Включение многопарного кабеля в оконечные кабельные устройства производят в следующем порядке:
- с кабельного сердечника снимают оболочку и поясную изоляцию (миткалевую, бумажную или пластиковую ленты), а затем разбирают жилы на десятипарные пучки, причем к каждому из них прикрепляют ярлычок с номером десятка, соответствующего номеру плинта. Нумерация плинтов на боксе и распределение десятипарных пучков жил сердечника кабеля по плинтам указаны на рис. 7;
- каждый десятипарный пучок жил, начиная от втулки, перевязывают. Пучки жил с бумажной изоляцией перевязывают суровыми или капроновыми нитками, делая через каждые 20 мм петлевые стежки; пучки жил с полиэтиленовой изоляцией обматывают липкой полиэтиленовой лентой открытой спиралью;
- десятипарные пучки жил разделяют на четные (включая нулевой) и нечетные. Четные пучки, предназначенные для включения в четные плинты, укладывают вертикально в корпус оконечного кабельного устройства по одну сторону ряда плинтов, а нечетные - по другую сторону;
- каждый пучок (кроме верхнего) перед укладкой его для расшивки между перьями плинта обходит плинт сверху вниз, что обеспечивает возможность отвертывания и поворота каждого плинта без нарушения общего монтажа. Верхний пучок может огибать свой плинт как сверху, так и снизу;
Распределение десятипарных пучков жил по плинтам боксов

Рис. 7. Нумерация плинтов на боксе и распределение десятипарных пучков жил сердечника кабеля по плинтам.
Пример: при зарядке 30-парного бокса (30Б) пучок жил 4´2 центрального повива совместно с пучком жил 6´2 второго повива подается к нулевому плинту (0П); пучок 10´2 первого повива подается к первому плинту (1П), а пучок жил второго повива подается ко второму плинту (2П)
- для включения в перья жилы пучка расшивают «елочкой», для чего от пучка отделяют две противоположные пары, которые пожильно раскручивают и отгибают под углом по направлению к перьям. После отгиба жил поверх остального пучка делают очередной стежок ниткой (виток липкой лентой) на расстоянии, равном промежутку между перьями, затем отгибают по направлению к соответствующим перьям жилы следующих пар и так до последней пары пучка. При расшивке пучков в первые зажимы каждой пары следует включать жилы одного цвета. После расшивки каждого пучка лишние концы жил обрезают;
- после удаления изоляции концы жил с некоторым запасом по длине (на случай перезарядки) продевают с внутренней стороны в отверстие на конце пера, поджимают плоскогубцами к его поверхности и припаивают припоем ПОССу-40-2;
- на перья плинтов с проводниками надевают, в зависимости от вида изоляции жил, бумажные или полиэтиленовые гильзы, которые должны быть на 2 мм длиннее перьев;
- в случае применения плинтов с врезными контактами изолированные жилы кабеля устанавливают против разрезных штифтов. Специальным ключом сдавливают жилы в прорези штифтов с одновременным откусыванием излишков жил;
- запасные кабельные пары укладывают до верхнего плинта с запасом 10 см и подвязывают отдельно к верхнему пучку.
9.4.7. По окончании зарядки бокса испытывают включенный кабель на обрыв жил, сообщение их между собой и свинцовой оболочкой или экраном, на парность и измеряют сопротивление изоляции.
9.4.8. В оконечных кабельных устройствах под плинтами, а в боксах и под задней крышкой должны быть проложены тонкие картонные прокладки, предварительно прошпаренные массой МКП и промазанные с обеих сторон битумным лаком.
При зарядке оконечных кабельных устройств кабелем с бумагомассной изоляцией жил последние должны после снятия оболочки и поясной изоляции прошпариваться массой МКП, а корешок бокса должен заливаться массой МКС.
9.4.9. Разделка (расшивка) кабеля и порядок включения его жил в штифты плинтов показаны для распределительных коробок на рис. 8, а для ящиков (УКС, УКП) - на рис. 9.
Рис. 8. Разделка кабеля и порядок включения жил в штифты плинта распределительных коробок типа КРТ-10´2 и КРТП-10´2
а) ввод в коробку; б) выкладка кабеля; в) расшивка
1 - корпус коробки; 2 - втулка; 3 - кабель; 4 - сердечник кабеля; 5 - жгут расшивки; 6 - заделка ввода во втулку; 7 - плинт.
Рис. 9. Расшивка кабеля и включение жил на плинты кабельных ящиков емкостью
а) 10´2; б) 20´2
9.4.10. При вводе одночетверочного кабеля в междугородный экранированный бокс БМ к вводной трубке бокса припаивают свинцовую трубку длиной 150 - 200 мм (отрезок оболочки кабеля ТГ), внутренний диаметр которой на 1 - 1,5 мм больше внешнего диаметра кабеля.
Конец кабеля вводят в бокс через свинцовую трубку на длину 30 см. Затем жилы кабеля припаивают к линейным штифтам боксов, а экранный провод - к экранному штифту (или свободному линейному штифту).
Конец свинцовой трубки плотно зачеканивают на кабеле и обматывают 6 - 8 слоями липкой поливинилхлоридной ленты. Нижнюю часть бокса заливают кабельной массой, нагретой до температуры не выше 90 °С.
Кабель может быть закреплен в вводной втулке с помощью термоусаживаемой трубки.
9.4.11. Однопарный кабель марки ПРППМ вводят в кабельную воронку через патрубок. Жилы очищают от изоляции и крепят клеммными винтами. На вводе в патрубок кабель уплотняют и крепят липкой пластмассовой лентой.
9.5.1. В кроссах одинарной и двойной высоты каждый стопарный кабель (100´2), приходящий из помещения ввода кабелей, расшивается на четыре смежные полосы 25´2, расположенные в одной вертикали.
На кроссах полуторной высоты часть кабелей 100´2 делят на два жгута для включения в защитные полосы, расположенные в двух разных вертикалях.
Резервные пары кабелей оставляют в верхней крайней точке при нижней подаче кабелей и в нижней крайней точке - при верхней подаче с запасом по длине не менее 10 см.
9.5.2. На кроссах соединительных линий устанавливаются рамки с разделительными пружинами двух типов - 40´2 и 15´2 (10´3).
Рамки допускают подключение как двух-, так и трехпроводных соединительных линий.
Каждый кабель 100´2 расшивается на две с половиной рамки 40´2 или шесть рамок 15´2. В последнем случае на участке от разветвительной муфты до рамок кросса в кабеле остаются неиспользованными десять пар жил.
В одном вертикальном ряду миникросса устанавливают восемь распределительных блоков 100´2.
9.5.3. Зарядка защитных полос и рамок производится у места их установки соответственно на кроссе абонентских и кроссе соединительных линий кабелями, проложенными одной длиной от разветвительных муфт в помещении ввода кабелей, перчаточной или в станционном колодце.
9.5.4. Для зарядки защитных полос, как правило, должны применяться кабели с поливинилхлоридной оболочкой и изоляцией жил марки ТСВ. Допускается применение кабелей с полиэтиленовой оболочкой и изоляцией жил марки ТПП4эп0, но при этом жгут расшивки и оболочки кабелей на всем участке их прохождения по помещению кросса должны сплошь обматываться поливинилхлоридной лентой.
9.5.5. С конца кабеля снимают оболочку, экранную ленту и поясную изоляцию на длине, превышающей на 10 - 15 см расстояние от начала разделки кабеля до наиболее удаленного контактного пера крайней защитной полосы или наиболее удаленной рамки.
9.5.6. Расшивку выполняют при помощи шаблона из фанеры с насверленными для перьев плинта отверстиями и набитыми стальными шпильками.
9.5.7. Жилы кабеля при расшивке их в защитные полосы или рамки линий межстанционной связи так распределяют на шаблоне, чтобы на верхние контактные перья в защитных полосах и на самые дальние в направлении расшивки перья рамок включались пары центрального слоя кабеля. Расшивка кабеля 100´2 на рамке 40´2 и рамке 15´2 (10´3) показана соответственно на рис. 10 и 11.
9.5.8. При расшивке и включении кабелей парной скрутки в рамки линий межстанционной связи при трехпроводной системе для каждых двух смежных линий (по месту включения их в рамку) отбирают три пары кабеля, из которых первые две служат проводами «a» и «b», а третью пожильно используют для включения в контактные перья провода «c» первой и второй линий.
9.5.9. После расшивки жгут перевязывают у каждой ответвляющейся группы жил стежками суровых прошпаренных или капроновых ниток.
9.5.10. По соответствующим отметкам на шаблоне жилы отрезаются, и с их концов снимается изоляция.
Рис. 10. Расшивка кабелей 100´2 на рамки 40´2:
а) на кроссе полуторной высоты; б) на кроссе двойной высоты
Рис. 11. Расшивка кабелей 100´2 на рамки 15´2 (10´3):
а) на кроссе полуторной высоты; б) на кроссе двойной высоты
9.5.11. Готовую расшивку снимают с шаблона и накладывают на защитную полосу или соответствующую группу рамок.
9.5.12. Зачищенные концы жил продеваются в ушки контактных перьев и запаиваются припоем ПОССу-40-2 с использованием в качестве флюса спиртового раствора канифоли. Концы впаянных жил выкладываются и выравниваются у контактных перьев по единой форме.
9.5.13. При зарядке распределительных блоков (рамок) кроссового оборудования электронной АТС (миникросса) оболочка кабеля ТСВ снимается на 50 мм ниже уровня рамки при нижнем вводе кобеля и на 50 мм выше уровня рамки при верхнем вводе кабеля.
9.5.14. Сердечник кабеля расшивается по шаблону с таким расчетом, чтобы длина отходящих от сердечника жил составляла 200 - 250 мм в зависимости от вида рамок.
9.5.15. При парной зарядке против каждого элемента рамки выводятся 5 пар проводников, а против каждого плинта - 10 проводников.
При троечной зарядке против каждого элемента рамки выводятся три пары жил, а против каждого плинта - 6 пар жил и по одной жиле с последующих пар, так, чтобы жилы «с» образовывались из пар, входящих в смежные тройки: с0-с1, с2-с3, с4-с5 и т.д.
Счет пар в распределительном блоке и образование троечных линий показаны на рис. 12.
9.5.16. После расшивки сердечника жилы вводятся с левой стороны рамки в соответствующие гнезда и устанавливаются против верхних разрезных штифтов.
Специальным ключом производят вдавливание жилы в прорези штифтов с одновременным откусыванием излишков провода.
10.1.1. На местных сетях связи при новом строительстве ВОЛС и их ремонте следует применять отечественные оптические кабели (ОК), которые имеют двойную полиэтиленовую оболочку и защитные покровы в виде:
- стальной гофрированной ленты (ОКСТ, ДПЛ);
- повива стальных проволок (ОМЗКГм, ОЗКГм, ДПС).
Кабели всех перечисленных выше марок прокладываются в кабельной канализации без полиэтиленовых труб.
Кабели марок ОМЗКГм, ОЗКГм и ДПС прокладываются непосредственно в грунте.
Рис. 12. Счет пар в распределительном блоке и образование троечных линий
10.1.2. Все перечисленные выше кабели имеют модификации, у которых внешняя оболочка изготовлена из самозатухающих полиэтиленовых композиций. Например, в обозначении марок кабелей ОКСТН и ОМЗКГНм буква «Н» означает «негорючий».
Кабели с негорючей оболочкой следует прокладывать на следующих участках ВОЛС:
- от оконечного устройства на АТС до первой (от данной АТС) муфты;
- во внутренних помещениях АТС;
- в городских коллекторах;
- на вводах в промышленные и жилые здания.
10.1.3. Для городских ВОЛС рекомендуется использовать ОК с центральным силовым элементом в виде стального троса. Трос и броня, используемые в качестве изолированных проводников, позволяют оперативно организовать служебную связь по физической цепи во время строительства и ремонта ВОЛС.
10.2.1. Вывозить барабаны с оптическим кабелем на трассу и осуществлять их прокладку без входного контроля не разрешается.
10.2.2. Строительные длины кабеля должны быть подвергнуты входному контролю. В процессе входного контроля производится внешний осмотр и измерения затухания. Кабель, не соответствующий отраслевым нормам и требованиям стандартов и технических условий, прокладке и монтажу не подлежит.
10.2.3. После вскрытия обшивки барабана проверяют наличие заводских паспортов, соответствие маркировки строительной длины, указанной в паспорте, маркировке на барабане; состояние кабеля на отсутствие вмятин, порезов, перекруток, утолщений путем внешнего осмотра, и т.д.
В паспорте на кабель должна быть указана длина кабеля, номер барабана, коэффициенты затухания оптических волокон (ОВ). При отсутствии паспорта следует запросить его дубликат у завода-изготовителя. Снятый с барабана паспорт следует сохранять и впоследствии приложить к укладочной ведомости.
10.2.4. Измерения затухания оптических волокон кабеля производят в подготовленных помещениях. Помещения должны быть сухими, отапливаемыми, хорошо освещенными.
10.2.5. Измерения коэффициента затухания оптических волокон и проверка их на обрыв и однородность производятся оптическим рефлектометром, оснащенным блоком, работающим на той же волне, на которой аттестованы волокна кабеля по паспорту.
Измерения производятся в соответствии с требованиями ГОСТ Р МЭК 793-1-93.
10.2.6. Результаты измерений коэффициента затухания волокон сравнивают с предельным значением коэффициента затухания для данного кабеля по паспорту. Если значения коэффициентов затухания ОВ окажутся больше предельного значения или на рефлектограммах будут неоднородности в виде ступеней, всплесков и т.п., не предусмотренные ТУ, то кабель подлежит отбраковке.
10.2.7. Результаты входного контроля фиксируется в протоколах. В случае выявления значительных дефектов, снижающих качество и надежность кабеля, должен быть составлен акт с участием представителей заказчика, подрядчика и завода-изготовителя.
10.3.1. Оптические кабели с защитными покровами в виде стальной гофрированной ленты или в виде повива стальных проволок прокладывают в кабельной канализации без защитных полиэтиленовых труб в свободных и занятых каналах. В одном свободном канале допускается совместная прокладка 10 - 15 таких оптических кабелей.
В канале, занятом медножильными кабелями связи, количество вновь прокладываемых ОК следует определять по сумме диаметров кабелей в канале, которая не должна превышать 68 мм.
10.3.2. Оптические кабели следует затягивать в каналы кабельной канализации только с помощью ручной лебедки. Допускается прокладка механизированным способом при наличии у производителя работ комплектов устройств и приспособлений для прокладки ОК, максимально снижающих вероятность повреждения кабеля и создающих условия прокладки строительных длин до 2 км.
Минимально допустимые для данной ВОЛС строительные длины определяют, исходя из длины ВОЛС и энергетического потенциала аппаратуры.
10.3.3. Оптические кабели местных сетей связи прокладываются: в грунте в заранее разработанную траншею; непосредственно в грунт с помощью кабелеукладчика; в предварительно уложенные в грунте полиэтиленовые трубы затягиваются потоком воздуха.
10.3.4. В местах монтажа муфт при прокладке оставляется запас кабеля. При определении длины запаса следует учитывать следующее:
- запас должен обеспечивать возможность подачи муфты в зону, удобную для организации рабочего места монтажников ВОЛС, например, в монтажную машину из колодца или котлована, в проход коллектора, на рабочий стол, установленный возле стойки ВСОК или СКУ;
- длина запаса с каждой стороны смонтированной муфты должна быть не менее:
на муфте, смонтированной в котловане, - 10 м;
на муфте, смонтированной в колодце, - 8 м;
на муфте, смонтированной в коллекторе, - 2 м;
- запас кабеля, оставляемого в месте монтажа муфты, должен превышать указанные выше значения на 5 м с каждой стороны, эти 5 м предназначены для производства контрольных измерений ОК после прокладки и для монтажа муфты;
- конец кабеля, длиной 50 - 100 см, который обжимался чулком при прокладке или разделывался для крепления чулка, должен быть отрезан.
Концы кабелей, оставляемых в месте будущего монтажа муфт, герметично заделываются. Запас сматывается в бухты диаметром 700 мм, которые убираются к стенке колодца или коллектора за существующие кабели и подвязываются к кронштейнам (рис. 13). Концы кабелей, проложенных в грунте, размещаются в траншеях или ямах, присыпаются грунтом и маскируются. Место будущего котлована отмечается условным знаком.
10.3.5. В вертикальных шахтах и во внутренних помещениях АТС линейные оптические кабели и ШСС прокладываются по специальным металлоконструкциям, предназначенным именно для них.
10.3.6. Линейный ОК должен прокладываться в ЛАЦ АТС с таким расчетом, чтобы после монтажа оконечных устройств (УССЛК и ОСП) в стойках, на которых установлены эти устройства, оставался запас кабеля для одной полной переделки оконечного устройства. В стойке ВСОК запас следует размещать внизу в виде бухт из 4 - 5 колец кабеля. На стойках СКУ-01 запас линейного кабеля выкладывается и закрепляется по периметру тыльной стороны стойки сверху до нижнего места и затем наверх до блока ОСП (рис. 14).
Рис. 13. Размещение муфт типов СМОК, МГОК и МОГ в типовых колодцах кабельной канализации и городских коллекторах:
1 - типовые металлоконструкции; 2 - муфта СМОК; 3 - муфта МГОК; 4 - муфта МОГ стандартной длины; 5 - бухты технологического запаса кабеля диаметром 400 - 700 мм; 6 - места крепления бухт запаса к кронштейнам и консолям перевязками из стальных оцинкованных проволок.
Рис. 14. Схема расположения оконечных устройств ВОЛС на стойках в типовом ЛАЦ (вид с тыльной стороны стоек):
1 - желоб для линейных ОК; 2 - решетка; 3 - желоб для ШСС; 4 - стойка СОЛСТ (СОНАТА-2); 5 - стойка СКУ-02; 6 - блок ОСП-02; 7 - стойка СКУ-01; 8 - блок ОСП-022; 9 - пустое место в СКУ-01; 10 - СКУ-01 с блоками оборудования линейного тракта; 11 - стойка ВСОК; 12 - УССЛК; 13 - стойки СОЛТ (СОПКА-2 и СОПКА-3); 14 - жгуты ШСС; 15 - запас линейного кабеля.
10.4.1. Монтаж муфт оптических кабелей местных сетей связи, как правило, производят в специально оборудованной монтажной машине на базе автомобиля повышенной проходимости с кузовом микроавтобуса или КУНГ.
10.4.2. Допускается производство монтажа ОК в кабельной канализации, городских коллекторах и в установленной возле котлована палатке. Рабочее место, подготавливаемое в перечисленных выше условиях, должно быть сухим, иметь достаточное освещение и вентиляцию и обеспечивать возможность размещения и нем рабочего стола для сварочного устройства и двух монтажников ВОЛС.
10.4.3. Монтаж и контрольные измерения в процессе монтажа муфт на ОК должна производить группа ВОЛС, состоящая из измерителя ВОЛС, двух монтажников ВОЛС и водителя монтажной машины.
10.5.1. Строительные длины ОК местных сетей связи следует сращивать в муфтах типа МОГ. Эти муфты представляют собой третье поколение отечественных оптических муфт, предназначенных для размещения в типовых колодцах и коллекторах на консолях без дополнительных крепежных устройств. Семейство муфт типа МОГ включает в себя:
- муфты стандартной длины - 1130 мм, соединительные (МОГ) и разветвительные (МОГР - от 2 до 5 ответвлений), предназначенные для сращивания любых ОК с числом волокон 4, 8, 12, 32, 48, 64, 128;
- муфты укороченные, длиной 820 мм, соединительные (МОГу) и разветвительные (МОГРу - от 2 до 5 ответвлений), предназначенные для сращивания любых ОК с числом волокон от 4 до 96 путем внешнего осмотра, укороченные муфты размещаются в нетиповых колодцах, в подвалах и т.п.;
- муфты тупиковые, длиной 690 мм, соединительные (МОГт) и разветвительные (МОГРт - до 2 ответвлений), предназначенные для сращивания любых ОК с числом волокон до 96, так как уже налажено производство кассет для оптических муфт МОГ, в каждой из которых можно разместить 32 КДЗС;
- тупиковые муфты МОГт и МОГРт, снабженные стальными, чугунными и полиэтиленовыми кожухами, предназначены для подвески на опорах и размещения в котлованах.
Муфты типа МОГ обеспечивают монтаж ОК с диаметрами оболочек от 10 до 25 мм.
10.5.2. Для сращивания ОК местных сетей связи в котлованах могут применяться отечественные зоновые и магистральные муфты типов ММЗОК и МТОК.
10.5.3. Концы сращиваемых ОК подают в монтажную машину, разделывают их и выполняют монтаж в соответствии с указаниями инструкций по монтажу, утвержденных Госкомитетом РФ по связи и информатизации.
10.6.1. Герметичность муфты после выполнения всех монтажных операций обеспечивается ее конструкцией и гарантируется заводом-изготовителем.
10.6.2. При необходимости муфта проверяется под местным давлением. Конструкция и материал корпуса муфт типа МОГ обеспечивают возможность вваривания в корпус временного полиэтиленового вентиля. По предварительному заказу муфты на заводе-изготовителе оснащаются временными или постоянными вентилями.
10.6.3. Воздух в муфту закачивается автомобильным насосом через осушительный бачок с силикагелем. Для проверки необходимо путем подкачки поддерживать в муфте постоянное давление, равное примерно 0,1 МПа (1 кгс/см2). Проверку муфты на герметичность производят, покрывая ее мыльной пеной, или с помощью прибора УЗТИ.
10.6.4. После проверки муфты тщательно промывают водой, удаляя остатки мыла, и затем протирают сухой ветошью. Временные вентили удаляют и заделывают оставшиеся после них отверстия.
10.6.5. Далее муфту выносят из машины и, постепенно сматывая запас в бухты, опускают муфты и бухты запаса в колодец (котлован).
10.7.1. Смонтированные оптические муфты МОГ и МОГР стандартной длины (1130 мм) в типовых колодцах кабельной канализации и городских коллекторах укладывают на консоли (рис. 13). Запас линейных кабелей по обеим сторонам муфты сматывается в бухты диаметром 400 - 700 мм в зависимости от радиуса изгиба, допустимого по ТУ для данного кабеля в процессе эксплуатации.
Кольца кабеля в бухтах запаса скрепляются перевязками из проволоки или нейлоновыми стяжками.
Бухты запаса следует размещать в промежутке между стенкой колодца и кабелями, лежащими на первых местах консолей. Бухты запаса привязывают к кронштейнам и консолям перевязками из стальных оцинкованных проволок.
10.7.2. В нетиповых смотровых устройствах, в сцепках, в подвалах и т.п. устанавливают укороченные (МОГу) и тупиковые (МОГт) варианты муфт.
10.7.3. Муфты иностранного производства должны укладываться на специально изготовленные кронштейны, конструкции которых предварительно утверждаются службами эксплуатации ВОЛС местных сетей связи. Эти специальные кронштейны консольными болтами прикрепляются к уголковым и полосовым кронштейнам типовых колодцев и коллекторов. Пристрелка металлоконструкций для муфт к стенам колодцев и коллекторов не допускается, так как вызывает преждевременное разрушение железобетона.
10.8.1. К оконечным устройствам ВОЛС местных сетей связи относятся:
- УССЛК (устройства стыка станционных и линейных кабелей);
- блоки ОСП (оборудования световодных подключений).
Характеристики оконечных устройств ВОЛС приведены в табл. 10.1.
УССЛК и ОСП предназначены для размещения сварных соединений волокон линейного кабеля и шнуров станционных световодных (ШСС). ШСС выходят из УССЛК или ОСП и по специальным стальным желобам подаются к стойкам, в которых установлены блоки с оборудованием линейного тракта. Каждый шнур подается к своему комплекту (КЛТ).
Блок ОСП-02 является самым современным из оконечных устройств. Он может снабжаться комплектом деталей, розеток и шнуров, который позволяет персоналу АТС с помощью патчкордов подключать блоки аппаратуры и измерительные приборы к разъему любого волокна кабеля в самом ОСП-02. Вместо соединительных розеток при необходимости в ОСП-02 могут быть вставлены оптические аттенюаторы.
УССЛК устанавливаются в стойках ВСОК или на стенах, блоки ОСП устанавливаются в стоечных унифицированных каркасах типа СКУ.
10.8.2. В УССЛК линейные оптические кабели и ШСС вводятся через специальные патрубки и отверстия в нижней части корпуса.
Таблица 10.1. Назначение и характеристики оконечных устройств ВОЛС
|
Наименование ОКУ ВОЛС |
Количество волокон |
Элемент для укладки запаса ОВ и гильз |
Место установки стойки |
|
|
СОНАТА-2 |
УССЛК |
8 |
Пластина из гетинакса |
Стойка ВСОК, на стенах |
|
СОПКА-2 СОПКА-3 |
УССЛК |
8 |
Катушка из пластмассы продолговатой формы |
Стойка ВСОК |
|
ИКМ-120-5 |
ОСП-22 |
16 |
Круглая пластмассовая катушка с фиксатором на стальной пластине |
Стойка СКУ-01 |
|
ИКМ-480-5 (СОПКА-Г) |
ОСП-02 |
16 |
Квадратная пластина из алюминия, запас сворачивается в кольцо на специальной катушке и укладывается на пластину в полиэтиленовом пакете |
Стойка СКУ-02 |
10.8.3. В ОСП-22 линейные оптические кабели и ШСС вводятся сверху, поэтому над каждым блоком ОСП-22 в СКУ оставляют свободное место.
10.8.4. В ОСП-02 линейные оптические кабели и ШСС вводятся с тыльной стороны через отверстие в задней стенке.
10.8.5. Монтаж оконечных устройств производят в точном соответствии с указаниями инструкций по монтажу. В связи с тем, что платы и катушки для укладки волокон были разработаны до 1990 г. и не обеспечивают сохранности волокна при многократных вскрытиях устройств в процессе эксплуатации, допускается установка в оконечные устройства любого типа кассет от муфт МОГ.
10.8.6. Длина запаса волокон линейного кабеля и ШСС, оставляемого на плате, катушке или кассете в оконечном устройстве, должна быть не менее 1,5 м.
10.8.7. Все типы оконечных устройств снабжены клеммами для подключения металлических элементов кабеля к защитному заземлению. Стальные тросы и металлические защитные покровы линейных кабелей с помощью перемычек из изолированного прохода должны подключаться к клеммам заземления на УССЛК и ОСП.
10.9.1. В колодцах на кабелях и на середине смонтированных муфт желтой несмываемой краской следует делать предупреждающие отметки размером примерно 20´20 мм.
10.9.2. Все муфты, кабели в проходных колодцах, вводы кабелей в УССЛК и ОСП должны маркироваться свинцовыми нумерационными кольцами или пластмассовыми бирками. На кольце или бирке должны быть указаны номер кабеля, марка кабеля и направление (АТС__ - АТС__).
10.9.3. На крышке смонтированных УССЛК и ОСП краской наносят их порядковые номера, номера оптических линейных кабелей и направления.
11.1.1. Технические данные основных механизмов, применяемых на местных сетях связи, приведены в Приложении 30.
11.1.2. Для механизации основных кабельно-канализационных работ (затягивание кабеля в канализацию, откачка воды из колодцев, вентиляция колодцев, перевозка материалов для ремонта кабельной канализации и др.) на городских телефонных сетях применяют кабельные машины марок КМ-2М, КМ-2А, КМ-2Д, КМ-3.
11.1.3. Для погрузки и выгрузки барабанов с кабелем, железобетонных колодцев и их деталей, труб для трубопроводов кабельной канализации, распределительных шкафов, различных материалов и оборудования при проведении кабельно-канализационных работ служат автомобильные подъемные краны:
- с механическим приводом марок КС-256Д, КС-2562Д, КС-3561 и др.;
- с гидравлическим приводом марок КС-2571, КС-4571, КС-5473 и др.;
- с электрическим приводом марок КС-2563, КС-4561А и др.
Грузы не выше 2 т можно поднимать механической лебедкой, размещенной на кабельной машине КМ-2.
Основные характеристики автокрана с механическим приводом от двигателя автомобиля марки КС-2561Д даны в Приложении 30.
11.1.4. Для протягивания кабелей в канализации применяют лебедки, установленные на кабельных машинах, и ручные лебедки типов Т-68, Т-69, Т-102, ЛР1-400 и др.
11.1.5. Для откачки воды из колодцев кабельной канализации используются насосы, установленные на кабельных машинах, а также малогабаритные насосы пропеллерного типа ПНП-2М, имеющие индивидуальный привод от двигателя пилы «Дружба» и погружные насосы типа «Гном» со встроенным электродвигателем.
Для откачки воды из нетиповых, больших по объему смотровых устройств, или при длительном ее поступлении применяют более мощные насосы, устанавливаемые на грузовых автомашинах, автобусах или прицепах.
11.1.6. Для перевозки барабанов с кабелем используют автомашины или прицепные колесные кабельные транспортеры (тележки) типов ККТ-4, ККТ-5М, ККТ-7. Кабельные транспортеры применяют также для размотки кабелей при затягивании в канал или укладке в траншею.
11.1.7. В зимних условиях при замене и прокладке новых кабелей в канализации в случае образования в каналах льда применяют передвижные парообразователи Д-163, Д-563, Д-564 или пароэлеваторную (автодушевую) установку АДУ.
11.1.8. При ремонте и обслуживании подвесных кабелей, кабелей, проложенных по стенам и аркам на высоте более 4 м, применяют телескопические вышки ТВ-5М и др.
11.1.9. Для погрузочно-разгрузочных работ в местах хранения кабеля, железобетонных изделий, других конструкций и строительных материалов используются самоходные автопогрузчики, снабженные сменным рабочим оборудованием: вилами, крановой стрелой или ковшом. На ГТС применяются автопогрузчики типов 4020, 4022-1, грузоподъемностью до 2 т без кабины машиниста и типов 4045, 4043Р, 4045Р грузоподъемностью до 5 т с одноместной кабиной. Скорость передвижения автопогрузчиков с грузом - 6 - 15 км/ч, и без груза - до 40 км/ч.
11.1.10. На пригородных участках ГТС и на СТС для бестраншейной прокладки бронированных кабелей используют кабелеукладчики. С их помощью прорезают в грунте щелевидную траншею и одновременно укладывают в нее кабель. Для прокладки кабелей используют одноосные ЛПК-20-2 и навесные НКПО-70-1 кабелеукладчики.
В стесненных условиях, на трассах малой протяженности обычно применяют вибрационные кабелеукладчики КНВ-1.
11.1.11. Для переодевания и обогрева кабельщиков-спайщиков и электромонтеров канализационных сооружений связи в период проведения ремонтных и аварийно-восстановительных работ, а также для хранения их инструмента и мелких партий материалов на ГТС используют фургоны, изготовленные на базе двухосных автоприцепов типов ФХ-18, ФХ-21, ПФМ-8.
11.2.1. Для вскрытия асфальтовых и других видов уличных покрытий и их оснований применяют пневматические инструменты (отбойные молотки и бетоноломы) или обычные инструменты - ломы и кирки. Пневматические инструменты приводятся в действие сжатым воздухом, вырабатываемым компрессорными станциями.
На местных сетях связи применяются отбойные молотки типов МО-6П, МО-7П, МО-8П, МО-9П, МО-10П и пневматические бетоноломы типов ИМ-4601, ИП-4602, ИП-4607.
Для питания отбойных молотков и бетоноломов используются компрессорные станции ЗИФ-55, ЗИФ-55В, СО-45, СО-7А, ПВ-10, ПР-10М и другие производительностью от 0,05 до 10 м3/мин воздуха с давлением 0,3 - 1,0 МПа (3 - 10 кгс/см2) и числом раздаточных вентилей от 1 до 5.
11.2.2. Для разработки грунтов в траншеях и котлованах используются одноковшовые и многоковшовые экскаваторы.
Одноковшовые экскаваторы применяют главным образом для рытья котлованов и погрузки грунта. Многоковшовые экскаваторы предназначены для рытья траншей в грунтах до IV категории включительно.
Основной строительной машиной при рытье котлованов для кабельных колодцев, а при необходимости и траншей является гидравлический одноковшовый экскаватор на базе трактора МТЗ типов Э-153А, Э-1514. Находят применение и одноковшовые экскаваторы типов ЭО-2621А, ЭО-2621В, ЭО-4121Б, Э-304Г, Э-652Б, обеспечивающие глубину копания от 3,1 до 6,0 м при емкости ковша от 0,25 до 1,0 м3.
Для рытья траншей применяются также многоковшовые экскаваторы типов ЭТР-134, ЭТР-204, ЭТЦ-165, ЭТЦ-252 и малогабаритный траншеекопатель типа ТК-2.
11.2.3. Для засыпки траншей и котлованов используют бульдозеры типов Д-687, Д-535, ДЗ-42Г, ДЗ-35С, ДЗ-118, ДТ-75 и др.
11.2.4. Послойная трамбовка грунта производится с помощью электротрамбовок, отбойных молотков с трамбующим наконечником или пневмотрамбовок.
11.2.5. Остатки грунта после прокладки кабельной канализации или бронированного кабеля отвозят на самосвалах.
Погрузка грунта на самосвал выполняется экскаватором или автопогрузчиками.
11.2.6. Для разработки грунтов в зимнее время применяют:
- оттаивание грунта паром; прогрев грунта рефлекторными печами;
- оттаивание грунта открытым огнем и горячими сыпучими материалами;
- механическое рыхление мерзлых грунтов.
Оттаивание грунта парообразователем производится следующим образом. Пар от парообразователя подается в систему специальных паровых игл. Паровые иглы вводятся в мерзлый грунт в заранее подготовленные скважины, при этом иглы должны не доходить до талого грунта на 16 - 20 см.
При прогреве грунта рефлекторными печами в грунт забивают стержневые электроды из полосовой и угловой стали длиной 2 - 3 м. Прогреваемый грунт покрывают слоем опилок толщиной 15 - 20 см, смоченных раствором поваренной соли. Для прогрева используют источники переменного тока напряжением 127, 220, 380 В. По мере оттаивания грунта электроды осаживают путем трамбования слоя опилок вдоль электродов, предварительно выключив ток. Длительность оттаивания грунта и расход энергии зависят от концентрации раствора соли, свойств грунта, необходимой глубины оттаивания и наружной температуры.
Отогревание грунта открытым огнем или горячими сыпучими материалами является наиболее простым способом. При этом используют нефтяные форсунки. Огонь от форсунок накрывают металлическим кожухом, забросав его сверху грунтом на 20 - 30 см.
В качестве горячих сыпучих материалов используют шлак или специально прогретый до температуры 275 - 300 °С песок. Приведенный нагретый материал насыпают слоем 25 - 35 см на траншею, и через сутки песок (шлак) разрывают. Таким способом можно отогреть траншею на глубину 50 - 60 см.
Для механического рыхления мерзлых грунтов используют стальные молоты различной формы, которые прикрепляют к тросу и поднимают с помощью подъемных механизмов на некоторую высоту. При свободном падении молоты дробят грунт. Молоты могут быть изготовлены в виде сварного кожуха из 8 - 10-мм котельной стали, залитого чугуном.
11.3.1. К средствам малой механизации относятся: электрические и пневматические отбойные молотки и бетоноломы, лебедки, домкраты, грузозахваты, тали, строительно-монтажные пистолеты, трамбовки, электрические и ручные вентиляторы, электродрели, фрезерные установки для разрезания асбестоцементных труб и т.п.
11.3.2. Для уплотнения грунта служат электротрамбовки с ударным механизмом компрессионно-вакуумного типа. Такие трамбовки обеспечивают 550 ударов в минуту при мощности двигателя 0,6 - 1,5 кВт и напряжении электросети 220 В.
11.3.3. На погрузочно-разгрузочных работах используют барабанные, ручные и рычажные лебедки, винтовые бутылочные и реечные домкраты, червячные и шестеренные тали.
11.3.4. Вентиляция отдельных кабельных колодцев осуществляется с помощью ручных и электрических вентиляторов и пылесосов различных систем.
11.3.5. При монтаже и прокладке кабелей связи используются ножницы НБК-240 для поперечной резки кабелей с медными жилами, шагающие ножницы ШН-65 для продольной резки шланговых кабелей, приспособления для скрутки жил кабелей ПСМЖ-200, ручные гидравлические прессы для монтажа медных жил кабелей, электродрели для сверления отверстий в стенах, бороздорезы для штробления стен, строительно-монтажные пистолеты для крепления крепежной арматуры при прокладке кабелей, переносные компрессоры КМ-77-2М для просушки и установки под давление кабелей и др.
12.1.1. Предприятие местной сети связи выдает проектной организации связи технические условия на проектирование объектов телефонной связи и согласовывает с ней проектную документацию на строительство и реконструкцию линейно-кабельных сооружений.
12.1.2. При выдаче технических условий на проектирование телефонной связи (телефонизацию зданий, строительство кабельной канализации, прокладку кабелей) сторонним организациям должно учитываться следующее:
- техническая возможность строительства сооружений (наличие свободных каналов и пр.);
- техническая возможность выделения телефонных номеров после выполнения работ;
- потребность в телефонной связи района.
12.1.3. При согласовании проектов телефонизации жилых домов предприятие связи должно указать, что установка телефонов будет производиться общепринятым порядком.
Для общественных зданий и предприятий должны быть указаны: количество связей, выделяемое после выполнения работ, и бронированные за предприятиями кабельно-канализационные сооружения при условии оплаты бронирования заказчиком.
12.1.4. Эти согласования должны регистрироваться в специальном журнале, хранящемся в группе технического учета.
12.1.5. При согласовании с проектными организациями документации на строительство и реконструкцию кабельных и кабельно-канализационных сооружений предприятию связи следует обратить особое внимание на:
- соответствие принятых проектных решений нормам технологического проектирования, ГОСТ, техническим условиям;
- потребность в телефонной связи населения, предприятий, учреждений;
- расчет необходимого числа каналов кабельной канализации;
- соответствие габаритов проектируемых колодцев требованиям по раскладке кабелей (особенно с пластмассовой оболочкой) и условиям выполнения работ;
- размещение распределительных шкафов в помещениях с электроосвещением;
- проверку возможности и целесообразности использования действующих кабелей для нового строительства;
- наличие в смете и ведомости материалов перечня кабельной продукции, необходимой для работы по упорядочению действующей кабельно-канализационной реконструкции кабельных колодцев с увеличением их размеров;
- распределение проектируемой емкости распределительной и магистральной сети с учетом имеющихся заявок на обеспечение телефонной связью;
- устройство межшкафной связи между распределительными шкафами, находящимися на границах районных АТС.
12.2.1. Руководитель кабельно-канализационного участка должен иметь сведения о фамилиях и телефонах руководителей строительных организаций связи, а также фамилиях и телефонах прорабов этих организаций.
12.2.2. Строительная организация связи должна своевременно представлять предприятию связи копии планов проведения работ по строительству и реконструкции сооружений связи. В этих планах должны быть данные о сроках проведения указанных работ и участках телефонной сети, где они будут проводиться.
12.2.3. В случае проведения работ в колодцах кабельной канализации или в помещениях ввода кабелей строительная организация должна получить разрешение на доступ и проведение работ в колодцах кабельной канализации и помещениях ввода кабелей.
12.2.4. Контроль за ходом работ по строительству и реконструкции кабельных и канализационных сооружений связи выполняет работник технического надзора предприятия связи, который поддерживает постоянную связь с прорабом и бригадирами кабельщиков-спайщиков строительной организации, и периодически посещает места проведения указанных работ.
12.2.5. Строительная организация должна выполнять работы по строительству и реконструкции кабельных и канализационных сооружений связи в строгом соответствии с проектной документацией. Все отклонения от проектной документации должны согласовываться с руководством предприятия связи.
12.2.6. Работник технического надзора предприятия связи имеет право потребовать от строительной организации приостановить или прекратить работы в случае их ненадлежащего исполнения.
Приемка в эксплуатацию вновь построенных и реконструированных линейно-кабельных сооружений связи должна производиться в соответствии с указаниями «Руководства по приемке в эксплуатацию линейных сооружений проводной связи и проводного вещания» (М., 1990) и Приказа Минсвязи России от 19.12.95 № 146.
12.3.2. Законченные строительством линейно-кабельные сооружения принимаются в эксплуатацию рабочими комиссиями с последующим предъявлением их приемочной комиссии, принимающей объект в целом.
Строительная организация одновременно с предъявлением линейных сооружений рабочей комиссии должна направить в отдел подземных сооружений местного органа власти техническую документацию для ее фиксации.
12.3.3. Рабочие комиссии назначаются приказом организации заказчика в 15-дневный срок после получения письменного извещения генподрядчика о готовности линейно-кабельных сооружений к приемке.
В состав рабочей комиссии должны входить представители заказчика (председатель комиссии), генподрядчика, субподрядчика, эксплуатационной и проектной организаций, органов санитарного и пожарного надзоров и других заинтересованных организаций.
12.3.4. Назначение приемочных комиссий по приемке в эксплуатацию объектов связи, строительство которых производилось за счет средств федерального бюджета или льготного кредитования, производится Госкомсвязи России или органом, им уполномоченным, а объектов, строительство которых производилось за счет средств бюджетов республик в составе Российской Федерации, краев, областей, автономных областей, автономных округов, городов Москвы и Санкт-Петербурга, производится в порядке, установленном исполнительной властью на данной территории.
По объектам, строительство которых финансировалось из собственных средств организаций или физических лиц, приемочные комиссии назначаются инвестором.
Назначение приемочной комиссии производится не позднее чем за 30 дней до установленного срока ввода объекта в эксплуатацию. Председателя приемочной комиссии назначает орган, утвердивший ее состав.
Работа приемочных комиссий проводится в соответствии с указанным в п. 12.3.1 Приказом Минсвязи России.
12.3.5. Рабочими комиссиями принимается для предъявления приемочной комиссии отдельные законченные строительством части сооружений по мере готовности: отдельные линии межстанционной связи, магистральные направления, шкафные районы, направления вновь построенной и переустроенной кабельной канализации.
12.3.6. В результате работы рабочей комиссии должно быть проверено соответствие выполненных строительно-монтажных работ проектно-сметной документации, проверена готовность линейно кабельных сооружений к эксплуатации.
12.3.7. Рабочая комиссия обязана:
- проверить предъявленную документацию на комплектность, полноту содержания и качество исполнения;
- проверить соответствие выполненных работ проектно-сметной документации и согласованным отступлениям от проекта;
- освидетельствовать выполненные работы и провести приемосдаточные электрические измерения;
- проверить качество выполненных работ;
- проверить готовность линейно-кабельных сооружений к эксплуатации;
- составить акт о готовности законченных строительством линейно-кабельных сооружений для предъявления приемочной комиссии.
12.3.8. Генеральный подрядчик представляет рабочей комиссии следующую документацию:
- перечень организаций, участвовавших в производстве строительно-монтажных работ, с указанием видов выполненных ими работ и фамилий инженерно-технических работников, непосредственно ответственных за их выполнение;
- комплект (один экземпляр) рабочей документации (РД) на строительство предъявляемого к приемке объекта, разработанной проектной организацией и скорректированной строительно-монтажной организацией в соответствии с фактическим выполнением работ и изменениями, согласованными с заказчиком;
- сертификаты, технические паспорта или другие документы, удостоверяющие качество материалов, изделий, конструкций, применяемых при производстве строительно-монтажных работ;
- акты на скрытые работы (на трубопроводах, в колодцах, прокладку бронированного кабеля), подписанные представителями заказчика и подрядчика;
- акты проверки смонтированных межстанционных и магистральных линий на герметичность кабельных оболочек;
- акты испытания оборудования для содержания кабелей под постоянным избыточным газовым давлением;
- протоколы электрических измерений смонтированных кабельных линий связи и монтажную документацию;
- протоколы электрических измерений распределительного, магистрального или межстанционного кабелей;
- протоколы электрических измерений переходного затухания на ближнем конце и защищенность на дальнем конце между высокочастотными цепями кабеля;
- протокол измерения собственного затухания кабельной линии, уплотненной системой передачи;
- протокол измерений потенциалов на оболочке кабеля по отношению к земле, если защита кабелей от коррозии предусмотрена проектом;
- протоколы симметрирования кабелей, если оно предусмотрено проектом;
- укладочную ведомость прокладки кабеля в земле;
- протоколы измерения сопротивления заземлений;
- паспорта на монтаж прямых, симметрирующих, конденсаторных и разветвительных муфт;
- ведомость установленного оборудования (распределительные шкафы, защитные полосы и др.);
- журналы производства и авторского надзора проектных организаций, материалы обследования и проверок в процессе строительства органами государственного надзора.
Примечание: Корректировка чертежей РД должна производиться согласно требованиям ЕСКД. Погрешность всех промеров при корректировке чертежей не должна превышать 1 %.
В состав откорректированных чертежей РД должны входить:
- уличные чертежи кабельной канализации и трассы подземного кабеля с нанесенными привязками к наземным ориентирам;
- картограмма магистральной сети;
- чертежи шкафных районов;
- чертежи нетиповых сооружений (нетиповых смотровых устройств, переходов через железнодорожные и трамвайные пути, мосты, оборудование шахт и др.), если они имеются в проекте;
- карточки кабельных вводов и поэтажные планы, если последние имеются в составе чертежей РД.
Исполнительская документация должна быть подписана руководителем (главным инженером) подрядной организации, выполнявшей строительство (реконструкцию) объекта, прорабом, а также фиксатором, ответственным за правильность оформления документации и соответствие ее выполненным в натуре работам.
Все уличные чертежи кабельной канализации и трассы подземных кабелей с нанесенными привязками до предъявления рабочей комиссии должны быть зафиксированы в отделе подземных сооружений местного органа власти.
12.3.9. По намеченной технической программе и графику рабочая комиссия должна освидетельствовать принимаемые линейно-кабельные сооружения, проверить протоколы электрических измерений и испытаний, выполненные подрядными строительно-монтажными организациями и подписанные представителями заказчика.
12.3.10. Результаты освидетельствования, испытаний и измерений линейно-кабельных сооружений должны соответствовать РД, действующим нормам, ГОСТ, ОСТ, техническим условиям (ТУ) и подтверждать исправность предъявляемых к сдаче сооружений.
12.3.11. По результатам произведенных рабочей комиссией проверок составляют акты о готовности линейно-кабельных сооружений для предъявления приемочной комиссии, а также подготавливаются сводные материалы о готовности к приемке объекта в эксплуатацию приемочной комиссией.
12.3.12. Акт рабочей комиссии составляется в шести экземплярах, из которых три экземпляра передаются заказчику, два экземпляра - генподрядчику и один экземпляр - эксплуатационной организации.
12.3.13. После подписания акта рабочей комиссией заказчик объектов связи несет ответственность за сохранность линейно-кабельных сооружений, включенных в акты рабочей комиссии.
13.1.1. Трассы кабельных линий и кабельной канализации связи регистрируются в управлениях (отделах) по делам строительства и архитектуры местных органов власти. Для этого предприятие связи должно в установленном порядке представить сведения (исполнительные чертежи) о прохождении трасс кабельных линий и кабельной канализации в местные органы власти.
13.1.2. Для повышения сохранности линейно-кабельных (кабельных и канализационных) сооружений местных сетей связи и предотвращения их повреждений работники предприятий связи должны проводить разъяснительную работу в организациях, предприятиях, учреждениях.
13.1.3. В состав мероприятий по организационной и разъяснительной работе входят:
- издание решений, постановлений местных органов власти об установлении порядка производства работ, введение ордерной системы на раскопки, предусматривающих сохранность подземных бронированных кабелей и кабельной канализации;
- взятие на учет предприятий, организаций, учреждений, расположенных в местах прохождения кабельных линий и кабельной канализации, издание приказов по вопросам охраны линий связи;
- составление схем землепользования и нанесение на них трасс прохождения кабелей связи и кабельной канализации;
- выявление планов работ в организациях, взятых на учет, а также в местных органах власти. Уточнение сроков начала работ по выданным согласованиям;
- вручение строительным организациям предупреждений (Приложение 31);
- проведение в строительных организациях бесед по охране линейно-кабельных сооружений;
- публикация объявлений и заметок в местной печати, передача объявлений по радио и телевидению, распространение плакатов, листовок и памяток об охране линий связи.
13.1.4. Работник (инспектор) по техническому надзору предприятия местной связи должен ежегодно знакомиться с планами ремонтных работ предприятий, эксплуатирующих подземные коммуникации (водопровод, канализация, теплотрасса, газопровод и др.), а также с планами работ дорожных ремонтно-строительных и эксплуатационных управлений и в дальнейшем ежеквартально уточнять сроки их выполнения. Ежегодно получать в управлениях (отделах) по делам строительства и архитектуры местных органов власти информацию по работам, которые будут производиться в охранных зонах линий связи организациями, предприятиями и учреждениями.
Полученные сведения о планах работ уточнять ежеквартально, а в строительный сезон в строительных организациях - ежемесячно.
13.1.5. При проведении разъяснительной работы в организациях следует добиваться такого порядка, чтобы в нарядах рабочим и машинистам землеройных механизмов делалась отметка о наличии в зонах работ линейно-кабельных сооружений, о запрещении работ без вызова представителя эксплуатационного предприятия связи и о недопущении случаев выполнения землеройными механизмами случайных работ без проектов и согласований.
13.2.1. Руководитель линейно-кабельного подразделения эксплуатационного предприятия связи для контроля за выполнением работ по строительству, реконструкции или капитальному ремонту кабельных и канализационных сооружений связи выделяет представителя (инспектора).
13.2.2. В обязанность представителя (инспектора) по технадзору за работой организации, осуществляющей строительство, реконструкцию или капитальный ремонт кабельных и канализационных сооружений связи, входит:
- контроль за тем, чтобы строительная организация выполняла все работы по рабочим чертежам, предварительно согласованным с техническим руководством предприятия связи;
- контроль за тем, чтобы строительная организация выполняла работы в соответствии с «Руководством по строительству линейных сооружений местных сетей связи» (М.: АООТ «ССКТБ-ТОМАСС», 1995), техническими условиями на линейно-кабельные сооружения связи, ГОСТ и указаниями Госкомсвязи России;
- контроль за качеством выполнения работ и качеством применяемых материалов;
- оперативное решение вопросов, возникающих в ходе работ;
- контроль за тем, чтобы изменения в рабочих чертежах согласовывались проектной организацией с техническим руководством предприятия связи;
- особый контроль за тем, чтобы в ходе строительных работ было обеспечено занятие каналов кабельной канализации в соответствии с проектом и безаварийное действие кабелей в реконструируемых колодцах;
- участие в приемке в эксплуатацию сооружений после окончания монтажа и обеспечение выполнения действующего «Руководства по приемке в эксплуатацию линейных сооружений проводной связи и проводного вещания» (М.: ССКТБ, 1990).
13.2.3. В случае, если строительной организацией были повреждены действующие связи, представитель (инспектор) предприятия связи по технадзору составляет об этом акт совместно с представителем строительной организации. Представитель строительной организации для восстановления действия связи должен немедленно:
- выделить необходимую рабочую силу;
- предоставить необходимые материалы и транспорт;
- выполнить восстановительные работы по указанию представителя предприятия связи.
Акт о повреждении действующих связей техническое руководство предприятия местной связи направляет в строительную организацию для принятия мер по отношению к виновным.
13.3.1. Руководство эксплуатационного предприятия местной связи должно организовать согласование порядка ведения земляных работ с организацией-исполнителем, а также выдачу технических условий, при соблюдении которых разрешается проведение этих работ.
Представитель строительной организации предупреждается о необходимости соблюдения мер предосторожности при проведении земляных работ в зоне расположения кабельных и канализационных сооружений связи. Разрешение на производство земляных работ регистрируется в журнале, примерная форма которого приведена в Приложении 32.
13.3.2. Для согласования проектируемых работ строительные, проектные или ремонтные организации представляют предприятию связи в двух экземплярах план участка местности в городской черте в масштабе 1:200 или 1:500, для пригородной зоны и сельской местности в масштабе 1:2000, с нанесенными на нем существующими и проектируемыми сооружениями.
На чертежах указываются габариты проектируемых сооружений, глубина заложения, продольный и поперечный профили раскопок и другие сведения о проектируемых коммуникациях, а также сроки начала и окончания работ.
13.3.3. В процессе рассмотрения чертежей во всех случаях должно быть предусмотрено обеспечение сохранности кабельных и канализационных сооружений связи. Для этого при необходимости оговариваются способы ведения разрытий вблизи трубопровода, кабельных колодцев или подземных бронированных кабелей.
Если вблизи намечаемых раскопок линейно кабельные сооружения отсутствуют, то для производства работ никаких согласований не требуется. В тех случаях, когда поблизости находятся линейно-кабельные сооружения, но их трасса непосредственно не затрагивается, при согласовании указываются условия, обеспечивающие сохранность сооружений и свободный доступ к действующей канализации.
Если подземные кабельно-канализационные сооружения попадают непосредственно в зону строительства, пересекаются трассами намечаемых раскопок или проходят на незначительном расстоянии от них, то каждый случай рассматривается особо и по нему принимается решение.
Предметом согласования являются: способы укрепления траншей и котлованов, зоны применения механизированного и ручного труда, возможность и способы отогрева грунта в зимнее время, оставление распорок при засыпке раскопок, обязательный вызов представителя предприятия связи на тот или иной участок работ и т.п. В том случае, когда канализационные сооружения или подземный кабель пересекаются траншеями ниже их расположения, указывают способ подвески сооружений связи и расстояние между пересекающимися подземными сооружениями. Если кабельно-канализационные сооружения необходимо вынести из границ проектируемого строительства, то предлагается составление отдельного проекта на перекладку канализации связи и перетягивание кабелей по другой трассе.
В особых случаях - при строительстве больших по объему сооружений (например, подземных переходов через улицы) - составляются специальные технические проекты на нетиповые конструкции, обеспечивающие подвеску и сохранность сооружений связи. В необходимых случаях фактическое размещение сооружений уточняется устройством шурфов, дополнительными промерами от местных ориентиров или при осмотре.
Все работы, предусмотренные при согласовании, включаются в смету проектируемого объекта и выполняются за счет организации, производящей основные работы.
13.3.4. Соблюдение согласованных условий выполнения работ должно контролироваться представителями предприятия связи на протяжении всего строительства.
13.3.5. Все согласования регистрируются в специальном журнале (произвольной формы), хранящемся в группе технического учета.
13.3.6. Надзор за работой юридических и физических лиц, выполняющих строительные и земляные работы вблизи кабельных и канализационных сооружений местных сетей связи, проводится в соответствии с «Правилами охраны линий и сооружений связи Российской Федерации» (М., 1995), которыми установлены охранные зоны линий связи.
13.3.7. В пределах охранных зон кабельных линий связи (по 2 м в обе стороны от трассы подземных кабелей и по 100 м от трассы подводных кабелей) без письменного согласия и присутствия представителей предприятий, эксплуатирующих линии связи, юридическим и физическим лицам запрещается:
- осуществлять всякого рода строительные, монтажные и взрывные работы, планировку грунта землеройными механизмами (за исключением зон песчаных барханов) и земляные работы (за исключением вспашки на глубину не более 0,3 м);
- производить посадку деревьев, располагать полевые станы, содержать скот, складировать материалы, корма и удобрения, жечь костры, устраивать стрельбища;
- устраивать проезды и стоянки автотранспорта, тракторов и механизмов;
- производить защиту подземных коммуникаций от коррозии без учета проходящих подземных кабельных линий связи.
13.3.8. Руководитель линейно-кабельного (линейного) подразделения эксплуатационного предприятия связи должен:
- оповестить строительные организации о номерах телефонов, по которым принимаются телефонограммы о производстве земляных и строительных работ в охранных зонах кабельных линий связи;
- организовать надзор за работой строительных организаций, выполняющих работы в зоне действующих кабельных и канализационных сооружений связи;
- оповестить (путем рассылки предупреждений) организации, на территории которых проходят кабельные и канализационные сооружения связи, о правилах ведения работ в зоне прохождения этих сооружений и обеспечить вывешивание предупредительных плакатов и установку сигнальных знаков на территории этих организаций.
13.3.9. Работник эксплуатационного предприятия связи, осуществляющий технический надзор за работой сторонних организаций, выполняющих земляные и строительные работы в зоне прохождения кабельно-канализационных сооружений связи, должен:
- обеспечить выполнение «Правил охраны линий и сооружений связи Российской Федерации» (М., 1995);
- обеспечить сохранность кабельных и канализационных сооружений связи при раскопках;
- присутствовать при аварийных раскопках земли и периодически бывать в местах, где ведутся земляные и строительные работы;
- обеспечить контроль за тем, чтобы в зоне прохождения кабельно-канализационных сооружений связи без письменного согласования с предприятием связи не проводились строительные, земляные и монтажные работы как постоянного, так и временного характера и выявлять организации или частные лица, ведущие без согласования работы, в результате которых может быть авария или повреждение кабельно-канализационных сооружений связи;
- проводить разъяснительную работу с рабочими строительных организаций о необходимости соблюдения мер предосторожности при работе в зоне кабельно-канализационных сооружений связи;
- обеспечить контроль за тем, чтобы крышки люков колодцев не заваливались строительными материалами или грунтом, а также чтобы на трассу кабельной канализации не сбрасывались грузы массой свыше 5 т;
- обеспечить контроль за тем, чтобы на подводных речных переходах кабелей связи в пределах заградительной зоны, отмеченной сигнальными знаками, на расстоянии 100 м от кабеля в обе стороны не бросались якоря, не устраивались причалы, не производились дноуглубительные и землечерпательные работы;
- составлять и передавать руководителю линейно-кабельного (линейного) подразделения предприятия связи акты о нарушении «Правил охраны линий и сооружений связи Российской Федерации» в случаях повреждения кабельных и канализационных сооружений связи строительной организацией. Форма акта дана в Приложении 33.
13.3.10. Строительные организации должны не позднее чем за сутки предупреждать эксплуатационное предприятие связи о начале производства земляных работ.
13.3.11. Организация, вынужденная провести аварийные раскопки, должна известить предприятие связи телефонограммой о месте, времени и характере намечаемых работ. В специальном журнале необходимо записывать: номер телефонограммы; дату ее приема и содержание; есть ли в зоне раскопок телефонные сооружения; фамилию работника, принявшего телефонограмму; фамилию выехавшего на место раскопок работника.
Выехавший работник, пользуясь уличным чертежом и осматривая сооружения в натуре, определяет и фиксирует трассу канализации или кабеля и при необходимости оговаривает условия, при которых допускается проведение работ. Работник предприятия связи вручает производителю работ письменное предупреждение, в котором подробно указываются: расположение телефонных сооружений с расстоянием от местных ориентиров; глубина заложения; способ ведения разрытия; необходимость подвески трубопровода, отогрева грунта, сохранения распорок при засыпке и т.п. Второй экземпляр предупреждения хранится в линейно-кабельном подразделении предприятия связи.
В ходе работ представитель предприятия связи должен выезжать на место разрытия и проверять точность выполнения согласованных условий.
13.3.12. Необходимость сохранения или установки распорок, а также подвески трубопровода или бронированного кабеля определяется линейным инженером или электромехаником предприятия связи с производителем работ. Условия подвески определяются после раскопок, при этом составляется акт (Приложение 34).
Подвеска трубопроводов и подземных бронированных кабелей производится в соответствии с указаниями раздела 14.4.
За подвешенными сооружениями ведется особое наблюдение. Если обнаружено ослабление креплений, оползание или прогиб балок и т.п., то принимаются срочные меры для их выправки и предотвращения повреждений.
По окончании прокладки коммуникаций подземного городского хозяйства в местах пересечения их с линиями связи траншеи или котлованы засыпают с особой тщательностью, под наблюдением представителя предприятия связи.
13.3.14. В случае нарушения юридическими и физическими лицами указанных в п. 13.3.13 Правил, повлекшего повреждения линейно-кабельных сооружений местной сети связи, представитель (инспектор) предприятия местной связи проводит служебное расследование и составляет в присутствии представителя предприятия или физического лица, по вине которого произошло повреждение, акт о причинах повреждения. В акте указываются: название предприятия; должность и фамилия виновного или фамилия и место жительства физического лица, виновного в повреждении; характер, место и время происшествия.
13.3.15. Материальный ущерб, причиненный предприятию связи, в ведении которого находятся поврежденные линейно-кабельные сооружения, исчисляется по фактическим расходам на их восстановление и с учетом тарифных доходов, не полученных этим предприятием за период прекращения действия связи.
13.3.16. Материальный ущерб подлежит возмещению виновным физическим или юридическим лицом в добровольном порядке, при наличии разногласий - в судебном порядке.
Материальный ущерб взыскивается в соответствии с действующим законодательством и в случае привлечения физического или юридического лица, виновного в нарушении указанных в п. 13.3.13 Правил, к административной или уголовной ответственности.
14.1.1. Необходимость в переустройстве линейно-кабельных сооружений может возникнуть при: перепланировке улиц и площадей, строительстве нетелефонных сооружений, строительстве и реконструкции мостов, увеличении емкости трубопроводов кабельной канализации, замене бронированных и подвесных кабелей кабелями, прокладываемыми в канализации, переносе распределительных шкафов с улиц в подъезды зданий.
14.1.2. Работы, связанные с переустройством кабельной канализации, целесообразно совмещать с реконструкцией улиц и площадей, по которым проходит трасса канализации.
14.1.3. Все работы, производимые субподрядными организациями, связанные с перекладкой трубопроводов, переустройством колодцев, перекладкой и подвеской кабелей и т.п., должны согласовываться на месте с представителем организации, эксплуатирующей кабельную канализацию.
14.1.4. Работы по переустройству кабельной канализации должны производиться без длительного перерыва связи по кабелям, проложенным в канализации. С этой целью перед началом работ, связанных с отключением действующих связей, эти связи переключают на обходные направления.
14.1.5. При переустройстве колодцев недействующей кабельной канализации необходимо выполнять следующие мероприятия, обеспечивающие сохранность кабелей, проложенных в канализации: место работ должно находиться под постоянным наблюдением; кабели следует надежно подвесить и защитить от механических повреждений; по окончании работ надо тщательно осмотреть все кабели, проходящие внутри колодца, и устранить обнаруженные повреждения.
14.1.6. При перепланировке улиц и площадей могут производиться следующие работы по переустройству кабельной канализации: изменение горизонтального направления трассы; углубление залегания трубопровода; опускание или подъем люков колодцев; усиление перекрытий; опускание или подъем колодцев.
14.2.1. При перепланировке улицы, когда намечено снижение уровня мостовой, проложенная по данной улице кабельная канализация может оказаться на глубине, менее допустимой. Для предупреждения этого необходимо заблаговременно углубить канализацию.
14.2.2. При углублении канализации сначала откапывают существующий трубопровод, затем рядом и параллельно с ним отрывают дополнительную траншею необходимой глубины с учетом будущей перепланировки. Таким образом, получается ступенчатая траншея (рис. 15). Заблаговременная подготовка дополнительной траншеи на большом пролете углубляемой канализации запрещается во избежание произвольного оползания грунта, разрушения трубопровода от сотрясений и заполнения траншеи дождевой или талой водой. Траншея должна быть защищена с торцов от поступления воды, особенно при рытье траншеи в песчаных грунтах и почвах с высоким уровнем грунтовых вод.
14.2.3. На расстоянии 3 - 4 м от колодца, возле которого начинается работа по углублению трубопровода, несколько первых труб (в том числе и трубу, входящую в колодец) разбивают. В торце колодца на необходимой глубине делают отверстие для нового ввода труб, соединяют его со старым отверстием и перекладывают в него кабель. После этого разделывают стык ближайшей к колодцу неразбитой трубы и передвигают (перенизывают) ее по кабелю на руках (на весу) в направлении колодца. При перенизывании труб кабель осторожно выгибают. Первую передвинутую трубу вводят в новый проем стенки колодца и заделывают в установленном порядке с соответствующей выкладкой кабелей в колодце. Таким же способом перенизывают остальные трубы.
Рис. 15. Углубление кабельной канализации:
1 - углубленные трубы; 2 - кабели; 3 - трубы, подлежащие заглублению (перенизыванию)
После того как все трубы будут перенизаны и уложены на новую глубину, у второго колодца трубопровод пополняют необходимым количеством труб того же типа, что и на существующем трубопроводе. Если перенизывались прямоугольные бетонные или асбестоцементные трубы, то пополнение делается из половинчатых, т.е. из разрезанных вдоль новых труб, с заделкой швов по всей длине распиловки.
Примечание. В случае перекладки трубопровода, не занятого кабелями, новое отверстие со старым в колодце не соединяется.
14.2.4. После перенизывания труб во всех случаях необходимо все свободные каналы проверить пробным цилиндром до окончательной заделки стыков и засыпки перенизанного трубопровода. Выявленные дефекты должны быть устранены.
14.2.5. При перепланировке улиц со значительной срезкой грунта, когда требуется не только углубление трубопровода, но и переоборудование колодцев, решение о порядке выполнения таких работ принимается в каждом случае отдельно в зависимости от местных условий, срока службы канализации, пригодности трассы и т.п.
14.2.6. Если канализация подлежит незначительному углублению, то может оказаться целесообразным ее не заглублять, а защитить сверху железобетонными плитами или сплошной железобетонной подушкой, обеспечивающими сохранность трубопровода.
14.2.7. Доукладка трубопровода производится при необходимости увеличения числа каналов трубопровода на 1 - 2.
14.2.8. Для доукладки канализации откапывают траншею трубопровода на такую глубину, которая позволит беспрепятственно уложить дополнительные трубы.
14.2.9. При доукладке новый трубопровод размещается таким образом, чтобы глубина залегания существующего и доуложенного трубопровода соответствовала установленным нормам (Приложение 35). При наличии свободных мест доукладка производится в верхнем ряду, а при их отсутствии - рядом с существующим трубопроводом. В исключительном случае, когда доукладываемый трубопровод приходится размещать сверху существующего блока трубопровода и заглубление блока становится недостаточным, углубляют весь блок путем перенизывания труб.
14.2.10. Механизированная выемка грунта из траншеи при доукладке трубопровода разрешается в исключительных случаях на глубину 0,4 - 0,6 м (при условии нормального заглубления трубопровода) с последующей разработкой траншеи ручным способом.
14.2.11. После доукладки трубопровода траншею закапывают и производят окончательное замощение (асфальтирование и т.п.) обычным порядком.
14.3.1. При замене бронированных и подвесных кабелей кабелями, проложенными в канализации, выполняются следующие работы:
- устройство кабельной канализации;
- затягивание телефонных кабелей в канализацию;
- переключение действующих связей с заменяемых на кабели, прокладываемые в канализации;
- демонтаж освобожденных от действующих связей бронированных или подвесных кабелей.
14.3.2. Работы по замене бронированных и подвесных кабелей кабелями в канализации должны выполняться без длительного перерыва действия связей и с соблюдением правил и норм, предусмотренных соответствующими документами.
По окончании работ все вспомогательные сооружения (подмостки, настилы и т.п.) разбирают, место работ очищают и приводят в порядок.
14.3.3. Работы по переносу бронированных кабелей и кабельной канализации, по существу, сводятся к прокладке бронированных кабелей или кабельной канализации (с прокладкой в ней кабеля) по новым трассам, к переключению связей на вновь проложенные кабели и демонтажу заменяемых кабелей и канализационных сооружений.
14.3.4. Порядок и правила выполнения работ по прокладке бронированных кабелей и кабельной канализации изложены в указанном в п. 9.1.1 «Руководстве по строительству линейных сооружений местных сетей связи».
14.4.1. Подвеска трубопроводов и бронированных кабелей необходима в тех случаях, когда их трасса пересекается глубокими траншеями или котлованами для прокладки других коммуникаций.
14.4.2. При подвеске трубопровода или бронированного кабеля вдоль старой трассы прокладывают балку и прикрепляют к ней обнаженный трубопровод или кабель. Трубопровод в начале откапывают только до верхней трубы и лишь после выполнения подготовительных для подноски работ - полностью. Бронированные кабели откапывают сразу и заключают во временные деревянные короба, сбитые из досок.
Способы подвески кабельной канализации весьма различны и зависят от емкости блока, длины участка с незакрытыми трубами, категории и состояния грунта, уровня грунтовых вод, расположения соседних сооружений и т.п.
Балки для подвески и проволочные хомуты для крепления трубопровода к балке выбирают по таблицам, приведенным в Приложении 36, в зависимости от емкости и типа подвешиваемого трубопровода и длины подвески. При употреблении для подвески трубопроводов деревянных балок прямоугольного сечения их укладывают на подвешиваемую трубу узкой стороной, круглую балку со стороны прилегания к трубопроводу стесывают. Стальную двутавровую балку кладут на трубопровод одной из полок.
Для предохранения трубопровода от повреждений при закручивании хомутов в зазоры между корпусом блока и хомутом снизу и сверху прокладывают отрезки досок. Хомуты закручивают так туго, чтобы исключить возможность сдвига балки и подвешенного к ней трубопровода. Вместо проволочных хомутов можно применять стальные болты удлиненной конфигурации, хомуты из полосовой стали и другие детали.
Раскопки грунта могут быть проведены перпендикулярно, под углом или параллельно трассе кабельной канализации. При раскопках под углом к трассе канализации, близким к 90°, в траншее должны быть установлены распорки: по высоте - с учетом угла естественного откоса (границ неустойчивого грунта), а по длине - на протяжении 5 - 6 м, т.е. по 2,5 - 3,0 м в обе стороны от оси трассы подвешиваемого трубопровода. Балка, к которой подвешивается трубопровод, должна концами упираться в твердый неразрыхленный грунт за краями траншеи. Под концы стальной балки подкладываются деревянные доски толщиной 5 см и длиной, равной ширине трубопровода. Если подвеска трубопровода делается временной и в последующем подлежит переустройству с перетягиванием кабелей, то балки можно укладывать на поверхности уличного покрытия с применением специальных подкладок.
Если часть труб до подвески была обнажена, то для проверки целости трубопровода и прямолинейности каналов по свободным каналам пропускают пробный цилиндр; если свободного канала нет, то прямолинейность проверяют по ребрам труб. Если выявлено смещение или прогиб трубопровода либо отдельных труб, то прямолинейность восстанавливают, подтягивая или ослабляя соответствующие хомуты, с предварительной разделкой и последующим восстановлением стыков. В тех случаях, когда при раскопках трубопровод оказывается оголенным на протяжении нескольких метров, применяют продольную подвеску трубопровода, при которой продольную балку с подвешенным трубопроводом прикрепляют к размещенным над ней поперечным балкам или крестовинам, концы которых нужно укладывать на твердый грунт, не подверженный оползанию.
Кабельную канализацию засыпают вместе с балками и хомутами, без нарушения всей конструкции подвески. Грунт засыпают слоями толщиной не более 200 мм, каждый слой тщательно трамбуют, а в глубоких траншеях проливают водой.
Бронированные кабели при засыпке освобождают от деревянного короба, приподнимают и удерживают в таком положении до засыпки под них слоя просеянной земли, песка и тщательной трамбовки этого слоя. Затем кабели опускают, засыпают слоем песка или мягкого грунта толщиной 100 мм и при необходимости защищают кирпичом или шлакобетонными плитами.
Дальнейшая засыпка и замощение раскопок делаются на общих основаниях.
14.5.1. Распределительные шкафы переносят в подъезды зданий для улучшения условий их обслуживания, обеспечения безаварийности работы линий связи и для повышения сохранности оборудования.
14.5.2. Работы по переносу шкафов с улиц в здания осуществляются по проектно-сметной документации (о согласовании места установки шкафа на соответствующем рабочем чертеже должна быть сделана надпись).
14.5.3. Перенос шкафов происходит в следующем порядке. К новому месту установки шкафа от существующего шкафного колодца прокладывают трубопровод. Если протяженность прокладываемого трубопровода окажется более 35 м, то его оканчивают новым шкафным колодцем, от которого в случае необходимости к шкафу прокладывают изогнутые трубы для ввода кабелей в шкаф. При протяженности трубопровода менее 35 м из существующего шкафного колодца к новому шкафу прокладывают изогнутые трубы. Одновременно с этим устанавливают распределительный шкаф. После монтажных работ переключают кабели в новый шкаф, укладывают кроссировки и демонтируют старое оборудование.
14.6.1. В процессе эксплуатации может возникнуть необходимость переустройства линейно-кабельных сооружений, расположенных на мостах. В этих случаях строят новую кабельную канализацию и прокладывают к ней телефонные кабели. Возможна открытая прокладка кабелей по опорным точкам на фермах и устоях моста.
14.6.2. Переустройство кабельной канализации на мостах выполняется в соответствии с утвержденной проектно-сметной документацией и совмещается по времени с ремонтом или реконструкцией мостов.
14.6.3. При переустройстве кабельная канализация на мостах прокладывается в тротуарной части с размещением труб в бетонированных ячейках тротуара под железобетонными плитами или в специальных металлических конструкциях, прикрепленных к фермам и устоям моста.
Для строительства трубопровода на мостах используют асбестоцементные и пластмассовые трубы с размещением их в один или два ряда. В местах температурных швов моста строят смотровые устройства и оставляют небольшие запасы кабеля (20 - 30 см).
14.6.4. С обеих сторон моста (на обоих берегах) сооружают кабельные колодцы, из которых выводят трубы для прокладки по посту. При небольшой емкости блоков трубы выводят в один или два ряда. При большой емкости блоков трубы вначале кладут в три - четыре ряда и более, а затем их веерообразно вводят в один или два ряда тротуарных ячеек моста. При большой длине пролетной части моста в тротуарах делают специальные смотровые устройства, крышками которых служат съемные железобетонные плиты. Глубина этих смотровых устройств соответствует размерам ячейки тротуара.
Если мост имеет значительный пологий подъем, то кабели из кабельной канализации, проложенной по набережной, переходят на мост через вертикальные шахты, сооружаемые в устоях моста. Для крепления кабеля на вертикальных участках прокладки и для подхода к горизонтальному трубопроводу шахты оборудуют специальными металлическими конструкциями, обеспечивающими плавные изгибы кабеля, и делают запасы.
14.6.5. Если укладка труб канализации в тротуарах моста невозможна, трубопроводы размещают в специальных металлических конструкциях, прикрепляемых к фермам или устоям моста. Типовыми для этого случая конструкциями являются стальные хомуты, изготавливаемые по размерам балок, на которых укрепляются стальные накладки для размещения на них труб. Под накладками ставят пружинные амортизаторы, смягчающие вибрацию при проходе транспорта. Применяют также способ крепления труб с помощью деревянных накладок, прикрепляемых к балкам моста аналогично стальным хомутам.
14.6.6. При разводных мостах в местах разъемных (раздвижных) частей прокладывают подводные кабели с заглублением их в дно реки. Из кабельной канализации в дно реки кабели переходят по неподвижным конструкциям моста, защищенным от механических повреждений при ледоходе, движении судов и т.п. В местах перехода кабелей с одной конструктивной части моста на другую оставляют небольшие запасы кабелей в виде закругленных петель.
14.6.7. Прокладываемые через мост кабели, которые на берегу не были уложены в канализацию связи, помещают под пешеходной частью моста или в огнестойкие желоба, укрепляемые с боковой стороны. Для уменьшения вибрации таких кабелей применяют специальные амортизаторы или упругие основания из асбестных очесов, песка и других пружинящих материалов.
14.6.8. Все работы, связанные с переустройством линейно-кабельных сооружений на фермах и устоях моста, т.е. в местах, требующих специальных приспособлений, следует производить со специально устроенных вспомогательных подмостков и настилов по всей длине кабеля на мосту.
14.7.1. Работы по переустройству существующей кабельной канализации в период отрицательных температур производить не следует. Эти работы допускаются только при авариях, при ремонте или реконструкции моста, повлекших за собой повреждение кабелей или угрожающих их исправности и т.п.
14.7.2. При разработке замерзшего грунта применяют рыхление или оттаивание его.
Во время отогрева грунта на трассах, занятых подземными сооружениями, необходимо следить за тем, чтобы между источником тепла и находящимися в земле кабелями любого назначения находился защитный слой грунта толщиной не менее 10 см.
14.7.3. При бетонировании сооружений в условиях отрицательных температур в основном применяют три способа:
- способ замедленного замораживания бетона;
- создание в зоне работ положительных температур;
- применение холодного бетона.
Способ замедленного замораживания бетона состоит в том, что входящие в него материалы (песок, гравий, щебень, вода) до смешивания подогревают до температуры 40 - 70 °С с расчетом на достаточное нарастание прочности бетона в период остывания раствора. Остывание раствора бетонируемой части сооружения замедляют покрытием последнего кошмой, толем и т.п. методами утепления. При большой протяженности утепляемого сооружения утепляющие покровы можно перемещать на другие участки, а освобожденные от утепления участки сооружения засыпать подогретым грунтом, дающим сооружению на короткое время дополнительное тепло.
Создание в зоне работ положительных температур обеспечивают устройством отапливаемых кожухов (тепляков), пропариванием и т.п.
«Холодный» бетон получают добавлением в него химических составов (хлористых солей натрия или кальция), понижающих температуру замерзания воды и позволяющих бетону созревать при отрицательных внешних температурах (до -10 °С). Цемент в таком бетоне должен иметь марку не ниже 400, а песок должен быть просеян или подогрет до полного растопления комьев.
14.7.4. Если на переустройство канализации составляют проект, то в нем должны быть предусмотрены все конкретные мероприятия, связанные с выполнением работ в зимнее время.
15.1.1. Кабелям, проложенным на местных сетях связи, присваиваются номера, указанные в табл. 15.1.
Таблица 15.1. Нумерация кабелей местной сети связи
|
Присвоенная нумерация |
Примечание |
|
|
Магистральные кабели |
0 - 199 |
Нумеруются по РАТС, а на нерайонированных сетях - в целом по сети |
|
Межстанционные НЧ и ВЧ |
200 до 999 1000 и выше |
Имеет единую нумерацию для всей сети |
|
Распределительные |
Нумеруются по номерам распределительных коробок (кабельных ящиков) в шкафных районах |
|
15.1.2. На местных сетях связи применяется приведенный на рис. 16 принцип нумерации оконечных кабельных устройств (распределительных шкафов, распределительных коробок и кабельных ящиков) с началом счета от ближнего конца.
15.1.3. На районированных местных сетях связи распределительные шкафы каждой районной АТС имеют последовательную нумерацию, начиная с первого номера. Кроме того, шкафу присваивается цифровой индекс, соответствующий индексу данной районной АТС. Например, шкафы 15 и 2 АТС 33 имеют нумерацию 3315 и 3302. На нерайонированных сетях индекс АТС к номеру шкафа не добавляется.
Рис. 16. Нумерация пар на оконечных кабельных устройствах кросса:
а) защитных полосах 25´2 абонентского кросса; б) рамках 40´2 и 15´2 кросса соединительных линий
15.1.4. Боксы в распределительных шкафах нумеруются слева направо, сверху вниз 0, 1, 2, 3 ... .
Боксы магистральных кабелей размещаются в распределительных шкафах емкостью 1200 пар в среднем горизонтальном ряду, а в шкафах емкостью 600 и 300 пар - в среднем вертикальном ряду.
15.1.5. Плинты в боксах нумеруются последовательно сверху вниз 0, 1, 2, ... 8, 9.
15.1.6. Каждой распределительной коробке или кабельному ящику присваивается номер, определяемый номерами распределительного шкафа, бокса и плинта. Например, распределительная коробка (или кабельный ящик), включенная в плинт № 7 бокса № 4 распределительного шкафа № 3315, будет иметь номер 3315-47.
15.1.7. Нумерация пар в плинтах, боксов, распределительных коробок и кабельных ящиков производится слева направо: сначала в первом (0, 1, 2, 3, 4), а затем во втором (5, 6, 7, 8, 9) ряду клеммных винтов или врезных контактов.
15.1.8. Нумерация пар в плинте показана на рис. 8, а нумерация пар на кабельном боксе приведена на рис. 17.
Номер кабельной пары в распределительном боксе обозначает число, где первая цифра соответствует номеру бокса, вторая цифра - номеру плинта, а третья цифра обозначает номер пары в плинте. Например, пара 153 находится в распределительном боксе, установленном в шкафу на 1-м месте, в 5-м плинте и включена в 3-ю (считая с нуля) пару клемм. Соответственно на другом конце эта пара должна быть включена в клеммы 3 распределительной коробки 5.
15.1.9. При монтаже магистральных кабелей кабельные пары должны включаться в защитные полосы кросса станции в соответствии с включением в боксы магистральной сети в распределительном шкафу.
При монтаже рамок линий межстанционной связи должно быть обеспечено соответствие включения кабельных пар (троек) в испытательные рамки кроссов на обеих станциях.
Нумерация пар в защитных полосах 25´2, а также рамках 40´2 и 15´2 кросса соединительных линий приведена на рис. 16.
Рис. 17. Нумерация пар на кабельном боксе 100´2
15.2.1. Каждому колодцу присваивают определенный порядковый номер в соответствии с принятой классификацией. Распределение номеров между типами кабельных колодцев приведено в табл. 15.2.
Станционному колодцу обычно присваивают № 1 (2). Последующие колодцы нумеруют возрастающими числами в соответствии с приведенным в табл. 15.2 распределением номеров.
15.2.2. Нумерация каналов трубопроводов ведется, начиная с нижнего ряда, слева направо и снизу вверх.
Если в одном направлении проложено несколько отдельных блоков или труб (одноотверстных или многоотверстных), то в каждом блоке или трубе каналы считаются отдельно.
Таблица 15.2. Распределение номеров между типами кабельных колодцев
|
Тип сооружений |
|
|
1 - 100 |
Помещения ввода кабелей и специальные колодцы |
|
101 - 300 |
Колодцы ККС-5 |
|
301 - 600 |
Колодцы ККС-4 |
|
601 - 1200 |
Колодцы ККС-3 |
|
1201 - 7000 |
Колодцы ККС-2 |
|
7001 - 10000 |
Колодцы ККС-1 |
|
10001 и выше |
Шурфы, ответвления трубопровода, места припайки дренажных кабелей, места муфт кабелей в пролетах канализации и ответвлений бронированных кабелей без специальных колодцев |
Считать каналы нужно, находясь в колодце, повернувшись лицом по направлению канализации.
Направлением канализации считается:
- на участке между помещением ввода кабелей и станционным колодцем - от помещения ввода кабелей в сторону станционного колодца;
- вдоль улиц и проездов: на районированных телефонных сетях в сторону возрастания номеров домов; на нерайонированных телефонных сетях (имеющих одну телефонную станцию) - от станции к распределительным шкафам, распределительным коробкам, кабельным ящикам;
- на ответвлениях (отходах) от канализации (в пределах улицы) - к подстанциям, шкафам, кабельным столбам, зданиям и т.п.
- от основной канализации в сторону перечисленных объектов.
Таблица П1.1. Электрические параметры телефонных кабелей типов Т, ТП и СТПА в металлической и пластмассовой оболочках
|
Параметр |
Частота тока, кГц |
Норма для кабелей типов |
|
|
Т |
ТП и СТПА |
||
|
1 |
2 |
3 |
4 |
|
Электрическое сопротивление, Ом/км, токопроводящей жилы диаметром, мм: |
Постоянный ток |
|
|
|
0,32 |
|
- |
216 ± 13 |
|
0,40 |
|
- |
139 ± 9 |
|
0,50 |
|
90 ± 5 |
|
|
0,64 |
|
55 ± 3 |
55 ± 3 |
|
0,70 |
|
- |
45 ± 3 |
|
Электрическое сопротивление изоляции жил, МОм×км, не менее: |
То же |
|
|
|
трубчато-бумажной и пористо-бумажной; |
|
8000 |
- |
|
полиэтиленовой: |
|
|
|
|
для 100 % значений, |
|
- |
6500 |
|
для 80 % значений; |
|
- |
8000 |
|
для кабелей с гидрофобным заполнением |
|
- |
5000 |
|
Испытательное напряжение, В, приложенное: |
|
В течение 2 мин |
В течение 1 мин |
|
между жилами рабочих пар |
0,05 |
500 |
1000 |
|
Постоянный ток |
750 |
1500 |
|
|
между жилами и экраном |
0,05 |
- |
2000 |
|
Постоянный ток |
- |
3000 |
|
|
между жилами и металлической оболочкой |
0,05 |
500 |
5000 |
|
Постоянный ток |
750 |
7500 |
|
|
между алюминиевой оболочкой и броней и между алюминиевой оболочкой и водой для подводного кабеля марки СТПАПП |
0,05 |
- |
5000 |
|
Постоянный ток |
- |
7500 |
|
|
между алюминиевой оболочкой и водой для кабеля марки СТПАВ |
0,05 |
- |
1000 |
|
Постоянный ток |
- |
1500 |
|
|
Рабочая емкость, нФ/км, для кабелей: |
0,8 или 1,0 |
|
|
|
с трубчато-бумажной изоляцией жил диаметром: |
|
|
|
|
0,50 мм |
|
Не более 52 |
- |
|
0,64 мм |
|
Не более 50 |
- |
|
с пористо-бумажной изоляцией жил диаметром 0,50 мм |
|
Не более 55 |
- |
|
с полиэтиленовой изоляцией жил: |
|
|
|
|
без гидрофобного заполнения |
|
- |
45 ± 5 |
|
с гидрофобным заполнением |
|
- |
50 ± 5 |
|
Коэффициент защитного действия алюминиевой и стальной оболочек, не более: |
0,05 |
|
|
|
при значении продольной ЭДС от 40 до 250 В: |
|
|
|
|
алюминиевой оболочки |
|
0,7 |
- |
|
стальной оболочки кабелей с числом пар 100 |
|
0,8 |
- |
|
при значении продольной ЭДС от 30 до 250 В на длине алюминиевой оболочки 1 км |
|
- |
0,8 |
|
Расчетный коэффициент затухания, дБ/км, для кабелей: |
0,8 |
|
|
|
с трубчато-бумажной изоляцией жил диаметром, мм: |
|
|
|
|
0,50 |
|
1,24 |
- |
|
0,64 |
|
0,97 |
- |
|
с пористо-бумажной изоляцией жил диаметром 0,50 мм; |
|
1,31 |
- |
|
с полиэтиленовой изоляцией жил диаметром, мм |
|
|
|
|
0,32 |
|
- |
1,92 |
|
0,40 |
|
- |
1,54 |
|
0,50 |
|
- |
1,24 |
|
0,64 |
|
- |
0,97 |
|
с гидрофобным заполнителем и полиэтиленовой изоляцией жил диаметром, мм |
|
|
|
|
0,32 |
|
- |
2,02 |
|
0,40 |
|
- |
1,62 |
|
0,50 |
|
- |
1,31 |
|
0,64 |
|
- |
1,02 |
Таблица П1.2. Электрические параметры кабелей с кордельно-бумажной и кордельно-полистирольной изоляцией в металлической оболочке
|
Наименование параметра |
Частота тока, кГц |
Норма для кабелей типа |
|
|
ТЗ |
МКС |
||
|
1 |
2 |
3 |
4 |
|
Электрическое сопротивление, Ом/км, не более, токопроводящей жилы диаметром, мм: |
Постоянный тик |
|
|
|
0,80 |
|
36,1 |
- |
|
0,90 |
|
28,2 |
- |
|
1,00 |
|
- |
23,00 |
|
1,20 |
|
15,9 |
15,85 |
|
1,40 |
|
11,9 |
- |
|
Омическая асимметрия жил в рабочей паре на длине 825 м, Ом, не более, для жил диаметром, мм: |
Постоянный ток |
|
|
|
1,00 |
|
- |
0,37 |
|
1,20 |
|
- |
0,19 |
|
Электрическое сопротивление изоляции каждой жилы относительно всех других жил, соединенных с оболочкой, МОм×км, не менее |
Постоянный ток |
10000 |
12000 |
|
Испытательное напряжение, В, приложенное в течение 2 мин: |
0,5 (постоянный ток) |
|
|
|
между жилами диаметром, мм: |
|
|
|
|
0,80 и 0,90 |
|
700 (900) |
- |
|
1,20 и 1,40 |
|
1000 (1400) |
- |
|
между всеми жилами и оболочкой (для кабелей ТЗ с неэкранированными группами) |
|
1800 (2550) |
2000 |
|
между жилами номинальным диаметром 0,80 и 0,90 мм и экраном, соединенным с оболочкой |
|
1000 (1400) |
- |
|
между жилами номинальным диаметром 1,20 и 1,40 мм и экраном, соединенным с оболочкой |
|
1800 (2500) |
- |
|
между группой всех красных и желтых жил и группой всех синих и зеленых жил, соединенных с оболочкой, в течение: |
|
|
|
|
2 мин |
|
- |
1300 |
|
10 с |
|
- |
1400 |
|
между группой красных и желтых жил первой (счетной) и третьей четверок синих и группой зеленых жил второй и четвертой четверок и группой синих и зеленых жил первой и третьей четверок и группой красных и желтых жил второй и четвертой четверок, соединенных с оболочкой 4-х четверочных кабелей, в течение: |
|
|
1 |
|
2 мин |
|
- |
1300 |
|
10 с |
|
- |
1400 |
|
между группой жил центральной четверки и группой всех жил остальных четверок, соединенных с оболочкой, семичетверочных кабелей, в течение: |
|
|
|
|
2 мин |
|
- |
1300 |
|
10 с |
|
- |
1400 |
|
Рабочая емкость, нФ/км: |
0,8 |
|
|
|
для однородных кабелей с неэкранированными четверками |
|
Не более 36,0 |
- |
|
для однородных кабелей с экранированными четверками и комбинированных кабелей |
|
Не более 38,0 |
- |
|
для кабелей с жилами диаметром 1 мм: |
|
|
|
|
четырехчетверочных |
|
- |
22,4 ± 1,0 |
|
семичетверочных |
|
- |
22 ± 1,0 |
|
для кабелей с жилами диаметром 1,2 мм: |
|
|
|
|
четырехчетверочных всех марок и семичетверочных в стальной гофрированной оболочке |
|
- |
24,5 ± 1,0 |
|
семичетверочных в алюминиевой оболочке |
|
- |
24,0 ± 1,0 |
|
Разность максимального и минимального значений рабочей емкости для одинаковых цепей строительной длины, нФ/км |
0,8 |
Не более 6,0 |
- |
|
Переходное затухание на ближнем конце между всеми парами на длине 825 м, дБ (Нп), не менее: |
В диапазоне до 252 |
|
|
|
для 100 % измеренных значений |
|
- |
59 (6,8) |
|
для 90 % намеренных значений |
|
- |
65 (7,5) |
|
Защищенность на дальнем конце между всеми парами на длине 825 м, дБ (Нп), не менее: |
В диапазоне до 252 |
|
|
|
для 100 % измеренных значений |
|
- |
68 (7,8) |
|
для 90 % измеренных значений |
|
- |
74 (8,3) |
|
Емкостные связи четверок на длине 425 м, пФ, не более: |
от 0,80 до 1,0 |
|
|
|
между основными цепями каждой четверки (Кт): |
|
|
|
|
для 100 % измеренных значений |
|
210 |
- |
|
для 90 % измеренных значений |
|
120 |
- |
|
между основными цепями рядом лежащих четверок (К9, К10, К11, К12): |
|
|
|
|
для 100 % измеренных значений |
|
180 |
- |
|
для 80 % измеренных значений |
|
50 |
- |
|
Емкостная асимметрия между жилами основных цепей (Еа1, Еа2) ни длине 425 м, пФ, не более |
0,80 |
|
|
|
для 100 % измеренных значений |
|
700 |
- |
|
для 90 % намеренных значений |
|
400 |
- |
|
Емкостные связи К2,3 и частичная емкостная асимметрия Еа1 и Еа2 на длине 825 м, пФ, не более |
0,80 |
- |
650 |
|
Электрическое сопротивление изоляции наружного защитного покрова кабелей марок МКСАШп и МКССтШп и подушки кабелей марок МКСАБшП, МКСАБп, МКСАБпГ, МКСАСтпШп, МКСАКпШп, МКГСАБпШп, МКГСАСтпШп МОмхкм, не менее |
Постоянный ток |
- |
100 |
|
Электрическое сопротивление изоляции между оболочкой и водой для покровов типа Шп, между оболочкой и броней для покровов типа Бп и Кп, между броней и водой для наружных покровов типа Шп на длине 1 км, МОм, не менее |
Постоянный ток |
20 |
- |
|
Примечания: 1. Для 2 % измеренных значений кабелей типа ТЗ допускается на длину 425 м: К1 - не более 280 пФ, Еа1, Еа2 - не более 1100 пФ. 2. Для кабелей типа ТЗ с номинальным диаметром токопроводящих жил 0,90 мм для 2 % значений допускается электрическое сопротивление жилы не более 28,6 Ом/км. 3. Для кабелей длиной менее 200 м при пересчете норм по п.п. 6 - 10 длину следует принимать равной 200 м. 4. Для кабелей типа МКС допускается в строительной длине одно значение емкостных связей и емкостной асимметрии - 700 пФ. |
|||
Таблица П1.3. Электрические параметры кабелей типов КСПП и КСПЗП.
|
Параметр |
Частота тока, кГц |
Норма для кабелей с жилами диаметром, мм |
||
|
0,64 |
0,9 |
1,2 |
||
|
1 |
2 |
3 |
4 |
5 |
|
Электрическое сопротивление токопроводящей жилы, Ом/км, не более |
Постоянный ток |
58,0 |
28,4 |
15,8 |
|
Омическая асимметрия жил в рабочей паре на длине 750 м, Ом, не более: |
|
|
|
|
|
- для 100 % значений, |
|
2,0 |
0,5 |
0,5 |
|
- для 95 % значений |
|
- |
0,3 |
0,3 |
|
Электрическое сопротивление изоляции каждой жилы относительно всех других жил, соединенных с экраном, МОм×км, не менее |
Постоянный ток |
15000 |
15000 |
15000 |
|
Испытательное напряжение между жилами, а также между жилами и экраном, прикладываемое в течение 2 мин, В |
0,05 |
2000 |
2000 |
2000 |
|
Постоянный ток |
3000 |
3000 |
3000 |
|
|
Электрическое сопротивление экрана, Ом/км |
Постоянный ток |
15 |
15 |
15 |
|
Электрическое сопротивление изоляции оболочки, МОм×км, не менее |
Постоянный ток |
5 |
5 |
5 |
|
Рабочая емкость цепей, нФ/км |
0,8 |
35 ± 3 |
38 ± 3 |
43,5 ± 3 |
|
Переходное затухание между цепями кабеля на ближнем конце на длине 750 м, дБ: |
|
|
|
|
|
- при цифровом влияющем сигнале в виде псевдослучайной последовательности (ПСП): |
|
|
|
|
|
при скорости передачи 1024 кбит/с: |
|
|
|
|
|
- для 100 % значений, |
- |
59 |
64 |
- |
|
- для 80 % значений, |
- |
61 |
67 |
- |
|
при скорости передачи 2048 кбит/с: |
|
|
|
|
|
- для 100 % значений, |
- |
58 |
59 |
- |
|
- для 80 % значений; |
- |
60 |
62 |
- |
|
в спектре до 350 кГц: |
|
|
|
|
|
- для 100 % значений, |
|
- |
56 |
56 |
|
- для 80 % значений; |
|
- |
61 |
61 |
|
в спектре до 550 кГц: |
|
|
|
|
|
- для 100 % значений, |
|
- |
53 |
53 |
|
- для 80 % значений; |
|
- |
58 |
58 |
|
Защищенность между цепями кабеля на дальнем конце на длине 750 м, дБ: |
|
|
|
|
|
- при цифровом влияющем сигнале ПСП и скорости передачи 1024 или 2048 кбит/с; |
- |
45 |
45 |
- |
|
в спектре частот до 120 кГц: |
|
|
|
|
|
- для 100 % значений, |
|
- |
67,7 |
67,7 |
|
- для 90 % значений; |
|
- |
69,4 |
69,4 |
|
в спектре частот до 550 кГц: |
|
|
|
|
|
- для 100 % значений, |
|
- |
66,0 |
66,0 |
|
- для 90 % значений |
|
- |
67,7 |
67,7 |
|
Коэффициент затухания, дБ/км |
120 |
- |
3,28 ± 0,26 |
3,0 ± 0,26 |
|
350 |
- |
5,01 ± 0,37 |
4,73 ± 0,37 |
|
|
550 |
- |
6,3 ± 0,43 |
5,64 ± 0,43 |
|
|
512 |
Не более 8,0 |
Не более 6,9 |
- |
|
|
1024 |
- |
Не более 7,5 |
- |
|
|
Модуль волнового сопротивления, Ом |
120 |
- |
136 ± 6 |
119 ± 5 |
|
350 |
- |
132 ± 5 |
115 ± 5 |
|
|
550 |
- |
129,5 ± 6 |
113 ± 6 |
|
|
512 |
130 |
143 |
- |
|
|
1024 |
- |
141 |
- |
|
|
Коэффициент защитного действия при наведенной предельной ЭДС 30 В/км |
0,05 |
|
0,99 |
0,99 |
|
Примечания: 1. Для кабелей с диаметром жил 0,9 мм, выпускаемых по ТУ 16.К-71-061-89, омическая асимметрия жил не более 1 Ом, а рабочая емкость цепей- 35 ± 3 нФ/км. Переходное затухание и защищенность для этих кабелей нормируются при сигнале в виде ПСП. 2. Для кабелей с жилами диаметром 0,9 мм и утолщенной (0,95 мм) изоляцией, выпускавшихся по ОСТ 0.505.002-78, волновое сопротивление такое же, как для кабелей с жилами диаметром 1,2 мм и изоляцией толщиной 0,8 мм. |
||||
Таблица П1.4. Электрические параметры малопарных кабелей марки КТПЗБбШп
|
Параметр |
Частота тока, кГц |
Норма |
|
Электрическое сопротивление токопроводящей жилы, Ом/км |
Постоянный ток |
55 ± 3 |
|
Электрическое сопротивление изоляции токопроводящей жилы, МОм×км, не менее |
То же |
5000 |
|
Испытательное напряжение, приложенное между жилами в течение 1 мин, В, не менее |
0,05 |
1500 |
|
Электрическое сопротивление изоляции защитного шланга, МОм×км, не менее |
Постоянный ток |
5 |
|
Рабочая емкость, нФ/км |
0,8 |
45 ± 5 |
|
Переходное затухание на ближнем конце, дБ/км, не менее |
0,8 |
75 |
Таблица П1.5. Электрические параметры кабелей и проводов марок ТСВ, ПКСВ, ЛТВ
|
Параметр |
Частота тока, кГц |
Норма для кабелей и проводов марок |
||
|
ТСВ |
ПКСВ |
ЛТВ |
||
|
1 |
2 |
3 |
4 |
5 |
|
Электрическое сопротивление, Ом/км, не более, токопроводящей жилы диаметром, мм: |
Постоянный ток |
|
|
|
|
0,32 |
|
229 |
- |
- |
|
0,4 |
|
148 |
- |
- |
|
0,5 |
|
95 |
94 |
- |
|
0,6 |
|
- |
- |
63 |
|
Электрическое сопротивление изоляции жил, МОм×км, не менее |
Постоянный ток |
200 100 для пластиката И40-13А (Р8/2) |
100 |
500 |
|
Испытательное напряжение, приложенное между жилами и между жилами и экраном, В, не менее |
0,05 |
1000 в течение 1 мин |
800 в течение 1 мин |
1000 в течение 5 мин |
|
Расчетная электрическая емкость рабочих пар, нФ/км, не более |
0,8 или 1,0 |
100 80 для диаметра 0,32 мм |
|
|
|
Расчетный коэффициент затухания, дБ/км, не более, кабеля с токопроводящей жилой диаметром, мм: |
1,0 |
|
|
|
|
0,32 |
|
2,9 |
- |
- |
|
0,4 |
|
2,4 |
- |
- |
|
0,5 |
|
1,9 |
- |
- |
Таблица П1.6. Электрические параметры однопарных кабелей и проводов
|
Марка кабеля или провода |
Диаметр жил, мм |
Сопротивление цепи, Ом/км |
Электрическая емкость, нФ/км |
Сопротивление изоляции жил, МОм×км |
Рабочее напряжение, В |
|
1 |
2 |
3 |
4 |
5 |
6 |
|
ПРППМ |
1,2 |
32,0 |
56 |
10000 |
380 |
|
0,9 |
56,8 |
50 |
10000 |
380 |
|
|
ПРПВМ |
1,2 |
32,0 |
88 |
10000 |
380 |
|
0,9 |
56,8 |
87 |
10000 |
380 |
|
|
ПТПЖ (ПТВЖ) |
1,8 |
140,0 |
- |
5000 (10) |
500 |
|
1,2 |
280,0 |
- |
5000 (10) |
500 |
|
|
0,6 |
1100,0 |
- |
5000 (10) |
500 |
|
|
ТРП (ТРВ) |
0,4 |
296 |
- |
500 (30) |
500 |
|
0,5 |
188 |
- |
500 (30) |
500 |
Таблица П2.1. Конструктивные параметры многопарных кабелей
|
Конструктивный параметр кабеля |
Тип или марка кабеля |
||||||
|
Тип Т |
Типы ТП и СТПА |
Тип ТЗ |
Тип МКС |
Марка ТСВ |
|||
|
1 |
2 |
3 |
4 |
5 |
6 |
||
|
Диаметр жил, мм |
0,5; 0,64 |
0,32; 0,4; 0,5; 0,64 для ТП 0,5 для СТПА |
0,8; 0,9; 1,2 |
1,2 |
0,32; 0,4; 0,5 |
||
|
Материал жил |
Медь |
Медь |
Медь |
Медь |
Медь |
||
|
Изоляция жил |
Воздушно-бумажная или бумагомассная |
Полиэтиленовая |
Кордельно-бумажная |
Кордельно-полистирольная |
Поливинилхлоридная |
||
|
Толщина изоляции жил, мм |
- |
0,15 ... 0,45 (зависит от диаметра жилы) |
- |
- |
0,25 ± 0,05 |
||
|
Расцветка жил в паре (четверке) |
Натуральная, жилы пары отличаются количеством и цветом колец или полос |
В 10-парном пучке жилы «а» пар 1 ... 5 белые, пар 6 ... 10 - красные; жилы «б» 1, 6 голубые (синие); жилы 2, 7 оранжевые, жилы 3, 8 зеленые, жилы 4, 9 коричневые, жилы 5, 10 серые |
Жилы первой рабочей пары четверки красные и желтые (или натурального цвета), второй пары - синяя и зеленая |
Жилы первой рабочей пары четверки красная и желтая, второй пары - синяя и зеленая |
В пятерках пар: жила «а» - белая, красная, черная, желтая без полосы или с полосой голубой, оранжевой, зеленой, коричневой, жила «б» голубая, оранжевая, зеленая, коричневая |
||
|
Скрутка жил |
Парная |
Парная, одно- или разнонаправленная |
Звездная четверка |
Звездная четверка |
Парная, троечная |
||
|
Шаг скрутки мм, не более |
100 |
100 |
300 |
300 |
100 |
||
|
Скрутка пар (четверок) |
Повивная или пучковая |
Повивная в 5 или 10 парные пучки с гидрофобным заполнением или без него |
Повивная |
Повивная |
Повивная или пучковая |
||
|
Поясная изоляция |
бумажные ленты толщиной не более 0,36 мм |
Полиэтиленовые, поливинилхлоридные, полиамидные, полиэтилентерефталатные или бумажно-полиэтиленовые ленты |
Бумажные ленты (не менее двух) |
Из кабельной бумаги толщиной не менее 0,45 мм для кабелей в свинцовой и стальной оболочках и не менее 0,68 мм для кабеля в алюминиевой оболочке |
Полиэтилентерефталатная или поливинилхлоридная лента |
||
|
Экран |
Для кабеля марки ТСтШп - алюмополиэтиленовая лента толщиной не более 0,20 мм или алюминиевая лента с подушкой из бумажных или пластмассовых лент толщиной не более 0,25 мм |
Алюмополиэтиленовый |
Металлизированная лента на экранированных парах и четверках |
Алюминиевая фольга в кабелях марки МКССтШп |
Алюминиевая лента толщиной не менее 0,1 мм |
||
|
Диаметр медного экранного провода, мм |
0,4 для кабеля марки ТСтШп |
0,5 (допускается 0,32 ... 0,4) |
- |
0,3 ... 0,4 мм для кабеля марки МКССтШп |
0,4 |
||
|
Материал оболочки |
Свинец, для кабеля марки ТСтШп - гофрированная сталь, для кабеля марки ТАШп - алюминий |
Для кабелей типа ТП - полиэтилен, для кабелей типа СТПА - алюминий |
Свинец, алюминий |
Алюминий, гофрированная сталь |
Поливинилхлорид |
||
|
Защитные покровы |
Шп, Б, БпШп, БГ, К, КпШп |
Б, БГ, БбШп |
Бп, Бл, БпГ, БлГ, Кп, Кл, Шп, БпШп |
Шп, БШп, Бп, БпШп, БпГ, СтпШп, КпШп |
- |
||
|
Емкость кабеля |
Для кабелей марок ТГ, ТГШп: до 1200 пар при диаметре жил 0,5 мм, до 600 пар при диаметре жил 0,64 мм; ТБ, ТБГ, ТК - до 600 пар; ТБпШп - до 100 пар; ТКпШп - до 150 пар; ТСтШп - 100 ... 600 пар при диаметре жил 0,5 мм и 100 ... 400 пар при диаметре жил 0,64 мм; ТАШп - 100 пар; ТАгШп - 150 ... 600 пар |
Для кабелей марки ТППэп: до 2400 пар при диаметре жил 0,32 мм, до 1200 пар при диаметре жил 0,4 мм, до 900 пар при диаметре жил 0,5 мм, до 500 пар при диаметре жил 0,64 и 0,7 мм; для кабелей с гидрофобным заполнением всех марок до 300 пар при диаметре жил 0,32; 0,4 и 0,5 мм; до 100 пар при диаметре жил 0,64 и 0,7 мм; для бронированных кабелей всех марок - до 600 пар при диаметре жил 0,32, 0,4, 0,5 мм; до 500 пар при 1 диаметре жил 0,64 и 0,7 мм; для кабелей марок ТППэпт и ТПВ - до 100 пар; для кабелей типа СТПА - до 200 пар |
От 3 до 114 четверок (в зависимости от конструкции) |
4, 7 четверок |
5, 10, 20, 30, 41, 103 пар; 5, 10, 20 троек |
||
|
Строительная длина кабелей |
число пар в кабеле |
длина, м, не менее |
число пар в кабеле |
длина, м, не менее |
425 ± 5 850 ± 10 |
825 ± 6 или 838 ± 6 |
Не менее 200 |
|
10 ... 20 |
500 |
5 ... 20 |
500 |
|
|
|
|
|
30 ... 50 |
300 |
30 ... 50 |
400 |
|
|
|
|
|
100 ... 200 |
250 |
100 ... 150 |
300 |
|
|
|
|
|
300 ... 400 |
200 |
200 ... 300 |
250 |
|
|
|
|
|
500 ... 1200 |
150 |
400 ... 600 |
200 |
|
|
|
|
|
|
|
700 ... 1200 |
150 |
|
|
|
|
|
|
|
1400 ... 2400 |
125 |
|
|
|
|
|
|
|
для кабелей марки ТППэпт |
|
|
|
||
|
|
|
10 ... 30 |
300 |
|
|
|
|
|
|
|
50 ... 100 |
250 |
|
|
|
|
|
Допустимый радиус изгиба в диаметрах кабеля по оболочке, не менее |
Для небронированных кабелей и кабелей марок ТСтШп, ТАгШп - 10; для бронированных кабелей - 12; для кабелей марок ТК, ТКпШп, ТАшп - 15 |
Для небронированных кабелей: 10 - по пластмассовой оболочке, 15 - по алюминиевой оболочке; для бронированных кабелей: 12 - по броне с пластмассовой оболочкой, 20 - по броне с алюминиевой оболочкой |
25 |
20 - по стальной оболочке, 30 - по алюминиевой оболочке |
10 |
||
|
Температурный режим |
Температура прокладки и монтажа не ниже -15 °С; температура эксплуатации -50 °С ... +50 °С |
Температура прокладки и монтажа: для кабелей без гидрофобного заполнения с полиэтиленовой оболочкой -15 °С ... +60 °С; для кабелей с поливинилхлоридной оболочкой -10 °С ... +60 °С; для кабелей с гидрофобным заполнением -10 °С ... +50 °С; температура эксплуатации: для кабелей с полиэтиленовой оболочкой -50 °С... +50 °С, для кабелей с поливинилхлоридной оболочкой -40 °С ... +50 °С |
Температура прокладки -15 °С ... +40 °С, температура эксплуатации -45 °С ... +45 °С, температура монтажа не ниже -10 °С |
Температура прокладки и монтажа -15 °С ... +40 °С, температура эксплуатации -30 °С ... +40 °С |
Температура прокладки и монтажа не ниже -10 °С, температура эксплуатации -20 °С ... +50 °С |
||
|
Минимальный срок службы, лет |
Для кабелей марок ТСтШп, ТАШп, ТАгШп - 20, для кабелей марок ТГ, ТГШп, ТБ, ТБГ, ТБпШп, ТК, ТКпШп - 25 |
Для кабелей без заполнения: с полиэтиленовой оболочкой - 20, с алюминиевой оболочкой - 30, для кабелей с гидрофобным заполнением - 25 |
30 |
30 |
15 |
||
Таблица П2.2. Конструктивные характеристики одночетверочных, малопарных, однопарных кабелей и проводов
|
Конструктивный параметр |
Марка (тип) кабеля или провода |
||||||
|
КСПП, КСПЗП |
КТПЗБбШп |
ПРППМ (ПРПВМ) |
ЛТВ-П (ЛТВ-В) |
ПТПЖ (ПТВЖ) |
ТРП (ТРВ) |
ПКСВ |
|
|
1 |
2 |
3 |
4 |
5 |
6 |
7 |
8 |
|
Диаметр жил, мм |
0,64; 0,9; 1,2 |
0,64 |
0,9; 1,2 |
0,6 |
0,6; 1,2; 1,8 |
0,4; 0,5 |
0,4; 0,5 |
|
Материал жил |
Медь |
Медь |
Медь |
Медь |
Оцинкованная сталь |
Медь |
Медь |
|
Изоляция жил |
Полиэтилен |
Полиэтилен |
Полиэтилен |
Поливинилхлорид |
Полиэтилен (поливинилхлорид) |
Полиэтилен (поливинилхлорид) |
Поливинилхлорид |
|
Номинальная толщина изоляции жил, мм |
От 0,7 до 0,95 |
0,6 |
Не менее 0,6 |
0,7 |
от 0,6 до 0,8 |
0,7 |
0,25 ± 0,05 |
|
Скрутка жил |
Звездная четверка |
Парная |
- |
ЛТВ-П - провод с параллельно уложенными жилами ЛТВ-В - парная |
- |
- |
Парная, троечная, четверочная |
|
Номинальная толщина поясной изоляции, мм |
0,8 |
0,7 |
- |
- |
- |
- |
- |
|
Материал оболочки 1 (шланга) |
Полиэтилен |
Полиэтилен |
Полиэтилен (поливинилхлорид) |
Поливинилхлорид |
Полиэтилен (поливинилхлорид) |
Полиэтилен (поливинилхлорид) |
|
|
Номинальная толщина оболочки (шланга), мм |
1,8 |
1,7 |
суммарная толщина изоляции и оболочки: 1,2 для 0,9 мм, 1,4 для 1,2 мм |
- |
- |
- |
- |
|
Защитные покровы |
Б, Бг, К |
БбШп |
- |
- |
- |
- |
- |
|
Наружные размеры (диаметр), мм |
10,6 ... 17 |
13,62 для 3 пар, 15,48 для 5 пар, 13,74 для 10 пар |
3,7´7,6 для 0,9 мм, 4,4´9,0 для 1,2 мм |
2,2´4,4 (4,2) |
1,8´5,6 для 0,6 мм, 2,4´6,8 для 1,2 мм, 3,0´8,0 для 1,8 мм |
2,2´6,4 для 0,4 мм, 2,3´6,6 для 0,5 мм |
|
|
Максимальная масса, кг/км |
106 ... 250 |
Для 3 пар - 158,6 Для 5 пар - 209,1 Для 10 пар - 316,4 |
26,4 ... 47,6 |
13,0 (12,9) |
9,7 ... 53,6 |
Для 0,4 мм 8,0 (10,6) Для 0,5 м 10 (13) |
То же |
|
Строительная длина, м, не менее |
750 |
для 3 и 5 пар - 750 для 10 пар - 500 |
500 |
100 |
150 |
400 |
100 |
|
Допустимый радиус изгиба в диаметрах кабеля (провода), не менее |
15 |
12 |
10 |
10 |
10 |
10 |
10 |
|
Температурный режим: |
|
|
|
|
|
|
|
|
- монтаж |
До -10 °С |
До -10 °С |
До -10 °С |
До -15 °С |
До -10 °С |
ТРП до -30 °С ТРВ до -15 °С |
До -5 °С |
|
- эксплуатация |
-50 °С ... +50 °С |
-50 °С ... +50 °С |
ПРППМ -60 °С ... +50 °С ПРПВМ -40 °С ... +60 °С |
-40 °С ... +50 °С |
-40 °С ... +60 °С |
|
-10 °С ... +50 °С |
|
Минимальный срок службы, лет |
Без заполнения - 15 с заполнением - 20 |
25 |
10 |
8 |
10 |
Наружная прокладка - 12 внутри зданий - 25 |
5 |
Таблица П2.3. Максимальный наружный диаметр и расчетная масса провода марки ПКСВ
|
Номинальный диаметр жилы, мм |
Число жил |
Максимальный наружный диаметр провода, мм |
Расчетная масса 1 км провода, кг |
|
0,5 |
2 |
2,8 |
5,3 |
|
3 |
3,0 |
7,8 |
|
|
4 |
3,4 |
10,5 |
|
|
0,4 |
2 |
2,3 |
3,8 |
|
3 |
2,5 |
5,6 |
|
|
4 |
2,9 |
7,5 |
Таблица П3.1. Наружные диаметры кабелей типа Т
|
Номинальное число пар |
Номинальный диаметр токопроводящих жил, мм |
|||||||||||||||||
|
0,50 |
0,64 |
|||||||||||||||||
|
Номинальные наружные диаметры кабелей марок, мм |
||||||||||||||||||
|
ТГ |
ТБ |
ТБГ |
ТК |
ТГШп |
ТБпШп |
ТКпШп |
ТСгШп |
ТАШп |
ТАгШп |
ТГ |
ТБ |
ТБГ |
ТК |
ТГШп |
ТБпШп |
ТСтШп |
ТАШп |
|
|
1 |
2 |
3 |
4 |
5 |
6 |
7 |
8 |
9 |
10 |
11 |
12 |
13 |
14 |
15 |
16 |
17 |
18 |
19 |
|
10 |
10,0 |
18,0 |
14,0 |
- |
13,0 |
- |
- |
- |
- |
- |
11,0 |
20,0 |
- |
- |
16,0 |
- |
- |
- |
|
20 |
12,0 |
20,0 |
16,0 |
29,0 |
15,0 |
25,0 |
26,0 |
- |
- |
- |
15,0 |
24,0 |
20,0 |
29,0 |
20,0 |
28,0 |
- |
- |
|
30 |
14,0 |
22,0 |
18,0 |
30,0 |
19,0 |
27,0 |
28,0 |
- |
- |
- |
17,0 |
26,0 |
22,0 |
35,0 |
22,0 |
30,0 |
- |
- |
|
50 |
16,0 |
25,0 |
21,0 |
32,0 |
21,0 |
29,0 |
32,0 |
- |
- |
- |
21,0 |
29,0 |
26,0 |
38,0 |
27,0 |
36,0 |
- |
- |
|
100 |
22,0 |
31,0 |
27,0 |
39,0 |
28,0 |
43,0 |
39,0 |
30,0 |
26,0 |
- |
29,0 |
37,0 |
33,0 |
46,0 |
35,0 |
43,0 |
39,0 |
33,0 |
|
150 |
26,0 |
35,0 |
31,0 |
43,0 |
32,0 |
- |
43,0 |
36,0 |
- |
35,0 |
34,0 |
42,0 |
39,0 |
51,0 |
41,0 |
- |
47,0 |
- |
|
200 |
30,0 |
38,0 |
34,0 |
47,0 |
36,0 |
- |
- |
40,0 |
- |
39,0 |
39,0 |
49,0 |
44,0 |
56,0 |
47,0 |
- |
53,0 |
- |
|
300 |
37,0 |
45,0 |
41,0 |
53,0 |
43,0 |
- |
- |
49,0 |
- |
46,0 |
48,0 |
56,0 |
52,0 |
65,0 |
55,0 |
- |
62,0 |
- |
|
400 |
42,0 |
51,0 |
47,0 |
59,0 |
48,0 |
- |
- |
54,0 |
- |
53,0 |
55,0 |
64,0 |
60,0 |
76,0 |
63,0 |
- |
70,0 |
- |
|
500 |
47,0 |
56,0 |
52,0 |
64,0 |
53,0 |
- |
- |
59,0 |
- |
58,0 |
62,0 |
70,0 |
66,0 |
82,0 |
70,0 |
- |
- |
- |
|
600 |
51,0 |
60,0 |
56,0 |
68,0 |
57,0 |
- |
- |
63,0 |
- |
63,0 |
67,0 |
76,0 |
72,0 |
88,0 |
76,0 |
- |
- |
- |
|
700 |
56,0 |
- |
- |
- |
60,0 |
- |
- |
- |
- |
- |
- |
- |
- |
- |
- |
- |
- |
- |
|
800 |
59,0 |
- |
- |
- |
65,0 |
- |
- |
- |
- |
- |
- |
- |
- |
- |
- |
- |
- |
- |
|
900 |
63,0 |
- |
- |
- |
69,0 |
- |
- |
- |
- |
- |
- |
- |
- |
- |
- |
- |
- |
- |
|
1000 |
66,0 |
- |
- |
- |
73,0 |
- |
- |
- |
- |
- |
- |
- |
- |
- |
- |
- |
- |
- |
|
1200 |
72,0 |
- |
- |
- |
79,0 |
- |
- |
- |
- |
- |
- |
- |
- |
- |
- |
- |
- |
- |
Таблица П3.2. Наружные диаметры кабелей
|
Номинальное число пар |
Наружный диаметр кабеля марок, мм, не более, при номинальном диаметре токопроводящей жилы, мм |
|||||||||||||
|
ТППэп |
ТППэпБ |
ТППэпБГ |
ТППэпБбШп |
|||||||||||
|
0,32 |
0,40 |
0,50 |
0,64 |
0,40 |
0,50 |
0,64 |
0,40 |
0,50 |
0,64 |
0,32 |
0,40 |
0,50 |
0,64 |
|
|
1 |
2 |
3 |
4 |
5 |
6 |
7 |
8 |
9 |
10 |
11 |
12 |
13 |
14 |
15 |
|
10 |
9,38 |
10,93 |
10,35 для 5 пар |
|
|
|
|
|
|
|
|
|
|
|
|
|
|
|
12,25 |
13,84 |
19,94 |
21,14 |
22,58 |
14,44 |
15,64 |
17,08 |
15,99 |
17,40 |
18,60 |
20,04 |
|
20 |
11,24 |
13,12 |
15,65 |
17,89 |
21,13 |
23,43 |
25,46 |
15,63 |
17,93 |
19,96 |
17,68 |
19,39 |
22,69 |
24,72 |
|
30 |
13,43 |
16,46 |
17,75 |
20,49 |
23,25 |
25,33 |
27,83 |
17,75 |
19,83 |
22,33 |
19,67 |
22,51 |
24,59 |
27,09 |
|
50 |
16,35 |
18,83 |
22,17 |
26,47 |
26,36 |
29,36 |
34,07 |
20,86 |
23,86 |
28,57 |
23,32 |
25,62 |
29,22 |
33,13 |
|
100 |
20,51 |
24,87 |
29,39 |
35,16 |
31,81 |
36,71 |
41,96 |
26,31 |
31,21 |
36,46 |
27,10 |
31,67 |
36,37 |
41,62 |
|
150 |
24,80 |
29,72 |
34,83 |
42,07 |
37,02 |
41,67 |
48,24 |
31,52 |
36,17 |
42,74 |
31,60 |
36,68 |
41,33 |
48,70 |
|
200 |
27,48 |
32,89 |
38,79 |
46,07 |
39,90 |
45,26 |
52,70 |
34,40 |
39,76 |
47,20 |
34,05 |
39,56 |
44,92 |
53,16 |
|
300 |
33,10 |
38,19 |
46,52 |
56,30 |
44,72 |
52,29 |
61,18 |
39,22 |
46,79 |
55,68 |
39,75 |
44,38 |
52,75 |
62,24 |
|
400 |
37,66 |
43,77 |
53,22 |
63,23 |
49,79 |
58,38 |
67,48 |
44,29 |
52,88 |
61,98 |
43,89 |
50,25 |
59,44 |
68,54 |
|
500 |
42,11 |
47,71 |
58,14 |
69,73 |
53,37 |
62,86 |
73,44 |
47,87 |
57,36 |
67,94 |
48,74 |
53,85 |
63,92 |
74,50 |
|
600 |
45,14 |
51,27 |
62,60 |
- |
56,61 |
66,91 |
- |
51,11 |
61,41 |
- |
51,49 |
57,07 |
67,97 |
- |
|
700 |
47,92 |
55,65 |
67,13 |
- |
- |
- |
- |
- |
- |
- |
- |
- |
- |
- |
|
800 |
50,51 |
58,70 |
70,95 |
- |
- |
- |
- |
- |
- |
- |
- |
- |
- |
- |
|
900 |
54,05 |
61,56 |
74,53 |
- |
- |
- |
- |
- |
- |
- |
- |
- |
- |
- |
|
1000 |
56,35 |
64,71 |
- |
- |
- |
- |
- |
- |
- |
- |
- |
- |
- |
- |
|
1200 |
60,64 |
69,75 |
- |
- |
- |
- |
- |
- |
- |
- |
- |
- |
- |
- |
|
1400 |
65,02 |
- |
- |
- |
- |
- |
- |
- |
- |
- |
- |
- |
- |
- |
|
1600 |
68,68 |
- |
- |
- |
- |
- |
- |
- |
- |
- |
- |
- |
- |
- |
|
1800 |
72,13 |
- |
- |
- |
- |
- |
- |
- |
- |
- |
- |
- |
- |
- |
|
2000 |
75,38 |
- |
- |
- |
- |
- |
- |
- |
- |
- |
- |
- |
- |
- |
|
2400 |
80,68 |
- |
- |
- |
- |
- |
- |
- |
- |
- |
- |
- |
- |
- |
Таблица П3.3. Наружные диаметры кабелей типа ТП, заполненных гидрофобной массой
|
Номинальное число пар |
Наружный диаметр кабеля марок, мм, не более, при номинальном диаметре токопроводящей жилы, мм |
|||||||||||
|
ТППэпЗ |
ТППэпЗБ |
ТППэпЗБбШп |
||||||||||
|
0,32 |
0,40 |
0,50 |
0,64 |
0,32 |
0,40 |
0,50 |
0,64 |
0,32 |
0,40 |
0,50 |
0,64 |
|
|
5 |
- |
- |
10,68 |
- |
- |
- |
- |
- |
- |
- |
- |
- |
|
10 |
9,43 |
10,62 |
11,94 |
13,52 |
19,55 |
20,74 |
22,06 |
23,64 |
17,63 |
18,82 |
21,24 |
21,73 |
|
20 |
11,41 |
13,08 |
15,16 |
17,40 |
21,53 |
23,20 |
25,28 |
27,52 |
20,71 |
22,39 |
24,46 |
26,71 |
|
30 |
12,90 |
15,18 |
17,47 |
20,66 |
23,02 |
25,30 |
27,59 |
30,69 |
22,21 |
24,49 |
27,43 |
30,63 |
|
50 |
16,27 |
18,93 |
22,36 |
25,87 |
26,39 |
28,05 |
32,45 |
36,87 |
25,58 |
28,89 |
32,96 |
35,84 |
|
100 |
21,11 |
24,86 |
29,49 |
34,56 |
31,23 |
35,75 |
40,49 |
45,56 |
31,08 |
35,56 |
40,12 |
45,19 |
|
Для кабелей с сигнальными жилами |
||||||||||||
|
100 |
21,11 |
24,86 |
29,49 |
- |
31,23 |
35,75 |
40,49 |
- |
31,08 |
35,56 |
40,12 |
- |
|
150 |
25,10 |
30,30 |
35,30 |
- |
34,40 |
39,60 |
44,70 |
- |
35,40 |
40,60 |
46,50 |
- |
|
200 |
28,40 |
33,80 |
39,60 |
- |
37,70 |
43,10 |
49,00 |
- |
38,70 |
45,00 |
50,80 |
- |
|
300 |
35,20 |
40,80 |
48,10 |
- |
42,60 |
50,20 |
57,40 |
- |
44,40 |
52,00 |
60,00 |
- |
Таблица П3.4. Наружные диаметры кабелей в поливинилхлоридной оболочке
|
Номинальное число пар |
Наружный диаметр кабеля марок, мм, не более, при номинальном диаметре токопроводящей жилы, мм |
|||||
|
ТПВ |
ТПВБГ |
|||||
|
0,40 |
0,50 |
0,64 |
0,40 |
0,50 |
0,64 |
|
|
10 |
10,33 |
12,25 |
13,84 |
14,44 |
15,64 |
17,08 |
|
20 |
13,12 |
15,65 |
17,89 |
15,63 |
17,93 |
19,96 |
|
30 |
15,46 |
17,75 |
20,49 |
17,75 |
19,83 |
22,33 |
|
50 |
18,88 |
22,17 |
26,47 |
20,86 |
23,86 |
28,57 |
|
100 |
24,87 |
29,39 |
35,15 |
26,31 |
31,21 |
36,46 |
Таблица П3.5. Наружные диаметры кабелей с пленко-пористой полиэтиленовой изоляцией жил в полиэтиленовой оболочке марки ТПппЗП
|
Номинальное число пар |
Наружный диаметр кабеля, мм, не более |
|
|
Диаметр жил, мм |
||
|
0,4 |
0,5 |
|
|
10 |
10,6 |
11,9 |
|
20 |
13,1 |
15,2 |
|
30 |
15,2 |
17,5 |
|
50 |
18,9 |
22,4 |
|
100 |
24,9 |
29,5 |
|
150 |
30,3 |
35,3 |
|
200 |
33,8 |
39,6 |
|
300 |
40,8 |
48,1 |
Таблица П3.6. Наружные диаметры кабелей типа СТПА
|
Номинальное число пар |
Наружный диаметр кабеля марок, мм, не более при номинальном диаметре токопроводящей жилы 0,5 мм |
||||
|
СТПАПП |
СТПАВ |
СТПАППБ |
СТПАППБГ |
СТПАПБП |
|
|
10 |
17,94 |
15,94 |
27,14 |
22,34 |
21,04 |
|
20 |
19,97 |
17,97 |
29,17 |
24,37 |
23,07 |
|
30 |
22,77 |
21,77 |
32,77 |
27,97 |
25,87 |
|
50 |
26,20 |
25,20 |
36,20 |
31,40 |
29,30 |
|
100 |
31,10 |
38,10 |
51,10 |
46,30 |
43,20 |
|
200 |
43,66 |
40,66 |
53,66 |
48,86 |
45,76 |
Таблица П3.7. Номинальный наружный диаметр кабеля типа ТЗ с жилами номинальным диаметром 0,9 мм
|
Тип защитного покрова |
Номинальный наружный диаметр кабеля, мм, с количеством четверок |
|||||||||
|
3 |
4 |
7 |
12 |
14 |
19 |
27 |
37 |
52 |
61 |
|
|
1 |
2 |
3 |
4 |
5 |
6 |
7 |
8 |
9 |
10 |
11 |
|
Без защитного покрова |
13,2 |
14,3 |
17,0 |
21,8 |
23,0 |
25,7 |
31,0 |
34,9 |
41,5 |
44,4 |
|
Шп |
16,8 |
17,9 |
20,6 |
25,2 |
26,4 |
29,0 |
34,6 |
38,6 |
45,6 |
48,5 |
|
Бп |
26,2 |
27,3 |
30,0 |
34,6 |
35,8 |
38,8 |
44,0 |
48,8 |
54,6 |
57,5 |
|
БпШп |
26,4 |
27,5 |
30,2 |
35,4 |
36,6 |
39,2 |
44,8 |
49,8 |
56,6 |
59,5 |
|
БпГ |
21,8 |
22,9 |
25,6 |
30,2 |
31,4 |
34,0 |
39,6 |
44,0 |
50,2 |
53,1 |
|
Бл |
24,4 |
25,5 |
28,2 |
32,8 |
34,0 |
36,6 |
41,8 |
45,8 |
52,2 |
55,1 |
|
БлГ |
20,0 |
21,1 |
23,8 |
28,4 |
29,6 |
32,2 |
37,4 |
41,4 |
47,8 |
50,7 |
Таблица П3.8. Номинальный наружный диаметр кабелей типа ТЗ с жилами номинальным диаметром 1,2 мм
|
Тип защитного покрова |
Номинальный наружный диаметр кабеля, мм, в зависимости от числа четверок |
|||||||||
|
3 |
4 |
7 |
12 |
14 |
19 |
27 |
37 |
52 |
61 |
|
|
1 |
2 |
3 |
4 |
5 |
6 |
7 |
8 |
9 |
10 |
11 |
|
Без защитного покрова |
14,1 |
16,2 |
19,4 |
25,1 |
26,2 |
30,2 |
35,4 |
41,0 |
47,0 |
51,5 |
|
Шп |
18,3 |
19,8 |
22,9 |
28,6 |
29,5 |
33,4 |
39,1 |
45,2 |
51,2 |
56,3 |
|
Бп |
27,7 |
29,2 |
32,3 |
38,0 |
38,9 |
42,8 |
48,5 |
53,9 |
60,2 |
66,8 |
|
БпШп |
27,9 |
29,4 |
32,5 |
39,8 |
39,7 |
43,6 |
49,9 |
55,3 |
62,2 |
68,5 |
|
БпГ |
23,3 |
24,8 |
27,9 |
33,6 |
34,5 |
38,4 |
44,1 |
49,5 |
55,8 |
61,9 |
|
Бл |
25,9 |
27,4 |
30,5 |
36,2 |
37,1 |
41,0 |
46,3 |
51,8 |
57,8 |
63,5 |
|
БлГ |
21,5 |
23,0 |
26,1 |
31,8 |
32,7 |
36,6 |
41,9 |
47,4 |
53,4 |
59,1 |
Таблица П3.9. Наружные диаметры кабелей типа МКС с диаметром токопроводящей жилы 1,2 мм
|
Марка кабеля |
Максимальный наружный диаметр кабеля, мм, с числом четверок |
|
|
4 |
7 |
|
|
МКСАШп |
26 |
31 |
|
МКСАБп |
36 |
40 |
|
МКСАБпГ |
31 |
36 |
|
МКСАБпШп |
35 |
40 |
|
МКСАСтпШп |
35 |
- |
|
МКСАКпШп |
45 |
52 |
|
МКССтШп |
30 |
35 |
|
МКГСАШп |
26 |
31 |
|
МКГСАБпШп |
- |
40 |
|
МКГСАСтпШп |
32 |
- |
|
Примечание: Максимальный наружный диаметр кабелей с токопроводящими жилами диаметром 1,0 мм на 1 мм меньше указанного в таблице. |
||
Таблица П4.1. Параметры линейных оптических кабелей
|
Параметр |
Марка кабеля |
Характеристики кабелей с длиной волны, мкм |
||||||
|
Для многомодового ОВ |
Для одномодового ОВ |
|||||||
|
0,85 |
1,300 |
1,310 |
1,55 |
|||||
|
1 |
2 |
3 |
4 |
5 |
6 |
|||
|
Конструктивные данные |
||||||||
|
1. Центральный силовой элемент |
ОК ОКК |
Упрочняющие нити СВМ или стальной канат в поливинилхлоридной оболочке |
Стеклопластиковый стержень или стальной трос, изолированный полиэтиленом |
|||||
|
ОККП |
Проволока стальная канатная оцинкованная с полимерным покрытием или без него |
|||||||
|
ОКСТ |
Скрученные проволоки, помещенные в полимерную оболочку |
|||||||
|
ОМЗКГм, ДПО, ДАО, ... СПО, САО, ... |
|
Скрученные стальные проволоки диаметром 0,25 - 0,30 мм в полимерной оболочке Д - круглый стержень из стеклопластика с пластмассовой оболочкой или без нее С - круглая стальная проволока с пластмассовой оболочкой или без нее |
||||||
|
2. Оптическое волокно (ОВ) |
ОК |
Диаметр сердцевины, мкм |
Диаметр модового поля, мкм |
|||||
|
ОКК |
50 ±3 |
10 ± 1 |
|
|||||
|
ОКСТ |
|
9,3 ± 1 |
10,5 ± 1,0 |
|
||||
|
ОЗКГм, ОМЗКГм |
|
(9,0 ... 9,5) ± 0,5 |
(10,5 ... 11,2) ± 1,0 (со смещенной дисперсией) |
|||||
|
ДПО, ДАО, ... |
(9 . ..10) ± 10 % |
(7 ... 8,3) ± 10 % |
||||||
|
СПО, САО, ... |
||||||||
|
3. Оптический модуль (пластмассовая трубка с ОВ) |
|
Трубка из полимерного материала, содержит от 1 до 6 ОВ и заполнена гидрофобным компаундом Наружный диаметр трубки, мм: |
||||||
|
ОК |
2,5 |
|
|
|
||||
|
ОКК |
|
2,0 |
2,0 |
|
||||
|
ОККП |
|
2,0 при числе ОВ до двух |
||||||
|
2,5 при числе волокон более двух |
||||||||
|
ОКСТ |
2,0 |
2,0 |
2,0 |
|
||||
|
ОЗКГм, ОМЗКГм |
|
2,0 |
2,0 |
2,0 |
||||
|
ДПО, ДАО, |
|
1,8 при максимальном числе ОВ в модуле, равном 2 |
||||||
|
ДПС, СПО, |
|
2,2 при максимальном числе ОВ в модуле, равном 4 |
||||||
|
САО, СПС, ... |
|
2,5 при максимальном числе ОВ в модуле, равном 6 |
||||||
|
4. Кордель заполнения |
ОККП |
Оптический модуль без ОВ и гидрофобного заполнения |
||||||
|
ОК, ОКК |
Стекло- или полимерные нити, изолированные полиэтиленом. Диаметр корделя соответствует диаметру оптического модуля |
|||||||
|
ОКСТ |
Помещенные в полимерную трубку упрочняющие нити (СВМ-К, терлон, стеклонить) или без них и гидрофобного заполнителя |
|||||||
|
ОМЗКГм, ОЗКГм |
Сплошной полимерный стержень или полимерная трубка с гидрофобным заполнителем и упрочняющими нитями или без них |
|||||||
|
ДПО, ... СПО, ... |
Стекло- или полимерные нити, изолированные полиэтиленом |
|||||||
|
5. Количество модулей, скрученных вокруг центрального силового элемента |
ОККП |
От 1 до 8. Пространство между модулями заполнено гидрофобным заполнителем |
||||||
|
ОК, ОКК, ОКСТ, ОМЗКГм, ОЗКГм |
8 |
|||||||
|
ДПО, ... СПО, ... |
1, 2, 5, 4, 5, 6, 7, 8, 9, 10 |
|||||||
|
6. Поясная изоляция |
Все марки |
Скрепляющая полиэтилентерефталатная или фторопластовая лента |
||||||
|
7. Оболочка |
ОК |
Полиэтиленовая, толщиной 1,7 мм |
|
|||||
|
|
ОКК |
|
Полиэтиленовая, толщиной 2,2 мм без защитного покрытия, 1 мм, с защитным покрытием |
|||||
|
|
ОКСТ |
Первичная полиэтиленовая, номинальной толщиной 0,9 мм |
||||||
|
|
ОМЗКГм, ОЗКГм |
|
Внутренняя полимерная оболочка минимальной толщиной 0,6 мм, максимальной - 0,8 мм |
|||||
|
|
ДАО, САО |
Тип А - алюмополиэтиленовая, толщиной не менее 1,8 мм, без защитных покровов; |
||||||
|
|
ДПО, СПО |
Тип П - сплошная полиэтиленовая, толщиной не менее 1,8 мм, с защитными покровами толщиной не менее 1 мм |
||||||
|
|
ДНО |
Тип Н - сплошная поливинилхлоридная или из другой пластмассы, близкой по свойствам и не распространяющей горение, толщиной не менее 1,5 мм |
||||||
|
8. Защитные покровы |
ОККП |
Броня в виде повива стальных оцинкованных проволок номинальным диаметром 2 мм, наложенных поверх внутренней оболочки. Пространство между проволоками заполнено гидрофобным компаундом или вязким подклеивающим составом. Наружная оболочка из полиэтилена (поливинилхлорида) номинальной толщиной 1,7 (1,6) мм или обмотка из ПЭТФ лент или полиамида. |
||||||
|
ОК, ОКК |
- |
|||||||
|
ОККО |
Металлическая оплетка плотностью 70 - 80 %, поверх оплетки ПЭТФ или фторопластовая лента и защитная оболочка из полиэтилена толщиной 2,2 мм |
|||||||
|
ОККС |
Броня из 12 - 18 степопластиковых стержней, поверх брони ПЭТФ или фторопластовая лента и защитная оболочка из полиэтилена толщиной 2,2 мм. |
|||||||
|
ОККАК |
Поверх промежуточной оболочки из поливинилхлорида толщиной не менее 1 мм: алюминиевая сварная оболочка толщиной не менее 1 мм; битумное покрытие, промежуточная оболочка из полиэтилена толщиной 1 мм; броня из круглых стальных проволок диаметром 2,8 ± 0,2 мм; битумное покрытие и защитный шланг из полиэтилена номинальной толщиной 2,2 мм |
|||||||
|
ОКСТ |
Стальная гофрированная лента толщиной не менее 0,1 мм, наложенная продольно с перекрытием, наружная полиэтиленовая оболочка толщиной 2 мм (минимальной 1,75 мм) |
|||||||
|
ОМЗКГм, ОЗКГм |
Броня из не менее 12 стальных проволок с антикоррозийным покрытием (либо покрытых полиэтиленом), наружная оболочка из полимерного материала (или из полимерного материала, не распространяющего горение), с номинальной толщиной 1,8 мм |
|||||||
|
ДПЛ, СПЛ, ДАЛ, САЛ, ДПН |
Типы Л и Н: стальная гофрированная лента, наложенная продольно с перекрытием, оболочка из полиэтилена (тип Л) или из пластмассы, не распространяющей горения (тип Н), номинальной толщиной 2 мм |
|||||||
|
ДПУ, СПУ, ДПС, СПС, ДАС, САС |
Типы С и У: повив стальных оцинкованных проволок номинальной толщиной от 1,2 до 1,8 мм (тип С) и от 2 до 2,5 мм (тип У); скрепляющая обмотка из ПЭТФ или иной равноценной лентой либо пучками нитей; оболочка из полиэтилена номинальной толщиной 2 мм |
|||||||
|
ДПД, ДПМ |
Типы Д и М: повив круглых стержней из стеклопластика толщиной от 1 до 1,8 мм (тип Д), от 2 до 5 мм (тип М); скрепляющая обмотка ПЭТФ или иной равноценной лентой или пучками нитей; оболочка из полиэтилена номинальной толщиной 2 мм |
|||||||
|
ДП2, ДА2 |
Тип 2: повив стальных оцинкованных проволок номинальные диаметром от 1,2 до 2 мм; повив стальных оцинкованных проволок номинальным диаметром от 1,2 до 3 мм; скрепляющая обмотка ПЭТФ или иной равноценной лентой либо пучками нитей; оболочка из полиэтилена номинальной толщиной 2 мм |
|||||||
|
ДПТ |
Тип Т (подвесной): оболочка из полиэтилена со встроенными или находящимися под ней продольными несущими элементами в виде стеклопластиковых стержней или пучков синтетических нитей, расположенных равномерно по окружности |
|||||||
|
9. Наружный диаметр кабеля, мм |
ОК |
13 ± 1 |
|
|||||
|
ОКК-10(50)-01 |
|
10,8 ± 1,0 |
|
|||||
|
ОКК-50-02 |
|
12,1 ± 1,0 |
|
|||||
|
ОКК-10-02 |
|
12,1 ± 1,2 |
|
|||||
|
ОККО |
|
15,3 ± 1,0 |
|
|||||
|
ОККС |
|
|
|
|||||
|
ОККАК |
|
|
|
|||||
|
ОКСТ |
15,0 (ном.) |
|||||||
|
ОМЗКГм, ОЗКГм |
17,2 не более |
|||||||
|
ДПО, ... СПО, ... |
||||||||
|
ОККП-1 |
|
15,6 ± 0,5 |
||||||
|
ОККП-2 |
|
17,0 ± 0,5 |
||||||
|
ОККП-5 |
|
17,0 ± 0,5 |
||||||
|
ОККП-4 |
|
19,0 ± 0,5 |
||||||
|
ОККП-5 |
|
21,0 ± 0,5 |
||||||
|
10. Расчетная масса, кг/км |
|
|
|
|||||
|
ОК |
150 - 155 |
|
||||||
|
ОКК-10(50)-01 |
|
87,3 |
||||||
|
ОКК-10(50)-02 |
109,3 |
|||||||
|
ОККО-10(50)-01 |
233,0 |
|||||||
|
ОККО-10(50)-02 |
248,0 |
|||||||
|
ОККС-10(50)-01 |
320,7 |
|||||||
|
ОККАК-10(50)-01 |
1190,0 |
|||||||
|
ОККП-1 |
551,0 |
|||||||
|
ОККП-2 |
600,0 |
|||||||
|
ОККП-3 |
600,0 |
|||||||
|
ОККП-4 |
720,0 |
|||||||
|
ОККП-5 |
845,0 |
|||||||
|
ОКСТ |
221,0 |
|||||||
|
ОКСТН |
227,0 |
|||||||
|
ОМЗКГм |
450,0 |
|||||||
|
ДПО, ... СПО, ... |
||||||||
|
11. Срок службы, лет, не менее |
Для всех марок |
25 |
||||||
|
12. Допустимый радиус изгиба, номинальных диаметров кабеля, не менее |
ОК |
не менее 250 мм |
- |
- |
- |
|||
|
ОКК, ОКСТ, ОМЗКГ, ДПО, ... |
20 |
|
|
|
||||
|
13. Допустимые температуры, °С |
Все марки |
При монтаже не ниже -10 °С; при эксплуатации -40 ... +50 °С (для кабелей марки ОККП до +60 °С; для кабелей ДПД, ДПМ, ДПТ - от -50 °С; для кабелей ОКСТ до +55 °С) |
||||||
|
|
Оптические параметры |
|||||||
|
1. Коэффициент затухания в ОВ кабеля, дБ/км, не более |
ОК |
3,0 и 5,0 |
|
|
|
|||
|
ОКК |
|
0,7 и 1,0 |
1,0 |
|
||||
|
ОКСТ |
3,0; 3,5; 5,0 |
0,6; 0,7; 1,0 |
0,35; 0,4; 0,5; 0,7; 1,0 |
|
||||
|
ОМЗКГм, ОЗКГм |
|
0,5; 0,6; 0,7; 1,0 |
0,35; 0,4; 0,5; 0,7 |
0,22; 0,25; 0,3 |
||||
|
ОККП |
|
|
0,4; 0,5 |
|
||||
|
ДПО, ... с ОВ: |
|
|
|
|
||||
|
Е, С |
|
|
0,5 |
0,4 |
||||
|
С |
|
|
0,5 |
0,25 |
||||
|
Е, С |
|
|
0,4 |
0,25 |
||||
|
Е, С |
|
|
0,36 |
0,22 |
||||
|
М |
3,0 |
0,7 |
- |
- |
||||
|
2. Переходное затухание на ближнем и дальнем концах кабеля, дБ/500 м, не менее |
ОК |
80,0 |
- |
- |
- |
|||
|
3. Дисперсия сигнала, пс/нм×км, не более |
|
|||||||
|
ОКК |
- |
- |
3,5 |
- |
||||
|
ОКСТ |
|
|
3,5 |
|
||||
|
ОМЗКГм |
|
|
3,5 |
|
||||
|
ДПО, ... в диапазоне длин волн, нм: |
|
|
|
|
||||
|
1285 - 1330 |
- |
- |
3,5 |
18,0 |
||||
|
1550 |
- |
- |
- |
18,0 (со смещ. дисп.) |
||||
|
1525 - 1575 |
- |
- |
- |
3,5 (со смещ. дисп.) |
||||
|
4. Коэффициент широкополосности, МГц×км, не менее |
ОК |
250; 500 |
- |
- |
- |
|||
|
ОКК |
- |
1000 |
- |
- |
||||
|
ОКСТ |
250; 500 |
1000 |
- |
- |
||||
|
ОМЗКГм, ОЗКГм |
- |
1000 |
- |
- |
||||
|
ДПО, ... |
500 |
500 |
- |
- |
||||
|
5. Эффективная числовая апертура |
ОК, ОКК, ОКСТ |
0,2 ± 0,02 |
0,2 ± 0,02 |
- |
- |
|||
|
ОМЗКГм |
- |
0,2 ± 0,02 |
- |
- |
||||
|
ДПО, ... |
- |
0,2 ± 0,015 |
- |
- |
||||
|
6. Длина волны отсечки ОВ, мкм |
ОКК |
- |
- |
1,10 - 1,28 |
- |
|||
|
ОМЗКГм |
- |
- |
1,18 - 1,33 (допускается 1,10 - 1,28) |
- |
||||
|
ДПО, ... |
|
|
1,03 - 1,35 (со смещ. дисп. не более 1,3) |
|
||||
Таблица П4.2. Параметры станционных оптических кабелей
|
Параметр |
Характеристики кабелей с длиной волны, мкм |
||
|
0,85 |
1,3 многомод. |
1,3 одномод. |
|
|
1 |
2 |
3 |
4 |
|
Марка кабеля по: |
|
|
|
|
ТУ 16-705.296-86 |
ОН-50-1-5-1 |
- |
- |
|
ОН-50-1-5-2 |
|||
|
ОН-50-1-3-1 |
|||
|
ОН-50-1-3-2 |
|||
|
ТУ 16.К71-084-90 |
- |
ОКС-50-01 |
ОКС-10-01 |
|
ОКС-50-02 |
ОКС-10-02 |
||
|
ОКС-50-03 |
ОКС-10-03 |
||
|
ОКС-50-04 |
ОКС-10-04 |
||
|
ТУ 16.К71-115-91 |
- |
ОКС-1 |
- |
|
Силовой элемент |
- |
Стеклопластиковый стержень или стеклопластиковые нити, или стальная проволока |
|
|
Оптическое волокно |
Такое же, как в линейном кабеле |
||
|
Оптический модуль (пластмассовая трубка с ОВ) |
Трубка из фторопласта с наружным диаметром 2,5 ± 0,2 мм, содержит 1 или 2 ОВ |
Такой же, как в линейном кабеле |
|
|
Оболочка |
Поливинилхлоридная, номинальной толщиной 1,7 мм; для ОКС-50(10)-02(03) - не менее 0,8 мм |
||
|
Наружный диаметр кабеля, мм |
4,5 ± 0,3 для марок ОН |
3,0 ± 0,5 для ОКС-1 |
|
|
9,5 ± 0,8 для ОКС-50(10)-01 |
|||
|
5,0 ± 0,8 для ОКС-50(10)-02(03) |
|||
|
3,5 ± 0,5 для ОКС-50(10)-04 |
|||
|
Расчётная масса, кг/км |
23 |
9 для ОКС-1 |
|
|
92,6 для ОКС-50(10)-01 |
|||
|
28,0 для ОКС-50(10)-02 |
|||
|
30,0 для ОКС-50(10)-03 |
|||
|
7,6 для ОКС-50(10)-04 |
|||
Таблица П4.3. Внешний диаметр кабелей с оптическими модулями номинальным диаметром 1,8 мм
|
Внешний диаметр ОК, мм, не более, при числе элементов во внешнем повиве сердечника |
|||||||
|
4 |
5 |
6 |
7 |
8 |
9 |
10 |
|
|
1 |
2 |
3 |
4 |
5 |
6 |
7 |
8 |
|
ДНО |
9,3 |
9,9 |
10,7 |
11,3 |
12,0 |
12,6 |
13,4 |
|
СПО |
9,3 |
9,9 |
10,7 |
11,3 |
12,0 |
12,6 |
13,4 |
|
ДАО |
9,7 |
10,3 |
11,1 |
11,7 |
12,4 |
13,1 |
13,8 |
|
САО |
9,7 |
10,3 |
11,1 |
11,7 |
12,4 |
13,1 |
13,8 |
|
ДПЛ |
11,6 |
12,3 |
13,1 |
13,8 |
14,4 |
15,1 |
15,8 |
|
СПЛ |
11,6 |
12,3 |
13,1 |
13,8 |
14,4 |
15,1 |
15,8 |
|
ДАЛ |
12,0 |
12,7 |
13,5 |
14,6 |
14,8 |
15,5 |
16,2 |
|
САЛ |
12,0 |
12,7 |
13,5 |
14,6 |
14,8 |
15,5 |
16,2 |
|
ДПС |
13,2 |
13,9 |
14,6 |
15,3 |
16,0 |
16,6 |
17,4 |
|
СПС |
13,2 |
13,9 |
14,6 |
15,3 |
16,0 |
16,6 |
17,4 |
|
ДАС |
13,6 |
14,3 |
15,0 |
15,7 |
16,4 |
17,0 |
17,8 |
|
САС |
13,6 |
14,3 |
15,0 |
15,7 |
16,4 |
17,0 |
17,8 |
|
ДПУ |
16,9 |
17,6 |
18,4 |
19,0 |
19,7 |
20,4 |
21,1 |
|
ДАУ |
17,3 |
18,0 |
18,8 |
19,4 |
20,1 |
20,8 |
21,5 |
|
ДПД |
13,2 |
13,9 |
14,6 |
15,3 |
16,0 |
16,6 |
17,4 |
|
ДПМ |
18,0 |
18,7 |
19,4 |
20,1 |
20,8 |
21,5 |
22,2 |
|
ДП2 |
22,4 |
23,1 |
23,9 |
24,5 |
25,2 |
25,9 |
26,6 |
|
ДА2 |
22,8 |
28,5 |
24,3 |
24,9 |
25,6 |
26,3 |
27,0 |
|
ДНО |
8,1 |
8,8 |
10,2 |
10,9 |
11,6 |
12,3 |
13,0 |
|
ДПН |
10,6 |
11,2 |
11,9 |
12,5 |
13,3 |
14,0 |
14,7 |
|
ДПТ |
9,5 |
10,1 |
10,9 |
11,6 |
12,2 |
12,9 |
13,6 |
Таблица П4.4. Внешний диаметр кабелей с оптическими модулями номинальным диаметром 2,2 мм
|
Внешний диаметр ОК, мм, не более, при числе элементов во внешнем повиве сердечника |
|||||||
|
4 |
5 |
6 |
7 |
8 |
9 |
10 |
|
|
1 |
2 |
3 |
4 |
5 |
6 |
7 |
8 |
|
ДНО |
10,4 |
12,3 |
13,2 |
14,0 |
14,8 |
15,6 |
16,3 |
|
СПО |
10,4 |
12,3 |
13,2 |
14,0 |
14,8 |
15,6 |
16,3 |
|
ДАО |
10,8 |
12,8 |
13,6 |
14,5 |
15,3 |
16,2 |
16,8 |
|
САО |
10,8 |
12,8 |
13,6 |
14,5 |
15,3 |
16,2 |
16,8 |
|
ДПЛ |
12,7 |
15,3 |
16,1 |
17,1 |
17,7 |
18,7 |
19,3 |
|
СПЛ |
12,7 |
15,3 |
16,1 |
17,1 |
17,7 |
18,7 |
19,3 |
|
ДАЛ |
13,1 |
15,7 |
16,5 |
18,1 |
18,2 |
19,2 |
19,8 |
|
САЛ |
13,1 |
15,7 |
16,5 |
18,1 |
18,2 |
19,2 |
19,8 |
|
ДПС |
14,3 |
17,2 |
18,0 |
19,0 |
19,7 |
20,6 |
21,2 |
|
СПС |
14,3 |
17,2 |
18,0 |
19,0 |
19,7 |
20,6 |
21,2 |
|
ДАС |
14,7 |
17,7 |
18,5 |
19,5 |
20,2 |
21,2 |
26,2 |
|
САС |
14,7 |
17,7 |
18,5 |
19,5 |
20,2 |
21,2 |
26,2 |
|
ДПУ |
18,6 |
21,8 |
19,5 |
23,6 |
24,2 |
25,3 |
25,7 |
|
ДАУ |
19,0 |
22,3 |
22,6 |
24,1 |
24,7 |
25,8 |
26,2 |
|
ДПД |
14,5 |
17,2 |
18,0 |
19,0 |
19,7 |
20,6 |
21,2 |
|
ДПМ |
19,8 |
23,2 |
23,9 |
25,0 |
25,6 |
26,7 |
27,0 |
|
ДП2 |
24,6 |
28,6 |
29,4 |
30,4 |
31,0 |
32,1 |
32,5 |
|
ДА2 |
25,0 |
29,1 |
29,9 |
30,9 |
31,5 |
32,6 |
32,9 |
|
ДНО |
8,9 |
10,9 |
12,5 |
13,5 |
14,3 |
15,3 |
15,9 |
|
ДПН |
11,7 |
13,9 |
14,6 |
15,5 |
16,4 |
17,4 |
17,9 |
|
ДПТ |
10,5 |
12,5 |
13,4 |
14,4 |
15,0 |
16,0 |
16,6 |
Таблица П4.5. Внешний диаметр кабелей с оптическими модулями номинальным диаметром 2,5 мм
|
Внешний диаметр ОК, мм, не более, при числе элементов во внешнем повиве сердечника |
|||||||
|
4 |
5 |
6 |
7 |
8 |
9 |
10 |
|
|
1 |
2 |
3 |
4 |
5 |
6 |
7 |
8 |
|
ДНО |
12,9 |
13,9 |
14,9 |
15,8 |
16,8 |
17,6 |
18,8 |
|
СПО |
12,9 |
13,9 |
14,9 |
15,8 |
16,8 |
17,6 |
18,8 |
|
ДАО |
13,5 |
14,4 |
15,4 |
16,4 |
17,4 |
18,8 |
19,3 |
|
САО |
13,5 |
14,4 |
15,4 |
16,4 |
17,4 |
18,8 |
19,3 |
|
ДПЛ |
16,1 |
17,2 |
18,2 |
19,3 |
20,2 |
21,1 |
22,1 |
|
СПЛ |
16,1 |
17,2 |
18,2 |
19,3 |
20,2 |
21,1 |
22,1 |
|
ДАЛ |
16,7 |
17,2 |
18,2 |
19,3 |
20,2 |
21,1 |
22,1 |
|
САЛ |
16,7 |
17,2 |
18,2 |
19,3 |
20,2 |
21,1 |
22,1 |
|
ДПС |
18,3 |
19,5 |
20,4 |
21,4 |
22,4 |
23,2 |
24,4 |
|
СПС |
18,3 |
19,5 |
20,4 |
21,4 |
22,4 |
23,2 |
24,4 |
|
ДАС |
18,9 |
20,0 |
21,0 |
22,0 |
23,0 |
23,8 |
24,9 |
|
САС |
18,9 |
20,0 |
21,0 |
22,0 |
23,0 |
23,8 |
24,9 |
|
ДПУ |
23,5 |
24,6 |
25,8 |
26,6 |
27,9 |
28,6 |
29,5 |
|
ДАУ |
24,0 |
25,2 |
26,3 |
27,2 |
28,1 |
29,1 |
30,1 |
|
ДПД |
18,3 |
19,5 |
20,4 |
21,4 |
22,4 |
23,2 |
24,4 |
|
ДПМ |
25,0 |
26,2 |
27,2 |
28,1 |
29,1 |
30,1 |
31,1 |
|
ДП2 |
31,1 |
32,3 |
33,5 |
34,3 |
35,3 |
36,3 |
37,2 |
|
ДА2 |
31,7 |
32,9 |
34,0 |
34,9 |
35,8 |
36,8 |
37,8 |
|
ДНО |
11,3 |
12,3 |
14,3 |
15,3 |
16,2 |
17,9 |
18,2 |
|
ДПН |
14,7 |
15,7 |
16,7 |
17,5 |
18,6 |
19,6 |
20,6 |
|
ДПТ |
13,2 |
14,1 |
15,3 |
16,2 |
17,0 |
18,0 |
19,0 |
Таблица П4.6. Масса кабелей с оптическими модулями номинальным диаметром 1,8 мм, кг/км
|
Масса 1 км кабеля, кг, не более, при числе элементов во внешнем повиве сердечника |
|||||||
|
|
4 |
5 |
6 |
7 |
8 |
9 |
10 |
|
ДНО |
72 |
84 |
103 |
117 |
136 |
154 |
176 |
|
СПО |
74 |
86. |
119 |
147 |
170 |
193 |
216 |
|
ДАО |
91 |
115 |
127 |
153 |
177 |
201 |
224 |
|
САО |
93 |
121 |
142 |
174 |
202 |
239 |
260 |
|
ДПЛ |
144 |
167 |
186 |
204 |
225 |
247 |
272 |
|
СПЛ |
146 |
174 |
202 |
234 |
272 |
287 |
323 |
|
ДАЛ |
181 |
215 |
238 |
262 |
230 |
317 |
349 |
|
САЛ |
183 |
221 |
253 |
289 |
332 |
380 |
412 |
|
ДПС |
448 |
520 |
576 |
634 |
698 |
768 |
845 |
|
СПС |
450 |
522 |
582 |
664 |
732 |
790 |
868 |
|
ДАС |
452 |
553 |
596 |
670 |
734 |
804 |
881 |
|
САС |
454 |
559 |
611 |
691 |
756 |
826 |
902 |
|
ДПУ |
702 |
814 |
895 |
964 |
1061 |
1167 |
1284 |
|
ДАУ |
706 |
821 |
906 |
985 |
1083 |
1192 |
1311 |
|
ДПД |
192 |
223 |
247 |
272 |
299 |
329 |
362 |
|
ДПМ |
288 |
334 |
370 |
408 |
449 |
494 |
543 |
|
ДП2 |
1375 |
1447 |
1503 |
1561 |
1625 |
1695 |
1772 |
|
ДА2 |
1379 |
1454 |
1514 |
1582 |
1647 |
1720 |
1799 |
|
ДНО |
67 |
78 |
86 |
98 |
114 |
129 |
137 |
|
ДПН |
134 |
155 |
173 |
189 |
208 |
228 |
251 |
|
ДПТ |
124 |
144 |
158 |
179 |
201 |
227 |
243 |
Таблица П4.7. Масса кабелей с оптическими модулями номинальным диаметром 2,2 мм, кг/км
|
Масса 1 км кабеля, кг, не более, при числе элементов во внешнем повиве сердечника |
|||||||
|
|
4 |
5 |
6 |
7 |
8 |
9 |
10 |
|
ДНО |
86 |
100 |
126 |
133 |
155 |
176 |
201 |
|
СПО |
88 |
102 |
141 |
174 |
201 |
228 |
255 |
|
ДАО |
108 |
136 |
150 |
181 |
209 |
237 |
264 |
|
САО |
110 |
143 |
168 |
209 |
243 |
288 |
313 |
|
ДПЛ |
170 |
197 |
219 |
240 |
265 |
291 |
320 |
|
СПЛ |
172 |
205 |
238 |
276 |
321 |
339 |
382 |
|
ДАЛ |
213 |
253 |
280 |
308 |
341 |
373 |
411 |
|
САЛ |
215 |
260 |
298 |
340 |
391 |
448 |
450 |
|
ДПС |
526 |
611 |
677 |
745 |
820 |
902 |
992 |
|
СПС |
528 |
612 |
682 |
778 |
858 |
926 |
1017 |
|
ДАС |
530 |
648 |
698 |
785 |
860 |
942 |
1032 |
|
САС |
532 |
655 |
716 |
809 |
885 |
967 |
1056 |
|
ДПУ |
823 |
954 |
1049 |
1130 |
1244 |
1368 |
1505 |
|
ДАУ |
828 |
963 |
1063 |
1156 |
1271 |
1399 |
1539 |
|
ДПД |
225 |
261 |
280 |
318 |
350 |
385 |
424 |
|
ДПМ |
338 |
392 |
434 |
479 |
527 |
580 |
638 |
|
ДП2 |
1614 |
1699 |
1769 |
1833 |
1908 |
1990 |
2080 |
|
ДА2 |
1619 |
1707 |
1774 |
1854 |
1930 |
2015 |
2108 |
|
ДНО |
79 |
92 |
101 |
115 |
134 |
152 |
161 |
|
ДПН |
158 |
183 |
204 |
223 |
245 |
268 |
295 |
|
ДПТ |
146 |
170 |
187 |
212 |
238 |
266 |
292 |
Таблица П4.8. Масса кабелей с оптическими модулями номинальным диаметром 2,5 мм, кг/км
|
Масса 1 км кабеля, кг, не более, при числе элементов во внешнем повиве сердечника |
|||||||
|
|
4 |
5 |
6 |
7 |
8 |
9 |
10 |
|
ДНО |
99 |
115 |
133 |
155 |
180 |
208 |
242 |
|
СПО |
101 |
117 |
149 |
134 |
213 |
242 |
271 |
|
ДАО |
124 |
156 |
172 |
208 |
240 |
272 |
302 |
|
САО |
126 |
164 |
193 |
240 |
279 |
331 |
360 |
|
ДПЛ |
195 |
226 |
251 |
275 |
304 |
334 |
367 |
|
СПЛ |
197 |
235 |
273 |
317 |
369 |
390 |
439 |
|
ДАЛ |
244 |
290 |
321 |
353 |
391 |
428 |
472 |
|
САЛ |
246 |
297 |
340 |
388 |
446 |
511 |
513 |
|
ДПС |
602 |
699 |
775 |
853 |
939 |
1033 |
1136 |
|
СПС |
604 |
700 |
780 |
889 |
980 |
1058 |
1162 |
|
ДАС |
606 |
741 |
798 |
897 |
983 |
1077 |
1180 |
|
САС |
608 |
749 |
819 |
925 |
1012 |
1106 |
1208 |
|
ДПУ |
941 |
1091 |
1200 |
1293 |
1423 |
1565 |
1722 |
|
ДАУ |
946 |
1100 |
1214 |
1320 |
1451 |
1597 |
1757 |
|
ДПД |
257 |
298 |
330 |
363 |
400 |
440 |
485 |
|
ДПМ |
386 |
448 |
496 |
547 |
602 |
663 |
729 |
|
ДП2 |
1843 |
1940 |
2015 |
2093 |
2179 |
2273 |
2376 |
|
ДА2 |
1848 |
1948 |
2024 |
2115 |
2202 |
2299 |
2405 |
|
ДНО |
91 |
106 |
116 |
132 |
154 |
175 |
185 |
|
ДПН |
182 |
211 |
235 |
257 |
282 |
308 |
339 |
|
ДПТ |
170 |
198 |
218 |
247 |
277 |
304 |
332 |
Таблица П5.1. Муфты полиэтиленовые соединительные
|
Типоразмер |
Число пар соединяемого кабеля |
Диаметр токопроводящих жил, мм |
|
1 |
2 |
3 |
|
МПС 7/13 |
10 - 50 |
0,32 |
|
|
10 |
0,4 |
|
|
10 |
0,5 |
|
|
10 |
0,64 |
|
МПС 13/20 |
100 |
0,32 |
|
|
20 - 50 |
0,4 |
|
|
30 |
0,5 |
|
|
10 - 20 |
0,64 |
|
МПС 20/27 |
200 - 300 |
0,32 |
|
|
100 - 200 |
0,4 |
|
|
50 |
0,5 |
|
|
30 |
0,64 |
|
МПС 24/33 |
300 - 400 |
0,32 |
|
|
300 |
0,4 |
|
|
100 |
0,5 |
|
|
50 |
0,64 |
|
МПС 32/40 |
500 - 600 |
0,32 |
|
|
400 - 500 |
0,4 |
|
|
200 - 300 |
0,5 |
|
|
100 |
0,64 |
|
МПС 40/50 |
700 - 900 |
0,32 |
|
|
500 - 600 |
0,4 |
|
|
400 - 600 |
0,5 |
|
|
200 |
0,64 |
|
МПС 50/62 |
1000 - 1400 |
0,32 |
|
|
700 - 900 |
0,4 |
|
|
500 - 600 |
0,5 |
|
|
200 |
0,64 |
|
МПС 60/66 |
1600 - 1800 |
0,32 |
|
|
1000 |
0,4 |
|
|
600 - 700 |
0,5 |
|
|
300 - 400 |
0,64 |
|
МПС 64/77 |
2000 - 2400 |
0,32 |
|
|
800 - 1200 |
0,4 |
|
|
800 - 900 |
0,5 |
|
|
400 - 600 |
0,64 |
Таблица П5.2. Муфты полиэтиленовые разветвительные на два направления
|
Типоразмер |
Число пар кабеля |
Диаметр токопроводящих жил, мм |
|
|
основного |
ответвляющихся |
||
|
1 |
2 |
3 |
4 |
|
2МПР 7/13 |
20 - 50 |
1. 10 - 30 |
0,32 |
|
|
2. 10 - 20 |
|
|
|
20 |
1. 10 |
0,4 |
|
|
|
2. 10 |
|
|
|
2МПР 13/20 |
100 |
1. 50 |
0,32 |
|
|
2. 50 |
|
|
|
20 - 50 |
1. 10 - 30 |
0,4 |
|
|
|
2. 10 - 20 |
|
|
|
20 - 30 |
1. 10 - 20 |
0,5 |
|
|
|
2. 10 |
|
|
|
20 |
1. 10 |
0,64 |
|
|
|
2. 10 |
|
|
|
2МПР 20/27 |
200 - 300 |
1. 100 - 200 |
0,32 |
|
|
2. 100 |
|
|
|
100 - 200 |
1. 50 - 100 |
0,4 |
|
|
|
2. 50 - 100 |
|
|
|
50 |
1. 30 |
0,5 |
|
|
|
2. 20 |
|
|
|
30 |
1. 20 |
0,64 |
|
|
|
2. 10 |
|
|
|
2МПР 24/33 |
300 - 400 |
1. 200 - 300 |
0,32 |
|
|
2. 100 - 200 |
|
|
|
300 |
1. 200 |
0,4 |
|
|
|
2. 100 |
|
|
|
100 |
1. 50 - 100 |
0,5 |
|
|
|
2. 50 |
|
|
|
|
1. 20 - 30 |
0,64 |
|
|
|
2. 20 - 30 |
|
|
|
2МПР 64/77-I |
2000 - 2400 |
1. 1200 - 2000 |
0,32 |
|
|
2. 200 - 400 |
|
|
|
800 - 1200 |
1. 700 - 1000 |
0,4 |
|
|
|
2. 100 - 200 |
|
|
|
800 - 900 |
1. 500 - 800 |
0,5 |
|
|
|
2. 100 - 200 |
|
|
|
2МПР 32/40 |
500 - 600 |
1. 300 - 500 |
0,32 |
|
|
2. 100 - 300 |
|
|
|
400 - 500 |
1. 200 - 300 |
0,4 |
|
|
|
2. 100 - 200 |
|
|
|
200 - 300 |
1. 100 - 200 |
0,5 |
|
|
|
2. 100 |
|
|
|
100 |
1. 50 |
0,64 |
|
|
|
2. 30 - 50 |
|
|
|
2МПР 40/50 |
700 - 900 |
1. 600 - 800 |
0,32 |
|
|
2. 100 - 300 |
|
|
|
500 - 600 |
1. 400 - 500 |
0,4 |
|
|
|
2. 100 - 200 |
|
|
|
400 - 600 |
1. 300 - 500 |
0,5 |
|
|
|
2. 100 |
|
|
|
2МПР 40/50-I |
700 - 900 |
1. 400 - 600 |
0,32 |
|
|
2. 200 - 400 |
|
|
|
600 |
1. 300 |
0,4 |
|
|
|
2. 300 |
|
|
|
400 - 600 |
1. 200 - 400 |
0,5 |
|
|
|
2. 200 |
|
|
|
2МПР 40/50-II |
700 - 900 |
1. 300 - 500 |
0,32 |
|
|
2. 300 - 500 |
|
|
|
600 |
1. 300 |
0,4 |
|
|
|
2. 300 |
|
|
|
600 |
1. 300 |
0,5 |
|
|
|
2. 300 |
|
|
|
200 |
1. 100 |
0,64 |
|
|
|
2. 100 |
|
|
|
2МПР 50/62 |
1000 - 1400 |
1. 500 - 800 |
0,32 |
|
|
2. 500 - 800 |
|
|
|
700 - 900 |
1. 300 - 600 |
0,4 |
|
|
|
2. 300 - 600 |
|
|
|
500 - 600 |
1. 200 - 400 |
0,5 |
|
|
|
2. 200 - 400 |
|
|
|
200 |
1. 100 |
0,64 |
|
|
|
2. 100 |
|
|
|
2МПР 50/62-I |
1000 - 1400 |
1. 900 - 1200 |
0,32 |
|
|
2. 100 - 300 |
|
|
|
700 - 900 |
1. 600 - 900 |
0,4 |
|
|
|
2. 100 - 200 |
|
|
|
500 - 600 |
1. 400 - 500 |
0,5 |
|
|
|
2. 100 |
|
|
|
2МПР 50/62-II |
1000 - 1400 |
1. 600 - 1000 |
0,32 |
|
|
2. 200 - 500 |
|
|
|
700 - 900 |
1. 400 - 600 |
0,4 |
|
|
|
2. 200 - 300 |
|
|
|
500 - 600 |
1. 300 - 500 |
0,5 |
|
|
|
2. 200 - 300 |
|
|
|
200 - 300 |
1. 150 - 200 |
0,64 |
|
|
|
2. 50 - 100 |
|
|
|
2МПР 60/66 |
1600 - 1800 |
1. 1000 - 1600 |
0,32 |
|
|
2. 200 - 500 |
|
|
|
1000 |
1. 700 - 900 |
0,4 |
|
|
|
2. 200 - 300 |
|
|
|
600 - 700 |
1. 400 - 600 |
0,5 |
|
|
|
2. 200 - 300 |
|
|
|
2МПР 60/66-I |
1600 - 1800 |
1. 800 - 1200 |
0,32 |
|
|
2. 600 - 900 |
|
|
|
1000 |
1. 700 - 900 |
0,4 |
|
|
|
2. 300 - 600 |
|
|
|
600 - 700 |
1. 500 |
0,5 |
|
|
|
2. 100 - 200 |
|
|
|
300 - 400 |
1. 200 - 300 |
0,64 |
|
|
|
2. 100 |
|
|
|
2МПР 64/77 |
2000 - 2400 |
1. 1200 - 1600 |
0,32 |
|
|
2. 600 - 1200 |
|
|
|
800 - 1200 |
1. 600 - 900 |
0,4 |
|
|
|
2. 200 - 600 |
|
|
|
800 - 900 |
1. 500 - 600 |
0,5 |
|
|
|
2. 200 - 500 |
|
|
|
400 - 600 |
1. 200 - 400 |
0,64 |
|
|
|
2. 100 - 200 |
|
|
Таблица П5.3. Муфты полиэтиленовые разветвительные на три направления
|
Типоразмер |
Число пар кабеля |
Диаметр токопроводящих жил, мм |
|
|
основного |
ответвляющихся |
||
|
1 |
2 |
3 |
4 |
|
3МПР 7/13 |
30 - 50 |
1. 10 - 30 |
0,32 |
|
|
2. 10 - 20 |
|
|
|
|
3. 10 |
|
|
|
3МПР 13/20 |
100 |
1. 50 |
0,32 |
|
|
2. 30 |
|
|
|
|
3. 20 |
|
|
|
30 - 50 |
1. 10 - 30 |
0,4 |
|
|
|
2. 10 - 20 |
|
|
|
|
3. 10 |
|
|
|
30 |
1. 10 |
0,5 |
|
|
|
2. 10 |
|
|
|
|
3. 10 |
|
|
|
30 |
1. 10 |
0,64 |
|
|
|
2. 10 |
|
|
|
|
3. 10 |
|
|
|
3МПР 20/27 |
300 |
1. 100 |
0,32 |
|
|
2. 100 |
|
|
|
|
3. 100 |
|
|
|
100 |
1. 50 |
0,4 |
|
|
|
2. 30 |
|
|
|
|
3. 20 |
|
|
|
50 |
1. 20 - 30 |
0,5 |
|
|
|
2. 10 - 20 |
|
|
|
|
3. 10 |
|
|
|
30 |
1. 10 |
0,64 |
|
|
|
2. 10 |
|
|
|
|
3. 10 |
|
|
|
3МПР 24/33 |
400 |
1. 100 |
0,32 |
|
|
2. 100 |
|
|
|
|
3. 200 |
|
|
|
300 |
1. 100 |
0,4 |
|
|
|
2. 100 |
|
|
|
|
3. 100 |
|
|
|
100 |
1. 50 |
0,5 |
|
|
|
2. 30 |
|
|
|
|
3. 20 |
|
|
|
50 |
1. 10 - 30 |
0,64 |
|
|
|
2. 10 - 30 |
|
|
|
|
3. 10 - 20 |
|
|
|
3МПР 32/40 |
500 - 600 |
1. 200 - 400 |
0,32 |
|
|
2. 100 - 200 |
|
|
|
|
3. 100 - 200 |
|
|
|
400 - 500 |
1. 200 - 300 |
0,4 |
|
|
|
2. 100 |
|
|
|
|
3. 100 |
|
|
|
200 - 300 |
1. 100 |
0,5 |
|
|
|
2. 50 - 100 |
|
|
|
|
3. 50 - 100 |
|
|
|
100 |
1. 30 - 50 |
0,64 |
|
|
|
2. 20 - 50 |
|
|
|
|
3. 20 - 50 |
|
|
|
3МПР 40/50 |
700 - 900 |
1. 500 - 700 |
0,32 |
|
|
2. 100 - 300 |
|
|
|
|
3. 100 - 300 |
|
|
|
600 |
1. 400 |
0,4 |
|
|
|
2. 100 |
|
|
|
|
3. 100 |
|
|
|
400 - 600 |
1. 200 - 400 |
0,5 |
|
|
|
2. 100 |
|
|
|
|
3. 100 |
|
|
|
3МПР 40/50-I |
700 - 900 |
1. 300 - 500 |
0,32 |
|
|
2. 200 - 400 |
|
|
|
|
3. 100 - 300 |
|
|
|
500 - 600 |
1. 200 - 300 |
0,4 |
|
|
|
2. 200 |
|
|
|
|
3. 100 - 200 |
|
|
|
600 |
1. 300 |
0,5 |
|
|
|
2. 200 |
|
|
|
|
3. 100 |
|
|
|
3МПР 40/50-II |
700 - 900 |
1. 200 - 400 |
0,32 |
|
|
2. 200 - 400 |
|
|
|
|
3. 200 - 400 |
|
|
|
500 - 600 |
1. 100 - 200 |
0,4 |
|
|
|
2. 100 - 200 |
|
|
|
|
3. 100 - 200 |
|
|
|
400 - 600 |
1. 100 - 200 |
0,5 |
|
|
|
2. 100 - 200 |
|
|
|
|
3. 100 - 200 |
|
|
|
200 |
1. 30 - 50 |
0,64 |
|
|
|
2. 30 - 50 |
|
|
|
|
3. 50 - 100 |
|
|
|
4МПР 50/60 |
1000 - 1400 |
1. 700 - 1000 |
0,32 |
|
|
2. 100 - 300 |
|
|
|
|
3. 100 - 300 |
|
|
|
700 - 900 |
1. 400 - 700 |
0,4 |
|
|
|
2. 50 - 100 |
|
|
|
|
3. 50 - 100 |
|
|
|
500 - 600 |
1. 300 - 400 |
0,5 |
|
|
|
2. 50 - 100 |
|
|
|
|
3. 50 - 100 |
|
|
|
300 |
1. 200 |
0,64 |
|
|
|
2. 20 - 50 |
|
|
|
|
3. 20 - 50 |
|
|
|
3МПР 50/62-I |
1000 - 1400 |
1. 500 - 800 |
0,32 |
|
|
2. 300 - 600 |
|
|
|
|
3. 100 - 300 |
|
|
|
700 - 900 |
1. 300 - 400 |
0,4 |
|
|
|
2. 200 - 300 |
|
|
|
|
3. 100 - 200 |
|
|
|
500 - 600 |
1. 200 - 300 |
0,5 |
|
|
|
2. 200 |
|
|
|
|
3. 50 - 100 |
|
|
|
3МПР 50/62-II |
1000 - 1400 |
1. 300 - 500 |
0,32 |
|
|
2. 400 - 600 |
|
|
|
|
3. 200 - 400 |
|
|
|
700 - 900 |
1. 200 - 400 |
0,4 |
|
|
|
2. 200 - 300 |
|
|
|
|
3. 200 |
|
|
|
600 |
1. 200 |
0,5 |
|
|
|
2. 200 |
|
|
|
|
3. 200 |
|
|
|
200 - 300 |
1. 50 - 100 |
0,64 |
|
|
|
2. 50 - 100 |
|
|
|
|
3. 50 - 100 |
|
|
|
3МПР 60/66 |
1600 - 1800 |
1. 400 - 800 |
0,32 |
|
|
2. 400 - 800 |
|
|
|
|
3. 400 - 800 |
|
|
|
1000 |
1. 300 - 600 |
0,4 |
|
|
|
2. 300 - 600 |
|
|
|
|
3. 300 - 600 |
|
|
|
600 - 700 |
1. 200 - 500 |
0,5 |
|
|
|
2. 200 - 500 |
|
|
|
|
3. 200 - 500 |
|
|
|
4МПР 60/66-I |
1600 - 1800 |
1. 800 - 1200 |
0,32 |
|
|
2. 400 - 800 |
|
|
|
|
3. 100 - 300 |
|
|
|
100 |
1. 700 - 900 |
0,4 |
|
|
|
2. 200 - 600 |
|
|
|
|
3. 50 - 100 |
|
|
|
600 - 700 |
1. 300 |
0,5 |
|
|
|
2. 200 - 400 |
|
|
|
|
3. 100 |
|
|
|
400 |
1. 200 |
0,64 |
|
|
|
2. 100 |
|
|
|
|
3. 50 - 100 |
|
|
|
4МПР 64/77 |
2000 - 2400 |
1. 1200 - 1600 |
0,32 |
|
|
2. 400 - 800 |
|
|
|
|
3. 200 - 500 |
|
|
|
800 - 1200 |
1. 400 - 800 |
0,32 |
|
|
|
2. 300 - 600 |
|
|
|
|
3. 100 - 300 |
|
|
|
800 - 900 |
1. 400 - 600 |
0,5 |
|
|
|
2. 300 - 400 |
|
|
|
|
3. 100 - 200 |
|
|
|
400 - 600 |
1. 200 - 400 |
0,64 |
|
|
|
2. 100 |
|
|
|
|
3. 50 - 100 |
|
|
|
3МПР 64/77-I |
2000 - 2400 |
1. 800 - 1200 |
0,32 |
|
|
2. 400 - 800 |
|
|
|
|
3. 600 - 1000 |
|
|
|
800 - 1200 |
1. 500 - 700 |
0,4 |
|
|
|
2. 200 - 500 |
|
|
|
|
3. 100 - 200 |
|
|
|
800 - 900 |
1. 500 |
0,5 |
|
|
|
2. 200 - 500 |
|
|
|
|
3. 100 - 200 |
|
|
Таблица П5.4. Муфты полиэтиленовые соединительные для бронированных кабелей
|
Типоразмер |
Число пар соединяемого кабеля |
Диаметр токопроводящих жил, мм |
|
МПСБ 13/20 |
10 - 50 |
0,32 |
|
10 - 30 |
0,4 |
|
|
10 - 30 |
0,5 |
|
|
10 |
0,64 |
|
|
МПСБ 20/27 |
50 - 100 |
0,32 |
|
50 |
0,4 |
|
|
30 - 50 |
0,5 |
|
|
10 - 30 |
0,64 |
|
|
МПСБ 24/33 |
100 - 200 |
0,32 |
|
100 |
0,4 |
|
|
50 - 100 |
0,5 |
|
|
20 - 50 |
0,64 |
|
|
МПСБ 32/40 |
200 - 400 |
0,32 |
|
100 - 200 |
0,4 |
|
|
100 - 200 |
0,5 |
|
|
100 |
0,64 |
|
|
МПСБ 40/50 |
500 - 600 |
0,32 |
|
200 - 400 |
0,4 |
|
|
200 - 300 |
0,5 |
|
|
100 |
0,64 |
|
|
МПСБ 50/62 |
500 - 600 |
0,4 |
|
400 - 500 |
0,5 |
|
|
100 - 200 |
0,64 |
|
|
МПСБ 60/66 |
500 - 600 |
0,5 |
|
300 |
0,64 |
|
|
МПСБ 64/77 |
400 |
0,64 |
Таблица П5.5. Муфты полиэтиленовые станционные
|
Типоразмер |
Число пар основного кабеля |
Число ответвляющихся кабелей |
|
6МПРС 40/50 |
600 |
6´100 |
|
8МПРС 50/62 |
800 |
8´100 |
|
12МПРС 60/66 |
1200 |
12´100 |
|
18МПРС 64/77 |
1800 |
18´100 |
|
24МПРС 64/77 |
2400 |
24´100 |
|
Наименование |
Сопротивление изоляции, МОм, не менее |
|
Плата защиты (защитная полоса) |
1000 |
|
Рамка с разделительными гнездами |
1000 |
|
Плинт 9У (устанавливается в боксах БКТ и распределительных коробках КРТ, КРТУ, КРТП) |
3500 |
|
Плинты 11П1, 11Г (устанавливаются в боксах БГ) |
3000 |
|
Плинты ПН-10, ПН-10-Д (устанавливаются в боксах БММ) |
50000 |
|
Плинт ПЭ-6 (устанавливается в боксе БМВМ) |
50000 |
|
Плинт городской телефонный ПГ-10-4 (устанавливается в боксах БКТП коробки КРТН) |
50000 |
|
Плинт коммутируемый односторонний ПКО 10´2 |
50000 |
|
Панель ПЛК-7 (устанавливается в УКП) |
10000 |
|
Кабельный ящик (УКС, УКП) |
3000 |
|
Держатель разрядника для ИР-02 |
2000 |
|
Держатель разрядника для кабельной воронки |
50000 |
|
Разрядник угольный УР-500 |
1000 |
|
Разрядник двухэлектродный газонаполненный защитный неуправляемый Р-84 |
10000 |
|
Разрядники газонаполненные Р-27, Р-35, Р-350 |
5000 |
|
Тип полиэтилена |
Средний наружный диаметр труб, мм |
Толщина стенки, мм |
Масса 1 пог. м, кг |
||
|
номинальный |
допустимое отклонение |
номинальная |
допустимое отклонение |
||
|
Низкой плотности |
63 |
+1,3 |
3,0 |
+0,7 |
0,59 |
|
110 |
+2,0 |
5,3 |
+1,0 |
1,78 |
|
|
Высокой плотности |
63 |
+1,1 |
2,5 |
+0,6 |
0,51 |
|
110 |
+1,6 |
3,7 |
+0,8 |
1,39 |
|
|
Условный проход, мм |
Наружный диаметр, мм |
Толщина стенки, мм |
Масса 1 пог. м, кг |
||
|
номинальный |
допустимые отклонения |
номинальная |
допустимые отклонения |
||
|
20 |
26 |
+0,7 |
1,6 |
- |
0,19 |
|
25 |
32 |
+0,8 |
1,8 |
- |
0,27 |
|
32 |
40 |
+0,9 |
1,8 |
+0,4 |
0,34 |
|
40 |
50 |
+1,1 |
2,0 |
- |
0,47 |
|
50 |
63 |
+1,3 |
2,2 |
- |
0,65 |
|
70 |
75 |
+1,5 |
2,5 |
- |
0,88 |
|
80 |
90 |
+1,7 |
2,8 |
+0,5 |
1,18 |
|
110 |
110 |
+2,0 |
3,2 |
- |
1,65 |
|
Примечание. Трубы рассчитаны на рабочее давление 245 кПа (2,5 кгс/см2) |
|||||
|
Тип колодца |
Размеры, мм |
Масса, кг |
||
|
Длина |
Ширина |
Высота |
||
|
ККС-5-80 |
2990 |
1600 |
2030 |
4990 |
|
ККС-5-10 |
2990 |
1600 |
2010 |
4470 |
|
ККС-4-80 |
2390 |
1300 |
2010 |
3300 |
|
ККС-4-10 |
2390 |
1300 |
1990 |
3070 |
|
ККС-3-80 |
1950 |
1160 |
1810 |
2450 |
|
ККС-3-10 |
1950 |
1160 |
1770 |
2070 |
|
ККС-2-80 |
1350 |
1060 |
1570 |
1550 |
|
ККС-2-10 |
1350 |
1060 |
1570 |
1550 |
|
ККСС-1 |
3950 |
2100 |
2160 |
15300 |
|
ККСС-2 |
5760 |
2100 |
2160 |
21580 |
|
ККС-5М |
2990 |
1600 |
2030 |
5970 |
|
Примечание: Увеличение ширины смотрового устройства от монтажа одной угловой вставки составляет для устройств (колодцев): ККС-5 - 435 мм, ККС-4 - 330 мм, ККС-3 - 340 мм, ККСС-1 и ККСС-2 - 620 мм. |
||||
УТВЕРЖДАЮ
Начальник цеха
«__» ____________ 19__ г.
ДОЛЖНОСТНАЯ ИНСТРУКЦИЯ КАБЕЛЬЩИКА-СПАЙЩИКА
1. ОБЩИЕ ПОЛОЖЕНИЯ
1.1. Кабельщик-спайщик оформляется на работу по представлению начальника цеха.
1.2. Кабельщик-спайщик должен иметь образование в объеме 8 классов школы и специальные знания в объеме программы производственно-технического училища по своей специальности.
1.3. Кабельщик-спайщик должен знать:
правила прокладки и монтажа кабелей и зарядки оконечных кабельных устройств;
местонахождение кабельных сооружений на закрепленном участке и их техническое состояние;
контрольные сроки на устранение кабельных повреждений;
нормы расхода материалов на кабельно-монтажные работы;
правила техники безопасности, противопожарной безопасности, охраны труда и промышленной санитарии;
положение о цехе, Устав о дисциплине работников связи, правила внутреннего трудового распорядка;
пользоваться при выполнении работ инструментами, оборудованием и приборами соответственно своей квалификации и содержать их в исправном состоянии.
1.4. Кабельщик-спайщик должен уметь:
качественно выполнять кабельно-монтажные работы в соответствии с тарифно-квалификационным справочником работ и профессий рабочих связи;
содержать в исправном состоянии и правильно эксплуатировать используемые инструменты, оборудование и приборы.
1.5. Кабельщик-спайщик подчиняется непосредственно бригадиру или электромеханику, выполняет их указания и организует свой труд в соответствии с планом работ.
2. ФУНКЦИИ
Основными функциями кабельщика-спайщика являются:
выполнение работ по устранению кабельных повреждений и текущему ремонту кабельных линий;
выполнение плановых работ по восстановлению поврежденных пар в кабелях и повышению сопротивления изоляции кабелей;
выполнение внеплановых работ по указанию электромеханика.
3. ПРАВА
Кабельщик-спайщик имеет право вносить предложения по улучшению работы бригады.
4. ДОЛЖНОСТНЫЕ ОБЯЗАННОСТИ
Кабельщик-спайщик обязан:
качественно и в установленные сроки выполнять производственные задания;
правильно расходовать материалы, отпускаемые для производства работ;
содержать в исправном состоянии инструменты, приборы и оборудование;
содержать кабельную сеть на закрепленном участке в соответствии с указаниями настоящего Руководства;
твердо знать и постоянно выполнять Правила техники безопасности, противопожарной безопасности, охраны труда и промышленной санитарии, внутреннего распорядка;
следить за тем, чтобы на закрепленном участке были закрыты на замки распределительные шкафы, колодцы и кабельные ящики и не производились работы без разрешения руководства телефонной сети;
повышать свою квалификацию, посещая занятия по технической учебе и самостоятельно изучая техническую литературу.
5. ОТВЕТСТВЕННОСТЬ
Кабельщик-спайщик несет ответственность за:
сроки и качество выполненных работ;
правильное расходование материалов;
состояние закрепленного за ним оборудования;
выполнение всех правил, положений и инструкций.
Старший электромеханик
(электромеханик) по обслуживанию
кабельно-канализационных сооружений (подпись)
С должностной инструкцией
ознакомлен (подпись)
УТВЕРЖДАЮ
Начальник цеха
«__» ____________ 19__ г.
ДОЛЖНОСТНАЯ ИНСТРУКЦИЯ ЭЛЕКТРОМОНТЕРА КАНАЛИЗАЦИОННЫХ СООРУЖЕНИЙ СВЯЗИ
1. ОБЩИЕ ПОЛОЖЕНИЯ
1.1. Электромонтер канализационных сооружений связи оформляется на работу по представлению начальника цеха.
1.2. Электромонтер канализационных сооружений связи должен иметь образование в объеме 8 классов школы и специальные знания в объеме программы производственно-технического училища по своей специальности.
1.3. Электромонтер канализационных сооружений связи должен знать:
конструкции всех канализационных сооружений связи, находящихся в эксплуатации, и требования, предъявляемые к этим сооружениям;
правила содержания и ремонта канализационных сооружений, изложенные в настоящем Руководстве;
прохождение на своем участке канализационно-кабельных трасс, местонахождение колодцев и их техническое состояние;
правила техники безопасности, противопожарной безопасности, охраны труда и промышленной санитарии;
положение о цехе, Устав о дисциплине работников связи, правила внутреннего трудового распорядка.
1.4. Электромонтер канализационных сооружений связи должен уметь:
качественно выполнять все работы в соответствии с тарифно-квалификационным справочником работ и профессий рабочих связи;
пользоваться при выполнении работ инструментами, оборудованием и приборами соответственно своей квалификации и содержать их в исправном состоянии.
1.5. Электромонтер канализационных сооружений связи подчиняется непосредственно бригадиру или электромеханику, выполняет их указания и организует свой труд в соответствии с планом работ.
2. ФУНКЦИИ
Основными функциями электромонтера канализационных сооружений связи являются:
выполнение работ по техническому обслуживанию к текущему ремонту закрепленных канализационных сооружений;
выполнение внеплановых работ по указанию электромеханика.
3. ПРАВА
Электромонтер канализационных сооружений связи имеет право вносить предложения по улучшению работы бригады.
4. ДОЛЖНОСТНЫЕ ОБЯЗАННОСТИ
Электромонтер канализационных сооружений связи обязан:
содержать канализационные сооружения на закрепленном участке в соответствии с указаниями настоящего Руководства;
высококачественно и в установленный срок выполнять производственные задания;
твердо знать и выполнять правила техники безопасности, противопожарной безопасности, внутреннего распорядка, охраны труда и промышленной санитарии;
следить за тем, чтобы на закрепленном участке были закрыты на замки колодцы, заделаны каналы и не велись работы без разрешения руководства предприятия связи;
повышать свою квалификацию, посещая занятия по технической учебе.
5. ОТВЕТСТВЕННОСТЬ
Электромонтер канализационных сооружений связи несет ответственность за:
выполнение производственного плана в установленные сроки;
качество работ и отсутствие брака;
состояние закрепленного оборудования;
сохранность сооружений на закрепленном участке.
Старший электромеханик
(электромеханик) по обслуживанию
кабельно-канализационных сооружений (подпись)
С должностной инструкцией
ознакомлен (подпись)
УТВЕРЖДАЮ
Начальник цеха
«__» ____________ 19__ г.
1. ОБЩИЕ ПОЛОЖЕНИЯ
1.1. Электромеханик оформляется на работу по представлению начальника цеха.
1.2. Электромеханик должен иметь специальную техническую подготовку в объеме программы техникумов (колледжей) электросвязи.
1.3. Электромеханик должен знать:
правила технического обслуживания линейно-кабельных сооружений и производства работ по ремонту, строительству и реконструкции указанных сооружений;
правила монтажа кабелей, применяемых на местных сетях связи;
правила ведения работ по переустройству линейно-кабельных сооружений, устройству дорожных покрытий, условия проведения земляных работ, а также «Правила охраны линий и сооружений связи российской Федерации»;
порядок согласования с посторонними организациями работ, выполняемых в зоне прохождения подземных сооружений связи;
действующие руководства, инструкции и другие нормативные документы по техническому обслуживанию линейно-кабельных сооружений местных сетей связи;
формы технического учета и паспортизации линейно-кабельных сооружений местных сетей связи и порядок их заполнения;
виды и способы электрических измерений кабельных линий местных сетей связи;
«Инструкцию о порядке устранения повреждений и учета заявлений, поступающих в Централизованное бюро ремонта (ЦБР) на местных телефонных сетях» (М., 1994);
схему прохождения трасс кабельных линий, местонахождение оконечных кабельных устройств и электрические характеристики кабельной сети на закрепленном участке;
нормы годового расхода кабелей, основных материалов и арматуры на эксплуатационное содержание и текущий ремонт линейно-кабельных сооружений;
правила по охране труда при работах на кабельных линиях местных сетей связи.
1.4. Электромеханик должен уметь:
организовать правильную эксплуатацию линейно-кабельных сооружений;
руководить строительством, ремонтом и развитием кабельной сети на закрепленном за ним участке;
составлять план осмотра и текущего ремонта линейно-кабельных сооружений и смету на капитальный ремонт этих сооружений;
руководить подчиненными ему бригадами кабельщиков-спайщиков и электромонтеров;
самостоятельно выполнять работы по прокладке и монтажу кабелей, прокладке и ремонту канализационных сооружений;
производить электрические измерения линий;
обнаруживать и устранять повреждения кабелей;
вести техническую документацию, учет и отчетность;
осуществлять надзор за работами сторонних организаций.
1.5. Электромеханик кабельно-канализационного участка непосредственно подчиняется старшему электромеханику этого участка.
2. ФУНКЦИИ
Основными функциями электромеханика кабельно-канализационного участка являются:
обеспечение своевременного и качественного выполнения работ по техническому обслуживанию и ремонту линейно-кабельных сооружений;
организация и контроль за выполнением работ подчиненными бригадами;
составление годовых, квартальных планов текущего и капитального ремонта линейно-кабельных сооружений и сметы на капитальный ремонт, а также заявок на материалы, оборудование, запчасти и др.;
ведение технической документации, учета и отчетности по обслуживаемым линейно-кабельным сооружениям;
выявление резервов повышения эффективности труда и создание условий для высокопроизводительной работы каждого работника.
3. ПРАВА
Электромеханик имеет право:
давать подчиненным задания и поручения, связанные с выполнением работ, входящих в их компетенцию;
требовать от подчиненных качественного и своевременного выполнения заданий и поручений;
представлять подчиненный персонал к повышению в разряде, поощрению и взысканию.
4. ДОЛЖНОСТНЫЕ ОБЯЗАННОСТИ
Электромеханик кабельно-канализационного участка обязан:
обеспечить эксплуатацию линейно-кабельных сооружений закрепленного района в соответствии с указаниями настоящего Руководства;
обеспечить выполнение производственных заданий по закрепленному району высококачественно и в заданные сроки;
лично проверять организацию работ в бригадах и оказывать им помощь;
представлять на утверждение проекты планов проведения осмотров и текущего ремонта сооружений, закрепленных за подчиненными ему бригадами, и заявки на материалы, необходимые для выполнения плана, докладывать о сооружениях, нуждающихся в капитальном ремонте, и составлять на них дефектные ведомости;
анализировать причины повреждений сооружений и совместно с руководством кабельно-канализационного участка принимать меры к предотвращению повреждений; лично руководить работами по ликвидации аварии линейно-кабельных сооружений;
принимать работы, выполненные подчиненными кабельщиками-спайщиками (электромонтерами), контролировать правильность списания материалов, участвовать в приемке в эксплуатацию вновь построенных, реконструированных и отремонтированных линейно-кабельных сооружений;
периодически контролировать работу строительных организаций в зоне линейно-кабельных сооружений связи, не допуская повреждения последних;
периодически осматривать линейно-кабельные сооружения на участках подчиненных бригад и принимать меры к устранению выявленных недостатков;
составлять проект графика отпусков подчиненного персонала;
обеспечивать своевременное оформление и прохождение нарядов, инвентарных справок, актов и другой документации;
следить за выполнением подчиненным персоналом противопожарных мероприятий и правил внутреннего распорядка;
проверять знание и выполнение правил техники безопасности подчиненным персоналом, а также наличие и состояние нормативной документации и исправность приспособлений по технике безопасности, проводить необходимый инструктаж перед выходом на линию подчиненного персонала, лично присутствовать и руководить работами, оговоренными правилами техники безопасности;
повышать уровень своих технических и экономических знаний.
5. ОТВЕТСТВЕННОСТЬ
Электромеханик кабельно-канализационного участка несет ответственность за:
организацию работ и правильную расстановку подчиненных работников;
эффективный надзор за работой строительных организаций;
своевременное принятие мер по предотвращению аварий линейно-кабельных сооружений;
своевременное и правильное оформление нарядов и другой документации и своевременное предоставление установленной отчетности;
правильное применение и расходование материалов;
техническое состояние обслуживаемых линейно-кабельных сооружений;
своевременное и качественное выполнение работ по техническому обслуживанию и текущему ремонту линейно-кабельных сооружений;
устранение повреждений в контрольные сроки;
своевременное представление годового плана ремонта сооружений и заявок на материалы, оборудование, инструменты;
соблюдение подчиненными работниками правил техники безопасности, противопожарных мероприятий, а также производственной и трудовой дисциплины.
Руководитель кабельно-
канализационного участка (подпись)
С должностной инструкцией
ознакомлен (подпись)
УТВЕРЖДАЮ
Главный инженер
_______________ (подпись)
«__» ______________ 19__ г.
|
Наименование работ |
Единица измерения |
На год |
В том числе: |
||||||||
|
По плану |
Выполнено |
I кв. |
II кв. |
III кв. |
IV кв. |
||||||
|
По плану |
Выполнено |
По плану |
Выполнено |
По плану |
Выполнено |
По плану |
Выполнено |
||||
|
1 |
2 |
3 |
4 |
5 |
6 |
7 |
8 |
9 |
10 |
11 |
12 |
|
Осмотр и профилактическое обслуживание: |
|
|
|
|
|
|
|
|
|
|
|
|
колодцев и кабелей в них |
колодец |
1200 |
- |
50 |
- |
800 |
- |
350 |
- |
- |
- |
|
кабельных вводов |
ввод |
840 |
- |
240 |
- |
200 |
- |
200 |
- |
200 |
|
|
подвесных кабелей |
км |
20 |
- |
7 |
- |
5 |
- |
5 |
- |
3 |
- |
|
распределительных шкафов |
шкаф |
105 |
- |
30 |
- |
20 |
- |
25 |
- |
30 |
- |
|
помещения ввода кабелей |
помещение |
4 |
- |
1 |
- |
1 |
- |
1 |
- |
1 |
- |
|
Плановые электрические измерения кабелей: |
|
|
|
|
|
|
|
|
|
|
|
|
магистральных |
пара жил |
1700 |
- |
500 |
- |
400 |
- |
400 |
- |
400 |
- |
|
распределительных |
пара жил |
4200 |
- |
1200 |
- |
1000 |
- |
1000 |
- |
1000 |
- |
Начальник цеха (кабельно-
канализационного участка) (подпись)
Инженер (электромеханик) (подпись)
УТВЕРЖДАЮ
Главный инженер
_______________ (подпись)
«__» ______________ 19__ г.
|
Наименование работ |
Единица измерения |
На год |
В том числе: |
||||||||
|
По плану |
Выполнено |
I кв. |
II кв. |
III кв. |
IV кв. |
||||||
|
По плану |
Выполнено |
По плану |
Выполнено |
По плану |
Выполнено |
По плану |
Выполнено |
||||
|
1 |
2 |
3 |
4 |
5 |
6 |
7 |
8 |
9 |
10 |
11 |
12 |
|
Текущий ремонт кабельных сооружений шкафных районов |
шкафной район |
36 |
- |
10 |
- |
14 |
- |
12 |
- |
10 |
- |
|
Текущий ремонт кабелей в канализации |
колодец |
1140 |
- |
234 |
- |
530 |
- |
376 |
- |
- |
- |
|
Исправление поврежденных пар в кабелях |
пара |
88 |
- |
20 |
- |
20 |
- |
28 |
- |
28 |
- |
|
Текущий ремонт кабельных колодцев |
колодец |
1140 |
- |
234 |
- |
530 |
- |
376 |
- |
- |
- |
|
Очистка свободных каналов |
кан·км |
17 |
- |
- |
- |
17 |
- |
- |
- |
- |
- |
Начальник цеха (кабельно-
канализационного участка) (подпись)
Инженер (электромеханик) (подпись)
УТВЕРЖДАЮ
Главный инженер
_______________ (подпись)
«__» ______________ 19__ г.
|
Наименование работ |
Исполнитель |
Сметная стоимость работ, руб. |
Срок выполнения работ |
Примечание |
|
|
По плану |
Фактически |
||||
|
1 |
2 |
3 |
4 |
5 |
6 |
|
Замена 72,8 м магистрального кабеля № 23 марки ТК-1000´2´0,5 |
СМУ-322 |
- |
II кв. |
|
Приложен эскиз и сметно-финансовый расчет |
|
Перестановка распределительного шкафа № 2 с улицы в подъезд здания |
СМУ-322 |
- |
III кв. |
|
То же |
|
Перенос 3 распределительных коробок в помещение с ремонтом кабельных вводов |
ГТС |
|
III кв. |
|
-"- |
|
Замена морально устаревших компрессорных установок типовыми КСУ |
ГТС |
|
III кв. |
|
- |
|
Перебивка колодца типа ККС-4 на колодец типа ККС-5 |
СМУ-322 |
- |
II кв. |
|
Приложен сметно-финансовый расчет |
|
Прокладка кабельной канализации по ул. Лермонтова |
СМУ-322 |
|
III кв. |
|
Приложен эскиз и сметно-финансовый расчет |
Начальник цеха (кабельно-
канализационного участка) (подпись)
Инженер (электромеханик) (подпись)
|
Дата |
Линия (участок), номер замерного столбика |
Место и описание обнаруженного дефекта |
Принятые меры |
Дефекты, оставшиеся неустраненными |
Что требуется для устранения |
Отметка об устранении дефекта |
|
1 |
2 |
3 |
4 |
5 |
6 |
7 |
|
|
|
|
|
|
|
|
Подпись лица, выполнившего работу по техническому
обслуживанию _________________________________
Ф.ТФ-2/6
Для ГТС емкостью 2000 и более номеров
|
________________________ Наряд № __ На исправление __________________________________ кабеля № _________________ емкостью __________________________________________ шкаф № ________________ защитная полоса № ___________________________ распределение _________________ ___________________________________________________________________________ № неисправных телефонов ___________________________________________________ Всего неисправных № _______________________________________________________ Характер и место повреждения по данным измерения ____________________________ Измерено: ч _____ мин _______ дата ________________ 19__ г. ____________________ подпись Передано кабельной бригаде на исправление: ч _____ мин _______ дата _______ 19_ г. Повреждение найдено монтерами, кабельщиками-спайщиками (где, какое и причины): ___________________________________________________________________________ ___________________________________________________________________________ ___________________________________________________________________________ Что сделано: _______________________________________________________________ ___________________________________________________________________________ ___________________________________________________________________________ (линия отреза) Сдается в бухгалтерию вместе с рабочими журналами Талон к наряду № _______
|
(оборотная сторона наряда Ф.ТФ-2/6)
|
Изменения в длине участков кабелей между муфтами и перчатками показываются на эскизе (место для эскиза) В пролете между колодцами № ____________________ и № _______________________ или на стене д. № ____________ по ____________________________________________ сделана вставка кабелем марки ___________ емкостью ________ диам. жил _______ м Новый кабель затянут в канал № ______________________________________________ старый кабель на этом участке ________________________________________________ ___________________________________________________________________________ ___________________________________________________________________________ ___________________________________________________________________________ Работа начата _________________________________________________________ Работа окончена _______________________________________________________ __________________ 19__ г. Монтер __________________ 19__ г. Электромеханик В группе техучета отметки и исправления на технических документах произвел: «__» _________________ 19 г. ______________________ (подпись) ___________________________________________________________________________ (линия отреза)
Монтер ______________________________________________ (подпись) «__» ___________________ 19__ г. Проверил электромеханик _______________________________ (подпись) |
|
Дата |
Фамилия бригадира |
Адрес места работы |
Полученное задание |
Примечания |
|
|
|
|
|
|
|
|
|
|
|
|
|
|
|
|
|
|
|
|
|
|
|
|
|
|
|
|
|
|
Таблица П18.1. Нормы годового расхода кабелей на эксплуатационное содержание и текущий ремонт линейно-кабельных сооружений
|
Кабель |
Норма годового расхода в зависимости от протяженности кабеля в эксплуатации, % |
|
Однопарный кабель |
2,5 |
|
Одночетверочный небронированный кабель: |
|
|
в грунте |
1,5 |
|
подвесной |
2,0 |
|
в канализации |
0,8 |
|
Одночетверочный бронированный кабель, подземный и подводный |
0,5 |
|
Многопарный кабель в канализации: |
|
|
в свинцовой оболочке |
0,4 |
|
в пластмассовой оболочке |
1,0 |
|
Многопарный кабель настенный: |
|
|
в свинцовой оболочке |
1,0 |
|
в пластмассовой оболочке |
1,8 |
|
Многопарный кабель подвесной: |
|
|
в свинцовой оболочке |
1,5 |
|
в пластмассовой оболочке |
2,5 |
|
Многопарный и малопарный кабели бронированные подземные и подводные: |
|
|
в свинцовой оболочке |
0,3 |
|
в пластмассовой оболочке |
0,7 |
Таблица П18.2. Нормы расхода арматуры и материалов на эксплуатационное содержание и текущий ремонт линий, содержащих однопарные кабели марки ПРППМ, в расчете на 100 км кабеля
|
Наименование |
Единица измерения |
Нормы годового расхода |
|
Бензин Б-70 |
л |
1 |
|
или газ пропан |
кг |
0,7 |
|
Ветошь (отходы х/б) |
кг |
0,05 |
|
Канифоль сосновая разведенная |
кг |
0,002 |
|
Компаунд битумный |
кг |
1,5 |
|
Лента поливинилхлоридная липкая толщиной 0,1 - 0,3 мм |
кг |
0,03 |
|
Муфта полиэтиленовая стаканчиковая (заваренная с одной стороны трубка) |
шт. |
10 |
|
Припой ПОССу 40-2 |
кг |
0,005 |
Таблица П18.3. Нормы расхода арматуры и материалов на эксплуатационное содержание и текущий ремонт линий, содержащих одночетверочные кабели марки КСПП, в расчете на 100 км кабеля
|
Наименование |
Единица измерения |
Нормы годового расхода |
|
1 |
2 |
3 |
|
Бензин Б-70 |
л |
0,5 |
|
или газ-пропан |
кг |
0,3 |
|
Ветошь (отходы х/б) |
кг |
0,1 |
|
Канифоль сосновая разведенная |
кг |
0,003 |
|
Мыло хозяйственное |
кг |
0,02 |
|
Припой ПОССу-40-2 |
кг |
0,005 |
|
Дополнительно при восстановлении оболочки способом сварки под стеклолентой |
||
|
Компаунд полиизобутиленовый |
кг |
0,04 |
|
Лента полиэтиленовая толщиной 0,1 мм |
кг |
0,11 |
|
Лента стеклотканевая |
кг |
0,06 |
|
Муфта полиэтиленовая |
шт. |
3 |
|
Дополнительно при восстановлении оболочки заливкой муфт битумным компаундом |
||
|
Гильза полиэтиленовая тупиковая |
шт. |
12 |
|
Компаунд битумный |
кг |
0,75 |
|
Лента поливинилхлоридная липкая |
кг |
0,02 |
|
Муфта полиэтиленовая стаканчиковая |
шт. |
3 |
Таблица П18.4. Нормы расхода арматуры и материалов на эксплуатационное содержание и текущий ремонт линий на многопарных кабелях в свинцовой и пластмассовой оболочках, в расчете на 1000 км жил
|
Наименование |
Единица измерения |
Норма годового расхода |
|
1 |
2 |
3 |
|
1. Для кабелей в свинцовой оболочке |
||
|
Бензин Б-70 или |
л |
2,0 |
|
газ пропан |
кг |
1,5 |
|
Вазелин технический (смазка консистентная типа ЖЕК-3-65) |
кг |
2,0 |
|
Ветошь (отходы х/б) |
кг |
1,0 |
|
Гильза бумажная |
шт. |
1800 |
|
или соединитель металлопластмассовый СМЖ-10 |
шт. |
100 |
|
Лента изоляционная прорезиненная |
кг |
0,1 |
|
Лента миткалевая шириной 0,01 и 0,1 м |
м |
16,0 |
|
Манжета переходная |
шт. |
1 |
|
Марля шириной 0,07 м |
м |
1 |
|
Масса кабельная заливочная МКС-6 |
кг |
2 |
|
Масса кабельная прошпарочная МКП |
кг |
2 |
|
Муфта свинцовая |
шт. |
3 |
|
Муфта свинцовая газонепроницаемая |
шт. |
1 |
|
Мыло хозяйственное |
кг |
0,2 |
|
Нитки суровые № 9 |
кг |
0,12 |
|
Припой ПОССу 30-2 |
кг |
3 |
|
Свинец рольный |
кг |
2,5 |
|
Стеарин |
кг |
0,2 |
|
2. Для кабелей в пластмассовой оболочке |
||
|
Бензин Б-70 |
л |
1,5 |
|
или газ пропан |
кг |
1 |
|
Вентиль автомобильный |
шт. |
2 |
|
Ветошь (отходы х/б) |
кг |
2 |
|
Гильза полиэтиленовая |
шт. |
1800 |
|
или соединитель металлопластмассовый СМЖ-10 |
шт. |
100 |
|
Колпачок полиэтиленовый |
шт. |
1 |
|
Кольцо групповое полиэтиленовое |
шт. |
1800 |
|
Компаунд эпоксидно-тиоколовый ЭТЗК-1 |
кг |
0,5 |
|
Лента изоляционная прорезиненная |
кг |
од |
|
Мыло хозяйственное |
кг |
0,2 |
|
а) восстановление оболочки способом сварки |
||
|
Лента полиэтиленовая шириной 50 мм, толщиной 0,2 мм |
кг |
0,5 |
|
Лента стеклотканевая шириной 35 мм, толщиной 0,2 мм |
кг |
0,1 |
|
Муфта полиэтиленовая |
шт. |
6 |
|
Муфта полиэтиленовая газонепроницаемая |
шт. |
1 |
|
б) восстановление оболочки с помощью полиэтиленовых муфт и термоусаживаемых трубок |
||
|
Лента полиэтиленовая |
кг |
0,3 |
|
Муфта полиэтиленовая |
шт. |
6 |
|
Полоска из сэвилена шириной 20 - 40 мм толщиной 1 мм (замена на ГИПК 14-13 или клей КРД (КРУЗ-1) |
кг |
1 |
|
Трубка термоусаживаемая электроизоляционная размером: |
кг |
|
|
для установки на конусах муфты от 25/8 до 100/50 |
|
0,19 |
|
для установки на корпусе муфты от 40/20 до 160/80 |
|
0,17 |
|
в) восстановление оболочки с помощью термоусаживаемых трубок с применением каркасов (для кабелей емкостью свыше 100 пар) |
||
|
Каркас металлический опорный из двух полумуфт |
шт. |
6 |
|
Лента полиэтиленовая |
кг |
0,83 |
|
Полоса из сэвилена шириной 20 - 40 мм толщиной 1 мм (замена на ГИПК 14-13 или клей КРД (КРУЗ-1) |
кг |
0,24 |
|
Трубка термоусаживаемая электроизоляционная размерами 60/20, 60/30, 80/40 и 100/50 |
кг |
0,7 |
|
г) восстановление оболочки кабелей, проложенных в сухих помещениях, с помощью пластмассовой муфты с липкой лентой |
||
|
Лента полиэтиленовая (поливинилхлоридная) |
кг |
0,6 (0,9) |
|
Муфта полиэтиленовая (поливинилхлоридная) |
шт. |
20 |
|
д) восстановление оболочки кабелей емкостью до 20 пар, проложенных в сухих помещениях, с помощью липкой ленты |
||
|
Лента полиэтиленовая (поливинилхлоридная) липкая |
кг |
0,7 (1) |
|
3. Дополнительный расход на бронированные кабели |
||
|
Болт для чугунных муфт |
шт. |
10 |
|
Дрова |
м3 |
0,02 |
|
Клеенка (мягкая двусторонняя) |
мг |
3 |
|
Лента поливинилхлоридная 40 мм шириной |
кг |
0,2 |
|
Лента смоляная |
кг |
1,2 |
|
Масса кабельная МКБ |
кг |
10 |
|
Мастика битумно-резиновая МБР-К |
кг |
0,9 |
|
Муфта чугунная |
шт. |
3 |
|
Паста паяльная ПБК-26М |
кг |
0,02 |
|
Припой ПОССу 30-2 |
кг |
0,15 |
|
Проволока медная диаметром 1,2 мм |
кг |
0,06 |
|
Проволока стальная перевязочная диаметром 1 мм |
кг |
0,6 |
|
Столбик указательный |
шт. |
3 |
|
4. Дополнительный расход на подвесные кабели |
||
|
а) кабели без встроенного каната |
||
|
Болт с ушком или болт с крюком |
шт. |
1 |
|
Канат стальной типа ЛК-0-1´7-4,3 (ЛК-0-1´7-6,7) |
кг |
40 |
|
Клемма для оконечной заделки стального каната |
шт. |
1 |
|
Консоль с болтами и гайками для крепления стального каната на столбе |
шт. |
10 |
|
Подвес металлический (оцинкованный) |
кг |
40 |
|
Проволока стальная оцинкованная диаметром: |
|
|
|
4 мм |
кг |
10 |
|
5 мм |
|
10 |
|
Скоба накладная для крепления уголка |
шт. |
4 |
|
Труба стальная водогазопроводная диаметром 50 мм |
м |
10 |
|
Стяжка винтовая |
шт. |
1 |
|
Хомут двухушковый с болтами и гайками (размер хомута в соответствии с диаметром опоры) |
шт. |
1 |
|
Шуруп 12´100 с шестигранной головкой (глухарь) |
шт. |
50 |
|
б) кабели со встроенным канатом |
||
|
Болт подвесной или крюк подвесной |
шт. |
20 |
|
Зажим двухболтовый |
шт. |
2 |
|
Зажим специальный |
шт. |
20 |
|
Ковш |
шт. |
1 |
|
Проволока стальная перевязочная диаметром 2,5 мм |
кг |
0,2 |
|
Скоба накладная для крепления уголка |
шт. |
4 |
|
Труба стальная водогазопроводная диаметром 50 мм |
м |
10 |
|
Стяжка винтовая |
шт. |
1 |
|
5. Дополнительный расход на настенные кабели |
||
|
Гипс строительный (алебастр) |
кг |
100 |
|
Дюбель ДВ-4 с волокнистым заполнением или шуруп со спиралями |
шт. |
500 |
|
Желоб защитный металлический |
м |
20 |
|
Пробка переходная бетонная |
шт. |
10 |
|
Скоба накладная |
кг |
3 |
|
Скрепа оцинкованная пластинчатая |
кг |
20 |
|
Скрепа оцинкованная фигурная |
кг |
10 |
|
Труба полиэтиленовая диаметром 40 мм |
м |
10 |
|
Труба стальная водогазопроводная диаметром 50 мм |
м |
30 |
|
6. Дополнительный расход на кабели, содержащиеся под избыточным газовым давлением |
||
|
Вентиль |
шт. |
1 |
|
Манометр ММП-60 |
шт. |
1 |
|
Силикагель технический |
кг |
1 |
|
Фреон |
л |
1 |
|
Шланг резиновый |
м |
1,5 |
Таблица П18.5. Нормы расхода арматуры и материалов на эксплуатационное содержание и текущий ремонт линий на кабелях с пластмассовой изоляцией и оболочкой емкостью до 100 пар, монтируемых с использованием битумного компаунда в расчете на 100 км кабеля
|
Наименование |
Единица измерения |
Норма годового расхода |
|
1 |
2 |
3 |
|
Бензин Б-70 или |
л |
0,5 |
|
газ пропан |
кг |
0,26 |
|
Ветошь (отходы х/б) |
кг |
1,2 |
|
Гильза полиэтиленовая |
шт. |
300 |
|
Заполнитель гидрофобный ЛЗК-1 |
кг |
0,75 |
|
Керосин* |
л |
0,15 |
|
Кольцо групповое |
шт. |
300 |
|
Компаунд битумный |
кг |
1,2 |
|
Муфта полиэтиленовая стаканчиковая (заваренная с одной стороны трубка) |
шт. |
3 |
|
Мыло хозяйственное |
кг |
0,05 |
|
Примечание. * Для кабелей с гидрофобным заполнением |
||
Таблица П18.6. Нормы расхода арматуры и материалов на эксплуатационное содержание и текущий ремонт линий на многопарных кабелях в алюминиевой и стальной гофрированной оболочках марок ТАШп и ТСтШп в расчете на 1000 км жил
|
Наименование |
Единица измерения |
Норма годового расхода |
|
1 |
2 |
3 |
|
Бензин Б-70 |
л |
1,4 |
|
или газ пропан |
кг |
0,9 |
|
Ветошь (отходы х/б) |
кг |
0,7 |
|
Гильза бумажная |
шт. |
2430 |
|
или соединитель металлопластмассовый СМЖ-10 |
шт. |
120 |
|
Канифоль сосновая разведенная* |
кг |
0,02 |
|
Кольцо групповое полиэтиленовое |
шт. |
2400 |
|
Компаунд полиизобутиленовый липкий |
кг |
0,4 |
|
Клей ВК-9 (комплекты 1 и 2) |
комплект |
2 |
|
Компаунд эпоксиднотиоколовый ЭТЗК-1 (2, 3) для заливки изолирующих муфт |
кг |
0,5 |
|
Лента поливинилхлоридная липкая толщиной 0,2 - 0,3 мм и шириной 16 мм |
кг |
0,06 |
|
Лента полиэтиленовая толщиной 0,1 - 0,15 мм и шириной 20 - 25 мм |
кг |
0,48 |
|
Марля* |
кг |
0,04 |
|
Мастика битумно-резиновая МБР-К* |
кг |
0,6 |
|
Муфта свинцовая |
шт. |
4 |
|
Паста паяльная ПМКН-40** |
кг |
0,00 |
|
Припой: |
кг |
|
|
ПОССу 30-2 |
|
2 |
|
ПОССу 40-2* |
|
0,02 |
|
ЦОП-40* |
|
0,04 |
|
Проволока медная луженая диаметром 0,9 - 1,2 мм* |
м |
4 |
|
Стеарин |
кг |
0,05 |
|
Трубка свинцовая с внутренним диаметром 31 - 50 мм |
м |
0,5 |
|
Дополнительно на восстановление полиэтиленового шланга с использованием: |
|
|
|
а) полиэтиленовой муфты и сварки |
|
|
|
Лента полиэтиленовая шириной 50 мм, толщиной 0,2 мм |
кг |
0,4 |
|
Лента стеклотканевая шириной 35 - 40 мм, толщиной 0,2 м |
кг |
0,30 |
|
Муфта полиэтиленовая |
шт. |
4 |
|
б) термоусаживаемых трубок |
|
|
|
Полоска из сэвилена шириной 40 мм, толщиной 1 мм |
кг |
0,16 |
|
Трубка термоусаживаемая электроизоляционная размерами: 50/25, 60/30, 80/40, 100/50 |
кг |
1,6 |
|
в) полиэтиленовой муфты и термоусаживаемых манжет (трубок) |
|
|
|
Манжета (трубка) термоусаживаемая, размерами: |
|
|
|
для установки на корпусе муфты 80/40, 100/50, 110/25, 120/60, 160/80 |
кг |
0,31 |
|
для установки на конусах муфты 50/25, 60/30, 80/40, 100/50 |
|
0,43 |
|
Муфта полиэтиленовая |
шт. |
4 |
|
Полоска из сэвилена шириной 40 мм и толщиной 1 мм |
кг |
0,28 |
|
Примечание. *) Для монтажа кабелей марки ТАШп **) Для монтажа кабелей марки ТСтШп |
||
Таблица П18.7. Нормы расхода арматуры и материалов на эксплуатационное содержание и текущий ремонт линий на высокочастотных кабелях в свинцовой и алюминиевой оболочках марок МКС и МКСА в расчете на 100 км кабеля
|
Наименование |
Единица измерения |
Норма годового расхода |
|
1 |
2 |
3 |
|
Восстановление сердечника кабеля |
||
|
Бумага кабельная |
кг |
0,06 |
|
Ветошь (отходы х/б) |
кг |
0,5 |
|
Гильза полиэтиленовая |
шт. |
32 |
|
Канифоль сосновая разведенная |
кг |
0,01 |
|
Кольцо групповое полиэтиленовое |
шт. |
16 |
|
Конденсатор типа КТИ-1 |
шт. |
0,5 |
|
Мыло хозяйственное |
кг |
0,05 |
|
Нитки капроновые № 35 |
кг |
0,002 |
|
Припой ПОССу 40-2 |
кг |
0,02 |
|
Резистор типа МЛТ |
шт. |
0,5 |
|
Восстановление свинцовой оболочки кабеля марки МКС |
||
|
Бензин Б-70 |
л |
1,4 |
|
или газ пропан |
кг |
0,9 |
|
Муфта свинцовая |
тт. |
2 |
|
Припой ПОССу 30-2 |
кг |
0,6 |
|
Стеарин |
кг |
0,04 |
|
Восстановление алюминиевой оболочки кабеля марки МКСА |
||
|
Бензин Б-70 |
л |
1,4 |
|
или газ пропан |
кг |
0,9 |
|
Втулка опорная стальная* |
шт. |
2 |
|
Клей ВК-9** |
комплект |
1,0 |
|
Компаунд липкий полиизобутиленовый ЛПК |
кг |
0,1 |
|
Конденсатор типа КТИ-1 |
шт. |
0,5 |
|
Конус полиэтиленовый |
шт. |
4 |
|
Конус переходный* |
шт. |
0,5 |
|
Лента миткалевая шириной 0,07 м |
м |
0,8 |
|
Лента полиэтиленовая шириной 25 мм |
кг |
0,2 |
|
Лента стеклотканевая |
кг |
0,2 |
|
Мастика битумно-резиновая МБР-К*** |
кг |
0,3 |
|
Муфта свинцовая** |
шт. |
2 |
|
Паста кварцевазелиновая* |
кг |
0,01 |
|
Припой: |
кг |
|
|
ПОССу 30-2 |
|
0,6 |
|
ПОССу 40-2 |
|
0,2 |
|
ЦОП-40 |
|
0,01 |
|
Провод ПМВГ-0,75 |
м |
2 |
|
Резистор типа МЛТ |
шт. |
0,5 |
|
Стеарин |
кг |
0,04 |
|
Трубка: |
м |
|
|
алюминиевая с внутренним диаметром 26 мм* |
|
0,5 |
|
полиэтиленовая |
|
3 |
|
свинцовая с внутренним диаметром 45 мм* |
|
0,6 |
|
Дополнительно на восстановление защитных покровов бронированного кабеля |
||
|
Бензин Б-70 |
л |
0,5 |
|
или газ пропан |
кг |
0,26 |
|
Ветошь (отходы х/б) |
кг |
0,05 |
|
Лента поливинилхлоридная шириной 40 мм |
кг |
0,03 |
|
Лента смоляная |
кг |
0,2 |
|
Масса кабельная МКБ |
кг |
3 |
|
Мастика битумно-резиновая МБР-К |
кг |
0,1 |
|
Муфта чугунная |
шт. |
0,5 |
|
Паста паяльная БПК-26М |
кг |
0,003 |
|
Припой ПОССу 30-2 |
кг |
0,02 |
|
Проволока медная диаметром 1,2 мм |
кг |
0,01 |
|
Проволока медная перевязочная диаметром 1 мм (для кабелей в свинцовой оболочке) |
кг |
0,06 |
|
Примечание: * для метода опрессования ** для методов склеивания *** для методов холодного склеивания |
||
Таблица П18.8. Нормы годового расхода арматуры и материалов на эксплуатационное содержание и текущий ремонт линий на оптических кабелях в расчете на 100 км кабеля
|
Наименование |
Единица измерения |
Норма годового расхода |
|
Детали и материалы, входящие в комплекты оптических муфт (см. табл. П28.12 - П28.14 (Приложение 28): |
комплект |
|
|
для муфт типа МОГ |
|
5 |
|
для муфт типов ММЗОК и МТОК |
|
3 |
|
материалы, необходимые для монтажа одной оптической муфты, указанные в табл. П28.15 (Приложение 28) |
|
4 |
Таблица П18.9. Нормы расхода арматуры оборудования и материалов на эксплуатационное содержание и текущий ремонт распределительных шкафов (ШР), кабельных ящиков (КЯ) и распределительных коробок (РК) в расчете на 100 устройств
|
Наименование |
Единица измерения |
Норма годового расхода |
||
|
ШР 1200´2 |
КЯ 10´2 |
РК 10´2 |
||
|
1 |
2 |
3 |
4 |
5 |
|
Кабельное оборудование и арматура (запасные части) |
||||
|
Бокс кабельный телефонный с плинтами |
шт. |
10 |
2 |
0,5 |
|
Болт 12´75 с гайкой |
шт. |
20 |
- |
- |
|
Винты: |
|
|
|
|
|
для крепления бокса М8´18 |
шт. |
10 |
- |
- |
|
для крепления боксовой нумерации |
шт. |
10 |
- |
- |
|
для крепления плинта |
шт. |
500 |
10 |
7 |
|
контактный для плинта |
шт. |
2500 |
25 |
25 |
|
по дереву с шестигранной головкой 6´80 и 12´100 |
шт. |
- |
20 |
- |
|
цокольный |
шт. |
- |
- |
10 |
|
Вставка плавкая трубчатая |
шт. |
- |
500 |
- |
|
Втулка изоляционная |
шт. |
- |
25 |
- |
|
Замок к шкафу |
шт. |
8 |
- |
- |
|
Коробка распределительная телефонная |
шт. |
- |
- |
1 |
|
Пластины: |
шт. |
|
|
|
|
номерная |
|
100 |
2 |
3 |
|
угольная для разрядника |
|
- |
100 |
- |
|
Плинты: |
шт. |
|
|
|
|
емкостью 10´2 без разрядников и предохранителей |
|
50 |
- |
1 |
|
кабельный телефонный (c разрядниками и предохранителями) |
|
- |
2 |
- |
|
Площадка кабельная |
шт. |
- |
0,4 |
- |
|
Прокладки: |
шт. |
|
|
|
|
изоляционная к угольному разряднику |
|
- |
100,0 |
- |
|
под крышку бокса ШР |
|
10 |
- |
- |
|
под плинт |
|
100 |
8 |
2 |
|
Стойка контактная плинта ящика |
шт. |
- |
1 |
- |
|
Ящик кабельный |
шт. |
- |
3 |
- |
|
Материалы |
||||
|
Бензин Б-70 |
л |
3,0 |
0,5 |
0,2 |
|
или газ пропан |
кг |
2,1 |
0,35 |
0,15 |
|
Бечева смоляная |
кг |
0,3 |
- |
- |
|
Ветошь (отходы х/б) |
кг |
3,6 |
0,3 |
0,1 |
|
Гильзы: |
шт. |
|
|
|
|
бумажные |
|
1000 |
50 |
20,0 |
|
полиэтиленовые |
|
800 |
50 |
20,0 |
|
Замазка техническая |
кг |
1 |
- |
- |
|
Канифоль сосновая разведенная |
кг |
0,23 |
0,07 |
0,02 |
|
Краска масляная |
кг |
25 |
3 |
- |
|
Лак асфальтовый (БТ-577) |
кг |
1,1 |
0,07 |
0,02 |
|
Лента полиэтиленовая (поливинилхлоридная) с липким слоем |
кг |
0,3 |
0,08 |
0,03 |
|
Масса кабельная: |
кг |
|
|
|
|
битумная МКБ |
|
5 |
- |
- |
|
заливочная МКС-6 |
|
2 |
0,5 |
0,1 |
|
прошпарочная МКП |
|
1,5 |
0,2 |
0,04 |
|
Мыло хозяйственное |
кг |
1,4 |
0,1 |
0,01 |
|
Нитки капроновые № 35 или суровые № 9 |
кг |
0,15 |
0,02 |
0,01 |
|
Олифа натуральная |
кг |
8,0 |
1,3 |
0,5 |
|
Парафин |
кг |
0,2 |
0,04 |
0,006 |
|
Припой: |
кг |
|
|
|
|
ПОССу 30-2 |
|
1,1 |
0,1 |
0,02 |
|
ПОССу 40-2 |
|
0,2 |
0,04 |
0,001 |
|
Провод, марки: |
м |
|
|
|
|
ЛТВ-В или ПРП |
|
- |
50 |
- |
|
ПКСВ-2 |
|
2000 |
- |
- |
|
Стеарин |
кг |
0,36 |
0,05 |
0,01 |
Таблица П18.10. Нормы расхода арматуры и материалов на эксплуатационное содержание и текущий ремонт трубопроводов и смотровых устройств кабельной канализации в расчете на 10 кан·км трубопроводов и 100 смотровых устройств
|
Наименование |
Единица измерения |
Норма годового расхода |
|
1 |
2 |
3 |
|
Для трубопроводов |
||
|
Арматура |
||
|
Манжета стальная |
шт. |
10 |
|
Муфта полиэтиленовая |
шт. |
20 |
|
Пробка бетонная |
шт. |
30 |
|
Проволока стальная диаметром 4 мм |
кг |
30 |
|
Сталь разная |
кг |
50 |
|
Трубы: |
м |
|
|
асбоцементная |
|
45 |
|
бетонная |
|
3 |
|
полиэтиленовая |
|
7 |
|
стальная |
|
0,5 |
|
Материалы |
||
|
Веревка |
кг |
5 |
|
Гудрон (гидроизол) |
кг |
10 |
|
Дрова |
м3 |
0,5 |
|
Замазка техническая |
кг |
60 |
|
Керосин |
л |
4 |
|
Лента битумная |
кг |
4 |
|
Пакля ленточная пропитанная |
кг |
5 |
|
Пиломатериалы лиственных пород |
м3 |
0,2 |
|
Для смотровых устройств |
||
|
Арматура |
||
|
Болт консольный с гайкой и шайбами |
шт. |
10 |
|
Ерш для крепления кронштейна |
шт. |
5 |
|
Замок |
шт. |
5 |
|
Кольцо опорное (железобетонное) |
шт. |
0,4 |
|
Консоли разные для колодцев |
шт. |
1 |
|
Кронштейны для колодцев |
шт. |
3 |
|
Крышки к люку: |
шт. |
|
|
верхняя |
|
1 |
|
нижняя |
|
1,5 |
|
Крюк консольный |
шт. |
0,5 |
|
Люк чугунный с крышками, типа: |
шт. |
|
|
Л |
|
1 |
|
Т |
|
0,5 |
|
Серьга |
шт. |
1 |
|
Материалы |
||
|
Кирпич глиняный обыкновенный |
шт. |
160 |
|
Краска масляная |
кг |
8 |
|
Лак асфальтовый БТ-577 |
кг |
6,5 |
|
Олифа натуральная |
кг |
2 |
|
Песок |
м3 |
0,4 |
|
Рубероид (для прокладки под кабель на консоли) |
рулон |
0,1 |
|
Стекло жидкое натриевое |
кг |
5 |
|
Цемент |
кг |
60 |
Комплект инструментов для бригады кабельщиков-спайщиков
Ключ гаечный раздвижной длиной 200 - 250 мм 1 шт.
Ключ торцовый на 12 мм 1 шт.
Горелка комбинированная универсальная 1 шт.
Кусачки боковые на 130 мм 2 шт.
Лампа паяльная вместимостью:
1 л 1 шт.
0,5 л 2 шт.
Метр складной стальной 1 шт.
Манометр 0,2 МПа (2 кгс/см2) с ценой деления
0,005 МПа (0,05 кгс/см2) 2 шт.
Молоток с наконечником из цветного металла 1 шт.
Молоток деревянный 1 шт.
Молоток стальной 1 шт.
Напильник драчевый (трехгранный) 300 мм 1 шт.
Напильник плоский 1 шт.
Нож кабельный 1 шт.
Ножовка по металлу 2 шт.
Отвертки:
малая 150 мм 2 шт.
средняя 200 мм 2 шт.
большая 250 мм 1 шт.
Паяльник стаканчиковый 1 шт.
Паяльник торцовый 0,3 кг 1 шт.
Плоскогубцы «утиный нос» 2 шт.
Пассатижи 250 мм 1 шт.
Полотно к ножовкам 5 шт.
Рулетка стальная длиной 20 мм 1 шт.
Термометр со шкалой на 300 °С в металлическом футляре 1 шт.
Комплект приспособлений и приборов для бригады кабельщиков-спайщиков
Батарея БАС-60 2 шт.
Бидон вместимостью 2 кг 2 шт.
Брезент 2´2 м 1 шт.
Ведро паяльное 1 шт.
Ведро железное, оцинкованное 1 шт.
Веревка пеньковая диаметром 16 мм 30 м
Войлок 2´2 м 1 шт.
Воронка 1 шт.
Вентиль 3 шт.
Зеркало 10´5 см в футляре 2 шт.
Замок навесной 3 шт.
Прибор типа ИКП 1 компл.
Кисть щетинная плоская 1 шт.
Кисть малярная средняя 1 шт.
Кисть малярная малая 1 шт.
Клеенка мягкая двухсторонняя 1 шт.
Колено для выгибания кабеля 3 шт.
Ковш 2 шт.
Крючок 1 шт.
Лопата 1 шт.
Микротелефонная трубка 2 шт.
Микротелефонная трубка с номеронабирателем 1 шт.
Противень из кровельного железа 2 шт.
Ручной насос с баллоном для хлористого кальция 1 шт.
Сумка брезентовая (твердая) 2 шт.
Трафарет букв и цифр 1 компл.
Чайник эмалированный вместимостью:
5 л 1 шт.
2 л 2 шт.
Штырь заземления 2 шт.
Щетка стальная 1 шт.
Ящик (сундук) для инструмента 2 шт.
Медные вкладыши 1 компл.
Комплект инструментов для бригады электромонтеров канализационных сооружений связи
Комплект зубил 180 и 300 мм 2 шт.
Ключ торцовый 12 мм 1 шт.
Ключ гаечный раздвижной на 200 - 250 мм 1 шт.
Кельма 1 шт.
Кувалда 1 шт.
Лампа паяльная вместимостью 0,5 и 1 л 2 шт.
Лом стальной 2 шт.
Лопаты стальные с ручками 2 шт.
Метр стальной складной 1 шт.
Молоток с наконечником из цветного металла 1 шт.
Молотки стальные массой 0,5 и 1 кг 2 шт.
Молоток деревянный 1 шт.
Молоток для каменщика 1 шт.
Мастерок штукатурный 2 шт.
Напильники разные 4 шт.
Нож кабельный 2 шт.
Ножовка по металлу 1 шт.
Ножовка по дереву 1 шт.
Отвертки 200, 250 и 300 мм 4 шт.
Полотно к ножовке по металлу 5 шт.
Пила поперечная 1 шт.
Рулетка стальная длиной 20 м 1 шт.
Топор 1 шт.
Шлямбур 16 мм 1 шт.
Щетка металлическая 1 шт.
Комплект приспособлений и инвентарного имущества бригады электромонтеров канализационных сооружений связи
Блоки 3-рамковые типа БР-3 1 шт.
Брезент 2´2 м 1 шт.
Бидон вместимостью 2 - 3 л 1 шт.
Веревка пеньковая диаметром 16 мм 150 м
Ведро железное оцинкованное 1 шт.
Воронка 1 шт.
Воронка для извлечения палок из трубопроводов 1 шт.
Втулка предохранительная с наружным диаметром
98 и 88 мм 4 шт.
Домкрат 1 шт.
Зеркало в футляре 1 шт.
Ключи от замков колодцев 1 компл.
Крючок стальной 1 шт.
Кисти малярные разные 5 шт.
Компенсатор кручения 1 шт.
Колена кабельные металлические 3 шт.
Карабин 1 шт.
Ключ для палок 2 шт.
Контрольная штанга 1 шт.
Комплект палок винтовых длиной 1000 и 500 мм 200 шт.
Пробный цилиндр диаметром 92 и 82 мм 2 шт.
Совок металлический 1 шт.
Сумка брезентовая 1 шт.
Стеклоткань 0,5 м2
Канат стальной 150 м
Термометр со шкалой на 250 °С 1 шт.
Трамбовка 1 шт.
Чулки кабельные 1 компл.
Чайник для массы 1 шт.
Ящик для инструмента 1 шт.
Щетка стальная круглая 2 шт.
Комплект средств техники безопасности для бригад кабельщиков-спайщиков и электромонтеров канализационных сооружений
|
|
Количество для бригад |
|
|
кабельщиков-спайщиков |
электромонтеров канализационных сооружений связи |
|
|
Аптечка |
1 шт. |
1 шт. |
|
Газоанализатор |
1 шт. |
1 шт. |
|
Галоши диэлектрические |
3 пары |
- |
|
Маска резиновая предохранительная со шлангом |
1 шт. |
- |
|
Очки защитные |
2 компл. |
2 компл. |
|
Перчатки резиновые диэлектрические |
2 пары |
1 пара |
|
Рукавицы брезентовые |
3 пары |
3 пары |
|
Спасательный пояс с лямками |
1 шт. |
1 шт. |
Комплект организационной оснастки рабочего места бригад кабельщиков-спайщиков и электромонтеров канализационных сооружений связи
Ограждение разборное 2 компл.
Сигнальные знаки разборные 2 компл.
Палатка разборная 1 шт.
Установка для вентиляции, отопления, освещения смотровых устройств 1 шт.
Складной стул 1 шт.
Лестницы длиной 3 м и 6 - 7 м 2 шт.
Фонарь карманный электрический 2 шт.
Фонарь керосиновый с красными стеклами 2 шт.
|
Инструмент |
Срок службы, год |
|
Зубило |
0,5 |
|
Кусачки (острогубцы) боковые |
1 |
|
Кусачки прямые |
1 |
|
Отвертка монтажная |
1 |
|
Плоскогубцы монтажные |
1 |
|
Плоскогубцы комбинированные |
1 |
|
Шило |
1 |
|
Молоток |
3 |
|
Лампа паяльная |
3 |
Рефлектометр фирмы Шлюмберже (Франция) с возможностью питания от сети 220 В и от автомобильного аккумулятора 12 В:
- базовый блок SI 7780;
- сменные блоки с выходными разъемами типа FC:
- многомодовый на длину волны 0,85 мкм - SI 77822;
- многомодовый на длину волны 1,3 мкм - SI 77823;
- одномодовый на длины волны 1,3 - 1,55 мкм - SI 77817 или SI 77818.
Юстировочное устройство (столик) или комплект адаптеров для волокна без защитного покрытия.
Шнуры измерительные, оснащенные оптическими разъемами типов РС и ЛИСТ-Х с обеих сторон - патчкорды: многомодовые и одномодовые.
Шнуры измерительные, оснащенные оптическими разъемами типов РС и ЛИСТ-Х с одной стороны - пигтейлы: многомодовые и одномодовые.
Розетки оптические соединительные и переходные для подключения оптических разъемов типов FC, ЛИСТ-БУЛАВА, ЛИСТ-Х.
Комплекты оптических тестеров:
- ОМКЗ-76 А, многомодовый на длину волны 0,85 мкм;
- ОМКЗ-76 Б, многомодовый на длину волны 1,3 мкм;
- AQ 2150 фирмы Андо (Япония) с источниками излучения для всех типов волокон и длин волн и всеволновыми измерителями.
Устройства для скалывания волокна СТ-07 фирмы Фуджикура (Япония).
Стрипперы - устройства для снятия защитного покрытия волокон PS-02 (250 мкм) фирмы Фуджикура (Япония).
Устройства для обрезания оптических модулей любой фирмы.
Устройство для сварки оптических волокон всех типов:
- FSM-20C3 фирмы Фуджикура (Япония);
- S174 фирмы Фурукава (Япония).
Блоки питания сетевые и аккумуляторные для сварочных устройств.
Комплекты инструментов для разделки ОК всех типов:
- ножи для выполнения продольных и поперечных надрезов оболочки с регулируемой глубиной погружения резака;
- кусачки для перекусывания стальных тросов и т.п.
Комплект инструментов спайщиков: горелка газовая, слесарный инструмент и материалы для герметизации муфт.
Комплект полевых телефонов типа ТА-57 или аналогичных. Комплект оптических телефонов типа РНОТОМ 450.
Оптическое волокно на катушках, не менее чем по 300 м волокна, тех типов, которые используются в кабелях данной сети.
Инструменты, материалы, приспособления и оборудование для кабельной группы
Бокс 100´2
Распределительная коробка с включенным кабелем длиной до 15 м
Кабельный ящик
Комплект инструментов и приспособлений согласно Приложению 23
Лебедка ручная
Домкраты
Барабан кабельный
Ось для кабельного барабана
Палки канализационные
Чулки кабельные
Проволока стальная
Канат стальной
Провод ПКСВ-2
Провод ЛТВ
Полевой кабель
Телефонный аппарат
Ломы
Лопаты
Кувалда
Подкувалдник
Комплект зубил
Муфты и перчатки разные
Переходные манжеты
Гильзы бумажные
Гильзы полиэтиленовые
Кольца полиэтиленовые (групповые)
Бинт миткалевый
Стеклоткань
Лента полиэтиленовая
Лента поливинилхлоридная
Нитки суровые
Ветошь (отходы х/б)
Рольный свинец
Припой ПОССу 30-2
Припой ПОССу 40-2
Масса заливочная (МКС-6)
Масса прошпарочная (МКП)
Стеарин
Бензин
Асбест
Кабельная бумага
Аварийный запас инструментов, материалов, приспособлений и оборудования для канализационной группы
Ведра железные оцинкованные
Ветошь (отходы х/б)
Газоанализатор
Зубила
Замки для колодцев
Кувалда
Колена кабельные металлические
Компенсатор кручения
Крышки верхние для типовых колодцев
Крышки нижние разные
Ключи от замков колодцев
Канат пеньковый
Лебедка ручная
Лента изоляционная
Люки
Лестницы длиной 3 м
Мастерки
Манжеты металлические (пластмассовые)
Молотки металлические весом 0,5 и 1,0 кг
Ось для кабельных барабанов
Домкраты
Ограждения
Паяльная лампа емкостью 0,5 л
Пояс спасательный
Подкувалдник
Проволока стальная диаметром 1,5 и 5 мм
Пробный цилиндр
Пробки деревянные
Палки винтовые
Рукавицы
Сигнальные знаки
Стальной трос
Трубы асбестоцементные целые и разрезные
Фонари сигнальные
Фонарь электрический
Цемент, песок
Чулки кабельные
Щетка стальная круглая
|
№ п/п |
Выдача ключа |
Возвращение ключа |
|||||||
|
Дата |
Время |
Кто выдал ключ |
Кому выдан ключ |
Подпись работника, получившего ключ |
Дата |
Время |
Кто принял ключ |
Подпись работника, принявшего ключ |
|
|
|
|
|
|
|
|
|
|
|
|
|
№ п/п |
Дата осмотра |
Кто осматривал (должность, фамилия) |
Объект осмотра и его адрес |
Выявленные недостатки |
Примечание |
|
|
|
1 |
|
|
|
|
Прибор |
Количество |
|
Переносной кабельный прибор типа ПКП-5 или ПКП-4 |
1 |
|
Переносной мегаомметр для измерения сопротивления изоляции от 1 до 105 Ом |
1 |
|
Комбинированный переносной прибор для измерения тока, напряжения и сопротивления (тестер) |
1 |
|
Испытатель разрядников с выходным напряжением, регулируемым в пределах от 50 до 3500 В |
1 |
|
Измеритель сопротивлений заземлений с пределами измерения от 0,1 до 1000 Ом |
|
|
Кабелеискатель |
2 |
|
Прибор для отыскания отдельных пар в кабелях и муфтах |
1 |
|
Измеритель параметров неоднородностей линий типа Р5-10 |
1 |
|
Прибор кабельщика-спайщика |
1 |
|
Газоанализатор |
1 |
|
Переносной монтерский телефонный аппарат |
2 |
ПАСПОРТ
|
||||||||||||||||||||||||||||||||||||||||||||||||||||||||||||||||||||||||||||||||||||||||||||||||||||||||||||||||||||||||||||||||||||
|
Затухание РУ, дБ |
Номер ОВ |
Загрузка оптических волокон |
||||||
|
АТС-А: ________________ |
АТС-Б: _______________ |
|||||||
|
А-Б |
Б-А |
|
СКУ/ОСП: |
СКУ/ОЛТ/КЛТ: |
Разъемы типа |
СКУ/ОСП |
СКУ/ОЛТ/КЛТ |
|
|
|
|
1 |
|
|
|
|
|
|
|
|
|
2 |
|
|
|
|
|
|
|
|
|
3 |
|
|
|
|
|
|
|
|
|
4 |
|
|
|
|
|
|
|
|
|
5 |
|
|
|
|
|
|
|
|
|
6 |
|
|
|
|
|
|
|
|
|
7 |
|
|
|
|
|
|
|
|
|
8 |
|
|
|
|
|
|
|
|
|
9 |
|
|
|
|
|
|
|
|
|
10 |
|
|
|
|
|
|
|
|
|
11 |
|
|
|
|
|
|
|
|
|
12 |
|
|
|
|
|
|
Приборы: оптические тестеры типа ____________________________________________
номера ____________________________________________
Адреса муфт:
1. __________________________________ 6. ____________________________________
2. __________________________________ 7. ____________________________________
3. __________________________________ 8. ____________________________________
4. __________________________________ 9. ____________________________________
5. __________________________________ 10. ___________________________________
Схема трассы:
На схеме: между муфтами - строительные длины по волокну; под муфтами - расстояние до муфты от АТС; стрелкой помечается направление измерений.

СДАЛ: ________________________________ ПРИНЯЛ: ___________________________
(___________________, Ф. И. О.) (_______________, Ф. И. О.)
«__» _________________ 199_ года
ПРОТОКОЛ
измерений затухания сварных соединений оптических волокон кабеля № _______
Прибор: оптический рефлектометр __________________________________________
(марка, фирма, блок, длина волны)
|
№ муфты |
Направление измерений |
До муфты, м |
Номера волокон |
|||||||||||||||
|
1 |
2 |
3 |
4 |
5 |
6 |
7 |
8 |
9 |
10 |
11 |
12 |
13 |
14 |
15 |
16 |
|||
|
Расцветка сращиваемых модулей и волокон Результаты измерений сварных соединений, дБ ____ |
||||||||||||||||||
|
|
Модули |
|
|
|
|
|
|
|
|
|
||||||||
|
Волокна |
|
|
|
|
|
|
|
|
|
|
|
|
|
|
|
|
|
|
|
а ст. А-Б |
|
|
|
|
|
|
|
|
|
|
|
|
|
|
|
|
|
|
|
а ст. Б-А |
|
|
|
|
|
|
|
|
|
|
|
|
|
|
|
|
|
|
|
а среднее |
|
|
|
|
|
|
|
|
|
|
|
|
|
|
|
|
|
|
|
|
Модули |
|
|
|
|
|
|
|
|
|
||||||||
|
Волокна |
|
|
|
|
|
|
|
|
|
|
|
|
|
|
|
|
|
|
|
а ст. А-Б |
|
|
|
|
|
|
|
|
|
|
|
|
|
|
|
|
|
|
|
а ст. Б-А |
|
|
|
|
|
|
|
|
|
|
|
|
|
|
|
|
|
|
|
а среднее |
|
|
|
|
|
|
|
|
|
|
|
|
|
|
|
|
|
|
|
|
Модули |
|
|
|
|
|
|
|
|
|
||||||||
|
Волокна |
|
|
|
|
|
|
|
|
|
|
|
|
|
|
|
|
|
|
|
а ст. А-Б |
|
|
|
|
|
|
|
|
|
|
|
|
|
|
|
|
|
|
|
а ст. Б-А |
|
|
|
|
|
|
|
|
|
|
|
|
|
|
|
|
|
|
|
а среднее |
|
|
|
|
|
|
|
|
|
|
|
|
|
|
|
|
|
|
|
|
Модули |
|
|
|
|
|
|
|
|
|
||||||||
|
Волокна |
|
|
|
|
|
|
|
|
|
|
|
|
|
|
|
|
|
|
|
а ст. А-Б |
|
|
|
|
|
|
|
|
|
|
|
|
|
|
|
|
|
|
|
а ст. Б-А |
|
|
|
|
|
|
|
|
|
|
|
|
|
|
|
|
|
|
|
а среднее |
|
|
|
|
|
|
|
|
|
|
|
|
|
|
|
|
|
|
|
|
Модули |
|
|
|
|
|
|
|
|
|
||||||||
|
Волокна |
|
|
|
|
|
|
|
|
|
|
|
|
|
|
|
|
|
|
|
а ст. А-Б |
|
|
|
|
|
|
|
|
|
|
|
|
|
|
|
|
|
|
|
а ст. Б-А |
|
|
|
|
|
|
|
|
|
|
|
|
|
|
|
|
|
|
|
а среднее |
|
|
|
|
|
|
|
|
|
|
|
|
|
|
|
|
|
|
|
|
Модули |
|
|
|
|
|
|
|
|
|
||||||||
|
Волокна |
|
|
|
|
|
|
|
|
|
|
|
|
|
|
|
|
|
|
|
а ст. А-Б |
|
|
|
|
|
|
|
|
|
|
|
|
|
|
|
|
|
|
|
а ст. Б-А |
|
|
|
|
|
|
|
|
|
|
|
|
|
|
|
|
|
|
|
а среднее |
|
|
|
|
|
|
|
|
|
|
|
|
|
|
|
|
|
|
|
|
Модули |
|
|
|
|
|
|
|
|
|
||||||||
|
Волокна |
|
|
|
|
|
|
|
|
|
|
|
|
|
|
|
|
|
|
|
а ст. А-Б |
|
|
|
|
|
|
|
|
|
|
|
|
|
|
|
|
|
|
|
а ст. Б-А |
|
|
|
|
|
|
|
|
|
|
|
|
|
|
|
|
|
|
|
а среднее |
|
|
|
|
|
|
|
|
|
|
|
|
|
|
|
|
|
|
|
|
Модули |
|
|
|
|
|
|
|
|
|
||||||||
|
Волокна |
|
|
|
|
|
|
|
|
|
|
|
|
|
|
|
|
|
|
|
а ст. А-Б |
|
|
|
|
|
|
|
|
|
|
|
|
|
|
|
|
|
|
|
а ст. Б-А |
|
|
|
|
|
|
|
|
|
|
|
|
|
|
|
|
|
|
|
а среднее |
|
|
|
|
|
|
|
|
|
|
|
|
|
|
|
|
|
|
|
Поступление сигнала на щиток ЩВС |
Оповещение о поступлении сигнала |
||
|
Дата, время |
Подпись ответственного лица |
Дата, время |
Фамилия оповещенного лица |
|
|
|
|
|
Таблица П28.1. Примерные нормы расхода материалов на монтаж соединительных муфт кабелей ТППэп способом наплавления полиэтиленовой светостабилизированной ленты под стеклолентой
|
Число пар кабеля |
Расход материалов на одну соединительную полиэтиленовую муфту |
|||||||||||||||
|
Монтаж сердечника кабеля |
Соединение деталей корпусов муфт между собой и с оболочкой кабеля |
|||||||||||||||
|
Соединение жил скруткой |
Соединение жил с помощью СМЖ-10 |
Лента полиэтиленовая, г |
Лента из стеклоткани, г |
Бензин, л |
||||||||||||
|
Диаметр жил кабелей, мм |
||||||||||||||||
|
Гильзы полиэтиленовые, шт. |
Групповые кольца, шт. |
СМЖ-10, шт. |
0,32 |
0,4 |
0,5 |
0,64 |
0,32 |
0,4 |
0,5 |
0,64 |
0,32 |
0,4 |
0,5 |
0,64 |
||
|
1 |
2 |
3 |
4 |
5 |
6 |
7 |
8 |
9 |
10 |
11 |
12 |
13 |
14 |
15 |
16 |
|
|
10 |
21 |
21 |
1 |
8 |
9 |
10 |
15 |
10 |
12 |
16 |
25 |
0,05 |
0,06 |
0,07 |
0,1 |
|
|
20 |
42 |
42 |
2 |
12 |
15 |
20 |
35 |
15 |
17 |
20 |
30 |
0,05 |
0,06 |
0,07 |
0,1 |
|
|
30 |
63 |
63 |
3 |
15 |
21 |
30 |
60 |
20 |
22 |
24 |
40 |
0,05 |
0,06 |
0,07 |
0,1 |
|
|
50 |
105 |
105 |
5 |
20 |
35 |
55 |
80 |
30 |
32 |
35 |
50 |
0,07 |
0,08 |
0,10 |
0,15 |
|
|
100 |
210 |
210 |
11 |
40 |
48 |
60 |
100 |
60 |
62 |
65 |
80 |
0,14 |
0,17 |
0,20 |
0,35 |
|
|
200 |
420 |
420 |
21 |
50 |
62 |
80 |
120 |
70 |
72 |
75 |
90 |
0,25 |
0,30 |
0,35 |
0,55 |
|
|
300 |
630 |
630 |
32 |
70 |
83 |
100 |
140 |
75 |
77 |
80 |
100 |
0,30 |
0,40 |
0,50 |
0,75 |
|
|
400 |
840 |
840 |
42 |
80 |
95 |
120 |
170 |
80 |
84 |
90 |
115 |
0,35 |
0,46 |
0,60 |
1,0 |
|
|
500 |
1050 |
1050 |
53 |
90 |
105 |
130 |
200 |
90 |
95 |
100 |
130 |
0,40 |
0,55 |
0,70 |
1,3 |
|
|
600 |
1260 |
1260 |
63 |
100 |
120 |
150 |
230 |
100 |
110 |
120 |
150 |
0,45 |
0,60 |
0,75 |
1,5 |
|
|
800 |
1680 |
1680 |
84 |
105 |
|
|
|
110 |
|
|
|
0,50 |
|
|
|
|
|
900 |
1890 |
1890 |
95 |
110 |
|
|
|
120 |
|
|
|
0,55 |
|
|
|
|
|
1000 |
2100 |
2100 |
105 |
125 |
|
|
|
130 |
|
|
|
0,60 |
|
|
|
|
|
1200 |
2520 |
2520 |
126 |
135 |
|
|
|
140 |
|
|
|
0,60 |
|
|
|
|
|
1400 |
2940 |
2940 |
147 |
145 |
|
|
|
150 |
|
|
|
0,65 |
|
|
|
|
|
1600 |
3360 |
3360 |
168 |
150 |
|
|
|
160 |
|
|
|
0,65 |
|
|
|
|
|
1800 |
3780 |
3780 |
189 |
160 |
|
|
|
170 |
|
|
|
0,70 |
|
|
|
|
|
2000 |
4200 |
4200 |
210 |
165 |
|
|
|
175 |
|
|
|
0,70 |
|
|
|
|
|
2400 |
5080 |
5080 |
254 |
170 |
|
|
|
180 |
|
|
|
0,75 |
|
|
|
|
|
Примечания: 1. Во всех случаях используется одна полиэтиленовая муфта. 2. Расход полиэтиленовых лент и лент из стеклоткани при монтаже разветвительных муфт увеличивается на 30 % на каждое ответвление. |
||||||||||||||||
Таблица П28.2. Нормы расхода материалов на монтаж прямых муфт кабелей ТППэп с жилами диаметром 0,5 мм.
|
Число пар кабеля |
Расход материалов на одну прямую муфту |
||||||
|
Гильзы полиэтиленовые, шт. |
Групповые кольца, шт. |
Лента полиэтиленовая, г |
Лента из стеклоткани, г |
Бензин, л |
Ветошь, г |
Мыло хозяйственное, г |
|
|
10 |
21 |
21 |
10 |
16 |
0,07 |
0,01 |
10 |
|
20 |
42 |
42 |
20 |
20 |
0,07 |
0,02 |
10 |
|
30 |
63 |
63 |
30 |
24 |
0,07 |
0,03 |
10 |
|
50 |
105 |
105 |
55 |
30 |
0,10 |
0,05 |
15 |
|
100 |
210 |
210 |
60 |
40 |
0,20 |
0,10 |
15 |
|
200 |
420 |
420 |
80 |
60 |
0,35 |
0,10 |
15 |
|
300 |
630 |
630 |
100 |
80 |
0,50 |
0,10 |
20 |
|
400 |
840 |
840 |
120 |
90 |
0,60 |
0,20 |
20 |
|
500 |
1050 |
1050 |
130 |
100 |
0,70 |
0,20 |
20 |
|
600 |
1260 |
1260 |
150 |
120 |
0,75 |
0,25 |
20 |
|
Примечания: 1. Во всех случаях используется одна полиэтиленовая муфта. 2. Расход полиэтиленовой ленты и ленты из стеклоткани при монтаже разветвительных муфт увеличивается на 30 % на каждое ответвление. |
|||||||
Таблица П28.3. Нормы расхода материалов на монтаж прямых муфт кабелей ТПЭПЗ
|
Материалы |
Единица измерения |
Расход материалов на одну прямую муфту кабеля ТПЭПЗ |
|||||
|
Число пар |
|||||||
|
2 |
10 |
20 |
30 |
50 |
100 |
||
|
1 |
2 |
3 |
4 |
5 |
6 |
7 |
8 |
|
Гильзы полиэтиленовые |
шт. |
10 |
21 |
42 |
63 |
105 |
210 |
|
Групповые кольца |
-"- |
10 |
21 |
42 |
63 |
105 |
210 |
|
Заполнитель |
кг |
0,1 |
0,1 |
0,15 |
0,2 |
0,25 |
0,35 |
|
Полиэтиленовая лепта шириной 50 мм, толщиной 0,2 мм |
кг |
0,01 |
0,01 |
0,02 |
0,08 |
0,05 |
0,06 |
|
Стеклолента шириной 35 мм, толщиной 0,2 мм |
г |
16 |
1,6 |
20 |
24 |
30 |
40 |
|
Бензин |
л |
0,05 |
0,05 |
0,07 |
0,10 |
0,12 |
0,14 |
|
Керосин |
л |
0,01 |
0,02 |
0,03 |
0,04 |
0,045 |
0,05 |
|
Ветошь |
г |
50 |
60 |
70 |
80 |
90 |
100 |
|
Бумажные полотенца |
шт. |
1 |
1 |
1 |
2 |
2 |
3 |
|
Мыло хозяйственное |
г |
10 |
10 |
10 |
10 |
15 |
15 |
|
Примечания: 1. Во всех случаях используется одна полиэтиленовая муфта. 2. Расход полиэтиленовой ленты и ленты из стеклоткани при монтаже разветвительных муфт увеличивается на 30 % на каждое ответвление. |
|||||||
Таблица П28.4. Нормы расхода материалов на монтаж прямых муфт кабелей в свинцовой оболочке марки ТГ с жилами диаметром 0,5 км
|
Число пар кабеля |
Расход материалов на одну прямую муфту |
|||||||||
|
Гильзы бумажные, шт. |
Нитки суровые, г |
Лента миткалевая, м2 шириной, мм |
Масса кабельная, МКП, кг |
Припой ПОССу-30-2, кг |
Стеарин, г |
Бензин, л |
Ветошь, кг |
Мыло хозяйственное, г |
||
|
35 |
70 |
|||||||||
|
1 |
2 |
3 |
4 |
5 |
6 |
7 |
8 |
9 |
10 |
11 |
|
10 |
21 |
5 |
0,020 |
- |
0,10 |
0,09 |
5 |
0,10 |
0,3 |
10 |
|
20 |
42 |
8 |
0,025 |
- |
0,10 |
0,14 |
5 |
0,10 |
0,3 |
10 |
|
30 |
63 |
8 |
0,035 |
- |
0,15 |
0,18 |
5 |
0,10 |
0,3 |
10 |
|
50 |
105 |
10 |
0,045 |
- |
0,15 |
0,23 |
7 |
0,14 |
0,4 |
15 |
|
80 |
168 |
15 |
0,050 |
- |
0,20 |
0,28 |
10 |
0,20 |
0,4 |
15 |
|
100 |
210 |
15 |
0,070 |
- |
0,35 |
0,33 |
12 |
0,28 |
0,4 |
15 |
|
150 |
315 |
25 |
0,079 |
- |
0,40 |
0,40 |
15 |
0,35 |
0,5 |
15 |
|
200 |
420 |
30 |
- |
0,105 |
0,50 |
0,47 |
15 |
0,50 |
0,5 |
20 |
|
300 |
630 |
45 |
- |
0,115 |
0,60 |
0,54 |
15 |
0,60 |
0,6 |
20 |
|
400 |
840 |
60 |
- |
0,130 |
0,90 |
0,61 |
20 |
0,85 |
0,6 |
20 |
|
500 |
1050 |
75 |
- |
0,140 |
1,00 |
0,68 |
20 |
0,90 |
0,6 |
20 |
|
600 |
1260 |
90 |
- |
0,175 |
1,00 |
0,76 |
20 |
1,00 |
0,7 |
20 |
|
700 |
1470 |
105 |
- |
0,245 |
1,00 |
0,85 |
25 |
1,10 |
0,7 |
25 |
|
800 |
1680 |
120 |
- |
0,255 |
1,00 |
0,90 |
25 |
1,20 |
0,7 |
25 |
|
900 |
1890 |
135 |
- |
0,265 |
1,20 |
0,95 |
25 |
1,25 |
0,8 |
25 |
|
1000 |
2100 |
150 |
- |
0,280 |
1,50 |
1,00 |
25 |
1,50 |
0,8 |
25 |
|
1200 |
2520 |
165 |
- |
0,350 |
1,70 |
1,10 |
30 |
1,70 |
1,0 |
25 |
|
Примечания: 1. Во всех случаях используется одна свинцовая муфта. 2. При монтаже муфт кабеля с силами диаметром более 0,5 мм нормы расхода бензина, кабельной массы, стеарина и припоя умножать на следующие коэффициенты: для кабелей с жилами диаметром 0,6 мм - на 1,15; для кабелей с жилами диаметром 0,7 мм - на 1,3. 3. При монтаже муфт кабелей, проложенных по стенам зданий, норму расхода бензина умножать на 1,1, а кабелей, подвешенных на стальных канатах - на 1,2. 4. При монтаже муфт кабелей с жилами разных диаметров с пропайкой на каждые 100 пар жил добавляется 0,04 кг припоя ПОССу-40-2 и 12 г разведенной канифоли. 5. Нормы расхода материалов на монтаж разветвительных муфт следует определять исходя из норм расхода материалов на монтаж прямых муфт соответствующей емкости кабеля каждого ответвления с добавлением 30 % припоя, бензина и стеарина. |
||||||||||
Таблица П28.5. Нормы расхода дополнительных материалов на монтаж защитных муфт бронированных кабелей
|
Число пар кабеля с диаметром жил 0,5 мм |
Расход дополнительных материалов на монтаж одной защитной муфты кабеля |
|||||||||
|
Кабельная масса МКБ, кг |
Припой ПОССу-30-2, г |
Паста ПБК-26М, г |
Лента смоляная, кг |
Лента пластмассовая, г |
Лак БТ-177, г |
Проволока медная, м |
Керосин, л |
Ветошь, г |
Мыло хозяйственное, г |
|
|
10 |
2,0 |
5 |
1 |
0,2 |
5 |
1,0 |
0,6 |
0,2 |
10 |
10 |
|
20 |
2,0 |
5 |
1 |
0,2 |
5 |
1,0 |
0,6 |
0,2 |
20 |
10 |
|
30 |
3,0 |
5 |
1 |
0,2 |
10 |
1,0 |
0,6 |
0,2 |
30 |
10 |
|
50 |
5,0 |
5 |
1 |
0,2 |
10 |
2,0 |
0,6 |
0,5 |
50 |
15 |
|
100 |
7,0 |
7 |
2 |
0,2 |
15 |
2,0 |
0,7 |
0,6 |
100 |
15 |
|
200 |
8,0 |
8 |
2 |
0,25 |
17 |
2,0 |
1,0 |
0,8 |
100 |
20 |
|
300 |
9,5 |
10 |
3 |
0,3 |
20 |
2,0 |
1,2 |
1,0 |
100 |
20 |
|
400 |
10,5 |
12 |
4 |
0,4 |
25 |
3,0 |
1,5 |
1,2 |
150 |
20 |
|
500 |
11,5 |
14 |
4 |
0,5 |
30 |
3,0 |
1,7 |
1,5 |
200 |
20 |
|
600 |
13,0 |
15 |
5 |
0,7 |
35 |
3,0 |
2,0 |
1,8 |
200 |
20 |
|
Примечание. Во всех случаях используется одна чугунная защитная муфта. |
||||||||||
Таблица П28.6. Нормы расхода материалов на монтаж одночетверочных кабелей КСППБ способом сварки полиэтиленовой лентой под стеклолентой
|
Материал |
Единица измерения |
Расход материалов на 10 прямых муфт |
|
Полиэтиленовая муфта |
шт. |
10 |
|
Канифоль |
г |
4 |
|
Паяльная паста ПБК-26М |
г |
5 |
|
Припой: |
г |
|
|
ПОССу-30-2 |
|
3 |
|
ПОССу-40-2 |
|
10 |
|
Полиэтиленовая лента: |
г |
|
|
толщиной 0,1 мм и шириной 15 мм; |
|
60 |
|
толщиной 0,1 - 0,2 мм и шириной 20 мм |
|
60 |
|
Липкий полиизобутиленовый компаунд |
г |
150 |
|
Стеклолента |
г |
100 |
|
Бензин |
л |
1 |
|
Ветошь |
г |
50 |
|
Мыло хозяйственное |
г |
50 |
Таблица П28.7. Нормы расхода материалов на монтаж однопарных кабелей ПРППМ клеевым способом
|
Материал |
Единица измерения |
Расход материалов на 10 прямых муфт |
|
1 |
2 |
3 |
|
Канифоль |
г |
4 |
|
Припой ПОССу-40-2 |
г |
5 |
|
Полиэтиленовая лента толщиной 0,1 - 0,15 мм и шириной 15,0 мм |
г |
30 |
|
Липкий полиизобутиленовый компаунд |
г |
100 |
|
Поливинилхлоридная лента толщиной 0,15 - 0,25 мм и шириной 15 мм |
г |
45 |
|
Клеящий состав на основе: |
г |
|
|
метиленхлорида |
|
15 |
|
или циклогексанона |
|
0,1 |
|
Бензин |
л |
1 |
|
Ветошь |
г |
25 |
|
Мыло хозяйственное |
г |
50 |
Таблица П28.8. Нормы расхода материалов на монтаж кабелей с использованием стаканчиковых муфт битумного компаунда
|
Материал |
Единица измерения |
Количество материала |
||||||
|
На десять муфт кабеля |
На одну муфту кабеля ТППэп (ТППэпБ) емкостью, пар |
|||||||
|
ПРППМ |
КСПП, КСПЗП |
КСПЗПБ |
10 |
20 |
30 |
50 |
||
|
1 |
2 |
3 |
4 |
5 |
6 |
7 |
8 |
9 |
|
Полиэтиленовая муфта (заваренная с одной стороны трубка) |
шт. |
10 |
10 |
10 |
1 |
1 |
1 |
1 |
|
Паяльная паста ПБК-26 м* |
г |
- |
- |
- |
0,5 |
0,7 |
0,8 |
1,0 |
|
Припой: |
г |
|
|
|
|
|
|
|
|
ПОССу-40-2 |
|
5 |
10 |
10 |
- |
- |
- |
- |
|
ПОССу-30-2* |
|
- |
- |
30 |
3 |
4 |
4,5 |
5 |
|
Канифоль |
г |
2 |
4 |
4 |
- |
- |
- |
- |
|
Полиэтиленовые гильзы: |
шт. |
|
|
|
|
|
|
|
|
сквозные |
|
- |
- |
- |
21 |
42 |
63 |
105 |
|
тупиковые |
|
- |
40 |
40 |
- |
- |
- |
- |
|
Поливинилхлоридная липкая лента толщиной 0,15 мм |
г |
30 |
40 |
50 |
5 |
6 |
7 |
9 |
|
Битумный компаунд |
кг |
1,5 |
2,5 |
3,0 |
0,25 |
0,35 |
0,45 |
0,45 |
|
Ветошь |
г |
30 |
50 |
50 |
5 |
5 |
5 |
5 |
|
Бензин Б-70 |
л |
1 |
1,5 |
1,5 |
0,5 |
0,7 |
0,8 |
1 |
|
Стеклолента |
м |
- |
- |
- |
0,75 |
1,5 |
1,6 |
2 |
|
* Применяются для монтажа бронированных кабелей |
||||||||
Таблица П28.9. Основные материалы и детали, применяемые при монтаже одной тупиковой муфты герметиком ВИЛАД-31
|
Материалы и детали |
Единица измерения |
Тип муфты |
Количество материалов и деталей |
|
1 |
2 |
3 |
4 |
|
Корпус муфты: |
шт. |
|
1 |
|
- ТО-Э7.00.001 |
|
МТ 16 |
|
|
- ТО-Э7.00.001-01 |
|
МТ 36 |
1 |
|
- ТО-Э7.00.001-02 |
|
МТ 45 |
1 |
|
Полиэтиленовая трубка диаметром 2,8 мм, длиной 100 мм, при ручной скрутке |
шт. |
МТ 16 |
1 |
|
шт. |
МТ 36 |
4 |
|
|
Полиэтиленовая гильза ГП-1-0,5 при ручной скрутке |
шт. |
МТ 45 |
От 10 до 50 в зависимости от числа пар кабеля |
|
Соединитель UDW |
шт. |
МТ 16 |
2 |
|
|
МТ 36 |
4 |
|
|
Соединитель UY-2 |
шт. |
МТ 45 |
От 20 до 100 в зависимости от числа пар кабеля |
|
Герметики ВИЛАД А-31 и ВИЛАД Б-31 (для каждого герметика) |
г |
МТ 16 |
по 30 |
|
|
МТ 30 |
по 60 |
|
|
|
МТ 45 |
по 30 |
|
|
Пресс-клещи: |
шт. |
|
|
|
Е-9ВМ |
|
МТ 16, МТ 30 |
1 |
|
Е-9 |
|
МТ 45 |
1 |
Таблица П28.10. Нормы расхода заливочных масс на монтаж газонепроницаемых муфт кабелей
|
Число пар кабеля |
Тип массы |
|||||
|
ЭТЗК |
МКС-6 |
|||||
|
Расход массы, кг, для кабелей |
||||||
|
в полиэтиленовой оболочке марки ТПП |
в металлических оболочках с диаметром жил 0,5 мм |
|||||
|
Диаметром жил, мм |
Марки |
|||||
|
0,4 |
0,5 |
0,7 |
ТГ |
ТСтШп |
ТАШп |
|
|
1 |
2 |
3 |
4 |
5 |
6 |
7 |
|
100 |
0,3 |
0,45 |
0,7 |
0,7 |
1,0 |
1,0 |
|
150 |
0,45 |
0,45 |
1,0 |
0,7 |
1,0 |
- |
|
200 |
0,45 |
0,7 |
1,3 |
1,0 |
1,4 |
- |
|
300 |
0,7 |
1,0 |
2,3 |
1,0 |
2,0 |
- |
|
400 |
1,0 |
1,3 |
3,0 |
1,4 |
2,2 |
- |
|
500 |
1,3 |
2,3 |
3,0 |
1,4 |
2,9 |
- |
|
600 |
1,3 |
2,3 |
3,0 |
2,2 |
3,4 |
- |
|
700 |
- |
- |
- |
2,2 |
- |
- |
|
800 |
- |
- |
- |
2,9 |
- |
- |
|
900 |
- |
- |
- |
3,4 |
- |
- |
|
1000 |
- |
- |
- |
4,3 |
- |
- |
|
1200 |
- |
- |
- |
4,7 |
- |
- |
|
Примечание. Во всех случаях используется одна газонепроницаемая муфта: при монтаже кабелей ТПП - полиэтиленовая с двумя вентилями, при монтаже кабелей ТГ, ТСтШп и ТАШп - свинцовая с двумя патрубками. |
||||||
Таблица П28.11. Расход герметика ВИЛАД-51 для заливки газонепроницаемых муфт на кабелях марки ТППэп
|
Тип муфты |
Число пар кабеля при диаметре жил, мм |
Расход каждого из компонентов герметика: ВИЛАД А-31 и ВИЛАД Б-31, г |
|||
|
0,32 |
0,4 |
0,5 |
0,64 |
||
|
МГНМс 19/29 |
100 - 200 |
100 |
- |
- |
60 |
|
МГНМс 27/40 |
150 - 400 |
100 - 300 |
100 - 200 |
100 |
120 |
|
МГНМс 40/66 |
400 - 1400 |
300 - 1000 |
200 - 600 |
200 - 400 |
300 |
|
МГНМс 60/77 |
1200 - 2000 |
900 - 1200 |
600 - 900 |
400 - 500 |
450 |
Таблица П28.12. Комплектация оптических муфт типа МОГ
|
Количество, штук |
|||||
|
МОГ 16/1;1 |
МОГ 32/1;1 |
МОГР 32/1;3 |
МОГРу 32/2;3 |
МОГРт 32/3;0 |
|
|
1 |
2 |
3 |
4 |
5 |
6 |
|
Лоток ТО-У46.00.010 |
1 |
1 |
- |
- |
- |
|
Лоток ТО-У15.00.014 |
|
|
1 |
|
|
|
Лоток ТО-У31.00.010 |
|
|
|
1 |
|
|
Лоток ТО-У20.00.010 |
|
|
|
|
1 |
|
Конус ТО-У15.00.006 |
2 |
2 |
1 |
|
|
|
Оголовник ТО-У15.00.011 (на два ответвления) |
|
|
|
1 |
|
|
Оголовник ТО-У15.00.14 (на три ответвления) |
|
|
1 |
1 |
1 |
|
Труба ПВД 90 Л длиной 800 мм |
1 |
1 |
1 |
|
|
|
Труба ПВД 90 Л длиной 490 мм |
|
|
|
1 |
|
|
Труба ПВД 90 Л длиной 490 мм |
|
|
|
|
1 |
|
Кассета МОГ на 16 мест |
1 |
2 |
2 |
2 |
2 |
|
или кассета МОГ на 32 места |
|
1 |
1 |
1 |
1 |
|
Гильза защитная КДЗС |
20 |
36 |
36 |
36 |
36 |
|
Стяжка нейлоновая |
2 |
4 |
4 |
4 |
4 |
|
Хомут металлический автомобильный 18-25 |
2 |
2 |
4 |
5 |
3 |
|
Силикагель ТО-У15.00.020 |
1 |
1 |
1 |
1 |
1 |
|
Комплект маркеров для модулей |
1 |
1 |
1 |
1 |
1 |
|
Комплект маркеров для волокна |
1 |
1 |
1 |
1 |
1 |
|
Трубка ТУТ 100/50 или 110/45, отрезок длиной 110 мм |
2 |
2 |
2 |
2 |
2 |
|
Трубка ТУТ 35/15, отрезок длиной 150 мм |
2 |
2 |
4 |
5 |
3 |
|
Трубка ТУТ 24/10 или 20/10 или 24/12, отрезок длиной 110 мм |
2 |
2 |
4 |
5 |
3 |
|
Трубка ТУТ 19/8, отрезок длиной 60 мм |
2 |
2 |
4 |
5 |
3 |
|
Шкурка шлифовальная СФЖ 24 А ГОСТ 13344-79, шириной 20 мм, длиной 440 мм |
1 |
1 |
1 |
1 |
1 |
Примечание: Система маркировки муфт типа МОГ

Пример заказа:
Муфта МОГ 32/2; 3-Г
- муфта оптическая городская стандартного исполнения для монтажа ОК с числом ОВ до 32, с двумя входами и тремя выходами, герметизация стыков с применением нагрева.
При заказе желательно указывать марку (тип) оптического кабеля или наружный диаметр ОК.
Таблица П28.13. Комплектовочная ведомость на муфту разветвительную ММЗОК-32
|
Наименование |
Единица измерения |
Количество |
|
Муфта ММЗОК в сборе разветвительная |
шт. |
1 |
|
Емкость и палочка для размешивания герметика |
шт. |
1 |
|
Воронка АХП 7.800.030-01 МПС 7/13 |
шт. |
1 |
|
Пакет полиэтиленовый 300´270 мм |
шт. |
1 |
|
Пластилин |
г |
50 |
|
Комплект деталей для защиты мест сварки ОВ (КДЗС РФ 4.074.001 ТУ) |
шт. |
18 |
|
Стяжка нейлоновая неоткрывающаяся длиной 75 мм CCCV-0.75 |
шт. |
2 |
|
Трубки термоусаживаемые (ТУ 95.1613-87) ТУТ 40/17 длиной 40 мм |
шт. |
4 |
|
ТУТ 60/30 ... 60/25 длиной 180 мм |
шт. |
4 |
|
Герметик ВИЛАД (ТУ 2252-010-22736960-94): |
шт. |
|
|
компонент А-31 |
|
1 (120 г) |
|
компонент Б-31 |
|
1 (120 г) |
|
Силикагель ТО-У15.00.020 |
упак. |
1 |
|
Маркер модулей |
шт. |
1 |
|
Лента двухсторонняя, арт. 45-14 (1´50) |
мм |
200 |
|
Шкурка шлифовальная СФЖ-24А (ГОСТ 13334-79) толщиной 20 мм и длиной 440 мм |
шт. |
1 |
|
Перчатки резиновые (ГОСТ 20010-74) |
пара |
1 |
|
Автогерметик силиконовый |
упак. |
1 |
|
Комплектовочная ведомость |
шт. |
1 |
|
Ящик упаковочный |
шт. |
1 |
|
Штуцер (ТО-У40.00.040) на 5 муфт |
шт. |
1 |
|
Руководство (на 10 муфт) |
шт. |
1 |
Подпись упаковщика __________________________________________
Дата упаковки «__» ______________________________ 19__ г.
Таблица П28.14. Комплектовочная ведомость на муфту разветвительную МТОК-48Р
|
Единица измерения |
Количество |
|
|
Муфта МТОК в сборе (ТО-У47.00.000) |
шт. |
1 |
|
Воронка (АХП 7.800.030-01 МПС 7/13) |
шт. |
1 |
|
Пакет полиэтиленовый 100´50 мм |
шт. |
1 |
|
Пакет полиэтиленовый 220´110 мм |
шт. |
2 |
|
Стяжка нейлоновая |
шт. |
8 |
|
Гильза полиэтиленовая диаметром 2,8 мм и длиной 50 мм |
шт. |
16 |
|
Импортные ТУТ: |
|
|
|
ТУТ 35/12 длиной 100 мм |
шт. |
3 |
|
ТУТ 16/5 длиной 50 мм |
шт. |
3 |
|
ТУТ 170/58 длиной 150 мм |
шт. |
1 |
|
Компонент «ВИЛАД А-31» |
г |
300 |
|
Компонент «ВИЛАД Б-31» |
г |
300 |
|
Силикагель (ТО-У15.00.020) |
упак. |
1 |
|
Маркер для модулей |
шт. |
1 |
|
Шкурка шлифовальная СФЖ-24А (ГОСТ 13334-79) шириной 20 мм и длиной 440 мм |
шт. |
1 |
|
Перчатки резиновые (ГОСТ 20010-74) |
пара |
1 |
|
Герметик 2900 R шириной 20 мм (фирмы ЗМ) |
мм |
430 |
|
Ящик упаковочный |
шт. |
1 |
|
Винт 4´20-019 (ГОСТ 10621-80) |
шт. |
4 |
|
Пробка |
шт. |
1 |
Упаковку производил ________________________________
Дата упаковки «__» _______________________ 199__ г.
Таблица П28.15. Нормы расхода материалов для монтажа оптической муфты
|
ОСТ, ТУ, МРТУ |
Единица измерения |
Количество |
Назначение |
|
|
Бензин Б-70 или бензин-растворитель «Нефрас 50/170» |
ГОСТ 8505 |
л |
0,39 |
Протирка кабеля, удаление гидрофобного заполнителя с модулей и волокон |
|
Спирт-ректификат (на 8 волокон) |
ГОСТ 18300 |
г |
53 |
Протирка оптических волокон перед сваркой |
|
Ветошь протирочная |
ГОСТ 5354 |
г |
280 |
Протирка кабеля, модулей, деталей муфты и рук |
|
Тампон бязевый |
|
г |
1,6 |
Протирка оптических волокон |
|
Кольцо свинцовое нумерационное (или пластмассовая бирка) |
Чертеж изготовителя |
шт. |
1 |
Маркировка кабеля |
|
Провод медный диаметром 0,5 - 0,9 мм (кабельная жила) |
|
м |
1 |
Электрическое соединение металлических элементов кабелей в муфте |
|
Лента полиэтиленовая с липким слоем или изолента полихлорвиниловая |
м |
0,5 |
Для крепления петель запаса модулей и подмотки под нейлоновые стяжки и стальные хомуты |
|
|
Клей-расплав ГИПК 14-13 |
ТУ 6-05-251-99 |
г |
120 |
Для нанесения под трубки ТУТ и ленту РАДЛЕН |
|
Наименование |
Единица измерения |
Расход материалов на монтаж одного ОКУ, заряжаемого кабелем |
||||||||||||
|
в пластмассовой оболочке |
в свинцовой оболочке |
|||||||||||||
|
БКТ |
КРТ |
КРТП |
КРТН |
ЯКГ |
БКТ |
КРТ |
КРТП |
ЯКГ |
||||||
|
100´2 |
50´2 |
20´2 |
10´2 |
100´2 |
50´2 |
20´2 |
10´2 |
|||||||
|
1 |
2 |
3 |
4 |
5 |
6 |
7 |
8 |
9 |
10 |
11 |
12 |
13 |
14 |
15 |
|
Бензин |
л |
0,9 |
0,7 |
0,25 |
0,25 |
0,25 |
0,35 |
0,25 |
1,4 |
1,2 |
0,5 |
0,5 |
0,7 |
0,5 |
|
Ветошь |
кг |
0,1 |
- |
0,05 |
0,05 |
0,05 |
- |
- |
0,1 |
- |
0,05 |
0,05 |
- |
- |
|
Гильзы: |
шт. |
|
|
|
|
|
|
|
|
|
|
|
|
|
|
ПЭ |
|
210 |
105 |
21 |
21 |
- |
42 |
21 |
- |
- |
- |
- |
- |
- |
|
бумажные |
|
- |
- |
- |
- |
- |
- |
- |
210 |
105 |
21 |
21 |
42 |
21 |
|
Канифоль |
г |
15 |
10 |
10 |
10 |
10 |
10 |
5 |
15 |
10 |
10 |
10 |
10 |
5 |
|
Лак асфальтовый |
г |
70 |
40 |
10 |
10 |
10 |
15 |
10 |
70 |
40 |
10 |
10 |
15 |
10 |
|
Лента поливинилхлоридная |
г |
30 |
20 |
15 |
15 |
- |
15 |
- |
- |
- |
- |
- |
- |
- |
|
Масса кабельная: |
кг |
|
|
|
|
|
|
|
|
|
|
|
|
|
|
МКП |
|
- |
- |
- |
- |
- |
- |
- |
0,2 |
0,1 |
50 |
50 |
500 |
350 |
|
МКС-6 |
|
- |
- |
- |
- |
- |
- |
1 |
0,15 |
0,1 |
50 |
50 |
140 |
80 |
|
Мыло хозяйственное |
г |
10 |
- |
5 |
5 |
5 |
5 |
- |
10 |
- |
5 |
5 |
5 |
- |
|
Нитки суровые |
г |
10 |
6 |
2 |
2 |
2 |
2 |
1 |
10 |
6 |
2 |
2 |
2 |
1 |
|
Припой: |
г |
|
|
|
|
|
|
|
|
|
|
|
|
|
|
ПОССу-30-2 |
|
- |
- |
- |
- |
- |
- |
- |
80 |
50 |
16 |
16 |
30 |
20 |
|
ПОССу-40-2 |
|
10 |
8 |
3 |
3 |
3 |
6 |
3 |
10 |
8 |
3 |
3 |
6 |
3 |
|
Стеарин |
г |
- |
- |
- |
- |
- |
- |
- |
12 |
10 |
5 |
5 |
5 |
- |
|
Средства механизации |
Характеристика средств механизации |
|
1 |
2 |
|
Кабельная машина КМ-2М |
Максимально допустимое тяговое усилие лебедки - 19,6 кН Канатоемкость лебедки - 240 м Производительность насоса ВНМ-18 - 18 м3/ч при высоте всасывания - до 6 - 8 м Производительность вентилятора Ц-4-70 № 2,5 - 2000 м3/ч Производительность компрессора С-511 - 3 м3/ч |
|
Автокран КС-256Д |
Максимальная грузоподъемность - 6,3 т Минимальная грузоподъемность - 1,7 т Максимальный вылет стрелы - 7,0 м Минимальный вылет стрелы - 3,3 м Масса - 8900 кг Максимальная скорость передвижения - 75 км/ч |
|
Передвижная компрессорная станция ЗИФ-55 |
Приводной двигатель ЗИЛ-121 на двухосной тележке Производительность - 5 м3/мин Давление воздуха - 0,7 МПа (7 кгс/см2) Количество раздаточных вентилей - 5 Средний расход бензина - 16 кг/ч Транспортная скорость - 30 км/ч |
|
Телескопические вышки ТВ-5М |
Наибольшая высота подъема на базе ГАЗ-53 - 15 м Грузоподъемность корзины - 150 - 200 кг |
|
Кабельный транспортер ККТ-4 |
Грузоподъемность 4 т |
|
Максимальный диаметр барабана 2200 мм |
|
|
Преобразователь Д-564 |
Паропроизводительность 0,65 - 0,69 т/ч при давлении пара 0,981 МПа (9,81 кгс/см2) Температура насыщенного пара 183 °С |
|
Автопогрузчик 4045 |
Грузоподъемность: с крановой стрелой 3 т; на вилах - 5 т Емкость ковша 0,57 м3 Высота подъема: с крановой стрелой 5,15 м; на вилах - 4,2 т Наибольшая транспортная скорость - 35 км/ч Масса 5,65 т |
|
Экскаватор Э-153 А |
Емкость ковша 0,15 м3 Мощность двигателя трактора 48 л.с. Скорость передвижения 1,36 - 16,2 км/ч Масса экскаватора 5,1 т Ширина ковша 0,8 м Максимальная глубина копания 2,2 м |
|
Кабелеукладчик ЛПК-20-2 |
Число тракторов типа Т-100М - 2, 3 Категория грунта I - III Максимальная глубина прокладки 1,2 м Максимальный диаметр кабеля 28 мм Масса 3,5 т Максимальная скорость транспортирования - 8,33 м/с Число обслуживающего персонала - 2 чел. Число поставляемых ножей - 2 |
|
Насос «Гном»-10-10 |
Производительность - 10 м3/ч Диаметр напорного шланга - 50 мм Напор - 10 м Масса насоса 22 кг Электродвигатель - АОЛ2-12-2В Мощность - 1,1 Вт |
|
Ручные лебедки |
Скорость передвижения 30 км/ч Грузоподъемность Т-68 - 1 т; Т-69 - 3 т; Т-102 - 5 т; ЛР1-400 - 0,4 т Канатоемкость Т-68 - 150 м; Т-69 - 200 м; Т-102 - 220 м; Масса: Т-68 - 286 кг; Т-69 - 500 кг; Т-102 - 676 кг; ЛР1-400 - 12 кг |
|
Пневматический отбойный молоток МО-8П |
Мощность 1,1 л.с. Расход воздуха 1,25 л/мин Длина без пики - 490 мм Масса без пики 8,0 кг Работа единичного удара 3,0 кгс/м2 Число ударов в минуту 1600 Масса ударника 0,58 кг Прицепная компрессорная станция - ЗИФ-55 |
|
Ручной пневмобетонолом ИП-4602 (С-358) |
Давление сжатого воздуха 0,5 МПа (5 кгс/см2) Расход сжатого воздуха 1,6 м3/мин Энергия удара 8 кгс/м2 Число ударов в минуту 900 Ударная мощность 1,5 л.с. Длина 710 мм Масса без рабочего наконечника - 16 кг |
|
__________________________________________________________________________ (наименование предприятия связи) ПРЕДУПРЕЖДЕНИЕ № _____________________________________________________________________________ (наименование организации - производителя работ, Ф. И. О. водителя механизма) Кабельно-канализационный участок __________________________________________ (наименование предприятия связи) предупреждает, что на территории ____________________________________________ (строительства, предприятия и т.д.) проложена подземная кабельная канализация (кабель), точное расположение которой показано на плане (карте) Вашего проекта и на местности вне городской черты обозначено замерными столбиками, установленными ____________________ от кабеля (слева, справа) на расстоянии 1 м. Правилами охраны линий и сооружений связи для подземных кабельных сооружений связи на расстоянии 2 м с обеих сторон установлена охранная зона, в которой без ведома предприятия связи запрещается проводить какие-либо работы. При необходимости выполнения земляных работ в охранной зоне кабельных линий связи вы обязаны: получить от предприятия связи письменное согласие на выполнение подземных работ; сообщить предприятию связи конечный срок проведения работ и не менее чем за сутки вызвать на место работ его представителя; проинструктировать работников, непосредственно производящих земляные работы, о выполнении «Правил охраны линий и сооружений связи РФ», условиях производства работ и требованиях представителя предприятия связи по обеспечению сохранности линейно-кабельных сооружений связи; выполнять земляные работы в охранной зоне кабельных линий связи без применения землеройных механизмов - только ручным способом. Производство работ, связанное с подкопом под кабельную канализацию (кабель), без получения соответствующих указаний от представителя предприятия связи запрещается. За нарушение требований «Правил охраны линий и сооружений связи РФ» на виновных накладывается в административном порядке штраф и взыскиваются убытки, причиненные предприятию связи. По всем вопросам, касающимся производства земляных работ в охранной зоне подземных кабельных линий связи, следует обращаться по адресу: _________________ телефон № _____________. Предупреждение вручил: __________________________________________________ (должность и фамилия представителя предприятия связи) Предупреждение получил _________________________________________________ (должность и фамилия) Адрес и телефон предприятия (организации), получившего предупреждение. Дата вручения: _______________________________________ |
|
№ пп |
Наименование организации, ее адрес и № телефона |
Характер работ |
Срок действия разрешения |
Расписка работника по технадзору |
Примечание |
|
|
|
|
|
|
|
АКТ
|
АКТгор. _____________________________________________ «__» _______________ 19__ г. Мы, нижеподписавшиеся: представитель ______________________________________________________________ (наименование предприятия связи) и представитель_____________________________________________________________ (наименование строительной организации, должность и фамилия) составили настоящий акт о том, что на строительстве ____________________________ __________________________________________________________________________, (указать вид строительства и точный адрес) выполняемом ______________________________________________________________, (наименование строительной организации) в раскопку траншеи, котлована попадает кабельная канализация (подземный кабель) _ __________________________________________________________________________. (наименование предприятия владельца канализации (кабеля) Вскрытую канализацию (кабель) необходимо подвесить согласно техническим требованиям Госкомитета РФ по связи и информатизации. Для подвески требуются следующие материалы: ___________________________________________________________________________ ___________________________________________________________________________ ___________________________________________________________________________ ___________________________________________________________________________ ___________________________________________________________________________ Материалы и рабочую силу для подвески предоставляет ________________________ ___________________________________________________________________________ (наименование строительной организации) Технический надзор и выполнение специальных работ осуществляет _____________ ___________________________________________________________________________ (наименование предприятия связи) Порядок проведения ________________________________________________________ (наименование работ) _______________________ согласован и ________________________________________ (был, не был) (составлен, не составлен) акт приемки-сдачи обозначения трассы от _______________ № ____________________. Указанные работы проводились без письменного согласия ________________________ ___________________________________________________________________________ (наименование организации, эксплуатирующей кабельную линию связи) ___________________________________________________________________________ (с вызовом, или в отсутствие представителя владельца линии) Допущенный простой связей (в канало-часах, в телефоно-часах) ___________________ Причинен материальный ущерб (в тыс. руб.) ____________________________________ (если к моменту подписания акта ущерб подписан) Повреждение линейных сооружений допущено _______________________________ ___________________________________________________________________________ (заключение комиссии с указанием конкретных нарушений «Правил охраны ___________________________________________________________________________ линий и сооружений связи Российской Федерации») ___________________________________________________________________________ ___________________________________________________________________________ ___________________________________________________________________________ ___________________________________________________________________________ Место печати (подписи) |
|
Типы труб |
Минимальное расстояние от поверхности грунта (дорожного покрова) до верхней трубы (верха блока), м |
||
|
под пешеходной частью улицы |
под проезжей частью улицы |
под рельсовыми путями железных дорог, трамвая |
|
|
Асбестоцементные, полиэтиленовые, винипластовые и т.д. |
0,4 |
0,6 |
1,0 |
|
Бетонные, керамические |
0,5 |
0,7 |
1,0 |
|
Стальные (применяются в особых случаях) |
0,2 |
0,4 |
- |
|
Примечания: 1. Под железнодорожными, трамвайными путями минимальное расстояние определяется от подошвы рельса до верха труб. 2. При прокладке труб на меньшей глубине должна предусматриваться дополнительная механическая защита из железобетонных плит, слоя бетона и др. 3. Прокладка пластмассовых труб под рельсовыми путями железных дорог, трамвая и проезжей частью улиц без защитных кожухов запрещается. |
|||
Таблица П36.1. Для прямоугольных бетонных 1 - 3-канальных блоков или асбестоцементных с 2 - 6 каналами
|
Бетонная |
1-отверстная канализация |
2-отверстная канализация |
3-отверстная канализация |
|||||||||||||||
|
Асбестоцементная |
2-отверстная канализация |
4-отверстная канализация |
6-отверстная канализация |
|||||||||||||||
|
Длина подвески (ширина траншеи), м |
Деревянная балка |
Стальная двутавровая балка |
Деревянная балка |
Стальная двутавровая балка |
Деревянная балка |
Стальная двутавровая балка |
||||||||||||
|
прямоугольная |
круглая |
прямоугольная |
круглая |
прямоугольная |
круглая |
|||||||||||||
|
высота, см |
ширина, см |
диаметр, см |
длина, м |
номер балки |
длина, м |
высота, см |
ширина, см |
диаметр, см |
длина, м |
номер балки |
длина, м |
высота, см |
ширина, см |
диаметр, см |
длина, м |
номер балки |
длина, м |
|
|
1,00 |
9,2 |
6,6 |
11,7 |
3,0 |
- |
- |
11,2 |
8,0 |
13,7 |
3,00 |
- |
- |
12,5 |
9,0 |
15,5 |
3,00 |
- |
- |
|
1,25 |
11,5 |
8,2 |
14,1 |
3,25 |
- |
- |
13,9 |
9,9 |
17,0 |
3,25 |
- |
- |
15,5 |
11,1 |
19,0 |
3,25 |
- |
- |
|
1,50 |
13,2 |
9,4 |
16,2 |
3,50 |
- |
- |
15,8 |
11,3 |
19,4 |
3,50 |
10 |
4,00 |
17,9 |
12,8 |
22,0 |
3,30 |
- |
- |
|
1,75 |
14,6 |
10,3 |
17,7 |
3,75 |
- |
- |
17,4 |
12,4 |
21,4 |
3,75 |
10 |
4,25 |
19,7 |
14,1 |
24,2 |
3,75 |
12 |
4,25 |
|
2,00 |
15,5 |
11,1 |
19,0 |
4,0 |
10 |
4,50 |
18,8 |
13,4 |
23,1 |
4,00 |
12 |
4,50 |
21,2 |
15,2 |
26,0 |
4,00 |
14 |
4,50 |
|
2,25 |
16,6 |
11,9 |
20,2 |
4,25 |
10 |
4,75 |
20,0 |
14,3 |
24,3 |
4,25 |
12 |
4,75 |
- |
- |
- |
- |
16 |
4,75 |
|
2,50 |
17,8 |
12,5 |
21,6 |
4,50 |
12 |
5,00 |
- |
- |
- |
- |
14 |
5,00 |
- |
- |
- |
- |
16 |
5,00 |
|
2,75 |
18,4 |
13,2 |
22,8 |
4,75 |
12 |
5,25 |
- |
- |
- |
- |
14 |
5,25 |
- |
- |
- |
- |
18 |
5,25 |
|
3,00 |
19,1 |
13,6 |
23,6 |
5,00 |
12 |
5,50 |
- |
- |
- |
- |
16 |
5,50 |
- |
- |
- |
- |
18 |
5,50 |
|
3,25 |
19,9 |
14,3 |
25,3 |
5,25 |
14 |
5,75 |
- |
- |
- |
- |
16 |
5,75 |
- |
- |
- |
- |
20а |
5,75 |
|
3,50 |
- |
- |
- |
- |
14 |
6,00 |
- |
- |
- |
- |
18 |
6,00 |
- |
- |
- |
- |
20а |
6,00 |
|
3,75 |
- |
- |
- |
- |
14 |
6,25 |
- |
- |
- |
- |
18 |
6,25 |
- |
- |
- |
- |
20а |
6,25 |
|
4,00 |
- |
- |
- |
- |
14 |
6,50 |
- |
- |
- |
- |
18 |
6,50 |
- |
- |
- |
- |
20а |
6,50 |
|
На каждый метр длины |
2 хомута из 3-миллиметровой проволоки и по 4 витка в хомуте или 3 хомута из 3-миллиметр. проволоки по 3 витка в хомуте |
2 хомута из 3-миллиметровой проволоки по 8 витков в хомуте или 3 хомута из 3-миллиметр. проволоки по 5 витков в хомуте |
2 хомута из 5-миллиметровой проволоки по 4 витка в хомуте, или 2 хомута из 4-миллиметровой проволоки по 5 витков в хомуте или 3 хомута из 4-м. пров. по 4 витка в хомуте |
|||||||||||||||
Примечания для таблиц 1, 2 и 3: 1. Расчет произведен на глубину траншеи до подошвы бетонных труб. 2. При глубине траншеи ниже подошвы труб необходимо оставить распоры в траншее ниже телефонной канализации по 3 - 4 м в каждую сторону. 3. Если распоры не оставлены, необходимо вычислить длину подвески с учетом осадки краев траншеи до угла естественного откоса, принимаемого равным 45°, согласно формуле L = l + 2a, где L - необходимая длина подвески, l - ширина траншеи, a - углубление траншеи ниже подошвы телефонной канализации. 4. Под концы стальных балок необходимо подкладывать отрезки досок на ширину труб.
Таблица П36.2. Для прямоугольных бетонных блоков емкостью 4, 6 и 8 канала или асбестоцементных из 8 - 24 каналов
|
Бетонная |
4-отверстная (2 + 2) |
6-отверстная (3 + 3) |
8 - 12-отверствая (3 + 1) + (1 + 3) + (3 + 1) |
||||||||||||||||
|
Асбестоцементная |
8-отверстная |
12-отверстная |
16 - 24-отверстная канализация |
||||||||||||||||
|
Длина подвески (ширина траншеи), м |
Деревянная балка |
Стальная двутавровая балка |
Деревянная балка |
Стальная двутавровая балка |
Деревянная балка |
Стальная двутавровая балка |
|||||||||||||
|
прямоугольная |
круглая |
прямоугольная |
круглая |
прямоугольная |
круглая |
||||||||||||||
|
высота, см |
ширина, см |
диаметр, см |
длина, м |
номер балки |
длина, м |
высота, см |
ширина, см |
диаметр, см |
длина, м |
номер балки |
длина, м |
высота, см |
ширина, см |
диаметр, см |
длина, м |
номер балки |
длина, м |
||
|
1,00 |
11,2 |
8,0 |
14,1 |
3,00 |
- |
- |
12,7 |
9,1 |
15,7 |
3,00 |
- |
- |
14,1 |
10,1 |
17,3 |
3,00 |
- |
- |
|
|
1,25 |
14,0 |
10,0 |
17,2 |
3,25 |
- |
- |
15,8 |
11,3 |
19,5 |
3,25 |
- |
- |
17,6 |
12,3 |
21,3 |
3,25 |
10 |
3,75 |
|
|
1,50 |
15,9 |
11,3 |
19,5 |
3,50 |
10 |
4,0 |
18,0 |
12,9 |
22,2 |
3,50 |
- |
- |
20,2 |
14,4 |
24,3 |
3,50 |
12 |
4,00 |
|
|
1,75 |
17,5 |
12,5 |
20,8 |
3,75 |
10 |
4,25 |
19,8 |
14,1 |
24,2 |
3,75 |
12 |
4,25 |
- |
- |
- |
- |
14 |
4,25 |
|
|
2,00 |
18,9 |
13,5 |
23,0 |
4,00 |
12 |
4,50 |
21,4 |
15,3 |
26,3 |
4,00 |
14 |
4,50 |
- |
- |
- |
- |
16 |
4,50 |
|
|
2,25 |
20,2 |
14,4 |
24,7 |
4,25 |
14 |
4,75 |
- |
- |
- |
- |
16 |
4,75 |
- |
- |
- |
- |
18 |
4,75 |
|
|
2,50 |
- |
- |
- |
- |
14 |
5,00 |
- |
- |
- |
- |
16 |
5,00 |
- |
- |
- |
- |
18 |
5,00 |
|
|
2,75 |
- |
- |
- |
- |
14 |
5,25 |
- |
- |
- |
- |
18 |
5,25 |
- |
- |
- |
- |
20а |
5,25 |
|
|
3,00 |
- |
- |
- |
- |
16 |
5,50 |
- |
- |
- |
- |
18 |
5,50 |
- |
- |
- |
- |
20б |
5,50 |
|
|
3,25 |
- |
- |
- |
- |
16 |
5,75 |
- |
- |
- |
- |
20а |
5,75 |
- |
- |
- |
- |
22а |
5,75 |
|
|
3,50 |
- |
- |
- |
- |
18 |
6,00 |
- |
- |
- |
- |
20а |
6,00 |
- |
- |
- |
- |
22а |
6,00 |
|
|
3,75 |
- |
- |
- |
- |
18 |
6,25 |
- |
- |
- |
- |
20а |
6,25 |
- |
- |
- |
- |
24а |
6,25 |
|
|
4,00 |
- |
- |
- |
- |
18 |
6,50 |
- |
- |
- |
- |
20а |
6,50 |
- |
- |
- |
- |
24а |
6,50 |
|
|
На каждый метр длины |
3 хомута из 4-миллиметровой проволоки по 3 витка в хомуте или 2 хомута из 4-миллиметровой проволоки по 5 витков в хомуте |
3 хомута из 4-миллиметровой проволоки по 4 витка в хомуте или 2 хомута из 4-миллиметровой проволоки по 6 витков в хомуте |
3 хомута из 5-миллмметровой проволоки по 4 витка в хомуте или 2 хомута из 5-миллиметровой проволоки по 6 витков в хомуте |
||||||||||||||||
ГОСТ 22498-88. Кабели городские телефонные с полиэтиленовой изоляцией в пластмассовой оболочке. Технические условия.
ТУ АХЦ 3550.00.00-95. Кабели телефонные с пленко-пористой полиэтиленовой изоляцией жил, полиэтиленовой оболочкой и гидрофобным заполнением для местных сетей связи. Технические условия.
ТУ 16.К71-008-87. Кабели связи телефонные с воздушно-бумажной изоляцией. Технические условия.
ТУ 16.К71-007-87. Кабели местной телефонной связи малопарные. Технические условия.
ТУ 16.К71-061-89. Кабели местной связи высокочастотные. Технические условия.
ТУ 16.К78-03-88. Кабели связи низкочастотные с кордельно-бумажной изоляцией. Технические условия.
ГОСТ 15125-92. Кабели связи симметричные высокочастотные с кордельно-полистирольной изоляцией. Технические условия.
ТУ 3587-004-13173860-95. Кабели связи оптические для прокладки в грунте и кабельной канализации. Технические условия.
ТУ 16.К71-80-90. Кабели оптические для городских линии связи ЕАСС на длине волны 1,3 мкм. Технические условия.
ТУ 16.К12-13-95. Кабели оптические для городских линий связи. Технические условия.
ТУ 16.К12-14-96. Кабели связи оптические междугородные и зоновые. Технические условия.
ТУ 3587-006-05755714-96. Кабели связи оптические. Технические условия.
ТУ 16.705.450-87. Кабели телефонные связи и радиофикации однопарные. Технические условия.
ТУ 16.К71-005-87. Кабели телефонные станционные. Технические условия.
ТУ 16-505758-75. Кабели симметричные станционные для межстоечного и внутристанционного монтажа. Технические условия.
ТУ 16.К03-01-87. Провода трансляционные с пластмассовой изоляцией. Технические условия.
ТУ 16.К45-001-87. Провода телефонные линейные с поливинилхлоридной изоляцией. Технические условия.
ТУ 16.К71-80-90. Провод кроссовый станционный с изоляцией из поливинилхлоридного пластиката. Технические условия.
ТУ 16.К04-005-89. Провода телефонные распределительные однопарные. Технические условия.
ТУ 45-85 6е3.622.134 ТУ. Шкафы телефонные распределительные наружной установки типа ШР-600М и ШР-1200М. Технические условия.
ТУ 45-89 2ДО.362.030 ТУ. Шкафы телефонные распределительные типов ШРП-600, ШРП-300М и ШРП-1200М. Технические условия.
ТУ 45-76 6е3.622.047 ТУ. Шкаф телефонный распределительный ШРП-150. Технические условия.
ТУ 45-87.700.368.002 ТУ. Шкафы кабельные междугородные ШКМ. Технические условия.
52.9625-007-04604025-96 ТУ. Распределительные шкафы типа ССС. Технические условия.
ТУ 45-76 2д3.622.136 ТУ. Пробка распределительная телефонная КРТН-10. Технические условия.
ТУ 45-86 6е0.362.016 ТУ. Коробки распределительные телефонные КРТ-10, КРТУ-10 и КРТП-10. Технические условия.
ЦВИЯ 468.622.001 ТУ. Коробки распределительные телефонные. Технические условия.
ЮШИГ 468-243.001 ТУ. Ящики кабельные телефонные ЯК-10, ЯК-20. Технические условия.
ТУ 45-96 8а0.362.001 ТУ. Устройства кабельные для городской и сельской связи УКС. Технические условия.
ТУ 45-86 6е0.014 ТУ. Устройства кабельные для городской и сельской связи УКС. Технические условия.
ТУ 45-86 6е0.362.010 ТУ. Устройства оконечные кабельные переходные УКП. Технические условия.
ТУ 36.22.22-005-87. Боксы кабельные телефонные БКТП. Технические условия.
ТУ 45-88 6е0.362.015 ТУ. Боксы кабельные телефонные БКТ. Технические условия.
ТУ 45-80 6е0.352.004 ТУ. Боксы кабельные телефонные междугородные. Технические условия.
ТУ 45-88 АХП 3.656.046 ТУ. Плинт городской телефонный. Технические условия.
ТУ 45-88 6е0.364.003 ТУ. Плинты кабельные телефонные. Технические условия.
ТУ 36.22.22.026-92. Плинт коммутируемый односторонний ПКО 10´2. Технические условия.
ТУ 45.1416-83. Устройства смотровые кабельной канализации связи ККС. Технические условия.
ГОСТ 1839-80. Трубы и муфты асбестоцементные безнапорные.
Инструкция по проектированию линейно-кабельных сооружений связи. ВСН-116-93. М., Радио и связь, 1993.
Отраслевые строительно-технологические нормы на монтаж сооружений и устройств связи, радиовещания и телевидения.
ОСТН 600-93. М., Радио и связь, 1993.
Инструкция о порядке учета заявлений о повреждениях и устранении повреждений на сельских телефонных сетях. М., Связь, 1979.
Инструкция о порядке устранения повреждений и учета заявлений, поступающих в бюро ремонта (ЦБР) на местных телефонных сетях. М., 1994.
Руководство по электрическим измерениям линий сельских телефонных сетей. М., Связь, 1977.
Руководство по измерениям характеристик линий городских телефонных сетей в процессе эксплуатации. 1997 г.
Руководство по строительству линейных сооружений местных сетей связи. М., АООТ «ССКТБ-ТОМАСС», 1995.
Правила охраны линий и сооружений связи Российской Федерации. М., 1995.
Правила по охране труда при работах на кабельных линиях связи и проводного вещания (радиофикации). ПОТ РО-45-005-95. М., 1996.
Правила технического обслуживания и ремонта линий кабельных, воздушных и смешанных местных сетей связи. М.: ЦНТИ «Информсвязь», 1996.
Правила технического обслуживания и ремонта линейных сооружений и оконечных устройств абонентских пунктов местных сетей связи. М.: ЦНТИ «Информсвязь», 1996.
ОСТ 45.36-97. Линии кабельные, воздушные и смешанные ГГС. Нормы электрические эксплуатационные.
ОСТ 45.82-97. Линии кабельные абонентские ГТС. Нормы эксплуатационные.
ОСТ 45.83-97. Линии абонентские СТО. Нормы эксплуатационные.
ГОСТ Р50-889-96. Сооружения местных телефонных сетей линейные. Термины и определения.
Руководство по монтажу малогабаритных газонепроницаемых муфт на кабеле ТПП, заливаемых саморасширяющимся полиуретановым герметиком ВИЛАД-31. М., 1993.
Временное руководство по монтажу тупиковых муфт герметиком ВИЛАД-31 М., 1995.
Руководство по монтажу соединительных муфт и оконечных кабельных устройств на кабелях с гидрофобным заполнением для местных сетей связи. М., 1997.
СОДЕРЖАНИЕ