
ГОСУДАРСТВЕННЫЙ СТАНДАРТ СОЮЗА ССР
СОЕДИНЕНИЯ И
ИЗДЕЛИЯ
СО СТАБИЛЬНЫМИ ИЗОТОПАМИ
ПРИЕМКА, МАРКИРОВКА, УПАКОВКА,
ТРАНСПОРТИРОВАНИЕ И ХРАНЕНИЕ
ГОСТ 27206-87
ИПК ИЗДАТЕЛЬСТВО СТАНДАРТОВ
Москва
ГОСУДАРСТВЕННЫЙ СТАНДАРТ СОЮЗА ССР
|
СОЕДИНЕНИЯ И ИЗДЕЛИЯ Приемка, маркировка, упаковка, транспортирование и хранение Stable isotope compounds and products. Acceptance, marking, packing, transportation and storage |
ГОСТ |
Дата введения 01.07.88
Настоящий стандарт распространяется на соединения и изделия со стабильными изотопами, изготовляемые для нужд народного хозяйства и экспорта и устанавливает требования к приемке, маркировке, упаковке, транспортированию и хранению.
Термины и их определения - по ГОСТ 26335.
1.1. Соединения и изделия со стабильными изотопами (далее - продукция) принимают партиями.
1.2. Партией считают количество продукции, массой не более 10 кг, однородное по своим показателям качества и оформленное одним документом о качестве.
1.3. Для продукции, поставляемой массой свыше 2 кг, отбирают среднюю пробу в количестве, достаточном для получения лабораторной и контрольной проб.
Лабораторную пробу передают для проведения анализа. Контрольную пробу хранят на предприятии-изготовителе не менее 6 мес. По истечении установленного срока хранения при отсутствии рекламаций контрольную пробу возвращают на переработку.
1.4. Для продукции, поставляемой массой менее 2 кг, отбирают только лабораторную пробу.
1.5. При получении неудовлетворительных результатов анализа хотя бы по одному показателю качества в соответствии с ГОСТ 4.410 проводят повторный анализ вновь отобранной пробы.
Результаты повторного анализа являются окончательными, распространяются на всю партию. При получении положительных результатов партия считается годной. При получении отрицательных результатов партию возвращают на переработку и разрабатывают мероприятия по выявлению и устранению причин несоответствия требованиям нормативно-технической документации.
1.6. Входной контроль продукции потребитель проводит по показателям качества, указанным в прилагаемом к ней документе о качестве (паспорте).
2.1. На каждой единице потребительской тары должна быть наклеена этикетка, на которой указывают:
наименование поставщика;
наименование продукции конкретного вида и ее химическую формулу;
массу нетто;
номер партии;
дату изготовления;
показатели качества;
номер паспорта;
гарантийный срок хранения;
код в соответствии с отраслевым разделом Общесоюзного классификатора промышленной и сельскохозяйственной продукции (Изотопная продукция. Том 2);
штамп технического контроля;
обозначение соответствующей нормативно-технической документации (НТД) на продукцию конкретного вида.
2.2. На пробирках, ампулах и других видах потребительской тары малой вместимости, массой продукции от 10 до 100 г, допускается наклеивать этикетку, на которой указывают:
наименование продукции:
массу нетто;
номер паспорта;
номер партии.
2.3. На пробирках, ампулах малой вместимости с массой продукции менее 10 г допускается наклеивать этикетку, на которой указывают:
наименование продукции;
массу нетто;
номер паспорта.
2.4. Требования к маркировке груза
2.4.1. Транспортная маркировка - по ГОСТ 14192, с нанесением знаков опасности по ГОСТ 19433. Манипуляционные знаки, знаки опасности, а также способы нанесения маркировки должны быть приведены в НТД на продукцию конкретного вида.
2.4.2. В транспортную тару вместе с продукцией вкладывают один экземпляр паспорта (для экспортных поставок - паспорт и упаковочный лист), в котором указывают:
наименование продукции и ее химическую формулу;
показатели качества продукции в соответствии с НТД на продукцию конкретного вида;
массу нетто, брутто;
номер паспорта;
гарантийный срок хранения;
дату изготовления;
вид потребительской тары и число единиц в упаковке;
номер товаросопроводительной накладной;
обозначение соответствующей НТД на продукцию конкретного вида.
2.4.3. Транспортная маркировка грузов, предназначенных для экспорта, должна соответствовать ГОСТ 14192 и требованиям заказа-наряда внешнеторговой организации.
3.1. Вид потребительской тары, используемой для фасовки и упаковывания продукции, следует выбирать в зависимости от физико-химических свойств, агрегатного состояния, группы фасовки и других особенностей продукции.
3.3. Твердую продукцию упаковывают в:
запаянные ампулы из стекла марки ХС1 или ТХС1 по ГОСТ 21400 (черт. 1);
пробирки с притертой пробкой из стекла ХС1 или ТХС1 по ГОСТ 21400 (черт. 2; 3);
банки с навинчивающейся крышкой из фторопласта по ГОСТ 10007, полиэтилена по ГОСТ 16338-85, полистирола по ГОСТ 20282-86 или органического стекла по ГОСТ 17622 (черт. 4);
банки 2-1, 2т-1 по ГОСТ 3885 вместимостью 25; 50; 100; 250; 500 см3;
банки 2-4, 2т-4 по ГОСТ 3885 вместимостью 50; 100; 250; 500 см3;
Запаянная ампула
Размеры, мм
|
Вместимость, см3 |
D1 |
D2 |
L |
|
5 |
8 |
12 |
100 |
|
10 |
23 |
25 |
24 |
|
30 |
28 |
30 |
49 |
|
23 |
25 |
72 |
|
|
50 |
28 |
30 |
81 |
|
23 |
25 |
120 |
|
|
100 |
40 |
42 |
80 |
|
28 |
30 |
162 |
|
|
250 |
41 |
45 |
189 |
|
36 |
40 |
246 |
|
|
500 |
56 |
60 |
203 |
|
45 |
50 |
301 |
Черт. 1
Пробирка с притертой пробкой
Размеры, мм
|
Вместимость, см3 |
d |
R |
H |
Обозначение конуса |
|
10 |
15 |
7,5 |
60 |
12/H |
|
30 |
15 |
7,5 |
170 |
12/H |
|
18 |
9,0 |
116 |
14/H |
|
|
50 |
30 |
15,0 |
72 |
45/H |
Черт. 2
Пробирка с наружным шлифом
Размеры, мм
|
Вместимость, см3 |
d |
R |
Н |
|
10 |
15 |
7,5 |
60 |
|
30 |
15 - 20 |
7,5 - 10,0 |
60 - 80 |
|
50 |
30 |
7,5 - 15,0 |
72 - 90 |
|
100 |
30 |
7,5 - 15,0 |
110 - 140 |
Черт. 3
Банка с навинчивающейся крышкой
Размеры, мм
|
Вместимость, см3 |
D1 |
D2 |
D3 |
|
50 |
48 |
56 |
75 |
|
100 |
67 |
75 |
95 |
|
200 |
95 |
105 |
125 |
|
300 |
117 |
125 |
145 |
|
400 |
135 |
145 |
160 |
|
500 |
150 |
160 |
180 |
Черт. 4
банки 2-9 по ГОСТ 3885 вместимостью 50; 100; 250; 500; 1000; 5000; 10000 см3;
банки с навинчивающейся крышкой (черт. 5);
пакеты 6-1 по ГОСТ 3885;
фляги и канистры 9-1 по ГОСТ 3885 вместимостью 3000; 5000; 10000 см3;
мешки 11-1 по ГОСТ 3885 вместимостью не более 16 кг;
мешки вместимостью 1000; 5000 см3 из полиэтилена по ГОСТ 16338 (черт. 6).
(Измененная редакция, Изм. № 1).
3.4. Жидкую продукцию упаковывают в:
запаянные ампулы из стекла ХС1 или ТХС1 по ГОСТ 21400 (черт. 1, 7, 8, 8а);
склянки 3-1, 3т-1 по ГОСТ 3885 вместимостью 50; 100; 250; 500 см3;
Банки с навинчивающейся крышкой
Размеры, мм
|
Вместимость, см3 |
D |
d1 |
d2 |
H |
H1 |
H2 |
h |
R |
Материал |
|
10000 |
200 |
57 |
54 |
423 |
382 |
335 |
25 |
20 |
Полиэтилен по ГОСТ 16338-85 |
|
5000 |
186 |
70 |
57 |
307 |
258 |
200 |
42 |
20 |
|
|
1000 |
103 |
74 |
56 |
198 |
147 |
132 |
34 |
5 |
|
|
500 |
82 |
56 |
44 |
158 |
140 |
117 |
18 |
20 |
|
|
250 |
66 |
56 |
43 |
115 |
95 |
85 |
22 |
5 |
|
|
1000 |
103 |
69 |
60 |
192 |
165 |
147 |
18 |
10 |
Стекло ХС1, ТХС1 по ГОСТ 21400-75 |
|
500 |
85 |
58 |
50 |
157 |
132 |
113 |
18 |
10 |
|
|
250 |
68 |
47 |
37 |
125 |
100 |
90 |
20 |
10 |
|
|
100 |
52 |
46 |
37 |
93 |
70 |
60 |
18 |
10 |
|
|
50 |
41 |
32 |
26 |
86 |
62 |
55 |
18 |
10 |
Черт. 5
Полиэтиленовый мешок
Размеры, мм
|
Вместимость, см3 |
D |
Н |
|
1000 |
120 |
220 |
|
5000 |
250 |
400 |
Черт. 6
Запаянная ампула с разбивающимся вентилем
Размеры, мм
|
Вместимость, см3 |
H |
D |
R |
|
50 |
195 |
35 |
17,5 |
|
100 |
215 |
40 |
20,0 |
Черт. 7
Ампула запаянная
Размеры, мм
|
Вместимость, см3 |
d |
|
100 |
60 |
|
250 |
85 |
|
500 |
135 |
Черт. 8
Ампула запаянная
Размеры, мм
|
Вместимость, см3 |
D |
H |
|
500 |
105±20 |
250±10 |
|
800 |
125±5,0 |
270±10 |
|
1000 |
131±3,0 |
300±10 |
|
1300 |
136±3,0 |
305±10 |
Черт. 8а
склянки 3-5, 3т-5 по ГОСТ 3885 вместимостью 50; 100; 250; 500 см3;
флаконы 4-2, 4т-2 по ГОСТ 3885 вместимостью 50; 100 см3;
флаконы из стекла ХС1 или ТХС1 по ГОСТ 21400 с полиэтиленовой пробкой (черт. 9);
флаконы из полиэтилена по ГОСТ 16338-85 с навинчивающейся крышкой и вкладышем (черт. 10);
бутыли из стекла ХС1 или ТХС1 по ГОСТ 21400 с навинчивающейся крышкой (черт. 11);
бутыли 8-1 и 8-5 по ГОСТ 3885 вместимостью от 2 до 25 дм3;
канистры 9-1 по ГОСТ 3885 вместимостью 5000; 10000 см3;
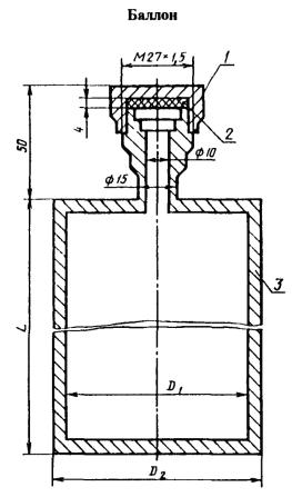
баллоны из коррозионно-стойкой стали 12Х18Н10Т по ГОСТ 5632 (черт. 12).
(Измененная редакция, Изм. № 1).
3.5. Газообразную продукцию упаковывают в:
ампулы по ГОСТ 23644;
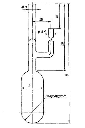
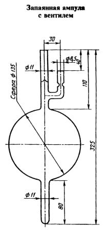
запаянные ампулы с разбивающимся вентилем вместимостью до 1100 см3 из стекла ХС1 или ТХС1 по ГОСТ 21400 (черт. 13, 14);
баллоны по ГОСТ 949 вместимостью от 0,4 до 8 дм3 на давление 9,8×106; 14,7·106; 19,6·106 Па из легированной или углеродистой стали;
3.6. Массу продукции определяют с погрешностью по ГОСТ 3885.
3.7. Тара из стекла не должна иметь видимых невооруженным глазом инородных включений, трещин, воздушных пузырьков, сколов.
3.8. Потребительская тара, воронки, шпатели и т.д., применяемые для фасовки продукции, должны быть чистыми и сухими.
При фасовке твердой продукции потребительская тара должна быть заполнена не более 95 % объема, для жидкой - необходимо оставлять свободное пространство (недолив), при котором жидкость не будет полностью заполнять емкость при температуре 55 °С.
Размеры, мм
|
Вместимость, см3 |
D |
H |
h1 |
|
10 |
25 |
40 |
20 |
|
50 |
40 |
60 |
40 |
|
100 |
45 |
90 |
65 |
Черт. 9
Размеры, мм
|
Вместимость, см3 |
D |
Н |
H1 |
|
50 |
40 |
60 |
40 |
|
100 |
50 |
90 |
50 |
|
250 |
65 |
130 |
75 |
|
500 |
80 |
150 |
100 |
|
1000 |
90 |
200 |
160 |
Черт. 10
Размеры, мм
|
Вместимость, см3 |
D |
Н |
H1 |
|
250 |
55 |
130 |
105 |
|
500 |
70 |
150 |
130 |
|
1000 |
90 |
180 |
160 |
|
5000 |
140 |
350 |
325 |
|
10000 |
180 |
420 |
395 |
Черт. 11
1 - колпачок; 2 - прокладка фторопластовая; 3 - корпус
Размеры, мм
|
вместимость, см3 |
L |
D1 |
D2 |
|
250 |
155 |
50 |
60 |
|
500 |
190 |
60 |
70 |
|
1000 |
235 |
80 |
90 |
Черт. 12
Черт. 13
Черт. 14
3.10. Пломбирование продукции проводят на потребительской таре, за исключением запаянных ампул.
3.11. Баллоны, предназначенные для перевозки грузов, должны быть определенной окраски с нанесенными полосами и надписями разных цветов в соответствии с требованиями «Правил устройства и безопасной эксплуатации сосудов, работающих под давлением», утвержденных Госгортехнадзором СССР 10.05.70.
3.12. Потребительскую тару, за исключением баллонов, канистр, фляг и мешков, помещают в пенопластовый амортизатор или карболитовый контейнер с уплотняющим материалом (черт. 15), изготавливаемый по НТД, утвержденной в установленном порядке, затем в транспортную тару - ящики по ГОСТ 5959 из фанеры толщиной не менее 3 мм.
1 - крышка; 2 - контейнер
Размеры, мм
|
Исполнение |
L |
l |
Н |
|
1 |
130 |
122 |
70 |
|
2 |
170 |
162 |
110 |
Черт. 15
Баллоны, канистры, фляги, метки упаковывают в фанерные ящики по ГОСТ 5959. Свободное пространство в ящиках следует заполнять прокладочным материалом. Размеры ящиков выбирают в соответствии с размерами потребительской тары. Ящики для баллонов обивают по торцам стальной лентой.
Потребительская тара должна быть плотной, прочной, исправной, тщательно укупоренной, не иметь следов течи и обеспечивать сохранность продукции при транспортировании.
Допускается использовать в качестве амортизатора любой уплотняющий материал, обеспечивающий требования хранения и транспортирования, указанные в НТД на продукцию конкретного вида.
4.1. Продукцию транспортируют как опасные или неопасные химические реактивы транспортом всех видов в соответствии с правилами перевозки грузов, действующими на транспорте данного вида.
Наличие стабильных изотопов дополнительных требований на условия транспортирования не накладывает.
4.2. Железнодорожным транспортом груз перевозят мелкими отправками (одно грузовое место в адрес грузополучателя).
5.1. Условия и сроки хранения продукции определяются действующими НТД на продукцию конкретного вида.
Наличие стабильных изотопов дополнительных требований на условия и сроки хранения не накладывает.
(Измененная редакция, Изм. № 1).
1. РАЗРАБОТАН И ВНЕСЕН Министерством атомной энергии Российской Федерации
РАЗРАБОТЧИКИ
З.Н. Морчиладзе; В.А. Пурцхванидзе (руководители темы); Л.П. Трыкова; Ю.И. Ломтадзе
2. УТВЕРЖДЕН И ВВЕДЕН В ДЕЙСТВИЕ Постановлением Государственного комитета СССР по стандартам от 10.02.86 № 215
3. ВВЕДЕН ВПЕРВЫЕ
4. ССЫЛОЧНЫЕ НОРМАТИВНО-ТЕХНИЧЕСКИЕ ДОКУМЕНТЫ
|
Обозначение НТД, на который дана ссылка |
Номер пункта, подпункта, перечисления, приложения |
|
ГОСТ 4.410-86 |
|
|
ГОСТ 3885-73 |
|
|
ГОСТ 5959-80 |
|
|
ГОСТ 8682-70 |
|
|
ГОСТ 14192-77 |
2.4.1, 3.4.3 |
|
ГОСТ 20282-86 |
|
|
ГОСТ 21400-75 |
|
|
Вводная часть |
5. Ограничение срока действия снято Постановлением Госстандарта от 13.08.92 № 972
6. ПЕРЕИЗДАНИЕ (январь 1997 г.) с Изменением № 1, утвержденным в августе 1992 г. (ИУС 11-92)
СОДЕРЖАНИЕ