ФЕДЕРАЛЬНОЕ
АГЕНТСТВО
ПО ТЕХНИЧЕСКОМУ РЕГУЛИРОВАНИЮ И МЕТРОЛОГИИ
|
|
НАЦИОНАЛЬНЫЙ |
ГОСТ Р ИСО |
Статистические методы
ПРОЦЕДУРЫ ВЫБОРОЧНОГО КОНТРОЛЯ
ПО АЛЬТЕРНАТИВНОМУ ПРИЗНАКУ
Часть 3
Контроль с пропуском партий
ISO 2859-3:2005
Sampling procedures for inspection by attributes - Part 3: Skip-lot sampling
procedures
(IDT)
|
|
Москва Стандартинформ 2010 |
Цели и принципы стандартизации в Российской Федерации установлены Федеральным законом от 27 декабря 2002 г. № 184-ФЗ «О техническом регулировании», а правила применения национальных стандартов Российской Федерации - ГОСТ Р 1.0-2004 «Стандартизация в Российской Федерации. Основные положения»
Сведения о стандарте
1 ПОДГОТОВЛЕН Автономной некоммерческой организацией «Научно-исследовательский центр контроля и диагностики технических систем» (АНО «НИЦ КД») на основе собственного аутентичного перевода стандарта, указанного в пункте 4
2 ВНЕСЕН Техническим комитетом по стандартизации ТК 125 «Статистические методы в управлении качеством продукции»
3 УТВЕРЖДЕН И ВВЕДЕН В ДЕЙСТВИЕ Приказом Федерального агентства по техническому регулированию и метрологии от 7 декабря 2009 г. № 582-ст
4 Настоящий стандарт идентичен международному стандарту ИСО 2859-3:2005 «Процедуры выборочного контроля по альтернативному признаку. Часть 3. Выборочный контроль с пропуском партий» (ISO 2859-3:2005 «Sampling procedures for inspection by attributes - Part 3: Skip-lot sampling procedures»).
Наименование настоящего стандарта изменено относительно наименования указанного международного стандарта для приведения в соответствие с ГОСТ Р 1.5-2004 (подраздел 3.5).
При применении настоящего стандарта рекомендуется использовать вместо ссылочных международных стандартов соответствующие им национальные стандарты Российской Федерации и межгосударственные стандарты, сведения о которых приведены в дополнительном приложении ДА
5 ВЗАМЕН ГОСТ Р 50779.73-99 (ИСО 2859.3-91)
Информация об изменениях к настоящему стандарту публикуется в ежегодно издаваемом информационном указателе «Национальные стандарты», а текст изменений и поправок - в ежемесячно издаваемых информационных указателях «Национальные стандарты». В случае пересмотра (замены) или отмены настоящего стандарта соответствующее уведомление будет опубликовано в ежемесячно издаваемом информационном указателе «Национальные стандарты». Соответствующая информация, уведомление и тексты размещаются также в информационной системе общего пользования - на официальном сайте Федерального агентства по техническому регулированию и метрологии в сети Интернет
Содержание
ГОСТ Р ИСО 2859-3-2009
НАЦИОНАЛЬНЫЙ СТАНДАРТ РОССИЙСКОЙ ФЕДЕРАЦИИ
Статистические методы
ПРОЦЕДУРЫ ВЫБОРОЧНОГО КОНТРОЛЯ ПО АЛЬТЕРНАТИВНОМУ ПРИЗНАКУ
Часть 3
Контроль с пропуском партий
Statistical methods. Sampling procedures for
inspection by attributes. Part 3.
Skip-lot sampling procedures
Дата введения - 2010-12-01
Настоящий стандарт устанавливает процедуры выборочного контроля с пропуском партий для приемочного контроля по альтернативному признаку. Эти процедуры позволяют сократить затраты на проведение контроля продукции высокого качества, представленной поставщиком, у которого имеется эффективная система обеспечения и контроля качества продукции. Сокращения времени и затрат на проведение контроля продукции достигают путем определения с заданной вероятностью возможности приемки представленной партии без контроля. Данная процедура распространяет принцип случайного отбора единиц продукции в выборку, примененный в ИСО 2859-1, на случайный отбор партий.
Процедуры выборочного контроля с пропуском партий, установленные в настоящем стандарте, применимы к перечисленным ниже объектам, но не ограничиваются этим перечнем;
a) единицы продукции или их части;
b) детали, сборочные единицы, сырье и материалы;
c) материалы в процессе производства.
В настоящем стандарте использованы нормативные ссылки на следующие стандарты:
ИСО 2859-1:1999 Процедуры выборочного контроля по альтернативному признаку. Часть 1. Планы выборочного контроля последовательных партий на основе приемлемого уровня качества AQL (ISO 2859-1:1999 Sampling procedures for inspection by attributes. Part 1. Sampling schemes indexed by acceptance quality limit (AQL) for lot-by-lot inspection)
ИСО 3534-1 Статистика. Словарь и условные обозначения. Часть 1. Общие статистические термины и термины, используемые в вероятностных задачах (ISO 3534-1, Statistics - Vocabulary and symbols - Part 1: Probability and general statistical terms)
ИСО 3534-2 Статистика. Словарь и условные обозначения. Часть 2. Прикладная статистика (ISO 3534-2, Statistics - Vocabulary and symbols - Part 2: Applied statistics)
3.1 Термины и определения
В настоящем стандарте применены термины по ИСО 2859-1, ИСО 3534-1, ИСО 3534-2, а также следующие термины с соответствующими определениями.
3.1.1 непрерывное производство (continuous production): Производство, которое функционирует с постоянной интенсивностью.
Примечание - Производство считают непрерывным, если оно функционирует в течение указанного периода с указанной интенсивностью (см. 5.2.1). Непрерывное производство считают фактором стабильности производственного процесса или набора процессов.
3.1.2 дисквалификация (disqualification): Лишение права применять выборочный контроль с пропуском партий (3.1.11).
3.1.3 контролирующая организация (inspection agency): Независимая третья сторона, имеющая полномочия для проведения контроля партии и квалификации продукции.
3.1.4 частота контроля (inspection frequency): Вероятность того, что партия будет подвергнута контролю.
Примечание - В настоящем стандарте для частоты контроля установлены значения 1/2, 1/3, 1/4 и 1/5.
3.1.5 прерывание (interruption): Прекращение выборочного контроля с пропуском партий (3.1.11), завершающееся возвращением к выборочному контролю с пропуском партий или переключением на контроль последовательных партий.
3.1.6 контроль последовательных партий (lot-by-lot inspection): Контроль продукции, представляемой в сериях партий.
Примечание 1 - В соответствии с настоящим стандартом выборку (или выборки) отбирают из каждой партии и контролируют, применяя процедуры статистического приемочного контроля по альтернативному признаку, установленные в ИСО 2859-1.
Примечание 2 - В соответствии с настоящим стандартом контроль последовательных партий используют как в состоянии 1 (период квалификации), так и в состоянии 3 (прерывание контроля с пропуском партий) (см. 5.1).
3.1.7 квалификация продукции (product qualification): Определение возможности применения к продукции выборочного контроля с пропуском партий (3.1.11).
3.1.8 квалификационное значение (qualification score): Общее количество в истории контроля качества принятых в соответствии с установленными правилами (3.1.9) решений относительно квалификации, изменения частоты контроля (3.1.4), прерывания (3.1.5), дисквалификации (3.1.2) и повторной квалификации продукции для применения контроля с пропуском партий.
3.1.9 повторная квалификация (requalification): Принятие решения о возможности возобновления выборочного контроля с пропуском партий (3.1.11).
3.1.10 уполномоченная сторона (responsible authority): Лицо или группа лиц, имеющих права и полномочия управления системами контроля.
Примечание - В настоящем стандарте уполномоченная сторона имеет права и полномочия для проверки и подтверждения квалификации поставщика и решения в соответствии с установленными критериями о переключении на другие виды контроля.
3.1.11 выборочный контроль с пропуском партий (skip-lot sampling inspection): Процедура выборочного контроля, при которой некоторое количество партий в серии принимают без контроля, если результаты выборочного контроля установленного количества ближайших последних партий соответствуют установленным критериям.
Примечание - Партии для контроля выбирают случайным образом в соответствии с установленной частотой контроля с пропуском партий. Например, частота контроля с пропуском одной партии из двух означает, что за длительный период средняя доля контролируемых партий составляет 1/2.
3.1.12 квалификация поставщика (supplier qualification): Анализ возможности применения поставщиком выборочного контроля с пропуском партий (3.1.11).
3.2 Обозначения
В настоящем стандарте применены следующие обозначения:
Ас - приемочное число;
Ас0 - приемочное число для соответствующего одноступенчатого плана;
Ас1 - первое приемочное число (для двухступенчатого или многоступенчатого плана выборочного контроля);
Ас2 - второе приемочное число (для двухступенчатого или многоступенчатого плана выборочного контроля);
d - число несоответствующих единиц продукции или несоответствий в выборке;
k - количество партий, используемых для задания частоты контроля (например, 1 из k или 1/k);
n - объем выборки.
4.1 Контроль с пропуском партий может быть применен только при наличии квалификации поставщика и продукции. Требования к квалификации поставщика и продукции установлены в разделе 5.
4.2 Настоящий стандарт дополняет ИСО 2859-1 и может быть использован вместе с ним. Если иначе не установлено, в настоящем стандарте должны быть применены условия ИСО 2859-1. В ИСО 2859-10 приведена полезная информация относительно использования стандартов серии ИСО 2859.
Примечание - Процедуры выборочного контроля с пропуском партий, установленные в настоящем стандарте, следует отличать от планов выборочного контроля с пропуском партий.
4.3 Процедуры выборочного контроля с пропуском партий, установленные в настоящем стандарте, предназначены только для непрерывной серии партий и не должны быть использованы для отдельных партий. Стандарт предполагает, что все партии в серии имеют аналогичное качество, и есть основание считать, что неконтролируемые партии имеют такое же качество, как и контролируемые.
4.4 Контроль с пропуском партий может быть использован вместо ослабленного контроля, если это более эффективно по затратам (см. 9.2 и приложение С), но их применение и правила переключения различны (см. ИСО 2859-1).
4.5 Существуют некоторые ограничения в использовании выборочного контроля с пропуском партий (см. 9.1).
4.6 Если для двух или большего количества классов несоответствующих единиц продукции или несоответствий установлены различные значения предельно допустимого уровня несоответствий AQL, настоящий стандарт следует применять с особой осторожностью (см. 5.2.2 - 6.6 и 10.2).
4.7 Контроль может проводиться у поставщика или потребителя или между производственными операциями.
4.8 Поскольку для каждой продукции существуют свои условия применения и характеристики качества, стандарт изложен так, чтобы поставщик и уполномоченная сторона могли выбрать варианты, соответствующие особенностям продукции и условиям ее применения. Выбранный вариант и его адаптация должны быть зафиксированы в соответствующей документации.
4.9 В соответствии с решением потребителя ссылки на настоящий стандарт могут быть сделаны в контракте, технических требованиях, инструкциях по проведению контроля и других документах, предусмотренных договором.
4.10 Уполномоченная сторона и контролирующая организация должны быть назначены в одном из вышеупомянутых документов. Настоящий стандарт предполагает, что контроль партии, квалификацию продукции и поставщика проводит контролирующая организация как независимая сторона. Однако потребитель может провести и то, и другое. В этом случае необходимо заменить термин «контролирующая организация» на «контроль потребителя» или «квалификационная группа» (см. 5.1.2, 5.2.3 и разделы 7 и 8).
Поставщик должен:
а) иметь и поддерживать в рабочем состоянии документированную систему менеджмента качества, позволяющую управлять качеством продукции. Предполагается, что эта система включает контроль поставщиком каждой партии и регистрацию результатов контроля.
b) установить систему, позволяющую выявлять и корректировать изменения уровня качества и контролировать изменения процесса, которые могут неблагоприятно влиять на качество продукции. Персонал поставщика, ответственный за применение системы, должен продемонстрировать четкое понимание применяемых стандартов, систем и процедур.
c) не вносить изменений, неблагоприятно влияющих на качество продукции.
5.1.2 Процедура квалификации поставщика*
Для проведения квалификации к поставщику должна быть направлена квалификационная группа. Рекомендации по проведению квалификации контролирующей организацией, функциям и обязанностям квалификационной группы приведены в разделе 8.
*В результате успешной квалификации поставщик получает одобрение и приобретает статус «одобренного поставщика» (право на проведение контроля с пропуском партий).
Если квалификацию поставщика проводит потребитель, функции и обязанности квалификационной группы аналогичны работе контролирующей организации.
Если поставщик прошел процедуру квалификации и получил одобрение для другой аналогичной продукции, уполномоченная сторона может учесть это при проведении его квалификации.
Уполномоченная сторона должна определить, имеет ли поставщик право на контроль с пропуском партий (см. 8.2).
Оценка и регистрация поставщика в соответствии с ИСО 9001, проводимые третьей стороной, должны включать решение о применимости контроля с пропуском партий.
5.1.3 Верификация одобрения поставщика
Одобрение поставщика необходимо подтверждать с частотой, согласованной с поставщиком и уполномоченной стороной. Цель верификации состоит в том, чтобы определить, сохраняет ли поставщик способность выполнять процедуры управления качеством.
Метод верификации аналогичен методу квалификации, но может быть упрощен так, чтобы его мог выполнить один инспектор вместо группы (см. 8.2).
5.2.1 Общие требования к квалификации продукции
Для получения одобрения продукция должна удовлетворять приведенным ниже требованиям:
a) Продукция должна иметь неизменную конструкцию.
b) Продукция не должна иметь критических классов несоответствующих единиц продукции и несоответствий.
c) Для продукции должен быть установлен AQL (один или несколько) со значением не выше 0,025 %. Установленный уровень контроля должен быть стандартным - I, II или III (см. ИСО 2859-1).
d) Продукция должна подвергаться нормальному или ослабленному контролю или комбинации нормального и ослабленного контроля (см. ИСО 2859-1) в процессе квалификации. Продукция, проходящая в процессе квалификации усиленный контроль, не подходит для контроля с пропуском партий.
e) Продукция должна быть изготовлена в условиях непрерывного производства в течение указанного периода с указанной интенсивностью производства.
Минимальные период и интенсивность производства должны быть установлены на основе соглашения между поставщиком и уполномоченной стороной (см. приложение А).
Если минимальный период производства не установлен, он должен составлять 6 месяцев. Если процесс квалификации не завершен, в минимальный период производства должен быть включен только период времени после получения одобрения и возобновления производства.
Если минимальная интенсивность производства не установлена, то она должна составлять единицу в месяц, т.е., по крайней мере, одна партия в месяц должна быть представлена на контроль.
Аналогичная продукция, отправленная другим потребителям, может быть рассмотрена при определении непрерывности производства по согласованию поставщика и уполномоченной стороны.
f) По согласованию между поставщиком и уполномоченной стороной продукция должна иметь уровень несоответствий не выше AQL (см. ИСО 2859-1) в период стабильности. Если такой период не установлен, то он должен составлять 6 месяцев.
5.2.2 Установленные требования к квалификации продукции
5.2.2.1 Установленные требования к квалификации продукции предусматривают выполнение следующих критериев:
a) принято не менее 10 последних партий при первом предъявлении (термин «при первом предъявлении на контроль» означает, что результаты повторно представленных на контроль партий не учитывают);
b) квалификационное значение (см. 5.3) достигло или превышает 50 для 20 последовательных партий (если период квалификации превышает 20 партий, следует использовать квалификационное значение повторно, вычисленное для последних 20 партий).
5.2.2.2 Применение планов выборочного контроля имеет следующие ограничения:
a) не следует использовать планы выборочного контроля с дробными приемочными числами (см. ИСО 2859-1, раздел 13);
b) многоступенчатые планы выборочного контроля могут быть использованы, только если первое приемочное число является целым числом.
5.2.3 Процедура квалификации продукции*
Квалификацию продукции не следует проводить до квалификации поставщика, но можно проводить одновременно.
Квалификацию продукции должны проводить квалификационная группа, инспектор или контролирующая организация. Типичный пример квалификации продукции, выполняемой контролирующей организацией с описанием ее функций, обязанностей и процедуры квалификации, приведен в разделе 8 и приложении А.
Если квалификацию продукции проводит потребитель, функции и обязанности квалификационной группы или инспектора аналогичны квалификации контролирующей организации. Уполномоченная сторона после анализа результатов оценки должна определить, имеет ли продукция право на контроль с пропуском партий (см. 8.3). Квалификацию для одобрения продукции необходимо выполнять даже при наличии у поставщика системы менеджмента качества, соответствующей требованиям ИСО 9001.
*В результате успешной квалификации продукция приобретает статус «одобрения продукции».
5.2.4 Верификация одобрения продукции
Одобрение продукции должно быть подтверждено с периодичностью, согласованной поставщиком и уполномоченной стороной. Цель верификации состоит в том, чтобы определить, продолжают ли выполняться необходимые процедуры управления качеством продукции. Верификация одобрения продукции должна быть выполнена одновременно с верификацией одобрения поставщика.
Метод верификации одобрения продукции подобен методу квалификации, но может быть упрощен (см. 8.3).
5.3.1 Общие положения
Квалификационное значение используют не только при квалификации продукции и поставщика, но также и для принятия решений об изменении частоты контроля, прерывания контроля с пропуском партий, повторной квалификации и дисквалификации. Приведенные в настоящем разделе правила должны быть выполнены одинаково в каждом случае.
В случае контроля для несоответствий на 100 единиц продукции термин «несоответствующая единица продукции» в приведенных правилах необходимо заменить на термин «несоответствие».
5.3.2 Одноступенчатые планы при нормальном контроле
Правила изменения квалификационных значений для одноступенчатых планов при нормальном контроле изложены в перечислениях а) - d):
a) Планы выборочного контроля с Ас > 3:
- если партия была принята с AQL на два шага более жестким, к квалификационному значению прибавляют 5;
- если партия была принята c AQL на один шаг более жестким, а на два шага - нет, к квалификационному значению прибавляют 3;
- в других случаях квалификационное значение приравнивают к нулю.
b) План выборочного контроля с Ас = 2:
- если партия принята и в выборке не обнаружено несоответствующих единиц продукции, к квалификационному значению прибавляют 5;
- если партия принята и в выборке обнаружена одна несоответствующая единица продукции, к квалификационному значению прибавляют 3;
- во всех остальных случаях квалификационное значение приравнивают к нулю.
c) План выборочного контроля с Ас = 1:
- если партия принята и в выборке не обнаружено несоответствующих единиц продукции, к квалификационному значению прибавляют 5;
- если партия принята и в выборке обнаружена одна несоответствующая единица продукции, к квалификационному значению прибавляют 1;
- во всех остальных случаях квалификационное значение приравнивают к нулю.
d) План выборочного контроля с Ас = 0:
- если партия принята, к квалификационному значению прибавляют 3;
- в противном случае квалификационное значение приравнивают к нулю.
5.3.3 Двухступенчатые планы при нормальном контроле
Правила изменения квалификационного значения для двухступенчатых планов выборочного контроля при нормальном контроле изложены в перечислениях а) - b):
a) Планы выборочного контроля с Ас1 > 1:
- если партия была бы принята после контроля первой выборки с AQL на один шаг более жестким, к квалификационному значению прибавляют 5;
- если партия принята после контроля выборки, но не была принята с AQL на один шаг более жестким, к квалификационному значению прибавляют 3;
- во всех остальных случаях квалификационное значение приравнивают к нулю.
b) План выборочного контроля с Ас1 = 0, Ас2 = 1 или 3 [Ас0 = 1 или 2]:
- если партия принята и в выборке не обнаружено несоответствующих единиц продукции, к квалификационному значению прибавляют 5;
- если партия принята и в совокупной выборке обнаружена одна несоответствующая единица продукции, к квалификационному значению прибавляют 1;
- во всех остальных случаях квалификационное значение приравнивают к нулю.
5.3.4 Многоступенчатые планы при нормальном контроле
Правила изменений квалификационных значений для многоступенчатых планов выборочного контроля при нормальном контроле:
- если партия принята после контроля выборки, к квалификационному значению прибавляют 5;
- если партия принята после второй или третьей выборки, к квалификационному значению прибавляют 3;
- во всех остальных случаях квалификационное значение приравнивают к нулю. Многоступенчатые планы выборочного контроля допустимо использовать только с Ас1 > 0.
5.3.5 Планы выборочного контроля при ослабленном контроле
5.3.5.1 Для всех планов выборочного контроля (одноступенчатых и многоступенчатых) при ослабленном контроле необходимо применять соответствующие правила, предназначенные для нормального контроля, за исключением следующих изменений при увеличении квалификационного значения:
- 5 при нормальном контроле необходимо заменить на 3 при ослабленном контроле;
- 3 при нормальном контроле необходимо заменить на 1 при ослабленном контроле.
5.3.5.2 Таким образом, правила изменения квалификационного значения для одноступенчатых планов при ослабленном контроле с Ас = 3 следующие:
- если партия была бы принята с AQL на два шага более жестким, к квалификационному значению прибавляют 3;
- если партия была бы принята с AQL на один шаг более жестким, а на два шага - нет, к квалификационному значению прибавляют 1;
- во всех остальных случаях квалификационное значение приравнивают к нулю.
Примечание - При ослабленном контроле для квалификации необходимо не менее 17 партий. Для одноступенчатых планов при ослабленном контроле с Ас = 0 увеличение квалификационного значения составляет 1 на партию и никогда не достигнет 50, если партий не более двадцати [см. 5.2.2 b)].
5.3.6 Обнуление квалификационного значения
Если происходит любое из следующих событий, квалификационное значение приравнивают к нулю:
- любое переключение, кроме переключения с нормального на ослабленный контроль;
- любое изменение статуса (одобрение, повторное одобрение или дисквалификация);
- любое изменение частоты контроля.
5.4 Пример квалификации продукции
Пример 1 - В период одобрения продукции применяют нормальный или ослабленный контроль или комбинацию нормального и ослабленного контроля по ИСО 2859-1 [см. 5.2.1 d)]. Изготовитель, имеющий статус одобрения поставщика, производит конденсаторы, которые удовлетворяют общим требованиям 5.2.1 а) - d). Кроме того:
- требования непрерывности производства удовлетворены [см. 5.2.1 е)];
- задан AQL = 0,65% несоответствующих единиц продукции;
- согласованный период стабильности производства составляет 4 месяца [см. 5.2.1 f)];
- 14 предыдущих партий были приняты при первоначальном нормальном контроле в течение прошлых 7 месяцев;
- результаты контроля этих партий приведены в таблице 1.
Квалификационное значение превышает 50 при контроле менее 20 партий. Таким образом, продукция удовлетворяет критерию 5.2.2. Общие требования 5.2.1 d) выполнены, поскольку период производства (7 месяцев) превышает установленный период стабильности (4 месяца). Продукция пригодна для контроля с пропуском партий после завершения уполномоченной стороной процедуры квалификации.
Таблица 1 - Пример 1. Результаты контроля
|
Номер партии |
п |
Ас |
d |
Решение (приемка, отклонение) |
Квалификационное значение после проведения контроля |
|
|
прибавляемое значение |
результат |
|||||
|
1 |
80 |
1 |
1 |
» |
(+1) |
1 |
|
2 |
80 |
1 |
0 |
» |
(+5) |
6 |
|
3 |
125 |
2 |
2 |
» |
(сброс) |
0 |
|
4 |
125 |
2 |
1 |
» |
(+3) |
3 |
|
5 |
125 |
2 |
0 |
» |
(+5) |
8 |
|
6 |
80 |
1 |
0 |
» |
(+5) |
13 |
|
7 |
125 |
2 |
0 |
» |
(+5) |
18 |
|
8 |
125 |
2 |
0 |
» |
(+5) |
23 |
|
9 |
200 |
3 |
1 |
» |
(+5) |
28 |
|
10 |
200 |
3 |
1 |
» |
(+5) |
33 |
|
11 |
200 |
3 |
0 |
» |
(+5) |
38 |
|
12 |
200 |
3 |
2 |
» |
(+3) |
41 |
|
13 |
200 |
3 |
0 |
» |
(+5) |
46 |
|
14 |
200 |
3 |
0 |
» |
(+5) |
51 |
6.1 Общие положения
6.1.1 Период контроля с пропуском партий
Если поставщик и продукция пригодны для контроля с пропуском партий и период квалификации завершен, то начинается период контроля с пропуском партий. Применимые планы выборочного контроля, отбор партии и выполняемые в этот период процедуры контроля с пропуском партий описаны в 6.4.
6.1.2 Схема процедуры выборочного контроля с пропуском партий
Блок-схема процедуры контроля с пропуском партий, установленная в настоящем стандарте, приведена на рисунке 1.
Процедура контроля имеет три базовых состояния:
a) состояние 1 - контроль последовательных партий (период квалификации);
b) состояние 2 - контроль с пропуском партий (период контроля с пропуском партий);
c) состояние 3 - прерывание контроля с пропуском партий (период контроля с пропуском партий, при котором временно возвращен контроль последовательных партий).
Процедуры контроля продукции с пропуском партий начинают в состоянии 1 (период квалификации), когда применяют контроль последовательных партий. Если поставщик и продукция признаны пригодными для контроля с пропуском партий в соответствии с 5.1 и 5.2, процедура контроля переходит в состояние 2 (состояние контроля с пропуском партий).

Рисунок 1 - Блок-схема процедуры контроля с пропуском партий
В состоянии 2 необходимо определить начальную частоту контроля (см. 6.2 и рисунок 2). В состоянии 2 частота контроля может быть изменена (см. 6.3 и рисунок 3).
В состоянии 2 контроль с пропуском партий может быть временно прерван (см. 6.5), что приводит к переходу в состояние 3 (прерывание контроля с пропуском партий). В состоянии 3 продукция может быть повторно квалифицирована при менее жестких условиях (см. 6.6) с возвращением контроля в состояние 2 (контроль с пропуском партий).
В состояниях 2 и 3 продукция может быть дисквалифицирована (см. 6.7) и контроль переходит обратно в состояние 1 (контроль последовательных партий). В этом случае для возвращения к контролю с пропуском партий продукция должна пройти повторную квалификацию и получить одобрение.
6.2 Определение начальной частоты контроля
6.2.1 Начальная частота контроля
Установленные значения начальной частоты контроля для состояния 2 (контроль с пропуском партий):
а) 1 партия из 2 представленных (1 из 2, т.е. 1/2);
b) 1 партия из 3 представленных (1 из 3, т.е. 1/3);
c) 1 партия из 4 представленных (1 из 4, т.е. 1/4).
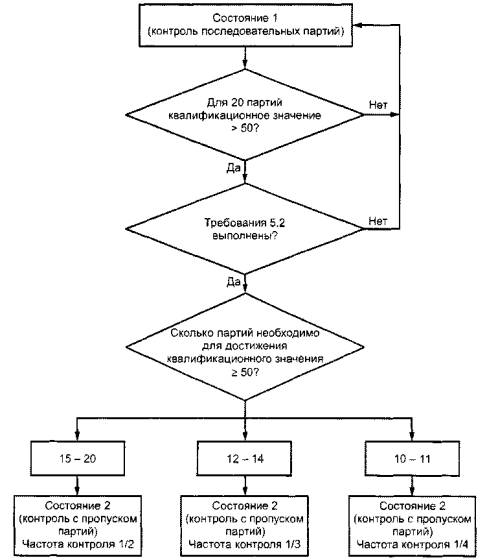
6.2.2 Определение начальной частоты контроля
На рисунке 2 приведена блок-схема определения начальной частоты контроля с пропуском партий. Количество партий, необходимое для квалификации, должно быть использовано для определения начальной частоты контроля. Для квалификации должно быть использовано не более 20 партий.

Рисунок 2 - Блок-схема определения начальной частоты контроля
Если для квалификации необходимо 10 или 11 партий, то начальная частота контроля составляет 1 из 4 (1/4).
Если для квалификации необходимо 12-14 партий, то начальная частота контроля составляет 1 из 3 (1/3).
Если для квалификации необходимо 15-20 партий, то начальная частота контроля составляет 1 из 2 (1/2).
6.2.3 Примеры определения начальной частоты контроля
Пример 2 является продолжением примера из 5.4.
Пример 2 - Для квалификации необходимо 14 партий. Следовательно, начальная частота контроля составляет 1 из 3. Если выполнены действия по улучшению качества продукции после контроля третьей партии, то количество партий, необходимых для одобрения, становится равным 11 и уполномоченная сторона может определить начальную частоту контроля 1 из 4.
6.3 Изменение частоты контроля
6.3.1 Частота контроля
Установленные значения частоты контроля для состояния 2 (контроль с пропуском партий):
a) 1 партия из 2 представленных (1 из 2, т.е. 1/2);
b) 1 партия из 3 представленных (1 из 3, т.е. 1/3);
c) 1 партия из 4 представленных (1 из 4, т.е. 1/4);
d) 1 партия из 5 представленных (1 из 5, т.е. 1/5).
6.3.2 Сокращение частоты контроля
В состоянии 2 (контроль с пропуском партий), если все приведенные ниже условия выполнены, значение частоты контроля может быть изменено на следующее меньшее по величине (например, с 1/3 на 1/4), кроме ситуации, когда частота контроля равна 1/5.
Условия сокращения частоты контроля:
a) 10 или более последовательных партий были приняты во время текущего состояния 2 (контроль с пропуском партий) после первого одобрения, изменения частоты контроля или повторного одобрения;
b) квалификационное значение составляет не менее 50 в пределах 20 последовательных партий;
c) уполномоченная сторона одобряет изменение частоты контроля.
В состоянии 2 квалификационное значение должно быть увеличено или приравнено к нулю только после контроля партий. Если различные значения AQL установлены для двух или более классов несоответствующих единиц продукции или несоответствий, то перечисленные выше условия должны быть выполнены во всех классах.
На рисунке 3 приведена блок-схема процедуры изменения частоты контроля и прерывания контроля с пропуском партий (см. также 6.5).
6.3.3 Переход к следующей более высокой частоте контроля
В состоянии 2 (контроль с пропуском партий), если квалификационное значение не достигло 50 в пределах 20 последовательных партий при первом одобрении, изменении частоты контроля или повторном одобрении, значение частоты контроля должно быть изменено на следующее более высокое значение (например, 1/4 на 1/3), кроме ситуации, когда текущая частота контроля составляет 1 из 2 (см. 6.6).
6.3.4 Пример перехода к следующей более низкой частоте контроля
Пример является продолжением примеров из 5.4 и 6.2.3.

Рисунок 3 - Блок-схема изменения частоты контроля, прерывания контроля с пропуском партий и дисквалификации
Пример 3 - В период контроля с пропуском партий применен нормальный контроль по ИСО 2859-1. Начальная частота контроля 1 из 3. Проконтролировано и принято 14 партий. Результаты контроля приведены в таблице 2.
Таблица 2 - Пример 3. Результаты контроля
|
Номер партии |
п |
Ас |
d |
Решение (приемка, отклонение) |
Квалификационное значение |
|
|
прибавляемое значение |
значение после проведения контроля |
|||||
|
15 |
125 |
2 |
0 |
» |
(+5) |
5 |
|
16 |
125 |
2 |
0 |
» |
(+5) |
10 |
|
17 |
200 |
3 |
0 |
» |
(+5) |
15 |
|
18 |
200 |
3 |
1 |
» |
(+5) |
20 |
|
19 |
200 |
3 |
0 |
» |
(+5) |
25 |
|
20 |
200 |
3 |
2 |
» |
(+3) |
28 |
|
21 |
315 |
5 |
0 |
» |
(+5) |
33 |
|
22 |
315 |
5 |
3 |
» |
(+3) |
36 |
|
23 |
315 |
5 |
1 |
» |
(+5) |
41 |
|
24 |
315 |
5 |
2 |
» |
(+5) |
46 |
|
25 |
315 |
5 |
0 |
» |
(+5) |
51 |
Примечание - В период выборочного контроля с пропуском партий применены планы нормального контроля по ИСО 2859-1.
Квалификационное значение превышает 50 в пределах 20 партий и условие 6.3.2 выполнено без прерываний. Поэтому частота контроля может быть изменена на 1 из 4 при одобрении уполномоченной стороной.
6.4 Планы выборочного контроля выбора партии и процедуры контроля (состояния 2 и 3)
6.4.1 Планы выборочного контроля (состояния 2 и 3)
В период контроля с пропуском партий планы выборочного контроля отдельных партий приведены в ИСО 2859-1, таблице 2-А (одноступенчатые планы), таблице 3-А (двухступенчатые планы выборочного контроля) или таблице 4-А (многоступенчатые планы выборочного контроля) для указанного AQL при нормальном контроле.
Одноступенчатые планы с Ас = 0 не рекомендуются для использования в период контроля с пропуском партий из-за их неадекватных характеристик переключения. Вместо них следует использовать планы с Ас = 1 (см. приложение С). Если для одного из AQL используют план выборочного контроля с Ас = 0, должны быть сделаны специальные заметки для соответствующих характеристик переключения. Планы выборочного контроля с дробными приемочными числами не могут быть использованы. Многоступенчатые планы выборочного контроля допустимы только в случае, когда имеется первое приемочное число.
6.4.2 Отбор партии и процедуры контроля (состояния 2 и 3)
Партия для контроля с пропуском партий (состояние 2) должна быть отобрана в соответствии с установленной процедурой для случайного отбора партии (см. приложение В). В состоянии 2 партии должны быть отобраны для контроля с вероятностью, равной текущей частоте контроля (1/k). Поставщик не должен знать, какая партия будет проконтролирована до ее представления на приемочный контроль.
Однако хотя бы одна партия должна быть проверена в период, согласованный поставщиком и уполномоченной стороной. Если такой период не определен, то он должен составлять 2 месяца.
6.4.3 Процедуры контроля (состояния 2 и 3)
Средний объем партии, представленной на контроль в состоянии 2 и состоянии 3 (состояние прерывания контроля с пропуском партии), должен быть приблизительно таким же, как средний объем партии в состоянии 1 (период квалификации).
Предполагается, что система обеспечения качества поставщика включает внутренний контроль каждой изготовленной партии и регистрацию результатов контроля. Эти результаты для всех партий (включая неконтролируемые партии) должны быть доступны уполномоченной стороне и/или контролирующей организации.
При контроле с пропуском партий необходимо вести отчет о количестве проконтролированных единиц продукции и количестве несоответствующих единиц продукции или несоответствий, обнаруженных в каждой выборке для всех партий во время внутреннего контроля поставщика в состояниях 2 и 3.
Приемка или не приемка партий, которые поставщик оценил как неприемлемые при внутреннем контроле, не должны влиять на статус состояния контроля с пропуском партий. Например, уполномоченная сторона может принять партию после доработки без приемочного контроля или после приемочного контроля. В процедурах настоящего стандарта результатами внутреннего и приемочного контроля в отдельных случаях можно пренебречь, так как они являются результатами повторного контроля партий.
6.5 Прерывание контроля с пропуском партий
6.5.1 Процедуры прерывания контроля с пропуском партий
Контроль с пропуском партий при первом предъявлении в состоянии 2 (контроль с пропуском партий) должен быть прерван и временно применен контроль последовательных партий, если выполняется хотя бы одно из следующих условий:
a) последняя проверенная партия отклонена (квалификационное значение приравнено к нулю);
b) последняя проверенная партия принята, но квалификационное значение приравнено к нулю.
Если разные значения AQL установлены для двух или более классов несоответствующих единиц продукции или несоответствий и хотя бы одно из выше описанных условий выполнено для одного или более классов, то состояние 3 должно быть установлено для всех классов.
6.5.2 Пример прерывания контроля с пропуском партий
Пример является продолжением примеров из 5.4 и 6.2.3.
Пример 4 - В период прерывания контроля с пропуском партий применен нормальный контроль по ИСО 2859-1. Текущим является состояние 2, а текущее состояние частоты контроля равно 1/3. Проконтролированная партия принята, но квалификационное значение равно нулю.
Поэтому контроль с пропуском партий прерван и установлено состояние 3 (прерывание контроля с пропуском партий).
Результаты контроля приведены в таблице 3.
Таблица 3 - Пример 4. Результаты контроля
|
Номер партии |
п |
Ас |
d |
Решение (приемка, отклонение) |
Квалификационное значение |
|
|
прибавляемое значение |
Квалификационное значение после проведения контроля |
|||||
|
15 |
125 |
2 |
0 |
» |
(+5) |
5 |
|
16 |
125 |
2 |
0 |
» |
(+5) |
10 |
|
17 |
200 |
3 |
3 |
» |
(прерывание) |
0 |
Примечание - В период прерывания контроля с пропуском партий применены планы нормального контроля по ИСО 2859-1.
6.6.1 Процедура повторной квалификации
Если выполнены оба из следующих условий в состоянии 3 (прерывание контроля с пропуском партий), продукция может быть повторно одобрена и восстановлено состояние 2 (контроль с пропуском партий):
a) 4 - 6 последовательных партий приняты при первом предъявлении в состоянии 3;
b) квалификационное значение больше или равно 18 в пределах 6 партий.
Если разные значения AQL установлены для двух или более классов несоответствующих единиц продукции или несоответствий, то описанные выше условия должны быть выполнены.
Значение частоты контроля может быть изменено на следующее, более высокое значение (например, с 1/4 на 1/3), кроме ситуации, когда частота контроля до прерывания составляла 1 из 2.
6.6.2 Пример повторной квалификации
Пример является продолжением примера из 6.5.2 (см. также примеры в 5.4 и 6.2.3).
Пример 5 - В период повторной квалификации применен нормальный контроль по ИСО 2859-1. Текущее состояние - состояние 3. Частота контроля до прерывания составляла 1 из 3. Первые 5 партий были приняты в состоянии 3, квалификационное значение достигло 18 в пределах 6 партий (см. данные в таблице 4).
Таблица 4 - Пример 5. Результаты контроля
|
Номер партии |
п |
Ас |
d |
Решение (приемка, отклонение) |
Квалификационное значение |
|
|
прибавляемое значение |
Квалификационное значение после проведения контроля |
|||||
|
18 |
200 |
3 |
2 |
» |
(+3) |
3 |
|
19 |
200 |
3 |
0 |
» |
(+5) |
8 |
|
20 |
315 |
5 |
3 |
» |
(+3) |
11 |
|
21 |
200 |
3 |
0 |
» |
(+5) |
16 |
|
22 |
315 |
5 |
1 |
» |
(+3) |
21 |
Примечание - В период повторной квалификации применены планы нормального контроля по ИСО 2859-1.
Условия 6.6.1 выполнены. Поэтому продукция может быть повторно одобрена и восстановлено состояние 2. Частота контроля может быть изменена на 1 из 2 взамен частоты 1 из 3.
6.7.1 Общие положения
Если выполнено хотя бы одно из условий 6.7.2 или 6.7.3 в состоянии 2 (контроль с пропуском партий) или в состоянии 3 (прерывание контроля с пропуском партий), продукция должна быть дисквалифицирована и установлено состояние 1 (контроль последовательных партий).
Причина дисквалификации продукции должна быть зарегистрирована.
Если продукция дисквалифицирована и установлено состояние 1 (контроль последовательных партий), должны быть снова выполнены требования для получения одобрения продукции (см. 5.2).
6.7.2 Дисквалификация продукции в состоянии 3
Если выполнено хотя бы одно из следующих условий контроля при первом предъявлении в состоянии 3, продукция должна быть дисквалифицирована и установлено состояние 1 (контроль последовательных партий):
партия не принята в состоянии 3 (квалификационное значение равно нулю);
партия принята, но квалификационное значение равно нулю;
повторное одобрение не достигнуто в пределах 6 партий.
Если установлены разные значения AQL для двух или более классов несоответствующих единиц продукции или несоответствий и если хотя бы одно из вышеупомянутых условий выполнено хотя бы для одного класса, то продукция должна быть дисквалифицирована и установлено состояние 1.
6.7.3 Дисквалификация продукции в состояниях 2 или 3
Если выполнено хотя бы одно из следующих условий в состоянии 2 или состоянии 3, продукция должна быть дисквалифицирована по отношению к контролю с пропуском партий:
а) производство не действует во время периода, согласованного с поставщиком и уполномоченной стороной; если период не установлен, то он должен составлять 2 месяца;
b) поставщик отклоняется от документированных и одобренных процедур управления качеством или нарушает другие требования, установленные в 5.1.1 или 5.2.1;
c) уполномоченная сторона желает возобновить контроль последовательных партий (например, получена жалоба потребителя на серьезные недостатки продукции) или произошел неоднократный переход из состояния 2 в состояние 3 и наоборот за короткое время.
6.7.4 Пример дисквалификации продукции
Пример является также продолжением примера 4 из 6.5.2 (см. пример 1 в 5.4, пример 2 в 6.2.3 и примерз в 6.3.4).
Пример 6 - Текущее состояние 3. Первые 3 партии были приняты, а четвертая отклонена. Продукция дисквалифицирована и установлено состояние 1 (контроль последовательных партий).
6.8 Дисквалификация и приостановка одобрения поставщика
Если продукция дисквалифицирована в соответствии с 6.7, одобрение поставщика должно быть приостановлено до тех пор, пока не будут выполнены корректирующие действия. Если эти действия не будут выполнены в пределах установленного периода времени, то поставщик должен быть дисквалифицирован в отношении проведения контроля с пропуском партий.
Если первоначальное одобрение поставщика было основано на сертификации в соответствии с ИСО 9001, но поставщик не смог поддерживать выполнение сертификационных требований, продукция должна быть дисквалифицирована в отношении контроля с пропуском партий и должно быть установлено состояние 1 (контроль последовательных партий).
Причина дисквалификации поставщика должна быть зарегистрирована.
7.1 Поставщик должен стремиться поддерживать уровень несоответствий продукции на уровне не выше AQL посредством системы обеспечения качества и действий по управлению качеством. При необходимости для проведения квалификации поставщика последний должен предоставить контролирующей организации следующую информацию:
a) краткое и/или детальное описание системы обеспечения качества поставщика;
b) краткое и/или детальное описание действий по управлению качеством поставщика.
7.2 При необходимости для квалификации продукции поставщик должен предоставить контролирующей организации следующую информацию:
a) краткую историю качества продукции;
b) период производства и частоту производства;
c) структуру производства, описание производственного оборудования и инструментов;
d) краткое и/или детальное описание процедур управления качеством продукции, включая методы контроля и испытаний для всех характеристик качества, используемых поставщиком.
7.3 Для верификации одобрения продукции поставщик должен предоставить контролирующей организации аналогичную информацию.
Поставщик должен сделать доступными для контролирующей организации документы, на которых вышеупомянутая информация основана.
Если одобрение поставщика основано на сертификации в соответствии с ИСО 9001, обязанности поставщика для получения одобрения должны быть ограничены сообщением номера свидетельства о сертификации, включая дату и результаты проверки.
7.4 Поставщик должен информировать контролирующую организацию во всех случаях, когда продукция была произведена впервые по новому номеру чертежа или новым техническим условиям.
Поставщик должен предоставить контролирующей организации данные обо всех изменениях в процессе производства или методах контроля, модификациях инструментов, шаблонов или материала, используемого в производстве продукции, и всех изменениях в технических условиях.
7.5 Поставщик должен незамедлительно известить контролирующую организацию при выявлении несоответствующих партий и необходимости проведения мероприятий в соответствии с установленными организационными процедурами. Приемка партии уполномоченной стороной должна соответствовать установленным организационным процедурам. Принятые по этим процедурам партии вместо проверки контролирующей организацией должны рассматриваться как несоответствующие для процедур контроля с пропуском партий (см. 6.4).
7.6 Поставщик должен предоставить контролирующей организации данные по всем предъявленным партиям, включая партии, не проверенные контролирующей организацией.
Поставщик должен предоставлять контролирующей организации перечень, содержащий обозначение технических условий, чертежа, наименование пункта назначения и объемов поставки. Для партий, отгруженных без проверки контролирующей организацией, поставщик должен сделать запись даты отгрузки и поставить отметку, удостоверяющую, что продукция была поставлена по процедурам контроля с пропуском партий без контроля контролирующей организации.
8.1 Общие положения
Настоящий раздел содержит пример обязанностей контролирующей организации и уполномоченной стороны на основе следующих предположений:
- контроль и квалификацию партии проводит контролирующая организация;
- у потребителя имеются все функции уполномоченной стороны.
Однако на практике предпочтительно, чтобы некоторые из функций уполномоченной стороны были поручены контролирующей организации, особенно функции, связанные с проведением контроля.
Если потребитель проводит и контроль, и квалификацию партии, не всегда есть необходимость в разделении этих функций (см. 5.1 и 5.2).
8.2 Ответственность за квалификацию поставщика
Если контролирующая организация должна проверить, удовлетворяет ли поставщик требованиям, установленным в 5.1.1, то она должна уведомить об этом письменно уполномоченную сторону. При этом она обязана сообщить следующую информацию:
a) описание системы менеджмента качества поставщика;
b) описание действий по управлению качеством поставщика;
c) общую оценку способности поставщика по обеспечению качества.
Уполномоченная сторона должна рассмотреть предоставленную информацию и определить, имеет ли поставщик право на применение контроля с пропуском партий.
Контролирующая организация должна проверять одобрение поставщика в соответствии с установленной периодичностью (см. 5.1.3). Уполномоченная сторона должна быть уведомлена о выявленных недостатках и должна принять решение о дисквалификации поставщика.
Примечания - Квалификация поставщика полезна не только для применения контроля с пропуском партий, но и для применения ослабленного контроля.
8.3.1 Если предусмотрено, что контролирующая организация должна оценить, удовлетворяет ли продукция требованиям, установленным в 5.2.1 и 5.2.2, то она должна также рассмотреть все показатели производства, контроля и отказов продукции для следующих целей:
a) оценки результативности систем обеспечения качества и управления качеством поставщика для контролируемой продукции;
b) оценки сравнительной эффективности контроля с пропуском партий по отношению к ослабленному контролю (см. приложение С для рассмотрения условий, в которых контроль с пропуском партий более предпочтителен, чем ослабленный контроль).
8.3.2 Если установлено, что продукция имеет право на проведение контроля с пропуском партий и он более предпочтителен, чем ослабленный контроль, контролирующая организация должна письменно сообщить уполномоченной стороне следующую информацию:
a) историю качества;
b) период производства и частоту производства;
c) описание производственного оборудования и инструментов;
d) описание системы управления качеством продукции, включая применяемые поставщиком методы контроля, испытаний и способности поставщика управлять всеми характеристиками качества;
e) общую оценку способности поставщика управлять всеми характеристиками качества продукции;
f) дату планируемого перехода на контроль с пропуском партий (состояние 2);
g) утвержденную частоту контроля.
8.3.3 Уполномоченная сторона должна рассмотреть эту информацию, а также конечное применение продукции и аспекты ее безопасности и определить, имеет ли продукция право на применение контроля с пропуском партий. Уполномоченная сторона должна выбрать дату начала контроля с пропуском партий.
Контролирующая организация должна подтверждать одобрение продукции с установленной периодичностью (см. 5.2.4). Если выявлены недостатки, уполномоченная сторона должна быть уведомлена об этом. Уполномоченная сторона должна принять решение о дисквалификации продукции и приостановке контроля с пропуском партий.
Для обеспечения качества конечной продукции иногда необходим межоперационный контроль. По согласованию поставщика и уполномоченной стороны, межоперационный контроль может периодически проводиться контролирующей организацией.
Несмотря на то, что настоящий стандарт дополняет системы выборочного контроля ИСО 2859-1, существуют некоторые ограничения:
a) продукция должна иметь неизменную конструкцию (см. 5.2.1);
b) продукция не должна иметь критических классов несоответствующих единиц или несоответствий (см. 5.2.1);
c) установленный(ые) AQL составляет(ют) не более 0,025 %, установленный(ые) уровень(ни) контроля должен(ны) быть I, II или III (см. 5.2.1);
d) усиленный контроль несовместим с пропуском партий (см. 5.2.1);
e) в состоянии 1 (период квалификации) может быть использован ослабленный контроль, но планы ослабленного контроля не могут быть использованы в состоянии 2 (контроль с пропуском партий) и состоянии 3 (прерывание контроля с пропуском партий) (см. 5.2.1 и 6.4.1);
f) многоступенчатые планы выборочного контроля допустимы только при наличии первого приемочного числа (см. 5.2.2 и 6.4.1);
g) не следует применять планы выборочного контроля с дробным приемочным числом (см. 5.2.1 и 6.4.1);
h) планы выборочного контроля с Ас = 0 не должны быть использованы в состояниях 2 и 3; вместо них следует использовать планы с Ас = 1 (см. 6.4.1 и 10.2).
9.2 Взаимосвязь с ослабленным контролем
Процедуры выборочного контроля с пропуском партий в соответствии с настоящим стандартом могут быть использованы вместо ослабленного контроля, если это экономически более эффективно (см. приложение С).
Требования к одобрению продукции, установленные в 5.1 и 5.2, на первый взгляд довольно сильно отличаются от правил переключения по ИСО 2859-1 с нормального на ослабленный контроль. Однако последние также содержат в неявном виде элементы квалификации поставщика.
Требования к одобрению продукции, установленные в 5.2.2, соответствуют требованиям к показателю переключений ИСО 2859-1, но являются несколько более жесткими.
С другой стороны, контроль в соответствии с настоящим стандартом более выгоден, чем ослабленный контроль, что дает изготовителю дополнительный стимул поддерживать лучший уровень качества.
10.1 Обоснование схемы контроля
Процедуры контроля с пропуском партий разработаны так, чтобы не допустить приемку существенного количества несоответствующих единиц продукции. Они были разработаны в соответствии с предположением, что для получения одобрения на применение контроля с пропуском партий необходимо, чтобы уровень несоответствий процесса был не более половины AQL. Статистические характеристики качества процедур контроля с пропуском партий описаны в 10.2.
10.2 Статистические характеристики контроля с пропуском партий
10.2.1 Общие положения
Статистические характеристики качества, описанные в 10.2.2 - 10.2.4, соответствуют одноступенчатым планам с единственным классом несоответствий. В таблицах 5, 6 и 7 приведены вероятность переключения (Рr) в процентах и средняя длина серии (ARL) в партиях.
Эти таблицы показывают, что планам выборочного контроля с Ас = 0 соответствуют очень низкие характеристики переключения, поэтому такие планы не следует использовать.
Характеристики переключения двухступенчатого плана выборочного контроля не всегда близки к таковым для соответствующего одноступенчатого плана с эквивалентной кривой ОС, но они аналогичны характеристикам одноступенчатого плана, имеющего на один шаг меньший объем выборки. Если установлены AQL для двух или более классов несоответствий, характеристики переключения могут быть менее удовлетворительными. В таком случае рекомендуется использовать планы выборочного контроля с приемочными числами 2 или более.
10.2.2 Квалификация
В таблице 5 приведены характеристики переключения для квалификации в состоянии 1 при нормальном контроле. Например, если Ас = 3 и уровень качества равен 0,4 AQL, вероятность получения одобрения для применения контроля с пропуском партий составляет приблизительно 96 %, а средний период квалификации - 11 партий.
Таблица 5 - Характеристики переключения для проведения квалификации
|
P/AQL |
Ac = 0 |
Ac = 1 |
Ac = 3 |
Ac = 10 |
||||
|
Pr |
ARL |
Pr |
ARL |
Pr |
ARL |
Pr |
ARL |
|
|
0,400 |
42,39 |
17,00 |
80,86 |
11,89 |
95,73 |
11,16 |
99,95 |
10,21 |
|
0,631 |
25,83 |
17,00 |
58,66 |
12,75 |
78,30 |
12,23 |
96,40 |
11,31 |
|
1,000 |
11,70 |
17,00 |
26,30 |
13,81 |
31,99 |
13,36 |
35,43 |
13,91 |
|
1,585 |
3,34 |
17,00 |
3,82 |
14,82 |
1,62 |
13,78 |
0,01 |
14,67 |
10.2.3 Изменение частоты и прерывание контроля
Для процедуры контроля с пропуском партий в состоянии 2 (контроль с пропуском партий), вероятность перехода к более низкой частоте контроля до прерывания контроля та же, что и для квалификации. Вероятность перехода к следующей, более высокой частоте контроля, незначительна. В таблице 6 приведены характеристики переключения на прерывание контроля в состоянии 2. Например, если Ас = 3 и уровень качества составляет 2AQL, вероятность контроля до изменения частоты составляет почти 100 %, а средний период до прерывания контроля составляет приблизительно 2,2 партии.
Таблица 6 - Характеристики переключения на прерывание контроля
|
P/AQL |
Ac = 0 |
Ac = 1 |
Ac = 3 |
Ac = 10 |
||||
|
Pr |
ARL |
Pr |
ARL |
Pr |
ARL |
Pr |
ARL |
|
|
0,400 |
57,61 |
7,80 |
19,14 |
6,32 |
14,58 |
5,68 |
1,14 |
5,57 |
|
1,000 |
88,30 |
6,18 |
73,65 |
6,05 |
81,11 |
4,77 |
81,94 |
4,78 |
|
2,000 |
98,63 |
4,25 |
99,32 |
3,65 |
99,96 |
2,16 |
100,00 |
1,28 |
|
3,000 |
99,84 |
3,15 |
100,00 |
2,25 |
100,00 |
1,37 |
100,00 |
1,02 |
10.2.4 Повторная квалификация и дисквалификация
В таблице 7 приведены характеристики переключения на дисквалификацию в состоянии 3. Например, если Ас = 3 и уровень качества составляет 2AQL, вероятность дисквалификации составляет приблизительно 94,5 %, а средний период до дисквалификации составляет приблизительно 1,9 партии. Вероятность повторной квалификации составляет приблизительно 5,5 %.
Таблица 7 - Характеристики переключения на дисквалификацию
|
P/AQL |
Ac = 0 |
Ac = 1 |
Ac = 3 |
Ac = 10 |
||||
|
Pr |
ARL |
Pr |
ARL |
Pr |
ARL |
Pr |
ARL |
|
|
0,400 |
26,13 |
3,35 |
8,85 |
3,16 |
5,82 |
2,50 |
0,45 |
2,50 |
|
1,000 |
53,10 |
3,14 |
45,46 |
3,37 |
46,04 |
2,45 |
46,96 |
2,48 |
|
2,000 |
78,01 |
2,79 |
88,24 |
2,80 |
94,48 |
1,90 |
99,96 |
1,27 |
|
3,000 |
89,69 |
2,48 |
98,36 |
2,12 |
99,82 |
1,36 |
100,00 |
1,02 |
10.2.5 Кривая оперативной характеристики
Кривые оперативных характеристик планов нормального контроля (см. ИСО 2859-1) соответствуют отдельным партиям, отобранным на контроль в состояниях 2 и 3. Средняя вероятность приемки очень близка к кривым ОС планов нормального контроля.
В настоящем стандарте предусмотрено несколько вариантов на усмотрение поставщика и уполномоченной стороны. В настоящем приложении приведены примеры условий, которые должны быть включены в соответствующие документы.
А.2 Непрерывное производство для квалификации продукции (см. 5.2.1)
А.2.1 Минимальный период производства
Продукция должна быть изготовлена в условиях непрерывного производства в течение периода, установленного по согласованию обеих сторон.
А.2.2 Минимальная частота производства
Не менее .... партий должно быть представлено на приемочный контроль каждые ... месяцев.
А.2.3 Аналогичная продукция
Аналогичная продукция, отправленная другим сторонам, не должна быть рассмотрена при оценке непрерывности производства.
А.3 Другие варианты
А.3.1 Минимальный период стабильности производства
Для квалификации продукции (см. 5.2.1 (должен быть выбран минимальный период, в течение которого качество продукции должно быть не хуже AQL.
Качество продукции должно быть не хуже AQL в течение ... месяцев.
А.3.2 Минимальная частота контроля
При выборе партии необходимо учитывать минимальную частоту контроля (см. 6.4). Не менее 1 партии необходимо контролировать в течение ... месяцев.
А.3.3 Максимальный период простоя производства
Для дисквалификации продукции должен быть установлен максимальный период простоя производства (см. 6.7).
Продукция должна быть дисквалифицирована для контроля с пропуском партий и восстановлено состояние 1 (контроль последовательных партий) при простое производства в течение ... месяцев.
А.3.4 Частота верификации одобрения поставщика
Должна быть установлена частота верификации одобрения поставщика (см. 5.1.3 и 8.2). Контролирующая организация должна проверять одобрение поставщика через каждые ... месяцев.
А.3.5 Верификация одобрения продукции
Для подтверждения одобрения продукции проводят периодическую верификацию (см. 5.2.4 и 8.3):
- контролирующая организация должна проверять одобрение продукции каждые ... месяцев;
- периодическая верификация одобрения продукции не всегда требуется.
B.1 Общие положения
В настоящем приложении установлены процедуры случайного отбора партий для контроля в состоянии 2 (контроль с пропуском партий), когда в качестве частоты контроля установлено одно из следующих значений:
1 из 2, т.е. 1/2 (контролируют одну из двух представленных на контроль партий);
1 из 3 т.е. 1/3 (контролируют одну из трех представленных на контроль партий);
1 из 4 т.е. 1/4 (контролируют одну из четырех представленных на контроль партий);
1 из 5 т.е. 1/5 (контролируют одну из пяти представленных на контроль партий).
Самый простой путь состоит в использовании игральной кости в виде шестигранного кубика (см. В.2).
Существует таблица случайных чисел, а также большое количество карманных калькуляторов, которые способны генерировать псевдослучайные числа. Существуют также различные компьютерные программы для датчиков псевдослучайных чисел. В разделе В.3 описана процедура их использования.
B.2 Отбор партии с использованием шестигранного кубика
B.2.1 Отбор партии с частотой контроля 1 из 2
При поступлении партии для контроля бросают шестигранный кубик. Если на кубике выпадает нечетное число, выбирают партию для контроля, в противном случае партию не контролируют.
B.2.2 Отбор партии с частотой контроля 1 из 3
При поступлении партии для контроля бросают шестигранный кубик. Если на кубике выпадают цифры 1 или 2, партию отбирают для контроля, в противном случае партию не контролируют.
B.2.3 Отбор партии с частотой контроля 1 из 4
При поступлении партии для контроля бросают шестигранный кубик. Если на кубике выпадает цифра 1, партию отбирают для контроля, если выпадают цифры 2,3 или 4, партию оставляют без контроля; если выпадают цифры 5 или 6, повторно бросают кубик и повторяют описанную процедуру, пока не выпадут цифры с 1 до 4.
B.2.4 Отбор партии с частотой контроля 1 из 5
При поступлении партии для контроля бросают шестигранный кубик. Если на кубике выпадает цифра 1, партию отбирают для контроля, если выпадают цифры 2, 3, 4 или 5, партию оставляют без контроля. Если выпадает цифра 6, повторно бросают кубик и повторяют процедуру, пока не выпадут цифры с 1 до 5.
B.3 Отбор партии с частотой контроля 1 из к
B.3.1 Отбор с использованием карманного калькулятора
Некоторые карманные калькуляторы имеют функциональную клавишу для вызова псевдослучайных чисел с 0 до 1. Для выбора случайного числа в интервале от 1 до k необходимо полученное случайное число из интервала [0 - 1] умножить на k. Партию контролируют, если результат меньше 1, в противном случае партию оставляют без контроля. Эта процедура подходит также для k = 2, 3, 4 и 5.
Пример - У карманного калькулятора имеется функция вычисления псевдослучайных чисел в интервале от 0 до 1 с тремя знаками после запятой, k = 4. При нажатии клавиши калькулятор выдает случайное число 0,211. Умножение этого числа на 4 дает 0,844. Поскольку 0,844 < 1, партию отбирают для контроля.
B.3.2 Отбор партии с помощью компьютера
Существуют также различные компьютерные программы, позволяющие вычислять псевдослучайные числа в интервале от 0 до 1. Удобно использовать программу, которая позволяет преобразовывать эти псевдослучайные числа в псевдослучайные числа из интервала от 0 до k.
Имеются три основных фактора, которые следует учитывать при выборе между контролем с пропуском партий и ослабленным контролем (см. ИСО 2859-1):
a) отношения между поставщиком и потребителем;
b) соотношение между фиксированными и переменными затратами на статистический приемочный контроль;
c) приемочное число планов контроля
С.2 Отношения между поставщиком и потребителем
Первый основной фактор для применения контроля с пропуском партий (отношения между поставщиком и потребителем) подразумевает наличие полного понимания процедур выборочного контроля с пропуском партий и взаимного доверия между сторонами. Это важно, поскольку некоторые партии будут отправлены потребителю без приемочного контроля. Если поставщик действует недостаточно ответственно, расходы обеих сторон могут быть очень велики. Поэтому необходима квалификация поставщика. Если система менеджмента качества поставщика сертифицирована на соответствие с ИСО 9001, эту информацию необходимо рассмотреть наиболее полно для создания более эффективного процесса квалификации поставщика.
Кроме того, настоящий стандарт дает поставщику больший стимул к повышению качества продукции, чем при ослабленном контроле. Если потребитель поддерживает длительные отношения с поставщиком, то процедуры с пропуском партий выгодны для обеих сторон.
С.3 Соотношение между фиксированными и переменными затратами
Второй основной фактор - экономический (соотношения между фиксированными и переменными затратами на статистический приемочный контроль). Фиксированные расходы должны включать затраты обеих сторон (например, стоимость установки испытательного оборудования, командировочные расходы инспектора, стоимость хранения и страхования партии).
При одноступенчатом выборочном контроле переменные затраты приблизительно пропорциональны количеству проконтролированных единиц продукции.
Если доля фиксированных расходов велика, процедуры с пропуском партий более предпочтительны. Если предприятие поставщика расположено далеко от потребителя, затраты на командировочные расходы инспектора могут стать основным фактором затрат.
С.4 Приемочное число планов контроля
Третий основной фактор - приемочное число планов выборочного контроля, используемых в состояниях 2 и 3 (контроль с пропуском партий), когда должны быть использованы планы выборочного контроля с Ас = 0 (см. 6.4). Этот фактор может повлиять на затраты через увеличение объема выборки.
Для планов с Ас = 0 характерна более медленная скорость обнаружения ухудшения качества продукции и более высокая вероятность возобновления контроля последовательных партий при низком уровне несоответствий, чем почти у всех других планов с большими приемочными числами (см. 10.2). Планам с дробными приемочными числами соответствует еще более высокая вероятность возобновления контроля последовательных партий при высоком качестве продукции, чем планам с Ас = 0. Этих трудностей можно избежать при использовании планов с Ас = 1 и большими объемами выборки.
Таблица ДА.1
|
Обозначение ссылочного международного стандарта |
Степень соответствия |
Обозначение и наименование соответствующего национального стандарта |
|
ИСО 2859-1:1999 |
IDT |
ГОСТ Р ИСО 2859-1-2007 Статистические методы. Процедуры выборочного контроля по альтернативному признаку. Часть 1. Планы выборочного контроля последовательных партий на основе приемлемого уровня качества |
|
ИСО 3534-1:2006 |
- |
* |
|
ИСО 3534-2:2006 |
- |
* |
|
* Соответствующий национальный стандарт отсутствует. До его утверждения рекомендуется использовать перевод на русский язык данного международного стандарта. Перевод данного международного стандарта находится в Федеральном информационном фонде технических регламентов и стандартов. Примечание - В настоящей таблице использованы следующие условные обозначения степени соответствия стандартов: IDT - идентичные стандарты. |
||
DODGE, H.F, Skip-lot sampling plans. Industrial Quality Control, 11, No. 5, February 1955, pp. 3-5
DODGE, H.F. and PERRY, R.L. A system of skip-lot sampling plans for lot-by-lot inspection. ASQC Technical Conference Transaction, 1971, pp. 469-477
SCHILLING, E.G. Acceptance Sampling in Quality Control, Marcel Dekker, New York, 1982, pp. 443-451
LIEBESMAN, B.S. and SAPERSTEIN, B.A proposed attribute skip-lot sampling program. Journal of Quality Technology, 15, No. 3, July 1983, pp. 130-140
BLOOM, A.G. Ratio/skip-lot sampling. A new approach to government product verification. ASQC Technical Conference Transaction, 1968, pp. 53-59
DODGE, H.F. Notes on the evolution of acceptance sampling plans, Part IV, Journal of Quality Technology, 2, No. 1, January 1970
HSU, J.I.S. A cost model for skip-lot destructive sampling. IEEE Transactions on Reliability, R-26, No. 1, April 1977
PERRY, R.L. Skip-lot sampling plans. Journal of Quality Technology, 5, No. 3, July 1973
PERRY, R.L. Two-level skip-lot sampling plans - Operating characteristic properties. Journal of Quality Technology, 5, October 1973
STEPHENS, K.S. How to perform skip-lot and chain sampling. ASQC, Milwaukee, 1982.
ISO 2859-10, Sampling procedures for inspection by attributes - Part 10: Overview of the ISO 2859 attribute sampling systems
ISO 9000, Quality management systems - Fundamentals and vocabulary (ИСО 9000:2005 Системы менеджмента качества. Основные положения и словарь)
ISO 9001, Quality management systems - Requirements (ИСО 9001:2008 Система менеджмента качества. Требования)
Ключевые слова: статистический приемочный контроль, план выборочного контроля, контроль по альтернативному признаку, выборка, партия, приемлемый уровень качества, единица продукции, несоответствие, несоответствующая единица продукции