ОДМ 218.5.001-2009
ОТРАСЛЕВОЙ ДОРОЖНЫЙ МЕТОДИЧЕСКИЙ ДОКУМЕНТ
Утверждены
распоряжением Росавтодора
от 26.11.2009 № 502-р
МЕТОДИЧЕСКИЕ
РЕКОМЕНДАЦИИ
ПО ПРИМЕНЕНИЮ ГЕОСЕТОК И ПЛОСКИХ
ГЕОРЕШЕТОК ДЛЯ АРМИРОВАНИЯ
АСФАЛЬТОВЫХ СЛОЕВ
УСОВЕРШЕНСТВОВАННЫХ ВИДОВ ПОКРЫТИЙ
ПРИ КАПИТАЛЬНОМ РЕМОНТЕ И РЕМОНТЕ
АВТОМОБИЛЬНЫХ ДОРОГ
ФЕДЕРАЛЬНОЕ ДОРОЖНОЕ АГЕНСТВО
(РОСАВТОДОР)
Москва 2010
Распоряжение Федерального дорожного агентства от 26 ноября 2009 г. N 502-р
"Об издании и применении ОДМ 218.5.001-2009 "Методические рекомендации по применению геосеток и плоских георешеток для армирования асфальтобетонных слоев совершенствованных видов покрытий при капитальном ремонте и ремонте автомобильных дорог"
В целях реализации в дорожном хозяйстве основных положений Федерального закона от 27 декабря 2002 г. № 184-ФЗ "О техническом регулировании", а также обеспечения выполнения требований приложения № 3 приказа Минтранса России от 1 ноября 2007 г. № 157 и увеличения межремонтных сроков проведения капитального ремонта и ремонта автомобильных дорог общего пользования федерального значения:
1. Структурным подразделениям центрального аппарата Росавтодора, федеральным управлениям автомобильных дорог, управлениям автомобильных магистралей, межрегиональным дирекциям по строительству автомобильных дорог федерального значения, территориальным органам управления дорожным хозяйством субъектов Российской Федерации рекомендовать к применению с 1 декабря 2009 г. ОДМ 218.5.001-2009 "Методические рекомендации по применению геосеток и плоских георешеток для армирования асфальтобетонных слоев усовершенствованных видов покрытий при капитальном ремонте и ремонте автомобильных дорог" (далее - ОДМ 218.5.001-2009) согласно приложению к настоящему распоряжению.
2. Управлению научно-технических исследований, информационного обеспечения и ценообразования (В.А. Попов) с участием ФГУП "Информавтодор" (Д.Г. Мепуришвили) в установленном порядке обеспечить издание ОДМ 218.5.001-2009 и направить их в подразделения и организации, упомянутые в п. 1 настоящего распоряжения.
3. Контроль за исполнением настоящего распоряжения возложить на заместителя руководителя С.Е. Полещука.
|
Руководитель |
A.M. Чабунин |
Предисловие
1. разработан гоу впо СибАДИ (Государственное образовательное учреждение высшего профессионального образования Сибирская государственная автомобильно-дорожная академия).
При разработке Рекомендаций учтены данные исследований ГП «РОСДОРНИИ», ФГУП «СОЮЗДОРНИИ», МАДИ (ГТУ), НИИНМ, ООО НТЦ «Геотехнологии», СПб. ВИТУ.
2. ВНЕСЕН Управлением эксплуатации и сохранности автомобильных дорог Федерального дорожного агентства.
3. ИЗДАН на основании распоряжения Федерального дорожного агентства от 26.11.2009 г. № 502-р.
4. ВВЕДЕН ВПЕРВЫЕ.
5. ИМЕЕТ РЕКОМЕНДАТЕЛЬНЫЙ ХАРАКТЕР.
Содержание
Отраслевой дорожный методический документ "Методические рекомендации по применению геосеток и плоских георешеток для армирования асфальтобетонных слоев усовершенствованных видов покрытий при капитальном ремонте и ремонте автомобильных дорог" является актом рекомендательного характера.
Методические рекомендации предназначены для применения геосеток (плоских георешеток) для армирования (усиления) асфальтобетонных (полимерасфальтобетонных) слоев при капитальном ремонте и ремонте усовершенствованных видов покрытий автомобильных дорог.
Методические рекомендации могут быть использованы при армировании (усилении) дорожных одежд городских улиц и дорог, автомобильных дорог промышленных и сельскохозяйственных предприятий, при проектирование дорожных одежд на участках строительства и реконструкции.
В настоящих Рекомендациях использованы ссылки на следующие документы:
Приказ Минтранса России от 1 ноября 2007 г. № 157;
Приказ Минтранса России от 12 ноября 2007 г. № 160;
ГОСТ 9128-97* Смеси асфальтобетонные дорожные, аэродромные и асфальтобетон. Технические условия. - Введ. 1998-04-29. - М.: Изд-во стандартов, 1997. - 20 с;
ГОСТ 22245-90* Битумы нефтяные дорожные вязкие. Технические условия. - Введ. 1990-01-01. - М.: Изд-во стандартов, 2005. - 12 с;
ГОСТ Р 52128-2003 Эмульсии битумные дорожные. Технические условия. - Введ. 2003-10-01. - М.: ФГУП ЦПП, 2004. - 17 с;
ГОСТ Р 52398-2005 Классификация автомобильных дорог. Основные параметры и требования. - Введ. 2006-05-01. - М.: Стандартинформ, 2006. - 4 с.
В настоящем документе применены следующие термины с соответствующими определениями.
а) Термины и определения
аI) Армирующая прослойка - конструктивный элемент дорожной одежды из геосетки (геокомпозита), чаще располагаемый в асфальтобетонном покрытии для увеличения его прочности за счет восприятия и перераспределения растягивающих напряжений от воздействия транспортных средств и (или) температурных деформаций.
аII) Геосетка - плоский полимерный рулонный материал сетчатой структуры, образованной эластичными ребрами из высокопрочных пучков нитей, скрепленными в узлах прошивочной нитью, переплетением, склеиванием, сплавлением или иным способом, с образованием ячеек, размеры которых больше образующих сетку ребер, обработанный специальными составами для улучшения свойств и повышения их стабильности.
аIII) Георешетка плоская - плоский полимерный рулонный материал сетчатой структуры, образованной монолитными ребрами, жестко скрепленными в узлах, с образованием ячеек, размеры которых больше образующих решетку ребер.
aIV) Геосетка (георешетка) двухосноориентированная - Геосетка (георешетка плоская), имеющая близкие (отличающиеся не более чем на 20 %) механические свойства в продольном и поперечном направлениях.
аV) Геосетка (георешетка) композитная (геокомпозит) - многослойный материал из скрепленных в плоскости слоев (не менее двух слоев) геосетки (плоской георешетки) с геотекстильным (чаще нетканым иглопробивным или термоупрочненным) материалом.
аVI) Геотекстильный материал - поставляемое в рулонах сплошное водопроницаемое тонкое гибкое нетканое, тканое, трикотажное полотно, получаемое путем скрепления волокон или нитей механическим (плетение, иглопробивание), химическим (склеивание), термическим (сплавление) способами или их комбинацией.
аVII) Ребра геосетки - основные элементы геосетки из эластичных высокопрочных пучков нитей, объединенных в узлах с образованием ячеек.
аVIII) Ребра плоской георешетки - основные элементы плоской георешетки в виде плоских пластин, объединенных в узлах с образованием ячеек.
аIX) Срок службы дорожной конструкции - период времени, в пределах которого происходит снижение ее прочности и надежности до расчетного уровня, предельно допустимого по условиям дорожного движения.
аX) Трещинопрерывающая прослойка - высокодеформативная прослойка из геосинтетического материала, расположенная, как правило, между блочным основанием (старое покрытие со швами или разделенное трещинами на отдельные участки-блоки) и вновь устраиваемым покрытием, препятствующая передаче усилия, возникающего от температурной деформации основания к вновь устраиваемому покрытию.
aXI) Трещины температурные - трещины в покрытии, возникающие в материале от напряжений, появляющихся от температурных деформаций.
аXII) Трещины отраженные - трещины в покрытии, дублирующие швы или трещины нижележащего слоя дорожной одежды.
аXIII) Трещины усталостные - трещины в покрытии, образующиеся под воздействием многократных нагрузок в результате усталостного разрушения асфальтобетона.
aXIV) Узлы геосетки (плоской георешетки) - места объединения ребер, имеющие (для георешеток) повышенную по отношению к ребрам толщину.
aXV) Размер ячеек в продольном (поперечном) направлении AL (AT) - расстояние между осями ребер в направлении длины (ширины) материала.
aXVI) Ширина ребер в продольном (поперечном) направлении WLR (WTR) - минимальная ширина ребер, расположенных в направлении длины (ширины) материала.
aXVII) Толщина ребер в продольном (поперечном) направлении tLR (tTR) - минимальная толщина ребер, расположенных в направлении длины (ширины) материала.
аXVIII) Прочность при растяжении в продольном (поперечном) направлении RLR (RTR) - максимальное растягивающее усилие при одноосном растяжении образца в направлении длины (ширины) материала с постоянной скоростью растяжения, отнесенное к ширине образца (выражается в кН/м, определяется по методике Приложения БI).
б) Условные обозначения
KLR - число ребер геосетки на 1 пог. м материала по направлению длины. Может определяться не целым числом (с точностью до десятых долей).
KTR - число ребер геосетки на 1 пог. м материала по направлению ширины. Может определяться не целым числом (с точностью до десятых долей).
tj - толщина узлов.
BR - ширина рулона.
FLR - площадь сечения ребер, расположенных в направлении длины материала.
FTR - площадь сечения ребер, расположенных в направлении ширины материала.
eLRmax - относительная деформация в продольном направлении при разрыве, % (см. Приложение БI).
eTRmax - относительная деформация в поперечном направлении при разрыве, % (см. Приложение БI).
eLRR - относительная деформация при максимальном растягивающем усилии в направлении длины материала, % (см. Приложение БI).
eTRR - относительная деформация при максимальном растягивающем усилии в направлении ширины материала, % (см. Приложение БI).
RLR(e) - усилие в образце в направлении длины материала, отнесенное к ширине образца, возникающее при определенной относительной деформации e (в данных Рекомендациях при e = 2 %, см. Приложение БII), кН/м.
RTR(e) - усилие в образце в направлении ширины материала, отнесенное к ширине образца, возникающее при определенной относительной деформации e (в данных Рекомендациях при e = 2 %, см. Приложение БII), кН/м.
RJR - относительная прочность узлового соединения геосетки, % (см. Приложение БII).
Рекомендации содержат требования к геосеткам (плоским георешеткам), предназначенным для армирования асфальтобетонных слоев, правила назначения конструктивных решений, рекомендации по расчету асфальтобетонных покрытий, усиленных геосетками, и технологию производства работ.
а) В соответствии с действующей Классификацией работ по капитальному ремонту, ремонту и содержанию автомобильных дорог общего пользования и искусственных сооружений на них при капитальном ремонте и ремонте конструктивные слои из асфальтобетона, армированного геосинтетическими материалами, могут использоваться для усиления усовершенствованных покрытий при следующих видах работ:
- усиление дорожной одежды при несоответствии ее прочности транспортным нагрузкам с исправлением продольных и поперечных неровностей, укладкой выравнивающих и дополнительных слоев основания и покрытия;
- устройство более совершенных типов покрытий с использованием существующих дорожных одежд в качестве основания;
- перекрытие изношенных цементобетонных покрытий;
- ликвидация колейности с заменой верхних слоев дорожной одежды методами фрезерования или регенерации на ширину полос наката или на всю ширину покрытия с укладкой одного или нескольких слоев асфальтобетона;
- уширение дорожной одежды до норм соответствующих категории ремонтируемого участка автомобильной дороги;
- восстановление дорожной одежды в местах ремонта земляного полотна;
- устройство защитных слоев и слоев износа путем укладки выравнивающего (или фрезерования) и одного дополнительного слоя с обеспечением требуемой ровности и сцепных свойств.
б) Следует различать функции армирующих и трещинопрерывающих прослоек (п. 3а) и требования, предъявляемые к ним. В данных Рекомендациях рассматриваются только вопросы применения армирующих прослоек из геосеток плоских георешеток и геокомпозитов на их основе для усиления асфальтобетонных покрытий. Рекомендации по устройству трещинопрерывающих прослоек даны в Рекомендациях по расчету и технологии устройства оптимальных конструкций дорожных одежд с армирующими прослойками при строительстве, реконструкции и ремонте дорог с асфальтобетонными покрытиями, 1993.
в) Армирующий материал может выполнять свои функции только при соблюдении ряда основных условий:
- прочное сцепление арматуры с армируемым материалом для обеспечения перераспределения возникающих напряжений;
- прочность арматуры на растяжение значительно выше прочности армируемого материала с учетом усталостных явлений от многократных кратковременных силовых воздействий (в противном случае теряется смысл армирования материала);
- модуль упругости арматуры намного выше, чем у армируемого материала (иначе армируемый материал может получить избыточные горизонтальные деформации раньше, чем арматура воспримет и перераспределит растягивающие напряжения);
- прочность и деформативность армирующего материала стабильны во времени как при высоких положительных, так и при низких отрицательных температурах, при высокой влажности и агрессивных воздействиях (только в этом случае можно гарантировать длительный положительный эффект от армирования покрытия);
- арматура не обладает чрезмерной ползучестью для восприятия длительных напряжений (иначе арматура может либо не выдержать значительных длительных температурных напряжений, возникающих в асфальтобетоне при низких отрицательных температурах, либо релаксировать эти напряжения, утратив свое предназначение).
- арматура располагается в слое армируемого материала с наибольшими растягивающими напряжениями.
- коэффициенты температурного расширения армируемого и армирующего материалов имеют близкие значения для выполнения первого условия.
г) Выбор конструктивно-технологических мероприятий при капитальном ремонте или ремонте дорожных одежд выполняют на основе технико-экономического сравнения конкурирующих вариантов.
При этом следует учитывать, что получаемый в результате армирования асфальтобетонных покрытий эффект выражается в продлении сроков службы, повышении эксплуатационной надежности дорожных конструкций, снижении эксплуатационных затрат, улучшении транспортно-эксплуатационных показателей автомобильных дорог.
Эффект может выражаться и в уменьшении толщины асфальтобетонного покрытия (без продления сроков службы дорожной одежды).
Эффект от армирования покрытия наиболее ощутимо проявляется при ремонте автомобильных дорог высоких категорий, при выполнении работ в сложных климатических и грунтово-гидрологических условиях.
При надлежащем учете и обосновании перечисленных выше факторов, экономический эффект от армирования покрытий, как правило, превышает получение единовременной экономии по другим сопоставляемым вариантам усиления усовершенствованных покрытий при капитальном ремонте и ремонте автомобильных дорог.
а) Дополнительные требования к асфальтобетону (армируемому материалу) не предъявляются. Рекомендуется соблюдать определенное соотношение между крупностью зерен каменного материала в асфальтобетоне и размером ячеек геосетки (армирующего материала):
|
0,5 (d + D) < 1,5A |
(5а) |
где d - наименьший номинальный размер зерен каменного материала в асфальтобетоне;
D - наибольший номинальный размер зерен каменного материала в асфальтобетоне;
А - средний размер ячейки (среднее между значениями AL и AT).
Выполнение этого соотношения улучшает совместную работу армируемого и армирующего материалов, а также обеспечивает минимальную повреждаемость геосеток при уплотнении вышележащего слоя смеси в процессе устройства покрытия.
б) Геосинтетические материалы, применяемые для армирования асфальтобетонных покрытий, должны отвечать рекомендациям по наличию технической документации (п. в настоящего раздела), показателям свойств (п.п. д и е) настоящего раздела) и методам их определения и контроля (п. ж) настоящего раздела). Эффективность применения геосинтетических материалов определяется их прочностью, деформативностью, технологичностью, повреждаемостью и долговечностью.
в) Применение армирующих материалов возможно при наличии:
вI) стандартов организаций, подготовленных в соответствии с ГОСТ Р 1.5-2004 и содержащих область применения, нормативные ссылки, термины и определения, технические требования, требования безопасности окружающей среды, правила приемки, методы контроля, правила транспортирования и хранения, указания по эксплуатации, гарантии изготовителя;
вII) документов, регламентирующих область применения материалов конкретной марки, составленных на основе оценки показателей свойств, разработанных или согласованных организациями, представляющими отрасль потребителя (заключение, рекомендации по применению и др.);
вIII) сертификатов соответствия, выданных с учетом положений документов по п. вII настоящего раздела и протоколов испытаний организаций, представляющих отрасль потребителя.
г) При подготовке документов по п. в настоящего раздела рекомендуется учитывать рекомендации по п.п. д) и е) настоящего раздела методических рекомендаций.
д) Геосетки, в том числе служащие для создания геокомпозитов, применяемые для армирования асфальтобетонных покрытий при капитальном ремонте и ремонте капитальных видов покрытий, должны отвечать рекомендациям, представленным в таблице 1.
дI) Регламентация показателей свойств в таблице 1 приведена в минимальной степени, поскольку выбор эффективного армирующего материала определяется в конкретном проектном решении. Геосетки (плоские георешетки), имеющие прочность ниже, чем указано в таблице 1, обладающие повышенной деформативностью, но отвечающие рекомендациям остальных показателей свойств могут использоваться в качестве трещинопрерывающих прослоек, а также для уменьшения колееобразования на асфальтобетонных покрытиях.
дII) Рекомендуемые показатели по прочности геосеток (п. 1 таблица 1) зависят от категории автомобильной дороги согласно ГОСТ Р 52398-2005 на которой она будет применяться. Это обосновано тем, что на дорогах высших категорий нагрузки от автотранспорта на покрытие и дорожную одежду, требования к потребительским свойствам и показателям надежности (СНиП 2.05.02-85*, ОДН 218.046-01, ОДН 218.1.052-2002, Методические рекомендации по проектированию жестких дорожных одежд) существенно выше, чем на дорогах низких категорий.
дIII) Рекомендации по прочности и морозостойкости (п.п. 1a, 1б и 2г таблицы 1) введены для геосеток, применяемых в I дорожно-климатической зоне. Повышение требований обосновано более значительными температурными нагрузками, воздействующими на покрытие и опытом армирования покрытий в этих регионах.
В дальнейшем, по мере накопления научных и практических данных, требования к остальным показателям свойств следует подразделять в зависимости от дорожно-климатических зон, в которых планируется использовать геосетки.
Регламентируемые показатели свойств геосинтетических материалов, применяемых для армирования (усиления) асфальтобетонных покрытий
|
Показатель свойств |
Значение показателя |
Методика контроля |
|
1 |
2 |
3 |
|
1. Механические свойства |
||
|
а) Прочность при растяжении в продольном(поперечном) направлении RLR (RTR), кН/м, не менее |
50 |
По DIN EN ISO 10319 или по методу Приложения БI |
|
б) Усилие в образце в направлении длины(ширины) материала RLR(e) и RTR(e), отнесенное к ширине образца, кН/м, возникающее при относительной деформации ε = 2 %, не менее |
25 |
По DIN EN ISO 10319 или по методу Приложения БI |
|
в) Длительная прочность, % от кратковременной прочности RLR (RTR), не менее |
70 |
По
методу |
|
г) Относительная прочность узловых соединений геосетки RJR, % от прочности ребер, не менее |
5 |
По DIN EN ISO 10321 или по методу Приложения БII |
|
2. Стойкость к агрессивным воздействиям |
||
|
а) Уменьшение прочности RLR (RTR), после нагрева до 160°С (теплостойкость), %, не более |
10 |
По
методу |
|
б) Потеря прочности (повреждаемость) материала в процессе укладки асфальтобетона, % от исходной прочности RLR (RTR), не более |
40 |
По
методу |
|
в) Уменьшение исходной прочности RLR (RTR), в агрессивных средах, %, не более |
25 |
ГОСТ
12020 |
|
г) Уменьшение исходной прочности RLR (RTR) после 25 циклов замораживания-оттаивания, %, не более |
10 |
По
методу |
|
3. Геометрические параметры |
||
|
а) Размер ячеек геосетки, мм, не менее |
|
|
|
- для мелкозернистого асфальтобетона |
25 × 25 |
ГОСТ 29104.7 |
|
- для крупнозернистого асфальтобетона |
35 × 35 |
По ГОСТ 3811 |
|
б) Ширина рулона, м |
от 1,5 до 4 |
ГОСТ 6943.17 |
|
в) Длина материала в рулоне, м |
от 20 до 100 |
|
дIV) Форма поставки геосеток (геокомпозитов) должна быть удобной как для механизированной, так и для ручной укладки. Рекомендуемая длина полотна в рулоне не менее 20 м, а ширина не менее 1,5 м. Ширина рулона для конкретного объекта должна обеспечивать минимальный перерасход армирующего материала с учетом перекрытия полос.
дV) Срок службы геосинтетического материала составляет не менее срока службы асфальтобетонного покрытия, для армирования которого он используется.
дVI) Геосетки (геокомпозиты) вместе с материалами покрытия должны быть пригодны для повторного использования смеси, полученной после измельчения (фрезерования) армированного асфальтобетонного покрытия.
дVII) Материалы геосеток (геокомпозитов) должны быть безопасны по отношению к окружающей среде, в том числе при их утилизации.
е) Геотекстильные материалы, служащие для создания геокомпозитов с геосетками, должны отвечать рекомендациям, представленным в таблице 2.
Для геокомпозитов наиболее пригодны нетканые геотекстильные материалы, упрочненные механическим или (и) термическим способами.
Регламентируемые показатели свойств геотекстильных материалов, применяемых для создания геокомпозитов
|
Наименование показателя |
Значение показателя |
Метод контроля |
|
Масса на единицу площади (поверхностная плотность), г/м2 |
до 100 |
По DIN EN ISO 9864 или по ГОСТ Р 50277 |
|
Толщина при нагрузке 2 кПа, мм, не более |
1,0 |
По EN ISO 9863-1,2 или по ГОСТ Р 50276 |
ж) Рекомендуемые методы измерения и контроля регламентируемых показателей свойств геосинтетических материалов, применяемые для армирования асфальтобетонных покрытий при капитальном ремонте и ремонте капитальных видов покрытий представлены в приложении Б. Для усиления гармонизации требований к свойствам ГМ и методам их испытаний в таблицах 1 и 2 указаны зарубежные аналоги нормативно-методических документов.
а) Конструктивные решения
аI) Исходя из положений действующей классификация работ по капитальному ремонту, ремонту и содержанию автомобильных дорог общего пользования и искусственных сооружений на них и п. а) раздела 4 настоящих методических рекомендаций при капитальном ремонте и ремонте усовершенствованных видов покрытий автомобильных дорог можно выделить несколько основных видов работ и соответствующих конструктивно-технологических решений, в которых целесообразно применять армирование асфальтобетона геосинтетическими материалами:
аI.1) усиление дорожной одежды при несоответствии ее прочности транспортным нагрузкам;
аI.2) восстановление и усиление изношенных покрытий из асфальтобетона (с ликвидацией колейности или без таковой) при обеспеченной прочности существующей дорожной одежды;
аI.3) перекрытие изношенных покрытий из цементобетона или железобетонных плит при обеспеченной прочности существующей дорожной одежды;
аI.4) уширение дорожной одежды до норм соответствующих категорий ремонтируемого участка автомобильной дороги;
аI.5) восстановление дорожной одежды в местах ремонта зем. полотна.
аII) Геометрические параметры, состояние дорожной одежды и виды требуемых ремонтных работ определяют в соответствии с действующими документами (ГОСТ Р 52398-2005, СНиП 2.05.02-85*, ОДН 218.1.052-2002, ОДН 218.1.052-2002, Классификация работ по капитальному ремонту, ремонту и содержанию автомобильных дорог общего пользования и искусственных сооружений на них - 2008, Методические рекомендации по ремонту и содержанию автомобильных дорог - 2004) с учетом положений настоящих методических рекомендаций.
аIII) Конструктивные решения назначают исходя из:
- требуемых видов ремонтных работ (п. аI) настоящего раздела);
- цели применения армирующих прослоек на основе геосеток и геокомпозитов (п. aVI настоящего раздела);
- функций, выполняющих армирующими прослойками (п. aV) настоящего раздела);
- условий применения армирующих прослоек (п. aVI) настоящего раздела).
аIV) Возможна реализация одной из двух целей применения армирующих прослоек из геосеток (геокомпозитов) в асфальтобетонных покрытиях:
- увеличение межремонтных сроков службы армированного покрытия и снижение затрат на его содержание за счет замедления темпов трещинообразования и колееобразования;
- снижение затрат на строительство покрытия за счет некоторого уменьшения его толщины (без увеличения межремонтных сроков службы).
Технико-экономические расчеты и опыт эксплуатации армированных покрытий показывают, что достижение первой цели является более предпочтительным, хотя в некоторых случаях возможно обоснование второй цели.
аV) Армирующая прослойка может выполнять две функции:
- армирование асфальтобетона;
- армирование с обеспечением лучшего сцепления (в том числе, за счет адгезии) с основанием и сохранением изолирующего слоя в период эксплуатации покрытия.
Первая функция осуществляется геосетками, отвечающими рекомендациям п. д) раздела 5, обеспечивающими увеличение прочности армированного покрытия за счет восприятия и перераспределения растягивающих напряжений от воздействия транспортных средств и (или) температурных деформаций.
Вторая функция осуществляется геокомпозитом, отвечающим требованиям п.п. д) и е) раздела 5. Геотекстильный материал, объединенный с геосеткой, обеспечивает лучшее приклеивание армирующей прослойки к основанию, что уменьшает вероятность ее сдвига в период укладки асфальтобетона.
Не рекомендуется использовать геокомпозит в местах с продольным уклоном проезжей части более 30 %о, в местах значительного изменения скорости движения транспортных средств.
aVI) Эффективность выполнения функций (п. aIV настоящего раздела) армирующих прослоек зависит от условий их применения. Для достижения максимального эффекта в конкретном случае конструирования необходимо определить местоположение армирующей прослойки по толщине и ширине покрытия.
Выбор местоположения армирующей прослойки по толщине покрытия зависит от ее преимущественного предназначения - воспринимать температурные воздействия (ТМП), или воздействия транспортных средств (НГР). Первый вид воздействия и соответствующие ему растягивающие температурные напряжения в наибольшей степени проявляются ближе к поверхности покрытия. Второй - ближе к подошве асфальтобетонного покрытия. На основании изложенного, ориентировочное местоположение армирующей прослойки по глубине можно определять, пользуясь рекомендациями таблицы 3 и рисунка 1.
Таблица 3
Выбор местоположения армирующей прослойки по глубине
|
Дорожно-климатическая зона |
hS/h0 |
Тип конструктивного решения |
|
I, II1 |
< 1 |
ТМП |
|
³ 1 |
НГР |
|
|
II2 |
< 0,9 |
ТМП |
|
³ 0,9 |
НГР |
|
|
III |
< 0,8 |
ТМП |
|
³ 0,8 |
НГР |
Рисунок 1. Типы принципиальных конструктивных решений:
1 - верхний слой покрытия толщиной h1; 2 - армирующая прослойка; 3 - нижний слой покрытия толщиной h2 из новой или регенерированной смеси; 4 - существующее покрытие или несущее основание
При уточнении местоположения армирующей прослойки следует учесть, что при выборе решения типа ТМП назначают h1 £ h2, а при выборе решения НГР - h1 > h2.
Учитывая, что на покрытие одновременно воздействуют нагрузки от транспортных средств и температурные напряжения, наилучшие результаты достигаются при одновременном применении решений типа ТМП и НГР.
аVII) Укладка армирующей прослойки непосредственно на существующее асфальтобетонное и, тем более, цементобетонное покрытие менее эффективна, нежели на свежеуложенный или регенерированный слой асфальтобетона. Это объясняется необходимостью обеспечения прочного сцепления арматуры с армируемым материалом для обеспечения перераспределения возникающих напряжений. Поэтому при выборе решения НГР нижний слой покрытия (выравнивающий слой) может устраиваться из мелкозернистого асфальтобетона или регенерированного материала существующего покрытия.
аVIII) Минимальная толщина слоев асфальтобетонного покрытия должна соответствовать рекомендациям документов (СНиП 2.05.02-85*, ОДН 218.046-01, Методические рекомендации по проектированию жестких дорожных одежд) и таблицам 4, 5 и 6.
Минимальные толщины слоев
|
Материалы покрытий |
Толщина слоя, см |
|
Асфальтобетон крупнозернистый |
6-7 |
|
Асфальтобетон мелкозернистый |
3-5 |
|
Асфальтобетон песчаный |
3-4 |
|
Щебеночные (гравийные) материалы, обработанные органическими вяжущими |
8 |
|
Примечания: 1. Большие толщины асфальтобетонных покрытий следует принимать для дорог I и II категорий, а меньшие - для дорог III и IV категорий. 2. Толщину конструктивного слоя следует принимать во всех случаях не менее чем 1,5 размера наиболее крупной фракции применяемого в слое минерального материала. |
|
Минимальная толщина слоев с органическими вяжущими, укладываемых на верхний слой основания из материалов, укрепленных цементом
|
Типы дорожной одежды |
Наименьшая толщина слоев из материалов, |
|
Капитальный |
18 |
|
Облегченный |
12 |
|
Примечание. В случае применения материалов, укрепленных комплексными вяжущими или медленно твердеющими гидравлическими вяжущими, толщина слоя может быть снижена на 20 %, а в условиях IV-V дорожно-климатических зон - на 30 %. |
|
Минимальная толщина верхнего слоя асфальтобетонного покрытия над армирующей прослойкой (h1 по рисунку 1) составляет 5-6 см (меньшее значение может быть принято при гарантированном допуске изменения толщины укладываемого слоя в пределах ±1 см)
Суммарную минимальную толщину армированных геосеткой асфальтобетонных слоев hS на блочном основании следует назначать независимо от результатов расчета нежесткой дорожной одежды по таблице 6 в зависимости от климатических условий района строительства, типа дорожной одежды, а также марки используемого битума и зернового состава асфальтобетонной смеси.
Минимальная толщина асфальтобетонного покрытия, армированного геосеткой (геокомпозитом), на блочном основании
|
Дорожно-климатическая зона и подзона |
Тип асфальтобетонной смеси верхнего слоя покрытия |
Минимальная толщина армированных геосеткой асфальтобетонных слоев hS на блочном основании, см, в дорожных одеждах |
|||||||
|
капитальных |
облегченных |
||||||||
|
при использовании битумов для покрытия |
|||||||||
|
БНД 60/90 |
БНД 90/130 |
БНД 130/200 |
БНД 200/300 |
БНД 90/130 |
БНД 130/200 |
БНД 200/300 |
СГ 130/200 |
||
|
1 |
2 |
3 |
4 |
5 |
6 |
7 |
8 |
9 |
10 |
|
II |
А |
- |
15 |
13 |
12 |
- |
- |
- |
- |
|
Б |
- |
16 |
15 |
13 |
13 |
12 |
11 |
9 |
|
|
В |
- |
- |
16 |
- |
- |
12 |
11 |
10 |
|
|
Г |
- |
- |
- |
- |
- |
- |
12 |
11 |
|
|
Северная и центральная части подзоны I2 |
А |
- |
16 |
14 |
12 |
- |
- |
- |
- |
|
Б |
- |
- |
15 |
13 |
- |
- |
12 |
11 |
|
|
В |
- |
- |
- |
- |
- |
- |
11 |
10 |
|
|
Г |
- |
- |
- |
- |
- |
- |
- |
11 |
|
|
Южная часть подзоны I2 |
А |
13 |
11 |
10 |
10 |
- |
- |
- |
- |
|
|
|
|
|
|
|
|
|
|
|
|
Б |
- |
13 |
11 |
- |
11 |
9 |
8 |
8 |
|
|
В |
- |
- |
- |
- |
- |
10 |
9 |
8 |
|
|
Г |
- |
- |
- |
- |
- |
- |
10 |
- |
|
|
Северная и центральная части подзоны I3 |
А |
13 |
12 |
11 |
10 |
- |
- |
- |
- |
|
Б |
- |
13 |
12 |
- |
11 |
9 |
9 |
8 |
|
|
В |
- |
- |
- |
- |
- |
10 |
9 |
8 |
|
|
Г |
- |
- |
- |
- |
- |
- |
10 |
9 |
|
|
Южная часть подзоны I3 |
А |
11 |
10 |
10 |
9 |
- |
- |
- |
- |
|
Б |
13 |
11 |
10 |
10 |
8 |
8 |
7 |
7 |
|
|
В |
- |
12 |
- |
- |
10 |
9 |
8 |
7 |
|
|
Г |
- |
- |
- |
- |
10 |
10 |
9 |
8 |
|
|
II1 |
А |
10 |
9 |
8 |
7 |
- |
- |
- |
- |
|
Б |
11 |
10 |
9 |
8 |
8 |
8 |
7 |
6 |
|
|
В |
12 |
11 |
10 |
9 |
9 |
9 |
8 |
7 |
|
|
Г |
- |
- |
- |
- |
10 |
10 |
9 |
8 |
|
|
II2 |
А |
13 |
12 |
11 |
10 |
- |
- |
- |
- |
|
Б |
- |
13 |
12 |
- |
11 |
9 |
9 |
8 |
|
|
В |
- |
- |
- |
- |
- |
10 |
9 |
7 |
|
|
Г |
- |
- |
- |
- |
- |
- |
10 |
9 |
|
|
III |
А |
11 |
10 |
9 |
- |
- |
- |
- |
- |
|
Б |
13 |
11 |
10 |
10 |
9 |
8 |
7 |
7 |
|
|
В |
- |
12 |
- |
- |
10 |
9 |
8 |
7 |
|
|
Г |
- |
- |
- |
- |
- |
10 |
9 |
8 |
|
Корректировка минимальной толщины армированных геосеткой асфальтобетонных слоев допустима на основании расчетов на температурную трещиностойкость.
аIX) Рациональное распределение армирующих материалов по ширине проезжей части связано:
- с неравномерностью распределения нагрузки от транспортных средств по полосам движения;
- с неодинаковой прочностью земляного полотна по ширине дороги.
На многополосных магистралях условия работы дорожной одежды на разных полосах не одинаковы, так как основная часть большегрузных автомобилей движется по крайней правой полосе, следовательно, несущая способность крайних полос должна быть больше, нежели остальных.
Большая часть дорог имеет водопроницаемое укрепление обочин. Значительная часть воды, стекающей с покрытия, впитывается в грунт земляного полотна у крайней правой полосы движения, снижая несущую способность грунтового основания в этой части дорожной конструкции. Дополнительным источником увлажнения грунтового основания под правой полосой движения может быть подтопление земляного полотна в условиях 2 и 3 типов местности по условиям увлажнения.
Крайние полосы дорожной одежды работают в более сложных условиях, что следует учитывать при конструировании дорожных одежд с армирующими прослойками (таблица 7).
В дорожной конструкции с количеством полос движения больше двух можно использовать не только оба типа конструктивных решений армирования покрытия геосеткой (ТМП и НГР), но и весьма эффективное конструктивное решение усиления основания - плоскую георешетку (геокомпозит) между несущим основанием и подстилающим слоем (ОДМ 218.5-002-2008).
аX) Армирующая прослойка из геосетки (геокомпозита) может укладываться в покрытие по трем схемам (рисунок 2):
- сплошное армирование;
- участковое армирование;
- комбинированное армирование.
Таблица 7
Вариант дорожной конструкции с рациональным расположением армирующих слоев из геосетки и георешетки по ширине и глубине
|
Элементы дорожной конструкции |
|
|||||||
|
Разделительная полоса |
Проезжая часть + краевые полосы |
Обочина |
Откос |
|||||
|
Слои дорожной конструкции |
Растительный слой |
3-я полоса движения + краевая полоса |
2-я полоса движения |
1-я полоса движения + краевая полоса |
Укрепленная часть обочины |
Растительный слой |
||
|
Асфальтобетон (полимерасфальтобетон) мелкозернистый плотный |
||||||||
|
Грунт |
||||||||
|
Геосетка |
||||||||
|
Асфальтобетон пористый |
||||||||
|
- |
Геосетка |
|||||||
|
Черный щебень |
Грунт |
|||||||
|
Основание |
||||||||
|
Георешетка плоская |
|
|||||||
|
Подстилающий слой дорожной одежды |
||||||||
|
Грунт земляного полотна |
||||||||
Рисунок 2 Схемы укладки геосетки (геокомпозита):
А - сплошная; Б - участковая; В -
комбинированная; 1 - «старое» покрытие со швами (трещинами);
2 - полосы геосетки; 3 - полотно геосетки
Сплошное армирование осуществляется геосинтетическим материалом равномерно на всей длине участка по всей ширине покрытия.
Участковое армирование осуществляется полосами геосинтетического материала только над поперечными и продольными швами и (или) трещинами.
При комбинированном армировании осуществляется сочетание сплошного армирования с дополнительной укладкой полос геосетки над швами и трещинами.
аXI) Выбор схемы армирования зависит от нескольких факторов:
- принятого вида ремонтных работ (п. аI) настоящего раздела);
- вида материала ремонтируемого покрытия (асфальтобетон, цементобетон);
- состояния покрытия, наличия дефектов и разрушений на нем (ОДМ 218.0.006-2002, Методические рекомендации по ремонту цементобетонных покрытий автомобильных дорог);
- дорожно-климатической зоны (СНиП 2.05.02-85*).
аXII) Сплошное армирование при ремонте и капитальном ремонте усовершенствованных покрытий рекомендуется применять:
- во всех случаях при выполнении работ в I и II ДКЗ (при ремонте и капитальном ремонте покрытий из цементобетона или железобетонных плит в I ДКЗ может применяться и комбинированная схема армирования с дополнительной укладкой армирующих полос над поперечными и продольными швами между плитами);
- при асфальтобетонных покрытиях с поперечными и косыми трещинами, расстояние между которыми менее 10 м, при наличии сетки трещин (ОДН 218.1.052-2002, ОДМ 218.0.006-2002);
- при деформациях и разрушении поверхности цементобетонных плит (при достаточной прочности дорожной одежды), в случаях дефрагментации существующего разрушенного цементобетонного покрытия (Методические рекомендации по ремонту цементобетонных покрытий автомобильных дорог);
- при устройстве армированного асфальтобетонного покрытия на основании из каменных материалов и грунтов, укрепленных минеральным вяжущим.
Сплошное армирование следует рассматривать как основной способ усиления асфальтобетонных покрытий.
аXIII) Участковое армирование полосами геосинтетического материала при ремонте и капитальном ремонте усовершенствованных покрытий рекомендуется применять:
- при асфальтобетонных покрытиях с поперечными и косыми трещинами, расстояние между которыми более 10 м (ОДН 218.1.052-2002, ОДМ 218.0.006-2002);
- при асфальтобетонных покрытиях с центральной или боковой трещиной (ОДМ 218.0.006-2002);
- над швами и трещинами существующих покрытий из цементобетона или железобетонных плит (при достаточной прочности дорожной одежды) (ОДМ 218.0.006-2002, Методические рекомендации по ремонту цементобетонных покрытий автомобильных дорог).
При выборе участковой схемы армирования следует учесть, что опыт эксплуатации асфальтобетонных покрытий, армированных по этой схеме, показал позитивные результаты в регионах с относительно мягкими климатическими условиями. Эта схема армирования не рекомендуется для применения в условиях I и II ДКЗ, так как часто после суровой зимы трещины на покрытии образуются рядом с армирующими полосами.
аXIV) Комбинированную схему армирования (сочетание сплошного армирования с дополнительной укладкой полос геосетки над ослабленными сечениями) при ремонте и капитальном ремонте усовершенствованных покрытий рекомендуется применять:
- при наличии сетки трещин по полосам наката на асфальтобетонном покрытии (ОДМ 218.0.006-2002);
- при использовании метода ликвидации колей без устранения или с частичным устранением причин их образования (Рекомендации по выявлению и устранению колей на нежестких дорожных одеждах);
- при наличии разрушенных швов, сколов углов или уступов более 20 мм между плитами старых покрытий из цементобетона или железобетонных плит (ОДМ 218.0.006-2002, Методические рекомендации по ремонту цементобетонных покрытий автомобильных дорог);
- при уширении дорожной одежды до норм соответствующих категорий ремонтируемого участка автомобильной дороги;
- при восстановлении дорожной одежды в местах ремонта и разрытия земляного полотна над водопропускными трубами, дренажными системами, трубопроводами, кабелями и т.п.
аXV) Некоторые рекомендуемые конструктивно-технологические решения представлены в приложении А. Окончательный выбор конкретного решения по конструкции дорожной одежды осуществляют на основе технико-экономического сопоставления вариантов с учетом межремонтных сроков службы и наличия материально-технических ресурсов.
б) Особенности расчета на прочность и определение межремонтных сроков службы дорожных одежд с армированным асфальтобетонным покрытием.
б1) Общие положения
В п. г раздела 4 настоящего документа предложены два варианта определения эффективности армирования асфальтобетонного покрытия. Один из них предполагает возможность уменьшения толщины асфальтобетонного покрытия (без продления межремонтных сроков службы дорожной одежды). Уменьшение толщины асфальтобетонного покрытия возможно только при конструктивном решении типа НГМ или совместном решении типов НГМ + ТМП (см. п. aVI настоящего раздела) в сочетании со сплошной или комбинированной схемой армирования (см. п. аX настоящего раздела). При определении требуемой толщины армированного асфальтобетонного покрытия в расчеты дорожных одежд вносятся некоторые дополнения, при этом требуется соблюдать условия по минимальной толщине покрытия (см. п. аVIII настоящего раздела).
С позиций критериев расчета по ОДН 218.046-01, ОДН 218.1.052-2002 и Методическим рекомендациям по проектированию жестких дорожных одежд введение в асфальтобетонное покрытие армирующей геосетки позволяет увеличить его прочность по критерию допускаемого упругого прогиба, увеличить сопротивление усталостному разрушению от растяжения при изгибе, повысить сопротивление растягивающим температурным напряжениям.
Наличие армирующей прослойки в асфальтобетонном покрытии учитывается за счет введения в базовые расчетные формулы двух специальных коэффициентов, величина которых зависит от прочности и деформативности геосетки (таблица 8):
- коэффициент ka учитывает повышение сопротивления растягивающим температурным напряжениям и сопротивления растяжению при изгибе;
- коэффициент kNp учитывает уменьшение влияния усталостных процессов на прочность, вследствие армирования асфальтобетонного покрытия.
Значения коэффициентов армирования
|
Прочность геосетки (плоской георешетки) RLR (RTR), кН/м |
Относительная деформация при разрыве eLRmax (eTRmax), % |
ka |
kNp |
|
Менее 50 |
Не более 4 |
1,00 |
1,00 |
|
Более 4 |
1,00 |
1,00 |
|
|
50 |
Не более 4 |
1,05-1,10 |
0,80-0,90 |
|
Более 4 |
1,00-1,05 |
0,90-1,00 |
|
|
100 |
Не более 4 |
1,10-1,20 |
0,50-0,75 |
|
Более 4 |
1,05-1,10 |
0,75-0,90 |
|
|
150 и более |
Не более 4 |
1,20-1,50 |
0,25-0,50 |
|
Более 4 |
1,10-1,20 |
0,60-0,75 |
Промежуточные значения коэффициентов армирования по прочности ГМ в таблице 8 определяются методом интерполяции.
Меньшие значения коэффициента ka и большие значения kNp применяют для I ДКЗ, соответственно - большие значения ka и меньшие значения kNp применяют для IV-V ДКЗ.
Величина коэффициента ka может быть увеличена до 20 %, a kNp - уменьшена до 15 % (за исключением использования геосетки или плоской георешетки с прочностью менее 40 кН/м):
- при использовании совместного конструктивного решения типа НГМ и ТМП (см. п. аVI) настоящего раздела) в сочетании со сплошной или комбинированной схемой армирования (см. п. аX настоящего раздела);
- при величине повреждаемости (показатель 2б в таблице 1 - потеря прочности материала в процессе укладки асфальтобетона, % от исходной прочности) не более 20 %.
бII) Особенности расчета дорожных одежд с армированным асфальтобетонным покрытием
Проектирование нежестких дорожных одежд на вновь сооружаемых дорогах и на новых участках реконструируемых дорог осуществляется по ОДН 218.046-01, а жестких дорожных одежд с асфальтобетонным покрытием на цементобетонном основании - по Методическим рекомендациям по проектированию жестких дорожных одежд.
Эти документы приняты за основу расчета в случаях выполнения видов работ, предусмотренных п.п. аI.4 или аI.5 настоящего раздела:
- при уширении дорожной одежды до норм соответствующих категорий ремонтируемого участка автомобильной дороги;
- при восстановлении дорожной одежды в местах ремонта земляного полотна.
Нежесткие дорожные одежды
В отдельные пункты и расчетные формулы ОДН 218.046-01 внесены дополнения, касающиеся особенностей расчета на прочность дорожных одежд с асфальтобетонным покрытием, армированным ГМ. Эти дополнения получены в результате комплексных испытаний геосеток, плоских георешеток и асфальтобетона, армированного этими ГМ, с учетом условий работ, повреждаемости и длительной прочности геосеток и плоских георешеток.
Позитивные особенности армирования учитываются при выполнении расчета конструкции на сопротивление монолитных слоев усталостному разрушению от растяжения при изгибе. При этом прочность материала монолитного слоя при многократном растяжении при изгибе RN определяют по формуле
|
RN = R0·k1·k2·ka(1 - nR·t), |
(6 б.II.1) |
где R0 - нормативное значение предельного сопротивления растяжению (прочность) при изгибе при расчетной низкой весенней температуре при однократном приложении нагрузки, принимаемое по табличным данным (см. таблицу П.3.1, ОДН 218.046-01);
k1 - коэффициент, учитывающий снижение прочности вследствие усталостных явлений при многократном приложении нагрузки;
k2 - коэффициент, учитывающий снижение прочности во времени от воздействия погодно-климатических факторов (см. таблицу 3.6, ОДН 218.046-01);
ka - коэффициент, учитывающий увеличения прочности вследствие армирования слоя геосеткой (см. таблицу 8);
nR - коэффициент вариации прочности на растяжение (см. прил. 4, ОДН 218.046-01);
t - коэффициент нормативного отклонения (см. прил. 4, ОДН 218.046-01).
Коэффициент k1, отражающий влияние на прочность усталостных процессов, вычисляют по выражению:
|
|
(6 бII.2) |
где SNp - расчетное суммарное число приложений расчетной нагрузки за срок службы монолитного покрытия, определяемое по формуле (3.6) ОДН 218.046-01 или (3.7) ОДН 218.046-01 с учетом числа расчетных суток за срок службы (см. прил. 6, ОДН 218.046-01);
m - показатель степени, зависящий от свойств материала рассчитываемого монолитного слоя (см. таблицу П.3.1, ОДН 218.046-01);
a - коэффициент, учитывающий различие в реальном и лабораторном режимах растяжения повторной нагрузкой, а также вероятность совпадения по времени расчетной (низкой) температуры покрытия и расчетного состояния грунта рабочего слоя по влажности, определяемый по табл. П.3.1, ОДН 218.046-01;
kNp - коэффициент, учитывающий уменьшение влияния усталостных процессов на прочность, вследствие армирования асфальтобетонного покрытия геосеткой (см. таблицу 8).
Пример расчета конструкции с армированным асфальтобетонным покрытием приведен в приложении В.
Жесткие дорожные одежды
При расчете жестких дорожных одежд с армированным асфальтобетонным покрытием на цементобетонном основании в формулу (3.33) Методических рекомендаций по проектированию жестких дорожных одежд введен коэффициент ka, за счет которого учитывается эффект от применения армирующей прослойки.
При этом предлагается определять толщину верхнего асфальтобетонного слоя из условия работы на прочность при действии расчетной нагрузки, отражающей растяжение асфальтобетона в поперечном направлении в призме шириной поверху 2R, понизу (2R + 2ha) и высотой ha по формуле
|
|
(6 б.II.3) |
где Rd - сопротивление асфальтобетона на растяжение при изгибе (см. обязательное приложение 4 Методических рекомендаций по проектированию жестких дорожных одежд);
Kya - коэффициент усталости (учитывающий многократное приложение нагрузки в течение суток) (см. обязательное приложение 4 Методических рекомендаций по проектированию жестких дорожных одежд);
ka - коэффициент, учитывающий увеличения прочности вследствие армирования слоя геосеткой (см. таблицу 8);
ma - коэффициент Пуассона для асфальтобетона (можно принять равным 0,3);
Ca - сцепление между слоем асфальтобетона и цементобетона, не превышающее сцепление внутри слоя асфальтобетона (допускаемое напряжение по сдвигу). При отсутствии гарантированного сцепления принимается Ca = 0.
бIII) Расчет толщины слоев усиления дорожной одежды
Расчет толщины слоев усиления дорожных одежд при разработке проектов на капитальный ремонт и ремонт автомобильных дорог осуществляется по ОДН 218.1.052-2002. Этот норматив принят за основу при необходимости выполнения видов работ, предусмотренных п.п. аI.1, аI.2 или аI.3 раздела 6 настоящего документа:
- усиление дорожной одежды при несоответствии ее прочности транспортным нагрузкам;
- восстановление и усиление изношенных покрытий из асфальтобетона (с ликвидацией колейности или без таковой) при обеспеченной прочности существующей дорожной одежды;
- перекрытие изношенных покрытий из цементобетона или железобетонных плит при обеспеченной прочности существующей дорожной одежды.
Толщина слоя усиления из асфальтобетона рассчитывается в соответствии с указаниями раздела 5 ОДН 218.1.052-2002 с учетом требований к минимальной толщине конструктивных слоев. Уменьшение толщины асфальтобетонного слоя за счет его армирования ГМ не рекомендуется. Эффективность армирования в этом случае определяется за счет увеличения межремонтных сроков службы дорожных одежд и сокращения объемов работ и затрат на содержание автомобильных дорог, предусмотренных в приложении 1 приказа Минтранса России от 1 ноября 2007 г. № 157.
бIV) Определение сроков службы дорожных одежд с армированным асфальтобетонным покрытием
Определение минимального гарантированного срока службы дорожной одежды с покрытием, армированным геосеткой (плоской георешеткой), отвечающей рекомендациям раздела 5 настоящего документа, и межремонтных сроков службы рекомендуется осуществлять проектной организацией расчетом на стадии разработки проектной документации.
При этом для определения расчетного дополнительного срока службы дорожной одежды можно использовать дополненную формулу (3.7) из ОДН 218.046-01 и значения коэффициентов армирования, приведенных в таблице 8
|
(6 бII.4) |
где Тсл - расчетный срок службы (см. табл. П.6.2, ОДН 218.046-01);
Тдоп - величина увеличения срока службы дорожной одежды, вследствие применения геосетки;
Трдг - расчетное число расчетных дней в году, соответствующих определенному состоянию деформируемости конструкции (см. прил. 6, ОДН 218.046-01);
Np - приведенное к расчетной нагрузке среднесуточное (на конец срока службы) число проездов всех колес, расположенных по одному борту расчетного автомобиля, в пределах одной полосы проезжей части (приведенная интенсивность воздействия нагрузки);
q - показатель изменения интенсивности движения автомобиля данного типа по годам;
kn - коэффициент, учитывающий вероятность отклонения суммарного движения от среднего ожидаемого (см. табл. 3.1, ОДН 218.046-01);
kNp - коэффициент, учитывающий уменьшение влияния усталостных процессов на прочность, вследствие армирования асфальтобетонного покрытия (см. таблицу 8).
Минимальные расчетные межремонтные сроки службы, рекомендованные проектной организацией, не должны быть меньше межремонтных сроков проведения капитального ремонта и ремонта, указанных в приложении 3 к приказу Минтранса России от 01.11.2007 № 157, с учетом следующих дополнений.
В случаях рассмотрения или принятия конструктивно-технологического решения с уменьшением толщины асфальтобетонного покрытия за счет его армирования ГМ межремонтные сроки проведения капитального ремонта и ремонта дорожных одежд принимаются без изменений по приложению 3 к приказу Минтранса России от 01.11.2007 № 157.
В случаях рассмотрения или принятия конструктивно-технологического решения без уменьшения толщины асфальтобетонного покрытия, рассчитанного по ОДН 218.046-01, ОДН 218.1.052-2002 или Методическим рекомендации по проектированию жестких дорожных одежд за счет однослойного армирования ГМ, межремонтные сроки проведения капитального ремонта и ремонта дорожных одежд, предусмотренные приказом Минтранса России от 01.11.2007 № 157 рекомендуется увеличить (увеличение сроков не рассматривается при участковой схеме укладки ГМ). Это увеличение обосновано замедлением темпов трещинообразования, колееобразования и образованием выбоин на армированном покрытии, что, в свою очередь, способствует сохранению ровности покрытия и его распределяющей способности. Уменьшается количество влаги, проникающей через покрытие, и снижающей несущую способность земляного полотна.
Межремонтные сроки проведения работ по капитальному ремонту нежестких дорожных одежд автомобильных дорог, предусмотренные в приложении 3 приказа Минтранса России от 01.11.2007 № 157, рекомендуется увеличить:
- на 6-9 % - при использовании для армирования геосеток (плоских георешеток) с прочностью RLR (RTR) от 50 до 100 кН/м;
- на 9-11 % - при использовании для армирования геосеток (плоских георешеток) с прочностью RLR (RTR) от 100 до 150 кН/м;
- на 11-13 % - при использовании для армирования геосеток (плоских георешеток) с прочностью RLR (RTR) более 150 кН/м.
Межремонтные сроки проведения работ по ремонту капитальных нежестких, капитальных жестких и облегченных дорожных одежд автомобильных дорог, предусмотренные в приложении 3 приказа Минтранса России от 01.11.2007 № 157, рекомендуется увеличить:
- на 15-30 % - при использовании для армирования геосеток (плоских георешеток) с прочностью RLR (RTR) от 50 до 100 кН/м;
- на 30-40 % - при использовании для армирования геосеток (плоских георешеток) с прочностью RLR (RTR) от 100 до 150 кН/м;
- на 40-50 % - при использовании для армирования геосеток (плоских георешеток) с прочностью RLR (RTR) 150 кН/м и более.
При определении межремонтных сроков проведения работ по капитальному ремонту и ремонту меньший процент увеличения этих сроков принимают при использовании геосеток (плоских георешеток) с величиной относительной деформация при разрыве eLRmax (eTrmax) больше 4 %, больший процент - не более 4 %.
При использовании совместного конструктивного решения типа НГМ и ТМП (двухслойное армирование) в сочетании со сплошной или комбинированной схемой армирования вышеуказанные увеличенные межремонтные сроки проведения работ по капитальному ремонту и ремонту дорожных одежд могут быть увеличены еще до 50 %.
Во всех расчетах величина увеличенного межремонтного срока округляется до целого количества лет.
При определении эффективности армирования асфальтобетонных покрытий (без уменьшения их толщины) рекомендуется также учитывать снижение объемов работ и затрат на содержание автомобильных дорог, предусмотренных в п.п. 23, 27 и 31 приложения 1 к приказу приказа Минтранса России от 01.11.2007 № 157, до следующей величины:
Таблица 9
|
№ п/п |
Вид работ |
Периодичность (количество воздействий в год) |
||
|
Центральный, Северо-Западный, Приволжский, Уральский, Сибирский, Дальневосточный федеральные округа |
Южный федеральный округ |
Магаданская область, Республика Саха (Якутия), Ханты-Мансийский, Ямало-Ненецкий, Таймырский (Долгано-Ненецкий), Эвенкийский, Чукотский, Корякский автономные округа |
||
|
23 |
Устранение деформаций и повреждений асфальтобетонного покрытия |
До 2,0 % от площади |
||
|
Заливка трещин на асфальтобетонных покрытиях |
100 пог. м трещин на 1000 кв. м покрытия |
|||
|
31 |
Ликвидация колей глубиной до 30 мм по полосам наката |
пог. м на 1 км |
||
|
35 |
25 |
|||
|
Примечание: № п/п сохранен по таблице приложения 1 |
||||
При участковой схеме укладки ГМ можно уменьшать только объемы работ по заливке трещин (п. № 27) с учетом рекомендаций, указанных в п. аXIII настоящего раздела.
а) До начала устройства армированного асфальтобетонного покрытия должны быть выполнены внеплощадочные и внутриплощадочные подготовительные работы.
аI) Внеплощадочные работы включают в себя комплекс организационно-технических мероприятий, состав которых зависит от конкретных условий, обеспечивающих высокое качество устройства покрытия с требуемым темпом работ.
Наиболее важными из этих мероприятий являются:
- организация оперативного входного контроля качества и объема материалов (в том числе геосинтетических материалов);
- подготовка рецептуры смеси и отладка режимов работы асфальтобетонного завода и асфальтоукладчика;
- определение потребного количества и подготовка транспортных средств для вывозки смеси и геосинтетического материала;
- подготовка подъездных транспортных путей;
- определение потребного количества и подготовка машин, механизмов, инструментов и оборудования (в том числе для распределения и фиксации геосинтетического материала по п. зIII настоящего раздела для эффективной работы на дороге;
- обучение инженерно-технического персонала и рабочих в части особенностей выполнения операций по устройству армированного покрытия.
аII) Внутриплощадочные подготовительные работы выполняются непосредственно на дороге и входят в перечень производственных операций, обеспечивающих качество получаемого покрытия. Особыми видами внутриплощадочных подготовительных работ, характерными для устройства армированного асфальтобетонного покрытия, являются следующие:
- обеспечение организованного проезда транзитного транспорта;
- настройка всех дозирующих систем автогудронатора и уточнение нормы розлива вяжущего, обеспечивающей качественную фиксацию геосинтетического материала на основании (см. п. з настоящего раздела);
- проверка работы специализированной машины для распределения геосинтетического материала (если таковая имеется);
- проверка работы специального стиплера или строительно-монтажного пистолета, подбор дюбелей и патронов, используемых для фиксации геосинтетического материала на основании (при необходимости, см. п. з) настоящего раздела;
- пробное распределение и уплотнение асфальтобетонной смеси комплектом катков для проверки отсутствия сдвигов геосинтетического материала при воздействии колес автосамосвалов, гусениц (колес) асфальтоукладчика и отсутствия значительных повреждений армирующего материала после воздействия уплотняющих средств (см. п. 4 таблицы 2 и п. з настоящего раздела).
б) Работы по устройству слоев покрытия с применением армирующих прослоек выполняют в соответствии с рекомендациями СНиП 3.06.03-85, СНиП 12-03-2001, ВСН 8-89, Методических рекомендаций по ремонту и содержанию автомобильных дорог, ВСН 37-84 по типовым технологическим схемам с некоторыми видоизменениями и добавлением отдельных операций. В число таких операций, изменяемых или добавляемых в связи с устройством армирующей прослойки из геосинтетических материалов, обычно входят следующие:
- подготовка основания (существующее покрытие);
- розлив вяжущего;
- подготовка армирующего материала (при необходимости);
- укладка и приклеивание (фиксация) армирующей прослойки;
- повторный розлив вяжущего (при необходимости);
- распределение каменной мелочи (при необходимости).
в) Состав технологических операций и объемы работ по подготовке основания (существующего покрытия) перед укладкой ГМ зависят от транспортно-эксплуатационного состояния существующего покрытия и видов работ, предусмотренных в проектной документации на капитальный ремонт или ремонт участка автомобильной дороги (п. аI раздела 6).
вI) В случае устройства армированного покрытия на существующей дорожной одежде при несоответствии ее прочности транспортным нагрузкам подготовка основания может включать широкий спектр технологических операций - от устройства дополнительных слоев основания до регулирования водно-теплового режима земляного полотна.
Мероприятия по повышению несущей способности дорожных одежд выбирают в результате технико-экономического сравнения вариантов. Это может быть фрезерование существующего покрытия и основания, устройство дополнительных слоев. При этом следует предостеречь от устройства слоя усиления из дискретных материалов. Материалы, не обработанные вяжущим, можно укладывать в нижнюю часть слоев усиления только в том случае, если под ними расположены слои из водопроницаемого материала (гравия, щебня). В противном случае в этих слоях, оказавшихся между водонепроницаемыми материалами, может произойти влагонакопление, что ускорит их разрушение при промерзании и потерю прочности в расчетный период. Исключение составляют участки дорог, расположенные в местах, где отсутствует сезонное промерзание дорожных одежд.
вII) В случае восстановления и усиления изношенного покрытия из асфальтобетона с ликвидацией колейности при обеспеченной прочности существующей дорожной одежды подготовка основания обязательно включает технологические операции, связанные с устранением колееобразования.
Конкретный метод и технологию борьбы с колееобразованием выбирают в каждом случае на основе анализа результатов обследования общего состояния дороги, выявления причин образования колей, их глубины, геометрических параметров и протяженности, интенсивности и состава движения, с учетом финансовых и материально-технических возможностей, сроков выполнения работ и других факторов (Рекомендации по выявлению и устранению колей на нежестких дорожных одеждах).
вIII) В случае перекрытия армированным асфальтобетоном изношенных покрытий из цементобетона или железобетонных плит подготовка основания может включать разнообразный набор технологических операций, зависящий от видов деформаций и разрушений существующего цементобетонного покрытия (Методические рекомендации по ремонту цементобетонных покрытий автомобильных дорог) (дефрагментация плит, выравнивание поверхности и уступов, замена разрушенных участков плит, ремонт сколов кромок и углов плит, деформационных швов, герметизация швов, консервация трещин и т.п.).
Во время обследования необходимо уделить особое внимание выявлению качающихся плит и плит, под которыми имеются пустоты. Положение этих плит необходимо стабилизировать путем обеспечения плотного контакта плит с основанием любым из имеющихся способов. Это способствует предупреждению преждевременного разрушения верхнего слоя армированного покрытия.
Необходимо проверить вид материала, который использован для герметизации швов и полостей в зоне монтажных петель плит. Если для этих целей использован битум, то его необходимо заменить специальной мастикой. В противном случае при укладке горячего асфальтобетона поверх плит битум разогреется, перейдет в текучее состояние и выступит поверх уложенного слоя, ухудшив качество смеси и покрытия (рисунок 3).

Рисунок 3 Битумные пятна на поверхности покрытия
вIV) В случае применения армированного асфальтобетона при уширении существующей дорожной одежды до норм соответствующих категорий ремонтируемого участка автомобильной дороги, или при восстановлении дорожной одежды в местах ремонта земляного полотна спектр работ по подготовке основания начинается с сооружения или ремонта земляного полотна и завершается очисткой и подгрунтовкой поверхности нового несущего основания.
вV) В простейшем случае подготовка основания включает очистку его от пыли и грязи, устранение выбоин и других мелких дефектов, очистку и заделку герметизирующим материалом трещин с шириной раскрытия более 5 мм. При несоответствии ровности основания выполняют выравнивание его поверхности путем фрезерования или устройства выравнивающего слоя.
г) Организация комплекса работ по подготовке основания должна обеспечить требуемый темп работ по устройству армированного покрытия. Поэтому в зависимости от видов и объемов подготовительных работ они могут выполняться отдельным специализированным отрядом (бригадой) с организационным разрывом между устройством покрытия. При этом длина сменных захваток на подготовке основания и устройстве покрытия может быть разной, в зависимости от темпа выполнения ведущих операций (эксплуатационной производительности ведущих машин).
При сравнительно небольших объемах подготовительных работ (п. вV настоящего раздела) они ведутся параллельно со строительством армированного покрытия.
д) Устройство армированного асфальтобетонного покрытия производят только после приемки основания (существующего покрытия) представителями технического надзора органа управления с оформлением соответствующих документов. Приемка основания ведется согласно СНиП 3.06.03-85.
е) Все виды работ по устройству армированного покрытия должны выполняться на одной сменной захватке, длина которой определяется эксплуатационной производительностью и количеством ведущих машин. Обычно в качестве ведущей машины выступает асфальтоукладчик, реже - катки, автосамосвалы. Сменный темп работ может определять и производительность АБЗ.
ж) Первым видом работ, выполняемых на захватке, является очистка основания. Основание следует тщательно очистить от пыли с помощью поливомоечной или подметально-уборочной машины. При наличии бортового камня особое внимание при очистке следует уделить лотку проезжей части в зоне стыка основания с камнем. Эту зону целесообразно очищать подметально-уборочной машиной с пылесосом или вручную.
з) Сразу после очистки основания выполняют розлив вяжущего (подгрунтовка), выбор которого, расход и порядок розлива производят в зависимости от условий производства работ, вида применяемого геосинтетического материала, свойств нижнего слоя, на который укладывается армирующая прослойка.
Подгрунтовка проводится в любом случае (даже если укладка нижнего и верхнего слоя асфальтобетонного покрытия ведется параллельно с разрывом в 1-2 смены). Эта операция должна выполняться очень тщательно, и необходима по двум причинам:
- для обеспечения сцепления геосетки с нижним и верхним слоями покрытия, слоев между собой, для дальнейшей совместной работы;
- из технологических соображений, для фиксации ("приклеивания") геосетки к нижнему слою на период движения по ней автосамосвалов и асфальтоукладчика, укладывающего верхний слой покрытия.
Как первая, так и вторая причины являются очень важными. Качество "приклеивания" сетки определяется по отсутствию сдвигов и волн армирующего материала при укладке верхнего слоя покрытия, а это, в свою очередь, определяет эффективность армирования.
зI) В качестве вяжущего может быть использован вязкий битум марок БНД 40/60, БНД 60/90 или БНД 90/130 (по ГОСТ 22245-90*). При более низких температурах в период производства работ используют менее вязкий битум. При распределении он имеет температуру не ниже 120-150°С.
В случае плохого растекания вязкого битума с образованием битумных дорожек, при прохладной погоде, когда вязкий битум быстро остывает и плохо фиксирует геосетку, для подгрунтовки используют вязкий битум, разжиженный 8-12 % керосина. Разжижитель может негативно влиять на прочность геосинтетического материала. Поэтому в конкретном случае необходима проверка возможности использования данного вида разжижителя для уменьшения вязкости битума, контактирующего с конкретным видом геосинтетического материала.
При использовании разжиженного битума геосетку лучше укладывать до испарения разжижителя, а асфальтобетонную смесь - после испарения.
При пониженной температуре воздуха, необходимости укладки покрытия на влажное основание, использовании геокомпозитов с геотекстильным материалом, не обработанным вяжущим, предпочтительно применение быстрораспадающихся битумных или полимербитумных эмульсий (классов ЭБК-1, ЭБПК-1, ЭБК-2 и др.). В прохладное время (ниже плюс 15°С) эмульсию подогревают до 50-60°С. Время розлива уточняют по периоду распада эмульсии.
Положительной особенностью применения битумных эмульсий является более равномерное распределение вяжущего и возможность исправить огрехи, которые могут быть допущены при укладке геосинтетического материала, до распада эмульсии. В тоже время, необходимость ожидания распада эмульсии задерживает начало технологических операций по распределению и уплотнению асфальтобетонной смеси.
зII) Следует обратить особое внимание на равномерность розлива и норму расхода вяжущего. Недостаточное количество вяжущего в целом или в отдельных зонах может привести к ослаблению фиксации ГМ на нижнем слое, что приведет к сдвигам геосетки при укладке асфальтобетона.
Общий вид уложенной на основание геосетки рисунок 4.

Рисунок 4 Пример укладки геосетки на основание
Избыточное количество вяжущего затрудняет технологию производства работ и может привести к прилипанию ГМ к колесам и повреждению армирующего материала при заезде на него автосамосвалов.
Норму расхода вяжущего назначают в зависимости от состояния основания (существующий или свежеуложенный слой), вида и свойств используемого ГМ и самого вяжущего, а также учитывая рекомендации производителя геосетки. Повышенная норма розлива вяжущего (битума 0,9-1,2 л/м2, эмульсии 1,1-1,5 л/м2) осуществляется:
- при укладке армирующего материала на существующее покрытие со значительным количеством мелких дефектов, не устраненных на предыдущем этапе работ (мелкие трещины и т.п.);
- при значительной шероховатости существующего покрытия;
- при использовании геосетки или геокомпозита, не обработанных вяжущим в процессе их изготовления.
В остальных случаях норма розлива вяжущего обычно составляет 0,7-1,0 л/м2. В местах, где возможно возникновение повышенных сдвигающих усилий от транспортных средств (крутые уклоны, места торможения), норма расхода вяжущего должна быть снижена, но не менее чем до 0,7 л/м2.
Учитывая сложность точного назначения нормы расхода вяжущего, целесообразно выполнять ее корректировку по косвенным внешним признакам в зависимости от интенсивности окраски следа, остающегося на поверхности ГМ после его укладки и прохода автомобиля. При правильном назначении нормы расхода колея имеет интенсивный черный цвет, при избытке битума на ней появляются отблески, и отмечается налипание полотна на колеса, при недостатке - колея слабо проявляется либо приобретает бурый оттенок.
Розлив битума (эмульсии) производится автогудронатором с хорошо отрегулированными и прочищенными соплами в один или два приема (до и после укладки геосетки). Чаще производят подгрунтовку и укладку одной полосы покрытия. Ширина розлива при этом должна быть на 10-15 см больше ширины этой полосы. При укладке покрытия на всю ширину основание полностью подгрунтовывают.
Количество розливов вяжущего зависит от вида и геометрических параметров используемой геосетки или геокомпозита.
Общий принцип назначения количества розливов вяжущего при подгрунтовке состоит в следующем: если площадь, занимаемая прозорами между ребрами геосетки (открытая площадь ячейки), составляет более 70-75 %, а площадь, занимаемая поперечными и продольными ребрами, составляет менее 25-30 % от общей площади полотна геосетки, то розлив вяжущего можно выполнять за один прием. В противном случае рекомендуется выполнять розлив в два приема: первый – 70 %, второй – 30 % от полной нормы розлива до и после раскладки армирующего материала. При использовании геосетки или геокомпозита, не обработанных вяжущим в процессе их изготовления, рекомендуется выполнять розлив вяжущего в два приема.
При отступлении от рекомендуемых правил и розливе вяжущего всегда в один прием основная часть площади клеящего материала может перекрываться ребрами геосетки или нетканым геотекстилем, что существенно ослабляет связь между слоями асфальтобетона и не позволяет реализовать преимущества армированного покрытия в полной мере.
зIII) Перед укладкой рулоны геосетки в упаковке складируют на обочине таким образом, чтобы исключить ручное перемещение рулонов на значительное расстояние, т.е. с учетом длины сетки в рулоне. При необходимости рулоны геосетки могут быть разрезаны перед укладкой до требуемой ширины нарезчиком швов или другим механизированным инструментом.
Укладку армирующей прослойки производят непосредственно после розлива вяжущего. Укладку геосетки ведут в продольном направлении ровно, без перекосов звеном рабочих из трех-четырех человек (рисунок 5).

Рисунок 5
Укладка геосетки вручную
Рулон укладывают на подгрунтовонное основание, точно ориентируют по краю основания и разматывают сетку на 10-15 м, проверяя правильность направления укладки.
При значительном темпе работ (более 3000 м2/см) численность бригады увеличивают, либо используют специальный навесной механизм (рисунок 6).

Рисунок 6
Навесные механизмы для раскладки армирующих материалов
Число одновременно раскатываемых рулонов зависит от их ширины и ширины основания. Например, при ширине основания 8 м и ширине рулона 4 м сетку укладывают с отступом от краев на 7-8 см для соблюдения перекрытия полос геосетки посередине покрытия на 14-16 см. При необходимости одновременного раскатывания 2-3 рулонов работы ведут с опережением крайнего (внешнего) рулона, который исполняет роль шаблона и ориентира для других, соседних рулонов. Рекомендуемая ширина перекрытия продольных сопряжений рулонов 10-15 см, поперечных сопряжений рулонов - 20-25 см (при использовании геокомпозита перекрытие соседних полос можно не производить).
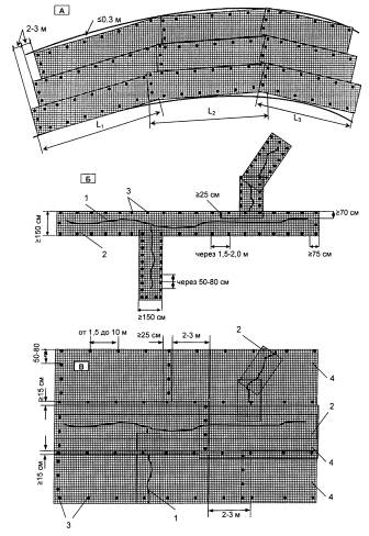
При укладке рулонных ГМ на кривых малого радиуса приходится разрезать армирующий материал поперек полос один или несколько раз (рисунок 7 А). Длина каждой полосы L зависит от радиуса кривой R и величины допустимого расстояния между краем геосетки и покрытия (обычно составляет до 0,3 м). При известной величине R длину полосы ориентировочно можно определить по формуле L £ 1,5ÖR.
При укладке полос ГМ над извилистыми трещинами рекомендуемая ширина полосы составляет 1,5 м, фактическая ширина определяется очертаниями и извилистостью трещин (рисунок 7 Б). При этом исходят из требований о минимальной длине "заделки" геосетки, равной 70 см в каждую сторону от трещины, и минимальном перекрытии полос, равном 25 см. Более эффективны сплошные полосы по всей длине, но при большой извилистости трещин полосы можно разрезать и укладывать с перекрытием.
При комбинированном армировании сплошным полотном и полосами последние должны укладываться и приклеиваться к основанию под сплошное полотно ГМ (рисунок 7 В).
Начало и окончание каждого следующего рулона ГМ, укладываемого по ширине покрытия, необходимо смещать в продольном направлении на 2-3 м (см. рисунок 7 А и В).
При использовании для армирования покрытия геокомпозита дополнительная фиксация ГМ к основанию, как правило, не требуется.
Рисунок 7
Схемы укладки и крепления полотен и полос геосетки на основании: А - при армировании сплошным полотном на кривых малого радиуса; Б - при армировании полосами над трещинами; В - при комбинированном армировании полосами и сплошным полотном; 1 - продольные и поперечные трещины; 2 - полосы геосетки; 3 - дополнительная фиксация полос к основанию; 4 - полотна геосетки, укладываемые поверх полос.
зIV) Протяженность участка, на котором укладывается армирующий материал, зависит от условий производства работ. При этом исходят из следующих требований: не допускать движения по ГМ транзитного транспорта; не допускать разворота автосамосвалов, подвозящих смесь, на участке, где уложен ГМ; осуществлять медленное равномерное движение груженых автосамосвалов к асфальтоукладчику задним ходом по одной колее.
Если после движения нескольких автосамосвалов наблюдается прилипание ГМ к колесам, то следует скорректировать норму розлива вяжущего или вручную выполнять подсыпку на колею асфальтобетонной смеси из бункера асфальтоукладчика.
зV) Значительное снижение качества армированного асфальтобетонного покрытия может произойти в результате гранулометрической и температурной сегрегации (неоднородности) асфальтобетонной смеси.
Из-за гранулометрической сегрегации на отдельных участках уложенного слоя асфальтобетонной смеси оказывается избыточное количество крупных фракций каменного материала, что может привести к повреждению армирующего материала на этих участках при уплотнении слоя и снижению эффективности армирования.
Для уменьшения гранулометрической сегрегации смеси загрузку кузова следует производить в определенной последовательности (рисунок 8).

Рисунок 8
Варианты загрузки кузова: А - за один прием, приводящий к сильной сегрегации смеси; Б - рекомендуемый, в три приема.
Для транспортировки асфальтобетонной смеси от асфальтобетонного завода к асфальтоукладчику следует использовать грузовые автомобили-самосвалы большой грузоподъемности имеющие:
- конструкцию кузова, подогреваемого отходящими газами, и тентом для укрытия перевозимой смеси;
- подъемное устройство, обеспечивающее постепенное увеличение угла наклона кузова с фиксацией его положения в нескольких местах;
- высокую скорость движения и конструкцию подвески, которая создавала бы минимальную вибрацию при движении.
Следует отметить, что выгрузка асфальтобетонной смеси напрямую из кузова автосамосвала большой грузоподъемности приводит к осадке асфальтоукладчика, в результате которой может уменьшаться толщина укладываемого слоя. По мере выработки смеси и снижения нагрузки на механизм толщина слоя может увеличиваться. Увеличение толщины слоя покрытия всего на 2-3 см требует увеличения контактного давления катка на 20-30 %, что трудно реализовать на практике. В конечном итоге нарушается ровность полосы укладки и, как следствие, снижается качество уплотнения и эффективность армирования покрытия.
Величина температурной сегрегации смеси сразу после ее распределения укладчиком по площади покрытия может достигать 30-40 градусов. Столь существенная температурная неоднородность предопределяет значительную неоднородность прочности, деформативности и удобоуплотняемости смеси.
Для обеспечения равномерного непрерывного поступления смеси к укладчику без прямого контакта с ним, устранения гранулометрической и температурной неоднородности смеси следует использовать конвейер - перегружатель. Использование этой машины в технологическом процессе значительно уменьшает вероятность пробуксовывания гусениц (колес) асфальтоукладчика, сдвига и повреждения армирующего материала.
зVI) Общее время охлаждения различных слоев смеси от 160-140°С до 65-60°С при определенных погодных условиях составляет от 25 до 100 мин. В рамках этого времени необходимо выполнить весь объем работ по уплотнению. За период уплотнения прочность на сдвиг смеси возрастает примерно в 4 раза, а модуль деформации - в 15 раз. Поэтому подобрать рациональный состав звена можно только опытным путем, в процессе пробного уплотнения, ориентируясь на имеющиеся рекомендации.
Окончательное решение о выборе режима уплотнения, не повреждающего геосетку, может быть принято в каждом конкретном случае только в процессе пробной укладки и уплотнения слоя. Для этого образцы в виде полос геосетки (не менее 5 образцов) должны быть извлечены (вырезаны) из покрытия, сразу после пробного уплотнения, до остывания слоя и переданы для испытания в лабораторию.
В общем случае, в процессе уплотнения слоя катки должны двигаться по укатываемой полосе от ее краев к оси дороги, а затем от оси к краям, перекрывая каждый след на 20-30 см. При устройстве сопряженных полос вальцы катка при уплотнении первой полосы должны находиться от кромки сопряжения на расстоянии не менее 10 см. При уплотнении второй полосы первые проходы необходимо выполнять по продольному сопряжению с ранее уложенной полосой. При наезде на свежеуложенную полосу катки должны двигаться ведущими вальцами вперед, что исключает образование волны перед вальцом.
Если при испытании установлено, что степень повреждения ребер геосетки превышает допустимый предел (см. таблицу 1), следует менять режим уплотнения или армирующий материал.
Повреждаемость геокомпозитов при уплотнении асфальтобетонного слоя значительно меньше, чем геосеток без нетканого геотекстильного полотна.
а) Контроль качества
Контроль качества выполняют в соответствии с существующими рекомендациями документов СНиП 3.06.03-85, ВСН 19-89, Методические рекомендации по ремонту и содержанию автомобильных дорог с добавлением отдельных операций в связи с устройством армирующей прослойки из геосинтетического материала.
аI) На стадии входного контроля осуществляют проверку качества и потребный объем геосинтетического материала (по п. б и в раздела 5), а также мероприятия, указанные в п. аII раздела 7.
аII) Осуществляют визуальный контроль качества подготовки основания и фиксируют:
- запыленность и влажность поверхности, очистку лотков у бортового камня (по п. ж раздела 7);
- заделку трещин, швов и выбоин (по п. вIII раздела 7);
- устранение уступов между плитами (по п. вV раздела 7);
- степень шероховатости поверхности (для корректировки расхода вяжущего по п. з раздела 7).
аIII) При розливе вяжущего проверяют и фиксируют:
- температуру разогрева битума или эмульсии (инструментально, по ГОСТ 22245-90* и зI раздела 7);
- количество розливов и дозировку розлива вяжущего (инструментально, по п. зII раздела 7);
- ширину и равномерность распределения вяжущего (визуально, по п. зII раздела 7);
- период распада битумной эмульсии (инструментально по ГОСТ Р 52128-2003 и визуально по изменению цвета).
aIV) При укладке армирующего материала проверяют и фиксируют:
- отсутствие повреждений упаковочного материала и правильность предварительнои раскладки рулонов (визуально и инструментально по п. зIII раздела 7);
- ровность укладки и отсутствие складок, волн и пузырей (визуально по п. зIII раздела 7);
- продольное и поперечное перекрытие полотен и полос (инструментально, по п. зIII раздела 7);
- дополнительную фиксацию полотен и полос к основанию дюбелями или скобами (при необходимости, визуально по п. зIII раздела 7);
- недопущение наезда на армирующий материал транзитного транспорта и условия наезда технологического транспорта (визуально, по п. зIV раздела 7).
aV) При укладке асфальтобетонной смеси проверяют и фиксируют:
- наличие сдвигов и складок полотна или полос армирующего материала под воздействием колес автосамосвалов и асфальтоукладчика (визуально по п. зII раздела 7 с использованием мероприятий по п. зIII раздела 7);
- наличие явно выраженной неоднородности гранулометрического состава (визуально, по п. зV раздела 7);
- неоднородность температуры распределенной смеси по площади (инструментально, по п. зV раздела 7, с допуском ±10 градусов от рекомендуемой);
- толщину слоя (инструментально, с допуском ±10 мм от рекомендуемой).
aVI) При приемке выполненных работ производится освидетельствование работ в натуре, контрольные замеры, проверка результатов производственных и лабораторных испытаний строительных материалов и контрольных образцов, записей в общем журнале работ и специальных журналах по выполняемым отдельным видам работ.
б) Безопасность выполнения работ
При производстве работ по строительству армированных асфальтобетонных покрытий следует руководствоваться СНиП 12-03-2001 и Правилами охраны труда при строительстве, ремонте и содержании автомобильных дорог, а также типовыми инструкциями по охране труда машинистов и рабочих.
бI) К работе по устройству армированных асфальтобетонных покрытий допускаются лица не моложе 18 лет, прошедшие предварительный медицинский осмотр, а также обучение и инструктаж по безопасности труда.
бII) Движение автомобилей-самосвалов в зоне уложенной армирующей прослойки для разгрузки асфальтобетонной смеси разрешается только по сигналу приемщика смеси; перед началом движения водитель обязан подать звуковой сигнал.
Открывать задний борт автомобиля-самосвала при выгрузке асфальтобетонной смеси в бункер асфальтоукладчика или конвейера - перегружателя необходимо специальным металлическим крючком.
Выгрузку асфальтобетонной смеси из автомобиля-самосвала в приемный бункер конвейера - перегружателя или асфальтоукладчика следует выполнять лишь после его остановки, предупредительного сигнала машиниста и удаления рабочих на расстояние 1 м от боковых стенок бункера.
Кузов автомобиля-самосвала необходимо очищать от остатков асфальтобетонной смеси, стоя на земле специальными скребками и лопатой с ручкой длиной не менее 2 м.
В процессе работы расстояние между катками и другими самоходными машинами должно быть не менее 5 м. При меньшей дистанции проход между катками и другими движущимися машинами запрещается.
При работе асфальтоукладчиков и катков запрещается:
- находиться посторонним лицам в зоне действия рабочих органов;
- входить на площадку управления до полной остановки машины;
- регулировать работу уплотняющих органов;
- оставлять без присмотра машины с работающими двигателями;
- ремонтировать шнеки, питатели и другие механизмы;
- пытаться исправлять сдвиги и складки, образовавшиеся на армирующем материале перед шнеком асфальтоукладчика.
При длительных перерывах в работе (6 ч и более) асфальтоукладчик и катки необходимо очистить, установить в один ряд и затормозить.
С обеих сторон колонны машин следует ставить ограждения с красными сигналами: днем - флажки, ночью - фонари.
При ручной укладке и исправлении дефектных участков покрытия расстояние переноса асфальтобетонной смеси лопатами не должно превышать 8 м. При большем расстоянии следует пользоваться носилками с бортами с трех сторон или легкими тачками с опрокидыванием вперед. Рабочие, занятые на укладке асфальтобетонных и черных покрытий и оснований, должны поверх спецодежды надевать яркие сигнальные жилеты.
При работе с асфальтобетонной смесью, содержащей поверхностно-активные вещества и активаторы, следует пользоваться герметичными очками и универсальными респираторами. При работах по разжижению битума следует пользоваться респираторами, очками, перчатками или рукавицами. Лица, не имеющие соответствующих средств индивидуальной защиты, не допускаются к работе по укладке асфальтобетонных и черных покрытий и оснований.
бIII) Геосетки и плоские георешетки изготавливают из малотоксичных компонентов с пониженной горючестью. Поэтому их применение не требует особых предостережений. Токсичных веществ готовая продукция не выделяет.
В целях предотвращения самовоспламенения и возгорания необходимо соблюдать правила пожарной безопасности: не хранить геосетки, плоские георешетки и геокомпозиты вблизи отопительных приборов, взрывоопасных материалов, легковоспламеняющихся веществ.
При работе со стеклосеткой, для защиты рук необходимо применять перчатки, рукавицы или защитное средство для рук. По окончании работ рекомендуется смазывать кожу мазями на основе ланолина, борного вазелина или 1-ной % салициловой мазью.
бIV) При проведении работ по укладке ГМ необходимо принимать меры по организации движения и ограждению мест производства работ в соответствии с ВСН 37-84. В местах производства работ при нанесении на проезжую часть линий разметки, расстановке направляющих конусов или вех, отклоняющих транспортные потоки, длину отгона Lотг следует принимать по табл. 10 Максимальную длину ремонтируемого участка в случае саморегулирования встречного разъезда необходимо назначать в соответствии с данными таблицы 11.
Таблица 10
Длина отгона для расстановки направляющих конусов
|
Скорость на подходе, км/ч |
Длина отгона Lотг, м, при ширине проезжей части, закрываемой для движения, м |
|||||
|
2,5 |
3,0 |
3,5 |
4,0 |
5,0 |
7,5 |
|
|
30 |
12 |
25 |
25 |
30 |
35 |
50 |
|
40 |
20 |
30 |
40 |
50 |
60 |
70 |
|
50 |
30 |
40 |
50 |
60 |
80 |
110 |
|
60 |
45 |
55 |
65 |
75 |
95 |
125 |
|
80 |
60 |
65 |
75 |
85 |
100 |
130 |
|
100 |
80 |
90 |
100 |
105 |
115 |
160 |
Таблица 11
Протяженность ремонтируемого участка
|
Интенсивность движения, авт./ч |
Протяженность ремонтируемого участка, |
|
100 |
350 |
|
200 |
150 |
|
300 |
80 |
|
400 |
50 |
|
500 |
30 |
Пример размещения технических средств организации дорожного движения и ограждения места производства работ показан на рисунке 9.
Рисунок 9 Организация ограждения места дорожных работ:
1 - зона работ; 2 - зона, примыкающая к проезжей части (обочина, газон, разделительная полоса); 3 - проезжая часть.
В иных случаях необходимо вводить регулирование движения с помощью светофоров или регулировщиков, либо организовать пропуск транспортных средств по обочине.
в) Охрана окружающей среды
Применяемые материалы, организация и технология производства работ должны отвечать рекомендациям ВСН 8-89.
Геосинтетические материалы должны соответствовать требованиям к значениям суммарной эффективной активности естественных радионуклидов Аэфф: при строительстве и ремонте дорог без ограничений - не более 740 Бк/кг, при строительстве и ремонте дорог вне населенных пунктов и зон перспективной застройки - свыше 740 до 2800 Бк/кг.
СНиП 2.05.02-85* Автомобильные дороги. - Утв. Госстроем СССР. - Введ. 1987-01-01. - М.: ЦИТП Госстроя СССР, 1986. - 56 с.
СНиП 3.06.03-85 Автомобильные дороги. - Утв. Госстроем СССР. - Введ. 1986-01-01. - М.: ЦИТП Госстроя СССР, 1986. - 112 с.
СНиП 12-03-2001 Безопасность труда в строительстве. Часть 1. Общие требования. - Взамен СНиП 12-03-99. - Утв. Госстроем России. - Введ. 2001.09.01. - СПБ.: Изд-во ДЕАН, 2004. - 96 с.
ОДН 218.046-01 Проектирование нежестких дорожных одежд. - Утв. распоряжением Росавтодора № ОС-35-р. - Введ. 2000.12.20. - М.: Информавтодор, 2001. - 145 с.
ОДН 218.1.052-2002. Оценка прочности нежестких дорожных одежд. - Взамен ВСН 52-89. - Утв. распоряжением Минтранса России № ОС 1040-р. - Введ. 2002.11.19. - М.: Росавтодор, 2003. - 53 с.
ОДН 218.0.006-2002 Правила диагностики и оценки состояния автомобильных дорог. - Утв. распоряжением Минтранса России № ИС 840-р. - Введ. 2002.10.03. - М.: Информавтодор, 2002. - 100 с.
ОДМ 218.5-002-2008 Методические рекомендации по применению полимерных геосеток (георешеток) для усиления слоев дорожных одежд из зернистых материалов. - Утв. распоряжением ФДА № 203-р. - Введ. 2008.05.30. - М.: Росавтодор, 2008. - 113 с.
Рекомендации по применению геосинтетических материалов при строительстве и ремонте автомобильных дорог. - Взамен ВСН 49-86. - Приняты распоряжением ФГУП Минтранса РФ № ИС-666-р. - Введ. 2003.08.01. - М.: Информавтодор, 2003. - 104 с.
Методические рекомендации по ремонту цементобетонных покрытий автомобильных дорог: ОДМ. - Утв. распоряжением Минтранса России № ОС-860-р от 9 окт. 2002 г. - М.: Информавтодор, 2003. - 20 с.
Методические рекомендации по проектированию жестких дорожных одежд. - Взамен ВСН 197-91. - Утв. распоряжением Минтранса России № ОС-1066-р. - Введ. 2003.12. 03. - М.: ФГУП Информавтодор, 2004. - 69 с.
ВСН 8-89 Инструкция по охране природной среды при строительстве, ремонте и содержании автомобильных дорог. - Утв. Минавтодором РСФСР № НА-17/315. - Введ. 1990.01.01. - М.: ЦБНТИ Минавтодора, 1989. - 86 с.
Методические рекомендации по ремонту и содержанию автомобильных дорог, 2004 .
ВСН 37-84 Инструкция по организации движения и ограждению мест производства дорожных работ/Минавтодор РСФСР. - Утв. 1984.05.05. - М.: ГУП ЦПП, 2000. - 40 с.
Рекомендации по расчету и технологии устройства оптимальных конструкций дорожных одежд с армирующими прослойками при строительстве, реконструкции и ремонте дорог с асфальтобетонными покрытиями. - Одобрены НТО Минавтотранса России (письмо от 12.04.93, № НТО-8-6/78). - М.: ФГУП Информавтодор, 1993. - 37 с.
Рекомендации по выявлению и устранению колей на нежестких дорожных одеждах: ОДМ./Росавтодор. - Офиц. изд. - Введ. 2002.06.24. - М.: Росавтодор, 2002 - 179 с.
Типовые решения по восстановлению несущей способности земляного полотна и обеспечению прочности и морозоустойчивости дорожной одежды на пучинистых участках автомобильных дорог. - Утв. распоряжением Росавтодора № 113-р от 2000.06.14. М.: ФГУП Информавтодор, 2001. - 101 с.
Правила охраны труда при строительстве, ремонте и содержании автомобильных дорог. - Утв. Минтрансстроем и Министерством транспорта РФ 27 декабря 1991 г.; ЦК профсоюза работников автомобильного транспорта и дорожного хозяйства РФ. - Введ. 93-01-01. - М.: Транспорт, 1993. - 93 с.
Ключевые слова: геосетка, плоская георешетка, геокомпозит, асфальтобетонные покрытия, капитальный ремонт, ремонт, проектирование, технология
В таблице АI представлены рекомендуемые конструктивные решения по рациональному армированию покрытий дорожных одежд геосеткой, плоской георешеткой и геокомпозитом. В этих конструкциях реализованы основные рекомендации, указанные в настоящем документе.
Рекомендуемые конструкции дорожных одежд
|
№ конструкции |
Схема |
Наименование материалов, |
|
1 |
2 |
3 |
|
Строительство, восстановление дорожной одежды в местах ремонта земляного полотна (п. аI.5 раздела 6) |
||
|
1 |
|
1. Щебеночно-мастичный асфальтобетон, h = 4-5 см. |
|
2. Асфальтобетон пористый, крупнозернистый, h = 6-10 см. |
||
|
3. Геосетка. |
||
|
4. Асфальтобетон мелкозернистый (с повышенной деформативностью), h = 3-4 см. |
||
|
5. Щебень фракционный, h = 18-40 см. |
||
|
6. Плоская георешетка или композит. |
||
|
7. Песок средний, h = 20-50 см. |
||
|
2 |
|
1. Полимерасфальтобетон плотный, мелкозернистый, h = 4-6 см. |
|
2. Асфальтобетон пористый, крупнозернистый, h = 10-12 см |
||
|
3. Геосетка. |
||
|
4. Асфальтобетон мелкозернистый (с повышенной деформативностью), h = 3-4 см. |
||
|
5. Смесь щебеночная, гравийно-песчаная, обработанная неорганическими вяжущими, тощий бетон, h = 18-24 см. |
||
|
6. Грунт, обработанный неорганическими вяжущими, h = 16-24 см. |
||
|
3 |
|
1. Асфальтобетон плотный, мелкозернистый, h = 5-8 см. |
|
2. Геосетка. |
||
|
3. Асфальтобетон пористый, крупнозернистый, h = 6-12 см. |
||
|
4. Щебень фракционный, h = 15-40 см. |
||
|
5. Плоская георешетка или композит. |
||
|
6. Песок средний, h = 20-50 см. |
||
|
4 |
|
1. Асфальтобетон плотный, мелкозернистый, h = 6-8 см. |
|
2. Геосетка (плоская георешетка). |
||
|
3. Асфальтобетон пористый, крупнозернистый, h = 10-18 см. |
||
|
4. Смеси или грунты, обработанные
неорганическими вяжущими |
||
|
5. Песчано-гравийная смесь, h = 20-40 см. |
||
|
Восстановление или усиление дорожной одежды (п. аI.2, 3 раздела 6) |
||
|
5 |
|
1. Асфальтобетон (полимерасфальтобетон) плотный, мелкозернистый, h = 6-10 см. |
|
2. Геосетка (плоская георешетка). |
||
|
3. Существующее трещиновато-блочное асфальтобетонное покрытие. |
||
|
4. Щебеночное основание существующей дорожной одежды. |
||
|
5. Подстилающий слой существующей дорожной одежды. |
||
|
6 |
|
1. Асфальтобетон плотный, мелкозернистый, h = 8-10 см. |
|
2. Геосетка (плоская георешетка). |
||
|
3. Полоса из геокомпозита. |
||
|
4. Полоса над трещиной из термопрофилированного асфальтобетона, либо полимерасфальтобетон, уложенный в полосу, полученную холодным фрезерованием h = 4-5 см. |
||
|
5. Существующее асфальтобетонное покрытие с поперечными трещинами. |
||
|
6. Укрепленное основание существующей дорожной одежды с поперечными трещинами. |
||
|
7. Подстилающий слой существующей дорожной одежды. |
||
|
7 |
|
1. Асфальтобетон плотный, мелкозернистый, h = 6-8 см. |
|
2. Геосетка (плоская георешетка). |
||
|
3. Полимерасфальтобетон, либо асфальтобетон с повышенной деформативностью, h = 3-5 см. |
||
|
4. Существующее трещиновато-блочное асфальтобетонное покрытие. |
||
|
5. Щебеночное основание существующей дорожной одежды. |
||
|
6. Подстилающий слой существующей дорожной одежды. |
||
|
8 |
|
1. Асфальтобетон плотный, мелкозернистый, h = 6-8 см. |
|
2. Геосетка (плоская георешетка). |
||
|
3. Термопрофилированный асфальтобетон h = 3-5 см. |
||
|
4. Существующее трещиновато-блочное асфальтобетонное покрытие. |
||
|
5. Щебеночное основание существующей дорожной одежды. |
||
|
6. Подстилающий слой существующей дорожной одежды. |
||
|
9 |
|
1. Щебеночно-мастичный асфальтобетон, h = 5см. |
|
2. Геосетка. |
||
|
3. Асфальтобетон пористый, крупнозернистый, h = 6-8 см. |
||
|
4. Мелкозернистый полимерасфальтобетон, асфальтобетон с повышенной деформативностью, h = 3-5 см. |
||
|
5. Полоса из геокомпозита. |
||
|
6. Полоса над трещиной из термопрофилированного асфальтобетона, либо полимерасфальтобетон, уложенный в полосу, полученную холодным фрезерованием, h = 3-5 см. |
||
|
7. Существующее трещиновато-блочное асфальтобетонное покрытие. |
||
|
8. Трещиновато-блочное укрепленное основание существующей дорожной одежды. |
||
|
9. Подстилающий слой существующей дорожной одежды. |
||
|
10 |
|
1. Щебеночно-мастичный асфальтобетон, h = 5 см. |
|
2. Геосетка. |
||
|
3. Асфальтобетон пористый, крупнозернистый, h = 6-8 см. |
||
|
4. Геосетка (плоская георешетка). |
||
|
5. Термопрофилированный асфальтобетон h = 3-5 см. |
||
|
6. Существующее трещиновато-блочное асфальтобетонное покрытие. |
||
|
7. Щебеночное основание существующей дорожной одежды. |
||
|
8. Подстилающий слой существующей дорожной одежды |
||
|
Перекрытие изношенных покрытий из цементобетона или железобетонных плит (п. аI.3 раздела 6) |
||
|
11 |
|
1. Асфальтобетон плотный, мелкозернистый, h = 6-8 см. |
|
2. Геосетка (плоская георешетка). |
||
|
3. Асфальтобетон пористый, крупнозернистый, h = 8-10 см. |
||
|
4. Полоса из геокомпозита. |
||
|
5. Уступы или разрушенные стыки, выровненные мелкозернистой асфальтобетонной смесью. |
||
|
6. Существующие железобетонные или цементобетонные плиты. |
||
|
7. Полосы из геоткани под швами. |
||
|
8. Подстилающий слой из песка или земляное полотно из мелкого песка. |
||
|
12 |
|
1. Асфальтобетон плотный, мелкозернистый, h = 6-8 см. |
|
2. Геосетка (плоская георешетка). |
||
|
3. Асфальтобетон пористый, крупнозернистый, h = 8-10 см. |
||
|
4. Существующие железобетонные или цементобетонные плиты. |
||
|
5. Монтажный слой и основание существующей дорожной одежды. |
||
Окончание таблицы АI
|
№ конструкции |
Схема конструкции |
Наименование материалов, примерная толщина слоев h, см |
|
|
старая одежда |
уширение |
||
|
1 |
2 |
3 |
4 |
|
Уширение дорожной одежды (п. аI.4 раздела 6) |
|||
|
13 |
|
1. Асфальтобетон плотный, мелкозернистый, h = 6-8 см. |
|
|
2. Геосетка (плоская георешетка). |
|||
|
3. Полоса из геокомпозита над стыком. |
|||
|
4. Мелкозернистый полимерасфальтобетон, асфальтобетон с повышенной деформативностью, h = 3-5 см. 5. Существующее асфальтобетонное покрытие. 6. Щебеночное основание существующей дорожной одежды. 7. Подстилающий слой существующей дорожной одежды. |
4. Асфальтобетон пористый, крупнозернистый, h = 8-12см. 5. Щебень фракционный, h = 15-40 см. 6. Плоская георешетка или композит. 7. Песок средний, h = 20-50 см. |
||
|
14 |
|
1. Асфальтобетон плотный, мелкозернистый, h = 6-8 см. |
|
|
2. Геосетка (плоская георешетка). |
|||
|
3. Полоса из геокомпозита над стыком. |
|||
|
4. Термопрофилированный асфальтобетон, h = 3-5 см. 5. Существующее трещиновато-блочное асфальтобетонное покрытие. 6. Трещиновато-блочное укрепленное основание существующей дорожной одежды. 7. Подстилающий слой существующей дорожной одежды. |
4. Асфальтобетон пористый, крупнозернистый, h = 8-16 см 5. Смеси или грунты, обработанные неорганическими вяжущими (по ГОСТ 23558-94), тощий бетон, h = 20-24 см. 6. Песчано-гравийная смесь, h = 20-40 см. |
||
Использование в покрытии щебеночно-мастичного асфальтобетона, полимерасфальтобетона, асфальтобетона с повышенным содержанием битума позволяет реализовать наиболее эффективные конструкции дорожных одежд. Эти материалы позволяют обеспечить хорошее сцепление арматуры с армируемым материалом, что способствует их совместной работе на растяжение при изгибе. В результате повышается стойкость покрытия к многократным силовым нагрузкам, к образованию отраженных и усталостных трещин.
При отсутствии возможности использовать указанные виды асфальтобетона можно применять виды и типы асфальтобетона по ГОСТ 9128-97*.
В конструкциях 8, 10 и 14А роль дополнительного слоя выполняет слой из восстановленного асфальтобетона с добавлением вяжущего методом термопрофилирования.
Конструкция 5 часто встречается в рекомендациях и на практике, однако она менее эффективна. Менее эффективны и конструкции, в которых геосетка укладывается непосредственно на существующее цементобетонное покрытие перед устройством верхних слоев из асфальтобетона. В таких конструкциях сложно выполнить требование по обеспечению прочного и длительного сцепления арматуры с армируемым материалом.
"Санация" существующих трещиновато-блочных асфальтобетонных покрытий только с помощью полос из геосетки шириной 1-1,5 м, укладываемых на трещины, не всегда дает положительные результаты. В регионах с суровыми климатическими условиями температурные трещины на покрытии образуются рядом с существующими трещинами через 1-2 года.
В конструкциях 3 и 13Б укладывать армирующий материал под нижний слой асфальтобетонного покрытия на щебеночное основание не эффективно. Повышение несущей способности этих дорожных одежд можно реализовать, разместив геосинтетический материал между щебеночным основанием и подстилающим слоем (рисунок АI).

Рисунок АI Схема, отражающая увеличение распределяющей способности щебеночного основания с георешеткой
В этом случае георешетка способствует разделению дискретных слоев. При этом усиливается и распределяющая способность щебеночных оснований.
В процессе уплотнения до момента расклинцовки в щебеночных слоях происходят значительные подвижки зерен с острыми гранями, а, следовательно, и деформации ГМ. Поэтому, если для армирования асфальтобетонных покрытий лучше использовать качественные прочные и малодеформативные геосетки и геокомпозиты на их основе, отвечающие рекомендациям п. д раздела 5 настоящего документа, то для усиления распределяющей способности щебеночных оснований нужны более деформативные и, в то же время, жесткие в узлах синтетические плоские двухосные георешетки и геокомпозиты (ОДМ 218.5-002-2008).
Эффективно дополнительное усиление оснований жесткими решетками в местах остановки транспорта, где время действия нагрузки на два порядка больше по сравнению с участками непрерывного движения. Эффективность этого конструктивного решения возрастает с увеличением термореологической чувствительности материала основания.
В конструкциях 3, 4, 6, 9, 11, 12, 13Б и 14Б геосетка помещена под верхним слоем асфальтобетонного покрытия, наиболее подверженным температурным воздействиям. Эта геосетка будет препятствовать появлению температурных трещин зимой и колееобразованию летом, но ее вклад в повышение прочности покрытия на изгиб минимален. Располагать геосетку в верхнем слое покрытия рекомендуется в дорожных одеждах, удовлетворяющих требуемой прочности по основным расчетным критериям.
В конструкции 10 армирующий материал размещен как в зоне воздействия наибольших силовых растягивающих напряжений, так и в зоне максимальных температурных растягивающих напряжений. Можно прогнозировать высокую долговечность дорожных одежд, построенных или отремонтированных по этой конструктивно-технологический схеме (с укладкой геосетки в нижний и верхний слои покрытия).
В конструкциях 2, 4, 6, 9 и 14 наряду с армированным покрытием рекомендуется использовать укрепленные основания. За последнее время существенно снизились объемы строительства дорожных одежд с укрепленными основаниями, хотя теория и практика эксплуатации автомобильных дорог, как за рубежом, так и в нашей стране подтверждает, что только укрепленные основания могут обеспечить возросшие требования к транспортно-эксплуатационным показателям асфальтобетонных покрытий.
Как правило, цементобетонные основания (конструкции 11 и 12) обеспечивают высокую несущую способность дорожных одежд. Асфальтобетонные покрытия, укладываемые на эти основания, следует защищать от быстрого появления отраженных трещин над швами, укладывая армирующий материал на нижний выравнивающий слой из пористого асфальтобетона.
Нецелесообразно укладывать асфальтобетонное покрытие (даже армированное) на цементобетон, если плиты в зоне стыков имеют существенные вертикальные перемещения при воздействии колес автотранспорта. В настоящее время разработаны специальные технологии устранения этих перемещений. Если армировать асфальтобетонное покрытие полосами только над стыками плит, то трещины в нем появятся в неармированной зоне.
В случае значительного разрушения цементобетонного покрытия перед укладкой выравнивающего слоя необходимо фрагментирование цементобетона на отдельные блоки "безопасных" размеров (менее 1 м).
Следует учесть, что в таблице АI даны только некоторые принципиальные конструктивные решения. Толщины и материалы слоев подбираются и определяются расчетом для каждого конкретного случая с учетом местных условий.
БI Определение предела прочности при растяжении геосинтетических материалов
БI.1 Сущность метода заключается в определении нагрузки, необходимой для разрушения образца при растяжении с определением соответствующих предельных деформаций (рисунок БI.1).
Рисунок БI.1 Определение предела прочности ГМ при растяжении
БI.2 Порядок подготовки и проведения испытания
Для испытания вырезают образцы ГМ шириной 180-220 мм, в зависимости от вида материала и размера ячеек. При этом рекомендуемое количество продольных ребер не менее пяти (при ширине ячеек 60 мм и более допускается испытывать образцы с четырьмя ребрами). Длина образца между зажимами испытательной машины составляет не менее 200 мм. При этом общая длина образцов может составлять от 1000 до 2000 мм. Разные рекомендации к длине объясняются тем, что, для обеспечения надежной фиксации в зажимах, расположенных на барабанах, образцов ГМ из разных материалов необходима различная длина образцов (например - для георешетки из полипропилена, требуется один неполный оборот вокруг барабана (см. рисунок БI.1), а для фиксации ГМ из стекловолокна требуется не менее двух оборотов). При использовании вместо барабанов зажимов тисочного типа ГМ часто рвется в местах зажимов.
Применяемое оборудование обеспечивает получение полной диаграммы деформирования образцов при погрешности измерения нагрузки и удлинения не более 1 % от измеряемой величины.
Испытания проводят при температуре материала плюс (20 ± 3)°С. Предел прочности при постоянной скорости опускания нижнего барабана (20 ± 2) мм/мин. Для предварительного натяжения образца создают предварительное усилие величиной 2 Н. Начальное расстояние между осями барабанов составляет не менее 400 мм.
Геосинтетический материал испытывают вдоль продольных и поперечных ребер, для каждого из направлений испытывают не менее 5 образцов.
БI.3 Обработка результатов испытания
Определение предела прочности при растяжении RR (кН/м) производят по формуле:
|
|
(БI.1) |
где Pmax - разрушающая нагрузка, кН;
b - ширина образца (расстояние между осями крайних ребер), м;
Kp - количество ребер на 1 пог. м геосетки;
Kp(1) - количество ребер по ширине b испытываемого образца.
БI.4 Оцениваемые параметры
Устанавливают RLR (RTR) прочность при кратковременном растяжении в направлении длины (ширины) материала - максимальное зафиксированное в испытаниях значение RR, кН/м.
Устанавливают RLR(e) (RTR(e)) усилие RR в направлении длины (ширины) материала, возникающее при величине относительной деформации e = 2 %, кН/м (определяется по графику зависимости деформации от нагрузки, рисунок БI.2).

Рисунок БI.2 График зависимости деформации от нагрузки
Кроме вышеуказанных регламентированных показателей свойств по результатам этих испытаний могут быть определены:
eLRmax (eTRmax) - относительная деформация в продольном (поперечном) направлении при разрыве, %;
eLRR (eTRR) - относительная деформация при максимальном растягивающем усилии в направлении длины (ширины) материала, %.
|
|
(БI.2) |
где eR - относительная деформация образца, отн. ед. или %;
l1 - длина образца после приложения нагрузки RR, м;
l0 - начальная длина образца после предварительного натяжения, м.
БII Определение относительной прочности узловых соединений
БII.1 Сущность метода заключается в определении нагрузки, необходимой для разрушения узлового соединения, и сравнения этой нагрузки с прочностью на растяжение ребра геосетки (георешетки). За разрушающую нагрузку принимают усилие (нагрузку), необходимое для выдергивания ребра из узла.
БII.2 Порядок подготовки и проведения испытания
Для испытания вырезают образцы геосетки в форме буквы "Т" с длиной продольного ребра не менее 250 мм, поперечного - 140 мм. Образцы закрепляют в зажимах и испытывают согласно расчетной схеме, показанной на рисунке БII.

Рисунок БII Расчетная схема испытания на прочность узлового соединения ГМ
Испытания проводят при температуре материала плюс (20 ± 3)°С. Прочность узлового соединения геосетки определяют на разрывной машине при постоянной скорости опускания нижнего зажима (20 ± 2) мм/мин.
Количество испытываемых образцов ГМ составляет не менее 5 шт.
БII.3 Обработка результатов испытания
Определение относительной прочности узлового соединения RJR производят по формуле:
|
|
(БII) |
где Pmax jun - разрушающая нагрузка для узлового соединения, кН.
Pmax - разрушающая нагрузка для одного ребра, кН.
Разрушающая нагрузка для одного ребра определяется по методике БI, но для испытания берется одно продольное (поперечное) ребро геосетки.
БII.4 Оцениваемые параметры
Устанавливают RJR - относительную прочность узлового соединения геосетки, %.
БIII Определение теплостойкости ГМ
БIII.1 Сущность метода заключается в определении изменения прочности ГМ после воздействия на него высокой температуры (плюс 160°С).
Порядок подготовки и проведения испытания
Для испытания готовят образцы по методике, указанной в БI. Помещают их в один или несколько металлических поддонов, емкостью не менее 5 л, нагретых до температуры плюс (160 ± 2)°С и засыпают песком, нагретым до температуры плюс (160 ± 2)°С. Поддоны с песком и образцами геосетки оставляют остывать до температуры плюс (20 ± 3)°С не менее чем на сутки.
После истечения указанного времени извлекают из остывшего песка образцы геосетки, очищают ее от песка и определяют предел прочности при растяжении по методике БI.
Количество испытываемых образцов ГМ принимают не менее 5 шт.
БIII.2 Обработка результатов испытания
Изменения прочности ГМ после воздействия высокой температуры вычисляют по формуле:
|
|
(БIII) |
где RLR(TR) - прочность при кратковременном растяжении в направлении длины (ширины) материала, кН/м, определенная по методике БI;
RТLR(TR) - то же после выдерживания при повышенной температуре, кН/м.
БIII.3 Оцениваемые параметры
Устанавливают степень уменьшения прочности RLR (RTR) геосинтетического материала после нагрева до плюс 160°С (теплостойкость), %.
БIV Определение прочности ГМ после воздействия циклов замораживания-оттаивания
БIV.1 Сущность метода заключается в определении изменения прочности ГМ после воздействия на него циклического замораживания и оттаивания.
БIV.2 Порядок подготовки и проведения испытания
Для испытания готовят образцы по методике, указанной в БI. Образцы сматывают в рулон и укладывают на дно одной или нескольких ванн с водой, имеющей температуру плюс (20 ± 3)°С, так, чтобы уровень воды над образцами был не ниже 15 мм. После водонасыщения в течение не менее двух часов образцы извлекают из воды и помещают в морозильную камеру, в которой установлена температура минус (15 ± 2)°С, и выдерживают в этих условиях не менее двух часов.
После этого образцы извлекают из морозильной камеры и опять помещают в ванну с водой не менее чем на два часа. При необходимости корректируют уровень воды в ванне. Таким образом, подвергают образцы 25 или 50 циклам замораживания и оттаивания.
После завершения необходимого количества циклов образцы извлекают из ванны, сушат на воздухе при температуре плюс (20 ± 3)°С не менее суток и определяют предел прочности при растяжении по методике БI.
Количество испытываемых образцов ГМ принимают не менее 5 шт.
БIV.3 Обработка результатов испытания
Уменьшение исходной прочности RLR (RTR) после 25 (50) циклов
замораживания-оттаивания, %, определяют по формуле:
|
|
(БIV) |
где RLR(TR) - прочность при кратковременном растяжении в направлении длины (ширины) материала, кН/м, определенная по методике БI;
RFLR(TR) - то же после 25 (50) замораживания-оттаивания, кН/м.
БIV.4 Оцениваемые параметры
Устанавливают степень уменьшения исходной прочности RLR (RTR) после 25 (50) циклов замораживания-оттаивания, %.
БV Определение длительной прочности ГМ
БV.1 Сущность метода заключается в определение способности геосинтетического материала выдерживать длительное действие постоянных нагрузок.
БV.2 Порядок подготовки и проведения испытания
Для проведения испытаний вырезают образцы геосетки шириной в одно ребро (2) и длиной не менее 1,5 м (рисунок БV.1).

Рисунок БV.I Схема испытания ГМ на длительную прочность
Образцы (2) фиксируют в зажимах (1), прикладывают к ним нагрузку обжатия, равную 2Н, и замеряют первоначальную длину образца l0, мм. Затем подвешивают к нижнему зажиму постоянную нагрузку (3), величина которой назначается равной 0,7 от разрушающей нагрузки Pmax на одно ребро (см. методики БI и БII).
Испытания проводят при температуре плюс (20 ± 3)°С, в темном помещении. Продолжительность проведения испытания составляет 15 суток. Замеры длины образцов выполняют ежедневно.
Количество испытываемых образцов ГМ принимают не менее 5 шт.
По результатам замеров длины образцов строят график (рисунок БV.2).

Рисунок БV.2 График, отображающий процесс ползучести ГМ
БV.3 Обработка результатов испытания
Если все испытываемые образцы выдержали нагрузку, равную 70 % от кратковременной прочности RLR (RTR) одного ребра, в течение не менее 15 суток, то дают положительное заключение по данному показателю свойств.
В случае если хотя бы один из образцов разрушился (порвался), то устанавливают место разрыва. Если разрыв ребра произошел в месте его крепления у верхнего или нижнего зажимного устройства (1), то повторяют испытания всей серии, уменьшив смятие ребра в зажимном устройстве.
Если разрыв ребра произошел не из-за смятия материала в зажимном устройстве, то дают отрицательное заключение по данному показателю свойств геосетки.
БV.4 Оцениваемые параметры
Устанавливают соответствие регламентируемого показателя длительной прочности геосинтетического материала.
Кроме вышеуказанного регламентированного показателя свойств по результатам этих испытаний может быть определена eL(R)Rmax, %, общая относительная деформация ползучести геосинтетического материала. Определение этого показателя производят по формуле:
|
|
(БV) |
где l0 - длина образца с нагрузкой обжатия (2 Н), м;
ln - длина образца с расчетной нагрузкой через n дней, м.
БVI Определение повреждаемости армирующего материала при уплотнении асфальтобетона
БVI.1 Сущность метода испытаний состоит в моделировании в лабораторных условиях воздействий уплотняющей техники, приводящих к повреждению ребер геосеток.
БVI.2 Порядок подготовки и проведения испытания
Для испытания целесообразно использовать установку для уплотнения асфальтобетонной смеси, например, представленную на рисунке БVI.1, моделирующую работу гладковальцовых катков статического действия.
Мелкозернистую асфальтобетонную смесь типа Б, разогретую до температуры 120-130°С, укладывают в форму 1, равномерно распределяют по длине и ширине с учетом коэффициента разрыхления для получения уплотненного слоя толщиной 4 см и уплотняют вальцом 2. Добавляя пригруз в каретку 3 по мере увеличения плотности смеси, увеличивают удельное давление до величины, характерной для легкого, среднего и тяжелого катков. Количество проходов назначают по достижению коэффициента уплотнения смеси 0,99.

Рисунок БVI.I Установка для уплотнения асфальтобетонной смеси:
1 - форма регулируемой ширины (100-200 мм); 2 - уплотняющий валец (ширина не менее 100 мм, радиус - не менее 500 мм); 3 - каретка для размещения пригруза; 4 - механический привод для передвижения вальца с пригрузом с заданной скоростью
После уплотнения нижнего слоя асфальтобетона валец 2 приподнимают над формой 1 и остужают уплотненную смесь до температуры плюс (20 ± 3)°С.
Поверх остывшего асфальтобетонного слоя раскладывают геосетку (подгрунтовка не выполняется, так как это значительно усложняет процесс последующего извлечения геосетки из конструкции). Далее раскладывают и уплотняют горячую мелкозернистую смесь типа Б в верхнем слое асфальтобетонного покрытия до коэффициента уплотнения 0,99; при этом толщина асфальтобетонного слоя в уплотненном состоянии должна составлять не менее 6 см.
После окончания процесса уплотнения верхнего слоя, не давая слою остыть, его убирают и извлекают геосинтетический материал (рисунок БVI.2).

Рисунок БVI.2 Процесс извлечения геосетки из конструкции
После извлечения геосетки ее очищают от остатков смеси и испытывают на растяжение в соответствии с методикой БI. Количество испытываемых образцов ГМ принимают не менее 5 шт.
БVI.3 Обработка результатов испытания
Потерю прочности (повреждаемость) геосинтетического материала в процессе уплотнения асфальтобетона, % от исходной прочности RLR (RTR), вычисляют по формуле:
|
|
(БVI) |
где RLR(TR) - прочность при кратковременном растяжении в направлении длины (ширины) материала, кН/м, определенная по методике БI;
RРLR(TR) - то же после воздействия уплотняющего устройства, кН/м.
БVI.4 Оцениваемые параметры
Устанавливают степень уменьшения исходной прочности RLR (RTR) (повреждаемость) материала после воздействия уплотняющих средств, %.
Требуется запроектировать дорожную одежду при следующих исходных данных:
- автомобильная дорога II категории располагается в III дорожно-климатической зоне (Омская обл.);
- заданный срок службы дорожной одежды Тсл = 15 лет;
- заданная надежность Кн = 0,95;
- нагрузка типа А115;
- интенсивность движения на конец срока службы Np = 800 авт./сут.;
- приращение интенсивности q = 1,04;
- грунт рабочего слоя земляного полотна - суглинок легкий, относится к пучинистым грунтам;
- схема увлажнения рабочего слоя земляного полотна - 1;
- мероприятия по уменьшению увлажнения рабочего слоя - основание дорожной одежды, включая слои на границе раздела с земляным полотном, из укрепленных материалов.
Расчет конструкции на прочность
а) Вычисляем суммарное расчетное количество приложений расчетных нагрузок за срок службы по формуле (3.7) ОДН 218.046-01:
![]()
где KC = 20,0 (см. табл. П.6.3, ОДН 218.046-01);
Трдг = 125 дней (см. табл. П.6.1, ОДН 218.046-01);
kn = 1,49 (см. табл. 3.3, ОДН 218.046-01).
Отсюда
![]()
б) Определяем расчетную влажность грунта рабочего слоя по формуле (П.2.1)
![]()
где
= 0,63 (табл. П.2.1);
D1
=
0,00 (табл. П.2.2);
D2
=
0,08 (табл. П.2.3);
D3 = 0,00, так как
< 0,63Wm (рис. П.2.1);
t = 1,71 (табл. П.4.2)
Отсюда
Wp = (0,63 - 0,08)(1 + 0,1×1,71) = 0,644
в) Предварительно назначаем конструкцию и расчетные значения параметров:
|
Материал |
h слоя, см |
Е, МПа, при расчете по |
Расчет на растяжение при изгибе |
||||
|
допустимому упругому прогибу |
сдвиго- |
Е, МПа |
R0, МПа |
α |
m |
||
|
Асфальтобетон горячий плотный тип Б на битуме марки БНД 60/90 |
5 |
3200 |
1100 |
4500 |
9,80 |
5,9 |
5,5 |
|
Асфальтобетон горячий пористый крупнозернистый на битуме марки БНД 60/90 |
7 |
2000 |
700 |
2800 |
8,00 |
7,1 |
4,3 |
|
Геосетка 100/100-25 |
- |
- |
- |
- |
- |
- |
- |
|
Асфальтобетон горячий высокопористый крупнозернистый на битуме марки БНД 60/90 |
8 |
2000 |
700 |
2100 |
5,65 |
7,6 |
4,0 |
|
Оптимальная ЩГПС, обработанная цементом, марки 40 |
20 |
600 |
600 |
600 |
- |
- |
- |
|
Песок средней крупности содержание пылевато-глинистых фракций 0 % |
37 |
120 |
120 |
120 |
- |
- |
- |
|
Суглинок легкий Wр=0,644Wm |
- |
52,6 |
52,6 |
52,6 |
- |
- |
- |
- для нагрузки А115 расчет по допускаемому упругому прогибу не производится (табл. П.2.5, табл. П.3.2 и П.3.8);
- для расчета по условию сдвигоустойчивости (табл. П.2.2, П.2.4, П.2.6, и П.3.8);
- для расчета на сопротивление монолитных слоев усталостному разрушению от растяжения при изгибе (табл. П.3.1).
г) Расчет по упругому прогибу ведем послойно, начиная с подстилающего грунта, по номограмме рис. П.3.1
![]()
д) Рассчитываем конструкцию по условию сдвигоустойчивости в грунте.
Действующие в грунте активные напряжения сдвига вычисляем по формуле (3.13)
![]()
Для
определения
предварительно
назначенную дорожную конструкцию приводим к двухслойной расчетной модели.
В качестве нижнего слоя принимаем грунт (суглинок легкий) со следующими характеристиками (при Wр = 0,644Wm и ΣNp = 1446000 авт.):
ЕН = 52,6 МПа (табл. П.2.5); φN = 7° и cN = 0,009 МПа (табл. П.2.4).
Модуль упругости верхнего слоя модели вычисляем по формуле (3.12), в которой значения модуля упругости материалов, содержащих органическое вяжущее, назначаем по табл. П.3.2 при расчетной температуре 30°С (табл. П.3.5).
![]()
По отношениям
![]()
и при φN = 7° с помощью номограммы (рис. 3.3) находим удельное активное напряжение сдвига:
= 0,017 МПа.
По формуле (3.13) Т = 0,017·0,6 = 0,0102 МПа.
Предельное активное напряжение сдвига Тпр в грунте рабочего слоя определяем по формуле (3.14),
где cN = 0,009 МПа,
Кд = 1,0;
Zоп = 5 + 7 + 8 + 20 + 37 = 77 см,
φст = 21° (табл. П.2.4);
γср = 0,002 кг/см3;
0,1 - коэффициент для перевода в МПа;
Тпр = 0,009 + 0,1·0,002·77·tg21° = 0,015 МПа
![]()
что больше Ктрпс = 1,0 (см. табл. П.3.1).
Следовательно, конструкция удовлетворяет условию прочности по сдвигу в грунте.
е) Рассчитываем конструкцию по условию сдвигоустойчивости в песчаном слое основания.
Действующие в песчаном слое основания активное напряжение сдвига вычисляем по формуле (3.13):
![]()
Для
определения
предварительно
назначенную дорожную конструкцию приводим к двухслойной расчетной модели.
Нижнему слою модели присваивают следующие характеристики: Епесобщ = 82 МПа (п. 3.32), φN = 27° и cN = 0,002 МПа (табл. П.2.6).
Модуль упругости верхнего слоя модели вычисляем по формуле (3.12), в которой значения модуля упругости материалов, содержащих органическое вяжущее, назначаем по табл. П.3.2 при расчетной температуре 30°С (см. табл. 3.5).
![]()
По отношениям
![]()
и
при φN
= 27° с помощью номограммы (см. рис. 3.3) находим удельное активное напряжение
сдвига:
= 0,032 МПа.
По формуле (3.13) Т = 0,032·0,6 = 0,0192 МПа.
Предельное активное напряжение сдвига Тпр в песчаном слое определяем по формуле (3.14),
где cN = 0,002 МПа, Кд = 4,0;
Zоп = 5 + 7 + 8 + 20 = 40 см,
φст = 27° (табл. П.2.6);
γср = 0,002 кг/см3;
0,1 - коэффициент для перевода в МПа.
Тпр = 4,0·(0,002 + 0,1·0,002·40·tg27°) = 0,0243 МПа.
![]()
что больше Ктрпс = 1,0 (см. табл. П.3.1).
Следовательно, условие по сдвигоустойчивости в песчаном слое основания выполнено.
ж) Рассчитываем конструкцию на сопротивление монолитных слоев усталостному разрушению от растяжения при изгибе.
Расчет выполняем в следующем порядке:
жI) Приводим конструкцию к двухслойной модели, в которой нижний слой - часть конструкции, расположенная ниже пакета асфальтобетонных слоев, т.е. щебеночный и песчаный слои основания и грунт рабочего слоя. Модуль упругости нижнего слоя модели определяем по номограмме рис. 3.1. как общий модуль для двухслойной системы: Ещгпсобщ = 159 МПа.
К верхнему слою относим все асфальтобетонные слои.
Модуль упругости верхнего слоя устанавливаем по формуле (3.12):
![]()
жII) расчетное растягивающее напряжение вычисляем по формуле (3.16), ОДН 218.046-01:
σr = 0,70 МПа.
жIII) рассчитываем предельное растягивающее напряжение по формуле (4.2): при R0 = 5,65 МПа для нижнего слоя асфальтобетонного пакета (см. табл. П.3.1, ОДН 218.046-01); νR = 0,10 (см. табл. П.4.1, ОДН 218.046-01); t = 1,71 (см. табл. П.4.2);
по формуле (6 бII.2) настоящего нормативного документа

ΣNp = 1446000 авт; m = 4,0; α = 7,6 (см. таблицу П.3.1, ОДН 218.046-01);
kNp = 0,50 (значение рассчитано для геосетки 100/100-25);
![]()
k2 = 0,80 (см. табл. 3.6, ОДН 218.046-01);
ka = 1,20 (значение рассчитано для геосетки 100/100-25);
RN = 5,65·0,26·0,80·1,20·(1-0,1·1,71) = 1,17;
![]()
что больше, чем Ктрпр = 1,00 (см. табл. 3.1, ОДН 218.046-01).
Следовательно, выбранная конструкция удовлетворяет всем критериям прочности.
Для определения расчетного дополнительного срока службы дорожной одежды, армированной геосеткой 100/100-25, используем формулу (6 бII.4) настоящего нормативного документа

где Tсл - расчетный срок службы (см. табл. II.6.2, ОДН 218.046-01);
Tдоп - величина увеличения срока службы дорожной одежды, вследствие применения геосетки;
Tрдг - расчетное число расчетных дней в году, соответствующих определенному состоянию деформируемости конструкции (см. приложение 6, ОДН 218.046-01);
Np - приведенное к расчетной нагрузке среднесуточное (на конец срока службы) число проездов всех колес, расположенных по одному борту расчетного автомобиля, в пределах одной полосы проезжей части (приведенная интенсивность воздействия нагрузки);
q - показатель изменения интенсивности движения автомобиля данного типа по годам;
kn - коэффициент, учитывающий вероятность отклонения суммарного движения от среднего ожидаемого (см. таблицу 3, ОДН 218.046-01);
kNp - коэффициент, учитывающий уменьшение влияния усталостных процессов на прочность, вследствие армирования асфальтобетонного покрытия (см. табл. 8 настоящего нормативного документа).
![]()
Таким образом, расчетный срок службы дорожной одежды с покрытием, армированным геосеткой 100/100-25, составит 20 лет, что на 5 лет или на 33 % больше срока службы дорожной одежды, заданного при расчете.
|
При назначении межремонтных сроков службы дорожной одежды для технико-экономического сравнения вариантов и определения гарантийных обязательств определяют минимальные рекомендуемые межремонтные сроки службы дорожной одежды с армированным асфальтобетонным покрытием в соответствии с требованиями приказа Минтранса России от 01.11.2007 № 157 с введением эмпирических поправочных коэффициентов. |
Определим минимальные рекомендуемые межремонтные сроки службы дорожной одежды с армированным асфальтобетонным покрытием в соответствии с требованиями приказа Минтранса России от 01.11.2007 № 157.
Межремонтный срок проведения работ по капитальному ремонту рассматриваемой дорожной одежды (без армированного покрытия), предусмотренный в приложении 3 приказа Минтранса России от 01.11.2007 № 157 для II категории дороги в III дорожно-климатической зоне, составляет 12 лет. Армирование покрытия позволит увеличить этот срок (12 × 1,1) до 13 лет.
При применении в качестве верхнего слоя покрытия горячего плотного асфальтобетона Типа А Марки 1 на основе полимерного-битумного вяжущего, армирование покрытия позволит увеличить этот срок (12 × 1,08 × 1,1) до 14 лет.
Фактическая интенсивность транспортного потока по полосе движения составляет 3800 авт./сут. Тогда межремонтный срок проведения работ по ремонту рассматриваемой дорожной одежды без армирования покрытия, предусмотренный в приложении 3 приказа Минтранса России от 01.11.2007 № 157, составляет 4 года. Армирование покрытия позволит увеличить этот срок (4 × 1,35) до 5 лет.
При применении в качестве верхнего слоя покрытия горячего плотного асфальтобетона Типа А Марки 1 или щебеночно-мастичного асфальтобетона, армирование покрытия позволит увеличить этот срок (4 × 1,45 × 1,35) до 6 лет.
При определении межремонтного срока проведения работ по ремонту дорожной одежды межремонтный срок согласно приложению 3 приказа Минтранса России от 01.11.2007 № 157 умножается на один наибольший эмпирический коэффициент, второй коэффициент отбрасывается.
Снижение объемов работ и затрат на содержание 1 км автомобильной дороги II категории, расположенной в Сибирском федеральном округе, в год, предусмотренных в п.п. 23, 27 и 31 приложения 1 приказа Минтранса России от 01.11.2007 № 157, составит:
- уменьшение работ по устранению деформаций и повреждений асфальтобетонного покрытия на 45 м2;
- уменьшение работ по заливке трещин в покрытии на 450 пог. м;
- уменьшение работ по ликвидации колей глубиной до 30 мм по полосам наката на 15 пог. м.