|
ФЕДЕРАЛЬНОЕ АГЕНТСТВО |
||
|
|
НАЦИОНАЛЬНЫЙ |
ГОСТ Р |
ТРУБЫ ОБСАДНЫЕ И НАСОСНО-КОМПРЕССОРНЫЕ И МУФТЫ К НИМ.
ОСНОВНЫЕ ПАРАМЕТРЫ И КОНТРОЛЬ РЕЗЬБОВЫХ СОЕДИНЕНИЙ
Общие технические требования
|
|
Москва |
Цели и принципы стандартизации в Российской Федерации установлены Федеральным законом от 27 декабря 2002 г. № 184-ФЗ «О техническом регулировании», а правила применения национальных стандартов Российской Федерации - ГОСТ Р 1.0-2004 «Стандартизация в Российской Федерации. Основные положения»
Сведения о стандарте
1 РАЗРАБОТАН Рабочей группой Подкомитета ПК 7 «Нарезные трубы» Технического комитета по стандартизации ТК 357 «Стальные и чугунные трубы и баллоны»
2 ВНЕСЕН Техническим комитетом по стандартизации ТК 357 «Стальные и чугунные трубы и баллоны»
3 УТВЕРЖДЕН И ВВЕДЕН В ДЕЙСТВИЕ Приказом Федерального агентства по техническому регулированию и метрологии от 16 июля 2009 г. № 251-ст
4 ВВЕДЕН ВПЕРВЫЕ
Информация об изменениях к настоящему стандарту публикуется в ежегодно издаваемом информационном указателе «Национальные стандарты», а текст изменений и поправок - в ежемесячно издаваемых информационных указателях «Национальные стандарты». В случае пересмотра (замены) или отмены настоящего стандарта соответствующее уведомление будет опубликовано в ежемесячно издаваемом информационном указателе «Национальные стандарты». Соответствующая информация, уведомление и тексты размещаются также в информационной системе общего пользования - на официальном сайте Федерального агентства по техническому регулированию и метрологии в сети Интернет
Настоящий стандарт распространяется на резьбовые соединения обсадных и насосно-компрессорных труб и муфт к ним и разработан с целью унификации резьбовых соединений и установления требований к ним, отдельных от требований к трубам и муфтам.
Требования, правила приемки и методы контроля резьбовых соединений изложены с учетом международной практики в этой области, что повышает совместимость и взаимозаменяемость трубной продукции с такими резьбовыми соединениями.
Геометрические параметры и характеристики резьбовых соединений настоящего стандарта соответствуют геометрическим параметрам и характеристикам резьбовых соединений ГОСТ 632-80 «Трубы обсадные и муфты к ним. Технические условия» и ГОСТ 633-80 «Трубы насосно-компрессорные и муфты к ним», а также дополнены значениями для обсадных труб условным диаметром 102 мм с резьбовым соединением ОТТМ и обсадных труб с условным диаметром 324 мм с резьбовым соединением ОТТГ.
Настоящий стандарт не включает требования к резьбовым соединениям раструбных обсадных труб с трапецеидальной резьбой (ТБО) и насосно-компрессорных труб (НКБ), а также требования к резьбовым соединениям обсадных труб с короткой и удлиненной треугольной резьбой по ГОСТ Р 51906-2002, дублирующие требования к резьбовым соединениям, применяемым в международной практике.
НАЦИОНАЛЬНЫЙ СТАНДАРТ РОССИЙСКОЙ ФЕДЕРАЦИИ
|
ТРУБЫ ОБСАДНЫЕ И НАСОСНО-КОМПРЕССОРНЫЕ И МУФТЫ К НИМ. ОСНОВНЫЕ ПАРАМЕТРЫ И КОНТРОЛЬ РЕЗЬБОВЫХ СОЕДИНЕНИЙ Общие технические требования Pipes for use as casing or tubing and couplings for them. Basic parameters and inspection of thread connections. General technical requirements |
Дата введения - 2010-03-01
Настоящий стандарт распространяется на резьбовые соединения обсадных и насосно-компрессорных труб и муфт к ним, применяемых в нефтяной и газовой промышленности и устанавливает требования к основным параметрам и контролю резьбы и резьбовых соединений.
Настоящий стандарт устанавливает требования к следующим типам резьбовых соединений:
- резьбовому соединению обсадных труб и муфт с трапецеидальной резьбой ОТТМ;
- резьбовому высокогерметичному соединению обсадных труб и муфт с трапецеидальной резьбой и узлом уплотнения «металл-металл» ОТТГ;
- резьбовому соединению насосно-компрессорных труб и муфт с закругленной треугольной резьбой НКТ;
- резьбовому соединению насосно-компрессорных труб и муфт с закругленной треугольной резьбой и высаженными наружу концами труб НКТВ;
- резьбовому высокогерметичному соединению насосно-компрессорных труб и муфт с трапецеидальной резьбой и узлом уплотнения «металл-металл» НКМ.
В настоящем стандарте использованы нормативные ссылки на следующие стандарты:
ГОСТ Р 51906-2002 Соединения резьбовые обсадных, насосно-компрессорных труб и трубопроводов и резьбовые калибры для них
ГОСТ Р 53366-2009 (ИСО 11960-2004) Трубы стальные, применяемые в качестве обсадных или насосно-компрессорных труб для скважин в нефтяной и газовой промышленности. Общие технические условия
ГОСТ 9378-93 (ИСО 2632-1-85, ИСО 2632-2-85) Образцы шероховатости поверхности (сравнения). Общие технические условия
ГОСТ 10654-81 Калибры для треугольной резьбы насосно-компрессорных труб и муфт к ним. Типы, основные размеры и допуски
ГОСТ 11708-82 Основные нормы взаимозаменяемости. Резьба. Термины и определения
ГОСТ 25575-83 Калибры для соединений с трапецеидальной резьбой обсадных труб и муфт к ним. Типы, основные размеры и допуски
ГОСТ 25576-83 Калибры для соединений с трапецеидальной резьбой насосно-компрессорных труб и муфт к ним. Типы, основные размеры и допуски
Примечание - При пользовании настоящим стандартом целесообразно проверить действие ссылочных стандартов в информационной системе общего пользования - на официальном сайте Федерального агентства по техническому регулированию и метрологии в сети Интернет или по ежегодно издаваемому информационному указателю «Национальные стандарты», который опубликован по состоянию на 1 января текущего года, и по соответствующим ежемесячно издаваемым информационным указателям, опубликованным в текущем году. Если ссылочный стандарт заменен (изменен), то при пользовании настоящим стандартом следует руководствоваться заменяющим (измененным) стандартом. Если ссылочный стандарт отменен без замены, то положение, в котором дана ссылка на него, применяется в части, не затрагивающей эту ссылку.
3.1 В настоящем стандарте применены термины по ГОСТ 11708 и ГОСТ Р 51906, а также следующие термины с соответствующими определениями:
3.1.1 боковая сторона резьбы: Часть винтовой поверхности резьбы, расположенная между вершиной и впадиной резьбы и имеющая в плоскости осевого сечения прямолинейный профиль.
3.1.2 вершина резьбы: Часть винтовой поверхности резьбы, соединяющая смежные боковые стороны резьбы по верху.
3.1.3 винтовая линия резьбы: Линия, образованная на боковой поверхности реального или воображаемого прямого кругового конуса точкой, перемещающейся таким образом, что отношение между ее осевым перемещением и соответствующим угловым перемещением постоянно, но не равно нулю или бесконечности.
3.1.4 винтовая поверхность резьбы: Поверхность, образованная кривой, лежащей в одной плоскости с осью, и перемещающаяся относительно оси таким образом, что каждая точка кривой движется по винтовой линии резьбы и все возможные винтовые линии от точек кривой имеют одинаковые параметры.
3.1.5 виток резьбы: Часть выступа резьбы, соответствующая одному полному обороту точек винтовой поверхности резьбы относительно оси резьбы.
3.1.6 витки резьбы с черновинами, витки с черными вершинами: Вершины резьбы, образованные исходной поверхностью трубы после ее механической обработки.
3.1.7 внутренний диаметр конической резьбы: Диаметр воображаемого прямого кругового конуса в основной плоскости или заданном сечении, вписанного во впадины наружной или в вершины внутренней конической резьбы.
3.1.8 внутренняя резьба: Резьба, образованная на внутренней прямой круговой конической поверхности.
3.1.9 впадина резьбы: Часть винтовой поверхности резьбы, соединяющая смежные боковые стороны резьбы по низу.
3.1.10 высокогерметичное резьбовое соединение: Резьбовое соединение, в конструкцию которого включены специальные элементы, повышающие герметичность соединения, например узел уплотнения «металл-металл».
3.1.11 высота профиля резьбы: Расстояние между вершиной и впадиной резьбы в плоскости осевого сечения в направлении, перпендикулярном к оси резьбы.
3.1.12 выступ резьбы: Выступающая часть материала изделия, ограниченная винтовой поверхностью резьбы.
3.1.13 длина резьбы: Длина участка изделия, на котором образована резьба, включая сбег и фаску.
3.1.14 длина резьбы с полным профилем: Длина участка резьбы, на котором вершины и впадины соответствуют номинальному профилю резьбы и находятся в пределах отклонений наружного и внутреннего диаметров резьбы.
3.1.15 длина свинчивания: Длина участка взаимного перекрытия наружной и внутренней резьбы в осевом направлении.
3.1.16 длина резьбы с неполным профилем: Длина участка резьбы, на котором витки имеют неполную (незавершенную) форму.
3.1.17 конец сбега резьбы: Конец стороны впадины непрерывно исчезающей нитки резьбы, наиболее удаленный от торца трубы.
3.1.18 коническая резьба: Один или несколько равномерно расположенных выступов резьбы постоянного сечения, образованных на боковой поверхности прямого кругового конуса.
3.1.19 конусность резьбы: Угол при вершине между образующими конуса в одной плоскости. Конусность резьбы характеризуется изменением диаметра резьбы в осевом направлении и определяется разностью диаметров (наружных, внутренних и средних) между двумя любыми перпендикулярными к оси сечениями, деленной на расстояние между этими сечениями.
3.1.20 механическое свинчивание: Свинчивание резьбового соединения с определенным усилием и/или до определенного положения с помощью специального механизма или муфтонаверточного станка.
3.1.21 минимальная толщина стенки трубы под резьбой в плоскости торца трубы: Условная толщина стенки, характеризующая устойчивость резьбовой части конца трубы к разрушению, в условиях действия разнонаправленных напряжений.
3.1.22 наружная резьба: Резьба, образованная на наружной прямой круговой конической поверхности.
3.1.23 наружный диаметр конической резьбы: Диаметр воображаемого прямого кругового конуса в основной плоскости или заданном сечении, описанного вокруг вершин наружной или впадин внутренней конической резьбы.
3.1.24 натяг: Расстояние, характеризующее посадку одного изделия на другое, и припуск на механическое довинчивание.
3.1.25 натяг при свинчивании труб с муфтами: Расстояние от торца муфты до плоскости конца сбега резьбы на трубе.
3.1.26 натяг при контроле калибрами: Расстояние от измерительной плоскости калибра до плоскости изделия, выбранной за начало измерения натяга.
3.1.27 номинальный диаметр резьбы: Диаметр, условно характеризующий размеры резьбы и используемый при ее обозначении.
3.1.28 номинальный профиль конической резьбы: Профиль наружной или внутренней конической резьбы, который определен номинальными размерами его линейных и условных элементов и к которому в установленной основной плоскости относятся номинальный размеры наружного, среднего и внутреннего диаметров резьбы.
3.1.29 обычная муфта: Муфта наружным диаметром, принятым за основной диаметр по сравнению со специальной муфтой, имеющей меньший наружный диаметр. Термин применяют в случае, если для труб одного диаметра применяют муфты разных диаметров.
3.1.30 основная плоскость конической резьбы: Плоскость, перпендикулярная к оси резьбы, в которой задаются номинальные размеры наружного, среднего и внутреннего диаметров конической резьбы.
3.1.31 ось резьбы: Ось, относительно которой образована винтовая поверхность резьбы.
3.1.32 профиль резьбы: Профиль выступа и впадины резьбы в плоскости осевого сечения резьбы.
3.1.33 резьбовое соединение: Соединение двух изделий с помощью резьбы, в котором одно из изделий имеет наружную резьбу, другое - внутреннюю.
3.1.34 сбег резьбы: Участок в зоне перехода резьбы к гладкой части изделия, на котором резьба имеет неполный профиль.
3.1.35 свинчивание вручную, ручное свинчивание: Свинчивание резьбового соединения усилием одного человека без применения специального механизма или муфтонаверточного станка.
3.1.36 специальная муфта: Муфта, имеющая меньший наружный диаметр, по сравнению с наружным диаметром обычной муфты.
3.1.37 средний диаметр конической резьбы: Диаметр в основной плоскости или заданном сечении воображаемого прямого кругового конуса, соосного с конической резьбой, каждая образующая которого пересекает профиль резьбы таким образом, что проекции на ось резьбы отрезков, образованных при пересечении с впадиной, равны половине номинального шага резьбы.
3.1.38 трапецеидальная резьба: Коническая резьба, предназначенная для соединения нарезных труб и муфт к ним, исходный профиль которой представляет собой трапецию, угол наклона одной из боковых сторон (несущей) которой меньше, чем угол наклона другой стороны (угол трения).
3.1.39 закругленная треугольная резьба: Коническая резьба, предназначенная для соединения нарезных труб и муфт к ним, исходный профиль которой представляет собой треугольник с закругленными вершинами и впадинами.
3.1.40 угол наклона боковой стороны резьбы: Угол между боковой стороной резьбы и перпендикуляром к оси резьбы в плоскости сечения.
3.1.41 угол профиля резьбы: Угол между смежными боковыми сторонами резьбы в плоскости осевого сечения.
3.1.42 угол уклона резьбы: Угол, образованный касательной к винтовой линии, описываемой средней точкой боковой стороны резьбы, и плоскостью, перпендикулярной к оси резьбы.
3.1.43 узел уплотнения «металл-металл»: Совокупность конструктивных металлических уплотнительных и упорных элементов резьбового соединения, которые при механическом свинчивании обеспечивают в результате сопряжения поверхностей с определенным натягом высокую герметичность резьбового соединения.
3.1.44 уплотнительная проточка: Радиальная уплотнительная поверхность трубы - конструктивный уплотнительный элемент узла уплотнения «металл-металл».
3.1.45 уплотнительная расточка: Радиальная уплотнительная поверхность муфты - конструктивный уплотнительный элемент узла уплотнения «металл-металл».
3.1.46 упорный торец трубы: Упорная поверхность, проходящая через плоскость меньшего диаметра уплотнительной проточки, расположенная под прямым или другим углом к оси резьбы трубы - конструктивный упорный элемент узла уплотнения «металл-металл».
3.1.47 упорный уступ муфты: Упорная поверхность, проходящая через плоскость меньшего диаметра уплотнительной расточки, расположенная под прямым или другим углом к оси резьбы муфты - конструктивный упорный элемент узла уплотнения «металл-металл».
3.1.48 шаг резьбы: Расстояние по линии, параллельной оси резьбы между средними точками ближайших одноименных боковых сторон профиля резьбы, лежащими в одной осевой плоскости по одну сторону от оси резьбы.
3.2 В настоящем стандарте применены следующие сокращения:
НКМ - резьбовое высокогерметичное соединение насосно-компрессорных труб и муфт с трапецеидальной резьбой и узлом уплотнения «металл-металл»;
НКТ - резьбовое соединение насосно-компрессорных труб и муфт с закругленной треугольной резьбой;
НКТВ - резьбовое соединение насосно-компрессорных труб и муфт с закругленной треугольной резьбой и высаженными наружу концами труб;
ОТТГ - резьбовое высокогерметичное соединение обсадных труб и муфт с трапецеидальной резьбой и узлом уплотнения «металл-металл»;
ОТТМ - резьбовое соединение обсадных труб и муфт с трапецеидальной резьбой.
3.3 В настоящем стандарте применены следующие обозначения:
Аh - натяг при свинчивании трубы и муфты вручную;
А - натяг при механическом свинчивании трубы и муфты;
A1, A2, А3, А4 - натяги резьбы или элементов резьбового соединения по калибрам;
α1, α2, α3 - углы наклона элементов профиля резьбы;
В - ширина торцовой плоскости;
b, b1, b2, b3, b4 - ширина элементов профиля резьбы;
D - наружный диаметр трубы;
DB - наружный диаметр высаженного конца трубы;
DM - наружный диаметр обычной муфты;
DC - наружный диаметр специальной муфты;
d - внутренний диаметр трубы;
dM - внутренний диаметр муфты;
dcp - средний диаметр резьбы в основной плоскости;
dBH - внутренний диаметр резьбы в основной плоскости;
d0, d1, d2, d3, d4, d5 - диаметры элементов резьбы или резьбового соединения;
φ - угол уклона резьбы;
Н - высота исходного профиля резьбы;
h, h1, h2, h3, h4, h5 - высота или глубина элементов профиля резьбы или резьбового соединения;
L - общая длина резьбы трубы;
LM - длина муфты;
L1 - расстояние от торца муфты до упорного уступа;
l0, l1, l2, l3, l4, l5, l6, l7, l8, l9, l10 - расстояние или длина элементов резьбового соединения;
Р - шаг резьбы;
r, r1, r2, r3, r4 - радиусы скругления элементов профиля резьбы или резьбового соединения;
t - толщина стенки трубы;
tr - толщина стенки трубы под резьбой в плоскости торца трубы;
K - конусность резьбы;
z -зазор.
4.1 Резьбовые соединения, установленные настоящим стандартом, предназначены для обсадных, насосно-компрессорных труб и муфт к ним по ГОСТ Р 53366.
4.2 Резьбовые соединения труб и муфт к ним должны быть выполнены в соответствии с требованиями настоящего стандарта по технологическим регламентам, утвержденным в установленном порядке.
4.3 Геометрические параметры труб и муфтовых заготовок, предназначенных для нарезания резьбы, должны обеспечивать выполнение требований настоящего стандарта к геометрическим параметрам резьбы и резьбовых соединений.
4.4 Соблюдение требований к профилю, геометрическим параметрам, качеству поверхности резьбы и резьбового соединения должно обеспечивать герметичность резьбового соединения при правильно выполненном механическом свинчивании и использовании соответствующей резьбовой смазки.
4.5 Поверхности резьбы, уплотнительных и упорных элементов резьбового соединения должны быть гладкими, без следов коррозии.
Не допускаются рванины, заусенцы и другие дефекты, которые нарушают непрерывность поверхности резьбы, уплотнительных и упорных элементов, могут привести к отслоению металла или защитного покрытия, образованию задиров при свинчивании.
4.6 На длине резьбы трубы с неполным профилем допускаются риски, царапины, вмятины и другие несовершенства поверхности глубиной, не выходящей за внутренний диаметр резьбы или не превышающей 12,5% номинальной толщины стенки трубы при измерении от поверхности трубы, в зависимости от того, что больше.
4.7 Допускается зачистка поверхности резьбы, уплотнительных и упорных элементов резьбовых соединений для уменьшения глубины несовершенств или для их удаления, при условии соблюдения требований к геометрическим параметрам резьбы и резьбовых соединений.
4.8 Шероховатость Ra поверхности резьбы и упорных элементов резьбовых соединений не должна превышать 3,2 мкм, поверхности уплотнительных элементов резьбовых соединений - 1,6 мкм.
4.9 На всю поверхность резьбы и уплотнительных конических расточек муфт должно быть нанесено цинковое или фосфатное покрытие.
4.10 При свинчивании труб с муфтами должна применяться резьбоуплотнительная смазка или другие смазки, обеспечивающие герметичность резьбового соединения и предохраняющие его от коррозии и задиров при свинчивании.
5.1.1 Форма и геометрические параметры профиля трапецеидальной резьбы резьбовых соединений ОТТМ и ОТТГ обсадных труб и муфт к ним должны соответствовать указанным на рисунке 1 и в таблице 1.
Предельные отклонения геометрических параметров профиля резьбы должны соответствовать указанным в таблицах 1 и 2.

_______________
* Размер для справок.
α - угол профиля; α1, α2 - углы наклона сторон профиля; b - ширина вершины профиля; b1 - ширина впадины профиля; φ - угол уклона резьбы; h1 - высота профиля; Р - шаг резьбы; r, r1, r2, r3 - радиусы скругления профиля
Рисунок 1 - Форма и геометрические параметры профиля трапецеидальной резьбы резьбовых соединений
Таблица 1 - Геометрические параметры профиля трапецеидальной резьбы резьбовых соединений ОТТМ и ОТТГ
В миллиметрах
|
Наименование параметра |
Номинальное значение |
Предельное отклонение |
|
Шаг резьбы Р |
5,08 |
|
|
Высота профиля h1 |
1,60 |
±0,03 |
|
Угол профиля α * |
13° |
- |
|
Угол наклона стороны профиля |
|
|
|
α1 |
3° |
±1° |
|
α2 |
10° |
±1° |
|
Ширина вершины профиля b * |
2,29 |
- |
|
Ширина впадины профиля b1, * |
2,43 |
+ 0,05 |
|
Радиус округления профиля: |
|
|
|
r * |
0,20 |
+ 0,05 |
|
r1, * |
0,80 |
-0,05 |
|
r2, * |
0,20 |
-0,05 |
|
r3, * |
0,80 |
+ 0,05 |
|
Угол уклона резьбы φ * |
1°47'24" |
- |
|
Конусность резьбы K * |
6,25 (1:16) |
Таблица 2 |
|
* Размер для справок ** Конусность наружного и внутреннего диаметров резьбы трубы и муфты на длине резьбы 100 мм. Примечание - Параметры резьбы для справок и их предельные отклонения приведены для проектирования резьбообразующего инструмента и контролю не подвергаются. |
||
В миллиметрах
|
Тип соединения |
Предельное отклонение |
|||||
|
шага резьбы Р |
конусности резьбы К |
|||||
|
на длине 25,4 мм * |
на всей длине резьбы с полным профилем |
трубы |
муфты |
|||
|
условным диаметром до 194 мм включ. |
условным диаметром св. 194 мм |
для труб условным диаметром до 194 мм включ. |
для труб условным диаметром св. 194 мм |
|||
|
ОТТМ |
±0,05 |
±0,10 |
+ 0,25 |
+0,25 |
+0,00 |
+0,10 |
|
-0,10 |
-0,25 |
-0,25 |
||||
|
ОТТГ |
+0,15 |
+0,20 |
+0,00 |
+0,05 |
||
|
-0,05 |
-0,15 |
-0,20 |
||||
|
* Предельные отклонения шага резьбы на длине 25,4 мм допускаются на расстоянии между любыми двумя витками резьбы с полным профилем, не превышающим 25,4 мм. На расстоянии между любыми двумя витками резьбы, превышающем 25,4 мм, допускается увеличение предельных отклонений шага резьбы пропорционально увеличению расстояния, но не более указанных в настоящей таблице предельных отклонений для всей длины резьбы с полным профилем. |
||||||
5.2.1 Общий вид резьбового соединения ОТТМ при свинчивании вручную и при механическом свинчивании показан на рисунке 2.

D - наружный диаметр трубы; DM - наружный диаметр обычной муфты; DC - наружный диаметр специальной муфты; d - внутренний диаметр трубы; LM - длина муфты; t - толщина стенки трубы
Рисунок 2 - Общий вид резьбового соединения ОТТМ
5.2.2 Основные геометрические параметры и предельные отклонения параметров резьбового соединения ОТТМ должны соответствовать указанным на рисунках 3 и 4 и в таблицах 3 и 4.

_______________
* Размер для справок.
** Размер не регламентируется.
D - наружный диаметр трубы; dВН - внутренний диаметр резьбы в основной плоскости; d1 - наружный диаметр резьбы в плоскости торца трубы; d2 - внутренний диаметр резьбы в плоскости торца трубы; L - общая длина резьбы трубы (от торца трубы до конца сбега резьбы); l -длина резьбы трубы с полным профилем (длина резьбы от торца трубы до основной плоскости); l1 -длина резьбы с неполным профилем; l2 - длина сбега резьбы трубы
Рисунок 3 - Основные геометрические параметры резьбового соединения ОТТМ трубы
Таблица 3 - Основные геометрические параметры резьбового соединения ОТТМ трубы
В миллиметрах
|
Условный диаметр трубы |
Наружный диаметр трубы D * |
Внутренний диаметр резьбы в основной плоскости dВН * |
Наружный диаметр резьбы в плоскости торца трубы d1* |
Внутренний диаметр резьбы в плоскости торца трубы d2* |
Общая длина резьбы L ±2 |
Длина резьбы с полным профилем l* |
Длина сбега резьбы l2, не более |
|
102 |
101,60 |
98,400 |
99,287 |
96,087 |
69 |
37 |
13 |
|
114 |
114,30 |
111,100 |
111,675 |
108,475 |
74 |
42 |
13 |
|
127 |
127,00 |
123,800 |
124,250 |
121,050 |
76 |
44 |
13 |
|
140 |
139,70 |
136,500 |
136,700 |
133,500 |
80 |
48 |
13 |
|
146 |
146,10 |
142,850 |
143,050 |
139,850 |
80 |
48 |
13 |
|
168 |
168,28 |
165,075 |
165,025 |
161,825 |
84 |
52 |
13 |
|
178 |
177,80 |
174,600 |
174,300 |
171,100 |
88 |
56 |
13 |
|
194 |
193,68 |
190,475 |
189,925 |
186,725 |
92 |
60 |
13 |
|
219 |
219,08 |
215,875 |
214,950 |
211,750 |
98 |
66 |
13 |
|
245 |
244,48 |
241,275 |
240,350 |
237,150 |
98 |
66 |
13 |
|
273 |
273,05 |
269,850 |
268,925 |
265,725 |
98 |
66 |
13 |
|
299 |
298,45 |
295,250 |
294,325 |
291,125 |
98 |
66 |
13 |
|
324 |
323,90 |
320,650 |
319,725 |
316,525 |
98 |
66 |
13 |
|
340 |
339,72 |
336,525 |
335,600 |
332,400 |
98 |
66 |
13 |
|
* Размер для справок. |
|||||||

_________________
* Размер для справок.
В - ширина торцовой плоскости обычной муфты; dBH - внутренний диаметр резьбы в основной плоскости; dQ - диаметр фаски в плоскости торца муфты; d3 - внутренний диаметр резьбы в плоскости торца муфты; l3 - длина резьбы с полным профилем муфты; r - радиус скругления кромки торца специальной муфты
Примечания
1. Для выхода резьбообразующего инструмента на середине муфты может быть выполнена проточка глубиной, превышающей высоту профиля резьбы h1 не более чем на 0,50 мм. Проточка не должна иметь острых кромок. При отсутствии проточки допускается перерез встречных ниток в середине муфты на длине резьбы с неполным профилем.
2 Для специальных муфт допускается замена фаски 35° ±5° скруглением кромки торца радиусом, не превышающим ширину фаски.
Рисунок 4 - Основные геометрические параметры резьбового соединения ОТТМ муфты
Таблица 4 - Основные геометрические параметры резьбового соединения ОТТМ муфты
В миллиметрах
|
Условный диаметр трубы |
Наружный диаметр трубы D * |
Внутренний диаметр резьбы в основной плоскости dВН * |
Внутренний диаметр резьбы в плоскости торца муфты d3* |
Диаметр фаски в плоскости торца муфты d0 +1,0 |
Длина резьбы с полным профилем l3, не менее |
Ширина торцовой плоскости обычной муфты В, не менее |
|
102 |
101,60 |
98,400 |
99,525 |
103,8 |
74 |
1,5 |
|
114 |
114,30 |
111,100 |
112,225 |
116,5 |
76 |
3,0 |
|
127 |
127,00 |
123,800 |
124,925 |
129,2 |
78 |
4,0 |
|
140 |
139,70 |
136,500 |
137,625 |
141,9 |
82 |
3,5 |
|
146 |
146,10 |
142,850 |
143,975 |
148,3 |
82 |
6,5 |
|
168 |
168,28 |
165,075 |
166,200 |
170,5 |
86 |
6,0 |
|
178 |
177,80 |
174,600 |
175,725 |
180,0 |
90 |
4,5 |
|
194 |
193,68 |
190,475 |
191,600 |
195,9 |
94 |
7,5 |
|
219 |
219,08 |
215,875 |
217,000 |
221,3 |
100 |
9,0 |
|
245 |
244,48 |
241,275 |
242,400 |
246,7 |
100 |
9,0 |
|
273 |
273,05 |
269,850 |
270,975 |
275,3 |
100 |
8,5 |
|
299 |
298,45 |
295,250 |
296,375 |
300,7 |
100 |
8,5 |
|
324 |
323,90 |
320,650 |
321,775 |
326,1 |
100 |
9,5 |
|
340 |
339,72 |
336,525 |
337,650 |
342,0 |
100 |
8,5 |
|
* Размер для справок. Примечание - Ширина торцовой плоскости специальной муфты не нормируется. |
||||||
5.2.3 `На расстоянии менее (l - 10) мм от торца трубы не допускаются витки резьбы с черновинами.
На расстоянии (l - 10) мм и более от торца трубы допускаются витки резьбы с черновинами общей протяженностью на каждом витке не более 25% длины витка резьбы:
- на одном витке резьбы - для труб условным диаметром до 194 мм включительно;
- на двух витках резьбы - для труб условным диаметром 219 мм и более.
5.2.4 Минимальная толщина стенки трубы под резьбой в плоскости торца трубы должна быть не менее 1,5 мм.
Толщину стенки трубы под резьбой в плоскости торца трубы вычисляют по следующей формуле
|
tr = 0,875t - 0,5(1,01D - d2), |
(1) |
где tr - толщина стенки трубы под резьбой в плоскости торца трубы, мм, округленная до 0,1 мм;
t - номинальная толщина стенки трубы, мм;
D - номинальный наружный диаметр трубы, мм;
d2 - внутренний диаметр резьбы в плоскости торца трубы, мм.
Если расчетное значение tr менее или равно 1,5 мм, то минимальная толщина стенки трубы под резьбой в плоскости торца трубы должна быть не менее 1,5 мм.
Если расчетное значение tr более 1,5 мм, то минимальная толщина стенки трубы под резьбой в плоскости торца трубы должна быть не менее расчетного значения.
5.2.5 Разностенность в плоскости торца специальных муфт не должна превышать 1,00 мм.
5.2.6 Оси резьбы обоих концов муфты должны совпадать. Предельное отклонение от соосности резьбы в плоскости торца муфты не должно превышать 0,75 мм, предельное отклонение от соосности резьбы на расстоянии 1 м от середины муфты не должно превышать 3,00 мм.
5.2.7 При свинчивании труб с муфтами вручную натяг Аh (расстояние от торца муфты до конца сбега резьбы на трубе) должен быть равен (14,0 ±3,0) мм (рисунок 5).

А - натяг при механическом свинчивании труб с муфтами; Ah - натяг при свинчивании труб с муфтами вручную
Рисунок 5 - Схема свинчивания труб и муфт с резьбовым соединением ОТТМ
При механическом свинчивании труб с муфтами натяг А должен быть не более 5,0 мм, т.е. торец муфты должен совпадать с концом сбега резьбы трубы или не доходить до него не более чем на 5,0 мм (рисунок 5).
5.3.1 Общий вид резьбового соединения ОТТГ с узлом уплотнения «металл-металл» при свинчивании вручную и при механическом свинчивании показан на рисунке 6.

D - наружный диаметр трубы; DM - наружный диаметр обычной муфты; DC - наружный диаметр специальной муфты; d - внутренний диаметр трубы; dM - внутренний диаметр муфты; t - толщина стенки трубы; LM - длина муфты
Рисунок 6 - Общий вид резьбового соединения ОТТГ
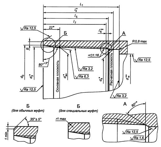
5.3.2 Основные геометрические параметры и предельные отклонения параметров резьбового соединения ОТТГ должны соответствовать указанным на рисунках 7 и 8 и в таблицах 5 и 6.


_________________
* Размер для справок.
** Размер не регламентируется,
D - наружный диаметр трубы; dBH - внутренний диаметр резьбы в основной плоскости; d1 - наружный диаметр резьбы в плоскости торца трубы; d2 - диаметр уплотнительной конической проточки в плоскости торца трубы; L - расстояние от торца до конца сбега резьбы; l - длина резьбы от торца трубы до основной плоскости; l1 - длина резьбы с полным профилем; 12 – длина резьбы с неполным профилем; l3 - длина сбега резьбы
Рисунок 7 - Основные геометрические параметры резьбового соединения ОТТГ трубы

_________________
* Размер для справок.
** Размер не регламентируется.
В - ширина торцовой плоскости муфты; dBH - внутренний диаметр резьбы в основной плоскости; dM - внутренний диаметр муфты; d0 - диаметр фаски в плоскости торца муфты; d3 - внутренний диаметр резьбы в плоскости торца муфты; d4 - диаметр уплотнительной конической расточки муфты в расчетной плоскости; L - расстояние от торца муфты до упорного уступа; l4 - расстояние от торца муфты до расчетной плоскости; l5 - длина резьбового конуса муфты (от торца муфты до конца сбега резьбы); l6 - длина сбега резьбы; l7 - длина резьбы с полным профилем; r - радиус скругления профиля
Примечания
1 Конец сбега резьбы муфты не должен выходить за пределы фаски, расположенной между резьбой и уплотнительной конической расточкой.
2 Для специальных муфт допускается замена фаски 35° ±5° округлением кромки торца радиусом, не превышающим ширину фаски.
Рисунок 8 - Основные геометрические параметры резьбового соединения ОТТГ муфты
Таблица 5 - Основные геометрические параметры резьбового соединения ОТТГ трубы
В миллиметрах
|
Условный диаметр трубы |
Наружный диаметр трубы D* |
Внутренний диаметр резьбы в основной плоскости d8H * |
Наружный диаметр резьбы в плоскости торца трубы d1 * |
Диаметр уплотнительной конической проточки в плоскости торца трубы d2* |
Расстояние от торца до конца сбега резьбы L - 1 |
Расстояние от торца до основной плоскости l * |
Длина сбега резьбы l3, не более |
|
114 |
114,30 |
111,100 |
110,175 |
106,375 |
98 |
66 |
13 |
|
127 |
127,00 |
123,800 |
122,750 |
118,950 |
100 |
68 |
13 |
|
140 |
139,70 |
136,500 |
135,200 |
131,400 |
104 |
72 |
13 |
|
146 |
146,10 |
142,850 |
141,550 |
137,750 |
104 |
72 |
13 |
|
168 |
168,28 |
165,075 |
163,525 |
159,725 |
108 |
76 |
13 |
|
178 |
177,80 |
174,600 |
172,800 |
169,000 |
112 |
80 |
13 |
|
194 |
193,68 |
190,475 |
188,425 |
184,625 |
116 |
84 |
13 |
|
219 |
219,08 |
215,875 |
213,450 |
209,650 |
122 |
90 |
13 |
|
245 |
244,48 |
241,275 |
238,850 |
235,050 |
122 |
90 |
13 |
|
250 |
250,80 |
241,275 |
238,850 |
235,050 |
130 |
90 |
13 |
|
273 |
273,05 |
269,850 |
267,425 |
263,625 |
122 |
90 |
13 |
|
324 |
323,90 |
320,650 |
318,225 |
314,425 |
122 |
90 |
13 |
|
* Размер для справок. |
|||||||
Таблица 6 - Основные геометрические параметры резьбового соединения ОТТГ муфты
В миллиметрах
|
Условный диаметр трубы |
Наружный диаметр трубы D* |
Внутренний диаметр резьбы в основной плоскости d8H * |
Диаметр фаски в плоскости торца муфты d0 + 1,0 -0,0 |
Внутренний диаметр резьбы в плоскости торца муфты d3 * |
Диаметр уплотнительной конической расточки в расчетной плоскости d4 * |
Расстояние от торца муфты до упорного уступа L1 + 1 |
Расстояние от торца муфты до расчетной плоскости l4 * |
Длина резьбового конуса муфты l5 - 1 |
Длина резьбы с полным профилем муфты l7, не менее |
Ширина торцовой плоскости обычной муфты В, не менее |
|
114 |
114,30 |
111,100 |
116,5 |
112,475 |
106,425 |
96 |
88 |
82 |
72 |
3,0 |
|
127 |
127,00 |
123,800 |
129,2 |
125,175 |
119,000 |
98 |
90 |
84 |
74 |
4,0 |
|
140 |
139,70 |
136,500 |
141,9 |
137,875 |
131,450 |
102 |
94 |
88 |
78 |
3,5 |
|
146 |
146,10 |
142,850 |
148,3 |
144,225 |
137,800 |
102 |
94 |
88 |
78 |
6,5 |
|
168 |
168,28 |
165,075 |
170,5 |
166,450 |
159,775 |
106 |
98 |
92 |
82 |
6,0 |
|
178 |
177,80 |
174,600 |
180,0 |
175,975 |
169,050 |
110 |
102 |
96 |
86 |
4,5 |
|
194 |
193,68 |
190,475 |
195,9 |
191,850 |
184,675 |
114 |
106 |
100 |
90 |
7,5 |
|
219 |
219,08 |
215,875 |
221,3 |
217,250 |
209,700 |
120 |
112 |
106 |
96 |
9,0 |
|
245 |
244,48 |
241,275 |
246,7 |
242,650 |
235,100 |
120 |
112 |
106 |
96 |
9,0 |
|
250 |
250,80 |
241,275 |
246,7 |
242,650 |
235,100 |
120 |
112 |
106 |
96 |
9,0 |
|
273 |
273,05 |
269,850 |
275,3 |
271,225 |
263,675 |
120 |
112 |
106 |
96 |
8,5 |
|
324 |
323,90 |
320,650 |
326,1 |
322,025 |
314,475 |
120 |
112 |
106 |
96 |
8,5 |
|
* Размер для справок. Примечание - Ширина торцовой плоскости специальных муфт не нормируется. |
||||||||||
5.3.3 На расстоянии менее (l - 10) мм от торца трубы не допускаются витки резьбы с черновинами.
На расстоянии (l - 10) мм и более от торца трубы допускаются витки с черновинами общей протяженностью на каждом витке не более 25% длины витка резьбы:
- на одном витке резьбы -для труб условным диаметром до 194 мм включительно;
- на двух витках резьбы - для труб условным диаметром 219 мм и более.
5.3.4 Минимальная толщина стенки трубы под резьбой в плоскости торца трубы должна быть не менее 3,0 мм, кроме труб следующих размеров, для которых минимальная толщина стенки трубы под резьбой в плоскости торца трубы должна быть не менее 2,5 мм:
- труб условным диаметром 146 мм и толщиной стенки 8,5 мм,
- труб условными диаметрами 168, 219, 245 и 273 мм и толщинами стенки 8,0 и 8,9 мм,
- труб условным диаметром 324 мм и толщиной стенки 9,5 мм.
Толщину стенки трубы под резьбой в плоскости торца трубы вычисляют по следующей формуле
|
tr = 0,875t - 0,5(1,01D - d2), |
(2) |
где tr - толщина стенки трубы под резьбой в плоскости торца трубы, мм, округленная до 0,1 мм;
t - номинальная толщина стенки трубы, мм;
D - номинальный наружный диаметр трубы, мм;
d2 - диаметр уплотнительной конической проточки в плоскости торца трубы, мм.
Если расчетное значение tr менее или равно 3,0 мм, а для труб с указанными размерами менее или равно 2,5 мм, то минимальная толщина стенки трубы под резьбой в плоскости торца трубы должна быть не менее 3,0 мм или 2,5 мм соответственно.
Если расчетное значение tr более 3,0 мм или для труб с указанными размерами более 2,5 мм, то минимальная толщина стенки трубы под резьбой в плоскости торца трубы должна быть не менее расчетного значения.
5.3.5 Предельные отклонения конусности на всей длине уплотнительной конической проточки трубы не должны превышать ±0,03 мм, предельные отклонения конусности уплотнительной конической расточки муфты не должны превышать +0,06 мм.
5.3.6 Разностенность в плоскости торца специальных муфт не должна превышать 1,00 мм.
5.3.7 Упорные торцы трубы и упорные уступы муфты должны быть плоскими и перпендикулярными к оси резьбы. Предельное отклонение упорных элементов от перпендикулярности не должно превышать 0,06 мм. Предельное отклонение упорных элементов от плоскостности не должно превышать 0,06 мм.
5.3.8 Оси резьбы обоих концов муфты должны совпадать. Предельное отклонение от соосности резьбы в плоскости торца муфты не должно превышать 0,75 мм, предельное отклонение от соосности резьбы на расстоянии 1 м от середины муфты не должно превышать 3,00 мм.
5.3.9 Оси резьбы и уплотнительных элементов труб и муфт должны совпадать. Предельное отклонение от соосности в плоскости торца трубы или муфты не должно превышать 0,04 мм.
5.3.10 При свинчивании труб с муфтами вручную натяг Ah (расстояние от торца муфты до конца сбега резьбы на трубе) должен быть равен (10,0 ±2,0) мм (рисунок 9).
При механическом свинчивании трубы с муфтой должно быть обеспечено сопряжение упорного торца трубы и упорного уступа муфты по всему периметру стыка упорных поверхностей (рисунок 9).

Ah - натяг при свинчивании труб с муфтами вручную
Рисунок 9 - Схема свинчивания труб и муфт с резьбовым соединением ОТТГ
6.1.1 Форма и геометрические параметры профиля закругленной треугольной резьбы соединений НКТ и НКТВ насосно-компрессорных труб и муфт к ним должны соответствовать указанным на рисунке 10 и в таблице 7.
Предельные отклонения геометрических параметров профиля резьбы должны соответствовать указанным в таблицах 7 и 8.

_______________
* Размер для справок.
α - угол профиля; α/2 - угол наклона стороны профиля; φ - угол уклона резьбы; Н - высота исходного профиля; h - рабочая высота профиля; h1, h3 - высота профиля; h2, h4 - срез по вершинам профиля резьбы трубы и муфты; h5, h6 - срез по впадинам профиля резьбы трубы и муфты; Р - шаг резьбы; r1 - радиус скругления впадины профиля; r - радиус скругления вершины профиля; z - зазор
Рисунок 10 - Форма и геометрические параметры профиля закругленной треугольной резьбы соединений
Таблица 7 - Геометрические параметры профиля закругленной треугольной резьбы соединений НКТ и НКТВ
В миллиметрах
|
Наименование параметра |
Число ниток на длине 25,4 мм |
||||
|
10 |
8 |
||||
|
Номинальное значение |
Предельное отклонение |
Номинальное значение |
Предельное отклонение |
||
|
Шаг резьбы Р |
2,540 |
3,175 |
Таблица 2 |
||
|
Высота исходного профиля Н* |
2,200 |
- |
2,750 |
- |
|
|
Рабочая высота профиля h* |
1,336 |
- |
1,734 |
- |
|
|
Высота профиля h1, h3 |
1,412 |
+0,050 |
1,810 |
+0,050 |
|
|
-0,100 |
-0,100 |
||||
|
Угол профиля α* |
60° |
- |
60° |
- |
|
|
Угол наклона стороны профиля α/2 |
30° |
±1° |
30° |
±° |
|
|
Радиус скругления вершины профиля |
|
|
|
|
|
|
r* |
0,432 |
+0,045 |
0,508 |
+0,045 |
|
|
r2* |
0,356 |
-0,045 |
0,432 |
-0,045 |
|
|
Срез по вершинам профиля h2, h4 |
0,432 |
|
0,508 |
- |
|
|
Срез по впадинам профиля h5, h6 |
0,356 |
- |
0,432 |
- |
|
|
Зазор z* |
0,076 |
- |
0,076 |
- |
|
|
Угол уклона резьбы φ* |
1°47'24" |
- |
1°47'24" |
- |
|
|
Конусность резьбы К** |
6,25 |
Таблица 2 |
6,25 |
Таблица 2 |
|
|
(1:16) |
(1:16) |
||||
|
* Размер для справок. ** Конусность среднего диаметра резьбы трубы и муфты, наружного диаметра резьбы трубы и внутреннего диаметра резьбы муфты на длине 100 мм. Примечание - Параметры резьбы для справок и их предельные отклонения приведены для проектирования резьбообразующего инструмента и контролю не подвергаются. |
|||||
Таблица 8 - Предельные отклонения шага и конусности резьбы соединений НКТ и НКТВ
В миллиметрах
|
Предельное отклонение |
|||
|
шага резьбы Р |
конусности резьбы К |
||
|
на длине 25,4 мм* |
на всей длине резьбы с полным профилем |
трубы |
муфты |
|
± 0,075 |
±0,120 |
+0,36 |
+0,22 |
|
-0,22 |
-0,36 |
||
|
* Предельные отклонения шага резьбы на длине 25,4 мм допускаются на расстоянии между любыми двумя витками резьбы с полным профилем, не превышающем 25,4 мм. На расстоянии между любыми витками резьбы, превышающем 25,4 мм, допускается увеличение предельных отклонений шага резьбы пропорционально увеличению длины, но не свыше предельных отклонений, указанных для всей длины резьбы с полным профилем. |
|||
6.1.2 Форма и геометрические параметры профиля трапецеидальной резьбы соединения НКМ насосно-компрессорных труб условным диаметром от 60 до 102 мм включительно и муфт к ним должны соответствовать указанным на рисунке 11 и в таблице 9, для труб условным диаметром 114 мм и муфт к ним - на рисунке 12 и в таблице 9.
Предельные отклонения геометрических параметров профиля резьбы должны соответствовать указанным в таблицах 9 и 10.

________________
* Размер для справок.
α - угол профиля; α1, α2 - углы наклона сторон профиля; b - ширина вершин профиля трубы, b1 - ширина вершин профиля муфты; b2 - ширина впадин профиля трубы; b3 - ширина впадин профиля муфты; b4 - ширина фаски вершин профиля; h1 - высота профиля; Р - шаг резьбы; r1 - радиус скругления впадин профиля, r2 - радиус скругления вершин профиля; φ - угол уклона резьбы
Примечание - Допускается замена фаски вершин профиля скруглением вершин радиусом, равным (0,2 +0,05) мм.
Рисунок 11 - Форма и геометрические параметры профиля трапецеидальной резьбы соединения НКМ насосно-компрессорных труб условным диаметром от 60 до 102 мм включительно и муфт к ним

_______________
* Размер для справок.
α - угол профиля; α1, α2 - углы наклона сторон профиля; b - ширина вершин профиля трубы, b1 - ширина вершин профиля муфты; b2 - ширина впадин профиля трубы; b3 - ширина впадин профиля муфты; φ - угол уклона резьбы; h1 - высота профиля; Р - шаг резьбы; r, r3 - радиусы скругления вершин профиля; r1, r4 - радиусы округления впадин профиля
Рисунок 12 - Форма и геометрические параметры профиля трапецеидальной резьбы соединения НКМ насосно-компрессорных труб условным диаметром 114 мм и муфт к ним
Таблица 9 - Геометрические параметры профиля трапецеидальной резьбы резьбового соединения НКМ
В миллиметрах
|
Наименование параметра |
Условный диаметр труб |
|||
|
от 60 до 102 мм включ. |
114 мм |
|||
|
Номинальное значение |
Предельное отклонение |
Номинальное значение |
Предельное отклонение |
|
|
Шаг резьбы Р |
4,233 |
5,080 |
Таблица 2 |
|
|
Высота профиля h1 |
|
|
|
|
|
наружная резьба |
1,20 |
+0,05 |
1,60 |
±0,03 |
|
внутренняя резьба |
1,30 |
+0,05 |
1,60 |
±0,03 |
|
Угол профиля α* |
33° |
- |
13° |
- |
|
Угол наклона стороны профиля: |
|
|
|
|
|
α1 |
3° |
±1° |
3° |
±1° |
|
α2 |
30° |
±1° |
10° |
±1° |
|
Радиус скругления профиля: |
|
|
|
|
|
r * |
- |
- |
0,20 |
+0,05 |
|
r1 * |
0,20 |
-0,05 |
0,20 |
-0,05 |
|
r2 * |
0,25 |
-0,05 |
- |
- |
|
r3 * |
- |
- |
0,80 |
+0,05 |
|
r4 * |
- |
- |
0,80 |
-0,05 |
|
Ширина вершины профиля: |
|
|
|
|
|
b * |
1,659 |
- |
2,29 |
- |
|
b1 * |
1,600 |
- |
2,29 |
- |
|
Ширина впадины профиля: |
|
|
|
|
|
b2* |
1,800 |
+0,05 |
2,43 |
+0,05 |
|
b3 * |
1,794 |
+0,05 |
2,43 |
+0,05 |
|
Ширина фаски вершин профиля b4 |
0,30 |
+0,05 |
- |
- |
|
Угол уклона резьбы φ * |
2°23'09" |
- |
1°47'24" |
- |
|
Конусность резьбы К ** |
8,33 |
6,25 |
Таблица 2 |
|
|
(1:12) |
(1:16) |
|||
|
* Размер для справок. ** Конусность наружного и внутреннего диаметров резьбы трубы и муфты на длине 100 мм. Примечание - Параметры резьбы, приведенные для справок, и их предельные отклонения приведены для проектирования резьбообразующего инструмента и контролю не подвергаются. |
||||
Таблица 10 - Предельные отклонения шага и конусности резьбы резьбового соединения НКМ
В миллиметрах
|
Шаг резьбы Р |
Предельное отклонение |
|||
|
шага резьбы Р |
конусности резьбы К |
|||
|
на длине 25,4 мм * |
на всей длине резьбы с полным профилем |
наружной |
внутренней |
|
|
4,233 |
±0,04 |
±0,08 |
+0,15 |
-0,15 |
|
5,080 |
±0,05 |
±0,10 |
+0,15 |
-0,15 |
|
* Предельные отклонения шага резьбы на длине 25,4 мм допускаются на расстоянии между любыми двумя витками резьбы с полным профилем, не превышающим 25,4 мм. На расстоянии между любыми витками резьбы, превышающем 25,4 мм, допускается увеличение предельных отклонений шага резьбы пропорционально увеличению длины, но не более предельных отклонений, указанных для всей длины резьбы с полным профилем. |
||||
6.2.1 Общий вид резьбовых соединений НКТ и НКТВ показан на рисунках 13 и 14.

D - наружный диаметр трубы; DM - наружный диаметр муфты; d - внутренний диаметр трубы; LM - длина муфты; t - толщина стенки трубы
Рисунок 13 - Общий вид резьбового соединения НКТ

D - наружный диаметр трубы; DВ - наружный диаметр высаженного конца трубы; DM - наружный диаметр муфты; d - внутренний диаметр трубы; LM - длина муфты; t - толщина стенки трубы
Рисунок 14 - Общий вид резьбового соединения НКТВ
6.2.2 Основные геометрические параметры и предельные отклонения параметров резьбового соединения НКТ должны соответствовать указанным на рисунках 15 и 16 и в таблицах 11 и 13, резьбового соединения НКТВ - на рисунках 15 и 16 и в таблицах 12 и 14.

_______________
* Размер для справок.
** Размер не регламентируется.
D - наружный диаметр трубы; DВ - наружный диаметр высаженного конца трубы с соединением НКТВ; dср - средний диаметр резьбы в основной плоскости; d1 - наружный диаметр резьбы в плоскости торца трубы; d2 - внутренний диаметр резьбы в плоскости торца труб; L - общая длина резьбы трубы (от торца трубы до конца сбега резьбы); l - длина резьбы с полным профилем (от торца трубы до основной плоскости); l1 - длина резьбы с неполным профилем; l2 - длина сбега резьбы
Рисунок 15 - Основные геометрические параметры резьбовых соединений НКТ или НКТВ трубы

________________
* Размер для справок.
** Размер не регламентируется.
В - ширина торцовой плоскости муфты; d0 - диаметр цилиндрической расточки муфты; d3 - внутренний диаметр резьбы муфты в плоскости торца трубы; LM - длина муфты; l0 - длина цилиндрической расточки муфты
Примечания
1 Вместо цилиндрической расточки у торца муфты допускается выполнение конической расточки с теми же длиной и диаметром, образующая которой параллельна образующей конуса резьбы.
2 Для выхода резьбообразующего инструмента на середине муфты может быть выполнена проточка на глубину, превышающую высоту профиля не более чем на 0,50 мм. Проточка не должна иметь острых кромок. При отсутствии проточки допускается перерез встречных ниток в середине муфты, на расстоянии не более (13 - Р) мм от середины муфты в обе стороны, где Р - шаг резьбы, округленный до целого значения.
Рисунок 16 - Основные геометрические параметры резьбовых соединений НКТ и НКТВ муфты
Таблица 11 - Основные геометрические параметры резьбового соединения НКТ трубы
В миллиметрах
|
Условный диаметр трубы |
Наружный диаметр трубы D* |
Шаг резьбы Р |
Средний диаметр резьбы в основной плоскости dср * |
Наружный диаметр резьбы в плоскости торца трубы d1* |
Внутренний диаметр резьбы в плоскости торца трубы d2* |
Общая длина резьбы L |
Длина резьбы с полным профилем l* |
Длина сбега резьбы l2 не более |
|
|
Номинальное значение |
Предельное отклонение |
||||||||
|
33 |
33,40 |
2,540 |
32,065 |
32,382 |
29,568 |
29,0 |
±2,5 |
16,3 |
8 |
|
42 |
42,18 |
40,828 |
40,948 |
38,124 |
32,0 |
19,3 |
|||
|
48 |
48,26 |
46,924 |
46,866 |
44,042 |
35,0 |
22,3 |
|||
|
60 |
60,32 |
58,989 |
58,494 |
55,670 |
42,0 |
29,3 |
|||
|
73 |
73,02 |
71,689 |
70,506 |
67,682 |
53,0 |
40,3 |
|||
|
89 |
88,90 |
87,564 |
85,944 |
83,120 |
60,0 |
47,3 |
|||
|
102 |
101,60 |
3,175 |
99,866 |
98,519 |
94,899 |
62,0 |
±3,2 |
49,3 |
10 |
|
114 |
114,30 |
112,566 |
111,031 |
107,411 |
65,0 |
52,03 |
|||
|
* Размер для справок. |
|||||||||
Таблица 12 - Основные геометрические параметры резьбового соединения НКТВ трубы
В миллиметрах
|
Условный диаметр трубы |
Наружный диаметр трубы D* |
Наружный диаметр высаженной части DВ* |
Шаг резьбы Р |
Средний диаметр резьбы в основной плоскости dср * |
Наружный диаметр резьбы в плоскости торца трубы d1 * |
Внутренний диаметр резьбы в плоскости торца трубы d2* |
Общая длина резьбы L |
Длина резьбы с полным профилем l * |
Длина сбега резьбы l2 не более |
|
|
Номинальное значение |
Предельное отклонение |
|||||||||
|
27 |
26,67 |
33,40 |
2,540 |
32,065 |
32,383 |
29,568 |
29,0 |
±2,5 |
16,3 |
8 |
|
33 |
33,40 |
37,30 |
35,970 |
36,100 |
33,276 |
32,0 |
19,3 |
|||
|
42 |
42,16 |
46,00 |
44,701 |
44,634 |
41,819 |
35,0 |
22,3 |
|||
|
48 |
46,26 |
53,20 |
51,845 |
51,662 |
48,833 |
37,0 |
24,3 |
|||
|
60 |
60,32 |
65,90 |
3,175 |
64,148 |
63,551 |
59,931 |
50,0 |
±3,2 |
37,3 |
10 |
|
73 |
73,90 |
78,60 |
76,848 |
76,001 |
72,381 |
54,0 |
41,3 |
|||
|
89 |
88,90 |
95,20 |
93,516 |
92,294 |
88,674 |
60,0 |
47,3 |
|||
|
102 |
101,60 |
108,00 |
106,216 |
104,744 |
101,124 |
64,0 |
51,3 |
|||
|
114 |
114,30 |
120,60 |
118,916 |
117,256 |
113,636 |
67,0 |
54,3 |
|||
|
* Размер для справок. |
||||||||||
Таблица 13 - Основные геометрические параметры резьбового соединения НКТ муфты
В миллиметрах
|
Условный диаметр трубы |
Наружный диаметр трубы D* |
Шаг резьбы Р |
Средний диаметр резьбы в основной плоскости dср * |
Диаметр цилиндрической расточки муфты d0 +0,8 -0,0 |
Внутренний диаметр резьбы муфты в плоскости торца муфты d3 * |
Длина цилиндрической расточки муфты l0 +1,5 -0,5 |
Ширина торцовой плоскости муфты В, не менее |
Натяг при свинчивании трубы с муфтой вручную Ah ±P** |
|
33 |
33,40 |
2,540 |
32,065 |
35,0 |
31,210 |
8,0 |
2,0 |
5,0 ±2,5 |
|
42 |
42,16 |
40,828 |
43,8 |
39,973 |
2,5 |
|||
|
48 |
48,26 |
46,924 |
49,9 |
46,069 |
1,5 |
|||
|
60 |
60,32 |
58,989 |
61,9 |
58,134 |
4,0 |
|||
|
73 |
73,90 |
71,689 |
74,6 |
70,834 |
5,5 |
|||
|
89 |
88,90 |
87,564 |
90,5 |
86,709 |
6,5 |
|||
|
102 |
101,60 |
3,175 |
99,866 |
103,2 |
98,519 |
9,5 |
6,5 |
6,5 ±3,2 |
|
114 |
114,30 |
112,566 |
115,9 |
111,219 |
6,0 |
|||
|
* Размер для справок. ** Значение шага резьбы, округленное до первого десятичного знака. |
||||||||
Таблица 14 - Основные геометрические параметры резьбового соединения НКТВ муфты
В миллиметрах
|
Условный диаметр трубы |
Наружный диаметр трубы D* |
Шаг резьбы Р |
Средний диаметр резьбы в основной плоскости dср * |
Диаметр цилиндрической расточки муфты d0 +0,8 |
Внутренний диаметр резьбы в плоскости торца муфты d3* |
Длина расточки муфты l0 +1,5 -0,5 |
Ширина торцовой плоскости муфты В, не менее |
Натяг при свинчивании трубы с муфтой вручную Ah ±Р ** |
|
27 |
26,67 |
2,540 |
32,065 |
35,0 |
31,210 |
8,0 |
2,0 |
5,0 ±2,5 |
|
33 |
33,40 |
35,970 |
38,9 |
35,115 |
3,0 |
|||
|
42 |
42,16 |
44,701 |
47,6 |
43,846 |
2,5 |
|||
|
48 |
48,26 |
51,845 |
54,8 |
50,990 |
2,5 |
|||
|
60 |
60,32 |
3,175 |
64,148 |
67,5 |
62,801 |
9,5 |
3,5 |
6,5 ±3,2 |
|
73 |
73,90 |
76,848 |
80,2 |
75,501 |
4,5 |
|||
|
89 |
88,90 |
93,516 |
96,9 |
92,169 |
6,5 |
|||
|
102 |
101,60 |
106,216 |
109,6 |
104,869 |
6,5 |
|||
|
114 |
114,30 |
118,916 |
122,3 |
117,569 |
7,5 |
|||
|
* Размер для справок. ** Значение шага резьбы, округленное до первого десятичного знака. |
||||||||
6.2.3 На расстоянии от торца трубы менее (l - 7,5) мм для резьбы с шагом 2,540 мм и менее (l - 10,0) мм для резьбы с шагом 3,175 мм не допускаются витки резьбы с черновинами.
6.2.4 Минимальная толщина стенки трубы под резьбой в плоскости торца трубы должна быть не менее 1,0 мм для труб условным диаметром до 48 мм включительно и не менее 2,0 мм для труб остальных диаметров.
Толщину стенки трубы под резьбой в плоскости торца трубы вычисляют по следующей формуле
|
tr = 0,875t - 0,5[(D + Δ) - d2], |
(3) |
где tr - толщина стенки трубы под резьбой в плоскости торца трубы, мм, округленная до 0,1 мм;
r - номинальная толщина стенки, мм;
D - номинальный наружный диаметр трубы, мм;
d2 - внутренний диаметр резьбы в плоскости торца трубы, мм;
Δ - величина плюсового предельного отклонения наружного диаметра трубы, равная 0,8 мм для труб условным диаметром до 102 мм включительно и 0,9 мм для труб условным диаметром 114 мм.
Если расчетное значение tr менее или равно 1,0 мм для труб условным диаметром до 48 мм включительно и менее или равно 2,0 мм для труб остальных диаметров, то минимальная толщина стенки трубы под резьбой в плоскости торца трубы должна быть не менее 1,0 или 2,0 мм соответственно,
Если расчетное значение tr более 1,0 мм для труб условным диаметром до 48 мм включительно или более 2,0 мм для труб остальных диаметров, то минимальная толщина стенки трубы под резьбой в плоскости торца трубы должна быть не менее расчетного значения.
6.2.5 Оси резьбы обоих концов муфты должны совпадать. Предельное отклонение от соосности в плоскости торца муфты не должно превышать 0,75 мм, предельное отклонение от соосности на расстоянии 1 м от середины муфты не должно превышать 3,00 мм. Допускается увеличение предельного отклонения от соосности в плоскости торца муфты до 1,00 мм при одновременном уменьшении предельного отклонения от соосности на расстоянии 1 м от середины муфты до 2,00 мм.
6.2.6 Овальность резьбы муфты (разность диаметров резьбы муфты в одном сечении) не должна превышать:
- 0,100 мм - для муфт к трубам условным диаметром от 27 до 60 мм;
- 0,130 мм - для муфт к трубам условным диаметром от 73 до 89 мм;
- 0,150 мм - для муфт к трубам условным диаметром от 102 до 114 мм.
6.2.7 При свинчивании труб с муфтами вручную натяг Ah (расстояние от торца муфты до конца сбега резьбы на трубе) (рисунок 17) должен соответствовать указанному в таблицах 12 и 14.
При механическом свинчивании труб с муфтами торец муфты должен совпадать с концом сбега резьбы на трубе (см. рисунок 17).

Ah - натяг при свинчивании труб с муфтами вручную
Рисунок 17 - Схема свинчивания муфт и труб с резьбовыми соединениями НКТ или НКТВ
6.3.1 Общий вид резьбового соединения НКМ с узлом уплотнения «металл-металл» показан на рисунке 18.

D - наружный диаметр трубы; DM - наружный диаметр муфты; d - внутренний диаметр трубы; dM - внутренний диаметр муфты; lM - длина муфты; t - толщина стенки трубы
Рисунок 18 - Общий вид резьбового соединения НКМ
6.3.2 Основные геометрические параметры и предельные отклонения параметров резьбового соединения НКМ должны соответствовать указанным на рисунках 19 и 20 и в таблицах 15 и 16.


__________________
* Размер для справок.
** Размер не регламентируется.
dM - внутренний диаметр резьбы в основной плоскости; d1 - наружный диаметр резьбы в плоскости торца трубы; d2 - диаметр уплотнительной конической проточки в плоскости торца; h1 - глубина уплотнительной проточки трубы; L - расстояние от торца до конца сбега резьбы; l - расстояние от торца трубы до основной плоскости; l1 - расстояние от торца трубы до начала резьбы; l2 - длина резьбы с полным профилем; l3 - длина резьбы с неполным профилем; l4 - длина сбега резьбы; l5 - длина уплотнительной конической проточки; 2tg φ - конусность
Рисунок 19 - Основные геометрические параметры резьбового соединения НКМ трубы

_______________
* Размер для справок.
** Размер не регламентируется.
В - ширина торцовой плоскости муфты; dBH - внутренний диаметр резьбы в основной плоскости; dM - внутренний диаметр; d3 - внутренний диаметр резьбы в плоскости торца; d0 - диаметр фаски в плоскости торца; d4 - диаметр уплотнительной конической расточки в расчетной плоскости; L1 - расстояние от торца до упорного уступа; l6 - расстояние от торца муфты до расчет ной плоскости; 17 - длина резьбового конуса муфты (от торца муфты до конца сбега резьбы); l8 - длина резьбы с полны профилем; l9 - длина сбега резьбы; l10 - расстояние от торца муфты до основной плоскости; 2tg φ - конусность резьбы r - радиус скругления
Примечание - Конец сбега резьбы муфты не должен выходить за пределы фаски, расположенной между резьбой и уплотнительной конической расточкой.
Рисунок 20 - Основные геометрические параметры резьбового соединения НКМ муфты
Таблица 15 - Основные геометрические параметры резьбового соединения НКМ трубы
В миллиметрах
|
Условный диаметр |
Наружный диаметр трубы D* |
Конусность 2tg φ |
Внутренний диаметр резьбы в основной плоскости dВН * |
Наружный диаметр резьбы в плоскости торца трубы d1 * |
Диаметр уплотнительной конической проточки в плоскости торца трубы d2* |
Расстояние от торца до конца сбега резьбы L - 1 |
Расстояние от торца трубы до основной плоскости l* |
Расстояние от торца до начала резьбы l1 - 1 |
Длина сбега резьбы 14, не более |
Длина уплотнительной конической проточки l5 -1 |
Глубина проточки hr + 0,25 |
|
60 |
60,32 |
1:12 |
57,925 |
56,575 |
54,175 |
65 |
45 |
20 |
10 |
10 |
1,60 |
|
73 |
73,02 |
70,625 |
69,275 |
66,875 |
65 |
45 |
|||||
|
89 |
88,90 |
86,500 |
84,317 |
81,917 |
75 |
55 |
|||||
|
102 |
101,60 |
99,200 |
97,017 |
94,617 |
75 |
55 |
|||||
|
114 |
114,30 |
1:16 |
111,100 |
110,175 |
106,375 |
98 |
66 |
29 |
13 |
14 |
2,00 |
|
* Размер для справок. |
|||||||||||
Таблица 16 - Основные геометрические параметры резьбового соединения НКМ муфты
В миллиметрах
|
Условный диаметр трубы |
Наружный диаметр трубы D* |
Конусность 2tg φ |
Внутренний диаметр резьбы в основной плоскости dВН * |
Внутренний диаметр резьбы в плоскости торца d3* |
Диаметр уплотнительной конической расточки в расчетной плоскости d4* |
Диаметр фаски в плоскости торца d0 +1,000 |
Расстояние от торца до упорного уступа L1 + 1,0 |
Расстояние от торца до расчетной плоскости l6 |
Длина резьбового конуса l7 -1 |
Длина резьбы с полным профилем l8, не менее |
Расстояние от торца до основной плоскости l10 |
Ширина торцовой плоскости B, не менее |
Натяг при свинчивании трубы с муфтой вручную Ah ±P** |
|
60 |
60,32 |
1:12 |
57,925 |
59,225 |
54,475 |
62,500 |
63,0 |
57 |
53 |
43 |
15,6 |
3,5 |
4,4 ±4,2 |
|
73 |
73,02 |
70,625 |
71,875 |
67,125 |
75,000 |
63,0 |
57 |
53 |
43 |
15,0 |
5,0 |
5,0 ±4,2 |
|
|
89 |
88,90 |
86,500 |
87,700 |
82,117 |
91,000 |
73,0 |
67 |
63 |
53 |
14,4 |
6,5 |
5,6 ±4,2 |
|
|
102 |
101,60 |
99,200 |
100,350 |
94,767 |
104,000 |
73,0 |
67 |
63 |
53 |
13,8 |
6,0 |
6,2 ±4,2 |
|
|
114 |
114,30 |
1:16 |
111,100 |
112,475 |
106,425 |
116,500 |
96,0 |
90 |
82 |
72 |
24,0 |
5,5 |
8,0 ±5,1 |
|
* Размер для справок. ** Значение шага резьбы, округленное до первого десятичного знака. |
|||||||||||||
6.3.3 На расстоянии от торца трубы не менее (l - 8,5) мм для резьбы с шагом 4,233 мм и не менее (l - 10,0) мм для резьбы с шагом 5,080 мм не допускаются витки резьбы с черновинами.
6.3.4 Минимальная толщина стенки трубы под резьбой в плоскости торца трубы должна быть не менее 1,8 мм, кроме труб условным диаметром 73 и 60 мм толщиной стенки 5,5 мм, для которых толщина стенки трубы под резьбой в плоскости торца трубы должна быть не менее 1,5 и 1,2 мм соответственно.
Толщину стенки трубы под резьбой в плоскости торца трубы вычисляют по следующей формуле
|
tr = 0,875t - 0,5[(D + Δ) - d2], |
(4) |
где tr - толщина стенки трубы под резьбой в плоскости торца трубы, мм, округленная до 0,1 мм;
t - номинальная толщина стенки, мм;
D - номинальный наружный диаметр трубы, мм;
Δ - величина плюсового предельного отклонения наружного диаметра трубы, равная 0,8 мм для труб условным диаметром до 102 мм включительно и 0,9 мм для труб условным диаметром 114 мм;
d2 - диаметр уплотнительной конической проточки в плоскости торца трубы, мм.
Если расчетное значение tr менее или равно 1,8 мм, а для труб условными диаметрами 73 и 60 мм с толщиной стенки 5,5 мм соответственно менее или равно 1,5 и 1,2 мм, то минимальная толщина стенки трубы под резьбой в плоскости торца трубы должна быть не менее 1,8, 1,5 и 1,2 мм, соответственно.
Если расчетное значение tr более 1,8 мм, а для труб условными диаметрами 73 и 60 мм толщиной стенки 5,5 мм соответственно более 1,5 и 1,2 мм, то минимальная толщина стенки трубы под резьбой в плоскости торца трубы должна быть не менее расчетного значения.
6.3.5 Предельные отклонения конусности на всей длине уплотнительной конической проточки трубы не должны превышать ±0,03 мм, уплотнительной конической расточки муфты не должны превышать +0,06 мм.
6.3.6 Упорные торцы трубы и упорные уступы муфты должны быть плоскими и перпендикулярными к оси резьбы.
Предельное отклонение упорных элементов от перпендикулярности не должно превышать 0,06 мм. Предельное отклонение упорных элементов от плоскостности не должно превышать 0,06 мм.
6.3.7 Овальность резьбы муфты (разность диаметров резьбы муфты в одном сечении) не должна превышать:
- 0,100 мм - для муфт к трубам условным диаметром от 27 до 60 мм включительно;
- 0,130 мм - для муфт к трубам условным диаметром от 73 до 89 мм включительно;
- 0,150 мм - для муфт к трубам условным диаметром от 102 до 114 мм включительно.
6.3.8 Оси резьбы обоих концов муфты должны совпадать. Предельное отклонение от соосности резьбы в плоскости торца муфты не должно превышать 0,75 мм, предельное отклонение от соосности резьбы на расстоянии 1 м от середины муфты не должно превышать 3,00 мм.
6.3.9 Оси резьбы и уплотнительных элементов труб и муфт должны совпадать. Предельное отклонение от соосности в плоскости торца трубы или муфты не должно превышать 0,04 мм.
6.3.10 При свинчивании труб с муфтами вручную натяг Ah (расстояние от торца муфты до конца сбега резьбы на трубе) (рисунок 21) должен быть равен указанному в таблице 16.

Ah - натяг муфт с трубами при свинчивании вручную
Рисунок 21 - Схема свинчивания муфт и труб с резьбовым соединением НКМ
При механическом свинчивании трубы с муфтой должно быть обеспечено сопряжение упорного торца трубы и упорного уступа муфты по всему периметру стыка упорных поверхностей (рисунок 21).
7.1.1 Контроль резьбовых соединений должен быть проведен изготовителем изделий с резьбовыми соединениями или предприятием, нарезающим резьбу.
Допускается контроль резьбовых соединений представителем заказчика.
7.1.2 Контроль резьбового соединения включает контроль качества поверхности, полноты нанесения покрытия, геометрических параметров резьбы и элементов резьбовых соединений, для которых установлены предельные отклонения, а также контроль натяга и сопряжения при свинчивании резьбовых соединений.
Контролю качества поверхности резьбы и элементов резьбовых соединений подвергают каждую трубу и каждую муфту партии.
Контролю шероховатости поверхности резьбы, упорных и уплотнительных элементов труб и муфт подвергают 1% изделий.
Контролю полноты нанесения покрытия подвергают каждую муфту.
Остальным видам контроля подвергают:
а) не менее 1% муфт - при контроле соосности резьбы муфты;
б) не менее 1% труб и муфт - при контроле соосности резьбы и уплотнительных элементов;
в) каждое резьбовое соединение - при контроле натяга трубы и муфты при свинчивании вручную (только при выполнении заказа на трубы с муфтами, свинченными вручную);
г) каждое резьбовое соединение - при контроле натяга трубы и муфты при механическом свинчивании;
д) каждое резьбовое соединение - при контроле сопряжения упорных поверхностей трубы и муфты при механическом свинчивании;
е) каждую трубу и муфту - при контроле натяга калибрами.
Контроль калибрами резьбы и уплотнительной конической расточки муфты допускается проводить до нанесения покрытия.
Контроль остальных геометрических параметров резьбы и элементов резьбовых соединений, для которых установлены предельные отклонения, проводят в объемах и с периодичностью, установленными в технологической документации изготовителя.
7.2.1 Контроль качества поверхности резьбы, упорных и уплотнительных элементов резьбовых соединений труб и муфт проводят визуально без применения увеличительных приспособлений.
7.2.2 Шероховатость резьбы, упорных и уплотнительных элементов труб и муфт проверяют методом сравнения с применением образцов шероховатости поверхности по ГОСТ 9378.
7.2.3 Полноту нанесения цинкового или фосфатного покрытия на поверхность резьбы и уплотнительных конических расточек муфты контролируют визуально без применения увеличительных приспособлений.
7.2.4 Контроль геометрических параметров проводят с использованием универсальных или специальных средств измерений, обеспечивающих необходимую точность измерений, в соответствии с нормативными и техническими документами, утвержденными в установленном порядке.
При проведении контроля соблюдают следующие условия:
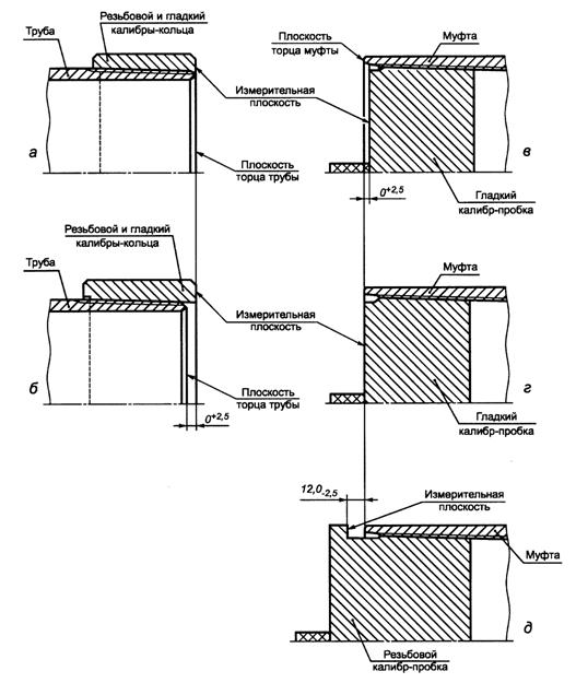
- перед контролем проверяемую поверхность тщательно очищают;
- контроль параметров резьбы и уплотнительной конической расточки муфты проводят перед нанесением или после удаления покрытия химическим способом;
- контроль проводят до механического свинчивания резьбового соединения, после развинчивания резьбового соединения проводить контроль не допускается;
- перед контролем средства измерений и изделия выдерживают при температуре, при которой проводят контроль, в течение времени, достаточного для выравнивания температуры.
7.2.5 Геометрические параметры измеряют в следующих положениях:
а) шаг резьбы - параллельно оси резьбы, приблизительно вдоль средней линии резьбы;
б) высоту профиля - в плоскости перпендикулярной к оси резьбы;
в) конусность резьбы - при измерении диаметров резьбы в плоскостях, перпендикулярных к оси резьбы;
г) углы наклона сторон профиля - в плоскости, перпендикулярной к оси резьбы;
д) длину резьбы и элементов резьбового соединения - параллельно оси резьбы;
е) толщину стенки под резьбой - в плоскости торца трубы во впадине первого витка резьбы со стороны торца трубы или по вершине первого витка с полным профилем;
ж) ширину торцовой плоскости обычной муфты - при измерении толщины стенки муфты в плоскости торца;
и) соосность резьбы концов муфты - в плоскости торца муфты и в плоскости конца стержня;
к) соосность резьбы и уплотнительных элементов - в плоскости торца трубы и муфты;
л) натяг - параллельно оси трубы и муфты;
м) сопряжение упорных поверхностей - по всему периметру стыка поверхностей.
7.2.6 Шаг резьбы измеряют на длине 25,4 мм и всей длине резьбы с полным профилем (суммарный шаг). При измерениях шага на длине, отличающейся от 25,4 мм, измеренные значения должны быть пересчитаны на длину 25,4 мм.
При контроле шага резьбы на длине 25,4 мм, высоты профиля и конусности наружной и внутренней резьбы измерения проводят на первом и последнем витках резьбы с полным профилем и продолжают от этих витков через интервал 25,4 мм для изделий с расстоянием между первым и последним полными витками, превышающим 25,4 мм; через интервал 12,7 мм для изделий с расстоянием между первым и последним полными витками 25,4 мм и менее. Конусность трапецеидальной резьбы контролируют на участке резьбы с неполным профилем.
При контроле шага резьбы на общей длине наружной и внутренней резьбы (суммарного шага) измерения проводят на участке между первым и последним полными витками длиной, равной наибольшему кратному 12,7 мм при четном числе витков на длине 25,4 мм или наибольшему кратному 25,4 мм при нечетном числе витков на длине 25,4 мм.
Измерительные наконечники приборов для измерения конусности и шага закругленной треугольной резьбы должны иметь сферическую форму и контактировать с боковыми сторонами резьбы приблизительно по средней линии резьбы (по среднему конусу). Диаметры наконечников должны соответствовать указанным в таблице 17.
Таблица 17
В миллиметрах
|
Измеряемый параметр закругленной треугольной резьбы |
Шаг резьбы |
Число витков на 25,4 мм |
Диаметр наконечника |
|
|
Номинальное значение |
Предельное отклонение |
|||
|
Шаг резьбы и конусность |
3,175 |
8 |
1,829 |
±0,05 |
|
2,540 |
10 |
1,448 |
||
Измерительные наконечники приборов для измерения высоты профиля закругленной треугольной резьбы должны иметь коническую форму (с углом конуса не более 50°) и не должны контактировать с боковыми сторонами профиля. Диаметры наконечников должны соответствовать указанным в таблице 17.
Измерительные наконечники приборов для измерения шага трапецеидальной резьбы должны иметь сферическую форму и одновременно контактировать с впадиной резьбы и боковой стороной профиля, имеющей угол наклона 3°. Диаметры наконечников должны соответствовать указанным в таблице 18.
Таблица 18
В миллиметрах
|
Измеряемый параметр трапецеидальной резьбы |
Диаметр сферического наконечника |
|
|
Номинальное значение |
Предельное отклонение |
|
|
Конусность |
2,286 |
±0,05 |
|
Шаг |
1,575 |
|
Измерительные наконечники приборов для измерения конусности трапецеидальной резьбы должны иметь сферическую форму и контактировать с впадинами резьбы. Диаметр наконечников должен соответствовать указанному в таблице 18.
Измерительные наконечники приборов для измерения высоты профиля трапецеидальной резьбы должны иметь коническую (с углом конуса не более 50°) или сферическую форму и не должны контактировать с боковыми сторонами профиля. Диаметр наконечников не должен превышать 2,337 мм.
7.2.7 Конусность уплотнительных элементов трубы и муфты контролируют при помощи специальных средств измерений или калибрами в соответствии с 8.2.
7.2.8 Углы наклона сторон профиля контролируют специальными средствами измерений непосредственно по профилю резьбы или слепку резьбы. Слепок должен быть сделан из стабильного материала, не обладающего усадкой.
7.2.9 Соосность резьбы концов муфты у торца муфты и на расстоянии 1 м от середины муфты проверяют с использованием специального приспособления и двух механически обработанных цилиндрических стержней длиной не менее 250 мм с резьбой.
Конец муфты свинчивают с одним из стержней, точно выверенным и центрированным в специальном приспособлении. В другой конец муфты ввинчивают другой стержень. Вращая муфту, определяют удвоенное отклонение соосности стержня у торца муфты и конца стержня. Отклонение от соосности у конца стержня пересчитывают в отклонение соосности на расстоянии 1 м от середины муфты с учетом длины стержня (расстояния от центра муфты до конца стержня).
7.2.10 Соосность резьбы и уплотнительных элементов труб и муфт обеспечивают технологией нарезания резьбы и выполнения уплотнительных элементов.
7.2.11 Сопряжение упорных поверхностей трубы и муфты при механическом свинчивании проверяют пластинчатым щупом толщиной 0,1 мм. Щуп не должен проходить между упорными поверхностями по всему периметру стыка.
7.2.12 Допускается применение других средств измерений и методов, обеспечивающих необходимую точность измерений.
7.2.13 Остальные геометрические параметры проверяют универсальными или специальными средствами измерений и методами, обеспечивающими необходимую точность измерений.
7.3.1 Общие положения
Контроль натяга резьбы трубы и муфты контролируют с использованием резьбовых калибров с полным или неполным профилем или гладких калибров.
Контроль натяга резьбы труб и муфт для резьбовых соединений ОТТМ и ОТТГ проводят гладкими и резьбовыми калибрами-кольцами и калибрами-пробками по ГОСТ 25575.
Контроль натяга резьбы труб и муфт для резьбовых соединений НКТ и НКТВ проводят резьбовыми калибрами-кольцами и калибрами-пробками по ГОСТ 10654.
Контроль натяга резьбы труб и муфт для резьбового соединения НКМ проводят гладкими и резьбовыми калибрами-кольцами и калибрами-пробками по ГОСТ 25576.
Контроль натяга уплотнительных конических поверхностей труб и муфт для резьбовых соединений ОТТГ и НКМ проводят гладкими калибрами-кольцами и калибрами-пробками по ГОСТ 25575 и ГОСТ 25576, соответственно.
При проведении контроля соблюдают следующие условия:
- перед контролем поверхность проверяемых изделий тщательно очищают;
- контроль натяга резьбы и уплотнительной конической расточки муфты проводят перед нанесением или после удаления покрытия химическим способом;
- контроль проводят до механического свинчивания резьбового соединения, после развинчивания резьбового соединения проводить контроль не допускается;
- перед контролем калибры и изделия выдерживают при температуре, при которой проводят контроль, в течение времени, достаточного для выравнивания температуры.
7.3.2 Контроль резьбового соединения ОТТМ
Контроль резьбового соединения ОТТМ калибрами осуществляют в соответствии со схемой, показанной на рисунке 22.
Натяг резьбы трубы, определяемый как расстояние между плоскостью торца трубы и измерительной плоскостью резьбового и гладкого калибров-колец, должен быть равен (0+2,5) мм (рисунок 22 а и б).
Натяг резьбы муфты, определяемый как расстояние между плоскостью торца муфты и измерительной плоскостью гладкого калибра-пробки, должен быть равен (0+2,5) мм (рисунок 22 в и г).
Натяг резьбы муфты, определяемый как расстояние между плоскостью торца муфты и измерительной плоскостью резьбового калибра-пробки, должен быть равен (12,0-2,5) мм (рисунок 22 д).

Рисунок 22 - Схема контроля калибрами резьбового соединения ОТТМ
7.3.3 Контроль резьбового соединения ОТТГ
Контроль резьбового соединения ОТТГ калибрами осуществляют в соответствии со схемой, показанной на рисунке 23.

l5 - расстояние от торца муфты до конца сбега резьбы
Рисунок 23 - Схема контроля калибрами резьбового соединения ОТТГ
Натяг резьбы трубы, определяемый как расстояние между плоскостью торца трубы и измерительной плоскостью резьбового или гладкого калибров-колец, должен быть равен (24,0-2,5) мм (рисунок 23 а).
Натяг уплотнительной конической проточки трубы, определяемый как расстояние между плоскостью торца трубы и измерительной плоскостью гладкого калибра-кольца, должен быть равен (0+1,6) мм (рисунок 23 б и в).
Натяг резьбы муфты, определяемый как расстояние между плоскостью торца муфты и измерительной плоскостью резьбового калибра-пробки, должен быть равен (8,0-2,5) мм (рисунок 23 г).
Натяг резьбы муфты, определяемый как расстояние между плоскостью торца муфты и измерительной плоскостью гладкого калибра-пробки, должен быть равен (6,5-2,5) мм (рисунок 23 д).
Натяг уплотнительной
конической расточки муфты, определяемый как расстояние между плоскостью торца
муфты и измерительной плоскостью резьбового калибра-пробки, должен быть равен
длине резьбового конуса муфты (
) мм, где l5 -
расстояние от торца муфты до конца сбега резьбы (таблица
6 и рисунок 23 е).
7.3.4 Контроль резьбовых соединений НКТ и НКТВ
Контроль калибрами резьбовых соединений НКТ и НКТВ осуществляют в соответствии со схемой, показанной на рисунке 24.

Ah - натяг трубы с муфтой при свинчивании вручную; Р - шаг резьбы
Рисунок 24 - Схема контроля калибрами резьбовых соединений НКТ и НКТВ
Натяг резьбы трубы, определяемый как расстояние между плоскостью торца трубы и измерительной плоскостью резьбового калибра-кольца, должен быть равен (2,5 ±Р) мм, где Р - значение шага резьбы, округленное до первого десятичного знака (рисунок 24 а и б).
Натяг резьбы муфты, определяемый как расстояние между плоскостью торца муфты и измерительной плоскостью резьбового калибра-пробки, должен быть равен (Аh ±Р) мм, где Аh - натяг трубы с муфтой при свинчивании вручную (таблицы 12 и 14), Р - значение шага резьбы, округленное до первого десятичного знака (рисунок 24 в и г).
7.3.5 Контроль резьбового соединения НКМ
Контроль калибрами резьбового соединения ЫКМ осуществляют в соответствии со схемой, показанной на рисунке 25.

А1 - натяг резьбы трубы по резьбовому или гладкому калибрам-кольцам; А2 - натяг уплотнительной конической проточки трубы по гладкому калибру-кольцу; А3 - натяг резьбы муфты по резьбовому калибру-пробке; А4 - натяг резьбы муфты по гладкому калибру-пробке; А5 - натяг уплотнительной конической расточки муфты по гладкому калибру-пробке
Рисунок 25 - Схема контроля калибрами резьбового соединения НКМ
Натяг резьбы трубы А1, определяемый как расстояние между плоскостью торца трубы и измерительной плоскостью калибра (рисунок 25 а), должен быть равен:
а) (20-1,2) мм - при контроле резьбовым калибром-кольцом труб условным диаметром от 60 до 102 мм включительно;
б) (20-2,4) мм - при контроле гладким калибром-кольцом труб условным диаметром от 60 до 102 мм включительно;
в) (20-2,5) мм - при контроле гладким и резьбовым калибрами-кольцами труб условным диаметром 114 мм.
Натяг уплотнительной конической проточки трубы А2, определяемый как расстояние между плоскостью торца трубы и измерительной плоскостью гладкого калибра-кольца (рисунок 25 б и в), должен быть равен:
а) (0+1,2) - при контроле труб условным диаметром от 60 до 102 мм включительно;
б) (0-1,6) - при контроле труб условным диаметром 114 мм.
Натяг резьбы муфты A3, определяемый как расстояние между плоскостью торца муфты и измерительной плоскостью резьбового калибра-пробки (рисунок 25 г), должен быть равен:
а) (5,0-1,2) мм - при контроле муфт к трубам условным диаметром от 60 до 102 мм включительно;
б) (6,0-2,5) мм - при контроле муфт к трубам условным диаметром 114 мм.
Натяг резьбы муфты А4, определяемый как расстояние между плоскостью торца муфты и измерительной плоскостью гладкого калибра-пробки (рисунок 25 д), должен быть равен:
в) (0-1,2) мм - при контроле муфт к трубам условным диаметром от 60 до 102 мм включительно;
г) (8,5-2,5) мм - при контроле муфт к трубам условным диаметром 114 мм.
Натяг уплотнительной конической расточки муфты А5, определяемый как расстояние между плоскостью торца муфты и измерительной плоскостью гладкого калибра-пробки (рисунок 25 е), должен быть равен:
а) (45-1,2) мм - при контроле муфт к трубам условным диаметром 60 и 73 мм;
б) (55-1,2) мм - при контроле муфт к трубам условным диаметром 89 и 102 мм;
в) (
) мм - при контроле муфт к трубам условным диаметром 114 мм.
Ключевые слова: насосно-компрессорные трубы, обсадные трубы, муфты, соединения, треугольная резьба, трапецеидальная резьба, высокогерметичное соединение, узел уплотнения, требования, приемка, контроль