ФЕДЕРАЛЬНОЕ ДОРОЖНОЕ АГЕНТСТВО
МИНИСТЕРСТВА ТРАНСПОРТА РОССИЙСКОЙ ФЕДЕРАЦИИ
Федеральное государственное унитарное предприятие
«Информационный центр по автомобильным дорогам»
Автомобильные дороги и мосты
ОЧИСТНЫЕ СООРУЖЕНИЯ НА АВТОМОБИЛЬНЫХ ДОРОГАХ
Обзорная информация
Выпуск 3-2004
СОДЕРЖАНИЕ
В данном выпуске обзорной информации отражен опыт проектирования и строительства систем очистки поверхностных вод с автомобильных дорог на территории России и зарубежных стран, рассмотрены типы очистных сооружений, получивших применение в отечественном и зарубежном дорожно-мостовом строительстве.
Обзорная информация является первой и наиболее полной работой по данной теме. В ее основу положены результаты анализа, систематизации и обобщения основных схем организации очистки сточных вод с поверхности автомобильных дорог и мостов, приведены результаты исследований, выполненных в связи с необходимостью изучения материалов научных разработок, проведенных в последние годы, а также требований современной нормативной базы на проектирование автомобильных дорог и экологическое обеспечение проектов.
Обзорная информация содержит практические рекомендации и восполняет пробел знаний, которые необходимы инженерно-техническим работникам дорожно-мостового хозяйства.
Обзор подготовила канд. техн. наук А.А. Ильина (ОАО «Мосавтодор и партнеры»).
Негативное воздействие на окружающую среду является неизбежным следствием существования и деятельности человека, при этом уровень антропогенной нагрузки зачастую превышает природные возможности биологического самоочищения экологических систем.
В процессе строительства и эксплуатации автомобильных дорог происходит нарушение экологического баланса и постоянное увеличение техногенной нагрузки на окружающую среду.
В России основное загрязняющее воздействие на окружающую среду оказывает транспортный комплекс, при этом максимальное влияние осуществляется транспортными средствами. Так, ежегодный экологический ущерб от транспортного комплекса в России составляет около 1,5% валового национального продукта, а доля экологического ущерба от автомобилей - 63%. Выбросы транспортных средств представляют собой очень высокую долю всех выбросов: более 80% всех свинцовых выбросов, более 40% всех выбросов оксидов азота и более 20% всех летучих органических составляющих [1].
Однако проводимые в России исследования воздействия транспортных средств на экологию чаще всего сводятся к оценке загрязнения воздушной среды и шумового уровня, при этом незначительное внимание уделяется загрязнению прилегающей к автомобильной дороге и мостовому переходу территории, водоемов и грунтовых вод дорожными поверхностными стоками [2].
В крупных городах и на внегородских скоростных автомобильных дорогах поверхностный сток представляет собой значительные объемы загрязненных вод, которые чаще всего без очистки, со значениями предельно допустимых концентраций загрязняющих веществ, превышающих норму в несколько раз, попадают в водные объекты и на прилегающую территорию, что противоречит требованиям природоохраны.
Одним из способов снижения негативного воздействия загрязненных поверхностных стоков с автомобильных дорог на прилегающую территорию и водные объекты является своевременный организованный сбор поверхностных сточных вод в систему водоотвода с их последующей очисткой. Однако имеющиеся в нашей стране системы поверхностного водоотвода зачастую неработоспособны и не соответствуют требованиям нормативных документов, а конструкции для очистки сточных вод установлены в последние годы лишь на отдельных скоростных автомобильных дорогах [3].
Все это связано с тем, что в России до сих пор серьезно не рассматривается опасность воздействия автомобилей и техногенных дорожных сооружений на водные объекты и прилегающую территорию с научной точки зрения. Кроме того, подробная систематизированная информация о применявшихся и применяющихся на автомобильных дорогах очистных сооружениях доступна не всем проектным организациям России.
На основании вышеизложенного, а также в связи с актуальностью проблемы снижения отрицательного воздействия транспортных средств и техногенных сооружений на окружающую среду, целесообразным явилось проведение дополнительных исследований и обобщений имеющегося в России и за рубежом опыта проектирования и строительства очистных сооружений на автомобильные дорогах.
Неотъемлемой частью совершенствования различных способов очистки поверхностных стоков с автомобильных дорог является их научное обоснование. С учетом этого требования, а также с точки зрения целесообразности их применения в различных геологических, гидрологических и климатических условиях строительства в обзорной информации представлены результаты исследований и систематизации мероприятий по очистке поверхностных сточных вод дорожно-мостовых сооружений в России и за рубежом.
Основной причиной высокого уровня отрицательного воздействия транспортных средств на окружающую среду в России является несогласованность в темпах роста протяженности и пропускной способности сети автомобильных дорог с ростом численности автомобильного парка. В 1999 г. около 50% общей протяженности федеральных автомобильных дорог нашей страны работали в режиме, превышающем оптимальный уровень загрузки, а 25% от общей протяженности - в режиме перегрузки. Чрезвычайно высокая загрузка транспортными средствами наблюдается на подходах к региональным центрам и крупным городам, при этом интенсивность движения на автомобильных дорогах, выходящие из г. Москвы, в мае 2002 г. составила 30 - 70 тыс. авт./сут. В результате этого прирост величины выбросов токсичных веществ на внегородских автомобильных дорогах составил около 10% за год.
До настоящего времени при разработке проектов дорожно-мостовых сооружений поверхностные стоки с автомобильных дорог и мостовых переходов не всегда рассматриваются как основной источник загрязнения прилегающей территории и водоемов. В ряде случаев при согласовании проектов автомобильных дорог и мостов требования, предъявляемые рыбнадзором, основываются только на приблизительной оценке рыбных запасов и расположении нерестилищ и не содержат данных о возможном экономическом ущербе, вызываемом загрязненными поверхностными стоками с техногенных поверхностей.
Увеличение площади водонепроницаемых поверхностей при строительстве автомобильных дорог и мостовых переходов вызывает значительные изменения в гидрологическом режиме и инфильтрационных характеристиках прилегающей территории, что приводит к возрастанию объемов поверхностного стока и степени его загрязненности.
Согласно результатам многочисленных отечественных и зарубежных исследований, даже после самой совершенной очистки сточных вод, включая биологическую, все растворенные неорганические вещества и до 10% органических загрязняющих веществ остаются в очищенной сточной воде и пригодной для потребления в качестве питьевой она становится только после многократного разбавления чистой природной водой. Эта ситуация усугубляется тем, что до сих пор количество и работоспособность имеющихся очистных сооружений не согласуются с ростом уровня потребления чистой воды и необходимостью снижения негативного воздействия на окружающую среду.
Влияние транспортных средств на водную среду приводит к снижению ее продуктивности как среды обитания, делает невозможным ее использование человеком, кроме того, она становится непригодной для бытовых, сельскохозяйственных и промышленных процессов. Только в 2000 г. на территории России объем сброса загрязненных сточных вод с автомобильных дорог в водоемы составил 81 тыс. т взвешенных веществ, 3 тыс. т нефтепродуктов и более 350 тыс. т противогололедных материалов.
Наибольшую опасность при попадании сточных вод с покрытия автомобильных дорог на прилегающую территорию и в водоемы представляют нефтепродукты, в состав которых входят бензол, стирол, толуол, ксилол и др. Установлено, что 1 г нефти способен полностью погубить жизнь в 1 м3 воды [4].
Поверхностные стоки, содержащие в своем составе нефтепродукты, способствуют образованию на поверхности водоема нефтяной пленки толщиной 0,4 - 1 мм и снижению количества растворенного кислорода, что действует губительным образом на жизнедеятельность водных организмов. Оседающие в водоеме тяжелые остатки нефтепродуктов, разлагаясь, загрязняют воду продуктами распада, а часть из них выносится на поверхность в виде пузырьков газа, которые, лопаясь, образуют нефтяное пятно.
Особенно опасно длительное постоянное воздействие небольших концентраций нефтепродуктов, так как углеводороды, входящие в их состав, способны растворять другие загрязняющие вещества, например, тяжелые металлы. В состав ароматической фракции нефти входят вещества канцерогенной природы, например, бензопирен, который активно циркулирует по пищевым цепочкам, вызывая мутации, и попадает в пищу людей.
Стоки талых вод с поверхности автомобильных дорог имеют в своем составе растворенные химические вещества противогололедных материалов, природа воздействия которых на окружающую среду до сих пор детально не изучена. В качестве противогололедных материалов чаще всего используют реагенты, содержащие хлористый натрий; железистые цианиды, цианиды натрия и желтые цианиды углекислого натрия (для гранулирования реагентов); гипс; соли кальция и магния; карбамид и др.
Зарубежными исследователями [5, 6] было выявлено, что хлориды натрия, концентрирующиеся в грунтах прилегающей к автомобильной дороге территории, способны замещать катионы кальция, магния и калия, что приводит к изменению характеристик грунтов, уровня рН и видоизменению растительности, а вероятность прорастания многих типов растений на этих грунтах может составлять всего 50% [7].
В США при проведении исследований величины содержаний загрязняющих веществ в водоемах, расположенных на расстояний 50 - 100 м от автомобильной дороги, было установлено, что в водных объектах, расположенных в местах, где продольный профиль автомобильной дороги имеет вогнутый контур, уровень содержания хлоридов в 31 раз больше, чем в водоемах, расположенных около участков автомобильных дорог с выпуклым продольным профилем [8].
В апреле 1993 г. в Приморском районе Архангельской области был произведен отбор образцов снега вдоль участка автомобильной дороги IV категории с целью изучения степени загрязнения снежного покрова прилегающей территории тяжелыми металлами [9]. В результате исследований было установлено, что в снежном покрове в определенных количествах содержались свинец, медь, марганец, алюминий, никель, ванадий, молибден и титан. В соответствии с данными исследований [10], максимальное содержание хлор-иона, азотистых и железистых соединений, а также твердых взвешенных частиц в снежном покрове наблюдается на участках автомобильных дорог с интенсивным движением автомобилей.
Неблагоприятное влияние транспортных средств на окружающую среду оказывается стихийно (утечка топлива и т.д.) и постоянно [2], при этом отдельные источники загрязнения, например, моторные масла и материалы смазки, представляют собой наибольшую опасность, так как более токсичны, чем сырая нефть [11].
Источниками загрязняющих поверхностные стоки веществ от автомобилей являются: антифриз - токсичная жидкость, на 95% состоящая из этиленгликоля (классифицирующегося в отдельных зарубежных странах как ядовитое вещество), которая во время работы двигателя насыщается такими элементами, как свинец, медь, цинк, кадмий и хром; металлическая пыль тормозных накладок [12, 13]; резина автомобильных шин [14]; подземные металлические хранилища автомобильного топлива, из-за преждевременной коррозии которых топливо свободно просачивается в грунт, попадая в грунтовые воды и водоемы; неправильная организация и ведение строительных работ на площадке, применение неотрегулированного оборудования и неисправных машин; отходы автотранспортного комплекса (отработанные моторные масла, масляные фильтры) и т.д.
В течение последних лет во многих странах проводится разработка новых материалов, позволяющих снизить негативное воздействие на экологию, однако чаще всего основным требованием к этим разработкам является снижение воздействия автомобилей на воздушную среду. В 2003 г. в Голландии были разработаны автомобильные шины, при производстве которых применялся материал органосилан, что позволило снизить сопротивление качению и расход топлива, тем не менее характер воздействия этого материала на окружающую среду пока не известен.
Министерство экологии Японии выступило с предложением заменить традиционное топливо на муниципальном транспорте на биоэтанол - побочный продукт при производстве сахара [15]. Согласно расчетам экологов, внедрение даже 3%-ной смеси этанола позволит снизить объемы загрязнения в Японии на 3% в год. Смесь бензина и биоэтанола уже используется в качестве автомобильного топлива в Бразилии и США.
Снижение негативного влияния транспортных средств ни окружающую среду в нашей стране существенно замедляется в связи с тем, что в решении отдельных вопросов Россия отстает от западных стран на несколько лет. Существующие в России критерии экологической безопасности автомобилей не соответствуют международным стандартам, кроме того, многие нормативные показатели, принятые за рубежом, практически не выполнимы в нашей стране.
Например, экологические Правила ЕЭК ООН и нормы Евро-I, жестко регламентирующие токсичность автомобильных выхлопных газов и запрещающие к использованию этилированный бензин, были введены за рубежом в начале 1993 г. В течение последующих нескольких лет были введены нормы Евро-II, Евро-III. ужесточающие требования к уровню токсичности, а в 2005 г. предполагается ввести нормы Евро-IV, которые будут регламентировать применение бессернистого автомобильного топлива.
В нашей стране Федеральный закон «О запрете производстве и оборота этилированного бензина в Российской Федерации» был введен в действие только 1 июля 2003 г., а доля производимого этилированного бензина на территории России до 1995 г. составляли 40% в общем объеме производства всех остальных марок бензинового топлива. Кроме того, до настоящего времени в отдельных российских регионах имеют место случаи применение этилированного бензина.
Представленный перечень отрицательных воздействий, оказываемых автомобилями на окружающую среду, в частности, при загрязнении поверхностных стоков с автомобильных дорог и мостов, не является полным.
До сих пор в нашей стране опасность воздействия транспортных средств и дорожно-мостовых сооружений на водоемы и прилегающую территорию не рассматривается с должной степенью серьезности. В частности, подтверждением подобного отношения к экологии в целом может служить тот факт, что в настоящее время Стандарт России на питьевую воду включает всего 30 обязательных показателей качества, а Всемирная организация здравоохранения рекомендует более 100 показателей.
По данным Всемирной организации здравоохранения, до 80% заболеваний человека связано с потреблением некачественной воды, при этом более 95% используемой в хозяйственно-питьевых целях воды добывается из поверхностных источников. В этой связи воздействие автомобильных дорог как техногенных сооружений на природную среду оказывается весьма значительным, так как данное воздействие снижает способности самоочищения природных систем.
В России до сих пор не имеется полной и упорядоченной информации о содержании химических веществ в поверхностных стоках с автомобильных дорог и нет расчетных критериев загрязненности поверхностных стоков. В то же время в результате немногочисленных, проведенных ранее исследований было установлено, что, например, уровень загрязнения поверхностного стока с автомагистралей с интенсивным движением грузовых автомобилей идентичен уровню загрязнения поверхностных стоков Садового кольца г. Москвы [16].
Кроме того, имеются результаты исследований загрязнения дождевого поверхностного стока автомагистралей в гг. Москве и Санкт-Петербурге, проведенные в 1981 г. В соответствии с этими результатами содержание взвешенных частиц в поверхностных стоках Садового кольца, Ленинградского и Волоколамского шоссе в г. Москве составило 14 - 20000 мг/л, эфирорастворимых веществ - 6 - 350 мг/л. На основании полученных данных были определены расчетные концентрации загрязнений поверхностного стока 70%-ной обеспеченности [17], которые составили для дождевого стока городских автомагистралей: взвешенные вещества - 1000 мг/л, нефтепродукты - 20 мг/л; для талого стока: взвешенные вещества - 3000 мг/л, нефтепродукты - 25 мг/л.
Отрицательное влияние поверхностного стока автомобильных дорог на окружающую среду связано также с содержанием в сточных водах взвешенных частиц различной природы. Взвешенные частицы, которые являются основным источником повышения мутности воды и заиления водоемов, в основном состоят из частиц минерального происхождения (песок, глина, ил) и отличаются 20 - 30%-ным содержанием органических соединений по массе. Химическое потребление кислорода взвешенными частицами поверхностных стоков составляет 0,3 - 0,5 мг кислорода на 1 мг стока [18]. По данным исследований [19], содержание взвешенных частиц в поверхностных дождевых и техногенных поливомоечных стоках городских автомобильных дорог составляет 3 - 5 г/л.
В настоящее время наиболее важной является проблема своевременного снижения отрицательного воздействия техногенных объектов на окружающую среду путем организации специальных мероприятий.
Воздействие загрязненного поверхностного стока на прилегающие к автомобильной дороге территорию и водоемы оказывается наиболее интенсивным при отсутствии или неработоспособности системы сбора поверхностных вод с покрытия проезжей части дорожно-мостовых сооружений и отвода стоков на очистные сооружения. Факторами, определяющими тип дорожного поверхностного водоотвода, являются: объем дождевого стока; размеры водосборного бассейна; гидрологические, геологические, климатические условия строительства; биологические характеристики прилегающей к техногенному сооружению территории, геометрические параметры дорожно-мостового сооружения: химический состав поверхностных стоков и др. Кроме того, необходимо учитывать, что наибольшая концентрация загрязняющих веществ находится в пределах проезжей части автомобильной дороги или мостового полотна и максимальное воздействие на прилегающую территорию и водоемы оказывается тогда, когда эти вещества, увлажненные атмосферными осадками или водой поливомоечных машин, беспрепятственно попадают за пределы проезжей части и обочин.
Значительное влияние на концентрацию загрязняющих веществ в поверхностных стоках автомобильных дорог оказывает интенсивность выпадения дождевых осадков. Так, согласно данным, полученным некоторыми исследователями [20, 21], во время дождей большой интенсивности в окружающую среду может попадать более 30% годового объема загрязняющих веществ. Подобное явление особенно характерно для периода дождей, наступившего после долгой засухи, при этом наибольшая концентрация углерода, азота, калия, фосфора и свинца в поверхностных стоках с автомобильных дорог наблюдается в начале дождя.
Кроме того, уровень загрязнения поверхностных стоков дорожно-мостовых сооружений зависит не только от величины и интенсивности атмосферных осадков, но и от интенсивности и состава движения транспортных средств; количества дорожно-транспортных происшествий; геометрических параметров автомобильной дороги; химического состава, природы возникновения загрязняющих веществ и их источника; типа покрытия проезжей части и др.
Согласно данным, полученным при изучении химического состава грунтовых вод в Германии [22], где пробы грунтовой воды брались из скважин, заложенных вдоль скоростных автомагистралей, грунтовые воды загрязняются хлоридами не только непосредственно вблизи автомобильной дороги, но также на тех участках, где имеется застой сточных поверхностных вод в канавах и кюветах.
Исследованиями [23], проведенными в США, было установлено, что тип дорожного водоотвода оказывает влияние на степень загрязнения грунтовых вод хлоридами, а исследования [24], проведенные в Дании, показали, что аккумуляция загрязняющих веществ на территории, прилегающей к автомобильным дорогам, может приводить к началу процесса вымывания солей тяжелых металлов и образованию новых сложных соединений.
В настоящее время в нашей стране поверхностные стоки с автомобильных дорог чаще всего отводятся в понижения рельефа с последующим их рассеиванием, что противоречит условиям сохранения экологического баланса, так как стоки в своем составе имеют большое количество веществ различной химической и органической природы, которые помимо загрязнения способны вызывать эрозию на откосах земляного полотна, оползни и изменение гидрологического режима.
На основании вышеизложенного можно сделать вывод, что для сохранения экологического баланса на территории и в водоемах, находящихся в непосредственном взаимодействии с автомобильной дорогой и мостовым переходом, очистка поверхностных стоков с проезжей части является необходимой. При этом вопрос о применении очистных сооружений необходимо решать с учетом целого комплекса показателей условий строительства, как то: природно-климатические, геологические и гидрологические характеристики, а также выбранной системы водоотвода, надежности сопряжения с ней сооружений очистки стоков и эффективности функционирования как водоотводных, так и очистных конструкций.
Разрабатываемые на стадии проектирования и проводимые в период эксплуатации мероприятия, направленные на снижение отрицательного воздействия на окружающую среду дорожно-мостовых объектов, являются наиболее эффективными.
Эти мероприятия, которые носят название превентивных, направлены на сбор и снижение количества загрязняющих веществ непосредственно на поверхности проезжей части автомобильной дороги или мостового полотна и не требуют выполнения строительных работ и отведения дополнительных территорий [25].
К превентивным очистным мероприятиям относятся:
- организованный сбор загрязненного стока в продольных водосборных лотках и предбордюрном пространстве и отведение его по водосбросным откосным лоткам на очистные сооружения;
- контроль за эрозией откосов земляного полотна и прилегающей территории, своевременные очистка и восстановление водоотводных канав, обочин и откосов земляного полотна автомобильной дороги;
- удаление мусора и очистка элементов водоотводных систем;
- очистка поверхности проезжей части;
- своевременный и качественный ремонт дорожного покрытия и систем водоотвода;
- контроль за применением противогололедных материалов;
- предотвращение сброса снега с покрытия проезжей части в водоемы и на их замерзшую поверхность;
- применение наиболее экологически безопасных материалов дорожной разметки, соблюдение технологического регламента при ее нанесении и др.
Сбор поверхностных вод с покрытия проезжей части дорожного и мостового полотна с использованием лотковых и бордюрных конструкций, выполняющих функцию водосборного канала, позволяет уменьшить площадь распространения загрязненного стока. По откосным водосбросным лоткам сток отводится в водоперепускные конструкции и на очистные сооружения, что позволяет избежать подтопления и засорения проезжей части, а также эрозии откосов земляного полотна.
Удаление мусора, очистку элементов водоотводных систем, восстановление геометрических параметров кюветов, обочин, конструкций укреплений откосов земляного полотна необходимо производить в течение всего года, так как выполнение этих мероприятий является необходимым условием функционирования дорожного водоотвода. Данные мероприятия позволяют своевременно собирать и отводить поверхностные стоки, избегать затопления проезжей части и возникновения перебоев в движении транспортных средств.
Регулярная очистка поверхности проезжей части автомобильной дороги позволяет снижать содержание загрязняющих веществ в поверхностном стоке, однако ее проведение возможно только в городах с применением современных уборочных машин.
На участках разрушения дорожного покрытия и обочин аккумулируются загрязняющие вещества, которые приобретают наибольшую подвижность во время дождя. Своевременный ремонт дорожного покрытия и обочин позволяет снизить количество загрязнения в поверхностных стоках, однако при его проведении необходимо соблюдать ряд правил. Например, при выполнении работ по нарезке швов в цементобетонном дорожном покрытии, ремонте обочин, заделке трещин асфальтобетонного покрытия от нарезания материалов покрытия дисковой пилой образуется крошка. Эта крошка, объединяясь с водой для охлаждения пилы, образует суспензию, которая попадает в поверхностные сточные воды. В том случае, если ремонтные работы ведутся в непосредственной близости от входного отверстия водоотводного сооружения, необходимо полностью исключить попадание в него загрязненных стоков путем устройства преград или отведения сточных вод в специально устроенную инфильтрационную траншею.
Важной проблемой при снижении уровня загрязненности поверхностных сточных вод является контроль за применением противогололедных материалов, в состав которых входят химические элементы, оказывающие крайне пагубное воздействие на окружающую среду. С целью снижения негативного воздействия на окружающую среду при распределении противогололедных материалов необходимо применять отрегулированное оборудование и руководствоваться требованиями нормативных документов при расчете необходимого объема реагентов. Кроме того, на участках вблизи водных объектов следует устанавливать специальные барьеры, исключающие попадание противогололедных материалов в водоемы, а также снижать скорость движения снегоочистителей, удаляющих снеговой покров с антиобледенителями.
Существенно улучшить экологическую ситуацию и обеспечить применение оптимального количества противогололедных материалов могут специализированные прогнозы, в состав которые входят метеорологическая информация, данные о температуре дорожного покрытия, его состоянии, интенсивности движение автомобилей и др. [26]. Такие прогнозы разрабатываются на основе статистической информации о состоянии дорожного покрытия и погодных параметрах, получаемой с помощью автоматических дорожных метеостанций. Автоматические дорожные метеостанции имеются, например, на МКАД и собирают необходимую информацию в зимний период.
Однако, не смотря на имеющиеся автоматические дорожные станции, проблема обеспечения дорожных служб России информацией, необходимой для оптимизации обработки автомобильных дорог противогололедньгми реагентами, не решена [27]. Использование новых высокоэффективных противогололедных материалов [28], повышение надежности специальной информации, оснащение дорожных служб необходимым оборудованием и т.д. позволят не только обеспечить выполнение всего комплекса мероприятий зимнего содержания, но и снизить степень отрицательного воздействия на окружающую среду.
В комплекс гидротехнических, водоохранных и очистных сооружений, как правило, входят отстойники и накопители, которые оборудуются противофильтрационными экранами, препятствующими проникновению вредных веществ в нижележащие водоносные горизонты. Наиболее эффективными являются экраны, выполненные из полимерных материалов, устойчивых к агрессивному воздействию химических реагентов [29]. Применение полимерных экранов является превентивным мероприятием с целью снижения вероятности возникновения техногенных и природных ситуаций чрезвычайного характера. Данные противофильтрационные полимерные экраны были апробированы на многих объектах г.г. Санкт-Петербурга, Москвы, Красноярска, Новгорода, Пскова, Мурманска и других городов России.
Таковы основные превентивные мероприятия, направленные на снижение уровня загрязнения поверхностных стоков с автомобильных дорог, образующихся под действием дождевых осадков, таяния снегового покрова и смачивания покрытия с помощью поливомоечных машин. Эти мероприятия необходимо проводить регулярно на всех автомобильных дорогах и мостовых переходах независимо от наличия специальных очистных сооружений.
В формировании водного баланса территории участвует сложный комплекс физико-географических, геологических, гидрологических и климатических условий и факторов, определяющих особенности его структуры. Климатические условия, особенности рельефа, почвенного и растительного покрова (инфильтрационная, удерживающая характеристики) тесно связаны между собой и воздействуют на водный баланс не только непосредственно, но и во взаимодействии друг с другом.
Водный баланс территории прохождения автомобильной дороги формируется в результате взаимодействия составляющих его показателей, т.е. объема ливневого и снегового стока, объема инфильтрации и величины испарения, которые влияют на изменение запасов влаги на водосборе.
В данном случае очистные сооружения, на которые поступает аккумулированный на поверхности автомобильной дороги и мостового полотна ливневый и снеговой сток, выполняют роль конструкций, позволяющих сохранить экологический баланс и являющихся водобалансными сооружениями. При строительстве очистных сооружений и использовании особенностей прилегающей к автомобильной дороге территории особое внимание необходимо уделять сопряжению этих конструкций с системой дорожного поверхностного водоотвода. При выборе очистного сооружения необходимо руководствоваться требованиями экологии по степени очистки поверхностных стоков, учитывать надежность сооружения, степень его апробации, а также природно-климатические, гидрологические и грунтовые условия территории строительства.
Загрязнения поверхностных стоков с автомобильных дорог разделяются по физическому состоянию (нерастворимые, коллоидные, растворимые) и по составу (минеральные: песок, глина, минеральные соли, кислоты, щелочи и т.д.; органические: нефтепродукты, ПАВ и т.д.)
Нерастворимые вещества загрязнения присутствуют в сточных водах в виде грубой суспензии с размером частиц более 100 мк и в виде тонкой суспензии или эмульсии с размером частиц 100 - 0,1 мк. Коллоидные вещества в сточных водах имеют размеры частиц 0,1 - 0,001 мк.
По структуре и консистенции осадок, выпадающий из поверхностных сточных вод, может быть зернистым, когда частицы имеют более или менее гладкую поверхность и выпадают на дно независимо друг от друга с постоянной скоростью (песок, пылеватые частицы), и хлопьевидным, когда частицы имеют слизистую поверхность и по мере выпадения соединяются друг с другом,
В настоящее время на территории России и зарубежных стран существуют следующие мероприятия по очистке стоков с поверхности автомобильных дорог и мостовых сооружений от загрязнения: механическая очистка, химическая очистка, физико-химические методы очистки, биохимические методы очистки и др.
Механическая очистка предполагает удаление нерастворимых крупных примесей, а также загрязнений, находящихся в коллоидном состоянии, из поверхностных стоков. К сооружениям механической очистки относятся решетки, сита, песколовки, отстойники, нефтеловушки, фильтры, гидроциклоны, растительные полосы и др.
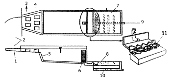
Решетки применяются для удаления крупных взвешенных частиц и устанавливаются на пути движения сточных вод. Для удаления более мелких взвешенных частиц применяют сита, отверстия которых зависят от улавливаемых примесей и составляют 0,5 - 1 мм. Решетки подразделяются по способу их очистки от осевших на них загрязнений на простейшие, которые очищаются ручным способом, и механические, очистка которых производится с помощью механических приспособлений. На рис. 1 представлена решетка с механизированной очисткой, включающая неподвижную решетку и подвижные грабли для удаления загрязнений. Вся эта конструкция приводится в движение с помощью двигателя через привод с шестеренчатой передачей.

Рис. 1. Решетка с механизированной очисткой:
1 - механизированная решетка с граблями; 2 - транспортер
На территории бывшего СССР применялись три типа неподвижных решеток с подвижными граблями: московского типа, установленные под углом 60° к горизонту и очищаемые подвижными граблями, движущимися сверху по течению воды; ленинградского типа, установленные под углом 60° к горизонту с граблями, движущимися снизу по течению воды; вертикальные решетки, которые очищаются граблями, движущимися снизу по течению воды [30].
На рис. 2 представлена система решеток с механической очисткой, установленной в специальном здании. Существует также система очистки, не требующая устройства специальных помещений, которая одновременно задерживает твердые частицы поверхностного стока и перемалывает их (рис. 3). Принцип действие такой системы состоит в том, что решетка-дробилка устанавливается в камере с круговым движением сточных вод или на трубопроводе; барабан, приводимый в движение электродвигателем, задерживает твердые вещества, а затем подает их к режущим гребням, перемалывающим твердые частицы, которые затем снова поступают в сточные воды.
|
|
|
|
Рис. 2. Здание решеток с механизированной очисткой: 1 - щитовой затвор; 2 - щитовой затвор с электродвигателем; 3 - кран-балка; 4 - решетка; 5 - горизонтальный ленточный конвейер |
Рис. 3. Решетка-дробилка |

Песколовки или песчаные фильтры, принцип действия которых основан на изменении скорости движения твердых тяжелых частиц в потоке жидкости, предназначены для удаления из сточных вод механических примесей размером более 0,25 мм (песка, окалины). Песчаные фильтры устраиваются на поверхности и под землей, при этом обязательным является устройство конструкции для предварительной очистки поверхностных стоков от взвешенных частиц и нефтяных пленок [25].
Песколовки или песчаные фильтры могут быть горизонтальными, с прямолинейным и круговым движением воды, вертикальными и с винтовым движением воды (тангенциальные и аэрируемые). В настоящее время в России и зарубежных странах чаще всего применяются горизонтальные песколовки (рис. 4,а), песколовки с прямолинейным и круговым движением воды, а также тангенциальные и аэрируемые песколовки.

Рис. 4. Схема песколовки:
а - песколовка на МКАД; б - песколовка с круговым движением воды
Как показывает опыт применения, песколовки способны задерживать 65 - 75% всех минеральных загрязняющих веществ, содержащихся в сточных водах [31]. Очистка горизонтальных песчаных фильтров производится с помощью насоса, который откачивает песок с водой из приямка, расположенного в головной части песколовки.
Песколовка, движение воды в которой происходит по кольцевому лотку, представлена на рис. 4,б. Принцип действия этой песколовки состоит в том, что выпавший песок, попадая через щели в конусную часть, откачивается оттуда гидроэлеватором. В Германии на основании результатов проведенных опытов по изучению гидромеханической очистки горизонтальных песколовок был разработан горизонтальный песчаный фильтр с гидромеханической отмывкой песка (рис. 5).

Рис. 5. Горизонтальная песколовка с гидромеханической отмывкой песка:
1 - промывные трубы; 2 - промывная камера; 3 – трубопровод от насоса; 4 - промывные отверстия; 5 - клапан; 6 - трубы на песковые площадки
Тангенциальные песколовки представляют собой конструкцию, имеющую круглую форму в плане, а подвод сточных вод к ним осуществляется по касательной линии, что вызывает вращательное движение потока. При одновременном поступательном и вращательном движении создается винтовое движение потока, что способствует отмывке от песка органических соединений и исключает их выпадение в осадок.
Аэрируемые песчаные фильтры или песколовки, в которых так же, как и в тангенциальных, возникает винтовое движение жидкости, а в качестве аэраторов применяются перфорированные трубы с отверстиями 3 - 5 мм или фильтрующие пластины, широко применяются в Европе и США (рис. 6). На рис. 7 представлена песколовка, удачно вписывающаяся в любой природный ландшафт и применяемая на автомобильных дорогах США [32].

Рис, 6. Аэрируемая песколовка с гидромеханическим удалением песка:
1 - воздуховод; 2 - трубопровод для гидросмыва; 3 - смывкой трубопровод со спрысками; 4 - аэраторы

Рис. 7. Песколовка, применяемая в США;
1 - канал для перепуска стока; 2 - канал для стока; 3 - сток в испарительный бассейн; 4 - рассеиватели потока; 5 - входное отверстие; 6 - перфорированный коллектор с решеткой для задержания мусора; 7 - фильтрационный бассейн; 8 - песок; 9 - выходное отверстие; 10 – подземный дренаж с применением труб; 11 - каменная наброска


Отстойники или аккумулирующие резервуары, которые устраиваются как самостоятельные сооружения (рис. 8), заполняются стоками в период выпадения осадков и применяются для сбора поверхностных стоков на определенный промежуток времени (не менее суток), в течение которого отдельные загрязняющие вещества выпадают в осадок. Степень очистки поверхностных стоков в таких отстойниках низкая, из-за этого их чаще всего применяют для сброса непредвиденных объемов воды во избежание избыточного затопления территории.

Рис. 8. Отстойники:
а - пруд-отстойник произвольной формы; б – однокамерный
отстойник; в - многокамерный отстойник;
1 - подводящий коллектор; 2 - вход в первую секцию; 3 - первая секция; 4 -
водосброс; 5 - вторая секция; 6 – выход из второй секции; 7 - отводящий
коллектор; 8 - вход во вторую секцию; 9 - обгонный коллектор; 10 -
маслонефтесборники; 11 - участок входа; 12 - мусороулавливающая решетка; 13 -
отстойная часть; 14 - фильтры доочистки; 15 - обгонный коллектор
Своевременное осушение отстойников крайне затруднительно, поэтому часто во время выпадения дождевых осадков, загрязняющие вещества от стоков, образовавшихся во время предыдущих дождей, просто вымываются и разливаются по прилегающей территории, приводя к ее дополнительному загрязнению.
Существуют также отстойники, применяемые для предварительной очистки сточных вод в случае, если требуется дальнейшая биологическая очистка стоков. По назначению отстойники данного типа подразделяются на первичные, устанавливаемые до сооружения биологической очистки, и вторичные, которые устанавливаются после сооружений биологической очистки.
По конструктивным особенностям отстойники делятся на горизонтальные (сток движется вдоль отстойника, почти горизонтально), вертикальные (сток движется снизу вверх) и радиальные (сток движется от центра к периферии).
Горизонтальный отстойник из сборного железобетона представляет собой прямоугольный резервуар, состоящий из нескольких отделений. Принцип действия этого отстойника состоит в том, что сточные воды подводятся в торцовую часть, проходят вдоль отстойника до противоположного конца и сливаются в отводной канал.
Вертикальные отстойники, имеющие в плане круглую, квадратную форму или форму многоугольника, представляют собой резервуары с конусным или пирамидальным днищем (рис. 9). Подобные отстойники чаще всего применяются для очистки бытовых сточных вод.


Рис. 9. Вертикальный отстойник:
а - из сборного железобетона; б - с нисходяще-восходящим
потоком;
1 - выпуск ила; 2 - выпуск корки; 3 - центральная труба с отражателем; 4 -
водосборный желоб; 5 - приемная камера; 6 - подающий лоток; 7 - трубопровод для
удаления плавающих веществ; 8 - приемная воронка для удаления плавающих
веществ; 9 - зубчатый водослив; 10 - отражательный козырек; 11 -
распределительный лоток; 12 - лоток для сбора осветленной воды; 13 - отводящий
трубопровод; 14 - отстойник; 15 - кольцевая полупогружная перегородка; 16 - иловая
труба
Радиальные отстойники (рис. 10, 11) применяются на крупных станциях очистки сточных вод, например, в Подмосковье, и представляют собой круглый неглубокий резервуар, в котором сточные воды движутся от центра к периферии.

Рис. 10. Первичный радиальный отстойник:
1 - илоскреб; 2 - распределительная чаша; 3 – подводящий трубопровод; 4 - трубопровод сырого осадка; 5 - жиросборник; 6 - насосная станция; 7 - отводящий трубопровод
Одной из разновидностей отстойников являются тонкослойные отстойники, которые имеют водораспределительную, отстойную, водосборную и осадочную зоны, при этом отстойная зона разделена полками, в пространстве между которыми производится отстаивание. Существуют три схемы движения стоков и выпадения осадка в тонкослойном отстойнике: прямоточная, когда направления движения стоков и осадка совпадают; противоточная, когда осадок удаляется в направлении, противоположном движению стоков; перекрестная, когда осадок движется перпендикулярно направлению движения стоков.

Рис. 11. Радиальный отстойник с периферийным впуском;
1 - подводящий канал; 2 - трубопровод для отвода плавающих веществ; 3 - отводящий трубопровод; 4 - затвор с подвижным водосливом для выпуска плавающих веществ; 5 - струенаправляющие трубки; 6 - распределительный лоток; 7 - полупогружная доска для задержания плавающих веществ; 8 - иловая труба
Нефтеловушки предназначены для удаления пленок нефтяных продуктов и смазочных материалов из поверхностных стоков. Скорость движения сточных вод в нефтеловушке составляет 0,005 - 0,01 м/с, при этом всплывает 96 - 98% частиц размером 80 - 100 мкм.
Нефтеловушки, применяемые в основном на строительных площадках, представляют собой механическое устройство, отделяющее нефтяные пленки от воды, которая затем поступает на очистное сооружение. Существуют также нефтеловушки, представляющие собой комплекс улавливающих бассейнов, располагаемых под землей, которые чаще всего устанавливаются на автозаправочных станциях и территориях парковки автомобилей.
Нефтеловушки, представляющие собой устройство для сбора всплывающих на поверхности воды нефтяных и масляных пленок, применяются на участках выпуска стоков из отстойников. На рис. 12 представлена конструкция нефтеловушки, действующей по следующему принципу: стоки, проходя через щелевую перегородку, поступают в отстойную камеру, в которой нефтепродукты всплывают на поверхность; нефтепродукты собираются в начале и в конце секции щелевыми поворотными трубами.

Рис. 12. Нефтеловушка:
1 - нефтесборная труба; 2 - щелевая распределительная перегородка; 3 - донный клапан; 4 - механизм передвижения скребков; 5 - скребки; 6 - кронштейны
К способам механической очистки сточных вод также относятся фильтрование и пропуск стоков через гидроциклоны.
Фильтрование применяется для выделения из сточных вод тонкодисперсных твердых и жидких частиц, которые не обладают способностью выпадать в осадок. В качестве фильтрующих материалов используются металлические сетки, тканевые фильтры (хлопчатобумажные, из стекловолокна), керамические, иногда используются зернистые материалы - песок, гравий, торф, уголь и др. (рис. 13).

Рис. 13. Двухслойный фильтр:
1 - донный клапан; 2 - антрацитовая крошка; 3 - песок; 4 - подача воды на фильтрование; 5 - отвод профильтрованной воды; 6 - подача воды на промывку; 7 - переливные желоба
Нетканые материалы, благодаря своей структуре, являются хорошей основой как для создания фильтрующих элементов, так и для использования в качестве сорбентов, при этом сорбционный способ позволяет предотвратить попадание нефтепродуктов в ливневые стоки с автомобильных дорог, стоянок автомобилей и автозаправочных комплексов [33]. Объемно-пористая структура нетканого фильтра позволяет снизить концентрацию взвешенных веществ в сточных водах на три порядка и нефтепродуктов на один порядок по сравнению с исходной.
С использованием нетканых материалов изготавливаются сорбционные маты, сорбирующие салфетки, сорбционно заградительные бумы, представляющие собой многослойные изделия длиной 1 - 2,5 м. Эти материалы обеспечивают сбор нефтепродуктов, обладают способностью к многократному использованию и легко поддаются утилизации.
Гидроциклоны используются для очистки сточных вод от взвешенных частиц под действием центробежной силы (рис. 14). Принцип действия гидроциклона состоит в том, что вода с высокой скоростью по касательной подается в гидроциклон, при вращении в котором на частицы действуют центробежные силы, отбрасывающие тяжелые частицы к периферии потока, при этом, чем больше разность плотностей частиц, тем лучше разделение.

Рис. 14. Напорный гидроциклон:
1 - крышка; 2 - труба; 3 - отверстие; 4 - сливной патрубок; 5 - внутренний винтовой поток; 6 - внешний винтовой поток; 7 - воздушный столб
Растительные полосы представляют собой участки с густой растительностью, которые очищают стоки от взвешенных веществ, органических материалов и примесей металлов. Построенные надлежащим образом растительные полосы способны удалять более 60% взвешенных частиц. С целью очистки стоков укрепление растительностью чаще всего производится на разделительной полосе (рис. 15) и в боковых резервах. Для предотвращения преждевременного разрушения растительной полосы на разделительной полосе необходимо устраивать укрепление вдоль ее кромки [31]. На рис. 16, 17 представлен способ очистки стоков на разделительной полосе и рядом с тротуарами с помощью растительности, применяемый в городах [34].

Рис. 15. Очистка стоков на разделительной полосе:
1 - направление потока; 2 - растительный слой повышенной плотности; 3 - задерживающая дамба из дерева; 4 - каменная наброска; 5 - геотекстиль; 6 - арматурный стержень
Исследования эффективности действия боковых резервов как локальных очистных сооружений, проведенные в зарубежных странах, показали, что они способны на 30 - 90% снижать содержание твердых частиц и на 5 - 40% содержание фосфора в поверхностных стоках с автомобильных дорог.

Рис. 16. Система очистки стоков на разделительной полосе с помощью растительности:
1 - фильтрационный материал диаметром 0,5 мм; 2 - геотекстиль; 3 - перфорированная труба; 4 - густая растительность

Рис. 17. Система очистки стоков у тротуара:
1 - направление стока; 2 - растительность; 3 - краевая полоса, укрепленная цементобетоном; 4 - резервуар для временного размещения стока; 5 – фильтрация стока; 6 – перфорированная труба; 7 - обычная труба для отвода стока
На степень очистки поверхностных стоков непосредственно влияет высота растительного покрова резерва, уклон дна резерва и показатели фильтрации грунтов, слагающих дно резерва. Боковые резервы, укрепленные растительностью, способны вызывать загрязнение грунтовых вод, поэтому в отдельных случаях их применение в качестве очистных сооружений не допускается.
Для повышения очистной способности растительных полос необходимо своевременно убирать мусор, крупные каменные материалы с поверхности разделительных полос и из резервов окашивать растительность, а также засевать новой растительностью поврежденные участки резервов.
Химические методы очистки сточных вод применяются для доочистки стоков перед их биологической очисткой или после нее и включают коагулирование (процесс осветления сточных вод с использованием коагулянтов), нейтрализацию (процесс повышения или снижения уровня рН в стоках для приближения ее к нейтральной), окисление (процесс выделения и разрушения веществ, не поддающихся другим методам обработки).
Коагуляция (процесс укрупнения дисперсных частиц и их объединения в агрегаты) применяется для ускорения процесса осаждения тонкодисперсных примесей и веществ, образующие эмульсию.
Нейтрализация проводится для всех стоков, содержащие кислоты или щелочи, перед сбросом их в водные объекты и выполняется различными способами: добавлением реагентов (щелочи, аммиачной воды, доломита, цемента, известняка, золы и других), фильтрованием и др.
Метод окисления чаще всего используется для удаления загрязняющих веществ из производственных сточных вод в том случае, если их не удалось очистить биохимическими методами.
Физико-химические методы очистки стоков представляют собой флотацию, адсорбцию, ионный обмен, экстракцию и др.
Метод флотации применяется для удаления из сточных вод нерастворимых диспергированных примесей, которые не поддаются отстаиванию, например, нефтепродуктов и ПАВ. При очистке стоков методом флотации в воду под давлением через перфорированные трубы подается воздух, при этом пузырьки воздуха размером 10 - 15 мкм объединяются с частицами загрязняющего вещества и поднимаются на поверхность в виде пены. Степень очистки стоков данным методом составляет 95 - 98%.
Адсорбция или очистка с помощью твердых сорбентов применяется для глубокой очистки сточных вод от загрязнителей, которые не подвергаются биологическому разложению и являются ядовитыми (нитросоединения, ПАВ, фенолы, ароматические углеводороды и др.). Адсорбция может быть реагентной, т.е. с извлечением вещества из адсорбента и деструктивной, т.е. с уничтожением извлекаемого вещества вместе с адсорбентом, при этом эффективность очистки зависит от применяемого адсорбента и составляет 80 - 95%.
Процесс поглощения загрязнителей сорбентами проводится при интенсивном перемешивании сорбента и стоков с последующим отстаиванием либо фильтрованием загрязненных стоков через слой сорбента. В качестве твердых сорбентов применяются активированный уголь, шлаки, глины, золы, синтетические сорбенты, гидраты окислов металлов и др. Отработанные адсорбенты могут регенерироваться перегретым паром или нагретым инертным газом. Разнообразие агрегатного состояния различных загрязнителей стоков требует применения в системах локальной очистки предварительных методов с последующей доочисткой стоков с помощью угольных сорбентов. Исследования физической адсорбции нефтепродуктов и ПАВ сорбентами позволили выявить основные требования к параметрам их пористой структуры в результате многочисленных исследований, проведенных в прошлые годы [35], и дальнейшее усиление поглотительных свойств сорбентов теперь связано с направленным изменением их поверхностных свойств.
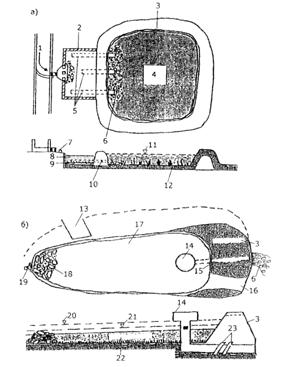
Одним из видов очистных сооружений, действие которых основано на принципе фильтрации стоков через адсорбирующие материалы, являются инфильтрационные бассейны (рис. 18, 19, 20), инфильтрационные траншеи (рис. 21) и дренажные колодцы. Инфильтрационные сооружения предназначены также для сброса больших объемов воды во время ливневого паводка; недопущения подтопления различных объектов, расположенных в нижнем бьефе; пополнения бассейна подземных вод, подземного питания близлежащих водоемов [36].

Рис. 18. Инфильтрационные бассейны:
а -
автономный; б - комбинация инфильтрационного и испарительного бассейнов;
1 - направление потока; 2 - песчаная камера фильтрации; 3 - вал; 4 -
инфильтрационный бассейн без выпускного отверстия; 5 - перфорированные трубы; 6
– каменная наброска; 7 - рассеиватель потока; 8 - песок; 9 - гравий; 10 -
перфорированная труба; 11 - максимальный уровень воды; 12 - плотный
растительный покров; 13 - коридор для обслуживания бассейна; 14 - вертикальный
стояк; 15 – лоток для стока; 16 - аварийный водоспуск; 17 – горизонтальная поверхность
с густой растительностью; 18 – каменная наброска, через которую фильтруется
сток при входе в инфильтрационное сооружение; 19 - входное отверстие; 20 -
уровень воды с вероятностью превышения 10%; 21 – минимальный уровень воды; 22 –
водохранилище избыточного стока; 23 - хомуты против просачивания воды.

Рис. 19. Типовой инфильтрационный бассейн, применяемый за рубежам:
1 - каменная наброска; 2 - вал; 3 - предварительно очищенный сток; 4 - входное отверстие; 5 - каменная наброска, через которую фильтруется сток при входе в инфильтрационное сооружение; 6 - резервная дренажная труба; 7 - горизонтальная поверхность с густой растительностью; 8 - аварийный водоспуск; 9 - задвижка; 10 - водохранилище избыточного стока
В инфильтрационные сооружения не допускается сброс поверхностных стоков с большим содержанием крупных взвешенных частиц во избежание их засорения [37, 38, 39, 40, 41]. Одним из обязательных требований, обеспечивающих нормальное функционирование инфильтрационных сооружений, является использование грунтов и материалов с высоким показателем фильтрации, что, однако, делает конструкцию в целом неустойчивой и может привести к загрязнению грунтовых вод. Кроме того, осадок, образующийся на дне сооружения, необходимо своевременно удалять, а при засорении инфильтрационного сооружения его необходимо устраивать заново.

Рис. 20. Простейший инфильтрационный бассейн:
1 - верхний почвенный слой; 2 - коллектор из перфорированных труб; 3 - наблюдательная скважина; 4 - каменный материал; 5 - песчаный фильтр

Рис. 21. Инфильтрационная траншея;
1 - осадок; 2 - растительность; 3 - гравий; 4 - перфорированные трубы; 5 - гофрированные трубы; 6 - геотекстиль; 7 - песок
Альтернативным способом отведения поверхностных вод с покрытия автомобильной дороги и их последующей очистки являются дренирующие водопроницаемые покрытия, которые устраиваются из пористой асфальтобетонной или цементобетонной смеси. Дренирующие покрытия применяются во многих зарубежных странах и обладают определенными преимуществами, однако их применение на территории России ограничивается рядом причин [42].
Ионообменная очистка или очистка на ионообменных фильтрах применяется для извлечения из загрязненных стоков таких металлов, как цинк, медь, хром, ванадий, марганец, свинец, ртуть и другие, а также радиоактивных веществ. Суть метода очистки состоит в том, что существуют природные и синтетические вещества или иониты, нерастворимые в воде и способные при смешивании с водой обменивать свои ионы на ионы, содержащиеся в воде. В зависимости от знака электрического заряда поглощаемых из воды ионов иониты подразделяются на катиониты, аниониты и амфотерные иониты. В процессе ионообмена металлы оседают на ионообменном фильтре, который по мере загрязнения необходимо регенерировать, например, раствором поваренной соли. К природным ионитам относятся: неорганические - слюда, глинистые материалы, пшаты и другие; органические - гуминовые кислоты угля и различных почв. К синтетическим ионитам относятся: неорганические - окиси хрома, циркония, алюминия и другие; органические - ионообменная слюда.
Метод экстракции чаще всего применяется для очистки производственных сточных вод от масел, фенолов, кислот органического происхождения, ионов металлов и основан на законе распределения загрязняющих веществ согласно своей растворимости при смешении взаимонерастворимых жидкостей, например, фенола и бензола. Экстракция производится следующим образом: сточная вода интенсивно перемешивается с экстрагентом (растворителем), в результате чего образуются две жидкие фазы - экстракт-экстрагент и сточная вода-экстрагент, далее производится разделение экстракта и сточной воды и удаление экстрагента из экстракта и сточной воды путем дистилляции, выпаривания или осаждения.
Биохимические методы очистки стоков основаны на том, что некоторые виды микроорганизмов используют загрязняющие вещества в пищу, при этом необходимо, чтобы стоки не содержали примесей тяжелых металлов, а концентрация биологически неокисляемых веществ не превышала определенных значений. Существуют аэробный метод очистки, при котором применяются микроорганизмы, для жизни которых необходим кислород и температура плюс 20 - 40°С и анаэробный метод очистки, который основан на процессах, протекающих без кислорода, поэтому его чаще всего используют для обеззараживания осадков. Для успешного протекания процесса биохимического окисления необходимо, чтобы в стоках присутствовали такие элементы, как фосфор, калий, марганец, кальций, азот, железо, цинк, молибден, медь и др.
Аэробные методы очистки проводятся в естественных условиях (поля фильтрации, биологические пруды, испарительные бассейны и т.д.) и искусственным путем (биофильтры, аэротенки и т.д.), причем в искусственных сооружениях очистка стоков происходит быстрее, чем в естественных условиях.
Анаэробные методы очистки основаны на реакции брожения метана и используются для разложения осадков, образующихся после биохимической очистки, и для очистки промышленных сточных вод с высокой концентрацией загрязнения. Процесс брожения производится в герметично закрытых резервуарах, а конечными продуктами являются кислоты, водород, углекислый газ, спирты и т.д.
Поля фильтрации представляют собой специально подготовленные земельные участки, предназначенные только для биологической очистки, без выращивания на них сельскохозяйственных культур. Лучшими для устройства полей фильтрации являются песчаные и супесчаные грунты. Подавать на поля фильтрации необходимо предварительно осветленные и освобожденные от взвешенных частиц стоки, что позволит повысить уровень очистки.
Биологические пруды или искусственные запруды представляют собой обычно 3 - 5-ступенчатый каскад прудов с естественной аэрацией (глубиной 0,5 - 1 м и заселенные водными организмами) и искусственной аэрацией (с механическим перемешиванием или продуванием воздуха), через которые движутся предварительно очищенные стоки. Очистка в биологических прудах основана на процессах, происходящих при самоочищении водоемов. Биологические пруды рассчитываются на нагрузку, зависящую от концентрации загрязнения стоков и температурных условий района расположения. На эффективность работы биологических прудов в качестве очистных сооружений влияет их местоположение, так как в результате исследований [43] было установлено, что пруды, расположенные ниже по течению, удерживают больше углерода, кислорода, азота, калия и фосфора из поверхностных стоков. На рис. 22 представлена схема биологического пруда, имеющего форму траншеи [44].

Рис. 22. Биологический пруд:
1 - дождевые осадки; 2 - территория биологической очистки; 3 - слой стока; 4 - территория с густой растительностью; 5 - направление стока; 6 - избыточный сток; 7 - покрытие; 8 - торф; 9 - слой почвы; 10 - биологический пруд; 11 - инфильтрация; 12 - грунты; 13 - песчаный слой; 14 - территория пруда
Биологические пруды способны не только обеспечивать высокий уровень очистки сточных вод, но и пополнять бассейн подземных вод, питать водоносный горизонт и удачно вписываться практически в любой ландшафт. Недостатком биологических прудов является то, что они способны вызывать термальное загрязнение в водоемах, расположенных ниже по течению.
Испарительные бассейны, наполняемые во время дождей (рис. 23), представляют собой еще один способ очистки поверхностных стоков от загрязнения. Наиболее предпочтительными являются длинные узкие испарительные бассейны или бассейны клиновидной формы, которые, кроме снижения влияния ветра и недопущения взбалтывания загрязненного осадка дна, позволяют контролировать преждевременные сбросы неочищенных вод во время интенсивных дождевых осадков.

Рис. 23. Испарительный бассейн, устраиваемый на территории, прилегающей к автомобильной дороге:
1 - вертикальный стояк с решеткой для сбора мусора; 2 - труба с обратным уклоном для предотвращения заиливания; 3 - каменная наброска для защиты берега; 4 - уровень воды в бассейне; 5 - зона оседания загрязняющих веществ; 6 - водные растения; 7 - входное отверстие; 8 - аварийный водоспуск; 9 - каменная наброска; 10 – траншея под зуб плотины; 11 - цементобетон; 12 - труба для проверки состояния пруда и его технического обслуживания
Процесс очистки стоков в испарительных бассейнах включает:
оседание взвешенных частиц на дне бассейна; поглощение загрязняющих веществ растениями, водорослями и бактериями; распад некоторых загрязнителей. Испарительные бассейны также обладают способностью перемещать растворенные в воде углерод, кислород, азот, калий, фосфор, что является важной характеристикой для защиты озер, рек и их устий от загрязнения бурно развивающимися планктоном и водорослями.
Испарительные бассейны требуют регулярного осмотра, очистки, ремонта входных и выходных отверстий, а также контроля за насекомыми. Недостатком таких бассейнов является то, что они так же, как и биологические пруды, способны вызывать термальное загрязнение в водоемах, расположенных ниже по течению, что значительно ограничивает их применение вблизи особо охраняемых водоемов с чувствительной водной флорой и фауной.
Сооружения, в которых стоки фильтруются через материал, покрытый биологической пленкой, образованной микроорганизмами, использующими органические вещества в качестве питания, являются биофильтрами. В качестве материала, через который фильтруются стоки, применяются щебень, шлак, гравий, керамзит, пластмассы, асбоцемент, ткани и др.
Аэротенки представляют собой резервуары, в которых очищаемые стоки и ил насыщаются непрерывно подаваемым воздухом и перемешиваются (рис. 24). После очистки в аэротенках стоки необходимо подвергать отстаиванию. Если вместо воздуха для окисления используют технический кислород и высокие концентрации активного ила, сооружения носят название окситенки.
В случае, когда для задержания твердых взвешенных частиц, мусора и частично нефтепродуктов устройство очистных сооружений не представляется возможным, на пойме реки или в ее русле устанавливаются железобетонные щитовые заграждения, один из вариантов которых представлен на рис. 25. Степень очистки поверхностных вод от загрязняющих веществ при устройстве таких сооружений определяется требованиями природоохраны речного бассейна.

Рис. 24. Одноступенчатый аэротенк:
1 - аэротенк; 2 - циркулирующий активный ил; 3 – насосная станция; 4 - вторичный отстойник; 5 – первичный отстойник; 6 - избыточный активный ил


Рис. 25. Стационарное щитовое заграждение:
1 - линия регулирования; 2 - железобетонная навесная стенка; 3 - линия расчистки дна; 4 - щитовой затвор; 5 - плавающее бетонное заграждение; 6 - коллектор дождевой канализации; 7 - распределительная камера; 8 - подводящий трубопровод
Таковы основные способы и конструкции для очистки поверхностных стоков техногенных сооружений. Чаще всего для очистки стоков с поверхности дорожно-мостовых сооружений применяются комплексные очистные сооружения, в которых объединяются различные очистные мероприятия и конструкции. Примеры таких комплексных очистных сооружений, применяемых в России, приведены ниже.
В 1977 г. технический проект строительства БАМа предусматривал наиболее совершенную в то время технологию очистки поверхностных стоков перед их сбросом в оз. Байкал [45]. Однако эти очистные сооружения не обеспечивали выполнение требований к качеству очищенных сточных вод. В результате проведенных исследований ВНИИВОДГЕО был предложен новый способ очистки стоков на основе метода биосорбции, не имеющий аналогов в мировой практике. На рис. 26 представлена схема полной биологической очистки и глубокой доочистки сточных вод биосорбционным методом. Биосорбционный метод глубокой доочистки стоков полностью очищает стоки от нефтепродуктов и ПАВ и снижает концентрации остаточных загрязнений в стоках по ряду компонентов до величин ниже показателей, установленных нормативными документами.

Рис. 26. Схема полной биологической очистки и глубокой доочистки сточных вод биосорбционным методом:
1 - здание с решетками и песколовками; 2 - аэротенки; 3 - вторичные отстойники; 4 - промежуточные емкости; 5 - насос; 6 - биосорбер; 7 - установка синтеза озона; 8 - газожидкостный реактор
Институтом «Гипротрансмост» в 1992 г. была разработана и внедрена схема отвода и очистки стоков с поверхности мостового перехода через р. Волгу в г. Волгограде. Сбор ливневого стока предусматривалось производить открытыми водосборными лотками и закрытыми самотечными коллекторами. В состав очистных сооружений на мостовом переходе, проходящем по Волго-Ахтубинской пойме, входили мусороудерживающая решетка, фильтры напорные (пять ступеней - керамзит недробленый, керамзит дробленый, пористые ископаемые угли, активированный уголь), емкости для повторного использования, гидроциклоны, бункера осадка, вакуум-фильтры, узел приготовления известкового молока, подъемно-транспортное и насосное оборудование.
В 1995 г. МосводоканалНИИпроектом была разработана новая технология обработки атмосферных, поливомоечных сточных вод и образующегося осадка, внедрение которой было выполнено на мостовом переходе МКАД через р. Москву у с. Спас. Схема очистки предусматривала следующее: дождевые стоки с поверхности мостового полотна и проезжей части автомобильной дороги через колодец с мусороудерживающей решеткой поступали в регулирующую емкость; после двух часов статического отстаивания вода забиралась из среднего слоя насосом и фильтровалась через фильтры с различной загрузкой; затем вода поступала в резервуар очищенных стоков, а оттуда - в р. Москву. Осадок из регулирующей емкости насосом подавался на песколовку, отстоянная вода с песколовки отводилась в нефтеразделитель, обезвоженный осадок вывозился на полигоны, а нефтепродукты - на утилизацию или сжигание. В состав очистных сооружений входили мусороудерживающая решетка, регулирующая емкость, пористые фильтры I, II, III ступеней, насосное оборудование, резервуар очищенных стоков, песколовка и нефтеразделитель.

Рис. 27. Очистные сооружения дождевой канализации на МКАД в районе Спасского моста, Рублевского и Карамышевского гидроузлов:
1 - фильтр МИУ-Сорб (I ступень); 2 - фильтр МИУ-Сорб (II ступень); 3 - фильтры глубокой очистки сорбционные; 4 - резервуар чистой воды; 5 - погружной насос для подачи дождевых вод на фильтрацию; 6 - переносной погружной насос для подачи дождевых вод на фильтрацию (зимний режим работы); 7 - щелевые перегородки; 8 - мусорозадерживающая корзина; 9 - отводящий коллектор; 10 - решетка для задержания плавающих веществ; 11 - поворотные трубы диаметром 200 мм для отвода нефтяной эмульсии; 12 - тонкослойные пластины
На рис. 27 представлена схема очистки дождевых вод на площадках МКАД, разработанная Союзводоканалпроектом и Союздорпроектом в 1997 г. В разработанном проекте была использована технология очистки атмосферных вод от нефтепродуктов и взвешенных веществ, предложенная ВНИИВОДГЕО и фирмой «МИУ-Сорб». Участки с очистными сооружениями располагались по обоим берегам р. Москвы с верхней стороны Спасского моста МКАД, в нижнем бьефе Рублевского и верхнем бьефе Карамышевского гидроузлов.
В последние годы на территории России в качестве очистных сооружений применяются конструкции, выполненные из габионов, действие которых основано на принципе фильтрации [46, 47].
В 1998 г. на подъезде к причалу ДРСУ «Северный» с левой стороны движения МКАД под существующим мостом через Химкинское водохранилище были устроены очистные сооружения, одновременно выполнявшие функцию ограждающих сооружений для защиты опор моста, насыпи реконструируемой МКАД и прилегающей территории от местных размывов. Очистные сооружения разрабатывались в Союздорпроекте и представляли собой замкнутую акваторию, ограниченную с одной стороны берегом Химкинского водохранилища и насыпью с другой стороны. Со стороны берега была устроена подпорная стенка из габионов типовой конструкции в два яруса, а со стороны акватории была возведена насыпь из камня, которая застилалась матрацами Рено. На площадке, полученной после отсыпки камня, были высажены макрофиты, являющиеся лучшими экологическими фильтрами, позволяющими снижать концентрации нефтепродуктов в стоках в 5 - 20 раз (рис. 28).
Для очистки поверхностных стоков наиболее перспективными являются природные сорбенты - шунгит и цеолит, - обладающие высокими прочностными характеристиками и адсорбционными показателями. Силикатная основа этих минералов определяет их прочность и позволяет дробить этот материал и получать сорбент с заданным гранулометрическим составом.

Рис. 28. Очистные сооружения на подъезде к причалу ДРСУ «Северный» (МКАД, км 74):
1 - отсыпка камнем; 2 - геотекстиль; 3 - песок; 4 - матрасы Рено (3×2×0,17м); 5 - выравнивающий слой из щебня М 800; 6 - габионы Джамбо (1×3×0,5 м); 7 - ил; 8 - сетка с геотекстилем
Углерод, присутствующий в шунгите, позволяет сорбировать растворенные в воде нефтепродукты с той же эффективностью, что и активированный уголь.
В состав цеолита входят оксиды кремния и алюминия, а также хлорит, кальцит, гидрооксиды железа, оксиды кальция, калия, натрия, магния, железа, титана и фосфора [48]. Кристаллическая структура цеолита позволяет ему сорбировать ионы растворенных в воде металлов, а для воспроизведения обратного процесса необходимо химическое воздействие. Десорбция шунгита возможна только при высокой температуре или обработке щелочью. Все это позволяет сделать вывод, что насыщенные загрязнителями сорбенты - шунгит и цеолит - имеют низкий класс опасности.
Технология очистки поверхностных стоков от загрязнения с помощью природных сорбентов в фильтрационном бассейне была разработана ЗАО ТПО «Ландшафтная архитектура» [49, 50, 51], которым также было получено свидетельство на полезную модель «Система очистки дождевых вод» Российского агентства по патентам и товарным знакам № 8711 от 16 декабря 1998 г.
Внедрение предлагаемой технологии очистки поверхностных стоков было произведено в 1998 г. совместно с Союздорпроектом на опытном очистном сооружении, расположенном на 91 км МКАД при пересечении с р. Яузой. Результаты мониторинга, проведенного с октября 1998 г. по июль 1999 г., подтвердили высокую эффективность работы сооружения по очистке от нефтепродуктов, взвешенных веществ, марганца, кобальта и цинка (рис. 29, 30).

Рис. 29. План фильтрационного бассейна на берегу р, Яузы (МКАД):
1 - ось очистного сооружения; 2 - обратная засыпка (песок), поверхностный слой - грунт с посевом газонной травы; 3 - трубы для слива воды в профилактических целях (4 шт.); 4 - существующее берегоукрепление
В фильтрационном бассейне создаются условия, моделирующие процесс самоочистки воды в природе, при этом движение воды в бассейне происходит за счет ее потенциальной энергии, переходящей в кинетическую из-за разности высотных отметок входа и выхода сооружения. Стенки бассейна и его основание выполняются с применением габионов, матрасов Рено и системы Террамеш, поэтому он легко вписывается в окружающую обстановку и становится элементом ландшафта.

Рис. 30. Схема фильтрационного бассейна на берегу р. Музы (МКАД):
1 - шунгит; 2 - цеолит; 3 - геотекстиль; 4 - оклеенная гидроизоляция на нефтебитуме в два слоя стеклорубероидом; 5 - дренажный слой
Существующие в настоящее время очистные сооружения представляют собой сооружения индустриального типа, состоящие из элементов, чуждых природе, - металл, бетон, химические реагенты и т.д. Их строительство требует проведения инженерных строительных работ, проложения коммуникаций, помимо этого они зачастую имеют вредные, а иногда и опасные отходы и как любые другие промышленные объекты не исключают возможности аварийных ситуаций. В результате этого наиболее сильное, иногда необратимое воздействие испытывает геологическая среда.
Фильтрационный бассейн, разработанный ЗАО ТПО «Ландшафтная архитектура», не требует возведения фундаментов, специального отвода земли и т.д., кроме того, при устройстве такого бассейна решается проблема эрозии путем гашения энергии потока воды, выходящего из водосбросных лотков.
Принцип действия фильтрационного бассейна состоит в следующем: дождевые стоки с проезжей части автомобильной дороги или мостового полотна аккумулируются в водосборных лотках, сбрасываются в водосбросные лотки и далее самотеком поступают в отстойник для первичной гравитационной очистки, в которой осаждаются наиболее крупные песчаные фракции и собирается пленка из нерастворенных нефтепродуктов; затем сток переливом направляется в фильтрационную часть бассейна, где, проходя через слой природного сорбента, очищается от взвешенных частиц, нефтепродуктов и металлов и после этого сбрасывается в водоем.
Техническое обслуживание фильтрационной части бассейна состоит в периодической замене сорбента, его вывозе и контроле качества воды на выходе из сооружения, а эксплуатация отстойника проводится традиционным способом: механическое удаление осадка, плавающего мусора и нефтяной пленки и вывоз осадка в установленном порядке.
Фильтрационные бассейны данного типа были также применены для очистки стоков с поверхности дорожно-мостовых сооружений на мостовом переходе через р. Клязьму на автомобильной дороге Москва - Казань (рис. 31, 32), на мостовом переходе через р. Днепр на автомобильной дороге Москва - Минск (рис. 33), на мосту-эстакаде через р. Бзугу на автомобильной дороге Новороссийск - Тбилиси - Баку на участке обхода г. Сочи (рис. 34, 35
), на мостовом переходе через р. Упу на автомобильной дороге Москва - Белгород на участке Серпухов - Тула (рис. 36, 37, 38, 39, 40), у путепровода на автомобильной дороге Москва - Белгород - Симферополь (рис. 41).

Рис 31. Фильтрационный бассейн на автомобильной дороге Москва - Казань (мостовой переход через р. Клязьму). Камера гравитационной очистки ливневого стока;
1 - откос автомобильной дороги; 2 - откос насыпи очистного сооружения

Рис 32. Фильтрационный бассейн на автомобильной дороге Москва - Казань (мостовой переход через р. Клязьму). Камера восходящей фильтрационной очистки ливневого стока:
1 - откос автомобильной дороги; 2 - откос насыпи очистного сооружения
Для предотвращения проникания загрязненных стоков через сооружения в верхние водоносные подземные горизонты внутренние поверхности всех емкостей обрабатываются битумной мастикой, которая выполняет роль необходимой гидроизоляции, действует как связующий элемент и защищает внешнюю сетку габионов и матрасов Рено от механических повреждений и химического воздействия агрессивной водной среды.
Малые очистные сооружения с применением габионов и матрасов Рено, применяемые в долинах небольших водотоков, разработаны НПО «Эколандшафт» [52, 53] и представляют собой каскад водоемов, удачно вписывающихся в ландшафт.


Рис 34. Фильтрационный бассейн на автомобильной дороге Новороссийск - Тбилиси - Баку на участке обхода г. Сочи (мост-эстакада через р. Бзугу)
На рис. 42 представлен малый очистной комплекс, сооруженный в районе зоны отдыха Битца на МКАД. Очистные сооружения с использованием габионов способны не только очищать загрязненные поверхностные стоки с автомобильных дорог и мостов, но и защищать склоны от водной эрозии.

Помимо очистных сооружений, моделирующих процессы самоочистки природных экологических систем, существует значительное количество очистных сооружений индустриального типа, применяемых в России. Одним из примеров сооружений индустриального типа являются очистные сооружения для очистки дождевых нефтесодержащих стоков, разработанные НПФ «Экотранс» [54] и применяемые в г. Санкт-Петербурге и других регионах России.

1 - телескопические лотки; 2 - магистральный лоток; 3 - очистные сооружения; 4 - подошва откоса

|
|
|
|
|
|
|
1 - коробчатый габион (1×1 м); 2 - подводный лоток; 3 - гидроизоляция; 4 - матрас Рено; 5 - песок средней крупности; б - засев трав на гумусированном слое h = 10 см; 7 - щит перекрытия |
|

1 - песок средней крупности; 2 - камера для очистки воды на зимний период

1 - телескопические лотки; 2 - подводный лоток
Сброс стоков с поверхности дорожно-мостовых сооружений, прошедших очистку, производится в водоемы через береговые выпуски, являющиеся пассивными гидротехническими сооружениями. Выпуски не влияют на гидрологический режим водных объектов, но сами находятся под воздействием составляющих гидрологический режим показателей - колебаний уровней, расходов, скоростей, отметок дна, волнений и т.д. и поэтому требуют инженерной защиты.
Проектирование выпусков сточных вод необходимо производить с учетом требований комплексного использования и охраны водных ресурсов и с учетом комплексного использования водопотребителями участка реки или водоема [55]. При выборе места размещения выпуска, типа конструкции и защитных мероприятий необходимо максимально сохранять морфологические черты участка и условия протекания естественных гидрологических процессов.
Таковы основные способы снижения уровня загрязнения ливневых и талых поверхностных стоков с автомобильных дорог и мостов с помощью специальных сооружений, применяемых в России и за рубежом. Каждый из рассмотренных способов имеет свои достоинства и недостатки, а также область применения, определяемую целым комплексом гидрологических, геологических, климатических и метеорологических характеристик территории строительства.

1 - дренажный слой (щебень); 2 - заполнитель (шунгит); 3 - заполнитель (цеолит); 4 - габионы; 5 - растекателъ; 6 - геотекстиль; 7 - оклеенная гидроизоляция; 8 – телескопические водосбросные блоки; 9 - матрас Рено

Рис. 42. Очистное сооружение в районе зоны отдыха Битца на МКАД:
1 - полотно автомобильной дороги; 2 - выходной оголовок водовыпуска; 3 - экстремальное озеленение откоса с применением биотекстиля; 4 - матрасы Рено; 5 - коробчатые габионы; 6 - приемный водоем, заселенный макрофитами; 7 - водослив из матрасов; 8 - геотекстиль
Экологическую безопасность природных систем и снижение негативного воздействия автомобильных дорог и мостов на окружающую среду можно обеспечить только в результате взаимодействия различных мероприятий, а именно: своевременного сбора и отведения загрязненного стока с поверхности автомобильной дороги и мостового полотна на очистные сооружения; защите откосов земляного полотна и склонов прилегающей территории от эрозии; исключения загрязнения поверхностными стоками водоемов и подземных вод и т.д.
Согласно закону Российской Федерации от 19 декабря 1991 г. № 2060-1 «Об охране окружающей природной среды» при проектировании, строительстве, реконструкции, эксплуатации предприятий, зданий и сооружений в промышленности, сельском хозяйстве, на транспорте, в энергетике и жилищно-коммунальном хозяйстве должны предусматриваться мероприятия по охране природы, рациональному использованию и воспроизводству природных ресурсов, а также выполняться требования экологической безопасности проектируемых объектов и охраны здоровья населения.
На стадии проектирования автомобильных дорог и мостовых переходов необходимо предъявлять жесткие экологические требования к разрабатываемой документации и принимаемым проектным решениям [56]. Выбор и назначение типа очистного сооружения должны производиться с учетом правильности его сочетания с прилегающей местностью, схемой дорожной водоотводной системы и зависеть от вида загрязняющих веществ в сточных водах, их концентрации и класса опасности.
В настоящее время наиболее важным является вопрос прогнозирования влияния автомобильных дорог и мостовых переходов на окружающую среду на определенный период и это прогнозирование необходимо выполнять на основе полной и точной информации о среде, на которую оказывается непосредственное влияние. Тем не менее, выполнение всех условий прогнозирования не представляется возможным из-за несовершенных способов учета и сбора информации, кратковременности наблюдений за экологическими изменениями и субъективности получаемой информации.
Степень загрязнения поверхностных сточных вод автомобильных дорог и мостов и влияние загрязнения на окружающую среду от этих техногенных объектов в России до сих пор не определена и не регламентируется количественно в нормативных документах, что в свою очередь делает невозможным контроль за загрязнением стоков природоохранными организациями. Поэтому решение данной проблемы возможно только после разработки нормативных документов на снижение загрязнения поверхностных стоков автомобильных дорог и мостов и регламентации степени очистки поверхностных стоков.
На территории России исследования загрязненности сточных вод с автомобильных дорог и мостов, а также работоспособности систем очистки стоков не производились, а выполнялись только обобщения опыта прошлых лет и результатов разработок, выполненных в Союздорпроекте и ГП «Росдорнии». Имеющиеся результаты исследований химического состава поверхностного стока автомобильных дорог Московской области, выполненных ГП «Росдорнии», не могут характеризовать в полной мере степень воздействия дорожных объектов на окружающую среду и стать основой для нормирования загрязненности стока.
При разработке проектов очистных сооружений многие проектные организации до сих пор берут за основу методологию расчета городских водоотводных и очистных систем, которая имеет существенные недостатки. По этой методологии в 1982 г. Союздорпроектом было впервые разработано очистное сооружение на мостовом переходе через канал Москвы-реки у пос. Хлебниково. На этом объекте была применена система поверхностного водоотвода со сбором и отводом стоков в типовые очистные сооружения, разработанные и применяемые для городских условий, в соответствии со СН 496-77 [57]. Применение в настоящее время устаревшей методологии объясняется тем, что проектные организации не обладают систематизированной информацией имеющегося опыта строительства очистных сооружений, нормативные документы на очистку стоков с автомобильных дорог и мостов отсутствуют, а соответствующие научные исследования в этой области не проводятся.
В настоящее время применительно к охране окружающей среды при проектировании автомобильных дорог и мостовых переходов на территории России действует ряд официальных документов, перечень которых приведен в «Рекомендациях по учету требований по охране окружающей среды при проектировании автомобильных дорог и мостовых переходов» ФДД Министерства транспорта Российской Федерации [58].
Кроме этого, существует также ряд документов рекомендательного характера [59, 60, 61], устанавливающих требования максимально допустимых расчетных концентраций загрязняющих веществ, содержащихся в ливневых и талых стоках с поверхности автомобильных дорог и мостов. Основой нормирования качества воды в водных объектах, согласно этим документам, является совокупность допустимых значений показателей состава и свойств воды, т.е. предельно допустимых концентраций вредных веществ в водоеме, а основным показателем при выборе и назначении очистного сооружения являются его надежность, апробация, удобство и стоимость.
В существующих на территории России нормативных и рекомендательных документах организация отвода воды с поверхности автомобильных дорог и мостов рассматривается как самостоятельное мероприятие, а не как часть целого комплекса снижения негативного воздействия техногенных сооружений на экологию.
Существуют также документы рекомендательного характера, рассматривающие необходимость обеспечения экологической безопасности при зимнем содержании автомобильных дорог и устройства водоотвода и очистных конструкций дорожно-мостовых сооружений.
В некоторых документах по обеспечению экологической безопасности в придорожной полосе приводятся достаточно противоречивые данные о необходимости устройства очистных сооружений. Согласно Рекомендациям [62], очистные сооружения необходимо устраивать в том случае, если «…автомобильная дорога проходит в непосредственной близости от источников питьевой воды и водохранилищ». При этом рекомендуемая конструкция очистного сооружения представляет собой фильтрационный бассейн, располагаемый «…параллельно берегу водохранилища или источника питьевой воды с обеспечением водотока». Следует заметить, что подобная организация очистки сточных вод, загрязненных противогололедными реагентами, не является допустимой с точки зрения сохранения экологического баланса в водоемах, в которые отводятся подобные, «условно чистые» стоки.
Рекомендации [62, 63] относительно «…обеспечения водоотвода путем заложения перехватывающих и отводящих дренажей, создания в сторону кювета поперечного уклона придорожной полосы не менее 5 - 7° и придания форме разделительной полосы выпуклого профиля» с целью «…снижения отрицательного влияния противогололедных веществ на растения и почву в местах с большим количеством вносимых противогололедных материалов…» носят неопределенный характер. Из Рекомендаций не ясно, каким образом предлагается организовывать отвод талых стоков с поверхности разделительной полосы и проезжей части (если самотеком на обочины, по откосам и на придорожную полосу, тогда загрязненные стоки распространяются на значительную территорию) и каким образом перехватывающие и отводящие дренажи могут снизить отрицательное воздействие противогололедных реагентов на прилегающую к автомобильной дороге территорию.
На степень загрязнения прилегающей к автомобильной дороге и мостовому переходу территории и водоемов непосредственное влияние в зимний период оказывает правильность организации работ по зимнему содержанию. Согласно Рекомендациям [62], в «…случае наличия сведений о переносимом снеге, значительной скорости ветра следует применять фракционированную соль и песчано-солевые смеси, а не рассолы». Возникает вопрос, каким образом возможно организовать работы по содержанию автомобильной дороги в зимний период при отсутствии данных о направлении ветра, заносимости участков и т.д., т.е. всех сведений, которые являются основой для организации процесса содержания дорожно-мостовых сооружений в зимний период с условием обеспечения экологической безопасности для придорожной полосы и водоемов.
Подобное игнорирование отрицательного воздействия загрязненных стоков с поверхности дорожно-мостовых объектов на окружающую среду затрудняет не только организацию работ по содержанию автомобильных дорог и мостов в течение всего года, но и разработку оптимальных очистных конструкций и дальнейшее совершенствование способов организации водоотвода.
Для сохранения экологического баланса в природной среде при эксплуатации автомобильных дорог и мостов необходимо проводить исследования влияния существующих дорожно-мостовых техногенных объектов на прилегающую территорию и водоемы с отбором проб сточных вод и их лабораторным анализом. Отбор проб необходимо производить в течение определенного периода времени, что позволит получать более достоверную информацию о химическом составе стоков и выполнять их более качественную оценку. Кроме этого, необходимо проводить исследования процесса формирования загрязненности автомобильных дорог и мостов и его регулирования природными факторами (осадки, ветер и т.д.) круглогодично в течение многих лет. Уровень загрязнения поверхностных стоков зависит от количества выпавших дождевых осадков и изменяется в зависимости от степени разбавления загрязняющих веществ выпавшим объемом осадков.
Подобные исследования необходимо проводить на объектах с различными транспортно-эксплуатационными показателями и в различных климатических районах России. На основе данных об особенностях и степени загрязненности стоков с автомобильных дорог и мостов в различных природно-климатических условиях, а также с учетом особенностей формирования стока на малых техногенных водосборах будет возможной разработка научно-практических решений и нормативных документов на снижение загрязненности стоков с поверхности дорожно-мостовых объектов. Кроме этого, будет возможным назначать оптимальные очистные мероприятия и устраивать наиболее приемлемые очистные конструкции, что позволит избежать необоснованных затрат.
Основой нормативно-методологической базы для проектирования поверхностного водоотвода автомобильных дорог и мостов являются методология определения максимального дождевого стока и расчетные критерии вероятности превышения для расчетов поверхностного стока.
На условия формирования максимального стока дождевых вод влияют множество факторов, проявление которых для каждого конкретного региона и водосбора индивидуально. Все эти факторы делятся на факторы естественного регулирования, когда максимальный сток формируется в природных условиях на момент их изучения и искусственного регулирования, когда условия формирования максимальных расходов воды складываются под влиянием хозяйственной деятельности человека. Некоторые факторы присущи отдельным климатическим районам, а другие, например, метеорологические факторы, имеют место в любом районе, но с разной степенью значимости. Отдельные факторы формирования максимального дождевого стока по-разному проявляются на водосборах различной величины под влиянием формы водосбора, уклонов стекания и др.
Воздействие всех факторов, влияющих на особенности формирования максимального стока дождевых вод, необходимо рассматривать с учетом метеорологических особенностей района строительства автомобильной дороги и мостового перехода, требуемой ВП расчетных дождевых максимумов и времени формирования максимального поверхностного стока на водосборах с различными площадями, конфигурациями, уклонами и типами поверхностей стекания.
На территории России для гидрологического обоснования объектов всех отраслей капитального строительства, в том числе транспортного, метод расчета максимального стока и его параметры должны обеспечивать определение максимальных расходов дождевого стока со значениями вероятности превышения 0,1; 0,33; 1; 2; 3: 5; 10%. Однако в диапазоне ВП от 0,1 до 10% фактические условия формирования поверхностного стока на дорожно-мостовых техногенных поверхностях с учетом малых уклонов стекания изучены слабо и не имеется достаточного количества натурных данных максимальных дождевых расходов.
До настоящего времени в России при проектировании систем поверхностного водоотвода автомобильных дорог и мостов проектные организации применяют различные методики расчета максимальных дождевых расходов воды по своему усмотрению. Это объясняется отсутствием единой методики расчета максимальных дождевых расходов, учитывающей все факторы и особенности формирования стока на техногенных водосборах, что приводит к принятию неравнозначных проектных решений для объектов одинакового значения.
Помимо вышеуказанного, в России до настоящего времени не существует нормативных документов, регламентирующих положения о проектировании систем дорожно-мостового водоотвода с обязательной очисткой сточных вод.
Таковы основные особенности проектирования очистных сооружений на автомобильных дорогах и мостовых переходах, а также вопросы, которые необходимо решать для обеспечения максимального снижения негативного воздействия транспортных средств и дорожно-мостовых техногенных объектов на прилегающую территорию и водоемы. Только в результате проведения необходимых исследований, которые были указаны выше, будет возможной разработка универсальной методики оценки и прогнозирования качества сточных вод с поверхности автомобильных дорог и мостов, а также расчетных критериев загрязненности стоков, разработка типовых очистных сооружений, сопряженных с различными системами и конструкциями дорожно-мостового поверхностного водоотвода.
Сбор и отвод поверхностных сточных вод автомобильных дорог и мостов на очистные сооружения являются основой обеспечения экологического функционирования дорожно-мостовых сооружений и безопасного движения транспортных средств по ним.
Согласно данным [64, 65, 66, 67], загрязнение поверхностных вод на территории России все еще остается значительным несмотря на то, что наблюдается существенное снижение сброса основных загрязняющих веществ в водные объекты. Основными факторами экологической опасности являются возрастание риска возникновения техногенных катастроф во всех отраслях промышленности, реализация экологических проектов строительства техногенных сооружений и применение несовершенных технологий; ухудшение качества питьевой воды - более 70% поверхностных вод России уже потеряли качество чистой питьевой воды, а 30% всех подземных вод имеют уровень загрязнения, характеризующийся как опасный.
Наиболее распространенными загрязняющими веществами поверхностных вод России являются нефтепродукты, легко окисляемые органические вещества, соединения металлов и специфические загрязняющие вещества, основными источниками которых остаются различные виды производств, предприятия коммунального хозяйства и поверхностный сток с внегородских автомобильных дорог и мостов, а также городских территорий. Только в 2000 г. сточные воды промышленных предприятий и поверхностный сток с территории г. Москвы привели к увеличению концентраций органических веществ, фенолов и нефтепродуктов в р. Москве на 2 - 5 ПДК, а в р. Яузе наблюдался рост концентраций хлоридов и минерализации, что было обусловлено поступлением сточных вод с ТЭЦ-27 и сбросами загрязненного противогололедными реагентами снега в зимнее время непосредственно в открытое русло реки [66]. Помимо этого, за последние 20 - 30 лет на территории Московской области наблюдается увеличение техногенного загрязнения подземных вод в пределах промышленной, селитебной застройки и территории сооружений транспортного комплекса.
Дальнейшее игнорирование сложившейся обстановки с загрязнением поверхностных и подземных вод объектами и предприятиями автомобильно-транспортного комплекса может привести только к ухудшению общей экологической ситуации. Возрастание уровня загрязнения водной среды является в настоящее время характерным для всех развитых стран, поэтому изучение проблемы влияния на окружающую среду и человека техногенных сооружений и выделяемых ими загрязняющих веществ является приоритетной.
В настоящее время в разрешении этой проблемы особого внимания требуют исследования, направленные на совершенствование методик расчета и проектирования систем дорожно-мостового водоотвода, наблюдение, сбор и систематизацию информации о влиянии техногенных стоков на экологию на существующих автомобильных дорогах и мостах. Все это сделает возможным разработку обоснованных и эффективных очистных мероприятий и позволит рассматривать водоотводные и очистные сооружения как часть комплекса вопросов по снижению отрицательного воздействия дорожно-мостовых техногенных сооружений на окружающую среду.
1. Ильина А.А. Экологические аспекты очистки поверхностных стоков с автомобильных дорог. - М., 2004. - (Сб. науч.-метод. работ по повышению уровня обоснованности проектов автомоб. дорог и сооружений на них / Союздорпроект; Вып. 7).
2. Ильина А.А. Влияние автомобильного транспорта на загрязнение поверхностных стоков с автомобильных дорог и мостов // Новости в дор. деле: Науч.-техн. информ. сб. / ФГУП «ИНФОРМАВТОДОР». - М, 2004. - Вып. 2.
3. Ильина А.А. Характерные проектно-строительные недостатки организации системы отвода поверхностных вод в откосные водосбросные лотки. - М., 2001.- (Сб. науч.-метод. работ по повышению уровня обоснованности проектов автомоб. дорог и сооружений на них / Союздорпроект; Вып. 5).
4. Глухов В. Экономические основы экологии. - С.-Пб.: Спец. лит., 1997.
5. Fleck A.M., Lacki M.J., Sutherland J. Response by white birch (Betula papyrifera) to road salt applications at Cascade Lakes, New York // Journal of Environmental Management. - 1988.
6. Hofstra G., Smith D.W. The effects of road
de-icing salt on the levels of ions in roadside soils in southern
7. Isabelle P.S., Fooks L.J., Keddy P.A., Wilson S.D. Effects of roadside snowmelt on wetland vegetation: An experimental study // Journal of Environmental Management. - 1987.
8. Demers C.L., Sage Jr. R.W. Effects of road de-icing salt on chloride levels in four Adirondack streams // Water, Air and Soil Pollution. - 1989.
9. Гурьев Т.А., Тутыгин Г.С. Тяжелые металлы в снежном покрове придорожной полосы // Автомоб. дороги. - 1995. - № 1-2.
10. Алексинская Л.Н., Сает Ю.Е., Филиппов В.И. Химическое загрязнение речных систем при сбросе снега с урбанизированных территорий // Очистка и использование поверхностного стока с территорий городов и промплощадок: Материалы семинара / Общество «Знание». - М., 1981.
11. Small Spills: Preventing Oil Spills / United States Coast Guard. - 2001.
12. Brake manufacturers look at a pollution from
copper brake pads / Environmental Protection Agency. -
13. Contribution of Heavy Metals to Storm Water
from Automative Disc Brake Pad Wear / Wookward-Clyde Consultants. -
14. Lars Förlin. Tyres are spreading dangerous chemicals / Swedish Research for Sustainability, Formas, the Swedish Council for Environment, Agricultural Sciences and Spatial Planning. - 2003. - № 3-4.
15. Газета «Московская правда», № 62 (24830) от 6 апреля 2004 г.
16. Перевозников Б.Ф. Водоотвод с автомобильных дорог. - M.: Транспорт, 1982.
17. Арцимович П.М., Казарян В.А. Качественный состав поверхностного стока с селитебных территорий крупных городов // Очистка и использование поверхностного стока с территорий городов и промплощадок: Материалы семинара / Общество «Знание». - М., 1981.
18. Рокшевская А.В., Хват В.М. Исследование твердой фазы поверхностного стока с городской территории // Очистка и использование поверхностного стока с территорий городов и промплощадок: Материалы семинара / Общество «Знание». - М., 1981.
19. Смирнова Р.Д., Зотова В.И. Гигиеническая оценка поверхностного стока с городской территории // Очистка и использование поверхностного стока с территорий городов и промплощадок: Материалы семинара / Общество «Знание». – М., 1981.
20. Balades J.D., Cathelain M., Merchandise P., Peybemard J., Pilloy J.C. Chronic pollution of intercity motorway runoff waters // Water Science and Technology. - 1985.
21. Wada Y., Miura H. Quantification of accumulated leads on road surfaces and their runoff characteristics // Water Science and Technology. - 1984.
22. Brod H.G. Auswirkungen von Auftausalzen auf Boden, Oberflächen- und Grundwasser entlang von Bundesautobahnen. II. Grandwasser: Z. Vegetationstechn. Landschafs- und Sportstättenbau. - 1979. - № 3.
23. Peter E. Church, Paul J. Friesz.
Effectiveness of Highway Drainage Systems in Preventing Road-Salt Contamination
of Groundwater: Preliminary Findings. -
24. Examination of pollution in soil and water along roads // Nordic Road & Transport Research. - 2000. - № 3.
25. Ильина А.А. Мероприятия по снижению уровня загрязнения ливневых и талых поверхностных стоков с автомобильных дорог // Новости в дор. деле: Науч.-техн. информ. сб. / ФГУП «ИНФОРМАВТОДОР». - М., 2004. - Вып. 3.
26. Самодурова Т.В. Специализированные дорожные прогнозы и ресурсосберегающие технологии зимнего содержания дорог на их основе // Науч.-техн. обеспечение реформы ЖКХ: Тез. и докл. конф. - М.: Прима-Пресс-М., 2002.
27. Бресткин С.В. Погодный мониторинг, его роль и место в технологии зимнего содержания дорог с использованием реагента ХКНМ // Науч.-техн. обеспечение реформы ЖКХ: Тез. и докл. конф. - М.: Прима-Пресс - М., 2002.
28. Мазлин В.М. Перспективы производства и применения противогололедньгх реагентов в России // Науч.-техн. обеспечение реформы ЖКХ: Тез. и докл. конф. - М.: Прима-Пресс – М., 2002.
29. Гладштейн О.И., Марков А.Ю., Новиков М.Г. Новые технологии изоляции источников загрязнения окружающей среды // Вода и экология. - 2000. - № 1.
30. Яковлев С.В., Ласков Ю.М. Канализация. - М.: Стройиздат, 1978.
31. Eva-Lou Gustafsson and Kaj Rolf. Heavy metals in surface water are retained by sand filters / Swedish Research for Sustainability, Formas, the Swedish Council for Environment, Agricultural Sciences and Spatial Planning. - 2001. - № 2.
32. Storm Water Technology Fact Sheet. Sand
filters / EPA. -
33. Есенкова Н.П., Бачерникова С.Г., Михалькова А.И. Нетканые материалы - против загрязнения. Нетканые превентивные средства - новый подход к обеспечению экологической безопасности при эксплуатации дорог и автосервисных комплексов // СтройПРОФИль. - 2002. - № 5.
34. Fletcher Т., Wong Т., Breen P. Buffer Strips, Vegetated Swales and Bioretention Systems / Australian Runoff Quality Guidelines. - 2003.
35. Сергеев В.В., Якимова Н.И., Папурин Н.М. Применение углеродных сорбентов нового поколения для очистки питьевой и сточной воды (промышленной и ливневой) // Вода и экология. - 1999. - № 1.
36. Phillips N. Decisionmaker's Stormwater
Handbook / The Terrene Institute. -
37. Infiltration Basins: A Practical Manual for
Planning and Design Urban BMPs / Metropolitan
38. Infiltration Basins: A Practical Manual for
Planning and Design Urban BMPs /
39.
40. Storm Water Technology Fact Sheet.
Infiltration Drainfields / EPA. -
41. Storm Water Technology Fact Sheet.
Infiltration Trench / EPA. -
42. Ильина А.А. Дренирующий асфальтобетон и его работоспособность в системе поверхностного водоотвода автомобильных дорог // Автомоб. дороги: Информ. сб. / Информавтодор. - М., 2002. - Вып. 3.
43. Reed S.C, Middlebrooks E.J., Crites R.W Natural Systems for Waste Management and Treatment / McGraw-Hill. - NY, 1988.
44. Storm Water Technology Fact Sheet.
Bioretention / EPA. -
45. Щедров С.Н. Новая технология очистки сточных вод // Трансп. стр-во. - 1990. - № 9.
46. Методические рекомендации по применению габионных конструкций в дорожно-мостовом строительстве / ООО «Организатор», Союздорпроект. - М., 2001.
47. Перевозников Б.Ф. Анализ проектных решений по использованию габионных структур и конструкций при устройстве открытых систем водоотведения и очистки сточных вод с проезжей части автомобильных дорог и мостовых переходов. - М., 2000. - (Сб. науч.-метод. работ по повышению уровня обоснованности проектов автомоб. дорог и сооружений на них / Союздорпроект).
48. Цицишвили Г.В., Андроникашвили Т.Г., Киров Г.Н. Природные цеолиты. - М.: Химия, 1985.
49. Комплекс сооружений для инженерной защиты склонов и очистки поверхностных вод / ЗАО ТПО «Ландшафтная архитектура». - М., 1999.
50. Новый способ очистки поверхностных вод - фильтрационный бассейн / ЗАО ТПО «Ландшафтная архитектура». - М., 1999.
51. Экспертное заключение по комплексу сооружений, предназначенных для инженерной защиты склонов и очистки поверхностных вод от загрязнения, разработанных ЗАО ТПО «Ландшафтная архитектура» / Ин-т Геоэкологии РАН. - М., 1999.
52. Метод «Эколандшафт»: [Буклет] / НПО «Эколандшафт». - М., 1998.
53. Метод «Эколандшафт» // Строит. эксперт. - 1998. - № 16 (35).
54. Поставить заслон нефтесодержащим стокам // Пром.-строит. обозрение. - 2003. - № 67.
55. Рекомендации по размещению и проектированию рассеивающих выпусков сточных вод / Гос. гидрологич. ин-т Госкомгидромета. - М.: Стройиздат, 1981.
56. Ильина А.А. Проблема загрязнения окружающей среды поверхностными стоками с автомобильных дорог и мостовых переходов // Новости в дор. деле: Науч.-техн. информ. сб. / Информавтодор. - М., 2003. - Вып. 3.
57. Временная инструкция по проектированию сооружений для очистки поверхностных сточных вод: СН 496-77 / Госстрой СССР. - М.: Стройиздат, 1978.
58. Рекомендации по учету требований по охране окружающей среды при проектировании автомобильных дорог и мостовых переходов / ОАО «Гипродорнии». - М., 1995.
59. Методические рекомендации по обеспечению природоохранных требований при проектировании автомобильных дорог в центральной полосе европейской части России / Всерос. НИИ Охраны природы Госкомэкологии России и Правительства Москвы., - М., 1999.
60. Рекомендации по прогнозированию трансформации загрязнений в малых реках и русловых водохранилищах на них / Союзгипроводхоз. - М., 1989.
61. Методические указания по учету требований охраны окружающей среды при проектировании работ по строительству мостов / Гипростроймост. - М., 1992.
62. Рекомендации по обеспечению экологической безопасности в придорожной полосе при зимнем содержании автомобильных дорог / ФГУП «Саратовский научно-производственный центр «Росдортех». - М., 2003.
63. Руководство по борьбе с зимней скользкостью на автомобильных дорогах / ГП «Росдорнии». - М, 2003.
64. Государственный доклад «О состоянии окружающей природной среды в 1996 году» / Центр Междунар. проектов. - М., 1997.
65. Злотникова Т.В. Состояние и анализ Федерального экологического законодательства на современном этапе развития Российской Федерации. - М: Рос. экол. федер. информац. агентство. - М, 1998.
66. Государственный доклад «О состоянии окружающей среды Московской области за 2000 год» / Департамент природных ресурсов по центральному региону Минприроды России. - М.: Изд-во «НИА-Природа», 2001.
67. Государственный доклад «О состоянии и об охране окружающей среды Российской Федерации в 2001 году» / Минприроды России. - М., 2001.