
МИНИСТЕРСТВО СЕЛЬСКОГО ХОЗЯЙСТВА
РОССИЙСКОЙ ФЕДЕРАЦИИ
МЕТОДИЧЕСКИЕ РЕКОМЕНДАЦИИ
ПО РЕКОНСТРУКЦИИ И ТЕХНИЧЕСКОМУ ПЕРЕОСНАЩЕНИЮ
ЖИВОТНОВОДЧЕСКИХ ФЕРМ
Москва
ФГМУ "Росинформагротех"
2000
Авторский коллектив:
сотрудники Всероссийского научно-исследовательского и проектно-технологического института механизации животноводства (ВИИИМЖ): акад. П.М. Морозов (руководитель авторского коллектива), д-р техн. наук П.П. Гриднев, д-р с.-х. наук В.Ф. Липатников, канд с.-х. наук П.П. Хусаинов, д-р экон. наук Л.М. Цой, канд. экон. наук Р.Д. Алиев, акал. В.II. Сыроватка. канд. техн. наук П.П. Халсмин, д-р с.-х. наук В.К. Скоркин, канд. техн. наук В.П. Ломов, канд. техн. наук Б.Г. Ковалевский, канд. техн. наук А.А. Уткни, канд. биолог, наук В.П. Степанов, канд. техн. наук П.Я. Автомонов, канд. техн. наук П.М. Антроповский;
ФГНУ «Росинформагротех»: д-р техн. наук Д.С. Буклагин, канд. техн. наук П.П. Мишуров;
Минсельхоз России: д-р экон. наук В.М. Баутин, А.П. Морозов, д-р. техн. наук В.С. Горбачев, П.П. Алексеев.
Ответственные за подготовку: директор института, акад. П.М. Морозов, вед. науч. сотруд., канд. с-х. наук П.П. Хусаинов (ВНИИМЖ), д-р. техн. наук В.С. Горбачев ( Денмехэлектро Минсельхоза России)
Подготовлены в соответствии с решением бюро отделения механизации, электрификации и автоматизации Россельхозакадемии от 10 ноября 1998 г. (протокол № 5) под научным руководством академиков РАСХН Л.П. Кормановского, Н.М. Морозова.
Изложены методические положения и практические указания по реконструкции и техническому переоснащению действующих объектов животноводства. Это направление технической политики в животноводстве является одним из главных факторов восстановления и развития отрасли, повышения эффективности производства в современных условиях.
Приведены материалы по реконструкции ферм различного направления в хозяйствах России, рекомендации по выбору наиболее эффективных направлении реконструкции, справочные и информационные материалы.
При подготовке рекомендации использованы результаты исследований всероссийских и зональных институтов но технологиям производства продукции животноводства, механизации и автоматизации ферм (ВИЖ, ВНИИС, НИИСХ С.В. им. Рудницкого, ВНИИТИМЭСХ, НИИТИМЭСХ НЗ, ВИЭСХ, ВИМ, СибНИПТИЖ, СКНИЖ, СибИМЭ, «Росинформагротех», BНИИКОМЖ), а также передовой опыт сельхозтоваропроизводителей России и зарубежных стран.
11редназначены для сельхозтоваропроизводителей различных форм собственности, министерств и управлений сельского хозяйства федерального и регионального уровней, научных учреждении, проектных организаций, предприятий сельхозмашиностроения, высших и средних сельскохозяйственных учебных заведений.
Методические рекомендации рассмотрены и одобрены секцией механизации и электрификации МТС Минсельхозпрода России (протокол №2 от 22.02.2000 г.)
ВВЕДЕНИЕ
Проводимая в стране аграрная реформа изменила организационно-экономические, правовые, социальные и другие условия функционирования АПК и его основного звена - животноводства, которые непосредственно повлияли на эффективность производства. Но, к сожалению, ошибки и упущения в проведении реформ нанесли ощутимый ущерб народному хозяйству - спад производства, ухудшение социального и экономического положения товаропроизводителя и, как следствие, сужение инвестиций в социальную и производственную сферы.
В этих условиях очень важно как можно глубже и всесторонне проанализировать сложившуюся ситуацию с целью определения эффективности путей и методов повышения экономической эффективности производства продукции животноводства.
Одним из перспективных направлений повышения эффективности производства является проведение реконструкции животноводческих ферм с использованием перспективных технологий содержания и кормления животных, организации труда, учитывающих особенности физиологического состояния и уровень продуктивности животных. По сравнению с новым строительством реконструкция позволяет при сравнительно небольших затратах и в более короткие сроки значительно поднять производительность, улучшить условия труда животноводов, увеличить отдачу имеющихся фондов.
Содержание
|
МЕТОДИЧЕСКИЕ ПОЛОЖЕНИЯ |
Для принятия решения о проведении реконструкции ферм или отдельных объектов, определения рациональных технологий, способов механизации и автоматизации, установления необходимых инвестиций в общестроительные и строительно-монтажные работы, приобретения машин и оборудования, объектов энергетики, выполнения пусконаладочных работ необходимо:
1. Провести тщательный анализ состояния действующих ферм, отдельных зданий и сооружений и применяемых технических средств с целью определения степени их изношенности и возможности дальнейшего использования по отдельным видам и группам - стены; полы; перекрытия; кровля; хранилища; станочное оборудование; системы отопления и вентиляции, навозоудаления, раздачи кормов, доения коров, хранения молока; объекты энергообеспечения.
Для проведения анализа состояния объектов, отдельных цехов и их оснащения в конкретных хозяйствах необходимо создавать комплексные комиссии, включающие технологов, строителей, инженерно-технические и энергетические службы, специалистов по ветеринарно-санитарным и экологическим вопросам. Результаты анализа оформляются актом с заключением о возможности и целесообразности использования действующих зданий и сооружений, инженерного оборудования, средств механизации технологических процессов, а также с предложениями по способам обновления (восстановления) и применения новых машин и технологического оборудования (примерный инструментарий проведения анализа дан в прил. 1).
2. Разработать программу (план) организационно-хозяйственного развития хозяйства в целом (независимо от формы собственности) - по специализации, объемам производства отдельных видов продукции, способам их реализации и товарному виду, размещению производства продукции на отдельных рассредоточенных территориях или на компактно размещенных центрах (продукция крупного рогатого скота, свиноводства), установить место и роль конкретной фермы (объектов) в общей программе производства хозяйства (концентрация поголовья, вид конечной продукции).
3. Провести сравнительный технико-экономический анализ способов содержания различных половозрастных групп животных, производства кормов и систем кормления животных в условиях конкретного хозяйства, района, региона.
При этом для молочного скотоводства выявить экономические и технологические преимущества и недостатки:
- о различных способов содержания животных - привязное, беспривязное (свободное), боксовое и комбинированное;
- в организации доения - в стойлах коровников со сбором молока в ведра или в стационарный молокопровод, а также в доильных залах со станками различных конструкций;
- систем выращивания молодняка и комплектования основного стада;
- типов кормления - однородными кормовыми смесями, раздельная выдача компонентов рациона (силос, сено, корнеклубнеплоды, концентрированные корма);
- способов хранения и реализации молока.
Для свиноводства определить преимущества и недостатки:
- содержания животных в индивидуальных или групповых станках;
- кормления влажными кормовыми смесями или сухими комбикормами;
- 2-фазного или 3-фазного способов содержания.
4. Провести сравнительный технико-экономический анализ способов механизации и автоматизации выполнения технологических процессов:
- доения коров и первичной обработки молока;
- хранения и подготовки кормов к скармливанию;
- раздачи кормов;
- уборки навоза из помещений, его хранения и подготовки органических удобрений;
- теплоэнергообеспечения, вентиляции и освещения;
- станочного (стойлового) оборудования;
- поения животных;
- организации моциона.
Для сравнительной оценки способов и средств механизации необходимо применять систему натуральных и стоимостных показателей, включающих:
- удельные затраты рабочего времени на выполнение работ (обслуживание животных), чел.- ч/т, чел.-ч/голову;
- потребные капитальные вложения в машины, оборудование, здания, сооружения, средства энергообеспечения и т.п., абсолютные и удельные (руб/голову, руб/м2), на применение новых технологий, реконструкцию объектов;
- удельные эксплуатационные издержки на выполнение работ, обслуживание животных, получение продукции (руб/м3, руб/т, руб/ц, руб/голову);
- удельные затраты энергии на выполнение работ, обслуживание животных, получение продукции (кВтч/т, кВтч/м3, кВт ч/голову, МДж);
- удельные приведенные затраты на выполнение работ, обслуживание животных, получение продукции (руб/м3, руб/т, руб/голову, руб/ц);
- величину годовой прибыли от применения новых технологий, машин, других инновационных мероприятий (абсолютная и удельная, руб.);
- сроки окупаемости инвестиций (лет).
Методические положения по оценке экономической эффективности технологий, способов механизации и автоматизации в животноводстве изложены в "Методике определения экономической эффективности технологий и сельскохозяйственной техники". - М., 1998 г.
Подробная консультация по проведению расчетов может быть получена во ВНИИМЖе в отделе Системы машин.
5. Определить оптимальный состав машин и оборудования, рекомендуемый для применения на реконструируемых фермах. Алгоритмы и программы проведения расчетов по оптимизации состава машин и оборудования разработаны во ВНИИМЖе и изложены в книге Л.П. Кормановского, Н.М. Морозова, Л.М. Цоя "Обоснование системы технологий и машин для животноводства". - М., 1999 г.
6. Разработать проектно-сметную документацию на отдельные животноводческие объекты или на всю реконструируемую ферму с возведением дополнительных объектов по содержанию животных, производству комбикормов, переработке готовой продукции, компостированию навоза, прокладке инженерных коммуникаций, благоустройству территории и т.д. Набор необходимых производственных помещений следует определять в соответствии с принятыми нормами Технологического проектирования.
7. Разработать бизнес-план реконструируемых ферм и определить сводные технико-экономические показатели проведения работ.
В бизнес-плане должны быть отражены необходимые инвестиции на проведение реконструкции (по материалам проектно-сметной документации), экономическая эффективность производства, сроки окупаемости капитальных вложений, организационно-экономические показатели функционирования объекта (объем производства, рынок сбыта продукции, численность обслуживающего персонала по профессиям, квалификации и т.п.).
Методика разработки бизнес-плана изложена в "Методических рекомендациях по составлению бизнес-планов внедрения технологий и сельскохозяйственной техники". - М., 1999 г.
В 1998 г. в России товаропроизводителями всех форм собственности произведено 33,2 млн т молока, или по 227 кг на душу населения. В 1990 г. было произведено 55,7 млн т молока, или по 386 кг на душу населения. Прямые затраты труда на 1 ц молока составляют 8,5 чел.-ч (в 1990 г. - 6,4 чел.-ч), расход кормов - 1,71 ц корм, ед., в том числе концентрированных - 0,44 ц корм. ед. (в 1990 г. Соответственно 1,44 и 0,38). Себестоимость 1 ц молока - 183 руб., выручка от его реализации - 132 руб., уровень рентабельности производства - минус 27% (в 1990 г. - плюс 56%).
Заметное ухудшение показателей отмечается и в перерабатывающей промышленности. Обычно натуральное молоко в России используется следующим образом: на производство цельномолочной продукции направляется около 35...40% заготовляемого молока, масла - около 40...45%, сыра 7...8%,молочных консервов - 5%.Определенные трудности вызывает производство детских молочных продуктов и твердого сыра из-за непригодности заготовляемого молока.
Показатели производства молока в РФ представлены в табл. 1.1.
Таблица 1.1
Основные показатели производства молока
|
Показатели |
1990 г. |
1995 г. |
1997 г. |
1998 г. |
1999 г. |
|
Производство молока (во всех категориях хозяйств), млн т |
55,7 |
39,2 |
34,1 |
33,2 |
31,9 |
|
Надой молока на 1 корову, кг |
2781 |
2067 |
2066 |
2233 |
2282 |
|
Производство молока на душу населения, кг |
376 |
265 |
232 |
226 |
218 |
Потребление молока и молочных продуктов в целом по РФ обеспечивается на 86,9% за счет собственного производства и на 13,1% за счет ввоза их из-за рубежа. Иная структура обеспечения молочной продукцией в Центральном и Дальневосточном экономических районах. В них за счет импорта обеспечивается соответственно 50 и 90% потребления молочных продуктов. В перспективе в целом по России импорт молока и молочных продуктов из стран дальнего и ближнего зарубежья возрастет, по прогнозным данным, с 4,9 млн т в 1995 г. до 6,5 млн т в 2000 г., или соответственно с 13,1 до 14,8% к фонду потребления. Наибольшие доли импортной молочной продукции прогнозируются в Северном (35,5%), Центральном (48,8%), Северо-Западном (67,9%) и Дальневосточном (74,8%) экономических районах.
Производство говядины в России составляет 42...45%, а в отдельных регионах до 50...55% общего объема мяса всех видов. Основными источниками получения говядины (более 98%) являются сверхремонтный молодняк и выбракованные коровы. В 1990 г. производство говядины составило 4,3 млн т в убойной массе (7,3 млн т в живой массе). В последние годы из-за сокращения поголовья крупного рогатого скота и снижения средней живой массы убиваемых на мясо животных производство говядины снижалось и в 1998 г. составило 1,9 млн т в убойной, или 3,4 млн т в живой массе (табл. 1.2). Прямые затраты труда на 1 ц прироста живой массы крупного рогатого скота составляют 55 чел.·ч (в 1990 г. - 37 чел·ч), расход кормов 17,7 ц корм, ед., в том числе концентрированных кормов 4,5 ц корм. ед. (в 1990 г. соответственно 13,5 и 3,4).
Таблица 1.2
Производство мяса в РФ
|
Показатели |
1990 г. |
1995 г. |
1996 г. |
1997 г. |
1998 г. |
1999 г |
|
Реализовано на убой скота и птицы в живой массе, млн т |
15,6 |
9,3 |
8,6 |
7,8 |
7,5 |
6,9 |
|
В том числе крупного рогатого скота |
7,3 |
4,5 |
4,1 |
3,8 |
3,4 |
3,1 |
|
Реализовано на убой скота и птицы в убойной массе, млн т |
10,1 |
5,8 |
5,3 |
4,8 |
4,7 |
4,3 |
|
В том числе говядины |
4,3 |
2,5 |
2,3 |
2,1 |
1,9 |
1,7 |
|
Производство мяса всех видов на душу населения в убойной массе, кг |
68,0 |
39,0 |
36,0 |
33,0 |
32,0 |
30,0 |
|
В том числе говядины |
28,9 |
16,8 |
15,6 |
14,2 |
12,9 |
11,9 |
|
Среднесуточный прирост, г |
423 |
307 |
287 |
250 |
311 |
314 |
|
Производство говядины на одну голову скота в убойной массе, кг |
75,0 |
63,0 |
65,0 |
68,0 |
66,0 |
61,0 |
Себестоимость 1 ц прироста - 1585 руб., выручка от реализации этого прироста - 521 руб., уровень рентабельности производства - минус 27% (в 1990 г. - плюс 22%).
Основное производство молока и мяса сосредоточено на фермах общественного сектора, а также в личных (ЛПХ) и крестьянских (фермерских) хозяйствах.
Первая группа товаропроизводителей относится к числу крупных сельскохозяйственных предприятий. Их 27 тыс. (коллективные хозяйства, акционерные общества, товарищества с ограниченной ответственностью, агрофирмы, агрокомбинаты и т.д.), поставляют они 90% товарной продукции.
Вторая группа товаропроизводителей - около 18 млн личных подсобных хозяйств жителей сел и небольших городов. Продукция ЛПХ в основном используется для собственного потребления и только некоторая часть ее является товарной.
Третья группа товаропроизводителей - 279 тыс. крестьянских (фермерских) хозяйств, которые производят чуть более 2% всей продукции.
В течение 1990-1998 гг. производство валовой продукции во всех категориях хозяйств снижалось в среднем за год на 6,4 млрд руб. в ценах 1983 г. К 1990 г. доля животноводства в валовой продукции поднялась до 64%. Сегодня удельный вес животноводства в валовой продукции опустился ниже 50%.
За последние годы производство животноводческой продукции во всех категориях хозяйств падает, экономический эффект снижается и увеличивается импорт зарубежных товаров. Отмечается перераспределение скота из сельскохозяйственных предприятий в ЛПХ и крестьянские хозяйства. Однако с 1996 г. в этих хозяйствах также намечается спад поголовья крупного рогатого скота (табл. 1.3). Это связано с тем, что ЛПХ и крестьянские хозяйства во многом остаются зависимыми от состояния животноводства первой группы товаропроизводителей, в частности, от поставок молодняка, семян, кормов и др.
Избранное направление фермеризации сельскохозяйственного производства не принесло желаемых результатов. Число крестьянских хозяйств в настоящее время постоянно сокращается. Им предстоит еще долгий процесс развития и адаптации в системе агропромышленного комплекса страны. Самостоятельное их становление без связей с хозяйствами общественного сектора (1 группа товаропроизводителей) может дать хорошие результаты при обеспечении их достаточными финансовыми ресурсами и возможности приобретения основных и оборотных средств и соответствующей инфраструктуры.
Из табл. 1.3 видно, что за последние годы произошло резкое падение поголовья крупного рогатого скота. В этом отношении особенно пострадали крупные товарные предприятия: численность поголовья крупного рогатого скота сократилась в 2,6 раза, коров - в 1,9 раза. Сокращение поголовья скота усугубляется дальнейшим снижением продуктивности и, тем самым, валового производства молока (табл. 1.4).
Таблица 1.3
Поголовье крупного рогатого скота в РФ, тыс. голов
|
Показатели |
1990 г. |
1995 г. |
1997 г. |
1998 г. |
1999 г. |
|
Крупный рогатый скот |
|
||||
|
Все категории хозяйств |
57043 |
39696 |
31520 |
28634 |
27800 |
|
В том числе: |
|
||||
|
сельхозпредприятия |
47177 |
26266 |
20420 |
18084 |
17800 |
|
ЛПХ и фермерские хозяйства |
98866 |
13430 |
11100 |
10600 |
10000 |
|
Коровы |
|
||||
|
Все категории хозяйств |
20557 |
17436 |
14536 |
13531 |
13000 |
|
В том числе: |
|
||||
|
сельхозпредприятия |
15322 |
9978 |
8900 |
8262 |
7900 |
|
ЛПХ и фермерские хозяйства |
5235 |
7458 |
5636 |
5269 |
5100 |
Таблица 1.4
Валовое производство молока
|
Показатели |
1990 г. |
1995 г. |
1997 г. |
1998 г. |
1999 г. |
|||||
|
млн т |
% |
млн т |
% |
млн т |
% |
млн т |
% |
млн т |
% |
|
|
Сельскохозяйственные предприятия |
42,4 |
76,1 |
22,4 |
57,1 |
17,5 |
51,5 |
16,7 |
50,2 |
15,6 |
48,9 11 |
|
ЛПХ |
13,3 |
23,9 |
16,2 |
41,3 |
16,0 |
47,1 |
16,0 |
48,2 |
15,8 |
49,5 |
|
Фермерские хозяйства |
- |
- |
0,6 |
1,6 |
0,6 |
1.4 |
0,5 |
1,6 |
0,5 |
1,6 |
|
Итого: |
55,7 |
100 |
39,3 |
100 |
34,1 |
100 |
33,2 |
100 |
31,9 |
100 |
В сельхозпредприятиях находится 18,1 млн голов крупного рогатого скота, в том числе 8,3 млн коров. Средний удой на фуражную корову составляет 2233 кг, валовое производство молока 16,7 млн т. Производство говядины в живой массе 1,4 млн т, средняя масса одной головы, сданной мясоперерабатывающей промышленности, - 272 кг. В настоящее время фермы крупного рогатого скота этого сектора обслуживают 1,4 млн человек, в том числе молочно-товарные фермы - 806,3 тыс. человек и по выращиванию ремонтного молодняка и откорму скота - 580,3 тыс. человек.
Нагрузка на одного работающего на молочно-товарных фермах составляет 10,8 коров, а на фермах по выращиванию и откорму - 23,6 голов.
В 1970-1990 гг. успешно функционировали промышленные комплексы по производству молока и говядины. В этих предприятиях производилось до 10... 15% продукции скотоводства. Благодаря научной организации труда и сбалансированному кормлению животных затраты труда, расход кормов, себестоимость единицы продукции на ряде комплексов соответствовали мировому уровню и были в 3-5 раз ниже, чем на обычных фермах. Эти комплексы были ориентированы на централизованное снабжение материально-техническими средствами и концентрированными кормами. После ликвидации централизованной системы из-за потери оборотных средств в результате инфляции они лишились возможности приобретать корма, новую технику и запасные части. В результате многие комплексы прекратили производственную деятельность, а в других предприятиях их мощности используются только на 20...40%.
Эта группа товаропроизводителей практически обеспечена капитальными животноводческими помещениями. Однако большинство животноводческих зданий имеет очень высокий процент износа и требует капитального ремонта.
Парк машин и оборудования в сельскохозяйственных предприятиях на сегодняшний день практически уже выработал свой ресурс.
В 1998 г. число убыточных хозяйств достигло 89%. Долги сельхозпредприятий составили 89,5 млрд руб, что больше годовой выручки от реализации сельскохозяйственной продукции. Большинство сельхозпредприятий (86%) имеют просроченную кредиторскую задолженность. Поэтому экономика этих предприятий все более становится бартерной, оплата труда также, в основном, натуральная. В 1997 г. из 26,5 млрд руб. начисленной оплаты выдано натурой (продукцией) на сумму 21 млрд руб., или 79,2%. Все это приводит к тому, что резко сокращается выделение сельскому хозяйству финансовых средств из госбюджета. Если в 1991 г. аграрная доля в федеральном бюджете составляла 12%, то в 1998 г. она уменьшилась до 1%. Показатели производственной деятельности сельхозпредприятий представлены в табл. 1.5.
Таблица 1.5
Финансово-экономическая деятельность сельскохозяйственных предприятий
|
Показатели |
1990 г. |
1995 г. |
1996 г. |
1997 г. |
1Э98г. |
1999 г. |
|
Число хозяйств |
27336 |
26897 |
26874 |
26774 |
27077 |
27227 |
|
Удельный вес убыточных хозяйств (в % к общему числу) |
3 |
57 |
79 |
81 |
89 |
59 |
|
Чистая прибыль, млрд руб |
30 |
1450 |
-23234 |
-22459 |
-29967 |
+5932 |
|
Рентабельность по всей деятельности хозяйств, % |
+37 |
+2 |
-20 |
-20 |
-27 |
-0,7 |
|
Себестоимость 1 ц, руб.: молока |
42 |
82 |
162 |
188 |
195 |
243 |
|
прироста |
341 |
738 |
1577 |
1887 |
1990 |
2076 |
|
Выручка за 1 ц, руб.: молока |
65 |
83 |
108 |
127 |
128 |
289 |
|
мяса КРС |
372 |
272 |
380 |
458 |
501 |
1151 |
|
Уровень рентабельности, %: молока |
+56 |
-1 |
-34 |
-33 |
-34 |
+18,9 |
|
мяса КРС |
+22 |
-20 |
-47 |
-55 |
-75 |
-45 |
В личных подсобных и крестьянских хозяйствах содержится 10,6 млн голов крупного рогатого скота, в том числе 5,3 млн коров. Они производят 49,7% молока и 58,8% говядины. Животноводческие фермы личных подсобных хозяйств характеризуются малыми размерами, имеют до пяти собственных коров и приплод, а также другие виды животных, которых содержат во дворе (хлеву), расположенном под одной крышей с теплым домом или в отдельно стоящем сарае. Производственные процессы на фермах выполняются вручную. Техническую базу ведения ЛПХ составляет ряд мотоблоков и тракторов тягового класса 0,2...0,6 с набором машин, которые выпускаются серийно, но малыми партиями. Существующие комплекты машин к этим энергосредствам носят стихийно сложившийся характер. Используется также и конная тяга. Однако набор технических средств для конной тяги (конные косилки, грабли, раздатчики кормов и др.) практически промышленностью не выпускается.
Крестьянские (фермерские) хозяйства имеют один или два коровника с молокоприемным отделением, кормовой пристройкой и расположенным на этой территории телятником. Родильное отделение, профилакторий для телят, навозохранилище, как правило, отсутствуют. Отелы происходят непосредственно в тех же стойлах, в которых коровы содержатся постоянно, а новорожденных телят содержат в индивидуальных клетках, размещенных в служебных проходах коровника или, в лучшем случае, в пристройках к коровнику. Навоз, удаляемый из коровника, хранится в буртах на необорудованных площадках.
Основными производственными постройками молочных ферм, введенных в эксплуатацию в 50-60-е годы, были коровники вместимостью 100...200 голов. Предусматривавшаяся в них технология производства продукции была рассчитана на применение производимого в то время оборудования и машин. За прошедшее время и то, и другое морально устарело, что сдерживало рост производительности труда на фермах. По данным технической инвентаризации, в сельхозпредприятиях имеются помещения для содержания коров на 17282,6 тыс. ското-мест. В настоящее время они заполнены не более чем на 50...55%, излишняя площадь составляет примерно 9000 тыс. ското-мест. Следует отметить, что эти животноводческие здания имеют очень высокий процент износа и требуют капитального ремонта. Капитальные вложения на развитие сельского хозяйства, особенно животноводства, в последние 7...9 лет были сокращены и ввода новых производственных мощностей за последние годы практически не было.
Сохранившиеся в пригодном состоянии для дальнейшей эксплуатации животноводческие постройки можно классифицировать по ширине и конструктивной сетке колонн:
- шириной 9 м с шагом опор 3+3+3 м;
- шириной 10,9 м с шагом внутренних опор в поперечном сечении 3,5+3,9+3,5 м;
- шириной 12 м с шагом внутренних опор в поперечном сечении 3,5+5,0+3,5 м;
- шириной 18 м с шагом внутренних опор в поперечном сечении 3+4+4+4+3 м;
- шириной 18 м с шагом внутренних опор в поперечном сечении 6+6+6 м;
- шириной 21 м с шагом внутренних опор в поперечном сечении 7,5+6,7+7,5 м.
Перечисленные типы животноводческих построек, введенные в эксплуатацию в различные сроки, используются до настоящего времени. Некоторые постройки шириной 12 м (3,5+5,0+3,5), 18 м (6+6+6) и 21 м (7,5+6+7,5) имеют стоечно-балочную конструкцию, кирпичные или железобетонные (сборные) стены, что обеспечивает их долговечность. Продольный шаг внутренних опор - 6 м. Многие здания шириной 9 м (3+3+3), 10 м (3+4+4), 10,3 м (3,5+3,3+3,5), 11 м (3,6+3,8+3,6), 18 м (3+4+4+4+3) выполнены с деревянными (бревенчатыми) стенами с железобетонными или деревянными балками и прогонами, с деревянными или железобетонными внутренними опорами. Продольный шаг опор »- 3,5 м. Стены - деревянная забирка в деревянные и кирпичные несущие столбы.
Здания шириной 9 м (3+3+3), 10 м (3+4+3), 18 м (3+4+4+4+3) выполнены чердачными. Высота от пола до балок чердачного перекрытия колеблется от 2,2 м до 2,4 м. Такую же высоту имеют и ворота.
Здания шириной 10,9(3,5+3,9+3,5), 12 м(3,5+5,0+3,5) и некоторые здания шириной 21 м выполнены также чердачными, но с высотой до низа выступающих конструкций чердачного перекрытия 2,7 м. Въезды в коровники выполнены шириной и высотой 2,7 м. Ввиду долговечности конструктивного исполнения перечисленных типов животноводческих построек они в настоящее время находятся в пригодном для эксплуатации состоянии. Однако применяющиеся там технология содержания животных, стойловое оборудование и машины для механизации производственных процессов морально устарели, не отвечают современным требованиям, и в большинстве случаев оборудование физически изношено.
Уровень комплексной механизации на действующих фермах крупного рогатого скота составляет 55...60%. Практически механизированы полностью доение коров и поение скота. Уровень механизации раздачи кормов и уборки навоза соответственно 64 и 88%.Отставание уровня механизации раздачи кормов объясняется тем, что данный технологический процесс в отличие от процессов доения и удаления навоза больше зависит от планировочных решений животноводческих помещений, состава рациона, технологии заготовки и хранения кормов. Технической базой для механизации технологических процессов на фермах крупного рогатого скота является серийная техника, предусмотренная Системой машин для комплексной механизации сельскохозяйственного производства. Однако большинство машин и оборудования для сельского хозяйства не выпускается, значительно свернуто производство многих машин и оборудования для животноводства. Практически на сегодняшний день половина парка основных видов техники в сельхозпредприятиях выработала нормативный срок.
В настоящее время на животноводческих фермах насчитывается 146,1 тыс. доильных установок, 71,7 тыс. кормораздатчиков и 210,2 тыс. навозоуборочных транспортеров. Из них требуется заменить 55% доильных установок, 58% стационарных и мобильных кормораздатчиков, 58% транспортеров для удаления навоза, а уровень поставки техники с каждым годом резко снижается (табл. 1.6).
Таблица 1.6
Объемы поставок машин и оборудования для сельского хозяйства, тыс. шт.
|
Машины и оборудование |
1990 г. |
1995 г. |
1996 г. |
1999 г. |
|
Тракторы |
143,7 |
9,7 |
8,8 |
9,7 |
|
Тракторные прицепы |
95,4 |
2,5 |
1,5 |
- |
|
Кормораздатчики |
- |
0,21 |
0,16 |
- |
|
Доильные установки |
23,6 |
0,4 |
0,2 |
0,3 |
|
Резервуары-охладители |
10,8 |
0,2 |
0,3 |
- |
|
Транспортеры для уборки навоза (для KPC) |
38,7 |
5,5 |
3,9 |
- |
|
Автопоилки |
2859 |
103,6 |
44,9 |
- |
Анализ динамики фактической замены оборудования на фермах крупного рогатого скота характеризует прогрессирующую тенденцию старения имеющегося оборудования, отсутствия технического оснащения и перевооружения производства. За 1990-1998 гг. фактическая замена устаревших и неисправных средств механизации к плановой по основным видам и маркам машин и оборудования, рекомендуемым Системой машин для комплексной механизации животноводства, по ряду позиций не превышала 3...5%. Наряду с указанными недостатками и низкой надежностью машин и оборудования для животноводства отрицательное влияние на уровень их использования оказывают рассогласованность и излишне большое количество видов и марок применяемых средств механизации, что затрудняет материально-техническое снабжение и производственно-техническое обслуживание и ремонт.
Технология производства молока в значительной степени определяется способом содержания животных. Наиболее распространенные способы содержания - привязное, беспривязное и комбинированное.
1. Технология производства молока при привязном содержании коров предусматривает содержание животных на привязях различных конструкций. Доение коров при этом осуществляется в стойлах в ведра или в молокопровод. Раздача кормов производится мобильными или стационарными раздатчиками. При этом типе содержания коров распространены стойла с длиной пола 1900...2200 мм. Для удаления навоза при этом используют скребковые транспортеры открытого типа, размещенные в неглубоком канале, или шнековые транспортеры, размещенные в каналах, закрываемых решетками. При дефекации коров фекальные массы попадают на пол стойл, которые очищаются вручную. Опыт эксплуатации молочных ферм показал, что благоприятное соотношение степени загрязнения стойла и удобного лежания животного достигается при коротком стойле, длина которого на 50 мм больше косой длины тела животного (1600... 1700мм) и расположении пола стойла уступом по отношению к решетке навозного канала, причем высота расположения пола стойла над решеткой должна составлять 1/10 часть длины пола стойла, что соответствует 160... 170 мм. При такой конструкции стойла дефекация животных происходит за пределы пола, стойло остается сухим, в 2...3 раза снижаются затраты труда, создаются более благоприятные условия содержания, улучшается микроклимат.
2. Технология производства молока при беспривязном содержании коров. В настоящее время на этих фермах получают лишь 4% валового производства молока. Вместе с этим она считается перспективной, потому что позволяет ввести в производственный процесс элементы поточности и тем самым повысить производительность труда. Животные на ферме при данной технологии большую часть суток находятся в свободном (расфиксированном) состоянии. В пределах технологической секции или выгульной площадки они могут перемещаться, проявлять индивидуальные поведенческие реакции. Беспривязная технология включает следующие варианты содержания коров: на глубокой подстилке, в боксах, комбибоксах и поточно-конвейерный. Доение коров производится в доильных залах на установках "Тандем", "Елочка" и "Карусель". Для раздачи кормов следует использовать комбинированные погрузчики-раздатчики. Навоз удаляют при содержании животных на глубокой подстилке с помощью бульдозеров, а при боксовом и комбибоксовом содержании - скреперными установками с подачей его в навозохранилище с помощью оборудования различных конструкций для выгрузки навоза.
3. Комбинированная технология. Как показывает опыт, одним из наиболее трудоемких технологических процессов при привязном содержании коров является их доение в стойлах. Применение стойлового оборудования с автоматической привязью дает возможность без особых затрат труда на отвязывание-привязывание животных организовать доение в доильных залах. В этом случае сочетаются преимущества привязного и беспривязного содержания коров, чем достигается высокая продуктивность при рациональном использовании кормов и наименьших затратах труда. При комбинированной технологии животных содержат в стойлах длиной 1,7 м, шириной 1,1... 1,2 м, оснащенных стойловым оборудованием с автоматической привязью. Для удаления и транспортирования навоза используют шнековые транспортеры и установки типа УТН, навозные каналы закрывают металлической решеткой. Раздача кормов проводится мобильными раздатчиками, концентрированные корма раздаются на доильной площадке или в коровнике с помощью ручных тележек или других технических устройств.
По прогнозным ориентирам, в 2005 г. общее поголовье коров во всех категориях хозяйств должно составить 21000 тыс. голов, в том числе на фермах сельхозпредприятий 12800 тыс. Ориентировочные масштабы применения базовых технологий производства молока на ближайшую перспективу представлены в табл. 1.7.
По данным институтов Российской академии сельскохозяйственных наук, затраты труда на выполнение различных производственных процессов при указанных технологиях производства молока представлены в табл. 1.8.
Таблица 1.7
Удельный вес применения основных технологий производства молока на животноводческих фермах
|
Технологии производства молока |
Существующее положение |
Прогноз на 2005 г. |
||
|
поголовье, тыс. голов |
% |
поголовье, тыс. голов |
% |
|
|
Привязное содержание коров |
7850 |
95 |
9600 |
75 |
|
В том числе доение: |
5370 |
65 |
3840 |
30 |
|
в ведра |
|
|
|
|
|
в молокопровод |
2480 |
30 |
5760 |
45 |
|
Беспривязное содержание коров |
250 |
3 |
1920 |
15 |
|
Комбинированное содержание коров |
162 |
2 |
1280 |
10 |
|
Итого |
8262 |
100 |
12800 |
100 |
Таблица 1.8
Затраты труда (чел.·ч/год на корову) при различных технологиях производства молока
|
Производственный процесс |
Технология содержания коров |
|||
|
привязная |
беспривязная |
комбинированная |
||
|
Доение коров |
||||
|
в ведра |
в молокопровод |
в доильных залах на установке "Тандем" |
||
|
1 |
2 |
3 |
4 |
5 |
|
Привязывание, отвязывание и выгон скота |
5,17 |
5,17 |
1,10 |
1.10 |
|
Раздача всех видов кормов |
12,86 |
12,86 |
10,73 |
10,73 |
|
Доение и первичная обработка молока |
60,70 |
40,00 |
17,60 |
17,60 |
|
Очистка стойл, навозных проходов |
24,30 |
24,30 |
14,19 |
20,30 |
|
Чистка кормушек |
5,48 |
5,48 |
5,48 |
5,48 |
|
Чистка коров |
6,90 |
6,90 |
- |
5,90 |
|
Раздача подстилки |
4,40 |
4,40 |
- |
4,40 |
|
Доение и уход за животными в родильном отделении |
14,50 |
14,50 |
14,50 |
14,50 |
|
Техническое обслуживание машин и оборудования |
9,90 |
Э.90 |
9,90 |
9,90 |
|
Участие в зооветеринарных мероприятиях |
2,13 |
2,13 |
2,13 |
2,13 |
|
Итого |
146,34 |
125,64 |
75,70 |
92,01 |
Из данных таблицы следует, что переход от доения коров в стойлах к доению на доильных установках со станками типов "Тандем", "Елочка" является реальной мерой резкого повышения производительности труда в молочном скотоводстве. Кроме того, за счет сокращения длины молокопровода и коммуникаций при доении коров в доильных залах существенно улучшаются санитарно-гигиенические условия для получения молока высокого качества.
Потребные ресурсы для реализации указанных технологий производства молока представлены в табл. 1.9.
Примерный комплект машин и оборудования для механизации производственных процессов для ферм мощностью 100 и 200 коров представлен в табл. 1.10.
Для личных подсобных хозяйств применяются мобильные доильные установки с одним или двумя доильными аппаратами (УДПС-1 с водокольцевым вакуумным насосом, УДИ-1, УДИ-2 с пластинчато-роторным масляным насосом и насосом, работающим без смазки, и др.).
Для малых молочных ферм на 32, 64, 96 и 128 голов с привязным содержанием "Кургансельмаш" выпускает доильные установки для доения в переносные ведра или в молокопровод.
Таблица 1.9
Потребные ресурсы для реализации технологий по производству молока в расчете на одну корову в год
|
Технология |
Корм, ед. |
Энергоресурсы |
Металлоемкость оборудования, кг |
||
|
условное топливо, кг |
в том числе |
||||
|
электроэнергия, кВтч |
топливо, кг |
||||
|
Производство молока: |
|
|
|
|
|
|
при привязном содержании коров |
4200 |
555 |
1088,1 |
290,5 |
505,1 |
|
при беспривязном содержании коров |
4600 |
562. |
973,3 |
304,9 |
688,1 |
Таблица 1.10
Рекомендуемый состав комплектов машин и оборудования для молочных ферм
|
Наименование машин и оборудования |
Привязное содержание |
Беспривязное содержание |
||
|
Мощность фермы, ското-место |
||||
|
100 |
200 |
100 |
200 |
|
|
1 |
2 |
3 |
4 |
5 |
|
Доение, хранение и реализация молока |
||||
|
Доильный агрегат (АДМ-8А-1) |
1 |
- |
- |
- |
|
Доильный агрегат (АДМ-8А-2) |
- |
1 |
- |
- |
|
Установка доильная (УДА-8А) |
- |
- |
1 |
- |
|
Установка доильная (УДА-Ф-70) |
- |
- |
- |
1 |
|
Резервуар-охладитель (РПО-2,5) |
1 |
- |
1 |
- |
|
Резервуар-охладитель (РПО-3,2) |
- |
1 |
- |
1 |
|
Теплохолодильная установка (ТХУ-14) |
1 |
- |
1 |
- |
|
Теплохолодильная установка (ТХУ-23) |
- |
1 |
- |
- |
|
Электропастеризатор (А1-ОПЭ) |
1 |
- |
1 |
- |
|
Пастеризационно-охладительная установка (Б6-0П2-Ф-1) |
- |
1 |
|
1 |
|
Автомобиль-цистерна (АЦТП-1,7) |
1 |
I |
1 |
- |
Продолжение табл. 1.10
|
1 |
2 |
3 |
4 |
5 |
|
Автомобиль-цистерна (АЦТП-2,1) |
- |
1 |
- |
1 |
|
Установка вакуумная водокольцевая (УВВ-Ф-180) |
- |
1 |
- |
1 |
|
Установка водокольцевая вакуумная (УВВ-Ф-90) |
1 |
- |
1 |
- |
|
Кормление скота |
||||
|
Кормораздатчик (КТУ-10А, КТУ-10Б, КТ-Ф-12) |
- |
1 |
. |
1 |
|
Комбинированный агрегат (ПРК-Ф-0,4) |
1 |
- |
1 |
- |
|
Тракторный прицеп (ГКБ-887Б) |
- |
1 |
- |
1 |
|
Погрузчик тракторный фронтальный ПФ-05Б |
1 |
1 |
1 |
1 |
|
Загрузчик сухих кормов (ЗСК-15А) |
- |
1 |
- |
1 |
|
Бункер для хранения кормов (БСК-Ф-ЮА) |
- |
1 |
- |
1 |
|
Тележка ручная (ТУ-300А) |
2 |
2 |
2 |
2 |
|
Комбайн для скашивания травы (КПИ-Ф-2,4) |
1 |
1 |
1 |
1 |
|
Измельчитель рулонированных грубых кормов (ИРГК) "Вятка" |
1 |
1 |
1 |
1 |
|
I Линия подготовки корнеплодов к скармливанию (с сухой очисткой) |
1 |
1 |
1 |
1 |
|
Комплект оборудования кормоцеха (КОРК-5) |
- |
1 |
- |
1 |
|
Приготовление комбикорма |
||||
|
Установка малогабаритная (УМК-Ф-2) |
1 |
1 |
1 |
1 |
|
Содержание животных |
||||
|
Стойловое оборудование (ОСП-Ф-26А) |
4 |
8 |
- |
- |
|
Клетка индивидуальна; (КИТ-00.000) |
8 |
- |
8 |
- |
|
Оборудование для содержания телят (ОСТ-Ф-32) |
- |
1 |
- |
1 |
|
Изгородь электрическая (ЭИС-1-30) |
1 |
1 |
1 |
1 |
Продолжение таблицы 1.10
|
1 |
2 |
3 |
4 |
5 |
|
Цепь для привязи (Р35.70.00) |
10 |
20 |
- |
- |
|
Комплект оборудования для обогрева и облучения (ЛУЧ-2А) |
1 |
1 |
1 |
1 |
|
Водоснабжение и поение коров |
||||
|
Поилка одночашечная (АП-1А) |
50 |
100 |
20 |
40 |
|
Поилка групповая (АГК-4Б) |
- |
- |
4 |
8 |
|
Поилка передвижная (ВУК-ЗА) |
1 |
1 |
1 |
1 |
|
Водоподъемная установка (BУ-5-30A) |
1 |
- |
1 |
- |
|
Водоподъемная установка (ВУ-10-80А) |
- |
1 |
- |
1 |
|
Башни водонапорные (БР-15У) |
1 |
1 |
1 |
1 |
|
Установки для подогрева воды: |
|
|
|
|
|
САОС-400 |
1 |
- |
1 |
- |
|
САОС-800 |
- |
1 |
- |
1 |
|
Удаление навоза |
||||
|
Транспортер шнековый для уборки навоза: |
|
|||
|
комплект на 100 коров |
1 |
- |
- |
- |
|
комплект на 200 коров |
- |
1 |
- |
- |
|
Транспортер скребковый (ТСН-160Б) |
1 |
2 |
- |
- |
|
Установка скреперная (УС-Ф-170А) |
- |
- |
1 |
- |
|
Установка скреперная (УС-Ф-250А) |
- |
- |
- |
1 |
|
Конвейер навозоуборочный (КНП-10 А) |
- |
- |
1 |
1 |
|
Прицеп-самосвал (ГКБ-887Б) |
1 |
- |
1 |
- |
|
Самопогрузчик универсальный (СУ-Ф-0,4) |
1 |
1 |
1 |
1 |
|
Установка транспортировки навоза (УТН-Ф-10) |
- |
1 |
- |
- |
|
Приготовление навозных компостов |
||||
|
Фуражир навесной (ФН-1,4) |
1 |
1 |
1 |
1 |
|
Прицеп-емкость (ПСЕ-Ф-20) |
1 |
1 |
1 |
1 |
|
Бульдозер (ДЗ-42) |
1 |
- |
1 |
- |
Продолжение таблицы 1.10
|
1 |
2 |
3 |
4 |
5 |
|
Кран козловой (ККС-Ф-2) |
|
- |
1 |
- |
|
Погрузчик фронтальный (ПФ-0.5Б) |
1 |
- |
1 |
- |
|
Обеспечение микроклимата |
||||
|
Комплект оборудования ("Климат-45М") |
1 |
1 |
1 |
2 |
|
Электрокалориферная установка (СФОЦ-40) |
1 |
- |
- |
- |
|
Электрокалориферная установка (СФОЦ-60) |
- |
1 |
- |
- |
|
Вспомогательное технологическое оборудование |
||||
|
Весы для скота (РС-1Ц13) |
2 |
4 |
2 |
4 |
|
Трап передвижной (ТПС-Ф-200) |
1 |
1 |
1 |
1 |
|
Аппарат для массажа вымени (АПМ-Ф-200) |
2 |
4 |
2 |
4 |
|
Ветсанобеспечение |
||||
|
Передвижная моечно-дезинфекционная установка (0М-22613) |
1 |
1 |
1 |
1 |
|
Генератор ультразвука "Сонар" для деротизации |
1 |
2 |
1 |
2 |
|
Станок для ветеринарно-санитарной обработки скота (СВ-30) |
1 |
1 |
1 |
1 |
|
Энергетическое средство |
||||
|
Трактор (МТЗ-80/82) |
1 |
2 |
1 |
2 |
При беспривязно-боксовом содержании до 400 коров рекомендуется к применению доильная установка "Тандем" УДА-8А на 8 станков, а до 600 коров - "Елочка" УДА-16А с автоматическим снятием доильных аппаратов с вымени коров.
На пастбищах рекомендуется универсальная доильная станция УДС-ЗБ с пропускной способностью до 55 короводоек в час.
Молокопровод серийных отечественных установок выполнен из стеклянных труб с наружным диаметром 45 мм и внутренним 36 мм. Внутренний диаметр молочного шланга доильного аппарата равен 13 мм.
В последние годы молокопровод изготовляют из нержавеющих труб диаметром 51 мм. В доильном аппарате молоко при доении накапливается в коллекторе и под действием воздуха, поступающего через специальное отверстие в коллекторе, подается в молокопровод сплошным потоком по всему сечению молочного шланга. При молоковыведении около 2 л/мин скорость поступления молока по шлангу составляет около 0,25 м/с.
Молокопровод на длине 30 м монтируется с уклоном около 0,5... 1,0%. Одна доярка работает, как правило, с тремя доильными аппаратами на одной ветви молокопровода. Максимальное поступление молока в ветвь при этом составляет около 6 л/мин.
Если бы молоко откачивалось сплошным потоком, то скорость передвижения его по молокопроводу не превышала бы 0,08 м/с. При заполнении сечения молокопровода на 1/3, что практически имеет место при доении постоянно, скорость движения молока не превышает 0,24 м/с. На основании вышеизложенного диаметр стеклянных молокопроводов на серийно выпускаемых линейных доильных установках может быть сохранен без изменения.
Дальнейшее повышение уровня комплексной механизации будет осуществляться на основе новых, наиболее совершенных технологий и внедрения новых, более производительных технических средств.
Наивысшей производительности труда можно достичь при использовании технологии производства молока с использованием конвейерных и роторно-конвейерных систем обслуживания коров, которые позволят существенно сократить затраты труда на производство молока до 50...60 чел. ч на голову в год, или до 0,8... 1 чел. ч на 1 ц молока.
Внедрение многофункциональных энергосредств с набором сменных рабочих органов также обеспечит повышение производительности труда и снижение металлоемкости.
Все существующие технологии выращивания и откорма скота можно объединить в три крупные базовые технологии производства говядины: технология производства говядины с полным циклом производства, технология доращивания и откорма скота с использованием отходов пищевой промышленности и технология производства говядины в мясном скотоводстве.
1. Технология производства говядины с полным циклом производства предусматривает выращивание, доращивание и откорм молодняка крупного рогатого скота с 15...20-дневного возраста до 13...24 месяцев. Она включает три технологических периода, различающихся продолжительностью, особенностями кормления и содержания животных. Основные особенности технологии: содержание животных - круглогодовое стойловое, способ содержания животных - беспривязный в групповых клетках, в заключительный период откорма допускается привязное содержание. Для приготовления и раздачи жидких питательных смесей телятам используют комплект оборудования КР-8 или УВТ-Ф-360. Для механизации технологических процессов для молодняка второго и третьего периодов применяется то же оборудование, что и на молочных фермах.
2. Технология доращивания и откорма скота с использованием отходов пищевой промышленности предусматривает доращивание и откорм молодняка крупного рогатого скота молочных, комбинированных и мясных пород с 8... 12-месячного возраста до 20...24 месяцев. Способ содержания животных в период доращивания - беспривязный, в групповых клетках на решетчатых полах по 10... 15 голов при площади не менее 2 м2 на голову, в период заключительного откорма - желательно на привязи в индивидуальных стойлах. Размеры стойл: ширина 0,8 м, длина 1,6 м.
3. Технология производства говядины в мясном скотоводстве предусматривает воспроизводство стада и выращивание телят по системе "корова-теленок", включающей сезонное (зимнее, ранневесеннее и весеннее) получение телят при туровых отелах, подсосное их выращивание до 6... 8-месячного возраста с максимальным использованием пастбищ. После отъема телят от матерей их выращивают и откармливают на мясо на откормочных площадках, которые состоят из трех навесов, два из которых предназначаются для отдыха животных и один центральный - для кормления. В южных областях страны такие площадки используются круглый год. В других зонах эти площадки оборудуются легкими помещениями для отдыха животных вместо навесов. Содержание животных на площадке - групповое, беспривязное, на глубокой подстилке. Раздача всех видов кормов производится мобильными раздатчиками, а удаление глубокой подстилки - бульдозерами после каждого тура откорма.
По прогнозным ориентирам, в 2005 г. общее поголовье убойного скота составит 16500 тыс. голов, в том числе в сельхозпредприятиях будет выращено и откормлено 9900 тыс. голов. Из всего поголовья 60% животных будет выращиваться по средне- и умеренно-интенсивным технологиям непосредственно на молочно-товарных фермах со среднесуточным приростом 600 г. Остальная часть поголовья (40%) будет выращиваться и откармливаться по высокоинтенсивным технологиям в специализированных хозяйствах и комплексах со среднесуточным приростом 800...850 г. Размещение и внедрение базовых технологий при высокоинтенсивном производстве говядины в специализированных хозяйствах и на фермах на ближайшую перспективу представляется следующим образом (табл. 1.11).
Таблица 1.11
Применение основных технологий производства говядины при высокоинтенсивных технологиях на животноводческих фермах
|
Технология производства говядины |
Общее поголовье, тыс. голов |
В процентах от общего поголовья |
|
С полным циклом производства |
3445 |
87 |
|
С использованием отходов пищевой промышленности |
396 |
10 |
|
В мясном скотоводстве |
119 |
3 |
|
Итого |
3960 |
100 |
Потребные ресурсы для реализации технологии по производству говядины в год представлены в табл. 1.12.
Примерный комплект машин и оборудования для предлагаемых технологий по выращиванию и откорму крупного рогатого скота приведен в табл. 1.13.
Таблица 1.12
Потребные материальные ресурсы для реализации технологий производства говядины в расчете на одну голову скота в год
|
Технология |
Корм, ед |
Энергоресурсы |
Металлоемкость оборудования, кг |
||
|
Условное топливо, кг |
В том числе |
||||
|
электроэнергия, кВтч |
топливо, кг |
||||
|
Производство говядины: |
|
||||
|
с полным циклом производства |
2280 |
73 |
137,6 |
38,5 |
64,6 |
|
с использованием отходов пищевой промышленности |
2630 |
65 |
165,4 |
30,8 |
65,4 |
|
в мясном скотоводстве |
4740 |
145 |
107,5 |
90,7 |
99,6 |
Таблица 1.13
Примерный комплект машин и оборудования для механизации технологических процессов при выращивании и откорме крупного рогатого скота
|
Технологические процессы и операции |
Наименование и марка машин и оборудования |
|
Кормление: |
|
|
погрузка и транспортировка кормов |
Фуражир навесной (ФН-1.4А) Погрузчик-экскаватор (ПЭ-0.8Б) Комбайн для скашивания травы (КПИ-Ф-2,4) |
|
приготовление кормов |
Комплект оборудования кормоцеха (КОРК-5А, KOPK-15A, КПГ-10А) Установка для выпойки (УВТ-Ф-360) |
|
раздача кормов |
Кормораздатчик (КТУ-10А, КТУ-10Б, КТ-Ф-12) Комбинированный агрегат (ПРК-Ф-0,4) |
Продолжение таблицы 1.13
|
Технологические процессы и операции |
Наименование и марка машин и оборудования » |
|
Содержание и поение животных: |
|
|
оборудование стойл |
Комплект оборудования для телят до 4-месячного возраста (КР-19-6) Оборудование стойловое для телят до 4-месячного возраста (ОС-720-01) Оборудование стойловое для телят старше 4-месячного возраста (ОС-720-02) |
|
поение животных |
Поилка одночашечная (АЛ-1А) Поилка групповая (АГК-4Б) Водоподъемная установка (ВУ-5-30А) |
|
Удаление навоза и приготовление компостов: |
|
|
удаление навоза из помещений |
Установка скреперная (УС-Ф-250А) Конвейер навозоуборочный (КНП-10А) |
|
удаление навоза от помещений |
Установка транспортировки навоза (УТН-Ф-10) Самопогрузчик универсальный (СУ-Ф-0,4) Прицеп-самосвал (ГКБ-887Б) |
|
Обеспечение микроклимата |
Комплект приточно-вытяжных установок (ПВУ-4М) Комплект приточно-вытяжных установок (ПВУ-6М) |
В зависимости от организации производственного процесса в настоящее время определяются три основных типа молочных ферм, от которых зависят направление специализации и состав предприятия.
1. Фермы с содержанием телят профилакторного периода до 10.. .20 дней (удельный вес коров в стаде 90%);
2. Фермы с воспроизводством стада за счет собственного производства (удельный вес коров в стаде 60%);
3. Фермы с выращиванием ремонтного молодняка и откормом сверхремонтных животных (удельный вес коров в стаде 40%).
На фермах указанного типа реконструкция может включать:
1. Техническое переоснащение и ремонт только основных производственных помещений (коровников, телятников, зданий для выращивания и откорма молодняка).
2. Переоборудование не только животноводческих зданий, но и постройка подсобно-вспомогательных зданий и сооружений. При реконструкции животноводческих ферм по второму типу необходимо в первую очередь обеспечить рациональное использование существующих основных производственных помещений, затем на основе сравнительных технико-экономических расчетов обосновать дополнительное строительство или модернизацию отдельных вспомогательных зданий и сооружений, а именно: молочного блока (замена старого технологического оборудования новым), доильно-молочного блока (при переводе с привязного содержания коров на беспривязное или на комбинированное), цеха по переработке молока, кормоприготовительного цеха, сарая для приготовления и хранения сена, навозохранилища и др.
Определяющим фактором при разработке технического решения по реконструкции животноводческого объекта является мощность фермы. От нее зависят экономическая эффективность и целесообразность строительства специализированных объектов, например, кормоприготовительного цеха, складских помещений, цехов по переработке продукции и др. Кроме того, с мощностью фермы связана загрузка специализированных высокопроизводительных машин общефермского назначения: погрузчиков, кормораздатчиков, оборудования по обработке навоза. Поэтому при разработке технических решений предлагаемый вариант реконструкции должен иметь предварительное технико-экономическое обоснование с проведением сравнительных расчетов экономической эффективности.
При подготовке технико-экономических расчетов по реконструкции животноводческих объектов необходимо использовать метод вариантных оценок. В каждом варианте реконструкции животноводческих помещений анализируются различные технологии или технологические элементы, объемно-планировочные решения, машины и оборудование. При этом разработчики должны руководствоваться следующими основными принципами:
- создание оптимальных условий для внедрения прогрессивной машинной технологии, рациональной организации производства и труда, материального стимулирования труда;
- повышение уровня электромеханизации производственных процессов с увеличением вместимости помещений;
- достижение единых технологических и организационных решений во всех помещениях реконструируемой фермы;
- блокирование реконструируемых производственных помещений (коровников, телятников и зданий для содержания молодняка) с подсобно-вспомогательными объектами фермы;
- выполнение требований общероссийских норм технологического проектирования предприятий крупного рогатого скота.
Рекомендуемые параметры технологических элементов для содержания различных физиологических групп коров и телят профилакторного периода представлены в табл. 1.14.
Стойла должны оборудоваться кормушками, изготовленными из плотных влагонепроницаемых материалов, легко поддающихся очистке и дезинфекции. Ширина кормушки по верху 0,6, по дну 0,4 м, высота переднего борта 0,3, заднего 0,6...0,75 м. Длина должна соответствовать ширине стойла.
Полы в помещениях делают из дерева, асфальта, битумно-керамзитовых плит и других материалов. Наиболее распространенный вид полов - деревянный настил на цементной основе. Норма подстилочного материала в расчете на животное в сутки: опилки и стружки 2...6 кг, солома 2...4 кг.
Таблица 1.14
Рекомендуемые технологические элементы в коровниках (на одну голову)
|
Показатели |
Размеры элементов помещения |
Норма площади на одну голову, м2 |
|
|
ширина |
глубина |
||
|
Стойла: |
|
|
|
|
для дойных и сухостойных коров, нетелей за 2...3 месяца до отела |
1.2 |
1,6...1,9 |
1,9...2,3 |
|
для глубокостельных и новотельных коров |
1,5 |
2,0 |
3,0 |
|
для отела коров (денники) для профилакторных телят |
3,0 0,45 |
3,0 1.2 |
9,0 0,54 |
|
Боксы для коров и нетелей за 2.3 месяца до отела |
1,0 |
1,6...1,9 |
1,6...1,9 |
|
Преддоильные и последоильные площадки |
|
|
1,8...2,0 |
В помещениях для содержания животных особо важное значение имеют обеспечение нормальных зоогигиенических условий и систематический контроль показателей микроклимата.
В данных рекомендациях предлагаются варианты реконструкции отдельных коровников вместимостью 100...200 голов, эксплуатируемых как отдельные самостоятельные фермы.
Постройки шириной 12 м (3,5+5,0+3,5) и 21 м (7,5+6,0+7,5) проектировались под привязное содержание коров соответственно при 2- и 4-рядном размещении их в стойлах с мобильной раздачей кормов, уборкой навоза скребковыми транспортерами, доением в ведра или молокопровод. Поэтому их реконструкция решается наиболее просто путем замены устаревшего оборудования аналогичным по назначению и технологическим особенностям современным оборудованием, а также устройством автоматической привязи. То же решение может быть принято в коровниках на 100 голов при 2-рядном размещении стойл шириной 11м (3,6+3,8+3,6).
Мобильная раздача кормов в стационарные кормушки возможна также в зданиях шириной 10 м (3+4+3), но в этом случае необходимая длина стойла обеспечивается перекрытием навозных канавок щелевой прутковой решеткой. Уборка навоза осуществляется транспортером типа ТСН-160 или шнековыми транспортерами в торец здания.
Как показывает опыт, наиболее трудоемким технологическим процессом при привязном содержании коров является их доение в стойлах. Однако применение стойлового оборудования с автоматической привязью дает возможность без особых затрат труда на отвязывание-привязывание животных организовать доение в доильных залах. В этом случае сочетаются преимущества привязного и беспривязного содержания коров, чем достигается высокая их продуктивность при рациональном использовании кормов и наименьших затратах труда.
Во всех перечисленных типах зданий шириной от 10 до 12 м, если это здание является единственным на ферме, целесообразно при реконструкции сблокировать его с кормохранилищем, молочным (доильно-молочным) блоком, профилакторным отделением для содержания новорожденных телят до 20-дневного возраста. В коровниках необходимо выделять стойла-боксы для отела.
Разновидностью беспривязного содержания коров является содержание в комбибоксах, оборудованных кормовой решеткой с автоматической фиксацией во время кормления.
Варианты реконструкции помещений молочных ферм на 100 и 200 коров представлены на рис. 1.1... 1.5.
Для условий Сибири СибНИПТИЖ разработал 11 вариантов реконструкции наиболее распространенных в зоне животноводческих помещений для содержания 100, 200, 400 коров. В их основу положены наиболее распространенные ранее в Сибири Т.П. 801-157, 801-86, 801-70/69 и 819-64 шириной зданий 18 и 21 м, а также индивидуальные проекты зданий шириной 9 и 12 м.
Представляют интерес также предложения ряда научно-исследовательских институтов по внедрению технологии беспривязно-боксового содержания коров с кормлением их на конвейере, доением на карусели и хранением навоза в подпольных навозохранилищах (рис. 1.6).
|
Вариант |
Ширина здания, м |
Пролеты, м |
Поперечный разрез |
Способ содержания |
Площадь на 1 гол . м2 |
|
1 |
9 |
9 |
|
Привязный |
5,4 |
|
2 |
10 |
10 |
|
Привязный |
6,0 |
|
3 |
12 |
3,5+5,0+3,5 |
|
Привязный |
7,2 |
|
4 |
18 |
6+6+6 |
|
Комбибоксовый |
5,4 |
|
5 |
18 |
6+6+6 |
|
Привязный |
5,4 |
|
6 |
21 |
21 |
|
Боксовый |
6,3 |
|
7 |
21 |
7,5+6+7,5 |
|
Боксовый |
6,3 |
|
8 |
21 |
7,5+6+7,5 |
|
Комбибоксовый |
|
|
9 |
21 |
7,5+6+7,5 |
|
Привязный |
6,3 |
|
10 |
21 |
7,5+6+7,5 |
|
Привязный |
6,3 |
Рис.1.1 Рекомендуемые варианты реконструкции коровников

Рис. 1.2. Схема коровника на 100 коров с доением в молокопровод:
1 - стойловое помещение; 2 - денники для отела; 3 - профилакторий; 4 - молочная; 5 - лаборатория; 6 - моечная; 7 - вакуум-насосная; 8 - тепловой пункт; 9 - служебная; 10- кладовые; 11 - фуражная; 12- помещение для удаления навоза

Рис. 1.3. Схема коровника на 100 коров с доением на площадке:
1 - стойловое помещение; 2 - доильный зал; 3 - молочная; 4 - лаборатория; 5 - вакуум-насосная; 6,8- фуражные; 7 - служебная; 9 - инвентарная; 10- венткамера; 11 - электрощитовая; 12 - помещение для удаления навоза

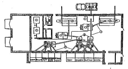
Рис. 1.4. Схема коровника на 200 коров с доением в молокопровод:
1 - стойловое помещение ; 2 - молочная; 3 - венткамера; 4 – подсобные помещения; 5 - вакуум-насосная; 6 - помещение для холодильной установки; 7 - навозоприемник; 8 - помещение для концентрированных кормов; 9 - инвентарная; 10- комната для персонала; 11 – пункт искусственного осеменения; 12- лаборатория; 13- гардероб с душевой; 14 - санузел; 15 - тамбур

Рис. 1.5. Схема коровника на 200 коров с доением на площадке:
1 - стойловое помещение; 2 - преддоильная площадка; 3 - проход; 4 - тамбур; 5 - доильный зал; 6 - молочная; 7 - котельная; 8 - коридор; 9 - санузел; 10- лаборатория; 11 - моечная; 12- манеж; 13- вакуум-насосная; 14 - помещение для холодильной установки; 15- комната персонала; 16- склад концентрированных кормов

Рис. 1.6. Коровник с поточно-конвейерной технологией обслуживания 100 коров:
1 - конвейер на 100 голов; 2 - доильная установка; 3 - ленточный транспортер; 4 - наклонный транспортер; 5 - бункер-дозатор корнеплодов; 6 - бункер-дозатор комбикормов; 7 - шнек от БСК-10
Технологические планировки коровников после реконструкции и схемы блокировки их с молочными и доильно-молочными блоками приведены в табл. 1.15 - 1.17.
Кроме коровников, на молочных фермах размещаются родильные отделения с телятами. Как показала практика, эти группы животных на фермах для 100 и 200 коров чаще всего размещаются в зданиях шириной 12 м, а на фермах для 300...400 коров - в 18-метровых.
Таблица 1.15
Фермы на 100 коров привязного содержания
|
|
Варианты |
|
|
1 |
2 |
|
|
Схемы блокировки молочных и доильных блоков с коровниками |
|
|
|
Удельные капитальные вложения на одно ското-место, руб. В том числе СМР, руб. |
4075,0 1043,2 |
4930,0 1503,6 |
Таблица 1.16
Фермы на 200 коров привязного содержания
|
|
Варианты |
||
|
1 |
2 |
3 |
|
|
Схемы блокировки молочных и доильных блоков с коровниками |
|
|
|
|
Удельные капитальные вложения на одно ското-место, руб. |
4320 |
4250 |
4050 |
|
В том числе СМР, руб. |
1952,6 |
2078,2 |
1834,6 |
Таблица 1.17
Фермы на 400 коров привязного содержания
|
|
Варианты |
|
|
1 |
2 |
|
|
Схема блокировки молочных и доильных блоков с коровниками |
|
|
|
Удельные капитальные вложения на одно ското-место, руб. |
4450,0 |
4010,1 |
|
В том числе CMP, руб. |
1869,0 |
1684,2 |
Разработаны три варианта реконструкции родильных отделений с телятниками соответственно для ферм на 100, 200 и 400 коров. Для ферм на 100 и 200 коров реконструируются здания шириной 12 м и для фермы на 400 коров - помещения шириной 18 м. Краткая характеристика технологических решений при реконструкции родильных отделений с телятником приведена в табл. 1.18.
Таблица 1.18
Характеристика проектно-технологических решений реконструкции родильных отделений с телятниками
|
Показатели |
Варианты телятников с родильным отделением |
||
|
1 |
2 |
3 |
|
|
Мощность молочных ферм, коровы |
100 |
200 |
400 |
|
Размеры здания, м |
12×33 |
12×66 |
18×66,3 |
|
Вместимость здания, головы |
|
|
|
|
В том числе: |
|
|
|
|
родильное отделение |
12 |
24 |
50 j |
|
профилакторное |
12 |
24 |
32 |
|
телятник |
30 |
65 |
120 |
|
Содержание коров |
Привязное |
Привязное |
Привязное |
|
Содержание телят в профилактории |
Индивидуальные клетки |
ОСТ-Ф-32 |
ОСТ-Ф-32 |
Продолжение таблицы 1.18
|
Показатели |
Варианты телятников с родильным отделением |
||||
|
1 |
2 |
3 |
|||
|
Содержание телят в секциях |
Беспривязное, группами по 5, 10, 15 голов |
||||
|
Доение коров в родильном отделении |
ДСА-2Б |
ДАС-2Б |
ДАС-2Б |
||
|
Раздача молока телятам |
ОСТ-Ф-32 со шлангом в индивидуальные ведра |
||||
|
Раздача кормов |
С помощью передвижной платформы |
РВК-Ф-74 |
|||
|
Поение животных |
ПА-1А |
ПА-1А |
ПА-1А |
||
|
Уборка навоза |
ТСН-160А |
ТСН-160А |
ТСН-160А |
||
|
Обслуживающий персонал, человек |
1 |
2 |
4 |
||
При реконструкции рекомендуются следующие технологические варианты:
- коровы и нетели поступают в родильное отделение за 10 дней до отела и содержатся в нем 15 дней после отела;
- глубокостельные коровы содержатся в стойлах размером 1,5×2м, новотельные - в стойлах 1,2×2 м. Отел коров производится в денниках размерами 2,5×3 м. В денниках корова с теленком находится 12... 18 ч после отела;
- телята в профилактории содержатся в индивидуальных клетках, выпойка молока им осуществляется из сосковых поилок;
- содержание телят после профилакторного периода - беспривязно-боксовое в клетках по 10 и 20 голов. В боксах размерами 0,45×1 и 0,55×1,2 м предусмотрены полы из прессованной соломы или дерева;
- раздача кормов в родильных отделениях на фермах на 100 и 200 коров осуществляется средствами малой механизации - ручными или подвесными тележками, на фермах на 300...400 коров - скребковыми или ленточными транспортерами. В телятниках на 30 и 65 голов раздавать молочные корма рекомендуется передвижными тележками, а в телятниках на 120 голов с помощью молокопровода в индивидуальные ведра;
- доение коров в родильных отделениях - 3-разовое, механическое, со сбором молока в переносные ведра;
- удаление навоза из телятников и родильных отделений - скребковыми транспортерами.
Существующие и действующие в настоящее время фермы по выращиванию и откорму крупного рогатого скота в большинстве своем построены хозяйственным способом без привлечения проектных организаций. За последние годы ежегодно в России убивается на мясо около 12,5 млн голов крупного рогатого скота, из них 7,6 млн голов выращивалось на фермах сельхозпредприятий.
Анализ ферм по производству говядины показывает, что на сегодняшний день сложились следующие схемы технологических решений:
1. Заключительный откорм скота - по этой схеме выращивание и доращивание телят (молодняка) осуществляется на обычных молочных фермах, затем они переводятся в специализированные помещения для откорма скота. Эта схема применяется при откорме скота на отходах свеклосахарной (свекловичный жом) и спиртовой промышленности (барда).
2. Доращивание и откорм молодняка - эта схема распространена в мясном скотоводстве. Телят выращивают на подсосе до 6...8-месячного возраста при свободном доступе к кормам и коровам. Затем телят переводят в специализированные помещения для дальнейшего доращивания и откорма.
3. Выращивание, доращивание и откорм скота - по этой технологии телята на откорм поступают в 10...20-дневном возрасте, т.е. непосредственно после профилакторного периода. Возраст реализации молодняка на убой зависит от интенсивности кормления.
Для откорма молодняка можно реконструировать любые животноводческие постройки, имеющие разную ширину и конструктивную сетку колонн.
На действующих фермах по откорму скота применяют привязный и беспривязный способы содержания животных. Рекомендуемые варианты реконструкции зданий для выращивания и откорма представлены на рис. 1.7.
|
Вариант |
Ширина здания, м |
Пролеты, м |
Поперечный, разрез |
Способ содержания |
Площадь на 1 гол, м2 |
|
1 |
9 |
9 |
|
Привязный |
4.5 |
|
2 |
9 |
9 |
|
Беспривязный на щелевых полах |
4.5 |
|
3 |
10,5 |
3,5+3,5+3,5 |
|
Боксовый |
5.3 |
|
4 |
10,5 |
Рамный |
|
Комбибоксовый |
5,3 |
|
5 |
12 |
3,5+5,0+3,5 |
|
Боксовый |
6.0 |
|
6 |
18 |
9+9 |
|
Комбибоксовый |
6.3
|
|
7 |
18 |
6+6+6 |
|
Боксовый |
6.3 |
Рис. 1. 7. Рекомендуемые варианты реконструкции зданий для выращивания и откорма крупного рогатого скота
Привязное содержание применяется при заключительном откорме молодняка и взрослого скота, особенно на отходах пищевой промышленности (свекловичный жом, барда, мезга). При этом способе содержания животные содержатся безвыгульно в стойлах на сплошных полах или с устройством щелевого пола в задней части стойла. Ширина технологических проездов (кормовые, навозные) определяется в соответствии с габаритами оборудования по раздаче кормов и уборке навоза. Ширина проходов для обслуживающего персонала должна быть не менее 1 м, поперечных проходов в середине зданий - в пределах 1... 1,2 м, в торцах 1... 1,5 м.
При беспривязном содержании скот содержат в помещениях в групповых клетках с щелевыми полами или на глубокой подстилке с использованием выгулов или без него.
Вариантом беспривязного содержания является боксовое содержание скота. В этом случае секции оборудуют индивидуальными боксами на все поголовье, обеспечивающими сухое логово для животных при минимальном расходе подстилки или без нее. Индивидуальные боксы могут быть отделены от мест кормления или примыкать к ним.
Рекомендуемые размеры технологических элементов для содержания различных возрастных групп молодняка крупного рогатого скота представлены в табл. 1.19.
Пол в боксах делают сплошной из разного материала - дерева, железобетона, асфальта, керамзитобетона и др. Если есть деревянный настил, то подстилка не используется. Полы из более теплопроводных материалов требуют утепления (подогрева) или подстилки, особенно при содержании телят до 4-месячного возраста. Пол в боксах должен иметь уклон 1,5% в сторону стока жидкости.
Представляет интерес опыт использования ресурсосберегающей технологии содержания молодняка крупного рогатого скота в хозяйствах Сибири. Суть этой технологии заключается в беспривязном содержании молодняка в неотапливаемых зданиях с кормлением сочными кормами в помещении и грубыми - на выгульных дворах. Для отдыха животных в зданиях предусматриваются боксы с полом из тюков соломы. Общая толщина слоя подстилки 50 см. Выгульные дворы огораживаются забором, и в них организуются курганы из соломы площадью 2,5...3 м2 на одну голову. В центре здания устраивается кормовой проезд для мобильного раздатчика кормов в кормушки, к обеим сторонам которых примыкают кормонавозные площадки и боксы для отдыха животных.
Таблица 1.19
Нормативные значения технологических элементов в телятниках и зданиях для молодняка крупного рогатого скота
|
Технологические элементы |
Предельная величина группы, головы |
Норма площади на одну голову, м2 |
Размеры элементов помещения, м |
|
1. Групповые клетки: |
|
|
|
|
для телят до 3...4-месячного возраста |
10 |
1,2...1,3 |
По расчету |
|
для телят от 3.. .4- до 6-месячного возраста |
10 |
1,5...1,6 |
То же |
|
для молодняка от 6- до 12-мес. возраста |
15 |
1,8...2,5 |
Тоже |
|
для молодняка от 12- до 18-месячного возраста |
20 |
2,2...3 |
Тоже |
|
2. Боксы: |
|
|
|
|
для телят до 3...4-месячного возраста |
1 |
0,5 |
0,5×1 |
|
для телят от 3.. .4- до 6-месячного возраста |
1 |
0,72 |
0,6×1,2 |
|
для молодняка от 6- до 12- месячного возраста |
1 |
0,91 |
0.7×1,3..1,5 |
|
для молодняка от 12- до 18-месячного возраста |
1 |
1,2 |
0,8×1,5...1,7 |
С целью увеличения производства говядины в наиболее короткие сроки с наименьшими единовременными затратами целесообразно наряду с капитальными постройками использовать полуоткрытые механизированные площадки, рекомендовать строительство откормочных площадок для круглогодового содержания скота в южных зонах с ветрозащитными ограждениями и 3-стенными навесами для отдыха животных. Для центральных районов и Сибири при круглогодовом откорме молодняка молочных пород необходимо использовать механизированные площадки с легкими помещениями для отдыха животных со свободновыгульным содержанием. Для этой же зоны рекомендуются площадки открытого типа для откорма скота в течение 7...8 месяцев весенне-летнего периода с теневыми навесами для отдыха животных (рис. 1.8).

Рис. 1.18. Предлагаемые варианты строительства помещений легкого типа для скота мясного направления
Обобщение отечественного и зарубежного опыта позволяет рекомендовать следующие технологические параметры площадок для откорма крупного рогатого скота (табл.1.20).
Таблица 1.20
Технологические параметры площадок для откорма крупного рогатого скота
|
Показатели |
Примерные нормы |
|
1 |
2 |
|
Открытые площадки |
|
|
Площадь на одну голову, м2, с бетонированной поверхностью |
4. .5 , |
|
с грунтовой |
20...30 |
|
Полуоткрытые площадки Площадь загонов на одну голову, м2: |
|
|
с бетонированной поверхностью |
2,5..,3,0 |
|
с грунтовой ' |
20...30 |
|
Площадь под навесами на одну голову, м2 |
1,8...2,5 |
|
Высота навесов, м |
3,3...4,5 |
|
Фронт кормления на одну голову, м: |
|
|
при объемистом типе кормления |
0,6 |
|
при концентратном типе кормления |
0,3 |
|
при кормлении из самокормушек грубыми кормами |
0,1...0,2 |
|
при кормлении концентрированными кормами и гранулами |
0,08...0,10 |
Обязательным условием содержания молодняка на откормочных площадках является использование глубокой несменяемой подстилки под трехстенными навесами из расчета 2...4 кг на голову, а также устройство в центре выгульных дворов курганов из навоза и соломы.
Несменяемую глубокую подстилку устраивают следующим! образом: до наступления заморозков полы покрывают известью-пушенкой слоем до 3 см, на нее укладывают измельченную солому слоем 40 см, на которую запускают скот. Добавлять подстилку начинают через 5 дней. Суточную норму подстилки вносят ежедневно (или двойную норму через день). К наступлению холодов слой уплотненного навоза должен быть не менее 50 см. В этом случае создаются условия для развития биотермических процессов в навозе и обеспечивается теплое ложе для отдыха животных. Известь служит для активизации биотермических процессов, а в период уборки навоза - "как сигнал", чтобы не выбирать грунт с пола.
ВНИИМЖ предлагает механизированные площадки для свободновыгульного содержания молодняка на 50,100,200 и 400 голов. Технология содержания и откорма молодняка разработана в двух вариантах. Первый вариант предусматривает откорм скота в климатических зонах с расчетной зимней температурой воздуха минус 25 °С в течение 8 месяцев, второй - в южных зонах, круглый год. Раздача кормов производится раздатчиками типа КТУ. Для поения животных устанавливаются поилки АГК-4А с электроподогревом в холодное время года. Уборку навоза производят бульдозером.
Основой получения высокой эффективности скотоводства при реконструкции ферм является создание прочной кормовой базы за счет применения рациональных технологий заготовки, хранения и использования грубых и сочных кормов. Основную часть (60...70%) по питательности в рационах крупного рогатого скота составляют грубые и сочные корма. Однако заготовка, хранение и подготовка их к скармливанию в хозяйствах России остаются неудовлетворительными. Вследствие несовершенства применяемых технологий заготовки и подготовки к скармливанию, неудовлетворительного обеспечения хранилищами и средствами механизации общие потери питательных веществ достигают 30...50% от выращенного урожая кормов.
При реконструкции ферм необходимо использовать наиболее эффективные технологии заготовки, хранения и скармливания кормов, обеспечивающие:
- сокращение потерь на всех стадиях - от уборки до скармливания животным;
- снижение отрицательного действия погодных условий на процесс их заготовки и хранения;
- сокращение расхода энергии, материалов и эксплуатационных затрат;
- защиту окружающей среды от загрязнения.
Как показал опыт, широко внедряемая в 1970... 1980 гг. энергоемкая подготовка кормов в дорогостоящих кормоцехах не способствовала сокращению потерь и улучшению их качества.
В современных условиях выгоднее вкладывать средства не на подготовку кормов к скармливанию, а на совершенствование технологий их заготовки и хранения.
Наряду с улучшением технологий выращивания и уборки кормовых культур необходимо реализовать следующие основные организационные, технологические и технические решения по совершенствованию технологий консервирования, хранения и использования грубых и сочных кормов: набор основных машин, оборудования и хранилищ кормов в каждом хозяйстве должен быть универсальным, многоцелевого назначения и в зависимости от погодных и других условий обеспечивать заготовку из кормовых культур разных кормов: силоса естественной влажности, силоса влажностью 60...70% из провяленных растений или смешанных с сухими добавками, сенажа влажностью 40...50%, измельченного сена с досушкой активным вентилированием, травяной муки или сечки с сушкой на высокотемпературных сушилках, измельченных зеленой подкормки и соломы на корм и подстилку.
Для уборки кормовых культур необходимо применять:
- самоходные или прицепные универсальные кормоуборочные комбайны типов КСК-ЮОА, Е-281, "Полесье-3000", КПИ-2,4 и другие, осуществляющие скашивание или подбор из валков после провяливания различных кормовых культур с одновременным регулируемым измельчением и погрузкой в транспортные средства;
- закрытые тракторные саморазгружающиеся и самосвальные тракторные прицепы типов ПСТ-Ф-60, ПСТ-Ф-60-1, ПСЕ-Ф-12,5, ПСЕ-Ф-20;
- самозагружающиеся подборщики-полуприцепы с измельчителем типа ТП-Ф-45.
Основными типами хранилищ для силоса и сенажа должны остаться бетонированные наземные секционные траншеи, в которых корм не затапливается атмосферными осадками и избыточным силосным соком. Для уменьшения удельной открытой поверхности корма, а следовательно и сокращения отходов силоса при разработке новых проектов необходимо увеличивать их высоту до 4...5 м. Для снижения потерь питательных веществ отдельная секция траншеи должна загружаться и закладываться за 3...4 дня, а ежедневно выгружаемый слой корма по всей ширине траншеи с целью исключения значительных потерь за счет вторичной ферментации должен быть не менее 30 см.
С учетом этих требований в табл. 1.21 приведена рекомендуемая ширина секций траншей.
Таблица 1.21
Рекомендуемая ширина секций траншеи при различной суточной потребности силоса (сенажа). (Высота траншеи 3 м)
|
Показатели |
Поголовье коров |
||||
|
75 |
100 |
150 |
175 |
200 |
|
|
Суточная потребность силоса, т |
2,25 |
3,0 |
4,5 |
5,25 |
6,0 |
|
Ширина секции траншеи, м |
3,6 |
4,8 |
7,2 |
8,3 |
9,5 |
Механизированную выгрузку и раздачу силоса (сенажа) сложно осуществлять при ширине траншеи меньше 3,5 м и на фермах с суточным потреблением силоса менее 2 т.
Для таких мелких ферм целесообразно закладку силоса (сенажа) организовывать в одном месте для нескольких ферм или использовать специальные траншеи небольшой вместимости, герметично закрываемые при хранении и скармливании корма.
Целесообразно разработать и реализовать проектные предложения для реконструкции имеющихся в хозяйствах больших секционных траншей с целью уменьшения вместимости и ширины отдельных секций.
Для силоса (сенажа), скармливаемого весной и летом (при увеличении активности вторичной ферментации), следует предусмотреть отдельные секции шириной около 4 м с целью увеличения ежедневно выгружаемого слоя корма.
На небольших фермах целесообразно сократить заготовку сенажа в имеющиеся силосные траншеи. Этот корм по сравнению с силосом менее плотно укладывается в хранилища и более интенсивно разрушается кислородом воздуха при его закладке, хранении и скармливании, из-за чего возрастают потери или имеет место полная порча.
В таких условиях лучше заготавливать силос из трав, провяленных до влажности 60%.
В переувлажненных зонах, где затруднительно провяливание скошенных трав, экономически оправдана технология заготовки сенажа и силоса из измельченных трав с подсушкой их до влажности 50...70% на переоборудованных высокотемпературных сушилках типа АВМ-1,5 (разработана Сахалинской опытной станцией и ВНИИМЖем).
По сравнению с приготовлением травяной муки (сечки) расход топлива на 1 т зеленой травы сокращается в 2...3 раза и снижаются до минимума полевые потери корма.
Для снижения общих потерь и улучшения качества силоса толстостебельные растения с повышенной влажностью (кукуруза, подсолнечник и др.) целесообразно силосовать в виде равномерной смеси Ь измельченной соломой (до 20%). При этом влажность смеси снижается до оптимальной (60...70%), исключается утечка избыточного силосного сока, в 2...2,5 раза сокращаются общие потери питательных веществ, силос не промерзает, не перекисляется, в нем отсутствует масляная кислота.
При заготовке такого силоса наиболее рационально решается проблема использования на корм соломы без обработки ее в кормоцехах. В составе комбинированного силоса поедается до 7 кг соломы в сутки на одну корову, продуктивность их повышается на 9...12% по сравнению с раздельным скармливанием соломы и силоса без добавок.
Измельчение соломы осуществляется кормоуборочными комбайнами при подборе ее из валков, зерноуборочными комбайнами с измельчителями соломы, фуражирами ФН-1,4 при погрузке ее из скирд.
Наиболее доступно смешивать компоненты в траншее одновременно с трамбовкой массы бульдозером. Однако при этом затруднительно добавить более 7% соломы и равномерно смешать ее с силосуемой массой.
В крупных хозяйствах наиболее целесообразно равномерно смешивать измельченные зеленые корма с соломой (до 25%) на высокопроизводительной (до 100 т/ч) передвижной смесительной установке УЗС-Ф-60, разработанной ВНИИМЖем и ВНИИКОМЖем.
При необходимости в состав силоса можно дозированно включать различные химконсерванты и добавки при равномерном смешивании их с силосуемой массой.
Для снижения потерь питательных веществ в силосе (сенаже) за счет вторичной ферментации выгрузку его из траншей необходимо производить без разрыхления монолита корма с использованием специальных погрузчиков типов ПСК-5,0А и ПСС-5,5. Для этих же целей целесообразно организовать производство механических резаков силоса для мелких ферм и блокосилосорезок.
Сено хорошего качества незаменимо в рационах высокопродуктивных коров и телят. Однако вследствие неблагоприятной погоды и нарушения технологии его заготовки и хранения общие потери питательных веществ достигают 50% и более.
Для радикального снижения потерь в сене при реконструкции ферм необходимо реализовать следующие основные решения:
- заготовку его производить по технологиям с сокращенным временем сушки травы в поле;
- основную массу сена хранить в закрытых от атмосферных осадков хранилищах (сараи, навесы).
Для многих зон (в том числе с неблагоприятными погодными условиями для сушки) наиболее эффективна технология заготовки сена с досушкой в хранилищах активным вентилированием кратковременно провяленных трав (до влажности 30...45%), обеспечивающая сокращение потерь (до 2 раз) по сравнению с полевой сушкой. Таким способом можно заготавливать цельное, измельченное (частицы 80... 150 мм) и прессованное в укороченные тюки пониженной плотности (до 130 кг/м3) сено.
Наиболее эффективно измельченное сено, которое проще убирать, транспортировать, досушивать и раздавать животным. Для его заготовки могут применяться комплекты машин для приготовления силоса и сенажа, что упрощает организацию работ и позволяет оперативно изменять технологию заготовки кормов в зависимости от складывающихся погодных и других условий.
На базе имеющихся сенных сараев и навесов целесообразно строить пункты досушки сена активным вентилированием в двух сблокированных с хранилищами порционных сушилках многоразового использования. ВНИИМЖ обосновал и разработал такой пункт на 400...500 т сена (цельного, измельченного и в тюках) с двумя порционными, сушилками на 40...50 т (каждая). Все погрузочно-разгрузочные работы при этом выполняются тракторными погрузчиками ПФ-0,55, сено в каждой сушилке досушивается двумя осевыми вентиляторами от установок ВС-16.
При применении таких пунктов в 1,5... 1,8 раза сокращаются длительность досушки, на 30...40% - потребление электроэнергии. Высокое качество обеспечивается равномерной сушкой сена во всех зонах и улучшается за счет реализации следующих решений:
- герметичности стен камеры и равномерной подачи воздуха под ее основание;
- регулирования подачи воздуха в зависимости от состояния сена и погодных условий;
- реверсирования направления потока воздуха с нагнетанием на отсос во втором периоде досушки.
В зонах избыточного увлажнения необходимо применять резервное оборудование для подогрева воздуха на 2...643 для проведения интенсивной досушки сена. При этом целесообразно использовать более дешевую электроэнергию ночью (в часы разгрузки энергосистемы) путем нагревания в баке-аккумуляторе воды до 90...95ЧС.
Технология такой досушки и оборудование для хранилища на 1000 т сена разработаны ВНИИМЖем и приемочными государственными испытаниями рекомендованы к внедрению. Без увеличения общего расхода электроэнергии это позволяет сократить в 1,5...2 раза длительность досушки и обеспечивает приготовление высококачественного сена при неблагоприятной погоде.
В зонах с благоприятной погодой для полевой сушки трав и при больших расстояниях перевозки сено целесообразно заготавливать с прессованием в тюки (массой до 32 кг) и большегабаритные рулоны (до 750 кг) с использованием высокопроизводительных пресс-подборщиков ПРП-1,6, ПР-Ф-750 и ППЛ-Ф-1,6М. Для повышения эффективности заготовки сена в рулонах необходимо организовать производство недорогих измельчителей-раздатчиков сена в рулонах.
На мелких фермах (25...100 коров) закладку всех кормов целесообразно проводить в сблокированных с животноводческими помещениями закрытых хранилищах. При такой технологии обеспечивается защита кормов от атмосферных осадков, сокращаются их потери, повышается комфортность условий труда на фермах, снижаются затраты средств на скармливание кормов. В разработанном ВНИИМЖем проекте такой фермы загрузка всех кормов на хранение, их выгрузка и раздача животным производятся электрифицированным оборудованием без использования тракторов.
Эффективность реконструкции производственных помещений молочных ферм зависит прежде всего от оптимального набора комплектов машин и оборудования для комплексной механизации технологических процессов и принятых объемно-планировочных решений.
Внутреннюю планировку коровников определяют принятые способы содержания животных и механизация производственных процессов.
В реконструируемых коровниках при привязном содержании скота чаще всего предусматривают раздачу кормов при помощи мобильных кормораздатчиков (КТУ-10А, РММ-5А, ПРК-Ф-0.4), доение - в молокопровод (АДМ-8А), удаление навоза - скребковыми и шнековыми транспортерами.
При беспривязно-боксовом содержании коров для раздачи кормов применяют мобильные раздатчики и стационарные транспортеры типа РВК-Ф-74, доения - установки УДА-8А, УДА-16А и УДС-ЗБ, уборки навоза - скреперные транспортеры типов УС-Ф-170, КНП-10А и бульдозеры.
При комбинированном способе содержания коров раздачу кормов осуществляют мобильными раздатчиками, доение в доильных залах и удаление навоза - скребковыми и шнековыми транспортерами.
Примерами удачной реконструкции молочных ферм могут служить фермы сельскохозяйственных предприятий Московской, Ленинградской, Новосибирской и других областей.
В колхозе "Новый путь" Подольского района Московской области реконструирован коровник размерами 21x78 м, в котором в четыре ряда размещалось 208 стойл. В процессе реконструкции вместо четырех разместили шесть рядов стойл на 335 коров привязного содержания, т.е. вместимость увеличили в 1,6 раза. Такая плотность размещения скота оказалась вполне допустимой: глубина сплошного пола стойл по 1,7 м, ширина полосы решетчатого пола - 0,4 м. Планки решеток выполнены из круглых стержней, что обеспечивает самопроваливаемость экскрементов животных. Ширина крайних проходов по 1,6 м, средних - по 2,15 м. В помещении установлены три ленточных транспортера для раздачи кормов и три скребковых для удаления навоза.
Ленточные транспортеры выполняют роль спаренных кормушек и имеют ширину по 1,1 м. Железобетонные колонны в проходах на высоту 1,5 м обиты досками и резиновыми листами против травмирования животных.
Корма подвозят из кормоцеха кормораздатчиком КТУ-10А в торец коровника и перегружают на ленточные транспортеры. Коров доят в стойлах в молокопровод с помощью установки АДМ-8А. По шести линиям молокопровода молоко поступает в приемный резервуар молочного отделения.
Вентиляция в помещении принудительно-естественная. Приточный воздух подогревается с помощью электрокалориферов. Вытяжка загрязненного воздуха осуществляется через вентиляционные шахты.
В результате реконструкции площадь здания на одну голову уменьшилась с 7,8 до 4,9 м2, нагрузка на одного работника возросла с 19 до 24 голов, затраты труда на производство 1 ц молока снизились с 3,4 до 2,9 чел.·ч.
В АО "Васильевский" Вологодской области реконструирован коровник на 200 голов с доильно-молочным блоком. Содержание животных - комбинированное с применением автоматической привязи с использованием координатно-комбинированного агрегата конструкции С.-З. НИПТИМЭСХ. Поение животных осуществляется поилками ПА-1.
Расположение стойл - в 4 ряда, которые образуют 2 кормовых и 3 навозных проезда. В одном непрерывном ряду 57...58 ското-мест. Каждый ряд делится скотопрогоном на 2 группы по 27...28 коров. Размеры стойл 1,2×2 м.
За основу реконструкции доильно-молочного блока принято технологическое и техническое решение, используемое в ТП 801-5-61.12.87. Доение коров осуществляется на доильной установке УДА-8А "Тандем-Автомат". Доильно-молочный блок сблокирован с существующим коровником и включает в себя следующие помещения: доильную площадку, на которой установлены доильная установка и установка обмыва вымени, преддоильная и последоильные площадки, молочная с лабораторией и помещением для моющих средств, вакуум-насосная, пункт искусственного осеменения и другие помещения.
Коровы на доение последовательно подгоняются группами на преддоильную площадку по 26 голов. Далее, проходя через установку обмыва вымени УОВ-Ф-1-01, они входят в открытые входные ворота станков доильной установки УДА-8А. Впуск коров в станки осуществляется поочередно, затем закрываются их входные двери, и оператор с помощью доильного аппарата манипулятора приступает к доению. Доение, додаивание коровы, снятие и вывод доильных стаканов из-под вымени коровы выполняются автоматически.
После автоматического снятия доильного аппарата с вымени одной из коров ее выпускают, для чего открывают выходные ворота станка. Далее впускают следующую корову, предварительно открыв входные ворота станка.
После выдаивания оператор выпускает коров на последоильную площадку, откуда они направляются по скотопрогону в свою группу, далее процесс доения повторяется согласно нумерации групп.
В колхозе им. Горького Московской области реконструированы три коровника по 100 коров в каждом. Содержание коров привязное, раздача кормов с помощью мобильных раздатчиков КТУ-10А, доение в молокопровод АДМ-8А, уборка навоза - транспортерами с перемещением бульдозером в хранилище рядом с фермой. Молоко отправляют на переработку в цех, где его пастеризуют с последующей расфасовкой, а также изготавливают кефир, сливки, сметану и творог. Все молоко в хозяйстве реализуется в переработанном виде. Продуктивность коров - 4918 кг, затраты труда - 2,8 чел.·ч, расход кормов - 0,85 ц корм. ед., себестоимость - 161,6 руб. за 1 ц молока. Уровень рентабельности производства - 68,5%.
Для выбора приемлемых вариантов технологических и технических решений молочных ферм при их реконструкции ниже приводятся ориентировочные расчеты потребных капиталовложений, эксплуатационных затрат и других экономических показателей (табл. 1.22 - 1.25).
Технико-экономические показатели реконструируемых ферм были определены для дойного стада на примере реконструкции коровника на 200 голов при следующих исходных данных: продуктивность коров - 3500 кг на одну голову в год, годовой объем продукции - 700 т.
Реконструируемые объекты: коровник и доильно-молочный блок.
При привязном содержании коров в качестве примера реконструкции приведен наиболее распространенный тип коровника на 200 голов, построенный по ТП 801-2-8, размером 21×78 м и молочный блок размером 12×18 м (ТП 801-358).
При комбинированном содержании коров использованы те же коровники, что и при привязном содержании, доильно-молочный блок применен по ТП 801-5-19с83 размером 18×24 м.
При беспривязно-боксовом содержании коров использован коровник на 200 голов, построенный по ТП 801-2-49.85, размером 21×78 м и доильно-молочный блок по ТП 801-5-19с83.
Степень износа строительной части животноводческих помещений принята 20%.
Техническое оборудование по содержанию, кормлению, удалению навоза, доению животных и первичной обработке молока в доильно-молочном блоке заменяется при реконструкции на 100%.
Реконструкция ферм осуществляется по двум типам.
1. Техническое переоснащение и ремонт производственных помещений (коровников и телятников).
2. Достройка на ферме необходимых подсобно-вспомогательных зданий и сооружений (хранилища, навесы, цехи, площадки) и замена технологического оборудования в коровниках и телятниках.
Таблица 1.22
Капитальные вложения на реконструкцию молочных ферм на 200 голов по первому типу
|
Технологический процесс |
Технологии производства молока |
|||||
|
при привязном содержании коров |
при комбинированном содержании коров |
при беспривязно-боксовое содержании коров |
||||
|
тыс. руб. |
% |
тыс. руб. |
% |
тыс. руб. |
% |
|
|
Содержание животных |
186,4 |
14,2 |
186,4 |
13,2 |
- |
- |
|
Доение и первичная обработка молока |
370,1 |
28,1 |
414,2 |
29,3 |
414,3 |
35,9 |
|
Раздача кормов |
97,5 |
7,4 |
97,5 |
6,9 |
97,5 |
8,5 |
|
Удаление навоза |
196,9 |
15,0 |
196,9 |
14,0 |
154,5 |
13,4 |
|
Организация микроклимата |
89,2 |
6,8 |
89,2 |
6,3 |
89,2 |
7,7 |
|
Стоимость восстановления строительной части |
376,2 |
28,5 |
427,2 |
30,3 |
398,7 |
34,5 |
|
Итого |
1316,3 |
100 |
1411,4 |
100 |
1154,2 |
100 |
|
В расчете на одно ското-место |
6,58 |
- |
7,06 |
- |
5,77 |
-t |
Таблица 1.23
Общие эксплуатационные издержки производства молока на реконструируемых фермах
|
Показатели |
Привязное содержание |
Комбинированное содержание |
Беспривязно-боксовое содержание |
|||
|
тыс. руб. |
% |
тыс. руб. |
% |
тыс. руб. |
% |
|
|
Амортизационные отчисления |
230,8 |
24,3 |
342,5 |
34,8 |
208,1 |
27,4 |
|
Затраты на ТО и ремонт |
258,5 |
27,3 |
272,1 |
27,6 |
227,7 |
29,9 |
|
Зарплата с начислениями |
351,8 |
37,1 |
257,6 |
26,1 |
212,0 |
27,9 |
|
Затраты на топливо |
57,5 |
6,1 |
57,5 |
5,8 |
57,5 |
7,6 |
|
Затраты на электроэнергию |
49,5 |
5,2 |
55,6 |
5,7 |
55,4 |
7,2 |
|
Итого |
948,1 |
100 |
985,3 |
100 |
760,7 |
100 |
|
В расчете на одну корову |
4,74 |
- |
4,92 |
- |
3,80 |
- |
Таблица 1.24
Сравнительная экономическая эффективность реконструкции коровников при разных технологиях производства молока (первый тип реконструкции)
|
Показатели |
Привязное содержание |
Комбинированное содержание |
Беспривязно-боксовое содержание |
|
|
1 |
2 |
3 |
4 |
|
|
Стоимостные показатели |
||||
|
Капитальные вложения, тыс. руб. |
1316,3 |
1411,4 |
1154,2 |
|
|
В том числе: |
|
|
|
|
|
на одну корову |
6,58 |
7,06 |
5,77 |
|
|
на 1 т молока |
1,88 |
2,02 |
1,65 |
|
|
Прямые эксплуатационные издержки, тыс. руб. |
948,1 |
886,3 |
760,7 |
|
|
В том числе: |
|
|
|
|
|
на одну корову |
4,74 |
4,43 |
3,80 |
|
|
на 1 т молока |
1,35 |
1,26 |
1,09 |
|
|
Натуральные показатели |
||||
|
Трудозатраты, тыс. чел.·ч |
25,1 |
18,4 |
15,1 |
|
|
В том числе: |
|
|
|
|
|
на одну корову |
125,6 |
92,0 |
75,7 |
|
|
на 1 т молока |
35,9 |
26,3 |
21,6 |
|
|
Электроэнергия, тыс. кВтч |
165,0 |
185,0 |
184,8 |
|
|
В том числе: |
|
|
|
|
|
на одну корову |
825 |
925 |
924 |
|
|
на 1 т молока |
235,7 |
264,3 |
264,0 |
|
|
Топливо, т |
11,5 |
11,5 |
11,5 |
|
|
В том числе: |
|
|
|
|
|
на одну корову, кг |
57,5 |
57,5 |
57,5 |
|
|
на 1 т молока |
16,4 |
16,4 |
16,4 |
|
|
Металлоемкость, т |
26,0 |
25,8 |
19,5 |
|
|
В том числе: |
|
|
|
|
|
на одну корову, кг |
130 |
129 |
98 |
|
|
на 1 т молока, кг |
37,1 |
36,8 |
28,0 |
|
Таблица 1.25
Технико-экономические показатели реконструкции молочных ферм по второму типу*
|
Показатели |
Затраты, тыс. руб. |
В том числе на одну голову, тыс. руб. |
|
Капитальные вложения |
1321,0 |
6,6 |
|
Затраты на производство |
|
|
|
и реализацию продукции |
1211,2 |
6,1 |
|
Выручка от реализации продукции |
1554,9 |
7,8 |
|
Балансовая прибыль |
343,7 |
1,7 |
|
Чистая прибыль |
85,1 |
0,4 |
|
Уровень рентабельности по балансовой прибыли, % |
28,4 |
- |
|
Окупаемость капитальных вложений |
3,9 |
- |
* Реконструкция предусматривает работы по строительству цеха по переработке молока, навозной компостной площади и навеса для хранения сена.
Потребность машин для реконструируемых молочных ферм определена применительно к фермам с поголовьем до 400 коров. В настоящее время на этих фермах числится 88,7 тыс. коровников, из них 65,3 тыс. вместимостью 70...110 коров и 13 тыс. вместимостью 190...200 голов.
Результаты обследования ферм показывают, что практически 100% их подлежит в той или иной степени реконструкции. В общий объем реконструкции коровников были включены те здания, которые имели степень износа менее 20%. Коэффициент, учитывающий объем реконструкции животноводческих помещений, принят равным 0,86.
В соответствии с экономической целесообразностью и прогнозом состояния объектов молочного скотоводства реконструкция ферм по первому типу составит 70% и по второму типу - 30% (табл. 1.26).
Таблица 1.26
Количество коровников, подлежащих реконструкции в зависимости от их вместимости и способов содержания животных, тыс. шт.
|
Тип реконструкции |
Привязное содержание |
Беспривязное содержание |
|
Всего |
|
||||
|
Вместимость коровников, ското-место |
|
|
|||||||
|
100 |
200 |
Итого |
100 |
200 |
Итого |
100 |
200 |
Итого |
|
|
1 |
37,8 |
7,6 |
45,4 |
6,7 |
1,3 |
8,0 |
44,5 |
8,9 |
53,4 |
|
2 |
16,2 |
3,0 |
19,2 |
2,8 |
0,6 |
3,4 |
19,0 |
3,6 |
22,6 |
|
Итого |
54,0 |
10,6 |
64,6 |
9,5 |
1,9 |
11,4 |
63,5 |
12,5 |
76,0 |
Удельные капитальные вложения на реконструкцию ферм по первому типу составят 5800...7000 и по второму типу - 8000... 10000 руб. в расчете на одно ското-место.
На основании прогноза состояния объектов молочных ферм и принятой технологии производства молока (привязное содержание - 85%, в том числе комбинированное - 10 и беспривязное - 15%) определена потребность в машинах и оборудовании. Общий объем пригодных к реконструкции коровников составляет 76 тыс. (всего коровников 88,7 тыс.×0,86).
Общая потребность в комплектах машин и оборудования для молочных ферм с привязным содержанием составит 64,6 тыс. и для ферм с беспривязным содержанием - 11,4 тыс. Если принять средний срок эксплуатации машин и оборудования 7 лет, то ежегодно будет подвергаться реконструкции 10,9 тысяч коровников, в том числе привязного содержания - 9,3 тыс. и беспривязного - 1,6 тыс.
Ориентировочная годовая потребность машин и оборудования для комплексной механизации производственных процессов на реконструируемых молочных фермах России представлена в табл. 1.27.
Потребность капитальных вложений на реконструкцию молочных ферм представлена в табл. 1.28.
Таким образом, для проведения реконструкции и восстановления молочных ферм необходимо ежегодно выпускать 10,9 тыс. комплектов машин и оборудования. Общая сумма инвестиций для реконструкции молочных ферм должна составлять 6,8 млрд руб. (в ценах 1998 г.) в год.
Внедрение в производство этих предложений позволит быстро достичь уровня производства продукции животноводства 1990 г. и довести потребление молока на душу населения в 2005 г. до 380...400 кг.
Таблица 1.27
Годовая потребность комплектов машин и оборудования для молочных ферм (тыс. шт.)
|
Показатель |
Привязное содержание |
Беспривязное содержание |
Итого |
||
|
Вместимость коровников, головы |
|||||
|
100 |
200 |
100 |
200 |
||
|
Комплекты машин и оборудования для молочных ферм |
|
||||
|
7,7 |
1.6 |
1.4 |
0,2 |
10,9 |
|
|
В том числе: |
|
||||
|
по первому типу реконструкции |
5.4 |
1,1 |
1,0 |
0,2 |
7.7 |
|
по второму типу реконструкции |
2,3 |
0,5 |
0,4 |
. |
3.2 | |
Таблица 1.28
Годовая потребность капитальных вложений для реконструкции молочных ферм России
|
Тип реконструкции |
Число, тыс, |
Удельные капитальные |
Общая сумма |
||
|
коровников |
ското-мест |
||||
|
Вложения на одно ското-место |
Капитальных вложений, млн руб |
||||
|
Привязное содержание коров |
|||||
|
1 |
6,5 |
780 |
6580 |
5132,4 |
|
|
2 |
2,8 |
334 |
9000 |
3006,0 |
|
|
Итого |
9,3 |
1114 |
7305 |
8138,4 |
|
|
Беспривязно-боксовое содержание коров |
|||||
|
1 |
1,2 |
142 |
5770 |
819,3 |
|
|
2 |
0,4 |
49 |
8500 |
416,5 |
|
|
Итого |
1.6 |
191 |
6470 |
1235,8 |
|
|
Итого |
|||||
|
1 |
7,7 |
922 |
6455 |
5951,7 |
|
|
2 |
3,2 |
383 |
8936 |
3422,5 |
|
|
Итого |
10,9 |
1305 |
7183 |
9374,2 |
|
Создание всесторонне развитого и высокорентабельного сельского хозяйства является обязательным условием ускорения социально-экономического развития Российской Федерации. Рост производства продукции сельского хозяйства должен несколько опережать спрос на нее. Проводимая ранее индустриализация сельского хозяйства - это объективный процесс коренного изменения технической базы и повышения ее оснащенности современными средствами труда на основе прогрессивных технологий.
В докризисный период агропромышленный комплекс России производил до 30% национального продукта, удельный вес животноводства, как одной из ведущих отраслей АПК, составлял более 53,0% валовой продукции сельского хозяйства. Однако в последние 8 лет положение в отраслях животноводства, и особенно в свиноводстве, значительно ухудшилось.
Из-за допущенных ошибок в осуществлении аграрной реформы, выразившихся в нарушении паритета цен, отсутствии государственной поддержки отечественных производителей, разрушении базы сельхозмашиностроения и службы технического сервиса в отрасли свиноводства произошло:
- резкое сокращение поголовья свиней и их продуктивности, объемов производства продукции;
- разрушение ферм и комплексов с индустриальными технологиями производства, доля которых в производстве продукции свиноводства в 1990-1991 гг. составляла 33...35%. Практически исключены из эксплуатации или работают частично "на выживание" 12 свиноводческих комплексов мощностью 54 тыс. голов в год, 15 комплексов на 108 тыс. и 8 - на 216 тыс. голов в год;
- ухудшение технической оснащенности объектов свиноводства технологическим оборудованием из-за резкого (в 10...20 раз) сокращения покупательского спроса товаропроизводителей, морального и физического Старения парка машин, удорожания (в 3...5 раз) затрат на их техническое обслуживание и ремонт, электроснабжение, а также снижения надежности оборудования. В результате этих негативных явлений наблюдается массовая убыточность хозяйств, производящих свиноводческую продукцию (свыше 90% предприятий имеют отрицательную рентабельность), дальнейшее сокращение поголовья и переход к ручному обслуживанию животных;
- ликвидация совхозных ферм, коллективных хозяйств и разрушение освободившихся (до 40...45% по вместимости) пригодных капитальных зданий и сооружений, ухудшение обеспечения животных кормами и снижение их качества;
- потеря высококвалифицированных кадров и инженерной инфраструктуры свиноводства, которая была для многих населенных пунктов источником жизни и занятости трудовых ресурсов, базой сельских поселений.
Свиноводство всегда играло значительную роль в обеспечении населения мясом. Доля свинины в мясном балансе
страны в 1988-1990 гг. составляла 33...35%. В мировом балансе мясо свинины занимает 42,4%, а в западно-европейских государствах достигает 60%.
С 1990 по 1998 гг. поголовье свиней в России во всех категориях хозяйств сократилось с 38,3 млн до 16,7 млн голов, производство свинины на душу населения снизилось с 23,6 кг до 9,2 кг (табл. 2.1). В целом производство свинины по стране сократилось в 2,5 раза, расход кормов на 1 ц привеса увеличился с 8,3 до 11,7 ц корм, ед., в том числе расход концентрированных кормов составил 10,1 ц корм, ед., а затраты труда повысились до 25...32 чел. ч.
Таблица 2.1
Производство продукции свиноводства во всех категориях хозяйств России
|
Показатели |
1990 г. |
1995 г. |
1996 г. |
1997 г. |
1998 г. |
1999 г. |
|
Произведено свинины: |
|
|
|
|
|
|
|
на душу населения |
23,6 |
12,87 |
10,8 |
9,53 |
9,22 |
9,83 |
|
всего в убойном весе, тыс. т |
3508 |
1912 |
1594 |
1405 |
1354,7 |
1445 |
|
всего в живом весе, тыс. т |
5016 |
2734 |
2279 |
2010 |
1937,2 |
20649 |
|
Сдано свиней, тыс. голов |
46444 |
32939 |
29597 |
25125 |
24215 |
25082 |
|
Средняя масса одной сданной головы, кг |
108 |
83 |
11 |
80 |
80 |
82 |
|
Среднегодовое поголовье, тыс. голов |
38314 |
22631 |
19115 |
17348 |
16734 |
18310 |
Уровень рентабельности от реализации мяса свиней в 1991 г. составлял плюс 15%, в 1998 г., включая дотацию и компенсацию, уже минус 31 %, а без дотации - 39%.
С повышением цен на корма, металл и энергоносители большинство свиноводческих предприятий промышленного типа и ферм с законченным производственным циклом до 24 тыс. голов в год, являющееся основными производителями товарной свинины, стало нерентабельным, а некоторые вообще прекратили свое существование. Фермерские хозяйства, которые создавались как альтернативные коллективным и государственным, производят не более 1,5% от общего объема свинины.
Личные подсобные хозяйства ранее традиционно использовали базу коллективных хозяйств (молодняк, ветслужба). С развалом колхозов и совхозов в личных подсобных хозяйствах (подворьях) также наметились тенденции сокращения поголовья свиней и снижения объемов производства свинины.
Необходимо отметить, что за годы реформ из-за диспаритета цен, когда цены на сельскохозяйственную продукцию повысились в 1,9 тыс. раз, а на промышленную - в 9,4 тыс. раз, обновление технических средств в хозяйствах всех форм собственности практически не происходило. Так, почти половина машинно-тракторного парка выработала нормативный срок службы. Дальнейший спад производства сельскохозяйственной техники и оснащенности ею сельхозпредприятий грозит возвратом к ручному труду. Использование мощностей заводов сельскохозяйственного машиностроения в 1998 г. по сравнению с 1985 г. снизилось в 20...49 раз, поэтому оснащение ферм техникой из года в год продолжает снижаться.
Не вводятся в строй и новые производственные площади. Капитальные вложения в отрасли АПК за счет всех источников финансирования в 1985 г. составляли 51,7 млрд руб. (в ценах 1991 г.), а в 1998 г. -только 3,4 млрд руб., или почти в 15 раз меньше. Непосредственно в сельское хозяйство капитальные вложения в эти годы, соответственно, составили 28,9 и 0,5 млрд руб.
Ввод в действие помещений для содержания животных в 1991 г. достигал 1,6 млн ското-мест, а в 1997 г. - 0,1 млн ското-мест. Всего помещений для содержания животных всех видов в 1985 г. введено на 3,4 млн ското-мест, в 1998 г. - 0,04 млн, или в 85 раз меньше. Обеспеченность свиноводства кормами ухудшается из года в год.
Переход агропромышленного комплекса (АПК) к рыночным взаимоотношениям с различными формами собственности сопровождается созданием в стране всевозможных ассоциаций, акционерных обществ, крестьянских (фермерских) хозяйств, некоторым расширением личных подсобных хозяйств, и сокращением числа колхозов, совхозов, снижением мощности и значимости предприятий промышленного типа. Однако такая перестройка не привела к увеличению производства продукции и существенно не изменила номенклатуру свиноводческих предприятий.
Основными причинами глубокого кризиса в свиноводстве наряду с диспаритетом цен и несовершенством применяемых технологий являются: нарушение системы экономических связей между производителями продукции, перерабатывающей отраслью и торговлей, а также отсутствие государственной национальной политики на поддержку отечественных товаропроизводителей.
Монополизм и диктат со стороны заготовителей (переработчиков) и торговли, возмещающих сельхозпроизводителям не более 25...30% от цены реализации готовой продукции в розничной торговле и не более 60...65% издержек на ее производство, приводят к искусственному банкротству сельхоз-товаропроизводителей, массовому разорению ферм, неплатежеспособности хозяйств всех форм собственности. Отсутствие финансовых ресурсов у товаропроизводителей лишает их возможности приобретать новую технику, необходимую для совершенствования технологий производства и повышения эффективности отрасли. Государство при этом призвано защищать отечественных товаропроизводителей, устанавливая по опыту многих стран мира дотации и надбавки на закупочные цены, льготы на энергоносители, технику, ветеринарное обслуживание и т.п. Без исправления допущенных ошибок в осуществлении экономической реформы невозможно рассчитывать на возрождение отечественного производства продукции свиноводства, сохранение общинного уклада жизни на селе, стабильности и спокойствия в государстве, решение проблемы занятости, улучшение уровня питания и условий жизни населения.
Одним из выходов из создавшегося кризисного состояния в сельском хозяйстве и частичного повышения рентабельности производства продукции свиноводства является создание во многих хозяйствах цехов по переработке мяса. Однако создание таких цехов, особенно на фермах с недостаточной концентрацией животных, не обеспечивает применение технологий комплексной глубокой переработки сырья, отходов и сохранения их качества. Кроме того, требует значительных вложений в здания, оборудование и объекты инфраструктуры, составляющих 450...600 тыс. руб. на единицу (1 т) мощности. Затраты на переработку продукции в таких цехах не могут конкурировать со специализированными перерабатывающими предприятиями, мощности которых во многих регионах используются не более чем на 35...60%.
В сложившихся условиях поиск эффективных путей восстановления и развития отечественного производства продукции свиноводства, равно как и других видов продовольствия, имеет огромное национальное значение - экономическое, стратегическое, политическое (спокойствие в стране, независимость, улучшение питания и повышение здоровья людей, снижение смертности и повышение рождаемости).
При этом восстановление производства в условиях рынка, конкурентной борьбы и необходимости противостояния импорту иностранных продуктов должно осуществляться на качественно новом технологическом и техническом уровнях, обеспечивающих более полную реализацию генетического потенциала животных, рациональное использование кормов, рабочего времени, энергоресурсов, основных фондов, получение высококачественных, экологически чистых конкурентоспособных продуктов. Нельзя восстанавливать производство продукции по параметрам с отставанием (превышением) от западных стандартов по трудоемкости в 15...20 раз, энергоемкости в 2,5...3,5, затратам кормов в 2.5...3 и продуктивности в 2...4 раза.
В деле развития агропромышленного комплекса, в том числе восстановления производства продукции свиноводства, значительное место должно отводиться использованию достижений науки и техники.
Необходимо отметить, что усилия НИИ, КБ, вузов, имеющих научный потенциал и экспериментально-производственную базу, не позволяют достичь должных комплексных результатов, прежде всего из-за создавшейся кризисной ситуации, в которой оказалась страна, АПК, в том числе отечественная агроинженерная наука.
Из-за отсутствия средств на разработку, изготовление опытных образцов новой техники затянулись сроки создания приоритетных машин и оборудования. За последние годы не создано ни одной экспериментальной фермы по производству свиноводческой продукции с новыми технологическими процессами и операциями, хотя проектно-сметная документация на многие объекты разработана. Отсутствие экспериментальных объектов, не позволяет отрабатывать новые технологии, накапливать материалы для дальнейшего развития теоретических основ, совершенствования механизированных процессов, автоматизации, электронизации, уточнения форм организации труда и управления производством.
Из вышеизложенного видно, что свиноводство России пришло в упадок, большинство предприятий не может эффективно работать прежде всего из-за нерешенности общеэкономических вопросов на федеральном уровне - установления экономически обоснованной политики цен, поддержки отечественных товаропроизводителей, установления соответствующих таможенных пошлин на ввоз в страну иностранной продукции.
Для восстановления поголовья и увеличения производства продукции свиноводства приоритетным направлением Федеральной и региональной политики должно быть обеспечение животноводства полноценными кормами (комбикормами), в том числе собственного производства. Следующим направлением должна стать разработка научно обоснованных предложений по реконструкции и техническому переоснащению действующих объектов.
Создание прочной кормовой базы и реконструкция свиноводческих предприятий - это два магистральных направления возрождения производства продукции свиноводства.
В целях снижения себестоимости и повышения конкурентоспособности получаемой продукции в проект реконструкции целесообразно включать все необходимые технологические блоки и цехи - зерносклады, картофеле-овощехранилища, кормоцеха, помещения для содержания животных, убойные пункты, цехи по первичной переработке получаемой продукции, пункты хранения с холодильными камерами, средства общефермского и общехозяйственного транспорта кормов, сырья и готовой продукции. В проекте должно предусматриваться техническое перевооружение на новой основе, обеспечивающее комплексную механизацию и автоматизацию производственных процессов, позволяющее повысить производительность труда в 3...5 раз по сравнению с существующей.
Основная цель реконструкции - создание обновленного на новой технической и технологической основе предприятия промышленного типа с максимальным использованием существующих зданий, сооружений, технических средств, осуществляя их модернизацию - перепланировку, утепление зданий, оснащение перспективными машинами, автоматами и оборудованием, которые в совокупности обеспечат благоприятные условия труда обслуживающего персонала, реализацию генетического потенциала животных, создадут экономическую базу для снижения издержек, рационального использования ресурсов и эффективного ведения производства.
Подготовка к реконструкции того или иного свиноводческого предприятия должна начинаться с детального обследования и составления технического паспорта действующего объекта.
Паспорт реконструируемой фермы должен содержать следующие данные: место расположения, мощность, топографические и инженерно-геологические условия, схему генплана, наличие и состояние инженерных коммуникаций, объемно-планировочных решений объектов с указанием габаритных размеров, перечень применяемого технологического оборудования и средств комплексной механизации технологических процессов и операций с указанием степени их износа.
Степень физического износа некоторые исследователи рекомендуют подразделять на 5 категорий в зависимости от сохранности конструктивных элементов зданий, оборудования и механизмов: очень хорошее - 0...15%, хорошее - 15...35, удовлетворительное 35...50, допустимое для временной эксплуатации - 50...70, неудовлетворительное, подлежащее сносу - 70% и более.
Естественно, реконструкцию в первую очередь необходимо проводить в зданиях, которые могут эксплуатироваться еще 10...30 лет. При паспортизации необходимы углубленный анализ кормовой базы, возможность обеспечения фермы различными видами дешевых кормовых средств. На основании данного анализа будет определен тип кормления - концентратный или многокомпонентный, а отсюда - набор технологического оборудования для кормоцеха, способы подготовки, раздачи кормов и другое оборудование.
Целесообразно разработать несколько вариантов реконструкции ферм с технико-экономическим обоснованием, в котором указать степень использования существующих помещений, технологических линий, оборудования.
Если реконструкция обеспечивает планируемый объем продукции с экономией капитальных вложений меньше 25% по сравнению с новым строительством, то целесообразнее строить новые здания и сооружения с частичным использованием существующих.
Для каждого объекта и варианта реконструкции необходимо разработать технико-экономическое обоснование с определением затрат, конечных результатов, источников финансирования и сроков окупаемости инвестиций.
На крупных свиноводческих предприятиях восстановление и развитие производства, повышение эффективности, конкурентоспособности свинины возможно на основе применения интенсивных технологий, использования новых машин и оборудования, предусмотренных Системой машин на период до 2005 г., интеграции этих предприятий с комбикормовыми заводами и мясоперерабатывающими предприятиями или создания собственных кормовых цехов, а также цехов по убою и переработке продукции.
Ведущую роль в интенсификации производства свинины занимают полноценное кормление и правильная его организация, переход к кормлению сбалансированными сухими комбикормами с увлажнением их в процессе выдачи.
Анализ технико-экономических показателей производства, приготовления и раздачи кормов при различных типах кормления свиней показывает, что при концентратном типе кормления затраты труда, потребление электроэнергии, топлива, металла в 1,3...2,9 раза ниже, чем при концентратно-картофельном или концентратно-корнеклубнеплодном.
При реконструкции животноводческих предприятий важное значение имеет решение проблемы утилизации навоза, что позволит в 1,5...2 раза сократить капитальные и эксплуатационные расходы, сохранить плодородие почв, обеспечить экологическую безопасность.
Анализ существующих систем утилизации показывает, что максимальные затраты труда сохраняются при уборке навоза из помещений, а прямые энергозатраты и издержки идут на процессы его переработки.
Исходя из этого при реконструкции свиноводческих предприятий необходимо применять технологии и технические средства повышенной надежности, отличающиеся универсальностью и обеспечивающие требуемое качество выполнения технологических процессов и т.д.
В регионах, обеспеченных ресурсами влагопоглощающих материалов, подготовку к использованию навоза влажностью до 92% предлагается осуществлять путем производства комплексных смесей в процессе уборки навоза из помещений. При этом можно не менее чем в 2 раза сократить количество выполняемых операций, отказаться от использования дорогостоящих хранилищ, сократить потери навоза на 20...25% и повысить качество производимых органических удобрений.
Как уже отмечалось, в реализации проблемы восстановления и развития производства продукции свиноводства особое место занимают комбикорма. Для удовлетворения потребности подотрасли в них и восстановления объемов производства продукции до уровня 1990 г. требуется не менее 25,0 млн т комбикормов.
В связи с ростом затрат на энергоресурсы и с целью снижения транспортных издержек и получения дешевых высококачественных комбикормов изменилась общая тенденция их производства в крупных комбикормовых заводах - перешли поросята-отъемыши и откормочный молодняк, парная и охлажденная свинина, копчености, полуфабрикаты и др.;
- производственные площадки и цехи по компостированию навоза с получением ценных органических удобрений, используемых для повышения урожайности сельскохозяйственных культур хозяйства и продажи населению.
ВНИИМЖ разработал и располагает необходимыми проектно-техническими решениями по созданию вышеперечисленных перерабатывающих объектов.
Реконструируемые фермы с расширением функций производства должны характеризоваться следующими показателями: повышением продуктивности животных на 10... 15%, снижением удельных затрат труда на 20...30, расхода кормов - на 17... 19, себестоимости - на 10... 12% на единицу продукции.
Основная цель реконструкции - организация обновленного предприятия с максимальным использованием существующих зданий, сооружений на основе их модернизации, перепланировки, оснащения более эффективными машинами, оборудованием, обеспечивающих создание комфортных условий содержания животных и работы обслуживающего пepсонала, экономию энергии и других ресурсов, повышения производительности труда и увеличения выхода продукции.
Рост объема производства свинины на реконструируемых фермах зависит от продуктивности животных и их сохранности. Примерные технологические параметры для реконструируемых свиноводческих предприятий мощностью 6 тыс., 12 тыс. и 24 тыс. голов в год представлены в табл. 2.2 и 2.3. Только при этих параметрах хозяйство может быть рентабельным и конкурентоспособным.
Таблица 2.2
Технологические параметры производства при реконструкции свиноводческих предприятий с законченным циклом мощностью 6 тыс., 12 тыс., 24 тыс. свиней в год
|
Показатели |
Количество |
|
Ритм производства, дни на 6 тыс. голов в год |
14 |
|
12 тыс. |
7 |
|
24 тыс. |
3...4 |
|
Число опоросов от свиноматки в год, опоросы |
2 |
|
Многоплодие в среднем при соотношении опоросов взрослых маток и первоопоросок 70 30, головы |
9,5 |
|
Технологический отход, % |
|
|
поросята-сосуны |
12 |
|
поросята-отъемыши |
6 |
|
свиньи на откорме |
2 |
|
Реализация свиней на среднегодовую свиноматку, гол. |
15,8 |
|
Продолжительность подсосного периода, дни |
42 |
|
Прохолост свиноматок, головы |
25 |
|
Годовая браковка маточного поголовья |
40 |
|
Продолжительность сервис-периода, дн. |
21...28 |
|
Число осеменений маток в одну охоту, раз |
2 |
|
Масса поросят, кг: |
|
|
при рождении |
1,2 |
|
при отъеме (42 дня) |
11,0 |
|
при поставке на откорм |
38...46 |
|
Возраст поросят при постановке на откорм, дни |
120...140 |
|
Живая масса свиней при снятии с откорма, кг |
110...115 |
|
Среднесуточный прирост, г: |
|
|
поросят-сосунов |
233 |
|
поросят-отъемышей |
357 |
|
свиней на откорме |
550.600 |
|
Продолжительность откорма, дни |
115...130 |
|
Возраст свиней при реализации, дни |
235...155 |
Нормы площадей и размеры основных технологических элементов зданий, сооружений и помещений представлены в табл. 2.4. Отступление от указанных норм ведет к снижению продуктивности животных. Однако улучшение (совершенствование) данных норм при реконструкции ферм вполне допустимо. Например, содержание поросят-отъемышей гнездами, а свиней на откорме - мелкими группами по 10 голов в станке или увеличение нормы станковой площади ремонтным свинкам до 1,2 м2, а свиноматкам при групповом содержании до 2,2 м2 способствует повышению продуктивности животных.
Таблица 2.3
Движение поголовья для ферм различной мощности при производственном их ритме 14,7 и 3-4 дня.
|
Группа животных |
Мощность фермы, тыс. голов в год |
|||||
|
6 |
12 |
24 |
||||
|
число голов |
число голов |
число голов |
||||
|
В группе |
за год |
В группе |
За год |
в группе |
За год |
|
|
Осеменение, всего: |
40 |
1040 |
40 |
2080 |
40 |
4160 |
|
В том числе: |
|
|
|
|
|
|
|
взрослых маток |
28 |
728 |
28 |
1456 |
28 |
2912 |
|
ремонтного молодняка |
12 |
312 |
12 |
624 |
12 |
1248 |
|
Постановка на опорос, |
|
|
|
|
|
|
|
всего: |
30 |
780 |
30 |
1560 |
30 |
3120 |
|
В том числе: |
|
|
|
|
|
|
|
взрослых маток |
21 |
546 |
21 |
1092 |
21 |
2148 |
|
первоопоросок |
9 |
234 |
9 |
468 |
9 |
936 |
|
Выбраковка свиноматок, всего: |
11 |
286 |
11 |
573 |
11 |
1147 |
|
В том числе: |
|
|
|
|
|
|
|
взрослых маток |
6 |
156 |
6 |
313 |
6 |
626 |
|
ремонтных свиноматок и первоопоросок |
5 |
130 |
5 |
360 |
5 |
512 |
|
Подсосные свиноматки |
30 |
782 |
30 |
1564 |
30 |
3128 |
|
Новорожденные поросята (живые) |
285 |
7430 |
285 |
14860 |
285 |
29720 |
|
Отход 12% |
34 |
886 |
34 |
1773 |
34 |
3546 |
|
Поросята к отъему |
215 |
6544 |
251 |
13087 |
251 |
26174 |
|
Отход 6% |
15 |
319 |
15 |
782 |
15 |
1564 |
|
Поросята при постановке |
|
|
|
|
|
|
|
на откорм |
236 |
6153 |
236 |
12305 |
236 |
24610 |
|
Отход 2% |
5 |
131 |
5 |
261 |
5 |
522 |
|
В том числе санбрак 1 % |
2 |
52 |
2 |
104 |
2 |
208 |
|
Сдача на убой |
231 |
6022 |
231 |
12044 |
231 |
24088 |
|
Убой с живым весом: |
|
|
|
|
|
|
|
116кг-97% |
226 |
5892 |
226 |
11784 |
226 |
23568 |
|
70 кг - 3% нест. |
5 |
130 |
5 |
260 |
5 |
520 |
|
Покупка ремонтного молодняка |
15 |
390 |
15 |
780 |
15 |
1560 |
|
Выбраковка ремонтного молодняка |
4 |
103 |
4 |
207 |
4 |
414 |
Таблица 2.4
Нормы площадей и размеры основных технологических элементов зданий, сооружений и помещений
|
Элементы помещений |
Предельное Поголовье на один элемент помещения, гол. |
Норма станковой площади на одну голову, м2 |
Ширина (глубина) элементов помещения, м |
|||
|
название |
Назначение (по группам животных) |
предприятия на 6...24 тыс. свиней |
тоже, племенные предприятия |
предприятия на 6.. 24 тыс. свиней |
тоже, племенные предприятия |
|
|
1 |
2 |
3 |
4 |
5 |
6 |
7 |
|
1. Групповые станки |
Для хряков проверяемых и пробников |
|
|
|
|
|
|
Для холостых свиноматок и свиноматок с установленной супоросностью: |
5 |
2,5 |
2,5 |
До 3,5 |
До 3,5 |
|
|
на сплошном полу |
12 |
1.9 |
2,0 |
До 3,5 |
До 3,5 |
|
|
щелевом полу |
12 |
1,7 |
|
До 3,5 |
До 3,5 |
|
|
Для поросят-отъемышей: |
|
|
|
|
|
|
|
на сплошном полу |
10...25 |
0,35 |
0,4 |
До 2,5 |
До 3,5 |
|
|
на щелевом полу |
10...30 |
0,3 |
0,3 |
До 2,5 |
До 3,5 |
|
|
Для ремонтного молодняка: |
|
|
|
|
|
|
|
на сплошном полу |
10 |
0,8 |
1,0 |
До 3,5 |
До 3,5 |
|
|
на щелевом полу |
15 |
0,75 |
- |
- |
- |
|
|
Для откормочного молодняка: |
|
|
|
|
|
|
|
на сплошном полу |
10...30 |
0,8 |
- |
до 3,5 |
- |
|
|
на щелевом полу |
10...30 |
0,65 |
|
до 3,5 |
- |
|
|
Для выбракованных свиноматок и хряков на откорме |
20 |
1,2 |
|
до 3,5 |
- |
|
|
2. Индивидуальные станки |
Для хряков-производителей Для свиноматок за 7-10 дней до опороса и подсосных свиноматок с поросятами до 2 месяцев: |
1 |
7,0 |
7,0 |
2,5...2,8 |
2,5..2.8 |
Продолжение таблицы 2.4
|
1 |
2 |
3 |
4 |
5 |
6 |
7 |
|
|
на сплошном полу |
1 |
6,5 |
7,5 |
2,5 |
2,5 |
|
на щелевом полу |
1 |
6,0 |
- |
2,5 |
- |
|
|
Для свиноматок за 7 10 дней до опороса и подсосных с поросятами при раннем отъеме поросят (25...35 дней): |
|
|
|
|
|
|
|
на сплошном полу |
1 |
6,0 |
- |
2,0...2,2 |
- |
|
|
на щелевом |
1 |
3,6 |
- |
2,0...2,2 |
- |
|
|
Для свиноматок холостых, осеменяемых и с неустановленной супоросностью |
1 |
1.2 |
1,4 |
1,9 |
2,0 |
|
|
3. Проходы |
Кормовые, кормонавозные, поперечные и продольные |
- |
- |
- |
По габаритам оборудования, но не менее 1.2 |
По габаритам оборудования, но не менее 1,2 |
|
Эвакуационные |
- |
- |
- |
1,2 |
1,2 |
|
|
Служебные |
- |
- |
|
1,0 |
1,0 |
Для достижения конкурентоспособности реконструируемых предприятий необходимо все технологические процессы обеспечить высокопроизводительным, энергосберегающим оборудованием, позволяющим получать нормативные, экономические показатели (табл. 2.5). В условиях рыночной экономики и высоких цен на энергоносители доля стоимости энергоресурсов в себестоимости продукции свиноводства: достигает 30%, поэтому всякий перерасход отрицательно сказывается на себестоимости продукции.
Таблица 2.5
Примерные удельные затраты труда, электроэнергии, топлива и расход металла на выполнение технологических процессов на реконструируемых свиноводческих фермах мощностью 3 тыс., 6 тыс., 12 тыс. и 24 тыс. голов в год (на 1 ц привеса)
|
Технологический процесс |
Затраты |
Расход металла |
||||||
|
труда |
электроэнергии |
топлива |
||||||
|
чел. ч |
% |
кВт ч |
% |
кг |
% |
кг |
% |
|
|
Осеменение |
0,09 |
2,00 |
2,20 |
1,10 |
- |
- |
0,001 |
0,001 |
|
Опорос |
0,14 |
3,11 |
2,20 |
1,10 |
- |
- |
0,001 |
0,001 |
|
Содержание |
1,20 |
26,67 |
4,40 |
2,00 |
- |
- |
12,32 |
44,02 |
|
Приготовление кормов |
0,85 |
18,90 |
30,80 |
14,00 |
26,40 |
16,00 |
4,24 |
15/14 |
|
Раздача кормов |
0,32 |
7,11 |
11,00 |
5,0 |
- |
- |
1,94 |
6,79 |
|
Водоснабжение и поение |
0,02 |
0,22 |
8,80 |
4,00 |
. |
- |
0,04 |
0,13 |
|
Уборка и подготовка навоза к использованию |
0,97 |
21,55 |
22,00 |
10,00 |
3,28 |
1,98 |
8,29 |
29,62 |
|
Теплоснабжение и микроклимат |
0,4 |
8,89 |
132,0 |
60,00 |
132,00 |
80,0 |
0,86 |
3,06 |
|
Перемещение животных |
0,15 |
3,33 |
- |
- |
0,01 |
0,01 |
0,008 |
0,03 |
|
Транспортировка |
0,05 |
1.11 |
- |
- |
3,30 |
2,0 |
0,09 |
1,32 |
|
Взвешивание |
0,09 |
2,00 |
- |
- |
- |
- |
0,02 |
0,09 |
|
Ветсанобеспечение |
0,18 |
4,00 |
4,40 |
2,00 |
0,01 |
0,01 |
0,20 |
0,73 |
|
Зоотехнический учет |
0,05 |
1,11 |
2,20 |
1,00 |
- |
- |
0,001 |
0,001 |
|
Итого по всем процессам |
4,50 |
100,0 |
220,0 |
100 |
165,0 |
100,0 |
28,0 |
100,0 |
При реконструкции ферм следует применять базовые технологии и их параметры, рекомендованные Системой технологий и машин на 1996...2005 гг. (табл. 2.6), которые рассчитаны на достижение определенных качественных и коммерческих показателей. Целевые технико-экономические параметры технологий включают различные уровни продуктивности, объемы реализуемой продукции и основные издержки труда, энергии, топлива, металла на 1 ц прироста. При этом эффективность конкретной технологии зависит от интенсивности производства, размера вложенных средств, полноценности кормления, продуктивности животных и рентабельности.
Наиболее важной из них является технология производства племенного молодняка как основа высокопродуктивного свиноводства. Однако большинство племенных ферм, плем-заводов по уровню механизации и автоматизации производственных процессов намного отстают от обычных свиноводческих предприятий, особенно от промышленных комплексов. Потребность же в племенном молодняке будет постоянно возрастать, тем более от высокопродуктивных, вновь выводимых, районированных в данной местности, пород и гибридов. Поэтому племенные предприятия должны иметь комплексную механизацию и автоматизацию производственных процессов, в том числе на контрольном откорме, когда животные оцениваются по собственной продуктивности.
Технология производства свиней для убоя в предприятиях с законченным циклом на 6 тыс., 12 тыс. и 24 тыс. голов в год является одной из самых распространенных, при которой предусматривается в одном хозяйстве получать, выращивать поросят и откармливать их до убойных кондиций - живой массы 110,0... 115,0 кг.
Предприятия с этой технологией не зависят от других хозяйств и могут производить свинину в любых зонах, используя для кормления свиней как комбикорма, так и многокомпонентные, наиболее дешевые для данной зоны, кормовые средства. Здесь наиболее сложным в техническом плане и самым дорогим является кормоцех, где должны перерабатываться самые различные кормовые средства (концентраты, картофель, корнеплоды, трава и т.д.) и готовиться 4...5 рационов. Пока это самая распространенная, хотя и недешевая технология. В дальнейшем многокомпонентный тип кормления будет постепенно вытесняться концентратным, как наименее энергоемким, и технология станет дешевой и конкурентоспособной.
Следующей является технология производства свиней для убоя в предприятиях промышленного типа на 54 тыс. и 108 тыс. голов в год с концентратным типом кормления. Это самая высокомеханизированная и наименее затратная технология (см. табл. 2.6). Здесь расход кормов на 1 ц прироста составляет 3,6...4,4 корм. ед., затраты труда - 2,5...3 чел. ч, электроэнергии - 150... 190 кВт- ч. В предприятиях промышленного типа должно производиться свыше 30% свинины. Однако необходимо, чтобы предприятия с этой технологией интегрировались с мясокомбинатами, предприятиями-производителями зерна и комбикормовыми заводами.
Таблица 2.6
Технико-экономические показатели базовых технологий производства продукции свиноводства
|
Технология |
Среднесуточный прирост свиней на откорме, г |
Экономические показатели производства на 1 ц прироста |
||||
|
корма, корм. ед. |
труда, чел ч. |
электроэнергии, кВтч |
топлива, кг |
металла, кг |
||
|
Производство племенного молодняка |
650..750 |
4...4,2 |
12,3...14 |
227...230 |
136...230 |
30...35 |
|
Производство свиней для убоя в предприятиях с законченным циклом на 6 тыс., 12 тыс. и 24 тыс. голов в год |
500...550 |
4,3...5,3 |
4,3..4,7 |
220..223 |
162...164 |
28...29 |
|
Производство свиней для убоя в предприятиях промышленного типа на 54 тыс. и 108 тыс. голов в год |
600...650 |
3,6...4,4 |
2,5.3 |
150...190 |
124...152 |
12...20 |
|
Производство поросят-отъемышей в репродукторных фермах |
- |
7,5...10,5 |
8,5...14 |
186...201 |
142...183 |
40...50 |
|
Производство свиней для убоя в специализированных откормочных предприятиях |
500...600 |
4,5...5,3 |
4...5 |
34...42 |
70.90 |
17...20 |
|
Производство поросят-отъемышей и свиней для убоя в малых фермах и крестьянских хозяйствах |
500..600 |
7...10 |
7,2...7,6 |
183...186 |
140...180 |
20...21 |
|
Производство свинины в личных подсобных хозяйствах |
- |
- |
- |
- |
- |
. |
Технология производства поросят-отъемышей в репродукторных фермах для производства и реализации их на откорм в других хозяйствах будет широко применяться в большинстве зон Российской Федерации, так как она позволяет быстро увеличивать производство свинины через всех товаропроизводителей, начиная от крестьянских подворий, малых ферм и кончая акционерными обществами, занимающимися откормом свиней.
Производство свиней для убоя в специализированных откормочных предприятиях - это наиболее простая широко распространенная во всех зонах технология, позволяющая при наличии поросят-отъемышей и кормов производить дешевую товарную продукцию. Основными производственными процессами являются: приготовление, раздача кормов и уборка навоза. Учитывая простоту данной технологии и современный уровень развития техники, все производственные процессы здесь можно не только механизировать, но большинство из них и автоматизировать и даже использовать роботы, особенно при наличии высококачественных комбикормов.
В целях общего повышения производства продукции свиноводства в последнее время стали организовываться малые фермы и крестьянские хозяйства. Однако в них пока высока доля непристижного ручного труда, низкая его производительность и оплата. Поэтому возникла необходимость разработки машинной технологии - производство поросят-отъемышей и свиней для убоя в малых фермах и крестьянских хозяйствах, использующей для кормления животных любые виды кормовых средств и находящей широкое применение во всех зонах Российской Федерации.
Особенностью технологии является то, что животные различных производственных групп здесь могут содержаться в одном помещении со строгим соблюдением правил ветеринарной санитарии, а для выполнения производственных процессов используется малогабаритная техника в сочетании с ручным трудом. Однако при наличии высококачественных кормовых средств эта эффективная технология способна производить конкурентоспособную товарную продукцию.
Основным технологическим элементом свиноводческого помещения является индивидуальный или групповой станок - непосредственная среда обитания животных. Технологические параметры и конструктивные особенности станков, обеспечивающие необходимую комфортность содержания поголовья, оказывают положительное или отрицательное влияние на рост, продуктивность и здоровье животных. Основными технологическими требованиями к станочному оборудованию являются: оптимальная вместимость; обеспечение животных необходимым фронтом кормления, поения в соответствии с требованиями ВНТП 2-96; универсальность, конструктивная простота, минимальная стоимость, надежность и удобство обслуживания животных; выполнение основных технологических процессов - удаление экскрементов, кормление, ветеринарное и зоотехническое обслуживание, чистка станков, кормушек с минимальными затратами труда и средств; возможность применения машинных технологий производства свинины.
В зависимости от ширины производственных зданий основного назначения реконструируемых ферм в них можно размещать различное по назначению станочное оборудование, создавая технологические линии в следующих вариантах:
в зданиях шириной 9 м - 2-рядное расположение станков с одним центральным кормовым проходом для всех возрастных групп животных;
в зданиях шириной 12 м - 2-рядное расположение станков для группового содержания взрослого поголовья свиней и ремонтного молодняка, 3-4-рядное для откормочного молодняка и поросят-отъемышей;
в зданиях шириной 15 м - 4-рядное расположение станков для всех возрастных групп животных;
в зданиях шириной 18 м - 4-рядное размещение станков для всех групп животных;
в зданиях шириной 21м - 4-рядное размещение станков для взрослого поголовья свиней и 6-рядное - для откормочного и ремонтного молодняка, поросят-отъемышей и подсосных маток.
Технические характеристики станочного оборудования, рекомендуемого к применению при реконструкции свиноводческих помещений, приведены в табл. 2.7.
Таблица 2.7
Технические показатели станков для содержания подсосных свиноматок
|
Марка станка |
Назначение |
Вместимость, гол. |
Площадь, м2 |
Габаритные размеры, мм |
Масса металлического оборудования, кг |
Завод-изготовитель |
|
ОСМ-1М |
Для проведения опоросов, содержания свиноматок с приплодом до 35...60-дневного возраста поросят и погнездного выращивания поросят-отъемышей до 90...120 дней на свинофермах различной мощности |
1 10 |
5,2 |
2275×2300×1100 В блоках 40, 60, 80 и 120 станков или 2, 4, 6, 8, 10 станков (для исполнений ОСМ-1М-5-9) |
180 |
Шумихинский машзавод |
|
ОСМ-Ф-2 |
То же с трансформирующейся задней стенкой, перегораживающей служебный проход свинарника |
1 10 |
5,2 (8) |
2275x2300 (3530)×1100 |
178,4 |
Шумихинский машзавод |
|
УСТ-3М |
То же с комбинированным исполнением ограждающих конструкций (передняя решетка, кормушки, калитка, разделитель- металлические, остальные части - из местных стройматериалов) |
1 10 |
7,2 |
3000×2400×1000 |
175 |
Мосагропромтехмонтаж. Подольское УПТК |
|
БСМ-1/10 |
То же с комбинированным исполнением ограждающих конструкций и размещением 2 калиток в задней части станка |
1 10 |
6,4 |
2500×2550×1000 Комплектуется блоками с четным числом станков |
- |
Экспериментальное предприятие ВНИИМЖ |
* Свиноматка с 10 поросятами-сосунами
Самыми распространенными станками для опороса маток в репродукторных фермах (секторах) являются станки с диагональным расположением бокса для свиноматки. Они приспособлены для 2-, 3-фазного выращивания поросят, т.е. в них после удаления маток можно доращивать поросят-отъемышей и до 120-дневного возраста. Такую конструкцию имеют станки ОСМ-1М и ОСМ-Ф-2. Диагональное расположение бокса для свиноматки улучшает обзор станка обслуживающему персоналу, позволяет уменьшить его глубину с соответствующим сокращением затрат ручного труда на его уборку.
Станки ОСМ-Ф-2 отличаются от ОСМ-1М тем, что имеют трансформирующуюся заднюю стенку, выполненную из распашных калиток, и при необходимости перегораживающих служебный проход. Это позволяет при доращивании поросят увеличивать полезную площадь станка с 5,2 до 8 м2.
Однако в последние годы в нашей стране, особенно в Подмосковье, большое распространение получили станки типа УСТ-3М, выполненные из стандартизированных металлических элементов (передняя решетчатая стенка, две кормушки, калитка, разделительная перегородка) и местных строительных материалов. В этом станке предусмотрены только две секции, нет устройства для жесткой фиксации свиноматок, что улучшает условия комфортности ее содержания, снижает общую массу металлоконструкций. К недостаткам станка УСТ-3М следует отнести его завышенную длину (3 м). При установке этих станков вместо серийных (ОСМ-1М, ОСМ-Ф-2) вместимость производственных помещений сокращается примерно на 25%.
Во ВНИИМЖе также разработан и рекомендован станок БСМ-1/10, имеющий длину 2,5 и глубину 2,55 м (рис. 2.1).Он, как и УСТ-3М, комплектуется стандартизированными кормушками, калитками, передней и разделительной решетчатой перегородками, остальные элементы станка изготавливаются из кирпича или другого строительного материала. Станок оборудуется двумя калитками, расположенными в задней стенке, что обеспечивает удобство обслуживания поросят и свиноматок. Этот станок прошел широкую апробацию в хозяйствах Московской области и рекомендуется к применению в свиноводческих хозяйствах различной мощности и формы собственности.

Рис. 2.1. Схема устройства станка БСМ-1/10:
1 - стойки задние; 2 - калитка секции для поросят; 3 – калитка секции для свиноматки; 4 - разделительная перегородка; 5 – дуги предохранительные; 6 - решетки щелевые канала для удаления навоза; 7 - решетка передняя для свиноматки; 8 - кормушка для свиноматки; 9 - кормушка для поросят; 10 - решетка передняя для поросят; 11 - стойки передней стенки; 12 - стенка сплошная
Для проведения опоросов и последующего содержания подсосных маток с поросятами в реконструируемых помещениях рекомендуются для применения следующие станки: 0СМ-1М - на предприятиях с различным ритмом производства и отъемом поросят в любом возрасте (35...60 дней) и доращивания их до 108 дней, ОСМ-Ф-2,имеющие распашную заднюю стенку. Их целесообразно применять на тех фермах, где доращивание поросят будет проводиться до 120-дневного возраста в этих же станках. Новые комбинированные станки БСМ 1/10 рекомендуется применять на фермах, где возможны сезонные отклонения от расчетного ритма производства и проведение отъема поросят в поздние сроки (до 60 дней).
Для группового содержания свиней на реконструируемых фермах рекомендуется использовать серийное оборудование типа ОСГ-Ф-1 (табл. 2.8), в состав которого входят передние решетчатые перегородки, калитка, контактные перегородки, поилки, кормушки. Эти станки необходимо дополнять щелевыми полами.
Таблица 2.8
Техническая характеристика групповых серийных станков типа ОСГ
|
Показатели |
Типоразмерный ряд групповых станков |
|||||||
|
ОСГ-Ф-1-1 |
ОСГ-Ф-1-2 |
ОСГ-Ф-1-3 |
ОСГ-Ф-1-4 |
ОСГ-Ф-1-5 |
ОСГ-Ф-1-6 |
|||
|
Назначение станков |
||||||||
|
Откормочное поголовье |
Холостые и супоросные матки |
Поросята-отъемыши |
Ремонтный молодняк |
Контрольный откорм |
Хряки |
|||
|
Вместимость, головы (рекомендуемая) |
20 |
10 |
20 |
10 |
4 |
2 |
||
|
Ширина калитки, м |
- |
- |
0,7 |
- |
- |
- |
||
|
Габаритные размеры, мм |
6000×3000×1000 |
6000×3600×1000 |
4880×1750×800 |
3880×2880×1000 |
2080×2200×1000 |
4480×2800×1400 |
||
|
Масса, кг |
75,0 |
65,0 |
71,0 |
60,0 |
33,0 |
80,0 |
||
На базе станков ОСГ-Ф-1 разработаны усовершенствованные блоки станков БСО-10 для откорма свиней и БСХ-12 для содержания холостых и супоросных маток.
Групповые кормушки станков БСО-10 имеют сплошной фронт кормления на всей длине блока, что исключает потери кормов при их раздаче животным. Выполняются они при монтаже станков из разрезанных по длине асбестоцементных труб марки ВТ-3 0500 мм. Навозный канал шириной 1000 мм. рекомендуется размещать на удалении 300...350 мм от кормушки, а логово выполнять с уклоном 7 % в сторону навозного канала.
Блок должен формироваться из четного числа станков. Рекомендуемая вместимость станка для откорма свиней 10 голов, однако, при необходимости ее можно увеличить до 20 голов. Для этого при привязке блока станков БСО-10 (рис. 2.2.а) необходимо длину станка увеличить с 3000 мм до 6000 мм.

Рис. 2.2. Схема устройства групповых станков:
а - блок станков для содержания откормочного и ремонтного молодняка БСО-10; б - блок станков для содержания холостых и супоросных свиноматок БСХ-12: 1 - сплошные стенки станка; 2 - стойки; 3 - калитки; 4 - контактные перегородки; 5 – передние решетчатые стенки; 6 - групповые кормушки
Блок станков БСХ-12 (рис.2.2.б) предназначен для группового содержания холостых и супоросных свиноматок, комплектуется он из аналогичных с БСО-10 унифицироранных элементов с той лишь разницей, что калитки размещены в передней части станков со стороны кормового прохода. Рекомендуемая вместимость одного станка 10... 12 голов. В соответствии с этим его длина составляет 6 м, глубина 3,2...3,5м.
Применение новых станков для группового содержания свиней, изготовленных из унифицированных элементов и местных строительных материалов, обеспечит экономический эффект в размере 400...500 руб. в год по сравнению с серийными станками
Рекомендуемое для технического переоснащения свиноводческих помещений станочное оборудование может изготавливаться по заявкам заказчиков как на машиностроительных предприятиях, освоивших серийное производство станочного оборудования, в частности станки для индивидуального содержания свиноматок, так и в местных районных или областных ремонтно-технических предприятиях и заводах, способных изготавливать малыми сериями простые по устройству станки для группового содержания поголовья свиней.
Рабочими чертежами на изготовление новых унифицированных индивидуальных и групповых станков могут обеспечивать ВНИИМЖ и координируемые им зональные институты по единой конструкторской документации на комплекты станочного оборудования. Изготовление этих станков может быть осуществлено по заказам товаропроизводителей экспериментальными предприятиями ВНИИМЖ, НИИСХ СВ. им. Рудницкого, ВНИПТИМЭСХ, НИИСХ С.З. и других институтов Россельхозакадемии.
Поение свиней. Свиноводческие предприятия обеспечиваются водой питьевого качества, удовлетворяющей требованию действующего стандарта "Вода питьевая" ГОСТ 2874-54. Нормы потребления воды представлены в табл.2.9.
Таблица 2.9
Нормы потребления воды для свиней (ВНТП 2-96)
|
Группа животных |
Нормы потребления на одну голову в сутки, л |
|||
|
всего |
В том числе |
|||
|
на поение |
на мытье кормушек, уборку помещений |
приготовление кормов и мойка оборудования |
||
|
Хряки-производители |
25 |
10 |
7.5 |
7,5 |
|
Свиноматки: |
|
|
|
|
|
супоросные |
|
|
|
|
|
и холостые |
25 |
12 |
7 |
6 |
|
Подсосные |
|
|
|
|
|
с приплодом |
60 |
20 |
20 |
20 |
|
Ремонтный молодняк |
15 |
6 |
4,5 |
4,5 |
|
Свиньи на откорме |
15 |
6 |
4,5 |
4,5 |
|
Поросята-отъемыши |
5 |
2 |
1,5 |
1,5 |
Таблица 2.10
Техническая характеристика рекомендуемых поилок для свиней
|
Показатели |
Типы поилок |
|||
|
Установка бесклапанная УБС-Ф-300-1 |
Автопоилка ПБП-1А |
Автопоилка ПБС-1А |
Автопоилка АС-Ф-25 |
|
|
Назначение |
Поение свиней всех возрастов |
Поение поросят |
Поение взрослых свиней |
Поение поросят и взрослых свиней |
|
Принцип работы |
Автоматически, при нажатии на сосок |
Автоматически, при нажатии на сосок |
Автоматически, при нажатии на сосок |
Автоматически, при нажатии на сосок |
|
Производительность (число обслуживаемых животных), головы на одну поилку |
32...300 |
8-12 |
25-30 |
25 |
|
Пропускная способность клапанного механизма при давлении в магистрали 0,4 МПа, л/мин |
0,3 |
0,6...1,1 |
1,2...1,8 |
1,3 |
|
Усилие нажатия на сосок, Н |
- |
1,2 |
2,5 |
1 |
|
Удельная материалоемкость, кг/гол. |
0,66...6,6 |
0,014 |
0,012 |
0,004 |
|
Масса, кг |
200...420 |
0,139 |
0,330 |
0,100 |
Вода для поения поросят-сосунов и поросят-отъемышей должна иметь температуру 16...20°С, вода для поения взрослых свиней в холодное время года - 10...16°С, в теплое время не нормируется.
Для поения свиней применяются сосковые автопоилки типов: ПБС-1А, ПБП-1А, АС-Ф-25 и бесклапанные установки УБС-Ф-300-1 (табл.2.10).
Высота установки поилок в станках:
- для поросят-отъемышей на одном трубопроводе одна поилка на высоте 25 см, другая на высоте 40 см;
- для ремонтного и откормочного молодняка - на одном трубопроводе одна поилка на высоте 45 см, другая на высоте 65 см, для свиноматок на высоте 75 см, для хряков - 80 см.
Основная масса свинины (65...70%) производится на свиноводческих фермах до 24 тыс. голов в год. Для приготовления кормов на этих фермах в хозяйствах различных форм собственности используется более 10 тыс. кормоцехов и кормокухонь.
При приготовлении многокомпонентных кормовых смесей в существующих кормоцехах и кормокухнях затраты ручного труда достигают 0,5...0,7 чел.·ч/т, электроэнергии - до 35 кВт·ч/т, не обеспечивается необходимое качество измельчения, смешивания и дозирования компонентов кормосмесей.
Выпускаемые комплекты оборудования кормоцехов имеют низкий уровень унификации, не в полной мере соответствуют зональным, техническим и организационно-экономическим требованиям (набор компонентов, размеры ферм, особенности содержания животных, энергетика и т.п.).
Кормокухни свиноводческих ферм работают по упрощенной технологии, технические средства дозирования кормов, как правило, отсутствуют, и приготовление кормов сводится к переработке одного-двух компонентов, средства переработки корнеклубнеплодов и зеленой массы не используются.
В кормоцехах свиноводческих ферм с поголовьем до 3 тыс. свиней используется серийное оборудование производительностью 5...20 т/ч, в то же время требуемая производительность, согласно расчетам, должна быть в пределах 0,5...3,5 т/ч.
Очевидно, что применение серийного оборудования в кормоцехах малых свиноводческих ферм неэффективно из-за большой энерго- и металлоемкости.
Для технического переоснащения кормоцехов свиноводческих ферм ВНИИМЖ рекомендует применять поточную технологию приготовления влажных кормовых смесей, обеспечивающих переработку концентрированных кормов, корнеклубнеплодов, зеленой массы, сыворотки и обрата.
С целью снижения затрат на транспортирование концентрированных кормов и повышения качества приготавливаемых смесей в кормоцехах свиноводческих предприятий, использующих корма собственного производства, целесообразно устанавливать линии переработки зерновых компонентов на базе малогабаритных агрегатов для приготовления сбалансированных комбикормов.
Для реализации поточно-непрерывной технологии приготовления многокомпонентных влажных кормовых смесей созданы новые машины и оборудование, основные показатели которых и технологические схемы кормоцехов, созданных на их базе, приведены на рис. 2.3...2.12. На базе этих технических средств разработан новый типоразмерный ряд кормоцехов свиноводческих ферм для базовых технологий производства свинины, которые рекомендуются использовать при реконструкции ферм.
Технико-экономические показатели рекомендуемых комплектов оборудования кормоцехов типоразмерного ряда приведены в табл. 2.11.
Таблица 2.11
Технико-экономические показатели рекомендуемых комплектов оборудования кормоцехов
|
Показатели |
Комплект оборудования |
||||||
|
КС-03 |
КСУ-Ф-5 |
КСУ-Ф-5-2 |
КСУ-Ф-5-3 |
КСУ-Ф-5-4 |
КСУ-Ф-5-5 |
КСУ-Ф-5-6 |
|
|
1 |
2 |
3 |
4 |
5 |
6 |
7 |
8 |
|
Производительность, т/ч |
1 |
2 |
3,5 |
6 |
12 |
25 |
45 |
|
Рекомендуемая мощность фермы в год, тыс. голов |
0,5 |
1 |
2 |
3 |
6 |
12 |
24 |
|
Общая установленная мощность, кВт |
29 |
42 |
89,3 |
104 |
134 |
136,3 |
151,6 |
|
Масса, т |
5 |
11,3 |
14,7 |
16,8 |
23,9 |
30 |
35 |
|
Капитальные вложения, всего, тыс. руб. |
204 |
463 |
643 |
965 |
994 |
1240 |
1854 |
|
В том числе: |
|
|
|
|
|
|
|
|
машины |
54 |
110 |
148 |
297 |
257 |
359 |
487 |
|
здания |
150 |
353 |
485 |
668 |
737 |
881 |
1367 |
|
Затраты труда, чел.·ч/т |
0,41 |
0,32 |
0,29 |
0,26 |
0,21 |
0,15 |
0,14 |
|
Удельное потребление энергии, кВт·ч/т |
27,8 |
28,8 |
20,3 |
13,8 |
8,22 |
4,53 |
2,68 |
|
Издержки, руб/т |
42,25 |
48,26 |
33,4 |
38,07 |
20,83 |
14,86 |
13,2 |
В комплектах оборудования отмеченных кормоцехов рекомендуется применять переработку кормосмеси на технологических линиях с последовательной или параллельной подачей их в блоки смешивания и выдачи готового корма.
В комплектах оборудования кормоцехов до 3 тыс. голов целесообразно применять универсальные машины: измельчитель зеленой массы и сочных кормов, малогабаритные питатель концентрированных кормов и скребковые транспортеры для подачи компонентов кормосмеси, малогабаритные установки для производства комбикормов.
Технологическая схема малогабаритного оборудования кормоцеха показана на примере реконструкции свинофермы ОАО "Радуга" Тамбовской области (рис.2.3).
Оборудование кормоцеха размещено в торцовой части свинарника на площадке размерами 6×12 м, отделенной поперечной перегородкой от секции для содержания животных.
В кормоцехе применено новое оборудование: питатель концентрированных кормов ПК-Ф-1,5 (рис. 2.4), измельчитель точных кормов и зеленой массы ИЗМ-Ф-1 (рис. 2.5).
Вместо смесителя СКО-Ф-3 можно применять смеситель кормов малогабаритный СКМ-10 (рис.2.6).

Рис. 2.3. Технологическая схема кормоцеха по приготовлению кормов в ОАО "Радуга" Тамбовской области:
1 - электроводонагреватель САОС-400; 2 - агрегат приготовления заменителей молока ЗЦМ-0,8; 3 - транспортер шнековый ПШП-4А; 4 - питатель концентрированных кормов ПК-Ф-1,5; 5 - бункер-накопитель БН-1,5-4; 6 - нория 1-10; 7 - транспортер кормосмеси ТК-Ф-10; 8 - бункер приемный; 9 - смеситель кормов СКО-Ф-3; 10 - тележка унифицированная ТУ-300; 11 - измельчитель зеленой массы и сочных кормов ИЗМ-Ф-1

Рис. 2.4. Схема питателя концентрированных кормов ПК-Ф-1,5:
1 - звездочки; 2 - приемный бункер; 3 - рыхлитель; 4 - фиксатор; 5 - заслонка; 6 - шнек; 7 - хомут; 8 - кожух; 9 – привод
Техническая характеристика питателя ПК-Ф-15
|
Производительность, т/ч |
1.5 |
|
Установленная мощность, кВт |
0,75 |
|
Масса, кг |
100 |

Рис. 2.5. Измельчитель сочных кормов и зеленой массы ИЗМ-Ф-1:
1 - привод ножа; 2 - муфта; 3 - диск; 4 - нож; 5 - шнек; 6 - корпус; 7 - приемная горловина; 8 - привод шнека; 9 – рама
Техническая характеристика измельчителя сочных кормов и зеленой массы ИЗМ-Ф-1:
Производительность (не менее), т/ч:
|
на корнеплодах |
1 |
|
на зеленой массе |
0,55 |
|
Установленная мощность, кВт |
6,6 |
|
Масса, кг |
285 |

Рис. 2.6. Схема смесителя кормов малогабаритного СКМ-10:
1 - приемный бункер; 2 - шнек с прерывистым шагом; 3 - крышка; 4 - кожух; 5 - выгрузная печка; 6 - привод
Техническая характеристика смесителя кормов малогабаритного СКМ-10
|
Производительность (не менее), т/ч |
10 |
|
Установленная мощность, кВт |
0,1 |
|
Масса, кг |
130 |
Применение этого оборудования позволяет снизить удельные энергозатраты на 27...30%, материалоемкость на 38...40, затраты труда - на 40...50% в сравнении с комплектами оборудования кормоцехов, в которых используется, серийное оборудование.
В комплектах оборудования кормоцехов свиноводческих ферм на 3...24 тыс. голов необходимо применять оборотное использование воды для мойки корнеклубнеплодов и других целей, что сокращает расход воды на технологические нужды в 2...3 раза.
Расчеты показывают, что применение рекомендуемых технологий и комплектов оборудования позволяет снизить удельные затраты труда до 45%.
При реконструкции свиноводческой фермы на 3 тыс. голов в год в кормоцехах рекомендуется предусмотреть приготовление многокомпонентных влажных кормовых смесей с использованием кормов собственного производства. Компоненты кормосмеси перерабатываются на поточно-технологических линиях обработки фуражного зерна, корнеклубнеплодов, зеленой массы и обрата с последующей их подачей через дозирующее устройство в порционные смесители для смешивания и выдачи готовых кормосмесей. После смешивания готовые кормосмеси подаются в раздатчики кормов или в транспортные средства.
Оборудование кормоцехов может размещаться в помещении 9×12 м, сблокированном со свинарником и помещениях для приготовления комбикормов, в которых монтируются установки типа УМК-Ф-2.
Его технологическая схема приведена на рис.2.7. Комплект оборудования кормоцеха КС-3 внедрен в АОА "Елецкий" Липецкой области.

Рис. 2.7. Технологическая схема комплекта оборудования кормоцеха КС-3:
1 - нория 1-10; 2 - сепаратор УМК-2.13.000; 3 - магнитная колонка; 4 - конвейер винтовой УМК-2.06.000; 5 - наддозаторные бункеры УМК-2.12.000; 6 - бункер хранения БВД. 25.08.200; 7 – установка малогабаритная УМК-2.01.000; 8 - бункер готовой продукции ПИ-25.08.00; 9, 15, 18, 20, 28 - транспортеры скребковые ТС-Ф-40; 10 - ковшовый транспортер; 11 - клапан перекидной; 12 - отделитель; 13 - агрегат; 14 - измельчитель сочных кормов МСК-Ф-16; 16 - сбросовый отстойник; 17 - кормораздатчик-питатель КТУ-10А; 19 - измельчитель; 21 - весовое устройство 4196Пр 32-40-1; 22, 27 - конвейеры винтовые КС-Ф-40; 23 - резервуар для хранения молока 32-ОМЗ-2,5; 24 - насос молочный НМУ-6; 25 - расходомер; 26 - одновальный смеситель кормов СКО-Ф-6
Приготовление сбалансированных по питательности влажных кормовых смесей для свиноводческих ферм с законченным производственным циклом на 6 тыс. голов в год рекомендуется осуществлять на базе комплекта оборудования КС-6, технологическая схема которого показана на рис. 2.8.

Рис. 2.8. Технологическая схема комплекта оборудования кормоцеха ОАО "Константиново":
1 - питатель концентрированных кормов; 2,8 - нории; 3, 4 - бункеры сухих кормов; 5, 10, 15, 26, 28, 35, 36, 38 - транспортеры; 6 - зернодробилка; 7 - питатель; 9 - бункер для накопления; 11, 12- дозаторы; 13- шнек; 14 - бункер; 16 - дозатор; 17- водонагреватель; 18 - сборный конвейер; 19 - ковшовый транспортер; 20 - перекидной клапан; 21 - отделитель; 22, 24, 31 - насосы; 23, 29 - измельчители; 25 - дозатор сочных кормов; 27 - кормораздатчик; 30 - резервуар; 32 - расходомер; 33 - агрегат приготовления ЗЦМ; 34 - смеситель; 37 - весоизмерительное устройство; 39 - мобильный раздатчик-загрузчик кормов
Процесс приготовления кормов осуществляется на поточных технологических линиях переработки компонентов кормосмеси с последующей подачей их параллельными потоками на линию смешивания и выдачи готового корма.
Фуражное зерно доставляют к кормоцеху самосвальными транспортными средствами, загрузчиками сухих кормов или автокормовозами и выгружают в горизонтальную часть питателя концентрированных кормов, затем норией подают в два бункера сухих кормов. Из бункера зерно или зерносмесь шнековым транспортером подается в зернодробилку. Измельченное зерно выгрузным шнеком дробилки подается в питатель, откуда норией направляется в бункер для накопления.
В измельченное зерно добавляют костную, рыбную и травяную муку, мел, премиксы, которые хранятся рядом на специальной площадке.
Корнеклубнеплоды доставляют самосвальными транспортными средствами и загружают в заглубленный кормо-приемник с ковшовым транспортером, куда заливают воду.
Зеленую массу (силос) подвозят кормораздатчиком КТУ-10 и подают транспортером на сборный конвейер.
Обрат подвозят к кормоцеху специализированным автотранспортом и сливают в резервуары.
Подготовленные на поточно-технологических линиях компоненты кормосмеси подают на сборный конвейер и направляют в смесители, смешивают (при необходимости запаривают), с помощью транспортёров направляют на весоизмерительное устройство, затем транспортером подают в мобильный загрузчик кормов, который развозит их по свинарникам.
Технологическое оборудование кормоцеха КС-6 апробировано в кормоцехе ГПЗ "Константинове" Московской области.
Для вновь строящихся и реконструируемых кормоцехов свиноводческих ферм ВНИИМЖем разработана гидропонная установка КОГ-Ф-0,5 для выращивания витаминных кормов в виде свежей зелени из зерна злаковых производительностью 0,5 т в сутки.
Использование витаминных кормов в осенне-зимне-весенний периоды, выращенных на таких установках, обеспечивает сохранность поголовья молодняка свиней свыше 95%, повышение многоплодия свиноматок на 12% и прирост, живой массы поросят на откорме 10%,
Установка прошла производственную проверку в ОАО "Радуга" Тамбовской области, в ГПЗ "Константиново" Московской области и рекомендуется для использования на свиноводческих фермах с законченным производственным циклом мощностью 3 тыс., 6 тыс. и 12 тыс. голов в год. Технологическая схема установки приведена на рис. 2.9.
Для технического переоснащения свиноводческих ферм на 3 тыс., 6 тыс., 12 тыс. и 24 тыс. голов в год рекомендуется применять новое оборудование, прошедшее производственную проверку в реконструированных кормоцехах: измельчитель сочных кормов ИСК-Ф-10 (рис.2.10), ленточное весоизмерительное устройство (рис.2.11) и питатель-мойку корнеклубнеплодов ПКВ-Ф-15 (рис.2.12).

Рис. 2.9. Технологическая схема гидропонной установки КОГ-Ф-0,5:
1 - ванна замачивания; 2, 13, 17 - краны; 3 - шкаф проращивания; 4 - емкость для питательного раствора; 5, 6, 7, 8 - системы полива; 9 - форсунка; 10 - поддоны; 11, 12 - ванны с нагревательным элементом; 14 - вертикальный конвейер; 15 - растильни; 16 – ванна с питательным раствором; 18 – лампа
Техническая характеристика гидропонной установки
|
Производительность в сутки, кг |
500 |
|
Установленная мощность оборудования, кВт |
17,44 |
|
Расход воды, л/кг зеленой массы |
1,4 |
|
Расход зерна в сутки, кг |
88 |
|
Масса, кг |
5620 |
|
Удельное потребление электроэнергии на 1 кг зеленой массы, кВт- ч |
0,84 |
Обслуживает один человек.

Рис. 2.10. Измельчитель сочных кормов ИСК-Ф-10:
1 - корпус; 2 - крышка; 3 - загрузочная горловина; 4 - выгрузная горловина; 5 - ротор с молотками; 6 - рама; 7 – привод
Техническая характеристика измельчителя
|
Производительность, т/ч |
10 |
|
Установленная мощность, кВт |
12,5 |
|
Масса, кг |
830 |

Рис. 2.11. Ленточное весоизмерительное устройство УВ-Ф-30:
1 - привод; 2 - ограждение; 3 - барабан приводной; 4 – устройство контроля схода ленты; 5 - лента; 6 - бункер приемный; 7 – барабан ведомый; 8 - противовес; 9 - тензоизмерительный датчик; 10 - опора шарнирная; 11 - рама
Техническая характеристика ленточного весоизмерительного устройства
|
Производительность, т/ч |
10...30 |
|
Ширина ленты, мм |
500 |
|
Скорость движения ленты, м/с |
0,2; 0,6 |
|
Установленная мощность, кВт |
1,1 |
|
Масса, кг |
205 |

Рис. 2.12. Схема питателя-мойки корнеклубнеплодов ПКВ-Ф-15:
1 - кормоприемиик; 2 - транспортер ковшовый; 3 - клапан перекидной; 4 - заслонка поворотная; 5 - ороситель; б - отделитель; 7 насос; 8 – поддон
Техническая характеристика питателя-мойки
|
Производительность (регулируемая), т/ч |
3. ,15 |
|
Вместимость кормоприемника, м3 |
5..10 |
|
Установленная мощность, кВт |
5,5 |
|
Остаточная загрязненность корнеклубнеплодов, % |
не более 3 |
|
Расход при повторном ее использовании, л/т |
60 |
|
Масса, кг |
1300 |
Технико-экономическая характеристика рекомендованных комплектов кормоцехов приведена в табл. 2.12.
Таблица 2.12
Технико-экономические характеристики комплектов оборудования кормоцехов
|
Показатели |
Кормоцеха |
||
|
малой свинофермы ОАО "Радуга" Тамбовской области |
Свиноводческой фермы на 3 тыс. голов ОАО "Елецкий" Липецкой области |
племенной фермы на 6 тыс. гол. ОАО "Константинове" Московской области |
|
|
Производительность, т/ч |
1 |
6 |
12 |
|
Установленная мощность, кВт |
22,6 |
117,0 |
124,5 |
|
Удельные затраты на приготовление кормосмесей: |
|
|
|
|
рабочего времени, чел.·ч/т |
0,74 |
0,43 |
0,29 |
|
электроэнергии, кВт·ч |
11,4 |
6,9 |
4,17 |
В сравнении с кормоцехами, выполненными по ТП (802.120; 802.117; ТП802-6-16.86), оснащенными серийным оборудованием, рекомендуемые кормоцеха обеспечивают снижение удельных затрат электроэнергии на 27...30%, материалоёмкости на 38...40 и затрат труда на 40...50%..
В структуре издержек производства свинины удельный вес затрат на корма превышает 55г..60%. На реконструируемых фермах экономное расходование кормов можно/обеспечить путем нормированного и сбалансированного по питательности кормления животных, повышения качества подготовки кормов к скармливанию, исключения потерь при их доставке и раздаче в кормушки. В связи с этим правильное обоснование состава машин и оборудования для доставки и выдачи кормов имеет большую актуальность.
В отечественном свиноводстве применяют в основном концентратный и многокомпонентный типы кормления. В состав последнего входят концентраты, измельченные корнеклубнеплоды, зеленая масса, отходы переработки молока (обрат, сыворотка) и другие добавки.
Для доставки и перегрузки сухих комбикормов в бункеры-накопители ферм рекомендуются самоходные серийные загрузчики типа ЗСК-10, а для влажных кормов - универсальные кормораздатчики-кормозагрузчики КУТ-3,0В, самосвальный транспорт, а также специальные загрузчики ЗВК-Ф-4,0 и ЗВК-Ф-1,5 (табл. 2.13), выпуск которых организован на Украине.
Указанные технические средства после их модернизации по рекомендациям научно-исследовательских организаций, накопленных в результате обобщения опыта эксплуатации этих машин, необходимо производить на машиностроительных предприятиях России и использовать на реконструируемых фермах.
Универсальный мобильный кормораздатчик-корморагрузчик КУТ-3,ОВ обеспечивает перевозку кормов, загрузку бункеров в свинарниках влажными и сухими кормами, а также их раздачу в летних лагерях и на выгульных площадках. При использовании этой машины для раздачи кормов требуется в каждом производственном здании (пристройках) дополнительно устанавливать бункер-питатель или перегрузочные транспортеры. Поэтому для выполнения этих технологических операций более целесообразно применять специальные загрузчики влажных кормов типа ЗВК-Ф-4,0 или ЗВК-Ф-1,5, обеспечивающие подачу корма внутрь помещений.
Самоходный, на шасси ГАЗ-33072 и прицепной загрузчики влажных кормов типа ЗВК оборудованы системой подвижных гидрофицированных выгрузных шнеков, посредством которых они через технологическое окно в тамбурах свинарников выгружают корм непосредственно в кормораздатчики.
Самоходный загрузчик ЗВК-Ф-4,0 рекомендуется применять на свинофермах мощностью не менее 6 тыс. голов в год, а прицепной (ЗВК-Ф-1,5) - на фермах меньшей мощности.
Технологическое оборудование для раздачи кормов животным необходимо выбирать с учетом принятого рациона их кормления и объема раздаваемого корма.
При применении наиболее распространенного рациона кормления животных влажными кормосмесями. С включением зеленых и сочных кормовых компонентов следует использовать универсальное кормораздаточное оборудование - мобильные кормораздатчики типа КС-1,5 или КУТ-3,0/А, КМП-Ф-3,0. При концентратном типе кормления, т.е. при скармливании животным комбикорма в сухом виде, следует использовать стационарные кормораздатчики - тросо-шайбовые, ленточные, а при разбавлении его водой - трубопроводные системы.
Таблица 2.13
Техническая характеристика загрузчика влажных кормов
|
Показатели |
Загрузчик |
||
|
КУТ-3,0В |
ЗВК-Ф-4,0 |
ЗВК-Ф-1,5 |
|
|
Тип |
Самоходный, на шасси ГАЗ-53-02 |
Самоходный, на шасси ГАЗ-33072 |
Прицепной, агрегатируемый с тракторами классов 0,6; 0,9; 1,4 |
|
Вместимость бункера, мэ |
3 |
4 |
2,2 |
|
Производительность, т/ч: |
|
|
|
|
при выгрузке корма |
24 |
до 30 |
20 |
|
по основному времени |
10...20 |
15 |
|
|
Расстояние подачи корма (по горизонтали от габарита машины), мм |
До 700 |
До 2000 |
До 2000 |
|
Высота выгрузки, мм |
570...2300 |
500...2400 |
600...2200 |
|
Масса, кг: |
3900 |
4340 |
1160 |
|
В том числе рабочих органов |
1400 |
1700 |
1160 |
|
Габаритные размеры, мм: |
|
|
|
|
в рабочем положении (при выгрузке корма) |
6060×3250×720 |
5850×4390×2720 |
300×4200×2500 |
|
транспортном |
6060×2700×2700 |
5850×2700×2670 |
300×1900×2200 |
Такую технологию кормления свиней рекомендуется применять в основном на комплексах промышленного типа. Опыт эксплуатации перечисленных выше типов кормораздающего оборудования показывает, что при кормлении влажными кормовыми смесями эффективнее использовать мобильные кормораздатчики. Они превосходят стационарные кормораздающие устройства по эксплуатационной производительности, имеют меньшую удельную материалоемкость (в 3...8 раз). Однако удельные затраты труда при применении стационарных кормораздающих устройств ниже, чем при применении мобильных, в 2...6 раз, так как они эксплуатируются в основном без присутствия обслуживающего персонала. По этой причине при раздаче больших объемов кормов (на свинокомплексах) целесообразно применять стационарные кормораздающие системы типа КПС-108 или ОСК-54, оборудованные средствами электроавтоматики.
Наиболее эффективной технологией производства свинины является технология, основанная на концентратном типе кормления животных, при котором рассыпной комбикорм скармливается животным в смоченном виде. Для его смачивания необходимо применять теплую воду, обрат или молочную сыворотку. Смачивать комбикорма следует непосредственно при выдаче животным. Такая технология кормления дает наибольший эффект за счет улучшения вкусовых качеств, повышения переваримости кормов, устранения пыления при раздаче.
Для раздачи животным влажных кормосмесей, приготовленных с добавками измельченных сочно-зеленых или других кормовых компонентов, рекомендуется применять серийные электромобильные кормораздатчики КУС-Ф-2, РС-5А, а также новые универсальные КОФ-0,8 или КС-Ф-2,0. При суточном расходе корма в свинарниках до 6 т эффективнее применять кормораздатчики РС-5А или КС-Ф-0,8, имеющие бункер вместимостью 0,8 м3, а при большем расходе корма - кормораздатчики с бункером вместимостью 2 м3 (КУС-Ф-2 или КС-Ф-2,0).
Электромобильные кормораздатчики целесообразно применять из производственных помещениях с разными половозрастными группами животных, т.е. там, где необходимо раздавать корма различных рационов. Техническая характеристика перечисленных выше кормораздатчиков представ лена в табл.2.14, а технико-экономические показатели их, работы в табл.2.15.
Таблица 2.14
Техническая характеристика серийных и новых электромобильных кормораздатчиков
|
Показатели |
Электромобильные рельсовые кормораздатчики |
Стационарная линия раздачи |
||||||
|
серийные |
вновь создаваемые |
|||||||
|
КСП-0.8 |
РС-5Б |
КУС-Ф-2 |
КС-Ф-0,8 |
КС-Ф-2,0 |
КСМ-Ф-1,5 |
КПС-Ф-1М |
ЛКС-Ф-1,0 |
|
|
Вид раздаваемого корма |
Кормосмеси влажностью 60...75%, сухой комбикорм |
Кормосмеси влажностью 60...75% |
Кормосмеси влажностью 60...75%, сухой комбикорм |
Кормосмеси, сухой комбикорм |
Влажностью 65...75% и обрат |
Смоченный комбикорм |
Сухой комбикорм и обрат |
Сухой комбикорм |
|
Вместимость бункера, м3 |
0,8 и 0,1×2 |
1,1 |
2 |
0,8 |
2 |
1,5/1*** |
1/0,3 |
06 |
|
Производительность выгрузных устройств, т/ч: на одну сторону |
4 и 0,5 |
11. |
23 |
7...15 |
10...20 |
6...8* |
5,3 |
1 |
|
при двухсторонней раздаче |
8 |
22 |
45 |
15...30 |
20...40 |
12...8 |
|
|
|
Скорость передвижения, м/с |
0,3 |
0,47 |
0,35 |
0,2...0,5 |
0,20......0,46 |
0,2...0,6 |
0,12... ...0,35 |
Частота вращения |
|
Ширина колеи рельсовых путей, мм |
750 |
610 или 800 |
610,750, 1050*. |
750 |
750 |
750 |
750 |
спирали 450 мин-1 |
|
Минимальный радиус поворота рельсовых путей, мм |
Передвигаются только рельсовому прямому пути |
250 |
3000 |
- |
1875 |
- |
||
|
Требуемая ширина кормового прохода, мм |
1400 |
1400 |
1200... ...140 |
10001250 |
1200... ...1450 |
1300... ...1400 |
1100... ...1500 |
- |
|
Установленная мощность привода, кВт |
5 |
3 |
7 |
3,75 |
4,75 |
5,25 |
2,87 |
|
|
Габаритные размеры, мм |
2670×1790×1665 |
2900×1470×1480 |
3500×1500×1700 |
2500×3000×1300** |
3200×1250×1650** |
3000×1600×1710 |
1960×1440×1690 |
505000×650×2570 |
|
Масса, кг |
770 |
700 |
1000 |
800 |
1100 |
1050 |
530 |
2000 |
* Для эстакадного исполнения.
** Размер по бункеру.
*** Вместимость бака для воды.
Таблица 2.15
Технико-экономические показатели применения электромобильных кормораздатчиков
|
Показатели |
Марки кормораздатчиков |
||||
|
серийные |
новый |
||||
|
КСП-0,8 |
РС-5Б |
КУС-Ф-2 |
КС-Ф-0,8 |
КС-Ф-2,0 |
|
|
Оптовая цена, в ценах 1998 г., тыс. руб. |
6,5 |
4 |
10 |
6 |
9 |
|
Удельные затраты труда, чел.·ч/т |
0,45 |
0,35 |
0,12 |
0,1 |
0,0? |
|
Удельные затраты электроэнергии, кВт·ч/т |
2,5 |
1.0 |
0,87 |
0,4 |
0,35 |
|
Эксплуатационные |
33.0*... |
2,0*... |
1,5*... |
1.6*... |
1,2*... |
|
затраты, руб/т |
6,6** |
4,0** |
6,6** |
4,2** |
5,6** |
* При объеме раздаваемого корма 15 т в сутки.
** При объеме раздаваемого корма 2 т в сутки.
В свинарниках-маточниках при 2-фазном способе выращивания поросят-отъемышей необходимо раздавать корма в малых объемах (до 800 кг за одно кормление), но трех различных рационов: влажные кормосмеси для тяжелосупоросных и подсосных свиноматок, подкормки поросятам-сосунам и влажные кормосмеси - поросятам-отъемышам. При выборе средств механизации для этих свинарников необходимо также учитывать, что в некоторых хозяйствах поросят-отъемышей кормят сухим комбикормом и обратом или молочной сывороткой. Чаще всего такой рацион кормления применяют в первые две недели содержания поросят-отъемышей. В этих условиях для раздачи кормов целесообразно применять ручные тележки типа ТУ-300 или универсальные кормораздатчики нового поколения КС-Ф-0,8, которые обеспечивают механизированную раздачу животным любого корма: влажной кормосмеси, сухого комбикорма, а также обрата или молочной сыворотки.
В специализированных свинарниках поросят-отъемышей вместимостью до 1000... 1200 голов можно применять серийный кормораздатчик РС-5Б (Белоруссия) или новый КС-Ф-0,8, рекомендованный к освоению на отечественных заводах. В свинарниках большей вместимости (на 1500 голов и более) целесообразно использовать кормораздатчик КУС-Ф-2 или новый КС-Ф-2,0, имеющий бункер вместимостью 2 м3. Две последние марки кормораздатчиков рекомендуется применять также и в свинарниках для откорма животных.
Для технологии кормления свиней смоченным комбикормом ВНИИМЖ разработал и рекомендует для использования специальный кормораздатчик КСМ-Ф-1,5 (выпускает завод "Уманьферммаш"), бункер которого имеет две изолированные секции (для сухого комбикорма и увлажняющей жидкости). При раздаче корма шнеко-лопастной вал с заданной подачей отбирает комбикорм из бункера и подает его в смесительную камеру, куда насосом одновременно нагнетается и смачивающая жидкость (вода, обрат). Эти два компонента в процессе их передвижения по смесительной камере перемешиваются и затем непрерывным потоком выгружаются в кормушки. В разрывах кормушек нажатием кнопки отключают подачу комбикорма. При этом автоматически прекращается и подача воды.
Для раздачи сухих кормов во ВНИИМЖ также созданы экспериментальные образцы и разработана техническая документация на опытные образцы автоматизированного электромобильного раздатчика КПС-Ф-1М и автоматизированной линии на базе спирального транспортера ЛКС-Ф-1,0. Техническая характеристика этих машин приведена в табл. 2.14, 2.15.
Раздатчик КПС-Ф-1М обеспечивает нормированную выдачу рассыпных и гранулированных комбикормов с одновременным увлажнением их смачивающей жидкостью в индивидуальные и групповые кормушки по заданной программе в одном или двух кормовых проходах в зависимости от половозрастных групп и количества животных в станке.
Линия ЛКС-Ф-1,0 предназначена для нормированной выдачи рассыпных и гранулированных комбикормов поросятам на доращивании и откормочному поголовью.
Для раздачи корма в летних лагерях и на выгульных площадках рекомендуется применять кормораздатчики: прицепной (КМП-Ф-3,0) и самоходный (КТС-Ф-1,0), смонтированные на тракторном шасси.
Техническая характеристика этих машин представлена в табл. 2.16.
Таблица 2.16
Техническая характеристика мобильных кормораздатчиков
|
Показатели |
Кормораздатчики |
|
|
КМП-Ф-3 |
КТС-Ф-1 |
|
|
Тип кормораздатчика |
Прицепной, агрегатируется с тракторами класса 1,4 |
Самоходный, на шасси Т-16 МГ |
|
Вместимость бункера, м3 |
3 |
1 |
|
Производительность выгрузных устройств, т/ч: |
|
|
|
на выгрузке корма |
До 55 |
До 30 |
|
по основному времени |
10...35 |
7. .18 |
|
Скорость передвижения при раздаче кормов, км/ч |
0,87..2,7 |
1,55 |
|
Требуемая ширина прохода, мм |
Не менее 2000 |
Не менее 1800 |
|
Высота выгрузки корма, мм |
380 |
480 |
|
Удельный расход топлива, кг/т/ч |
- |
Не более 0,84 |
|
Масса, кг: |
1150 |
2070 |
|
В том числе рабочих органов |
1150 |
270 |
|
Габаритные размеры, мм |
3320×2200×2200 |
3700×1800×2500 |
В условиях резкого повышения стоимости энергонасыщенного технологического оборудования в фермерских хозяйствах и на других малых свиноводческих фермах с различной формой собственности целесообразно применение для раздачи кормов ручных тележек различной конструкции (на обрезиненных колесах, рельсовые и др.), трубопроводных кормораздатчиков и других простейших механизмов, изготовленных на местных промышленных или ремонтных предприятиях.
Применение на реконструируемых свиноводческих фермах различной мощности перспективных, ресурсосберегающих средств механизации обеспечивает снижение эксплуатационных затрат на производство продукции. Так, при использовании для доставки кормов из кормоцеха в свинарники новых специализированных загрузчиков влажных кормов типа "ЗВК" за счет исключения перевалок уменьшаются на 1...1,5% потери дорогостоящих кормов, на 20...30% снижаются эксплуатационные затраты, улучшаются условия труда персонала.
Внедрение нового поколения электромобильных универсальных раздатчиков-смесителей вместо серийных кормораздатчиков КСП-0,8; КС-1,5; КУС-Ф-2 и других обеспечивает механизированную раздачу животным любого вида корма (влажных кормосмесей, сухого или жидкого), что позволяет, в зависимости от обстоятельств, оперативно менять рацион кормления свиней. Кроме этого, на 30...40% снижаются расход электроэнергии на эксплуатацию машин и на 15...20% трудозатраты на их обслуживание. Ширину кормовых проходов в свинарниках можно уменьшить с 1,4... 1,5 м до 1... 1,4 м, что обеспечивает более рациональное использование производственной площади здания.
Объемно-планировочные решения. Здание свинарника кирпичное двухпролетное с сеткой колонн 9x6 м, перекрытие сборное железобетонное с чердаком. Размеры здания в плане 18x90 м. Внутренними и поперечными перегородками здание разделено на четыре секции для содержания животных. В торцах здания предусмотрены подсобные помещения и кормоцех. К продольным стенам снаружи пристроены цех убоя свиней, помещение для навозной тележки, блок вспомогательных помещений и выгульные площадки (рис. 2.13).
Технология содержания и кормления свиней. Согласно технологическому расчету, производственные группы свиней разделены на следующие секции (рис. 2.14):
- для подсосных свиноматок на 22 головы;
- для поросят-отъемышей на 150 голов;
- воспроизводства - для содержания холостых, супоросных, осеменяемых маток, хряков;
- для откорма молодняка свиней.

Рис. 2.13. Генплан свинарника по выращиванию и откорму 1000 голов в год агрофирмы "Союз" Калужской области:
1 - свинарник на 1000 голов в год; 2 - цех убоя свиней на четыре головы в смену; 3, 8 - выгульные площадки; 9 - грязеотстойник; 10, 11 - резервуары для воды емкостью на 100 м3 каждый; 12 - свинарник ч

Рис. 2.14. План и разрез свинарника по выращиванию и откорму 1000 голов в год:
1 -секция подсосных свиноматок; 2 - секция поросят-отъемышей; 3 - секция воспроизводства; 4 - секция откорма; 5 - кормоцех; 6 - вспомогательное помещение; 7 - цех убоя
Технологические показатели
|
Наименование |
Число |
Вместимость станка, гол. |
Площадь станка на одну голову, м2 |
Фронт кормления, м |
Габариты станка, м |
|
|
голов |
станков |
|||||
|
Подсосные свиноматки |
22 |
22 |
1/8 |
6,04 |
0,45/0,2 |
2,4×2,52 |
|
Поросята-отъемыши |
150 |
12 |
10(13) |
0,43 |
0,3 |
2,0×2,13 |
|
Холостые и условно-супоросные матки |
43 |
6 |
7 |
1,91 |
0,45 |
4,0×3,35 |
|
Супоросные матки |
27 |
4 |
7 |
1,9 |
0,45 |
4,0×3,46 |
|
Хряки |
6 |
6 |
1 |
8,40 |
0,45 |
2,3×3,68 |
|
Свиньи на откорме |
308 |
30 |
10 |
0,75 |
0,32 |
3,2×2,35 |
|
Ремонтные хрячки |
4 |
2 |
2 |
4,22 |
0,45 |
2,3×3,67 |
Станочное оборудование в каждой секции расположено в два ряда. Единовременное постановочное поголовье свиней в свинарнике составляет 650 голов. За год откармливают 1000 свиней.
Технология рассчитана на равномерно-поточное круглогодовое производство свинины. Тяжелосупоросные матки поступают в секцию подсосных свиноматок за 14 дней до опороса. После опороса матки содержатся с поросятами 42 дня. Далее маток переводят в секции воспроизводства, а поросят - в секцию поросят-отъемышей, где содержат до 98-дневного возраста. По завершении доращивания поросят переводят в секцию откорма молодняка.
Животных кормят многокомпонентными кормосмесями. Корма раздают в групповые и индивидуальные кормушки с помощью кормораздатчика КС-Ф-2. Поение свиней осуществляется с помощью автопоилки типа АС-Ф-25. Удаление навоза из станков производится через щелевые полы путем протаптывания его самими животными.
Приготовление полнорационных смесей для различных половозрастных групп свиней осуществляется в кормоцехе, расположенном в торце здания. В комплект кормоприготовительного оборудования входят дробилка ДБ-5, модернизированный измельчитель корнеклубнеплодов ИКМ-Ф-10 с мойкой; питатель концентрированных кормов ПК-6,0; электрозапарник универсальный ЭЗУ-Ф-0,6; смеситель кормов СКО-Ф-3; скребковые и шнековые транспортеры, молокоприемные резервуары П6-ОРМ; молочные электронасосы.
Для раздачи кормов применяются универсальные электрифицированные кормораздатчики КС-Ф-0,8, ручная тележка ТУ-300.
Удаление навоза по продольным каналам производится скребковыми транспортерами ТСН-3,0Б, а из поперечного канала - КНП-10-02. Для поросят-сосунов используется подстилочный материал в виде резаной соломы или опилок, поэтому исходный навоз из здания выходит влажностью 90%. Раз в сутки навоз отвозят тракторной тележкой на специально выделенную для этих целей полевую площадку компостирования навозной массы с соломой.
В здании свинарника запроектированы две приточные установки с электрокалориферами для подачи свежего воздуха в зимний период. Вытяжка зимой - естественная через вытяжные колодцы в продольной кирпичной стене (из нижней зоны) и вентиляционные шахты покрытия. В летний период вентиляция осуществляется через оконные проемы и системой вентиляции в летнем режиме (без электрокалориферов). Для поросят-сосунов предусмотрены обогрев и облучение установкой "Луч".
В проект свинарника заложена высокоэффективная и экологически чистая, механизированная технология производства свинины, обеспечивающая получение привесов 550 г на одну голову, снижение удельных затрат труда до 5...6 чел.·ч, расход кормов до 6,1 ц корм. ед. на 1 ц привеса живой массы. Общее производство свинины в живой массе составляет 1080 ц. Реализация продукции осуществляется мясом и субпродуктами, что на 30...35% эффективнее по сравнению со сдачей свиней живой массой.
Свиноводческие фермы на 3 тыс. и 6 тыс. голов в год, застройка которых проводилась в основном в 1970-1980 гг., получили наибольшее распространение. Эта категория предприятий характеризуется сравнительно высокой эффективностью производства и не оказывает отрицательного воздействия на окружающую среду, экологическую безопасность, что особенно важно. В настоящее время на этих объектах необходимо приоритетно осуществлять реконструкцию и техническое переоснащение морально и физически устаревших производственно-технологических линий и средств механизации.
В состав свиноферм на 3 тыс. голов, построенных по ТП 802-01-11.84, входят здание для репродукторного поголовья и два здания для содержания откармливаемого молодняка на 1000 и 500 свино-мест (рис. 2.15). На фермах предусмотрен кормоцех производительностью 20 т в сутки. Применяемое технологическое оборудование в кормоцехах и свиноводческих зданиях морально устарело (смеситель С-7, кормораздатчик-кормозагрузчик кормов КУТ-3,0А, кормораздатчик КС-1,5, навозоуборочные транспортеры ТС-1 и ТСН-2.0Б).
Свинофермы на 6 тыс. голов в год (ТП 802-01-10.84) имеют в своем составе 5 производственных зданий: свиноводческое помещение для воспроизводства стада, помещения для подсосных свиноматок на 120 индивидуальных станков, 3 свинарника-откормочника по 1000 свино-мест, а также кормоцеха производительностью 40 т в сутки (рис. 2.16).
Применяемые на фермах проектные решения и производственно-технологические показатели содержания и откорма животных, технические средства механизации не имеют отличий.
В разработанных ВНИИМЖем проектах реконструкции свиноводческих свиноферм мощностью 3 тыс. и 6 тыс. голов в год, построенных по типовым проектам, предусмотрены технические решения по переоснащению всех зданий и кормоцеха.

Рис. 2.15. Генплан фермы выращивания и откорма на 3 тыс. свиней в год (ТП 802-01-11.84):
1 - санитарный пропускник на 15 человек; 2 - свинарник на 150 холостых и супоросных маток, 20 голов ремонтного молодняка, 2 хряков, 506 поросят-отъемышей и на 60 мест проведения опоросов (ТП 802-2-13.84); 3 - свинарник-откормочник на 1000 мест (ТП 802-5-23.84); 4 - свинарник-откормочник на 500 мест (ТП 802-5-24.84)

Рис. 2.16. Генплан фермы выращивания и откорма 6 тыс. свиней в год (ТП 802-01-10.84):\
1 - санитарный пропускник на 30 человек; 2 - свинарник на 300 холостых и супоросных маток, 40 голов ремонтного молодняка, 6 хряков и 1040 поросят-отъемышей (ТП 802-2-12.84); 3 - свинарник для проведения опоросов на 120 мест (ТП 802-3-8.84); 4 - свинарник-откормочник на 1000 мест (ТП 802-5-23.84)
Свиноферма на 3 тыс. голов в год (см. рис. 2.15). В свинарниках-репродукторах (ТП 802-2-13.84) габаритами в плане 18×120 м с помощью возведения продольной кирпичной перегородки и центрального поперечного коридора выделяются четыре изолированные секции. В одной секции размещено поголовье для воспроизводства стада, во второй - поросята-отъемыши, в третьей и четвертой - подсосные матки с поросятами-сосунами (рис. 2.17).

Рис. 2.17. План и разрезы свинарника на 150 холостых и супоросных маток, 20 голов ремонтного молодняка, 2 хряка, 500 поросят-отъемышей и проведения опоросов на 60 мест:
1 - секция воспроизводства; 2 - секция для поросят-отъемышей; 3 - секция проведения опоросов (2 шт.)
Технологические показатели
|
Наименование |
Число |
Вместимость станка, головы |
Площадь на одну голову, м2 |
Фронт кормления, м |
Размеры станка, м |
|
|
голов |
станков |
|||||
|
Подсосные свиноматки |
74 |
74 |
1/10 |
5.3 |
0,5/0,2 |
2,275×2,3 |
|
Поросята-отъемыши |
506 |
24 |
21 |
0,33 |
0,19 |
1,75×4,0 |
|
Холостые и супоросные матки |
150 |
14 |
11 |
1,85 |
0,55 |
3,4×6,0 |
|
Хряки |
2 |
2 |
1 |
7,14 |
0,5 |
3,4×2,1 |
|
Ремонтные свинки |
20 |
2 |
10 |
0,9 |
0,3 |
3,0×3,0 |
|
Матки на передержке |
5 |
5 |
1 |
1,3 |
0,5 |
2,0×0,65 |
Расположение станков - 2-рядное. Осеменяемые, подсосные матки и хряки содержатся в индивидуальных станках; остальное поголовье - в групповых станках типа ОСГ-Ф-1.
Для раздачи кормов применены новые рельсовые кормораздатчики типа КС-Ф-0,8, для поения животных - сосковые автопоилки типа АС-Ф-25. Удаление навоза по подпольным каналам предусмотрено осуществлять шнековыми транспортерами (рис. 2.18, 2.19).

Рис. 2.18. Схема раздачи кормов в свинарнике-репродукторе:
1-рельсовый путь; 2 - раздатчик-смеситель КС-Ф-0,8

Рис. 2.19. Схема удаления навоза в свинарнике-репродукторе:
1 - шнековый транспортер; 1 2 - приводная станция
Свинарник-откормочник на 1000 ското-мест (ТП 802-5-23.84) габаритами в плане 18×90 м также поделен продольной перегородкой и поперечным коридором на четыре секции (рис. 2.20).
Расположение станков в секциях 2-рядное с центральным кормовым и двумя эвакуационными проходами у задних стенок станков, имеющих калитки. Это позволяет в каждой секции блокировать групповые станки с образованием сплошного фронта кормления (без разрыва на калитки) и исключить потери кормов при их раздаче.

Рис. 2.20. План и разрез свинарника-откормочника на 1000 мест:
1 - секция первого периода откорма (2 шт.); 2 - секция второго периода откорма (2 шт.)
Технологические показатели
|
Наименование |
Секция первого периода откорма |
Секция второго периода откорма |
|
Вместимость, головы: |
|
|
|
станка |
21 |
19 |
|
общая здания |
1044 (после реконструкции) |
|
|
Размеры: |
|
|
|
секций |
2 |
2 |
|
станка,м |
5×2,45 |
6×2,4 |
|
Площадь на одну голову, м2 |
0,58 |
0,76 |
|
Фронт кормления, м |
0,24 |
0,32 |
Для раздачи кормов в этих помещениях рекомендуется применять рельсовые серийные кормораздатчики КУС-Ф-2 или новый универсальный кормораздатчик КС-Ф-2,0, способный обслуживать два кормовых прохода. Поение свиней осуществляется с помощью автопоилок АС-Ф-25, удаление навоза - шнековыми транспортерами, размещенными в четырех подпольных каналах, перекрытых щелевыми полами (рис. 2.21, 2.22).

Рис. 2.21. Схема раздачи кормов в свинарнике-откормочнике на 1000 голов:
1 - рельсовый путь; 2 - раздатчик-смеситель КС-Ф-2,0

Рис. 2.22. Схема удаления навоза в свинарнике-откормочнике на 1000 голов:
1 - шнековый транспортер; 2 - приводная станция (4 шт.)
Свинарники-откормочники на 500 свино-мест (ТП 802-5-24.84) по планировке и оснащению технологическим оборудованием аналогичны свинарникам на 1000 мест, но по длине вдвое короче.
Реконструкция кормоцеха фермы на 3 тыс. голов в год включает в себя техническое переоснащение производственных линий цеха с использованием новых комплектов технологического оборудования типа КСУ-Ф-5-3 для приготовления влажных кормосмесей. Кроме того, в составе кормоцеха предусмотрена дополнительная комбикормовая установка типа УМК-Ф-2 производительностью до 3 т/ч рассыпных комбикормов.
Свиноферма на 6 тыс. голов в год (см. рис. 2.16). Технологические решения и техническое переоснащение производственных зданий свинофермы на 6 тыс. голов в год во многом аналогичны с принятыми решениями реконструкции объектов фермы на 3 тыс. голов в год. Это касается процессов содержания, кормления и поения животных, а также обеспечения технологических операций по приготовлению, доставке и раздаче кормов, удалению навоза, обеспечению микроклимата помещений и др. Например, многоцелевое производственное здание для содержания 305 холостых и супоросных маток, 40 голов ремонтного молодняка, 5 хряков и 974 поросят-отъемышей, имеющее размеры в плане 18×114 м, также разделено на четыре изолированные секции. Две из них заняты поголовьем для воспроизводства стада и две - поросятами-отъемышами (рис. 2.23).

Рис. 2.23. План и разрез свинарника на 300 холостых и супоросных маток, 40 голов ремонтного молодняка, 6 хряков, 1040 поросят-отъемышей:
1 - секция для поросят-отъемышей; 2 - помещение для холостых и супоросных маток, хряков, ремонтного молодняка
Технологические показатели
|
Наименование |
Число |
Вместимость станка |
Площадь на одну голову, м2 |
Фронт кормления, м |
Габариты станка, м |
|
|
голов |
станков |
|||||
|
Поросята-отъемыши |
1040 |
48 |
21...22 |
0,33 |
0,19 |
1,75×4 |
|
Холостые и супоросные матки |
295 |
27 |
11 |
1,85 |
0,55 |
3,4×6 |
|
Матки на передержке |
10 |
10 |
1 |
1ЮЗ |
0,5 |
0,65×2 |
|
Ремонтные свинки |
40 |
4 |
10 |
0,9 |
0,3 |
3×3 |
|
Хряки-производители |
4 |
4 |
1 |
7,14 |
0,5 |
3,4×2,1 |
|
Хряки-пробники |
2 |
2 |
1 |
7,14 |
0,5 |
3,4×2,1 |
Секции для поросят-отъемышей по ширине на 1,3 м меньше секций для маточного поголовья, что позволяет эффективнее использовать полезную площадь здания и обеспечивать нормативные требования по содержанию животных.
В секции воспроизводства для раздачи влажных многокомпонентных кормосмесей предусмотрен раздатчик-смеситель КС-Ф-0,8. Для поения животных устанавливаются сосковые автопоилки. Навоз в станках через щелевые полы протаптывается самими животными в подпольные каналы и удаляется шнеками до навозосборника.
Свинарник для проведения опоросов на 120 станков (ТП 802-3-84) размерами в плане 18×108 м также разделен продольной осевой перегородкой и поперечным коридором в середине здания на четыре изолированные секции по 30 станков в каждой.
Для раздачи кормов в свинарнике-маточнике установлены два рельсовых кормораздатчика КС-Ф-0,8, а для поения маток и поросят применены сосковые автопоилки. Навоз из секций удаляется по подпольным каналам шнековыми транспортерами. При применении в помещениях для поросят-сосунов подстилочного материала (опилки, резаная солома, древесная стружка и др.) предусмотрена возможность периодического его сбрасывания в навозный канал через шарнирно закрепленные люки в щелевом полу станков.
Три свиноводческих здания фермы для откорма молодняка (ТП 802-5-23.84) вместимостью по 1000 голов реконструируются идентично однотипным свинарникам-откормочникам фермы на 3 тыс. голов в год.
В каждом здании предусмотрены четыре изолированные секции, две из которых предназначены для предварительного и две - для заключительного откорма молодняка, что позволяет повысить выход продукции с 1 м2 полезной площади на 10...12%.
Для доставки кормов из кормоцеха в свинарники рекомендовано применять специализированные мобильные загрузчики кормов: самоходный ЗВК-Ф-4 или прицепной ЗВК-Ф-3, которые обеспечат сохранность корма при доставке к свинарникам и его перегрузке в кормораздающие устройства, находящиеся в тамбурах производственных зданий.
При реконструкции кормоцеха данной фермы предложено расширить его технологические возможности путем достройки отделения по производству комбикормов. Остальные технологические линии кормоцеха технически переоснащаются аналогично кормоцеху фермы на 3 тыс. голов в год.
Помимо дополнительного строительства отделения по производству собственных комбикормов в типовых кормоцехах свиноферм на 3 тыс. и 6 тыс. голов в год также предусмотрена замена устаревшего технологического оборудования по переработке корнеклубнеплодов. Для дозирования основных компонентов применено весоизмерительное устройство непрерывного действия, позволяющее за счет точности дозирования повысить качество кормовых смесей.
В настоящем разделе приводятся материалы расчета экономической эффективности реконструкции свиноводческой фермы для равномерного воспроизводства, выращивания и откорма 6 тыс. голов, в год с реализацией 6960 ц свинины в живой массе. В ТП 802-01 -10.84 технологией предусматриваются получение на ферме в течение каждых 15 дней 31 опороса свиноматок, передача на откорм в возрасте 108 дней 250 голов и снятие с откорма 248 свиней в возрасте 272 дней с живой массой одной головы 112 кг.
Технологией производства свинины на фермах, построенных по типовым проектам, среднесуточные привесы свиней на откорме предусмотрены 500 г, фактически они значительно ниже (350...400 г), поэтому растягиваются сроки откорма, реализация молодняка осуществляется в возрасте 272 дней. Кормление животных проводится влажными смесями с преобладанием зеленых и сочных кормов, питательность 1 кг смеси до разбавления водой составляла 0,46 корм, ед., после разбавления - 0,25...0,30 корм. ед. Корма к свинарникам доставляются загрузчиком КУТ-3,06М, внутри свинарников раздаются кормораздатчиками КС-1,5, хрякам и подсосным свиноматкам - ручными тележками ТУ-300. Удаление навоза осуществляется транспортерами ТСН-2,0Б. Микроклимат в свинарниках не поддерживается на удовлетворительном уровне. Поросята-отъемыши содержатся по 20, свиньи на откорме - по 25, холостые и супоросные свиноматки - по 12... 15 голов в станке. Прогулками пользуются только ремонтные свинки и хряки-производители. Все это не позволяло достичь высокой продуктивности животных - получения среднесуточных привесов 550...600 г. Поэтому в целях повышения эффективности и конкурентоспособности производства свинины при реконструкции предусматривается изменить тип и повысить уровень кормления за счет увеличения доли концентратов в рационе, улучшить способ содержания и качество микроклимата в помещениях, провести переоснастку кормоцеха и системы удаления навоза, расширить ассортимент реализуемой продукции.
Технологические параметры продуктивности животных до и после реконструкции представлены в табл. 2.17. Число реализованных животных на ферме после реконструкции остается примерно таким же, однако живая масса одной головы за счет повышения привесов с 500 г до 610 г в сутки увеличивается на 12 кг, а производство свинины возрастает на 746 ц. Реализация животных будет производиться в разном возрасте, в том числе и мясом после убоя непосредственно на ферме.
Таблица 2.17
Технологические параметры продуктивности животных при реконструкции свиноводческого предприятия мощностью 6 тыс. голов в год
|
Показатели |
До реконструкции |
После реконструкции |
|
Ритм производства: на 6 тыс. голов в год, дни |
15 |
14 |
|
Число опоросов от свиноматки в год |
1,7 |
2 |
|
Многоплодие, головы: |
|
|
|
взрослых свиноматок |
9,5 |
9,8 |
|
первоопоросок |
8,3 |
8,8 |
|
в среднем при соотношении опоросов взрослых |
|
|
|
маток и первоопоросок 70:30 « |
9,14 |
9,5 |
|
Технологический отход, %: |
|
|
|
поросята-сосуны |
10,0 |
10 |
|
поросята-отъемыши |
5,0 |
5 |
|
свиньи на откорме |
2,0 |
2 |
|
Число реализованных свиней на среднегодовую |
|
|
|
свиноматку |
12,4 |
15,77 |
|
Продолжительность подсосного периода, дни |
50 |
42 |
|
Прохолост свиноматок, % |
25 |
25 |
|
Годовая выбраковка маточного поголовья, % |
40 |
40 |
|
Продолжительность сервис-периода, дни |
21...28 |
21...28 |
|
Масса поросят, кг: |
|
|
|
при рождении |
1.2 |
1,2 |
|
при отъеме (42 дня) |
12,0 |
13,0 |
|
при постановке на откорм |
30 |
42 |
|
Возраст поросят при постановке на откорм, дни |
108 |
126 |
|
Живая масса свиней при снятии их с откорма, кг |
112 |
120 |
|
Среднесуточный прирост, г: |
|
|
|
поросят-сосунов |
257 |
281 |
|
поросят-отъемышей |
273 |
345 |
|
свиней на откорме |
500 |
610 |
|
Продолжительность откорма, дни |
164 |
126 |
|
Возраст свиней при реализации, дни |
272 |
252 |
|
Затраты корма на 1 кг привеса, корм. ед. |
6,70 |
5,5 |
|
В том числе концентратов |
3,94 |
4,78 |
|
Число реализованных животных |
6120 |
6165 |
|
Живая масса реализованных животных, ц |
6960 |
7706 |
|
Средняя живая масса реализованных животных, кг |
113 |
125 |
На свиноферме полностью изменяются тип и уровень кормления (табл. 2.18). Общая потребность в кормах сокращается на 42294 ц, а количество концентратов увеличивается на 9411 ц. Доля концентратов в рационе свиней возрастает с 58,8 до 92%, а удельное потребление кормов на 1 ц прироста снижается с 6,7 до 5,5 корм. ед. (18%). Общая стоимость кормов при этом уменьшится на 3120 тыс. руб.
Во всех помещениях рекомендуется заменить станки для содержания свиней, навозные транспортеры, оборудование для обеспечения микроклимата, провести полную переоснастку кормоцеха по проекту КСФ-5-4 и построить убойный пункт с переработкой мяса для розничной торговли.
Потребность в новом оборудовании и его стоимость представлены в табл. 2.19.
Исходя из стоимости нового оборудования и капитальных вложений на реконструкцию фермы, общие затраты представлены в табл. 2.20. Амортизационные отчисления и отчисления на текущий ремонт даны в табл. 2.21.
Планируемый объем производства и реализации продукции по реконструируемой ферме приведен в табл. 2.22, в которой указано, что при реконструкции значительно расширяются виды ее реализации поросята-сосуны, отъемыши, свиньи в живой массе и мясо с субпродуктами, а также органические удобрения. Отмеченное существенно (на 25...30%) повышает доходность фермы, а окупаемость затрат составляет 3,5 года.
Ниже приводятся потребные ресурсы и их оценка по действующим в октябре-ноябре 1999 г. ценам и тарифам. Расчет потребных ресурсов определен по данным технологических карт выполнения процессов, а также с учетом действующих технологических нормативов.
Таблица 2.18
Потребность в различных видах кормовых средств и их стоимость на ферме мощностью 6 тыс. голов в год*
|
Кормовые средства |
До реконструкции |
После реконструкции |
||||||
|
корм. ед. |
Ц |
цена 1 ц, руб. |
Общая стоимость, тыс. руб. |
корм. ед. |
Ц |
цена 1 ц, руб. |
Общая стоимость, тыс. руб. |
|
|
Молоко |
1855 |
6182 |
200 |
1236 |
63,0 |
210 |
20 |
42 |
|
Концентраты** |
27462 |
24965 |
180 |
4194 |
36873 |
33521 |
180 |
6034 |
|
Комбисилос, корнеплоды |
12221 |
45264 |
80 |
3621 |
2131 |
7892 |
80 |
631 |
|
Зеленая масса |
4303 |
21516 |
60 |
1291 |
723 |
3616 |
60 |
217 |
|
Травяная мука |
670 |
1014 |
150 |
152 |
1293 |
1848 |
150 |
277 |
|
Обрат |
129 |
991 |
0,9 |
1,0 |
1300 |
10000 |
0,9 |
9 |
|
Добавки |
- |
- |
- |
- |
- |
550 |
300 |
165 |
|
Итого |
46640 |
99931 |
- |
10495 |
42383 |
57637 |
- |
7375 |
* Здесь и в последующих таблицах итоговые цифры округлены.
** Удельный вес концентратов до реконструкции в рационе - 58,8%, после реконструкции - 87%, удельный вес концентратов плюс травяная мука до реконструкции - 60,3%, после реконструкции - 90%.
Таблица 2.19
Потребность в оборудовании и его стоимость с учетом монтажа
|
Производственный процесс |
До реконструкции |
После реконструкции |
|||||
|
назначение, марка машин и оборудования |
число, шт. |
назначение, марка машин и оборудования |
число, шт. |
цена за 1 шт., руб. |
всего, руб. |
с учетом монтажа, руб. (+25% стоимости) |
|
|
1 |
2 |
3 |
4 |
5 |
6 |
7 |
8 |
|
Содержания свиней: |
|
|
|
|
|
|
|
|
подсосные свиноматки |
Станки для опороса ОСМ-60 |
120 |
Станки для опороса ОСМ-60 |
120 |
1720 |
206400 |
258000 |
|
холостые и супоросные свиноматки |
Станки для группового содержания ОСГ-Ф-1-2 |
30 |
Станки для группового содержания ОСГ-Ф-1-2 |
30 |
780 |
23400 |
29250 |
|
осемененные свиноматки |
Станки для индивидуального содержания КСП-108.11 |
30 |
Станки для индивидуального содержания КСП-108.11 |
30 |
900 |
27000 |
33750 |
|
хряки-производители |
Станки для содержания хряков ОСГ-Ф-1-6 |
20 |
Станки для содержания хряков ОСГ-Ф-1-б |
15 |
800 |
12000 |
15000 |
|
ремонтные свинки |
Станки для группового содержания ОСГ-Ф-1-4 |
50 |
Станки для группового содержания ОСГ-Ф-1-4 |
50 |
730 |
36500 |
45625 |
|
поросята-отъемыши |
Станки для группового содержания ОСГ-Ф-1-3 |
52 |
Станки для группового содержания ОСГ-Ф-1-3 |
52 |
870 |
45240 |
56550 |
|
свиньи на откорме |
Станки для группового содержания ОСГ-Ф-1-1 |
120 |
Станки для группового содержания ОСГ-Ф-1-1 |
150 |
915 |
137250 |
171562 |
|
Итого по станкам |
|
|
|
|
|
487790 |
609737 |
Продолжение таблицы 2.19
|
1 |
2 |
3 |
4 |
5 |
6 |
7 |
8 |
|
Раздача кормов: |
|
|
|
|
|
|
|
|
подсосным свиноматкам |
Тележка ручная ТУ-300 |
4 |
Тележка ручная ТУ-300 |
2 |
17500 |
35000 |
43750 |
|
холостым, осеменяемым |
Электрифицированный кормораздатчик КС-1,5 |
|
Электрифицированный кормораздатчик КСФ-2 |
|
|
|
|
|
и супоросным свиноматкам |
|
2 |
|
2 |
16850 |
33700 |
42125 |
|
поросятам, отъемышам |
Тоже |
2 |
То же |
2 |
16850 |
33700 |
42125 |
|
свиньям на откорме |
То же |
2 |
То же |
2. |
16850 |
33700 |
42125 |
|
Итого по раздаче |
|
|
|
|
|
136100 |
170125 |
|
Доставка кормов к свинарникам |
Кормораздатчик-кормозагрузчик КУТ-3,0М |
1 |
Загрузчик влажных кормов ЗВК-4 |
1 |
20700 |
20700 |
20700 |
|
Приготовление кормов |
Кормоцех 40 т/сутки |
1 |
Кормоцех 12 т/ч КСФ-5-4 |
1 |
312000 |
312000 |
390000 |
|
Навозоудаление |
Транспортер навозный ТСН-20Б |
20 |
Транспортер навозный Ш чековый ШТК-Ф-200А |
5 комплектов |
60000 |
300000 |
375000 |
|
Обеспечение микроклимата |
Комплекты оборудования "Климат-47М" |
5 ком плектов |
- Комплекты оборудования "Агроклимат" |
5 комплектов |
20300 |
105500 |
131875 |
|
Убой и переработка свиней для розничной торговли |
- |
- |
Комплект оборудования убойного пункта производительностью 14... 16 голов в смену |
1 |
272000 |
272000 |
340000 |
|
Всего затрат на оборудование |
- |
- |
- |
- |
- |
1634090 |
2037437 |
Таблица 2.20
Капитальные вложения на реконструкцию свиноводческой фермы мощностью 6 тыс. голов в год
|
Показатели |
Сумма всего |
|
|
тыс. руб. |
в том числе на одно свино-место |
|
|
Общая сметная стоимость по проекту |
17495 |
2,91 |
|
В том числе: |
|
|
|
строительно-монтажные работы |
13996 |
2,33 |
|
оборудование |
3850 |
0,64 |
|
Остаточная стоимость после эксплуатации (10 лет, 77%) |
13500 |
2,25 |
|
В том числе: |
|
|
|
строительно-монтажные работы |
10797 |
1,79 |
|
оборудование |
1609 |
0,26 |
|
Потребность в дополнительных капвложениях на реконструкцию, всего |
2924 |
0,48 |
|
В том числе: |
|
|
|
в строительно-монтажные работы |
1290 |
0,21 |
|
в оборудование |
1634 |
0,27 |
|
Стоимость фермы после реконструкции |
16424 |
2,73 |
|
В том числе: |
|
|
|
строительно-монтажные работы |
13139 |
2,19 |
|
оборудование |
3243 |
0.54 |
Таблица 2.21
Затраты на амортизацию и текущий ремонт
|
Отчисления |
Стоимость, тыс. руб. |
Нормативы затрат от балансовой цены |
Сумма, тыс. руб. в год |
|
Амортизация зданий, сооружений |
13139 |
3,4 |
447 |
|
Амортизация машин и оборудования |
3243 |
14,6 |
473 |
|
Текущий ремонт зданий, сооружений |
13139 |
2,6 |
342 |
|
Текущий ремонт машин и оборудования |
3243 |
10,0 |
324 |
|
Итого |
|
|
1586 |
Таблица 2.22
Планируемый объем годового производства и реализации продукции с фермы мощностью б тыс. голов в год
|
Продукция |
Реализуемое поголовье |
Получение продукции от одной головы, кг |
Получение продукции, всего, ц |
Цена 1 ц продукции, руб. |
Общая выручка, тыс. руб. |
|
Поросята-сосуны |
250 |
10,0 |
25 |
5000 |
125 |
|
Поросята-отъемыши |
250 |
35 |
88 |
3500 |
306 |
|
Свиньи с откорма в живой массе |
1665 |
125 |
2081 |
2000 |
4162 |
|
Свиньи с откорма после убоя: |
4000 |
- |
- |
- |
- |
|
мясо |
4000 |
70 |
2800 |
4000 |
11200 |
|
субпродукты |
4000 |
3,0 |
120 |
3000 |
360 |
|
головы |
4000 |
5,5 |
220 |
1500 |
330 |
|
ноги |
4000 |
1.8 |
72 |
1500 |
108 |
|
Навоз* |
3843 |
265 |
10184 |
5 |
51 |
|
Итого |
- |
- |
- |
- |
16642 |
*Выход навоза определен с учетом одновременно содержащихся на ферме животных, без поросят-сосунов.
Издержки производства продукции представлены в табл. 2.23.
Таблица 2.23
Годовые издержки на производство продукции
|
Статья расходов |
Затраты, тыс. руб, |
Структура расходов, процентов |
|
Амортизационные отчисления и |
|
|
|
отчисления на текущий ремонт |
1586 |
10,47 |
|
Стоимость ремонтного молодняка |
184 |
1,21 |
|
Стоимость кормов |
7375 |
48,72 |
|
Стоимость воды |
25 |
0,16 |
|
Стоимость электроэнергии |
264 |
1,74 |
|
Стоимость ГСМ |
2860 |
18,89 |
|
Стоимость подстилки |
9 |
0,05 |
|
Стоимость медикаментов и дезосредств |
60 |
0,39 |
|
Заработная плата с начислениями |
634 |
4,18 |
|
Общехозяйственные расходы (23% от суммы зарплаты, амортизации и ремонта) |
474 |
13,13 |
|
Налог от валовой выручки (10%) |
1664 |
10,99 |
|
Итого |
15135 |
100,0 |
Потребление электроэнергии с учетом работы убойного цеха и переоборудованного кормоцеха в год составляет 1200000 кВт-ч. Отпускной тариф 1 кВт- ч для Московской обл. - 0,22 руб., общие затраты на оплату электроэнергии – 264 тыс. руб.
Стоимость воды. Потребление воды по ферме достигает 20953 м3. Цена 1 м3 воды 1,17 руб., общая стоимость потребляемой воды- 24515 руб.
Стоимость горюче-смазочных материалов (ГСМ). Общий расход ГСМ по ферме составляет 520009 кг. Стоимость 1 т ГСМ в Московской обл. 5500 руб., общие затраты на ГСМ - 2860050 руб.
Стоимость подстилки. Потребность подстилки в год составляет'300 т, цена за 1 т - 30 руб., общие затраты на подстилку 9000 руб.
Стоимость медикаментов и дезосредств. Стоимость медикаментов и дезосредств на одну реализованную голову в год принята равной 10 руб., общая стоимость расходуемых средств - 60 тыс. руб.
Заработная плата с начислениями. Годовые затраты труда на ферме составляют 60000 чел.·ч. Оплата труда на ферме в расчете на 1 чел.·ч принята 8 руб.
Начисления на заработную плату составляют 32%. Общие затраты на зарплату достигают 633600 руб. (60000×8 = 480000 + 153400 = 634000). Результаты работы фермы после реконструкции представлены в табл. 2.24.
Таблица 2.24
Результаты работы свинофермы после реконструкции
|
Показатели |
Итого, тыс. руб. |
|
Выручка от реализации продукции |
16642 |
|
Затраты на производство продукции |
15135 |
|
Полученная прибыль |
1507 |
|
Налог на прибыль (30%) |
452 |
|
Итого полученной прибыли |
1057 |
Окупаемость капиталовложений определяется по формуле
![]()
где Т - срок окупаемости, годы;
К - капиталовложения на реконструкцию;
Кв - все капиталовложения (новая сметная стоимость);
Чпр - чистая прибыль. Подставляя полученные результаты в указанную формулу, получаем, что срок окупаемости вложенных капиталов составляет 2,76 года.
Т=2924 тыс. руб./1057 тыс. руб.=2,76 года
Т=16424 тыс. руб./1057 тыс. руб.=15,53 года
Рентабельность предприятия после реконструкции + 10%.
Эффективность работы предприятия во многом зависит от вида реализованной продукции - поросята-сосуны, отъемыши, молодняк с откорма в живой массе или мясом для розничной торговли. Все зависит от цены на определенный вид продукции в данный момент.
Структура затрат в себестоимости продукции в основном зависит от стоимости кормов, доля которых в себестоимости составляет 48,72% и ГСМ - 18,89%. Заработная плата с начислениями в структуре себестоимости составляет 4,18%, что в современных условиях очень мало. На некоторых предприятиях зарплата достигает 8...10%, но прибыль в таких предприятиях на одну реализованную голову несколько выше (200...250 руб.) по сравнению с нашим примером, где прибыль составила 171,45 руб.
Общая эффективность реконструкции дана в табл. 2.25.
Таблица 2.25
Эффективность реконструкции (на примере свинофермы мощностью б тыс. голов в год)
|
Показатели |
До реконструкции |
После реконструкции |
|
Производство свиней, головы |
6120 |
6165 |
|
Живая масса одной головы, кг |
112 |
125 |
|
Производство продукции в живой массе, ц |
6960 |
7706 |
|
Увеличение производства, ц |
- |
746 |
|
Среднесуточный прирост на откорме, г |
500 |
610 |
|
Потребность в различных видах кормов, ц |
99931 |
57637 |
|
В том числе концентратов, ц (%) |
24965(58,8) |
33521(87) |
|
Общая сметная стоимость по проекту, тыс. руб. |
17495 |
|
|
Остаточная сметная стоимость, тыс. руб. |
13500 |
- |
|
Дополнительные капитальные вложения |
|
2924 |
|
В том числе в оборудование |
|
1634 |
|
Издержки на производство продукции, тыс. руб. |
17210 |
15135 |
|
Удельные затраты на 1 ц продукции: труда, чел.·ч: |
9,95 |
7,8* |
|
кормов, корм. ед. |
6,7 |
5,5 |
|
электроэнергии, кВт ч |
199 |
156 |
|
ГСМ, кг |
150 |
67,6** |
Продолжение таблицы 2.25.
|
Показатели |
До реконструкции |
После реконструкции |
|
Выручка от реализации продукции, тыс. руб. |
13980 |
J6642 |
|
Получено прибыли, всего, тыс. руб. |
|
1507 |
|
Налог на прибыль (30%), тыс. руб. |
|
452 |
|
Итого получено прибыли, тыс. руб. |
- |
1057 |
|
Рентабельность, % |
-15 |
10 |
|
Срок окупаемости вложенных капиталов, годы |
- |
2,76 |
*Затраты труда после реконструкции с учетом работы убойного пункта с переработкой мяса для розничной торговли.
** Затраты ГСМ снизились за счет реализации 4000 свиней мясом, а поросят-сосунов и отъемышей - транспортом покупателя.
Примерные технико-экономические показатели реконструкции свиноводческих ферм мощностью 1000 и 3000 голов* в год представлены в табл. 2.26.
Таблица 2.26
Технико-экономические показатели реконструируемых свиноферм
|
Показатели |
Свиноферма на 1000 голов агрофирмы "Союз" Калужской области |
Типовая свиноферма на 3000 голов (ТП 802-01-11.84) |
|
Годовая производительность в год, ц |
1000 |
3100 |
|
Обслуживающий персонал (основные рабочие), человек |
3 |
10 |
|
Общие затраты на реконструкцию, тыс. руб. |
780 |
2300 |
|
Стоимость одного ското-места, руб. |
1200 |
1095 |
|
Выход в сутки, т: |
|
|
|
навоза |
4 |
12 |
|
компостов |
5 |
15 |
|
Среднесуточный прирост на откорме в сутки,г |
550 |
580 |
|
Затраты на 1 г прироста живой массы: |
|
|
|
труда, чел.-ч |
5.6 |
6...7 |
|
кормов, ц корм. ед. |
6,5 |
6 |
|
электроэнергии, кВт ч |
175 |
170 |
|
Окупаемость затрат, годы |
4...5 |
3...4 |
Одной из причин катастрофического снижения плодородия почв является неэффективное использование удобрительных ресурсов навоза.
Ежегодная доза навоза для поддержания бездефицитного баланса органического вещества почв должна составлять 7... 15 т/га. Для этого необходимо ежегодно вносить в почву более 1 млрд т органических удобрений. За три года с (1995 по 1997 гг.) было внесено всего 110,3 млн т органических удобрений, что составляет 3,3% от потребности.
Только в 1996 г. неиспользованный объем навоза достиг 140 млн т, что привело к его накоплению на территориях при предприятиях, интенсивному засорению семенами сорной растительности, потере питательных веществ и органической массы навоза и, наконец, загрязнению окружающей среды.
Расчеты показывают, что при условии полной мобилизации навоза КРС, свиней, овец, коз и птичьего пометка для производства органических удобрений их годовой объем может составить 190...220 млн т в общественном секторе и 110... 130 млн т в крестьянских, фермерских хозяйствах и частном секторе.
Между тем, именно органическим удобрениям принадлежит ведущее место в круговороте и балансе элементов минерального питания и органического вещества в земледелии. В навоз КРС из использованных кормов поступает 40...50% органического вещества, 80...90% азота, 70...60% фосфора, 95...98% калия, 70...85% кальция, или в среднем около 80% питательных веществ.
Технологии утилизации навоза связаны с выполнением больших объемов работ.
Расчеты, проведенные во ВНИИМЖ, позволяют говорить о значительной энергоемкости производства удобрений. Так, на уборку навоза у молочных коров и приготовление соломонавозных компостных смесей расходуется 55% прямых затрат и 74% условного топлива. Чисткой стойл заняты более 500 тыс. человек.
Одна из основных причин сложившейся ситуации - несовершенство технологий и технических средств для уборки и подготовки навоза к использованию.
Выбор технологий и технических средств для уборки навоза следует производить с учетом последующих затрат на его хранение и переработку, конкретных природно-климатических условий зоны расположения животноводческого предприятия, качественных характеристик исходного навоза и получаемых органических удобрений, т.е. осуществлять индивидуальный подход к каждому конкретному объекту, для чего использовать метод комплексной оценки объекта "навозорганическое удобрение-поле".
Расчеты, выполненные по системе комплексной оценки всех перечисленных выше факторов, показали, что учет региональное при утилизации навоза в виде соломонавозных компостов повышает эффективность использования технологии в Ростовской области на 19...24% по сравнению с Орловской и на 71...74% по сравнению с Кировской.
На величину ущерба окружающей среде значительное влияние оказывает место расположения фермы. Так, по расчетам ВНИИМЖ, в пригородных хозяйствах, расположенных вблизи территорий нахождения дач и населенных пунктов, ущерб от производства органических удобрений в 12 раз выше, чем на такой же ферме, но более удаленной от чувствительных к загрязнению среды объектов. При отсутствии переработки навоза и круглогодичном вывозе его на поля ущерб окружающей среде в сотни раз был выше за счет загрязнения почвы бактериальной микрофлорой и гельминтами.
Обобщение результатов научных исследований по созданию технологий и технических средств для уборки и подготовки навоза к использованию показывает, что отечественными учеными разработаны инженерно-технологические основы проектирования, и накоплен опыт создания, в основном, отдельных машин и оборудования для механических систем уборки навоза из помещений, разделения его на фракции, биологической очистки жидкого навоза и стоков, производства компостных смесей и вермикомпостов, переработки навоза путем интенсивной аэробной ферментации и т.д.
В настоящее время для всех базовых технологий производства продукции животноводства обоснованы технологические схемы уборки и подготовки навоза к использованию. Предельные значения удельных технико-экономических показателей технологий утилизации навоза на предприятиях по производству свиноводческой и скотоводческой продукции представлены в табл. 3.1.
В регионах, обеспеченных ресурсами влагопоглощающих материалов, целесообразно содержать животных с применением глубокой или косметической подстилки. В качестве влагопоглощающего материала при глубокой подстилке необходимо использовать солому, опилки или торф. Навоз, образующийся при использовании глубокой подстилки, целесообразно убирать периодически бульдозерами или грейферными погрузчиками общефермского назначения.
При использовании косметической подстилки уборку навоза из помещений рекомендуется осуществлять механическими средствами: шнековыми транспортерами (КШТ-Ф-20ОА, КОШ-Ф-100, КОШ-Ф-50), скребковыми (ТСН-160А, ТСН-3,0Б, ТСН-80 и т.д.), конвейерными установками типа КСУ-Ф-1 и т.д. Шнековые транспортеры и конвейерные установки монтируются в каналах, перекрытых решетками.
При содержании крупного рогатого скота для перекрытия каналов используются решетки сварной конструкции из стальных прутков Ø 16... 18 мм. Для перекрытия каналов в свиноводческих предприятиях применяются решетки из штампованного листового профиля.
При беспривязном содержании животных на щелевых полах или без них для уборки навоза из помещений применяют механические или гидравлические системы. При механических системах уборки навоза используют скреперные установки типов УС-Ф-170, УС-Ф-250, УСН-Ф-0,25. Гидравлические системы уборки навоза рекомендуются к применению только на действующих предприятиях, при новом строительстве предпочтительно использовать механические. Для уборки навоза с выгульных дворов целесообразно использовать самопогрузчик универсальный СУ-Ф-0,4, серийное производство базового энергетического средства для которого организовано на Владимирском тракторном заводе.
Таблица 3.1
Предельные значения удельных технико-экономических показателей систем уборки и подготовки навоза к использованию, рекомендуемых к применению при реконструкции животноводческих предприятий (цены 1991 года)
|
Технология |
Суммарные комплексные затраты, руб./га |
Эксплуатационные затраты, руб./га |
Затраты труда, чел.·ч/га |
Металлоемкость, кг/га |
Расход |
|
|
топлива, кг/га |
электроэнергии, кВтч/га |
|||||
|
Производство компостных смесей в процессе уборки навоза |
485...2000 |
325...1335 |
23...166 |
234...1212 |
48...126 |
117...343 |
|
Биотермическая стабилизация с предварительной гомогенизацией |
491...3308 |
294...1623 |
25...178 |
296...2825 |
21...87 |
1074...2515 |
|
Анаэробное сбраживание с предварительным контактным нагревом |
546...9255 |
280...5574 |
23...90 |
513...4905 |
29...88 |
31...422 |
|
Механическое разделение на центрифугах фильтрующего типа |
448...1651 |
248...786 |
24...123 |
288...1249 |
36...95 |
108...295 |
При механических системах уборки подстилочного навоза из помещений транспортировку его к местам хранения или переработки осуществляют мобильными агрегатами или стационарными- типаУТН-10.
Бесподстилочный навоз транспортируют к местам хранения или переработки насосами типов НЖН-Ф-200А, НЦИ-Ф-100, НЦН-Ф-100/30, НЦЦН-Ф-80/30, кроме того допускается применение насосов типа СД. Технико-экономические показатели технологий уборки навоза из помещений на предприятиях по производству молока и свинины приведены в табл. 3.2 и 3.3.
Подготовка навоза к использованию в каждом конкретном случае должна осуществляться в соответствии с действующими нормами технологического проектирования систем утилизации навоза. Следует отметить, что каждое животноводческое предприятие должно быть обеспечено хранилищами навоза, рассчитанными, как минимум, на 6-месячный выход. При реконструкции строительство хранилищ должно осуществляться в соответствии с действующими типовыми проектами.
Эффективность рекомендуемой технологии подтверждается анализом технико-экономических показателей трех различных технологий уборки навоза и производства соломонавозных компостных смесей для предприятий по производству молока и свинины (табл. 3.4, 3.5). Производство компостов в процессе уборки навоза из помещений для молочных ферм примерно на 40% эффективнее по комплексному оценочному показателю, чем приготовление таких компостов в линзе или с использованием козлового крана. Кроме того, производство компостов в процессе уборки навоза из помещений снижает потери навоза, вызванные операциями транспортировки его на смешивание, до нуля, что способствует улучшению экологической обстановки на ферме. Кроме того, в затраты на производство соломонавозных компостов при приготовлении их в процессе уборки навоза из помещений включена стоимость навесов для компостирования и карантинного хранения навоза в течение двух недель.
Для ферм размером молочного стада менее 200 голов технологии производства компостных смесей в линзе и с помощью козлового крана распространение не получили.
Таблица 3.2
Технико-экономические показатели технологий уборки навоза из помещений на предприятиях по производству молока (в ценах 1991 г.)
|
Размер предприятия, головы |
Суммарные комплексные затраты, руб/голову |
Эксплуатационные затраты, руб/голову |
Капитальные вложения, руб/голову |
Затраты труда, чел.·ч/голову |
Металлоемкость, кг/голову |
Расход |
||
|
всего |
в том числе в оборудование |
топлива, кг/голову |
электроэнергии, кВтч/голову |
|||||
|
Скреперные установки + комплект шнеков |
||||||||
|
400 |
42 |
31 |
75 |
41 |
7,5 |
47 |
0,7 |
13,4 |
|
200 |
50 |
37 |
84 |
48 |
9,8 |
51 |
0,7 |
13,3 |
|
100 |
62 |
47 |
103 |
89 |
7,9 |
52 |
0,8 |
19,9 |
|
50 |
64 |
44 |
131 |
108 |
6,4 |
65 |
0,9 |
19,8 |
|
25 |
104 |
83 |
143 |
118 |
28,7 |
80 |
0,9 |
24,3 |
|
Транспортеры типа ТСН-160А + тележка 2ПТС-4+трактор MT3 |
||||||||
|
400 |
75 |
68 |
48 |
41 |
29 |
29 |
6,7 |
22 |
|
200 |
75 |
67 |
52 |
41 |
29 |
33 |
4,8 |
21 |
|
Транспортеры типа ТСН-160+конвейер КСУ-Ф-1-5+УТН-20 |
||||||||
|
400 |
79 |
69 |
63 |
38 |
29 |
31 |
2,7 |
39 |
|
200 |
87 |
73 |
94 |
55 |
28 |
46 |
2,5 |
32 |
|
Гидравлические системы (самосплавные каналы +насосы) |
||||||||
|
400 |
121 |
66 |
362 |
6 |
19 |
258 |
0,7 |
12 |
|
200 |
127 |
69 |
387 |
11 |
18 |
262 |
0,7 |
12 |
|
100 |
134 |
73 |
410 |
27 |
19 |
251 |
0,8 |
12 |
|
50 |
162 |
86 |
506 |
46 |
19 |
283 |
0,9 |
12 |
|
25 |
189 |
99 |
600 |
61 |
19 |
357 |
0,9 |
15 |
Таблица 3.3
Технико-экономические показатели технологий уборки навоза из помещений на предприятиях по производству свинины (в ценах 1991 г)
|
Размер предприятия, тыс. голов |
Суммарные комплексные затраты, руб/голову |
Эксплуатационные затраты, руб/голову |
Капитальные вложения, руб/голову |
Затраты труда, чел.. ч/голову |
Металлоемкость, кг/голову |
Расход |
||
|
всего |
в том числе в оборудование |
топлива, кг/голову |
электроэнергии, кВт·ч./голову |
|||||
|
Транспортер типа ТСН.160А+комплект шнеков |
||||||||
|
0,5 |
40 |
28 |
79 |
43 |
7,0 |
65 |
0 |
17 |
|
1 |
34 |
25 |
61 |
39 |
5,7 |
46 |
0 |
13 |
|
3 |
30 |
22 |
54 |
33 |
4,9 |
43 |
0 |
17 |
|
6 |
30 |
22 |
56 |
31 |
4,6 |
45 |
0 |
13 |
|
12 |
32 |
20 |
80 |
20 |
5,0 |
64 |
0 |
23 |
|
Транспортер ТСН-160+скрепер УСП-12+тележка 2ПТС-4+МТЗ |
||||||||
|
1 |
42 |
31 |
73 |
44 |
7,2 |
63 |
1,4 |
13 |
|
3 |
37 |
27 |
64 |
43 |
5,0 |
50 |
2,5 |
15 |
|
6 |
35 |
25 |
67 |
42 |
5,0 |
56 |
1,0 |
15 |
|
12 |
34 |
21 |
85 |
27 |
4,2 |
70 |
0,8 |
10 |
|
Скреперные установки под щелевыми полами + насосы |
||||||||
|
1 |
63 |
32 |
212 |
24 |
5,2 |
113 |
0 |
12 |
|
3 |
40 |
23 |
109 |
33 |
4,1 |
57 |
0 |
11 |
|
4 |
37 |
22 |
98 |
28 |
4,3 |
80 |
0 |
10 |
|
12 |
32 |
19 |
90 |
19 |
3,6 |
69 |
0 |
13 |
|
Гидравлические систему + насосы |
||||||||
|
3 |
51 |
27 |
200 |
3,6 |
5,2 |
101 |
0 |
10 |
|
6 |
42 |
21 |
142 |
1.8 |
5,0 |
95 |
0 |
6 |
|
12 |
40 |
18 |
142 |
0,9 |
3,4 |
96 |
0 |
7 |
Таблица 3.4
Технико-экономические показатели технологий уборки навоза из помещений и производства органических удобрений на предприятиях по производству молока (в ценах 1991 г.)
|
Размер предприятия, головы |
Суммарные комплексные затраты, руб/голову |
Эксплуатационные затраты, руб/голову |
Капитальные вложения, руб/голову |
Затраты труда, чел.·ч/голову |
Металлоемкость, кг/голову |
Расход |
||
|
всего |
в том числе в оборудование |
топлива, кг/голову |
электроэнергии, кВт·ч/голову |
|||||
|
1 |
2 |
3 |
4 |
5 |
6 |
7 |
8 |
9 |
|
Уборка продольных каналов скреперными установками, производство соломонавозных компостов в процессе уборки навоза из помещений |
||||||||
|
400 |
158 |
117 |
278 |
151 |
28 |
174 |
9,4 |
50 |
|
200 |
183 |
136 |
309 |
178 |
36 |
187 |
12,9 |
49 |
|
100 |
331 |
249 |
549 |
474 |
42 |
278 |
14,6 |
106 |
|
50 |
360 |
248 |
745 |
613 |
36 |
371 |
16,2 |
112 |
|
25 |
566 |
449 |
778 |
643 |
156 |
436 |
15,9 |
132 |
|
Уборка навоза скребковыми транспортерами, выгрузка в тракторную тележку, производство соломонавозных компостных смесей в линзе |
||||||||
|
400 |
268 |
242 |
171 |
146 |
104 |
104 |
24 |
77 |
|
200 |
265 |
238 |
185 |
170 |
101 |
118 |
17 |
76 |
|
Уборка навоза скребковыми транспортерами, выгрузка в тракторную тележку, производство соломонавозных компостов с использованием козлового крана ККС-Ф-2 |
||||||||
|
400 |
287 |
252 |
230 |
138 |
106 |
112 |
9,1 |
441 |
|
200 |
337 |
286 |
341 |
199 |
114 |
166 |
9,1 |
116 |
Продолжение таблицы 3.4
|
1 |
2 |
3 |
4 |
5 |
6 |
7 |
8 |
9 |
|
Гидравлическая система (СПД) уборки навоза, щелевые полы, аэробная стабилизация |
||||||||
|
400 |
483 |
265 |
1452 |
24 |
75 |
1035 |
2,8 |
47 |
|
200 |
509 |
276 |
1555 |
45 |
73 |
1053 |
2,8 |
47 |
|
100 |
750 |
408 |
2302 |
153 |
104 |
1409 |
3.0 |
65 |
|
50 |
916 |
486 |
2867 |
258 |
105 |
1601 |
3,0 |
69 |
|
25 |
1028 |
539 |
3256 |
329 |
102 |
1937 |
3,5 |
84 |
|
Уборка навоза та же, механическое разделение на фракции центрифугой фильтрующего типа |
||||||||
|
400 |
488 |
268 |
1452 |
24 |
75 |
1048 |
2,8 |
47 |
|
200 |
510 |
277 |
1555 |
45 |
74 |
1053 |
2,8 |
47 |
|
Уборка навоза та же, анаэробное сбраживание |
||||||||
|
400 |
486 |
268 |
1452 |
24 |
76 |
1035 |
2,8 |
47 |
|
200 |
510 |
277 |
1553 |
45 |
74 |
1053 |
2,8 |
47 |
|
100 |
750 |
408 |
2279 |
130 |
104 |
1405 |
3,0 |
65 |
Таблица 3.5
Технико-экономические показатели технологий уборки навоза из помещений и производства органических удобрений на предприятиях по производству свинины (в ценах 1991 г.)
|
Размер предприятия, тыс голов |
Суммарные комплексные затраты на условную голову, руб. |
Эксплуатационные затраты на условную голову, руб. |
Капитальные вложения на условную голову, руб. |
Затраты труда, чел.·ч/голову |
Металлоемкость на условную голову, кг |
Расход на условную голову |
||
|
всего |
в том числе в оборудование |
топлива, кг |
Электро- |
|||||
|
- |
2 |
3 |
4 |
5 |
6 |
7 |
8 |
9 |
|
Уборка продольныx каналов скребковыми транспортерами, производство соломонавозных компостов в процессе уборки навоза из помещений |
||||||||
|
0,5 |
147 |
104 |
292 |
159 |
26 |
241 |
6,3 |
63 |
|
1,0 |
126 |
92 |
228 |
146 |
21 |
170 |
6,3 |
48 |
|
3,0 |
111 |
81 |
200 |
120 |
18 |
157 |
6,3 |
61 |
|
6,0 |
111 |
80 |
208 |
115 |
17 |
166 |
6,3 |
49 |
|
12,0 |
108 |
68 |
269 |
66 |
17 |
216 |
6.3 |
79 |
|
Уборка продольных каналов та же, далее в поперечный конвейер и выгрузка в тележку наклонным транспортером, приготовление компоста в линзе |
||||||||
|
1,0 |
169 |
125 |
293 |
177 |
29 |
251 |
5,8 |
50 |
|
3,0 |
149 |
110 |
258 |
172 |
20 |
203 |
9,9 |
60 |
|
6,0 |
140 |
100 |
267 |
167 |
20 |
222 |
4,0 |
59 |
|
12,0 |
137 |
86 |
340 |
107 |
17 |
281 |
3,1 |
41 |
|
Уборка навоза скребковыми транспортерами в навозоприемник, далее насосом по трубопроводу на приготовление компоста козловым краном типа ККС |
||||||||
|
1,0 |
232 |
117 |
770 |
86 |
19 |
412 |
0 |
42 |
|
3,0 |
145 |
87 |
388 |
119 |
16 |
199 |
0 |
42 |
|
6,0 |
148 |
90 |
392 |
113 |
18 |
319 |
0 |
40 |
Продолжение таблицы 3.5
|
1 |
2 |
3 |
4 |
5 |
6 |
7 |
8 |
9 |
|
12,0 |
115 |
67 |
321 |
66 |
13 |
245 |
0 |
45 |
|
Уборка продольных каналов скребковыми транспортерами, поперечных - скреперной установкой в навозоприемник и далее насосом по трубопроводу на разделение механической центрифугой фильтрующего типа |
||||||||
|
1,0 |
144 |
101 |
289 |
129 |
23 |
184 |
0 |
100 |
|
3,0 |
175 |
120 |
363 |
171 |
23 |
238 |
0 |
97 |
|
6,0 |
161 |
112 |
325 |
145 |
24 |
224 |
0 |
88 |
|
12,0 |
154 |
106 |
324 |
154 |
19 |
221 |
0 |
74 |
|
Уборка продольных каналов скребковыми транспортерами, поперечных - конвейерным транспортером в навозоприемник и далее насосом по трубопроводу на аэробную стабилизацию |
||||||||
|
0,5 |
248 |
172 |
509 |
227 |
40 |
318 |
0 |
70 |
|
1,0 |
212 |
149 |
418 |
179 |
37 |
257 |
0 |
70 |
|
3,0 |
146 |
101 |
303 |
146 |
20 |
193 |
0 |
75 |
|
6,0 |
151 |
105 |
311 |
136 |
23 |
223 |
0 |
63 |
|
12,0 |
135 |
93 |
279 |
131 |
17 |
190 |
0 |
82 |
|
Уборка и транспортировка те же, переработка - анаэробное сбраживание |
||||||||
|
3,0 |
135 |
104 |
342 |
140 |
20 |
193 |
0 |
91 |
|
6,0 |
128 |
89 |
277 |
128 |
21 |
194 |
0 |
83 |
|
12,0 |
125 |
85 |
271 |
131 |
13 |
186 |
0 |
76 |
Подготовку к использованию подстилочного навоза наиболее целесообразно осуществлять путем производства компостных смесей в процессе уборки его из помещений.
Принципиальная схема предлагаемой технологии представлена на рис. 3.1.

Рис. 3.1. Принципиальная схема технологии производства компостных смесей в процессе уборки навоза из ряда параллельно расположенных животноводческих помещений:
1 - транспортер шнековый подачи исходного навоза; 2 - транспортер-смеситель шнековый; 3 - питатель-дозатор влагопоглощаюших материалов; 4 - наклонный транспортер для выгрузки компостной смеси; 5 - транспорт доставки влагопоглощающих материалов; 6 - погрузчик грейферный; 7 - бульдозер-буртователь; 8 - животноводческие помещения
При этом дозированная подача влагопоглощающих материалов осуществляется в поперечный канал или в специальное смесительно-транспортирующее устройство. Рекомендуемая к применению технология позволяет получать высококачественную компостную смесь на выходе из животноводческого помещения, при этом не менее чем в 2 раза сокращается количество выполняемых операций, энергоемкость процесса и себестоимость производства сокращаются в 1,5...2 раза, отпадает необходимость в строительстве дорогостоящих навозохранилищ, затраты при этом сокращаются в 2...2,5 раза; обеспечивается круглогодичное ритмичное производство органических удобрений, более чем в 2 раза снижаются потери питательных веществ, создаются условия для экологически безопасного производства органических удобрений, на 20...25% увеличивается количество и улучшается качество производимых удобрений.
Подготовку к использованию бесподстилочного навоза рекомендуется осуществлять по четырем различным технологиям.
На животноводческих предприятиях при бесподстилочном содержании животных с механическими системами уборки ": навоза (предприятия по производству молока, говядины и выращиванию нетелей при привязном и беспривязном содержании животных, свинины мощностью до 24 тыс. голов в год) при дефиците влагопоглощающих материалов подготовку навоза (влажностью 92.,.95%) к использованию целесообразно осуществлять путем биотермической стабилизации. Принципиальная схема предлагаемой технологии, разработанной на основе исследований ВНИИМ, СЭ НИИМЭСХ и других НИИ, представлена на рис. 3.2. При этом исходный навоз последовательно проходит через измельчитель органических включений, аппарат вихревого слоя, затем подается в камеру стабилизации, где регулируемо насыщается кислородом воздуха. Интенсивность подачи воздуха должна быть в пределах 0,4...0,5 л/мин кг.с.в., влажность навоза 90...95%, доза суточной загрузки 10...20%. Ограждающие поверхности танка для биотермической стабилизации навоза должны иметь теплоизоляцию, обеспечивающую потери теплоты в окружающую среду не более 10% от теплоты разложения беззольного вещества.

Рис. 3.2. Принципиальная схема технологии биотермической стабилизации бесподстилочного навоза:
1 - приемный резервуар исходного навоза; 2 - насосы для перемешивания и подачи навоза на обработку; 3 - измельчитель органических включений, содержащихся в навозе; 4 - аппарат вихревого слоя; 5 - камера биотермической стабилизации; 6 - эжектор; 7 - охладитель; 8 - биофильтр; 9 - насос для циркуляции и аэрирования перерабатываемого навоза
В природно-климатических зонах России с минимальной температурой не ниже минус 15°С, где одновременно с производством из навоза высококачественных органических удобрений возникает необходимость производства из него биогаза, необходимо применять технологию анаэробного сбраживания, разработанную учеными и специалистами ВИЭСХ, ВНИИМЖ, ВНИИКОМЖ и других НИИ. Принципиальная схема предлагаемой технологии представлена на рис. 3.3. По предлагаемой технологии исходный навоз предварительно нагревается до температуры выбранного режима переработки и подается в камеру сбраживания. Под воздействием анаэробных микроорганизмов в камере сбраживания протекает процесс разложения беззольного вещества с выделением биологического газа, содержащего до 65...70% метана. Выделившийся биологический газ собирается в газгольдер и затем используется для поддержания температуры сбраживания и на другие технологические нужды животноводческого предприятия. Оптимальная влажность исходного навоза для сбраживания 90...92%, доза суточной загрузки 12... 15%, кислотность навоза должна быть нейтральной. При этих режимах за время сбраживания достигается 30... 35%-ная степень распада беззольного вещества. Удобрительные свойства сброженного навоза по сравнению с исходным за счет увеличения доли азота в аммиачной форме, улучшения соотношения С:N и других факторов повышаются. Прибавка урожая сельскохозяйственных культур достигает 17...25%. На осуществление процесса расходуется до 50% получаемого биогаза. По сравнению с известными предлагаемая технология позволяет в 1,7...2 раза сократить капитальные и эксплуатационные затраты, энергоемкость процесса - на 25...40%, трудозатраты в 1,5...1,7 раза.

Рис. 3.3. Принципиальная схема переработки навоза в анаэробных условиях с предварительным контактным нагревом:
1 - навозосборник; 2 - насос; 3 - контактный нагреватель; 4 - промежуточная емкость; 5 - устройство для автоматического контроля уровня навоза в камере сбраживания; 6 - газгольдер; 7 - камера сбраживания; 8 - перемешивающее устройство; 9 - устройство для поддержания температуры в теплоизоляционной прослойке; 10 - хранилище сброженного навоза; 11 - транспорт
При гидравлических системах уборки навоза подготовку его к использованию рекомендуется осуществлять путем механического разделения на фракции. Принципиальная схема технологии представлена на рис. 3.4. Эта технология особенно эффективна в регионах и хозяйствах, применяющих жидкую фракцию в системах орошения.
Для механического разделения на фракции жидкого навоза и стоков наряду с серийно выпускаемыми техническими средствами (СД-Ф-50, ГБН-Ф-100, ПЖН-Ф-68А и другими) рекомендуется использовать центрифуги фильтрующего типа ЦН-Ф-50, производительность по исходному навозу - до 1р0 м3/ч, влажность твердой фракции -11...82%, эффективность разделения навоза на фракции по сухому веществу - не менее 50%, установленная мощность электропривода 24 кВт.

Рис. 3.4. Принципиальная схема технологии подготовки к использованию бесподстилочного навоза на основе механического разделения его на фракции:
1 - трубопровод подачи исходного навоза; 2 - приемный резервуар исходного навоза; 3 - насосы для перемешивания и подачи навоза в цех разделения; 4 - цех разделения навоза на фракции; 5 – центрифуги для разделения навоза на фракции; 6 - самотечный коллектор для жидкой фракции навоза; 7 - распределительная камера; 8 - карантинные емкости для жидкой фракции; 9 - насос для перекачки жидкой фракции; 10 - аппарат вихревого слоя для гомогенизации и обеззараживания жидкой фракции; 11, 12 - накопители жидкой фракции; 13 - карантинные емкости для твердой фракции навоза; 14 - транспортер для выгрузки твердой фракции навоза из цеха разделения
После разделения исходного навоза на фракции твердая фракция подвергается биотермическому созреванию, а жидкая - проходит карантирование и, в случае отсутствия эпизоотии, может быть использована в системах орошения.
В регионах с высоким уровнем стояния грунтовых вод, не допускающих использование жидкой фракции в системах орошения, рекомендуется к применению технология биологической очистки (рис. 3.5). Эта технология применима только на свиноводческих предприятиях.

Рис. 3.5. Принципиальная схема технологии биологической очистки жидкого навоза и стоков:
1 - навозные стоки; 2 - осветленные стоки; 3 - активный ил; 4 - избыточный ил; 5 - осадок; 6 - очищенные стоки; 7 - воздух; 8 - хлорная вода; 9 - очищенная жидкая фракция на рециркуляцию или в систему орошения: □- резервуар; ← - насосная установка; - отстойники вертикальные; х - центрифуга
Для повышения эффективности работы аэротенков и в целом биологической очистки ВНИИМЖем предложена усовершенствованная технология глубокого выделения взвешенных веществ из жидкой фракции навоза, основанная на использовании отходов цементного производства и активизации биологических процессов за счет воздействия магнитных полей, рис. 3.6.
Жидкая фракция, прошедшая биологическую очистку, может быть использована при рециркуляции для заполнения навозных каналов или, при необходимости, сбрасывается в открытые водоемы. При этом система, кроме аэротенков, первичных и вторичных отстойников, как правило, предусматривает каскад рыбоводно-биологических прудов.
Предлагаемые технологии и технические средства для подготовки к использованию жидкого навоза и стоков по сравнению с известными позволяют в 1,3...1,7 раза сократить капитальные и эксплуатационные затраты, увеличить количество выделяемых сухих веществ на 25...40%, снизить энергоемкость процесса на 30...58%, затраты труда – до 40%. В очищенной жидкой фракции ХПК составляет не более 360 мг/л.

Рис. 3.6. Принципиальная схема усовершенствованной технологии подготовки навоза к биологической очистке:
1 - приемный резервуар исходного навоза; 2 – насосы для перемешивания и подачи навоза в цех разделения; 3 – центрифуги для разделения навоза на фракции; 4 - приемный резервуар жидкой фракции; 5 - насосы для подачи жидкой фракции в вертикальный отстойник; 6 - бак-дозатор; 7 - отстойник вертикальный; 8 - аппарат вихревого слоя; 9 - транспортер для выгрузки твердой фракции
Реализация предложенных выше технологий возможна уже в настоящее время, они не требуют значительных затрат на их создание. Институт располагает всей необходимой научно-технической документацией для создания экологически безопасной системы утилизации навоза применительно к любому животноводческому предприятию.
Внедрение в производство рекомендуемых технических средств, технологий, разработанных на их основе типовых, экспериментальных и индивидуальных проектов обеспечивает повышение количества и качества производимых органических удобрений на 20...25%, урожайности сельскохозяйственных культур до 40%, снижение удельных затрат средств, на строительство в 1,5...2,5 раза, удельной энергоемкости процессов на 30...58%, затрат труда на 36...42%; экологически безопасное производство высококачественных органических удобрений.
Исследованиями и практикой ведения отраслей животноводства доказано влияние среды обитания животных на их продуктивность, воспроизводительные функции и эффективность использования кормов.
Поддержание оптимального микроклимата в животноводческих помещениях требует значительных дополнительных вложений, на долю которого приходится до 60 % всех энергетических затрат. Однако следует отметить, что если не создать для животных благоприятной среды обитания, то это приводит к увеличению отхода поголовья в среднем на 1... 10%, а в некоторых случаях и до 30...40%, к снижению продуктивности до 15%.
В связи с этим актуальное значение приобретают вопросы, связанные с обеспечением нормированных параметров микроклимата в животноводческих помещениях.
Микроклимат в помещениях крупного рогатого скота. В помещениях для содержания крупного рогатого скота в зависимости от климатической зоны, типа, вместимости здания и возраста животных применяют системы вентиляции с естественным и механическим побуждением подачи воздуха без подогрева и с подогревом его в холодный период года.
Рекомендуемые параметры воздушной среды помещений для крупного рогатого скота представлены в табл. 4.1
В районах с мягким климатом, где расчетная наружная температура в холодный период года выше минус 15°С, целесообразно применять, в основном, приточно-вытяжные системы вентиляции с естественным побуждением без подогрева воздуха.
Необходимым условием эффективной работы систем вентиляции с естественным побуждением является выбор оптимального соотношения площадей поперечного сечения приточных и вытяжных каналов. Для расчета систем вентиляции рекомендуется ориентировочная площадь поперечного сечения вытяжных каналов в пределах 500...700 см2 на одну голову. Общая площадь поперечного сечения приточных каналов должна составлять около 85% от площадей вытяжных каналов.
Таблица 4.1
Рекомендуемые параметры микроклимата в помещениях для содержания крупного рогатого скота
|
Показатели |
Коровники |
Родильное отделение |
Профилакторий |
Телятники |
Помещение для откорма |
|
Температура воздуха, °С |
10 |
18 |
20 |
16 |
12 |
|
Относительная влажность, % |
80 |
70 |
70 |
75 |
75-80 |
|
Воздухообмен, м3/ч: |
|
|
|
|
|
|
зимой |
90 |
90 |
20 |
20 |
60 |
|
в переходный период |
200 |
200 |
30-40 |
30-40 |
120 |
|
Движение воздуха, м/с |
0,5 |
0,3 |
0,3 |
0,5 |
0,5 |
|
Концентрация: |
|
|
|
|
|
|
С02, % |
0,25 |
0,25 |
0,15 |
0,25 |
0,25 |
|
NH3, мг/л |
0,02 |
0,02 |
0,01 |
0,02 |
0,02 |
|
H2S, мг/л |
0,01 |
0,01 |
0,05 |
0,01 |
0,01 |
В районах с расчетной температурой ниже 15°С рекомендуется применять в основном системы вентиляции с механическим побуждением, совмещенные с воздушным отоплением, в которых в холодный период года осуществляется подача подогретого воздуха в верхнюю зону помещения посредством воздуховодов.
Для обеспечения активного вентилирования производственных помещений целесообразно использовать однофункциональные (осевые вентиляторы типов ВО, ВР, ВЦ) и многофункциональные (тепловентиляторы типа ТВ) установки. Основное вентиляционное оборудование, рекомендуемое для помещений крупного рогатого скота, представлено в табл. 4.2
Тепловентиляционное оборудование для помещений основного производственного назначения выбирают на основании расчета тепловоздушных балансов, выполненного с учетом нормативных параметров внутреннего воздуха, тепловлагогазовыделений животных, расчетных температур наружного воздуха и теплотехнической характеристики зданий.
Таблица 4.2
Вентиляционное оборудование для помещений крупного рогатого скота
|
Вентиляционное оборудование |
Воздухообмен, тыс. м3/ч |
Мощность, кВт |
Масса, кг |
|
"Климат-45 М" |
95 |
6 |
600 |
|
"Климат-47 М" |
140 |
10 |
710 |
|
Агровент |
2,5..3 |
2,8 |
350 |
|
Агроклимат |
1,5 |
17 |
190 |
|
Тепловентиляторы: |
|
|
|
|
УВЭ-15 |
1.1,5 |
15 |
100 |
|
УВЭ-30 |
1,5...2,5 |
30 |
145 |
|
УВЭ-45 |
2. .3,5 |
45 |
190 |
|
ЭКЛ-1 |
20 |
28 |
300 |
Телят в молочный период выращивания желательно подвергать дозированному ультрафиолетовому и инфракрасному облучению. Примерные дозы ультрафиолетового облучения: для взрослого скота - 270...290, для телят в возрасте до 6 месяцев - 120... 140, для молодняка 160... 180 МЭР/ч/м2. Интенсивность инфракрасного облучения 0,3...0,5 кал/м2. Облучатели устанавливают на высоте 1,5 м от спины животного. После каждого часа облучения делают перерыв на 20. ..30 мин.
В помещениях для содержания крупного рогатого скота необходимо использовать естественное и искусственное освещение.
Естественная освещенность осуществляется через окна. Достаточная освещенность создается при световых коэффициентах (отношение площади окон к полу) 1:10... 1:15. По существующим зоогигиеническим нормативам угол падения света должен быть не менее 27°.
Предлагаемые нормы освещенности помещений крупного рогатого скота представлены в табл. 4.3.
При недостаточном естественном освещении в зоне размещения животных следует предусматривать увеличение искусственной освещенности.
Таблица 4.3
Нормы освещенности
|
Помещение, участок |
Освещенность при лампах, лк |
|
|
газоразрядных |
накаливания |
|
|
Коровники: |
|
|
|
зона кормления |
75 |
30 |
|
стойла, секции, боксы |
50 |
20 |
|
Родильное отделение |
150 |
100 |
|
Профилакторий |
100 |
50 |
|
Телятники |
100 |
50 |
Во время доения освещенность на уровне вымени коровы должна быть не менее 150 лк. Дежурное освещение должно быть 10% (в родильном отделении - 15%) от нормативной потребности.
Освещенность проездов на территории сельскохозяйственных предприятий - 0,5 лк. Для подсчета годовой потребности в электроэнергии годовое число часов использования установленной мощности рекомендуется принимать для животноводческих зданий - 700 ч, складских помещений - 600 и прочих-800 ч.
Микроклимат свиноводческих помещений. Нормы внутреннего температурно-влажностного режима для холодного и переходного периодов года и скорости движения воздуха в помещениях для содержания свиней приведены в табл. 4.4.
Таблица 4.4
Рекомендуемые оптимальные параметры микроклимата свиноводческих помещений
|
Тип помещения |
Температура воздуха, °С |
Влажность воздуха, % |
Скорость движения воздуха, м/с |
Допустимое содержание |
|
|
аммиака, мг/м3 |
углекислоты, % |
||||
|
1 |
2 |
3 |
4 |
5 |
6 |
|
Свинарники для холостых и легкосупоросных маток |
16 |
75 |
0,3...1,0 |
20 |
0,2 |
|
Свинарники для глубокосупоросных маток |
20 |
70 |
0,2...1,0 |
20 |
0,2 |
Продолжение таблицы 4.4.
|
1 |
2 |
3 |
4 |
5 |
6 |
|
Свинарники для подсосных маток с поросятами |
20 |
70 |
0,15..0,4 |
15 |
0,2 |
|
Свинарники для поросят-отъемышей |
20 |
70 |
0,2..0,6 |
15 |
0,2 |
|
Свинарники для ремонтного молодняка |
18 |
70 |
0,3...1,0 |
20 |
0,2 |
|
Свинарники для откорма: |
|
|
|
|
|
|
до 5-месячного возраста |
18 |
75 |
0,2...1,0 |
20 |
0,2 |
|
свыше 5-месячного возраста |
16 |
75 |
0,2...1,0 |
20 |
0,2 |
Для поросят-сосунов необходимо применять локальный обогрев, создавая в зоне нахождения поросят температуру воздуха в первую неделю их жизни 30°С. Минимальная влажность воздуха в любых свинарниках рекомендуется не ниже 50%, а допустимая концентрация пыли не должна превышать 6 мг/м3. Уровень шума по санитарным нормам ограничивают в 70 дб.
Освещенность помещений для содержания животных должна быть не ниже 30 лк.
Естественная освещенность производственных зданий обеспечивается следующим отношением площади окон к площади пола:
|
Свинарники для свиноматок и поросят-отъемышей |
1:10...1:12 |
|
Свинарники для ремонтного молодняка |
1:12...1:15 |
|
Свинарники-откормочники |
1:15...1:20 |
Минимальное значение коэффициента естественной освещенности (КЕО в %) на площади размещения животных в пределах станков приведено в табл. 4.5.
Таблица 4.5
Минимальное значение коэффициента естественной освещенности
|
Помещение |
Значение КЕО,% |
Поверхность, для которой нормируется KEO |
|
Для хряков-производителей, холостых, супоросных и подсосных маток, поросят-отъемышей и ремонтного молодняка свиней |
0,5 |
Пол |
|
Для содержания откормочного поголовья свиней |
0,35 |
Пол |
Величина коэффициента естественной освещенности в зоне размещения животных зависит от высоты светового проема и удаления зоны от проема.
Объемно-планировочные решения свинарников должны соответствовать нормам, представленным в табл. 4.6.
Таблица 4.6
Расстояние от наружной стены до границы зоны с недостаточным по норме естественным светом при боковом одностороннем освещении, м
|
Высота светового проема, м |
Коэффициент естественной освещенности |
||
|
0,4 |
0,5 |
0,6 |
|
|
0,6 |
5,5 |
5,0 |
4,0 |
|
0,9 |
8,5 |
7,0 |
5,0 |
|
1,2 |
9,0 |
8,0 |
6,0 |
|
1,5 |
11,5 |
10,5 |
8,5 |
|
2,4 |
14,0 |
12,0 |
10,0 |
Ограждающие конструкции свиноводческих зданий играют основную роль в формировании температурных и других условий микроклимата. Важнейшим теплотехническим свойством ограждающих конструкций является степень сопротивления тепловому потоку, находящаяся в прямой зависимости от толщины ограждения и в обратной - от коэффициента теплопроводности материала, из которого оно изготовлено.
Для вентиляции свиноводческих зданий рекомендуются системы естественного или принудительного действия, а также смешанные системы, если они способны обеспечивать создание требуемого тепловлажностного режима.
Кратность воздухообмена необходимо определять на зимний, переходный и летний периоды. Причем количество вентиляционного воздуха рассчитывается отдельно по углекислому газу, содержанию влаги и избыточному теплу. Мощность вентиляционных установок целесообразно подбирать по максимальному показателю воздухообмена в переходный период. При этом воздухообмен на 1 ц живой массы свиней должен составлять не менее 60 м3/ч в летний период, 45 м3/ч - в переходный и 30 м3/ч - в холодный период года, у-
Для принудительной вентиляции помещений необходимо применять вентиляторы центробежного типа на притоке и осевые - на вытяжке. Подогрев приточного воздуха в зимнее время осуществляется водяными, паровыми или электрическими калориферами. При реконструкции систем микроклимата можно использовать как комплекты вентиляционного оборудования, так и отдельные технические средства.
К последним относятся вентиляторы, калориферы, бетонные отопительные панели (типа ПЭБ-0,75/110 и др.) На свиноводческих фермах широко применяют тепловентиляторы, режимы работы которых следует рассчитывать для зимнего периода с минимальной и для летнего (без калорифера) с максимальной частотой вращения. Основные технические данные тепловентиляторов приведены в табл. 4.7.
Таблица 4.7
Техническая характеристика тепловентиляторов
|
Параметры |
ТВ-6 |
ТВ-9 |
ТВ-12 |
ТВ-18 |
ТВ-24 |
|
Подача воздуха,м3/ч |
3000-6000 |
4500-9000 |
6000-12000 |
9000-18000 |
12000-24000 |
|
Тепловая мощность, кДж/ч/ккал/ч |
250000 60000 |
335000 80000 |
460000 110000 |
670000 160000 |
750000 180000 |
|
Установленная мощность, кВт |
0,55/2,2 |
2,3/3,7 |
3,2/2,5 |
4,2/7,1 |
6,0/9,0 |
|
Частота вращения крыльчатки вентилятора, мин-1 |
720 1440 |
560 1120 |
560 1120 |
460 920 |
325 650 |
|
Масса, кг |
230 |
280 |
320 |
410 |
650 |
Для реконструируемых свиноводческих зданий следует широко использовать электрокалориферы серии СФО, включающие шесть типоразмеров. Они компактны, удобны а монтаже и обслуживании, поставляются комплектно с аппаратурой управления и регулирования.
В свинарниках можно использовать и комплекты вентиляционного оборудования "Климат-45М", "Климат-47М" и ПВУ (их технические характеристики представлены в табл. 4.2).
Комплекты типа ПВУ-М (включают шесть установок) предназначены для отопления и вентиляции свинарников-откормочников. Их целесообразно применять также в системах вентиляции и других свиноводческих зданиях, обеспечивая в них требуемый микроклимат. В одной установке ПВУ-М имеются приточные и вытяжные вентиляторы, а также электронагревательные элементы для подогрева холодного воздуха. Техническая характеристика оборудования комплектов ПВУ представлена в табл. 4.8.
Установки типа ПВУ могут работать в режиме рециркуляции. Если электронагреватель не успевает прогревать поступающий холодный воздух, его поступление автоматически ограничивают и к нему подмешивают часть выбрасываемого теплого воздуха. При остановленном вентиляторе установка может работать в режиме вытяжной шахты с естественным побуждением.
Таблица 4.8
Техническая характеристика комплектов ПВУ-М
|
Показатели |
ПВУ-4М |
ПВУ-6М |
|
Число установок в комплекте |
6 |
6 |
|
Производительность, м3/ч: |
|
|
|
на притоке |
33000 |
45000 |
|
на вытяжке |
27000 |
39000 |
|
Установленная мощность, кВт |
97,7 |
105 |
|
Тепловая мощность, кВт |
15 |
15 |
|
Масса, кг |
225 |
330 |
Приточно-вытяжные установки типа ПВУ по сравнению с другими системами значительно экономичней по капитальным затратам. При использовании их не требуется строить специальные приточные венткамеры, прокладывать поперек и вдоль здания воздуховоды для равномерной подачи приточного воздуха.
Комбикорма - основа рациона животных и птицы. От качества и себестоимости комбикормов зависит рентабельность отрасли. В связи с резким повышением цен на сырье, энергоносители и транспортные перевозки цены на комбикорма достигли 2000...3000 руб. за тонну, а объем их производства сократился в 4 раза. Прямые затраты в себестоимости заводских комбикормов выросли с 8... 10 до 35...40%, а на энергетику - с 0,3 до 6%. Резко ухудшилось качество комбикормов. В связи с этим производство комбикормов организовывают на комплексах, птицефабриках и фермах. Это позволяет сократить издержки на закупку сырья, его транспортировку, более рационально использовать зернофураж, дорогостоящие БВД и непрерывно снабжать фермы свежими комбикормами. Комбикорма, приготовленные непосредственно в хозяйстве, в 1,5...2 раза дешевле заводских. Поэтому их производство на фермах и межхозяйственных комбикормовых предприятиях стало условием повышения рентабельности ведения отраслей животноводства, особенно свиноводства.
Одной из причин неэффективного развития комбикормового производства является высокий удельный вес зерна в готовых комбикормах. В России он составляет в среднем 83,3%, в США - 50, в Великобритании - 33,3, в Нидерландах - 17, в Бельгии -15%. При этом уровень белкового сырья в комбикормах РФ - 11%, в комбикормах США - 15, в Германии - 17%. Это также предопределяет уровень продуктивности животных.
В настоящее время наблюдаются полная обособленность комбикормовых предприятий от потребителей, резкое сокращение производства гранулированных комбикормов, диктат цен, хронические многомиллионные неплатежи, снижение запасов сырья на комбикормовых заводах, составляющие менее 10% от нормативов, баснословные затраты на перевозки. Все это привело к резкому сокращению производства комбикормов.
В хозяйствах РФ на корм животным ежегодно расходуется более 40 млн т фуражного зерна. Из этого количества четвертая часть используется в составе полноценных комбикормов или кормосмесей, а остальное зерно скармливается только в измельченном виде, что ведет к его перерасходу.
Отечественная и мировая практика показала, что комбикорма должны производиться по двум направлениям: сложные комбикорма и БВД - на комбикормовых заводах, а более простые, на базе промышленных БВД - в хозяйствах. Необходимо уже в ближайшие 10... 15 лет довести производство комбикормов в хозяйствах до 50 млн т, при этом снизить энергоемкость производства на 30...40%, а издержки - на 20...25%. Однако основным сдерживающим фактором производства комбикормов на местах является недостаток техники.
Для удовлетворения потребности в комбикормах требуется произвести до 10 тыс. комбикормовых установок различной производительности.
Исходя из сложившейся ситуации, ВНИИМЖем разработаны математические методы, программы для ПЭВМ, проведен расчет и рекомендован оптимальный типоразмер комбикормовых цехов и агрегатов, обоснована структура перспективной системы машин, которая представлена на рис. 5.1.
Для производства рассыпных, гранулированных и лечебных комбикормов рекомендуется использовать оборудование следующих типоразмеров: 0,5; 1,0; 2,0; 4,0 и 8,0 т/ч (табл. 5.1).
Комбикормовые цехи производительностью 4,0 т/ч целесообразно использовать на свинокомплексах мощностью 12 тыс. голов в год, а производительностью 8,0 т/ч - на свинокомплексах мощностью 24 тыс. голов в год и на межхозяйственных комбикормовых предприятиях.
Белковые добавки, в том числе лечебные корма и премиксы, необходимо вводить в комбикорма - до 25% по весу в виде смесей БВД.

Рис. 5.1. Структура системы машин по производству комбикормов
Таблица 5.1
Рекомендуемый типоразмер комбикормовых установок
|
Установки |
Производительность, т/ч |
Потребность в комбикормах в сутки, т |
Рекомендуется для хозяйств с поголовьем |
|
|
свиней |
КРС |
|||
|
Размольно-смесительная установка |
0,5 |
1,0...4,0 |
До 2000 |
До 400 |
|
Комбикормовый агрегат |
1,0 |
4,0...8,0 |
До 4000 |
1000 |
|
Комбикормовый агрегат |
2,0 |
15...30 |
До 6000 |
2000 |
|
Размольно-смесительная установка |
4,0 |
30...50 |
До 12000 |
- |
|
Комбикормовый цех |
4,0 |
30...50 |
До12000 |
- |
|
Межхозяйственные комбикормовые предприятия |
8,0 |
60...120 |
До 24000 |
Межхозяйственные |
Для производства БВД рекомендуется использовать оборудование производительностью 0,5; 1,0; 2,0 и 4,0 т/ч. Они могут применяться самостоятельно или в составе комбикормовых цехов соответственно:
0,5 - в комбикормовом агрегате (производительность 2 т/ч);
1,0 - в комбикормовой установке (производительность 4 т/ч);
2,0 - на комбикормовом предприятии (производительность 8 т/ч);
4,0 - на межхозяйственном комбикормовом предприятии, где половина производимых БВД потребляется самим предприятием, а остальные добавки доставляются в комбикормовые цехи производительностью 0,5 и 1 т/ч.
Одна из установок показана на рис. 5.2.

Рис. 5.2. Схема комбикормовой установки производительностью
1...2т/ч типа ЛПК-Ф-2: 1 - передвижной транспортер ПШП-2; 2 - молотковая дробилка; 3 - мельница МРП-1; 4 - смеситель малых доз (СМД); 5 - весы; 6 - смеситель; 7 - система пневмотранспортирования
Комбикормовую установку производительностью 1...2 т/ч (с частичным использованием ручного труда) можно размещать и на складах для хранения фуражного зерна. Зерно из отсеков или ворохов передвижным транспортером (1) подается в дробилку (2), а продукты помола БВД и другие добавки системой транспортирования (7) - в смеситель (6).
Определяющий в линии - смеситель. Он вмещает 1,5 т комбикормов и установлен на тензоизмерительных датчиках. Точность взвешивания ±0,5%. По заданному рецепту последовательно измельчаются и загружаются в смеситель все компоненты, а затем в течение 5...7 мин смешиваются. Готовые комбикорма передвижным транспортером выгружаются в транспортные средства.
Для комбикормовых установок разработан и рекомендуется к использованию смеситель малых доз СМД (рис. 5.3), на котором готовят однородные сухие смеси различных компонентов комбикормов: витаминов, премиксов, солей микроэлементов и других активных веществ на малых фермах и в арендных сельскохозяйственных коллективах.

Рис. 5.3. Смеситель малых доз (СМД):
1 - корпус; 2 - рукоятка; 3 - патрубок выгрузной; 4 - лопасть; 5 - вал; 6 - электродвигатель; 7 - крышка
Он состоит из цилиндрического корпуса, в котором вращается вал с закрепленными на нем ярусно двумя лопастями. Корпус у основания конусный, сверху он плотно закрыт крышкой, при загрузке она легко открывается. Реле времени (диапазон 1...6 мин) устанавливает время смешивания и включает электродвигатель. Выгружается смесь по направляющему патрубку через боковое выгрузное отверстие. Управляют заслонкой выгрузного отверстия рукояткой. Привод вала от электродвигателя через клиноременную передачу.
Чтобы получить БВД в больших объемах, смеситель малых доз используется для приготовления первично премикса. Соотношение ключевого компонента при этом изменяется в пределах от 1:1 до 1:15.
Первичный премикс засыпается в смеситель больших доз, в него же добавляется наполнитель (35...40 кг). Общая масса дозы не должна превышать 50 кг.
Предлагаемые технология и оборудование позволяют обеспечить соотношение ключевого компонента и наполнителя от 1:15 до 1:100 и достичь высокой однородности смеси (95...98%).
Техническая характеристика смесителей
|
|
СМД |
СБД |
|
Производительность, кг/ч |
200 |
60 |
|
Установленная мощность, кВт |
1.1 |
5.3* |
|
Максимальная масса разовой загрузки, кг |
15 |
50 |
|
Продолжительность цикла смешивания, мин |
3...4 |
4.5 |
|
Однородность получаемой смеси, % |
95 |
95 |
|
Габаритные размеры, мм |
700×320×500 |
1020×670×1100 |
|
Масса, кг |
40 |
125 |
По конструктивному исполнению и принципу работы смеситель больших доз СБД аналогичен смесителю малых, отличается только производительностью и габаритными размерами.
В последние годы в хозяйстве построены комбикормовые цехи производительностью 2...3 т/ч (ТП 814-21.87) на базе малогабаритной комбикормовой установки УМК-Ф-2.
В 1998 г. такой цех с определенной модернизацией построен и успешно эксплуатируется в ЗАО "Кленово-Чегодаево" Подольского района Московской области.
Схема технологического процесса установки показана на рис. 5.4.
Цех вырабатывает комбикорма из местного сырья (зерновые культуры, травяная мука и др.).
Технологический процесс приготовления рассыпного комбикорма включает следующие операции: прием, накапливание и очистку сырья; дозирование, дробление и смешивание компонентов; выдачу готовой продукции.
Сырье и БВД подвозят к цеху самосвальным автотранспортом и разгружают в завальную яму. Норией 1-10 компоненты направляют на сепаратор для очистки от посторонних примесей и дальше на магнитную колонку БКМА-2-300А для очистки от металлопримесей. Очищенное сырье винтовым конвейером распределяют по пяти секциям наддозаторного бункера. Белково-витаминные добавки направляют в специальный бункер для БВД, откуда по мере необходимости перегружают в соответствующую секцию наддозаторного бункера. При доставке в загрузчике сухих кормов ЗСК-10 белково-витаминные добавки, минуя завальную яму, разгружают непосредственно в бункер БВД. Предусмотренные под секциями бункера объемные дозаторы шнекового типа подают компоненты в дробилку-смеситель установки УМК-Ф-2. Компоненты, не требующие дробления, поступают на смешивание, минуя дробильную камеру. Готовый комбикорм накапливают в бункере готовой продукции, а затем отгружают в автотранспорт. Уровень механизации и автоматизации производства 95%.

Рис. 5.4. Схема технологического процесса комбикормового цеха ЗАО "Кленово-Чегодаево":
1 - автосамосвал; 2 - нория 1-10; 3 - сепаратор; 4 – колонка магнитная; 5 - конвейер винтовой; 6 - задвижка реечная; 7 - наддозаторные бункеры; 8 - установка комбикормовая; 9 - батарея циклонов; 10 - вентилятор ВЦП; 11 - бункер БВД; 12- бункер-накопитель комбикормов
В проекте предусмотрена система аспирации, обеспечивающая обеспыливание технологического оборудования. Производственное помещение неотапливаемое.
Управление работой технологического оборудования осуществляет оператор с пульта, установленного в отдельном отапливаемом помещении.
Комбикорма, приготавливаемые в собственном комбикормовом цехе хозяйства, оказались в 1,7 раза дешевле заводских. Кроме УМК-Ф-2, для производства комбикормов рекомендуются также агрегат комбикормовый КА-4 и комбикормовый цех АКА-3.222 (рис. 5.5).

Рис. 5.5. Комбикормовый цех на базе автоматизированного оборудования АКА-3.222 П/Ф "Ленинградская":
1 - емкость с насосами для жидких компонентов; 2 – горизонтальный смеситель; 3 - бункер готовой продукции (рецепт № 1); 4 – бункер готовой продукции (сухой); 5 - бункер готовой продукции (рецепт № 2); 6 - комбикормовый агрегат; 7 - шнековый транспортер
Техническая характеристика рекомендованных комбикормовых агрегатов представлена в табл. 5.4.
Таблица 5.4
Техническая характеристика комбикормовых агрегатов для использования на фермах
|
Агрегат |
Производителность, т/ч |
Установленная мощность, кВт |
Удельный расход электроэнергии, кВт- ч/т |
Масса, кг |
Заводизготовитель |
|
Размольносмесительный блок РСБ-4 |
4.5 |
55 |
11,0 |
4300 |
ЭПП ВНИИМЖ (г. Подольск) |
|
Линия приготовления комбикормов ЛПК-Ф-2 |
2,0 |
32 |
15,0 |
3300 |
То же |
|
Установка малогабаритная УМК-Ф-2 |
2,5 |
23 |
9.2 |
5800 |
Уманьферммаш (г. Умань) |
|
Агрегат комбикормовый КА-4 |
4.5 |
38 |
8,0 |
4500 |
Сибсельмаш (г. Новосибирск) |
|
Комбикормовый агрегат малогабаритный МКА-1 |
1,0 |
13 |
13,0 |
510 |
Псковмаш (г. Псков) |
|
Комбикормовый цехАКА-3.222 |
3,0 |
45,1 |
5,4 |
2300 |
АО "ВОЭЗ" (г. Волгодонск) |
Для обеспечения работоспособного состояния технологического оборудования на реконструируемых фермах и объектах необходимы проведение комплекса работ по техническому обслуживанию (ТО) и ремонту техники, обеспечение материально-технической базы в соответствии с современным уровнем организации и технологии. На данном этапе развития сельского хозяйства ремонтно-обслуживающая база для животноводства включает в себя посты и пункты технического обслуживания оборудования ферм (ПТО), центральный пункт технического обслуживания (ЦПТО), центральную ремонтную мастерскую (ЦРМ), станцию технического обслуживания (СТОЖ), подразделения машинно-технологических станций (МТС) по животноводству и другие специализированные цехи и ремонтные предприятия, имеющие передвижные средства технического обслуживания, ремонта и диагностики.

Рис. 6.1. Общая схема организации ТО и ремонта
Организация производственных связей для технического обслуживания животноводческих ферм, создающихся на различной форме собственности, может быть представлена в виде 3-уровневой системы (рис. 6.1).
Производственная организация предприятий по ТО и ремонту каждого уровня ремонтно-обслуживающей базы (РОБ) может быть представлена на рис. 6.2, 6.3, 6,4.

Рис. 6.2. Схема организации производства на участке технического обслуживания машин и оборудования
Пункт технического обслуживания (ПТО) располагается или организуется в сельскохозяйственных предприятиях как арендные и малые предприятия на базе бывших или новых подразделений для технического обслуживания и ремонта животноводческой техники. Обслуживает ПТО те фермы, которые расположены вблизи хозяйств, на основе взаимовыгодных договорных условий. ПТО должны иметь в своем распоряжении мобильное средство, оборудованное специальными приборами, инструментом и оснасткой для экстренных или периодических выездов на обслуживаемые фермы. Мобильным средством могут быть специально оборудованные "Москвич-2715", УАЗ-469, УАЗ-452 или другие автомобили в зависимости от радиуса обслуживания и природно-климатических условий.

Рис. 6.3. Схема организации производства ПТО животноводческих ферм
Межхозяйственное предприятие СТОЖ обеспечивает ТО и ремонт для всех видов животноводческих ферм и комплексов. Аварийные звенья (слесарь-водитель, газоэлектросварщик, электрик) предназначены для устранения аварийных отказов и технических неисправностей машин по срочному вызову с ферм.
В последние годы активно ведутся работы по обоснованию и созданию машинно-технологических станций (МТС) как наиболее эффективной формы сервисного обслуживания сельхозтоваропроизводителей.
Структурные подразделения МТС по отраслям животноводства должны обеспечить выполнение работ по техническому обслуживанию и ремонту технологического оборудования животноводческих ферм, снабжение их запасными частями, узлами, агрегатами, замену устаревшего или изношенного оборудования, оказание технической помощи работникам ферм, выполнение некоторых видов механизированных работ.

Рис. 6.4. Схема организации производства СТОЖ для обслуживания животноводческих ферм на базе межхозяйственного или районного предприятия (третий уровень)
Выполнение сложных операций периодического технического обслуживания доильных установок, вакуумных насосов, холодильного оборудования, агрегатов для приготовления и
раздачи кормов должно производиться структурными подразделениями МТС по договорам с хозяйствами. Для этого подразделения МТС по животноводству должны иметь соответствующую ремонтно-обслуживающую базу с набором оснастки и приспособлений.
Основной объем работ по техническому обслуживанию и ремонту (60...70%) осуществляется передвижными звеньями структурного подразделения МТС непосредственно на ферме. Они выполняют весь объем по периодическому техническому обслуживанию и ремонту, устраняют неисправности, заменяют неисправные узлы и агрегаты, пополняют постоянный запас запчастей и материалов, забирают узлы и агрегаты, требующие ремонта на участке структурного подразделения МТС.
При расчетах эффективности обслуживания сельскохозяйственных машин и оборудования различными структурами необходимо оценить трудоемкость технического обслуживания и ремонта отдельных машин и оборудования. Значения трудоемкости выполнения плановых операций технического обслуживания и ремонта основных машин и оборудования на животноводческих фермах приведены в прил. 2, а перечень рекомендуемых машин и оборудования при реконструкции животноводческих ферм - в прил. 3.
Настоящий инструментарий по обследованию животноводческих ферм разработан Всероссийским научно-исследовательским и проектно-технологическим институтом механизации животноводства (ВНИИМЖ).
За последние годы в стране происходит резкий спад производства животноводческой продукции, значительно сокращается поголовье скота, разрушается материально-техническая база и снижается уровень потребления продуктов питания.
Полученные материалы в ходе обследования животноводческих ферм позволят научно-исследовательским и проектным организациям подготовить научно обоснованные проектные предложения и проектные документации по реконструкции и техническому перевооружению отрасли.
Основные паспортные показатели сельскохозяйственных предприятий по развитию животноводства
1. Наименование хозяйства
2. Адрес хозяйства
3. Руководство хозяйства:
директор;
гл. зоотехник;
гл. ветврач;
гл. инженер;
гл. экономист;
гл. инженер-строитель.
4. Краткая характеристика хозяйства:
экспликация земель;
стоимость валовой продукции;
основные породы животных;
поголовье скота;
валовое производство продукции;
продуктивность животных;
вид и назначение основной продукции;
переработка животноводческой продукции;
способ реализации продукции;
материальные и энергетические мощности;
трудовые ресурсы.
5. Основные экономические показатели производства животноводческой продукции:
затраты труда, чел.·ч;
затраты кормов, ц корм, ед.;
себестоимость продукции, руб.;
структура затрат, %;
реализационные цены продукции, руб.;
прибыль от реализации продукции, руб.;
уровень рентабельности производства, %.
Основные технико-экономические показатели производственного процесса представлены в табл. 1...16.
Таблица 1
Площади земельных угодий, га
|
Показатели |
1990 г. |
1995 г. |
2000 г. |
… |
|
Общая земельная площадь |
|
|
|
|
|
Всего сельхозугодий |
|
|
|
|
|
В том числе: |
|
|
|
|
|
пашня |
|
|
|
|
|
сенокосы |
|
|
|
|
|
пастбища |
|
|
|
|
|
леса и кустарники |
|
|
|
|
Таблица 2
Стоимость основных фондов, тыс. руб.
|
Показатели |
1990 г. |
1995 г. |
2000 г. |
… |
|
Наличие основных фондов |
|
|
|
|
|
Производственные фонды сельскохозяйственного назначения |
|
|
|
|
|
В том числе: |
|
|
|
|
|
растениеводство |
|
|
|
|
|
животноводство |
|
|
|
|
Таблица 3
Энергетические мощности, кВт
|
Показатели |
1990 г. |
1995 г. |
2000 г. |
… |
|
Всего тракторов |
|
|
|
|
|
В том числе: |
|
|
|
|
|
гусеничных |
|
|
|
|
|
колесных |
|
|
|
|
|
Тракторы, на которых смонтированы машины |
|
|
|
|
|
Зерноуборочные комбайны |
|
|
|
> |
|
Суммарная мощность |
|
|
|
|
Таблица 4
Использование электроэнергии, кВт
|
Показатели |
1990 г. |
1995 г. |
2000 г. |
… |
|
На производственные нужды |
|
|
|
|
|
В том числе: |
|
|
|
|
|
в механических мастерских |
|
|
|
|
|
в животноводстве |
|
|
|
|
|
в растениеводстве |
|
|
|
|
|
Итого по хозяйству |
|
|
|
|
Таблица 5
Трудовые ресурсы хозяйства, человек
|
Показатели |
1990 г. |
1995 г. |
2000 г. |
… |
|
Общая численность работников, занятых в сельскохозяйственном производстве, человек |
|
|
|
|
|
Рабочие в животноводстве |
|
|
|
|
|
В том числе: |
|
|
|
|
|
обслуживающие КРС |
|
|
|
|
|
из них молочное стадо обслуживающие свиней |
|
|
|
|
Таблица 6
Поголовье скота, головы
|
Показатели |
1990 г. |
1995 г. |
2000 г. |
I |
|
Крупный рогатый скот |
|
|
|
|
|
В том числе: |
|
|
|
|
|
коровы |
|
|
|
|
|
молодняк на откорме |
|
|
|
|
|
свиньи |
|
|
|
|
|
прочие |
|
|
|
|
Таблица 7
Производство и реализация продукции животноводства
|
Показатели |
1990 г. |
1995 г. |
2000 г. |
… |
|
1 |
2 |
3 |
4 |
5 |
|
Производство молока, ц |
|
|
|
|
|
Надой на одну фуражную корову, кг |
|
|
|
|
|
Реализация молока, ц |
|
|
|
|
|
Процент жира |
|
|
|
|
|
Прирост крупного рогатого скота, ц |
|
|
|
|
|
Среднесуточный прирост, г |
|
|
|
|
|
Реализация скота в живой массе, ц |
|
|
|
|
|
Живая масса одной головы |
|
|
|
|
|
Прирост живой массы свиней, ц |
|
|
|
|
|
Среднесуточный прирост, г |
|
|
|
|
|
Реализация свиней в живой массе, ц |
|
|
|
|
Таблица 8
Основные экономические показатели производства животноводческой продукции в расчете на 1 ц продукции
|
Показатели |
1990 г. |
1995 г. |
2000 г. |
… |
|
1 |
2 |
3 |
4 |
5 |
|
Затраты труда, чел.·ч |
||||
|
Молоко |
|
|
|
|
|
Прирост крупного рогатого скота |
|
|
|
|
|
Прирост свиней |
|
|
|
|
|
Затраты кормов, корм. ед. |
||||
|
Молоко |
|
|
|
|
|
В том числе концентрированных кормов |
|
|
|
|
|
Прирост крупного рогатого скота |
|
|
|
|
|
В том числе концентрированных кормов |
|
|
|
|
|
Прирост свиней, всего |
|
|
|
|
|
В том числе концентрированных кормов |
|
|
|
|
|
Себестоимость, руб. |
||||
|
Молоко |
|
|
|
|
|
Прирост крупного рогатого скота |
|
|
|
|
|
Прирост свиней |
|
|
|
|
|
Структура себестоимости продукции, % |
||||
|
Молоко, всего |
|
|
|
|
|
Зарплата |
|
|
|
|
|
Корма |
|
|
|
|
|
Амортизация |
|
|
|
|
|
Электроэнергия |
|
|
|
|
|
Жидкое топливо |
|
|
|
|
|
Прирост КРС, всего |
|
|
|
|
|
Зарплата |
|
|
|
|
|
Корма |
|
|
|
|
|
Амортизация |
|
|
|
|
|
Электроэнергия |
|
|
|
|
|
Жидкое топливо |
|
|
|
|
|
Прирост свиней, всего |
|
|
|
|
|
Зарплата |
|
|
|
|
|
Корма |
|
|
|
|
|
Амортизация |
|
|
|
|
|
Электроэнергия |
|
|
|
|
|
Жидкое топливо |
|
|
|
|
Таблица 9
Посевные площади, га.
|
Показатели |
1990 г. |
1995 г. |
2000 г. - |
... |
|
Посевная площадь, га |
|
|
|
|
|
В том числе: |
|
|
|
|
|
зерновые |
|
|
|
|
|
картофель |
|
|
|
|
|
кормовые |
|
|
|
|
|
Из них: |
|
|
|
|
|
многолетние травы |
|
|
|
|
|
однолетние травы |
|
|
|
|
|
силосные культуры корнеплоды |
|
|
|
|
Таблица 10
Использование органических и минеральных удобрений.
|
Показатели |
1990 г. |
1995 г. |
2000 г. |
|
|
1 |
2 |
3 |
4 |
5 |
|
Внесено органических удоб- |
|
|
|
|
|
рении, тыс. т |
|
|
|
|
|
В том числе на 1 га пашни |
|
|
|
|
|
Внесено минеральных удоб- |
|
|
|
|
|
рении, т |
|
|
|
|
|
В том числе на 1 га пашни, кг |
|
|
|
|
|
Д в. |
|
|
|
|
Таблица 11
Урожайность сельскохозяйственных культур, ц./га.
|
Показатели |
1990 г. |
1995 г. |
2000 г. |
… |
|
Зерновые |
|
|
|
|
|
Картофель |
|
|
|
|
|
Корнеплоды |
|
|
|
|
|
Силосные культуры |
|
|
|
|
|
Многолетние травы: |
|
|
|
|
|
на сено |
|
|
|
|
|
на зеленый корм |
|
|
|
|
|
Однолетние травы на зеленый корм |
|
|
|
|
|
Естественные сенокосы |
|
|
|
|
|
Пастбища |
|
|
|
|
Таблица 12
Выход валовой продукции растениеводства, т.
|
Показатели |
1990 г. |
1995 г. |
2000 г. |
… |
|
Зерновые |
|
|
|
|
|
Картофель |
|
|
|
|
|
Корнеплоды |
|
|
|
|
|
Силос |
|
|
|
|
|
Сено |
|
|
|
|
|
Солома |
|
|
|
|
|
Зеленая масса (подкормка) |
|
|
|
|
Таблица 13
Себестоимость продукции растениеводства, руб./ц.
|
Показатели |
1990 г. |
1995 г. |
2000 г. |
… |
|
1 |
2 |
3 |
4 |
5 |
|
Зерновые |
|
|
|
|
|
Картофель |
|
|
|
|
|
Силос |
|
|
|
|
|
Сенаж |
|
|
|
|
|
Многолетние травы: |
|
|
|
|
|
на сено |
|
|
|
|
|
на зеленую массу |
|
|
|
|
|
Однолетние травы на зеленую массу |
|
|
|
|
Таблица 14
Стоимость кормов, руб./ц.
|
Показатели |
1990 г. |
1995 г. |
2000 г. |
… |
|
Комбикорм |
|
|
|
|
|
Картофель |
|
|
|
|
|
Силос |
|
|
|
|
|
Сенаж |
|
|
|
|
|
Сено |
|
|
|
|
|
Солома |
|
|
|
|
|
Зеленые корма |
|
|
|
|
|
Корнеплоды |
|
|
|
|
|
Молоко |
|
|
|
|
|
Обрат |
|
|
|
|
|
ЗЦМ |
|
|
|
|
Таблица 15
Производственные помещения для содержания животных (данные по каждой ферме)
|
Показатели |
Коровник |
Здание молодняка |
Телятник |
Свинарник |
|
1 |
2 |
3 |
4 |
5 |
|
Количество зданий |
|
|
|
|
|
Размеры здания, м |
|
|
|
|
|
Год ввода в эксплуатацию |
|
|
|
|
|
Состояние здания |
|
|
|
|
|
Материалы стен |
|
|
|
|
|
Материалы покрытия |
|
|
|
|
|
Количество ското-мест |
|
|
|
|
|
Фактическое поголовье |
|
|
|
|
|
Способ содержания |
|
|
|
|
|
Оборудование для: |
|
|
|
|
|
доения |
|
|
|
|
|
сбора и хранения молока |
|
|
|
|
|
раздачи кормов |
|
|
|
|
|
удаления навоза |
|
|
|
|
|
поения |
|
|
|
|
|
содержания |
|
|
|
|
|
создания оптимального |
|
|
|
|
|
микроклимата |
|
|
|
|
Таблица 16
Общефермские сооружения.
|
Показатели |
Типовой проект |
Год ввода, состояние |
Вместимость, площадь |
Оборудование машины |
|
Молочный блок |
|
|
|
|
|
Цех по переработке молока |
|
|
|
|
|
Убойный пункт |
|
|
|
|
|
Цех по переработке мяса |
|
|
|
|
|
Цех приготовления комбикормов |
|
|
|
|
|
Силосная траншея |
|
|
|
|
|
Навес для сена |
|
|
|
|
|
Хранилище для подстилки |
|
|
|
|
|
Назозохранилище |
|
|
|
|
|
Водоснабжение |
|
|
|
|
|
Теплоснабжение |
|
|
|
|
|
Энергоснабжение |
|
|
|
|
|
Наименование машин и оборудования |
Марка машины |
Годовая трудоемкость ТО и ремонта, |
|
1 |
2 |
чел.·ч |
|
Стойловое оборудование |
||
|
Оборудование стойловой |
ОСП-Ф-26А |
4,6 |
|
Оборудование стойловое |
ОСК-Ф-27 |
4,6 |
|
Оборудование для содержания телят |
КР-19 |
171,7 |
|
Оборудование для содержания телят в молочном периоде |
КИТ-00.000 |
136,1 |
|
Оборудование для содержания телят на откорме |
ОС-720 |
171,7 |
|
Водоснабжение и поение |
||
|
Поилка одночашечная из полимерных материалов |
АП-1А |
4,1 |
|
Поилка индивидуальная |
ПА-1В |
3,2 |
|
Поилка групповая с электроподогревом воды |
АГК-4Б |
39,2 |
|
Автопоилка групповая поплавковая |
АГП-Ф-200 |
162,5 |
|
Поилка групповая передвижная |
ВУК-3А |
136,4 |
|
Водоподъемная установка |
ВУ-5-30А |
81,8 |
|
Поилки для свиней |
ПБС-1, ПБП-1, ПСС-1 |
1,8 |
|
Доение и первичная обработка молока |
||
|
Доильная установка |
АДМ-8А-1 |
332,1 |
|
Доильная установка |
АДМ-8А-2 |
510,3 |
|
Доильная установка. |
УДА-8А |
569,7 |
|
Доильная установка |
УДА-16 А |
585,9 |
|
Доильная установка для доения на пастбищах |
УДС-3Б |
348,3 |
|
Доильная установка для доения в ведра |
АД-100Б |
291,6 |
|
Доильная установка для индивидуальных хозяйств (стационарная) |
УДИ-1 |
94,5 |
|
Доильная установка для индивидуальных хозяйств (передвижная) |
УДИ-2 |
170,1 |
|
Доильная установка на базе водокольцевого вакуумного насоса |
УДПС-1 |
164,7 |
Продолжение таблицы
|
1 |
2 |
3 |
|
Установка доильная вакуумная |
УДВ-Ф-15 |
189,0 |
|
УДВ-10 |
175,5 |
|
|
Типоразмерный ряд доильных установок для доения коров в переносные ведра |
УДВ-20 |
189,0 |
|
УДВ-30 |
190,0 |
|
|
УДВ-50 |
221,4 |
|
|
Типоразмерный ряд доильных установок для доения коров в молокопровод |
УДВ-25 |
210,6 |
|
УДМ-50 |
211,4 |
|
|
УДМ-100 |
302,4 |
|
|
Установка доильная с молокопроводом |
УДКМ-Ф-100 |
315,9 |
|
Доильная установка с автоматизированной системой со съемом информации и АСУ ТП "Елочка" |
УДА-Ф-70 |
683,1 |
|
Установка доильная лагерная |
|
494,1 |
|
Установка доильная передвижная для малых ферм |
УДЛ-Ф-12 |
224,1 |
|
Резервуар-охладитель молока с промежуточным хладоносителем |
РПО-1,6 |
99,9 |
|
РПО-2,5 |
121,5 |
|
|
Резервуар-охладитель молока с непосредственным охлаждением |
РНО-2000 |
101,0 |
|
Резервуар-охладитель молока стационарный |
ТОМ-2А |
207,9 |
|
Резервуар-охладитель молока с регулятором тепла |
МКА-2000Л-2Б |
113,4 |
|
Типоразмерный ряд резервуаров охладителей молока с непосредственным охлаждением |
МКЦ-1300 |
99,9 |
|
МКЦ-700 |
78,3 |
|
|
МКЦ-250 |
48,6 |
|
|
МКЦ-200 |
48,6 |
|
|
МКЦ-150 |
48,6 |
|
|
Установка для охлаждения молока |
УОМФ-1500 |
315,9 |
|
Теплохолодильная установка |
ТХУ-16 |
116,1 |
|
ТХУ-23 |
148,5 |
|
|
Холодильная машина |
АВ-30 |
108,0 |
|
Комплект оборудования для фильтрации и охлаждения молока |
ФОМ-1,25 |
|
|
|
207,9 |
|
|
Установка пластинчатая пастеризационно-охладительная |
Б6-ОП2-Ф-1 |
153,9 |
|
Агрегат-очиститель-охладитель |
ОМ-1А |
159,3 |
Продолжение таблицы
|
1 |
2 |
3 |
|
Вакуумированный резервуар для молока с очисткой, охлаждением, замером его количества и качества |
|
72,9 |
|
Фильтр-охладитель проточный вакуумированный |
|
67,5 |
|
Насос для перекачки молока |
НМУ-6 |
35,1 |
|
Приготовление и раздача кормов |
||
|
Погрузка силоса и сенажа с одновременным их измельчением |
ПСС-5,5 |
37,8 |
|
Погрузка грубых кормов и подстилки с одновременным их измельчением (фуражир) |
ФН-1.4А |
37,8 |
|
Вилы для выгрузки кормов из траншей |
ВВТ-Ф-0,5 |
29,7 |
|
Стационарный раздатчик кормов |
РВК-Ф-74 |
186,3 |
|
Кормораздатчик мобильный универсальный |
КТУ-10А |
259,2 |
|
Мобильный раздатчик кормов |
РММ-5А |
226,8 |
|
Мобильный погрузчик-раздатчик кормов |
ПРК-Ф-0,4 |
421,2 |
|
Кормораздатчик мобильный универсальный |
КТ-Ф-12 |
334,8 |
|
Универсальный малогабаритный кормораздатчик |
КТ-Ф-6 |
272,7 |
|
Раздатчик-смеситель кормов малогабаритный |
РПС-6 |
218,7 |
|
Комплект машин для механизации ферм на базе универсального энергетического средства тягового класса 0,6 т |
|
324,0 |
|
Комплект машин для механизации ферм КРС на базе универсального энергетического средства 0,9...1,4т "Кормач" |
|
391,5 |
|
Раздатчик свекловичного жома |
РЖМ-Ф-6 |
256,5 |
|
Раздатчик-смеситель мелассы с карбамидом |
РМК-1,7 |
162,0 |
|
Универсальный малогабаритный кормораздатчик-измельчитель рулонов сена, соломы и других стебельчатых кормов |
|
178,2 |
|
Передвижной автоматизированный раздатчик концентрированных кормов с индивидуальным дозированием на 200 голов КРС |
|
145,8 |
Продолжение таблицы
|
1 |
2 |
3 |
|
Ручная теленка для раздачи кормов |
|
7,8 |
|
Стационарная линия раздачи кормов с передвижным лет очным транспортером над кормушкой |
ТКР-20А |
1458,0 |
|
Раздатчик внутри кормушек с ленточным рабочим органом |
РВКФ-74-1 |
1782,0 |
|
Кормораздатчик для двухстороннего подхода |
КВ-Ф-150-1 |
3456,0 |
|
Кормораздатчик скребковый |
К.РС-Ф-15А |
1574,1 |
|
Транспортер |
ТК-5.0Б |
78,3 |
|
Транспортер 40.0М |
|
97,2 |
|
Кормораздатчик шайбовый |
КШ-0,5 |
216,6 |
|
Кормораздатчик |
КУТ-3.0Б |
248,4 |
|
Кормораздатчик |
КУБ-0.0А |
226,8 |
|
Кормораздатчик |
РС-5А |
162,0 |
|
Кормораздатчик |
КС-1,5 |
307,8 |
|
Кормораздатчик |
КУС-Ф-2 |
332,1 |
|
Загрузчик сухих кормов |
ЗСК-10 (ЗСК 15) |
334,8 |
|
Комплект оборудования кормоцеха |
КОРК-5А |
1382,4 |
|
Комплект оборудования кормоцеха |
КОРК-15А |
2789,1 |
|
Смеситель мелассы и карбамида |
|
97,2 |
|
Измельчитель кормов |
ИУ-Ф-10 |
125,6 |
|
Дробилка-измельчитель |
ИРТ-Ф-80 |
113,4 ' |
|
Измельчитель кормов "Болгарь-5" |
|
225,7 |
|
Измельчитель |
ИКМ-5 |
118,5 |
|
Измельчитель зерна |
Д3-Ф-2 |
183,6 |
|
Линия измельчения соломы |
ЛИС-3А |
326,7 |
|
Измельчитель-смеситель кормов |
ИСК-Ф-10 |
297,0 |
|
Измельчитель растительных материалов |
ИРМ-5Р |
475,2 |
|
Корнерезка стационарная центробежная |
КПИ-4 |
191,7 |
|
Соломорезка |
ЭРС-1 |
164,7 |
|
Линия обработки корнеклубнеплодов |
ЛОК-Ф-15 |
283,5 |
|
Комплект оборудования кормоприготовительного отделения |
КПГ-10А |
2313,9 |
|
Агрегат приготовления кормосмеси |
АПК-10А |
2956,5 |
|
Комплект оборудования кормоцеха производительностью до 15 т/ч |
|
2813,4 |
Продолжение таблицы
|
1 |
2 |
3 |
|
Типоразмерный ряд питателей-дозаторов |
|
|
|
ПДК-Ф-3 |
1927,8 |
|
|
ПДК-Ф-10 |
2646,0 |
|
|
ПДК-Ф-12 |
2662,2 |
|
|
ПДК-Ф-24 |
5845,5 |
|
|
Агрегат для приготовления заменителя молока |
АЗМ-0.8М |
197,1 |
|
Установка автоматизированная для приготовления жидких питательных смесей |
УПМ-1000 |
97,2 г |
|
Установка для приготовления и раздачи регенерированного молока |
УПР-Ф-720 |
218,7 |
|
Бункер для хранения сухих кормов |
|
75,8 |
|
Пастьба животных |
||
|
Электрическая изгородь при пастбищном содержании скота |
ЭИП-1-1 |
35,1 |
|
Удаление и утилизация навоза |
||
|
Транспортер навозоуборочный |
ТСН-160А |
261,9 |
|
Транспортер навозоуборочный |
ТСН-3.0Б |
350,0 |
|
Шнековый транспортер |
КШТ-Ф-200А |
240,3 |
|
Транспортер навозоуборочный шнековый |
КОШ-Ф-50 |
178,2 |
|
КОШ-Ф-100 |
288,9 |
|
|
Установка скреперная |
УС-Ф-170А |
294,3 |
|
УС-Ф-250А |
364,5 |
|
|
Транспортер навозоуборочный поперечный |
КПН-10А |
270,0 |
|
Насос для перемещения жидкого навоза |
ПНЖ-Ф-250 |
126,9 |
|
Самопогрузчик с комплектом сменных рабочих органов |
СУ-Ф-0,4 |
102,6 |
|
Теплоснабжение и обеспечение микроклимата |
||
|
Комплекс вентиляционного оборудования |
"Климат-45М" |
631,8 |
|
Вентиляционное оборудование |
ПВУ-4М |
707,4 |
|
Комплект оборудования для нагрева приточного воздуха |
СФОЦ |
56,7 |
|
Котел |
КВ-300М |
510,3 |
|
Котел |
КТ-500 |
623,7 |
|
Котел |
Д-721А |
796,5 |
|
Наименование и марка |
Условия применения (технология, мощность ферм, тип кормления) |
Производительность, число обслуживаемых животных |
Привод. мощность. кВт |
Ориентировочная цена, тыс. руб. |
Завод-изготовитель |
|
1 |
2 |
3 |
4 |
5 |
6 |
|
Доение и первичная обработка молока |
|||||
|
Доильный агрегат с молокопроводом АДМ-8А-1 |
На ферме привязного содержания на 100 коров |
Производительность 56...60 доек/ч, обслуживают 2 дояра |
Электрический» мощность 4,75 кВт |
48 |
ОАО "Кургансельмаш" 640623, г. Курган, ул. Куйбышева, 144. Тел. (35222) 3-78-66 |
|
Доильный агрегат с молокопроводом АДМ-8А-2 |
На ферме привязного содержания на 200 коров |
Производительность- 112....120 доек/ч, обслуживают 4 дояра |
Электрический, мощность 8,75 кВт |
93,6 |
Тоже |
|
Установка доильная типа "Тандем" УДА-8Д |
На ферме беспривязного содержания до 400 коров |
Производительность до 70 доек/'ч. обслуживает оператор |
Электрический, мощность 9,5 кВт |
133,8 |
Тоже |
|
Установка доильная типа "Елочка" УДА-16А |
На ферме беспривязного содержания до 600 коров |
Производительность до 80 доек/ч, обслуживает оператор |
Электрический, мощность 20 кВт |
155,7 |
Тоже |
Продолжение таблицы
|
1 |
2 |
3 |
4 |
5 |
6 |
|
Установка доильная передвижная УДС-3Б |
Для доения на пастбищах до 200 коров |
Производительность 56 доек/ч, обслуживают 2 дояра |
Привод от двигателя внутреннего сгорания 4,5 л.с. или электродвигателя мощностью 4 кВт |
42,3 |
ОАО "Кургансельмаш", 640623, г. Курган, ул. Куйбышева, 144. Тел. (35222) 3-78-66 |
|
Установка доильная УДИ-2 |
Для ферм до 10 коров |
Производительность до 10 доек/ч. обслуживает дояр |
Электрический, мощность 0.8 кВт |
8,1 |
Тоже |
|
Установка доильная передвижная "Сухиничанка" УДПС-1 |
Для ферм до 10 коров |
То же |
Электрический, мощность 1 кВт |
6,5 |
ОАО "САМП", 249270, Калужская обл.. г. Сухиничи, ул. Ленина. 23. Тел.: (08451)2-11-51, 2-20-47 |
|
Установка доильная УДВ-Ф-15 |
На ферме привязного содержания до 30 коров |
Производительность 17 доек/ч, обслуживает дояр |
Электрический, мощность 2.2 кВт |
7,5 |
То же |
|
Установка доильная ДАС-2Б |
На ферме привязного содержания на 100 коров |
Производительность до 70 доек/ч, обслуживают 3 дояра |
Электрический, мощность 4 кВт |
30.2 |
ОАО "Кургансельмаш", 640623, г. Курган, ул. Куйбышева, 144. Тел. (35222) 3-78-66 |
|
Резервуар охладитель РПО-2,5 |
Вместимость 2500 л |
Время охлаждения половины объема 3 ч |
Электрический, мощность 1.28 кВт |
88.5 |
Тоже |
|
Резервуар охладитель РП 0-3,2 |
Вместимость 3200 л |
То же |
Электрический, мощность 1.5 кВт |
96 |
|
Продолжение таблицы
|
1 |
2 |
3 |
4 |
5 |
6 |
|
Теплохолодильная установка ТХУ-14 |
Для охлаждения в резервуаре РПО-2,5 и подогрева воды |
Холодопроизводительность 16 кВт, теплопроизводительность21,5 кВт |
Электрический мощность 7,5 кВт |
105 |
ПКП "Пензаагроремонт" 440604, г. Пенза, ул. Гладкова, 11 Тел.(8412)63-42-42, 63-08-87 |
|
Теплохолодильная установка ТХУ-23 |
Для охлаждения молока в резервуаре РПО-3,2 и подогрева воды |
Холодопроизводительность 23 кВт, теплопроизводительность 30 кВт |
Электрический мощность 10 кВт |
140 |
То же |
|
Электропастеризатор Д1-ОПЭ |
Для пастеризации молока |
Производительность 1000 л/ч |
Электрический мощность 40 кВт |
44 |
ОАО "Оскон" 427600, Удмуртия, г. Глазов, ул. Драгунова,2.Тел. (34141) 7-26-19, 7-27-32 |
|
Автомобиль-цистерна АЦТП-1,7 |
Для транспортировки молока |
Вместимость 1,7 т |
На шасси ГАЗ-66 |
|
Далматовский завод "Молмашстрой" 641730, Курганская обл., г. Долматово |
|
Автомобиль-цистерна АЦ ТП-2,1 |
То же |
Вместимость 2,1 т |
На шасси ГАЗ-52-01 |
|
То же |
|
Установка водокольцевая вакуумная УВВ-Ф-180 |
Для создания вакуума при машинном доении коров |
Производительность 130 м3/ч |
Электрический мощность 15 кВт |
43 |
ПКП "Пензаагроремонт" 440604, г. Пенза, ул. Гладкова, 11 Тел.(8412)63-42-42, 63-08-87 |
|
Установка водокольцевая вакуумная УВВ-Ф-90 |
Для создания вакуума при машинном доении коров |
Производительность 90 м3/ч |
Электрический, мощность 7,5 кВт |
19,6 |
ОАО "САМП", 249270, Калужская обл.. г. Сухиничи, ул. Ленина. 23. Тел.: (08451)2-11-51, 2-20-47 |
|
Установка водокольцевая вакуумная УВВ-Ф-45 |
То же |
Производительность 55 м3/ч |
Электрический, мощность 4 кВт |
3 (1 насос) |
То же |
|
Установка водокольцевая вакуумная УВВ-Ф-15 |
То же |
Производительность 22 м3/ч |
Электрический, мощность 2,2 кВт |
6 |
То же |
|
Кормление скота |
|||||
|
Кормораздачик КТУ-10А |
Для раздачи кормов, вместимость кузова Юм3 |
Пропускная способность 80...480м3/ч |
Агрегатируется с тракторами классов 1,4 и 0,9 |
63 |
ЗАО "Егорьевская сельхозтехника" 140300, Московская обл, г. Егорьевск, ул.50 лет ВЛКСМ, 1. Тел-(240) 2-23-04 |
|
Кормораздатчик КТ-Ф-6 |
Для раздачи кормов, вместимость 6 м3 |
Пропускная способность 70...400 м3/ч |
Агрегатируется с тракторами классов 0,9 и 0,6 |
58 |
ОАО "ВНИИКОМЖ" 101509, г- Москва, ГСП-4, ул. Лесная, 43. Тел. (095) 978-29-01| |
|
Комбинированный агрегат ПРК-Ф-0,4 |
Для погрузки, перевозки и раздачи кормов, вместимостью 6м3 |
То же |
Агрегатируется с трактором класса 0,6 |
Навесное оборудование 25 |
АО "Погрузчик" 302011, г. Орел, Новосельское шоссе. 11, Тел.(08622) 5-21-74 |
Продолжение таблицы
|
1 |
2 |
3 |
4 |
5 |
6 |
|
Тракторный прицеп ГК5-887 Б |
Вместимость кузова с надставными бортами 11 м3 |
Грузоподъемность 4Т |
Агрегатируется с трактором класса 1,4 |
|
Балашовский завод автотракторных прицепов Саратовская обл., г. Балашов |
|
Погрузчик тракторный фронтальный ПФ-0,5 Б |
Для скирдования кормов и погрузки |
Грузоподъемность 0,5...0,8 т Производительность на погрузке сена 17 т/ч |
Агрегатируется с ЮМЗ-6, МТЗ-80, МТЗ-82 |
44 |
АОЗТ "Сасовоагропромсервис" 391600, Рязанская обл., г. Сасово. ул. Новоелатомская, 47. Тел. (09133) 2-44-74 |
|
Вентилятор осевой В-0,6-290-11 |
Для сушки сена активным вентилированием |
Производительность до 55 тыс. м3/ч |
Электрический, мощность 15 кВт |
25 |
Крюковский вентиляторный завод г. Чехов |
|
Загрузчик сухих кормов ЗСК-Ф-15А |
Вместимость бункера 11 м3 |
Производительность на выгрузке кормов 16... 18 т/ч |
На шасси КамАЗа |
405 |
АО "Сасовокорммаш" 391600, Рязанская обл., г. Сасово, ул. Революции, 20. Тел. 2-40-96 |
|
Бункер для хранения кормов БСК-10 |
Вместимость бункера 10 м3 |
Производительность на выгрузке 3 т/ч |
Электрический, мощность 0.6 кВт |
52 |
ОАО "ВНИИКОМЖ" Москва. Тел. (095) 978-29-01 |
|
Измельчитель грубых кормов ИГК "Вятка" |
Вместимость бункера 6,5 м3 |
Производительность 2,5...5 т/ч |
Установленная мощность 40 кВт |
|
АО Слободский МСЗ Кировской обл. |
|
Машина для сухой очистки корнеплодов МСОК-18 |
частота вращения щеток 100…200 мин-1 Масса 2485 кг |
Производительность до 18 т/ч |
Мощность электродвигателей 16,5 кВт |
|
НИИСХ СВ им. Рудницкого 610007, г. Киров, ул. Ленина, '6 |
|
Установка для смешивания кормов УСК-25 |
|
Пропускная способность 22...26 т/ч |
Установленная мощность 65 кВт |
|
НПО "Луч'' г. Киров, ул. Ленина, 16 |
|
Мобильный Измельчитель, раздатчик рулонированных кормов и подстилки ИРК-3 |
Габаритные размеры 4100×1850×2300мм. Масса 1200 кг |
Производительность 2,5.3 т/'ч |
Установленная мощности 30 кВт |
|
То же |
|
Погрузчик-экскаватор ПЭ-Ф-1А |
Для погрузки различных грузов и проведения экскаваторных работ |
Производительность на погрузке от 60 до 100 т.ч., рытье траншей 25 м:/ч |
Агрегатируется с ЮМ3-кл/км |
|
ПО "Коломыясельмаш" 285200, Украина, Франковская обл., г. Коломыя, ул. Ленина, 121 |
|
Комбайн для скашивания травы КПИ-Ф-2,4 |
Для уборки кормовых культур |
Производительность от 16 до 33 т/ч |
Агрегатируется с тракторами МТЗ-80, -82, -100 |
250 |
Ставропольский край "Авторемзавод" г. Зеленокумск Тел. (86552)2-48-17 |
|
Приготовление комбикормов |
|||||
|
Размольно-смесительный блок РСБ-4 |
Фермы с потребностью комбикормов до 25 т в сутки |
4...5 т/ч, до 12 тыс. голов в год 2,5 тыс. КРС |
Электрический, 60 |
420 |
ЭПП ВНИИМЖ Моск. обл. г. Подольск, разработчик - ВНИИМЖ |
Продолжение таблицы
|
1 |
2 |
3 |
4 |
5 |
6 |
|
Установка малогабаритная УМК-Ф-2 |
Устанавливается рядом с хранилищем зернофуража |
2,5 т/ч. свинокомплексы до 6 тыс. голов в год. фермы КРС до 1.5 тыс.голов |
Электрический, 23 |
360 |
Уманьферрммаш Черкасская обл., г. Умань, ул. Энергетическая, 1, разработчик - ВНИЖИВМАШ |
|
Комбикормовый агрегат малогабаритный МКА-1 |
На фермах или складах фуражного зерна |
1 т/ч на фермах с потребностью до 8 т комбикормов в сутки |
Электрический, 13 |
280 |
г. Псков, Октябрьский просп., 50, разработчик-АО ВНИКОМЖ |
|
Линия приготовления комбикормов ЛПК-Ф-2 |
В складах фуражного зерна |
2 т/ч на фермах КРС и фермерских хозяйств |
Электрический, 32 |
310 |
ЭПП ВНИИМЖ Московская обл. г. Подольск, разработчик-ВНИИМЖ |
|
Межхозяйственное комбикормовое предприятие |
Межхозяйственный |
8 т/ч на свинофермах до 24 тыс. голов в год |
Электрический, 120 |
950 |
ЭПП ВНИИМЖ Московская обл. г. Подольск, разработчик-ВНИИМЖ |
|
Комбикормовые агрегат малогабаритный МКА-1 |
В складе фуражного зерна с пневмовыгрузкой |
До 1 т/ч для фермеров и малых ферм |
Электрический, 13 |
260 |
АО "Псковмаш" г. Псков, Октябрьский просп. 50, разработчик - АО ВНИИКОМЖ |
|
Автоматизированный комбикормовый агрегат АКА-3,22 |
В легких ангарах |
3 т/ч для хозяйств с потребностью до 25 т/сутки |
Электрический, 45 |
550 |
АО «ВОЭЗ» Ростовская обл., г. Волгодонск, разработкик-ВНИИКОМЖ |
|
Содержание крупного рогатого скота |
|||||
|
Комплект оборудования для телят 4-месячного возраста (К-Р-19) |
Для содержания телят от Ю-15 дн. до 3-4 месяцев- Габариты 309000×1472. Масса |
Число обслуживаемых телят - 120 |
Электрическая, мощность -6,35 квт |
|
Чадырлунгский ОСЗ |
|
Оборудование стойловое для телят до 4-месячного возраста (первого периода) ОС-720-01 |
Вместимость клетки 10 голов, число клеток 72, габаритные
размеры 5110×398×1063, масса |
Число обслуживаемых животных 720 |
|
|
Разработчик-НПО "Комплектживмаш" |
|
Оборудование стойловое для телят до 4-месячного возраста второго периода ОС-720-02 |
Число клеток 40, вместимость
клетки 18 голов. Габаритные размеры 8820×3900×1063, масса |
То же |
|
|
То же |
Продолжение таблицы
|
1 |
2 |
3 |
4 |
5 |
6 |
|
Оборудование для содержания телят ОСТ-Ф-32 |
|
|
|
Договорная |
КП" Яккатутсельмаш» 713115, Ферганская обл., Узбекистан, Бешарынский р-н, пос. Яккатут Тел (37361) 2.25-81 |
|
Клетки индивидуальные КИТ-Ф-12 |
Для содержания в карантине от 20 до 90 дней, масса |
Число обслуживаемых телят-12 |
|
Тоже |
Тоже |
|
Стойловое оборудование ОСП-Ф-26Д |
Для автоматического группового привязывания коров, размеры 1200×1900, масса |
Число обслуживаемых телят - 25 |
|
34 |
ОАО "Кургансельмаш» |
|
Электроизгородь электрическая ЭИС-1-30 |
Длина однопроводной линии
10;
20; |
|
Напряжение в сети 220 в, амплитудное значение тока 4...6 кВт |
2,96 |
Слуцкое ТПО «Металлист», 223610, Беларусь, Минская обл., г. Слуцк, ул. Монакова, 23. Тел.(01795)5-30-91 |
|
Цепь для прививки р.35.70.00 |
|
Диаметр |
|
0,03 0,05 |
Учреждение ЯК-7/1 |
|
Комплект оборудования для обогрева и облучения ЛУЧ-2А |
Габаритные размеры облучателя: 540×400×225, пульта 600×350×780 мм, масса комплекта |
Число обслуживаемых телят 100 |
Электрический, мощность 20,5 кВт |
|
«Сорокский завод» 279900, Республика Молдова, г. Сороки, ул. Угорова, 1 |
|
Содержание свиней |
|||||
|
Оборудование станочное для свинарников ОСМ-2 |
Для проведения опоросов и выращивания поросят |
В станке содержатся 1 свиноматка и 10 поросят |
- |
34 (комплект) |
Барановичский комбинат сенажных башен 225320, Беларусь, Брестская обл., г Барановичи, ул. Кирова, 79 |
|
Оборудование станочное КГО |
Для выращивания поросят-отъемышей |
|
|
10,7 (комплект) |
То же |
|
Блоки станков из унифицированных элементов и местных строительных материалов БСМ-1/10 |
Для проведения опоросов и выращивая поросят при 2. и 3-фазных технологиях |
В блок входит четное число станков, определяемое заказчиком |
- |
7 |
ОПКБ с ЭПП ВНИИМЖ 142134, Московская обл., Подольский р-н. пос. Знамя Октября. 31 |
Продолжение таблицы
|
1 |
2 |
3 |
4 |
5 |
6 |
|
БСХ-12 |
Для группового содержания холостых и супоросных маток |
То же В одном станке содержатся 10...12 маток |
- |
3 2,5 |
То же |
|
БСО-10 |
Для мелкогруппового содержания откормочного и ремонтного молодняка |
-«- В станке содержатся 10 голов |
|
|
-«- |
|
Комплект станочного оборудования для выращивания свиней |
- |
- |
- |
41 |
СЗ НИПТИМЭСХ, |
|
Тележка – трап ТТ-1 |
Для погрузки свиней в транспортные средства и перевозки животных внутри свинофермы |
Вместимость кузова 13...80 голов грузоподъемность до |
Агрегатируется с тракторами класса 0,9 и 1,4 т |
95 |
Камышинский машиностроительный завод оборудования животноводческих ферм 403850, Волгоградская обл., г. Камышин-16 |
|
Водоснабжение и поение |
|||||
|
Поилка одночашечная ПА-1 |
Вместимость |
Число обслуживаемых животных - 2 |
|
0,1 |
АОЗТ" Славянский» мехзавод» 353840, Краснодарский край, г- Славянок на Кубани, ул. Дружбы народов. 13. Тел.(86146)2-27-45 |
|
Поилка передвижная ВУК-3А |
Вместимость цистерны |
Число обслуживаемых коров(без дозаправки) - 100 |
Агрегатируется с тракторами класса 1А |
22,0 |
АООТ «Бугульминский РМЗ» 423200, Татарстан, г. Бугульма. Ул. Ленина. п/о 9. Тел. (85514)5-67-82 |
|
Водоподъемная установка ВУ-7-65 |
Объем аккумулятора |
Подача воды 7 м3/ч |
Электрическая,» мощность 3 кВт |
15,4 |
Оршанский тракторный завод. 211030, Беларусь. Витебская обл., г. Орша ул.Ленина. 215. Тел. (02161)2-32-35 |
|
Установка для выпойки телят УВТ-Ф-360 |
Габаритные размеры 31500×8730×х2200, масса |
Обслуживаемое поголовье 360 телят |
Электрическая, мощность 1,5 кВт |
|
ОАО «Челябинскживмаш» |
Продолжение таблицы
|
1 |
2 |
3 |
4 |
5 |
6 |
|
Стационарная линия раздачи комбикормов |
|||||
|
Башня водонапорная БР-20у-15 |
Высота до дна
бака |
|
|
80 |
ТОО «Новис» |
|
Установка для подогрева воды САОС-400 |
Вместимость |
Температура воды на выходе 90°С |
Электрический, мощность 12 кВт |
7 |
Учреждение УЕ-394/7453310 Башкортостан, г. Мелеуз Тел-(3464) 2-02-88 |
|
Установка для подогрева воды САОС-800 |
Вместимость |
Тоже |
Мощность 18 кВт |
|
То же |
|
Автопоилка для свиней АС-Ф-25 |
- |
До 25 голов |
- |
0,08 |
Боровичский опытный специализированный завод 174400, Новгородская обл., г. Боровичи, пос. 5-го цеха |
|
Стационарная линия раздачи комбикормов |
|||||
|
Опытная автоматизированная линия раздачи сухих кормов на базе спирального транспортера |
Раздает сухой комбикорм поросятам на доращивании и откормочному поголовью |
Производительность до 1 т/ч, длина линии - |
Установленная мощность 4,15 кВт |
80 |
ОПКБ с ЭПП ВНИИМЖ 142134, Московская обл., Подольский р-н, пос. Знамя Октября, 31 |
|
Кормораздатчики прицепные |
|||||
|
Кормораздатчик прицепной универсальный КПУ-Ф-3,0 |
Раздает кормосмеси влажностью 65... 80% на выгульных площадках и в летних лагерях |
Производительность от 15 т/ч, вместимость бункера |
От ВОМ трактора |
65 |
ОАО "Уманьферммаш" 258900, Украина, Черкасская обл., г. Умань, ул. Энергетическая, 21 |
|
Тележки ручные |
|||||
|
Тележка унифицированная ТУ-300 |
Для смешивания и транспортировки кормов и других грузов |
Вместимость кузова |
|
5 |
АООТ "Жуковская сельхозтехника" 249030, Калужская обл-, Жуковский р-н, г. Жуков, ул. Сельхозтехники |
Продолжение таблицы
|
1 |
2 |
3 |
4 |
5 |
6 |
|
Кормораздатчики рельсовые, электромобильные |
|||||
|
Раздатчик-смеситель кормов РС-5А |
Раздает кормосмеси
влажностью
70...80% в кормовом проходе шириной |
Производительность 3 т/ч. Вместимость бункера
|
Установленная мощность 3 кВт |
40 |
Казимировский опытно-экспериментальный завод, 212039, Беларусь, г- Могилев, Минское шоссе. 4 |
|
Кормораздатчик мобильный электрифицированный КС-1,5 |
Тоже |
Производительность 8...10 т/ч, вместимость
бункера |
Установленная мощность 7.35 кВт |
45 |
"Рожищесельмаш" 264300, Украина, Волынская обл., г. Рожище, ул. Селянская, 46 |
|
Кормораздатчик мобильный электрисфицированный КЭС-1,7 |
Раздает с эстакады сухой комбикорм и кормосмеси влажностью 60...70% вспаренные групповые кормушки |
Производительность до 10 т/ч, вместимость бункера |
5,2 кВт |
50 |
То же |
|
Кормораздатчик универсальный мобильный КУС-Ф-2 |
Раздает сухой комбикорм и кормосмеси влажностью 65...80% в кормовом проходе |
Производительность до 8 т/ч. вместимость бункера |
7 кВт |
48 |
То же |
|
Новые опытные раздатчики-смесители: КС-Ф-0,8 |
Смешивают и раздают все виды кормов, кормосмеси влажностью 65...80%, сухой комбикорм, обрат или сыворотку в кормовом проходе шириной 1000...1250 мм |
Производительность до 4 т/ч, вместимость бункера |
3 кВт |
35 |
ОПКБ с ЭПП ВНИИМЖ 142134, Московская обл., Подольский р-н; пос. Знамя Октября, 31 |
|
КС-Ф-2,0 |
То же в кормовом проходе шириной 1200...1450 мм |
Производительность до 10 т/ч, вместимость бункера 2м3 |
4,75 кВт |
40 |
Тоже |
|
Опытный автоматизированный раздатчик сухих кормов с программным управлением КПС-Ф-1М |
Обеспечивает нормированную выдачу комбикормов с одновременным их увлажнением смачивающей |
Производительность до 5,3 т/ч, вместимость бункера |
Установленная мощность 2,87 кВт |
284 |
ОПКБ с ЭПП ВНИИМЖ 142134, Московская обл., Подольский р-н, пос. Знамя Октября, 31 |
Продолжение таблицы
|
1 |
2 |
3 |
4 |
5 |
6 |
|
|
жидкостью в индивидуальные и групповые кормушки на фермах и в цехах-автоматах с кормовым проходом 1100...1500мм |
|
|
|
|
|
Тележка для подвоза кормов ТРК-300 |
Тоже |
Грузоподъемность |
5,5 |
|
ЗАО "Егорьевская сельхозтехника" 140300, Московская обл., г. Егорьевск, ул. 50 лет ВЛКСМ, 1 |
|
Тележка ручная ТРК-150 |
Тоже |
Грузоподъемность до |
3,0 |
|
Камышинский машиностроительный завод оборудования животнрводческих ферм 403850, Волгоградская обл. г. Камышин-16, ул. Нижняя, 112 |
|
Навозоудаление |
|||||
|
Комплект шнековых транспортеров КШТ-Ф-200А |
Во всех зонах для удаления
навоза из помещений на фермах до 200 голов l1= |
8 |
22 кВт |
265,0 |
ОПКБ с ЭПП ВНИИМЖ, 142134, Россия, Московская обл., Подольский р-н, пос. Знамя Октября, Тоцкий опытно-специализированный завод. 461120, Оренбургская обл., Тоцкий р-н, с. Тоцкое, ул.Заводская, 1 |
|
|
|
|
|
||
|
Транспортер навозоуборочный шнековый КОШ-Ф-100 |
Во всех зонах удаления навоз из помещений на фермах до 100 голов, l1=70м, l2=20м |
6 |
14 кВт |
160,0 |
Тоже |
l1 - длина продольного канала, l2 - длина поперечного канала. l3 - длина контура
Продолжение таблицы
|
1 |
2 |
3 |
4 |
5 |
6 |
|
Транспортер навозоуборочный шнековый КОШ-Ф-50 |
Во всех зонах для удаления навоза из помещений на фермах до
50
гол., l1= |
6 |
7 кВт |
90,0 |
ОПКБ с ЭПП ВНИИМЖ 142134, Россия, Московская обл., Подольский р-н пос. Знамя Октября |
|
Транспортер пластинчатый навозоуборочный ТПН-Ф-160 |
Во всех зонах на фермах с
привязным содержанием до 100 голов, l3 = |
10 |
4 кВт |
3500 у.е. |
То же |
|
Транспортеры скребковые навозоуборочные ТСН-160,ТСН- 160Б |
Во всех зонах для удаления навоза из помещений с одновременной погрузкой в транспортные средства (вместимость 100 голов) |
4,8...5,1 |
5,5 кВт |
3600 у.е. |
"Ковальсельмаш" 264410, Украина, г. Ковель, Волынская обл. ул. Желябова, 2. 612440,Кировская обл., г. Зуевка. Ул. Водопроводная, 12 |
|
Транспортер скребковый ТСН-3,0б |
Во всех зонах для уборки навоза из помещений и погрузки его в транспортные средства на фермах крупного рогатого скота при привязном содержании животных, 13=170м |
4...5,5 |
5,5...6,2 |
3100 у.е. |
ОАО "Луховицкая СХТ" 396700, Россия, Воронежская обл., с. Митрофановка 140560, Московская обл., Луховицкий р-н, пос. Сельхозтехника |
|
Транспортер навозоуборочный КСН-Ф-100 |
Во всех зонах для удаления навоза из помещений с одновременной погрузкой в транспортные средства, 13=160м |
5,7 |
5,5 |
3400 у.е. |
АО "Реммаш" 427600, Удмуртская Республика. г. Глазов, ул.Драгунова, 13 |
|
Транспортер скребковый навозоуборочный ТСН-80 |
Во всех зонах для удаления навоза из помещений вместимостью до 50 голов, l3= |
5,1 |
4,5...5,2 |
|
"Ковельсельмаш" 261410, Волынская обл., г. Ковель, ул. Желябова, 2 |
Продолжение таблицы
|
1 |
2 |
3 |
4 |
5 |
6 |
|
Конвейер навозоуборочный поперечный КНП-10А |
Во всех зонах для удаления
навоза из животноводческих
помещений от продольных транспортеров в приямок или к выгрузной системе, l3= |
10 |
4 |
|
"Елгавсельмаш" 229601 .Латвийская Республика, г. Елгава, ул. Рупниецибас, 39 |
|
Конвейеры скребковые универсальные продольные и поперечные типоразмерный ряд КСУ-Ф-1 |
Во всех зонах на фермах при содержании животных на частично щелевых полах, l3 =66...252м |
9...11 |
3...6 |
|
"Сумсельмаш" 244024, Украина, г. Сумы, ул. Харьковская, 6 |
|
Комплект оборудования для анаэробного сбраживания навоза К-Р-9-1 |
В зонах с минимальной температурой не ниже минус 15°С |
30... 50 т/сутки |
150 |
|
Шумихинский машиностроительный завод, 641100, Курганская обл., г. Шумиха, ул. Ленина, 1 |
|
Транспортер скребковый универсальный ТС-Ф-40-3М |
Во всех зонах для транспортировки твердой фракции навоза после центрифуг в технологических линиях разделения навоза на фракции |
40 |
2,2 |
1035 у.е. |
АООТ «Илишевское ремонтно-техническое предприятие» 452260, Республика Башкортостан, Илишевский р-н, с. Верхнеяркево |
|
Центрифуга для разделения жидкого помета и навоза |
Во всех зонах для навоза и помета влажностью свыше 91% |
25 |
15 |
55 |
ВНИИКОМЖ 101509, Москва, ГСП-4, ул. Лесная, 43 |
|
Ротор-турбина КПС-108.61.08.000 |
Во всех зонах, на свиноводческих комплексах промышленного типа |
25...50 |
0,37 |
135 |
Липецкий опытно-экспериментальный завод 398009, Россия, г. Липецк, ул. Юношеская, 1 |
|
Комплект оборудования для биотермической стабилизации навоза |
Во всех зонах на фермах КРС и свиноводческих |
10...15 |
|
|
ОПКБ с ЭПП ВНИИМЖ 142134,Московская обл., Подольский р-н, пос. Знамя Октября |
Продолжение таблицы
|
1 |
2 |
3 |
4 |
5 |
6 |
|
Погрузчик жидкого навоза ПНЖ-Ф-250А |
Во всех зонах на фермах КРС и свиноводческих с бесподстилочным содержанием животных и механическими системами уборки навоза |
250...300 |
От вала отбора мощности трактора gх=10л/ч |
|
«Новокузнецксельмаш» 654029, Кемеровская обл., г. Новокузнецк, ул. Вокзальная, 4 |
|
Транспортер-дозатор КПС-108.60.03.000 |
Во всех зонах на свиноводческих комплексах промышленного типа |
2...10 |
12 |
|
Шумихинский машиностроительный завод 641100, Курганская обл., г. Шумиха, ул. Ленина, 1 |
|
Измельчитель навоза ИН-Ф-20 |
Во всех зонах при бесподстилочном содержании животных и механических системах уборки навоза |
20 |
11 |
65 |
Липецкий опытно-экспериментальный завод средств механизации 398009, Россия, г. Липецк, ул. Юношеская, 1 |
|
gх - расход горючего. |
|||||
|
Установка скреперная УС-Ф-170 |
Во всех зонах на фермах КРС
при боксовом или комбибоксовом содержании животных в помещении длиной до |
0,7...2,1 |
0,5...1,44 |
|
«Ковельсельмаш» 264410, Волынская обл., г. Ковель, ул. Желябова, 2 |
|
Навозоуборщик |
Во всех зонах, на фермах КРС для уборки навоза из проходов и выгульных площадок |
6,6 |
Навешивается на стрелу фронтального погрузчика |
|
НПО «Нечерноземагромаш» 189625, Ленинградская обл., г. Пушкин, п/о Тярлево, Фильтровское шоссе, 3 |
|
Установка скреперная УС-Ф-0,25 |
Во всех зонах на фермах КРС
из-под щелевых полов до
|
До 3 |
3 |
72 |
ОПКБ с ЭПП ВНИИМЖ 142134, Россия, Московская обл., Подольский р-н, пос. Знамя Октября |
|
Установка скреперная УС-250А |
Во всех зонах на фермах КРС
при боксовом или комбибоксовом содержании животных в помещениях длиной до |
1...2.1 |
1,5...2,2 |
|
«Ковельсельмаш» 264410, Волынская обл., г. Ковель, ул. Желябова, 2 |
|
Установка для транспортирования навоза УТН-Ф-20 |
Во всех зонах для транспортирования навоза относительной влажностью 90% по трубопроводу до навозохранилища до 1000 голов |
10 |
15 |
|
«Елгавсельмаш»229601, Латвийская Республика, Елгава, ул. Рупниецибас, 39 |
|
Оборудование для выгрузки навоза ОВН-Ф-5 |
Во всех зонах для выгрузки навоза из поперечного канала |
4,5 |
4 |
|
То же |
|
Насос для перекачки жидкого навоза НЦН-Ф-100/30(погружной) |
Во всех зонах на фермах с бесподстилочным содержанием животных |
100 |
30 |
230 |
ОПКБ с ЭПП ВНИИМЖ 142134, Россия, Московская обл., Подольский р-н, пос. Знамя Октября |
|
Насосы центробежный с измельчителем НЦИ-Ф-100 |
Тоже |
100 |
11 |
1880 у.е. |
«Белебейсельмаш» 452030, Россия, г. Белебей, Башкортостан, ул. Пролетарская, 64 |
|
Насосы для жидкого навоза ЖН-200Б, НЖН-200А-1 |
Во всех зонах на фермах с бесподстилочным содержанием животных |
300...340 |
22…23 |
1760 у.е |
Осинский машиностроительный завод оборудования животноводческих ферм 618120, Россия, Перская обл., г. Оса, ул. Крыловская, 5 |
|
Насос для перекачки жидкого навоза НЦН-Ф-80/30П (плавающий) |
Во всех зонах на фермах с бесподстилочным содержанием животных |
100 |
30 |
180 |
ОПКБ с ЭПП ВНИИМЖ 142134, Россия, Московская обл., Подольский р |
|
Самопогрузчик универсальный У-Ф-04 |
Во всех зонах на фермах и комплексах по производству молока, говядины и свинины. Обеспечивает чистку навозных проходов, площадок, погрузку и перевозку грузов |
12 |
|
35 (без стой мости шасси) |
ОПКБ с ЭПП ВНИИМЖ 142134, Россия, Московская обл., Подольский р |
Продолжение таблицы
|
1 |
2 |
3 |
4 |
5 |
6 |
|
Кран козловой ККС-Ф-2 |
Во всех зонах для приготовления компостных смесей из навоза КРС и свиней |
30 на компостировании 72 на погрузке |
12,2 |
|
«Орелживмаш» 302008, Россия, г. Орел, Крымское шоссе, |
|
Установка для обезвоживания навоза ЦН-Ф-50 |
Во всех зонах на фермах и комплексах промышленного типа для разделения навоза на фракции влажностью более 94% |
50...100 |
30 |
72 |
ОПКБ с ЭПП ВНИИМЖ 142134, Россия, Московская обл., Подольский р-н, пос. Знамя Октября |
|
Комплекс машин для производства компостных смесей КМКС-10 |
Во всех зонах на фермах по производству молока и свинины с механическими системами уборки навоза. Обеспечивает приготовление компостов в процессе уборки навоза из помещений |
10 |
33 |
280 |
ОПКБ с ЭПП ВНИИМЖ 142134, Россия, Московская обл., Подольский р-н, пос. Знамя Октября |
|
Обеспечение микроклимата |
|||||
|
Комплекс оборудования «Климат-45М» |
Животноводческие фермы и комплексы |
95 тыс. м3/ч |
Электрический 6 кВт |
21,1 |
АО «Нерчинск-птицемаш» |
|
Комплекс оборудования «Климат-47М» |
Животноводческие фермы и комплексы |
140 тыс. м3/ч |
Электрический 10 кВт |
23,3 |
АО «Уфасельмаш» |
|
Вентиляционная установка с утилизацией теплоты «Агровент» |
Молочные фермы (одна установка на 1000...150 коров) |
Подача свежего воздуха 3 тыс. м3/ч, удаляемого -4,8 м3/ч |
Электрический суммарная мощность 2,8 кВт - |
26 |
ОПКБ с ЭПП ВНИИМЖ 142134, Россия, Московская обл., Подольский р-н, пос. Знамя Октября |
|
Вентиляционная установка с утилизацией теплоты «Агроклимат» |
Молочные фермы (одна установка на30...50 коров) |
Подача воздуха 1 тыс. м /ч |
Теплопроизводительность 12 кВт -в том числе электрокало- |
23,2 |
АО «ДоКон», г. Домодедово Разработчик-Ж ВНИИМАО |
Продолжение таблицы
|
1 |
2 |
3 |
4 |
5 |
6 |
|
Тепловентиляры: |
Животноводческие помещения |
Подача воздуха: |
Тепловая мощность: |
|
«Калориферный завод» г. Кострома |
|
УВЭ-15 |
1...1,5 тыс. м3/ч. |
15 |
6,5 |
||
|
УВЭ-30 |
1,5...2,5 тыс. м3/ч |
30 |
8,2 |
||
|
УВЭ-45 |
2,5...3,5 тыс. м3/ч |
45 |
12,3 |
||
|
Тепловентиляторы: |
Животноводческие помещения |
Подача воздуха: |
Тепловая мощность: |
6 |
Разработчик – АО «ВНИИКОМЖ» |
|
ЭКЛ-1 |
от 14 до 20 тыс. м /ч |
28...85 кВт |
36 |
||
|
ЭКЛ-2 |
от 14 до 18 тыс. м /ч |
56...170 кВт |
45 |
||
|
Тепловентиляторы: |
Животноводческие помещения |
Подача воздуха: |
Установленная мощность: |
|
АО «Нерчинскптицемаш» |
|
ТВ-6 |
от 3 до 6 тыс. м3/ч |
0,55...2,2 кВт |
7,3 |
||
|
ТВ-9 |
от 4,5 до 9 тыс. м /ч |
2,3...3,7кВт |
9 |
||
|
ТВ-12 |
от 6 до 12 тыс. м3/ч |
3,2...5,2 кВт |
12 |
||
|
ТВ-18 |
от 9 до 18 тыс. м3/ч |
4,2...7,1 кВт |
14 |
||
|
ТВ-24 |
от 12 до 24 тыс. м /ч |
6...9 кВт |
17 |
||
|
Комплекты приточно-вытяжных установок: ПВУ-М ПВУ-4М ПВУ-6М |
Животноводческие помещения |
Подача воздуха на притоке 33 тыс. м3/ч, на вытяжке 27 тыс. м3/ч, на притоке 45 тыс. м3/ч, на вытяжке 39 тыс. м3/ч |
Установленная мощность 97,7 кВт, тепловая 15 кВт Установленная мощность 105 кВт, тепловая 15 кВт |
50 0,35 |
АО «Тверьагропромэнерго» |
|
Панели электрообогреваемые бетонные ПЭБ-0,75/110 |
Телятники, свинарники-маточники, свинарники доращивания молодняка |
Две панели на одно ското-место (один теленок, 5...10 поросят) |
1,4 кВт |
0,35 руб/шт. |
АО «Тверьагропромэнерго» |