РЕКОМЕНДАЦИИ
ПО ПРОЕКТИРОВАНИЮ, ИЗГОТОВЛЕНИЮ И
БЕЗОПАСНОЙ ЭКСПЛУАТАЦИИ ОПОРНЫХ КРЕПЛЕНИЙ
БАШЕННЫХ КРАНОВ К СТРОИТЕЛЬНЫМ СООРУЖЕНИЯМ
____________Р.М. Арутюнян
29 февраля 2008 г.
Открытое
акционерное общество «Специальное конструкторско-
технологическое бюро башенного краностроения»
(ОАО «СКТБ БК»)
СОГЛАСОВАНО |
СОГЛАСОВАНО |
Начальник Управления государственногостроительного надзора Ростехнадзора ____________________ B.C. Котельников 11 июля 2007 г.
|
Руководитель Московского межрегионального территориального управления технологического и экологического надзора Ростехнадзора _____________________ Ю.В. Артюх 6 июля 2007 г. |
РЕКОМЕНДАЦИИ ПО
ПРОЕКТИРОВАНИЮ, ИЗГОТОВЛЕНИЮ И
БЕЗОПАСНОЙ ЭКСПЛУАТАЦИИ ОПОРНЫХ КРЕПЛЕНИЙ
БАШЕННЫХ КРАНОВ К СТРОИТЕЛЬНЫМ СООРУЖЕНИЯМ
____________ Р.М. Арутюнян
3 июня 2007 г.
Предисловие
1. Разработан и утвержден ОАО «Специальным конструкторско-технологическим бюро башенного краностроения (ОАО «СКТБ БК») - головной организацией по краностроению
129301, г. Москва, ул. Касаткина, 11
т/ф 683-41-83
2. Разработчики Гехт А.Х., Жуков В.Г., Инденбаум А.И., Колпаков В.П., Котельников B.C., Леонов П.А., Поляков Л.Н., Прикащиков Р.Г., Степанов Б.М.
3. Введен в действие: с 01.10.2007
4. Взамен: Разработан впервые
содержание
Руководящий нормативный документ
|
Рекомендации по
проектированию, изготовлению и |
РД 22-28-38-2007 Разработан впервые |
Дата введения: 01.10.2007
1.1. Настоящие Рекомендации предназначены для организаций и индивидуальных предпринимателей; занимающихся проектированием, изготовлением или эксплуатацией опорных креплений башенных кранов к строительным сооружениям.
1.2. Рекомендации определяют требования к проектированию, изготовлению и эксплуатации опорных креплений башенных кранов к строительным сооружениям.
Опорное крепление башенного крана - система горизонтальных опор, удерживающая башню крана в вертикальном положении и передающая нагрузки от крана на сооружение.
Опора горизонтальная - система связей, соединяющих башню крана со строительным сооружением на определенной высоте башни и передающих нагрузку от крана на сооружение.
Связь - металлическая стержневая конструкция, входящая в горизонтальную опору, состоящая из одного или нескольких звеньев.
Контрольные испытания - испытания опорного крепления башенного крана, выполняемые при установке первой горизонтальной опоры на строительном сооружении с целью решения вопроса о возможности использования этого опорного крепления.
3.1. Проектирование опорного крепления башенного крана выполняется головными организациями по краностроению или специализированными организациями по башенным кранам. Руководители и специалисты данных организаций должны быть аттестованы по вопросам промышленной безопасности и на знание настоящих Рекомендаций.
3.2. При разработке проектов опорных креплений соблюдаются установленные нормативные и технические требования к конструкциям башенных кранов и строительным сооружениям.
3.3. Проект на изготовление опорного крепления включает:
а) техническое задание (заявку), рекомендации по разработке которого приведены в приложении № 2;
б) комплект чертежей, расчеты, паспорт с разделом по эксплуатации и монтажу опорного крепления (форма паспорта приведена в приложении № 3);
в) рабочую программу и методику испытания опорного крепления, рекомендации по разработке к которых приведены в приложении № 4;
г) заключение экспертизы промышленной безопасности проекта, выполненной экспертной организацией, имеющей лицензию Ростехнадзора, и заключение экспертизы промышленной безопасности башенного крана (при необходимости).
Индивидуальный рабочий проект вновь создаваемого опорного крепления может быть разработан на основе существующего проекта опорного крепления - базового проекта, который используется в эксплуатации. В том случае, если геометрическая схема нового опорного крепления не отличается от схемы существующего, а расчетные нагрузки на горизонтальные опоры не выше нагрузок на горизонтальные опоры базового, экспертиза промышленной безопасности может не проводиться. При этом индивидуальный рабочий проект вновь создаваемого опорного крепления согласовывается с разработчиком базового проекта опорного крепления или должен быть представлен комплект документов, предусмотренный в подпунктах а), б), в), г) пункта 3.3. настоящих Рекомендаций.
3.4. Проекты опорного крепления во всех случаях согласовываются с организацией-проектировщиком сооружения в части расположения мест крепления горизонтальных опор и возникающих при этом нагрузок на сооружение.
Программа и методика испытаний опорного крепления базового проекта согласовывается с территориальными органами Ростехнадзора.
4.1. Изготовление опорного крепления выполняется предприятиями, получившими разрешение на применение, выданное территориальными органами Ростехнадзора. Выдача разрешений на применение осуществляется в соответствии с РД 03-485-02.
4.2. Опорные крепления изготавливаются в соответствии с проектом, действующими нормативными материалами и техническими требованиями к конструкциям башенных кранов.
4.3. Применяемые стали и сварочные материалы выбираются в соответствии с указаниями ПБ 10-382-00 и РД 22-16-2005.
4.4. Предельные отклонения от заданной геометрической формы и размеров горизонтальных опор и связей опорного крепления должны соответствовать предельным отклонениям, установленным для металлоконструкций башенных кранов по ГОСТ 13556-91 и табл. 4, 5 РД 22-207-88.
4.5. Раскрой металла, его механическая обработка и покрытия выполняются в соответствии с требованиям п. 4.1 РД 22-207-88.
4.6. Сварные соединения выполняются с учетом требований ПБ 10-382-00 и РД 22-207-88. Размеры и допуски при обработке кромок под сварку должны отвечать п. 4.1.11 РД 22-207-88. Сварные швы проверяются в соответствии с п. 3.5 ПБ 10-382-00 методами неразрушающего контроля. Не допускаются дефекты, указанные в п. 3.5.6 и 3.5.7 ПБ 10-382-00. Сварочные работы должны выполняться сварщиками, аттестованными в установленном порядке.
4.7. Геометрические размеры изготовленных опорных креплений контролируются с использованием средств и методов в соответствии с п. 4.3.2.10 ГОСТ 13556-91 и в п. 9 РД 22-28-36-01.
4.8. Каждое изготовленное опорное крепление подвергается приемосдаточным испытаниям службой контроля продукции предприятия-изготовителя по разработанной им программе. По результатам испытаний оформляется паспорт опорного крепления.
4.9. При повторном использовании горизонтальных опор и связей, бывших в употреблении, их применение в новом опорном креплении отражается в технической документации. При этом они обследуются, при необходимости производится ремонт и составляется акт с оценкой их состояния. Повторное применение горизонтальных опор и связей отражается в паспорте на опорное крепление.
4.10. Элементы опорных креплений маркируются в соответствии с проектом. Маркировка может быть нанесена несмываемой краской. Сохранность маркировки должна обеспечиваться в течение срока эксплуатации крепления.
5.1. Монтаж и демонтаж опорного крепления выполняется с соблюдением требований, указанных в паспорте и в соответствии с проектом производства работ (ППР).
5.2. После установки первой горизонтальной опоры, соединяющей башенный кран со строительным сооружением, опорное крепление подвергается контрольным испытаниям в соответствии с программой и методикой. Испытания осуществляются комиссией, в которую входят представители организации - разработчика опорного крепления, организации, эксплуатирующей кран, организации - производителя работ на строящемся объекте.
Работа комиссии оформляется актом, где указывается, что опорное крепление смонтировано и установлено в соответствии с проектом и паспортом и выдержало испытания, а нагрузки, действующие на возводимое сооружение от крана, соответствуют расчетной прочности сооружения. Акт прикладывается к паспорту крепления. При этом, если в опорном креплении используются горизонтальные опоры, существенно отличающиеся по конструкции от испытанной, комиссия может принять решение о необходимости проведения повторных контрольных испытаний при установке этих опор. Пуск в работу крана после монтажа, установки первой и каждой следующей горизонтальной опоры осуществляется государственным инспектором территориального органа Ростехнадзора с учетом требований настоящих рекомендаций. Вызов инспектора для пуска осуществляется владельцем крана в установленном порядке.
5.3. После установки других горизонтальных опор крепления, аналогичных по конструкции первой опоре, кран подвергается контролю и испытаниям в соответствии с инструкцией по монтажу завода изготовителя. В том случае, если контроль и испытания крана после установки горизонтальных опор крепления инструкцией по монтажу не предусмотрены, он подвергается контролю и испытаниям в объеме частичного технического освидетельствования с проведением динамических испытаний номинальными грузами.
5.4. В процессе эксплуатации крановщиком и ИТР, ответственным за содержание крана в исправном состоянии, согласно паспорта крана осуществляется контроль за состоянием опорного крепления в соответствии с требованиями, указанными в паспорте. При этом обязательному контролю подвергаются состояние болтовых соединений и сварных швов. Ослабление болтовых соединений, наличие смещений и зазоров выше установленных значений, а так же трещин в сварных швах и элементах опорного крепления не допускается.
Состояние сооружения в местах присоединения горизонтальных опор контролируется согласно паспорту крана, но не реже чем через каждые десять дней крановщиком и ИТР, ответственным за содержание крана в исправном состоянии, с записью результатов осмотра в вахтенный журнал крановщика. Наличие трещин в конструкциях сооружения не допускается.
5.5. При обнаружении дефектов в конструкциях опорного крепления или сооружении эксплуатация крана прекращается. Дефекты незамедлительно устраняются. При этом ремонт выполняется в соответствии с ПБ 10-382-00 и РД 22-322-02 с демонтажом и заменой дефектного узла конструкции либо на смонтированной опоре по специальному проекту. Во всех случаях сварные швы при ремонте должны контролироваться методами неразрушающего контроля.
В процессе ремонтных работ особое внимание должно быть обращено на безопасность крана и сооружения.
Сведения о выполненном ремонте отражаются в акте, в т.ч. данные о примененном материале с указанием сертификата.
|
Краны башенные строительные. Общие технические условия. |
|
|
Машины, приборы и другие технические изделия. Исполнения для различных климатических районов. Категории, условия эксплуатации, хранения и транспортирования в части воздействия климатических факторов внешней среды. |
|
|
3. ПБ 10-382-00 |
Правила устройства и безопасной эксплуатации грузоподъемных кранов. |
|
Межотраслевые правила по охране труда при работе на высоте. |
|
|
Межотраслевые правила по охране труда (правила безопасности) при эксплуатации электроустановок. |
|
|
6. РД 03-485-02 |
Положение о порядке выдачи разрешений на применение технических устройств на опасных производственных объектах. |
|
7. РД 10-525-03 |
Рекомендации по проведению испытаний грузоподъемных машин. |
|
8. РД 22-16-2005 |
Машины грузоподъемные. Выбор материалов для изготовления, ремонта и реконструкции сварных стальных конструкций. |
|
9. РД 22-207-88 |
Машины грузоподъемные. Общие требования и нормы на изготовление. |
|
10. РД 22-322-02 |
Краны грузоподъемные. Технические условия на капитальный, полнокомплектный и капитально-восстановительный ремонты. |
|
11. РД 22-28-36-01 |
Краны грузоподъемные. Типовые программы и методики испытаний. |
|
12. РД 22-28-37-02 |
Требования к организации и проведению работ по монтажу (демонтажу) грузоподъемных кранов. |
|
13. СНиП 12-03-99 |
Безопасность труда в строительстве ч.1. Общие требования. |
|
14. ИТОс 22-01-01 |
Инструкция по проведению технического освидетельствования крана. |
|
15. РД 11-06-2007 |
Методические рекомендации о порядке разработки проектов производства работ грузоподъемными машинами и технологических карт погрузочно-разгрузочных работ. |
Техническое задание содержит следующие данные:
а) марку крана;
б) адрес объекта;
в) условия климатического исполнения;
г) раздел проекта производства работ (ППР), относящийся к установке башенного крана к строительному сооружению и креплению его по мере возведения сооружения;
д) план типового этажа, если все этажи одинаковые (или план всех отличающихся этажей, где согласно ППР должны устанавливаться опоры крепления);
е) вертикальный разрез здания со стороны башенного крана;
ж) для стационарного приставного крана, установленного на фундаменте, исполнительные размеры фундамента крана относительно строительного сооружения в плане и отметке верха фундамента под кран относительно нулевой отметки сооружения;
з) для крана на рельсовом ходу фактические координаты рельсового пути относительно здания и фактическая отметка головки рельса относительно нулевой отметки возводимого сооружения и место установки крана в приставном исполнении;
и) возможность повторного использования ранее применявшихся горизонтальных опор и связей;
к) нагрузки на опорное крепление от крана для рабочего и нерабочего состояния;
л) требования к местам присоединения горизонтальных опор к башне крана и к сооружению, требования к доступу к местам присоединений горизонтальных опор с соответствующими чертежами (эскизами);
м) в случае необходимости использования опорного крепления для установки переходных приспособлений (мостиков) должны быть указаны параметры каждого приспособления: высота расположения, длина, ширина, высота ограждений, предельная нагрузка на приспособление (мостик);
н) требования к транспортировке, максимальная масса и предполагаемые размеры перевозимых узлов опорного крепления;
о) данные по монтажу и демонтажу опорного крепления, включающие:
- схему монтажа и демонтажа, разработанную с учетом специфики сооружения и места установки крана;
- последовательность выполнения операций монтажа и демонтажа опорного крепления;
- механизмы и приспособления для проведения монтажа и демонтажа, в т.ч. подъемные механизмы, установленные на кране, а так же другие грузоподъемные краны.
|
ОПОРНОЕ КРЕПЛЕНИЕ КРАНА К СТРОИТЕЛЬНОМУ ______________________________________________________________________________ ______________________________________________________________________________ (индекс, номер по чертежам) ПАСПОРТ ХХХХ.ХХ.00.000 ПС ______________________________________________________________________________ (обозначение паспорта)
|
|
|
Разрешение на применение№ ________________________________ от «___ » ____________________200 _г. территориального органа Ростехнадзора ___________________________________ ___________________________________ ___________________________________
|
|||||||||||||||||||||||||||||||||||||||||||||||||||||||||||||||||||||||||||||||||||||||||||||||||||||||||||||||||||||||||||||||||||||||||||||||||||||||||||||||||||||||||||||||||||||||||||||||||||||||||||||||||||||||||||||||||||||||||||||||||||||||||||||||||||||||||||||||||||||||||||||||||||||||||||||||||||||||||||||||||||||||||||||||||||||||||||||||||||
|
1. Изготовитель и его адрес |
ХХХХХ ______________________________________ |
|||||||||||||||||||||||||||||||||||||||||||||||||||||||||||||||||||||||||||||||||||||||||||||||||||||||||||||||||||||||||||||||||||||||||||||||||||||||||||||||||||||||||||||||||||||||||||||||||||||||||||||||||||||||||||||||||||||||||||||||||||||||||||||||||||||||||||||||||||||||||||||||||||||||||||||||||||||||||||||||||||||||||||||||||||||||||||||||||||
|
2. Наименование и обозначение узла |
Опорное крепление башенного крана ______________________________________ |
|||||||||||||||||||||||||||||||||||||||||||||||||||||||||||||||||||||||||||||||||||||||||||||||||||||||||||||||||||||||||||||||||||||||||||||||||||||||||||||||||||||||||||||||||||||||||||||||||||||||||||||||||||||||||||||||||||||||||||||||||||||||||||||||||||||||||||||||||||||||||||||||||||||||||||||||||||||||||||||||||||||||||||||||||||||||||||||||||||
|
3. Заводской номер |
XXX ______________________________________ |
|||||||||||||||||||||||||||||||||||||||||||||||||||||||||||||||||||||||||||||||||||||||||||||||||||||||||||||||||||||||||||||||||||||||||||||||||||||||||||||||||||||||||||||||||||||||||||||||||||||||||||||||||||||||||||||||||||||||||||||||||||||||||||||||||||||||||||||||||||||||||||||||||||||||||||||||||||||||||||||||||||||||||||||||||||||||||||||||||||
|
4. Дата изготовления |
ХХ.ХХ ______________________________________ |
|||||||||||||||||||||||||||||||||||||||||||||||||||||||||||||||||||||||||||||||||||||||||||||||||||||||||||||||||||||||||||||||||||||||||||||||||||||||||||||||||||||||||||||||||||||||||||||||||||||||||||||||||||||||||||||||||||||||||||||||||||||||||||||||||||||||||||||||||||||||||||||||||||||||||||||||||||||||||||||||||||||||||||||||||||||||||||||||||||
|
5. Назначение |
Удержание кранов в проектном рабочем положении в приставном варианте к сооружению ______________________________________ |
|||||||||||||||||||||||||||||||||||||||||||||||||||||||||||||||||||||||||||||||||||||||||||||||||||||||||||||||||||||||||||||||||||||||||||||||||||||||||||||||||||||||||||||||||||||||||||||||||||||||||||||||||||||||||||||||||||||||||||||||||||||||||||||||||||||||||||||||||||||||||||||||||||||||||||||||||||||||||||||||||||||||||||||||||||||||||||||||||||
|
6. Основные параметры и данные по окружающей среде |
Исполнение У1 ГОСТ 15150-69, среда негорючая, непожаробезопасная, ветровой район I, сейсмичность до 6 баллов |
|||||||||||||||||||||||||||||||||||||||||||||||||||||||||||||||||||||||||||||||||||||||||||||||||||||||||||||||||||||||||||||||||||||||||||||||||||||||||||||||||||||||||||||||||||||||||||||||||||||||||||||||||||||||||||||||||||||||||||||||||||||||||||||||||||||||||||||||||||||||||||||||||||||||||||||||||||||||||||||||||||||||||||||||||||||||||||||||||||
|
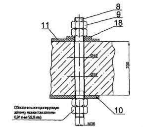
7. Место применения крана и адрес сооружения, на котором установлен кран - г. Москва, Партизанская ул., 14 7.1. Марка крана, на который устанавливается опорное крепление - КБ-474 7.2. Заводской номер крана - № 153 7.3. Адрес установки крана - г. Москва, Партизанская ул., 14 8. Описание опорного крепления крана Опорное крепление хххх СБ (см. рис. 1) состоит из четырех (количество) горизонтальных опор (хххх. 10СБ), устанавливаемых на отметках 30; 50; 70; 90 м. (указать высоты отметок) Каждая горизонтальная опора состоит из отдельных связей и по концам крепится к башне крана и к строящемуся сооружению (см. рисунки № 2, 4). Каждая связь может состоять из одного или нескольких звеньев (см. рисунок № 3). Для подсоединения связей крана к зданию устанавливаются стойки (см. рисунки № 1, 4) с приваренными к ним проушинами. Стойки устанавливаются на пластины, стянутые шпильками (см. рисунки № 1, 7). ______________________________________________________________________________ ______________________________________________________________________________ ______________________________________________________________________________ ______________________________________________________________________________ ______________________________________________________________________________ ______________________________________________________________________________ ______________________________________________________________________________ ______________________________________________________________________________ ______________________________________________________________________________ ______________________________________________________________________________ ______________________________________________________________________________ 9. Требования к монтажу Монтаж и демонтаж опорного крепления выполняется в соответствии с проектом производства работ (ППР) и настоящим паспортом. Из ППР используется: - указания по применению механизмов приспособлений и других грузоподъемных кранов для демонтажа и монтажа опор; - схема монтажа и монтажа опор на различных высотных отметках с последовательностью выполняемых рабочих операций. Схема строповки узлов и звеньев опор при монтаже и демонтаже приведена на рисунке № 5. Установка горизонтальных опор на различных высотных отметках указана на рисунке № 1 и соответствует маркировке, приведенной на этом рисунке. Она выполняется в соответствии с особенностями конструкции опорного крепления и креплений его опор к крану и сооружению (рисунки № 2, 3, 4) с учетом требования безопасного выполнения работ при сборке связей и их звеньев. Монтаж опорного крепления начинается с установки в нижнем и верхнем перекрытиях на нужной высотной отметке пластин 10 и 11 (М10; М11), стянутых через толщину перекрытий шпильками 8 (М9). См. установку пластин согласно разрезу Е-Е (см рисунки № 6, 7). Между пластинами вертикально устанавливаются стойки 4 (М5). Зазор между верхним торцом стойки и нижней поверхностью верхнего перекрытия ликвидируется приваркой двух обечаек 17 (М19). Нижний торец стойки приваривается к пластине 10 (М10), (см рисунки № 4, 6,). К стойкам 4 (М5) на соответствующей проекту отметке крепления крана приваривается проушины 7 (M8). Все сварные швы - по ГОСТ 5264-80. Связи 1, 2, 3 (М2, М3, М4) соединяются с местами крепления на башне крана и проушинами 7 (М8) пальцами 5 и 6 (М6, М7) (см. рисунки № 1, 2, 4). Демонтаж проводится в обратном порядке. В первую очередь демонтируются связи, а потом - узлы и детали, смонтированные в здании.
_________________ *)Примечание. Заполняется заводом-изготовителем. 11. Техническое обслуживание Требование к техническому обслуживанию опорного крепления. Техническое обслуживание опорного крепления производится крановщиком или ИТР, ответственным за исправное состояние крана, при проведении ТО-1 и ТО-2 крана. В процессе технического обслуживания контролируется состояние горизонтальных опор, мест крепления их к башне и к несущим конструкциям сооружения: проверяется затяжка болтов до проектного значения момента, наличие смещений или зазоров от сдвигов, возникновение дефектов в несущих конструкциях, состояние сварных швов. Наличие дефектов в металлоконструкциях, трещин в сварных швах не допускается. Один раз в 10 дней производится осмотр мест несущих конструкций сооружения, к которым крепятся горизонтальные опоры. Осмотр выполняется крановщиком или ИТР, ответственным за содержание крана в исправном состоянии, с записью в вахтенном журнале. ______________________________________________________________________________ ______________________________________________________________________________ ______________________________________________________________________________ 12. Максимальная масса одного элемента опорного крепления, т13. Данные о металле, из которого изготовлены элементы х)
_________________ х)Примечание. Заполняется заводом-изготовителем. При использовании узлов устройства, бывших в употреблении, приводятся данные о металле из которого они изготовлены, а возможность их повторного применения подтверждается Актом № ___ от _________200 г. ПЕРЕЧЕНЬ МОНТАЖНЫХ МАРОК
*) Примечание: заполняется заводом-изготовителем. 14. Свидетельство о приемке. Опорное крепление башенного крана зав. № _________________________ изготовлено в соответствии с проектом___________________________________ и «Рекомендациями по проектированию, изготовлению и безопасной эксплуатации опорных креплений башенных кранов к строительным сооружениям», принято ОТК и признано годным для эксплуатации с указанными в паспорте параметрами. 15. Гарантийный срок службы 18 мес.
|
||||||||||||||||||||||||||||||||||||||||||||||||||||||||||||||||||||||||||||||||||||||||||||||||||||||||||||||||||||||||||||||||||||||||||||||||||||||||||||||||||||||||||||||||||||||||||||||||||||||||||||||||||||||||||||||||||||||||||||||||||||||||||||||||||||||||||||||||||||||||||||||||||||||||||||||||||||||||||||||||||||||||||||||||||||||||||||||||||||

Рисунок 1. Общий вид опорного крепления ХХХХ СБ (М)
1 - Связь ХХХХ.11 СБ (М2), 2 - Связь ХХХХ.11 СБ (М3), 3 - Связь ХХХХ.11 СБ (М3), 7 - Проушина ХХХХ.10.003 (М8), 10 - Пластина ХХХХ.10.005 (М10)

Рисунок 2. Узел крепления горизонтальной опоры к башне крана.
5 - Палец ХХХХ. 10.001 (М6),

Общий вид связи ХХХХ.11 СБ (ХХХХ.12 СБ; ХХХХ.13 СБ) горизонтальной опоры.
12 - Проушина хххх. 11.10. СБ (М12), 13 - Гайка левая хххх.11.001 (М13), 14 - Винт хххх.11.002 (М14), 15 - Гайка хххх.11.003 (М15), 16 - Вставка хххх.11.20 СБ (М16) [хххх.12.10. СБ (М17); хххх.13.10. СБ (М18)]
Г-Г (см. рис. 1)

Узел крепления горизонтальной опоры к строящемуся сооружению на отметке.
4 - Стойка ХХХХ.14 СБ (М5), 6 - Палец ХХХХ. 10. 002(М7), 7 - Проушина ХХХХ.10.003 (М8) 8 - Шпилька ХХХХ. 10.004 (М9), 9 - Гайка М36, 10 - пластина ХХХХ.10.005(М10)

Рисунок 5 Схемы строповки элементов горизонтальных опор.
Е-Е (см. рис 4)

17 - Обечайка ХХХХ.10.007 (М19),
П-П (см. рис 6)

8 - Шпилька ХХХХ.10.004(М9), 9 - Гайка М36, 10 - Пластина ХХХХ.10.005 (М10), 11 - Пластина ХХХХ.10.006 (М11), 18 - Шайба ХХХХ.10.008 (М20)
1. Программа и методика контрольных испытаний опорного крепления разрабатывается в соответствии с требованиями, изложенными в ПБ 10-382-00, РД 22-28-36-01, РД 10-525-03. При этом программа работ подготавливается, исходя из необходимости обязательного проведения испытаний при установке первой настенной опоры. Испытания последующих опор производятся в случае, если они существенно отличаются от первого крепления или по решению комиссии.
2. Программа и методика контрольных испытаний определяет сведения по опорному устройству, условия, цели, задачи и состав испытания, требования к средствам и процедуре испытаний и так же другие требования, обеспечивающие необходимую точность, воспроизводимость результатов испытаний, безопасность проведения испытаний и охрану окружающей среды.
2.1. Сведения по опорному креплению содержат: его индекс, данные об изготовителе, сведения по крану, на котором оно устанавливается (индекс крана и его рег. №) и сведения по строительному сооружению, на котором устанавливается кран (краткая характеристика и адрес, координаты опорного крепления по осям здания и по высоте привязки).
2.2. Условия испытаний определяют организацию работ, состав участников, их функции, ответственность и взаимодействие, требования к квалификации обслуживающего персонала, климатические условия, организацию работ с учетом требований безопасности, перечень необходимой оснастки, оборудования и средств измерений, сроки и место проведения. Устанавливается состав комиссии для контрольных испытаний. В состав комиссии включаются представители разработчика опорного крепления, владельца крана, строительной организации.
2.3. Целью испытаний является решение вопроса об использовании опорного крепления крана на строительном объекте.
Задачи испытаний определяются из условия необходимости подтверждения соответствия опорного крепления техническим требованиям на изготовление, монтаж и эксплуатацию.
2.4. Состав испытаний включает:
- рассмотрение документации;
- осмотр и оценку качества изготовления и технического состояния опорного крепления;
- испытания крана, прикрепленного к строительному сооружению.
2.4.1. Перечень документации, представляемой комиссии на рассмотрение содержит:
- разрешение территориального органа Ростехнадзора на применение опорного крепления;
- техническое задание (заявку) на разработку проекта опорного крепления;
- рабочие чертежи и паспорт опорного крепления;
- ведомость отклонения от чертежей;
- протокол взвешивания узлов опорного крепления;
- заключение экспертизы промышленной безопасности на проект опорного крепления;
- акт приемки опорного крепления ОТК завода-изготовителя;
- акт приемки выполненных работ по монтажу опорного крепления с приложением протокола измерений отклонений башни от перпендикулярности;
- проект производства работ краном в части технологии монтажа и демонтажа опорного крепления.
2.4.2. Осмотр и оценка качества изготовления и технического состояния опорного крепления, содержит:
- визуальный осмотр опорного крепления и мест крепления его горизонтальных опор к крану и возводимому сооружению;
- проверку затяжки болтовых соединений и контроля наличия устройств от самоотвинчивания;
- проверку удобства и безопасности монтажа;
- проверка сварочных швов.
2.4.3. Испытания крана с предварительной проверкой состояния башни крана, опорного крепления и мест присоединения горизонтальных опор к башне крана и сооружению содержат:
- работу крана без груза с поворотом на 360 °С в обе стороны;
- работу крана с номинальными грузами на максимальных вылетах;
- статические и динамические испытания с перегрузкой 25% и 10% от номинальной нагрузки соответственно;
- анализ удобства монтажа опорного крепления, работоспособности крепления и крана и их безопасной эксплуатации.
2.5. Результаты испытаний оформляются актом, прикладываемым к паспорту крана, составляемым комиссией для проведения контрольных испытаний.
В акте дается заключение о соответствии опорного крепления техническому заданию (заявке), рабочей документации и нормативным документам и указывается, что опорное крепление в составе крана выдержало испытания и рекомендуется к эксплуатации.
Результаты испытаний, проведенные в соответствии с программой, прилагаются к акту в виде приложений.
Если горизонтальные опоры крепления крана к сооружению унифицированы, то заключение комиссии по испытанной первой опоре распространяется также и на все остальные опоры, но при этом они подвергаются контролю и испытаниям при техническом освидетельствовании башенного крана согласно требований ПБ 10-382-00 и ИТОс 22-01-01.
Если горизонтальные опоры, существенно отличаются по конструкции от испытанной, то комиссия может принять решение о необходимости проведения контрольных испытаний и этих опор.
3. При подготовке и проведении испытаний необходимо соблюдать требования Правил ПБ 10-382-00, РД 10-525-03, СНиП 12-03, Межотраслевых правил по охране труда (правила безопасности) при эксплуатации электроустановок ПОТ РМ-012, ПОТ РМ-016, ГОСТ 13556-91, РД 22-28-36-01 и Руководства по эксплуатации и инструкции по монтажу крана.