МИНИСТЕРСТВО ПУТЕЙ СООБЩЕНИЯ РФ
Главное управление вагонного хозяйства
Специализированные
цистерны
для перевозки
опасных грузов
СПРАВОЧНОЕ ПОСОБИЕ
![]()
МОСКВА ИЗДАТЕЛЬСТВО СТАНДАРТОВ 1993
Содержатся сведения об устройстве цистерн для опасных грузов, о процессах загрузки-выгрузки и мерах безопасности при обслуживании этих вагонов.
Для работников, связанных с эксплуатацией и. обслуживанием цистерн для опасных грузов.
К опасным грузам относятся вещества и предметы; которые при транспортировании, погрузочно-разгрузочных работах и хранении могут послужить причиной взрыва, пожара или повреждения транспортных средств, складов, устройств, зданий и сооружений, а также гибели, травмирования, отравления, ожогов, облучения или заболевания людей и животных.
ГОСТ 19433-88 "Грузы опасные. Классификация и маркировка" устанавливает принципы классификации опасных грузов для транспортных целей. Согласно этому документу опасные грузы разделены на девять классов:
1 - взрывчатые материалы (ВМ); 2 - газы сжатые, сжиженные и растворенные под давлением; 3 - легковоспламеняющиеся жидкости (ЛВЖ); 4 - легковоспламеняющиеся твердые вещества (ЛВТ); самовозгорающиеся вещества (СВ); вещества, выделяющие воспламеняющиеся газы при взаимодействии с водой; 5 - окисляющие вещества (ОК) и органические пероксиды (ОП); 6 - ядовитые вещества (ЯВ) и инфекционные вещества (ИВ); 7 - радиоактивные материалы (РМ); 8 - едкие и (или) коррозионные вещества (ЕК); 9 - прочие опасные грузы.
В свою очередь, классы подразделяются на подклассы. Подклассы грузов, перевозимых в цистернах, приводятся в табл. 1.1.
Опасные грузы по железным дорогам транспортируются в универсальном или специальном подвижном составе. Допускаемые типы вагонов и контейнеров для перевозок конкретных видов опасных грузов устанавливаются техническими условиями, стандартами для конкретной продукции, и правилами перевозок грузов.
Жидкие, сжиженные и газообразные опасные грузы (а также некоторые виды твердых веществ) в случаях, предусмотренных правилами перевозок, транспортируются в вагонах-цистернах1 и контейнерах-цистернах.
___________
1Далее цистерны.
Вагоны-цистерны и контейнеры-цистерны проектируются с учетом свойств опасных грузов, для перевозок которых они предназначены, и соответственно оснащаются специальными устройствами для выполнения сливоналивных операций и обеспечения безопасности перевозок.
Вагоны-цистерны проектируются по техническим требованиям, которые разрабатываются в соответствии со следующими документами:
ГОСТ 15.001-88 "Система разработки и постановки продукции на производство. Продукция производственно-технического назначения"; ГОСТ 10674-82 "Вагоны-цистерны магистральных дорог колеи 1520 мм. Общие технические условия"; ГОСТ 14249-89 "Сосуды и аппараты. Нормы и методы расчета на прочность"; Правила устройства и безопасной эксплуатации сосудов, работающих под давлением; Нормы для расчета и проектирования новых и модернизируемых вагонов железных дорог МПС колеи 1520 мм (несамоходных). - М., МПС, МТТМ, 1983.
При разработке технических требований на проектирование и при проектировании цистерн принимаются во внимание руководящие и нормативные документы по их эксплуатации и обслуживанию. Важнейшими документами, регламентирующими правила перевозки опасных грузов, их маркировку и меры предотвращения аварийных ситуаций и способы устранения последствий таких ситуаций, являются:
ГОСТ 19433-88 "Грузы опасные. Классификация и маркировка". - М.: Изд-во стандартов, 1988; ГОСТ 22235-76 "Вагоны грузовые магистральных железных дорог колеи 1520 мм. Общие требования по обеспечению сохранности при производстве погрузочно-разгрузочных и маневровых работ". - М.: Изд-во стандартов, 1976; Правила перевозок грузов. Ч. 2. - М.: Транспорт, 1976; Правила безопасности и порядок ликвидации аварийных ситуаций с опасными грузами при перевозке их по железным дорогам. - М: Транспорт, 1984; Правила перевозок опасных грузов. - М.: Транспорт, 1987; Обеспечение сохранности грузов при железнодорожных перевозках: Справочник. - М.: Транспорт, 1982; Сборник правил перевозок и тарифов железнодорожного транспорта Союза ССР № 370. - М.: Транспорт, 1990; Соглашение о международном грузовом сообщении. - М.: Транспорт, 1974.
В зависимости от вида перевозимых грузов вагоны-цистерны подразделяются на цистерны общего назначения и специальные. К цистернам общего назначения относятся цистерны для перевозки широкой номенклатуры жидких нефтепродуктов, не требующих подогрева при наливе и сливе в диапазоне климатических изменений температуры груза. Цистерны общего назначения составляют основную часть парка вагонов-цистерн. Большая часть их принадлежит Министерству путей сообщения.
Специальные цистерны предназначаются для перевозки грузов, требующих специальных условий транспортировки или выгрузки. Владельцами специальных цистерн являются преимущественно организации, учреждения или предприятия, производящие или использующие в производстве транспортируемые в цистернах продукты.
Для каждого типа цистерны заводом-изготовителем в составе технической документации разрабатывается инструкция по эксплуатации, сливу и наливу перевозимого продукта, учитывающая конструктивные особенности конкретной модели.
Кроме того, в отраслях промышленности разрабатываются свои типовые инструкции по обслуживанию специальных цистерн в эксплуатации и выполнению мер безопасности, в которых учитываются свойства конкретного перевозимого продукта и принятая в отрасли технология его погрузки и выгрузки.
Документами такого рода, например, являются:
Правила безопасности для производства, хранения и транспортирования хлора. ПБХ-83. - М., Минхимпром, 1983; Инструкция по наливу, сливу и перевозке сжиженных углеводородных газов в железнодорожных вагонах-цистернах. - М.: Недра, 1980; Типовая инструкция по наливу, сливу и транспортировке жидкого аммиака в железнодорожных цистернах. - М., Министерство по производству минеральных удобрений, 1980.
Отраслевые нормативные документы находят отражение в технических требованиях на проектирование каждой модели цистерны и являются основанием для разработки заводами-изготовителями конкретных конструктивных решений, направленных на повышение безопасности перевозок опасных грузов, которые затем реализуются в конструкции серийных вагонов-цистерн.
В данном справочном пособии приводятся основные технические характеристики, описания конструкции вагонов в целом и типичных модификаций унифицированных узлов и элементов, определяющих условия безопасной транспортировки грузов и безопасного обслуживания вагонов в пути следования и в пунктах погрузки и выгрузки, а также общие виды серийно изготавливаемых вагонов-цистерн, используемых для перевозки опасных грузов.
Представленный в настоящем издании материал распределяется следующим образом: в разд. 1 рассматриваются внешние признаки цистерн, их окраска, система маркировки и нанесения знаков опасности; в разд. 2 дается описание и основные технические характеристики типовых узлов и конструктивных решений, используемых на всех вагонах-цистернах; в разд. 3-8 приводятся описания конструкций, параметры и общие виды цистерн, описываются группы вагонов, имеющих общие (унифицированные) или близкие по конструкции и характеристикам узлы и элементы. Следует также отметить, что справочное пособие включает описание цистерн, не предназначенных для перевозки опасных грузов, которые могут использоваться для этого в отдельных случаях. Трафареты и знаки опасности при этом должны соответствовать фактически перевозимому грузу.
Данное справочное пособие является не нормативным, а информационным изданием и не заменяет действующих нормативно-технических и инструктивных документов.
В подборе необходимых материалов для подготовки и написания книги принимали участие сотрудники МИИТа: Р.С. Глазкова, Р.Ф. Канивец, В.Н. Котуранов, К.В. Мотовилов, А.В. Смольянинов, И.Б. Феоктистов, В.Н. Филиппов, Г.Ф. Чугунов, сотрудник ПО „Азовмаш" В.М. Бубнов. Научное редактирование было проведено д-ром техн. наук, проф. В.Н. Котурановым и д-ром техн. наук, проф. В.Н. Филипповым.
Все критические замечания, отзывы и предложения по улучшению справочного пособия просим направлять по адресу: 103055 Москва, А-55, ул. Образцова, 15 - МИИТ, кафедра "Вагоны и вагонное хозяйство"
В настоящее время отсутствует строгая система, определяющая правила окраски цистерн для перевозки опасных грузов, которая отражала бы степень и вид опасности груза, поэтому предусмотренная правилами окраска цистерн носит случайный характер.
В соответствии с действующими правилами цистерны для перевозки опасных грузов имеют отличительную окраску цилиндрической части и днища котла и цветную горизонтальную полосу на среднем диаметре цилиндрической части по всей длине котла шириной 300 мм на цистернах для сжиженных газов и 500 мм - для остальных опасных грузов (кроме цистерн для бензина и нефтепродуктов, пека, кальцинированной соды, которые не имеют полос).
Цистерны, принадлежащие предприятиям, имеют торцовые днища и рамы, окрашенные в зеленый цвет. У края днищ по кругу наносится белая полоса шириной 300 мм. На цистерне должен быть трафарет о роде перевозимого продукта и знаки опасности груза.
Котлы цистерн, предназначенных для грузов второго класса, окрашиваются в светло-серый (серебристый) цвет. Цвет полосы зависит от вида груза: для аммиака - желтый, для кислорода - голубой, для хлора - защитный, для пропан-бутановых фракций (в том числе для этилена) - красный, для негорючих газов - черный.
Алюминиевой краской окрашиваются котлы цистерн для перевозки этиловой жидкости. Нижняя часть котла на высоту 250 мм окрашена черной краской. Полосы зеленого цвета.
Желтый цвет котла с полосами черного цвета и нижнюю часть котла (броневой лист) тоже черного цвета имеют цистерны для перевозки метанола - высокотоксичной легковоспламеняющейся жидкости третьего класса.
Котел цистерны для перевозки желтого фосфора (четвертый класс) имеет желтый цвет и полосы красного цвета.
Котлы цистерн для перевозки кислот и жидких химических грузов имеют полосы желтого цвета. На днища котлов этих цистерн той же краской, что и полосы, наносятся квадраты размером 1×1 м. На квадратах черной краской наносится наименование кислоты, для которой предназначена цистерна ("Серная кислота", "Меланж", "Олеум", "Соляная кислота"), и трафарет о приписке цистерны.
На цистернах, предназначенных для перевозки одного вида груза, приводится его наименование.
На котлах цистерн для опасных грузов наносятся (устанавливаются) знаки опасности по ГОСТ 19433-88 (приложение 1) , которые располагаются в правой нижней части котла с обеих сторон между днищем и хомутом. На знак опасности наносят класс опасности груза, серийный номер ООН и номер аварийной карточки.
Знаки опасности бывают:
основные, характеризующие основной вид опасности и соответствующие классу (подклассу), к которому отнесен груз; дополнительные, характеризующие вид дополнительной опасности.
Знаки опасности имеют форму квадрата, повернутого на угол 45° со стороной не менее 250 мм, который условно разделен горизонтальной линией на два равных треугольника. В верхнем треугольнике основных и дополнительных знаков опасности изображается символ опасности соответствующего класса (подкласса) (кроме грузов подклассов 1.4 и 1.5) .
В нижнем углу основных знаков указывается номер класса (для грузов класса 5 - номер подкласса), к которому отнесен груз.
На основных знаках опасности, выполняемых в соответствии с черт. 1-9 ГОСТ 19433-88 (см. приложение 1) (кроме знаков опасности для класса 7) и наносимых на вагоны-цистерны, в нижней части черными цифрами высотой не менее 65 мм на белом фоне указывается также серийный номер ООН в соответствии с черт. 12.
Допускается указывать серийный номер ООН не на знаке опасности, а под ним на оранжевой прямоугольной табличке размерами не менее 120×300 мм с черной рамкой шириной 10 мм по краям в соответствии с черт. 13. Высота цифр на табличке должна быть не менее 25 мм.
Знак опасности для грузов класса 7, наносимый на вагон-цистерну, должен быть выполнен в соответствии с черт. 11. Верхняя часть знака - желтая, нижняя - белая. В верхней части знака опасности указывается символ - черный трилистник, а в нижней части записывается серийный номер ООН или слово "радиоактивно". Серийный номер ООН перевозимого груза можно установить по источнику "Правила безопасности и порядок ликвидации аварийных ситуаций с опасными грузами при перевозке их по железным дорогам", а также по Сборнику правил перевозок № 370 (см. выше).
На дополнительных знаках опасности номер класса (подкласса) и серийный номер ООН груза не указывается.
Цистерны, предназначенные для перевозки одного наименования груза, должны иметь постоянный знак опасности, нанесенный краской по трафарету. При совпадении цвета знака с цветом полосы знак опасности наносится на контрастный цвет.
При перевозках в цистерне многих наименований опасных грузов знак опасности должен быть сменным. В каждом случае устанавливается знак опасности, соответствующий перевозимому грузу.
Знаки опасности наносятся (устанавливаются) грузоотправителем. Символ опасности, содержание надписи на знаке опасности, а также цвет символа, надписи, фона знака опасности для вагонов-цистерн приведены в табл. 1.1.
|
Класс груза и его наименование |
Подкласс груза и его наименование |
Символ знака опасности |
Фон поля знака |
Номер чертежа по ГОСТ 19433-88 |
|
2. Газы сжатые, сжиженные и растворенные под давлением |
2.1. Невоспламеняющиеся неядовитые газы |
Черный (белый) газовый баллон |
Зеленый |
2 |
|
2.2. Ядовитые газы |
Черный череп и две скрещенные кости |
Белый |
6а |
|
|
2.3. Воспламеняющиеся (горючие) газы |
Черное (белое) пламя |
Красный |
3 |
|
|
2.4. Ядовитые и воспламеняющиеся газы |
Черный череп и две скрещенные кости |
Белый |
6а |
|
|
Черное (белое) пламя |
Красный |
3 |
||
|
3. Легковоспламеняющиеся жидкости (ЛВЖ) |
3.1; 3.2; 3.3 - подклассы ЛВЖ, различающиеся температурой вспышки |
Черное (белое) пламя |
Красный |
3 |
|
4. Легковоспламеняющиеся твердые вещества (ЛВТ); самовозгорающиеся вещества (СВ); вещества, выделяющие воспламеняющиеся газы при взаимодействии с водой |
4.1.ЛВТ |
Черное пламя |
Чередующиеся равноотстоящие вертикальные белые и красные полосы |
4а |
|
4.2. СВ |
Черное пламя |
Верхняя часть - белая, нижняя часть -красная |
4б |
|
|
4.3. Вещества, выделяющие воспламеняющиеся газы при взаимодействии с водой |
Черное (белое) пламя |
Синий |
4в |
|
|
5. Окисляющие вещества (ОК) и органические пероксиды (ОП) |
5.1. ОК |
Черное пламя над черным кругом |
Желтый |
5 |
|
5.2. ОП |
То же |
То же |
5 |
|
|
6. Ядовитые вещества (ЯВ) и инфекционные вещества (ИВ) |
6.1. ЯВ высокой или средней степени опасности |
Череп и две скрещенные кости |
Белый |
6а |
|
6.2. ЯВ низкой степени опасности |
Пшеничный колос, перечеркнутый двумя наклонными черными полосами |
Белый |
6б |
|
|
8. Едкие и (или) коррозионные вещества (ЕК) |
8.1. ЕК, обладающие кислотными свойствами |
Капли, вытекающие из одной пробирки на металлическую пластинку, а из другой на руку. Капли разъедают металл, руку |
Верхняя часть - белый, нижняя часть - черный |
8 |
|
8.2. ЕК, обладающие основными свойствами |
||||
|
8.3. Разные едкие и (или) коррозионные вещества |
||||
|
9. Прочие опасные вещества |
9.1. Грузы, не отнесенные к классам 1-8 |
Символ не наносится |
Чередующиеся равноотстоящие черные и белые полосы |
9 |
__________
*Изображение знаков опасности приводится в приложении 1.
Основным изготовителем цистерн является ПО "Азовмаш" (бывшее ПО "Ждановтяжмаш", г. Мариуполь) Министерства тяжелого и транспортного машиностроения.
Отдельные модели узкоспециализированных цистерн особой конструкции, часть которых включена в данное справочное пособие, в небольшом количестве выпускаются специализированными предприятиями других министерств. В частности, цистерны для перевозки криогенных грузов изготавливаются ПО "Уралвагонзавод" (г. Нижний Тагил). Цистерны для пропана моделей 901P, 902P, 903Р, 908Р и котлы цистерн моделей 15-1519, 15-1602 изготавливаются в Польше, котлы цистерн моделей 15-1569 - в Японии, котлы восьмиосных цистерн для суперфосфорной кислоты модели 15-889 - в ФРГ, а модели 15-1578 - во Франции.
В конструкции цистерн используются типовые узлы автосцепного устройства, автотормозного оборудования и ходовые части.
Четырехосные цистерны оборудуются серийной автосцепкой СА-3 с поглощающим аппаратом Ш-1-ТМ с ходом 70 мм или аппаратом Ш-2-В с ходом 90 мм.
Восьмиосные цистерны оборудуются усиленной полужесткой автосцепкой СА-3М с ограничителем вертикальных перемещений и поглощающим аппаратом Ш-2-Т с ходом 105 мм.
С 1988 г. на восьмиосные цистерны устанавливается поглощающий аппарат ПМК-110 с ходом 110 мм (пластинчатый с металлокерамическими фрикционными элементами). Автосцепка снабжена торсионным отклоняющим устройством для обеспечения автоматической сцепляемости на кривых участках пути малого радиуса.
Установка автосцепного устройства выполняется в соответствии с ГОСТ 3475-81.
В автотормозном оборудовании используются воздухораспределители № 270-005-1 или № 483-000, регуляторы рычажной передачи типа 574Б или 536М и авторежимы типов 265-002 или 265 А.
В ходовых частях четырехосных цистерн используются двухосные тележки типа ЦНИИ-ХЗ моделей 18-100 (на подшипниках качения) и 18-109 (на подшипниках скольжения). Все вагоны постройки после 1978 г. оборудованы тележками на подшипниках качения. Восьмиосные цистерны оборудуются четырехосными тележками моделей 18-101. Основные характеристики тележек приведены в табл. 2.1.
Таблица 2.1
|
Наименование показателя |
Значение показателей |
|
|
Модель |
18-100, 18-109* |
18-101 |
|
Число осей |
2 |
4 |
|
Изготовитель |
ПО "Уралвагонзавод"; КрВЗ |
ПО "Азовмаш" |
|
Масса, т |
4,8 |
12,0 |
|
База, мм |
1850 |
3200 |
|
Статический прогиб рессорного комплекта, мм |
46-50 |
46-50 |
|
Гибкость рессорного комплекта, м/МН |
0,13-0,22 |
0,13-0,232 |
|
Высота опорной поверхности пятника над головкой рельса, мм |
|
853 |
* Модели 18-100 и 18-109 различаются типом буксы и оси. Остальные параметры для обеих моделей идентичны.
Все серийные четырехосные цистерны имеют рамную конструкцию и типовую схему крепления котла к раме. ПО "Азовмаш" изготавливает цистерны на базе нескольких модификаций типовых платформ, состоящих из рамы сварной конструкции и двух тележек ЦНИИ-ХЗ. Эти цистерны имеют унифицированные основные размеры - длину по осям сцепления автосцепок 12020 мм, длину рамы по концевым балкам 10800 мм и базу 7800 мм. На раме смонтировано автотормозное и автосцепное оборудование. Типовая рама состоит из хребтовой, двух шкворневых и двух концевых балок. Облегченная рама имеет облегченные концевые балки, соединенные в консольной части со шкворневыми балками боковыми обвязками, выполненными из штампованного Г -образного профиля толщиной 4 мм. Полная рама включает усиленные концевые и боковые балки.
Хребтовая балка выполняется из двух Z-образных профилей № 31 или швеллеров № 30 ГОСТ 5267.1-90, перекрытых сверху и снизу накладками толщиной 7 мм. На хребтовой балке крепятся кронштейны для установки тормозного оборудования, упоры автосцепного устройства и пятники, посредством которых рама опирается на надрессорные балки тележек. В средней части хребтовой балки расположены фасонные лапы для крепления котла цистерны.
Шкворневые балки изготавливаются сварными коробчатого сечения с диафрагмами жесткости. Сверху на шкворневых балках расположены сварные металлические опоры котла, в желобах которых крепятся болтами деревянные опорные бруски.
Материал основных несущих элементов рамы - сталь 09Г2Д-12 по ГОСТ 19281-89.
Котел цистерны опирается концевыми частями на, деревянные бруски опор и фиксируется на них от вертикальных и поперечных перемещений стяжными хомутами при помощи винтовых муфт. В нижней средней части котла расположены фасонные лапы, которые соединены призонными болтами с лапами хребтовой балки и предотвращают продольные перемещения котла.
Восьмиосные цистерны изготавливаются безрамной конструкции и котел в них является несущим элементом, воспринимающим все действующие на вагон нагрузки, как от веса груза и внутреннего давления, так и передаваемые через автосцепку продольные силы, возникающие при движении в поезде и маневровых работах, а также вертикальные и боковые динамические силы, передаваемые через пятник, возникающие в результате движения по неровностям пути.
Котел представляет собой цилиндрическую емкость сварной конструкции, состоящую из обечаек и эллиптических днищ, подкрепленную шпангоутами для повышения несущей способности и жесткости цилиндрической оболочки.
В концевых частях котла размещаются опоры (рис. 2.1), представляющие собой элемент рамной конструкции, включающий хребтовую 7, шкворневую 6, состоящую из листов 2, 4 и облегченную концевую балку 9 и боковую обвязку 8, а также систему ребер и диафрагм жесткости 3. К хребтовой балке крепится пятник и упоры автосцепного устройства.
Пятник опоры котла 1 соединяется с центральным подпятником соединительной балки четырехосной тележки.
Котлы четырехосных цистерн принципиально не отличаются по конструкции от описанной выше, т.е. также представляют собой сварную емкость из обечаек и эллиптических днищ. При толщине листов 8-12 мм обечайки свариваются из продольных листов, нижний из которых имеет обычно большую толщину. Котлы цистерн, рассчитанные на высокое рабочее давление, свариваются из цилиндрических царг и имеют постоянную толщину.

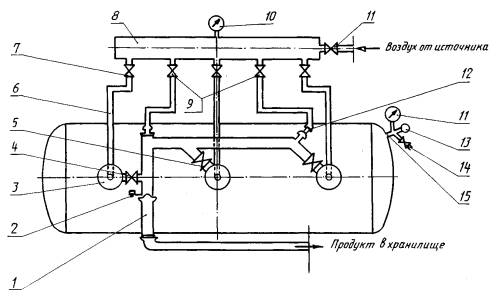
Рис. 2.1. Опора котла восьмиосной цистерны:
1 - пятник; 2, 4 - листы; 3 - диафрагма; 5 - скользун; 6 - шкворневая балка; 7 - хребтовая балка; 8 - боковая обвязка; 9 - концевая балка
Унифицированные узлы и элементы нефтебензиновых и спиртовых цистерн включают люк-лаз для загрузки продукта и технического обслуживания и доступа внутрь котла, сливной прибор для слива груза, предохранительный клапан для ограничения избыточного давления в котле при повышении температуры груза и предохранительно-впускной клапан для защиты котла от вакуума при охлаждении груза и конденсации его паров. В настоящее время цистерны выпускаются с предохранительно-впускным клапаном, в конструкции которого объединены предохранительный клапан избыточного давления и предохранительно-впускной (вакуумный) клапан. Нижний лист котла цистерны имеет уклон к сливному прибору для обеспечения полного слива продукта.
Восьмиосные цистерны имеют по два люка-лаза, сливных прибора и предохранительно-впускных клапана.
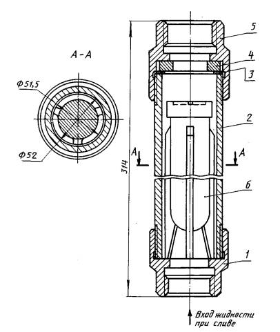
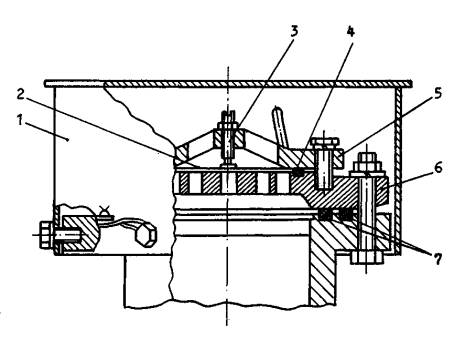
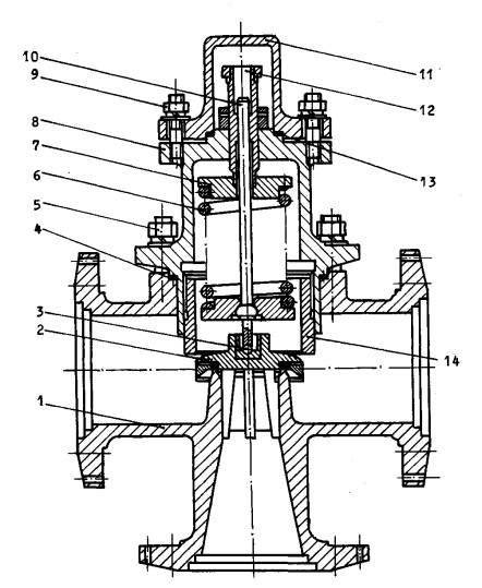
Люк-лаз 4 (рис. 3.1) диаметром 570 мм герметично закрывается крышкой 1. В новых конструкциях применяется крышка с ригельным запором, включающим ригель 6, откидной болт 5 и предохранительную скобу 2. Эта конструкция обеспечивает надежность уплотнения, удобство и безопасность обслуживания. В горловине люка приварены сегменты 3 для контроля уровня наполнения и прикреплена внутренняя лестница для доступа обслуживающего персонала внутрь котла.
При нахождении цистерны в эксплуатации на путях МПС люк-лаз всегда должен быть опломбирован. Пломбирование крышки люка производится перед каждым выходом цистерны на пути МПС как в груженом, так и в порожнем состояниях.
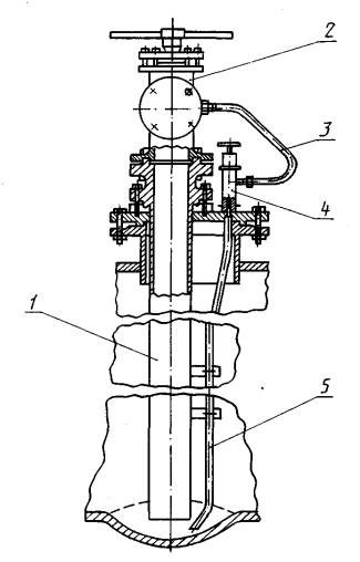
Все цистерны данной группы (кроме цистерн для спирта) оборудуются универсальным сливным прибором (рис. 3.2). Вороток 1, шарнирно соединенный с винтовой штангой 2 управления сливным прибором, расположен в горловине люка-лаза.
На нижнем конце штанги закреплен клапан 3 с уплотнительным кольцом 9, который при вращении воротка поднимается или опускается на седло 10, обеспечивая таким образом открытие и закрытие сливного прибора. Труба сливного прибора 5 снаружи закрывается откидной крышкой 6, прижимаемой к торцу трубы нажимным винтом 7. Кольцевой наконечник 8 сливной трубы обеспечивает возможность герметичного присоединения сливного рукава. Корпус сливного прибора оборудован кожухом 4, который может при сливе продукта заполняться паром для обогрева в зимнее время.
Цистерна для спирта модели 15-1454 с 1986 г. поставляется без нижнего сливного прибора. Разгрузка цистерны на пунктах слива производится сифонированием сверху через специально оборудованный для ввода сливной трубы люк. Внизу котел имеет поддон. У остальных цистерн для спирта сливной прибор демонтирован, а отверстие внизу заварено. На горловине люка приварены проушины для двух замков. На крышке люка наварено дополнительное лабиринтное кольцо. Предохранительно-впускной клапан зафиксирован двумя скобками.
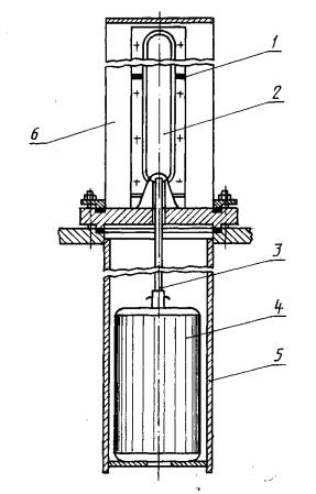
Предохранительно-впускной клапан (рис. 3.3) имеет раздельную регулировку усилия затяжки пружины 1 клапана максимального давления 2 и пружины 3 вакуумного клапана 4. Регулировка клапанов производится на избыточное давление 0,15 МПа (1,5 кгс/см2) и на разряжение 0,01 - 0,02 МПа (0,1 - 0,2 кгс/см2) . Для предотвращения нарушения регулировки на предохранительно-впускной клапан устанавливаются две пломбы.
Котлы цистерны данной группы подвергаются испытаниям на прочность гидравлическим давлением 0,4 МПа (4 кгс/см2).
Уплотнительные прокладки и кольца крышки люка, сливного прибора и предохранительно-впускного клапана изготавливаются из маслобензиностойкой резины.
Предохранительно-впускной клапан не обеспечивает защиты котла от возникновения недопустимого вакуума после разогрева груза паром, пропарки котла или при сливе продукта при закрытых крышках люков.
Категорически запрещается транспортирование цистерны с течью котла или сливного прибора, с неисправностями ходового, автосцепного и тормозного оборудования, угрожающими безопасности движения, а также с незакрытыми наружными крышками сливных приборов.
Все цистерны данной группы имеют конструкционную скорость 120 км/ч.
Нефтебензиновые цистерны приведены на рис. 3.4 - 3.12, спиртовые - на рис. 3.13, 3.14, а их технические характеристики - в табл. 3.1.
Для обеспечения безопасности обслуживающего персонала при эксплуатации и ремонте цистерн:
1) доступ людей внутрь порожнего котла при осмотре или ремонте допускается только с разрешения ответственного лица, подтвердившего отсутствие вредных и взрывоопасных паров внутри котла;
2) доступ внутрь котла при наличии в нем паров перевозимого продукта должен производиться с разрешения ответственного лица с использованием шлангового противогаза и спасательного пояса под постоянным наблюдением за работающим в котле;
3) любые сварочные работы на цистерне должны производиться только после очистки, промывки и пропарки котла;
4) курить и применять открытый огонь вблизи цистерны категорически запрещается.

Рис. 3.1. Люк-лаз цистерны модели 15-1500 с крышкой и ригельным запором

Рис. 3.2. Универсальный сливной прибор

Рис. 3.3. Предохранительно-впускной клапан

Рис. 3.4. Четырехосная цистерна для бензина и нефти модели 15-Ц863

Рис. 3.5. Четырехосная цистерна для бензина и нефти с тормозной площадкой модели 15-Ц864

Рис. 3.6. Четырехосная цистерна для бензина и светлых нефтепродуктов модели 15-869

Рис. 3.7. Восьмиосная цистерна для бензина и светлых нефтепродуктов модели 15 -871

Рис. 3.8. Четырехосная цистерна для бензина с переходной площадкой модели 15-1427

Рис. 3.9. Четырехосная цистерна для бензина и других светлых нефтепродуктов модели 15-1428

Рис. 3.10. Четырехосная цистерна для бензина и светлых нефтепродуктов модели 15-1443

Рис. 3.11. Восьмиосная цистерна для светлых нефтепродуктов модели 15-1500


Рис. 3.13. Четырехосная цистерна для спирта модели 15-Ц859
|
Наименование параметра |
Значение параметра для вагона модели |
||||
|
15-Ц863 |
15-Ц864 |
15-869 |
15-871 |
15-1427 |
|
|
Назначение (основной груз) |
Бензин, нефть |
Бензин, нефть |
Бензин, светлые нефтепродукты |
Нефть |
Бензин |
|
Тип вагона |
712 (720) |
713 (721) |
732 |
794 |
731 |
|
Грузоподъемность, т |
60 |
60 |
62 |
120 |
60 |
|
Масса вагона (тара), т |
23,1 |
23,9 |
25,3 |
48,8 |
23,4 |
|
Нагрузка: |
|
|
|
|
|
|
от оси колесной пары на рельсы, кН (тс) |
204 (20,8) |
206 (21,0) |
216 (22,0) |
207 (21,1) |
205 (20,9) |
|
на один погонный метр пути, кН/м (тс/м) |
68 (6,9) |
66 (6,7) |
63 (6,4) |
78 (8,0) |
66 (6,7) |
|
Количество осей |
4 |
4 |
4 |
8 |
4 |
|
Габарит |
02-ВМ (02-Т) |
02-ВМ (02-Т) |
02-ВМ (02-Т) |
1-Т |
02-ВМ (02-Т) |
|
Высота центра тяжести цистерны: |
|
|
|
|
|
|
порожней, мм |
- |
- |
1557 |
1445 |
1462 |
|
груженой, мм |
- |
- |
2416 |
2407 |
2415 |
|
Параметры котла: |
|
|
|
|
|
|
объем полный, м3 |
61,2 |
61,2 |
88,6 |
140,0 |
73,1 |
|
объем полезный, м3 |
60,0 |
60,0 |
86,8 |
137,2 |
71,7 |
|
удельный объем, м3/т |
1,0 |
1,0 |
1,4 |
1,14 |
1,195 |
|
диаметр внутренний, мм |
2800 |
2800 |
3000 |
3000 |
3000 |
|
длина наружная, мм |
10300 |
10300 |
12950 |
20226 |
10770 |
|
толщина листов обечайки: |
|
|
|
|
|
|
верхних, мм |
- |
- |
9 |
9 |
9 |
|
средних (боковых), мм |
- |
- |
9 |
9 |
9 |
|
нижнего, мм |
- |
- |
11 |
12 |
11 |
|
толщина днищ, мм |
- |
- |
10 |
10 |
10 |
|
Материал котла |
ВСт.3 |
ВСт.3 |
09Г2, 09Г2С, 09Г2Д, 09Г2СД |
Ст09Г2, 09Г2С, 09Г2Д, 09Г2СД |
Ст09Г2, 09Г2Д, 09Г2С, 09Г2СД |
|
Год начала серийного производства |
|
|
1978 |
1974 |
1984 |
|
Год снятия с производства |
- |
- |
1980 |
1988 |
- |
Продолжение таблицы 3.1
|
Наименование параметра |
Значение параметра для вагона модели |
|||||
|
15-1428 |
15-1443 |
15-1500 |
15-1547 |
15-Ц859 |
15-1454 |
|
|
Назначение (основной груз) |
Бензин, светлые нефтепродукты |
Бензин, светлые нефтепродукты |
Светлые нефтепродукты |
Бензин |
Спирт |
Спирт |
|
Тип вагона |
730 |
730 |
798 |
747 |
770 |
770 |
|
Грузоподъемность, т |
60 |
60 |
125 |
68/60 |
50 |
59 |
|
Масса вагона (тара), т |
24,7 |
23,2 |
51,0 |
24,8 |
22,83 |
23,2 |
|
Нагрузка: |
|
|
|
|
|
|
|
от оси колесной пары на рельсы, кН (тс) |
207 (21,2) |
204 (20,8) |
216 (22) |
228 (23,2) 208 (21,2) |
178 (18,2) |
201 (20,6) |
|
на один погонный метр пути, кН/м (тс/м) |
69 (7,0) |
68 (6,9) |
81 (8,3) |
76 (7,7) 69 (7,1) |
59,4 (6,06) |
67,01 (6,84) |
|
Количество осей |
4 |
4 |
8 |
4 |
4 |
4 |
|
Габарит |
02-ВМ (02-Т) |
02-ВМ (02-Т) |
1-Т |
1-ВМ (0-Т) |
02-ВМ (02-Т) |
02-ВМ (02-Т) |
|
Высота центра тяжести цистерны: |
|
|
|
|
|
|
|
порожней, мм |
1434 |
1462 |
1542 |
1570 |
- |
1462 |
|
груженой, мм |
2387 |
2415 |
2418 |
2530 |
- |
2415 |
|
Параметры котла: |
|
|
|
|
|
|
|
объем полный, м3 |
73,1 |
73,1 |
161,6 |
85,6 |
61,2 |
73,1 |
|
объем полезный, м3 |
71,7 |
71,7 |
156,3 |
83,9 |
60 |
71,7 |
|
удельный объем, м3/т |
1,195 |
1,195 |
1,25 |
1,23/1,4 |
1,2 |
1,215 |
|
диаметр внутренний, мм |
3000 |
3000 |
3200 |
3200 |
2800 |
3000 |
|
длина наружная, мм |
10770 |
10770 |
20650 |
11194 |
10300 |
10770 |
|
толщина листов обечайки: |
|
|
|
|
|
|
|
верхних, мм |
9 |
9 |
9 |
9 |
- |
9 |
|
средних (боковых), мм |
9 |
9 |
9 |
10 |
- |
9 |
|
нижнего, мм |
11 |
11 |
12 |
11 |
- |
11 |
|
толщина днищ, мм |
10 |
10 |
12 |
12 |
- |
10 |
|
Материал котла |
Ст09Г2, 09Г2Д, 09Г2С, 09Г2СД-12 |
Ст09Г2, 09Г2С, 09Г2Д, 09Г2СД |
Ст09Г2, 09Г2С, 09Г2Д-12, 09Г2СД |
Ст09Г2, 09Г2С, 09Г2Д, 09Г2СД |
ВСт3 |
Ст09Г2С |
|
Год начала серийного производства |
1984 |
1972 |
1988 |
1988 |
- |
1972 |
|
Год снятия с производства |
|
|
|
|
|
|
Под налив продукта должны использоваться только технически исправные цистерны. Цистерны с неисправными сливными приборами, внутренними лестницами, крышками люков, с течью в котлах, без проушин для пломбирования на крышках люков, а также без резиновых уплотнительных прокладок подавать и использовать под налив не допускается.
Налив и слив продукта производят открытым способом: налив - сверху через люк-лаз при помощи наливного рукава, слив - внизу через сливной прибор при открытой крышке люка на протяжении всего процесса слива (во избежание образования вакуума и повреждения котла).
При необходимости промывки и пропарки цистерны производить эти операции следует в строгом соответствии с "Типовым технологическим процессом подготовки цистерн и вагонов для перевозки нефтепродуктов к наливу и ремонту на промывочно-пропарочных предприятиях железных дорог".
После промывки и пропарки крышку люка необходимо оставлять открытой до полного выравнивания температуры внутри котла с температурой окружающего воздуха.

Рис. 3.14. Четырехосная цистерна для спирта модели 15-1454
Вагоны-цистерны для перевозки застывающих продуктов по конструктивным особенностям могут быть разделены на две группы: цистерны с парообогревательным кожухом (рубашкой) без термоизоляции, цистерны с термоизоляцией.
Цистерны с парообогревательной рубашкой предназначены для перевозки олеума, уксусной кислоты, вязких нефтепродуктов, фенола, желтого фосфора, патоки (используется также для транспортировки опасных грузов).
Основные технические характеристики этих цистерн приведены в табл. 4.1.
Цистерна для олеума модели 15-1424 показана на рис. 4.1. Цистерна состоит из следующих основных узлов: котла 1, предохранительно-впускного клапана 2, лестницы наружной 3, сливоналивного устройства 4, крышки люка 5, внутренней лестницы 6, подогревательного кожуха 7, крепления котла на раме 8, платформы 9 из рамы 11 и двух тележек, ударно-тяговых приборов 10, автотормоза 12 и стояночного тормоза 13.
Котел этой цистерны представлен на рис. 4.2. Он состоит из цилиндрической обечайки и двух днищ. Толщина нижнего листа - 11 мм, средних и верхних - 8 мм. Материал - сталь марки 09Г2С. Налив и слив продукта верхний.
В средней части котла расположен люк диаметром 570 мм, закрываемый крышкой. Здесь же размещены сливоналивное устройство, штуцер под манометр и предохранительно-впускной клапан.
Предохранительно-впускной клапан (рис. 4.3) состоит из корпуса 5, предохранительного 4 и впускного (вакуумного) 3 клапанов, пружины 2 и регулировочного винта 1 предохранительного клапана, колпака 7 и пружины 6 впускного клапана. Предохранительно-впускной клапан регулируется на избыточное давление 0,2-0,35 МПа (2,0 - 3,5 кгс/см2) (в зависимости от назначения цистерны) и на вакуум 0,03 МПа (0,3 кгс/см2). На цистернах для олеума клапан регулируется на избыточное давление 0,25 МПа (2,5 кгс/см2).
На крышке люка имеется патрубок, который служит для отбора проб и может быть использован для подачи воздуха в котел при сливе продукта передавливанием.
Для разогрева продукта котел оборудован парообогревательным кожухом, который изготовлен из стали толщиной 3 мм и охватывает нижнюю часть котла. Пар подается в пространство между кожухом и котлом через штуцер воронки в средней части кожуха, а выход пара или конденсата происходит через два патрубка, расположенных по концам котла в нижней части кожуха.
Сливоналивное устройство показано на рис. 4.4. Оно состоит из трубы 2, воронки 1, люка 3, откидного болта 4, заглушки 5 и фторопластовой прокладки 6.
Налив продукта в цистерну производится закрытым способом. Для этого необходимо:
а) открыть крышку сливоналивного устройства и подсоединить к его фланцу наливную коммуникацию;
б) открыть крышку патрубка люка и подсоединить к его фланцу коммуникацию для отвода газов.
Количество заливаемого продукта контролируется методом, принятым на предприятии-наполнителе.
После наполнения цистерны продуктом:
а) отключить и отсоединить наливную и газовую коммуникации;
б) закрыть и опломбировать фланцы сливоналивного устройства и патрубка крышки люка;
в) проверить наличие пломб предохранительно-впускного клапана и люка-лаза).
Слив продукта из цистерны производится двумя способами:
а) откачиванием насосом;
б) передавливанием.
При сливе продукта откачиванием насосом необходимо:
а) открыть крышку сливоналивного устройства и подсоединить к фланцу сливную коммуникацию с насосом;
б) открыть крышку патрубка люка и подсоединить к фланцу коммуникацию сжатого воздуха давлением не более 0,7 кгс/см2, для осуществления первоначального подпора продукта (залив насоса);
в) отсоединить коммуникацию сжатого воздуха после начала работы насоса;
г) произвести слив продукта из цистерны, при этом патрубок крышки люка-лаза сообщить с атмосферой или закольцевать с приемной емкостью.
При сливе продукта передавливанием необходимо:
а) открыть крышку сливоналивного устройства и подсоединить к фланцу сливную коммуникацию;
б) подсоединить коммуникацию сжатого воздуха и при давлении не более 2 кгс/см2 производить слив. Давление поддерживать до полного слива продукта.
Другие цистерны для перевозки олеума, более ранних выпусков - модели 15-Ц855 (рис. 4.5), 15-Ц856 (рис. 4.6), 15-Ц857 (рис. 4.7), 15-1402 (рис. 4.8) - отличаются конструкцией и параметрами котла, выполненного с расширительным колпаком, на котором и расположены люк, предохранительный клапан и присоединительный фланец сливоналивного устройства.
Параметры цистерны с парообогревательным кожухом (рубашкой)
|
Наименование параметра |
Значение параметра для вагона модели |
|||||
|
15-Ц855 |
15-Ц856 |
15-Ц857 с тормозной площадкой |
15-897 |
15-1402 |
15-1424 |
|
|
Назначение (основной) груз |
Олеум |
Олеум |
Олеум |
Вязкие нефтепродукты |
Олеум |
Олеум |
|
Тип вагона |
- |
- |
- |
704 |
- |
- |
|
Грузоподъемность, т |
56 |
50 |
50 |
61 |
60 |
66/70 |
|
Масса вагона (тара), т |
23,84 |
24 |
24,7 |
23,3 |
21,7 |
21,4/21,6 |
|
Нагрузка: |
|
|
|
|
|
|
|
от оси колесной пары на рельсы, кН (тс) |
195,8 (19,96) |
181,5 (18,5) |
183,4 (18,7) |
204 (20,8) |
200,17 (20,425) |
214,3 (21,85) 214,6 (22,9) |
|
на один погонный метр пути, кН/м (тс/м) |
65,14 (6,64) |
60,4 (6,16) |
58,8 (6) |
67,7 (6,9) |
66,64 (6,8) |
71,3 (7,27) 74,75 (7,62) |
|
Число осей |
4 |
4 |
4 |
4 |
4 |
4 |
|
Габарит |
0-BM (01T) |
0-ВМ (01-Т) |
0-ВМ (01-Т) |
02-ВМ (02-Т) |
02-ВМ (02-Т) |
02-ВМ (02-Т) |
|
Высота центра тяжести от головок рельсов цистерны: |
|
|
|
|
|
|
|
порожней, мм |
- |
- |
- |
1438 |
1202 |
1021 |
|
груженой, мм |
- |
- |
- |
2307 |
2000 |
1746 |
|
Параметры котла: |
|
|
|
|
|
|
|
объем полный, м3 |
29,0 |
26,0 |
26,0 |
62,2 |
32,68 |
38,5 |
|
объем полезный, м3 |
- |
- |
- |
61,1 |
32,0 |
35,18 |
|
диаметр внутренний, мм |
2000 |
1890 |
1890 |
2800 |
2000 |
2200 |
|
длина наружная, мм |
9380 |
10000 |
10000 |
10520 |
10562 |
10508 |
|
толщина листов; мм: |
|
|
|
|
|
|
|
верхних |
|
|
|
8 |
9 |
8 |
|
средних (боковых) |
|
|
|
8 |
9 |
8 |
|
нижнего |
|
|
|
11 |
11 |
11 |
|
днищ |
|
|
|
10 |
12 |
10 |
|
материал |
Ст09Г2, 09Г2Д, 09Г2С, 09Г2СД-12 |
СТ.09Г2, 09Г2Д, 09Г2С, 09Г2СД-12 |
Ст.09Г2, 09Г2Д, 09Г2С, 09Г2СД-12 |
Ст.09Г2С |
Ст09Г2, 09Г2Д, 09Г2С, 09Г2СД |
Ст09Г2, 09Г2Д, 09Г2С, 09Г2СД-12 |
|
удельный объем, м3 |
0,52 |
0,52 |
0,52 |
1 |
0,533 |
0,533/0,50 |
|
рабочее давление. МПа (кгс/см2) |
0,25 (2,5) |
0,25 (2,5) |
0,25 (2,5) |
0,15(1,5) |
0,25 (2,5) |
0,25 (2,5) |
|
Год постановки на серийное производство |
- |
- |
- |
1964 |
1968 |
1981 |
|
Год снятия с производства |
- |
- |
- |
1976 |
1979 |
- |
Продолжение таблицы 4.1
|
Наименование параметра |
Значение параметра для вагона модели |
||||||
|
15-1432 |
15-1566 |
15-1608 |
15-1525 |
15-1412 |
15-1413 |
15-898 |
|
|
Назначение (основной) груз |
Ядохимикаты |
Вязкие нефтепродукты |
Уксусная кислота |
Желтый фосфор |
Желтый фосфор |
Патока |
Фенол |
|
Тип вагона |
- |
- |
- |
- |
- |
778 |
- |
|
Грузоподъемность, т |
63 |
67 |
68,5 |
70 |
59,0 |
62 |
62 |
|
Масса вагона (тара), т |
24,8 |
24,47 |
24,5 |
22 |
21,4 |
21,42 |
23,2 |
|
Нагрузка: |
|
|
|
|
|
|
|
|
от оси колесной пары на рельсы, кН (тс) |
215,6 (22) |
224 (22,9) |
228 (23,25) |
225,6 (23) |
197,2 (20,1) |
204,6 (20,86) |
209 (21,3) |
|
на один погонный метр пути, кН/м (тс/м) |
71,54 (7,3) |
74,6 (7,61) |
75,9 (7,74) |
75 (7,65) |
65,6 (6,69) |
68,18 (6,95) |
69,5 (7,09) |
|
Число осей |
4 |
4 |
4 |
4 |
4 |
4 |
4 |
|
Габарит |
02-ВМ (02-Т) |
02-ВМ (02-Т) |
1-BM (0-T) |
02-ВМ (02-Т) |
02-ВМ (02-Т) |
02-ВМ (02-Т) |
02-ВМ (02-Т) |
|
Высота центра тяжести от головок рельсов цистерны: |
|
|
|
|
|
|
|
|
порожней, мм |
1385 |
1525 |
1573 |
1310 |
1235 |
1356 |
1443 |
|
груженой, мм |
2168 |
2378 |
2477 |
2134 |
1972 |
2176 |
2312 |
|
Параметры котла: |
|
|
|
|
|
|
|
|
объем полный, м3 |
47,59 |
73,1 |
73,1 |
46 |
38,7 |
46,11 |
62,4 |
|
объем полезный, м3 |
44,54 |
70 |
65,2 |
41,4 |
34,83 |
43,8 |
57,8 |
|
диаметр внутренний, мм |
2400 |
3000 |
3000 |
2400 |
2200 |
2400 |
2800 |
|
длина наружная, мм |
11400 |
10770 |
10850 |
10590 |
10494 |
10510 |
0520 |
|
толщина листов; мм: |
|
|
|
|
|
|
|
|
верхних |
10 |
9 |
8 |
8 |
8 |
9 |
8 |
|
средних (боковых) |
10 |
9 |
8 |
8 |
8 |
9 |
8 |
|
нижнего |
10 |
11 |
11 |
10 |
10 |
11 |
11 |
|
днищ |
10 |
10 |
11 |
10 |
10 |
10 |
10 |
|
материал |
СтЭП-567 (0Х15Н65М16В) |
Ст09Г2С |
ВСт3сп2 + +12Х18Н10Т |
ВСт3сп2 (09Г2С) + +12Х18Н10Т |
ВСт3сп2+ +12Х18Н10Т |
Ст09Г2, 09Г2Д, 09Г2С, 09Г2СД-12 |
Ст09Г2, 09Г2Д, 09Г2С, 09Г2СД-12 |
|
удельный объем, м3 |
0,71 |
1,04 |
0,95 |
0,59 |
0,59 |
0,706 |
0,932 |
|
рабочее давление. МПа (кгс/см2) |
0,15 (1,5) |
0,147 (1,5) |
0,2 (2) |
0,25 (2,5) |
0,25 (2,5) |
0,147 (1,5) |
0,15 (1,5) |
|
Год постановки на серийное производство |
1979 |
1976 |
1988 |
1984 |
1969 |
1963 |
1964 |
|
Год снятия с производства |
- |
- |
- |
- |
1984 |
1987 |
1986 |
Конструкция цистерны для уксусной кислоты модели 15-1608 (рис. 4.9) аналогична описанной выше цистерне для олеума модели 15-1424, отличается большим удельным объемом котла и наличием ограждающего желоба в зоне расположения люка, сливоналивной арматуры и дренажных трубок для отвода разливающегося при сливоналивных операциях продукта. Дренажная система обеспечивает защиту автотормозного оборудования и рамы вагона от воздействия разлившейся кислоты.
На рис. 4.10 показана цистерна модели 15-1566 для перевозки вязких нефтепродуктов. Котел цистерны состоит из цилиндрической обечайки, сваренной из продольных листов (нижнего толщиной 11 мм, боковых и верхних - 9 мм) и двух днищ эллиптической формы толщиной 10 мм. Материал - сталь марки 09Г2С.
Котел имеет нижний слив и оборудован универсальным сливным прибором. Парообогревательный кожух, изготовленный из углеродистой стали толщиной 3 мм и охватывающий нижнюю часть котла, служит для разогрева продукта. Пар через штуцер на кожухе сливного прибора подается в пространство между кожухом и котлом и через два патрубка, расположенных по концам котла в нижней части кожуха, выходит наружу.
Для налива продукта используют люк диаметром 570 мм, закрываемый крышкой. В нем размещается устройство для определения предельного уровня заполнения котла и привод затвора универсального сливного прибора. Рядом с люком устанавливают предохранительно-впускной клапан, отрегулированный на избыточное давление 0,15 МПа (1,5 кгс/см2).
Конструкция котла и предохранительно-впускного клапана аналогична показанным на рис. 4.2 и 4.3. Цистерна модели 15-897 (рис. 4.11) отличается от цистерны модели 15-1566 меньшим диаметром котла и соответственно меньшим объемом. Параметры этой цистерны приведены в табл. 4.1.

Рис. 4.1. Четырехосная цистерна для олеума модели 15-1424

Рис. 4.2. Котел цистерны для олеума модели 15-1424:
1 - обечайка; 2 - днище; 3 - патрубок для предохранительно-впускного клапана; 4 - сливоналивной патрубок; 5 - штуцер под манометродержатель; 6 - патрубок для отвода газа при наливе; 7 - крышка люка-лаза; 8 - патрубок для подвода воздуха при сливе; 9 - поддон; 10 - подогревательный кожух; 11 - воронка для подвода пара; 12 - трубка для отвода конденсата

Рис. 4.3. - Предохранительно-впускной клапан

Рис. 4.4. Сливоналивное устройство цистерны модели 15-1424

Рис. 4.5. Четырехосная цистерна для олеума модели 15-Ц855

Рис. 4.6. Четырехосная цистерна для олеума модели 15-Ц856

Рис. 4.7. Четырехосная цистерна для олеума с тормозной площадкой модели 15-Ц857

Рис. 4.8. Четырехосная цистерна для олеума модели 15-1402

Рис. 4.9. Четырехосная цистерна для уксусной кислоты модели 15-1608

Рис. 4.10. Четырехосная цистерна для вязких нефтепродуктов модели 15-1566

Рис. 4.11. Четырехосная цистерна для вязких нефтепродуктов модели 15-897
Основные параметры цистерн для ядохимикатов модели 15-1432 приведены в табл. 4.1. Общий вид цистерны модели 15-1432 показан на рис. 4.12. Отличительной особенностью цистерн для перевозки ядохимикатов является наличие на котле двух горловин люка-лаза. Общий вид котла с парообогревательным кожухом показан на рис. 4.13.
Котлы цистерн для ядохимикатов изготавливаются из двухслойной стали. На котле, имеющем парообогревательный кожух, установлены сливоналивные вентили 3 (см. рис. 4.13), пробоотборник 2, газовый вентиль 6, предохранительный клапан 1, установка под манометр 4, установка под термометр 5. На второй крышке люка устанавливают сливоналивные трубы с вентилями в количестве пяти штук. Каждый вентиль пронумерован цифрами 1, 2, 3, 4, 5. Такая нумерация дает возможность производить слив продукта отдельными равными порциями, начиная с номера 1. Сливоналивная труба номер 5 устанавливается в центральной части котла цистерны, где имеется поддон, и служит для окончательного и полного слива продукта.
Налив продукта в цистерну производится закрытым способом. Перед наливом необходимо:
а) цистерну затормозить стояночным тормозом, а в случае его отсутствия или неисправности - тормозными башмаками;
б) снять колпаки арматуры, отвернуть пробку из манометродержателя, подключить проверенный манометр, открыть вентиль манометродержателя, проверить наличие давления в котле цистерны, которое должно контролироваться до окончания наполнения;
в) подсоединить наливную коммуникацию (рукав) к одному из вентилей сливоналивного устройства;
г) подсоединить шланг к газовому вентилю, закольцевав с магистралью или другой емкостью для перехода избыточного давления азота из котла цистерны при ее наполнении.
Наполнение цистерны производить с недоливом на 300 мм от верхней образующей котла. После наполнения необходимо:
а) перекрыть вентиль наполнения цистерны;
б) отсоединить наливную коммуникацию;
в) поднять давление азота в котле через газовый вентиль до 0,5 кгс/см2 и перекрыть его;
г) отсоединить газопроводную коммуникацию;
д) закрыть заглушкой вентиль наливного устройства и газовый вентиль. Закрыть вентиль манометродержателя, снять манометр и в отверстие манометродержателя завернуть пробку;
е) закрыть арматуру колпаками и опломбировать их.
Слив продукта. Поданную к месту слива цистерну необходимо затормозить. Перед началом слива производится разогрев цистерны паром. Для этого к одному из штуцеров коллектора 7 на рис. 4.13 подключается шланг от паропровода. При этом второй штуцер должен быть заглушён. Пар давлением 2-4 кгс/см2 подается в коллектор, который расположен под кожухом и служит для равномерного распределения пара по всей поверхности котла.
Патрубки 8 должны быть открыты и служат для стока образующегося конденсата под кожухом. Штуцер с вентилем 10 служат для периодического спуска конденсата.
Через 4 - 6 ч после подачи пара, а также по показаниям термометра необходимо через трубку отбора проб проверить состояние продукта. Убедившись, что продукт расплавлен - приступить к сливу. Слив производится передавливанием сухим азотом давлением до 1,5 кгс/см2.
Для этого необходимо:
а) открыть колпаки арматуры;
б) подсоединить сливную коммуникацию к вентилю сливного устройства;
в) соединить газовый вентиль цистерны с напорной линией азота.
По окончании слива необходимо:
а) перекрыть вентиль подачи давления азота и вентиль, через который сливается продукт, и отсоединить трубопроводы;
б) закрыть вентили заглушками, арматуру на люках - колпаками и опломбировать их.
Цистерна для перевозки фенола модели 15-898 показана на рис. 4.14. Котел с парообогревательным кожухом в основном по конструктивным параметрам аналогичен котлу, показанному на рис. 4.2 с толщиной нижнего листа - 11 мм, средних и верхних - 8 мм. Однако для защиты от воздействия продукта котел из стали 09Г2С покрыт с внутренней стороны слоем цинка толщиной 0,08 - 0,1 мм. Для обеспечения технологических операций при покрытии цинком внутренней поверхности котел имеет два дополнительных технологических люка. Цистерна для фенола оборудована универсальным сливным прибором и предохранительно-впускным клапаном, отрегулированным на внутреннее давление в котле 1,5 кгс/см2 и вакуум - 0,2 кгс/см2.
Операции слива и налива продукта аналогичны операциям, применяемым у всех цистерн, имеющих универсальный сливной прибор, после проведения разогрева котла паром.

Рис. 4.12. Четырехосная цистерна для ядохимикатов модели 15-1432

Рис. 4.13. Котел с парообогревательным кожухом цистерны модели 15-1432:
1 - клапан; 2 - пробоотборное устройство; 3 - устройство слива-налива; 4 - манометродержатель; 5 - устройство для установки термометра; 6 - газовый вентиль; 7 - коллектор; 8 - патрубок для стока конденсата; 9 - дополнительный штуцер для подвода пара; 10 - воронка для слива конденсата

Рис. 4.14. Четырехосная цистерна для фенола модели 15-898
Цистерны модели 15-1412 (рис. 4.15) и 15-1525 (рис. 4.16) предназначены для перевозки желтого фосфора в кристаллизованном виде.
Котел цистерны изготовлен из продольных листов двухслойной стали марки ВСт3сп2 (09Г2С) + 12Х18Н10Т толщиной 8 мм верхнего и средних и 10 мм - нижнего. Котел имеет подогревательно-охлаждающий кожух. В верхней части котла располагается люк 5 с крышкой 4, показанные на рис. 4.17. На крышке люка устанавливаются патрубки: 2 - для слива-налива продукта, 3 для воды и 8 - для отбора проб; штуцер под манометр 7 и предохранительно-впускной клапан 9. Герметичность крышки обеспечивается постановкой паронитовых прокладок 1 и затяжкой болтами, а также заглушками 6. Для полного слива продукта в нижней части котла вварен поддон, в который опущена сливоналивная труба. Крышка люка с арматурой закрыта кожухом.
Продукт перевозится в кристаллизованном виде под слоем незамерзающего раствора толщиной не менее 300 мм.
Предохранительно-впускной клапан отрегулирован на давление в котле 2,5 кгс/см2 и вакуум - 0,3 кгс/см2.
Котел цистерны, показанный на рис. 4.18, имеет подогревательно-охлаждающий кожух, используемый как при наливе, так и при сливе продукта. Залив воды при охлаждении фосфора производится через один из патрубков 7, расположенных с двух сторон в средней части кожуха. Стекание конденсата при подогреве котла во время слива продукта осуществляется через воронку 6.
Налив продукта в цистерну производится закрытым способом. Для этого необходимо:
а) открыть предохранительный кожух и снять заглушки с патрубков слива-налива фосфора и воды согласно надписям на фланцах;
б) открыть заглушки на патрубке 8 (см. рис. 4.17) и установить уровнемер или другой прибор для контроля наполнения;
в) подсоединить материальную линию подачи фосфора к патрубку слива-налива и закрепить фланец болтами. Материальная линия, подающая фосфор в котел, должна быть снабжена паровой рубашкой или паровым спутником, при этом в рубашку или спутник подается пар, а через материальную линию - горячая вода температурой 65 - 70 °С. Подача воды производится до образования слоя воды в цистерне не менее 50 см;
г) после подогрева трубопровода в котел подается фосфор и производится налив цистерны.
По окончании налива необходимо, чтобы в зимних условиях над фосфором был залит слой незамерзающего раствора (хлористого кальция или хлористого натрия) высотой 30 см, а в условиях жаркого климата и летом слой воды должен быть не менее 40 - 60 см;
д) для ускорения охлаждения фосфора в котле, в подогревательно-охлаждающий кожух через один из патрубков в верхней части кожуха подается холодная вода. Выпуск воды - через второй патрубок. Давление воды в кожухе допускается не более 0,05 МПа (0,5 кгс/см2).
Цистерну можно транспортировать только после полного застывания фосфора в котле. После наполнения цистерны продуктом:
а) отключить и отсоединить наливную коммуникацию;
б) установить заглушки на патрубки слива-налива продукта и воды;
в) проверить наличие пломб на предохранительно-впускном клапане;
г) закрыть на замок предохранительный кожух.
Для слива продукта из цистерны необходимо:
а) цистерну затормозить стояночным тормозом;
б) открыть предохранительный кожух люка 3;
в) подсоединить паропровод к подогревательно-охлаждающему кожуху цистерны и произвести разогрев фосфора в котле. Пар подается под давлением 0,02-0,03 МПа (0,2-0,3 кгс/см2).
Слив продукта из цистерны может производиться, двумя способами: передавливанием продукта водой; откачиванием насосом.
При сливе продукта передавливанием:
г) снять заглушки с патрубков слива-налива фосфора и воды;
д) подсоединить материальную линию подачи фосфора к патрубку слива-налива;
е) подсоединить к водяному патрубку шланг для подачи воды в котел (температура воды должна быть не ниже 60-65° С);
ж) произвести подачу воды в котел, создавая давление в нем до 0,2 МПа (2 кгс/см2) до полного слива продукта.
При сливе продукта откачиванием насосом:
после разогрева фосфора в котле снять с люка кожух и заглушку с патрубка слива-налива и подсоединить материальную линию с насосом;
продолжая подогрев фосфора в котле, произвести перекачивание продукта.

Рис. 4.15. Четырехосная цистерна для желтого фосфора модели 15-1412

Рис. 4.16. Четырехосная цистерна для желтого фосфора модели 15-1525

Рис. 4.17. Установка сливоналивной и контрольно-измерительной арматуры на цистерне модели 15-1525:
1 - прокладка; 2, 3 - патрубки; 4 - крышка люка; 5 - люк; 6 - заглушка; 7 - штуцер под манометр; 8 - патрубок; 9 - предохранительно-впускной клапан

Рис. 4.18. Котел цистерны для желтого фосфора модели 15-1525:
1 - обечайка; 2 - днище; 3 - люк; 4 - кожух; 5 - поддон; 6 - воронка; 7, 8 - патрубки
К этой группе относятся цистерны, которые имеют наружную термоизоляцию.
Внутри группы различаются цистерны с электроподогревом (для жидкого пека и расплавленной серы), с пароподогревом или водонагревом (для пасты сульфонола, сульфонола, капролактама, бензола, суперфосфорной кислоты, амила), а также цистерны-термосы, не, требующие подогрева (для молока, виноматериалов).
Ниже приводится довольно подробное описание перечисленных выше цистерн, имеющих термоизоляцию.
Основные параметры этих цистерн приведены в табл. 4.2.
|
Наименование параметра |
Значение параметра для вагона модели |
|||||
|
15-1532 |
15-1480 |
15-1482 |
15-1417 |
15-1565 |
15-1527 |
|
|
Назначение (основной груз) |
Пек |
Сера |
Сера |
Паста сульфонола |
Сульфонол |
Бензол |
|
Тип вагона |
- |
- |
- |
- |
- |
- |
|
Грузоподъемность, т |
63 |
56,6 |
67 |
53,7 |
62 |
62,3 |
|
Масса вагона (тара), т |
27,5 |
24,7 |
25,8 |
27,2 |
26 |
26,4 |
|
Нагрузка: |
|
|
|
|
|
|
|
от оси колесной пары на рельсы, кН (тс) |
221,7 (22,62) |
199,23 (20,35) |
227,4 (23,2) |
198,16 (20,22) |
215,8 (22,0) |
217,6 (22,18) |
|
на один погонный метр пути, кН/м (тс/м) |
73,8 (7,53) |
66,25 (6,76) |
75,6 (7,72) |
65,95 (6,73) |
71,8 (7,32) |
72,4 (7,38) |
|
Число осей |
4 |
4 |
4 |
4 |
4 |
4 |
|
Габарит |
l-BM(0-T) |
02-ВМ(02-Т) |
02-ВМ(02-Т) |
1-Т |
1-BM(0-T) |
1-Т |
|
Высота центра тяжести цистерны от головок рельсов: |
|
|
|
|
|
|
|
порожней, мм |
1654 |
1363 |
1459 |
- |
1562 |
1620 |
|
груженой, мм |
2404 |
- |
2134 |
- |
2626 |
2430 |
|
Параметры котла: |
|
|
|
|
|
|
|
объем полный, м3 |
54,4 |
31,8 |
38,5 |
61,17 |
55,2 |
72,76 |
|
объем полезный, м3 |
51,7 |
- |
37,6 |
59,67 |
55 |
71,34 |
|
диаметр внутренний, мм |
2600 |
2000 |
2200 |
2800 |
2600 |
3000 |
|
длина наружная, мм |
11300 |
- |
11030 |
10300 |
11300 |
11060 |
|
толщина листов, мм: |
|
|
|
|
|
|
|
верхних |
9 |
8 |
8 |
8 |
8 |
9 |
|
средних (боковых) |
9 |
8 |
8 |
8 |
8 |
9 |
|
нижнего |
11 |
11 |
11 |
11 |
10 |
11 |
|
днищ |
10 |
11 |
10 |
11 |
10 |
10 |
|
материал |
Ст09Г2, 09Г2Д, 09Г2С, 09Г2СД-12 |
Ст09Г2+ +12Х18Н10Т или ВСт3п2+ +12Х18Н10Т |
ВСт3сп2+ +12Х18Н10Т |
ВСт3сп5 |
Ст3 08Х22Н6Т |
Ст09Г2С-12 |
|
удельный объем, м3 |
0,82 |
- |
0,56 |
1,11 |
0,89 |
1,15 |
|
рабочее давление, МПа (кгс/см2) |
0,2 (2) при транспортировке |
0,2 (2) при транспортировке |
- |
0,06 (0,6) при транспортировке |
0,07 (0,7) при транспортировке |
0,06 (0,6) |
|
Максимально допустимая температура загружаемого продукта, °С |
+300-250 |
+135-150 |
+135-150 |
- |
+50 |
+10-20 |
|
Рабочая температура в котле, °С |
-50 - +300 |
-50 - +50 |
-50 - +50 |
- |
+20 - +50 |
- |
|
Толщина изоляции, мм |
190 |
200 |
- |
100 |
- |
- |
|
Год постановки нa серийное производство |
1973 |
1971 |
1980 |
1965 |
1980 |
1986 |
|
Год снятия с производства |
- |
1980 |
- |
1978 |
|
- |
Продолжение таблицы 4.2
|
Наименование параметра |
Значение параметра для вагона модели |
||||||||
|
15-1552 |
15-1576 |
15-889 |
15-1578 |
15-Ц858 |
15-886 |
15-1535 |
15-1542 |
15-1593 |
|
|
Назначение (основной груз) |
Капролактам |
Амил |
Суперфосфорная кислота |
Суперфосфорная кислота |
Молоко |
Молоко |
Виноматериалы |
Виноматериалы |
Виноматериалы |
|
Тип вагона |
- |
- |
- |
- |
773 |
772 |
776 |
776 |
776 |
|
Грузоподъемность, т |
50 |
53,5 |
120 |
120 |
26 |
31,2 |
57,5 |
57,4 |
66,7 |
|
Масса вагона (тара), т |
26 |
26,7 |
53 |
53 |
26 |
23,3 |
26,4 |
25,1 |
25,5 |
|
Нагрузка: |
|
|
|
|
|
|
|
|
|
|
от оси колесной пары на рельсы, кН (тс) |
188,2 (19,2) |
196,5 (20,05) |
212 (21,63) |
212 (21,63) |
127,5 (13) |
133,7 (13,62) |
205,8 (21) |
202,3 (20,625) |
226,12 (23,05) |
|
на один погонный метр пути, кН/м (тс/м) |
62,6 (6,39) |
65,4 (6,67) |
87 (8,87) |
87 (8,87) |
42,18 (4,3) |
44,4 (4,53) |
67,69 (6,9) |
67,33 (6,86) |
75,24 (7,67) |
|
Число осей |
4 |
4 |
8 |
8 |
4 |
4 |
4 |
4 |
4 |
|
Габарит |
1-ВМ (0-Т) |
02-ВМ (02-Т) |
1-Т |
1-Т |
0-ВМ (01-Т) |
1-ВМ (0-Т) |
1-Т |
1-Т |
1-Т |
|
Высота центра тяжести цистерны от головок рельсов: |
|
|
|
|
|
|
|
|
|
|
порожней, мм |
1679 |
- |
1446 |
1446 |
- |
1502 |
- |
1524 |
1580 |
|
груженой, мм |
2313 |
- |
2270 |
2270 |
- |
2119 |
- |
2356 |
2477 |
|
Параметры котла: |
|
|
|
|
|
|
|
|
|
|
объем полный, м3 |
55,2 |
44,35 |
63 |
63,1 |
25,2 |
30,52 |
61,17 |
54,78 |
63,69 |
|
объем полезный, м3 |
49,5 |
36,0 |
62,9 |
|
|
30,28 |
57,5 |
54,54 |
63,57 |
|
диаметр внутренний, мм |
2600 |
2417 |
2300 |
2300 |
1900 |
2012 |
2800 |
2600 |
280.0 |
|
длина наружная, мм |
11300 |
10010 |
16100 |
16100 |
9200 |
10870 |
10300 |
10630 |
11090 |
|
толщина листов, мм: |
|
|
|
|
|
|
|
|
|
|
верхних |
8 |
8 |
7 |
8 |
|
14 |
|
9 |
9 |
|
средних (боковых) |
8 |
8 |
7 |
8 |
|
14 |
|
9 |
9 |
|
нижнего |
10 |
10 |
7 |
8 |
|
16 |
|
11 |
11 |
|
днищ |
10 |
11 |
7 |
9 |
|
16 |
|
11 |
11 |
|
материал |
Ст08Х22Н6Т |
Сг08Х18Н10Т |
CтTTST5 2 |
CтZINCDU 25-20 (УРАНУСБ) |
Ал АД-0 |
Ал АД-0 или АД-1 |
ВСт3сп5 |
ВСт3сп2+ +12Х18Н10Т |
ВСт3сп2+ +12Х18Н10Т |
|
удельный объем, м3 |
0,99 |
0,673 |
0,524 |
0,526 |
0,97 |
0,97 |
1,0 |
0,95 |
0,953 |
|
рабочее давление, МПа (кгс/см2) |
0,2(2) при транспортировке |
0,35 (3,5) |
0,065 (0,65) |
0,065 (0,65) |
- |
- |
0,15 (1,5) |
0,15 (1,5) |
0,15 (1,5) |
|
Максимально допустимая температура загружаемого продукта, °С |
+95 |
- |
+85 |
+85 |
- |
Зимой не менее +6, летом не менее +4 |
- |
Летом +16, зимой +8 |
Летом +16, зимой +8 |
|
Рабочая температура в котле, °С |
+40 - +100 |
- |
- |
- |
- |
- |
- |
- |
- |
|
Толщина изоляции, мм |
150-190 |
190-200 |
180-200 |
200 |
300 |
300 |
100 |
250 |
150 |
|
Год постановки нa серийное производство |
1973 |
- |
1977 |
1963 |
- |
1963 |
1969 |
1971 |
1986 |
|
Год снятия с производства |
- |
- |
1978 |
1984 |
- |
- |
1970 |
1987 |
- |
Показанная на рис. 4.19 четырехосная железнодорожная цистерна модели 15-1532 предназначена для перевозки жидкого каменноугольного пека при температуре окружающего воздуха до -50°С. Пек должен сохраняться в жидком состоянии при температуре налива 250°С и окружающей среды -30°С не менее пяти суток.
Разогрев груза производится электроподогревателями, мощность которых составляет 90 кВт. Слив осуществляется при температуре 140-180° С при скорости разогрева около 2,4 °С в час.

Рис. 4.19. Четырехосная цистерна для жидкого пека модели 15 -15 32
Основные параметры цистерны для пека приведены в табл. 4.2.
Жидкий пек выделяет пары, которые, соединяясь с воздухом, образуют горючие смеси, могущие легко воспламеняться от любой искры, нагретых поверхностей и др.
Кроме того, пары пека могут вызвать отравление. Попадая на кожу человека, жидкий пек может вызвать ожоги. Отравления и ожоги может вызвать и пыль пека. При солнечном свете токсичные действия пека проявляются сильнее, чем в темноте.
Каменноугольный пек - токсичное вещество, поэтому при техническом обслуживании и эксплуатации цистерн для пека должны строжайше соблюдаться правила техники безопасности.
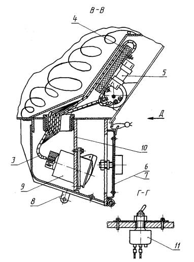
Цистерна для перевозки пека (см. рис. 4.19) имеет следующие узлы: котел 3, раму с настилом 9, автотормоз 12, тележки 11, автосцепное оборудование 10, изоляцию котла 4, крепление котла на раме 6, наружную лестницу с помостами 2, кожух электронагревателей 5, каркас и (кожух изоляции 7, электрооборудование 8, теплоизоляционную крышку горловины 1, стояночный тормоз 14, панельный ящик 13.
Котел состоит из цилиндрической обечайки и двух эллиптических днищ и выполнен из низколегированной стали марки 09Г2С-12. Для более полного слива продукта нижний лист котла имеет с двух сторон уклон к поддону, в котором опущена сливная труба.
Налив и слив продукта - верхние.
Для этого в середине верхней части котла приварена горловина люка-лаза диаметром 624 мм с крышкой 2 (рис. 4.20), на которой установлены сливная 3, наливная 4 трубы. На крышке также устанавливаются смотровой люк 1 и быстрооткрывающаяся крышка ригельного типа 5 вспомогательного люка-лаза диаметром 400 мм, на которой в свою очередь находятся штуцер 7 и муфтовый кран 8.
Сливная труба Dy 100 (см. рис. 4.20, Б-Б) служит для слива продукта. Ее устанавливают по центру котла над поддоном на расстоянии 90 мм от него. Сливная труба 12 при помощи фланца 13 крепится шпильками 9 к крышке 2 (см. рис. 4.20) основного люка-лаза, сверху она плотно закрывается заглушкой 10 с хомутами 11.
Наливная труба (см. рис. 4.20, А-А) служит для налива продукта в котел, по конструкции она аналогична сливной трубе.
Смотровой люк предназначен для определения уровня налива продукта в котел, которое производится либо визуально, либо с помощью деревянной рейки с делениями. В случае необходимости замера температуры продукта в котле термопара устанавливается в смотровой люк.
Смотровой люк закрывается крышкой с предохранительной мембраной 15 (см. рис. 4.20, В-В), которая защищает котел от избыточного свыше 0,2 МПа (2кгс/см2) давления в нем.
Предохранительная мембрана со стороны продукта защищена фторопластовой пленкой толщиной 0,15 мм и отражателем 14, а сверху экраном 18. Мембрана с пленкой зажаты между фланцами 16 и 17. Крышка люка закрывается ригелем 19 и откидным болтом 20.
Защитная пленка мембраны должна разрушаться от вакуума свыше 0,04-0,06 МПа (0,4-0,6 кгс/см2) и температуры среды 100° С в цистерне.
Вспомогательный люк-лаз служит для наполнения котла продуктом с помощью иглы заливного устройства установок автоматического налива, имеющихся на некоторых заводах, а .также для доступа в котел в случае необходимости (техническое освидетельствование, осмотр, определение качества слива, пропарки, наличия осадков и др.).
Крышка вспомогательного люка-лаза имеет предохранительную скобу 6 (см. рис. 4.20), которая исключает открытие крышки под действием давления в котле.
Муфтовый кран Dy 32 служит при разгрузке котла передавливанием для подачи пара в котел, для проверки и сброса давления или вакуума в котле, а также и для продувки котла.
На котле, помимо вышеперечисленного, устанавливают кронштейны для крепления направляющих реек сдвижной теплоизоляционной крышки. На нижней части к котлу приварены фасонные лапы крепления котла на раме.
Вагон оборудован типовой (за исключением хребтовой балки) рамой с ходовыми частями, автосцепным и автотормозным оборудованиями и ручным стояночным тормозом. Подробнее об этом изложено в разд. 2. Нетиповой является хребтовая балка рамы, которая состоит из двух усиленных зетов № 31, связанных сверху сваркой, а также поперечными диафрагмами. По бокам хребтовой балки установлен настил.
Котел цистерны для пека, как у всех рамных цистерн, крепится к раме в средней части с помощью лап, а в концевых частях - четырьмя хомутами. Поскольку груз имеет высокую температуру, в конструкции опор деревянные бруски не используются. Между котлом и металлической опорой устанавливаются многослойные прокладки, выполненные из паронита, асбестовой ткани и алюминиевого листа. Для улучшения теплоизоляции под опорами размещаются текстолитовые листы.
Вокруг котла создан воздушный зазор, составляющий 30 мм, чтобы обеспечить равномерный разогрев котла горячим воздухом, который поступает от электрических трубчатых нагревателей, расположенных в нижней части между котлом и рамой вагона.
Указанный выше зазор создается кожухом электронагревателей, который крепится при помощи каркаса кожуха изоляции.
Каркас кожуха изоляции состоит из приваренных к котлу кронштейнов, на которых крепятся четыре кольцевых опорных пояса, а также поясов днищ. Между опорными поясами, расположенными в середине котла, вверху крепятся два продольных уголка, а на них помосты и лестницы.

Рис. 4.20. Крышка горловины люка-лаза цистерны для пека модели 15-1532

Продолжение рис. 4.20
Кожух электронагревателей и кожух изоляции представляют собой выполненные из углеродистой стали листы толщиной 1,5 мм, которые соединяются с каркасом изоляции. Во избежание попадания влаги под кожух изоляции поперечные стыки листов кожуха закрыты штампованными хомутами. Между кожухом электронагревателей и кожухом изоляции размещается тепловая изоляция котла, которая служит для предотвращения охлаждения продукта в котле. Изоляция состоит из отдельных, матов, каждый из которых обернут стеклотканью и прошит стеклянной нитью. Мат имеет толщину 190 мм, в том числе 50 мм - из термостойкого холста СТВ и 140 мм - из стеклянного штапельного волокна ЦФД.
Изоляционные маты укладывают таким образом, чтобы термостойкий холст был обращен к кожуху электронагревателей и чтобы концы (напуски) стеклоткани матов перекрывали друг друга. Напуски прошиваются. После этого, чтобы избежать насыщения влагой изоляции, наружную поверхность матов покрывают стеклотканью и утягивают шнуром по окружности котла с шагом 200-250 мм, затем покрывают бесцветным лаком ХВ-784 с добавлением 10 % желтой эмали ХВ-785 для подкраски.
Для предохранения горловины котла от охлаждения служит сдвижная теплоизоляционная крышка горловины (рис. 4.21). Она представляет собой два вставленных друг в друга колпака, пространство между которыми заполнено теплоизоляционным материалом.
Наружный колпак 1 имеет каркас 2, сваренный из уголков и обшитый стальным листом толщиной 1,5 мм. Внутренний колпак 5 сварен из алюминиевых листов толщиной 2 мм. Колпаки соединяются опорным кольцом 6. Герметичность крышки по опорной поверхности обеспечивается уплотнительным кольцом 7 и замками 10.
Перед сдвигом в крайнее заднее положение крышка приподнимается на угол 18-20°С, затем с помощью подвижной каретки 13 устанавливается на направляющих рейках 11, которые крепятся к котлу через кронштейны 12, С помощью установленных на общей оси 15 пружин кручения 16, одним концом опирающихся на полки каретки 13, а другим зацепленных за приваренный к крышке валик кронштейна 14, облегчается подъем крышки. Этой же цели служат две ручки 8. Упор 17 ограничивает высоту подъема крышки. Сдвиг крышки производится в следующей последовательности:
1) с помощью ручки 4 крышка снимается с защелки 9;
2) крышка поднимается до упора 17;
3) крышка сдвигается на каретке по направляющим рейкам 11, открывая при этом доступ к арматуре котла.
Закрывание изоляционной крышки горловины производят в обратном порядке.
Во время транспортировки продукта изоляционная крышка горловины должна быть опломбирована (пломбой 3).
Разогрев продукта осуществляется трубчатыми электронагревателями. Питание нагревателей осуществляется от силовой сети напряжением 220 В, подключаемым через штепсельные разъемы которые устанавливаются в смонтированном на раме вагона панельном ящике 13 (см. рис. 4.19).
Электрические нагреватели 1 (рис. 4.22) типа ТЭН-200 Д-13 2,5 Т 220 для удобства монтажа и демонтажа объединяют в съемные секции 2, Кроме этого, в электрооборудование цистерны входят соединительные провода 3 марки ПАЛ 2,5 и ПАЛ 10 или РКГМ 1×2,5 и 1×10; рычажный переключатель 11 типа П2Т-3 или ТВ2-1 для разрыва цепи управления в случае окончания разогрева цистерны; три штепсельных вилки 9 типа ШЩ 4×60 А (6ДК266-019) для подключения цистерны к пунктам энергопитания; штепсельную колодку 12 типа ШР20П4ЭГ8 для подключения цепи управления.
Ответные три штепсельных гнезда ШК4×60 А-400 В (5ДК 573.011), вставка ШР20П4ЭГ8, три предохранителя ПР-2У4 на 60 А 220 В, девять плавких вставок на 60 А к предохранителям укладывают и хранят в горловине цистерны на крышке люка-лаза.
Секции электронагревателей, устанавливаемые под котлом в нижней части воздушного зазора между котлом и кожухом электронагревателей в специальных нишах, легко снимаются. Выводы электронагревателей удалены из зоны высоких температур и размещены под быстрооткрывающимися крышками с винтовыми замками под торцовый ключ S = 22, хранящийся в горловине люка-лаза. Секций крепятся к фланцам на каркас кожуха изоляции с помощью торцового ключа S = 24, который также хранится в горловине люка-лаза котла.
Провода от каждой секции электронагревателей идут на панель предохранителей 4 (см. рис. 4.22, В-В и вид Д), на которой из расчета один предохранитель на секцию из четырех нагревателей размещено девять предохранителей 5 типа ПР-2У4 с плавкой вставкой на 60 А.
В панельном ящике 13 (см. рис. 4.19) расположена панель управления 10 (см. рис. 4.22, В-В и вид Д), куда провода подводятся с панели предохранителей. На панели управления монтируются все штепсельные разъемы и выключатель обогрева. На крышке панельного ящика (см. рис. 4.22, В-В) с внутренней стороны размещены принципиальная электрическая схема 6 разогрева цистерны и инструкция 7 по ее разогреву.
На панельном ящике с нижней стороны установлено специальное ушко 8 с отверстием под болт с гайкой M12, которое предназначено для заземления цистерны.
На рис. 4.23 приведена электрическая схема соединения электрооборудования цистерны. Из этой схемы видно, что все электронагреватели цистерны разделены на три группы, каждая из которых тоже разделена на три подгруппы, которые соединены между собой по схеме "звезда". Нагреватели каждой подгруппы соединены параллельно. Подключение электронагревателей цистерны по схеме "звезда" к сети промышленного переменного тока напряжением 380 В обеспечивает на фазе напряжение 720 В.

Рис. 4.21. Теплоизоляционная крышка горловины котла цистерны для пека модели 15-1532

Рис. 4.22. Оборудование для электроподогрева цистерны для пека модели 15-1532

Продолжение рис. 4.22

Продолжение рис. 4.22

Рис. 4.23. Электрическая схема соединения электрооборудования цистерны для пека модели 15-1532
Каждая группа электронагревателей имеет номинальную мощность 30 кВт. Суммарная мощность всех нагревателей составляет 90 кВт. С помощью этих нагревателей воздух между котлом и термоизоляцией разогревается до 300 - 350 °С.
На электрической схеме (см. рис. 4.23) приняты следующие обозначения:
А1-1 - первая буква и цифра А1 - фаза цепи; вторая цифра "1" - номер участка цепи; отдельные номера 1, 2, 3 и 4 - проводники цепи управления.
В соответствии с этими обозначениями имеют маркировку все проводники на цистерне.
Напив продукта в цистерну производится в следующей последовательности:
1) цистерна затормаживается стояночным тормозом и тщательно осматривается; дается письменное заключение об исправности узлов и готовности цистерны к наливу;
2) вагон заземляется путем подсоединения к ушку заземления гибкого проводника с наконечником под болт M12;
3) для налива через наливную трубу необходимо:
а) открыть теплоизоляционную крышку горловины;
б) снять заглушку с наливной трубы;
в) подсоединить к наливной трубе загрузочный трубопровод, оборудованный подсоединительным фланцем (рис. 4.24);
4) с помощью сигнализатора уровня СУУЭ-ЖЦ-2 (рис. 4.25), где 1 - ультразвуковой сигнализатор, стационарно установленный на пункте налива; 2 - гибкий шланг; 3 - датчик, устанавливаемый на котле перед наливом продукта; 4 - колокол, устанавливаемый в котле на глубине 652 мм (от верхней кромки фланца сливной трубы) или деревянного метрштока длиной не менее 3 мм (через смотровой люк) контролируется уровень наполнения котла. Выходящий из котла воздух и пары продукта должны отводиться по трубопроводу от крана Dy 32 в установленное место. Недолив до верхней образующей котла при заполнении жидким пеком с удельным весом 1,16 т/м3 и температурой 250°С составляет 220 мм;
5) после наполнения котла цистерны жидким пеком отсоединяется загрузочный трубопровод, воздушные шланги (или выводится игла заливочного устройства установки автоматического налива), закрываются крышки наливной трубы и смотрового люка, а также кран Dy 32 на крышке вспомогательного люка-лаза и изоляционная крышка горловины, отсоединяется заземление цистерны;
6) опломбируется теплоизоляционная крышка горловины и панельный ящик;
7) цистерна сдается представителю транспорта и отправляется в путь.
Слив продукта из цистерны производится в следующей последовательности:
1) цистерна затормаживается стояночным тормозом и тщательно осматривается, проверяется отсутствие повреждений на раме, кожухе изоляции, устройстве слива продукта, целостность пломб, отсутствие давления внутри котла (открывается кран Dy 32), производится замер температуры продукта в котле и определяется необходимость разогрева пека;
2) вагон заземляется;
3) производится слив передавливанием или перекачиванием.
Слив передавливанием осуществляется следующим образом: к сливной трубе подсоединяется магистральный трубопровод, а к крану Dy 32 - шланг от паропровода. Остальные патрубки и люки должны быть закрыты герметично. Через кран Dy 32 под давлением не более 0,065 МПа (0,65 кгс/см2) подается пар. Контроль за величиной давления осуществляется манометром, который устанавливается на пункте слива в цепь паропровода. Окончив слив, перекрывают подачу пара в котел цистерны, убедившись по манометру в отсутствии давления в котле. Затем отсоединяется магистральный трубопровод, закрывается кран Dy 32.
Слив жидкого пека сифонированием (откачкой с помощью насосов) производится через сливную трубу при открытых смотровом люке или кране Dy 32. Чтобы избежать охлаждения пека внутри котла рекомендуется соединить (закольцевать) котел с газовым пространством емкости, в которую производится слив пека, с помощью крана Dy 32 и гибкого шланга.
Независимо от способа слива во избежание образования вакуума в котле необходимо охладить цистерну перед закрытием смотрового люка.
В случае необходимости разогрева пека принят следующий порядок подключения электронагрева цистерны:
1) проверить исправность средств подключения цистерны (штепсельных разъемов, выключателя на цистерне и средств автоматической защиты на пунктах разогрева);
2) заземлить цистерну;
3) поставить выключатель "Разогрев цистерны" на панели управления в положение "Выключено";
4) соединить 4-й штепсельный разъем;
5) соединить силовые разъемы (1, 2 и 3);
6) поставить в положение "Включено" выключатель "Разогрев цистерны".
С этого момента электрическое оборудование вагона готово для включения разогрева цистерны.
По окончании разогрева продукта выключатель "Разогрев цистерны" переводится в положение "Выключено", разъединяются штепсельные разъемы, крышка панельного ящика закрывается и опломбируется.
Контроль температуры в котле осуществляется термопарой типа ТХК-0806, l = 3,0 м, которая хранится в пункте разогрева.

Рис. 4.24. Подсоединительный фланец к наливной трубе

Рис. 4.25. Сигнализатор уровня СУУЗ-ЖЦ-2
Для перевозки жидкой серы служат четырехосные цистерны моделей 15-1480 (рис. 4.26) и 15-1482 (рис. 4.27). Они рассчитаны для работы при температуре окружающего воздуха до минус 50 ° С. Сера должна сохраняться в жидком состоянии при температуре налива, равной 150 ° С, и окружаюшей среды - минус 25 ° С не менее четырех суток, летом - не менее шести суток.
Разогрев груза производится электроподогревателями, мощность которых составляет 90 кВт. Слив осуществляется при температуре 120-125 С при скорости разогрева около 3,2 °С в час.
Жидкая сера растворяет в себе разные углеводороды и сероводород, которые образуются при получении серы. Слив, налив, хранение жидкой серы приводят к выделению паров серы, органических веществ, керосина, сероводорода и т.д., способных образовать с воздухом горючие смеси, которые могут воспламеняться от открытого пламени, нагретых поверхностей, от любой искры, а также при возгорании пирофорных соединений.
Кроме того, выделяющиеся из жидкой серы пары могут вызывать отравление, а сама жидкая сера может, попадая на кожу человека, вызвать термические ожоги.
Поэтому, как видно из вышеизложенного, при техническом обслуживании и эксплуатации цистерн для серы должны строго соблюдаться правила техники безопасности.
Конструкция цистерны для серы модели 15-1482 аналогична конструкции цистерны для пека модели 15-1532, т.е. имеет те же узлы, что цистерна для пека, аналогично выполняются и операции по наливу и сливу.
Остановимся несколько подробнее на некоторых конструктивных различиях вагонов, обусловленных спецификаций перевозимого груза.
Котел цистерны для серы изготавливается из двухслойной стали марки 09Г2+12Х18Н10Т или ВСт3сп2 + 12Х18Н10Т, к грузу котел обращен нержавеющей сталью 12Х18Н10Т.
Ближе к концам котла в зоне верхней образующей ввариваются продувочные патрубки, с помощью которых производится удаление вредных газов из котла цистерны. Продувочный патрубок состоит из трубы Dy 50, ушек в верхней ее части, предназначенных для крепления крышки с помощью двух откидных болтов. С внутренней стороны между крышкой и трубой располагается фторопластовая прокладка.
Перед наливом цистерны после ее заземления производится продувка верхней полости котла воздухом или азотом (1-2 м3/с) давлением не более 0,2 МПа (2 кгс/см2). Для продувки к одному из продувочных патрубков подсоединяется рукав от источника, подающего азот или воздух. При этом другой патрубок (с противоположной стороны) должен быть открыт. Воздух допускается выпускать в атмосферу или отводить с помощью рукава в установленное место. Продувка цистерны от скопившегося в котле газа производится 5-10 мин.
По окончании наполнения цистерны крышки продувочных патрубков закрываются и опломбируются.
Перед операцией слива передавливанием одновременно с подсоединением магистрального трубопровода к сливной трубе производится соединение одного их продувочных патрубков со шлангом от воздухопровода, через который в котел подается воздух под давлением не выше 0,2 МПа (2 кгс/см2).
При сливе сифонированием (перекачивающими средствами) рекомендуется во избежание охлаждения серы внутри котла соединить продувочный патрубок гибким шлангом с газовым пространством емкости, в которую производится слив серы.
На крышке вспомогательного люка-лаза цистерны для серы вместо штуцера с муфтовым краном (позиции 7 и 8 на рис. 4.21) приварен штуцер для установки манометра. Манометр устанавливается в пунктах слива и налива, а в остальное время штуцер закрывается заглушкой (пробкой).
Температура между котлом и кожухом электронагревателей автоматически регулируется в пределах 160-180 °С с помощью термореле ТР-200 М, которое располагается в нижней части цистерны у левого ближнего к середине штамповочного хомута кожуха изоляции. Для установки термореле к котлу приваривают кронштейн. В кожухе изоляции имеется окно с крышкой для доступа к термореле.
Между лапами котла и лапами рамы устанавливают текстолитовую прокладку.
Кожухи электронагревателей и изоляции выполнены из листов нержавеющей стали толщиной 1 мм и 1,5 мм, соответственно.
Толщина изоляционных матов составляет 200 мм, в том числе 50 мм - из термостойкого теплоизоляционного холста СТВ и 150 мм - из материала ЦФД.
Аналогична конструкция и цистерны для серы модели 15-1480.
Общий вид цистерны для перевозки пасты сульфонола (модель 15-1417) показан на рис. 4.28. Основные параметры этого вида цистерн приведены в табл. 4.2. Цистерны имеют котлы с термоизоляцией. Для разогрева продукта используется пар, пропускаемый по змеевику из нержавеющих труб, расположенному в нижней части котла.
Налив продукта - верхний, слив - нижний. Котел изготовлен из стали марки ВСт3сп5 по ГОСТ 380-88. Наружная поверхность котла покрыта изоляционным материалом МРТ-35 по ГОСТ 10499-78 толщиной 100 мм и металлического кожуха из листовой стали толщиной 1,5 мм. Подогрев продукта (в случае его охлаждения до температуры от +15 до +20 °С) производится паром при давлении до 0,6 МПа (6 кгс/см2).
Котел цистерны оборудован люком-лазом с откидной крышкой, показанными на рис. 4.29. В люке размещается устройство для установления предельного уровня заполнения котла и основной привод затвора универсального сливного прибора. Рядом с люком находится предохранительно-впускной клапан, отрегулированный на внутреннее давление в котле 0,06 МПа (0,6 кгс/см2) и вакуум 0,005 - 0,015 МПа (0,05-0,15 кгс/см2).

Рис. 4.26. Четырехосная цистерна для расплавленной серы модели 15-1480

Рис. 4.27. Четырехосная цистерна для расплавленной серы модели 15-1482

Рис. 4.28. Четырехосная цистерна для пасты сульфонола модели 15-1417

Рис. 4.29. Люк-лаз цистерны модели 15-1417:
1 - кран Dу 50 для подвода воздуха; 2 - предохранительно-впускной клапан; 3 - указатель уровня наполнения; 4 - привод сливного прибора; 5 - крышка люка; 6 - сливные трубки для удаления остатков промывающей жидкости
На котле, в верхней его части, имеются два патрубка, закрытые крышками. К этим патрубкам подключается напорный трубопровод для перемешивания продукта до однородного состава при разогреве его перед сливом.
Подключение пароподводящей магистрали для разогрева продукта осуществляется с помощью фланца на патрубке змеевика, размещенного вблизи горловины сливного прибора.
Налив продукта осуществляется в следующей последовательности:
а) цистерну затормозить стояночным тормозом;
б) поднять створки изоляционных крышек и открыть крышку лазового люка;
в) закрыть сливной прибор с помощью верхнего привода и закрыть нижнюю крышку сливного прибора;
г) через люк произвести наполнение цистерны продуктом до уровня указателя недолива;
д) закрыть крышку люка-лаза, створки изоляционных крышек люка-лаза, крышки патрубков перемешивания продукта и крышку сливного прибора. Изоляционные крышки (верхние) опломбировать.
Слив продукта осуществляется в следующей последовательности:
а) открыть крышки изоляции сливного прибора, крышки изоляции патрубков для перемешивания и крышки изоляции люка-лаза;
б) произвести подключение сливного прибора к всасывающей магистрали с насосом;
в) произвести подключение напорного трубопровода к патрубкам для перемешивания продукта и открыть через горловину люка-лаза сливной прибор;
г) при необходимости произвести подключение паропроводящей магистрали и произвести разогрев продукта.
Допускается перед сливом первоначальное поддавливание продукта сжатым воздухом давлением 0,06 МПа (0,6 кгс/см2) при закрытом люке-лазе через кран Dy 50, находящийся рядом с люком-лазом. Слив продукта из котла цистерны должен производиться в дальнейшем при открытой крышке люка-лаза.
Общий вид цистерны для перевозки сульфонола (модель 15-1565) представлен на рис. 4.30. Котел цистерны изготовлен из стали марки 08Х22Н6Т по ГОСТ 7350-77 с толщиной нижнего листа 10 мм, боковых и верхнего - 8 мм. Котел цистерны имеет термоизоляцию и стальной кожух, аналогичные изоляции и кожуху цистерны для пасты сульфонола. Для разогрева продукта котел имеет подогревательный кожух, охватывающий нижнюю поверхность котла. Конструктивное исполнение подогревательного кожуха аналогично вариантам цистерн с обогревательным кожухом без термоизоляции, приведенным выше в разд. 4.1.
На подогревательном кожухе установлен предохранительно-впускной клапан, отрегулированный на избыточное давление 0,06 МПа (0,6 кгс/см2) и вакуум 0,03 МПа (0,3 кгс/см2).Трубы для подвода и отвода теплоносителя выведены за пределы кожуха теплоизоляции цистерны. Теплоносителем может быть пар или вода.
Вверху котел имеет две горловины, в одной из которых находится люк-лаз с крышкой, в другой - арматуры и приборы для проведения необходимых операций по сливу и наливу продукта, отбору проб, замеру температуры и давления в котле. Схема расположения сливоналивной арматуры показана на рис. 4.31. Горловины закрыты теплоизолирующими крышками.
Налив продукта верхний, слив - нижний.
Трубопровод при наливе подключается к одному из расположенных в горловине вентилей Dy 80, которые установлены на вваренных в котел трубах. Эти вентили и трубы используются также для перемешивания продукта. При сливе продукта трубопровод подключается к патрубкам внизу котла в средней его части, которые выведены на обе стороны цистерны. Открытие и закрытие клапана сливного устройства осуществляется с помощью маховика, расположенного в горловине вверху котла. Для отбора проб продукта с двух уровней (верхнего и нижнего) предусмотрены два вентиля Dy 20 с вваренными в котел трубами.
Температура в котле (в среднем уровне) измеряется с помощью термопары. Манометр в период слива и налива продукта устанавливают в манометродержатель с вентилем Dy 6. На котле установлен предохранительно-впускной клапан, отрегулированный на избыточное давление 0,2 МПа (2 кгс/см2) и вакуум 0,03 МПа (0,3 кгс/см2).
Теплоноситель (горячая вода или пар) к системе разогрева подводится снизу через воронку, установленную в районе сливного устройства, а отвод теплоносителя производится через трубы Dy 50, размещенные на торцах кожуха. Подвод теплоносителя возможен с двух сторон. На этих трубах имеются соединительные головки ГМ-50 с заглушками. Трубы слива продукта закрыты теплоизоляционными колпаками.
На котле имеется смотровой люк Dy 80 с заглушкой, предназначенной для осмотра котла, а также для замера уровня продукта метрштоком или другим устройством.
Для налива продукта необходимо:
а) затормозить цистерну стояночным тормозом и заземлить;
б) открыть теплоизолирующие крышки арматурного люка, люка-лаза и труб слива продукта;
в) ввернуть в манометродержатель кислотостойкий манометр типа МТИ (р = 0-1,0 МПа (10 кгс/см2)) и открыть вентиль манометродержателя для проверки давления в котле. Давление сбросить через пароотборник снятием заглушки и открытием вентиля;

Рис. 4.30. Четырехосная цистерна для сульфонола модели 15-1565

Рис. 4.31. Расположение сливоналивной арматуры цистерны модели 15-1565:
1 - привод сливного устройства; 2 - предохранительно-впускной клапан; 3 - вентиль Dy 80 для налива продукта; 4 -наливная труба; 5 - термопара; 6 - смотровой люк; 7 - вентили Dy 20 для отбора проб; 8 - манометродержатель
г) снять заглушки с вентиля Dy 80 смотрового люка и труб слива продукта. Вращением маховика привода сливного устройства проверить плотность закрытия сливного отверстия котла;
д) соединить вентиль Dy 80 с напорной коммуникацией перекачивающего средства, после чего открыть вентиль и наполнить котел продуктом. Наполнение котла контролировать через смотровой люк метрштоком.
Допускается налив продукта производить через трубу слива продукта, при этом сливное отверстие открывается вращением маховика против часовой стрелки;
ё) после наполнения котла продуктом необходимо закрыть вентиль Dy 80 и поставить заглушку на вентиль, смотровой люк и трубы слива продукта. Закрыть манометродержатель, снять манометр, поставить заглушку манометродержателя, отсоединить заземляющий кабель.
Для слива продукта необходимо:
а) затормозить цистерну стояночным тормозом и заземлить;
б) открыть термоизолирующие крышки арматурного люка, люка-лаза, труб слива продукта;
в) ввернуть в манометродержатель манометр и проверить наличие давления в котле. Сброс давления осуществить через пробоотборник после снятия его крышки и открытия вентиля;
г) для определения необходимости обогрева котла измерить температуру с помощью термопары, расположенной в арматурном люке, и магнитно-электрического прибора;
д) снять заглушку с вентилей Dy 80, Dy 20, смотрового люка, труб слива продукта, с труб системы обогрева (при температуре продукта ниже +50°С) и присоединить к трубе распределительной воронки напорный трубопровод с теплоносителем, а к патрубкам в торцевых частях цистерны - трубопроводы для отвода теплоносителя. Температура продукта в котле после разогрева не должна быть выше 60°С. После окончания разогрева закрыть вентили на трубопроводах подачи и отвода теплоносителя, слить теплоноситель и продуть теплообменник, после чего установить заглушки;
е) для перемешивания и слива продукта из котла необходимо трубы слива продукта при помощи рукавов всасывающей коммуникации закольцевать с вентилем Dy 80. Открыть вентили Dy 80, вращением штурвала привода сливного устройства открыть выходное отверстие и включить перекачивающие средства пункта слива;
ж) открытием вентилей пробоотборного устройства взять пробы для определения степени однородности продукта в различных слоях котла;
з) переключить систему перемешивания на слив продукта, отключив вентили Dy 80.
Допускается при сливе продукта в котел подавать через вентиль Dy 80 избыточное давление до 0,2 МПа (2 кгс/см2). При этом смотровой люк и вентили отбора проб должны быть закрыты.
После слива продукта закрыть вентили Dy 80 и Dy 20, закрыть маховиком сливное отверстие, отсоединить трубопроводы и заглушить все отверстия. Закрыть манометродержатель, снять манометр и установить заглушку на манометродержатель. Закрыть термоизолирующие крышки.
Цистерна для перевозки капролактама (модель 15-1552) показана на рис. 4.32, а его котел - на рис. 4.33.
По конструктивному исполнению котла, системы разогрева перевозимого груза и термоизоляции эта цистерна аналогична цистерне для перевозки сульфонола, описанной выше. Котел цистерны (см. рис. 4.33) изготовлен из стали марки 08Х22Н6Т по ГОСТ 7350-77 с толщиной листов: нижнего - 10 мм, средних и верхних - 8 мм. Налив и слив продукта - верхние. Теплоносителем служит горячая вода или пар. На подогревательном кожухе, охватывающем нижнюю часть котла, установлен предохранительно-впускной клапан, отрегулированный на избыточное давление 0,06 МПа (0,6 кгс/см2) и вакуум 0,03 МПа (0,3 кгс/см2). Схема расположения вентилей и других элементов сливоналивной коммуникации цистерн показан на рис. 4.34.
В комплект сливоналивных коммуникаций цистерн входят: сливоналивная труба с вентилем Dy 80, газовый вентиль Dy 25, пробоотборный вентиль Dy 25, вентиль для установки манометра, смотровой люк Dy 65, предохранительно-впускной клапан, отрегулированный на избыточное давление 0,2 МПа (2 кгс/см2) и вакуум - 0,03 МПа (0,3 кгс/см2), термопары для замера температуры в верхнем, среднем и нижнем уровнях котла. Все вентили имеют заглушки.
Для налива продукта в цистерну необходимо выполнить следующие операции: цистерну затормозить, отключить контактную сеть и заземлить цистерну. Распломбировать, открыть и зафиксировать крышки. Снять пробку с манометродержателя и установить манометр. Перед наливом капролактама котел цистерны надо наполнить газообразным азотом, для чего необходимо:
а) подсоединить к патрубку сливоналивного вентиля трубопровод от внешней емкости с газообразным азотом;
б) открыть вентиль манометродержателя;
в) отсоединить заглушку с патрубка газового вентиля и открыть вентиль;
г) открыть вентиль на трубопроводе с азотом;
д) проверить содержание кислорода в котле (содержание кислорода в азоте должно быть не более 0,005 %);
е) закрыть газовый вентиль;
ж) поднять давление азота в котле до 0,05 МПа (0,5 кгс/см2);
з) закрыть вентили на напорной магистрали с азотом;
и) отсоединить трубопровод с азотом.
Все остальные операции по наливу и сливу продукта аналогичны операциям с цистернами, имеющими верхний слив и налив. Максимально допустимая температура продукта в котле равна + 95 С.
Рис. 4.32. Четырехосная цистерна для капролактама модели 15-1552
Рис. 4.33. Котел цистерны для капролактама модели 15-1552:
1 - днище; 2 - обечайка; 3 - пояс; 4 - люк для термопар; 5 - внутренняя лестница; 6 - арматурная горловина; 7 - люк-лаз; 8 - труба пробоотборника; 9 - труба для обогрева; 10 - сливоналивная труба; 11 - патрубки для вывода теплоносителя; 12 - подогревательный кожух (рубашка); 13 - предохранительно-впускной клапан; 14 - патрубок для ввода теплоносителя; 15 - поддон

Рис. 4.34. Сливоналивная и контрольно-измерительная арматура цистерны модели 15-1552:
1 - предохранительно-впускной клапан; 2 - крышка люка; 3 - манометродержатель; 4 - вентиль Dу 25 пробоотборника; 5 - сливоналивной вентиль Dу 80; 6 - смотровой люк; 7 - газовый вентиль Dу 25; 8 - фланец патрубка теплоносителя
Общий вид цистерны для перевозки бензола модели 15-1527 показан на рис. 4.35. Эта цистерна по конструктивному исполнению котла, термоизоляции и системы разогрева аналогична цистерне для перевозки пасты сульфонола модели 15-1417 (рис. 4.28), описанной выше. Котел цистерны для бензола изготовлен из стали марки 09Г2С-12. Способ налива и слива - верхний передавливанием или откачиванием вакуум-насосом. Подогрев продукта осуществляется паром или горячей водой через змеевик, расположенный внутри котла в нижней его части. Операции по разогреву продукта аналогичны, как у цистерны модели 15-1417.
Теплоизоляция имеет толщину 90 мм. Допускаемая температура продукта при наливе +20 °С; при сливе +25 °С.
Общий вид цистерны для суперфосфорной кислоты модели 15-889 показан на рис. 4.36. Цистерна имеет котел из стали повышенной прочности марки TTST52, изготовленный в ФРГ. Цистерна модели 15-1578 (рис. 4.37) имеет котел из стали марки ZINCDU 25-20 (УРАНУСБ), изготовленный во Франции.
Котел изолирован пенополиуретаном и обшит листовой сталью толщиной 1 мм. Котел располагается в каркасе кожуха - специальном несущем элементе, аналогичном броневому листу восьмиосных цистерн, но имеющему подкрепления в виде элементов шпангоута: Концевые части этого несущего элемента имеют полурамы и защитные щиты.
В верхней части котла имеется люк со сливоналивной арматурой и два технологических люка-лаза. Все люки закрыты теплоизолирующими крышками. В среднем люке установлена сливоналивная труба с быстросъемной крышкой, комбинированный предохранительный клапан, патрубок с кулачковой муфтой для соединения с уровнемером.
В нижней части котла установлено разгрузочное устройство для нижнего слива продукта (рис. 4.38).
На одном конце вагона расположены штуцеры для подключения системы разогрева к внешнему источнику пара. Система разогрева состоит из труб, расположенных вдоль котла вагона. Температура пара должна быть не выше 120 °С при давлении 0,1 МПа (1 кгс/см2).
Для наполнения цистерны необходимо:
а) затормозить поданную к пункту налива цистерну;
б) провентилировать котел, отсоединив кулачковую муфту на пневмоштуцере;
в) рукоятку предохранительного клапана установить в положение "Вентиляция" и снять крышку сливоналивной трубы;
г) подсоединить к сливоналивной трубе наполняющий трубопровод с помощью быстросъемного соединения;
д) подсоединить уровнемер к кулачковой муфте пневмоштуцера;
е) открыть кран и наполнить котел не более чем на 98 % емкости.
По окончании наполнения отсоединить наполняющий трубопровод, удалить пролившиеся остатки продукта, закрыть крышкой сливоналивную трубу, установить предохранительный клапан в рабочее положение, плотно закрыть крышку люка.
Слив продукта осуществляется в следующей последовательности:
а) поданную к пункту слива цистерну затормозить ручным тормозом;
б) открыть крышку люка, снять кулачковую муфту с пневмоштуцера, а при пневмовыгрузке - подсоединить воздушную магистраль;
в) измерить температуру продукта, подключив прибор к трехполюсной розетке; при снижении температуры продукта его необходимо разогреть;
г) снять быстросъемную крышку со сливной трубы и подсоединить к ней сливной трубопровод;
д) снять защитную крышку предохранительного клапана и подсоединить его к стационарному трубопроводу;
е) удалить стопор и открыть кран;
ж) поднять защелку и открыть сливной клапан.
После полного слива продукта закрыть все клапаны, отсоединить внешние трубопроводы, установить крышки, предохранительный клапан поставить в нормальное положение и закрепить крышку.
При необходимости подогрева продукта паропровод подсоединяется через кулачковую муфту со стороны одного из днищ цистерны. Температура продукта после разогрева должна быть не выше 85 °С.

Рис. 4.35. Четырехосная цистерна для бензола модели 15-1527

Рис. 4.36. Восьмиосная цистерна для суперфосфорной кислоты модели 15-889

Рис. 4.37. Восьмиосная цистерна для суперфосфорной кислоты модели 15-1578

Рис. 4.38. Разгрузочное устройство цистерны модели 15-889:
1 - рукоятка для открывания сливного клапана; 2 - защелка; 3 - быстросъемное соединение сливного патрубка; 4 - обогревательный кожух сливных патрубков; 5 - муфта для слива теплоносителя; 6 - крышка сливного патрубка
Амил является едкой жидкостью. Цистерны для амила принадлежат грузоотправителю или грузополучателю и должны следовать как в груженом, так и в порожнем состояниях в сопровождении бригады (грузоотправителя и грузополучателя).
Для перевозки и временного хранения (до 1 месяца) амила предназначены четырехосные цистерны модели 15-1576 (ЖАЦ-44) (рис. 4.39). Основные параметры этой цистерны приведены в табл. 4.2. Цистерна состоит из следующих основных узлов: котел с каркасом 5, типовая платформа 8 с двумя двухосными тележками ЦНИИ-ХЗ на роликовых подшипниках 9, изоляция котла 6, кожух изоляции 7, крепление 10 котла на раме, наружная лестница с помостами 4, внутренняя лестница.
Котел 1 цистерны (рис. 4.40) имеет цилиндрическую обечайку из сваренных продольных листов (нижнего толщиной 10 мм, средних и верхних толщиной 8 мм) с внутренним диаметром 2417 мм и два эллиптических днища (толщиной 12 мм). Для нагрева или охлаждения продукта на котле снаружи приварен теплообменник 9, который представляет собой выполненный из холодногнутых угольников змеевик. Котел и теплообменник изготовлены из кислотостойкой стали марки 08Х18Н10Т.
Подвод горячей (или холодной) воды к теплообменнику и слив ее осуществляется при помощи труб 16, 17, выведенных наружу цистерны (за кожух изоляции) и заканчивающихся патрубками с соединительными головками ГМ-50 (типа пожарных рукавов).
На котле с помощью кронштейнов, стекловолокнитовых прокладок и винтов крепится шесть опорных колец 20 для установки кожуха теплоизоляции.
К нижнему листу котла привариваются четыре лапы 14 для крепления котла к раме, а также поддон 15, к которому для полного слива продукта имеется двусторонний уклон. Внутрь поддона вводятся: сливоналивная труба 11, зачистная труба 12 (для слива остатков продуктов из котла) и труба для отбора проб из отстойника. Здесь же располагается направляющая 13, предотвращающая смещение и поломку труб при гидроударе и образование гидрозавихрений при сливе продукта насосом. Сливоналивная и зачистная трубы в верхней части цистерны выведены в арматурный люк и кончаются фланцами для крепления вентилей Dy 100 и Dy 25.
Наверху котла устанавливаются (см. рис. 4.39) технологический 2 и арматурный 3 люки, предохранительно-впускной клапан 1.
Вся поверхность котла снаружи покрывается изоляционными матами, которые и составляют его тепловую изоляцию. Маты состоят из изоляционного материала АТИМСЕ-30, пришитого к стеклоткани стеклонитью.
Вся изоляция цилиндрической части котла для предотвращения выпучин и провисания изоляционных матов обматывается по спирали капроновой нитью с шагом между витками 200-250 мм. Толщина изоляции 190-200 мм. Поверхность изоляции представляет сплошной покров из двух слоев стеклоткани, покрытых для предотвращения проникновения влаги и паров продукта в термоизоляцию тремя слоями лака ХСЛ. Сверху изоляция защищена от механических повреждений кожухом изоляции из нержавеющей стали.
Котёл с изоляцией устанавливается на опорах платформы и крепится от продольного смещения 56 болтами, связывающими лапы котла с лапами рамы, от поперечного смещения четырьмя хомутами в зоне шкворневых балок.
Платформа оборудована автосцепкой, автоматическим и стояночным тормозами.
Для удобного обслуживания установленного в люках на котле оборудования служат наружные лестницы с подножками и поручнями и помосты.
Предохранительно-впускной клапан отрегулирован на избыточное давление в котле 0,35 МПа (3,5 кг/см2) и вакуум 0,01-0,02 МПа (0,1-0,2 кг/см2).
В горловине технологического люка размещается люк-лаз 4 (см. рис. 4.40) с внутренней лестницей 3, патрубок термопар 5, на фланце которого устанавливается крышка с вваренными в нее трубами для датчиков электротермометра. Между фланцем и крышкой находится уплотнительная фторопластовая прокладка. Люк-лаз и внутренняя лестница служат для периодического осмотра внутренней поверхности котла. Люк-лаз закрывается крышкой, которая также уплотняется фторопластовой прокладкой и крепится болтами к фланцу люка-лаза.
В горловине технологического люка имеется отверстие для ввода кабельной трубы 18 (рис. 4.41), которая с помощью кронштейнов установлена внутри котла и служит для подвода проводов к показывающему прибору.
Для контроля температуры продукта в котле цистерны используется электротермометр типа ЭТ-3Б (см. рис. 4.41), который состоит из трех датчиков температуры, размещенных внутри котла на разных уровнях (для определения температуры продукта в трех точках) и выведенных на крышку патрубка в технологическом люке, и показывающего прибора, установленного в специальной нише в кожухе изоляции цистерны у ближайшей к технологическому люку лестницы. Пределы измерения температуры от -50 °С до +50 °С.
При транспортировке к месту эксплуатации сверху в горловину технологического люка ставятся три ящика, в которых находится комплект запасных частей, инструмента и принадлежностей (ЗИП) для устранения неисправностей и выполнения мелких ремонтных работ. По прибытии цистерны в адрес заказчика ящики ЗИП с цистерны снимают и хранят на складе.
В горловине арматурного люка (рис. 4.42) размещаются сильфонный вентиль Dy 100 4 с двумя сливо-наливными коленами Dy 100 (для слива и налива продукта), сильфонный вентиль Dy 70 1 с двумя коленами Dy 70 (для соединения котла с нейтрализатором или вакуумно-сборной линией), пробоотборное устройство 2 (для отбора усредненной пробы, а также пробы из отстойника), два сильфонных вентиля Dy 25 5 (один - для разрыва струи сифона, другой - для слива отстоя), манометродержатель 3 (для установки манометра типа МТИ с пределом измерения до 1 МПа (10 кг/см2), предназначенного для контроля давления внутри котла, указатель окончания наполнения 6 (для определения верхнего предельного уровня продукта в котле при заполнении цистерны).

Рис. 4.39. Четырехосная цистерна для амила модели 15-1576

Рис. 4.40. Котел с каркасом цистерны модели 15-1576:
1 - котел; 2 - патрубок предохранительного клапана; 3 - внутренняя лестница; 4 - люк-лаз; 5 - патрубок для термопар; 6 - патрубок Dy 70; 7 - направляющая поплавка; 8 - отводящая труба; 9 - теплообменник; 10 - обечайка колпака; 11 - сливоналивная труба; 12 - зачистная труба; 13 - направляющая; 14 - лапа котла; 15 - поддон; 16 - подающая труба; 17 - соединительная труба; 18 - кабельная труба; 19 - упор лестницы; 20 - опорный пояс
Рис. 4.41. Установка электротермометра ЭТ-3Б:
1 - труба; 2 - крышка; 3 - прижимной диск; 4, 5 - втулки; 6 - прокладка; 7 - корпус датчиков; 8 - провод ПТЛ-200; 9 - головка датчика; 10 - накидная гайка; 11 - вертикальный электротермометр ЭТ-3Б
Рис. 4.42. Установка арматуры:
1 - вентиль Dy 70; 2 - пробоотборное устройство; 3 - манометродержатель; 4 - вентиль Dy 100; 5 - вентиль Dy 25; 6 - корпус указателя наполнения
Присоединительные патрубки колен Dy 100 и Dy 70 закрыты заглушками.
Указатель окончания наполнения показан на рис. 6.4, а его описание приведено в разд. 6.1.
Пробоотборное устройство (рис. 4.43) производит отбор проб из цистерны с помощью пробоотборника ПЗУ-НИИ-25, относящегося к средствам склада и имеет следующие основные узлы и детали: фланец 9, четыре вентиля Dy 6 5, соединенные между собой трубками, заборную трубу 2, донную трубу 3. Заборная и донная трубы соединены с фланцем накидными гайками и прикреплены внутри котла тремя хомутами 1 к сливо-наливной трубе. При отборе проб продукта бачок пробоотборника ПЗУ-НИИ-25 устанавливается в подставку 10 пробоотборного устройства и подсоединяется насос пробоотборника. Отбор проб выполняется в соответствии с технической документацией на пробоотборник ПЗУ-НИИ-25.
Устройство и работа вентилей Dy 100, Dy 70, Dy 25, Dy 20, Dy 6, манометродержателя описаны в соответствующих эксплуатационных документах.
В нижней части горловины арматурного люка с двух сторон вырезаны отверстия, в которые вварена отводящая труба 8 (см. рис. 4.40), которая сливает случайно пролитый в люке продукт. Отводящая труба в виде кольца охватывает снаружи котел, внизу она имеет выведенный за кожух изоляции патрубок с накидной гайкой, к которой для слива продукта присоединяется вентиль Dy 20, а к нему - труба.
Для уплотнения фланцевых соединений, заглушек, соединений с накидными гайками на котле установлены фторопластовые прокладки.
К горловинам технологического и арматурного люков приварены скобы для крепления кожуха изоляции.
Сверху горловины люков закрываются теплоизоляционными крышками горловин, состоящими из левой и правой створок, которые поднимаются и опускаются с помощью двух ручек. Плотное прилегание створок к люку и друг к другу достигается установкой прокладок и замков. Каждая створка снабжена тремя замками патефонного типа, один из которых (средний) во избежание самопроизвольного открывания имеет фиксатор. Створки имеют корпус из стали марки 08Х18Н10Т и поддон из алюминиевого сплава АД-1. Внутренняя полость створок заполнена изоляционным материалом АТИМСС-30, обшитым стеклотканью, которая снаружи покрыта лаком ХСЛ.
Для удобства обслуживания цистерна снабжена поясняющими трафаретами:
1) на створке крышки арматурного люка установлен трафарет "ПНЕВМОГИДРАВЛИЧЕСКАЯ СХЕМА ЖАЦ-44";
2) вентили имеют трафареты с указанием номера вентиля по пневмогидравлической схеме и направление вращения рукоятки или маховика.
Третий колпак наверху цистерны - имитационный, для сохранения внешних очертаний вагона. Он приварен внахлест к полотнищу кожуха изоляции.
По классификации опасных грузов амил относится к восьмому классу - едкие и коррозионные вещества.
Конструкция цистерны позволяет выполнять следующие технические операции:
1) наполнение котла продуктом;
2) слив продукта из котла;
3) слив отстоя;
4) отбор усредненных проб продукта и проб продукта из отстойника;
5) охлаждение продукта до заданной температуры;
6) поддержание температуры продукта в заданных пределах и подогрев его до заданной температуры.
Выполнение всех вышеназванных операций производится средствами склада.
К обслуживанию цистерны допускаются лица, изучившие устройство цистерны, усвоившие правила эксплуатации и техники безопасности. Цистерна может эксплуатироваться после получения разрешения от инспекции Госгортехнадзора, о чем в паспорте котла (сосуда, работающего под давлением) должна быть запись и штамп о регистрации. К котлу и арматурному люку приварена табличка, на которой должен быть выбит регистрационный номер котла и срок следующего освидетельствования.
Эксплуатация цистерны обязательно должна быть отражена в записях в формуляре.
Находящаяся в эксплуатации цистерна подвергается следующим осмотрам и освидетельствованиям:
1) осмотру в рабочем состоянии перед каждым наполнением и после него, особое внимание уделяется герметичности цистерны;
2) освидетельствованию МПС - представителем вагонной службы дороги;
3) полному профилактическому осмотру через каждый год эксплуатации, а также после поломок и аварий;
4) техническому освидетельствованию инспекцией Госгортехнадзора.
Результаты осмотра заносятся в формуляр цистерны.
При работе с амилом должна тщательно соблюдаться техника безопасности. Лица, допущенные к работе с цистерной для амила, проходят курс обучения по технике безопасности со сдачей зачетов и медицинское освидетельствование. Они должны быть ознакомлены со средствами личной защиты и мерами по оказанию первой помощи. Сдача зачетов и медосвидетельствование повторяются каждые шесть месяцев.
Для предотвращения отравлений амилом обслуживающий персонал обязан следить за герметичностью всех средств хранения, перекачки и транспортировки, работать в спецодежде, регулярно проходить инструктаж по технике безопасности. Перед началом любых работ с амилом необходимо проверить средства защиты, приготовить нейтрализатор для обезвреживания пролитого продукта и ликвидации последствий попадания его на кожу. Работы с амилом на свежем воздухе при концентрации паров ниже допустимого предела можно производить в очках, противогаз при этом должен быть при себе в положении "Наготове".

Рис. 4.43. Пробоотборное устройство:
1 - хомут; 2 - заборная труба; 3 - донная труба; 4 - коллектор; 5 - сильфонный вентиль Dу 6; 6 - коллектор; 7 - соединительная труба; 5 - штуцер; 9 - фланец; 10 - подставка
Для работы в котле выделяется не менее трех человек: двое поочередно работают внутри котла, третий (наиболее опытный) наблюдает за работой в люке-лазе. Работы в котле производятся в спецодежде после его нейтрализации. Человек, который спускается внутрь котла, обязан надеть специальный пояс с крестообразными лямками и прочной сигнально-спасательной веревкой, а также противогаз типа ПШ-1 (ПШ-2). Наружный конец дыхательного шланга крепится в зоне чистого воздуха. Около цистерны должны находиться аптечка и запасной дыхательный прибор.
При выполнении работ по сливу и наливу амила запорные устройства во избежание гидравлических ударов надо открывать плавно. Запрещается при перекачке амила без надобности находиться в непосредственной близости от напорных патрубков насосов, напорных трубопроводов и шлангов.
Оборудование (в случае попадания на него амила) обильно промывается водой, затем нейтрализуется 5-10 %-ным раствором каустической или кальцинированной соды и еще раз промывается водой.
Пролитый на землю амил нейтрализуется раствором гашеной извести или 5-10 %-ным раствором каустической или кальцинированной соды, затем участок должен быть перекопан. На 1 литр амила необходимо около 30 литров нейтрализирующего раствора. Имеющие контакт с амилом средства защиты обильно промываются водой и сушатся.
Запрещается:
1) производить какие-либо работы на цистерне замасленными руками, в замасленной спецодежде, пользоваться замасленным инструментом;
2) при освещении пользоваться открытым огнем. Осветительные приборы должны быть во взрывозащищенном исполнении;
3) до отключения и заземления проводов контактной сети на электрифицированных участках проводить работы наверху цистерны. В исключительных случаях допускается работа на площадках цистерны, не поднимаясь над уровнем люков.
Перед вскрытием люка-лаза или отсоединением арматуры и приборов необходимо убедиться по манометру в отсутствии в котле давления.
При подготовке новой цистерны к работе или после консервации, или ремонта без замены отдельных узлов вагона необходимо выполнить следующие операции:
1) проверить комплектность цистерны согласно формуляру и ведомости ЗИП;
2) если цистерна законсервирована, то расконсервировать ее;
3) проверить состояние цистерны (очистить от пыли и грязи; осмотреть наружные поверхности цистерны; места, пораженные коррозией, зачистить стальными щетками, загрунтовать, закрасить; протереть и проверить наружные поверхности арматуры; проверить работоспособность вентилей, открывая и закрывая их: рукоятки должны вращаться плавно, без заеданий: проверить крепление котла цистерны (затяжку гаек и стяжных хомутов) и, при необходимости, подтянуть; проверить надежность затяжки болтов фланцевых соединений и подтянуть в случае необходимости; проверить наличие заглушек на концевых патрубках; проверить тормозное оборудование по инструкции ЦВ МПС, а также автосцепки и ходовые части цистерны (производится специалистами МПС); проверить работоспособность электротермометра ЭТ-3Б);
4) проверить работоспособность предохранительно-впускного клапана, приборов и, при необходимости, отрегулировать их;
5) загерметизировать цистерну и произвести опрессовку;
6) смазать узлы, не имеющие контакта с продуктом;
7) отметить в формуляре о готовности цистерны к работе.
Налив продукта в цистерну производится в следующей последовательности:
1) затормозить вагон на сливоналивном фронте стояночным тормозом 11 (см. рис. 4.39);
2) осмотреть цистерну в рабочем состоянии (проверить наружным осмотром целостность всех узлов, деталей, приборов, затяжку болтов, гаек, других резьбовых соединений, исправность и работу электротермометра ЭТ-3Б, положение золотников вентилей (все вентили должны быть закрыты), наличие заглушек, герметичность по манометру цистерны и всех фланцевых соединений давлением воздуха - 0,35 МПа - опрессовка системы, целостность манометра и стекол указателя окончания наполнения, наличие пломб, наличие конденсата продукта внутри люков (в случае наличия конденсата - обильно промыть водой и устранить негерметичность);
3) подсоединить шланги склада к патрубкам вагона, предварительно сняв с них заглушки;
4) произвести опрессовку и проверку герметичности фланцевых соединений раздаточных шлангов (совместив эту операцию с пунктом 2);
5) открыть сливоналивной вентиль Dy 100 1 (рис. 4.44) и вентиль Dy 70 2, дать разрешение на заполнение емкости (в процессе наполнения котла необходимо контролировать количество заполняемого продукта по контрольным средствам склада. Один человек из обслуживающего персонала должен находиться непосредственно на площадке возле арматурного люка);
6) по всплытию указателя окончания наполнения 13 проконтролировать окончание налива продукта и перед этим задросселировать вентиль Dy 100 (при всплытии указателя окончания наполнения по зрительной или шлемофонной связи между персоналом, обслуживающим цистерну, и оператором склада подается сигнал на склад об окончании заполнения котла. Прекращение заполнения дублируется закрытием сливо-наливного вентиля в арматурном люке);

Рис. 4.44. Принципиальная комбинированная схема цистерны для амила модели 15-1576:
1 - вентиль Dy100; 2 - вентиль Dy 70; 3 - вентиль Dy 25; 4 - вентиль Dy 25; 5, 7, 11, 12 - вентили Dy 6; 6 - предохранительно-впускной клапан; 8 -электротермометр; 10 - манометродержатель; 13 - указатель окончания наполнения; 14, 15 - подвод жидкости к теплообменнику; 16 - теплообменник
Наименование операции |
Открыты вентили (остальные закрыты) |
|
1. Наполнение цистерны |
1; 2; 10 |
|
2. Слив продукта (выдавливанием или насосом) |
1; 2; 10 |
|
3. Слив продукта из отстойника |
2; 3; 10 |
|
4. Разрыв сифона (продувка рукавов) |
1; 2; 4; 10 |
|
5. Отбор пробы из отстойника |
5; 10; 12 |
|
6. Отбор усредненной пробы продукта |
7; 10; 12 |
|
7. Разрыв сифона при отборе пробы из отстойника |
5; 10; 11; 12 |
|
8. Разрыв сифона при отборе усредненной пробы |
7; 10; 11; 12 |
|
9. Опрессовка системы |
2; 4; 10 |
7) освободить подводящие шланги от продукта перед их отстыковкой (убедившись в прекращении подачи продукта со склада). Продукт возвращается в емкости склада. Для этого необходимо при открытом сливоналивном вентиле 1 открыть вентиль разрыва сифона Dy 25 4;
8) произвести отбор пробы продукта с помощью закрытого пробоотборника типа ПЗУ-НИИ-25 (порядок переключения вентилей при этом показан на рис. 4.44);
9) закрыть вентили 1, 2, 4 (получив от оператора склада сигнал об окончании опорожнения шлангов) отстыковать шланги и закрыть заглушками пристыковочные патрубки;
10) закрыть горловину арматурного люка теплоизоляционной крышкой и опломбировать ее (опломбирование, так же как и химический анализ проб продукта производит организация - отправитель груза);
11) отпустить стояночный тормоз.
Слив продукта из котла цистерны, как правило, производится выдавливанием сжатым воздухом давлением до 0,35 МПа (3,5 кг/см2), который поступает в котел через вентиль 2 (см. рис. 4.44) от постороннего источника (компрессора). При этом точка росы у сжатого воздуха должна быть не выше минус 55 °С, т.е. в противном случае продукт может потерять кондицию.
Слив продукта из цистерны методом выдавливания производится в следующей последовательности:
1) затормозить вагон на сливном фронте стояночным тормозом;
2) снять заглушки при закрытых вентилях 1 и 2 (см. рис. 4.44) с обращенного к сливному фронту сливоналивного патрубка Dy 100 и газового патрубка Dy 70;
3) подсоединить шланг от приемной емкости склада к патрубку Dy 100, шланг от магистрали сжатого воздуха к газовому патрубку Dy 70, применяя при необходимости переходники (шланги и переходники хранятся на складе);
4) проверить надежность уплотнения заглушки сливоналивного патрубка со стороны, противоположной сливному фронту, и убедиться в герметичности соединений подводящих шлангов;
5) открыть газовый вентиль 2, проверить давление в котле по манометру и, получив разрешение на слив, открыть вентиль 1. Окончание слива определяется по характерному шуму поступившего в магистраль воздуха (хлопку);
6) закрыть вентиль 1, слить остатки продукта, для чего открыть вентиль Dy 25 3. Окончание слива остатков продукта определяется по хлопку;
7) продуть в течение 3-5 мин сливные рукава, сбросить давление до 0,03-0,05 МПа (0,3-0,5 кг/см2), закрыть вентили 2 и 3, отстыковать шланги (предварительно убедившись в отсутствии в них избыточного давления), установить заглушки на место.
После слива продукта все крышки люков, вентили и штуцера должны быть плотно закрыты Крышки люков - опломбированы.
В зависимости от расположения (по высоте) приемного резервуара и цистерны, а также сопротивления приемных магистралей складов процесс слива происходит при избыточном давлении в котле цистерны (по манометру) 0,06-0,2 МПа (0,6-2 кг/см2). Время опорожнения полной цистерны при этом составляет 1 ч - 1 ч 10 мин.
При сливе продукта перекачивающими средствами (мотопоМПами МПК-30) эти средства устанавливаются между приемной емкостью и сливоналивным патрубком Dy 100, а газовый патрубок Dy 70 соединяется шлангом с приемной емкостью. МотопоМПа выходит на режим перекачивания при избыточном давлении в цистерне 0,06 - 0,1 МПа (0,6-1 кг/см2), которое необходимо поддерживать в процессе перекачки Время опорожнения полной цистерны при этом составляет 1 ч - 1 ч 10 мин (т.е. то же, что и при сливе передавливанием). Повышение давления в котле выше 0,15 МПа (1,5 кг/см2) для сокращения времени перекачки не рекомендуется, так как в этом случае нейтрализатор паров амила не обеспечивает их полной нейтрализации.
Для наблюдения за давлением в котле при сливе и управления вентилями на цистерне обязательно должен присутствовать один человек. При работе двух человек время подготовки цистерны к сливу составляет около часа.
Перед отправлением цистерны отпустить стояночный тормоз.
Для поддержания температуры продукта в заданных пределах предусмотрена в цистерне система нагрева-охлаждения. Для нагрева продукта в зимний период используется горячая вода, которая пропускается через теплообменник 9 (см. рис. 4.40). Последовательность операций при этом следующая:
1) подключить к одному из патрубков системы нагрева-охлаждения цистерны шланг напорной магистрали подачи горячей воды;
2) соединить с помощью шланга второй патрубок с емкостью отработанной воды. На боковом швеллере рамы укреплен специальный трафарет с техническими характеристиками системы нагрева-охлаждения;
3) дать разрешение на прокачивание воды;
4) не реже, чем раз в 15 мин, контролировать по электротермометру ЭТ-3Б температуру продукта в котле;
5)по окончании нагрева продукта освободить систему нагрева-охлаждения от воды и отсоединить шланги;
6) при помощи специального переходника подключить систему нагрева-охлаждения к посторонним источникам сжатого воздуха (например, к компрессору ЗИФ-55);
7) продуть систему сжатым воздухом в течение 20-25 мин, затем отключить ее от источника сжатого воздуха. Через 15-20 мин после окончания продувки закрыть заглушками выходные патрубки системы нагрева-охлаждения.
При нагреве продукта не допускается:
а) нагрев продукта в котле выше +20 °С;
б) давление в системе нагрева-охлаждения выше 0,1 МПа (1 кгс/см2) как воды, так и воздуха;
в) подача горячей воды с температурой выше 70° С.
Охлаждение продукта в летний период осуществляется холодной водой (4-12 °С), которая пропускается через теплообменник, с той же последовательностью технологических операций, что и при нагревании продукта.
Отличительной особенностью цистерн этой группы является высокое рабочее давление в котле - 1,5-2,0 МПа (15-20 кгс/см2). Исключение составляют цистерны для винилхлорида модели 15-1421 и для пентана модели 15-1520, в которых рабочее давление в котле соответственно равно 0,8 МПа (8 кгс/см2) и 0,3 МПа (3 кгс/см2), поэтому все цистерны этой группы подвергаются контролю и освидетельствованию Госгортехнадзором.
Вся сливоналивная, контрольно-измерительная арматура и предохранительный клапан размещаются обычно на крышке люка. Лишь на нескольких моделях (15-1556, 15-1581) предусмотрена отдельная установка предохранительного клапана на фланце патрубка, расположенного рядом с люком.
Типовое сливоналивное устройство цистерн для сжиженных газов (рис. 5.1) включает два жидкостных 1 и один газовый 2 (уравнительный) вентиля с условным проходом Dy 40 Dy 38, Dy 32), к которым присоединены скоростные клапаны 3. К жидкостным вентилям присоединены сливоналивные трубы 4, концы которых закреплены в воронке 5 и доходят до поддона 6.
Скоростной клапан (рис. 5.2) предназначен для автоматического перекрытия сливоналивных и уравнительного вентилей в случае разрыва внешних сливоналивных и уравнительных шлангов. Клапан состоит из двух муфт 1, 5, трубы корпуса 2, кольца 4, прокладки 3 и ползуна 6 (см. рис. 5.2). Ползун обеспечивает автоматическое перекрытие выходного отверстия клапана при достижении критической скорости истечения жидкости и удерживается в верхнем положении за счет внутреннего давления в цистерне.
В новых моделях цистерн применяется скоростной клапан шарикового типа, в котором вместо ползуна используется стальной шарик.
Контрольно-измерительное устройство (рис. 5.3) включает вентили контроля слива 1, контроля предварительного уровня налива 2, предельного уровня налива 3, дренажа (зачистки) 5 и манометродержатель 4. На вентилях контроля уровня и слива установлены трубки соответствующей длины. Маховики вентилей окрашены в разные цвета: предварительного уровня наполнения - в зеленый, предельного - в красный. Газ и жидкость, поступающие через контрольные вентили при проверке уровня слива или наполнения во время сливоналивных операций, должны отводиться в специальную емкость склада продукта получателя (отправителя) груза.
Пружинный предохранительный клапан (рис. 5.4) состоит из корпуса-втулки 1 с присоединительным фланцем, втулки 2, с конусным седлом клапана, запрессованном в корпус, тарельчатого клапана 6, на котором укреплена крышка 4 с резиновой прокладкой 5, обеспечивающей полную герметичность сопряжения конусных поверхностей седла и тарели. Опирание тарели клапана на седло обеспечивает разгрузку от действия запирающей пружины 7 резиновой прокладки и увеличивает срок ее службы. Крышка 4 крепится специальной гайкой 3, регулирующей прижатие резиновой прокладки к наружной плоскости тарели клапана. Давление срабатывания (открытия) клапана определяется усилием начальной затяжки пружины 7 и регулируется гайками 9, на которые усилие пружины передается через опорную втулку 8 и сферическую шайбу 10.
На некоторых моделях цистерн применяется предохранительный клапан с разрушаемой мембраной (рис. 5.5). Такая конструкция обеспечивает абсолютную герметичность до момента разрушения мембраны 12. После ее разрушения в работу включается расположенный над ней пружинный клапан максимального давления, конструкция которого в принципе подобна описанной выше.
Меры обеспечения безопасной эксплуатации цистерн для сжиженных газов на путях МПС, предусмотренные „Инструкцией по наливу, сливу и перевозке сжиженных углеводородных газов в железнодорожных вагонах-цистернах", приведены в приложении 2.
Параметры цистерн для сжиженных газов приведены в табл. 5.1.
В цистернах для аммиака моделей 15-1408 (рис. 5.6), 15-1440 (рис. 5.7), 15-1597 (рис. 5.8) и 15-1619 (рис. 5.9) арматура и предохранительный клапан установлены на крышке люка-лаза диаметром 500 мм. Сливоналивная арматура состоит из двух жидкостных и одного газового вентилей Dу 32 (или Dу 40), на которых установлены скоростные клапаны. Сливоналивные трубы, подключенные к жидкостным вентилям, зафиксированы в воронке в нижней части котла.
Три вентиля Dу 6 обеспечивают контроль слива продукта и предварительного и предельного уровня наполнения. На цистерне модели 15-1597 контрольная трубка предельного уровня находится на высоте, соответствующей заполнению котла на 85 % объема или 43 т продукта при его температуре - 24°С, на цистерне модели 15-1619 - 49,4 т продукта при температуре - 33,3°С. Контрольная трубка предварительного уровня наполнения находится на 100 мм ниже.
На крышке люка установлен также манометродержатель с вентилем для установки манометра и контроля давления при сливоналивных операциях.
Сливоналивная и контрольная арматура закрывается откидным защитным колпаком, снабженным прижимными замками и устройством для опломбирования.

Рис. 5.1. Сливоналивное устройство цистерны модели 15-1520


Рис. 5.3. Контрольно-измерительное устройство цистерны для пентана модели 15-1520

Рис. 5.4. Предохранительный клапан

Рис. 5.5. Предохранительный узел с разрушаемой диафрагмой цистерны модели 15-1556:
1 - пломба; 2 - кольцо; 3, 4, 5 - втулки; 6 - колпак; 7 - винт; 8 - пружина; 9 - прокладка; 10 - седло клапана; 11 - клапан; 12 - разрушаемая мембрана; 13 - вентиль ТУ 14-3-891-83

Рис. 5.6. Четырехосная цистерна для аммиака модели 15-1408
|
Наименование параметра |
Значение параметра для вагона модели |
|||||
|
15-1408 |
15-1440 |
15-1597 |
15-1619 |
15-1409 |
15-1556 |
|
|
Назначение (основной груз) |
Аммиак |
Аммиак |
Аммиак |
Аммиак |
Хлор |
Хлор |
|
Грузоподъемность, т |
30,7 |
30,7 |
43,0 |
49,4 |
47,6 |
57,5 |
|
Масса вагона (тара), т |
35,7 |
33,5 |
36,8 |
40,0 |
29,8 |
28,1 |
|
Нагрузка: |
|
|
|
|
|
|
|
от оси колесной пары на рельсы, кН (тс) |
163 (16,6) |
158 (16,1) |
196 (20) |
219 (22,4) |
189 (19,3) |
210 (21,4) |
|
на один погонный метр пути, кН/м (тс/м) |
54 (5,5) |
52 (5,3) |
65 (6,6) |
73 (7,4) |
63 (6,4) |
70 (7,1) |
|
Габарит |
02-ВМ (02-Т) |
02-ВМ (02-Т) |
1-Т |
1-Т |
02-ВМ (02-Т) |
02-ВМ (02-Т) |
|
Параметры котла: |
|
|
|
|
|
|
|
объем полный, м3 |
54 |
54 |
75,5 |
87 |
38 |
46 |
|
объем полезный, м3 |
- |
- |
- |
- |
- |
- |
|
удельный объем, м3/т |
1,76 |
1,76 |
1,76 |
1,76 |
0,80 |
0,80 |
|
диаметр внутренний, мм |
2600 |
2600 |
3000 |
3200 |
2200 |
2400 |
|
длина наружная, мм |
10680 |
10680 |
11270 |
11358 |
10456 |
10616 |
|
толщина листов: |
|
|
|
|
|
|
|
цилиндрической части, мм |
26 |
24 |
24 |
24 |
- |
20 |
|
днищ, мм |
32 |
26 |
25 |
25 (+12) |
- |
22 |
|
материал |
Ст09Г2С |
Ст18G2А по польской норме PN-72/H-84018 |
Ст09Г2С-12 |
Ст09Г2С-12 |
Ст20К |
Ст09Г2С-12 |
|
рабочее давление, МПа (кгс/см2) |
2,0 (20) |
2,0 (20) |
- |
2,0 (20) |
1,5 (15) |
1,5 (15) |
|
испытательное давление, МПа (кгс/см2) |
3,0 (30) |
3,0 (30) |
- |
3,0 (30) |
2,3 (23) |
2,25 (22,5) |
|
Высота центра тяжести цистерны от головок рельсов: |
|
|
|
|
|
|
|
порожней, мм |
1793 |
1787 |
1978 |
- |
- |
1563 |
|
груженой, мм |
2161 |
2171 |
2407 |
- |
- |
2155 |
|
Год начала производства (серийного) |
1964 |
1978 |
1978 |
1990 |
1964 |
1975 |
|
Год снятия с производства |
1979 |
1983 |
- |
- |
1976 |
- |
Продолжение таблицы 5.1
|
Наименование параметра |
Значение параметра для вагона модели |
|||||||||
|
15-1421 |
15-1407 |
15-1519 |
15-1520 |
15-1602 |
15-1569 |
901Р |
902Р |
903Р |
908Р |
|
|
Назначение (основной груз) |
|
Углеводородные газы |
|
|||||||
|
Винилхлорид |
Пропан |
|
Пентан |
|
Пропан |
Пропан |
Пропан |
Пропан |
Пропан |
|
|
Грузоподъемность, т |
58,4 |
22,9 |
43,0 |
40,0 |
30,7 |
44,9 |
22 |
22 |
32,1 |
43,75 |
|
Масса вагона (тара), т |
28,9 |
35,7 |
36,8 |
23,4 |
31,7 |
36,5 |
38 |
38 |
31 |
37 |
|
Нагрузка: |
|
|
|
|
|
|
|
|
|
|
|
от оси колесной пары на рельсы, кН (тс) |
214 (21,8) |
144 (14,7) |
196 (20) |
155 (15,8) |
153 (15,6) |
200 (20,4) |
147 (15) |
147 (15) |
154,6 (15,8) |
197,8 (20,19) |
|
на один погонный метр пути, кН/м (тс/м) |
71 (7,3) |
48 (4,9) |
65 (6,6) |
52 (5,3) |
51 (5,2) |
66 (6,8) |
48,9 (4,99) |
48,9 (4,99) |
51,45 (5,25) |
65,95 (6,73) |
|
Габарит |
1-Т |
02-ВМ (02-Т) |
1-Т |
1-Т |
02-ВМ (02-Т) |
1-Т |
02-ВМ (02-Т) |
02-ВМ (02-Т) |
02-ВМ (02-Т) |
1-Т |
|
Параметры котла: |
|
|
|
|
|
|
|
|
|
|
|
объем полный, м3 |
73 |
54 |
75,5 |
73,3 |
54,0 |
75,5 |
51 |
51 |
54 |
73,6 |
|
объем полезный, м3 |
58 |
45 |
64,2 |
62,3 |
45,8 |
64,2 |
41,87 |
41,87 |
45,2 |
62,3 |
|
удельный объем, м3/т |
1,25 |
2,36 |
1,76 |
1,83 |
1,76 |
1,68 |
1,9 |
1,9 |
1,4 |
1,4 |
|
диаметр внутренний, мм |
3000 |
2600 |
3000 |
3000 |
2600 |
3000 |
2600 |
2600 |
2600 |
3000 |
|
длина наружная, мм |
10759 |
10648 |
11258 |
10790 |
10650 |
11258 |
10650 |
10650 |
10650 |
10980 |
|
толщина листов: |
|
|
|
|
|
|
|
|
|
|
|
цилиндрической части, мм |
16 |
26 |
24 |
9/112 |
22 |
23 |
28 |
28 |
24 |
24 |
|
днищ, мм |
16 |
32 |
25 |
10 |
22 |
24 |
30 |
30 |
26 |
26 |
|
материал |
Ст09Г2С-12 |
Ст09Г2С |
Ст09Г2С-12 |
Ст09Г2С-12 |
Cт18G2A |
SLA33MOD |
18G2C |
18G2C |
18Г2А |
18Г2А |
|
рабочее давление, МПа (кгс/см2) |
0,8 (8,0) |
2,0 (20) |
2,0 (20) |
0,3 (3,0) |
2,0 (20) |
2,0 (20) |
2,0 (20) |
2 (20) |
2 (20) |
2 (20) |
|
испытательное давление, МПа (кгс/см2) |
1,2 (12) |
3,0 (30) |
3,0 (30) |
0,55 (5,5) |
3,0 (30) |
3,0 (30) |
3 (30) |
3 (30) |
3 (30) |
3 (30) |
|
Высота центра тяжести цистерны от головок рельсов: |
|
|
|
|
|
|
|
|
|
|
|
порожней, мм |
1717 |
- |
1978 |
1448 |
1760 |
- |
- |
- |
- |
- |
|
груженой, мм |
2381 |
- |
2407 |
2244 |
2170 |
- |
- |
- |
- |
- |
|
Год начала производства (серийного) |
19841 |
1963 |
1981 |
1982 |
1983 |
1983 |
1961 |
1961 |
1965 |
1985 |
|
Год снятия с производства |
|
1972 |
|
|
1985 |
1984 |
1965 |
1965 |
1985 |
- |
_____________
1) В 1984 г. изготовлено 19 шт. и больше не выпускались.
2) Верхние и средние листы обечайки котла имеют толщину 9 мм, нижний - 11 мм.
На цистернах моделей 15-1597 и 15-1619 нижние половины днищ котла усилены накладками толщиной 12 мм, которые повышают их прочность и несколько снижают опасность повреждения котла в нештатных ситуациях.
При наливе цистерны необходимо открыть колпак, снять заглушки с запорных вентилей, подсоединить к ним две жидкостные и газовую коммуникации и установить манометр. После этого надо открыть газовый вентиль и установить необходимое давление в цистерне, а затем открыть жидкостные вентили и произвести наполнение. Контроль уровня наполнения может осуществляться при помощи контрольных вентилей. Однако этот способ не обеспечивает рационального использования объема котла при различных значениях температуры продукта и его следует использовать только при отсутствии у отправителя более надежных методов контроля - весового или объемного дозирования, учитывающего температуру и плотность продукта.
Слив цистерны производится передавливанием газовой фазой продукта, подаваемой через газовый вентиль.
В целях обеспечения безопасности категорически запрещается передавливать аммиак сжатым воздухом. Снимать арматуру для ремонта и испытаний, а также ремонтировать ее допускается лишь при отсутствии избыточного давления в котле.
Особенностью конструкции цистерн для хлора моделей 15-1409 (рис. 5.10) и 15-1556 (рис. 5.11) является наличие теневой защиты, снижающей воздействие солнечной радиации, и установка предохранительного клапана на верхней поверхности котла рядом с люком.
На цистерне модели 15-1556 применяется предохранительный узел с разрушаемой диафрагмой (см. рис. 5.5) и скоростные клапаны шарикового типа. Сливоналивная арматура состоит из двух жидкостных и двух газовых вентилей Dy 40, установленных на крышке люка (диаметр люка 500 мм), Здесь же установлен манометр для контроля давления в котле и вентиль для его включения и выключения.
Вентили и трубки для контроля уровня наполнения и слива не предусмотрены, контроль наполнения и слива производится средствами склада продукта.
При сливе и наливе газовые вентили соединяются с газовой фазой склада продукта, слив производится, передавливанием газовой фазой. При наливе цистерны на 1 м3 емкости котла должно заливаться не более 1,25 т продукта. В случае переполнения сверх установленной грузоподъемности излишки продукта сливаются обратно в емкость склада.
После слива хлора в пункте выгрузки в котле необходимо обеспечить избыточное давление не менее 0,05 МПа (0,5 кгс/см2).

Рис. 5.7. Четырехосная цистерна для аммиака модели 15-1440

Рис. 5.8. Четырехосная цистерна для аммиака модели 15-1597

Рис. 5.9. Четырехосная цистерна для аммиака модели 15-1619

Рис. 5.10. Четырехосная цистерна для хлора модели 15-1409

Рис. 5.11. Четырехосная цистерна для хлора модели 15-1556
Данная группа цистерн, включающая модели 15-1407 (рис. 5.12), 15-1519 (рис. 5.13), 15-1520 (рис. 5.14), 15-1569, 15-1602 (рис. 5.15), 901Р, 902Р, 903Р и 908Р (рис. 5.16) предназначена для перевозки широкой номенклатуры углеводородных газов, включающей более двадцати наименований продуктов, существенно различающихся химическими и физическими свойствами. В частности, например, температура кипения при атмосферном давлении составляет для пропана -42 °С, для бутана -0,5 °С, для пентана +36,1°С. Общим для всех этих продуктов является то, что при низких температурах климатического диапазона (до -40 °С) и давлении не более 2 МПа (20 кгс/см2) они переходят в жидкую фазу. По степени опасности все они относятся к классу 2.3 - воспламеняющиеся (горючие) газы.
Котлы цистерн для углеводородных газов рассчитаны на рабочее давление 2,0 МПа (20 кгс/см2) и имеют толщину стенки цилиндрической части 22-26 и днищ 24-32 мм. Люк диаметром 450 мм располагается в средней части котла.
Сливоналивная, контрольно-измерительная арматура и предохранительный клапан размещаются на крышке люка и закрыты защитным колпаком. Сливоналивная арматура включает три вентиля с проходным сечением Dу 32 - Dу 40 - два жидкостных и один газовый. Контрольно-измерительная арматура включает два вентиля контроля предварительного и предельного уровня наполнения, вентиль контроля слива, вентиль для зачистки остатков продукта.
На крышке люка может располагаться также манометродержатель с вентилем для установки манометра. При отсутствии манометродержателя давление в котле во время сливоналивных операций контролируется по манометру, установленному на трубопроводе склада.
Цистерна модели 15-1569 по внешнему виду и основным размерам аналогична модели 15-1519, котлы для этих цистерн были изготовлены фирмой HITACHI (Япония) и материал котла соответствует японским стандартам.
На некоторых цистернах трубка контроля слива соединена наружной трубкой с дополнительным вентилем Dу 6, при открытии которого она сообщается с газовой фазой котла цистерны. При этом столб жидкости в контрольной трубке опускается до уровня жидкости в котле. В процессе слива дополнительный вентиль остается открытым, а во время проверки окончания слива он закрывается, и открывается контрольный вентиль. После каждой контрольной пробы необходимо, закрыв контрольный вентиль, открыть дополнительный для выравнивания столба жидкости в контрольной трубке с уровнем жидкости в котле цистерны.
Перед первым наполнением цистерны после поступления вагона в эксплуатацию с завода-изготовителя или из ремонта, котел необходимо продуть инертным газом до удаления воздуха. В процессе эксплуатации свободный объем котла заполняется паровой фазой перевозимого продукта. После слива продукта давление в котле снижается до 0,07 МПа (0,7 кгс/см2) откачиванием газовой фазы через газовый вентиль.
В отличие от других цистерн данной группы, цистерна для пентана модели 15-1520 рассчитана на низкое рабочее давление котла (0,3 МПа) и поэтому котел имеет небольшую толщину стенок (9-11 мм) и обечайки его сварены из продольных листов. Диаметр люка также увеличен до 600 мм.
Цистерны моделей 901P, 902P, 903Р, 908Р, изготовленные в Польше, отличаются от упомянутых выше конструкций техническими характеристиками (см. табл. 5.1), а также материалом котла.
Общие меры безопасности при обслуживании цистерн для сжиженных газов приведены в приложении 2.
Цистерна для винилхлорида модели 15-1421 (рис. 5.17) имеет люк-лаз, расположенный в средней части котла, диаметром 500 мм. На крышке люка установлена сливоналивная, контрольно-измерительная и предохранительная арматура, включающая три вентиля Dy 50 - два жидкостных и один газовый, три вентиля Dy 6 для контроля предварительного и максимального уровня наполнения и контроля слива, манометродержатель с вентилем включения манометра и предохранительный клапан. Жидкостные и газовый вентили оборудованы скоростными клапанами. К вентилям контроля Dy 6 подключаются установленные на пунктах слива-налива продукта указатели уровня. Уровень максимального наполнения соответствует объему 58,4 м3 (80 % объема котла) или 58,4 т продукта, заливаемого при температуре -40°С.
Арматура закрывается откидным защитным кожухом, снабженным зажимными замками и устройством для пломбирования.
Все подготовительные и сливоналивные операции на цистерне должны выполняться только неискрящими инструментами при наличии огнетушителя в противогазе марки А или БКФ, резиновых перчатках и резиновом фартуке.
Проведение сварочных и других работ, связанных с применением открытого огня, а также курение на расстоянии менее 100 м от цистерны запрещается.
Сливоналивные операции проводятся закрытым способом в атмосфере азота. Перед первым наполнением воздух из цистерны удаляется продувкой азотом. Перед каждым заполнением газовая фаза цистерны должна контролироваться на содержание кислорода, количество которого не должно превышать 0,2 %.

Рис. 5.12. Четырехосная цистерна для пропана модели 15-1407

Рис. 5.13. Четырехосная цистерна для сжиженных углеводородных газов модели 15-1519

Рис. 5.14. Четырехосная цистерна для пентана модели 15-1520

Рис. 5.15. Четырехосная цистерна для углеводородных газов модели 15-1602

Рис. 5.16. Четырехосные цистерны для углеводородных газов моделей 903Р и 908Р: размер Н 4593 мм у модели 903Р и 5050 мм у модели 908Р

Рис. 5.17. Четырехосная цистерна для винилхлорида модели 15-1421
К этой группе относятся цистерны, предназначенные для перевозки агрессивных химических жидкостей, не требующих подогрева при сливоналивных операциях и сохраняющих жидкое состояние в диапазоне климатических колебаний температуры.
Некоторые из этих жидкостей (ацетальдегид) не допускают контакта с кислородом воздуха и их пары могут образовать с ним взрывоопасную смесь. Налив и слив таких продуктов производится закрытым способом передавливанием азотом или инертным газом или сифонированием с заполнением освобождающегося объема цистерны азотом или газовой фазой продукта.
К характерным для данной группы частично унифицированным элементам относятся сливоналивные устройства, контрольные устройства (пробоотборное и контроля наполнения и слива), предохранительно-впускной клапан. В нижней части котла под сливоналивным устройством располагается штампованный поддон, обеспечивающий полноту слива продукта, а при необходимости - отстоя. Нижний лист имеет уклон к поддону.
Для фиксации сливоналивных, зачистных и пробоотборных труб для нижней пробы к нижнему листу сваркой крепится скоба, расположенная непосредственно над поддоном.
Сливоналивное устройство (рис. 6.1, 6.2) состоит из сливоналивной трубы 1, нижний конец которой доходит до поддона. На верхнем конце трубы снаружи котла устанавливается вентиль 2 (см. рис. 6.1) или присоединительный фланец 2 с крышкой 3 (см. рис. 6.2).
В некоторых случаях сливоналивное устройство оборудуется зачистной трубой 5 (см. рис. 6.1) для слива отстоя или остатков продукта с вентилем 4, соединенным наружной трубкой 3 со сливным патрубком жидкостного вентиля 2 или дополнительной внешней магистралью.
Пробоотборное устройство состоит из системы труб, нижние концы которых погружены в перевозимый продукт на разную глубину (для взятия верхней, средней и нижней пробы), а на верхних концах установлены вентили с присоединительными патрубками (рис. 6.3). В некоторых конструкциях предусмотрено взятие проб открытым способом через пробоотборный люк.
Устройства контроля уровня наполнения и слива выполняются в виде системы труб с вентилями, нижние концы которых располагаются на контролируемом уровне в котле, а указателем достижения уровня наполнения является поступление продукта через открытый вентиль. Для ядовитых и наиболее опасных продуктов применяется поплавковый указатель уровня наполнения закрытого типа (рис. 6.4), состоящий из поплавковой камеры 5, поплавка 4 со штоком 3 и стеклянного индикатора 2 с контрольной меткой 1, заключенного в металлический сборный корпус 6.
Предохранительно-впускной клапан кислотных цистерн (см. рис. 4.3) регулируется на избыточное давление 0,2-0,25 МПа (2-2,5 кгс/см2) и вакуум 0,03 МПа (0,3 кгс/см2).
Цистерны, предназначенные для перевозки продуктов, пары которых образуют с воздухом взрывоопасную смесь, оборудуются только предохранительным клапаном избыточного давления.
Все присоединительные фланцы и патрубки в транспортном положении закрываются заглушками. Для уплотнения разъемных соединений применяются прокладки из фторопласта. Основные параметры цистерн для кислот и жидких химических веществ приведены в табл. 6.1.
Для перевозки серной кислоты служат цистерны моделей 15-Ц854 (рис. 6.5), 15-1401 (рис. 6.6), 15-1548 (рис. 6.7) и 15-1601 (рис. 6.8). Все перечисленные модели оборудованы однотипной арматурой, включающей предохранительно-впускной клапан, патрубок сливоналивного устройства с присоединительным фланцем и патрубок для отбора проб и подвода воздуха при сливе кислоты передавливанием, который расположен на крышке люка. Люк диаметром 570 мм, клапан и патрубок сливоналивного устройства на цистернах моделей 15-1548 и 15-1601 расположены в средней части котла, а на цистернах моделей 15-Ц854 и 15-1401 - на расширительном колпаке, который предусмотрен в конструкции котла этих цистерн.
Для защиты автотормозного оборудования и рамы от разлившейся при сливоналивных операциях кислоты в средней части котла модели 15-1548 предусмотрены защитные козырьки, а в модели 15-1601 - заградительные желоба в зоне расположения люка и арматуры и дренажная система труб.
В целях предотвращения ослабления усилия затяжки хомутов, крепящих котел, под гайки крепления хомутов установлены тарельчатые пружины.

Рис. 6.1. Сливоналивное устройство

Рис. 6.2. Сливоналивное устройство

Рис. 6.3. Пробоотборное устройство

|
Наименование параметра |
Значение параметра для вагона модели |
|||||||||
|
15-1401 |
15-1548 |
15-1601 |
15-1403 |
15-1554 |
15-1404 |
15-1426 |
15-1487 |
15-1406 (ЖКЦ-39) |
15-1514 |
|
|
Назначение (основной груз) |
Серная кислота |
Улучшенная серная кислота |
Улучшенная серная кислота |
Соляная кислота |
Соляная кислота |
Слабая азотная кислота |
Слабая азотная кислота |
Слабая азотная кислота |
Кислотный меланж |
Меланж |
|
Тип вагона |
760 |
762 |
762 |
- |
- |
- |
- |
- |
- |
764 |
|
Грузоподъемность, т |
60 |
67 |
77 |
52,2 |
62,0 |
61,5 |
64,5 |
66,5 |
57,3 |
62,0 |
|
Масса вагона (тара), т |
20,9 |
20,3 |
22,2 |
22,4 |
21,7 |
21,0 |
22,3 |
21,5 |
22,4 |
21,9 |
|
Нагрузка: |
|
|
|
|
|
|
|
|
|
|
|
от оси колесной пары на рельсы, кН (тс) |
198 (20,2) |
214 (21,8) |
243 (24,8) |
183 (18,7) |
205 (20,9) |
202 (20,6) |
216 (22,0) |
216 (22,0) |
195 (19,92) |
201 (20,5) |
|
на один погонный метр пути, кН/м (тс/м) |
66 (6,7) |
71 (7,3) |
81 (8,3) |
61 (6,2) |
68 (7,0) |
67 (6,9) |
72 (7,3) |
72 (7,3) |
66 (6,8) |
67 (6,8) |
|
Габарит |
02-ВМ (02-Т) |
02-ВМ (02-Т) |
02-ВМ (02-Т) |
02-ВМ (02-Т) |
02-ВМ (02-Т) |
02-ВМ (02-Т) |
02-ВМ (02-Т) |
02-ВМ (02-Т) |
02-ВМ |
02-ВМ (02-Т) |
|
Параметры котла: |
|
|
|
|
|
|
|
|
|
|
|
объем полный, м3 |
32,7 |
38,5 |
46,0 |
46,0 |
54,1 |
46,9 |
48,8 |
51,9 |
39,5 |
44,8 |
|
объем полезный, м3 |
32,0 |
37,0 |
42,5 |
44,8 |
52,8 |
44,5 |
46,6 |
48,1 |
37,3 |
40,0 |
|
удельный объем, м3 /т |
0,53 |
0,55 |
0,55 |
0,86 |
0,85 |
0,72 |
0,72 |
0,72 |
0,65 |
0,65 |
|
диаметр внутренний, мм |
2000 |
2200 |
2400 |
2410 |
2600 |
2400 |
2400 |
2600 |
2214 |
2417 |
|
длина наружная, мм |
10484 |
10410 |
10510 |
10430 |
10610 |
10560 |
11120 |
10140 |
10686 |
10110 |
|
толщина листов, мм: |
|
|
|
|
|
|
|
|
|
|
|
верхнего/среднего/ нижнего |
10/10/12 |
8/8/10 |
- |
- |
9/9/11 |
8/9/11 |
8/8/11 |
8/8/10 |
25/25/25 |
9/9/11 |
|
днищ |
12 |
10 |
- |
- |
11 |
11 |
11 |
10 |
28 |
12 |
|
материал |
ВСт3сп5 |
Cт12X18H10T, 20К+ 10Х17Н13М2Т10Х17Н13М2Т |
Ст09Г2+ 06Х17НМ2, ДЗР, Н7М2ДЗР |
ВСт3сп5 |
Ст09Г2, 09Г2Д, 09Г2С, 09Г2СД |
Ст12Х18Н10Т, 08Х18Н10Т |
Ст12Х18Н10Т |
Ст12Х18Н10Т, 08Х18Н10Т |
Алюминий АДО |
Ст0Х18Г8Н12Т (КО-3) |
|
рабочее давление, МПа (кгс/см2) |
0,25 (2,5) |
0,25 (2,5) |
0,25 (2,5) |
0,3 (3,0) |
0,2 (2,0) |
0,15 (1,5) |
0,2 (2,0) |
0,2 (2,0) |
0,2 (2,0) |
0,2 (2,0) |
|
испытательное давление МПа (кгс/см2) |
0,4 (4,0) |
0,4 (4,0) |
0,55 (5,5) |
0,4 (4,0) |
0,55 (5,5) |
0,68 (6,8) |
- |
0,45 (4,5) |
0,5 (5,0) |
0,9 (9,0) |
|
Высота центра тяжести цистерны от головки рельса, мм: |
|
|
|
|
|
|
|
|
|
|
|
порожней |
1163 |
1140 |
1181 |
- |
1338 |
1288 |
- |
1289 |
- |
- |
|
груженой |
1998 |
2045 |
2170 |
- |
2222 |
2072 |
- |
2254 |
- |
- |
|
Год начала серийного производства |
1963 |
1971 |
- |
1964 |
1975 |
1963 |
1980 |
1983 |
1963 |
1971 |
|
Год снятия с производства |
1978 |
|
|
|
|
1983 |
- |
- |
- |
1976 |
Продолжение таблицы 6.1
|
Наименование параметра |
Значение параметра для вагона модели |
|||||||||
|
15-859 |
15-1568 |
15-1414 |
15-1572 |
15-Ц854 |
ЖКЦ-34 |
ЖКЦ-35 (I) |
ЖКЦ-35 (II) |
15-1416 (ЖГЦ-60) |
15-1570 (ЖГЦ-73) |
|
|
Назначение (основной груз) |
Ацетальдегид |
Ацетальдегид |
Этиловая жидкость |
Метанол |
Серная кислота |
Крепкая азотная кислота |
Крепкая азотная кислота |
Крепкая азотная кислота |
Гептил |
Гептил |
|
Тип вагона |
- |
- |
- |
766 |
760 |
- |
- |
- |
- |
- |
|
Грузоподъемность, т |
46,1 |
5 3,2 |
60,7 |
57,0 |
60,0 |
50 |
50 |
50 |
45,6 |
54,4 |
|
Масса вагона (тара), т |
23,9 |
25,9 |
22,2 |
23,5 |
21,9 |
21 |
21,8 |
20,7 |
25,1 |
25,05 |
|
Нагрузка: |
|
|
|
|
|
|
|
|
|
|
|
от оси колесной пары на рельсы, кН (тс) |
172 (17,5) |
194 (19,8) |
203 (20,7) |
197 (20,1) |
201 (20,5) |
174 (17,75) |
176 (17,95) |
173,4 (17,67) |
173,4 (17,7) |
194,9 (19,9) |
|
на один погонный метр пути, кН/м (тс/м) |
57 (5,8) |
65 (6,6) |
68 (6,9) |
66 (6,7) |
67 (6,8) |
57,9 (5,9) |
58,5 (6,0) |
57,7 (5,9) |
57,7 (5,9) |
64,8 (6,6) |
|
Габарит |
02-ВМ (02-Т) |
02-ВМ (02-Т) |
02-ВМ (02-Т) |
1T |
02-ВМ (02-Т) |
02-ВМ (02-Т) |
02-ВМ (02-Т) |
02-ВМ (02-Т) |
02-ВМ (02-Т |
02-ВМ (02-Т) |
|
Параметры котла: |
|
|
|
|
|
|
|
|
|
|
|
объем полный, м3 |
63,4 |
73,2 |
38,7 |
73,2 |
32 |
34,5 |
34,5 |
34,5 |
61,2 |
73,2 |
|
объем полезный, м3 |
57,1 |
65,8 |
36,8 |
71,7 |
- |
33 |
33 |
33 |
57,0 |
68,0 |
|
удельный объем, м3 /т |
1,24 |
1,24 |
0,61 |
1,26 |
0,53 |
0,66 |
0,66 |
0,66 |
1,25 |
1,25 |
|
диаметр внутренний, мм |
2800 |
3000 |
2200 |
3000 |
2000 |
2200 |
2200 |
2200 |
2800 |
3000 |
|
длина наружная, мм |
10690 |
10770 |
10490 |
10770 |
10550 |
9410 |
9410 |
9410 |
10334 |
10770 |
|
толщина листов, мм: |
|
|
|
|
|
|
|
|
|
|
|
верхнего/среднего/ нижнего |
9/9/11 |
9/9/11 |
9/9/11 |
9/9/11 |
- |
18/18/22 |
20/20/20 |
18/18/22 |
9/9/11 |
9/9/11 |
|
днищ |
10 |
10 |
10 |
10 |
- |
20 |
20 |
20 |
10 |
10 |
|
материал |
Ст09Г2С |
Ст09Г2, 09Г2Д, 09Г2С, 09Г2СД-12 |
Ст09Г2С, 09Г2Д, 09Г2СД, 09Г2С-12 |
Ст09Г2Д, 09Г2, 09Г2С, 09Г2СД-12 |
ВСт3сп5 |
Алюминий А1 |
Алюминий АД1 |
Алюминий АД1 |
ВСт3сп |
Ст09Г2С |
|
рабочее давление, МПа (кгс/см2) |
0,3 (3,0) |
0,3 (3,0) |
0,35 (3,5) |
0,25 (2,5) |
0,25 (2,5) |
0,2 (2) |
0,2 (2) |
0,2 (2) |
0,25 (2,5) |
0,25 (2,5) |
|
испытательное давление МПа (кгс/см2) |
0,87 (8,7) |
0,85 (8,5) |
0,9 (9,0) |
0,55 (5,5) |
0,4 (4,0) |
|
|
|
|
0,6 (6) |
|
Высота центра тяжести цистерны от головки рельса, мм: |
|
|
|
|
|
|
|
|
|
|
|
порожней |
- |
1570 |
1261 |
1475 |
- |
- |
- |
- |
- |
- |
|
груженой |
- |
2375 |
2051 |
2385 |
- |
- |
- |
- |
- |
- |
|
Год начала серийного производства |
1963 |
1976 |
1972 |
1984 |
- |
- |
- |
- |
- |
- |
|
Год снятия с производства |
1975 |
- |
- |
- |
- |
- |
- |
- |
- |
- |
Рис. 6.5. Четырехосная цистерна для серной кислоты модели 15-Ц854

Рис. 6.6. Четырехосная цистерна для серной кислоты модели 15-1401

Рис. 6.7. Четырехосная цистерна для улучшенной серной кислоты модели 15-1548

Рис. 6.8. Четырехосная цистерна для улучшенной серной кислоты модели 15-1601
Для перевозки соляной кислоты используются цистерны моделей 15-1403 (рис. 6.9) и 15-1554 (рис. 6.10). Цистерна модели 15-1403 имеет два люка: люк-лаз диаметром 585 мм с откидной крышкой, которая крепится к фланцу люка болтами, и технологический люк диаметром 462 мм, на крышке которого находятся предохранительный клапан избыточного давления, фланец сливоналивной трубы и воздушный штуцер. На цистерне модели 15-1554 патрубок сливоналивной трубы с присоединительным фланцем, воздушный штуцер и предохранительно-впускной клапан также установлены на крышке технологического люка. Вся внутренняя поверхность котла и наружная в верхней части, в зоне расположения арматуры и люков, покрыта резиной, защищающей металл от коррозии. Технологический люк используется при проведении гуммировочных работ.
В целях предохранения гуммированного покрытия от повреждения при открывании и закрывании люков и выполнении других работ запрещается применение лап, цепей, зубил, канатов, а также категорически запрещается подрезать или соскребать гуммировку. При проведении работ внутри котла необходимо применять специальную резиновую или войлочную обувь. Не допускается промывка котла бензином, керосином и другими растворителями.
Для защиты тормозного оборудования и рамы от разлившегося при сливоналивных операциях продукта на обеих моделях в средней части котла с двух сторон предусмотрены защитные козырьки.
Слив кислоты осуществляется путем отсоса ее из котла при открытой крышке люка-лаза. Допускается слив передавливанием с подачей воздуха через воздушный штуцер при давлении в котле не более 0,06 МПа (0,6кгс/см2).
Цистерны моделей 15-1404 (рис. 6.11), 15-1426 (рис. 6.12) и 15-1487 (рис. 6.13) служат для перевозки слабой азотной кислоты. На верхней части котла цистерны модели 15-1404 расположены люк-лаз диаметром 570 мм, сливоналивная труба с присоединительным фланцем и предохранительно-впускной клапан.
Люк-лаз закрывается откидной крышкой, которая фиксируется откидными болтами. На крышке люка находится смотровой люк и приспособление для сброса давления. В горловине люка закреплена внутренняя лестница.
Сливоналивная труба и смотровой люк в транспортном положении закрыты заглушками, устанавливаемыми на болтах.
Предохранительно-впускной клапан отрегулирован на избыточное давление в котле 0,15 МПа (1,5 кгс/см2) и вакуум 0,005 МПа (0,05 кгс/см2). Клапан имеет штуцер для подключения воздушной магистрали при разгрузке передавливанием. Избыточное давление в котле при разгрузке не более 0,06 МПа (0,6 кгс/см2). В нижней части клапана установлен предохранительный стакан, предупреждающий выброс продукта через клапан при гидравлическом ударе.
Снаружи к котлу приварены козырьки для защиты рамы и тормозного оборудования вагона от разлившегося продукта при сливоналивных операциях. На раме установлен ящик с известью для нейтрализации разлившегося продукта.
На цистернах моделей 15-1426 и 15-1487 вся сливоналивная арматура и предохранительно-впускной клапан смонтированы на крышке люка котла цистерны и закрываются защитным предохранительным колпаком.
Сливоналивная арматура включает сливоналивную трубу с присоединительным фланцем, поплавковый уровнемер закрытого типа (см. рис. 6.4), газовый вентиль, пробоотборник и манометродержатель.
Уровнемер обеспечивает контроль уровня наполнения котла при наливе кислоты. Газовый вентиль служит для сброса давления в котле при подготовке к сливоналивным операциям и после слива кислоты методом передавливания, а также для подключения внешней газовой магистрали для подачи в котел воздуха или инертного газа при разгрузке методом передавливания. Давление в котле при разгрузке не должно превышать 0,2 МПа (2 кгс/см2). Давление контролируется по манометру, устанавливаемому в манометродержатель.
Снаружи котла в средней его части приварены желоба для защиты тормозного оборудования и рамы от разлившегося продукта при сливоналивных операциях. Внутренняя лестница в котле не предусмотрена.
Цистерна модели 15-1406 (ЖКЦ-39) предназначена для перевозки и временного хранения кислотных меланжей и спецпродуктов и показана на рис. 6.14.
В верхней части котла расположены сливоналивное устройство и люк-лаз, на крышке которого установлены предохранительно-впускной клапан, пробоотборное устройство, указатель наполнения поплавкового типа (см. рис. 6.4), манометродержатель с вентилем и газовый вентиль Dy 70.

Рис. 6.9. Четырехосная цистерна для соляной кислоты модели 15-1403

Рис. 6.10. Четырехосная цистерна для соляной кислоты модели 15-1554

Рис. 6.11. Четырехосная цистерна для слабой азотной кислоты модели 15-1404

Рис. 6.12. Четырехосная цистерна для слабой азотной кислоты модели 15-1426

Рис. 6.13. Четырехосная цистерна для слабой азотной кислоты модели 15-1487

Рис. 6.14. Четырехосная цистерна для кислотных меланжей модели 15-1406
Сливоналивное устройство включает трубу с вентилем Dy 100 для слива и налива основного продукта и трубку с вентилем Dy 15 для слива отстоя из поддона котла. Выходной патрубок вентиля Dy 15 соединен наружной трубкой со сливным патрубком вентиля Dy 100.
Пробоотборное устройство представляет собой систему из трех труб, концы которых опущены в котел на разную глубину (для взятия пробы из верхнего, среднего и нижнего слоя продукта). Снаружи на трубы установлены вентили Dy 6 с присоединительным патрубком, снабженным ниппелем и заглушкой.
При транспортировке спецпродукта вместо вентиля Dy 70 на крышке люка устанавливается воздушный фильтр с фильтрующим элементом из стекловаты.
В горловине люка закреплена внутренняя лестница для доступа внутрь котла цистерны при проведении ремонтно-технического обслуживания.
Все крепежные изделия для крепления крышки люка, арматуры и заглушек изготовлены из нержавеющей стали.
Для защиты оборудования и рамы вагона с обеих сторон котла установлены дренажные устройства, состоящие из желобов и отводных труб.
На консольной части рамы с одного конца вагона установлен ящик для извести.
Для перевозки и временного хранения крепкой азотной кислоты и спецпродуктов служат и цистерны моделей ЖКЦ-34 (рис. 6.15), ЖКЦ-35 (I) (рис. 6.16) и ЖКЦ-35 (II) (рис. 6.17). По конструкции эти цистерны аналогичны цистерне модели 15-1406 (ЖКЦ-39) и являются ее предшественницами. Для защиты рамы вагона и оборудования от вредного воздействия груза на котле с двух сторон установлены предохранительные щиты.
В цистернах модели 15-1514 (рис. 6.18) перевозят меланж.
В средней верхней части цистерны расположены люк-лаз, патрубок сливоналивного устройства с присоединительным фланцем с заглушкой и предохранительно-впускной клапан. На откидной крышке люка находится штуцер для установки манометра и патрубок для отбора пробы продукта, в заглушку которого вварен штуцер для подвода воздуха при разгрузке цистерны передавливанием. В средней части котла с обеих сторон предусмотрены защитные козырьки для защиты автотормозного оборудования и рамы от разлившегося при сливоналивных операциях продукта.
Ацетальдегид перевозят в цистернах моделей 15-859 (рис. 6.19) и 15-1568 (рис. 6.20).
Обе модели имеют аналогичную конструкцию сливоналивного, контрольно-измерительного устройств и различаются размерами котла и деталями конструктивного исполнения. Котел цистерны оборудован теневой защитой. Сливоналивная, контрольно-измерительная арматура и предохранительный клапан установлены на крышке люка и закрыты защитным колпаком. Крышка крепится к фланцу люка болтами.
Сливоналивное устройство состоит из двух сливоналивных труб с вентилями Dy 40 для жидкой фазы и одного уравнительного вентиля Dy 40 для газообразной фазы. На внутренней стороне крышки люка перед вентилями установлены скоростные клапаны. В транспортном положении присоединительные фланцы вентилей закрываются заглушками. Нижние концы сливоналивных труб доходят до поддона и закреплены фиксирующей скобой.
Пробоотборник состоит из вентиля Dy 6 и трубы 20×3 мм. Указатель уровня налива состоит из двух вентилей Dy 6 с трубами 20×3 мм, торцы которых находятся в верхней части цистерны на уровнях предварительного и максимально допустимого наполнения. Для контроля окончания слива служат два вентиля Dy 6, один из которых соединен с контрольной трубой 20×3 мм, торец которой расположен вблизи поддона, а второй соединяет эту трубу через наружную трубку с верхней частью цистерны, заполненной газовой фазой для того, чтобы столб жидкости в контрольной трубе опустился до уровня продукта в котле. Второй вентиль должен открываться и закрываться перед каждой проверкой окончания слива.
Для контроля давления в цистерне во время слива и налива при помощи съемного манометра служит манометродержатель с вентилем.
Цистерна оборудована только предохранительным клапаном избыточного давления, отрегулированным на 0,3 МПа. Пары ацетальдегида с воздухом образуют взрывоопасную смесь, поэтому при операциях слива и налива во избежание подсоса воздуха необходимо поддерживать избыточное давление, а по окончании этих операций паровая фаза ацетальдегида удаляется продувкой азотом, которым и заполняется затем свободный объем котла до давления 0,05 МПа (0,5 кгс/см2).
В цистернах модели 15-1414 (рис. 6.21) перевозят этиловую жидкость. Цистерна оборудована теневой защитой. В средней части котла расположен люк-лаз котла диаметром 600 мм, смотровой люк и барбатер. На крышке люка котла установлены газовый вентиль Dy 40, сливоналивное устройство с вентилем Dy 70, пробоотборник с вентилем Dy 6, манометродержатель и патрубок полусифона контроля уровня наполнения. При наливе патрубок полусифона соединяется с переливной линией. Поступление жидкого продукта в эту линию сигнализирует о достижении нормального уровня наполнения.

Рис. 6.15. Четырехосная цистерна для крепкой азотной кислоты модели ЖКЦ-34:
1 - индивидуальный ЗИП; 2 - котел; 3 - наружная лестница с площадками; 4 - люк для отбора проб; 5 - предохранительно-впускной клапан; 6 - газовый вентиль; 7 - сливоналивное устройство; 8 - ящик для извести; 9 - платформа

Рис. 6.16. Четырехосная цистерна для крепкой азотной кислоты модели ЖКЦ-35 (I):
1 - платформа; 2 - котел; 3 - наружная лестница; 4 - сливное устройство; 5 - ящик для извести; 6 - крышка люка; 7 - предохранительный клапан; 8 - впускной клапан; 9 - предохранительный щит


Рис. 6.17. Четырехосная цистерна для крепкой азотной кислоты модели ЖКЦ-35 (II):
1 - платформа; 2 - котел; 3 - наружная лестница; 4 - сливное устройство; 5 - ящик для, извести; 6 - крышка люка; 7 -
предохранительно-впускной клапан; 8 - предохранительный щит ![]()

Рис. 6.18. Четырехосная цистерна для меланжа модели 15-1514

Рис. 6.19. Четырехосная цистерна для ацетальдегида модели 15-859

Рис. 6.20. Четырехосная цистерна для ацетальдегида модели 15-1568

Рис. 6.21. Четырехосная цистерна для этиловой жидкости модели 15-1414

Рис. 6.22. Четырехосная цистерна для метанола модели 15-1572
Газовый вентиль служит для подачи в котел газообразного азота при сливе передавливанием, для продувки свободного объема цистерны после операций слива и налива от паров продукта и заполнения этого объема азотом до давления 0,05 МПа (0,5 кгс/см2).
Барбатер служит для подачи в котел бензина при промывке после слива продукта.
Арматура, установленная на крышке люка, закрывается защитным кожухом. На раме вагона установлен ящик с известью.
Пары этиловой жидкости образуют с воздухом взрывоопасную смесь, поэтому цистерна не имеет вакуумного клапана и при сливоналивных операциях, во избежание подсоса воздуха, в котле должно поддерживаться избыточное давление, которое должно сохраняться и во время транспортировки.
Метанол перевозят в цистернах модели 15-1572 (рис. 6.22).
Наверху в средней части котла расположен люк-лаз, сливоналивная арматура и предохранительно-впускной клапан.
Люк-лаз диаметром 570 мм закрывается крышкой, которая фиксируется при помощи восьми откидных болтов. В горловине люка прикреплена внутренняя лестница. Для предотвращения доступа посторонних лиц люк с крышкой закрывается откидным кожухом, который пломбируется и запирается навесным замком.
Арматура и клапан закрываются сдвижным коробчатым кожухом, который также пломбируется и запирается навесным замком.
Сливоналивная арматура включает:
вентиль Dу 100 для жидкой фазы, установленный на сливоналивной трубе;
газовый вентиль Dу 50 для отвода азота или закольцовки емкости склада продукта с котлом цистерны при наливе и для подачи азота при продувке котла или сливе метанола путем передавливания;
вентиль Dу 32 для зачистки остатков метанола из поддона при сливе;
двух вентилей Dу 6 для контроля уровня при сливе и наливе;
двух вентилей Dу 6 пробоотборного устройства для взятия проб из среднего и нижнего уровня продукта;
манометродержатель с вентилем Dу 6.
Слив продукта, как правило, производится методом передавливания азотом при давлении в котле не более 0,065 МПа (0,65 кгс/см2).
По окончании слива свободный объем котла продувается азотом и заполняется им до давления 0,065 МПа. При необходимости такая же операция может выполняться и после налива цистерны.
Метанол - легковоспламеняющаяся жидкость, сильный нервно-сосудистый яд, вызывающий при приеме внутрь слепоту и смерть. При попадании метанола на кожу его необходимо смыть большим количеством воды. При разливе и загорании метанола для тушения необходимо применять песок, химическую пену, тонкораспыленную воду, инертный газ, асбестовое одеяло, порошковые и газовые огнетушители.
Гептил представляет собой легковоспламеняющуюся, ядовитую и едкую жидкость. Вагоны, в которых он перевозится, принадлежат грузоотправителю или грузополучателю и должны следовать в сопровождении бригады (грузоотправителя или грузополучателя) как в груженом, так и в порожнем состояниях.
Для перевозки гептила служат четырехосные цистерны моделей 15-1416 (ЖГЦ-60) (рис. 6.23) и 15-1570 (ЖГЦ-73) (рис. 6.24). Они должны эксплуатироваться в интервале температур воздуха от -50 до +50°С.
На котлах этих цистерн с обеих сторон и на днищах имеются надписи: "Гептил", "X", трафарет приписки и знаки опасности.
Основные параметры цистерн для гептила приведены в табл. 6.1.
Цистерна для перевозки гептила (см. рис. 6.24) состоит из платформы 1 (включающей в себя раму с тележками, автосцепное и автотормозное оборудования, стояночный тормоз) и котла 2 (закрепленного на раме платформы хомутами 3 и лапами), на котором устанавливаются внутренняя и наружная 5 лестницы, крышка люка-лаза 4 и различная арматура: для слива и налива продукта 7, указатель окончания наполнения 6, а также размещенные на арматурной крышке 8 предохранительно-впускной клапан, манометродержатель, пробоотборное устройство.
Рама цистерны модели 15-1416 (ЖГЦ-60) оборудована буферами.
Котел цистерны представляет собой тонкостенную оболочку, составленную из обечайки 1 (рис. 6.25) (цилиндрическая часть) и двух днищ. Причем у цистерны модели 15 - 1416 (ЖГЦ-60) - днища сферические, а у цистерны модели 15 - 1570 (ЖГЦ-73) - днища эллиптические 2 (см. рис. 6.25).
Для обеспечения полноты слива в нижней части обечайки имеется уклон к середине котла, где для этой же цели установлен поддон 8.
Обслуживающий персонал может иметь доступ внутрь котла через люк-лаз 5 с помощью внутренней лестницы 6, верх которой закреплен в люке-лазе, низ - с помощью специальных упоров 7 внизу котла. Люк-лаз закрывается крышкой, которая крепится к специальной стойке, установленной на верхних образующих котла, и герметично запирается 15-ю откидными болтами 9 (см. рис. 6.24).
Чтобы разместить вентили, на цистерне модели 15-1570 (ЖГЦ-73) в середине верхней части котла вваривается ниша 4 (см. рис. 6.25), усиленная накладкой 3. На этой нише устанавливаются устройство налива и слива продукта, указатель окончания наполнения и газовый вентиль. Из ниши атмосферные осадки и пролитый продукт удаляются через специальную трубу 9.

Рис. 6.23. Четырехосная цистерна для гептила модели 15-1416 (ЖГЦ-60)

Рис. 6.24. Четырехосная цистерна для гептила модели 15-1570 (ЖГЦ-73)

Рис. 6.25. Котел цистерны модели 15-1570
В верхней части котла устанавливается также крышка с арматурой 2 (рис. 6.26), которая представляет собой фланец, на котором размещены предохранительно-впускной клапан 3, пробоотборное устройство 5, манометродержатель 4 и заглушка 1.
Устройство для налива и слива продукта цистерны модели 15--1416 (ЖГЦ-60) имеет типовую конструкцию, показанную на рис. 6.1, у цистерны модели 15-1570 (ЖГЦ-73) - конструкцию, приведенную на рис. 6.27. На этом рисунке: 1 - угловой вентиль Dy 15 вместе с трубой 5 служит для полного слива продукта; 2 - вентиль Dy 100 вместе с трубой 6 - для налива и слива продукта; 3 - угловой вентиль Dy 15 предназначен для продувки рукавов; 4 - патрубок.
На цистернах для гептила применяются типовые поплавковые указатели уровня наполнения закрытого типа (см. рис. 6.4), описание которых дано в разд. 6.1. На цистерне модели 15-1570 (ЖГЦ-73) окончательный уровень наполнения продуктом (с плотностью 0,8 кг/дм3) котла цистерны соответствует отметке на шкале 265,5 см, при этом объем составит 68,05 м3.
Во избежание образования взрывоопасной смеси пространство над продуктом заполняется азотом. Дня поступления азота в котел или удаления его из котла служит газовый вентиль Dy 70 (7 на рис. 6.27).
Предохранительно-впускной клапан (защищающий от избыточного давления и вакуума в котле) у цистерн для гептила имеет в комплекте специальные приспособления (рис. 6.28 и 6.29), предназначенные для проверки работоспособности и регулировки предохранительно-впускного клапана в соответствии с требованиями „Технического описания и инструкции по эксплуатации 1416.09.0001 ПС".
Для отбора проб продукта перед сливом служит пробоотборное устройство (см. рис. 6.3) типовой конструкции. На маховиках вентилей Dy 6 имеются трафареты, указывающие зоны котла (внизу, в средней части или наверху), откуда берется проба, а также направление вращения маховика. Трубы пробоотборного устройства ввариваются во фланец, укрепленный шпильками и гайками М12 на крышке арматурного люка.
На одной из концевых балок рамы цистерны устанавливается ящик ЗИПа, в котором хранятся запасные части, инструмент, принадлежности и материалы, необходимые для нормальной эксплуатации и ремонта цистерны. Перечень единиц хранения ЗИПа устанавливается ведомостью 1570.00.000 ЗИ, которая входит в комплект эксплуатационных документов 1570.00.000 ЭД. Если необходимо в ЗИПе найти деталь (или какой-то узел), то в техническом описании цистерны находят рисунок сборочной единицы, куда входит деталь (или узел) и определяют обозначение детали (или узла). Затем по обозначению и по ведомости ЗИПа определяют: входит ли деталь в ЗИП и где она уложена.
Упомянутые выше два приспособления для предохранительно-впускного клапана также хранятся в ящике ЗИПа.
Приспособление № 1 (см. рис. 6.28) служит для проверки работы клапана при избыточном давлении. Оно включает в себя уравнительный бачок 1, куда через вентиль 7 подается воздух, патрубок 2 с тарелкой 5 для налива воды, штуцер 6 для установки манометра, вентиль 8 для сброса избыточного давления в уравнительном бачке, пробку 3 для слива воды из тарелки и прокладку 4, с помощью которой предохранительно-впускной клапан герметично устанавливается на фланец патрубка 2.
При проверке клапана на избыточное давление в тарелку наливается вода до уровня, закрывающего отверстия для пропуска воздуха в корпус клапана. В уравнительный бачок 1 через вентиль 7 подается воздух, давление которого контролируется манометром. При избыточном давлении (в соответствии с показаниями манометра) бурление воды говорит о нормальной работе предохранительного клапана.
Пропуск воздуха при давлении ниже или выше паспортных показателей свидетельствует об отклонениях в работе клапана. В этом случае надо снять верхний колпачок и с помощью регулирующего винта нагрузить или освободить пружину клапана. Затем повторить проверку клапана в приспособлении до окончательной регулировки.
Нарушение герметичности требует разборки клапана и проверки притирочных поверхностей. В случае обнаружения рисок на этих поверхностях производится их притирка.
Приспособление № 2 служит для проверки предохранительно-впускного клапана при давлении в котле ниже атмосферного (вакуума) и включает в себя (см. рис. 6.29) штуцер 2, нажимную гайку 1 и прокладку 3. Предохранительно-впускной клапан вставляется в штуцер и с помощью нажимной гайки прижимается, при этом прокладка обеспечивает герметичность соединения. Затем собранная конструкция устанавливается в приспособление № 1 и герметично закрепляется. Тарелка до уровня, полностью закрывающего приспособление № 2, заполняется водой, в уравнительный бачок подается воздух, давление которого контролируется по манометру. При этом должна обеспечиваться герметичность контакта конусной поверхности. В случае необходимости заменяется пружина или производится регулировка клапана гайкой. По окончании работы вода из тарелки удаляется вывинчиванием пробки 3 (см. рис. 6.28).
Проведение проверок требует соблюдения мер безопасности при работе с приборами, находящимися под давлением. Необходимо убедиться по манометру в отсутствии избыточного давления в уравнительном бачке перед снятием предохранительно-впускного клапана или приспособления № 2 с приспособления № 1. При этом вентиль 8 (см. рис. 6.28) должен быть открыт.
Запрещается производить разборку или регулировку предохранительно-впускного клапана при наличии избыточного давления в уравнительном бачке.
На всех сборочных единицах вагона ударным способом наносится обозначение сборочной единицы, а на листах обечайки котла и днище также номер плавки стали, из которой они изготовлены.

Рис. 6.26. Крышка с арматурой цистерны модели 15-1570

Рис. 6.27. Сливоналивное устройство цистерны модели 15-1570

Рис. 6.28. Приспособление № 1 для испытания предохранительно-впускного клапана

Рис. 6.29. Приспособление № 2 для испытания предохранительно-впускного клапана
Эксплуатация цистерны для гептила должна удовлетворять требованиям „Правил устройства и безопасной эксплуатации сосудов, работающих под давлением", утвержденных Госгортехнадзором. При этом должны строго соблюдаться правила техники безопасности. Лица, работающие с этими цистернами, должны не только знать конструкцию вагона, правила безопасности при работе с продуктом, правила оказания первой помощи, но также должны иметь практические навыки в выполнении рабочих операций. Они должны быть в защитной одежде и противогазах.
Рукава, подводящие и отводящие продукт, и их соединения с арматурой котла не должны пропускать продукт. При снятии заглушек и подсоединении рукавов к патрубкам вентилей последние должны быть закрыты.
Работы, связанные с ликвидацией неисправностей арматуры или других узлов вагона, можно производить только после слива продукта, сброса давления в котле, обезвреживания и продувки котла воздухом. При необходимости выполнения осмотра или работ внутри котла человек, находящийся там, в спецодежде и противогазе с выведенным из котла шлангом воздухозаборника должен страховаться другим человеком, находящимся на котле в такой же экипировке. При наличии третьего лица второй в случае необходимости может спускаться в котел.
Курить, производить работы с открытым огнем можно не ближе, чем в 25 м от вагона. Светильники и инструмент для работы должны быть взрывобезопасными и в безыскровом исполнении.
Нужно немедленно прекратить работы и устранить неисправности при:
1) обнаружении течи котла;
2) неисправности предохранительно-впускного клапана;
3) повышении давления в котле выше допустимого при соблюдении всех необходимых требований;
4) неисправности манометра и невозможности определить давление с помощью других приборов;
5) неисправности или неполном комплекте крепежных деталей крышек и арматуры;
6) возникновении непосредственно угрожающего вагону пожара.
Средства пожаротушения при выполнении сливоналивных работ всегда должны быть в боевой готовности. Порядок работ при подготовке цистерны к эксплуатации после изготовления, консервации или ремонта следующий:
1) расконсервировать вагон;
2) очистить от пыли и грязи;
3) осмотреть наружные поверхности котла, арматуры, приборов, подкрасить места с нарушенным покрытием;
4) открывая и закрывая вентили, проверить их работоспособность, рукоятки при этом должны вращаться плавно, без заеданий;
5) проверить крепление котла (затяжку гаек, стяжных хомутов), а также затяжку болтов фланцевых соединений;
6) проверить наличие заглушек на патрубках вентилей Dy 100, Dy 70, Dy 6 и пробок на манометродержателе и пробоотборнике;
7) при избыточном давлении азота по показанию манометра проверить работоспособность предохранительно-впускного клапана.
После этого при удовлетворительном состоянии цистерна готова к работе. Об этом делают отметку в формуляре.
Порядок выполнения основных операций при наливе:
1) затормозить вагон стояночным тормозом;
2) заземлить его, подсоединив заземляющий кабель к ушку заземления, находящемуся на раме у наружного края одной из лап;
3) осмотреть котел и ходовые части;
4) снять пломбы с вентилей Dy 100, Dy 70 и установить манометр в манометродержатель;
5) проверить в котле наличие азота. Если котел нужно заполнить азотом, то соединяют рукавом пространство котла (через газовый вентиль Dy 70) с емкостью, где содержится азот. Открывают газовый вентиль, наполняют азотом котел, пока давление газового пространства над продуктом по маномегру не достигнет 0,05-0,08 МПа. Закрывают газовый вентиль и отсоединяют рукав;
6) закольцевать с помощью газового вентиля Dy 70 газовые пространства котла цистерны и емкости, в которой содержится продукт. Вентиль Dy 100 соединить рукавом с напорной коммуникацией перекачивающего устройства. Открыть газовый вентиль Dy 70, затем вентиль Dy 100 и наполнить котел продуктом. По указателю окончания наполнения контролируется уровень наполнения котла продуктом. При достижении отметки 265,5 см (что соответствует объему 68,05 м3) у цистерны модели 15-1570 (ЖГЦ-73) налив продукта следует прекратить, выключив перекачивающее средство;
7) закрыть вентили Dy 100, Dy 70, открыть вентиль Dy 15 (3 рис. 6.27), освободить рукав от продукта, подсоединенный к вентилю Dy 100. Вентиль Dy 15 закрыть. Сбросить давление азота в рукавах, после чего отсоединить их от вентилей Dy 100, Dy 70 и поставить на вентили заглушки. Вращением маховика по часовой стрелке закрыть манометродержатель, снять манометр и уложить в ящик ЗИПа. Ввернуть пробку в манометродержатель;
8) отсоединить заземляющий кабель;
9) вновь осмотреть вагон, проверить крепление крышек люков и арматуры, установленной на котле, опломбировать арматуру и приборы (всего 17 пломб: 4 - на предохранительно-впускном клапане, 2 - на крышке люка и по одной пломбе - на вентилях Dy 100, Dy 70, двух угловых Dy 15, трех Dy 6, на манометродержателе, указателе уровня, пробоотборном устройстве, заглушке);
10) отключить стояночный тормоз.
После этого вагон передается представителю вагонной службы МПС, который производит техническое освидетельствование в соответствии с „Правилами технической эксплуатации железных дорог СССР". При транспортировке должны соблюдаться „Правила перевозок отдельных видов грузов и выполнения коммерческих операций на станциях и железнодорожных подъездных путях" (ч. 2).
Цистерна должна следовать в грузовом поезде с прикрытием от локомотива и вагонов, следующих с людьми. Нормы прикрытия определены правилами перевозки продукта. Недопустимо следование вагона для гептила в пассажирском поезде.
Порядок выполнения основных операций при сливе:
1) затормозить цистерну стояночным тормозом;
2) заземлить вагон;
3) осмотреть котел и сливоналивную арматуру;
4) проверить состояние пломб; снять пломбы с вентилей Dy 70, Dy 100, с манометродержателя и вентилей пробоотборника; установить манометр в манометродержателе;
5) проверить наличие и давление азота в котле цистерны;
6) соединить газовые пространства цистерны и приемной емкости с помощью газового вентиля Dy 70;
7) соединить рукавом вентиль Dy 100 и всасывающую коммуникацию перекачивающих средств пункта слива;
8) через пробоотборное устройство взять пробы продукта. При отборе проб присутствие посторонних лиц запрещается;
9) открыть вентиль Dy 70, затем - Dy 100. Слив выполняется перекачивающими средствами пункта слива, при этом давление в котле контролируется по показаниям манометра. Перед окончанием слива во избежание срыва струи нужно открыть вентиль 7 (см. рис. 6.27), потом закрыть вентиль Dy 100 и закончить слив через трубу 5. В случае срыва струи слив производится ручным насосом;
10) по окончании слива вентиль 1 закрыть, открыть вентиль 3, продуть соединенный с ним рукав. Закрыть вентили 3 и Dy 70. Сбросить давление азота в рукавах, отсоединить их от вентилей Dy 70, Dy 100 и поставить заглушки на вентили. Вращением маховика по часовой стрелке закрыть манометродержатель, снять и уложить в ящик ЗИПа манометр, закрыть пробкой манометродержатель;
11) опломбировать вентили Dy 70, Dy 100; проверить наличие всех остальных пломб.
Избыточное давление в котле по окончании слива должно составлять 0,05-0,08 МПа.
Перед ремонтом и консервацией вагона, а также при сильном загрязнении внутренней поверхности продуктами окисления и коррозии металла или при подготовке цистерны к перевозке другого продукта производится обезвреживание (нейтрализация) и зачистка котла. При этом полностью удаляются из котла несливаемые остатки продукта и его пары, смолистые отложения, продукты коррозии. Это должно соответствовать „Временной инструкции по обезвреживанию специальных технических средств службы снабжения горючим после работы с гептилом и самином".
В качестве обезвреживающих жидкостей в зависимости от рода перевозимого продукта, времени обработки и температуры окружающего воздуха используются:
1) 1,5±0,1 - процентная концентрация по весу водного раствора двухромовокислого калия (хромпика);
2) 0,5 %-ная концентрация по весу водного раствора моющего препарата МЛ-2;
3) керосин (топливо Т-1,Т-2,ТС-1) или неэтилированный бензин.
Определяется необходимый объем нейтрализующей жидкости для обезвреживания котла.
Освобожденная от гептила цистерна до обработки хромпиком для удаления несливаемых остатков груза промывается водой.
Обезвреживание осуществляется непрерывно действующими установками, позволяющими обработать нижнюю часть котла, а жидкости - циркулировать. Затем котел снова промывается водой, грязь удаляется, котел просушивается. По остаточной концентрации паров продукта и состоянию обработанной поверхности дается заключение о пригодности цистерны для ремонтных работ, консервации или налива продукта.
После обработки котла водным раствором МЛ-2, чтобы избежать атмосферной коррозии внутренней поверхности в продолжении 15-20 сут, используется 0,3 %-ный водный раствор нитрата натрия, после чего удаляются излишки нитрата натрия. Котел просушивается, промывка при этом не требуется.
Сбрасывать в водоемы и канализацию токсичные отработанные растворы и промывочную воду без обезвреживания запрещается.
В целях обеспечения безопасности движения цистерны для перевозки порошкообразных грузов изготовляют в полном соответствии с „Правилами устройства и безопасной эксплуатации сосудов, работающих под давлением".
Цистерны для перевозки порошкообразных грузов должны удовлетворять следующим требованиям: обеспечивать плотность соединения отдельных элементов кузова и разгрузочных устройств, что предотвращает потери груза при его транспортировке и попадание внутрь атмосферных осадков; обеспечивать надежное поступление груза в зону разгрузочных устройств; иметь устройства для рыхления слеживающихся во время транспортировки и разгрузки грузов; производить погрузочно-выгрузочные операции с целью предотвращения загрязнения окружающей среды и потери груза по специальным закрытым магистралям.
Цистерны для порошкообразных грузов допускают разгрузку по трубопроводу диаметром 150 мм на расстояние до 50 м с подачей на высоту до 25 м при наличии у грузополучателя источника сжатого воздуха производительностью не менее 20 м3 /мин.
Все модели этих цистерн имеют следующие типовые сборочные единицы:
тележки - модели 18-100;
автосценное устройство - типовое;
автотормозное устройство - типовое.
Габариты цистерн представлены на рисунках. Все эти цистерны оборудованы люками-лазами диаметром 575 мм, а цистерна модели 15-884 - диаметром 585 мм.
Диаметр загрузочных люков унифицирован и составляет 400 мм.
Разгрузочные патрубки имеют два диаметра: у цистерн моделей 15-854, 15-884 - диаметр составляет 150 мм, а у цистерн моделей 15-Ц860, 15-1498-100 мм.
Во всех моделях допускается давление в котле при гидравлических испытаниях до 0,3 МПа (3 кгс/см2).
Для обеспечения нормальной выгрузки груза откосы имеют угол наклона к горизонту 50°, а аэролотки - 6°.
Основные технические данные о цистернах для перевозки порошкообразных грузов представлены в табл. 7.1.
Четырехосная цистерна для кальцинированной соды модели 15-884 показана на рис. 7.1, основные параметры приведены в табл. 7.1.
|
Наименование параметра |
Значение параметра для вагона модели |
|||
|
15-884 |
15-854 |
15-1498 |
15-Ц860 |
|
|
Назначение (основной груз) |
Кальцинированная сода |
Тяжелые порошкообразные грузы |
Поливинилхлорид |
Поливинилхлорид |
|
Грузоподъемность |
54 |
68 |
55,5 |
52 |
|
Масса вагона (тара), т |
31,3 |
24,61 |
30,35 |
30,4 |
|
Нагрузка: |
|
|
|
|
|
от оси колесной пары на рельсы, кН (тс) |
209,1 (21,3) |
226,9 (23,15) |
210,45 (21,46) |
201,9 (20,6) |
|
на один погонный метр пути, кН/м (тс/м) |
53,2 (5,4) |
75,58 (7,7) |
53,54 (5,46) |
49,98 (5,1) |
|
Количество осей |
4 |
4 |
4 |
4 |
|
Габарит |
1-ВМ (0-Т) |
02-ВМ (02-Т) |
1-ВМ (0-Т) |
1-ВМ (0-Т) |
|
Объем котла, м3: |
|
|
|
- |
|
полный |
101,6 |
61 |
99,2 |
86,4 |
|
полезный |
83,6 |
- |
92,2 |
84 |
|
Длина котла наружная, мм |
14690 |
8490 |
14488 |
14620 |
|
Диаметр котла внутренний, мм |
3000 |
3000 |
3000 |
3000 |
|
Толщина листов, мм: |
|
|
|
|
|
верхних |
9 |
7 |
8 |
9 |
|
средних |
9 |
8 |
8 |
9 |
|
нижнего |
И |
8 |
10 |
И |
|
днищ |
10 |
10 |
10 |
10 |
|
Материал |
09Г2С ВСТ3сп5 |
09Г2С |
ВСт3сп + Х18Н10Т |
ВСт3сп + Х18Н10Т |
|
Удельный объем, м3/т J |
1,55 |
0,897 |
1,66 |
- |
|
Давление в котле при разгрузке, МПа (кгс/см2) |
0,2 (2) |
0,2 (2) |
0,2 (2) |
0,2 (2) |
|
Производительность выгрузки, т/ч |
54 |
68 |
61,7 |
- |
|
Количество люков, шт.: |
|
|
|
|
|
разгрузочных |
5 |
2 |
4 |
5 |
|
лазовых |
1 |
1 |
2 |
1 |
|
Количество аэролотков, шт. |
8 |
Аэроднище |
4 |
4 |
|
Количество аэроплиток, шт. |
4 |
- |
- |
4 |
|
Высота центра тяжести цистерны, мм: |
|
|
|
|
|
порожней |
1587 |
1367 |
1511 |
- |
|
груженой |
2323 |
2415 |
2063 |
- |
|
Год постановки на серийное производство |
1963 |
1986 |
1972 |
1964 |
Котел цистерны (рис. 7.2) состоит из сваренных встык двух цилиндрических обечаек 1 и 2 и двух эллиптических днищ. Внутри котла для аэрации груза размещены четыре длинных аэролотка 8, четыре коротких аэролотка 6 и четыре аэроплитки 7.
Аэролоток (рис. 7.3) представляет собой штампованный из листовой стали корпус 4, который сверху перекрыт пористой перегородкой 6, изготовленной в виде восьмислойного хлопчатобумажного непропитанного ремня. Для предотвращения провисания пористой перегородки от действия веса груза между этой перегородкой и корпусом аэролотка уложен П-образный лист 1 со специальными просечками. Эти просечки в листе служат для обеспечения равномерной подачи воздуха по всей поверхности пористой перегородки.
Крепление пористой перегородки к корпусу аэролотка производится планками 5. Около днища аэролотки прикреплены к откосу и рассекателю торцовыми планками. В средней части аэролоток крепится к котлу патрубком 3 подвода воздуха, контргайкой и прижимной шайбой. Герметичность соединения обеспечивает резиновая прокладка 2.
Аэроплитка 7 (см. рис. 7.2) состоит из штампованного корпуса прямоугольной формы, к которому прикреплена пористая перегородка.
Аэролоток 8 крепится к котлу около днищ кронштейнами 9, в средней части трубы подвода воздуха - контргайкой 10. Аэролотки 6 и аэроплитки 7 крепятся к котлу в месте выхода патрубка подвода воздуха контргайками.
Чтобы усилить перетекание порошкообразных грузов на пористые поверхности аэролотков, котел внутри оборудован откосами 14 и рассекателями 16, которые крепятся к диафрагмам 15. Откосы и рассекатели изготовляются из листовой стали ВСт3сп5 толщиной 4 мм.
Котел имеет сообщающую трубу 11, оборудованную муфтовым краном 12 для понижения давления воздуха в котле.
На листе откоса около подсоединения сообщающей трубы к подоткосной полости имеется смотровой люк 13, закрытый крышкой с резиновым уплотнением.
Слив конденсата из подоткосной полости осуществляется через штуцер 4, закрытый пробкой. Котел оборудован двумя разгрузочными патрубками 5.
Разгрузочное устройство (рис. 7.4) состоит из дроссельной заслонки 1, выгрузочного патрубка 2 и трубы поддува 4.
Дроссельная заслонка крепится шестью болтами М16×130 и состоит из металлического корпуса, резинового кольца, поворотного диска. Поворотный диск связан с рукояткой 6 штангой 7. Герметичность соединения штанги с дроссельной заслонкой обеспечивается сальниковым устройством 8. Поворотный диск может устанавливаться в положение „открыто" или „закрыто". Штанга с одной стороны крепится к поворотному диску тремя болтами М8×22, с другой - к кронштейну 5.
Разгрузочное устройство оборудовано обратными клапанами 3, которое предотвращает засорение воздушной коммуникации при обратных ударах груза во время разгрузки вагона. Обратный клапан показан на рис. 7.5. На конце выгрузочного патрубка имеется подсоединительное устройство, состоящее из фланца, профильной резиновой прокладки и двух откидных болтов М16×110.
Воздушная коммуникация (рис. 7.6) состоит из коллектора с контрольно-распределительными приборами, арматурой и труб подвода воздуха к аэролоткам и аэроплиткам. На коллекторе 8 установлены два муфтовых крана 5 и муфтовых крана 4 для регулирования подачи воздуха в аэролотки и аэроплитки, два муфтовых крана 6 для подачи воздуха в трубы поддува. Подается воздух в коллектор через муфтовый кран 7. Коллектор оборудован соединительной головкой ГМ-80 для подсоединения его к источнику сжатого воздуха. В транспортном положении соединительная головка должна быть закрыта заглушкой.
На коллекторе установлен предохранительный клапан 1, показанный на рис. 7.7. С помощью штуцера 3 установлен манометр 2. Коллектор вместе с запорно-измерительными приборами и арматурой расположен в шкафу 9, который представляет собой каркас из уголка 25×25×3 мм, обшитый стальным листом толщиной 1,5 мм. Шкаф оборудован запорным устройством и скобами для установки пломб.

Рис. 7.1. Четырехосная цистерна для кальцинированной соды модели 15-884

Рис. 7.2. Котел цистерны модели 15-884


Рис. 7.4. Разгрузочное устройство цистерны модели 15-884

1 - пружина; 2 - прокладка; 3 - тарелка; 4 - корпус

Рис. 7.6. Воздушная магистраль цистерны модели 15-884

Рис. 7.7. Предохранительный клапан:
1 - крышка; 2 - корпус; 3 - пружина; 4 - контргайка; 5 - нажимная шайба; 6 - центрирующий шарик; 7 - тарель; 8 - предохранительный фартук

Рис. 7.8. Принципиальная схема разгрузки цистерны модели 15-884:
1, 3, 5 - муфтовые краны Dy 80, Dy 50 и Dy 25, соответственно; 2 - манометр; 4 - обратный клапан; 6 - длинный аэролоток; 7 - аэроплитка; 8 - короткий аэролоток; 9 - дроссельная заслонка; 10 - транспортный трубопровод; 11 - предохранительный клапан; 12 - соединительная головка
Для слива конденсата и продувки труб воздушной коммуникации на патрубках подвода воздуха к аэролоткам предусмотрены пробки 10.
Принципиальная схема системы разгрузки представлена на рис. 7.8.
Эта четырехосная цистерна модели 15-Ц860 показана на рис. 7.9. Основные технические данные ее приведены в табл. 7.1.
Конструкция цистерны выпуска с 1964 г. аналогична конструкции цистерны для перевозки кальцинированной соды. Отличие состоит в том, что днища и цилиндрическая часть котла, за исключением листов обечайки, ограничиваемых подоткосной полостью, изготовлены из двухслойной стали ВСт3сп + Х18Н10Т плакирующим слоем внутрь котла. Трубы воздушной коммуникации, коллектор, листы откосов и рассекателей, крышки лазового и загрузочных люков, сообщающая труба изготовлены из нержавеющей стали Х18Н10Т.
Четырехосная цистерна для поливинилхлорида модели 15-1498 представлена на рис. 7.10. Основные технико-экономические данные этого вагона помещены в табл. 7.1.
Котел цистерны (рис. 7.11) представляет собой два автономных цилиндрических резервуара 3, каждый из которых наклонен под углом 6° к горизонтали. Наклон резервуара позволил уменьшить объем подоткосной полости и увеличить полезный объем котла. Резервуары сварены между собой около днищ. Для хребтовой балки рамы предусмотрена ниша 12, которая служит также соединительным элементом между двумя резервуарами.
Верхние и средние листы каждого резервуара и днища 1 изготовлены из двухслойной листовой стали ВСт3сп+Х18Н10Т. Нижние листы резервуаров, ограничиваемые подоткосной полостью, изготовлены из листовой стали марки ВСт3сп5 толщиной 10 мм. Откосы 14 и рассекатели 13 изготовлены из листовой стали Х18Н10Т толщиной 4 мм. Листы откосов и рассекателей крепятся к специальной надстройке, изготовленной из стали уголкового профиля 40×40×4 мм, приваренной к котлу.
На листе откоса около зоны подсоединения сообщающей трубы предусмотрен смотровой люк 8, закрытый крышкой с резиновой прокладкой. Каждый резервуар оборудован одним лазовым 5 и двумя загрузочными люками 4. Лазовый люк закрывается откидной крышкой 6, уплотнение которой производится восемью специальными болтами.
Загрузочный люк закрывается крышкой 7 ригельного типа.
Внутри котла уложены четыре аэролотка 11 по два аэролотка в каждом резервуаре. Аэроплитки отсутствуют. Пористая перегородка выполнена из двух слоев лавсановой ткани ТЛФТ-5.
Каждый резервуар оборудован сообщающей трубой 2 с муфтовым краном.
Выгрузка груза производится через четыре патрубка 9 с условным проходом 100 мм.
Конденсат из подоткосной полости сливается через штуцер 10.
Воздушная коммуникация (рис. 7.12) состоит из системы воздухопроводов 1 для подачи воздуха в аэролотки, коллектора 5 с контрольно-распределительной арматурой и арматурного шкафа 7.
Трубы воздухопровода с условным проходом 50 мм изготовлены из нержавеющей стали марки Х18Н10Т. В конструкции цистерны предусмотрена возможность подачи воздуха от коллектора под каждый аэролоток. Для периодической продувки труб в месте подсоединения вертикального патрубка 8 воздухопровода к аэролоткам имеется отверстие, закрытое заглушкой 13 с резиновой прокладкой 12.
На коллекторе установлены предохранительный клапан 6, показанный на рис. 7.13, два трехходовых крана 2, предназначенных для одновременной или попеременной подачи воздуха под одни из двух аэролотков, четыре муфтовых крана 9 с условным проходом 50 мм для подачи воздуха в трубы поддува разгрузочного устройства, муфтовый кран 11 с условным проходом 80 мм для регулирования подачи воздуха в коллектор от компрессорной установки. Коллектор оборудован головкой ГМ-80 для подсоединения гибкого шланга от внешнего источника воздуха. В транспортном положении головка ГМ-80 должна быть закрыта заглушкой 10. В штуцер 4 на время разгрузки цистерны ввинчивается манометр 3.
Разгрузочное устройство (рис. 7.14) состоит из корпуса 1, двух дроссельных заслонок 2 и труб поддува 5. Корпус разгрузочного устройства сварен из труб, изготовленных из нержавеющей стали, с условным проходом 100 мм. Разгрузочный патрубок оборудован фланцами 6 с профильной резиновой прокладкой 7. Выгрузочные отверстия корпуса закрываются крышкой 9, которая крепится двумя откидными болтами M16×100. Крышка оборудована пористой перегородкой 8 из фильтромиткали в один слой, играющей роль обратного клапана, и наконечником 10 для подсоединения трубы поддува.
Для удаления скомковавшегося груза в корпус вварены патрубки 4, закрываемые заглушкой 3.
Дроссельная заслонка состоит из металлического корпуса, резинового кольца, поворотного диска, прикрепленного к валику тремя болтами М8×22. Поворотный диск может быть установлен в положение „Закрыто" или „Открыто" поворотом приваренной к валику рукоятки, положение которой фиксируется с помощью храповика. Открытие и закрытие заслонок осуществляется со стороны арматурного шкафа 11. Поворот ближней к шкафу заслонки выполняется при помощи рукоятки 13, дальней - при помощи рукоятки 12, которая соединена шарнирно тягой 14 с валиком заслонки.

Рис. 7.9. Четырехосная цистерна для поливинилхлорида модели 15 -Ц860

Рис. 7.10. Четырехосная цистерна для поливинилхлорида модели 15-1498

Рис. 7.11. Котел цистерны модели 15-1498

Рис. 7.12. Воздушная коммуникация цистерны модели 15-1498

Рис. 7.13. Предохранительный клапан:
1 - колпачок; 2 - гайка; 3 - накидная гайка; 4 - центрирующая шайба; 5 - пружина; 6 - шток; 7 - седло клапана; 8 - контргайка; 9 - уплотнительное кольцо; 10 - корпус; 11 - шайба; 12 - гайка

Рис. 7.14. Разгрузочное устройство цистерны модели 15-1498

Рис. 7.15. Принципиальная схема системы разгрузки цистерны модели 15-1498:
1 - муфтовый кран Dу 80; 2 - предохранительный клапан; 3 - муфтовые краны Dу 50; 4 - манометр; 5 - трехходовые краны Dy 50; 6, 7, 11, 12 - аэролотки; 8 - дроссельная заслонка; 9 - разгрузочный патрубок; 10 - транспортный трубопровод; 13 - соединительная головка ГМ-80
Принципиальная схема системы разгрузки цистерны представлена на рис. 7.15.
Цистерна модели 15-854 (рис. 7.16) предназначена для бестарной перевозки цемента и других тяжелых порошкообразных грузов с насыпным весом 1,1-1,4 т/м3.
Вагон-цистерна может следовать по всей сети железных дорог колеи 1520 мм и колеи 1435 мм с установкой буферных комплектов.
Основные технико-экономические данные цистерны представлены в табл. 7.1.
Котел цистерны (рис. 7.17) представляет собой в верхней части половину цилиндрической емкости диаметром 3000 мм, в нижней части которой вварены три бункера конусообразной формы.
Герметичность загрузочных люков обеспечивается прижатием крышки с прокладкой к горловине посредством запора ригельного типа 7, лазового - посредством откидных болтов с гайками.
Нижнее отверстие каждого бункера заканчивается фланцем 3, к которому крепится аэроднище, входящее в систему разгрузки.
Бункера имеют центральный угол, равный 80°.
В торце котла закреплена труба сброса давления 8, на которой установлены вентиль, предохранительный клапан 10 и штуцер под манометр 9.
Система разгрузки (рис. 7.18) котла от перевозимого груза состоит из поворотной заслонки 1, трубы разгрузочной 4, с выводом на обе стороны вагона. Разгрузочный трубопровод на изгибе имеет дополнительный патрубок, снабженный обратным клапаном, для поддува во время разгрузки.
Поворотная заслонка 1 имеет рукоятку, поворотом которой осуществляется открытие или закрытие патрубка.
Торцы разгрузочного трубопровода 4 закрыты отбрасывающимися крышками 3 с устройствами для обратного лепесткового клапана 7, установленного для предохранения воздушных коммуникаций от попадания в них груза при возможных обратных ударах. Кроме этого для подсоединения воздушных коммуникаций на крышках установлены соединительные головки 6 ГМ-50 ГОСТ 28352-89. Торцы разгрузочного трубопровода снабжены специальным уплотнением для подсоединения разгрузочных рукавов.
Для псевдосжижения груза (аэрации) к каждому бункеру в нижней части посредством болтов и шпилек прикреплены аэроднища 2, состоящие из корпуса в виде выштампованной крышки и перегородки из пористого специального материала, закрепленного на корпусе посредством рассекателя и кольца.
Пористый материал изготавливается из специальной лавсановой термообработанной ткани ТЛФТ-5 ГОСТ 26095-84 и устанавливается в два слоя.
Подача воздуха под пористый материал осуществляется посредством патрубка 10, вваренного в корпус аэроднища и на котором для быстрого разъема подводящих воздух коммуникаций установлена головка ГМ-50, закрываемая при транспортировке заглушкой 11 ГЗ-50.
Система разгрузки оборудована устройством открытия аэроднищ на каждом бункере для возможности разгрузки груза гравитационным способом в межрельсовые приемники в случае выхода из строя аэропневмовыгрузки (разрыв пористого материала аэроднищ или образования корок на нем, закупорка патрубка комками и пр.). Категорически запрещается пользоваться этим способом разгрузки при исправной системе аэропневморазгрузки.
Перед загрузкой цистерна должна пройти техническое обслуживание и подготовку к загрузке. В частности, необходимо:
1) затормозить цистерну стояночным тормозом или ограничить ее движение путем подкладки под колеса с двух сторон тормозных башмаков;
2) очистить лестницу, площадки, крышки люков и обечайку котла у люков от частей груза, снега, льда, грязи и пр.;
3) убедиться в отсутствии давления в котле путем открытия вентиля на трубе сброса давления;
4) открыть и зафиксировать крышки загрузочных люков;
5) произвести внутренний осмотр котла, обнаруженные при этом посторонние предметы, комки и комкообразования, оставшиеся после предыдущей разгрузки, удалить;
6) проверить состояние пористых перегородок аэроднищ, которые должны быть без повреждений, сухими и хорошо закрепленными, комплектность всех деталей и узлов. Особое внимание уделить проверке наличия поворотных дисковых затворов и комбинированных заглушек на торцах разгрузочных патрубков, а также болтов, крепящих аэроднища к фланцам конусов бункеров котла. После этого произвести загрузку через крышки люков. Все крышки люков после загрузки пломбируются.
Завершается процесс загрузки очисткой наружных поверхностей от наслоений загружаемого груза.

Рис. 7.16. Четырехосная цистерна для тяжелых порошкообразных грузов модели 15-854

Рис. 7.17. Котел цистерны модели 15-854:
1 - люк-лаз; 2 - опора; 3 - фланец; 4 - труба разгрузки; 5 - внутренняя лестница; 6 - загрузочный люк; 7 - ригельный запор; 8 - воздухопровод сброса давления; 9 - штуцер для манометра; 10 - предохранительный клапан

Рис. 7.18. Система разгрузки цистерны модели 15-854:
1 - заслонка; 2 - аэроднище; 3 - крышка; 4 - разгрузочная труба; 5 - заглушка ГЗ-50; 6 - соединительная головка ГМ-50; 7 - обратный клапан лепесткового типа; 8 - ось; 9 - болт М20; 10 - патрубок; 11 - заглушка; 12 - откидной болт М20; 13 - пористая перегородка; 14 - шпилька М20; 15 - серьга; 16 - крышка
Поданная под разгрузку цистерна проходит подготовительные операции:
1) производится затормаживание цистерны стояночным тормозом или тормозными башмаками;
2) очищаются лестницы, площадки и крышки люков от грязи, льда, снега;
3) устраняется возможное избыточное давление в котле, открыв вентиль на трубе аварийного сброса давления.
Принципиальная схема разгрузки представлена на рис. 7.19.
Технология разгрузки состоит из следующих операций:
1) при необходимости отбора пробы груза открыть крышку 2 одного из люков, произвести отбор пробы, после чего крышку загерметизировать;
2) закрыть вентиль 14 и установить манометр 10 на трубе аварийного сброса давления шкалой в удобное для наблюдения положение;
3) продуть подводящие воздухопроводы от стационарного коллектора 8;
4) снять заглушку ГЗ-50 и подсоединить шланги, подводящие воздух от стационарного коллектора к цистерне;
5) подсоединить гибкий рукав 1 продуктопровода диаметром 150 мм к патрубкам разгрузочного устройства;
6) разгрузку можно производить из трех бункеров одновременно или поочередно из каждого бункера. В любом случае воздух поступает под все аэроднища при открытии вентилей стационарного коллектора 7, подающих воздух под пористые материалы аэроднищ 3;
7) следить за показаниями манометра. Давление воздуха в котле должно достигнуть 0,2 МПа, после чего подать воздух для поддува в разгрузочные трубы, открыв вентили 9. При разгрузке всех бункеров одновременно открыть поворотные заслонки 4 на всех разгрузочных трубах;
8) в процессе разгрузки вибрация продуктопровода указывает на хорошее качество разгрузки. Спокойное состояние продуктопровода указывает на:
а) неудовлетворительную разгрузку с пониженной концентрацией смеси воздуха с грузом, т. е. по продуктопроводу идет продукт в незначительном количестве или только воздух, что можно определить, приложив руку к продуктопроводу. При этом слышатся легкие удары частиц груза. В этом случае необходимо частично или полностью закрыть вентиль 9 на линии поддува до достижения нормального состояния выгрузки;
б) продукт идет по трубопроводу с частыми остановками. Во избежание образования пробок в продуктопроводе необходимо закрыть поворотные заслонки 4 и полностью открыть вентиль 9. После очистки продуктопровода вновь открыть поворотные заслонки;
9) в процессе разгрузки давление в котле постепенно падает. При падении давления до 0,08 МПа поворотные заслонки 4 закрыть и вновь поднять давление до 0,15 МПа, после чего продолжать разгрузку путем попеременного открытия поворотной заслонки каждого бункера в отдельности;
10) резкое падение давления в котле до нуля указывает на окончание разгрузки;
11) при разгрузке каждого бункера в отдельности открывать также все вентили и подать воздух под все аэроднища. При этом на неразгружаемых бункерах поворотные заслонки 4 (см. рис. 7.19) должны быть закрыты;
12) убедиться в отсутствии остатков продукта в котле путем поочередной разгрузки бункеров;
13) продуть в течение 2-3 мин линию поддува;
14) открыть вентиль на трубе аварийного сброса давления;
15) отсоединить рукав продуктопровода и закрыть поворотные заслонки и крышки разгрузочных труб;
16) отсоединить рукава от патрубков, подающих воздух под аэроднища, и установить заглушки;
17) открыть лазовый люк и удалить остатки груза при их наличии. Обязательному удалению подлежат комки груза и посторонние предметы;
18) загерметизировать люки, снять манометр, закрыв пробкой штуцер, и опломбировать все загрузочные и лазовые люки и предохранительный клапан (4 пломбы);
19) после каждой разгрузки цистерна в исправном состоянии, полностью укомплектованная, должна предъявляться работникам МПС станции-отправителя.
1. Убедиться в отсутствии избыточного давления в котле, открыв вентиль 14 (см. рис. 7.19) на трубе аварийного сброса давления.
2. Отвинтить и снять гайку и шайбу на шпильке 14 (см. рис. 7.18).
3. Ослабить и сместить с верхнего фланца четыре болта 9 (см. рис. 7.18).
4. Ослабить гайки откидных болтов 12. Убедившись, что аэроднище висит на стопорной серьге 15, только после этого откинуть болты.
5. Освободить аэроднище от стопорения ударом по серьге 15. При разгрузке груза в образовавшийся проем между аэроднищами и фланцами конусов во избежание повреждения пористой ткани аэроднищ запрещается пользоваться металлическими лопатами, скребками и другими предметами.
6. Очистить котел от остатков груза и установить причину отказа работы аэропневморазгрузки.

Рис 7.19. Принципиальная схема разгрузки цистерны модели 15-854:
1 - гибкий рукав Dy 150; 2 - крышка; 3 - аэроднище; 4 - заслонка; 5 - вентиль сброса давления; 6 - гибкий рукав Dy 150; 7 - вентиль Dy 50 для подачи воздуха к аэроднищам; 8 - стационарный коллектор; 9 - вентиль Dy 50 для подачи воздуха на поддув; 10 - манометр; 11 - вентиль Dy 80, 12 - обратный клапан; 13 - предохранительный клапан; 14 - вентиль сброса давления; 15 - труба сброса давления
К данной группе относятся цистерны, предназначенные для перевозки и хранения газов: азота, кислорода, аргона, этилена и винила в сжиженном состоянии при криогенных температурах, т. е. при температурах ниже 120 К (-153°С).
Все цистерны данной группы имеют специфические конструктивные элементы, к которым относятся:
криогенная емкость; система коммуникаций; распределительная, контрольно-измерительная и предохранительная арматура.
Основная часть арматуры размещается в металлической будке (арматурном шкафу), расположенной на концевой части платформы. Будка снабжена металлическими дверьми и запорами, предотвращающими доступ посторонних лиц к арматуре.
Часть криогенных грузов перевозится в сопровождении бригады обслуживания, которая ведет наблюдение за цистерной и показаниями контрольно-измерительных приборов в пути следования, и следует в отдельном вагоне в составе поезда. К обслуживанию криогенных цистерн допускаются только лица, прошедшие специальную подготовку.
Модели криогенных цистерн существенно различаются конструкцией отдельных узлов и систем. Однако общие конструктивные принципы их выполнения могут быть рассмотрены на примере конкретных конструкций.
На рис. 8.1 представлена криогенная емкость цистерны модели 15-558С, состоящая из наружной оболочки 1 и расположенного внутри нее сосуда 8. Оболочка сварной конструкции, изготовленная из цилиндрических обечаек и эллиптических днищ, крепится на платформе традиционным для цистерн способом, т.е. при помощи фасонных ламп 3 и концевых опор с прижимными хомутами. Оболочка оборудована системой вакуумирования, включающей расположенные внутри нее трубчатые коллекторы и вакуумные вентили 12, которые обеспечивают возможность вакуумирования изолирующего пространства и его герметизации. На оболочке установлен также мембранный предохранитель 11, защищающий оболочку от разрушения в случае повышения давления в изолирующем пространстве. Вакуумные вентили и мембранный предохранитель закрыты защитными кожухами 10, 13.
Для увеличения жесткости оболочки и обеспечения ее устойчивости при вакууме в изолирующем пространстве она подкреплена шпангоутами 7 из швеллера.
На внутренней поверхности оболочки размещены текстолитовые опоры 9 и кронштейны для крепления цепей 2 горизонтального и вертикального подвешивания сосуда 8. В верхней части оболочки имеется люк 4, крышка которого укреплена в горловине сваркой при сборке цистерны.
Изолирующее пространство емкости заполнено порошкообразным аэрогелем 6, а специальные карманы, приваренные к наружной стенке сосуда и закрытые латунной сеткой, заполнены веществом 5, адсорбирующим молекулы газа в изолирующем пространстве и способствующим сохранению вакуума в нем в процессе эксплуатации цистерны.
В качестве адсорбента на цистернах модели 15-558С служит силикогель, на цистернах модели 15-147 -цеолит, на цистернах моделей ЖВЦ 100М и ЖВЦ 100М2 - активированный уголь.
Сосуд является резервуаром для жидкого продукта и также, как оболочка, изготавливается сваркой цилиндрических обечаек с эллиптическими днищами. Стенки сосуда подкреплены изнутри шпангоутами, на которых установлены волнорезы в виде просечных листов. Волнорезы обеспечивают снижение силы гидроудара, действующей на днища сосуда при транспортировке цистерны.
Из внутренней полости сосуда выведены трубопроводы слива - налива 18, газосброса 17, подключения дифманометра - указателей уровня продукта вверху 16 и внизу 20, испарителя 14, 19 и предохранительных устройств 15. Все трубопроводы и сосуд изготовлены из алюминиевого сплава.
В цистернах типа ЖВЦ для улучшения теплотехнических характеристик наружная поверхность сосуда (за исключением узлов крепления) покрывается дополнительно пакетами слоистой теплоизоляции.
В качестве предохранительного устройства, защищающего емкость (оболочку, сосуд) от опасного для прочности конструкции повышения давления, на криогенных цистернах применяются мембранные предохранители - предохранительные клапаны максимального давления с разрушаемой мембраной. Такой предохранитель оболочки цистерны модели 15-147 для перевозки этилена показан, на рис. 8.2. Представленный предохранитель срабатывает при повышении давления в изолирующем пространстве емкости до 0,06 . . . 0,085 МПа (0,6 . . . 0,85 кгс/см2). Мембрана 2 изготовлена из медной ленты толщиной 0,05 мм. Решетка 6 предохраняет мембрану от разрушения атмосферным давлением при вакуумировании изолирующего пространства емкости. Регулировка мембранного предохранителя на заданное давление производится за счет изменения высоты ножа 3 в крышке 5.
Для вакуумирования изолирующего пространства криогенных цистерн предназначены вакуумные вентили (рис. 8.3). Вентиль устанавливается на емкости таким образом, что полость Б через коллектор сообщается с изолирующим пространством, а полость А - с атмосферой. В процессе вакуумирования изолирующего пространства полость А соединяется с вакуумным насосом. Сильфон 4, одним концом приваренный к крышке 6, а другим - к клапану 3, обеспечивает герметизацию подвижных деталей вентиля (шпинделя 5, муфты 15) при вакуумировании. Конец шпинделя с нарезкой 5 (с левой резьбой) ввинчен в муфту 15, соединенную штифтом 16 с клапаном 3. Шпонка 14 предотвращает поворот муфты 15 при вращении шпинделя 5 и обеспечивает осевое перемещение муфты вместе с клапаном, снабженным уплотнительным резиновым кольцом 17.

Рис. 8.1. Криогенная емкость цистерны модели 15-558С

Рис. 8.2. Мембранный предохранитель:
1 - колпак; 2 - мембрана; 3 - нож; 4 - кольцо; 5 - крышка; 6 - решетка; 7 - кольцо

1 - корпус; 2 - болт М6×16; 3 - клапан; 4 - сильфон; 5 - шпиндель; 6 - крышка; 7 - пломба; 8 - колпачок; 9 - кольцо; 10 - болт М6×16; 11 - болт М8×45; 12 - кольцо; 13 - втулка; 14 - шпонка; 15 - муфта; 16 - штифт; 17 - кольцо; 18 - шайба
Вентили, применяемые в системах коммуникаций криогенных цистерн, характеризуются повышенными требованиями к герметичности полостей, через которые проходят криогенные продукты, и специальными конструктивными мерами для снижения теплопритока к продуктовым полостям от внешней среды.
Представленный на рис. 8.4 сливоналивной вентиль для герметизации продуктопроводящих полостей снабжен сильфоном 2, а для уменьшения теплопритока к продукту имеет теплоизолирующие текстолитовые проставки 3, 18 и втулки 19. Тарельчатая пружина 16, поджатие которой регулируется кольцом 10 и установочной гайкой 15, обеспечивает заданное усилие поджатия золотника 22 к седлу корпуса 1 в закрытом положении вентиля, при этом торец указателя 13 оказывается заподлицо с торцом ограничителя 14. При полном открытии вентиля указатель 13 выступает за торец ограничителя 14 до красной риски, нанесенной на его поверхности.
Основные параметры криогенных цистерн приведены в табл. 8.1.
Таблица 8.1
|
Наименование параметра |
Значение параметра для вагона модели |
|||||
|
8Г513 |
8Г513М |
15-558C |
15-147 |
жвц 100м |
ЖВЦ 100М2 |
|
|
Назначение (основной груз) |
Кислород, азот |
Кислород, азот, аргон |
Кислород, азот, аргон |
Этилен |
Винил |
Винил |
|
Грузоподъемность, т |
36 |
36 |
55 |
31,3 |
7,35 |
7,35 |
|
Масса вагона (тара), т |
35,3 |
35,3 |
36,6 |
41,9 |
88,0 |
76,6 |
|
Нагрузка: |
|
|
|
|
|
|
|
от оси колесной пары на рельсы, кН (тс) |
174,7 (17,82) |
174,7 (17,82) |
224,4 (22,9) |
179,3 (18,3) |
156,5 (15,96) |
208,0 (21,21) |
|
на один погонный метр пути, кН/м (тс/м) |
55,6 (5,67) |
55,6 (5,67) |
60,9 (6,22) |
48,7 (4,97) |
36,3 (3,70) |
32,0 (3,26) |
|
Число осей |
4 |
4 |
4 |
4 |
6 |
4 |
|
Габарит |
02-ВМ (02-Т) |
02-ВМ (02-Т) |
02-ВМ (02-Т) |
0-ВМ(01-Т) |
1-Т |
1-Т |
|
Высота центра тяжести цистерны от головок рельсов, мм: |
|
|
|
|
|
|
|
порожней |
1803 |
1803 |
1867 |
1956 |
2048 |
2266 |
|
груженой |
2207 |
2207 |
2473 |
2276 |
2078 |
2317 |
|
Параметры сосуда: |
|
|
|
|
|
|
|
объем полный, м3 |
33,75 |
33,75 |
44 |
65 |
119 |
119 |
|
диаметр внутренний, мм |
2200 |
2200 |
2200 |
2600 |
2600 |
2600 |
|
удельный объем, м3/т |
0,94 |
0,94 |
0,8 |
2,08 |
16,2 |
16,2 |
|
толщина стенки, мм |
18 |
18 |
18 |
18 |
18 |
18 |
|
материал |
АМц |
АМц |
АМг5 |
АМг5 |
АМг5 |
АМг5 |
|
Параметры оболочки: |
|
|
|
|
|
|
|
диаметр внутренний, мм |
2800 |
2800 |
2800 |
3000 |
3150 |
3150 |
|
длина наружная, мм |
10417 |
10417 |
12584 |
13216 |
23600 ,. |
23600 |
|
толщина стенки, мм |
10 |
10 |
10 |
12 |
12:.. |
12 |
|
материал |
ст 15 |
Ст 15 |
Ст 09Г2С |
ст 09Г2С |
ст 09Г2С |
ст 09Г2С |
|
Масса заправляемой жидкости, т |
36 (кислород) 25,5 (азот) |
36 (кислород и аргон) 25,5 (азот) |
47 (кислород) 34 (азот) 55 (аргон) |
31,3 |
7,35 |
7,35 |
|
Рабочее давление в сосуде, МПа (кг/см2) |
0,25 (2,5) |
0,25 (2,5) |
0,5 (5) |
0,5 (5) |
0,6 (6) |
0,6 (6) |
|
Потери продукта от самоиспарения, % сутки |
0,3 по кислороду |
0,3 по кислороду |
0,26 по кислороду |
0,26 |
1,0 |
0,8-1,0 |
|
Темп опорожнения, м3/мин |
0,7-1,0 |
0,7-1,0 |
0,5-0,8 |
- |
- |
- |
|
Тип изоляции |
Вакуумно-порошковая |
Вакуумно-порошковая |
Вакуумно-порошковая |
Вакуумно-порошковая |
Комбинированная |
Комбинированная |
Для перевозки и хранения сжиженных азота, кислорода и аргона используются цистерны моделей 8Г513 (рис. 8.5), 8Г513М и 15-558С (рис. 8.6). Цистерна состоит из емкости, смонтированной вместе с арматурным шкафом, системой коммуникаций и аппаратурой КИП на железнодорожной четырехосной платформе. Рассмотрим подробнее устройство и особенности эксплуатации на примере цистерны модели 15-558С, принципиальная пневмогидравлическая схема которой приведена на рис. 8.7. На схеме представлены основные системы цистерны: емкость Б1, система коммуникаций СК1, щит аппаратуры КИП Щ1 с влагоотделителями ВД1, ВД2 и дифманометром ДМ1.

Рис. 8.4. Сливоналивной вентиль:
1 - корпус; 2 - сильфонный узел; 3 - проставка; 4 - кожух с втулкой; 5, 6 - полумуфты; 7 - ходовой винт; 8 - войлочное кольцо; 9 - подшипник типа 8107; 10 - кольцо; 11 - войлочное кольцо; 12 - вороток; 13 - указатель; 14 - ограничитель; 15 - установочная гайка; 16 - тарельчатая пружина С60×30×3×15; 17 - резьбовая втулка; 20 - шпилька AM12×100; 21 - прокладка; 22 - золотник

Рис. 8.5. Четырехосная цистерна для сжиженных азота и кислорода модели 8Г513

Рис. 8.6. Четырехосная цистерна для сжиженных азота, кислорода и аргона модели 15-558С

Рис. 8.7. Принципиальная пневмогидравлическая схема цистерны модели 15-558С
Емкость Б1 оборудована вакуумными вентилями ВН1, ВН2 (Dу 80) для вакуумирования изолирующего пространства и мембранным предохранителем МБ1 для защиты оболочки и сосуда от недопустимого повышения давления в изолирующем пространстве. Разрушающее давление для мембраны предохранителя составляет 0,06 ... 0,085 МПа (0,6 ... 0,85 кгс/см2).
Система коммуникаций предназначена для проведения технологических операций по подготовке цистерны к работе, наполнению сосуда жидким продуктом, дренажу избыточного давления паров продукта из сосуда цистерны в сторонние коммуникации отбора газа или непосредственно в атмосферу, отбору проб продукта на анализ, опорожнению сосуда и выдаче продукта в жидком или газообразном состоянии, а также для предохранения сосуда и коммуникаций от разрушения при повышении давления в них свыше допустимого.
В состав системы коммуникаций цистерны входят:
1) коммуникация слива-налива;
2) коммуникация испарителя;
3) коммуникация газосброса;
4) коммуникация наддува и отбора газа;
5) коммуникация анализа;
6) предохранительное устройство сосуда.
Коммуникация слива-налива предназначена для наполнения сосуда жидким продуктом и его слива. Она включает вентиль слива-налива ВН3 (Dу 50), два фильтра Ф1, Ф2, обратный клапан К01 и вентиль ВН9 (Dу 12). Сетчатые цилиндрические фильтры Ф1, Ф2 установлены в патрубках, оборудованных присоединительными муфтами для подключения внешних продуктопроводов и закрытых крышками, и служат для очистки жидкого продукта от механических загрязнений. Сливоналивные патрубки выведены наружу по обе стороны арматурного шкафа и закрыты дополнительными защитными кожухами.
Обратный клапан KO1 (Dу 15) (рис. 8.8) предназначен для предохранения трубопровода слива-налива от разрушения избыточным давлением паров за счет испарения остатков жидкого продукта, сохранившихся в трубопроводе после окончания наполнения сосуда и закрытия вентиля ВН3.
Клапан отрегулирован на давление срабатывания 0,1 МПа (1 кгс/см2).
Вентиль ВН9 (Dу 12) служит для сброса давления из коммуникации слива-налива при закрытом вентиле ВН3.
Коммуникация испарителя, включающая вентиль ВН6 (Dу 25), испаритель ИСП1 и жидкостные и газовые трубопроводы, соединяющие их с сосудом, предназначена для газификации жидкого продукта и создания в сосуде избыточного давления для слива жидкого продукта или выдачи его в газообразном состоянии.
Испаритель ИСП1, состоящий из ребристых алюминиевых труб, объединенных на концах коллекторами, установлен под рамой платформы цистерны и крепится к ней шпильками через деревянные колодки. Жидкий продукт, поступающий в испаритель из нижней зоны сосуда цистерны при открытии вентиля ВН6, испаряется (газифицируется) за счет нагревания в неизолированных от внешней среды трубопроводах испарителя теплопритоком от окружающей среды.
Коммуникация газосброса, включающая вентиль ВН4 (Dу 50), обратный клапан К02 и соединительные трубопроводы, предназначена для сброса избыточного давления паров продукта из сосуда в атмосферу при транспортировании или хранении жидкого продукта. Обратный клапан КО2 Dу 50, рис. 8.9) служит для поддержания избыточного давления в сосуде цистерны при нормальных условиях транспортирования продукта с открытым вентилем ВН4. Благодаря избыточному давлению в сосуде исключается подсос воздуха из атмосферы и загрязнение продукта примесями атмосферного воздуха, сохраняется исходный состав и кондиция перевозимого продукта. Клапан отрегулирован на избыточное давление 0,11 ... 0,16 МПа (1,1... 1,6 кгс/см2). Регулировка клапана осуществляется изменением усилия затяжки пружины 7 регулировочной гайкой 3. Кулачок 10 и ось 11 позволяют открыть клапан вручную для сброса избыточного давления в сосуде, что бывает необходимо при некоторых технологических операциях.
Коммуникация наддува и отбора газа, включающая вентиль ВН5 (Dу 50) и сетчатые фильтры Ф3, Ф4 с соединительными трубопроводами и присоединительными патрубками, предназначена для наддува сосуда газом от внешнего источника при сливе продукта, для сброса газа при заправке цистерны и для выдачи газифицированного продукта.
Присоединительные патрубки для подключения к сторонним коммуникациям выведены наружу на обе стороны арматурного шкафа и оканчиваются фланцами с заглушками. Патрубки изготовлены из алюминиевого сплава. Фильтры установлены в них непосредственно за присоединительным фланцем.
Коммуникация анализа состоит из вентиля ВН7 (Dу 12), анализного штуцера ШТ1 и соединительного трубопровода. Анализный штуцер выведен на арматурный щит и закрыт штатной заглушкой с уплонительной прокладкой. Коммуникация анализа предназначена для отбора проб продукта из сосуда цистерны на анализ. При отборе проб продукта анализная трубка пристыковывается к штуцеру.
Предохранительное устройство сосуда предназначено для защиты сосуда от разрушения в случае повышения в нем давления паров продукта свыше допустимого. Предохранительное устройство включает мембранный предохранитель МБ2, предохранительный клапан КП1 и систему соединительных трубопроводов.
Мембранный предохранитель с мембраной из медной ленты толщиной 0,1 мм отрегулирован на давление разрушения мембраны 0,54 . . . 0,625 МПа (5,4 . . . 6,25 кгс/см2) и служит для защиты предохранительного клапана от обмерзания, а также для предохранения сосуда от подсоса атмосферного воздуха через неплотности клапана. Контроль целостности мембраны мембранного предохранителя МБ2 в процессе эксплуатации цистерны осуществляется через штуцер ШТ2.

Рис. 8.8. Обратный клапан:
1 - корпус; 2 - золотник; 3 - пружина; 4 - центрик; 5 - гайка; 6 - штуцер; 7 - винт

1 - проволока НС 12Х18Н10Т; 2 - корпус; 3 - гайка; 4, 5 - кольца; 6 - клапан; 7 - пружина; 8, 9 - кольца; 10 - кулачок; 11 - ось; 12 - проволока 0,6-ТС-12Х18Н10Т; 13 - кольцо; 14 - уплотнительное кольцо; 15 - втулка сальника; 16 - уплотнительное кольцо; 17 - накидная гайка 250.59.14; 18 - кольцо
Предохранительный клапан КП1 (Dу 40) сосуда цистерны модели 15-558С (рис. 8.10) отрегулирован на открытие при избыточном давлении 0,51 ... 0,575 МПа (5,1 . . . 5,75 кгс/см2). При повышении давления в сосуде выше 0,54 МПа происходит разрушение мембраны мембранного предохранителя, открытие предохранительного клапана и сброс избыточного давления паров продукта в атмосферу. При падении избыточного давления в сосуде цистерны ниже 0,4 МПа (4 кгс/см2) клапан 2 (см. рис. 8.10) под действием пружины 6 закрывается и сброс газа прекращается.
Аппаратура КИП, включающая влагоотделители ВД1, ВД2, трубопроводы подвода давления, дифманометр ДМ1 и щит Щ1, на котором смонтированы вентили ВН10, ВН11, ВН12 и мановакуумметр МВ1, предназначена для контроля давления и уровня жидкого продукта в сосуде цистерны и размещена в арматурном шкафу. Мановакуумметр с диапазоном измерения от -0,1 до +0,9 МПа (-1 ... +9 кгс/см2) служит для контроля давления, а показывающий дифманометр ДМ1 предназначен для контроля перепада давлений между верхней и нижней точкой сосуда. По показаниям дифманометра с помощью переводной таблицы, закрепленной над прибором, определяется масса загруженного продукта. Установленные на щите вентили обеспечивают включение приборов для снятия показаний.
При эксплуатации цистерны различают следующие режимы работы:
1) подготовка к наливу;
2) налив жидкого продукта;
3) транспортировка груженой цистерны;
4) хранение наполненной цистерны;
5) слив продукта из цистерны;
6) транспортировка порожней цистерны;
7) отогрев сосуда цистерны.
Подготовка цистерны к наливу включает проверку технического состояния ее составных частей, отбор проб продукта или контроль газовой среды сосуда для определения вида ранее залитого продукта, стыковку заправочных коммуникаций цистерны с внешними коммуникациями.
В эксплуатации различают "теплое" и "холодное" состояние цистерны. Теплая цистерна, законсервированная (в соответствии с инструкциями) газообразным азотом, заполняется любым жидким продуктом (аргоном, кислородом, азотом) без дополнительной подготовки сосуда. Холодная цистерна с остатками жидкого продукта может заполняться этим же видом продукта. Если требуется заполнить холодную цистерну другим продуктом, то ее необходимо предварительно отогреть.
Налив сосуда цистерны производится путем передавливания жидкого продукта из сторонней емкости по коммуникации слива-налива через вентиль ВН3 (см. рис. 8.7). Перед наполнением теплой цистерны производится захолаживание сосуда и коммуникаций путем подачи в сосуд жидкого продукта небольшими порциями при дренажировании образующихся паров продукта через открытый вентиль газосброса ВН4 и открытый клапан КО2 в атмосферу или через вентиль ВН5 в газгольдер. В процессе захолаживания и наполнения по показаниям мановакуумметра МВ1 и дифманометра ДМ1 контролируется давление в сосуде и количество загруженного продукта.
По окончании наполнения сосуда подача жидкого продукта прекращается и производится 30 ... 40-минутная выдержка для испарения жидкого продукта в наполнительных коммуникациях и сброса давления в них. После выдержки, при снижении избыточного давления паров продукта в сосуде до 0,02 МПа (0,2 кгс/см2) закрываются вентили ВН3, ВН4 и клапан КО2 (или ВН5), а также вентили КИП на щите Щ1, давление в коммуникациях наполнения сбрасывается до атмосферного открытием вентиля ВН9, вентиль закрывается и производится отстыковка коммуникаций слива-налива и наддува и отбора газа.
Цистерна с жидким продуктом транспортируется с открытым вентилем газосброса ВН4, при этом обратный клапан КО2, поддерживает избыточное давление паров продукта в сосуде 0,11 ... 0,16 МПа. При тех же условиях производится хранение продукта.
Слив продукта из цистерны модели 15-558С производится либо в стороннюю емкость, либо путем выдачи газифицированного продукта. Слив производится через вентиль ВН3 передавливанием жидкого продукта избыточным давлением его паров. Избыточное давление паров создается в сосуде либо за счет испарения части жидкого продукта, подаваемого в испаритель ИСП1 при открытии вентиля ВН6, либо наддувом от стороннего источника давления, который пристыковывается к патрубкам коммуникации отбора газа-наддува через вентиль ВН5 при закрытом вентиле ВН4.
В процессе опорожнения цистерны контролируется давление и количество жидкого продукта в сосуде.
Порожняя цистерна так же, как и груженая транспортируется с открытым вентилем газосброса ВН4.
В процессе эксплуатации перед проведением полугодового и годового технического обслуживания, освидетельствования органами Госгортехнадзора, восстановления вакуума в. изолирующем пространстве, а также в случае замены вида перевозимого продукта производится полный отогрев сосуда до температуры 10 ... 15 °С. Отогрев может производиться как естественным путем - за счет естественного теплообмена с окружающей средой, так и искусственно - путем подачи в сосуд газа (азота или воздуха) с температурой 20 ... 50 °С через вентиль ВН3 и сброса охлажденного газа через вентиль ВН5.
Цистерны моделей 8Г513, 8Г513М и 15-558С как в порожнем, так и в груженом состоянии транспортируются по железной дороге без сопровождения обслуживающим персоналом.

Рис. 8.10. Предохранительный клапан:
1 - корпус; 2 - клапан; 3 - шарик; 4 - прокладка; 5 - шпилька М14×45; 6 - пружина; 7 - тарель; 8 - стакан; 9 - raйка М20×1; 10 - шток; 11 - крышка; 12 - регулировочный винт; 13 - прокладка; 14 - втулка

Рис. 8.11. Принципиальная пневмогидравлическая схема цистерны модели 8Г513М
В цистерне модели 8Г513М, принципиальная пневмогидравлическая схема которой приведена на рис. 8.11, не предусмотрена коммуникация наддува и отбора газа и поэтому она не предназначена для выдачи (выгрузки) газифицированного продукта, а выгрузка жидкого продукта передавливанием производится только за счет газификации части продукта в испарителе ИСП. Арматура цистерны частично унифицирована с арматурой цистерны модели 15-558С, в частности, это касается вентилей Dy 50, Dy 80, Dy 25, обратных клапанов, идентичны характеристики мембранного предохранителя оболочки. Мембранный предохранитель сосуда МБ1 и предохранительный клапан КП1 (см. рис. 8.11) отличаются по конструкции и характеристикам от аналогичных элементов цистерны модели 15-558С: разрушающее избыточное давление диафрагмы составляет 0,27 ... 0,313 МПа (2,7 . . . 3,12 кгс/см2), давление открытия предохранительного клапана 0,25 ... 0,28 МПа (2,5 ... 2,8 кгс/см2), закрытие клапана при снижении давления до 0,22 МПа (2,2 кгс/см2), а сечение проходного отверстия клапана меньше - Dy 25.
Наиболее существенным отличием системы коммуникаций цистерны модели 8Г513, предшественницы цистерны модели 8Г513М, является отсутствие обратного клапана в коммуникации газосброса, поэтому при открытом вентиле газосброса в сосуде этой цистерны давление газа равно атмосферному.
К обслуживанию цистерн допускаются лица не моложе 18 лет, прошедшие .специальную подготовку и сдавшие зачет. Сам допуск оформляется приказом по организации, эксплуатирующей цистерну.
Сосуд цистерны до ввода в эксплуатацию регистрируется в органах Госгортехнадзора и подвергается периодическим освидетельствованиям.
В целях обеспечения безопасности обслуживающего персонала все работы на цистернах должны выполняться бригадой, состоящей не менее, чем из двух человек, обязательно применение специальной защитной одежды, штатного рабочего инструмента и принадлежностей.
Поскольку температура перевозимых продуктов находится в диапазоне криогенных температур, т.е. ниже -153 °С, то попадание их на незащищенную кожу вызывает тяжелое обмораживание. Резиновые изделия под воздействием низких температур становятся твердыми, хрупкими и разрушаются при ударе. Под воздействием жидкого азота изделия из черных металлов теряют пластичность и разрушаются при ударных нагрузках.
Повышенное содержание паров азота или аргона в воздухе вызывает кислородное голодание человеческого организма и может привести к смертельному исходу. Поэтому при проведении работ все участники должны быть обеспечены изолирующими противогазами. Если работа проводится в помещении, то перед ее началом и через каждые 30 мин в период ее выполнения необходимо делать анализ воздушной среды в помещении на содержание кислорода, а при объемном содержании кислорода менее 19 % обслуживающий персонал должен надеть изолирующие противогазы.
Пары кислорода при соприкосновении с минеральными маслами, жирами, шерстью, ватой и прочими горючими веществами могут вызвать их самовозгорание или взрыв, а пропитанные кислородом пористые горючие вещества взрывоопасны. В связи с этим при работе с кислородом запрещается выполнять какие-либо работы в замасленной спецодежде, замасленными руками или инструментом, запрещается курить и пользоваться открытым огнем на расстоянии менее 25 м от цистерны, складывать и хранить в арматурной будке принадлежности ЗИП, ветошь, спецодежду. Ремонтные работы, связанные с пайкой, сваркой и ценообразованием могут выполняться только после слива кислорода, отогрева сосуда и проведения контрольного анализа среды в будке и сосуде цистерны на содержание кислорода, которое не должно превышать 21 % по объему.
Для перевозки сжиженного этилена используются цистерны модели 15-147 (рис. 8.12). Эти цистерны могут использоваться также для временного хранения продукта. Перевозка и хранение этилена осуществляется при избыточном давлении до 0,45 МПа (4,5 кгс/см2) без сброса паров в атмосферу.
Цистерна представляет собой криогенную емкость с системой коммуникаций, дренажным устройством, системой продувок и аппаратурой КИП, смонтированную на четырехосной железнодорожной платформе. Арматура системы коммуникаций и аппаратура КИП размещаются в металлическом арматурном шкафу в торцевой части цистерны. В этом же шкафу размещены два бромэтило-хладоновых огнетушителя типа ОБХ-3. На раме платформы расположены также ящик со съемным технологическим оборудованием, ящик со щитами управления и два ящика с азотными баллонами системы продувок.
Принципиальная пневмогидравлическая схема цистерны приведена на рис. 8.13. Криогенная емкость Б1 описана выше (см. разд. 8.1). Система коммуникаций СК1 предназначена для проведения технологических операций, связанных с наполнением сосуда цистерны жидким этиленом, опорожнением цистерны, сбросом избыточного давления паров этилена в дренажные коммуникации станции наполнения-потребления или через дренажное устройство цистерны (БДУ), а также для предохранения сосуда и коммуникаций цистерны от разрушения при повышении давления в них выше допустимого.
В состав системы коммуникаций входят:
1) коммуникация слива-налива; 2) коммуникация газосброса; 3) коммуникация продувки; 4) коммуникация отбора проб на анализ; 5) коммуникации предохранительных устройств.
Коммуникация слива-налива предназначена для наполнения сосуда жидким этиленом и для выдачи его потребителю и включает присоединительные патрубки, фильтры Ф1, Ф2, вентиль ВН22, обратный клапан с мембранным предохранителем А1 и соединительные трубопроводы. Присоединительные патрубки диаметром 110 мм из стали марки 12Х18Н10Т выведены на обе стороны снаружи арматурного шкафа, оснащены фланцами, штатными заглушками с уплотнительными прокладками и закрыты защитными кожухами, которые пломбируются.

Рис. 8.12. Четырехосная цистерна для сжиженного этилена модели 15-147

Pис. 8.13. Принципиальная пневмогидравлическая схема цистерны модели 15 147
Цилиндрические сетчатые фильтры Ф1, Ф2 установлены в присоединительных патрубках и предназначены для очистки жидкого этилена от возможных механических загрязнений.
Обратный клапан с мембранным предохранителем предназначен для защиты наружной части коммуникации слива-налива от разрушения избыточным давлением паров жидкого этилена по окончании операций слива или налива и после закрытия вентиля ВН22.
Обратный клапан с мембранным предохранителем (рис. 8.14) представляет предохранительный пружинный клапан, объединенный конструктивно с мембранным предохранителем. Разрушение мембраны 14 происходит при избыточном давлении 0,6 .. . 0,75 МПа (6 . . . 7,5 кгс/см2), регулировка разрушающего давления осуществляется за счет изменения положения ножа 11 в крышке 13. При повышении давления в коммуникации до 0,6 .. . 0,75 МПа происходит разрушение мембраны, открытие клапана 6 и сброс давления паров этилена в сосуд. После снижения давления до 0,1 .. . 0,12 МПа (1,0 ... 1,2 кгс/см2) клапан 6 под действием пружины 9 опускается на седло корпуса 10 к герметизирует внешние трубопроводы коммуникации слива-налива от сосуда. Герметичность разъемных соединений обратного клапана обеспечивается фторопластовыми прокладками 3, 4 и алюминиевой прокладкой 7.
Коммуникация газосброса предназначена для сброса избыточного давления паров этилена из сосуда цистерны в стационарные дренажные коммуникации станции наполнения через вентиль ВН24 (Dy 50) и присоединительный трубопровод или непосредственно в атмосферу через вентиль ВН19 и дренажное устройство цистерны. Присоединительный трубопровод коммуникации газосброса диаметром 33 мм выполнен из стали марки 12Х18Н10Т и имеет фланцы, расположенные с обеих сторон снаружи арматурного шкафа, закрывающиеся штатными заглушками с уплотнительными прокладками и защитными кожухами, которые пломбируются.
Коммуникация отбора продукта на анализ служит для отбора проб газа из "низа" и "верха" сосуда цистерны и включает вентили ВН20, ВН21 (Dy 12) и присоединенные к ним штуцеры для отбора проб газа, а также соединительные трубопроводы.
Коммуникация продувки предназначена для проведения технологических операций опрессовки, продувки и очистки методом вентиляции азотом сосуда и коммуникаций цистерны и включает три однотипных вентиля Dy 12 для подачи азота давлением 0,5 МПа (5 кгс/см2) в коммуникацию слива-налива и сосуд цистерны (ВН23), в коммуникацию дренажного устройства (ВН25) или в коммуникацию газосброса (ВН26) из системы продувки цистерны или от сторонней коммуникации продувочного азота станции наполнения через штуцеры, которые в нерабочем положении закрыты штатными заглушками с уплотнительными прокладками, и трубопровод диаметром 15 мм, выполненный из нержавеющей стали марки 12Х18Н10Т.
Коммуникации предохранительного устройства используются для защиты сосуда цистерны от разрушения при повышении давления в нем выше допустимого. В состав коммуникаций предохранительного устройства входят трехходовой вентиль ВН18 (Dy 32), мембранные предохранители МБ1, МБ2, предохранительные клапаны КП1, КП2, соединительные и дренажный трубопроводы. Фланец дренажного трубопровода выведен на торцевую стенку арматурного шкафа и закрыт снаружи металлической сеткой. Таким образом, сброс паров этилена из сосуда цистерны при срабатывании предохранительных клапанов происходит непосредственно в окружающую атмосферу. Вентиль ВН18 включает в работу тот, либо другой мембранный предохранитель. При нормальном положении вентиля в работу должен быть включен мембранный предохранитель МБ1 (и клапан КП1).
Мембранные предохранители МБ1, МБ2 (Dy 50) отрегулированы на давление разрушения мембраны 0,52 . . . 0,625 МПа (5,2 . . . 6,25 кгс/см2), мембрана изготовлена из медной ленты толщиной 0,1 мм. Предохранительные клапаны КП1, КП2 (Dy 32) отрегулированы на давление открытия 0,51 ... 0,575 МПа (5,1 5,75 кгс/см2). При падении давления в сосуде ниже 0,4 МПа (4 кгс/см2) клапан закрывается под действием пружины.
Дренажное устройство предназначено для безопасного сброса избыточного давления паров этилена из сосуда цистерны в окружающую атмосферу с предварительным подогревом холодных паров этилена до температуры, близкой к температуре окружающей среды. Подогрев паров обеспечивает лучшее рассеивание их и предотвращает образование вблизи земли или в низинах локального газового облака с высокой концентрацией паров этилена. В состав дренажного устройства входит теплообменник AT1, трубопроводы, соединяющие его с вентилями ВН19 и ВН25, проложенные по балкам рамы и закрепленные на них через теплоизолирующие текстолитовые колодки, и съемная дренажная трубка, которая постоянно хранится в ящике ЗИП цистерны и устанавливается на штуцер трубопровода на одной из боковых сторон цистерны в зависимости от направления ветра, чем обеспечивается безопасность сброса паров в атмосферу.
Теплообменник, расположенный под рамой цистерны, состоит из двух последовательно включенных секций, каждая из которых представляет змеевик из оребренных алюминиевых труб. Проходящие через теплообменник при дросселировании холодные пары этилена подогреваются за счет теплопритока из окружающей среды, благодаря чему уменьшается плотность паров, увеличивается их летучесть и обеспечивается быстрая рассеиваемость в окружающей атмосфере.
Система продувок используется для выдачи газообразного азота давлением 0,5 МПа (5,0 кгс/см2) на продувку коммуникаций дренажного устройства и наддува сосуда цистерны при необходимости аварийного слива этилена в процессе транспортировки. В состав системы продувок входят два баллона АК1, АК2 с газообразным азотом давлением до 23 МПа (230 кгс/см2) и щиты раздачи ШР1 и дренажно-предохранительный ШДП1. Щиты размещены в ящике, установленном на раме вагона и закрытым откидной крышкой с замком. Баллоны емкостью 400 л каждый имеют по две горловины и размещены в защитных кожухах, установленных на раме по обе стороны цистерны.

Рис. 8.14. Обратный клапан с мембранным предохранителем:
1 - фланец; 2 - решетка; 3, 4 - прокладки; 5 - шпилька М12×35; 6 - клапан; 7 - прокладка; 8 - переходник; 9 - пружина; 10 - корпус; 11 - нож; 12 - пробка; 13 - крышка; 14 - мембрана; 15 - винт
Дренажно-предохранительный щит предназначен для предохранения азотных баллонов и коммуникаций системы продувок от разрушения при повышении давления в них свыше допустимого. На щите установлены предохранительный клапан КП5, мембранный предохранитель МБ5 и вентиль ВН15.
Мембранный предохранитель МБ5 рассчитан на давление разрушения мембраны 27,5 ... 31,0 МПа (275 ... 310 кгс/см2), латунная мембрана имеет толщину 0,5 мм. Предохранительный клапан КП5 типа АП-021Д служит для дренажа избыточного давления азота и отрегулирован на срабатывание при давлении 25 ... 25,3 МПа (250 ... 253 кгс/см2). Ручной вентиль ВН15 типа АВ-013М предназначен для отбора проб азота из баллонов АК1, АК2 на анализ при контроле содержания влаги в азоте, а также, при необходимости, для сброса азота из баллонов в атмосферу.
Щит раздачи ЩР1 используется для редуцирования газообразного азота, поступившего из баллонов, до давления 0,5 МПа (5 кгс/см2) и выдачи его в коммуникацию продувок цистерны. На щите установлены манометры МН5, МН6 для контроля давления азота соответственно на входе и выходе щита раздачи (до и после редуктора), вентили ВН16, ВН17 типа АВ-013М, редуктор давления КР1, газовые фильтры Ф5, Ф6 и штуцер для подключения входной магистрали щита раздачи к стороннему источнику сжатого азота давлением 23 МПа (230 кгс/см2) для заправки баллонов АК1, АК2 азотом через фильтр Ф5 и вентиль ВН17. Вентиль ВН16 предназначен для подачи азота высокого давления в редуктор давления КР1.
Редуктор давления типа АР-004 служит для редуцирования высокого входного давления азота до рабочего давления 0,5 МПа (5 кгс/см2) и поддержания его в процессе продувки дренажных коммуникаций. В полости низкого давления редуктора имеется встроенный предохранительный клапан типа АП-054, предохраняющий азотную магистраль низкого давления от разрушения в случае повышения давления в ней свыше допустимого. Клапан отрегулирован на срабатывание при давлении 0,53 ... 0,57 МПа (5,3 ... 5,7 кгс/см2).
Аппаратура КИП, предназначенная для контроля давления и уровня этилена в сосуде цистерны и проверки целостности мембран мембранных предохранителей МБ1, МБ2, размещена на приборной панели ПШ, установленной в арматурном шкафу. На трубопроводах, соединяющих приборную панель с сосудом цистерны, установлены влагоотделители ВД1, ВД2.
На приборной панели установлены указатель уровня У1, манометры МН1, МН2, МН3, вентили ВН1, ВН2, ВН3, ВН4, ВН5, ВН6, ВН7. Указатель уровня, используемый для измерения и контроля количества жидкого этилена в сосуде цистерны, представляет собой стрелочный дифференциальный манометр, проградуированный в тоннах жидкого продукта, содержащегося в сосуде, от 0 до 36 т. На отметке 31,3 шкалы прибора нанесена красная черта, определяющая максимально допустимый уровень наполнения сосуда цистерны. Указатель уровня включается трехходовыми вентилями ВН5, ВН6 (Dy 4). Между вентилем ВН5, подключающим к указателю уровня "низ" сосуда цистерны, и штуцером "+" указателя уровня находится компенсационный бачок, служащий для предохранения мембранной коробки указателя уровня от резких колебаний давления при включении указателя в работу.
Вентили ВН1, ВН2, ВН3, ВН4, ВН7 однотипны и имеют условный проходку 4 мм. Вентиль ВН1 предназначен для опрессовки мембраны мембранного предохранителя МБ1 и манометра МН3, ВН2 - для опрессовки мембраны мембранного предохранителя МБ2 и манометра МН2, ВН3 - для опрессовки указателя уровня У1 совместно с компенсационным бачком, ВН4 - для опрессовки манометра МН1, ВН7 - для включения и выключения манометра МН1.
Манометр МН1 с диапазоном измерения 0 ... 10 кгс/см2 используется для контроля давления в сосуде цистерны в процессе эксплуатации. На шкале прибора на отметке "5" нанесена красная черта, соответствующая максимальному допустимому рабочему давлению в сосуде. Манометры МН2 и МН3 с диапазоном измерения 0 ... 6 кгс/см2 предназначены для контроля целостности мембран мембранных предохранителей МБ1 иМБ2.
Возле каждого прибора, вентиля, штуцера, и других арматурных элементов, установленных в арматурном шкафу, на приборной панели, дренажно-предохранительном и распределительном щитах, укреплена табличка с пояснительной надписью и схемным обозначением элемента согласно принципиальной пневмогидравлической схеме (см. рис. 8.13).
В процессе эксплуатации цистерны различают следующие режимы ее работы:
1) подготовка цистерны к работе; 2) подготовка цистерны к наполнению; 3) налив в цистерну жидкого этилена; 4) транспортировка наполненной цистерны на станцию потребления; 5) хранение жидкого этилена в цистерне; 6) слив жидкого этилена из цистерны на станции потребления; 7) транспортировка порожней цистерны на станцию наполнения; 8) отогрев сосуда цистерны.
Различают также три состояния цистерны: "теплое", когда сосуд заполнен азотом с температурой окружающей среды или близкой к ней, "холодное" - температура остатков или паров этилена в сосуде ниже 218 К (-55 °С) - и "после частичного отогрева" - пары этилена в сосуде имеют температуру выше 218 К (-55 °С).
Подготовка цистерны к работе производится с целью проверки её технического состояния и восстановления, при необходимости, технических характеристик цистерны.
При подготовке цистерны к работе из "теплого" состояния проводится внешний осмотр, проверка огнетушителей, проверка функционирования запорной арматуры, контроль давления (вакуума) в изолирующем пространстве, проверка давления азота в баллонах системы продувки, ревизия фильтров Ф1, Ф2, контроль герметичности сосуда и коммуникаций цистерны опрессовкой азотом в течение 8 ч.
При подготовке к работе цистерны из "холодного" состояния или "после частичного отогрева" из объема работ исключаются проверки функционирования запорной арматуры, давления в изолирующем пространстве и герметичности сосуда и коммуникаций.
Подготовка цистерны к наполнению жидким этиленом заключается в очистке сосуда и коммуникаций цистерны от кислорода, азота, паров воды и других примесей и замещении их на атмосферу газообразного этилена. Она проводится путем вентиляции сосуда и коммуникаций газообразным азотом, а затем этиленом при контроле проб газа из "верха" и "низа" сосуда на объемное содержание кислорода и других примесей.
Налив в цистерну жидкого этилена производится из емкости станции наполнения через фильтр Ф1 (Ф2) и вентиль ВН22. В процессе захолаживания и наполнения производится контроль давления в сосуде по манометру МН1 и уровня заполнения по уровнемеру У1. После наполнения давление в сосуде снижается до 0,04 МПа (0,4 кгс/см2) сбросом газообразного этилена через вентиль ВН24 в дренажную магистраль станции наполнения. Перед отстыковкой цистерны производится продувка коммуникаций слива-налива цистерны и станции наполнения газообразным азотом (для вытеснения из коммуникаций жидкого и газообразного этилена) и их отогрев до температуры, близкой к окружающей среде.
Цистерна с жидким этиленом транспортируется в сопровождении бригады обслуживания с закрытым газосбросом под избыточным давлением не менее 0,03 МПа (0,3 кгс/см2) как опасный груз категории "сжиженный газ" в соответствии с правилами перевозки в составе прямого поезда с прикрытием или спецсоставом. Бригада обслуживания, следующая в составе поезда отдельным вагоном с прикрытием, периодически не реже 4 раз в сутки контролирует показания контрольно-измерительных приборов. При повышении давления в сосуде более 0,45 МПа (4,5 кгс/см2) производится сброс избыточного давления через дренажное устройство цистерны на стоянках в местах, согласованных с ответственным персоналом МПС. Перед началом и по окончании сброса паров этилена коммуникации дренажного устройства продуваются газообразным азотом в течение 1-1,5 мин.
Хранение наполненной цистерны у потребителя производят на площадке слива станции потребления или на специально оборудованной площадке станции, обеспечивающей безопасный сброс газообразного этилена через дренажное устройство цистерны. В процессе хранения давление в сосуде цистерны контролируется не реже одного раза в сутки.
Слив этилена у потребителя производят после подстыковки цистерны по коммуникациям слива-налива, газосброса и продувки азотом с соответствующими коммуникациями станции потребления и последовательного замещения в них воздушной среды на среду азота и газообразного этилена по технологии, предусмотренной на станции перелива. Слив выполняется путем передавливания парами газообразного этилена, подаваемого от станции перелива через вентиль ВН24. По окончании слива и сброса избыточного давления до 0,04 МПа (0,4 кгс/см2) коммуникации слива-налива и газосброса цистерны продувают газообразным азотом.
Порожняя цистерна транспортируется в соответствии с теми же правилами, что и цистерна с жидким этиленом.
В процессе эксплуатации цистерны периодически производится частичный или полный отогрев сосуда цистерны. Частичный отогрев до температуры 218 К (-55 °С) выполняют после каждых 10 циклов заправки и опорожнения для контроля накопления примесей и их удаления из сосуда.
Полный отогрев до температуры 293 К (20 °С) производят перед проведением годового обслуживания, ремонта или технического освидетельствования, а также для восстановления вакуума в изолирующем пространстве. Отогрев выполняют путем продувки и вентиляции сосуда теплым (20-50 °С) газообразным этиленом (при частичном отогреве) и азотом (при полном отогреве). По окончании отогрева производят отбор проб газа из сосуда для контроля содержания кислорода и других регламентированных примесей.
Лица, допущенные к обслуживанию цистерны для перевозки сжиженного этилена, должны быть не моложе 18 лет, пройти медицинское освидетельствование (ежегодно) и сдать квалификационный экзамен (ежегодно). Кроме того, ежеквартально они проходят инструктаж по технике безопасности.
Жидкий этилен имеет вид прозрачной бесцветной жидкости, которая кипит при температуре -103,7°С и имеет плотность 567,4 кг/м3 (при давлении 760 мм рт. ст.). При испарении одного литра жидкого этилена (при 0 °С и 760 мм рт. ст.) образуется 450 л газа, поэтому в случае большого теплопритока жидкий этилен быстро испаряется, вследствие чего резко повышается давление, что может привести к разрушению узлов и элементов цистерны. При попадании жидкого этилена на открытые участки тела человека происходит тяжелое обморожение их, попадание жидкого этилена на изделия из резины и черных металлов вызывают потерю их пластичности, охрупчивание, при ударе - разрушение.
Газообразный этилен - бесцветный горючий газ со слабым сладковатым запахом. Его плотность 1,26 кг/м3 (при 0 °С и 760 мм рт. ст.). Растворимость в воде незначительна.
Газообразный этилен в смеси с кислородом или воздухом при наличии внешнего импульса (искры, статического электричества, пламени) взрывоопасен. На воздухе он горит слабокоптящим пламенем. Газообразный этилен действует на человека как сильный наркотик: при концентрации его 25-45 % происходит потеря болевой чувствительности (сознание обычно сохраняется); при вдыхании смеси 80-90 % этилена с кислородом, человек быстро засыпает. При этом характерны быстрое пробуждение после наркоза, небольшое раздражение слизистых оболочек, слабое угнетение деятельности сердца и сосудистого тонуса.
При работе с этиленом необходимо соблюдать следующие правила:
1) не допускать применение открытого огня, пламени и работ с образованием искр в непосредственной близости от цистерны с этиленом;
2) лицам, обслуживающим цистерну, запрещается надевать одежду из шерсти, шелка и синтетических материалов, способных к накоплению статического электричества, и носить обувь с металлическими подковками, гвоздями и т. п., которые могут вызвать искрообразование;
3) перед началом работ на цистерне с этиленом обслуживающий персонал прикосновением рабочего инструмента к заземляющему контуру цистерны должен снять с себя заряд статического электричества;
4) все работы по стыковке и отстыковке продуктовых коммуникаций цистерны проводить только после предварительной продувки и полоскания коммуникаций десятикратным объемом газообразного азота до объемной доли этилена в азоте не более 0,6 %;
5) не допускать резкого изгиба шлангов (рукавов) при подстыковке коммуникаций слива-налива и дренажа, что может привести к образованию на них трещин и выбросу этилена;
6) при сливоналивных и дренажных операциях необходимо вести постоянный контроль за давлением и уровнем продукта в сосуде цистерны, не допуская их отклонения от установленных пределов;
7) незанятый в работах обслуживающий персонал должен быть удален от цистерны;
8) категорически запрещается:
а) подавать газообразный этилен в сосуд и коммуникации без предварительной их вентиляции газообразным азотом, пока примесь кислорода в азоте по объему будет не более 1 ,5 %;
б) заполнять сосуд жидким этиленом без предварительной вентиляции его газообразным этиленом, пока примесь по объему кислорода будет не более 5,5·10-4 % азота, ацетилена и влаги - не более 1·10-3 % каждого.
Повышенная концентрация азота в воздухе может привести человеческий организм к кислородному голоданию вплоть до смертельного исхода, поэтому при работе с газообразным азотом необходимо соблюдать следующие правила:
1) все технологические операции с азотом (вентиляция, продувка, опрессовка сосуда и коммуникаций цистерны) проводить минимальным количеством обслуживающего персонала, но не менее двух человек;
2) незанятый в работе обслуживающий персонал с цистерны удаляется;
3) через каждые 30 мин брать анализ воздуха на содержание в нем кислорода;
4) если объем кислорода в окружающей среде менее 19 %, то обслуживающий персонал обязан одеть изолирующие противогазы и немедленно покинуть опасную зону.
При эксплуатации цистерны должны строго соблюдаться следующие правила:
1) все работы на цистерне производить только по команде руководителя работ или старшего из обслуживающего персонала;
2) обслуживающий персонал цистерны должен своевременно докладывать руководителю о всех выявленных неисправностях, а в случае угрозы аварии - немедленно выявить причины неисправностей и устранить их;
3) место установки цистерны для слива-налива и дренажа этилена должно быть чистым, иметь свободные подходы к оборудованию и арматуре управления цистерны;
4) при работе в ночное время рабочие места должны быть достаточно освещены, осветительная арматура должна быть выполнена во взрывозащищенном исполнении;
5) лица, обслуживающие вагон, должны быть одеты в чистую (без следов масла) защитную одежду (хлопчатобумажные комбинезон, рукавицы, ватная куртка с брюками и т.п.). Обувь должна быть без подков, скоб, гвоздей из черных металлов, во избежание искрообразования;
6) цистерна на площадке слива-налива и дренажа этилена должна быть надежно заторможена и заземлена;
7) при работе должен использоваться только штатный (омедненный) инструмент и принадлежности;
8) все работы по ремонту или замене технологического оборудования, арматуры и приборов цистерны разрешается выполнять только после предварительной очистки сосуда и коммуникаций цистерны от остатков этилена, последующей продувки и полоскания их газообразным азотом, пока этилена в азоте будет по объему не более 0,6 %, а давление в коммуникациях при этом должно отсутствовать.
Для оказания первой помощи площадки обслуживания цистерны должны быть укомплектованы аптечками с необходимыми медикаментами. Обслуживающий цистерну персонал обязан уметь оказывать первую помощь.
В случае отравления газообразным азотом, этиленом или парами растворителя (применяемыми для обезжиривания и восстановления лакокрасочных покрытий цистерны) пострадавшего надо немедленно вывести из зоны отравления, расстегнуть ему одежду, обеспечить приток свежего воздуха и доставить его к врачу.
При обморожении жидким этиленом следует пострадавший участок тела растереть камфорным или 5%-ным борным спиртом и наложить теплую повязку или спиртовой компресс, доставить пострадавшего к врачу.
В случае потери сознания пострадавшему необходим приток свежего воздуха, для этого следует расстегнуть одежду, обрызгать лицо водой, поднести к носу нашатырный спирт. При необходимости сделать искусственное дыхание и срочно доставить его к врачу.
Для перевозки сжиженного винила применяются цистерны моделей ЖВЦ 100М (рис. 8.15) и ЖВЦ 100М2 (рис. 8.16). Эти цистерны могут служить также для временного хранения перевозимого продукта. Перевозка и хранение продукта осуществляются при температуре окружающей среды от - 50 °С до +50 °С при избыточном давлении в сосуде от 0,05 до 0,23 МПа (0,5-2,3 кг/см2). В пути следования цистерну (как груженую, так и порожнюю) сопровождает бригада обслуживания.
Цистерна ЖВЦ 100М (см. рис. 8.15) состоит из криогенной емкости 2 с арматурным шкафом 1, ящиками 3, 5, 9 и кожухами 8 внешнего оборудования, которые смонтированы на железнодорожной платформе 6 с трехосными тележками 4 модели 18-102 на роликовых подшипниках с композиционными тормозными колодками.

Рис. 8.15. Шестиосная цистерна для сжиженного винила модели ЖВЦ 100М

Рис. 8.16. Четырехосная цистерна для сжиженного винила модели ЖВЦ 100М2
Криогенная емкость цистерны ЖВЦ 100М показана на рис. 8.17 и описана в разд. 8.1. От других она отличается, увеличенной длиной и диаметром, а также наличием изоляции на наружной поверхности сосуда. Увеличение жесткости сосуда достигается с помощью восьми кольцевых шпангоутов - двутаврового профиля, устанавливаемых внутри по два в зоне опор и по одному равномерно на остальной длине сосуда. Жесткость оболочки увеличена приваркой внутри нее девятнадцати кольцевых шпангоутов из швеллера.
Для зашиты емкости от опасного (свыше 0,06 ... 0,085 МПа (0,6 ... 0,85 кг/см2) повышения давления в ее изолирующем пространстве применяется мембранный предохранитель МБ4 (см. рис. 8.2), который устанавливается наверху оболочки в горловине, расположенной со стороны будки (арматурного шкафа). Подробнее об устройстве и работе мембранного предохранителя сказано в разд. 8.1.
Вакуумные вентили ВН13 и ВН14 (поз. 10 рис. 8.17) используются для разобщения по окончании вакуумирования изолирующего пространства емкости от атмосферы и для измерения величины вакуума в изолирующем пространстве. Подробно устройство вакуумного вентиля Dy 80 описано в разд. 8.1 (см. рис. 8.3). В арматурном шкафу 1 (см. рис. 8.15) размещаются коммуникации с запорно-предохранительной арматурой и контрольно-измерительными приборами, трубопроводы системы пожаротушения (для подачи огнегасительной смеси к месту пожара) и электрооборудование.
Ящики внешнего оборудования служат для размещения системы пожаротушения 9, электрооборудования 3, комплекта, запасных частей, инструмента и принадлежностей одиночного ЗИПа. В ящике 5 находится трос для заземления системы.
В кожухах 8 внешнего оборудования монтируются система газоснабжения с запорно-предохранительной арматурой и контрольно-измерительными приборами, дренажное устройство с запорной арматурой.
Ящики и кожухи внешнего оборудования размещаются на раме платформы по обе стороны емкости. Под рамой платформы находится теплообменник с коммуникациями газоснабжения и дренажного устройства 7.
На рис. 8.18 приведена принципиальная пневмогидравлическая схема цистерны модели ЖВЦ 100М. Здесь показаны основные системы цистерны: емкость Б1, система коммуникаций, дренажное устройство БДУ, аппаратура КИП (щит приборов ЩП1, щит вентилей ЩВ1), газоснабжение со щитами раздачи ЩР1 и дренажно-предохранительным ЩДП1, а также система пожаротушения СП1. На рис. 8.16 приняты следующие обозначения:
ВГ - продукт газообразный; ВЖ - продукт жидкий; АГ - азот газообразный; В - вакуум.
Емкость Б1 оборудована вакуумными вентилями ВН13 и ВН14 для вакуумирования изолирующего пространства емкости и мембранным предохранителем МБ4, который должен защищать оболочку и сосуд от недопустимого повышения давления в изолирующем пространстве. Для контроля температуры стенок сосуда внизу емкости расположены термопреобразователи сопротивления ТП1 и ТП2.
Система коммуникаций предназначена для выполнения технологических операций по наполнению сосуда жидким продуктом, опорожнению сосуда от продукта, сбросу паров продукта в атмосферу или в коммуникации станции наполнения (опорожнения) при возрастании давления в сосуде цистерны выше допустимого.
Она включает:
1) коммуникацию слива-налива; 2) коммуникации наддува и дренажа; 3) коммуникации дренажа от предохранительных устройств; 4) коммуникации продувок технологическим азотом; 5) коммуникации отбора продукта для анализа; 6) коммуникации вакуумирования теплоизолирующих полостей коммуникаций слива-налива и наддува, а также межсильфонных полостей запорной арматуры.
Коммуникация слива-налива служит для наполнения сосуда цистерны жидким продуктом и для выдачи его потребителю. Она включает в себя трубу слива-налива, два фильтра Ф1 и Ф2, вентиль ВН1.
Труба слива-налива выполнена по типу "Труба в трубе" и состоит из внутренней трубы с изоляцией и наружной трубы, образующей теплоизолирующую полость, отвакуумированную через коммуникацию вакуумирования и вентиль Dy 20 BH9. Внутренняя труба для поддержания вакуума обернута криосорбирующим угольным материалом и изолирована двадцатью слоями пленки ПЭТФ-ДА с прркладкой из стеклобумаги БМД-К.
Труба слива-налива располагается внизу арматурного шкафа и имеет выводы на обе стороны цистерны. К выводам может быть подстыкован рукав слива-налива из одиночного комплекта ЗИП.
По окончании слива-налива продукта концевики внутренней трубы закрываются уплотнительными фторопластовыми прокладками и специальными заглушками с теплоизолирующей полостью и пломбируются. На заглушках трубы слива-налива установлены таблички "Налив", "Слив".
Фильтры Ф1 и Ф2 устанавливаются в трубе слива-налива и служат для очистки жидкого продукта от загрязнений механическими частицами при наполнении-опорожнении сосуда цистерны.
Фильтр представляет собой корпус с отверстиями и двух припаянных сеток с ячейками размером 40 мкм, которые являются фильтрующими элементами. Концевая часть фильтра снабжена резьбой для установки фильтра в трубе слива-налива и имеет два отверстия под ключ и две петли для захвата крючком при замене фильтров. Ключ и крючок - принадлежности одиночного комплекта ЗИП.
Вентиль Dy 100(ВН1) (рис. 8.19) предназначен для наполнения и опорожнения сосуда на станциях налива-слива продукта.
Корпус с кожухом 1 и затвором 2 представляют собой конструкцию с теплоизолирующей рубашкой: полость А служит для прохождения жидкого продукта; полости Б и В - теплоизоляционные. Полость Б соединена с вакуумной полостью трубы слива-налива, одновременно с которой вакуумируется. Полость В связана трубкой с вакуумным вентилем ВН8 и вакуумируется через него.

Рис. 8.17. Емкость цистерны модели ЖВЦ 100М:
1 - оболочка; 2 - люк для засыпки аэрогеля; 3 - горловина с крышкой мембранного предохранителя оболочки; 4 - люк-лаз; 5 - сосуд; 6 - изоляция сосуда; 7 - коллектор; 8 - вывод термопреобразователей сопротивления; 9 - опора; 10 - вакуумный вентиль Dу 80; 11 - лапы; 12 - цепь горизонтального подвешивания сосуда (с изоляцией); выводы трубопроводов: 13 - газосброса и наддува; 14 - слива-налива; 15 - предохранительного клапана; 16 и 17 - соответственно верхнего и нижнего уровней жидкого продукта; 18 - цепь вертикального подвешивания сосуда (с изоляцией)

Рис. 8.18. Принципиальная пневмогидравлическая схема цистерны модели ЖВЦ 100М

Рис. 8.19. Сливоналивной вентиль цистерны модели ВЖЦ 100М:
1 - корпус; 2 - затвор; 3 - втулка; 4 - прокладка; 5 - втулка; 6 - кольцо; 7 - шарикоподшипник; 8 - кольцо; 9 - указатель; 10 - ограничитель; 11 - маховик; 12 - гайка М20×1,5; 13 - редуктор; 14 - установочная гайка; 15 - тарельчатая пружина; 16 - резьбовая втулка; 17 - ходовой винт; 18 - кожух
Корпус с кожухом 1 и кожух 18 соединены друг с другом через сильфонный узел и втулку 5 шпильками. Для герметичности корпуса с кожухом и сильфонного узла установлена прокладка 4.
Внутри корпуса с кожухом 1 имеется седло, при посадке на которое клапан перекрывает подачу жидкого продукта. Сильфонный узел и клапан образуют затвор 2, в гильзе которого для проверки герметичности сильфонов имеется отверстие, закрытое заглушкой с прокладкой и опломбированное.
Сильфонный узел состоит из двух сильфонов, приваренных к втулке. К другим концам сильфонов приварены концевики, соединенные между собой шпинделями, проходящими по внутренней полости сильфонов. Для разобщения продуктовой полости от атмосферы и служат сильфоны.
Кожух 18 состоит из фланца, трубы и стакана, соединенных сваркой. В кожух запрессована втулка с квадратным отверстием.
В кожухе 18 находятся элементы, преобразующие вращательное движение в поступательное: ходовой винт 17, резьбовая втулка 16, подшипник 7, тарельчатая пружина 15, установочная гайка 14 и кольца.
Ходовой винт 17 имеет только поступательное движение (от вращений его удерживает упомянутая выше втулка с квадратным отверстием).
Упорный шарикоподшипник 7 насажен на резьбовую втулку 16 и позволяет ей легко вращаться даже при наибольших усилиях, возникающих во время закрытия вентиля. Кольца 6 и 8 направляют резьбовую втулку 16.
Тарельчатая пружина 15 является компенсатором при температурных деформациях деталей.
Установочная гайка 14 предохраняет резьбовую втулку от осевого перемещения.
Текстолитовые втулки 3 и 5 служат тепловым мостом и этим исключают обмерзание кожуха 18, обеспечивают нормальную работу вентиля.
Открытие и закрытие вентиля производится вращением маховика 11, связанного через редуктор 13 с резьбовой втулкой 16 и закрепленного гайкой 12. Редуктор используется для уменьшения усилия при вращении маховика.
Вращением маховика против хода часовой стрелки вентиль открывается. При этом резьбовая втулка 16 вращается и вызывает поступательное движение ходового винта 17, который соединен шпильками с концевиком сильфонного узла через полумуфты и приставку. Через шпиндель сильфонного узла поступательное движение передается клапану. В то же время выдвигается указатель 9. Появление нанесенной на нем красной эмалью риски говорит о полном открытии вентиля. Регулирование хода клапана производится на заводе-изготовителе ввинчиванием или вывинчиванием ограничителя 10 по резьбовой втулке 16.
При закрытии вентиля маховик вращают по ходу часовой стрелки, пока указатель 9 не установится заподлицо с торцом ограничителя 10.
Коммуникации наддува и дренажа предназначены для создания в сосуде цистерны избыточного давления газообразного продукта и сброса избыточного давления паров продукта в атмосферу или в коммуникации станции наполнения (опорожнения) при необходимости.
В состав этих коммуникаций (см. рис. 8.18) входят:
1) труба наддува с фильтрами Ф3, Ф4 и вентилем ВН12;
2) трубопроводы дренажа с вентилями ВН4 и ВН5.
Труба наддува, как и труба слива-налива, выполнена по типу "Труба в трубе" и имеет совершенно идентичную ей конструкцию, но меньшего диаметра. Труба наддува находится над трубой слива-налива, ее концевики также выведены из арматурного шкафа на обе стороны цистерны, что обеспечивает возможность подстыковки рукавов с любой стороны цистерны. Концевики трубы закрываются заглушками с уплотнением фторопластовыми прокладками и пломбируются. На заглушках трубы установлены таблички "Наддув".
Фильтры Ф3 и Ф4, находящиеся в трубе наддува, служат для очистки газообразного продукта от возможных загрязнений механическими частицами сосуда цистерны при наддуве. Фильтры имеют ту же конструкцию, что и фильтры трубы слива-налива, тот же размер ячеек сеток. При установке фильтра пальцы на дне его корпуса являются направляющими элементами.
Вентиль Dy 70 ВН12 (см. рис. 8.18) предназначен для подачи газообразного продукта в сосуд для выдачи жидкого продукта методом передавливания на станции потребления, а также для сброса газообразного продукта в атмосферу через трубопроводы газоотвода при транспортировке и хранении цистерны в случае возникновения избыточного давления в сосуде. Этот вентиль по устройству и принципу действия аналогичен вентилю Dy 100 (см. рис. 8.19). Полость Б вентиля соединена с вакуумной полостью трубы наддува и вакуумируется одновременно с последней. Полость В вентиля через штуцер связана трубкой с вакуумным вентилем ВН8 и вакуумируется через него.
Для трубопровода дренажа служат:
1) трубопровод с вентилем Dy 70 ВН4 - для дренажа газообразного продукта в аварийной ситуации;
2) трубопровод с вентилем Dy 25 ВН5 - для дренажа газообразного продукта через дренажное устройство в атмосферу.
Вентиль ВН4 сильфонный с редуктором отличается от вентиля, изображенного на рис. 8.19, кроме размеров более простым устройством (нет полости В и др.). Вентиль ВН5 аналогичен по конструкции вентилю ВН4, но без редуктора.
Трубопроводы дренажа выполнены из сваренных между собой встык труб из нержавеющей стали.
Коммуникации дренажа от предохранительных устройств служат для предохранения сосуда и трубопровода слива-налива от разрушения при аварийном росте в них избыточного давления, которое выводится в трубы газосброса. Они включают в себя трубопроводы с мембранными предохранителями МБ1, МБ2, МБ3 (см. рис. 8.2) и предохранительными клапанами КП1, КП2 и КП3, а также выходные патрубки с резьбой, прикрытые откидными резиновыми заглушками.
Мембранные предохранители МБ1 и МБ2 служат для защиты сосуда, а МБ3 - для защиты трубопровода слива-налива и размещаются в арматурном шкафу. Они отрегулированы на избыточное давление: МБ1 и МБ2 - 0,63 ..,. 0,75 МПа (6,3 ... 7,5 кг/см2) МБ3 - 0,74 ... 0,87 МПа (7,4 ... 8,7 кг/см2).
Импульсные предохранительные клапаны Dy 80 (КП1, КП2) устанавливаются после мембранных предохранителей (МБ1 и МБ2) в арматурном шкафу цистерны и защищают сосуд. Клапаны отрегулированы на избыточное давление в сосуде 0,62 ... 0,69 МПа (6,2 ... 6,9 кг/см2). Предохранительный клапан Dy 15 (КП3) защищает трубопровод слива-налива, находится в арматурном шкафу цистерны за мембранным предохранителем МБ3 и открывается при избыточном давлении 0,72 ... 0,8 МПа (7,2 ... 8,0 кг/см2).
Коммуникации продувок технологическим азотом подают газообразный азот от щита раздачи газоснабжения ЩР1 в продуктовые коммуникации для продувки их, полоскания или опрессовки. В состав коммуникаций продувок входят сильфонные вентили Dy 6 ВН2, ВН18, ВН19, ВН20, ВН21, ВН23, ВН24, штуцер с прокладкой и заглушкой, а также соединяющие вентили между собой и с продуктовыми коммуникациями трубопроводы. Вентили коммуникаций продувок предназначены для подачи азота:
ВН2 - на продувку (дренажа) сосуда до предохранительных устройств; ВН18 - из щита ЩР1 в коммуникации продувок; ВН19 - на полоскание трубопровода слива-налива; ВН20 - на полоскание трубопровода наддува; ВН21 - на продувку коммуникаций дренажа; ВН23 - на продувку дренажного устройства и для сброса давления из трубопроводов слива-налива, наддува при их полоскании; ВН24 - на продувку и опрессовку приборных коммуникаций.
Продувка и опрессовка приборных коммуникаций производится через штуцер (который имеет надпись "Азот Р 1,5 кг/см2"), рукав из группового комплекта ЗИП и один из вентилей на щите вентилей.
Коммуникации отбора проб продукта на анализ используются при подготовке к наливу и после слива, а также при отогреве сосуда. Они включают в себя вентили Dy 6 ВН3 и ВН11, два штуцера с заглушками и прокладками и трубки, связывающие штуцеры через вентили с трубопроводами слива-налива и наддува соответственно с низом и верхом сосуда, откуда берутся пробы. Вентили этих коммуникаций служат для отбора проб продукта: ВН3 - наверху сосуда; ВН11 - внизу. Возле штуцеров на лицевой панели устанавливаются таблички: "Анализ верх", "Анализ низ".
Коммуникации вакуумирования, состоящие из вакуумных вентилей Dy 20 и трубопроводов, сходящихся в общий коллектор, из которого на обе стороны арматурного шкафа выведены две трубки с фланцами, заглушками и уплотнительными кольцами, предназначены для проверки вакуума в теплоизолирующих полостях коммуникаций слива-налива (через вентиль ВН9), наддува (через вентиль ВН10) и в межсильфонных полостях вентилей ВН1, ВН12 (через вентиль ВН8).
Дренажное устройство БДУ служит для сброса избыточного давления паров продукта из сосуда непосредственно в атмосферу. Оно включает вентили Dy 25 ВН6, ВН7, теплообменник AT1, трубопроводы с десятью съемными дренажными трубками, закрытыми штатными заглушками с уплотнительными прокладками. Открытием вентилей ВН5, ВН6 и ВН7 при снятых заглушках с дренажных трубок производят дренаж паров продукта. Теплообменник, который устанавливается под рамой вагона с нетормозной стороны, выполнен в виде змеевика из оребренных алюминиевых труб и используется для подогрева поступающих из сосуда холодных паров продукта за счет притока тепла от окружающей среды, что уменьшает плотность сбрасываемого газа и увеличивает его летучесть.
Выдаче газообразного азота для продувки продуктовых и дренажных коммуникаций, опрессовке приборных коммуникаций аппаратуры КИП служит система газоснабжения. В систему газоснабжения входят четыре баллона АК1, АК2, АК3, АК4, щит раздачи ЩР1, дренажно-предохранительный щит ЩДШ, трубопроводы, связывающие щиты и баллоны, штуцер (с заглушкой) для наполнения баллонов сжатым азотом из стороннего источника. Возле штуцера находится табличка "Наполнение баллонов".
Баллоны АК1, АК2, АК3 и АК4 используются для хранения газообразного азота под давлением до 23 МПа (230 кг/см ) и выдачи сжатого азота в щит раздачи ЩР1. Они имеют вид стального цельнотянутого цилиндра емкостью 400 л с двумя горловинами, одна из которых заглушена, а к другой подсоединен трубопровод, связывающий со щитами ЩР1 и ЩДШ. Баллоны попарно размещаются и закрепляются по обе стороны емкости. Сверху они закрываются кожухом.
Щит раздачи ЩР1 редуцирует и выдает газообразный азот давлением 0,15 МПа (1,5 кг/см2) в коммуникации продувок, контролирует давление азота в баллонах и на выходе из редуктора. На панели щита ЩРГ устанавливаются два газовых фильтра Ф5 и Ф6 типа АФ-006, два манометра МН5 и МН6, два вентиля ВН16 и ВН17 типа АВ-013М, предохранительный клапан типа АП-054 и редуктор давления КР1 типа АР-004. Щит ЩР1 имеет сварной корпус, который устанавливается в одном из отсеков кожуха с нетормозной стороны цистерны. Доступ к щиту осуществляется через шарнирную крышку. Каждый узел (фильтр, манометр, вентиль и др.) имеет рядом табличку с обозначением его в соответствии с пневмогидравлической схемой.
Газовые фильтры, имеющие рабочее давление 40 МПа (400 кг/см2), очищают азот от механических частиц, паров масел и влаги и расположены: на входе в шит - фильтр Ф5, на выходе со щита - Ф6.
Манометр МН5 имеет предел измерения давления 40 МПа (400 кг/см2) и контролирует давление азота на входе в щит от стороннего источника. Манометр МН6 с пределом измерения давления 0,6 МПа (6 кг/см2) контролирует давление азота на выходе со щита раздачи после редуктора КР1.
Вентили служат для подачи азота давлением 23 МПа (230 кг/см2): ВН16 - в редуктор давления КР1 щита раздачи; ВН17 - от стороннего источника в коммуникации заправки баллонов при их заполнении и отсечки баллонов после их заполнения азотом до требуемого давления.
Предохранительный клапан, который встроен в полость низкого давления редуктора давления КР1, защищает магистраль низкого давления от повышения в ней давления выше допустимого 0,18 МПа (1,8 кг/см2), при котором он срабатывает.
Редуктор давления КР1 снижает давление азота до рабочего 0,15 МПа (1,5 кг/см2) и поддерживает его в заданных пределах.
Дренажно-предохранительный щит ЩДП1 защищает баллоны АК1, АК2, АК3 и АК4 и их коммуникации от повышения в них давления сжатого азота сверх допустимого. На нем размещается предохранительный клапан КП5 типа АП-021Д, ручной вентиль ВН15, мембранное устройство МБ5. Щит ЩДП1 в виде стального каркаса с указанными выше узлами находится в одном из отсеков кожуха с тормозной стороны цистерны. Доступ к нему осуществляется через закрепленную шарнирно крышку. На лицевой панели щита рядом с каждым элементом помещается табличка с его обозначением на пневмогидравлической схеме. Ручной вентиль ВН15 служит в случае необходимости для дренажа азота из баллонов.
Для защиты азотных баллонов и трубы от повышения в них давления свыше 25 ... 25,3 МПа (250 ... 253 кг/см2) устанавливается предохранительный клапан КП5.
Мембранное устройство МБ5 включает в себя мембрану и колпак, которые находятся между ниппелем и штуцером с прокладкой. Мембрана предохраняет от избыточного давления 27,5 ... 31,0 МПа (275 ... 310 кг/см2). Колпак защищает рабочую полость предохранительного клапана КП5 от попадания в него осколков мембраны в случае ее разрушения.
Аппаратура контрольно-измерительных приборов (КИП) используется для дистанционного и местного измерения уровня (количества) жидкого продукта в цистерне, местного контроля давления в сосуде и трубопроводе слива-налива, контроля целостности мембран мембранных предохранителей. Возможен дистанционный контроль рабочих параметров емкости (давления, уровня продукта, температуры стенки сосуда, вакуума) на станциях слива-налива продукта. Аппаратура КИП включает щит приборов ЩП1, щит вентилей ЩВ1, преобразователь перепада давлений ДМ1, сдвоенные реле давлений РД1, РД2 и соединительные трубопроводы.
Щит приборов ЩП1 служит для включения приборов аппаратуры КИП. Он имеет вид Сварной конструкции, состоящей из панели и двух кронштейнов, на которой размещаются вентили ВН25, ВН26, ВН27, мановакуумметр МВ1, манометры МН1, МН2, МН3, МН4 и соединяющие трубопроводы. Щит ЩП1 располагается в верхней части арматурного шкафа 1 (см. рис. 8.15). Возле каждого прибора на панели установлена табличка с обозначением его по пневмогидравлической схеме (см. рис. 8.18).
Трехходовые вентили Dy A используются для включения и отключения: ВН25 - мановакуумметра МВ1 и сдвоенных реле давления РД1 и РД2; ВН26 - указателя уровня ДМ1 и верха сосуда; ВН27 - указателя уровня ДМ1 и низа сосуда цистерны. Штуцеры вентилей имеют буквенные обозначения А, Б, В (буквы А и Б выбиты на корпусе вентиля рядом со штуцерами).
Мановакуумметр МВ1 контролирует давление в сосуде цистерны.
Манометры служат для контроля:
МН1 - давления в коммуникации слива-налива при выдаче продукта; МН2 - целостности мембраны МБ1; МН3 - целостности мембраны МБ2; МН4 - целостности мембраны МБ3.
Щит вентилей ЩВ1 применяется для опрессовки приборов аппаратуры КИП и мембранных предохранителей коммуникации слива-налива и сосуда цистерны. На панели щита размещаются вентили и трубопроводы со штуцерами с заглушками. Щит ЩВ1 также находится в верхней части арматурного шкафа. Возле каждого вентиля имеется табличка с обозначением вентиля по пневмогидравлической схеме. Вентили Dy 4 предназначены для опрессовки:
ВН28 - манометра МН4 и мембранного предохранителя МБ3; ВН29 - манометра МН2 и мембранного предохранителя МБ1; ВН30 - манометра МН3 и мембранного предохранителя МБ2; ВН31 -преобразователя перепада давления ДМ1, мановакуумметра МВ1 и сдвоенных реле давления РД1, РД2.
Преобразователь перепада давления ДМ1, используемый для дистанционного измерения количества жидкого продукта в сосуде цистерны, размещается на кронштейне внизу арматурного шкафа.
Сдвоенные реле давления РД1 и РД2 сигнализируют о величине давления в сосуде цистерны при хранении и транспортировке продукта: одно реле (РД1) срабатывает при падении давления в сосуде ниже 0,03 МПа (0,3 кг/см2), другое (РД2) - при повышении давления выше 0,25 МПа (2,5 кг/см2). Они также находятся на кронштейне в нижней части арматурного шкафа и выдают сигналы на световые транспаранты щита контроля.
Цистерна модели ЖВЦ 100М оборудована системой пожаротушения СП1, которая предназначена для ликвидации очагов пожара в арматурном шкафу и в кожухах пристыковочных соединений. В состав СП1 входят четыре огнетушителя АК5, АК6, АК7, АК8, типа ОС-8М, находящихся в ящике внешнего оборудования цистерны, трубопроводы с двенадцатью распылительными форсунками и термодатчиками типа ТД.
Цистерна также снабжена электрооборудованием для коммутации электрических цепей контроля температуры, уровня продукта, нижнего и верхнего пределов давления и автоматического включения в случае необходимости средств пожаротушения, освещения.
Цистерны моделей ЖВЦ 100М (см. рис. 8.15) и ЖВЦ 100М2 (см. рис. 8.16) различаются ходовыми частями: первая - шестиосная с трехосными тележками, вторая - четырехосная с типовыми двухосными тележками модели 18-100 на роликовых подшипниках. Благодаря этому и связанным с этим конструктивным изменениям, масса тары вагона снизилась на 11,4 т. Несколько изменилась, усовершенствовалась и принципиальная пневмогидравлическая схема цистерны модели ЖВЦ 100М2 (рис. 8.20).
В процессе эксплуатации цистерн моделей ЖВЦ 100М и ЖВЦ 100М2 различают такие режимы работы:
1) ввод цистерны в эксплуатацию; 2) подготовка цистерны к работе; 3) подготовка цистерны к наливу; 4) налив цистерны жидким продуктом; 5) транспортировка груженой цистерны; 6) слив продукта из цистерны; 7) транспортировка порожней цистерны или цистерны с остатками продукта с предприятия-потребителя на предприятие-изготовитель продукта; 8) отогрев сосуда цистерны.
Ввод цистерны в эксплуатацию производят после приемки ее эксплуатирующей организацией, при поступлении цистерны после ремонта или после длительного (свыше одного года) хранения. При этом выполняются следующие операции:
1) регистрация сосуда и баллонов цистерны в органах Гостехнадзора;
2) расконсервация сосуда;
3) контроль средств измерений и автоматизации;
4) наполнение баллонов газоснабжения газообразным азотом и проверка герметичности азотных коммуникаций;
5) зарядка огнетушителей системы пожаротушения или их проверка;
6) зарядка аккумуляторных батарей электрооборудования;
7) проверка давления в изолирующих пространствах емкости, трубопроводов, а также в сильфонных полостях вентилей ВН1, ВН12;
8) проверка работоспособности электрооборудования;
9) проверка герметичности сосуда и коммуникаций.
Подготовка цистерны к работе производится для проверки технического состояния вагона и, при необходимости, восстановления ее эксплуатационных характеристик. Объем необходимых работ зависит от состояния цистерны. При подготовке к работе из "теплого" состояния (температура сосуда близка к температуре окружающей среды) выполняются следующие операции:
1) проверка давления азота в баллонах газоснабжения АК1, АК2, АК3, АК4;
2) проверка давления в огнетушителях АК5, АК6, АК7, АК8 системы пожаротушения;
3) зарядка аккумуляторных батарей электрооборудования;
4) проверка работоспособности электрооборудования;
5) проверка работоспособности вентилей;
6) проверка давления в изолирующем пространстве емкости;
7) проверка давления и вакуумирование изолирующих пространств трубопроводов "Слив-налив", "Наддув", рукава слива-налива и сильфонных полостей вентилей ВН1, ВН2;
8) ревизия фильтров на трубопроводах "Слив-налив", "Наддув";
9) проверка герметичности сосуда и коммуникаций цистерны.
При подготовке вагона к работе из "холодного" состояния (температура сосуда цистерны ниже 95 К, - 178 °С) или после его частичного отогрева (температура сосуда равна или выше 95 К) из приведенных выше операций исключается последняя.
Подготовка цистерны к наливу и ее наполнение продуктом производится по технологии станции наполнения. При этом учитывается состояние сосуда цистерны: "теплое", после частичного отогрева или "холодное".
Подготовка цистерны к наливу из "теплого" состояния включает операции по замене воздуха в сосуде и коммуникациях газообразным азотом, а азота - газообразным продуктом, которые осуществляются методом полоскания после подстыковки коммуникаций слива-налива и наддува.
В случае подготовки цистерны к наливу после частичного отогрева из сосуда берут анализы проб на примеси кислорода и азота. При соответствии примеси заданным требованиям подготовка к наливу сводится к последовательной замене в пристыковочных узлах коммуникаций воздуха на азот и азота на газообразный продукт. При неудовлетворительных анализах проб на примеси кислорода и азота сосуд подлежит дополнительному полосканию продуктом до тех пор, пока примеси не достигнут допустимых концентраций.
Подготовка цистерны к наливу из "холодного" состояния состоит в замене в пристыковочных участках коммуникаций воздуха на азот и азота на газообразный продукт.
При наливе жидкий продукт подается по криогенному трубопроводу станции наполнения. Налив "теплой" цистерны сначала во избежание быстрого роста давления в сосуде надо вести малыми дозами. При этом давление в сосуде должно быть не ниже 0,06 МПа (0,6 кг/см2) и не выше 0,23 МПа (2,3 кг/см2). Избыточное давление паров продукта сбрасывается из сосуда через вентиль наддува цистерны в коммуникации станции наполнения. Контроль давления и уровня продукта в сосуде производят по приборам станции наполнения и находящемуся на цистерне датчику уровня ДМ1 (ДД1 - у цистерны модели ЖВЦ 100М2), а также миллиамперметру щита контроля электрооборудования вагона. Налив прекращают, когда по показаниям любого из приборов уровень наполнения сосуда будет соответствовать 7,35 т продукта. Затем производят выдержку для охлаждения изоляции, стабилизации потерь от испарения и (при необходимости) дозаправку цистерны продуктом. После слива продукта из пристыковочных коммуникаций, их отогрева и замены в них методом полоскания или продувки продукта на азот выполняют отстыковку вагона от станции наполнения.
Перед транспортировкой обязательно производятся следующие операции:
1) проверка давления в сосуде цистерны;
2) проверка исходного положения регистраторов верхнего и нижнего пределов давления щита контроля электрооборудования.
Давление в сосуде перед началом транспортировки не должно превышать 0,06 . . . 0,08 МПа (0,6 . . . 0,8 кг/см2), в противном случае производят сброс давления через дренажные коммуникации станции наполнения (если цистерна подстыкована к ним) или через коммуникации БДУ (если вагон отстыкован).
Световые сигналы щита контроля "Р < 0,3 кг/см2" и "Р > 2,5 кг/см2" не должны гореть. Нажатием кнопок "Сброс" регистраторы предельных давлений в случае необходимости приводятся в исходное положение;
3) пломбирование задвижки кнопок "Сброс" предприятием-наполнителем, а также занесение контрольного оттиска пломбира в "Рабочий журнал" цистерны.

Рис. 8.20. Принципиальная пневмогидравлическая схема цистерны модели ЖВЦ 100М2
При транспортировке, как и при наполнении котла, избыточное давление паров продукта в сосуде должно быть по показаниям мановакуумметра МВ1 не ниже 0,05 МПа (0,5 кг/см2) и не выше 0,23 МПа (2,3 кг/см2). Газосброс при этом закрыт.
Сброс давления, превышающего 0,23 МПа (2,3 кг/см2), производят на стоянках через коммуникации БДУ, предварительно заземлив вагон тросом, хранящимся в ящике 5 (см. рис. 8.15). Место сброса на стоянках должно быть согласовано с железной дорогой. Сброс осуществляется через вентили ВН5, ВН6, ВН7 (см. рис. 8.18) и теплообменник AT1. Перед сбросом паров продукта в течение 1-1,5 мин и после его окончания в течение 5 мин коммуникации БДУ продуваются через вентили ВН16, ВН18 и ВН23 газообразным азотом.
Слив продукта осуществляется в следующей последовательности:
1) затормозить стояночным тормозом и заземлить цистерну тросом;
2) проверить избыточное давление паров продукта в сосуде. К сливу продукта допускается цистерна, давление в сосуде которой при транспортировке не падало ниже 0,03 МПа (0,3 кг/см2), что можно проконтролировать по записям в "Рабочем журнале" цистерны и отсутствию светового сигнала "Р < 0,3 кг/см2" у регистратора давления щита контроля при наличии пломбы на задвижках кнопки "Сброс". Вопрос об использовании продукта, у которого при транспортировке давление снижалось ниже 0,03 МПа (0,3 кг/см2), решается комиссией;
3) подготовить пристыковочные коммуникации к сливу продукта, т. е. заменить в них воздух на азот, а азот на газообразный продукт по технологии станции слива;
4) подстыковать коммуникации слива-налива, наддува, приборные;
5) слить каждый продукт методом выдавливания избыточным давлением газообразного продукта, поступающего со станции слива через вентиль ВН12 по коммуникации наддува цистерны. Давление и уровень продукта в сосуде контролируются по приборам, установленным на станции слива, и датчиком уровня ДМ1 (измерительным датчиком ДД1 у цистерны модели ЖВЦ 100М2) цистерны.
Транспортировка порожней цистерны на предприятие-изготовитель продукта производится, как было указано выше, в сопровождении бригады обслуживания. Сброс избыточного давления в случае его повышения в сосуде выше 0,23 МПа (2,3 кг/см2) выполняется через коммуникации БДУ на стоянках.
Отогрев сосуда цистерны осуществляется для годового регламента, ремонта вагона, для контроля содержания в продукте или удаления примесей кислорода. Отогрев бывает полный (до температуры, близкой к температуре окружающей среды) и частичный (до температуры стенки сосуда, равной 95 К). Температура стенки сосуда контролируется по показаниям термометров. Существует два способа отогрева сосуда:
периодическим наддувом и сбросом греющего газа;
непрерывной продувкой греющим газом. Отогрев производится на станции наполнения по принятой на ней технологии (способу).
К обслуживанию цистерн для винила допускаются лица не моложе 18 лет, прошедшие медицинское освидетельствование (ежегодно) и сдавшие квалификационный экзамен (ежегодно). Лица, обслуживающие электрооборудование цистерны, должны иметь квалификацию не ниже третьей группы по технике безопасности при работе с электрооборудованием. Ежеквартально проводится инструктаж по безопасным приемам и методам работы при обслуживании цистерны.
Жидкий винил имеет низкую температуру кипения. Его попадание на открытые участки тела вызывает тяжелое обморожение. Изделия из резины и черных металлов при соприкосновении с жидким винилом теряют свою пластичность и легко разрушаются при ударе. Так же, как и кислород, азот, аргон, этилен, жидкий винил под действием тепла интенсивно испаряется, что вызывает повышение давления, а это может привести к разрушению сосуда и трубопроводов коммуникаций.
Жидкий и газообразный винил невзрывоопасен в чистом виде, но его смеси с кислородом или воздухом взрываются даже при незначительных импульсах (искра, пламя, разряд статического электричества, удар). Причиной взрыва может стать наличие в жидком виниле твердых примесей воздуха, особенно твердого кислорода.
При работе с жидким и газообразным винилом необходимо строго соблюдать следующие правила техники безопасности:
1) при наливе и сливе жидкого винила посторонние лица допускаются к цистерне не ближе чем на 20 м;
2) нельзя допускать образования взрывоопасных смесей винила с кислородом и воздухом;
3) для предохранения сосуда цистерны от накопления в нем твердого кислорода необходимо периодически отогревать сосуд до температуры 123 К (-150 °С) и выше. Периодичность отогрева и требования к нему регламентируются РТМ 26-04-23-81;
4) категорически запрещается:
а) подавать газообразный винил без предварительного полоскания сосуда газообразным азотом с примесью кислорода не более 3 % по объему;
б) заполнять сосуд жидким винилом, пока при предварительном полоскании его жидким винилом примеси по объему составят не более: кислорода 2·10-4 %, азота 2·10-2 %, влаги 2·10-3 %;
в) курить и проводить огнеопасные работы;
г) работать в обуви с подошвами, вызывающими искрообразование, или в одежде из синтетических, шелковых и шерстяных тканей, способных к электризации;
д) применять нештатный и неомедненный инструмент.
Меры безопасности при работе с азотом приведены выше (см. разд. 8.3). Кроме того, должны соблюдаться меры безопасности при работе с растворителями (применяемыми при обезжиривании и восстановлении лакокрасочных покрытий), с электрооборудованием (допускается только специалисты), с системой пожаротушения и меры противопожарной безопасности.
При эксплуатации цистерны должны быть приняты те же меры предосторожности, что и при работе с кислородом, аргоном, азотом, этиленом (подробнее см. разд. 8.3). Примеси винила в газообразном азоте после полоскания азотом сосуда и коммуникаций для проведения работ по ремонту или замене оборудования, арматуры и приборов цистерны не должны превышать по объему 0,4 %.
Обслуживающий персонал цистерны должен быть подготовлен к оказанию первой помощи. К мерам по оказанию первой помощи, приведенным в разд. 8.3, следует добавить следующие:
1) при поражении электрическим током надо немедленно отключить напряжение или отделить пострадавшего от токоведущих частей с помощью предмета из диэлектрического материала (сухой палкой, доской и т.д.). В случае отсутствия дыхания у пострадавшего ему делают искусственное дыхание или наружный массаж сердца. При оживлении пострадавшего (дрожание век, шевеление губ) и при появлении равномерного дыхания его на носилках доставляют к врачу;
2) термические ожоги кожи промывают этиловым спиртом или 2-3%-ным раствором марганцовокислого калия, накладывают сухую стерильную повязку и направляют к врачу;
3) возгорание спецодежды на человеке надо тушить водой-душем или погружением в воду. Закутывать пострадавшего в горящей одежде категорически запрещается, так как процесс горения будет продолжаться.

Черт. 2

Черт. 3

Черт. 4а

Черт. 4б


Черт. 5

Черт. 6а

Черт. 6б

Черт. 8

Черт. 9
2. ТРЕБОВАНИЯ ПО БЕЗОПАСНОЙ ЭКСПЛУАТАЦИИ ЦИСТЕРН
§ 36. Ремонт сосуда, цистерны, его элементов и внутренний осмотр разрешается проводить только после дегазации сосуда.
Арматура может быть снята для ремонта и испытания только при отсутствии в сосуде цистерны избыточного давления. После снятия арматуры для ремонта отверстия в крышке люка сосуда цистерны должны закрываться пробками на резьбе или заглушками на фланцах.
§ 37. Цистерна, направляемая для ремонта в депо дороги и на вагоноремонтные заводы МПС, должна быть дегазирована. Справка о дегазации сосуда цистерны прилагается к перевозочным документам.
§ 38. В пути следования ремонт ходовых частей, тормозных и упряжных приборов порожней и груженой цистерны должен проводиться работниками вагонного хозяйства МПС с особой осторожностью.
При производстве ремонта неисправной цистерны запрещается:
ремонтировать сосуда в груженом состоянии, а также в порожнем состоянии до производства дегазации;
производить удары по сосуду;
пользоваться инструментом, дающим искрение, и находиться с открытым огнем (факел, жаровня, керосиновый и свечный фонарь и т.д.) вблизи цистерны;
производить под цистерной сварочные работы.
При необходимости исправления тележек с применением огня, сварки и ударов тележки должны выкатываться из-под цистерны и отводиться от нее на расстояние не ближе 100 м.
§ 39. Запрещается держать цистерну, когда налив и слив ее не производится, присоединенной к коммуникации. В случае длительного перерыва при сливе или наливе сжиженного газа шланги от цистерны должны быть отсоединены.
§ 40. Подтягивание и отвинчивание резьбовых и фланцевых соединений цистерны и коммуникаций, хомутов шлангов, находящихся под избыточным давлением, запрещается. Нельзя применять ударный инструмент при навинчивании и отвинчивании гаек.
§ 41. Курить на расстоянии менее 100 м от цистерны строго воспрещается. Вести какие-либо посторонние работы у цистерны не разрешается.
§ 42. Все работы по мелкому ремонту элементов недегазированной цистерны производятся неискряшим инструментом, а рабочая часть инструментов и приспособлений из черного металла должна обильно смазываться тавотом, солидолом или другой смазкой. Применение электродрелей и других электрических инструментов, дающих искрение, а также производство сварочных работ запрещается.
§ 43. Работы внутри сосуда цистерны являются газоопасными и должны выполняться в соответствии с требованиями гл. 9 "Правил безопасности в газовом хозяйстве", производственных инструкций, инструкций по технике безопасности и утвержденного технологического регламента. Эти работы должны выполняться под непосредственным руководством инженерно-технического работника. В процессе производства ремонтных работ внутри цистерны все распоряжения о порядке их проведения должны даваться лицом, ответственным за работу. Присутствующие при работе другие должностные лица и руководители должны давать указания рабочим через лицо, ответственное за проведение работ.
Освещение внутри сосуда цистерны допускается только лампочками на напряжение не более 12 В в исправной взрывобезопасной арматуре.
До начала работы внутри сосуда цистерны необходимо произвести анализ среды на отсутствие опасной концентрации углеводородов и на содержание кислорода. Содержание кислорода должно быть в пределах 19-20 % по объему.
§ 44. В нерабочем состоянии вентили цистерны должны быть закрыты и заглушены. В случае необходимости замена сальниковой набивки вентилей наполненной цистерны может быть выполнена при полностью закрытом клапане и снятых заглушках.
§ 45. Во время налива и слива сжиженного газа запрещается производить какие-либо огневые работы на расстоянии ближе 100 м от цистерны.
Со стороны железнодорожного пути и на подъездных путях и дорогах на участке налива или слива должны быть выставлены сигналы размером 400×5 00 мм с надписью "Стоп, проезд запрещен, производится налив (слив) цистерны". Кроме того, подъездные железнодорожные пути должны быть ограждены сигналами в соответствии с "Инструкцией по сигнализации" МПС.
§. 46. Дренирование воды и ней одаряющихся остатков и периодический контроль за наполнением или сливом цистерны разрешается производить только в присутствии второго лица. При этом следует находиться с наветренной стороны и иметь необходимые средства индивидуальной защиты.
§ 47. При авариях, которые могут привести к значительной утечке газа из цистерны или присоединяющих коммуникаций, необходимо немедленно потушить все источники открытого огня, удалить людей из зоны возможного загазовывания, выставить посты, запрещающие допуск людей и транспорта в загазованную зону, создать, где это возможно, паровую завесу, принять меры к ликвидации утечки. Об аварии необходимо сообщить администрации завода-поставщика (изготовителя)2 и железной дороги.
При возникновении огня вблизи цистерны необходимо немедленно вызвать пожарную команду, принять меры к ликвидации пожара и вывозу цистерны в безопасное место. Если цистерну вывезти невозможно, ее необходимо поливать водой. При загорании сжиженного газа применяют различные средства пожаротушения:
а) огнетушители - пенные, углекислотные;
б) воду в виде компактных и распыленных струй, водяной пар, песок, асбестовое полотно и другие, имеющиеся в наличии средства пожаротушения.
На всех предприятиях должен быть разработан план по ликвидации возможных аварий.
§ 48. На электрифицированных участках железных дорог запрещаются все виды работ наверху цистерны до снятия напряжения в контактной сети.
§ 49. Опасные свойства сжиженных газов требуют принятия особых мер предосторожности. При работе со сжиженными газами необходимо соблюдать требования по безопасности, изложенные в ГОСТах и технических условиях.
Утечки сжиженного газа должны немедленно устраняться, так как вдыхание человеком воздуха, содержащего 10 % паров сжиженного газа, вызывает головокружение, при большем содержании паров наступает кислородная недостаточность.
При попадании жидкой фазы на кожу человека вследствие моментального испарения ее происходит интенсивное поглощение тепла, что приводит к обмораживанию.
§ 50. При попадании сжиженного газа на кожу, в глаза и т.п. необходимо быстро промыть пораженное место обильной струей холодной воды, смазать пораженное место (пока не образовались пузыри) мазью от ожогов. При наличии пузырей следует осторожно наложить стерильную повязку и немедленно обратиться за медицинской помощью.
При попадании жидкости на одежду последнюю необходимо немедленно снять, так как сжиженный газ моментально впитывается в нее и проникает к телу, обмораживая его. Необходимо помнить, что промедление очень опасно, так как под одеждой на теле образуются пузыри, которые могут лопнуть, а при поражении ожогами более 1/3 кожного покрова возможен смертельный исход.
______________
2 Завод-поставщик (изготовитель) - предприятие, вырабатывающее сжиженные углеводородные газы и осуществляющие их налив в цистерны.
Сроки проведения деповского и капитального ремонтов грузовых вагонов (в годах)
|
Типы вагонов |
Деповского после: |
Капитального после: |
Срок службы |
|||
|
постройки |
деповского |
капитального |
постройки |
капитального |
||
|
4. ЦИСТЕРНЫ |
|
|
|
|
|
32 |
|
4.1. Нефтебензиновые постройки до 1974 г. |
- |
1 |
2 |
- |
8 |
|
|
4.2. Нефтебензиновые постройки с 1974 г. до 1985 г.: |
|
|
|
|
|
|
|
4.2.1. До первого капитального ремонта |
- |
2 |
- |
10 |
- |
|
|
4.2.2. После первого капитального ремонта |
- |
2 |
2 |
- |
8 |
|
|
4.3. Нефтебензиновые постройки с 1985 г. |
3 |
2 |
2 |
13 |
12 |
|
|
4.4. Восьмиосные |
2 |
1 |
2 |
11 |
11 |
|
|
4.5. Для перевозки кислоты |
2 |
1 |
2 |
5 |
4 |
|
|
4.6. Для перевозки улучшенной серной кислоты |
2 |
1 |
1 |
6 |
6 |
|
|
4.7. Для перевозки меланжа |
2 |
1 |
1 |
4 |
3 |
|
|
4.8. Для сжиженных газов |
3 |
2 |
2 |
10 |
10 |
|
|
4.9. Для перевозки пищевых продуктов |
3 |
2 |
3 |
10 |
10 |
|
|
4.10. Для вязких нефтепродуктов |
2 |
1 |
2 |
4 |
4 |
|
|
4.11. Для перевозки цемента |
3 |
1 |
2 |
10 |
10 |
|
Примечания:
1. Вагоны специализированного назначения, а также автодрезины и другие ... проходят деповской и капитальный ремонты в сроки, устанавливаемые дополнительными указаниями МПС.
2. Тележки грузовых вагонов, находящиеся в эксплуатации на приграничных дорогах, подвергаются деповскому ремонту один раз в три года, а находящиеся в запасе - по указанию ЦВ МПС.
3. Вагоны, принадлежащие промышленным предприятиям с правом выхода на пути общего пользования, проходят деповской и капитальный ремонты в сроки, установленные настоящим приказом. Вагоны, не вошедшие в настоящий приказ, проходят плановые виды ремонта в сроки, согласованные владельцем с Главным управлением вагонного хозяйства МПС.
4. Нормативные сроки службы вагонов утверждены Министерством тяжелого и транспортного машиностроения 28 октября 1986 г.