Библиотека справочной литературы
ООО «Центр безопасности труда»
МЕТОДИКА
ПО ТЕХНИЧЕСКОМУ ДИАГНОСТИРОВАНИЮ СИСТЕМ ПОСТОЯННОГО ТОКА
ЭНЕРГОХОЗЯЙСТВА ОАО «ГАЗПРОМ»

Утверждено
Главным инженером
ООО «Газпромэнергодиагностика»
А.В. Авдониным
22 января
Подписано
Начальником отдела
диагностического обслуживания систем
постоянного тока и кабельных линий
ООО «Газпромэнергодиагностика» Д.М. Левиным
Настоящая методика разработана в соответствии с «Положением о системе технического диагностирования оборудования и сооружений энергохозяйства ОАО «Газпром» и определяет порядок технического диагностирования систем постоянного тока на основе стационарных аккумуляторных батарей (напряжением до 380 В). Методика предназначена для персонала предприятий ОАО «Газпром» и специализированных организаций, участвующих в проведении работ по обследованию и диагностике энергетического оборудования.
Объектами диагностирования в рамках данной методики являются:
- стационарные аккумуляторные батареи (АБ);
- щиты постоянного тока (ЩПТ);
- выпрямительные устройства (ВУ).
- Определение вида технического состояния.
- Поиск места отказа или неисправностей.
- Установление причин неисправностей, определение состава и срока ремонтно-восстановительных работ.
Прогнозирование технического состояния и составление рекомендаций по дальнейшей эксплуатации системы постоянного тока (СПТ).
Диагностирование системы постоянного тока выполняется на месте ее стационарной установки в соответствии с условиями эксплуатации для данного оборудования.
Перед проведением испытания емкости аккумуляторная батарея должна находиться в рабочем состоянии и быть полностью заряженной.
Во время испытания емкости АБ выводится из режима подзаряда, подключается к испытательной нагрузке и отключается от нее досрочно при:
- исчезновении питания на входе выпрямительного устройства, подключенного к шинам постоянного тока (отключается автоматически);
- уменьшении напряжения на одном из аккумуляторов ниже допустимого предела (например - 1,8 В для большинства типов свинцово-кислотных аккумуляторов).
При этом от батареи отбирается не более 70 % ее паспортной емкости.
Возможны два варианта проведения испытания емкости батареи с отключением батареи от потребителей и без.
Обследование проводится во всех режимах работы системы постоянного тока и основано:
- на измерении электрических характеристик всей системы постоянного тока и каждого АК в отдельности;
- измерении физических характеристик электролита;
- визуальном обследовании каждого АК, щита постоянного тока и выпрямительного устройства;
- измерении температуры элементов системы;
- контроле показаний штатных приборов и состояния вентиляции.
3.1. Периодичность диагностирования.
Периодичность диагностирования определяется, исходя из требований технической эксплуатации и инструкций завода-изготовителя, по периодичности проверок и плановых ремонтов, профилактических мероприятий.
В общем случае рекомендуемая периодичность обследований - один раз в три года.
3.2. Характеристики диагностирования.
3.2.1. Номенклатура параметров СПТ, позволяющих определить техническое состояние.
Техническое состояние аккумулятора определяется следующими параметрами:
- напряжением аккумулятора в режиме подзаряда;
- напряжением аккумулятора в режиме холостого хода;
- напряжением аккумулятора под нагрузкой;
- плотностью электролита до и после разряда;
- температурой электролита;
- температурой контактных соединений;
- внутренним сопротивлением аккумулятора.
А также наличием или отсутствием следующих внешних признаков:
- выпадение активной массы из ячеек отрицательных пластин;
- коробление и рост пластин;
- электролит фиолетового цвета;
- цвет электролита от светло - до темно-коричневого;
- белые пятна на положительных пластинах, поверхность песчанистая. Положительные пластины светло-коричневого, а при глубокой сульфатации - оранжево-коричневого цвета;
- преждевременное газообразование при заряде;
- большой слой светло-серого шлама;
- отбеленные сепараторы;
- большой слой коричневого шлама;
- отсутствие или запаздывание газовыделения;
- газовыделение в состоянии покоя и разряда;
- чередование слоев коричневого и светло-серого шлама;
- разъеденные ушки электродов на границе с воздухом;
- близок к черному цвет сепарации;
- отвалившиеся кусочки сепарации.
Техническое состояние щита постоянного тока определяется следующими параметрами;
- температурой нагрева контактных соединений;
- падением напряжения на соединительных шинах;
- соответствием показаний штатных приборов фактическим значениям;
- нормальным функционированием во всех режимах работы;
- отсутствием неисправностей при визуальном осмотре.
Техническое состояние выпрямительного устройства определяется следующими параметрами:
- температурой нагрева контактных соединений;
- температурой нагрева функциональных элементов;
- соответствием показаний штатных приборов фактическим значениям;
- нормальным функционированием во всех режимах работы;
- соответствием режимов работы паспортным данным батареи;
- отсутствием неисправностей при визуальном осмотре. Наличием или отсутствием следующих внешних признаков у АК, подключенных к ВУ:
- выпадение активной массы из ячеек отрицательных пластин;
- коробление и рост пластин;
- большой слой коричневого шлама;
- электролит мутный, коричневого цвета;
- разъеденные нижние части положительных пластин.
Техническое состояние аккумуляторной батареи определяется следующими параметрами:
- напряжением холостого хода АБ;
- сопротивлением изоляции АБ;
- падением напряжения батареи при отдаче паспортной емкости;
- емкостью АБ, отданной за время испытания.
Наличием или отсутствием следующих внешних признаков у аккумуляторов:
- выпадение активной массы из ячеек отрицательных пластин;
- электролит мутный, коричневого цвета;
- разъеденные нижние части положительных пластин;
- коробление и рост пластин;
- большой слой коричневого шлама;
- элемент в покое и при разряде газирует;
- чередуются слои коричневого и светло-серого шлама;
- цвет сепарации близок к черному;
- запах хлора в помещении.
3.2.2. Перечень элементов, с точностью до которых должен осуществляться поиск места отказа или неисправности. При диагностике аккумулятора:
- электроды;
- электролит;
- бак, корпус;
- уплотнение крышки;
- борны;
- контактные соединения;
- клапан избыточного давления.
При диагностике аккумуляторной батареи:
- аккумулятор;
- соединительные шины.
При диагностике выпрямительного устройства и щита постоянного тока:
- отдельные элементы силовой электрической цепи (линии, трансформаторы, дроссели, тиристоры, диоды, конденсаторы, выключатели, предохранители и др.);
- контрольные приборы;
- контактные соединения;
- устройства сети оперативного тока;
- устройства сигнализации и индикации.
4.1. Характеристики физических параметров АБ.
Таблица 1
|
№ |
Характеристика |
Критерий |
Состояние |
Измерительный прибор |
Погр., % |
|
|
1 |
Пониженное напряжение заряженного аккумулятора без нагрузки |
2,15В (С,СК) |
Короткое замыкание |
Вольтметр до 3 В |
0,05 |
|
|
2 |
Пониженное напряжение при разряде |
Сопоставляется с другими аккумуляторными батареями |
Короткое замыкание. Неисправность пластин. Ненормальная сульфатация |
Вольтметр до 3 В |
0,05 |
|
|
3 |
Пониженное напряжение в конце заряда |
Сопоставляется с другими аккумуляторами в АБ |
Короткое замыкание |
Вольтметр до 3 В |
0,05 |
|
|
4 |
Повышенное напряжение (до 3 В) в начале заряда |
U3/N+3 %, В (где N - кол-во аккумуляторов в АБ) |
Ненормальная сульфатация |
Вольтметр до 3 В |
0,05 |
|
|
5 |
Повышенная температура электролита при заряде |
Сопоставляется с другими аккумуляторами в АБ |
Ненормальная сульфатация. Короткое замыкание |
Термометр от 0 до 50°С или тепловизор |
0,5°С |
|
|
6 |
Пониженная плотность электролита |
1,2 г/см3 (С, СК) |
Ненормальная сульфатация. Короткое замыкание |
Ареометр типа АЭ или АОН |
1 |
|
|
7 |
Повышенная плотность электролита |
1,21 г/см3(С,СК} 1,245 г/см3 (СН) |
Ненормальные условия работы батареи |
Ареометр типа АЭ или АОН |
1 |
|
|
8 |
Повышенное внутреннее сопротивление одного из аккумуляторов |
Сопоставляется с другими аккумуляторами в АБ |
Ненормальная сульфатация. Присутствие Mr |
Вольтметр до 3 В и образцовое сопротивление |
0,05 |
|
|
9 |
Пониженное внутреннее сопротивление одного из аккумуляторов |
Сопоставляется с другими аккумуляторами в АБ |
Короткое замыкание |
Вольтметр до 3 В и образцовое сопротивление |
0,05 |
|
|
10 |
Пониженное напряжение заряженной АБ без нагрузки. |
2,15
N B (C, CK) |
Низкое напряжение. Наличие переполюсованных или КЗ элементов |
Вольтметр до 300 В |
0,5 |
|
|
11 |
Пониженная емкость аккумуляторной батареи |
Емкость АБ ниже паспортной на 20 % для АБ старше 10 лет и на 30 % для АБ старше 15 лет |
Недостаточная емкость |
Вольтметр-регистратор и устройство разряда АБ |
0,5 |
|
|
12 |
Примеси в доливочной воде |
ГОСТ 6709-72 Дистиллированная вода |
Ненормальные условия работы батареи |
Тесты для химического анализа воды |
|
|
|
7.1 |
Повышенное напряжение зарядного устройства АБ |
Паспортные данные АБ, местные инструкции |
Ненормальные условия работы зарядного устройства. |
Вольтметр |
0,5 |
|
|
7.2 |
Пониженное напряжение зарядного устройства АБ |
Паспортные данные АБ, и местные инструкции |
Ненормальные условия работы ВУ |
Вольтметр |
0,5 |
|
|
18 |
Пониженное сопротивление изоляции АБ |
Напр. АБ, В |
Rиз кОм |
Ненормальные условия работы батареи |
Вольтметр с Rвн больше 50 кОм |
0,5 |
|
24 |
15 |
|||||
|
60 |
30 |
|||||
|
110 |
50 |
|||||
|
220 |
100 |
|||||
4.2. Характеристики параметров ВУ и ЩПТ
Таблица 2
|
№ |
Характеристика |
Критерий |
Состояние |
Измерительный прибор |
Погр. |
|
1 |
Повышенная температура нагрева силовой линии |
2°С - относительно соседних участков |
Повышенное сопротивление |
Тепловизор или ИК термометр |
0,1°С |
|
2 |
Повышенная температура нагрева корпусов конденсаторов |
Сопоставляется с другими конденсаторами в параллельных ветвях |
Неисправен |
Тепловизор или ИК термометр |
0,1°С |
|
3 |
Повышенная температура нагрева корпусов тиристоров и диодов |
Сопоставляется с другими в параллельных ветвях |
Неисправен |
Тепловизор или ИК термометр |
0,1°С |
|
4 |
Пульсация напряжения зарядного тока ВУ |
Технические характеристики ВУ и АБ, 4 % - в общем случае |
Повышенная пульсация |
Осциллограф |
0,05 % |
5.1. Классификация неисправностей СПТ.
Неисправности аккумулятора:
- короткое замыкание между пластинами;
- сульфатация пластин;
- неисправность электролита;
- неисправность пластин;
- неисправность сепарации;
- переполюсовка;
- неисправность бака;
- неисправность уплотнения крышки (для аккумуляторов закрытых типов);
- неисправность уплотнения борн (для аккумуляторов закрытых типов);
- неисправность клапана избыточного давления;
- повышенное сопротивление контактов;
- пониженная емкость (снижает емкость батареи более чем на 2 % или ограничивает емкость батареи менее допустимой заводом-изготовителем).
Неисправности выпрямительного устройства и щита постоянного тока:
- напряжение заряда выше нормы;
- напряжение заряда ниже нормы;
- блокировка отключает зарядное устройство (не включается вентиляция);
- повышенная пульсация;
- неисправность устройства регулировки и стабилизации напряжения;
- неисправность контрольных приборов;
- неисправность коммутационной аппаратуры;
- повышенная температура контактных соединений;
- неисправность систем сигнализации.
Неисправности аккумуляторной батареи:
- ненормальные условия работы;
- низкое сопротивление изоляции;
- ненормальная температура помещения;
низкое напряжение (напряжение АБ в конце разряда менее предельно допустимого значения для данных шин постоянного тока);
- недостаточная емкость (емкость батареи менее допустимой заводом-изготовителем);
- повышенная температура контактных соединений.
Наличие данных неисправностей является достаточным условием для определения технического состояния устройства как неудовлетворительного.
5.2. Рекомендации по проведению серий измерений.
В каждой серии измерений напряжения аккумуляторов используется один прибор;
Начало новой серии измерений должно соответствовать выбранному временному интервалу;
Каждая серия измерений проводится в минимальные сроки равномерно без перерывов;
Собранные данные необходимо сразу обработать с целью выявления ошибок;
Значения напряжение аккумуляторов (Ui), выходящие из доверительного интервала, необходимо измерить повторно;
Доверительный интервал значений определяется исходя из дисперсии значений (δUi) и дисперсией приращений (δ∆Ui);
Проводя серию измерений плотности электролита, необходимо проводить повторные измерения на тех элементах, значение плотности которых имеет отклонение от нормы.
5.3. Алгоритм диагностирования СПТ.
1 этап - АБ подзаряжается от выпрямительного устройства.
1.1. Ознакомиться с технической документацией для данного типа оборудования. Проанализировать сведения, полученные из эксплуатационных журналов и от службы эксплуатации. Провести визуальный осмотр СПТ.
1.2. Проконтролировать соответствие уровня электролита техническим условиям. При необходимости дать указание службе эксплуатации откорректировать уровень электролита.
1.3. Подготовить приборы к измерениям. Выбрать диапазоны измерений и сопротивление нагрузки.
1.4. Измерить пульсацию напряжения на выходе ВУ (см. п. 5.4.9.).
1.5. Зафиксировать показания штатных приборов и температуру воздуха.
1.6. Измерить ток и напряжение подзаряда (IПЗ и UПЗ) АБ и сверить их с показаниями штатных приборов.
1.7. Измерить напряжение подзаряда Uпзi на каждом АК.
1.8. Измерить плотность электролита (ρi) у всех АК.
2 этап - ВУ отключено от АБ и от шин потребителей постоянного тока (холостой ход).
2.1. Отключить от батареи ВУ.
2.2. Зафиксировать показания штатных приборов и температуру воздуха.
2.3. Измерить напряжение холостого хода АБ Uxx и сверить его с показаниями штатных приборов.
2.4. Измерить сопротивление изоляции АБ Rиз, согласно п. 5.4.5.
2.5. Измерить на каждом аккумуляторе напряжение холостого хода Uxxi и проконтролировать параметр № 11 (элемент в покое и при разряде газирует).
2.6. Измерить температуру электролита (ti) у трех исправных и всех выявленных к настоящему моменту отстающих аккумуляторов.
3 этап (I вариант) - к АБ подключена испытательная нагрузка, АБ отключена от шин потребителей постоянного тока и ВУ, шины потребителей постоянного тока подключены к ВУ.
3.1. Подключить к АБ приборы для измерения напряжения и регистрации тока АБ с интервалом - 1 мин.
3.2. Подключить к АБ нагрузку, соответствующую току 5÷10 часового разряда через устройство, отключающее данную нагрузку от батареи при исчезновении питания выпрямительного устройства.
3.3. Измерить Up.i (напряжение разряда) на каждом аккумуляторе сразу после подключения нагрузки и далее с интервалом, выбранным из расчета 6÷7 измерений за предполагаемое время разряда.
3.4. Отключить нагрузку, если напряжение разряда Up.i < 1,8 В на любом аккумуляторе.
3.5. Измерить температуру электролита и всех нагруженных элементов цепи АБ.
3.6. Произвести визуальный контроль каждого аккумулятора.
3.7. Перед отключением нагрузки измерить напряжение на каждом аккумуляторе.
3.8. Зафиксировать показания штатных приборов.
3.9. Измерить сопротивление изоляции шин постоянного тока методом вольтметра согласно п. 5.4.5.
3 этап (II вариант) - к АБ подключена испытательная нагрузка и шины потребителей постоянного тока, АБ отключена от ВУ.
3.1. Подключить к АБ приборы для измерения напряжения и регистрации тока АБ с интервалом - 1 мин и начать регистрацию сразу с отключением ВУ от шин постоянного тока.
3.2. Подключить к АБ нагрузку, соответствующую току 5÷10 часового разряда через устройство, отключающее данную нагрузку от батареи при исчезновении питания выпрямительного устройства.
3.3. Измерить Up.i (напряжение разряда) на каждом аккумуляторе сразу после подключения нагрузки и далее с интервалом, выбранным из расчета 6÷7 измерений за предполагаемое время разряда.
3.4. Отключить нагрузку, если напряжение разряда Up.i < 1,8 В на любом аккумуляторе.
Измерить температуру электролита и всех нагруженных элементов цепи АБ.
3.6. Произвести визуальный контроль каждого аккумулятора.
3.7. Измерить перед отключением нагрузки напряжение на каждом аккумуляторе.
3.8. Зафиксировать показания штатных приборов.
3.9. Измерить сопротивление изоляции шин постоянного тока методом вольтметра согласно п. 5.4.5.
4 этап - от АБ отключена испытательная нагрузка и шины потребителей постоянного тока (холостой ход).
4.1. Отключить нагрузку.
4.2. Измерить на каждом аккумуляторе напряжение холостого хода Uxxi. Измерить температуру электролита (ti) у трех исправных и всех неисправных аккумуляторов.
4.3. Измерить напряжение холостого хода Uxx АБ.
4.4. Рассчитать внутреннее сопротивление каждого аккумулятора по формуле:
.
4.5. Рассчитать дисперсию и среднее значение для измеренных величин внутреннего сопротивления RBH.
4.6. Согласуясь с распределением значений внутреннего сопротивления по элементам задать минимальное и максимальное значение для внутреннего сопротивления (min RBH и max RBH).
4.7. Проверить с помощью компаса на короткое замыкание аккумуляторы с пониженным внутренним сопротивлением (RBH < min RBH).
4.8. Измерить плотность электролита (ρi) на всех элементах.
5 этап - АБ заряжается от выпрямительного устройства.
5.1. Подключить к батарее ВУ.
5.2. Зафиксировать показания штатных приборов.
5.3. Измерить ток и напряжение заряда аккумуляторной батареи lз и Uз.
5.4. Измерить ток и напряжение заряда каждой аккумуляторной батареи lзi и Uзi.
5.5. Измерить пульсацию напряжения ВУ (см. п. 5.4.9.).
5.6. Измерить напряжение выхода ВУ на АБ и напряжение входа АБ, если падение напряжения на линии окажется существенным (см. п. 5.4.7.) - локализовать участок линии с повышенным сопротивлением.
5.7. Измерить превышение температуры контактных соединений и элементов в составе ВУ и ЩПТ.
5.8. Оценить работу вентиляции выпрямительного устройства.
5.9. Проконтролировать наличие преждевременного газообразования.
5.10. При необходимости провести дополнительные измерения и проконтролировать дополнительные параметры.
5.11. Проконтролировать работу вентиляции в аккумуляторном помещении.
5.12. Провести осмотр дистиллятора.
5.4. Правила анализа и принятия решений по диагностической информации.
5.4.1. Состав диагностической информации:
- паспортные данные;
- данные о техническом состоянии АБ на начальный момент эксплуатации (акты о формовке батареи или о воде в эксплуатацию, сертификаты электролита);
- данные о текущем техническом состоянии с результатами измерений и обследований (эксплуатационные журналы, ремонтные ведомости, протоколы штатных испытаний);
- данные с результатами расчетов, оценок, предварительных прогнозов и заключений (данные и результаты предыдущих обследований, паспорт технического состояния).
5.4.2. По результатам испытаний определяется емкость АБ, отданная за время испытания. Рассчитывается емкость, которая осталась у АБ. Фактическая емкость рассчитывается как сумма отданной (измеренной) и оставшейся (рассчитанной) емкости.
Емкость АБ, отданная за время разряда τ, определяется как ∫Idt. Практически при интервале регистратора 1 мин. следует просуммировать значения тока за период τ и разделить сумму на 60.
Емкость, оставшаяся у АБ, рассчитывается исходя из времени, оставшегося до снижения напряжения одного из аккумуляторов до 1,8 В. Время до снижения напряжения аккумулятора до значения 1,8 В определяется экстраполяцией зависимости напряжения разряда от времени для конкретного аккумулятора. Так же экстраполяцией рассчитывается среднее значение тока АБ за оставшееся до разряда время.
В некоторых случаях необходимо учитывать нижнюю границу напряжения АБ, определяемую потребителями постоянного тока. Время до снижения напряжения АБ до нижней допустимой границы определяется экстраполяцией зависимости среднего напряжения АБ от времени разряда.
Если средняя температура электролита во время разряда будет отличаться от 20°С, то полученная фактическая емкость должна быть приведена к емкости при 20°С по формуле:
С20 = Сф (1 + а (t - 20)),
где С20 - емкость, приведенная к температуре 20°С, Ач;
Сф - емкость, фактически полученная при разряде, Ач;
а - температурный коэффициент, принимаемый по табл. 4;
t - средняя температура электролита при разряде, °С.
Таблица 4
|
Продолжительность разряда, ч |
Температурный коэффициент (а) при температурах |
|
|
от 5 до 20°С |
от 20 до 45°С |
|
|
10 |
0,0060 |
0,0026 |
|
3 |
0,0104 |
0,0050 |
|
1 |
0,0125 |
0,0078 |
|
0,5 |
0,0182 |
0,0095 |
|
0,25 |
0,0228 |
0,0166 |
5.4.3. Плотность электролита нормируется при температуре 20°С. Поэтому плотность электролита (ρ), измеренную при температуре, отличающейся от 20°С, необходимо приводить к плотности при 20°С по формуле:
ρ20 = ρt + 0,0007 (t - 20°С),
где ρ20 - плотность электролита при температуре 20°С, г/см3;
ρt - плотность электролита при температуре t, г/см3;
0,0007 - коэффициент изменения плотности электролита с изменением температуры на 1°С;
t - температура электролита °С.
Так же плотность электролита зависит от его уровня и при выкипании воды увеличивается.
5.4.4. Внутреннее сопротивление аккумуляторов в конце разряда измеряется согласно формуле:
RBHI = (Uxxi - Uk.p.i) / lk.p
где RBHI - внутреннее сопротивление аккумулятора, Ом;
Uk.p.i - напряжение i-го аккумулятора в конечный момент разряда;
Uxxi - напряжение i-го аккумулятора в режиме холостого хода сразу после снятия нагрузки с него;
lк.р - значение силы тока протекающего через аккумулятор в конечный момент разряда.
5.4.5. Сопротивление изоляции заряженной АБ рассчитывается с помощью вольтметра с внутренним сопротивлением не менее 50 кОм.
Расчет сопротивления изоляции Rиз (кОм) производится по формуле:
Rиз = RB (U / (U+ + U-) - l),
где RB - сопротивление вольтметра, кОм;
U - напряжение АБ, В;
U+ и U- - напряжение плюса и минуса АБ относительно земли, В.
По результатам этих же измерений могут быть определены сопротивления изоляции полюсов: Rиз+ и Rиз- (кОм).
Rиз+ = RB (U - (U+ + U-)) / U-; Rиз- = RB (U - (U+ + U-)) / U+.
5.4.6. Если затруднительно определить наличие примесей по косвенным признакам, то проводится анализ электролита на превышение концентрации содержания:
хлор - не более 0,0003 %;
железо - не более 0,008 %;
а дистиллированная вода проверяется на соответствие ГОСТ 6709-72.
5.4.7. Нормальное падение напряжения на линии рассчитывается по формуле:
![]()
где η - 0,01793 Ом для медных и η = 0,0294 Ом для алюминиевых линий,
S - сечение линии в мм2;
L - длина линии в метрах;
lЗ - ток в линии.
Фактическое падение напряжения на линии рассчитывается как разность напряжений выхода ВУ и входа АБ.
Если фактическое падение существенно больше нормального, то необходимо визуально и с помощью тепловизора или ИК-термометра обследовать линию с целью выявления дефектных участков.
5.4.8. Тепловизионный контроль оборудования. Измерению температуры подвергаются все элементы СПТ, доступные без демонтажа.
Силовая линия в системе постоянного тока не должна иметь контактных соединений и участков с повышенной более чем на 2°С температурой, обусловленной протеканием электрического тока в них.
В цепях управления необходимо выявлять контакты с повышенным сопротивлением.
При контроле температуры нагрева корпусов конденсаторов, измеренные значения температуры конденсаторов одинаковой мощности не должны отличаться между собой более чем в 1,2 раза.
Измеренные значения температуры тиристоров и диодов не должны отличаться между собой более чем на 30%. При тепловизионном контроле следует обращать внимание на равномерность нагрева тиристоров и диодов параллельных ветвей.
Не должна отличаться температура аналогичных шин и выводов.
Температура тепловыделяющих элементов не должна быть выше допустимой техническими характеристиками.
5.4.9. Пульсация напряжения на выходе ВУ измеряется три раза в режиме подзаряда АБ (ток близкий к 0) и в режиме заряда батареи (ток близкий к номинальному).
Пульсация считается в норме, если ее значение не превышает заводских норм для данного ВУ и требований, предъявляемых заводом-изготовителем аккумуляторов и другими потребителями.
Если в паспортных данных свинцово-кислотных аккумуляторов отсутствуют ограничения на величину пульсации, то за предельную величину следует принимать 4 % от значения среднего напряжения.
6.1. Оборудование.
Испытательная нагрузка
Тип - «тепловая пушка». Подключается к АБ для испытания ее в режиме разряда.
|
Рабочее напряжение спирали |
250 В |
|
Рабочее напряжение вентилятора |
-250 В |
|
Значения рассеиваемой мощности |
3÷12 кВт |
|
Диапазон рабочих температур |
-25ºС ... 50ºС |
Переносной компьютер
с интерфейсом, обеспечивающим связь с вольтметром (например, RS-232).
Емкости (шприцы)
для отбора проб и последующего лабораторного анализа
электролита и дистиллированной воды.
Блок автоматики,
|
отключающий нагрузку при отсутствии напряжения в сети |
~ 220 В |
|
Диапазон рабочих температур |
-25°С ... 50°С |
|
Максимальный ток нагрузки |
100 А |
Штатные измерительные приборы электроустановки
6.2. Средства и аппаратура, применяемые для контроля диагностических параметров, подлежащие метрологическому контролю.
Универсальный вольтметр
|
Используется для измерения напряжения АБ и аккумулятора |
|
|
Диапазон измерения постоянного напряжения |
0,1 В ... 300 В |
|
Предел измерения |
3В / 300 В |
|
Погрешность измерения |
±0,1 % |
|
Внутреннее сопротивление |
более 50 кОм |
|
Диапазон рабочих температур, влажность |
5-40°С, 0-80 % |
|
Возможность работы в режиме регистратора |
|
Встроенный накопитель данных или возможность подключения к ЭВМ по стандартному интерфейсу (RS-232).
Токовые клещи
|
Используются для измерения силы тока АБ |
|
|
Диапазон измеряемой силы постоянного тока |
40 А, 200 А |
|
Допустимая погрешность |
±2 % |
|
Разрешающая способность |
-0,01 А |
|
Диапазон рабочих температур, влажность |
5-40°С, 0-80 % |
Тепловизор или ИК-термометр
Используется для измерения температуры нагрева токопроводящих элементов СПТ
|
Диапазон измеряемых температур |
-5°С ... 100°С |
|
Погрешность измерений абсолютная |
±1°С |
|
Погрешность измерения |
0,12°С |
|
Диапазон рабочих температур |
5°С ... 50°С |
Осциллограф
Используется для измерения пульсации напряжения на выходе выпрямительного устройства
|
Количество каналов |
2 |
|
Частота |
50 МГц |
|
Диапазон рабочих температур, влажность |
5-40°С, 0-80 % |
Ареометр, ГОСТ 18481-81
Используется для измерения плотности электролита
|
Диапазон измеряемой плотности |
1,10 ... 1,30 г/см3 |
|
Цена деления |
0,005 г/см3 |
Термометр
Используется для измерения температуры электролита
|
Диапазон измеряемых температур |
5°С ... 50°С |
|
Погрешность измерений абсолютная |
±1°С |
|
Погрешность измерения |
1 % |
Это может быть любой контактный термометр (спиртовой, термопарный, терморезисторный и т.п.)
Компас
Любой компас с пластиковым корпусом
Образцовый резистор
Тип - шунт переносной измерительный 75 шп.
Используется для измерения падения на нем напряжения АБ. Включается последовательно с испытательной нагрузкой
|
Предел измерений |
до 150 А |
|
Падение напряжения |
-75 мВ |
|
Класс точности |
-0,2 |
7.1. Технические требования по выполнению операций диагностирования.
При выполнении операций диагностирования необходимо соблюдение всех требований и указаний нижеперечисленных документов:
- Правила технической эксплуатации электроустановок потребителей, утвержденные приказом Минэнерго России от 13.01.2003 г. № 6;
- Правила устройства электроустановок, 7-е изд. - М.: Главгосэнергонадзор России, 2002;
- Положение о системе технического диагностирования оборудования и сооружений энергохозяйства ОАО «Газпром» СТО РД Газпром 39-1.10-083-2003. - М.: ОАО «Газпром», 2004;
- Объемы и нормы испытаний электрооборудования;
- РД 34.45-51.300-97, 6-е изд. - М: Изд-во НЦ ЭНАС, 2001;
- Межотраслевые правила по охране труда при эксплуатации электроустановок. ПОТ Р М-016-2001, РД 153-34.0-03.150-00. - М.: Изд-во ЭНАС, 2001;
- ГОСТ 26656-85. Техническая диагностика. Контролепригодность. Общие требования;
- ГОСТ 27518-87. Диагностирование изделий. Общие требования;
- ГОСТ 20911-89. Техническая диагностика. Термины и определения;
- Правила технической эксплуатации электроустановок потребителей;
- ГОСТ 26881-86 Аккумуляторы свинцовые стационарные;
- ГОСТ Р МЭК 60896-2-99 Свинцово-кислотные стационарные батареи. Общие требования и методы испытаний. Закрытые типы;
- ГОСТ Р МЭК 896-1-95 Свинцово-кислотные стационарные батареи. Общие требования и методы испытаний. Открытые типы.
7.2. Режимы работы СПТ и потребителей во время диагностирования.
7.2.1. Потребители диагностируемой СПТ подключены к другой секции шин с обеспеченным бесперебойным питанием.
Защищены от скачков напряжения, частично обеспечены бесперебойным питанием

7.2.2. Потребители диагностируемой СПТ во время разряда, подключены к ВУ.
Необеспечены бесперебойным питанием, незащищены от скачков напряжения.

7.2.3. Потребители диагностируемой СПТ во время разряда подключены к АБ параллельно с испытательной нагрузкой.
Защищены от скачков напряжения, частично обеспечены бесперебойным питанием.

7.2.4. Потребители диагностируемой СПТ находятся в режиме останова.

7.3. Требования к безопасности процессов диагностирования и другие требования в соответствии со спецификой эксплуатации СПТ.
7.3.1. Требования к безопасности процессов диагностирования.
Работы должны проводиться в соответствии с действующими требованиями «Межотраслевых правил по охране труда (правил безопасности) при эксплуатации электроустановок» и «Правил технической эксплуатации электроустановок потребителей», в частности:
- пункты раздела 4.12. Аккумуляторные батареи (правил безопасности),
- пункты главы 2.10. Аккумуляторные установки (правил эксплуатации).
Приточно-вытяжная вентиляция в аккумуляторных помещениях должна включаться перед началом заряда и отключаться не ранее чем через 1,5 ч после его окончания.
Не допускается курение в аккумуляторном помещении, вход в него с огнем, пользование электронагревательными приборами, аппаратами и инструментами, которые могут дать искру, за исключением случаев, указанных в п. 4.11 (правил безопасности).
7.3.2. Порядок организации работ.
При организации работ необходимо соблюдать требования действующих «Межотраслевых правил по охране труда (правил безопасности) при эксплуатации электроустановок», в частности, пункты главы 1. (Общие положения), а так же пункты главы 2. (Организационные мероприятия, обеспечивающие безопасность работ) и главы 12. (Организация работ командированного персонала).
Командированным персоналом работы в действующих электроустановках проводятся по нарядам и распоряжениям.
Не допускается самовольное проведение работ, а также расширение рабочих мест, определенных нарядом или распоряжением.
Оперативные переключения, подключения и отключения испытательной нагрузки в электрическую цепь системы постоянного тока должен выполнять оперативный или оперативно-ремонтный персонал, допущенный распорядительным документом руководителя организации. Для допускающих по наряду-допуску и распоряжению наличие допуска на право выполнения оперативных переключений обязательно.
7.3.3. Требования к кадровому составу и техническому оснащению.
Профессиональная подготовка персонала, повышение его квалификации, проверка знаний и инструктажи проводятся в соответствии с требованиями государственных и отраслевых нормативных правовых актов по организации охраны труда и безопасной работы персонала.
Проверка состояния здоровья работника проводится до приема его на работу, а также периодически в порядке, предусмотренном Минздравом России.
Диагностическая организация, должна иметь соответствующую лицензию Госэнергонадзора Минэнерго России.
Специалисты по техническому диагностированию должны быть аттестованы по знаниям действующих норм и правил безопасности при работе в электроустановках и иметь необходимый квалификационный уровень.
Диагностическая организация должна обеспечить своих специалистов необходимой нормативно-технической документацией, техническими средствами контроля, спецодеждой.
Аппаратура и средства, применяемые для контроля диагностических параметров, должны позволять надежно выявлять дефекты и быть своевременно поверены.
8.1. Регистрация данных и оформление результатов. 8.1.1. Первый этап диагностирования.
Полученные данные и предварительные результаты передаются в службу эксплуатации в табличном виде.
Таблица 1
|
ОБЪЕКТ: КС-4 24В 7OPzS-490 12 шт. |
|||||||||||||
|
Протокол измерений |
|||||||||||||
|
Режим |
Подзаряд |
ХХ1 |
Разряд |
ХХ2 |
Заряд |
||||||||
|
|
|
|
|
|
|
|
|||||||
|
t1 |
|
|
|
|
|
|
|
|
|
|
|
|
|
|
t2 |
|
|
|
|
|
|
|
|
|
|
|
|
|
|
Т, ºС |
|
|
|
|
|
|
|
|
|
|
|
|
|
|
U1, В |
|
Пл. электр. г/смэ |
|
|
|
|
|
|
|
|
|
Пл. электр. г/см3 |
|
|
U2, B |
|
|
|
|
|
|
|
|
|
|
|
||
|
l, А |
|
|
|
|
|
|
|
|
|
|
|
||
|
1 |
|
|
|
|
|
|
|
|
|
|
|
|
|
|
2 |
|
|
|
|
|
|
|
|
|
|
|
|
|
|
3 |
|
|
|
|
|
|
|
|
|
|
|
|
|
|
4 |
|
|
|
|
|
|
|
|
|
|
|
|
|
|
5 |
|
|
|
|
|
|
|
|
|
|
|
|
|
|
6 |
|
|
|
|
|
|
|
|
|
|
|
|
|
|
7 |
|
|
|
|
|
|
|
|
|
|
|
|
|
|
8 |
|
|
|
|
|
|
|
|
|
|
|
|
|
|
9 |
|
|
|
|
|
|
|
|
|
|
|
|
|
|
10 |
|
|
|
|
|
|
|
|
|
|
|
|
|
|
11 |
|
|
|
|
|
|
|
|
|
|
|
|
|
|
12 |
|
|
|
|
|
|
|
|
|
|
|
|
|
|
Сродное значение |
|
|
|
|
|
|
|
|
|
|
|
|
|
|
|
1 |
Сопротивление изоляции, кОм |
|
||||||||||
|
2 |
Батарея под нагрузкой находилась, минут |
|
|||||||||||
|
3 |
Отобранная емкость составляет, Ач |
|
|||||||||||
|
4 |
Состояние вентиляции |
|
|||||||||||
Дата обследования: 03.11.2003 - 05.11.2003
Произведено бригадой ООО «Газпромэнергодиагностика» в составе:
- Иванов Н.П. - бригадир, ведущий инженер
- Сидоров В.М. - член бригады, инженер
Таблица 2
ОБЪЕКТ: КС-4 220 В 7OPzS-490 108 шт.
Предварительное заключение по результатам обследования системы постоянного тока
|
05 ноября 2003г. |
Гавриловское УМГ ООО «Мострансгаз» |
Обследование выполнялось с 03.11.03 по 05.02.03 специалистами ООО «Газпромэнергодиагностика» по договору № ХХ-43-03 от 25.04.2003 и включало в себя:
- измерение электрических характеристик всей системы постоянного тока и каждого аккумулятора в отдельности в пяти режимах работы;
- измерение физических характеристик электролита;
- визуальное обследование каждого аккумулятора, щита постоянного тока и выпрямительного устройства с учетом результатов измерений;
- контроль показаний штатных приборов и состояния вентиляции;
- контроль перегрева контактных соединений;
- оценка уровня пульсации на выходе выпрямительного устройства;
- разработку рекомендаций по ремонту.
Результаты обследования:
|
1 |
Батарея под нагрузкой находилась, минут |
|
|
2 |
Отобранная емкость составляет, Ач |
|
|
3 |
Минимальное напряжение одного из аккумуляторов в конце разряда, В |
|
|
4 |
Напряжение аккумуляторной батареи в конце разряда, В |
|
|
5 |
Падение напряжения на батарее составило, В |
|
|
6 |
Полная расчетная емкость батареи, Ач |
|
|
7 |
Ограничивающим элементом батареи является аккумулятор № |
|
|
8 |
Отстающим элементом батареи является аккумулятор № |
|
|
9 |
Температура среды, град. С |
|
|
10 |
Состояние вентиляции - |
|
|
11 |
Состояние выпрямительного устройства - |
|
|
12 |
Состояние щита постоянного тока - |
|
Рекомендации по ремонту и эксплуатации:
|
1 |
|
|
2 |
|
|
3 |
|
От ООО «Газпромэнергодиагностика»:
Ведущий инженер Иванов Н.П.
Инженер Сидоров В.М.
8.1.2. Второй этап диагностирования.
Составляется паспорт технического состояния СПТ утвержденного образца, включающий:
- полные результаты обследования СПТ;
- заводские данные;
- эксплуатационные данные;
- информацию о бригаде, проводившей обследование;
- информацию об используемых измерительных приборах.
Осуществляется ввод необходимой информации в базу данных.
8.2. Указания и рекомендации по выдаче заключения.
8.2.1. В заключении необходимо:
а. Отразить неисправности:
- аккумуляторов;
- батареи;
- выпрямительного устройства;
- щита постоянного тока;
- системы вентиляции;
- помещения аккумуляторной.
б. Указать объем ремонтных работ.
в. Рекомендовать, при необходимости, изменения условий эксплуатации.
г. Представить прогноз технического состояния СПТ и отдельных ее составляющих.
8.2.2. Доливку электролита в аккумулятор можно рекомендовать, если установлено, что снижение плотности электролита не вызвано сульфатацией пластин или КЗ. Если в аккумуляторе обнаружено КЗ, то его надо устранить и провести уравнительный заряд. После этого плотность электролита обычно приходит в норму.
8.2.3. Для устранения начальной стадии сульфатации и выравнивания заряженности всех элементов батареи рекомендуется провести уравнительный заряд (перезаряд). Он может быть с предварительным разрядом и без него.
1. Разряд необходимо проводить при десятичасовом режиме до напряжения 1,8 В на элемент.
2. Аккумулятор заряжать током десятичасового режима. После этого отключить его от зарядного устройства и выдержать 1 ч.
3. Зарядить аккумулятор током десятичасового режима до бурного газовыделения. После этого отключить его от зарядного устройства и выдержать 1 ч.
4. Повторять операции п. 2, 3 до момента, когда при включении на заряд все элементы начинают бурно газировать.
8.2.4. Откачку придонного шлама (из аккумулятора открытого типа) нужно рекомендовать, если расстояние между его поверхностью и
электродами менее
1. При откачке шлама одновременно удаляется и электролит. Чтобы заряженные отрицательные электроды на воздухе не разогревались и не потеряли емкости при откачке, необходимо предварительно заготовить потребное количество электролита и залить его в АК сразу после откачки.
2.
Откачку рекомендовать производить с помощью вакуум-насоса
или воздуходувки. Шлам откачивать в бутыль, через пробку, в которую
пропустить две стеклянные трубки диаметром 12÷1
8.2.5. Исправлять покоробленные электроды можно рекомендовать, если они опасны для соседних (возможность КЗ), в противном случае - с выпуклой стороны покоробленного электрода проложить дополнительный сепаратор и рекомендовать заменить его при очередном ремонте АБ. Исправлению подлежат электроды незасульфатированные и полностью заряженные, так как в этом состоянии они легче поддаются правке.
1. Вырезанный покоробленный электрод из аккумулятора обмыть водой и поместить между гладкими досками твердой породы.
2. Сдавливать электрод, увеличивая давление по мере выправления.
3. Запрещается правка электродов ударами во избежание разрушения активного слоя.
8.2.6. Рекомендовать замену аккумулятора закрытого типа в случае короткого замыкания, повреждений бака.
8.2.7. Рекомендовать замену отдельных электродов аккумулятора открытого типа только одинаковой степени износа.
8.2.8. Древовидные наросты губчатого свинца, образующиеся в аккумуляторах, работающих в режиме постоянного подзаряда, рекомендовать счищать полоской стекла.
В тексте используются следующие термины и сокращения:
Ненормальная сульфатация - образование крупных кристаллов сульфата свинца на пластинах (электродах), приводящая к закупорке пор активной массы пластин.
Сепараторы - прокладки для предотвращения соприкосновения пластин разной полярности.
Шлам - частицы активной массы положительных пластин, вырванные пузырьками газа и осевшие на дне бака.
Переполюсованный элемент - элемент с обратной полярностью.
Отстающий элемент - элемент, имеющий напряжение или заряд ниже нормы.
Ограничивающий элемент - элемент первым достигающий напряжения 1,8 В при разряде.
Ток десятичасового разряда (l10) - максимальный ток аккумуляторной батареи, который она обеспечивает на постоянной нагрузке в течение десяти часов (поддерживая напряжение в допусках определяемых ее техническими документами).
Емкость десятичасового разряда (С10) - произведение тока десятичасового разряда (l10) и продолжительности разряда.
Аккумулятор типа С - стационарный аккумулятор открытого типа. Могут иметь прозрачные стеклянные баки. Аккумуляторы рассчитаны на разряд от 3 до 10 часов.
Аккумулятор типа СК - также стационарный, но рассчитан и на короткий разряд от 1 до 2 часов.
Аккумулятор типа СН - аккумулятор с намазанными электродами производства Югославии.
АБ - аккумуляторная батарея.
ВУ - выпрямительное устройство.
ЩПТ - щит постоянного тока.
СПТ - система постоянного тока, включающая в себя АБ, ЩПТ и ВУ.
КЗ - короткое замыкание.
КС - контактное соединение.
БКС - болтовое контактное соединение.
1. РД 34.45-51.300-97 Объемы и нормы испытаний электрооборудования. - М.: НЦ «ИНАС», 1998.
2. Правила технической эксплуатации электроустановок потребителей и Правила техники безопасности при эксплуатации электроустановок потребителей. - М.: Энергоатомиздат, 1986.
3. Правила устройства электроустановок. - М.: Главгосэнергонадзор России, 1998.
4. Колпачков В.И., Ящура А.И. Производственная эксплуатация, техническое обслуживание и ремонт энергетического оборудования. Справочник. - М.: Энергосервис, 1999.
5. Коган Ф.Л. Сборник методических пособий по контролю состояния электрооборудования. - М.: Энергосервис, 1998.
6. ГОСТ 6709-72 Дистиллированная вода.
7. ГОСТ 667-53 Кислота серная аккумуляторная.
8. Устинов П.И. Обслуживание стационарных свинцово-кислотных аккумуляторов. - М.: Энергия, 1974.
9. Устинов П.И, Монтаж свинцово-кислотных аккумуляторов. - М.: Энергия, 1973.
10. РД 34.50.502-91 Инструкция по эксплуатации стационарных свинцово-кислотных аккумуляторных батарей.
11. ГОСТ 896-1-95 Свинцово-кислотные стационарные батареи. Открытые типы.
12. ГОСТ 60896-2-99 Свинцово-кислотные стационарные батареи. Закрытые типы.
13. ГОСТ 26656-85 Техническая диагностика. Контролепригодность. Общие требования.
14. ГОСТ 27518-87 Диагностирование изделий. Общие требования.
15. ГОСТ 20911-89 Техническая диагностика. Термины и определения.
Таблица 3
|
№ |
Видимые признаки |
Возможные причины |
Характеристика |
Метод устранения |
|
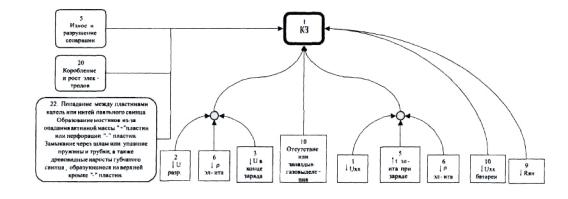
1 |
Активная масса не заполняет ячейки «-» пластин полностью |
4.1. Большой срок Службы пластин. 7.2. Низкое зарядное напряжение. 7.3. Срабатывает блокировка. 15. Чрезмерные токи разряда или заряда. 16. Низкая температура электролита. 13. Высокое напряжение подзаряда. 4.1. Старение пластин. 5.1 Старение сепарации |
Неисправность пластин. Неисправность сепарации |
Устранить причину |
|
2 |
Коробление и рост пластин |
15. Чрезмерные токи разряда или заряда. 14. Систематические глубокие разряды. 2. Ненормальная сульфатация. 1. Короткие замыкания. 19. Неполное покрытие электродов электролитом. 3.4. Примеси в электролите азота или уксуса |
Неисправность пластин |
Выправить «-» электрод, который должен быть предварительно заряжен ;провести анализ электролита и если он окажется загрязненным - сменить его. Устранить причины |
|
3 |
Электролит фиолетового цвета |
3.3. Примеси Мг в электролите |
Неисправность электролита |
А - разрядить, электролит - заменить. Если надо - повторить |
|
4 |
Цвет электролита от светло до темно- коричневого |
3.4. Примеси в электролите азота или уксуса |
Выводятся сами |
|
|
5 |
Белые пятна на «+» пластинах, поверхность песчанистая. «+» пластины светло-коричневого, а при глубокой сульфатации - оранжево-коричневого цвета |
14. Глубокие разряды. 11. Систематические недозаряды. 9. Бездействие батареи. 19. Неполное покрытие электродов электролитом. 16. Низкий уровень электролита. |
Ненормальная сульфатация |
1. После нормального заряда разрядить батарею до напряжения 1,8 В на элемент и оставить в покое на 12 ч. Затем заряжать током |
|
9 |
Преждевременное газообразование при заряде |
8. Доливка элементов кислотой вместо воды. 17. Слишком высокая температура в аккумуляторном помещении. 10. Недостаточный первый заряд |
|
0,1/10 до газообразования и выключить на 15 мин. После заряжать током 0,1/зар.max до наступления интенсивного газообразования. 2. При запущенной сульфатации проводить указанный режим в разбавленном до 1,03 г/см3 электролите. Заряд ведется до установившейся плотности электролита и сильного равномерного газовыделения. После этого доводят плотность электролита до 1,21 г/см3. 3. Если не помогло - заменить электроды |
|
6 |
Большой слой светло-серого шлама |
1. Ненормальная сульфатация. 3.2. Неисправность электролита |
Ненормальная сульфатация. Неисправность электролита |
Найти и устранить причину сульфатации. Откачать шлам. Проверить электролит и при необходимости заменить |
|
14 |
Отбеленные сепараторы |
3.3. Примеси Mr в электролите |
Неисправность электролита |
Сменить электролит и сепараторы |
|
7 |
Большой слой коричневого шлама |
4.1. Старение пластин. 13. Высокое напряжение подзаряда. 12. Излишние систематические заряды и перезаряды |
Неисправность пластин |
По возможности устранить причину.
Откачать шлам если от его поверхности до пластин менее |
|
10 |
Отсутствие или запаздывание газовыделения |
20. Коробление и рост пластин. 5. Износ и разрушение сепарации. 22. Попадание между пластинами капель или нитей паяльного свинца. Образование мостиков из-за опадания активной массы «+» пласт, или перфорации «-» пласт. Замык. через шлам или упавшие пружины и трубки, а также древовидные наросты губчатого свинца, обр-еся на верхней кромке «-»пласт |
Короткие замыкания |
При помощи компаса найти и устранить короткое замыкание. Сменить неисправные сепараторы. Ликвидировать замыкание через шлам. Соскоблить полоской стекла древовидные наросты |
|
11 |
Элемент в покое и при разряде газирует |
3.1. Загрязнение электролита примесями Си, Fe, мышьяка, висмута. 18. Низкое сопротивление изоляции. 1. Короткие замыкания. 17. Ненормально высокая температура помещения. 7. Ненормально высокая плотность электролита |
Неисправность электролита. Короткие замыкания. Ненормальные условия работы батареи |
Устранить причину |
|
15 |
Электролит мутный, коричневого цвета |
7.1. Высокое напряжение заряда |
Ненормальные условия работы ВУ |
Не допускать длительных перезарядов |
|
8 |
Чередуются слои коричневого и светло-серого шлама |
8. Доливка воды загрязненной С1 |
Неисправность электролита |
Устранить причину |
|
16 |
Разъеденные ушки электрод. На границе с воздухом |
3.2. Присутствие С1 в электролите или в помещении |
Проветрить аккумуляторное помещение, проверить электролит на С1 |
|
|
17 |
Разъеденные нижние части «+» пластин |
7.2. Пониженное напр. заряда. 7.3. Срабатывает блокировка. Электролит без бурного газовыд не перемешивается и расслаивается |
Ненормальные работа зарядного устройства |
Проверить процесс заряда |
|
12 |
Цвет сепарации близок к черному |
5.1. Старение сепарации. 8. Долив кислоты вместо воды |
Неисправности сепарации |
Заменить сепарацию новой. Устранить причину |
|
13 |
Отвал-ся кусочки сепарации |
5.2. Неправильное выщелачивание |
Заменить сепарацию новой |
|
|
18 |
Запах хлора в помещении |
3.2. Присутствие С1 в электролите или в помещении |
Ненормальные условия работы АБ |
Устранить причину |
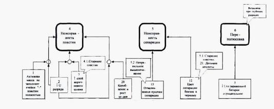
Состояние аккумулятора - 1. Короткое замыкание

1.
Откачать донный шлам, если расстояние от его поверхности до электродов менее
2. Просветить аккумулятор (стеклянный бак) переносной лампой для отыскания мест соприкосновения пластин.
3. Найти короткозамкнутые пластины с помощью компаса. Компас в пластмассовом корпусе перемещать вдоль соединительных полос над ушками электродов сначала одной, а потом другой полярности. Резкое изменение положения стрелки с обоих сторон электрода указывает на наличие КЗ с этим электродом.
4. В аккумуляторах, работающих при постоянном подзаряде с повышенным напряжением, на отрицательных электродах могут образовываться древовидные наросты губчатого свинца. Их следует соскаблить полоской стекла.
5. В аккумуляторе со свинцовой обкладкой деревянных баков замыкание через донный шлам можно определить, измерив напряжение между электродами и обкладкой. При наличие КЗ оно будет нулевым. У исправного А, находящегося в покое, напряжение «плюс-обкладка» близко к 1,3 В, а «минус-обкладка» - к 0,7 В.
6. Покоробленные электроды проложить новыми сепараторами. Коробление может быть вызвано:
- присутствием азота или уксуса в электролите, которые усиливают окисление глубинных слоев положительных электродов;
- повышенными токовыми нагрузками (причины № 14 и 15).
Состояние аккумулятора - 2. Сульфатация

1. Устранить причины или последствия по пунктам № 1, 17 и 19.
2. Проверить соответствие режимов зарядного устройства паспортным данным на аккумуляторную батарею (причины № 11 и № 17).
3. При легкой сульфатации всю АБ разрядить до 1,8 В на элемент и оставить в покое на 10-12 ч. Затем зарядить током I = 0,1 С10 до газообразования и выключить на 15 мин, заряжать током I = 0,1 от максимального зарядного до наступления интенсивного газообразования. Признак окончания сульфатации - ρ = 1,21 г/см3, если плотность поднимется и выше (вместо воды долили кислоту) по окончании заряда привести ρ в норму.
4. В случае глубокой сульфатации проводить указанный режим заряда в разбавленном электролите. Для этого электролит разбавить водой до плотности ρ = 1,03-1,05 г/см3, зарядить и перезарядить, как указано выше.
Эффективность режима определяется по систематическому росту плотности электролита.
Заряжать до получения установившейся плотности электролита (обычно меньше 1,21 г/см3) и сильного равномерного газовыделения.
После чего довести плотность электролита до 1,21 г/см3.
Если работоспособность после этого не восстановилась - заменить электроды.
Состояние аккумулятора - 3. Неисправность электролита

1. Для удаления марганца разряжают, электролит заменяют свежим и заряжают. В случае неблагоприятного анализа - повторить.
2. Для удаления железа аккумулятор разряжают, сливают электролит, промывают, заполняют электролитом ρ = 1,04-1,06 г/см3 и заряжают до получения неизменных значений U и ρ электролита. Электролит выливается, заменяется новым электролитом
3. ρ = 1,20 г/см3 и заряжают до U - 1,8 В. При необходимости - повторить.
4. Медь не выводится. Меняют пластины.
5. Азот попадает в электролит в виде амиака, вызывает повышенный саморазряд. Сам выводится.
6. Хлор выводится после 3.4 циклов заряда и разряда сам.
|
Состояние аккумулятора |
- 4. Неисправность пластин; |
|
|
- 5. Неисправность сепарации; |
|
|
- 6. Переполюсовка |

1. Неисправную сепарацию заменить новой.
2. Если в аккумуляторе есть неисправные пластины, то их нужно заменить. Причем в один аккумулятор могут быть одновременно поставлены пластины одной полярности только одинаковой степени износа.
3. Переполюсованный элемент разряжают, а затем заряжают небольшим током в правильном направлении до достижения постоянного значения плотности электролита. Разрядить током 10-ти часового режима и повторно зарядить (повторять пока напряжение не достигнет неизменного в течение 2 часов значения 2,5-2,7 В, а плотность электролита значения 1,20-1,21 г/см3).
Схема 3
Определение технического состояния аккумуляторов типа С и СК

Определение состояния зарядного устройства

1. Проверить соответствие настройки автоматики режимам заряда батареи.
2. Если заряд прекращается из-за срабатывания блокировки, проверить исправность системы вентиляции аккумуляторного помещения.
Определение состояния батареи

1. Устранить причины но пунктам № 7, 14, 16, 17, 18 , а так же устранить причины примесей в доливочной воде и присутствия хлора в помещении.
2. Нормально, если через 10 лет эксплуатации емкость батареи снизится до 80 % от номинала, а через 15 лет-до 70%.
3. Напряжение батареи должно соответствовать паспорту.