ВСЕСОЮЗНЫЙ НАУЧНО-ИССЛЕДОВАТЕЛЬСКИЙ ИНСТИТУТ
ТРАНСПОРТНОГО СТРОИТЕЛЬСТВА
РЕКОМЕНДАЦИИ
ПО СОВЕРШЕНСТВОВАНИЮ КОНСТРУКЦИЙ И НОРМ
ПРОЕКТИРОВАНИЯ ИСКУССТВЕННЫХ СООРУЖЕНИЙ,
ВОЗВОДИМЫХ НА ПУЧИНИСТЫХ ГРУНТАХ С УЧЕТОМ
ПРИРОДНЫХ УСЛОВИЙ БАМа
Москва 1981
Одобрены Главным техническим управлением
Содержание
Настоящие Рекомендации составлены в дополнение и развитие общих требований СН-200-62, ВСН-187-76, СНиП II-18-76 и СНиП II-15-74, регламентирующих проектирование сооружений на пучинистых грунтах применительно к водопропускным искусственным сооружениям.
С этой целью были выявлены возможные экстремальные сочетания факторов, определяющие расчетные случаи работы фундаментов мостов и труб, и для этих случаев конкретизированы методы определения основных расчетных параметров, приведенных в СНиП II-18-76 (п. 3.33 и приложение 4. п.п. 1-2).
Рекомендации разработаны на основе обобщения опыта строительства искусственных сооружений в Северных и Восточных районах страны, в том числе на трассе БАМа и специальных исследований процесса морозного пучения грунтов и его воздействия на фундаменты искусственных сооружений.
Основные положения настоящих Рекомендаций по расчету фундаментов искусственных сооружений на выпучивание применительно к условиям трассы БАМа проверены в практике проектирования и строительства.
Рекомендации разработали: канд. техн. наук А.А. Опарин, инженеры В.А. Миронов, Г.П. Минайлов (Тындинская мерзлотная станция), канд. техн. наук Ю.В. Дмитриев, инж. Б.Н. Смышляев (ХабИИЖТ), д-р техн. наук, проф. Н.А. Перетрухин, канд. техн. наук Ю.Д. Дубнов (ЦИИС) - составление основного текста Рекомендаций; инженеры В.Я. Кулага, Т.И. Соболев, канд. техн. наук Ю.Г. Чернышев (СибЦНИИС); - составление приложения 2; кандидаты техн. наук Р.В. Подвальный, А.М. Потапов (СибЦНИИС) - участие в составлении п. 2,5 основного текста Рекомендаций; д-р геол.–минерал. наук А.М. Пчелинцев, инж. И.Г. Яркин (НИИОСП им. М.Н. Герсеванова) - составление приложения 3; канд. техн. наук В.И. Пусков, инж. Г.Н. Полянкин (НИИЖТ) - участке в составления основного текста Рекомендаций и составление приложения 4;- инж. Б.В. Уткин (СоюздорНИИ) составление приложения 1; инж. А.А. Топеха (ХабИИЖТ) - участие в составлении п.п. 3.1, 4.5 и 4.6 основного текста Рекомендаций.
Замечания и предложения направлять по адресу: Москва, 129329, Кольская, 1, - ЦНИИС.
Зам. Директора института Н.Б. Соколов
Директор Тындинской перелетной станции Г.П. Минайлов
1.1. Выполнение требований расчетного и конструктивного характера изложенных в настоящих Рекомендациях, способствует обеспечению требуемой степени устойчивости фундаментов искусственных сооружений при действии на них сил пучения и повышению эффективности использования прочностных свойств их материала и грунтов оснований.
1.2. Основной способ предотвращения выпучивания фундаментов искусственных сооружений - конструктивный, заключающийся в том, что их конструкции должны сами без каких-либо дополнительных мер быть устойчивыми при пучении грунтов основания.
Применение специальных противопучинных мероприятий (п.п. 5.1-5.5) следует обосновывать технико-экономическими расчетами.
1.3. Расчет фундаментов мостов и труб на действие сил морозного пучения следует производить во всех случаях, за исключением:
а) фундаментов промежуточных опор, расположенных в пределах непромерзающего до дна водотока;
б) фундаментов звеньев средней части труб;
в) фундаментов всех типов, если слой сезонного промерзания-оттаивания состоит из крупного песка, и крупнообломочных грунтов с содержанием пылеватого или глинистого заполнителя (не более 10%)
г) фундаментов мелкого заложения с анкерной плитой и всех звеньев бесфундаментных труб, если слой сезонного промерзания-оттаивания состоит из крупного песка, а также крупнообломочных грунтов с содержанием пылеватого или глинистого заполнителя не более 30% при условии применения мероприятий, исключающих возможность размыва этих грунтов.
Примечания:
1. Вышеуказанные грунты, а также скальные и полускальные при данных типах фундаментов принимаются за непучинистые, все остальные виды грунтов - за пучинистые.
2. Если слой сезонного промерзания-оттаивания около обсыпных устоев достигает основания конуса насыпи, состоящего из пучинистых грунтов, то расчет на действие сил пучения в этом случае обязателен.
1.4. Расчет на действие сил пучения производится как для законченного сооружения при стабилизированном состоянии его основания (включая температурное состояние), так и для условий незавершенного строительства и нестабилизированного температурного состояния основания.
Если в этих расчетах определяющими окажутся случаи незавершенного строительства или нестабилизированного состояния основания, для обеспечения устойчивости фундаментов следует применять временные противопучинные мероприятия (п.п. 5.3-5.4).
1.5. Во всех случаях проектные решения по выбору типов фундаментов и обеспечении устойчивости должны быть обоснованы технико-экономическим расчетом путем сравнения возможных вариантов.
2.1. Нормативные глубины сезонного оттаивания Ннт или промерзания Нмн грунтов в районе мостового перехода или трубы определяются согласно СНиП II-18-76 при полном водонасыщении этих грунтов и зависимости от их вида с учетом изменения поверхностных условий в процессе строительства (устройство подсыпки, нарушение мохорастительного покрова, каменная наброска или мощение и т.д.).
2.2. Расчетные значения глубин сезонного протаивания Нт и промерзания Нм грунта по контакту с фундаментами мостов и труб определяются по формулам:
для мостов Нт = mтmфНтн; (1)
Нм=mмНнм (2)
для труб Hтх=mTmфmх,HHT, (3)
Нмх=mмmxНмн (4)
2.3. Коэффициенты теплового влияния фундаментов mт и mм принимаются по табл. 1
|
Тип опор и фундаментов |
Коэффициент теплового влияния фундаментов |
|
|
mТ |
mМ |
|
|
Промежуточные массивные опоры с фундаментами мелкого заложения или со сварными фундаментами и ростверком, заглубленным в грунт при ширине опор, м: |
|
|
|
до 4 |
1,3 |
1,2 |
|
более 4 |
1,5 |
1,3 |
|
Промежуточные столбчатые и свайные опоры, опоры рамно-стоечного типа с фундаментами мелкого заложения |
1,2 |
1,1 |
|
Обсыпные устои всех типов |
1,0 |
1,0 |
|
Трубы с массивными фундаментами или ростверками |
1,3 |
1,2 |
|
Бесфундаментные трубы |
1,1 |
1,1 |
2.4. Коэффициент mф, учитывающей влияние инфильтрации в грунт влаги, принимается:
для мелких и пылеватых песков mф = 1,2;
для супесей и заторфованных грунтов mф = 1,1;
для остальных видов грунтов mф = 1,0.
Для крупнообломочных грунтов коэффициент mф принимается по виду заполнителя.
2.5. Коэффициент mх, учитывающий влияние насыпи, принимается:
для оголовков и концевых участков трубы mх = 1;
для средней части трубы значения mх определяются теплотехническими расчетами, а при отсутствии таких расчетов mх следует определять по табл. 2.
Таблица 2
|
Расчетное отверстие трубы, м |
Коэффициент mх при длине трубы |
|
|
до 30 м |
свыше 30 м |
|
|
1,0 |
0,2 |
0,2 |
|
1,5 |
0,3 |
0,2 |
|
2,0 |
0,4 |
0,3 |
|
2,5 |
0,4 |
0,4 |
|
3 и более |
0,5 |
0,4 |
Примечание. Длина средней части трубы принимается на 40% короче полной длины, если она не менее 30 м и на 12 м короче в остальных случаях.
2.6. На полностью промерзающих водотоках расчетные глубины сезонного оттаивания (Нт) или промерзания (Нм) считаются от дна этих водотоков.
2.7. На конусах устоев (без каменных обсыпок) эти глубины считаются по нормали к поверхности и принимаются:
Нт - с коэффициентом 1,4;
Нм - с коэффициентом 1,2.
2.8. В случае обсыпки опор камнем без мелкозема при толщине слоя не менее 0,8 м значение Нт принимается с коэффициентом 0,75 и считается от основания обсыпки.
3.1. Проверку устойчивости фундаментов мостов и труб звеньев на действие касательных сил морозного пучения следует производить по формуле
где tвып - расчетное значение удельной касательной силы выпучивания, кгс/см2, принимаемое по п. 3.3;
mсн - коэффициент, учитывавши влияние снежного покрова, определяется согласно п. 3.2;
F - расчетная площадь боковой поверхности фундамента, находящаяся в пределах расчетной глубины промерзания Нм или оттаивания НТ, определяемых по п.п. 2.1-2.8; причем для труб в расчетную площадь включается боковая поверхность их звеньев на контакте с примыкающей насыпью;
N - расчетная постоянная нагрузка на фундамент, для фундаментов с анкерной плитой и для звеньев труб - с учетом вертикального давления грунта над ними принимается с коэффициентом 0,9;
Q - расчетное значение силы, кгс, удерживающей фундамент от выпучивания, определяется;
при использовании грунтов основания по принципу I-QM , согласно п. 3.5;
при использовании грунтов по принципу II-QT согласно п.п. 3.6-3.8;
при заделке фундаментов в скальные грунты, согласно п. 3.9;
m - коэффициент условий работы, принимаемый равным 1;
Кн - коэффициент надежности, принимаемый во всех случаях равным 1,1.
3.2. Значение коэффициента mсн определяется по табл. 3 в зависимости от расчетной толщины снега hсн
|
Расчетная толщина снега hсн, м |
Коэффициент mсн |
|
|
для условий сезонного промерзания и несливающейся вечной мерзлоты |
для условий сливающейся вечной мерзлоты |
|
|
≤0,1 |
1,00 |
1,00 |
|
0,2 |
0,75 |
0,95 |
|
0,4 |
0,50 |
0,75 |
|
≥0,6 |
0,35 |
0,50 |
Для промежуточных значений hсн коэффициент mсн определяется по интерполяции.
Расчетная толщина hсн у опор мостов принимается по данным наблюдений как минимальная из многолетних средних ее значений за первые 4 месяца периода с отрицательными среднемесячными температурами наружного воздуха.
При отсутствии данных, полученных в результате наблюдении, значение hсн допускается определять по табл. 4.
3.3. Значение расчетной удельной касательной силы пучения τвып определяется опытным путем:
а) в натурных условиях при наблюдении за 5 зимних периодов и более τвып = τon.max, - максимальное значение средней удельной касательной силы пучения за период наблюдений в пределах конечной глубины сезонного промерзания-оттаивания; за один зимний период τвып = 1,3τon., где τon. - то же, что τon.max, но за один сезон наблюдений;
Таблица 4
|
Вид конструкций |
Расчетная толщина снега при максимальной продолжительности переноса снега, ч |
|
|
300 и менее |
более 300 |
|
|
Устои при высоте подходной насыпи, м: |
|
|
|
4 и менее |
0,25 hсн max |
0,25 hсн max |
|
более 4 |
0,1 м |
0,1 м |
|
Промежуточные опоры при высоте подходной насыпи, м: |
|
|
|
4 и менее |
0,17 hсн max |
0,25 hсн max |
|
более 4 |
0,25 hсн max |
0,25 hсн max |
|
Оголовки труб |
0,17 hсн max |
0,17 hсн max |
|
Промежуточные звенья труб |
0,1 м |
0,1 м |
Примечание. Средняя из наибольших высот снега за зиму (hсн max) и максимальная продолжительность переноса снега (ч) за зиму принимаются по СНиП II-А.6-72 (табл. 5 и рис. 5).
б) в лабораторных условиях по методике определения устойчивого сопротивления смерзания1
τуст = а+b (Өср.э) (6)
где а и b - параметры, определяемые по данным опытов;
Өср.э - средняя эффективная температура грунта в зоне смерзания, равная половине температуры, при которой начинается внутриобъемное сжатие грунта, допускается принимать Өср.э = -6°С.
____________________
1 Руководство по определению физических, теплофизических и механических характеристик мерзлых грунтов. М., Стройиздат, 1973.
В этом случае принимается:
для условий сезонного промерзания и несливающейся вечной мерзлоты τвып = 0,9 τуст;
для сливающейся вечной мерзлоты
при Нт < 2 м - τвып = 0,8 τуст;
при Нт ≥ 2 м - τвып = 0,7 τуст.
Примечание. Для крупнообломочных грунтов с заполнителем значение τвып принимается по виду заполнителя с коэффициентом 0,8. При отсутствии опытных данных значение τвып допускается принимать по табл. 5.
|
№ п/п |
Вид грунта |
Расчетные удельные силы пучения τвып, кгс/см2 |
|||
|
при сливающейся вечной мерзлоте для расчетных глубин сезонного протаивания Нт(м) |
в условиях сезонного промерзания и несливающейся вечной мерзлоты |
||||
|
1 |
2 |
3 |
|||
|
1 |
Супеси, пески мелкие и пылеватые |
1,5 |
1,3 |
1,1 |
1,5 |
|
2 |
Суглинки |
1,3 |
1,2 |
1,0 |
1,4 |
|
3 |
Глины, крупнообломочные грунты с заполнителем глинистым, мелкопесчаным, пылеватым более 10% |
1,1 |
1,0 |
0,8 |
1,1 |
Примечания:
1. Для промежуточных значений глубины сезонного протаивания значения τвып принимаются по интерполяции.
2. Если слой сезонного промерзания-оттаивания сложен по глубине разнородными грунтами, то τвып принимается по виду грунта, соответствующего наибольшему ее значению.
3. В случае возможности образования линзовидного льда по табл. 5 принимаются максимальные значения τвып с коэффициентом 1,2 (приложение I).
4. Для грунтов, применяемых для обратной насыпки котлованов, значения τвып принимаются по строке 1 табл. 5.
5. При заполнении песком пространства между стенками скважин и буроопускными сваями (сваями-столбами) в пределах слоя сезонного промерзания значения τвып принимаются с коэффициентом 1,2.
3.4. В случае применения противопучинных мероприятий, направленных на снижение касательных сил пучения (раздел 5), расчетные удельные значения этих сил τвып принимаются;
а) при покрытии боковой поверхности фундаментов полиэтиленовыми пленками - согласно приложению 2; смазками БАМ и кремнийорганическими соединениями - согласно приложению 3;
б) при утеплении грунта вокруг фундаментов синтетическими пористыми материалами - согласно приложению 4;
в) при заполнении пространства между фундаментами и стенками скважин (котлованов) несмерзающимися смесями или естественными гидрофобными материалами - согласно п. 3.3 с поникающим коэффициентом 0,5.
3.5. Расчетное значение силы QM, удерживающей фундамент за счет заделки в вечномерзлом грунте (принцип I), определяется:
а) для свай и свай-столбов постоянного сечения и фундаментов с анкерной плитой при обратной засыпке грунта над плитой любым привозным грунтом (песчано-гравийной смесью и т.п.)
(7)
б) для свай и свай-столбов с уширением на конце
(8)
в) для фундаментов с анкерной плитой при обратной засыпке котлована местным грунтом из слоя сезонного промерзания-оттаивания
Qм = Rfa, (9)
где n - число слоев, на которое разбивается по высоте зона заделки фундамента в вечномерзлом грунте;
Rсмi - расчетное сопротивление, кгс/см2, мерзлых грунтов или грунтовых растворов сдвигу по поверхности смерзания - для гладкой поверхности и по грунту или грунтовому раствору - для рифленой поверхности столба, а также в случае заполнении пространства между сваями в стенками скважин цементно-песчаным или цементно-шламовым раствором, принимается в зависимости от расчетной температуры в i-м слое согласно, СНиП II-18-76 (п.п. 4, 10, 4, 12, 4, 13 и приложение 6).
Fсмi - площадь вертикальной поверхности смерзания в i-м слое, принимается:
для свай и свай-столбов равным произведению толщины i-го слоя на периметр их сечения;
для фундаментов с анкерной плитой - произведению толщины i-го слоя на периметр анкерной плиты;
R - расчетное сопротивление мерзлого грунта нормальному давлению над уширением или анкерной плитой, принимается в зависимости от вида грунта и его расчетной температуры согласно табл. 1 и 2 приложения 6 СНиП II-18-76;
Fa - рабочая площадь уширения или анкерной плиты.
3.6. Расчетное значение силы Qт , удерживающей фундамент при заделке его в талом или оттаивающем грунте (принцип II), за исключением скальных грунтов, определяется:
а) для свай и свай-столбов постоянного сечения забивных или буроопускного типа при заполнении пространства между их боковой поверхностью и стенками скважины в пределах слоя сезонного промерзания-оттаивания шламом, песком, песчано-гравийной смесью и любым привозным грунтом
; (10)
б) для свай и свай-столбов с уширением на конце во всех случаях
; (11)
в) для фундаментов с анкерной плитой при обратной засыпке котлована над плитой местным грунтом из слоя сезонного промерзания-оттаивания
QT = RTFa, (12)
а при засыпке любым привозным грунтом (песчано-гравийной смесью, горной массой и т.п.) QТ = 0;
где mf - коэффициент, учитывающий влияние технологии устройства фундамента в различных видах грунта, принимается для забивных свой равным 1; для буро-опускных свай и свай-столбов в мелкодисперсных грунтах согласно табл. 4 СНиП II-Б.5-67, в грунтах, содержанию крупнообломочные включения до 30% - 0,8, в крупнообломочных грунтах - I;
Ктi - коэффициент, определяемый согласно п. 3.7;
fnTi - нормативное сопротивление i-го слоя грунта по боковой поверхности сваи или сваи-столба, определяется для талого состояния по таблице СНиП II-Б.5-67, для слоев грунта, расположенных над уширением, значение fTi следует принимать с коэффициентом 0,5;
RT - сопротивление грунта в талом состоянии нормальному давлению над уступом уширения и анкерной плитой, определяется согласно п. 3.8.
FnTi - площадь сдвига талых грунтов по боковой поверхности фундамента в i-м слое.
3.7. Коэффициент КTi , учитывающий влияние нормальных сил пучения, определяется по формуле
КTi = 1 + 0,06(h0-hi), (13)
где hi - средняя глубина i-го слоя грунта, м;
h0 - параметр, м, принимаемый:
для песков крупных и средней крупности, а также глинистых грунтов с показателем консистенции JL ≤ 0,2; h0 = 16;
для песков мелких и глинистых грунтов при JL = 0,3; h0 = 13;
для глинистых грунтов при JL = 0,5; h0 = 8;
для глинистых грунтов при JL = 0,7; h0 = hi , но во всех случаях - не менее hi. Для промежуточных значений Ji величина h0 определяется по интерполяции.
RT = BγHa+DCa (14)
где γ - объемная масса грунта над уширением или анкерной плитой;
На - глубина от поверхности грунта до верха уширения или анкерной плиты;
В и D - коэффициенты, зависящие от расчетного угла внутреннего трения грунта φа над уширением или анкерной плитой, определяются по табл. 6;
Са - расчетная величина удельного сцепления этого же грунта.
Значения φа и Са определяются умножением расчетных значений φ и С на 0,8 - для свай и свай-столбов с уширением и на 0,5 - для анкерных фундаментов с обратной засыпкой котлована; расчетные значения φ и С определяются по СНиП II-15-74 для естественного сложения талого грунта и для стабилизированного состояния оттаявшего грунта.
Таблица 6
|
Расчетный угол внутреннего трения φa |
Для фундаментов с анкерной плитой |
Для свай и свай-столбов с уширением на конце |
||
|
В |
D |
В |
D |
|
|
0 |
0 |
3,1 |
0 |
3,1 |
|
5 |
0,4 |
5,2 |
0,3 |
3,6 |
|
10 |
1,5 |
7,5 |
0,8 |
4,2 |
|
15 |
3,2 |
10,6 |
1,3 |
4,8 |
|
20 |
5,1 |
13,2 |
2,1 |
5,7 |
Для промежуточных значений φа, В и D определяются по интерполяции.
3.9. Расчетное значение силы Q, удерживающей сваю или сваю-столб от выпучивания при заделке их в скальные грунты, независимо от принципа их использования определяется;
а) при заделке столба (сваи) в невыветрелые и слабовыветрелые (трещиноватые) скальные грунты из условия прочности на сдвиг прослойки бурового шлама на стенках скважины
(15)
где m - коэффициент условий работы, принимаемый равный 1;
Кг - коэффициент безопасности по грунту (шламу), принимаемый равным 1,2;
Rсд - нормативное значение сопротивления сдвигу прослойки шлама (на стенках скважины), определяется по данным натурных испытаний, проводимых в аналогичных грунтовых условиях и с учетом принятой в проекте технологии установки столбов. При отсутствии данных испытаний допускается принимать Rсд = 15 т/м2;
u - периметр скважины;
h3 - глубина заделки столба (сваи);
б) при заделке столба (сваи) выветрелые и сильновыветрелые скальные грунты (рухляки) с кубиковой прочностью R΄сm < 100 кгс/м2 значение продельного усилия, полученного из условия прочности на сдвиг по раствору заделки но контакте его со столбом
, (15΄)
m3 - коэффициент условий работы на срез раствора заделки, принимаемый равным 0,06;
R΄сж - кубиковая прочность бетона заделки, т/м2;
Кг - коэффициент безопасности, принимаемый равный 1,5;
и΄ - периметр сечения столба в зоне заделки;
h3 - расчетная глубина заделки столбов определяется как полная глубина заделки за вычетом высоты выступов, совпадающих с общей поверхностью сдвига.
3.10. Пример расчета сваи-столба на действие касательных сил пучения приведен в приложении 5.
4.1. Если слой сезонного промерзания-оттаивания в естественном состоянии состоит из крупных и среднезернистых песков или крупнообломочных грунтов с содержанием пылеватого или глинистого заполнителя менее 10% и отсутствует вероятность образования линзовидного льда, подошву фундаментов мелкого заложения или низ свайного ростверка разрешается закладывать на любой глубине независимо от расчетной глубины сезонного промерзания-оттаивания.
Подошву фундаментов мелкого заложения с анкерной плитой, а также подошву фундаментной части труб разрешается закладывать также на любой глубине, в том числе и в слое сезонного промерзания-оттаивания, если этот слой состоит из указанного выше грунта или из крупнообломочного грунта с содержанием пылеватого или глинистого заполнителя до 30%.
4.2. В остальных случаях (т.е. в пучинистых грунтах) с целью исключения нормальных сил пучения необходимо:
а) подошву фундаментов мелкого заложения закладывать не менее чем на 0,5 м, а низ находящейся в грунте плиты (ростверка) свайного фундамента - не менее чем на 0,25 м ниже расчетной глубины сезонного промерзания-оттаивания;
б) низ плиты (ростверка) свайного фундамента, возвышающейся над планировочной поверхностью площадки мостового перехода, размещать выше этой поверхности на 0,5 м для устоев и на 1 м для промежуточных опор;
в) с учетом возможного повышения уровня этой поверхности (отсыпка, каменная наброска, мощение, намыв грунта) между плитой ростверка и поверхностью грунта должен быть обеспечен зазор высотой 0,15-0,2 м, сохраняемый в течение всего срока эксплуатации моста; с этой целью внизу плиты ростверка в обсыпных устоях рекомендуется устраивать ограждающие бортики, предохраняющие от попадания грунта под плиту:
г) устои мостов и звенья труб следует обсыпать дренирующим грунтом.
4.3. Требования п. 4.2. необходимо соблюдать и в случаях замены у фундамента (ростверке) пучинистых грунтов на непучинистые, и также при наличии напорных вод в слое сезонного промерзания-оттаивания (см. приложение 1). Расчет фундаментов на выпучивание при этом является обязательным при любых видах грунтов.
4.4. Продольная арматура фундаментов на расчетной глубине сезонного промерзания-оттаивания должна проверяться на растягивающее усилие Рр по формуле
Рр=τвып.F-N (16)
где обозначения те же, что в формуле (5).
4.5. Для повышения эффективности работы на выпучивание фундаментов мостов и конструкций труб рекомендуется следующее:
при проектировании типовых проектов назначать расчетную схему с меньшим числом промежуточных опор (для увеличения постоянной нагрузки на опору);
при разработке новых проектов стремиться к применению опор из свай, свай-столбов или стоек повышенной несущей способности при наименьшем их количестве, определяемом с учетом работы опоры в целом;
периметр фундамента или его элементов в пределах слоя сезонного промерзания-оттаивания принимать минимальный по условию прочности и долговечности;
при заданном количестве свай или свай-столбов в опоре по условию работы этой опоры в целом стремиться к уменьшению их поперечных размеров, обеспечивая требуемую несущую способность за счет увеличения глубины заделки в несущие слои;
уменьшать или исключить протаивание (промерзание) грунтов основания насыпи, примыкающей к трубе с помощью теплоизоляционных покрытии (пенополиуретан и т.п.) или специальных грунтовых призм.
4.6. Наиболее рациональными типами фундаментов и конструкций труб с точки зрения работы на выпучивание в технико-экономическом отношении являются:
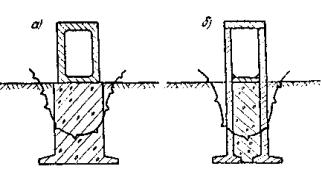
забивные сваи постоянного сечения - в талых и предварительно оттаянных грунтах при мощной (более 15 м) однородной толща песчаных или глинистых грунтов с показателем консистенции JL < 0,4;
забивные сваи с уширением на конце (рис. 1, а) - в однородной толще слабых песчаных или глинистых грунтах с показателем консистенции JL ≥ 0,4;

Рис. 1. Забивные сваи постоянного сечения:
а - с
уширением на конце в однородной толще; б - с местным уширением ниже глубины
промерзания;
. - нижняя граница сезонного
промерзания; НМ - расчетная глубина сезонного промерзания
забивные сваи с местным уширением ниже глубины промерзания (рис. 1, б) - при слабом верхнем слое и неглубоком (5-6 м) залегании несущего слоя, сложенного плотными глинистыми или гравийно-галечниковыми отложениями, а также скальными породами с различной степенью выветрелости;
фундаменты рамно-стоечного типа с анкерной плитой (рис. 2, а, б) при залегании несущего слоя, состоящего из крупнообломочных грунтов или скальных пород, не глубже 4 м; при этой верх анкерной плиты в талых или оттаивающих грунтах (принцип II) целесообразно располагать в уровне расчетной глубины промерзания (см. рис. 2, а).

Рис. 2. фундамент рамно-стоечного типа:
а - с установкой анкерной плиты в уровне расчетной глубины промерзании; б - с установкой анкерной плиты ниже глубины сезонного оттаивания (1 м и более);
- нижняя граница сезонного промерзания;
- верхняя граница вечномерзлых грунтов;
НТ - расчетная глубина сезонного оттаивания;
Нм - расчетная глубина сезонного промерзания
одиночные стойки (сваи-столбы) с анкерным уширением на конце сборным (рис. 3, а) или монолитным (рис. 3, б.) - в грунтах, используемых по принципу II, с опиранием на несущий слой (крупнообломочные грунты, скальные пароды), при залегании его глубже 6-7 м:

Рис. 3. Одиночные стойки (сваи-столбы):
а - сборное анкерное утирание; б - монолитное анкерное уширение; 1 - сварное утирание; 2 - цементно-песчаный раствор
сваи-столбы постоянного сечения (сплошные или полые) - с заделкой в скальные грунты в случае их залегания не глубже 6-7 м (рис. 4);
те же сваи-столбы - в вечномерзлых грунтах, используемых по принципу I;
трубы со звеньями, заанкеренными в фундаментах;
фундаменты труб с анкерной плитой (выступами), глубина заложения которых назначаемся согласно п.п. 4.1. и 4.2 (рис. 5);
трубы, у которых звенья имеют наклон боковых наружных граней к продольной оси трубы.

Рис. 4. Заделка столбов (свай) в скалу с заполнением цементно-шлаковым раствором на высоту заделки

Рис. 5. Фундаменты труб с анкерной плитой (выступами):
а - монолитный фундамент; б - фундамент из сборных элементов
4.7. Возможность погружения забивных свай до проектной отметки должна быть установлена в стадии проектирования. При невозможности примой забивки сваи следует предусматривать другие способы погружения (например, бурозабивной) или изменить их конструкцию.
4.8. Минимальная глубина заделки фундаментов в вечномерзлых грунтах принимается: для свай и свай-столбов 3 м; для фундаментов с анкерной плитой, считан от верхней грани плиты, 1 м.
4.9. При опирании фундамента с анкерной плитой на скальные грунты целесообразно использовать грунты вышележащего слой по принципу I, если мерзлотно-грунтовые условия и специальные мероприятия (например, обсыпка опор камнем) позволяет обеспечить этот принцип.
4.10. При буроопускном способе устройства свай или свай-столбов для увеличения анкерующих сил без увеличения размеров скважины рекомендуется:
а) заполнять пространство между столбом (сваей) и стенками скважины до нижней границы слоя сезонного промерзания-оттаивания цементно-песчаным или цементно-шламовым раствором (за исключением свай-столбов с заделкой в скалу или монолитным уширением, где заполнение раствором необходимо на высоту заделки или утирания), а выше уровня раствора - местным грунтом;
б) для свай-столбов, заделанных в скалу или имеющих монолитное уширение, нижний конец делать "рифленым" по высоте не менее 1 м; шаг и глубина "рифления", см, указаны на pиc. 6, а для свай-столбов постоянного сечения без заделки в скалу "рифление" выполнять по высоте не менее 4 м (согласно рис.6, а) или устраивать на нижнем конце выступ (рис. 6, б).
При использовании рекомендаций п. 4.10 расчетную поверхность сдвига определения силы, удерживающей столб (сваю) от выпучивания, следует принимать по стенкам скважины.

Рис. 6. Сваи-столбы:
а - с "рифленым" нижним концом; б - с выступом на конце; 1 - раствор заделки; 2 - железобетонным выступ
5.1. Целесообразность применения постоянных противопучинных мероприятий устанавливается в каждом конкретном случае на основе технико-экономического расчета.
5.2. В качестве постоянных могут применяться следующие мероприятия;
а) для свай-столбов и фундаментов с анкерной плитой в пределах слоя сезонного промерзания-оттаивания - заполнение пространства между этими фундаментами и стенками скважин или котлованов несмерзающейся смесью дренирующего грунта с солидолом1 или циатимом (с обязательным полным заполнением пор грунта данным составом), а также естественными гидрофобными материалами, например, заталькованными глинами.
____________________
Авт. свид. № 581188 «Противопучинная смесь» приоритет от 24 марта 1976 г. (авторы: Соболев Г.И., Опарин А.А.)
Примечание. В данном случае обязательно применение мер, исключающих возможность размыва русла у опор;
б) в вечномерзлых грунтах при принципе I их использования - совмещение со сваями или сваями-столбами самоохлаждающихся систем типа термосвай Гапеева, Макарова и т.д., что позволяет в зоне анкеровки понизить температуру; эта температура определяется специальным теплотехническим расчетом;
в) на участках мостовых переходов, где наиболее вероятно возникновение линзовидного льда, следует предусматривать специальные мероприятия, изложенные в приложении 1.
5.3. В качестве постоянных противопучинных мероприятий в опытном строительстве капитальных мостов и труб и массовом строительстве временных искусственных сооружений, а также для временного предотвращения выпучивания фундаментов в период стабилизации температурного режима основания, если эта стабилизация завершается за период более одного зимнего сезона, рекомендуется:
а) покрывать боковую поверхность фундаментов в пределах слоя сезонного промерзания-оттаивания полиэтиленовыми пленками (см. приложение 2), смазками БАМ или кремнийорганическими соединениями (см. приложение 3);
б) утеплять поверхности грунта вокруг фундаментов синтетическими материалами с замкнутой ячеистой структурой (см. приложение 4).
5.4. На один зимний сезон в период незавершенного строительства мостов и труб и стабилизации температурного состояния вечномерзлых оснований (принцип I) с целью предотвращении выпучивания их фундаментов рекомендуется:
а) покрывать боковую поверхность фундаментов в пределах слоя сезонного промерзания-оттаивания битумной мастикой, солидолом, циатимом и т.п.;
б) защищать грунт вокруг фундаментов от промерзания мхом, торфом, шлаком, опилками и т.д. с предохранением их от увлажнения.
5.5. Не рекомендуется в качестве противопучинных мероприятий устраивать вокруг фундаментов замену пучинистого грунта или производить обработку засыпку котлована непучинистым грунтом.
При изысканиях и проектировании переходов через малые и средние водотоки в Центральных районах Восточной Сибири, в частности, пересекаемых линией БАМ, фундаменты постовых опор и оголовков водопропускных труб могут деформироваться не только под влиянием морозного пучения грунтов, но и под воздействием линзовидного льда, развивающегося в сочетании с обычным морозный пучением грунтов или самостоятельно.
Под линзовидным льдом понимаются ледяные образования с более или менее ясно выраженной выпуклой поверхностью, формирующиеся в открытых и грунтовых гравитационных потоках при наличии источников питания (подруслового потока, выхода родника и т.п.).
Прогноз возникновения линзовидного льда на проектируемых переходах через водотоки
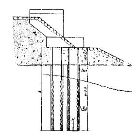
Степень устойчивости проектируемого участка перехода оценивается в основном воздействием на русловой поток местных инженерных факторов, способных вызвать линзовидный лед самостоятельно или, в большинстве своем, в сочетании с природными факторами уже существующий на участке русла в период изысканий и ожидаемыми в ближайший год.
Наиболее вероятные схемы тормозного воздействия на русловой поток инженерных факторов и их сочетаний с природными факторами, при которых реализуется энергетический эффект, даны на рисунке.

Схема тормозного воздействия на русловой поток инженерных факторов и их сочетаний с природными факторами.
Поскольку склоновый поток (верховодка) почти всегда воздействует на русловой поток под углом β = 90°, он уже в силу этого аффекта может при соответствующих условиях погасить до 50% кинетической энергии руслового потока. Такие условия имеют место:
при сближении величины расхода руслового (q1) и склонового(q) потоков, т.е. q1/q → 1, что наблюдается при малых потерях расхода q1, (значительная обводненность склонов осенними дождями, выпавшими в районе перехода, значительные снежные отложения на склонах в начале зимы, особенно при кустарниковом и травяном покрове и т.п.) и, наоборот, при больших потерях расхода q (сухая осень и не значительный снежный покров в верховьях бассейна, потери руслового потока на наледеобразование на участках русла, расположенных выше перехода и т.п.).
Рассмотренные условия подлежат учету в следующих случаях, возможных как при крутых склонах узких логов, так и при поступлении воды в русло с замаренных (заболоченных) наклонных пойм, особенно, когда русло стеснено валунами или тальником, снижающими скорость потока:
при скорости склонового потока V1 превышающей скорость руслового потока V, что имеет место при значительной разности отметок водоразделов по сравнению с отметкой дна лога или долины;
при, наличии в русле водотока, в месте присоединения потока верховодки: субаквального источника, каменистого переката, скального выступа, отдельных валунов и островков, разбивающих русло на систему узких потоков с малыми глубинами. Поскольку склоновый поток в этих случаях взаимодействует не с русловым потоком, а с протокой, имеющей расход q1 < q, вероятность возникновения линзовидного льда сильно возрастает; в этих условиях он может появиться даже при значительной ширине русла - на средних горных реках;
при наличии в месте проектируемого перехода соединения двух и более поверхностных ручьев, особенно при угле 60-90°;
при наличии в русле мелких островков, сложенных водоносными грунтами, разбивающих его на ряд проток, а также валунов и других препятствий, снижающих скорость и способствующих возникновению в промерзающих наносах двух и более грунтовых потоков, взаимодействующих под большим углом;
при стеснении фундаментами трубы или моста подруслового потока, особенно в сочетании с его ускоренным промерзанием в пределах сооружения.
Во всех этих случаях, возникновение линзовидного льда в русле возможно лишь при наличии подруслового потока и промерзания русла до твердого основания.
Качественный прогноз возникновения линзовидного льда при выборе места перехода невозможен без строгого соблюдения правил строительства и эксплуатации земляного полотна водопропускных сооружений.
Намеченные при изысканиях трассы в качестве мест перехода участки русла водотоков (конкурирующие варианты), с точки зрения прогнозируемого развития линзовидного льда делятся на следующие группы:
устойчивые, где линзовидный лед не обнаружен ни в русле (визуально или по опросным данным), ни в грунте (буровыми скважинами) и по данным прогноза отсутствует возможность его появления по окончании строительства;
неустойчивые, где линзовидный лед обнаружен в виде бугров в русле (визуально или по данным опроса старожилов) или в грунте (буровыми скважинами в виде линз);
потенциально неустойчивые где линзовидный лед не обнаружен при изысканиях, но есть опасения его развития на участке при окончании строительства.
Обеспечение устойчивости фундаментов мостов и труб на переходах с линзовидным льдом
При оценке конкурирующих вариантов перехода через водоток предпочтение отдается устойчивому участку, даже при условии некоторого удлинения трассы. Исходя из этого положения, принимают одно из следующих трех инженерных решений в целях обеспечения (или повышения) устойчивости фундаментов опор мостов и труб по условиям развития линзовидного льда:
выбор в качестве места перехода устойчивого участка с обходом участков с признаками неустойчивости в морозный период;
выбор в качестве места перехода неустойчивого участка с приведением его в устойчивое состояние путей устранения при строительстве неблагоприятных факторов (при нецелесообразности обхода участка по технико-экономическим соображениям);
выбор в качестве места перехода неустойчивого участка с последующим повышением устойчивости фундаментов конструктивными мерами (при нецелесообразности обхода участка или его улучшения по технико-экономическим соображениям).
Устойчивый участок перехода через водоток выбирается в тесной связи с выбором оптимального варианта трассы, в предпочтении водораздельных ходов. При этом обеспечиваются наиболее благоприятные гидрологические и другие условия для всех сооружений в полосе отвода и, как следствие, минимальное влияние построенных сооружений на возникновение линзовидного льда около фундаментов мостов и труб. Без подобной связи вариантов, потоки верховодки, возникшие при подрезке склонов выемками или полувыемками будут оказывать вредное воздействие не только на земляное полотно (на склонах), вызывая пучины, наледи, оползни и другие явления - но во многих случаях вызывать очаги линзовидного льда.
Наибольшее количество устойчивых участков перехода будет содержать тот отрезок трассы, где земляное полотно будет меньше нарушать исторически сложившийся гидрологический и гидрогеологический режим пересекаемой местности, т.е. при наименьшем пересечении полос поверхностного и подземного стока верховодки. Этим условиям удовлетворят отрезки трассы, уложенные по водоразделам (сток верховодки направлен от полотна дороги), по участкам, сложенным дренирующими грунтами, поглощающими скальными карбонатными породами (сток ниже слоя сезонного промерзания), по склонам антиклинальных долин (сток направлен от полотна дороги) и т.п.
При выборе варианта трассы, совпадающей с направлением существующей дороги, эта дорога должна оставаться с нагорной стороны.
При целесообразности обхода неустойчивого участка необходимо привести его в более устойчивое состояние предусмотренными в проекте мерами устранения или возможного ослабления факторов, вызывающих линзовидный лед или способствующих развитию процесса его формирования.
Если линзовидный лед обнаружен в виде бугров, русло водотока следует привести в состояние, обеспечивающее равномерность движения воды путем его выравнивания согласно требованиям, предусмотренным для борьбы с наледями (ликвидация перекатов, мелких островков, срезка петель и т.п.). Таких мер достаточно, чтобы предотвратить развитие бугров, вызванных неоднородностью русла.
Если бугры вызваны процессом взаимодействия руслового и бортового потоков (со склона, субаквальными выходами верховодки), соединением двух или более поверхностных ручьев в одно русло, то необходимо произвести регулирование потока.
Если бугор вызван выходом глубинных вод, следует применить конструктивные способы повышения устойчивости сооружения (раздел 5 основного текста Рекомендаций).
В тех случаях, когда линзовидный лед обнаружен в прирусловых наносах в виде очагов, вызванных притоком воды со склонов, следует ликвидировать причины его развития - заглушить родники, отнести поверхностные ручьи, срезать староречья и т.п.
Если при обнаружении в грунте скопления линзовидного льда, вызванного слоистым сложением и неоднородным составом грунтов, необходимо перейти к конструктивным мерам (раздел 5 основного текста Рекомендаций).
Если по данным прогноза установлено, что отсыпка земляного полотна на склоне, устройство выемки, разработка карьеров и другие строительные работы приводут к накоплению значительного количества воды на верховой стороне полосы отвода, то в техническом проекте должны быть предусмотрены меры по сбросу верховодки в низовую сторону полосы отвода через дополнительные водопропускные сооружения, размещенные на склоне, а не по путевой канаве.
При возможности сброса воды со склона с помощью нагорной канавы, последняя должна примыкать к руслу основного водотока не под прямым углом, а сопрягаться по плавной кривой, исключающей тормозное воздействие на русловой поток.
В тех случаях, когда на склонах лога залегают изверженные породы, особенно выветрившиеся гранитные, и вода выступает в виде многочисленных мелких родников ("мокрый косогор"), отвод верховодки по путевой канаве в понижение к ближайшему водопропускному сооружению не допускается; устраиваемые для этой цели на склонах дренажи следует размещать на естественных линиях стока. Может быть рекомендовано также устройство в основании склона защитного водонепроницаемого вала, не допускающего поступление верховодки на участок перехода.
Во избежание проникания бортовых потоков в основание насыпи подходов, их целесообразно отсылать в теплый период года, без применения крупнообломочных грунтов, с тщательным уплотнением основания.
Линзовидный лед может возникнуть на участке перехода под влиянием верховодки, появившейся только в результате оттаивания вечномерзлых грунтов в полосе отвода, т.е. при отсутствии постоянных источников питания не склонах (родников, марай). В подобных случаях применение каких - либо капитальных способов повышения устойчивости участка нецелесообразно.
При нецелесообразности обхода неустойчивого участка (или потенциально неустойчивого участка) и сложности повышении его устойчивости мелиоративными и другими способами, водопропускное сооружение рассчитывают как на пучинистых грунтах.
_______________________
1 Авт. свид. № 389211 "Способ защиты фундаментов зданий, сооружений от воздействия сил морозного пучения". (Авторы: Г.И. Соболев, В.Я. Кулага, Ю.Г. Чернышев).
Изложенные в настоящей приложении рекомендации распространяются на проектирование и устройство противопучинного покрытия конструкции СибЦНИиС для фундаментов мостов и водопропускных труб, возводимых в районах строительства БАМа как на обычных, так и на вечномерзлых грунтах при использовании их по I и II принципам.
Устройство противопучинного покрытия конструкции СибЦНИИС (противопучинной оболочки) является конструктивным мероприятием по снижению касательных сил морозного пучения.
Противопучинное покрытие представляет собой оболочку, состоящую из нескольких чередующихся слоев гибкой эластичной пленки и незамерзающей пластичной смазки. Оно устраивается на боковой поверхности фундамента и взаимодействует с пучащимся грунтом.
Противопучинная оболочка улучшает изоляционные свойства покрытий фундаментов, поэтому гидро- и пароизоляция, а также антикоррозийные покрытия долины устраиваться согласно требованиям СНиП III-20-74 "Кровли, гидроизоляция, пароизоляция и теплоизоляция. Правила производства и приемки работ", СНиП III-В.6-62 "Защита строительных конструкций от коррозии. Правила производства и приемки работ", а также требованиям соответствующих глав СНиП на специальные сооружения. Работы по устройству пленочных покрытий следует вести в соответствии с "Рекомендациями по применению противопучинных покрытий столбчатых и ленточных фундаментов зданий и сооружений, возводимых в районе БАМа". М., изд. ЦНИИСа, 1977.
Материалы для противопучинной оболочки
Оболочка состоит из гибкой эластичной пленки и пластичной незамерзающей смазки.
Пленка для противопучинной оболочки должна обладать достаточной деформативностью при низких температурах среды (до минус 50°С), долговечностью в среде незамерзающей пластичной смазки, водонепроницаемостью, а также хорошо работать на нагрузки, нормальные к поверхности пленки.
Для противопучинной оболочки рекомендуется применять полиэтиленовую пленку из полиэтилена высокого давления марки С (со скользящей добавкой) толщиной 0,2 мм, второго сорта, условное обозначение; Ст., 0,200·В, 2 сорта, ГОСТ 10354-73, где В - ширина полотна.
Смазка, применяемая для устройства многослойной противопучинной оболочки, должна быть маслянистой (образовывать насыщенный адсорбционный слой), т.е. обладать достаточным смазочным действием в условиях граничного трения пленки по пленке; сохранять свойства при отрицательной температуре, быть долговечной и не растворять пленку.
Из известных в настоящее время смазок в большей мере этим требованиям удовлетворяют синтетический солидол С (ГОСТ 4366-64) и смазка ЦИАТИМ-201 (ГОСТ 6267-59).
Солидол С для противопучинной оболочки следует применять в случае, если среднемесячная температура грунта не превышает минус 20°С.
ЦИАТИМ-201 следует применять, когда среднемесячная температура верхних слоев грунта ниже минус 20°С.
Среднемесячную температуру грунта следует приникать согласно "Справочнику по климату СССР" (Л., "Гидромотеоиздат", 1966),
Для склеивания пленки рекомендуется полиэтиленовая лента со слоем клея на основе полиизобутилена (МРТУ 6-05-1250-69).
Конструирование противопучинной оболочки
Противопучинная оболочка может состоять из двух - четырех слоев пленки и, соответственно, одного-трех слоев смазки (оптимальное число слоев в оболочке - четыре слоя пленки, три слоя смазки).
Для фундаментов, которые без полезной нагрузки, исключающей выпучивание, остается на две-три зимы, оболочка может содержать два слоя пленки и один слой смазки.
Верх оболочки рекомендуется размещать на 10-15 см ниже поверхности грунта.
Оболочка столбчатого фундамента должна быть закреплена в верхней части шпагатом, в нижней - шпагатом или хомутом. Шпагат должен быть пропитан антисептиком.
Крепление нижней части оболочки к фундаменту должно быть расположено на уровне не менее 2/3 расчетной глубины промерзания-оттаивания.
В фундаментах труб противопучинная оболочка должна быть непрерывной по всей длине секции. В местах размещения осадочных швов противопучинная оболочка должна быть разделена сквозным швом. Оболочку у осадочных швов следует закреплять по вертикали таким образом, чтобы исключить возможность попадания воды между оболочкой и фундаментом.
Во избежание проникновения влаги и частиц грунта в смазку, наружные стыки надлежит соединять свариванием, склеиванием липкой лентой или сворачиванием стыкуемых кромок "в замок". Наиболее предпочтительно склеивание.
Стыки различных слоев пленки необходимо размещать вразбежку.
Для выравнивания поверхностей, защищаемых оболочкой, следует предусматривать обмазку поверхностей, например, битумом.
Необходимую ширину рулона пленки В, мм, для оболочки, полностью находящейся в грунте, определяют по формуле
(1)
где Н - расчетная глубина деятельного слоя, мм;
а - заглубление верха оболочки в грунт, мм;
b - ширина хомута для столбчатого фундамента или полосы для ленточного фундамента (b = 0 при закреплении низа оболочки шпагатом), мм.
Установленный по формуле (1) размер округляется до ближайшего большего стандартного размера.
Расчет фундамента с противопучинной оболочкой по устойчивости на действие сил пучения
Проверять фундамент с противопучинной оболочкой на действие сил морозного пучения грунтов следует как для законченного сооружения, так и для сооружения, строительство которого не завершено.
Рассчитывать фундамент с противопучинной оболочкой по устойчивости на действие сил морозного пучения грунтов следует в соответствии с 3-м разделом основного текста Рекомендации.
Расчетная удельная сила пучения принимается равной удельной силе трения, определяемой
τвып = μТσх, (2)
где μT - коэффициент трения оболочки;
σх - среднее по глубине деятельного слоя давление пучащегося грунта, нормальное к боковой поверхности фундамента, определяемое по данным натурных наблюдений на период максимальных значений, кгс/см2.
При отсутствии опытных данных значение σх может быть принято равный 2 кгс/см2.
Коэффициент трения оболочки в конце периода эксплуатации Т (не более 5 лет)
μТ = μ(1+0,1Т), (3)
где μ - коэффициент трения оболочки, устанавливаемый опытный путей или ориентировочно определяемый для смазки (солидол С и ЦИАТИМ-201) по формуле
(4)
где nс - число слоев смазки (nс ≤ 4 );
|t| - среднемесячная температура грунта в уровне середины оболочки в наиболее холодный месяц на период пучения,°С.
Допускается принимать
где |t1|
- среднемесячная температура грунта на поверхности в наиболее холодный месяц на
период пучения.
Состав рекомендуемых реагентов, краткая их характеристика
Для физико-химической обработки поверхности фундаментов в целях уменьшения касательных сил их морозного выпучивания рекомендуются следующие реагенты и материалы:
а) углеводородные пластичные (консистентные) смазки БАМ-3 и БАМ-4 по ТУ 38-101682-77-1
б) кремнийорганическая эмаль КО-1112 по ТУ6-15-602-71, кремнийорганические эмали КО-174 по ТУ II-93-67, ТУ 6-05-УССР-061-36-75.
в) нитроэмали по ГОСТ 9198-76;
г) полиэтиленовая пленка по ГОСТ 10354-73;
д) пластикат поливинилхлоридный по ТУ 6-05-УССР-061-36-75.
Смазки БАМ-3 и БАМ-4 имеют назначение снизить или вовсе устранить примерзание влажного грунта, а также значительно снизить трение мерзлого грунта при проскальзывании его по поверхности фундамента и тем самым существенно уменьшить касательные силы выпучивания фундаментов.
Смазка БАМ-4 представляет собой смазку БАМ-3, в которую введена антисептическая присадка.
Смазки должны соответствовать требованиям и нормам табл. 1.
Смазка БАм-4 предназначена для обработки опытных фундаментов мостов и труб с целью снижения касательных сил выпучивания на все время эксплуатации.
Таблица 1
|
Показатели |
Нормы |
Методы испытания |
|
|
БАМ-3 |
БАМ-4 |
||
|
Внешний вид |
Однородная мазь от светло-желтого – до темно-коричневого цвета |
|
|
|
Температура каплепадения, °С, не ниже |
50 |
50 |
|
|
Кислотное число, мг КОН на 1 г, в пределах |
0,5-1,2 |
0,5-1,2 |
ГОСТ 5985-59 |
|
Эффективная вязкость при 0˚С и градиенте скользящей деформации 10с-1, пз, не более |
4000 |
4000 |
ГОСТ 7163-63 |
|
Содержание воды |
Отсутствует |
Отсутствует |
ГОСТ 1548-42 |
|
Грибоустойчивость |
- |
Полная |
ГОСТ 9052-75 |
Смазка БАМ-3 рекомендуется в качестве временного мероприятия в целях снижения касательных сил выпучивания.
Смазки БАМ-3 и БАМ-4 не токсичны, не дефицитны, весьма технологичны. Наносить их на поверхность фундамента можно лопаточкой, кистью, тампоном, из краскопульта при нагревании и другими средствами.
Для того, чтобы смазка не впитывалась в материал фундаментов, их поверхность предварительно покрывается веществами, которые образуют пленку, закрывающую поры в бетоне (грунтовка).
Рекомендуются следующие грунтовки: кремнийорганическая эмаль КО-1112 по ТУ 6-15-602-71, нитроэмаль ГОСТ 9198-76.
Помимо этих эмалей могут быть использованы другие эмали и составы, которые препятствуют впитыванию смазок в фундамент. Битумы в смазке растворяются, поэтому их применение в качестве грунтовок исключается.
Кремнийорганическая эмаль КО-1112 ТУ 6-15-602-71 однокомпонентна, поставляется потребителю в готовом виде. Перед употреблением эмаль следует тщательно перемешать. Эмаль наносится на сухую поверхность фундамента краскораспылителем или кистью в 2 слоя. Перед нанесением краскораспылителем эмаль необходимо разбавить органическим растворителем (разбавитель для масляных красок, растворитель № 646, скипидар и др.) до нужной консистенции. Пленка эмали высыхает за 2 ч. Наносить второй слой эмали нужно через 30 мин.
Эмаль обладает высокой атмосферостойкостью и водостойкостью. Наносить ее можно при плюсовых и минусовых температурах.
Кремнийорганическая эмаль КО-174 ТУ II-93-67 представляет собой суспензии неорганических и органических пигментов и наполнителей в кремнийорганическом модифицированном лаке КО-85 (ГОСТ 11066-64). Эмаль однокомпонентна, поставляется потребителю в готовом виде. По физико-химическим свойствам эмаль КO-174 должна соответствовать нормам и требованиям табл. 2. Эмаль атмосферно-водо-морозо-светостойкая, воздушной сушки. По атмосферостойкости и стойкости к циклическому перепаду температур она равноценна эпоксидным покрытиям.
Таблица 2
|
№ п/п |
Показатели |
Норма |
|
Эмаль КО-1164 |
||
|
1. |
Цвет эмалевой пленки: белый, желтый, бирюзовый |
После высыхания пленки эмаль должна соответствовать утвержденному эталону. Оттенок не нормируется. |
|
2. |
Внешний вид пленки |
После высыхания эмаль должна образовывать однородную матовую или полуматовую поверхность |
|
3. |
вязкость по вискозиметру B3-1 при 20°С, с |
25-70 |
|
4. |
Содержание в нелетучих, % |
30-35 |
|
5. |
Продолжительность высыхания при 20 ± 2°С, ч, не более |
3 |
|
6. |
Прочность пленки при изгибе через 24 ч по шкале гибкости, мм, не более |
3 |
|
7. |
Твердость пленки по маятниковому прибору, не ниже |
0,1 |
|
8. |
Водостойкость эмалевой пленки при 20˚С, ч, не менее |
24 |
|
Эмаль КО-174 по ТУ II-93-67 |
||
|
9. |
Цвет эмалевой пленки: белый, желтый, кремовый, голубой, розовый, бирюзовый, серий, темно-коричневый, зеленый, черный |
После высыхания пленка эмали должна соответствовать утвержденному эталону (оттенок не нормируется) |
|
10. |
Внешний вид пленки |
После высыхания должна образовывать однородную матовую или полуматовую пленку |
|
11. |
Вязкость по B3-1 (сопло 2,5) при 20 ± 2ºС, с |
25-40 |
|
12. |
Содержание сухого остатка,%, не менее |
25 |
|
13. |
Время высыхания при 18-25°С, ч. не более |
2 |
|
14. |
Прочность пленки при изгибе по шкале гибкости, не более |
3 |
|
15. |
Твердость пленки по маятниковому прибору, но не ниже |
0,35 |
По физико-химическим свойствам эмаль КО-1164 аналогична эмали КО-174, но несколько уступает ей по светостойкости и атмосферостойкости. Эмаль КО-1164 менее дефицитна и менее токсична.
По физико-химическим показателям эмаль КО-1164-должна удовлетворять требованиям, указанным в табл. 2.
Изменение вязкости эмали при хранении не является браковочным показателем, если при этом эмаль отвечает всем остальным требованиям ТУ.
Нитроэмаль НЦ-11 ГОСТ 9198-76 представляет собой суспензию CBП (пигмент развальцованный с нитроцеллюлозой, пластификатом и диспергатором) в раствора коллак-силина и алкидной смолы в смеси летучих органических растворителей с добавление полиметилсиликсановой жидкости ПМС-200А или ПМС-200. Нитроэмаль НЦ-11 используется для покраски поверхности фундамента в целях закрытия пор бетона, чтобы предотвратить впитывание в него смазки.
Чтобы сказка, находящаяся на поверхности фундамента, не впитывалась в грунт, а также, чтобы при обратной засыпке она не удалялась грунтом, сказанная поверхность фундамента покрывается полиэтиленовой пленкой ГОСТ 10354-73 или поливинилхлоридным пластикатом ТУ 6-05-УССР-061-36-75 тип 80/193.
Полиэтиленовая пленка ГОСТ 10354-73 может быть использована любой марки и любой толщины.
Расчет фундаментов на действие сил морозного выпучивания
Рассчитывают фундаменты на действие касательных сил выпучивания в соответствии с главой 3 основного текста Рекомендаций.
Значение расчетной удельной касательной силы выпучивания фундаментов определяется по табл. 3 в зависимости от вида физико-химической обработки поверхности фундаментов: КО - поверхность обработана только одной кремнийорганической эмалью КО-174 или КО-1164; смазка - поверхность обработана пластичными смазками БАМ-3 или БАМ-4, включая грунтовку (эмаль КО-1112, нитроэмаль НЦ-11) и полимерную пленку;
для фундаментов, имеющих скос, вводится коэффициент равный 0,7 для обработанных кремнийорганической эмалью и 0,5 для обработанных пластичной смазкой.
Таблица 3
|
Грунты |
Расчетные силы τвып при глубине промерзания-оттаивания, м |
|||||
|
1 |
2 |
3 |
||||
|
КО |
Смазка |
КО |
Смазка |
ко |
Смазка |
|
|
Пески мелкие и пылеватые, супеси |
0,9 |
0,6 |
0,7 |
0,4 |
0,5 |
0,3 |
|
Суглинки, крупнообломочные грунты с заполнителей более 30% |
0,7 |
0,5 |
0,6 |
0,4 |
0,5 |
0,3 |
|
Глины, крупнообломочные грунты с заполнителем от 10 до 30% |
0,6 |
0,4 |
0,5 |
0,3 |
0,4 |
0,2 |
В случае, когда используется искусственная теплоизоляция поверхности грунта у фундамента с целью снижения сил морозного выпучивания, расчетное значение удельной касательной силы выпучивания в пределах расчетной глубины промерзания грунта НМR под слоем теплоизоляции с термическим сопротивлением R определяется по формуле
τвып(R) = τвып mR+A'n(1-mR), (1)
где τвып - удельное значение касательной силы выпучивания, определяемое для условий при отсутствии теплоизоляции грунта по п. 3.3 основного текста Рекомендаций;
mR - коэффициент, представляющий собой отношение расчетных глубин промерзания грунта под слоем теплоизоляции н » и под открытой поверхностью НМR;
(2)
А'n - параметр удельной касательной силы выпучивания, принимаемый по таблице.
|
№ групп грунтов |
Группы, входящие в данную группу |
Параметры удельных касательных сил пучения А'n. кгс/см2 |
|
1 |
Пески мелкие и пылеватые, супеси |
0,50 |
|
2 |
Суглинки |
0,35 |
|
3 |
Глины |
0,20 |
Примечание. для пучинистых крупнообломочных грунтов значения параметра А'n принимаются в зависимости от наименования грунта-заполнителя с введением понижающего коэффициента, равного 0,8,
Расчетная глубина сезонного промерзания-оттаивания грунта Нт и НМ под открытой поверхностью определяется в соответствии с п. 2.2 настоящих Рекомендация.
Расчетная глубина промерзания грунта Н΄MR под слоем теплоизоляции после входа грунта в новый регулярный режим определяется по формуле
Н΄MR = НMR КТ+δR (3)
где НMR - расчетная глубина промерзания грунта под слоем теплоизоляции в первом цикле промерзания-оттаивания после устройство теплоизоляции, определяется теплотехнический расчетом, например, согласно ВСН 187-76;
КТ - переходный коэффициент, значение которого определяется по номограмме (рисунок) в зависимости от величины термического сопротивления R и температуры грунта на глубине нулевых годовых амплитуд;

Рис. Номограмма для определения коэффициента КТ при расчете конечных глубин промерзания и оттаивания теплоизоляционного грунта (по Ю.С. Палькину); цифры на кривых - температура грунта на глубине годовых нулевых амплитуд
δR - толщина слоя теплоизоляции, уложенной заподлицо (с выемкой грунта) с уровней поверхности грунта.
Термическое сопротивление R представляет собой отношение толщины слоя теплоизоляции δR к значению коэффициента теплопроводности λт материала теплоизоляции
(4)
Термическое сопротивление слоистого теплоизолирующего покрытия принимается равным
(4΄)
где λTi - коэффициент теплопроводности материала в i-м слое теплоизоляции;
δRi - толщина i-го теплоизолирующего слоя.
Для формирования одномерного процесса теплопередачи под слоем теплоизоляции размеры последнего в плане должны назначаться такими, чтобы этим слоем оказалась прикрыта поверхность грунта не менее чем на 1,5 м от наружных граней элементов фундамента.
Исходный данные
Район проектируемого моста - центральный участок БАМа. Расчет производится для обсыпного устоя моста, состоящего из свай-столбов диаметром 80 см, длиной 8 м с рифленой нижней частью (4 м) (рисунок приложения 5), при однопутной подходной насыпи без берм зазор между столбом и стенками скважины до нижней границы слоя сезонного протаивания заполнен буровым шламом (песком), а выше - местным грунтом. Высота конуса насыпи у передней границы 2 м. Мерзлотно-грунтовые условия площадок: верхний слой до глубины 3 м состоит из мелкого водо-насыщенного песка, ниже залегают вечномерзлые сильнольдистые пески. Вечная мерзлота сливающегося типа.
Расчетные показатели
Давление на столб от постоянной нагрузки с учетом веса столба, но без учета давления пролетного строения Nmin=20 т; продолжительность летнего периода τл =4750 ч; среднелетняя температура воздуха tл = +16,7°С; максимальная высота снежного покрова hCH.max = 40 см; влажность водонасыщенных песков верхних горизонтов площадок W = 0,35; льдистость вечномерзлых песков нижних горизонтов ЛВ до 0,4; коэффициент теплопроводности вечномерзлых песков λм = 2,25 ккал/(м.ч.ºС);теплоемкость вечномерзлых песков СМ = 560 ккал/(м3. °С); темпере тура вечномерзлых грунтов на глубине нулевых годовых амплитуд в естественных условиях tо.ест = -2 °С; расчетная температура на той же глубине с учетом ее изменений, связанных со строительством моста, без дополнительных мероприятий согласно п. 2.3 "Руководства по проектированию и постройке столбчатых фундаментов и опор малых и средних мостов БАМ на вечномерзлых грунтах, используемых по принципу I ЦНИИС"(М., изд. ЦНИИСа, 1979).
to.расч = -0,5°C; tо.ест = -0,5·2,0 = -1°C.

Расчетная схема работы сваи-столба в составе обсыпного устоя моста
Нормативная глубина сезонного протаивания на площадке мостового перехода определена согласно приложению 4 СНиП II-18-76 HTH = 2,2 м.
Расчетная глубина Нт определяется согласно п. 2.2 Рекомендаций по формуле
НТ = mT·mф·ННТ,
при mT = 1 (согласно табл. 1 Рекомендаций), mф = 1,2 (согласно п. 2.4) и с коэффициентом 1,4 (согласно п. 2.7) подсчитана Нт = 1,0·1,2·2,2·1,4 = 3,7 м.
Уровень расчетной глубины протаивания при Нт = 3,1 м, и соответствующая ему верхняя граница вечной мерзлоты оказывается ниже основания насыпи примерно на 1 м и поэтому расчет опоры на выпучивание является обязательный.
Расчет
Согласно п. 4.10 (формула 18) и табл. 8 СНиП II-18-76 при заглублении столба в вечномерзлый грунт на 7 м (z = 7 м), устойчивость сваи-столба на действие касательных сил пучения проверим по формуле (5)
![]()
Для рассматриваемого климатического района максимальная высота снежного покрова hCH.max = 40 см. Расчетная толщина снега hCH у устоя, согласно п. 3.2, ровна hCH = 1/4, hCH.max = -40/4 = 10 см = 0,1 м.
По табл. 3, hCH = 0,1 м, mCH = 1.
По табл. 5 при Нт = 3,1 м получаем
τвып = 1,1 кг/см2 = 11 т/м2.
При Нт = 3,7 м, d = 0,8 м
F = 3,7 π. 0,8 = 9,3 м2.
Согласно п. 3.1
N = 20:0,9 = 18 т,
m = 1, кn = 1,1.
Определим силу заанкеривания Qм согласно п.п. 4.6-4.10 СПиН II-18-76.
При заглублении столба в
вечномерзлый грунт на 3,3 м (z
= 3,3 м) и
.
По табл. 8 СНиП II-18-76 получаем αэ = 0,45; по формуле (18) СНиП II-18-76 при tн.з = 0 и Kt =1 (табл. 10) t3 = (tо-tн.з)·αэ·Kt+tнз = -1,0·0,49 = -0,5 ºС.
По СНиП II-18-76 (табл. 4 приложения 6) при t° = -0,5°С для песчаного раствора:
Rcд = 1,2 кг/см2 = 12 т/м2.
QМ = FCM Rcд = 3,3-0,8 π·12 = 100 т.
Подставляем найденные значения в формуле (5):
1,0·9,3·1,1-18,0 < 1,0/1,1·100;
84 т < 91 т.
Таким образом, условие (5) устойчивости столба против выпучивания соблюдено.