СХЕМЫ ВКЛЮЧЕНИЯ СЧЕТЧИКОВ ЭЛЕКТРИЧЕСКОЙ ЭНЕРГИИ
ПРАКТИЧЕСКОЕ ПОСОБИЕ
Москва
«Издательство НЦ ЭНАС»
2006
Содержание
Рассмотрены различные схемы включения счетчиков электрической энергии, применяемых на энергообъектах. Показаны примеры негативных последствий от неправильного подключения счетчиков. Приведены результаты экспериментального определения погрешностей счетчиков и трансформаторов тока. Даны практические рекомендации по проверке схем подключения счетчиков, по порядку их замены и др.
Для специалистов метрологических служб, энергосбыта и электроцехов. Может быть рекомендовано специалистам Госстандарта России, инспекторам по энергетическому надзору, ответственным за электрохозяйство потребителей электроэнергии.



φ - угол фазового сдвига между током и фазным напряжением;
cosφ - коэффициент мощности нагрузки;
P1Ф - активная мощность однофазной сети;
P3Ф - активная мощность трехфазной сети;
W - активная энергия;
Q - реактивная энергия;
И1, И2 - вторичная обмотка измерительного трансформатора тока (далее - ТТ);
Л1, Л2 - первичная обмотка ТТ;
ω - угловая частота;
t - время;
Т - период колебаний;
δс - погрешность измерений электрической энергии счетчиком.
Счетчик электрической энергии - интегрирующий по времени прибор, измеряющий активную и (или) реактивную энергию (далее -счетчик).
Активная
мощность - количество активной энергии, потребляемое за единицу времени
.
Активная мощность, измеряемая счетчиком, определяется выражениями:
для однофазного счетчика, Вт
![]()
для трехфазного двухэлементного счетчика, Вт
![]()
для трехфазного трехэлементного счетчика в четырехпроводной сети, Вт
![]()
Реактивная мощность -количество электрической энергии, циркулирующей в единицу времени, между генератором и магнитным полем приемника (трансформатора, электродвигателя). При этом происходит периодический (колебательный) обмен энергии без преобразования ее в тепловую, механическую или иную.
Реактивная мощность, измеряемая счетчиком реактивной энергии, определяется выражением, вар
![]()
Загрузка реактивной мощностью линий и трансформаторов уменьшает пропускную способность сети и не позволяет полностью использовать установленную мощность генератора.
Угол фазового сдвига - фазовый сдвиг между электрическим напряжением и током, град. При индуктивном характере нагрузки ток по фазе отстает от напряжения (рис. 1).
При емкостном характере нагрузки ток по фазе опережает напряжение.
Вектор - условное графическое изображение параметра по значению и направлению.
Векторная диаграмма - условное графическое изображение векторов тока и напряжения.
На рис. 2 изображено положение векторов токов и напряжений в трехфазной сети.
Порядок чередования фаз напряжений - может быть прямым или обратным. Определяется фазоуказателем И517М или прибором ВАФ-85 на колодке зажимов счетчика. Прямой порядок чередования фаз напряжений - ABC, BCA, CAB (по часовой стрелке, рис. 3).
Обратный порядок чередования фаз напряжений - АСВ, СВА, ВАС, создает дополнительную погрешность и вызывает самоход индукционного счетчика активной энергии. Счетчик реактивной энергии при обратном порядке чередования фаз напряжений и нагрузки вращается в обратную сторону.
Обозначение
класса точности счетчика - число, равное пределу допускаемой погрешности,
выраженной в процентах, для всех значений диапазона измерений тока от
минимального до максимального значения, коэффициенте мощности, равном единице,
при нормальных условиях, установленных стандартами или техническими условиями
на счетчик. На щитке счетчика обозначается цифрой в круге, например
.
Самоход счетчика - движение диска или мигание индикаторов счетчика под действием приложенного напряжения и при отсутствии тока в последовательных цепях.
Порог чувствительности счетчика - наименьшее нормируемое значение тока, которое вызывает изменение показаний счетного механизма при номинальных значениях напряжения, частоты и cosφ = l.
Полярность трансформатора тока (ТТ). Однополярными зажимами измерительных трансформаторов называют зажимы первичной и вторичной обмоток, намотанных на сердечник (керн) в одном направлении. Обратная полярность - изменение направления тока в первичной или вторичной обмотках ТТ. Изменение направления тока в токовой цепи измерительного элемента счетчика равноценно изменению угла фазового сдвига на 180°, что вызывает отрицательный вращающий момент (рис. 4 - рис. 6).

Рис. 1. Мгновенные значения тока и напряжения с углом сдвига фаз φ
|
|
|
|
Рис. 2. Векторная диаграмма токов и напряжений в трехфазной сети |
Правильная полярность подключения обмоток ТТ и токовой цепи измерительного элемента счетчика показана на рис. 7.
Внутренний угол счетчика - угол фазового сдвига между магнитным потоком напряжения ФU и магнитным потоком токовой цепи Ф1, измерительного элемента. Для индукционного счетчика активной энергии - равен 90°.

Рис. 7. Полярность подключения обмоток ТТ и токовой цепи счетчика:
а - Л1-И1-Г- однополярны;
б - Л2-И2-Г- однополярны;
Л1Л2 - линия; И1И2 - измерение
Некоторые типы счетчиков, применяемых на энергообъектах ОАО «Тверьэнерго», и их технические характеристики приведены в табл. 1.
Справочные данные счетчиков
|
Тип счетчика |
Номинальное напряжение, В |
Номинальный (максимальный) ток, А |
Количество оборотов на 1 кВТ · ч |
Количество цифр счетного механизма* |
Класс точности |
Межповерочный интервал |
Примечание |
|
Однофазные индукционные |
|||||||
|
СО-1 |
220 |
5 |
2500 |
3 |
2,5 |
8 |
Не выпускается |
|
СО-1 |
220 |
10 |
1250 |
4 |
2,5 |
8 |
» |
|
СО-1 |
220 |
10-40 |
600 |
4 |
2,5 |
16 |
Выпускается с 1995 г. |
|
СО-193 |
220 |
10-40 |
600 |
5 |
2,5 |
16 |
- |
|
СО-2 |
220 |
10 |
600 |
5 |
2,5 |
16 |
ВЗЭТ |
|
СО-2 |
220 |
10 |
650 |
4 |
2,5 |
16 |
» |
|
СО-2 |
220 |
10 |
750 |
4 |
2,5 |
16 |
» |
|
СО-2 |
220 |
10 |
625 |
4 |
2,5 |
16 |
» |
|
СО-2 |
220 |
5 |
1250 |
4 |
2,5 |
16 |
» |
|
СО-2(60) |
220 |
10 |
750 |
4 |
2,5 |
16 |
МЗЭП |
|
СО-2(60) |
220 |
5 |
1250 |
4 |
2,5 |
16 |
» |
|
СО-2М |
220 |
10 |
640 |
4 |
2,5 |
16 |
ВЗЭТ |
|
СО-2М |
220 |
5 |
1280 |
4 |
2,5 |
16 |
» |
|
СО-2М2 |
220 |
10-30 |
640 |
4 |
2,5 |
16 |
» |
|
СО-2М2 |
220 |
5-15 |
1280 |
4 |
2,5 |
16 |
» |
|
СО-2МТ |
220 |
10-30 |
640 |
4 |
2,5 |
16 |
» |
|
СО-2МТЗ |
220 |
10-30 |
640 |
4 |
2,5 |
16 |
» |
|
CO-5 |
220 |
5-15 |
1250 |
4 |
2,5 |
16 |
МЗЭП |
|
СО-505 |
220 |
10-40 |
600 |
5 |
2 |
16 |
» |
|
СО-50 |
220 |
10-40 |
625 |
4 |
2,5 |
16 |
» |
|
С0-5У |
220 |
10-30 |
625 |
4 |
2,5 |
16 |
» |
|
СО-И445 |
220 |
10-40 |
440 |
5 |
2,0 |
16 |
ВЗЭТ |
|
СО-И446 |
220 |
10-34 |
600 |
5 |
2,5 |
16 |
» |
|
СО-И446 |
220 |
5-17 |
1200 |
4 |
2,5 |
16 |
» |
|
СО-И446 |
220 |
5-20 |
1200 |
4 |
2,5 |
16 |
» |
|
СО-И446М |
220 |
10-40 |
600 |
5 |
2,5 |
16 |
» |
|
СО-И449 |
220 |
10-40 |
210 |
5 |
2,0 |
16 |
» |
|
СО-И449М |
220 |
10-60 |
200 |
5 |
2,0 |
16 |
» |
|
СО-И449М1-1 |
220 |
10-40 |
400 |
5 |
2,0 |
16 |
» |
|
СО-И449Т |
220 |
10-40 |
210 |
5 |
2,0 |
16 |
» |
|
СО-И449МТ |
220 |
10-60 |
200 |
5 |
2,0 |
16 |
» |
|
СО-ЭЭ6705 |
220 |
10-40 |
450 |
4 |
2,0 |
16 |
ЛЭМЗ |
|
СО-ЭЭ6705 |
220 |
10-40 |
400 |
5 |
2,0 |
16 |
» |
|
СО-ЭЭ67А-1 |
220 |
5 |
500 |
5 |
2,5 |
16 |
» |
|
СО-ЭЭ6705 |
220 |
5-20 |
450 |
4 |
2,5 |
16 |
» |
|
СО-ИБ1 |
220 |
5-30 |
210 |
5 |
2,0 |
16 |
- |
|
СО-ИБ2 |
220 |
10-60 |
250 |
5 |
2,0 |
16 |
- |
|
5СМ4 |
220 |
10-40 |
480 |
5 |
2,5 |
16 |
- |
|
СО-И131 |
220 |
10-40 |
210 |
6 |
2,5 |
16 |
- |
|
A44Gd |
220 |
15(60) |
375 |
6 |
2** |
16 |
- |
|
DE4 |
220 |
10-40 |
450 |
5 |
2** |
16 |
- |
|
TGL-5541 |
220 |
10-30 |
750 |
5 |
2** |
16 |
- |
|
WZ-2 |
220 |
10-20 |
1200 |
4 |
2** |
16 |
- |
|
Y-8 |
220 |
10-40 |
480 |
5 |
2** |
16 |
- |
|
EJ-914-2K |
220 |
10-40 |
375 |
5 |
2** |
16 |
- |
|
TYPAS2 |
220 |
10-40 |
375 |
6 |
2** |
16 |
- |
|
B1A |
220 |
3 |
4800 |
4 |
2** |
16 |
- |
|
B1A |
220 |
5 |
1200 |
5 |
2** |
16 |
- |
|
AEG |
220 |
5 |
2400 |
5 |
2** |
16 |
- |
|
AEG |
220 |
15(60) |
375 |
6 |
2** |
16 |
- |
|
A52 |
220 |
10-40 |
375 |
6 |
2** |
16 |
- |
|
Однофазные электронные |
|||||||
|
ЦЭ6807А-1 |
220 |
5-50 |
500 |
5 |
2 |
6 |
МЭТЗ |
|
ЦЭ6807А-2 |
220 |
5-50 |
500 |
5 |
2 |
6 |
МЭТЗ (двух тарифный) |
|
СЭО-1 |
220 |
10-50 |
57600 |
5 |
2 |
6 |
Не выпускается |
|
СО-Ф663 |
220 |
5-50 |
100 |
5 |
2 |
6 |
- |
|
СОЭБ-1 |
220 |
10-50 |
720 |
5 |
2 |
6 |
БЭМЗ |
|
A100D1B |
230 |
10(60) |
1000/200 |
ЖКИ |
1 |
16 |
СП «АББ ВЭИ Метроника»*** |
|
Устройство переключения тарифов |
|||||||
|
УПТ12-10 |
220 |
2 |
- |
6 |
- |
- |
МЭТЗ |
|
ЦН6802А |
220 |
2 |
- |
6 |
- |
- |
РЗП |
|
УПТ12-100 |
220 |
2 |
- |
6 |
- |
- |
МЭТЗ |
|
Трехфазные, индукционные |
|||||||
|
СА4У-И672М |
3×380/220 |
3×5 |
450 |
4(5) |
2 |
4 |
ЛЭМЗ (ГОСТ 6570-75) |
|
СА4У-И672М |
3×380/220 |
3×5 |
450 |
5 |
2 |
4 |
ЛЭМЗ (ГОСТ 6570-96) |
|
СА4-И672М |
3×380/220 |
3×10 |
225 |
4 |
2 |
8 |
ЛЭМЗ |
|
СА4-И672М |
3×380/220 |
3×10-20 |
225 |
4 |
2 |
8 |
ЛЭМЗ |
|
СА4-И678 |
3×380/220 |
3×20-50 |
100 |
5 |
2 |
8 |
» |
|
СА4-И678 |
3×380/220 |
3×30-75 |
55 |
5 |
2 |
8 |
» |
|
СА4-И678 |
3×380/220 |
3×50-100 |
40 |
5 |
2 |
8 |
» |
|
СА3У-М670М |
3×380 |
3×5 |
450 |
4 |
2 |
4 |
Не выпускается |
|
СА3У-И670М |
3×220 |
3×5 |
800 |
4 |
2 |
4 |
To же |
|
СА4У-Т4 |
3×380/220 |
3×5 |
750 |
4 |
2 |
4 |
» |
|
СА4У-И672М |
3×220/127 |
3×5 |
800 |
4 |
2 |
4 |
» |
|
СР4У-И673М |
3×380 |
3×5 |
450 |
4 |
2 |
4 |
ЛЭМЗ |
|
СР3У-И44 |
3×380 |
3×5 |
450 |
4 |
3 |
4 |
» |
|
СА4-И45 |
380/220 |
3×10 |
225 |
4 |
2 |
4 |
» |
|
СА3У-ИТ |
380 |
3×5 |
650 |
4 |
2 |
4 |
» |
|
СА3У-И670Д |
380/220 |
3×5 |
1000 |
4 |
2 |
4 |
» |
|
СА4-И6П |
380/220 |
3×10-60 |
100 |
5 |
2 |
8 |
» |
|
СА4У-И682 |
380/220 |
3×5 |
250 |
5 |
1 |
4 |
» |
|
Т-2СА43 |
3×380/220 |
5(20) |
240 |
6 |
2 |
4(8) |
Pyмыния |
|
Т-2СА43 |
3×380/220 |
3×5 |
960 |
5 |
2 |
4 |
» |
|
МХК-116 |
3×400/250 |
3×5 |
600 |
6 |
2 |
4 |
- |
|
T31F |
3×400/230 |
3×10(60) |
75 |
6 |
2 |
8 |
- |
|
Т31СТК |
3×400/230 |
3×5 |
750 |
6 |
2 |
4 |
- |
|
D-1CT |
3×240/400 |
3×5 |
212 |
5 |
2 |
4 |
- |
|
T-22t |
3×380/220 |
3×5 |
300 |
5 |
2 |
4 |
- |
|
MODC-5200 |
3×380/220 |
3×5 |
- |
5 |
2 |
4 |
Польша |
|
MODC-52a |
3×380/220 |
3×5 |
375 |
6 |
2 |
4 |
Польша |
|
HN4-CA4 |
3×380/220 |
3×25-50 |
120 |
5 |
3 |
8 |
- |
|
ИЕА4-3У |
3×380/220 |
3×5 |
480 |
5 |
2 |
4 |
- |
|
ET-401 |
3×380/220 |
3×5 |
750 |
5 |
2 |
4 |
- |
|
A4-5D |
3×380/220 |
3×5 |
480 |
4 |
2 |
4 |
- |
|
ДН-4 |
3×380/220 |
3×5-25 |
300 |
5 |
2 |
8 |
Венгрия |
|
А1Т-4-0000Т |
3×380/220 |
5-24 |
- |
4 |
2 |
8 |
Венгрия |
|
ЕТ-411-1 |
3×380/220 |
3×5 |
- |
6 |
2 |
4 |
- |
|
MXKL-116 |
3×380 |
3×5 |
600 |
6 |
2 |
4 |
- |
|
А4-3 |
380/220 |
3×10-40 |
120 |
5 |
2 |
8 |
Болгария |
|
ЕТ414 |
380/220 |
10-40 |
- |
5 |
2 |
8 |
- |
|
ДН-4 |
380/220 |
15 |
100 |
6 |
2 |
8 |
Венгрия |
|
САЧ-И60 |
380/220 |
3×10-60 |
100 |
5 |
2 |
8 |
- |
|
САЧУ-196 |
380/220 |
3×5 |
- |
5 |
2 |
- |
Украина |
|
СА3У-ИТ |
3×100 |
3×5 |
2500 |
3 |
2 |
4 |
- |
|
СА3У-И687 |
3×100 |
3×5 |
1000 |
4 |
1 |
4 |
ЛЭМЗ |
|
СА3У-И670Д |
3×100 |
3×5 |
1750 |
4 |
2 |
4 |
» |
|
СА3У-И43 |
3×100 |
3×5 |
1750 |
3 |
2 |
4 |
» |
|
СА3У-И670М |
3×100 |
3×1 |
8000 |
3 |
2 |
4 |
» |
|
СА3У-И681 |
3×100 |
3×1 |
5000 |
4 |
1 |
4 |
» |
|
СР4У-И673М |
3×100 |
3×5 |
1750 |
4 |
2 |
4 |
» |
|
СР3У-ИТР |
3×100 |
3×5 |
2500 |
3 |
3 |
4 |
» |
|
СР3У-ИТР-60 |
3×100 |
3×5 |
2500 |
3 |
3 |
4 |
» |
|
СР3У-И671 |
3×100 |
3×5 |
1750 |
3 |
2 |
4 |
» |
|
СР3У-И44 |
3×100 |
3×5 |
1750 |
3 |
3 |
4 |
» |
|
СР4У-И689 |
3×100 |
3×5 |
1000 |
4 |
2 |
4 |
» |
|
СР4У-И673Д |
3×100 |
3×5 |
1000 |
4 |
2 |
4 |
» |
|
СР4У-И673М |
3×100 |
3×1 |
8000 |
3 |
2 |
4 |
» |
|
СА3У-И670М |
3×100 |
3×5 |
1750 |
4 |
2 |
4 |
» |
|
СА3У-И681 |
3×100 |
3×5 |
1000 |
5 |
1 |
4 |
» |
|
CH41pik a227 |
3×57,7/100 |
5 |
1500 |
5 |
1 |
4 |
Венгрия |
|
Трехфазные электронные |
|||||||
|
СЭТ4-1 |
3×400/230 |
3×(5-60) |
200 |
6 |
2 |
6 |
МЭТЗ |
|
СЭТАМ-005 |
100/57,7 |
5-7,5 |
1600 |
ЖКИ |
1 |
6 |
» |
|
СЭТАМ-005-01 |
380/220 |
5-7,5 |
400 |
ЖКИ |
1 |
6 |
» |
|
СЭТАМ-005-02 |
380/220 |
5-50 |
200 |
ЖКИ |
2 |
6 |
» |
|
СЭТАМ-005-03 |
380/220 |
10-100 |
100 |
ЖКИ |
2 |
6 |
» |
|
СЭТ3а-02-04 |
380/220 |
5-50 |
100 |
6 |
1 |
6 |
ГРПЗ |
|
СЭТЗа-01-02 |
|
5-7,5 |
2000 |
5 |
1 |
6 |
» |
|
СЭТ3а-01П-27 |
|
5-7,5 |
2000 |
5 |
0,5 |
6 |
» |
|
СЭТ3р-01П-30 |
|
5-7,5 |
2000 |
5 |
0,5 |
6 |
» |
|
Ф68700 |
3×100 |
5-7,5 |
4000 |
4 |
1 |
6 |
Энергомера |
|
ЦЭ6805 |
3×100 |
5-7,5 |
5000 |
4 |
0,5 |
6 |
» |
|
ЦЭ6805 |
3×100 |
3×(1-1,5) |
25000 |
3 |
0,5 |
6 |
» |
|
EA05RL-P1B-3 |
3×100 |
1/5 |
5000 |
ЖКИ |
0,.5S |
6 |
СП «АББ ВЭИ Метроника»*** |
|
A2R-3-AL-C2-T |
3×100 |
5 |
10000 |
ЖКИ |
0,5S |
6 |
» |
|
ЦЭ6803 |
220/380 |
1-8А |
500 |
5 |
2 |
6 |
РЗП |
|
ЦЭ6803Т |
220/380 |
5-8А |
16000 |
5 |
2 |
6 |
» |
* Указано количество целых цифр показаний счетного механизма.
** Класс точности на щитке прибора не указан, регулировка выполняется по классу точности 2.
*** С 2003 г. вместо СП «АББ ВЭИ Метроника» следует читать «Эльстер Метроника».
Примечание. МЗЭП - Московский завод электроизмерительных приборов. 113191, Москва, ул. Малая Тульская, д. 2/1, корп.8. Тел. (095)954-4494.
МЭТЗ - Мытищинский электротехнический завод. 141002, г. Мытищи, Московская обл., ул. Колпакова, 2. Тел.: (095)586-8329, 583-1431, 586-1734.
ЛЭМЗ - Ленинградский электромеханический завод. 198206, г. Санкт-Петербург, Петергофское шоссе, д.73. Тел.: (812)130-1509, факс: (095)130-6796.
ГРПЗ - Государственный Рязанский приборный завод. 390000, г. Рязань, ул. Каляева, д.32. Тел.: (0912)79-5453.
РЗП - Рыбинский завод приборостроения, г. Рыбинск, пр. Серова, д.89. Тел.: (0855)55-02-98, 55-55-09.
Энергомера - ОАО «Концерн Энергомера». 355029, г. Ставрополь, ул. Ленина, 415а. Тел.: 35-75-27, 35-67-45.
БЭМЗ - Березовский электромеханический завод. Кемеровская обл.
ВЗЭТ («ВилСкайтас») - Вильнюсский завод электроизмерительной техники - 7 Aukstaiciu str., 26000, Vilnius, Lithuania. Тел.: (3702) 62-8415,64-3809.
СП «АББ ВЭИ Метроника» - 111250, Москва, ул. Красноказарменная, д. 12. Тел.: (8 095) 956-05-43.
Для измерений электроэнергии переменного тока применяются индукционные и электронные счетчики.
Измеряемая активная энергия, кВт · ч, в общем виде определяется произведением мощности на время
W = Pt.

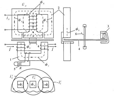
Рис. 8. Индукционный измерительный механизм
Работа индукционного измерительного механизма (рис. 8) основана на создании электромагнитами напряжения 2 и тока 1 переменных магнитных потоков ФU и ФI с углом фазового сдвига между ними 90° и направленных перпендикулярно плоскости диска [9].
Магнитные потоки ФU и ФI пронизывая алюминиевый диск, индуктируют в нем вихревые токи I'I и I'U Взаимодействие магнитных потоков ФU и ФI с полем вихревых токов создает момент вращения подвижной части
Мвр = kФU ФIsin(90° + φ).
Магнитный поток ФU пропорционален приложенному напряжению U. Магнитный поток ФI пропорционален току нагрузки Iн. Тогда
Мвр = kUIнcosφ,
где k - постоянный коэффициент, определяемый конструкцией счетчика.
Постоянный магнит 3 создает тормозной момент. Для компенсации трения в опорах, счетном механизме, диска 4 о воздух, червячной передаче электромагнитом 2 создается компенсационный момент, равный тормозному
Мк = Мт.
В результате равенства компенсационного и тормозного моментов подвижная часть при отсутствии тока нагрузки находится в состоянии динамического равновесия.
Основное регулирование характеристик индукционного измерительного механизма осуществляется следующим образом:
тормозного момента - механическим перемещением постоянного магнита 3;
компенсационного момента - перемещением пластины магнитного шунта электромагнита 2;
внутреннего угла фазового сдвига φ - перемещением зажима 5 на сопротивлении R;
самохода - отгибанием флажка 6, расположенного на оси диска 4.
Измерения энергии электронными счетчиками основаны на преобразовании аналоговых входных сигналов переменного тока и напряжения в счетный импульс или код.
На рис. 9 представлена структурная схема электронного счетчика, основанного на амплитудной и широтно-импульсной модуляции.

Рис. 9. Структурная схема электронного счетчика
В этом счетчике отсутствуют механические вращающиеся части, тем самым исключается трение. В результате удается добиться лучших метрологических характеристик: погрешности измерений, порога чувствительности, самохода счетчика и др.
В ряде электронных счетчиков вместо счетного механизма барабанного типа применяют индикатор на жидких кристаллах. Применение специализированных больших интегральных схем (БИС), микропроцессоров позволило создать многофункциональные счетчики. Они измеряют активную и реактивную энергию, а также ток, напряжение, cosφ, контролируют и запоминают графики нагрузок, отображают на индикаторе информацию о схеме включения счетчика и др. В России выпускаются электронные счетчики, не в полной мере удовлетворяющие требованиям эксплуатации, таким как:
надежность и пылевлагонепроницаемость корпуса;
надежность электронных элементов схемы и качество сборки счетчиков;
защищенность от коммутационных и грозовых перенапряжений, особенно в распределительных сетях напряжением 380/220 В;
защищенность от несанкционированного доступа и изменения схемы включения счетчика.
Точность измерений электрической энергии счетчиком можно оценить погрешностью счетчика, которая определяется его систематической составляющей, порогом чувствительности, самоходом, точностью регулировки внутреннего угла, дополнительными погрешностями.
Погрешность счетчика δс зависит от значений тока и cosφ. Зависимость погрешности от тока и cosφ называют нагрузочной характеристикой счетчика.
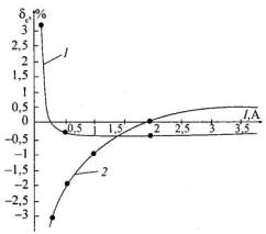
На рис. 10 изображены нагрузочные характеристики двух индукционных счетчиков (1 и 2) типа СА3У-И670М, 100 В, 3×5 А, класс точности 2. Эти характеристики получены при проверке счетчиков на установке типа МК6801 класса точности 0,05, при cosφ = 1, частоте переменного тока 50 Гц и токах нагрузки от 25 мА до 4 А.

Рис. 10. Нагрузочные характеристики индукционных счетчиков типа СА3У-670М (100 В, 5А, класс точности 2)
В эксплуатации на присоединениях с низким cosφ (меньше 0,5 инд) и малыми токами нагрузки (меньше 0,5 А) при проверке эталонным счетчиком типа ЦЭ6806П наблюдались плюсовые погрешности измерений электроэнергии индукционными счетчиками до +30 %. Также в этих же режимах отдельные счетчики дают отрицательные погрешности до -8 %. Такой большой разброс объясняется во многом регулировкой компенсации трения в индукционном счетчике. Характеристика 2 на рис. 10 показывает, что компенсации трения нет.
|
cosφ = l; φ = 0 |
||||||||
|
I, А……………………… |
0,025 |
0,05 |
0,1 |
0,25 |
0,5 |
1 |
2 |
4 |
|
Р, Вт…………………….. |
4,4 |
8,6 |
17,3 |
43,3 |
86,6 |
174,2 |
342 |
694 |
|
δс счетчика 1……………. |
+17 |
+8,7 |
+3,5 |
0 |
-0,3 |
-0,3 |
-0,4 |
-0,3 |
|
% счетчика 2……………. |
- |
-6 |
-4 |
-3 |
-2 |
-0,9 |
0,0 |
+0,5 |
На рис. 11 изображены нагрузочные характеристики электронного трехфазного счетчика типа СЭТЗа-01-02 (100 В, 3×5 А, класс точности 1), полученные при проверке счетчика на поверочной установке типа МК6801 класса точности 0,05, в режимах, близких к эксплуатационным. Кривая на рис. 11 при cosφ = 0,17 соответствует режиму холостого хода силового трансформатора. При изменении тока и cosφ в широких диапазонах погрешность счетчика δс не выходит за допускаемые пределы класса точности.
Рис. 11. Нагрузочные характеристики электронного счетчика типа СЭТ3а-01-02 (100 В, 5 А, класс точности 1)
|
cosφ = l; φ = 0 |
||||||||
|
I, А……………………… |
0,025 |
0,05 |
0,1 |
0,25 |
0,5 |
1 |
2 |
4 |
|
Р, Вт…………………….. |
4,3 |
8,6 |
17 |
43,3 |
86 |
185 |
360 |
680 |
|
δс,%……………………… |
-0,03 |
-0,16 |
-0,15 |
-0,19 |
-0,18 |
-0,17 |
-0,24 |
-0,20 |
|
cosφ = 0,5; φ = 60º |
||||||||
|
Р, Вт…………………….. |
- |
4,4 |
8,6 |
21,7 |
43 |
92 |
166 |
342 |
|
δс,%……………………… |
- |
0,16 |
0,12 |
0,05 |
0,02 |
-0,04 |
-0,14 |
-0,20 |
|
cosφ = 0,17; φ = 80º |
||||||||
|
Р, Вт…………………….. |
- |
- |
3,0 |
7,3 |
14,5 |
29 |
57 |
110 |
|
δс,%……………………… |
- |
- |
0,74 |
0,59 |
0,46 |
0,35 |
0,04 |
-0,34 |
Порог чувствительности - наименьшее значение мощности, при которой счетчик измеряет электрическую энергию. Для индукционного счетчика класса точности 2 с номинальным током 5 А предел порога чувствительности по току составляет 25 мА при cosφ = 1. Для электронного счетчика он значительно меньше и практически
6. Точность измерений электрической энергии счетчиком достигает 1-5 мА. Порог чувствительности счетчика может оцениваться по погрешности измерений на токе 25 мА и cosφ = 1 с помощью эталонного счетчика типа ЦЭ6806П.
Самоход. При включении счетчика на напряжение 80 - 110 % номинального (при Uном - 220 В от 176 до 242 В) с отключенными токовыми цепями диск индукционного счетчика не должен совершить более одного полного оборота за время наблюдения 10 мин. Для электронного счетчика не должны мигать индикаторы основного и поверочного передающих устройств.
Причины, вызывающие самоход индукционного счетчика в эксплуатации:
обратный порядок чередования фаз напряжений;
отсутствие напряжения на одной из фаз на клеммной колодке счетчика;
разные значения фазных напряжений на клеммной колодке трехфазного счетчика, например UA = 220 В, UB = 240 В, UC = 260 В;
схема включения трехфазного счетчика выполнена с совмещенными цепями тока и напряжения;
неправильная регулировка счетчика.
Точность регулировки внутреннего угла индукционного счетчика активной энергии проверяется на стенде при номинальном токе, напряжении и cosφ = 0 для углов фазового сдвига 90 и 270°. При этом счетчик не должен измерять энергию.
Для измерений электрической энергии в однофазных сетях переменного тока применяют различные типы счетчиков как отечественного, так и зарубежного производства.
Типы и основные характеристики однофазных счетчиков приведены в табл. 1.
Схема включения однофазного счетчика изображена на рис. 12, а. Обязательным требованием при включении счетчика является соблюдение полярности подключения как по току, так и по напряжению.
На рис. 12, б изображена схема включения индукционного счетчика с обратной полярностью в токовой цепи. В данном случае изменение направления тока в цепи создает отрицательный вращающий момент, и диск счетчика будет вращаться в обратную сторону. Электронный однофазный счетчик в этом случае энергию не измеряет, и мигание индикаторов не наблюдается. Новые типы электронных однофазных счетчиков измеряют электроэнергию независимо от полярности подключения токовой цепи.
Включение однофазного счетчика с обратной полярностью по напряжению и току показано на рис. 12, в. В данном случае фазы тока и напряжения одновременно изменяются на 180°, а угол фазового сдвига остается прежним. Поэтому счетчик измеряет электроэнергию в соответствии со своим классом точности. На практике использование схемы включения счетчика по рис. 12, в не допускается, так как она позволяет использовать электроэнергию без учета.
В настоящее время на заводах - изготовителях счетчиков с целью предотвращения хищений электрической энергии предусматривается установка на однофазных индукционных счетчиках:
стопора обратного хода;
второй (дублирующей) перемычки для подачи напряжения на катушку, располагая ее внутри корпуса;
второй токовой катушки в цепи нулевого провода.

Рис. 12. Схемы включения и векторные диаграммы однофазного счетчика (а), индукционного однофазного счетчика с обратной полярностью в токовой цепи (б) и однофазного счетчика с обратной полярностью в цепи тока и напряжения (в)
Кроме того, кожух счетчика выполняется прозрачным.
На Ленинградском электромеханическом заводе выпускаются индукционные счетчики типа СО-ЭЭ6705 (220 В, 10-40 А) со стопором обратного хода. Схема включения счетчика существенно отличается от типовой тем, что на клеммы 1 и 3 выведены концы токовой катушки. Сетевые провода Ф (фаза) и 0 подключаются на клеммы 1 и 4 (рис. 13).

Рис. 13. Схема включения счетчика типа СО-ЭЭ6705
В ОАО «Концерн Энергомера» (г. Ставрополь) и на других заводах-изготовителях выпускаются однофазные и трехфазные электронные счетчики, которые измеряют электроэнергию независимо от полярности включения токовой цепи. Это достигается применением специально разработанной БИС преобразователя мощности. В результате этого счетчик защищен от применения фазосдвигающих устройств в электроустановках напряжением 380/220 В.
В трехфазных четырехпроводных сетях напряжением 380/220 В для измерений электрической энергии применяют счетчики прямого (непосредственного) включения. Их называют прямоточными. Кроме того, используют счетчики, подключаемые в сеть через ТТ. Их называют универсальными или трансформаторными.
Счетчики прямого включения рассчитаны на номинальные токи 5, 10, 20, 50 А. Подключение токовой цепи этих счетчиков осуществляется последовательно с сетевыми проводниками и обязательным соблюдением полярности (рис. 14).
Измеряемая энергия равна разности показаний счетного механизма за расчетный (учетный) период: ΔW = ПК - ПН = ΔП.
Подключение с обратной полярностью одной из токовых цепей счетчика приводит к значительному недоучету электроэнергии. Обязательно соблюдение прямого порядка чередования фаз напряжений на колодке зажимов счетчика. Изменение порядка чередования фаз напряжений на колодке зажимов счетчика осуществляется переменой мест подключения соответственно двух проводов одного элемента с двумя проводниками другого элемента.

Рис. 14. Схема включения прямоточного счетчика типа СЭТ4-1
На рис. 15 изображены схема включения трансформаторного счетчика (а) и векторная диаграмма (б), которая соответствует индуктивному характеру нагрузки в случае фазового сдвига, равного 30°. Схема включения выполнена десятипроводной. Токовые цепи счетчика гальванически не связаны с цепями напряжения, а разделены. Измеряемая электроэнергия равна разности показаний счетного механизма, умноженной на коэффициент трансформации:
W = (ПК - ПН)КI = ΔПКI.


Рис. 15. Схема включения трехэлементного счетчика типа СА4У-И672М в четырехпроводную сеть с раздельными цепями тока и напряжения (а) и векторная диаграмма (б). Прямой порядок чередования фаз обязателен
Подключение каждого из трех измерительных элементов счетчика требует обязательного соблюдения полярности подключения токовых цепей и соответствия их своему напряжению. Обратная полярность включения первичной обмотки ТТ или его вторичной обмотки вызывает отрицательный вращающий момент, действующий на диск счетчика. Схема обеспечивает нормируемую погрешность измерений. Подключение нулевого провода обязательно. Наиболее часто встречающиеся повреждения в схеме:
ослабление или окисление зажимных контактов на ТТ;
обрыв (внутренний излом) фазных проводов напряжения вторичных цепей;
пробой ТТ.
При необходимости изменения порядка чередования фаз три провода с одного элемента на колодке зажимов счетчика меняются местами с соответствующими тремя проводами другого элемента.
Часто применяется семипроводная схема включения (рис. 16). В этой схеме выполнено объединение цепей тока и напряжения. Совмещение цепей тока и напряжения выполняется установкой перемычек на счетчике и на ТТ. Схема имеет следующие недостатки:
под напряжением находятся токовые цепи счетчика;
пробой ТТ длительное время не выявляется;
установка перемычек И2-Л2 на ТТ, и 1 - 2 на счетчике вызывает дополнительную погрешность измерений.

Рис. 16. Схема включения трехэлементного счетчика типа СА4У-И672М в четырехпроводную сеть с совмещенными цепями тока и напряжения.
Прямой порядок чередования фаз обязателен: Л1 – И1 - перемычки, установленные на ТТ; 1 - 2; 4 - 5; 7 - 8 - перемычки, установленные на счетчике
В электроустановках напряжением 380/220 В также применяется схема включения счетчиков, изображенная на рис. 17.
На этой схеме концы вторичных обмоток ТТ И2 объединены и соединены с концами токовых цепей счетчика в одной точке. Не допускается подключение токовых цепей счетчика и вторичных обмоток ТТ на корпус электроустановки в разных местах.
Измеряемая электроэнергия W = ΔПКI.
Наиболее универсальной является схема включения счетчиков с испытательной коробкой (рис. 18). Испытательная коробка позволяет, не отключая нагрузки, произвести замену счетчиков и проверку схемы включения.

Рис. 17. Схема включения трехэлементного счетчика типа СА4У-И672М в четырехпроводной сети в «звезду». Прямой порядок чередования фаз обязателен

Рис. 18. Схема включения трехэлементного счетчика типа СА4У-И672М в четырехпроводную сеть с испытательной коробкой
Для измерений активной и реактивной энергии применяется схема включения счетчиков, изображенная на рис. 19.
Схемы включения счетчика реактивной энергии типа СР4У-И673 и счетчика активной энергии не отличаются друг от друга. Токовые цепи этих счетчиков соединяются последовательно. Цепи напряжения счетчиков подключаются параллельно. Отличие счетчика реактивной энергии от счетчика активной энергии - в схеме внутренних соединений. За счет схемы внутренних соединений катушек, рассчитанных на напряжение 380 В, выполняется дополнительный 90°-ный фазовый сдвиг между магнитными потоками.

Рис. 19. Схема включения счетчиков для измерений активной и реактивной энергии в сети напряжением 380/220 В
Цель проверки. Необходимо убедиться, что на данном присоединении измеряется вся потребляемая электроэнергия.
Проверка осуществляется с помощью следующих приборов и инструмента:
клещей токоизмерительных;
калькулятора карманного;
фазоуказателя типа И-517;
указателей напряжения двухполюсного и однополюсного;
устройства нагрузочного типа УН-220-2;
секундомера;
отвертки с изолированной рукояткой и стержнем.
Также применяются вольтамперфазометр ВАФ-85М, анализаторы электропотребления и другие приборы.
Секундомер используется для измерения времени вращения диска или периода прохождения импульсов.
Клещи токоизмерительные служат для измерения токов.
Калькулятор необходим для выполнения расчетов.
С помощью указателя напряжения проверяют наличие (отсутствие) напряжения на колодке зажимов счетчика или испытательной коробке.
Фазоуказатель используется для проверки прямого порядка чередования фаз напряжений на колодке зажимов счетчика.
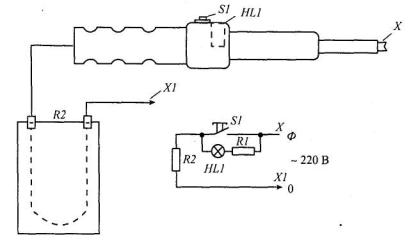
Устройство нагрузочное (УН) предназначено для проверки схем включения счетчиков путем кратковременной подачи однофазной нагрузки. Оно состоит из изолированной рукоятки и нагрузочного элемента в защитном кожухе, которые размещаются в инструментальной сумке. Электрическая принципиальная схема УН приведена на рис. 20.

Рис. 20. Устройство нагрузочное УН-220-2:
HL1 - лампа индикаторная ИН-90; R1 - резистор, 1 мОм; R2 - ТЭН, 220 В, 2 кВт; S1 - выключатель кнопочный, 10А; X1 - зажим типа «крокодил»; Х - стержень токоведущий
Лампа HL1 предназначена для индикации наличия (отсутствия) напряжения на токоведущих частях электроустановки. С помощью кнопки S1 осуществляется включение (отключение) нагрузочного элемента R2 от сети.
Правила применения устройства типа УН-220-2:
1) отключить нагрузку, убедиться в отсутствии самохода счетчика;
2) присоединить зажим X1 к заземленному корпусу электроустановки;
3) установить контактную часть X изолирующей рукоятки на токоведущую часть электроустановки. По свечению индикатора HL1 убедиться в наличии напряжения;
4) кратковременно нажать кнопку S1, наблюдая при этом за вращением диска счетчика. Отсутствие вращения или вращение диска в обратном направлении указывают на неисправность в схеме включения;
5) отпустить кнопку S1. Снять контактную часть изолирующей рукоятки с токоведущих частей. Отсоединить зажим X1. Включить нагрузку.
На устройство типа УН-220-2 распространяются технические требования «Правил применения и испытания средств защиты», которые предъявляются к указателям напряжения и инструменту с изолированными рукоятками.
Запрещается применение УН в условиях 100%-ной влажности воздуха, дождя, тумана. Перед каждым применением УН должно быть осмотрено. При хранении и перевозке УН должно предохраняться от увлажнения и загрязнения.
Проверка схем включения счетчиков с помощью испытательной коробки. Согласно требованиям ПУЭ (п. 1.5.23), предусматривается установка испытательной коробки для проверки и замены счетчиков электроэнергии.
Проверка схемы включения счетчика выполняется под напряжением бригадой в составе двух человек. В качестве основного защитного средства применяют отвертку с изолированной рукояткой и стержнем. В качестве дополнительного защитного средства используют резиновый коврик или диэлектрические галоши. Проверка выполняется при наличии нагрузки.
Порядок проверки:
1) снимается пломба и крышка испытательной коробки;
2) проверяется наличие трех фаз напряжения как между фазами, так и между фазой и нулевым проводом;
3) проверяется отсутствие напряжения на токовых цепях. Наличие напряжения на токовых цепях указывает на повреждение ТТ;
4) с помощью отвертки перемычками на испытательной коробке закорачиваются токовые цепи. При этом должно наблюдаться замедление вращения диска счетчика;
5) ослабляются винты контактных перемычек цепей напряжения, создается видимый разрыв и снимается напряжение со счетчика.
Проверка схемы включения индукционных счетчиков осуществляется поочередно подачей напряжения и тока соответствующих фаз на измерительный элемент счетчика. Вращение диска в прямом направлении указывает на исправность ТТ, цепей учета и счетчика, но не дает полной уверенности в правильности схемы включения.
Активную мощность, Вт, и реактивную мощность, вар, измеряемые индукционным и электронным счетчиками с помощью секундомера, рассчитывают по формулам
![]()
где n - количество оборотов (импульсов), отсчитываемое за время t, с;
А - передаточное число счетчика, которое указано на его щитке.
Количество оборотов отсчитывают:
у индукционного счетчика - при прохождении метки на диске счетчика;
у электронного - по миганию (свечению) светодиодного индикатора телеметрического выхода (рис. 21).

Рис. 21. Один импульс светодиодного индикатора
Измерение мощности, подводимой к счетчику. Измерения тока в токовых цепях счетчика выполняют с помощью токоизмерительных клещей в диапазонах от 25 мА до 5 А, от 5 до 500 А.
Зная значения напряжения, тока и cosφ, вычисляют мощность, подводимую к счетчику, по формулам:
Рсч = UфIcosφ - для однофазного счетчика;
- для
трехфазного счетчика.
Сравнивая значения мощности, подводимой к счетчику, и измеренной им, можно ориентировочно оценить правильность схемы включения и работу счетчика.
Следует иметь в виду, что при включении асинхронных двигателей их cos φ зависит от мощности нагрузки (табл. 2) [14].
Зависимость cosφ асинхронного двигателя от нагрузки
|
Тип |
Номинальная мощность нагрузки Рном, кВт |
cosφ при мощности нагрузки, % Рном |
||||
|
25 |
50 |
75 |
100 |
125 |
||
|
A31-2 |
1 |
0,5 |
0,76 |
0,81 |
0,86 |
0,9 |
|
А42-6 |
1,7 |
0,37 |
0,52 |
0,68 |
0,75 |
0,9 |
|
А42-4 |
2,8 |
0,4 |
0,7 |
0,79 |
0,84 |
0,85 |
|
А92-8 |
55 |
0,5 |
0,71 |
0,8 |
0,84 |
0,85 |
|
А91-2 |
100 |
0,71 |
0,86 |
0,9 |
0,92 |
0,92 |
В практической работе по проверке на местах установки счетчиков, ТТ и их схем включения, используют зависимость времени одного оборота (импульса) счетчика от коэффициента трансформации ТТ KI суммы токов трех фаз первичной цепи ∑I1 и передаточного числа счетчика А, с:
![]()
Эта зависимость справедлива для коэффициента мощности cosφ, равного единице. Токи измеряют с помощью токоизмерительных клещей в первичной или во вторичной цепи ТТ. При правильной схеме включения, соответствии коэффициента трансформации KI расчетному и работе счетчика в своем классе точности время t1об будет незначительно отличаться от времени одного оборота счетчика, измеренного секундомером.
Для десятипроводной схемы включения счетчика описанные методы проверки не дают полной уверенности в ее правильности. Для того чтобы убедиться в правильности схемы включения, снимают векторную диаграмму при известном характере нагрузки или там, где это возможно, визуально проверяется соответствие подключения проводов фаз напряжений своим фазным токам. Там, где визуально проследить прохождение проводов невозможно, электроустановку отключают и выполняют прозвонку проводов вторичных цепей тока и напряжения. После проверки цепей правильность учета контролируют вышеописанными способами.
Определение
cosφ
по мощности, измеряемой счетчиками активной и реактивной энергии. С
помощью секундомера одновременно измеряют время оборотов (прохождения
импульсов) счетчиков активной и реактивной энергии. По формулам (см. выше)
вычисляют мощности и
По таблице тригонометрических величин (приложение 1) определяют
cosφ.
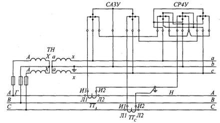
В трехфазных трехпроводных сетях напряжением 6 - 10 кВ и выше для измерений электроэнергии применяют двухэлементные счетчики активной энергии типа СА3У-И670М, измерительные ТТ и трансформаторы напряжения (ТН), включенные по схеме, приведенной на рис. 22).
Измерение электроэнергии двухэлементным счетчиком СА3У-И670М рассмотрим на векторной диаграмме (рис. 23) линейных напряжений UAB = UCB = 100 В и токов IA = IC = 1 А с углом фазового сдвига φ = 30°.

Рис. 22. Схема включения двухэлементного счетчика активной энергии и трехэлементного счетчика реактивной энергии в трехпроводую цепь с двумя измерительными ТТ и ТН. Прямой порядок чередования фаз ABC обязателен

Рис. 23. Векторная диаграмма измерения электроэнергии двухэлементным счетчиком
Первым измерительным элементом счетчика измеряется активная мощность
P1 = UABIAcos(30° + φ) = 100 · 1 · 0,5 = 50 Вт.
Вторым измерительным элементом счетчика измеряется активная мощность
P2 = UCBICcos (30° - φ) = 100 · 1 · 1 = 100 Вт.
Активная мощность, измеряемая счетчиком, Р = Р1 + Р2 = 150 Вт.
При отсутствии тока IА или напряжения UA на первом измерительном элементе счетчика абсолютная погрешность измерений электроэнергии δA составит 50 Вт или -33 %.
При отсутствии тока IC или напряжения UC на втором измерительном элементе счетчика погрешность измерений электроэнергии δС составит 100 Вт или -66 %.
При отсутствии напряжения фазы В на счетчике погрешность измерений электроэнергии δВ составит -50 %.
Если нагрузка на данном присоединении активная (cosφ = 1), то погрешности измерений электроэнергии в названных выше случаях составляют: δA = -50 %, δС = -50 %, δВ = -50 %.
В режиме холостого хода силового трансформатора (индуктивный характер нагрузки при cosφ = 0,17; φ = 80°) активная мощность, измеряемая первым элементом счетчика
P1 = 100 · l · cos110° = -34 Вт,
вторым элементом счетчика
Р2 = 100 · 1 · 0,64 = 64 Вт.
Активная мощность, измеряемая счетчиком, составит
Р = 64 - 34 = 30 Вт.
В этом режиме при отсутствии напряжения UC, вследствие перегорания предохранителя ТН или повреждения вторичных цепей, диск счетчика будет вращаться в. обратную сторону, искажая результаты измерений.
Согласно типовой инструкции по учету электроэнергии [7] рекомендуется применять трехэлементные счетчики. Схема включения этих счетчиков (рис. 24) обеспечивает их работу в классе точности в различных режимах работы сети. Подключение заземленной фазы b на средний элемент счетчика обеспечивает возможность установки прямого порядка чередования фаз напряжений и проверки схемы включения. Для проверки измерительного комплекса учета электрической энергии на месте установки измеряют следующие параметры:
линейные напряжения UAB, UBC, UAC; фазные напряжения UA0, UB0, UC0; токи IA, IB, IC, I0; углы фазового сдвига φ1, φ2, φ3 (рис. 25); потери напряжения в линии связи ТН - счетчик с оценкой соответствия требованиям ПУЭ; нагрузки вторичных цепей измерительных ТТ и ТН с оценкой их соответствия номинальным нагрузкам по ГОСТ 7746-89 и ГОСТ 1983-89.

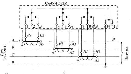
Рис. 24. Схема включения трехэлементных счетчиков активной и реактивной энергии в четырехпроводную цепь с тремя ТТ и заземленной фазой b ТН. Прямой порядок чередования фаз ABC обязателен. (Цепи напряжения электронных счетчиков показаны условно)

Рис. 25. Векторная диаграмма и схема присоединения проводов для измерений электрической энергии трехэлементным счетчиком (отсчет углов фазового сдвига указан по показаниям ВАФ-85М от вектора линейного напряжения UАВ)
Активная мощность, измеряемая счетчиком,
P = UAIAcosφ1 + UBIBcosφ2 + UCICcosφ3.
Кроме того, проверяют соответствие коэффициентов трансформации измерительных ТТ и ТН, указанных на табличках, с их паспортными данными и, наконец, погрешности счетчика.
На основе анализа этих данных делается вывод о правильности схемы включения и предварительный вывод о достоверности измерений электроэнергии.
Положение векторов токов (см. рис. 25) IА, IВ, IC, относительно напряжений UA, UB, UC (угол фазового сдвига) определяется характером нагрузки в электрической сети потребителя. Он может иметь индуктивный, активный (cosφ = 1) или емкостный характер. На время проверки установку компенсации реактивной мощности отключают.
На линиях связи положение векторов тока относительно своих напряжений определяется направлением перетоков (передачи) активной и реактивной мощности (рис. 26).
Чтобы избежать ошибок в схеме подключения счетчика, необходимо перед проверкой уточнить у диспетчера энергосистемы и по показаниям щитовых приборов на подстанции направление передачи активной и реактивной мощности на проверяемом присоединении.
Несмотря на это, при подключении счетчика (присоединением проводов к счетчику) можно допустить ошибку. Например возможно создание дополнительного фазового сдвига, отличающегося от действительного на 60°. На рис. 27 показана векторная диаграмма создания дополнительного фазового сдвига на 60° в индуктивность при активной нагрузке.
|
ВАФ-85 |
30° (инд.) |
50° (инд.) |
70° (инд.) |
90° (инд.) |
110° (инд.) |
120° (инд.) |
130° (инд.) |
150° (инд.) |
170° (инд.) |
170° (емк.) |
150° (емк.) |
130° (емк.) |
110° (емк.) |
90° (емк.) |
70° (емк.) |
60° (емк.) |
50° (емк.) |
30° (емк.) |
10° (емк.) |
10° (инд.) |
30° (ннд.) |
|
φ, град |
0 |
20 |
40 |
60 |
80 |
90 |
100 |
120 |
140 |
160 |
180 |
200 |
220 |
240 |
260 |
270 |
280 |
300 |
320 |
340 |
360 |
|
cosφ |
1 |
0,94 |
0,76 |
0,5 |
0,17 |
0 |
-0,17 |
-0,5 |
-0,76 |
-0,94 |
-1 |
-0,94 |
-0,76 |
-0,5 |
-0,17 |
0 |
0,17 |
0,5 |
0,76 |
0,94 |
1 |
|
Р |
1 |
0,94 |
0,76 |
0,5 |
0,17 |
0 |
-0,17 |
-0,5 |
-0,76 |
-0,94 |
-1 |
-0,94 |
-0,76 |
-0,5 |
-0,17 |
0 |
0,17 |
0,5 |
0,76 |
0,94 |
1 |
|
прямое |
|
обратное |
|
обратное |
|
прямое |
|||||||||||||||
|
Q |
0 |
0,34 |
0,64 |
0,86 |
0,98 |
1 |
0,98 |
0,86 |
0,64 |
0,34 |
0 |
-0,34 |
-0,64 |
-0,86 |
-0,98 |
-1 |
-0,98 |
-0,86 |
-0,64 |
-0,34 |
0 |
|
прямое |
|
обратное |
|||||||||||||||||||

Рис. 26. Положение вектора тока фазы А в зависимости от направлений передачи активной и реактивной мощности

Рис. 27. Векторная диаграмма создания дополнительного фазового сдвига при подключении счетчика и схема присоединения проводов
Ниже приведены данные о погрешности измерений электрической энергии в зависимости от изменения угла фазового сдвига (cosφ) электроустановки:
|
Коэффициент мощности электроустановки cosφ, емк..................................... |
1 |
0,98 |
0,94 |
0,86 |
0,76 |
0,64 |
0,5 |
|
Коэффициент мощности, с которым работает счетчик, cosφсч, инд .............. |
0,5 |
0,64 |
0,76 |
0,86 |
0,94 |
0,98 |
1 |
|
Погрешность измерений электроэнергии счетчиком δ, %............................... |
-50 |
-34 |
-18 |
0,00 |
+18 |
+34 |
+100 |
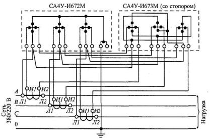
Включение трехэлементных электронных счетчиков в схему с двумя ТТ выполняется двумя способами:
1) установкой внешней перемычки на колодке зажимов счетчика между клеммой напряжения среднего элемента и общим выводом счетчика (рис. 28). Этой перемычкой первый и третий измерительные элементы счетчика переводятся на линейные напряжения UAB и UCB. Следует отметить, что не на всех типах трехэлементных счетчиков допускается установка такой перемычки;
2) включением токовой цепи среднего элемента счетчика на сумму токов фаз А и С с обратной полярностью (рис. 29).

Рис. 28. Схема включения счетчика активной энергии и трехэлементного счетчика реактивной энергии в трехпроводную цепь с двумя измерительными ТТ и ТН. Прямой порядок чередования фаз ABC обязателен

Рис. 29. Схема включения трехэлементных счетчиков активной и реактивной энергии в четырехпроводную цепь с двумя ТТ. Прямой порядок чередования фаз ABC обязателен. (Цепи напряжения электронных счетчиков показаны условно)
Чтобы обеспечить требуемую точность измерений электрической энергии необходимо выполнять требования ПУЭ [11], типовой инструкции по учету электроэнергии [7], методики выполнения измерений электроэнергии [6], правил и норм применения средств учета [1 - 5, 8, 12, 13] и др.
Согласно ПУЭ, допускаемые классы точности счетчиков, измерительных трансформаторов, а также допустимые уровни потерь напряжения в линиях связи счетчика с ТН при учете электрической энергии должны соответствовать приведенным в табл. 3.
Допускаемые классы точности счетчиков и измерительных трансформаторов, а также допустимые потери напряжения в линиях связи счетчика с ТН при учете электроэнергии
|
Объекты учета |
Расчетный учет |
Технический учет |
||||||
|
Класс точности для |
δU, % от Uном |
Класс точности для |
δU, % от Uном |
|||||
|
СА |
ТТ |
ТН |
СА |
ТТ |
ТН |
|||
|
Генераторы мощностью более 50 МВт, межсистемные |
0,5 |
0,5 |
0,5 |
0,25 |
1 |
1 |
1 |
1,5 |
|
ЛЭП 220 кВ и выше, трансформаторы мощностью 63 MB · А и более |
|
|
|
|
|
|
|
|
|
Генераторы мощностью 15-20 МВт, межсистемные ЛЭП110-150 кВ, трансформаторы мощностью 10-40 МВА |
1 |
0,5 |
0,5 |
0,25 |
2 |
1 |
1 |
1,5 |
|
Прочие |
2 |
0,5 |
0,5(1,0) |
0,25(0,5) |
2 |
1 |
1 |
1,5 |
Примечание. СА - счетчик активной электроэнергии; ТТ - измерительный трансформатор тока; ТН - измерительный трансформатор напряжения; δU - относительные потери напряжения в процентах от номинального значения.
При питании расчетных счетчиков от ТН класса точности 0,5 потеря напряжения в проводах и кабелях не должна превышать 0,25 % Uном; при питании от ТН класса точности 1 - не более 0,5 % Uном.
В практической эксплуатации измерительного комплекса (счетчик, ТН, ТТ и линии связи между ними) заданные классы точности и уровни потерь напряжения не всегда удается выдержать.
Основные составляющие погрешности измерительного комплекса приведены на рис. 30.

Рис. 30. Основные составляющие погрешности измерительного комплекса:
δU - погрешность напряжения ТН, %; θU - угловая погрешность ТН, мин; δI - токовая погрешность ТТ, %; θI - угловая погрешность ТТ, мин; δл - погрешность из-за потери (падения) напряжения в линии связи, % Uном; δс - погрешность счетчика, %; δо.п. - погрешность отсчета показаний счетчика; δсi - дополнительная погрешность счетчика, вызванная влиянием i-й внешней величины; l - число внешних влияющих величин
Предел допускаемой относительной погрешности измерительного комплекса рассчитывают по формуле [6]

Влияние дистабилизирующих факторов на погрешность измерений электроэнергии рассмотрено в [19].
На рис. 31 приведены экспериментальные зависимости токовой погрешности δI разделительных (промежуточных) ТТ типа ТК-20 (класс точности 0,5, коэффициент трансформации 5/5, мощность S = 5 В·А), включенных совместно со счетчиком типа ЦЭ6805 (100 В, 5 А, класс точности 0,5). Эти погрешности определены на установке для поверки счетчиков типа МК6801 (класс точности 0,05 при разных значениях коэффициента мощности и нагрузки вторичных цепей ТТ). В качестве нагрузки использованы токовые цепи индукционных счетчиков типа СА3У-И681.

Рис. 31. Токовая погрешность ТТ типа ТК20 при различных значениях и характере нагрузки вторичной цепи
Как известно, на некоторых подстанциях напряжением 110 кВ токовые цепи счетчиков включены через промежуточные ТТ типа ТК-20. Увеличение нагрузки (полного сопротивления) Zн во вторичной цепи этих трансформаторов приводит к большим отрицательным погрешностям измерений электроэнергии и, как следствие, к небалансу на линиях связи (рис. 31).
При первичном токе, составляющем 10% номинального, предельное значение токовой погрешности δI; для ТТ класса точности 0,5 не должно превышать ±1%, а угловой погрешности - ±60' (см. приложение 4).
Номинальная вторичная нагрузка (мощность Sном, В·А, или сопротивление Zном, Ом) определяется по выражениям:
![]()
для находящихся в эксплуатации на подстанциях типовых ТТ с номинальным вторичным током I2ном = 5А находится в пределах Sном = 2,5 + 100 В·А или Zном = 0,1 ¸ 4 Ом.
Зависимость погрешности напряжения ТН δU от мощности вторичной нагрузки трансформатора Р2 приведена на рис. 32 [18].
Погрешности ТН не должны выходить за пределы допустимых для данного класса точности при условии, что нагрузка составляет 25 - 100 % номинальной при cosφ = 0,8 (инд). Если нагрузка превышает номинальную мощность или меньше ее, то класс точности ТН становится более грубым (см. приложение 2).
Погрешность из-за потери напряжения в линии соединения счетчика с ТН δл характеризуется разностью абсолютных значений напряжений на зажимах вторичной обмотки ТН и на колодке зажимов счетчика (выражается в процентах). Эта погрешность имеет отрицательный знак. Потери напряжения зависят от сечения и длины проводов (кабелей), а также от мощности нагрузки ТН.
Погрешность счетчика δс зависит от значения тока и cosφ, а также от формы кривой тока нагрузки, несимметрии напряжений, обратной последовательности фаз напряжений, температуры и других факторов [1 - 3].

Рис. 32. Погрешность напряжения ТН в зависимости от мощности вторичной нагрузки
Зависимости погрешности счетчиков δс от тока и cosφ (нагрузочные характеристики) показаны на рис. 10, 11 и 33.
На рис. 33 изображены программируемые нагрузочные характеристики счетчика типа A2R (100 В, 5 А, класс точности 0,5, СП «АББ ВЭИ Метроника»). Эти характеристики получены при определении погрешностей счетчика δс на установке типа МК6801 при cosφ = 0,5, cosφ = 1 и токах нагрузки от 25 мА до 5 А:

Рис. 33. Программируемые нагрузочные характеристики счетчика A2R (100 В, 5 А, класс точности 0,5)
|
I, А...................................... |
0,025 |
0,05 |
0,1 |
0,5 |
1 |
2 |
5 |
|
P, Вт (cosφ = 1)................. |
4,2 |
8,7 |
17,2 |
85 |
172 |
36 |
877 |
|
δс, % при: |
|
||||||
|
cosφ = 1.............................. |
-1,6 |
-0,84 |
-0,50 |
-0,20 |
-0,17 |
-0,14 |
-0,13 |
|
cosφ = 0,5........................... |
- |
- |
-0,88 |
-0,21 |
-0,12 |
-0,10 |
-0,08 |
Допускаемые изменения погрешности δс индукционных и электронных счетчиков в зависимости от условий нагрузки, определенные ГОСТ 6570-96 и ГОСТ 30206-94, приведены в табл. 4.
Допускаемые изменения погрешности δс индукционных и электронных счетчиков согласно требованиям ГОСТ 6570-96 и ГОСТ 30206-94
|
Условные нагрузки |
Пределы погрешности, %, для классов точности |
||
|
0,5 |
1,0 |
2,0 |
|
|
Индукционные счетчики по ГОСТ 6570-96 |
|||
|
0,05 Iном, cosφ = 1 |
±1 |
±1,5 |
±2,5 |
|
0,1 Iном до Imax, cosφ = 1 |
±0,5 |
±1,0 |
±2,0 |
|
0,1 Iном при cosφ = 0,5 (инд.) |
±1,3 |
±1,5 |
±2,5 |
|
Электронные счетчики по ГОСТ 30206-94 |
|||
|
0,01 Iном до 0,05 Iном, cosφ = 1 |
±1,0 |
- |
- |
|
0,05 Iном до Imax, cosφ = l |
±0,5 |
- |
- |
|
0,02 Iном до 0,1 Iном, cosφ = 0,5 |
±1,0 |
- |
- |
Более подробные сведения о нормируемых стандартами погрешностях ТТ, ТН, индукционных и электронных счетчиках приведены в [15].
Действие электрического тока па организм человека [16].
Проходящий через организм человека электрический ток производит термическое, электротермическое и биологическое воздействия.
Значение электрического тока, проходящего через тело человека, является основным фактором, обуславливающим исход поражения:
0,6 - 1,5 мА - человек начинает ощущать действие проходящего через него переменного тока;
10 - 15 мА - неотпускающий ток, человек не может самостоятельно оторвать руку от электропроводов;
25 - 50 мА - происходит мощное сокращение дыхательных мышц, через несколько минут наступает смерть от удушья;
50 - 200 мА - возникает беспорядочное сокращение и расслабление мышцы сердца (фибрилл) с частотой 400 - 600 раз в минуту - фибрилляция. Кровообращение прекращается.
В четырехпроводной сети с заземленной нейтралью трансформатора (рис. 34) цепь тока, проходящего через тело человека, включает в себя сопротивление тела человека Rчел, его обуви Rоб, пола Rп.
Тогда ток, проходящий через тело человека, определяется из выражения
![]()
Электрическое сопротивление тела человека при сухой, чистой и неповрежденной коже, при напряжении 15 - 20 В находится в пределах от 3000 до 100000 Ом. При расчетах обычно принимают сопротивление тела человека, равное 1000 Ом.

Рис. 34. Схема прикосновения человека к одной фазе в четырехпроводной сети с заземленной нейтралью
При наиболее неблагоприятных условиях, когда человек прикоснувшийся к фазе, имеет на ногах токопроводящую обувь (сырую), стоит на сырой земле или на токопроводящем полу, значение тока будет равно
![]()
Такой ток
смертельно опасен для человека. Если человек имеет на ногах непроводящую обувь
(Rоб
= 45000 Ом) и стоит на изолирующем основании (Rосн = Rп = 100000
Ом), ток будет равен
. Такой ток не опасен для человека.
Из приведенного примера видно, что для обеспечения безопасности работающих в электроустановках большое значение имеют изолирующие полы и не проводящая ток обувь.
Согласно ПУЭ (п. 1.1.13) к помещениям с повышенной опасностью в отношении поражения электрическим током относятся помещения, характеризующиеся наличием в них одного из следующих условий:
сырости или токопроводящей пыли;
токопроводящих полов (металлические, земляные, железобетонные, кирпичные и т.п.);
высокой температуры (более 35°С);
возможности одновременного прикосновения человека к имеющим соединения с землей металлоконструкциям, с одной стороны, и к металлическим корпусам электрооборудования, с другой.
Особоопасные помещения характеризуются наличием одного из следующих условий:
особой сырости, где относительная влажность воздуха близка к 100% (потолок, стены, пол и предметы, покрытые влагой);
химически активной или органической среды;
содержанием постоянно или в течение длительного времени агрессивных паров, газов, жидкостей, разрушающих изоляцию и токоведущие части электрического оборудования;
одновременно двух и более условий повышенной опасности.
Защитные меры электробезопасности. Согласно ПУЭ (п. 1.7.32) для защиты людей от поражения электрическим током и обеспечения безопасности при обслуживании электроустановок применяются следующие защитные меры:
заземление корпусов электрического оборудования и элементов электрических установок (вторичных обмоток измерительных трансформаторов тока, металлических корпусов счетчиков);
зануление металлических элементов электрической установки, нормально не находящихся под напряжением, с помощью нулевого защитного провода. Такое электрическое соединение (всякое замыкание на зануленные металлические части) превращает в однофазное короткое замыкание, способное обеспечить срабатывание защит и отключение;
защитное отключение. С помощью устройства защитного отключения (УЗО) обеспечивается автоматическое отключение электрической установки;
применение пониженного напряжения от 12 до 42 В;
защитное разделение сетей с помощью разделительного трансформатора. Заземление вторичной обмотки этого трансформатора не допускается;
двойная или
усиленная изоляция. Дополнительная (защитная) изоляция предусмотрена для
обеспечения защиты от поражения электрическим током вследствие повреждения
основной изоляции; обозначается на щитке прибора -
.
Изделия, имеющие двойную изоляцию по способу защиты человека от поражения
электрическим током, относятся к классу II;
выравнивание потенциалов - дополнительная мера защиты, снижающая напряжение прикосновения и шага.
Основные средства защиты, применяемые при работе со счетчиками:
однополюсные и двухполюсные указатели напряжения;
электроизмерительные клещи;
диэлектрические перчатки (сухие);
инструмент с изолирующими рукоятками.
В качестве дополнительных защитных средств применяют:
диэлектрические галоши (в сухую погоду);
диэлектрические ковры;
изолирующие подставки;
изолирующие колпаки.
Установка, снятие и замена однофазных счетчиков. Работы по замене однофазных счетчиков непосредственного включения в помещениях без повышенной опасности выполняются единолично электромонтером с III квалификационной группой по технике безопасности, под напряжением с обязательным отключением нагрузки.
При работе с лестниц, подставок или в помещениях с повышенной опасностью необходимо присутствие второго лица.
Выполнение работ со счетчиками, установленными в квартирных нишах, на лестничных площадках, вблизи водопроводных труб, газовых плит и т.п., осуществляется при снятом напряжении.
Порядок замены счетчика:
1) записывают показание счетчика, осматривают его внешнее состояние и целостность пломб на кожухе и крышке зажимной коробки;
2) снимают нагрузку, выворачивают предохранители, отключают автоматические выключатели;
3) проверяют отсутствие напряжения на металлической панели и крышке счетчика однополюсным указателем напряжения;
4) определяют фазный и нулевой питающие провода. Отсоединяют от зажима фазный провод и на него надевают изолирующий колпак;
5) отсоединяют от зажима счетчика нулевой провод и на него надевают изолирующий колпак;
6) отключают провода нагрузки;
7) отворачивают нижние винты крепления счетчика, верхний винт ослабляют или выворачивают, снимают старый счетчик и устанавливают новый;
8) присоединение проводов осуществляют в обратной последовательности;
9) проверяют надежность крепления проводов в колодке зажимов потягиванием каждого из них вниз;
10) проверяют отсутствие самохода;
11) вворачивают предохранители или включают автоматические выключатели. Включают нагрузку;
12) проверяют вращение диска;
13) крышку коробки зажимов пломбируют.
|
φ, град |
sinφ |
cosφ |
tgφ |
φ, град |
sinφ |
cosφ |
tgφ |
|
0 |
0,0000 |
1,0000 |
0,0000 |
34 |
5592 |
8290 |
6745 |
|
1 |
0175 |
0,9998 |
0175 |
35 |
0,5736 |
0,8192 |
0,7002 |
|
2 |
0349 |
9994 |
0349 |
36 |
5878 |
8090 |
7265 |
|
3 |
0523 |
9986 |
0524 |
37 |
6018 |
7986 |
7536 |
|
4 |
0698 |
9976 |
0699 |
38 |
6157 |
7880 |
7813 |
|
5 |
0,0872 |
0,9962 |
0,0875 |
39 |
6293 |
7771 |
8093 |
|
6 |
1045 |
9945 |
1051 |
40 |
0,6428 |
0,7660 |
0,8391 |
|
7 |
1219 |
9925 |
1228 |
41 |
6561 |
7547 |
8693 |
|
8 |
1392 |
9903 |
1405 |
42 |
6691 |
7431 |
9004 |
|
9 |
1564 |
9877 |
1584 |
43 |
6820 |
7314 |
9325 |
|
10 |
0,1736 |
0,9848 |
0,1765 |
44 |
6947 |
7193 |
9657 |
|
11 |
1908 |
9816 |
1944 |
45 |
0,7071 |
0,7171 |
1,0000 |
|
12 |
2079 |
9781 |
2126 |
46 |
7193 |
6947 |
0355 |
|
13 |
2250 |
9744 |
2309 |
47 |
7314 |
6820 |
0724 |
|
14 |
2419 |
9703 |
2493 |
48 |
7431 |
6691 |
1106 |
|
15 |
0,2588 |
0,9659 |
0,2679 |
49 |
7547 |
6561 |
1504 |
|
16 |
2756 |
9613 |
2867 |
50 |
0,7660 |
0,6428 |
1,1918 |
|
17 |
2924 |
9563 |
3057 |
51 |
7771 |
6293 |
2349 |
|
18 |
3090 |
9511 |
3249 |
52 |
7880 |
6157 |
2799 |
|
19 |
3256 |
9455 |
3443 |
53 |
7986 |
6018 |
3270 |
|
20 |
0,3420 |
0,9397 |
0,3640 |
54 |
8090 |
5878 |
3764 |
|
21 |
3584 |
9336 |
3839 |
55 |
0,8192 |
0,5736 |
1,4282 |
|
22 |
3746 |
9272 |
4040 |
56 |
8290 |
5592 |
4826 |
|
23 |
3907 |
9205 |
4245 |
57 |
8387 |
5446 |
5399 |
|
24 |
4067 |
9135 |
4452 |
58 |
8480 |
5299 |
6003 |
|
25 |
0,4226 |
0,9063 |
0,4663 |
59 |
8572 |
5150 |
6643 |
|
26 |
4384 |
8988 |
4877 |
60 |
0,8660 |
0,5000 |
1,7321 |
|
27 |
4540 |
8910 |
5095 |
61 |
8746 |
4848 |
8041 |
|
28 |
4695 |
8829 |
5317 |
62 |
8829 |
4695 |
8807 |
|
29 |
4848 |
8746 |
5543 |
63 |
8910 |
4540 |
9626 |
|
30 |
0,5000 |
0,8660 |
0,5774 |
64 |
8988 |
4384 |
2,0503 |
|
31 |
5150 |
8572 |
6009 |
65 |
0,9063 |
0,4226 |
2,1445 |
|
32 |
5299 |
8480 |
6249 |
66 |
9135 |
4067 |
2640 |
|
33 |
5446 |
8387 |
6494 |
67 |
9205 |
3907 |
3559 |
|
68 |
9272 |
3746 |
4751 |
80 |
0,9848 |
0,1736 |
6713 |
|
69 |
9336 |
3584 |
6051 |
81 |
9877 |
1564 |
6,6138 |
|
70 |
0,9397 |
0,3420 |
2,7475 |
82 |
9903 |
1392 |
7,1154 |
|
71 |
9455 |
3256 |
9042 |
83 |
9925 |
1219 |
8,1444 |
|
72 |
9511 |
3090 |
3,0777 |
84 |
9945 |
1045 |
9,5144 |
|
73 |
9563 |
2924 |
2709 |
85 |
0,9962 |
0,0872 |
11,4301 |
|
74 |
9613 |
2756 |
4874 |
86 |
9976 |
0698 |
14,3007 |
|
75 |
0,9659 |
0,2588 |
7321 |
87 |
9986 |
0523 |
19,0811 |
|
76 |
9703 |
2419 |
4,0108 |
88 |
9994 |
0349 |
28,6363 |
|
77 |
9744 |
2250 |
3315 |
89 |
9998 |
0175 |
57,2900 |
|
78 |
9781 |
2079 |
7046 |
90 |
1,0000 |
0,0000 |
∞ |
|
79 |
9816 |
1908 |
5,1446 |
|
|
|
|
|
Тип |
Номинальное напряжение обмоток, кВ |
Номинальная мощность, В·А, для классов точности |
Максимальная мощность, В·А |
ик, % |
|||||
|
ВН |
НН (основной) |
НН (дополнительной) |
0,2 |
0,5 |
1 |
3 |
|||
|
НОС-0,5 |
0,38 |
0,1 |
- |
- |
25 |
50 |
100 |
200 |
4,4 |
|
0,5 |
0,1 |
- |
- |
25 |
50 |
100 |
200 |
4,2 |
|
|
НОМ-6 |
3 |
0,1 |
- |
- |
30 |
50 |
150 |
240 |
3,58 |
|
6 |
0,1 |
- |
- |
50 |
75 |
200 |
400 |
6,15 |
|
|
НОМ-10 |
10 |
0,1 |
- |
- |
75 |
150 |
300 |
640 |
6,4 |
|
НОМ-15 |
13,8 |
0,1 |
- |
- |
75 |
150 |
300 |
640 |
3,8 |
|
15,75 |
0,1 |
- |
- |
75 |
150 |
300 |
640 |
4,83 |
|
|
18 |
0,1 |
- |
- |
75 |
150 |
300 |
640 |
4,5 |
|
|
НОМ-35 |
35 |
0,1 |
- |
- |
150 |
250 |
600 |
1200 |
3,87 |
|
НОЛ-08-6 |
6 |
0,1 |
- |
30 |
50 |
75 |
200 |
400 |
3,47 |
|
НОЛ-08-10 |
19 |
0,1 |
- |
50 |
75 |
150 |
300 |
640 |
4,95 |
|
НТС-0,5 |
0,38 |
0,1 |
- |
- |
50 |
75 |
200 |
400 |
3,76 |
|
0,5 |
0,1 |
- |
- |
50 |
75 |
200 |
400 |
3,78 |
|
|
НТМК-6-48 |
3 |
0,1 |
- |
- |
50 |
75 |
200 |
400 |
2,98 |
|
6 |
0,1 |
- |
- |
75 |
150 |
300 |
640 |
3,92 |
|
|
НТМК-10 |
10 |
0,1 |
- |
- |
120 |
200 |
500 |
960 |
3,07 |
|
НТМИ-8 |
3 |
0,1 |
0,1/3 |
- |
50 |
75 |
200 |
400 |
3,01 |
|
6 |
0,1 |
0,1/3 |
- |
75 |
150 |
300 |
640 |
5,23 |
|
|
НТМИ-10 |
10 |
0,1 |
0,1/3 |
- |
120 |
200 |
500 |
960 |
5 |
|
НТМИ-18 |
13,8 |
0,1 |
0,1/3 |
- |
120 |
200 |
500 |
960 |
4,08 |
|
15,75 |
0,1 |
0,1/3 |
- |
120 |
200 |
500 |
960 |
4,32 |
|
|
18 |
0,1 |
0,1/3 |
- |
120 |
200 |
500 |
960 |
4,32 |
|
|
ЗНОЛ-09-6 |
|
|
0,1/3 |
30 |
50 |
75 |
200 |
400 |
3,55 |
|
ЗНОЛ-09-10 |
|
|
0,1/3 |
50 |
75 |
150 |
300 |
640 |
4,8 |
|
ЗНОЛ-06-8 |
|
|
0,1/3 |
30 |
50 |
75 |
200 |
400 |
3,55 |
|
ЗНОЛ-06-10 |
|
|
0,1/3 |
50 |
75 |
150 |
300 |
640 |
4,8 |
|
ЗНОЛ-06-15 |
|
|
0,1/3 |
50 |
75 |
150 |
300 |
640 |
5,12 |
|
|
|
0,1/3 |
50 |
75 |
150 |
300 |
640 |
5,12 |
|
|
ЗНОЛ-06-20 |
|
|
0,1/3 |
50 |
75 |
150 |
300 |
640 |
5,02 |
|
|
|
0,1/3 |
50 |
75 |
150 |
300 |
640 |
5,02 |
|
|
ЗНОЛ-06-24 |
|
|
0,1/3 |
50 |
75 |
150 |
300 |
640 |
5,03 |
|
ЗНОМ-15-72 |
|
|
0,1/3 |
- |
50 |
75 |
200 |
400 |
3,42 |
|
|
|
0,1/3 |
- |
75 |
150 |
300 |
640 |
4,83 |
|
|
|
|
0,1/3 |
80 |
90 |
150 |
300 |
640 |
4,57 |
|
|
|
|
0,1/3 |
60 |
90 |
150 |
300 |
640 |
5,1 |
|
|
ЗНОМ-20 |
|
|
0,1/3 |
60 |
90 |
150 |
300 |
640 |
5,6 |
|
|
|
0,1/3 |
- |
75 |
150 |
300 |
640 |
5,25 |
|
|
ЗНОМ-24 |
|
|
0,1/3 |
- |
150 |
250 |
600 |
980 |
4,4 |
|
ЗНОМ-35-65 |
|
|
0,1/3 |
- |
150 |
250 |
600 |
1200 |
6 |
|
НКФ-110-57 |
|
|
0,1 |
- |
400 |
600 |
1200 |
2000 |
4,05 |
|
НКФ-110-58 |
|
|
0,1/3 |
- |
400 |
600 |
1200 |
2000 |
3,55 |
|
|
|
0,1/3 |
- |
400 |
600 |
1200 |
2000 |
4,43 |
|
|
НКФ-220-58 |
|
|
0,1 |
- |
400 |
600 |
1200 |
2000 |
3,83 |
|
Наименование прибора |
Тип |
Цепь напряжения |
Цепь тока |
||||||
|
номинальное напряжение, В |
потребляемый ток, А |
полное сопротивление, Ом |
потребляемая мощность, В·А |
номинальный ток, А |
падение напряжения, В |
полное сопротивление, Ом |
потребляемая мощность, В·А |
||
|
Счетчик |
СА3У-ИТ |
100 |
0,03 |
3333 |
3 |
5 |
0,19 |
0,038 |
0,95 |
|
СР3У-ИТР |
100 |
0,03 |
3333 |
3 |
5 |
0,19 |
0,038 |
0,95 |
|
|
СА3У-И670 |
100 |
0,045 |
2222 |
4,5 |
5 |
0,17 |
0,034 |
0,85 |
|
|
СА3У-И681 |
100 |
0,046 |
2174 |
4,6 |
1 |
0,75 |
0,75 |
0,75 |
|
|
СА3У-И681 |
100 |
0,046 |
2174 |
4,6 |
5 |
0,17 |
0,034 |
0,85 |
|
|
СР4У-И673 |
100 |
0,08 |
1250 |
8 |
1 |
0,35 |
0,35 |
0,35 |
|
|
СР4У-И673 |
100 |
0,08 |
1250 |
8 |
5 |
0,08 |
0,016 |
0,4 |
|
|
DH-3 |
100 |
0,055 |
1818 |
5,5 |
5 |
0,09 |
0,018 |
0,45 |
|
|
DHs-3 |
100 |
0,072 |
1389 |
7,2 |
5 |
0,09 |
0,018 |
0,45 |
|
|
ЦЭ6805 |
100 |
0,025 |
4000 |
2,5 |
1 |
0,02 |
0,02 |
0,02 |
|
|
ЦЭ6805 |
100 |
0,025 |
4000 |
2,5 |
5 |
0,016 |
0,0032 |
0,08 |
|
|
Ф68700 |
100 |
0,005 |
20000 |
0,5 |
5 |
0,03 |
0,006 |
0,15 |
|
|
Ваттметр |
Д341 |
100 |
0,0055 |
18182 |
0,55 |
5 |
0,45 |
0,09 |
2,25 |
|
Д335 |
100 |
0,004 |
25000 |
0,4 |
5 |
0,18 |
0,036 |
0,9 |
|
|
Д335 |
100 |
0,0036 |
27778 |
0,36 |
1 |
0,9 |
0,9 |
0,9 |
|
|
Ваттметр |
Д365 |
100 |
0,0036 |
27778 |
0,36 |
1 |
0,45 |
0,45 |
0,45 |
|
Д365 |
100 |
0,0028 |
35714 |
0,28 |
5 |
0,12 |
0,024 |
0,6 |
|
|
Д309 |
100 |
0,006 |
16667 |
0,6 |
5 |
0,12 |
0,024 |
0,6 |
|
|
Варметр |
Д335/1 |
100 |
0,0018 |
55556 |
0,18 |
1 |
0,75 |
0,75 |
0,75 |
|
Д341/1 |
100 |
0,0055 |
18182 |
0,55 |
5 |
0,45 |
0,09 |
2,25 |
|
|
Д343 |
100 |
0,007 |
14286 |
0,7 |
5 |
0,48 |
0,096 |
2,4 |
|
|
Д365 |
100 |
0,0036 |
27778 |
0,36 |
1 |
0,45 |
0,45 |
0,45 |
|
|
Д365 |
100 |
0,0028 |
35714 |
0,28 |
5 |
0,11 |
0,022 |
0,55 |
|
|
Амперметр |
Э30 |
- |
- |
- |
- |
5 |
0,22 |
0,044 |
1,1 |
|
Э335 |
- |
- |
- |
- |
1 |
0,095 |
0,095 |
0,095 |
|
|
Э335 |
- |
- |
- |
- |
5 |
0,09 |
0,018 |
0,45 |
|
|
Э365/1 |
- |
- |
- |
- |
5 |
0,04 |
0,008 |
0,2 |
|
|
Вольтметр |
Э3О |
- |
0,03 |
- |
- |
- |
- |
- |
- |
|
Э365 |
100 |
0,005 |
20000 |
0,5 |
- |
- |
- |
- |
|
|
Э377 |
100 |
0,012 |
8333 |
1,2 |
- |
- |
- |
- |
|
|
Э378 |
100 |
0,012 |
8333 |
1,2 |
- |
- |
- |
- |
|
|
Частотомер |
Э361 |
100 |
0,0055 |
18182 |
0,55 |
- |
- |
- |
- |
|
Ц300 |
100 |
0,05 |
2000 |
5 |
- |
- |
- |
- |
|
|
Ц300-М1 |
100 |
0,016 |
6250 |
1,6 |
- |
- |
- |
- |
|
|
ИП мощности |
ИПТАМ-301-1 |
100 |
0,002 |
50000 |
0,2 |
5 |
0,50 |
0,1 |
2,5 |
|
Е728 |
100 |
0,073 |
1370 |
7,3 |
5 |
0,10 |
0,02 |
0,5 |
|
|
Е748 |
100 |
0,06 |
1667 |
6 |
0,5 |
1,90 |
3,8 |
0,95 |
|
|
Е748 |
100 |
0,06 |
1667 |
6 |
1 |
0,95 |
0,95 |
0,95 |
|
|
Е748 |
100 |
0,06 |
1667 |
6 |
2,5 |
0,80 |
0,32 |
2 |
|
|
Е748 |
100 |
0,06 |
1667 |
6 |
5 |
0,50 |
0,1 |
2,5 |
|
|
Е849 |
100 |
0,075 |
1333 |
7,5 |
0,5 |
0,14 |
0,28 |
0,07 |
|
|
Е849 |
100 |
0,075 |
1333 |
7,5 |
1 |
0,07 |
0,07 |
0,07 |
|
|
Е849 |
100 |
0,075 |
1333 |
7,5 |
2,5 |
0,30 |
0,12 |
0,75 |
|
|
Е849 |
100 |
0,075 |
1333 |
7,5 |
5 |
0,15 |
0,03 |
0,75 |
|
|
Е849/3М-1 |
100 |
0,03 |
3333 |
3 |
1 |
0,01 |
0,01 |
0,01 |
|
|
Е849/9М-1 |
100 |
0,03 |
3333 |
3 |
5 |
0,12 |
0,024 |
0,6 |
|
|
ИП напряжения |
Е825/1 |
100 |
0,0085 |
11765 |
0,85 |
- |
- |
- |
- |
|
Е825/2 |
100 |
0,0125 |
8000 |
1,25 |
- |
- |
- |
- |
|
|
Е855/3 |
100 |
0,00087 |
118906 |
0,09 |
- |
- |
- |
- |
|
|
ИП тока |
Е824 |
- |
- |
- |
- |
5 |
0,11 |
0,022 |
0,55 |
|
Е842 |
- |
- |
- |
- |
5 |
0,14 |
0,028 |
0,7 |
|
|
ИП частоты |
Е858/1 |
100 |
0,023 |
4348 |
2,3 |
- |
- |
- |
- |
|
Класс точности |
I1, % I1ном |
Токовая погрешность, % |
Угловая погрешность, мин |
Пределы вторичной нагрузки Z, % Zном, при cosφ = 0,8 инд |
|
0,2 |
5 20 100-120 |
±0,75 +0,35 +0,2 |
+30 ±15 ±10 |
25-100 |
|
0,5 |
5 20 100-120 |
±1,5 ±0,75 ±0,5 |
±90 +45 ±30 |
25-100 |
|
1 |
5 20 100-120 |
±3 ±1,5 ±1 |
±180 ±90 ±60 |
25-100 |
|
3 |
50-120 |
±3 |
Не нормируют |
50-100 |
1. ГОСТ 6570-96. Счетчики электрические активной и реактивной энергии индукционные. Общие технические условия. - М.: Изд-во стандартов, 1997.
2. ГОСТ 30206-94. Статические счетчики ватт-часов активной энергии переменного тока (классы точности 0,2S и 0,5S). - М.: ИПК Изд-во стандартов, 1996.
3. ГОСТ 30207-94. Статические счетчики ватт-часов активной энергии переменного тока (классы точности 1 и 2). - М.: ИПК Изд-во стандартов, 1996.
4. ГОСТ 7746-89. Трансформаторы тока. Общие технические условия. - М.: Изд-во стандартов, 1989.
5. ГОСТ 1983-89. Трансформаторы напряжения. - М.: Изд-во стандартов, 1989.
6. РД 34.11.333-97. Типовая методика выполнения измерений количества электрической энергии. - М.: РАО «ЕЭС России», 1997.
7. РД 34.09.101-94. Типовая инструкция по учету электроэнергии при ее производстве, передаче и распределении. - М.: СПО ОРГРЭС, 1995.
8. Правила применения и испытания средств защиты, используемых в электроустановках, технические требования к ним. - М.: Главгосэнергонадзор, 1993.
9. Минин Г.П. Измерение электроэнергии. - М.: Энергия, 1974.
10. Труб И.И. Обслуживание индукционных счетчиков и цепей учета в электроустановках. - М.: Энергоатомиздат, 1983.
11. Правила устройства электроустановок. / Минэнерго СССР. -6-е изд. перераб. и доп. - М.: Энергоатомиздат, 1985.
12. Инструкция по проверке трансформаторов напряжения и их вторичных цепей. - М.: СПО Союзтехэнерго, 1979.
13. Инструкция по проверке трансформаторов тока, используемых в схемах релейной защиты. - М.-Л.: Госэнергоиздат, 1960.
14. Справочник по электропотреблению в промышленности / Под ред. Г.П. Минина. - М.: Энергия, 1987.
15. РД 153-34.0-11.209-99. АСКУЭ. Типовая методика выполнения измерений электроэнергии и мощности / Рекомендации. - М.: РАО «ЕЭС России», 1999.
16. Кораблев В.П. Электробезопасность в вопросах и ответах. -М.: Московский рабочий, 1985.
17. Латорцев В.И. Повышение точности измерений потерь электроэнергии в ОАО «Кубаньэнерго». Информационно-методические материалы 3-го научно-технического семинара «Метрологическое обеспечение электрических измерений в электроэнергетике». - М.: Изд-во НЦ ЭНАС, 1999.
18. Электрические измерения: Учебник для вузов/Л.И. Байда, Н.С. Добротворский, Е.М. Душин и др. Под ред. А.В. Фремке и Е.М. Душина. - 5-е изд., перераб. и доп. - Л.: Энергия, 1980.
19. Загорский Я.Т., Комкова Е.В. Погрешности измерений электроэнергии при влиянии внешних величин и параметров контролируемых присоединений // Метрология электрических измерений в электроэнергетике: Доклады науч.-техн. семинаров и конференций 1998-2001 гг. / Под общ. ред. Я.Т. Загорского. - М.: Изд-во НЦ ЭНАС, 2001.