МИНИСТЕРСТВО ТРАНСПОРТНОГО СТРОИТЕЛЬСТВА
ГОСУДАРСТВЕННЫЙ ВСЕСОЮЗНЫЙ
ДОРОЖНЫЙ НАУЧНО-ИССЛЕДОВАТЕЛЬСКИЙ ИНСТИТУТ
(СОЮЗДОРНИИ)
МЕТОДИЧЕСКИЕ РЕКОМЕНДАЦИИ
ПО ПРОЕКТИРОВАНИЮ И УСТРОЙСТВУ ТЕПЛОИЗОЛИРУЮЩИХ СЛОЕВ НА ПУЧИНООПАСНЫХ УЧАСТКАХ АВТОМОБИЛЬНЫХ ДОРОГ
Одобрены
Главным техническим управлением
Минтрансстроя (№ 37-7-18 от 4/II-76 г.)
Москва, 1977
СОДЕРЖАНИЕ
Приведены рациональные конструкции дорожных одежд с различными видами теплоизоляции, требования к дорожным теплоизоляционным материалам, а также сведения о выпускаемых промышленностью полимерных теплоизоляторах и легких искусственных заполнителях. Даны рекомендации по проектированию теплоизоляционных композиций на основе местных материалов, отходов промышленности и грунтов. Освещены особенности производства работ по устройству дорожной одежды с теплоизолирующими слоями из разных материалов.
Приведены методы инженерного расчета и технико-экономического обоснования конструкций с теплоизолирующими слоями разного назначения: для предотвращения промерзания земляного полотна либо для уменьшения промерзания до глубины, допустимой по условиям пучения.
В последнее десятилетие в нашей стране и за рубежом ведутся исследования, направленные на разработку новых методов зашиты земляного полотна от промерзания. Главной особенностью этих методов является возможность регулирования теплозащитных свойств конструкции в целях полного предотвращения промерзания земляного полотна или ограничения глубины промерзания допустимыми по условиям влагонакопления и пучения пределами. Реализуется эта возможность путем устройства сравнительно тонких слоев из материала с хорошими теплоизоляционными качествами.
Выполненные в последние годы теоретические и экспериментальные исследования, опытное строительство, результаты поиска новых теплоизоляционных композиций, создаваемых на основе местных материалов и грунтов, а также налаженный промышленностью выпуск высокоэффективных полимерных теплоизоляционных материалов (пенопласты, гранулы полистирола) позволили разработать "Методические рекомендации по проектированию и устройству теплоизолирующих слоев на пучиноопасных участках автомобильных дорог".
В "Методических рекомендациях" приведены конструкции дорожных одежд с теплоизолирующими слоями, предназначенными для предотвращения промерзания земляного полотна либо для снижения глубины промерзания. Изложены требования к теплоизоляционным материалам, а также способы проектирования теплоизолирующих составов на основе местных материалов и грунтов, методы инженерного расчета и технико-экономического обоснования конструкций с теплоизолирующими слоями; приведены необходимые для этого расчетные значения теплофизических, деформационных и прочностных характеристик теплоизоляционных дорожно-строительных материалов и грунтов; рассмотрены способы экспериментального определения теплофизических характеристик. Даны рекомендации, учитывающие особенности производства работ по устройству дорожной одежды с теплоизолирующими слоями из разных материалов.
Методические рекомендации разработали М.Б. Корсунский (предисловие, разделы 1, 2, 3, 4, 5, 6 и 7; приложения 1, 4, 6, 7), П.Д. Россовский (разделы 1, 2, 3, 7; приложение 1), В.Н. Гайворонский (разделы 2, 3 и 7; приложения 1 и 4), Е.А. Золотарь (раздел 4; приложения 4 и 6) - Ленинградский филиал Союздорнии; Р.А. Агапова (разделы 2 и 7, приложение 1, п.3 приложения 2 и п.1 приложения 3), В.И. Рувинский (разделы 1 и 2; приложение 1 и п.2 приложения 3) - Союздорнии; А.Я. Тулаев (разделы 1, 2, 3 и 7; приложение 1 и п.1 приложение 2), Б.В. Дряшкаба (разделы 1, 2, 3 и 7; приложение 1 и п.1 приложения 2) - МАДИ, Р.З. Порицкий (разделы 2, 3 и 7; приложение 1, п.2 приложения 2 и п.3 приложения 3) - Белдорнии. Координация работ и общее редактирование выполнены М.Б. Корсунским. Работа издается впервые.
1.1. Настоящие "Методические рекомендации следует учитывать при проектировании дорожных одежд с покрытиями усовершенствованного типа на пучиноопасных участках вновь сооружаемых или реконструируемых автомобильных дорог.
1.2. Признаки пучиноопасных участков, требования к морозоустойчивости земляного полотна и дорожной одежды, а также традиционные мероприятия по ее обеспечению приведены в Инструкции по проектированию дорожных одежд нежесткого типа ВСН 46-72.
1.3. Устройство теплоизолирующих, слоев следует предусматривать на участках, где технически невозможны или экономически нецелесообразны традиционные мероприятия по обеспечению морозоустойчивости конструкции (требуется слой из зернистых материалов очень большой толщины).
1.4. Теплоизолирующие слои устраивают из материалов с более эффективными теплозащитными свойствами, чем у грунтов и обычных дорожно-строительных материалов.
1.5. Для устройства теплоизолирующих слоев такие высокоэффективные материалы, как пенопласты, поскольку они еще дефицитны, целесообразно применять лишь в особо неблагоприятных грунтово-гидрологических условиях: "мокрые" выемки, земляное полотно в нулевых отметках, насыпи в условиях, когда глубина промерзания больше расстояния от поверхности покрытия до уровня грунтовых вод или длительно застаивающихся поверхностных вод.
В других случаях могут быть использованы легкие бетоны, теплоизоляционные композиции из укрепленных вяжущими местных материалов (грунтов) или отходов промышленности и легких заполнителей (перлит, аглопорит, гранулы полистирола и измельченные отходы пенопласта, керамзит) и др.
1.6. Целесообразность применения тех или иных теплоизоляционных, материалов устанавливают технико-экономическим сравнением различных вариантов теплозащиты. При этом должны быть рассмотрены также конструкции с традиционным морозозащитным слоем и сочетание его с теплоизоляцией.
1.7. С помощью теплоизоляции можно уменьшить глубину промерзания земляного полотна и ограничить допустимыми пределами размеры деформации пучения или полностью предотвратить промерзание подстилающего грунта и практически полностью исключить возможность его морозного пучения. Оптимально допустимую глубину промерзания назначают на основании сравнения вариантов, удовлетворяющих требованиям ВСН 46-72 к морозоустойчивости конструкций.
1.8. Толщину и расположение теплоизолирующего слоя в конструкции определяют теплотехническим расчетом, основанным на теоретическом решении нестационарной тепловой задачи применительно к слоистому полупространству с учетом результатов наблюдений за температурным режимом и промерзанием дорожных конструкций с теплоизоляцией.
При использовании пенопласта в теплотехнических расчетах следует принимать во внимание толщину его стандартных плит,
1.9. Толщину теплоизолирующего слоя, деформационные и прочностные характеристики его материала учитывают также при расчете дорожной конструкции на прочность, который выполняют в соответствии с указаниями ВСН 46-72.
При расчете конструкции на прочность следует учитывать, что с помощью теплоизоляции не только предотвращают или ограничивают промерзание, но и благоприятно воздействуют на водно-тепловой режим земляного полотна. В результате уменьшается влажность и улучшаются деформационные и прочностные характеристики подстилающего грунта. Все это при прочих равных условиях повышает прочность и устойчивость земляного полотна и дорожной одежды.
1.10. При проектировании конструкций с теплоизолирующими слоями наряду с настоящими "Методическими рекомендациями" следует руководствоваться указаниями СНиП II-Д.5-72 /2/, ВСН 46-72 /1/, "Методических рекомендаций" /3/.
Примечание. В конструкциях с теплоизоляцией, отвечающих требованиям ВСН 46-72 в отношении морозоустойчивости, возвышение низа дорожной одежды над уровнем грунтовых вод или длительно стоящих поверхностных вод может быть уменьшено по сравнению с нормами табл. 19 СНиП II-Д.5-72.
1.11. Теплоизолирующие слои в дорожной конструкции должны сохранять своп теплофизические, деформационные и прочностные свойства в течение продолжительного срока службы и способность противостоять вредным воздействиям мороза и колебаниям температуры, должны быть биостойкими и нетоксичными. Они должны обладать достаточной прочностью, чтобы выдерживать нагрузки от строительных транспортных средств, машин и механизмов, используемых для укладки и уплотнения вышележащих слоев дорожной одежды. Кроме того, следует предусмотреть, чтобы процесс устройства теплоизолирующих слоев не нарушал механизированный поток сооружения дороги.
2.1. Для теплоизоляции дорожной конструкции могут быть применены: полимерные материалы (пенопласты); легкие бетоны, в которых содержатся пористые заполнители (керамзит, аглопорит, перлит, гранулы полистирола); металлургические шлаки; золы уноса; золошлаковые смеси, как обработанные цементом, битумом или битумной эмульсией, так и необработанные; композиции из местных материалов или грунтов, легких заполнителей и вяжущих, приготовленные способом смешения в установке; битумоминеральные смеси, обычные и с легкими заполнителями.
Перечисленные смеси и исходные материалы должны удовлетворять требованиям к дорожно-строительным материалам действующих ГОСТ, СНиП и инструкций.
2.2. Лучшими теплоизоляционными свойствами в настоящее время обладают пенопласты. В зависимости от вида исходного полимера пенопласты разделяют на полистирольные (ПС-1, ПС-4, ПСБ, ПСБ-С), поливинилхлоридные (ПХВ-1, ПХВ-2), полиуретановые (ПУ-101, ППУ-9Н, ПУ-304Н, ППУ-ЗН), фенолформальдегидные (ФФ) и др. Пенопласты имеют весьма малую объемную массу (обычно 20 - 100, реже до 200 кг/м3).
Пенопласты имеют замкнуто-пористую структуру и мало изменяются в объеме при замерзании в увлажненном состоянии, хорошо переносят воздействие мороза и многократные переходы температуры через нуль (коэффициент морозостойкости после 25 циклов промерзания-оттаивания при температуре замораживания -20оС составляет 0,85 - 0,97), вполне удовлетворительно сопротивляются растягивающим напряжениям, сохраняют свои эксплуатационные свойства в достаточно широком интервале температур в течение длительного времени. В дорожной конструкции пенопласту предстоит работать при температурах от +20 до -20ºС; фактически же рабочий диапазон температур пенопласта значительно больше (от +60 до -60ºС).
Промышленность выпускает пенопласт в плитах разного размера.
Расчетные значения теплофизических и физико-механических характеристик пенопласта приведены в приложении 1.
2.3. По своим теплоизоляционным свойствам пенопласту (п.2.1) близки легкие бетоны, в частности бетон, в который введены вспученные гранулы полистирола или измельченные отходы жестких пенопластом так называемые стиропорбетоны, а также битумоминеральные смеси и бетоны с искусственными пористыми (легкими) заполнителями.
Особенности проектирования составов этих материалов и расчетные значения их теплофизических и физико-механических характеристик приведены в приложении 2.
2.4. Состав и свойства легких искусственных заполнителей регламентированы соответствующими стандартами: гравий керамзитовый - ГОСТ 9759-71; щебень и песок аглопоритовый - ГОСТ 1191-66, щебень и песок перлитовый - ГОСТ 10832-74,
Гранулированные топливные шлаки ТЭЦ (быстрого охлаждения водой), гранулированные шлаки черной и цветной металлургии, а также химической промышленности должны отвечать требованиям СНиП 1-Д.2-70 /4/.
2.5. Укрепленные грунты и золошлаковые смеси с добавками легких материалов обладают более высокой теплозащитной способностью, чем традиционные дорожно-строительные материалы (щебень, гравий, песок), применяемые обычно для устройства морозозащитных слоев, и грунты.
Среди указанных конструкционно-теплоизоляционных композиций важное место занимают грунты, укрепленные цементом, с добавкой легких заполнителей (гранулы полистирола, перлитовый песок, керамзит); грунты, укрепленные битумной эмульсией совместно с цементом, с добавками вспученного перлитового щебня или песка, а также без этих добавок; грунты, укрепленные золами уноса сухого отбора, с добавками извести или электролитов; золошлаковые смеси тепловых электростанций, укрепленные цементом х).
х) Методические рекомендации по использованию золошлаковых смесей ТЭС для устройства укрепленных оснований и морозозащитных слоев дорожных одежд. Союздорнии. М., 1977.
Цементом укрепляют крупнообломочные, песчаные и глинистые грунты (см. пп. 2.6 - 2.9 СН 25-74 /5/).
Битумными эмульсиями совместно с цементом укрепляют крупнообломочные грунты оптимального состава, пески крупные, средней крупности и мелкие (см. пп. 2.78 и 2.79 СН 25-74).
Золы уноса сухого отбора применяют для укрепления крупнообломочных грунтов и всех видов песков, в том числе пылеватых одномерных, а также супесей (см. п. 2.20 СН 25-74). Наиболее целесообразно использовать золошлаковые смеси ТЭС, работающих на каменном и буром углях.
Грунты и золошлаковые смеси укрепляют портландцементами марок не ниже "300", отвечающими требованиям ГОСТ 8424-72.
Для укрепления грунтов используют анионные прямого типа медленнораспадающиеся (класса МА) битумные эмульсии, приготовляемые на нефтяных битумах марок БНД-200/300, БНД-130/200, БНД-90/130, БНД-60/90, БНД-40/80 и отвечающие требованиям ГОСТ 18659-73.
Укрепленные грунты и золошлаковые смеси с добавками легких заполнителей также должны отвечать требованиям СН 25-74.
Способ проектирования составов этих композиций и расчетные значения их теплофизических и физико-механических характеристик приведены в приложениях 1 и 2.
2.6. Теплозащитные свойства материала характеризуют коэффициентом теплоусвоения Sw, определяемым по формуле
, (1)
где λw - коэффициент теплопроводности материала при расчетной влажности, ккал/м.ч.трад;
Сw - удельная теплоемкость влажного материала, ккал/кг.град;
γw - объемная масса материала при расчетной влажности, кг/м3.
Расчетные значения характеристик λw и Cw устанавливают по результатам лабораторных испытаний образцов при расчетной влажности (приложение 3). При отсутствии приборов для теплофизических испытаний материалов λw и Cw принимают по таблицам приложения 1, составленным на основании обобщения результатов исследований.
2.7. Теплоизоляционные материалы имеют, как правило, расчетные значения коэффициента теплоусвоения Sw < 20. При Sw ≤ 2 материал обладает высокоэффективными теплозащитными свойствами, например, пенопласт. Легкие бетоны обычно имеют Sw = 7 ÷ 9, битумоминеральные смеси с легкими заполнителями - Sw 7 ÷ 14 , а укрепленные грунты с легкими заполнителями - Sw = 12 ÷ 20. Материалы с коэффициентом теплоусвоения 7 < Sw < 20, показатели деформационных и прочностных свойств которых соответствуют нормам для материалов дорожной одежды, называются конструкционно-теплоизоляционными. Эти материалы в слоях дорожной одежды выполняют функции не только теплоизоляции, но и несущих элементов.
2.8. Теплоизолирующие слои также, как и остальные элементы дорожной одежды, воспринимают напряжения от транспортных нагрузок и участвуют в передаче их на подстилающий грунт. Поэтому теплоизоляционный материал должен обладать достаточной жесткостью (модуль упругости) и прочностью (допускаемое напряжение на растяжение при изгибе).
3.1. Для участков, находящихся в особо неблагоприятных грунтово-гидрологических условиях (п.1.5), следует устраивать конструкцию с теплоизолирующим слоем, полностью предотвращающим промерзание земляного полотна (рис.1). В других же случаях целесообразность применения конструкции должна быть экономически обоснована.
3.2. При отсутствии промерзания земляного полотна исключается возможность зимнего накопления влаги в грунте из-за миграции ее снизу от подземных вод. Для предупреждения поступления воды в основание дорожной одежды и в теплоизолирующий слой сверху поверхность обочин укрепляют в соответствии с "Рекомендациями по укреплению обочин автомобильных дорог" (Гипродорнии. М., 1975).
При близком к поверхности покрытия залегании подземных вод теплозащитный слой снизу изолируют полиэтиленовой пленкой, другими рулонными материалами (например, гидроизол) или прослойкой из обработанного битумом грунта. При защите земляного полотна от увлажнения (см. рис.1,а) отпадает необходимость устройства дренирующего слоя.
3.3. При частичном ограничении глубины промерзания земляного полотна и уменьшении зимнего влагонакопления и пучения под пенопластом следует устраивать дренирующий слой (см. рис.1,б) для отвода воды, освобождающейся при оттаивании грунта в соответствии с указаниями ВСН 46-72 и "Методических рекомендаций" /3/. При этом дренирующий слой выполняет также функции морозозащитного.

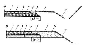
Рис. 1. Конструкции с теплоизолирующий слоем из пенопласта, предотвращающим промерзание земляного полотна (а) и уменьшающем глубину промерзания земляного полотна (б):
1 - покрытие; 2 и 3 - верхний и нижний слои основании; 4 - пенопласт; 5 - гидроизоляция; 6 - укрепительная полоса; 7 - укрепление обочин; 8 - засев трав по откосу; 9 - песчаная защитная прослойка; 10 - песчаный дренирующий слой на всю ширину земляного полотна
3.4. Легкий бетон в теплоизолирующем слое (рис. 2,а) так же, как и тонкий слой пенопласта (см. рис. 1,б), не предотвратит полностью промерзания, а лишь уменьшит его глубину. При использовании легкого бетона требуется устройство дренирующего слоя (он же и морозозащитный).
Легкий бетон является конструкционно-теплоизоляционным материалом (п.2.7), включенным в конструкцию дорожной одежды как несущий элемент.
Если по расчету потребуется более прочная конструкция, то между асфальтобетоном и легким бетоном может быть уложен слой битумоминеральной смеси.
При устройстве теплоизоляции из крупнопористого бетона с легкими или обычными заполнителями (рис. 2,б), способного принимать и интенсивно отводить воду, отпадает необходимость в дренирующем слое. Для отвода же воды за пределы дороги предусматривают песчаные обочины (см. рис.2,б).

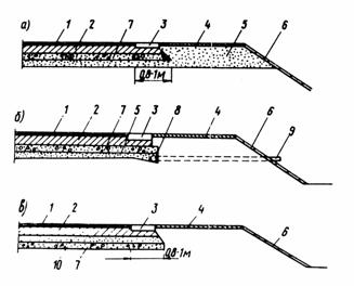
Рис.2. Конструкция с теплоизоляцией из легкого бетона (а); из битумоминеральной смеси и крупнопористого бетона (б):
1 - покрытие; 2 - легкий бетон; 3 - укрепительная полоса; 4 - укрепление обочин; 5 - песчаный дренирующий слой; 6 - засев трав по откосу; 7 - битумоминеральная смесь; 8 - крупнопористый бетон; 9 - песок
3.5. Для предохранения земляного полотна от значительного промерзания можно устраивать дорожные одежды с теплоизолирующими слоями из укрепленных цементом местных материалов, грунтов или отходов промышленности с добавкой легких заполнителей (рис. 3).
Применение же их, как и легких бетонов, для полного предотвращения промерзания, как правило, экономически нецелесообразно, ибо потребуется теплоизолирующий слой очень большой толщины.

Рис.3. Конструкции с теплоизолирующим слоем из укрепленных материалов и грунтов с легкими заполнителями (а), то же с трубчатыми дренами (б) и с морозозащитным слоем из бнтумоминеральной смеси (в):
1 - покрытие; 2 - основание; 3 - укрепительная полоса; 4 - укрепление обочин; 5 - песчаный дренирующий слой; 6 - засев трав по откосу; 7 - теплоизолирующий слой; 8 - трубчатая дрена; 9 - выпуск; 10 - морозозащитный слой
3.6. В конструкциях, приведенных на рис.3, в дополнение к теплоизоляционной композиции также дан слой из зернистых материалов, выполняющих функции дополнительной морозозащиты и дренирования. Теплоизолирующий слой в сочетании с морозозащитным необходимо рассчитывать, руководствуясь указаниями раздела 4 настоящих "Методических рекомендаций" и ВСН 46-72 с учетом допустимой (по условиям ограничения пучения) глубины промерзания земляного полотна. При проектировании дренирующего слоя только на ширину проезжей чести предусматривают отвод воды из слоя продольными трубчатыми дренами /3/ (см. рис.3,б).
3.7. Морозозащитный слой из битумоминеральной смеси или из другого материала (грунта), обработанного органическим вяжущим, целесообразно укладывать поверх теплоизоляции из легкого цементогрунта (см. рис.3,в) для предохранения теплоизоляционной композиции от развития трещин и проявления их на поверхности покрытия.
3.8. Битумоминеральные смеси, имеющие относительно небольшой коэффициент теплопроводности, можно использовать в качестве теплоизоляционного материала (рис. 4). Битумоминеральный слой укладывают непосредственно на грунт земляного полотна.

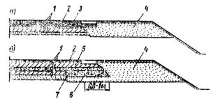
Рис.4. Теплоизоляция из битумоминеральной смеси:
1 - покрытие; 2 - битумоминеральная смесь; 3 - укрепительная полоса; 4 - укрепление обочин; 5 - засев трав по откосу
Возможно сочетание теплоизоляции данного типа с морозозащитным слоем. Оптимальное решение устанавливают расчетом.
Наиболее эффективно применение битумокерамзита, битумоперлита, битумоаглопорита или другого минерального пористого материала, обработанного битумом.
3.9. Для повышения теплозащитных свойств обычных битумоминеральных смесей в основании дорожных одежд, а также для снижения расхода теплоизоляционных материалов и обеспечения плавного уменьшения по глубине теплопроводности слоев одежды, в битумоминеральные смеси вместо одной (в крайнем случае двух) фракции щебня (гравия) естественных пород вводят искусственные легкие заполнители (рис.5) с частицами соответствующих размеров (чаще всего фракций 5 - 10 и 10 - 20 мм).
3.10. При капитальном ремонте, реконструкции существующих дорог или усилении дорожной одежды путем увеличения толщины слоев к теплоизоляционным материалам предъявляются повышенные требования в отношении прочности.

Рис.5. Двухслойная теплоизоляция из битуминированного аглопорита:
1 - покрытие; 2 - битумоминеральная смесь с аглопоритовым песком; 3 - аглопоритовый щебень, укрепленный битумом; 4 - укрепительная полоса; 5 - укрепление обочин; 6 - засев трав по откосу
При этом теплоизоляцию и морозоустойчивость дорожной одежды обеспечивают конструкционно-теплоизоляционными материалами или сочетанием слоев из различных теплоизоляционных материалов, например, из цементогрунта с легким заполнителем, щебня или битумоминеральной смеси (рис. 6).
Примечание. Для рационального выбора теплоизоляции при проектировании усиления или реконструкции существующих дорог необходимо знать характер намечаемых работ и подробную характеристику участка (природные условия, конструктивные элементы, состав и размеры движения и пр.).
3.11. В случаях, когда намечается полная перестройка участка с подъемом земляного полотна или возведение новой насыпи, теплоизолирующие слои проектируют, как для нового строительства.
3.12. Расстояние от поверхности покрытия до теплоизолирующего слоя не должно быть менее 15 см для легких бетонов и 35 см для жестких пенопластов.

Рис. 6. Теплоизоляция, устраиваемая при усилении дорожной одежды (а) и при реконструкции дорог с уширением и усилением порожной одежды (б):
1 - старая дорожная одежда; 2 - новое покрытие; 3 - легкий бетон; 4 - новый дренирующий слой; 5 - основание; 6 - укрепление основания под уширением; 7 - теплоизоляция
В противном случае температура покрытия и верхних слоев основания будет зимой значительно ниже, а летом выше, чем в конструкциях без теплоизолирующих слоев. Это может привести к снижению трещиностойкости и сдвигоустойчивости монолитных слоев, устроенных с применением органических вяжущих, а также к более частому образованию гололеда на покрытии.
3.13. Для предохранения грунта земляного полотна под дорожной одеждой от промерзания со стороны обочин теплоизолирующий слой должен быть шире проезжей части примерно на 1 м с каждой стороны (см. рис.1 - 4). Там, где по конструктивным соображениям это выполнить невозможно, целесообразно вдоль краев проезжей части устраивать вертикальные теплозащитные экраны на глубину до 1 м из пенопласта или другого высокоэффективного теплоизолирующего материала.
3.14. На концах участка с теплоизолирующим слоем на протяжении 3 - 5 м в продольном направлении дороги толщину теплоизолирующего слоя постепенно уменьшают, чтобы избежать резкого перехода от одной конструкции к другой и предупредить возможность появления трещин в местах сопряжения.
4.1. Расчет ведут применительно к дорожной конструкции (земляному полотну и дорожной одежде), представляющей собой трехслойное полупространство, состоящее из трех материалов с различными теплофизическими свойствами (рис.7). Средний слой, материал которого характеризуется более эффективными теплозащитными свойствами по сравнению с другими двумя слоями назван теплоизолирующим.

Рис.7. Модель дорожной конструкции с теплоизолирующим слоем
При многослойной конструкции слои, находящиеся над теплоизолирующим слоем, приводят к эквивалентному по теплопроводности однородному слою, а слои, лежащие под теплоизолирующим слоем, включая земляное полотно, - к эквивалентному однородному полупространству (п. 4.10).
4.2. Толщина теплоизолирующего слоя зависит от закономерности изменения температуры воздуха и поверхности покрытия, климатического показателя, характеризующего скорость промерзания грунта, допускаемых величин пучения и глубины промерзания грунта земляного полотна, толщин и теплофизических характеристик материалов слоев, находящихся под и над теплоизоляцией, теплофизических свойств самого теплоизоляционного материала и грунта земляного полотна, условий увлажнения, водных и пучинистых свойств этого грунта, места расположения теплоизоляции в конструкции, а также от периода между капитальными ремонтами дорожной одежды.
Теплоизолирующий слой рассчитывают по формуле
A(h + δ) ≤ [A(h + δ)], (2)
где A(h + δ) - амплитуда годового колебания температуры поверхности земляного полотна (низа теплоизоляции),°С;
[A(h + δ)] - допускаемое значение этой амплитуды, оС.
4.3. Допускаемое значение амплитуды годового колебания температуры поверхности земляного полотна определяют по формуле
[A(h + δ)] = tn.cp + [t], (3)
где tn.cp – среднегодовая температура поверхности покрытия в наиболее неблагоприятном году х) за период междукапитальными ремонтами, °С;
[t] – допускаемая величина самой низкой отрицательной температуры поверхности земляного полотна в расчетном году с учетом температуры замерзания грунта.
х) Под наиболее неблагоприятным годом понимают год с максимальной суммой отрицательных температур поверхности покрытия за период между капитальными ремонтами дорожной одежды.
4.4. Среднегодовую температуру поверхности покрытия находят по формуле
(4)
где tп.max - среднемесячная температура поверхности покрытия в самом теплом месяце года;
tn,min - то же, в самом холодном месяце года.
При отсутствии данных систематических измерений температуры поверхности покрытия в районе, где будет построена дорога, величины tп.max и tn,min могут быть определены косвенным путем.

Рис.8. График для определения допускаемой суммы отрицательных температур на поверхности земляного полотна под теплоизоляцией за зиму (градусо-сутки)
В этом случае используют сведения о среднемноголетних от среднегодовых температур воздуха и об амплитудах колебаний последних, среднеквадратические отклонения от этих параметров и формулу, позволяющую перейти от среднемесячных температур воздуха к среднемесячным температурам поверхности покрытия (приложение 4).
4.5. Допускаемую величину отрицательной температуры поверхности земляного полотна находят по формуле
[t] = t1 + tзам, (5)
где t1 = f [tτ], tn.ср - определяют по графику рис.8;
tзам - температура замерзания грунта, принимаемая для песков и супесей 0оС, для легких суглинков - 0,3°С, для тяжелых суглинков - 0.8оC и для глины № -1°С.
4.6. Для определения t1 по графику рис.8 .необходимо предварительно найти допускаемое значение произведения средневзвешенной отрицательной температуры поверхности земляного полотна t и продолжительности промерзания его τ по формуле
(6)
где [Z] - допускаемая глубина промерзания земляного полотна от низа теплоизолирующего слоя, м;
ρ - удельная теплота перехода воды в лед, принимаемая 80000 ккал/т;
WТ – суммарная влажность грунта при пределе текучести, доли единицы;
WН - весовое содержание незамерзшей воды, доли единицы, определяемое по приложению 5;
γМ - объемная масса скелета мерзлого грунта, т/м3
λМ - коэффициент теплопроводности мерзлого грунта, ккал/м.ч.град, принимаемый по табл.6 приложения 1.
4.7. Допускаемую глубину промерзания земляного полотна вычисляют по формуле
(7)
где Кпуч - коэффициент пучения грунта (3-й тип местности по условиям увлажнения), доли единицы;
[l] - допускаемое пучение, см. (п.4.13).
Коэффициент пучения грунта назначают, руководствуясь методикой, изложенной в приложении 9 ВСН 46-72.
При невозможности экспериментально определить коэффициент пучения расчетное значение его в первом приближении находят по формуле
(8)
где В - комплексная характеристика пучинистых свойств грунта (см. табл.13 ВСН 46-72), см2/сутки;
α0 - климатический показатель (см. п.4.24 и рис. 26 ВСН 46-72), см2/сутки.
Величину [l] назначают в соответствии с рекомендациями п.4.21 ВСН 46-72.
Значения [l] могут быть приняты меньшими (и даже [l] → 0) по сравнению с указанными в ВСН 46-72, если достигаемая при этом ровность поверхности покрытия обеспечивает высокую экономическую эффективность работы транспортных средств. Поскольку снижение величины [l] приведет к удорожанию дорожной одежды, оптимальное значение [l] должно быть определено на основании технико-экономического сравнения вариантов.
4.8. Левую часть неравенства (2) определяют по номограммам, связывающим следующие комплексы характеристик (приложение 6):
;
;
;
и ![]()
где
- амплитуда годового
колебания температуры поверхности, оС
х);
h - толщина слоя, находящегося над теплоизоляцией (общая толщина слоев над теплоизоляцией при многослойной конструкции), м;
δ - толщина теплоизолирующего слоя, м;
ω - частота колебаний температуры, 1/ч;
а1, а2 - коэффициенты температуропроводности материала, находящегося над теплоизоляцией, и теплоизоляционного материала
![]()
Si - коэффициент теплоусвоения материала i -го слоя (см. рис.7), определяемый по формуле (1).
х) При отсутствии данных о температуре покрытия величины tn.max и tn.min определяют по методике, изложенной в приложении 4.
4.9. Для того чтобы с
помощью номограмм приложения 6 рассчитать толщину
теплоизолирующего слоя, предварительно вычисляют отношения
и
, затем на нижней оси номограммы, построенной для данного
значения
, находят точку, соответствующую величине
=
. Из этой точки ведут
вертикаль до пересечения с лучом
, откуда проводят горизонтальную прямую до кривой с заданным
значением
. Из точки пересечения луча и кривой опускают перпендикуляр
на верхнюю ось абсцисс, отсекающий на ней отрезок
.
Зная величины ω и а2 нетрудно вычислить толщину теплоизолирующего слоя δ.
Пользуясь номограммами приложения 6, можно также определить любой другой комплекс характеристик. В частности, можно найти ожидаемую величину амплитуды колебаний температуры на нижней границе теплоизолирующего слоя А(h + δ) при известных значениях остальных комплексов характеристик, связанных между собой номограммами.
4.10. При расчете теплоизолирующего слоя многослойной дорожной конструкции ее приводят к трехслойной модели следующим образом:
а) слои, лежащие над
теплоизолирующим слоем, заменяют одним слоем толщиной h, равной сумме толщин этих слоев
и эквивалентным им по
термическому сопротивлению.
Коэффициент теплопроводности такого эквивалентного слоя определяют по формуле
(9)
где п - число слоев над теплоизоляцией, приводимых к эквивалентному, i - номер слоя;
λi - коэффициент теплопроводности i -го слоя.
Объемную массу γэ и удельную теплоемкость Сэ эквивалентного слоя определяют соответственно по формулам:
(10)
(11)
б) слои, находящиеся под теплоизоляцией, объединяют с грунтом земляного полотна в одно эквивалентное полупространство.
4.11. При определении по номограммам приложения 6 амплитуды колебания температуры на нижней границе теплоизоляции, ввиду того что коэффициенты теплоусвоения обычных дорожно-строительных слабосвязных материалов (песков, гравийных материалов и др.) и грунтов существенно не различаются, принимают для эквивалентного полупространства те же значения теплофизических характеристик, что и для грунта.
Температуру замерзания материала эквивалентного полупространства, а также значения WT, WH и γм принимают такими же, как и для материала, непосредственно подстилающего теплоизоляцию.
4.12. Допустимую глубину промерзания эквивалентного полупространства определяют по формуле
(12)
где
- общая толщина слоев
из стабильных материалов, находящихся между нижней границей теплоизоляции и
поверхностью земляного полотна.
4.13. Конструкцию с теплоизолирующим слоем следует проверить расчетом на морозоустойчивость с учетом указаний ВСН 48-72 применительно к участкам дорог, проходящим по местности 3-го типа по условиям увлажнения. Конструкция морозоустойчива, если удовлетворяется неравенство
lпуч ≤ [l], (13)
где [l] - допускаемая величина зимнего вспучивания покрытия, принимаемая по ВСН 48-72 с учетом п.4.7;
lпуч - расчетное (ожидаемое) значение пучения грунта земляного полотна.
4.14. При определении величины lпуч по ВСН 46-72 необходимо учитывать следующие дополнения:
а) глубину промерзания от поверхности покрытия и общую приведенную толщину слоев из стабильных материалов, включая теплоизоляцию, следует принимать соответственно равными
Z = Σhiεi + δεn + [Z] Ziприв = Σhiεi + δεn,
где εi и
εп - эквиваленты
(по теплотехническим свойствам) материалов слоев, находящихся над
теплоизоляцией, и теплоизоляционного материала по отношению к уплотненному
щебню, определяемые по формуле
(под корнем -
коэффициенты теплопроводности щебня λщ и соответствующих материалов или
грунта λj)
б) климатический показатель необходимо определять по формуле
(14)
где τ - продолжительность промерзания земляного полотна, ч, определяемая по формуле
(15)
Величину tn.ср находят по графику рис.8, а значение [A(h + δ)] - по формуле (3).
4.15. При расчете теплоизолирующего слоя целесообразна такая последовательность:
определение параметров закономерности изменения температуры поверхности покрытия - среднегодовой температуры tn.сp и амплитуды λn;
назначение допускаемой величины зимнего пучения покрытия [l] (п.4.7);
определение допускаемой глубины промерзания грунта земляного полотна от низа теплоизолирующего слоя [Z];
установление допускаемого значения произведения средневзвешенной отрицательной температуры поверхности земляного полотна (под теплоизоляцией) и продолжительности периода промерзания его [tτ];
определение допускаемого значения самой низкой отрицательной температуры поверхности земляного полотна за период промерзания [t1 + tзам];
вычисление допускаемой амплитуды колебаний температуры поверхности земляного полотна (низа теплоизоляции)
[A(h + δ)] = tn.cp + [t1 + tзам];
приведение многослойной конструкции к трехслойной системе;
вычисление комплексов
,
;
,
,
и определение по
номограммам толщины теплоизолирующего слоя δ;
проверка морозоустойчивости конструкции с учетом толщин теплоизолирующего слоя и других слоев из укрепленных материалов, а также миграции влаги из нижних слоев грунта земляного полотна в верхние при промерзании.
5.1. Дорожную одежду с теплоизолирующим слоем рассчитывают на прочность по ВСН 48-72 с учетом пп. в 5.2. - 5.6.
5.2. Расчетную влажность, от которой зависят расчетные значения деформационных и прочностных характеристик грунта, устанавливают после теплотехнического расчета конструкции, выполненного в соответствии с рекомендациями раздела 4.
5.3. Расчетная влажность непылеватых супесей при отсутствии промерзания может быть принята равной 0,70 WТ, всех других грунтов, в том числе пылеватых супесей, - 0,75 WT (WT - влажность при границе текучести).
При конструкциях, обеспечивающих соответствующее ограничение глубины промерзания земляного полотна, расчетную влажность грунта земляного полотна прогнозируют методом, изложенным в пп. 34 - 42 "Методических рекомендаций" /3/. Пользуясь этим методом, следует учитывать данные, полученные в соответствии с указаниями раздела 4 о глубине промерзания и эквивалентной толщине слоев из укрепленных материалов, в том числе и теплоизолирующего слоя.
Прочностные и деформационные характеристики грунта при расчетной влажности назначают по табл.4 приложения 2 ВСН 46-72.
5.4. Расчетные значения деформационных и прочностных характеристик жесткого пенопласта, легких бетонов и других конструкционно-изоляционных материалов принимают по таблицам приложения 1.
5.5. Материалы, находящиеся выше теплоизолирующего слоя, расположенного на глубине, указанной в п. 3.12, обычно сохраняют свои свойства такими же, как и в традиционных конструкциях (без теплоизоляции); и значения расчетных характеристик материалов принимают по ВСН 46-72.
5.6. При расчете конструкции на прочность по трем критериям по ВСН 46-72 учитывают также монолитность, механические свойства и толщину теплоизолирующего слоя, особенно если предусмотрено устройство его из конструкционно-теплоизоляционного материала (приложение 7).
6.1. Для участков дорог, где необходимая морозоустойчивость может быть обеспечена различными способами (традиционным и введением в конструкцию теплоизолирующего слоя), проектное решение принимают на основании технико-экономического анализа вариантов дорожной одежды из обычно применяемых материалов и конструкций с теплоизоляцией. Там, где технически невозможно осуществить традиционные меры по морозозащите, предусматривают только варианты с теплоизоляцией. Конструкции с теплоизолирующим слоем выбирают на основании сравнения вариантов со слоями из различных имеющихся теплоизоляционных материалов.
В том и другом случае все сравниваемые варианты должны быть равноценны по морозоустойчивости, т.е. их проектируют так, чтобы они характеризовались одной и той же допускаемой величиной пучения [l].
6.2. Намеченные варианты сопоставляют между собой по сумме приведенных капитальных вложений, дорожных и транспортных эксплуатационных затрат (сумма капитальных вложений и эксплуатационных затрат с учетом факторов времени). Наилучшим вариантом признают вариант с минимальными за срок сравнения приведенными затратами.
6.3. При составлении вариантов с традиционной морозозащитой следует руководствоваться указаниями ВСН 46-72 и "Методических рекомендаций" /3/.
По допустимой величине пучения с помощью номограмм рис.24 ВСН 46-72 намечают конструкции, равноценные по условиям морозоустойчивости, но различные в отношении высоты насыпи, общей толщины слоев из стабильных материалов, вида грунта, применяемого для возведения земляного полотна.
С помощью номограммы рис.5 (левая часть) и формул (4) и (5) "Методических рекомендаций" /3/ определяют для каждого варианта влажность грунта земляного полотна. В зависимости от значений влажности находят величины деформационных и прочностных характеристик грунта (ВСН 46-72): модуля упругости Е, угла внутреннего трения φ и сцепления С. С учетом этих характеристик грунта конструируют и рассчитывают на прочность дорожную одежду.
При составлении вариантов конструкций с теплоизолирующими слоями следует руководствоваться разделом 4.
По допустимым величинам
пучения конструкции и коэффициента пучения грунта определяют допустимую глубину
промерзания земляного полотна. Затем устанавливают допустимую амплитуду
годового колебания температуры поверхности земляного полотна под теплоизоляцией
[A(h + δ)]. По
известному отношению
=
c помощью
номограмм приложения
6 намечают варианты конструкций с различными теплоизолирующими
слоями. Морозоустойчивость этих вариантов проверяют в соответствии с указаниями
ВСН 46-72 и п.4.13.
Затем с помощью номограмм приложения 6 и формул (4) и (5)
"Методических рекомендаций" /3/
определяют влажность грунта земляного полотна, после чего по ВСН 46-71 находят прочностные и
деформационные характеристики грунта при этой влажности и рассчитывают на
прочность конструкцию каждого варианта.
6.4. Равноценные по морозоустойчивости варианты конструкций, как правило, неэквивалентны по условиям прочности, т.е. при одной и той же требуемой прочности они обладают различными значениями коэффициента запаса прочности. Вследствие этого они характеризуются разными межремонтными периодами и эксплуатационными качествами. Это, в свою очередь, обусловливает в вариантах различие в дорожных и транспортных эксплуатационных расходах, необходимых для осуществления заданного объема перевозок.
Если окажется, что конструкция какого-либо из вариантов обладает минимальным коэффициентом прочности, определенным трехкритерийным методом (ВСН 46-72), меньше 0,95, то необходимо эту конструкцию усилить и заново проверить ее теплотехническим расчетом, а также на прочность.
6.5. Сумму приведенных
затрат по каждому варианту
за срок сравнения в
общем случае определяют по формуле
(16)
где
- приведенные затраты на строительство
1 км дороги;
- приведенные
затраты на капитальные ремонты конструкций за срок сравнения вариантов;
- то же, на
средние ремонты;
- приведенные
затраты на первичное приобретение подвижного состава;
- приведенные
затраты, обусловленные удорожанием перевозок в период производства капитальных
ремонтов;
- приведенная
остаточная стоимость земляного полотна и дорожной одежды;
- приведенная
остаточная стоимость подвижного состава;
- сумма
приведенных ежегодных затрат на содержание и текущий ремонт 1 км дороги;
-приведенные
транспортные расходы по перевозке пассажиров и грузов.
Определяемые по формуле (16) приведенные затраты представляют собой отнесенную к 1 км дороги сумму первоначальных и текущих затрат, приведенных к сопоставимому виду в соответствии с нормативом для приведения разновременных затрат ЕНП = 0,08 /6/. Этот норматив используют при определении коэффициента приведения по формуле
(17)
где t - период в годах от базисного года до года в котором осуществляются затраты; за базисный год удобно принимать год окончания строительства.
Срок сравнения вариантов tc зависит от типа покрытия и степени капитальности конструкции. Для одежд с капитальными покрытиями tc = 20 годам, а для одежд с усовершенствованными покрытиями tс = 15 годам.
Для определения всех составляющих формулы (16) и параметры, от которых они зависят, в работах /7/, /8/ имеются соответствующие формулы, учитывающие эксплуатационные требования к дороге, тип покрытия, коэффициенты прочности и надежности конструкции, величины межремонтных периодов, влияние изменения состояния поверхности покрытия в процессе эксплуатации дороги на техническую скорость движения автомобилей и себестоимость перевозок. Все формулы учитывают также и фактор времени.
6.6. При технико-экономическом обосновании конструкции дорожной одежды с теплоизолирующим слоем, наряду с количественной оценкой эффективности капитальных вложений по приведенным затратам за срок сравнения вариантов, должны учитываться также качественные различия и главнейшие натуральные показатели, характеризующие безопасность движения, производительность труда при строительстве и эксплуатации дороги, затраты энергии, потребность в дефицитных материалах, возможность применения наиболее совершенных индустриальных методов строительства и др.
7.1. При устройстве дорожных одежд с теплоизолирующими слоями должны соблюдаться правила производства и приемки работ, изложенные в СНиП III-Д.5-73 /9/, с учетом пп. 7.2-7.22.
7.2. При вывозке и распределении материалов для теплоизолирующего слоя следует принять меры против повреждения земляного полотна.
7.3. При устройстве теплоизолирующего слоя в выемках и местах с нулевыми отметками естественный грунт на этих участках должен быть удален непосредственно перед укладкой материала теплоизолирующего слоя и обеспечен отвод воды.
7.4. Перед устройством гидроизоляции и укладкой теплоизоляционного материала при необходимости следует отремонтировать земляное полотно.
7.5. Гидроизоляцию из рулонных материалов для зашиты теплоизолирующего слоя от увлажнения снизу (п.3.2) укладывают, начиная с низовой (по отношению к направлению стока воды) стороны. Сопряжение полос гидроизоляционного материала осуществляют с перекрытием на 0,1 м.
7.6. Гидроизолирующий слой из грунта, обработанного вяжущими материалами, устраивают в соответствии с указаниями, приведенными в пп. 5.1 - 5.24 СНиП III-Д.5-73.
7.7. При устройстве конструкций, в которых имеются не только теплоизолирующие слои, но и морозозащитные и дренирующие (п.3.5), наряду с требованиями настоящего раздела должны выполняться требования пп. 4.1-4.9 СНиП III-Д.5-73.
7.8. Для теплоизолирующих слоев следует использовать пенопласт промышленного производства. При этом толщина плит пенопласта должна быть кратна требуемой толщине теплоизолирующего слоя, а ширина или длина - ширине проезжей части плюс 1,8 - 2,0 м (запас для изоляции от действия холода со стороны обочин).
7.9. При устройстве теплоизолирующих слоев из пенопласта поверхность земляного полотна тщательно выравнивают профилирующими машинами и уплотняют грунт. Для обеспечения равномерного опирания плит окончательно выравнивают поверхность земляного полотна песком. Плиты пенопласта укладывают на сухую поверхность грунта. При двух- и трехъярусном теплоизолирующем слое швы нижележащего ряда плит перекрывают вышележащими плитами. Чтобы в процессе укладки и засыпки избежать смещения и сдувания ветром легких плит, их следует присыпать песком или гравием.
7.10. Первый над пенопластом конструктивный слой дорожной одежды устраивают пионерным способом (вперед от себя), причем для предохранения пенопласта от механических повреждений дорожно-строительными машинами и автомобилями толщина конструктивного слоя не должна быть меньше 15 см.
Остальные работы по устройству дорожной одежды ведут обычным способом в соответствии со СНиП III-Д.5-73.
7.11. Стиропорбетон приготовляют на тех же ЦБЗ, что и обычный бетон, вводя в него гранулы полистирола или частицы крупностью 5-80 мм, полученные в результате измельчения отходов жестких пенопластов марок ПХВ-1, ПХВ-2, ПС-1, ПС-4. Эти легкие заполнители необходимо дозировать по объему в сухом состоянии во избежание слипания и комкования гранул (частиц). Остальные компоненты стиропорбетонной смеси дозируют обычным способом в смеситель вводят последовательно песок, цемент и воду; процесс перемешивания длится 2 - 3 мин. Затем добавляют гранулы полистирола или измельченные частицы пенопласта, и всю смесь снова перемешивают в течение 5 мин. При такой последовательности введения материалов удается избежать смятия особо легкого заполнителя лопастями мешалки при перемешивании с минеральными материалами.
Смесь стиропорбетона следует приготовлять лишь в смесителях принудительного действия, обеспечивающих хорошее качество смешивания компонентов.
7.12. Если стиропорбетон приготовляют с применением гранул полистирола, представляющих собой твердые прозрачные или матовые частицы (бисер) белого цвета размером 0,25 - 3 мм, то дополнительной операцией является вспенивание бисерного полистирола, осуществляемое перед дозированием составляющих смеси. Вспенивание ведется в свободном состоянии в аппаратах периодического (емкостях, ваннах) или непрерывного (шнековых, барабанных и др.) действия путем нагревания бисерного полистирола до температуры 90 - 120°С.
Насыпной вес гранул уменьшается от 40-50 до 2-10 кг/м3. Оптимальным коэффициентом вспенивания обладают гранулы 1 мм. В качестве теплоносителя при нагревании гранул используют горячую воду, водяной пар, инфракрасное излучение. Время вспенивания - 8-10 мин в горячей воде и 3 - 5 мин. - при применении водяного пара.
7.13. Все материалы для приготовления стиропорбетонной смеси должны быть подвергнуты испытаниям, регламентируемым ГОСТ 8269-64; ГОСТ 8736-67*, ГОСТ 4798-69* и МРТУ 6-05-1019-66 (для гранул полистирола), а также ВТУ 6-05-021 (для измельченного пенопласта).
Заводская лаборатория должна контролировать правильность дозирования материалов, последовательность загрузки их в бетономешалку, продолжительность перемешивания, подвижность и жесткость стиропорбетонной смеси, количество вовлеченного воздуха и корректировать состав бетона.
Подвижность и жесткость стиропорбетонной смеси проверяется не реже 2 - 3 раз в смену в соответствии с ГОСТ 10181-62 и ГОСТ 4799-69.
Прочность бетона на осевое сжатие и растяжение при изгибе контролируют по ГОСТ 10180-67. Каждая серия образцов отбирается от 150 м3 бетонной смеси (но не реже одного раза в смену) и состоит из трех стандартных кубов и трех балок.
Для оценки качества стиропорбетона рекомендуется также испытывать высверленные из теплоизолирующего слоя цилиндрические образцы (отбираемые через каждые 200 - 300 м покрытия).
7.14. Бетонные смеси с легкими заполнителями приготовляют в соответствии с требованиями ГОСТ 7473-61 и доставляют к месту строительства затворенными водой в готовом для укладки виде. Смесь не должна расслаиваться. Допустимые отклонения от норм по жесткости - ± 15 %, по подвижности ± 1 см. Точность дозирования цемента и воды ± 2 % по массе, заполнителей ± 3 %. Смесь перевозят автомобилями-самосвалами, предохраняя ее от попадания атмосферных осадков, пыли, а также от замораживания. Температура смеси при укладке должна быть не ниже 5ºС. Продолжительность перевозки не должна превышать 2 ч при температуре воздуха 5 - 10ºС. При более высоких температурах воздуха необходимо сокращать продолжительность транспортирования смеси.
7.15. Для приготовления крупнопористого бетона используют щебень или гравий с размером частиц 10-20 мм. Смесь приготовляют в обычных бетономешалках, оборудованных поддоном и вибросеткой с отверстиями 5 - 8 мм. В цементное тесто подают заполнитель и перемешивают в течение 3 - 5 мин. Полученную смесь подают на вибросетку для удаления избыточного цементного раствора. Оставшаяся на вибросетке бетонная смесь поступает в кузов автомобиля для доставки к месту работ.
Продолжительность транспортирования бетонной смеси не должна превышать 30 мин при температуре воздуха 5 - 10°С.
7.16. Стиропорбетон и другие легкие бетоны, приготовленные в стационарных или передвижных бетономешалках принудительного действия, перевозят к месту укладки в открытых автомобилях-самосвалах; укладывают с помощью обычных бетоноукладочных машин в один слой за один проход, В начале участка устанавливают упорную доску толщиной 50 мм и высотой, равной толщине укладываемого слоя. Толщина распределяемого слоя должна быть на 2-3 см больше толщины готового теплоизолирующего слоя (уточняется по ходу работы).
Поперечные и продольные швы нарезают в затвердевшем бетоне и заполняют материалом, рекомендованным правилами устройства цементобетонных оснований.
Слой свежеуложенного стиропорбетона накрывают влажной мешковиной. Нанесение на поверхность теплоизолирующего слоя битумной эмульсии или других пленкообразующих материалов нежелательно, так как это ухудшит сцепление с вышележащими слоями.
Движение построечного транспорта по теплоизолирующему слою из стиропорбетона разрешается не ранее чем через 5 суток после укладки. В этом случае обычно не требуется специальных мер предохранения стиропорбетона от воздействия колес дорожно-строительных машин и построечного транспорта.
Горячие битумоминеральные смеси можно укладывать непосредственно на слой стиропорбетона. При этом гранулы полистирола или измельченного пенопласта, находящиеся в поверхностном слое, частично оплавляются, способствуя тем самым хорошему сцеплению их с битумоминеральной смесью.
7.17. Битумоминеральные смеси на керамзите, аглопорите, перлите и других легких материалах приготавливают на асфальтобетонных заводах. Время перемешивания сухой смеси составляет 35 с и с битумом - 45 с. Температура смеси на выходе из смесителя 180°С. Температура укладки смеси 120 ÷ 130°С.
7.18. Теплоизолирующие слои из битумокерамзита, битумоперлита, битумоаглопорита и других устраивают самоходными асфальтоукладчиками в один или два слоя, в зависимости от его толщины. Такие слои уплотняют только легкими или средними катками.
7.19. Смеси из грунтов с добавкой вспученного перлитового песка, укрепленные битумной эмульсией совместно с цементом, приготовляют в смесителях С-945; С-951; С-773 цикличного действия с принудительным перемешиванием.
Вспученный перлитовый песок, расфасованный на заводе в водонепроницаемые мешки, доставляют к смесителю в автомобилях-самосвалах.
Смесь приготовляют в два этапа: вначале перемешивают грунт, цемент, битумную эмульсию и воду, затем через дозатор минеральных материалов в смесь вводят перлитовый песок и ее окончательно перемешивают до достижения однородного состояния.
Готовую смесь выгружают в автомобили-самосвалы, которые доставляют ее на дорогу; для укладки используют универсальный самоходный укладчик. Дальнейшие технологические операции по устройству слоя выполняют в соответствии с главой 3 СН 25-74 применительно к грунтам, укрепляемым органическими вяжущими материалами; там же содержатся и рекомендации по приготовлению смеси.
Перед началом производственного выпуска смеси надлежит сделать пробные замесы для установления времени перемешивания, необходимого для получения однородной массы.
Для подачи перлитового песка в накопительный бункер следует использовать шнековые или пневматические приспособления. Для предотвращения утечки вспученного перлитового песка и запыления рабочего помещения необходимо предусмотреть дополнительное устройство для герметизации затворов накопительного бункера и дозатора.
7.20. Золошлаковые смеси, укрепленные цементом, приготовляют в смесительных установках типа Д-709, С-780. С-543 и других или непосредственно на дороге с помощью линейных однопроходных машин типа Д-391Б либо многопроходных грунтосмесительных машин типа дорожных фрез Д-530.
При укреплении готовых золошлаковых смесей цементом в установках рекомендуется такая последовательность операций: золошлаковую смесь в отвалах тепловых электростанций разрабатывают экскаватором и погружают на автомобили-самосвалы, доставляют к смесительной установке, где ее выгружают и подают в бункер для грунтов (грунтосмесительная установка типа Д-709) или в бункер для крупного заполнителя (смесители типа С-780, С-543), затем компоненты смеси (золошлак, цемент и воду) в отдозированных количествах подают в смеситель и перемешивают. Готовую смесь выгружают в автомобили-самосвалы, доставляют к месту работ и укладывают с помощью универсального самоходного укладчика; дальнейшие операции выполняют в соответствии с рекомендациями главы 3 СН 25-74 применительно к крупнообломочным и песчаным грунтам, укрепленным цементом.
При укреплении цементом золошлаковой смеси непосредственно на дороге все технологические операции после разработки золошлаков в отвалах и доставки их на дорогу производят в последовательности, изложенной в главе 3 СН 25-74 применительно к крупнообломочным и песчаным грунтам, укрепленным цементом. Продолжительность разрыва между окончанием перемешивания смеси и завершением процесса уплотнения не должна превышать 8 ч.
Движение по слою из укрепленной шлаковой смеси может быть открыто не ранее чем через 10 суток после устройства слоя.
7.21. Перед началом разработки золошлаковых отвалов необходимо обследовать их в целях установления участков с наиболее однородным зерновым составом золошлака.
При содержании в золошлаковых смесях частиц размером более 40 мм перед подачей в смесь их необходимо подвергнуть отгрохотке.
7.22. Слои из грунтов, укрепленных золами уноса и битумной эмульсией совместно с цементом, устраивают способом, изложенным в главе 3 СН 25-74.
При проектировании конструкций с теплоизолирующими слоями используют расчетные значения следующих характеристик материалов и грунтов:
теплофизических - коэффициенты теплопроводности и температуропроводности, удельную теплоемкость;
пучинистости - коэффициент пучения и критерий морозоустойчивости;
деформационных - модуль упругости и коэффициент Пуассона;
прочностных - сопротивление растяжению при изгибе (монолитные материалы) и параметры сопротивления сдвигу (грунты и слабосвязные материалы).
Величины характеристик, необходимых для расчета конструкций на прочность и морозоустойчивость, назначают, руководствуясь указаниями приложений 2, 3, 5 , 6, 9 ВСН 48-72, с учетом дополнений, изложенных в разделе 5 настоящих "Методических рекомендаций". Для материалов, не нашедших отражения в ВСН 48-72, главным образом теплоизоляционных, эти характеристики приведены в табл. 1 - 4.
Приводимые ниже расчетные значения теплофизических характеристик разных материалов и грунтов следует использовать лишь при отсутствии соответствующих приборов и оборудования для экспериментального определения (см. приложение 3).
При отсутствии в табл. 1 - 6 данных о расчетном коэффициенте температуропроводности его следует определять по формуле
![]()
где λ - коэффициент теплопроводности;
С - удельная теплоемкость;
γ - объемная масса.
Значения λ, С и γ принимают по табл. 1 - 6.
1. Теплоизоляционные и конструкционно-теплоизоляционные материалы
В табл. 1 приведены теплофизические и механические характеристики пенопласта. Расчетные значения теплофизических характеристик соответствуют мерзлому состоянию пенопласта при полном его водонасыщении. Большие величины модуля упругости и предела прочности при изгибе относятся к пенопласту с более высокой объемной массой.
Табл.2 содержит расчетные значения теплофизических и механических характеристик легких бетонов. Величины сопротивления растяжению при изгибе даны с учетом развития усталостных явлений в бетоне при многократном воздействии напряжений от транспортных нагрузок. Значения модуля упругости даны с учетом влияния на бетон многократного замораживания и оттаивания, а также неоднородности условий работы его в основаниях дорожных одежд. Теплофизические характеристики соответствуют мерзлому состоянию бетона при полном водонасыщении.
В табл. 3 приведены расчетные значения теплофизических и физико-механических характеристик конструкционно-теплоизоляционных битумоминеральных смесей с легкими (пористыми) заполнителями, а в табл. 4 - расчетные значения теплофизических и физико-механических характеристик укрепленных грунтов и золошлаковых смесей. В некоторые смеси введены легкие заполнители, существенно улучшающие теплозащитные свойства получаемых композиций.
|
Исходный полимер |
Марка пенопласта |
Объемная масса, кг/м3 |
Предел прочности при изгибе, кгс/см2 |
Модуль упругости, кгс/см2 |
Коэффициент морозостойкости |
Коэффициент теплопроводности, ккал/м-ч-град |
Удельная теплоемкость, ккал/кг-град |
|
Полистирол |
ПСБ |
30 |
2,6 |
50 |
- |
0,035 |
0,32 |
|
ПСБ |
40-50 |
2,5-3,5 |
85 |
- |
0,040 |
0,32 |
|
|
ПСБ-С |
30-40 |
3,8-4,0 |
75 |
- |
0,038 |
0,32 |
|
|
ПС-1 |
70-100 |
18-22 |
350-550 |
0,85 |
0,042 |
0,32 |
|
|
ПС-1 |
150-200 |
30-42 |
800-1000 |
- |
0,045 |
0,35 |
|
|
ПС-4 |
40-60 |
8-12 |
130-335 |
0,87 |
0,045 |
0,35 |
|
|
Поливинилхлорид |
ПХВ-1 |
70-100 |
12-25 |
800 |
- |
0,045 |
0,35 |
|
ПХВ-2 |
100-130 |
20-35 |
850 |
- |
0,045 |
0,35 |
|
|
ПХВ-2 |
200 |
45 |
2000 |
- |
0,050 |
0,35 |
|
|
Полиуретан |
ПУ-101 |
50-100 |
5-10 |
- |
- |
0,045 |
0,35 |
|
ППУ-3Н |
50-60 |
5 |
- |
- |
0,040 |
0,32 |
|
|
ППУ-304Н |
45-60 |
5-9 |
- |
- |
0,040 |
0,32 |
|
|
ППУ-9Н |
50-70 |
4 |
- |
- |
0,045 |
0,35 |
|
|
Фенолформальдегид |
ФФ |
200 |
12 |
700 |
- |
0,050 |
0,33 |
|
ФРП-2 |
60-150 |
2,4-8,9 |
100-800 |
- |
0,035 |
0,60 |
Таблица 2
|
Бетон |
Объемная масса, кг/м3 |
Коэффициент теплопроводности, ккал/м-ч-град |
Удельная теплоемкость, ккал/кг-град |
Модуль упругости, кгс/см2 |
Предел прочности при изгибе, кгс/см2 |
|
Стиропорбетон |
800 |
0,18 |
0,35 |
5000 |
3 |
|
900 |
0,18 |
0,35 |
6000 |
3,5 |
|
|
1000 |
0,20 |
0,35 |
7000 |
4 |
|
|
1100 |
0,20 |
0,35 |
8000 |
4 |
|
|
Керамзитобетон |
1400 |
0,65 |
0,35 |
- |
- |
|
Шлакобетон |
1600 |
0,50 |
0,27 |
- |
- |
|
Бетон на легких заполнителях |
|
|
|
|
|
|
марки:50 |
900 |
0,20 |
3,18 |
5000 |
4 |
|
73 |
1200 |
0,40 |
0,18 |
6500 |
5 |
|
100 |
1400 |
0,60 |
0,18 |
8000 |
6 |
Таблица 3
|
Материал |
Объемная масса, кг/м3 |
Коэффициент теплопроводности ккал/м-ч-град |
Удельная теплоемкость, ккал/кг-град |
Модуль упругости, кгс/см2 |
Предел прочности при изгибе, кгс/см2 |
|
Аглопоритовый щебень, обработанный вязким битумом |
800 |
0,20 |
0,30 |
4000 |
4 |
|
Керамзитовый гравий, обработанный вязким битумом |
1100 |
0,55 |
0,27 |
5000 |
4 |
|
Гравий (щебень) с легкими заполнителями, обработанный вязким битумом |
2000 |
0,45 |
0,40 |
5000 |
8 |
|
Материал |
Объемная масса, кг/м3 |
Коэффициент теплопроводности, ккал/м-ч-град |
Удельная теплоемкость, ккал/кг-град |
Модуль упругости, кгс/см2 |
Предел прочности при изгибе, кгс/см2 |
Коэффициент морозостойкости |
|
Цементогрунт |
|
|
|
|
|
|
|
с перлитом |
1400 |
0,40 |
0,36 |
1300 |
2 |
0,70 |
|
с 50% полистирола |
1300 |
0,40 |
0,30 |
3000 |
2 |
0,65 |
|
с 30% полистирола |
1500 |
0,65 |
0,30 |
3000 |
2 |
0,65 |
|
Золошлаковые смеси, укрепленные цементом |
1600 |
0,70 |
0,34 |
1500 |
4 |
0,70 |
|
Грунт, укрепленный золой уноса |
1950 |
1,00 |
0,23 |
2000 |
4 |
0,80 |
|
Цементогрунт, обработанный битумной эмульсией |
2000 |
1,00 |
0,22 |
- |
6 |
0,80 |
2. Традиционные дорожно-строительные материалы
В табл.5 приведены расчетные значения теплофизических характеристик материалов, наиболее широко используемых в дорожном строительстве. Деформационные и прочностные характеристики этих материалов даны в ВСН 46-72
|
Материал |
Объемная масса, кг/м3 |
Коэффициент теплопроводности, ккал/м-ч-град |
Удельная теплоемкость, ккал/кг-град |
|
Асфальтобетон крупнозернистый |
2400 |
1,00 |
0,40 |
|
Асфальтобетон среднезернистый |
2350 |
0,90 |
0,40 |
|
Асфальтобетон мелкозернистый |
2300 |
0,80 |
0,40 |
|
Битумоминеральная смесь |
2300 |
0,85 |
0,40 |
|
Песок, обработанный битумом |
1850 |
0,70 |
0,30 |
|
Цементобетон |
2400 |
1,60 |
0,20 |
|
Щебень из гранита |
1800 |
1,60 |
0,20 |
|
Щебень известняковый |
1600 |
1,20 |
0,22 |
|
Песок, укрепленный 6-8% цемента |
2100 |
1,60 |
0,22 |
|
Песок мелкий, одномерный, укрепленный 10% цемента |
2100 |
1,40 |
0,23 |
|
Гравий |
1800 |
1,60 |
0,22 |
|
Шлак топочный |
800 |
0,40 |
0,26 |
3. Грунты
В табл.6 даны расчетные значения теплофизических характеристик талых и мерзлых грунтов при влажности 0,9 WТ (WТ - влажность при пределе текучести).
|
Грунт |
Объемная масса, кг/м3 |
Коэффициент теплопроводности грунта, ккал/м-ч-град |
Удельная теплоемкость грунта, ккал/кг-град |
||
|
|
|
талого |
мерзлого |
талого |
мерзлого |
|
Песок крупный |
2000 |
1,50 |
2,00 |
0,26 |
0,22 |
|
Песок средней крупности |
1950 |
1,65 |
2,10 |
0,26 |
0,22 |
|
Песок мелкий |
1850 |
1,65 |
2,00 |
0,26 |
0,22 |
|
Песок пылеватый |
1750 |
1,55 |
1,90 |
0,28 |
0,23 |
|
Супеси |
2100 |
1,55 |
1,75 |
0,32 |
0,24 |
|
Суглинки и глины |
2000 |
1,40 |
1,70 |
0,37 |
0,27 |
При проектировании конструкций для полного предотвращения промерзания земляного полотна расчетные характеристики принимают для талого грунта.
Ниже приведены особенности проектирования составов стиропорбетона, бетонов и битумоминеральных смесей с легкими заполнителями и теплоизоляционных укрепленных грунтов.
Стиропорбетон
В настоящее время состав стиропорбетона подбирают методом последовательных приближений. Варьируя соотношение компонентов, постепенно приближаются к получению материала заданной марки или объемной массы. Метод этот не является совершенным. Он трудоемок, и для подбора состава требуется продолжительное время. Чтобы упростить и облегчить процесс проектирования состава стиропорбетона, в МАДИ (Б.В. Дряшкаба) на основании результатов спланированных методом математической статистики экспериментов разработаны специальные диаграммы, позволяющие сравнительно несложным путем подобрать смесь с заданными свойствами (рис.1). Диаграммы построены применительно к цементу марки "500" и подвижности бетонной смеси до 1,0 см по конусу СтройЦНИЛ.
Последовательность операций по подбору состава стиропорбетона с помощью диаграммы рис.1 может быть проиллюстрирована на следующем примере.
Допустим, что необходимо запроектировать состав стиропорбетона с пределом прочности при сжатии 50 кгс/см2.
Получение стиропорбетона (рис. 1,а) требуемой прочности могут обеспечить разные смеси, крайние из которых характеризуются следующим соотношением песка и цемента: смесь I - расход песка - 600 кг/м3 и цемента - 300 кг/м3; смесь II - расход песка - 300 кг/м3 и цемента - 400 кг/м3.

Рис.1.
Диаграмма "Состав – свойство" стиропорбетона
По рис.1,б находят, что в смесь I необходимо добавить гранулы пенополистирола в количестве 825 л/м3, а в смесь II - 1170 л/м3. Для затворения смеси I потребуется 167 л воды на 1 м3 стиропорбетона, а смеси II - 170 л/м3 (рис.1,в). Объемная масса, находящегося в сухом состоянии стиропорбетона запроектированного на основе смеси I, равна 975 кг/м3 (рис.1,г), а на основе смеси II - 775 кг/м3. Водопоглощение стиропорбетона (рис.1,д) смеси I равно 10% (по массе), а смеси II - 17%. Коэффициент размягчения (рис.1,е) соответственно составляет 0,90 и 0,85. Начальный модуль упругости стиропорбетона на основе смеси I равен 36500 кгс/см2, а на основе смеси II - 35000 кгс/см2 (рис.1,ж).
Оптимальный состав стиропорбетона устанавливают на основании технико-экономического сравнения вариантов с учетом расхода наиболее дефицитных материалов.
Легкие бетоны и битумоминеральные смеси
Состав бетона с легкими заполнителями на цементном, цементоизвестковом или силикатном вяжущем подбирают тем же методом, что и бетоны с естественными минеральными заполнителями.
Расход портландцемента марки "300" на 1 м3 легкого бетона назначают по табл.1.
Таблица 1
|
Заполнитель |
Марка бетона |
||
|
50 |
75 |
100 |
|
|
Керамзит |
150 - 200 |
210 - 230 |
240 - 280 |
|
Аглопорит |
180 – 210 |
220 – 240 |
250 - 280 |
|
Металлургические шлаки |
140 – 170 |
180 – 200 |
210 - 250 |
|
Топливные шлаки |
160 – 190 |
200 – 250 |
260 - 290 |
При проектировании состава крупнопористого бетона следует учитывать рекомендации табл.2.
Состав битумоминеральных смесей с искусственными пористыми заполнителями подбирают таким же способом, каким пользуются при проектировании пористых смесей с естественными минеральными заполнителями. Количество легких заполнителей назначают с таким расчетом, чтобы получить теплоизоляционный материал с заданным значением коэффициента теплопроводности (см.п.3 приложения 3).
Таблица 2
|
Заполнитель |
Объемная масса заполнителя, кг/м3 |
Отношение объемов цемента и заполнителя |
Водоцементное отношение |
Расход цемента марки "400" на 1 м3 бетона, кг |
Предел прочности бетона при сжатии, кгс/см2 |
|
Керамзит |
600 |
1:10 |
0,40 |
130 - 150 |
8 - 10 |
|
Аглопорит |
600 |
1:10 |
0,40 |
140 - 160 |
5 - 8 |
|
Щебень из металлургических шлаков |
1600 |
1:10 |
0,40 - 0,45 |
130 - 150 |
60 |
|
Щебень из топливных шлаков |
1400 |
1:10 |
0,40 - 0,45 |
110 - 120 |
50 |
Обычно вместо определенной части щебня из естественных пород в смесь вводят щебень тех же фракций из искусственного пористого материала.
Чаще всего это щебень фракций 5 - 10 и 10 - 20 мм.
Укрепленные грунты и золошлаковые смеси с легкими заполнителями
При проектировании составов смесей из грунтов и золошлаковых смесей, укрепленных вяжущими, определяют оптимальное количество вяжущих, воды и добавок, при которых обеспечивается получение требуемых показателей физико-механических свойств (см. табл. 1 и 2 СН 25-74) и расчетное значение коэффициента теплопроводности.
Ориентировочный расход цемента назначают по табл.8 СН 25-74, а битумной эмульсии и цемента - по табл.15 СН 25-74. Примерный расход цемента при укреплении золошлаковых смесей составляет 5–8 % массы сухой смеси. Ориентировочный расход золы уноса составляет 15–25 % массы сухой смеси.
Добавки керамзита, вспученного перлитового песка и гранул полистирола назначают в количестве, обеспечивающем получение материала с хорошими теплоизоляционными свойствами (с коэффициентом теплопроводности не более 0,5 ккал/м-ч-град). При этом учитывают также необходимость обеспечения требуемых физико-механических показателей укрепленных грунтов, стоимость и дефицитность основных материалов.
Ориентировочное количество добавок составляет (% массы сухой смеси) керамзита - 20 - 40, вспученного перлитового песка - 20 - 30, гранул полистирола - 0,5 - 0,7.
Расход вяжущих материалов уточняют по результатам определения показателей физико-механических свойств образцов 3 - 5 смесей.
Количество же легких добавок уточняют по результатам определения коэффициента теплопроводности образцов с разным содержанием добавок (2 - 3 смеси).
Для смесей; приготовленных из грунтов, укрепленных битумной эмульсией совместно с цементом, определяют оптимальную влажность в соответствии с рекомендациями пп. 11 - 13 приложения 4 СН 25-74.
До начала приготовления материала из грунта, битумной эмульсии, цемента и вспученного перлитового песка определяют оптимальную влажность смеси грунта, цемента и перлитового песка стандартным методом в соответствии с пп.1 - 4 СН 25-74.
Затем в соответствии с данными табл. 15 и п. 8 приложения 4 СН 25-74 назначают количество цемента и битумной эмульсии.
При приготовлении смеси для образцов в лабораторной лопастной мешалке в грунт с водой добавляют битумную эмульсию и цемент и перемешивают смесь в течение 3 мин. Затем вводят вспученный перлитовый песок и вновь перемешивают в течение 3 мин.
При подборе составов смесей определяют прочность при сжатии и на растяжение при изгибе, коэффициент морозостойкости, водонасыщение, пользуясь методиками приложений 3 и 4 СН 25-74, а коэффициент теплопроводности смесей определяют по методике приложения 3 или по табл.1 - 6 приложения 1 настоящих "Методических рекомендаций".
В настоящее время лаборатории проектных, строительных и научно-исследовательских дорожных организаций еще не оснащены оборудованием и приборами позволяющими выполнить теплофизические испытания и исследования материалов и грунтов. Одной из причин этого является отсутствие общепризнанных методов определения теплофизических характеристик. Кроме того, сложность методов и применяемой специальной аппаратуры привела к тому, что проектировщики охотнее обращаются к нормативным и справочным данным /10/ - /12/, чем прибегают к эксперименту, позволяющему получить более дифференцированные и точные значения теплофизических характеристик применительно к проектируемому объекту. На данном этапе еще нельзя рекомендовать только экспериментальные методы определения теплофизических характеристик, поэтому в приложении 1 настоящей работы приведены их расчетные значения. Но наряду с этим весьма полезными окажутся указания по экспериментальному определению теплоемкости и коэффициентов теплопроводности и температуропроводности, приведенные в работах /12/ - /15/. В дополнение к данным, приведенным в работе /12/, ниже изложены методы, проверенные в последние годы и нашедшие применение в ряде ведущих, смежных с дорожными, научно-исследовательских организаций.
1. Определение теплофизических характеристик по методу Института оснований и подземных сооружений Госстроя СССР (НИИ ОСП)
Метод основан на закономерности охлаждения (нагревания) тела в среде с достоянной температурой. Погруженное в жидкую среду тело стремится с течением времени принять температуру среды. Можно различить три стадии охлаждения (нагревания) тела: первая - стадия чисто нестационарного режима, вторая - стадия упорядоченного охлаждения (нагревания), режим которой называют регулярным, третья - стадия стационарного режима, при которой наблюдается равенство температур всех точек тела и окружающей среды. В результате одного опыта можно получить значения теплоемкости, теплопроводности и температуропроводности. Метод позволяет исследовать теплофизические характеристики грунтов, укрепленных грунтов и материалов при различной их влажности (от сухого до текучего состояния).
Основным прибором является сосуд Дьюара, помещенный в пенопластовую оболочку с толщиной стенок не менее 100 мм. Такая толщина обеспечивает достаточную теплоизоляцию прибора от окружающей среды. Скорость охлаждения или нагревания калориметрической жидкости не должна превышать 0,002 - 0,003ºС в минуту. Прибор закрывается крышкой из пенопласта. По верху пенопластовой крышки приклеивают пластину из оргстекла. В крышке закреплены пропеллерная мешалка для перемешивания калориметрической жидкости и жесткая металлическая сетка для образца. В крышке имеются отверстие для нормального ртутного термометра с ценой деления 0,1ºС и интервалом температур от -30 до +20ºС и отверстие для метастатического термометра Бекмана с рабочим интервалом температур 5ºС и ценой деления 0,01ºС. Кроме того, в крышке есть отверстие, через которое образец на нити опускают в калориметрическую жидкость. Во время опыта это отверстие закрывают пробкой. На верху крышки установлен электрический привод пропеллерной мешалки.
В качестве калориметрической жидкости используют керосин или спирт. Объем ее составляет 1000 мл. Для этого объема жидкости определяют тепловое значение прибора.
Испытание проводят на образцах цилиндрической формы размером 40×40 мм.
Приготовление и водонасыщение образцов из укрепленных грунтов и материалов выполняют по методикам СН 25-74. Режим хранения образцов устанавливают по этой же Инструкции.
Перед испытанием образцы взвешивают (с точностью до 0,01 г), закрепляют на капроновой нитке и покрывают с помощью кисточки тонким слоем (до 1 мм) шеллака.
Естественные (неукрепленные) грунты заданной плотности и влажности помещают в специальные латунные бюксы с крышками (рис.1). Бюксы предварительно взвешивают. Затем их взвешивают с грунтом. К бюксам привязывают капроновую нитку, а стык крышки и бюксы герметизируют нитрокраской, после чего вновь взвешивают. При обработке опытных данных учитывают теплоемкость шеллака, нитрокраски и латуни (табл.1).
Таблица 1
|
Материал |
Удельная теплоемкость ккал/кг-град |
|
Нитрокраска |
0,50 |
|
Шеллак |
0,50 |
|
Латунь |
0,09 |
|
Вода |
1,00 |
|
Лед |
0,50 |
При определении теплофизических характеристик талых укрепленных грунтов и материалов, а также естественных грунтов образцы из них охлаждают до 0ºС и выдерживают при этой температуре в течение суток в ультракриостате или термостате с тающим льдом из дистиллированной воды. Опыты проводят в помещении с положительной температурой (18 - 22ºС). Во время опыта не допускаются резкие колебания температуры в помещении.
Перед началом испытания включают мешалку для выравнивания температуры калориметрической жидкости и деталей прибора. Устанавливают положение ртути в термометре Бекмана на нужный интервал температур (не ниже 4ºС).

Рис.1. Бюкс для грунта:
1 - бюкс; 2 - верхняя крышка с дужкой; 3 - нижняя крышка
Для этого термометр Бекмана переворачивают вниз и легким постукиванием переводят ртуть из нижнего резервуара в верхний до соприкосновения с ртутью верхнего резервуара. Затем осторожно переворачивают термометр и помещают в калориметрическую жидкость. При этом необходимо следить, чтобы столбик ртути не разорвался. Выжидают несколько минут и резко встряхивают, чтобы ртуть в верхнем резервуаре упала вниз, после чего проверяют положение ртути в термометре.
Испытание в калориметре можно начинать, когда ход температуры, т.е. изменение температуры за минуту, составит 0,002 - 0,003°С. Отсчеты делают через каждые 5 мин в течение 15 - 20 мин.
Перед началом опыта температуру отсчитывают по лабораторному термометру и термометру Бекмана.
Процесс испытания разделяют на три периода: начальный, главный, конечный. Эти периоды соответствуют упомянутым ранее стадиям. В течение этих периодов через каждую минуту отсчитывают температуру по термометру Бекмана с точностью до 0,002ºС (с помощью лупы).
В начальный период первые десять минут разность предварительных отсчетов не должна превышать 0,002 - 0,003ºС в минуту. После одиннадцатого отсчета температуры по термометру Бекмана и лабораторному термометру осторожно на нитке опускают образец в калориметрическую жидкость и закрывают отверстие пробкой.
С этого момента начинается главный период опыта, для которого характерно быстрое изменение температуры. Заканчивается период тогда, когда начинается незначительное (меньше 0,001ºС) и равномерное изменение температуры калориметрической жидкости или изменение ее хода на обратный. Длительность главного периода не более 10 - 20 мин.
Конечный период, который при обратном ходе температуры характеризуется незначительными изменениями температуры (0,002 - 0,003ºС). Длительность конечного периода 10 мин. На десятой минуте температуру отсчитывают по лабораторному термометру.
Расчет теплофизических характеристик по данным опыта производят с помощью известных формул /12/.
2. Определение коэффициента теплопроводности материалов и грунтов с помощью цилиндрического зонда постоянной мощности
Коэффициент теплопроводности определяют с помощью зондового прибора ИТХ-6 (рис.2). Метод измерения прибором основан на закономерности теплового потока (нестационарного) от линейного источника постоянной мощности, помещенного в неограниченный массив из исследуемого материала.

Рис.2. Зондовый прибор ИТХ-8 для определения коэффициента теплопроводности материалов и грунтов
Прибор ИТХ-8 состоит из зонда, измерительной части, усилителя, регистрирующего устройства, стабилизатора тока подогрева зонда, блока питания.
Измерительная часть, усилитель и регистрирующее устройство служат для записи избыточной температуры зонда при включении подогревной обмотки в цепь стабилизатора тока. Записанная регистрирующим устройством кривая изменения избыточной температуры зонда является основной зависимостью определяемого коэффициента теплопроводности.
Линейным источником тепла является зонд диаметром 2,8 - 2,7 мм. Оболочка зонда из нержавеющей стали имеет внутренний диаметр 2 мм. Внутри оболочки расположена подогревная обмотка из манганинового провода ПЭММ-0,08, намотанная на кварцевой трубке наружным диаметром 0,8 мм и длиной 75 мм. В центре подогревной обмотки, внутри кварцевой трубки, установлен терморезистор СТЗ-18.
Сопротивление терморезистора в общем случае является нелинейной функцией температуры. В связи с этим в приборе применена симметричная терморезисторная измерительная мостовая схема с разомкнутой измерительной диагональю, выходной сигнал которой является практически линейной функцией избыточной температуры терморезистора относительно температуры баланса моста.
Для усиления сигнала мостовой измерительной схемы и согласования ее с регистрирующим потенциометром ЭПП-09 или КСП установлен усилитель постоянного тока. Стабилизатор собран по балансовой схеме и позволяет устанавливать ток в обмотке подогрева зонда в пределах от 10 до 100 мА ступенями (13 положений переключателя) при сопротивлении подогревной обмотки от 60 до120 Ом.
Прибор ИТХ-6 позволяет записывать избыточные температуры зонда любым электронным потенциометром (ЭПП-09, КСП, ПСП и др.), имеющим шкалу от 0 - 10 до 0 - 100 мВ и скорость движения ленты от 1800 мм/ч и более. Кроме того, прибор имеет выход "MB", к которому можно подключить любой высокоомный милливольтметр постоянного тока (Н-39, Н-37 с усилителем И-37 и др.).
Прибор предназначен для работы при температуре окружающего воздуха 20 ± 5ºС и относительной влажности до 0,80 Wп.в.
Подготовка прибора к измерениям заключается в соединении отдельных блоков и подключении прибора к сети. Затем "холодный" зонд вводят в образец испытуемого материала. Мягкие, пористые или сыпучие материалы зонд прокалывает. В жестких материалах следует предварительно просверлить отверстие диаметром, равным диаметру зонда.
В тех случаях, когда диаметр отверстия несколько больше диаметра зонда, для уменьшения контактного сопротивления на границе "зонд-среда" следует использовать в качестве заполнителя зазора масло (вазелиновое, касторовое).
Для пористых материалов нужно применять такую жидкость, которая не смачивала бы материал и не вступала бы с ним в химическую реакцию. Для хрупких пористых материалов (газобетон и т.п.) рекомендуется заполнять зазор между зондом и материалом "крошкой" данного материала.
Для измерения коэффициента теплопроводности материалов в лабораторных условиях образец с зондом должен быть установлен в термостат или холодильную камеру, в которых поддерживается требуемая температура. Кривая нагрева зонда записывается в течение 10 - 15 мин до тех пор, пока перо самописца не начнет выводить линию, близкую к вертикальной, при скорости протяжки ленты 1800 - 3800 мм/ч.

Рис.3. Зависимость выходного напряжения зондового прибора от времени:
а - в обычных координатах (декартовых); б - в полулогарифмических
Расчетная формула для определения коэффициента теплопроводности прибором ИТХ-6 имеет вид
![]()
где λ - искомый коэффициент теплопроводности, Вт/м, °К;
I - сила тока подогрева, приводится в паспорте на прибор в зависимости от положения переключателя, А;
K - постоянная зонда, приводимая в паспорте на зонд;
T0 - температура баланса моста, ºК;
ΔU - разность выходных напряжений прибора, соответствующих моменту времени τ1 и τ2.
В результате записи процесса нагрева зонда получают зависимость выходного напряжения прибора U от времени τ (рис.3,а).
Эту кривую нужно перестроить в координатах lg τ и U (рис.3,б) и определить по ней значения τ1 и τ2 в начале и в конце прямолинейного участка (рабочего участка) и соответствующие им значения U1 и U2.
Подставляя значения τ1. τ2 и ΔU = U2 - U1 в формулу, находят искомое значение коэффициента теплопроводности.
При раздельном определении коэффициента теплопроводности и теплоемкости величина ее может быть установлена калориметрическим методом, изложенным в работах /12/, /13/, /15/.
3. Расчет коэффициента теплопроводности материалов, укрепленных вяжущими
При отсутствии теплофизических приборов и данных о коэффициенте теплопроводности материала или при необходимости установить количество легкой добавки в битумоминеральную или гравийную (щебеночную) смесь, укрепленную цементом, для получения композиции с заданным значением λ можно воспользоваться расчетным методом. Для этого надо знать объемное содержание составляющих смеси, их коэффициенты теплопроводности (табл. 2) и расчетное значение влажности.
Коэффициент
теплопроводности смеси, состоящей из однотипного заполнителя и вяжущего
(двухкомпонентная
смесь) определяют по формуле
(1)
где λв - коэффициент теплопроводности вяжущего, ккал/м-ч-град;
![]()
VОЗ - объемное содержание однотипного заполнителя, доли единицы;
К1 = λОЗ - λв
λ03 - коэффициент теплопроводности заполнителя, ккал/м-ч-град (табл.2).
Для трехкомпонентной смеси (например, вяжущее+однотипный заполнитель+аглопорит):
(2)
где ![]()
VT - объемное содержание вводимого в двух компонентную смесь дополнительного материала, например, аглопорита;
К2 = λТ - λвА;
λТ - коэффициент теплопроводности теплоизолятора, ккал/м-ч-град.
Для четырехкомпонентной смеси (например вяжущее+мелкий заполнитель + теплоизолятор+крупный заполнитель):
(3)
где VК - объемное содержание крупного заполнителя, доли единицы;
λв - коэффициент теплопроводности крупного заполнителя, ккал/м-ч-град.
Таблица 2
|
Породы и материалы |
Коэффициент теплопроводности λ, ккал/м-ч-град |
Породы и материалы |
Коэффициент теплопроводности λ, ккал/м-ч-град |
|
|
Гранит |
2,57 |
Шлак топливный гранулированный |
0,19 |
|
|
Гнейс |
2,65 |
|
||
|
Диорит |
1,98 |
Аглопорит, фракция, мм |
|
|
|
Габбро |
1,73 |
20 - 40 |
0,13 |
|
|
Диабаз |
1,91 |
10 - 20 |
0,15 |
|
|
Базальт |
1,80 |
5 - 10 |
0,15 |
|
|
Порфир |
2,88 |
0 - 5 |
0,19 |
|
|
Песчаник |
1,78 |
Керамзит, фракция, мм |
|
|
|
Известняк средней прочности |
1,88 |
|||
|
20 - 40 |
0,18 |
|
||
|
Известняк высокой прочности |
2,34 |
10 - 20 |
0,35 |
|
|
5 - 10 |
0,45 |
|
||
|
Доломит |
2,62 |
Вспученные гранулы полистирола |
0,03 |
|
|
Сланец |
2,16 |
|
||
|
Шлак доменный |
0,45 |
Стекловата |
0,40 |
|
|
Цемент |
0,85 |
|
||
|
Битум |
0,15 |
|
||
|
Деготь |
0,18 |
|
При вычислении значения А следует брать вяжущее и мелкий заполнитель. При вычислении В - более крупный заполнитель, независимо от того, естественный это заполнитель или искусственный.
Коэффициент теплопроводности гравийных (щебеночных) смесей, укрепленных цементом, в значительной степени зависит от их влажности. Влияние влажности можно учесть с помощью формулы
λ = λсм(1 + K'W), (4)
где λсм - коэффициент теплопроводности смеси в сухом состоянии, вычисленный по формулам (1 - 3);
W - расчетная влажность смеси;
K' - коэффициент, зависящий от пористости заполнителя и влажности (табл. 3).
Таблица 3
|
Материалы |
Значения K' при влажности, % |
||||
|
2 |
5 |
10 |
20 |
30 |
|
|
Гравийные (щебеночные) смеси, укрепленные цементом с добавками легких заполнителей |
0,20 |
0,13 |
0,10 |
0,08 |
- |
|
Легкие бетоны |
0,15 |
0,10 |
0,08 |
0,05 |
0,04 |
При отсутствии данных систематических измерений в районе, где будет построена дорога, среднегодовую температуру поверхности покрытия tп.ср и амплитуду годового колебания температуры Ап в расчетном году прогнозируют следующим образом.
Сначала определяют среднегодовую температуру воздуха tв.ср в расчетном году по формуле
tв.ср = tв.м - σtθ, (1)
где tв.м - многолетняя от среднегодовых температур воздуха (см.таблицу);
σt - среднеквадратическое отклонение значения среднегодовой температуры воздуха от многолетней нормы (см. таблицу);
θ - коэффициент нормированного отклонения, зависящий от степени надежности Q
|
Q |
0,95 |
0,90 |
0,80 |
0,75 |
|
θ |
1,64 |
1,28 |
1,08 |
0,67 |
Затем находят амплитуду колебаний температур воздуха в расчетном году Ав
Ав = Ав.м + σнθ, (2)
где
Ав.м. - значение амплитуды годового колебания температуры воздуха по многолетним данным (см. таблицу);
σА - среднеквадратическое отклонение амплитуды годовых колебаний температуры воздуха от его многолетней нормы (см. таблицу),
Далее вычисляют среднемесячную температуру воздуха самого холодного месяца (января для Северо-Запада):
tв.min = tв.ср - Ав, (3)
а самого теплого (июль):
tв.max = tв.ср + Ав (4)
После этого определяют среднемесячную температуру поверхности покрытия в самом холодном и самом теплом месяце по формулам:
(5)
(6)
где К1 и К2 - коэффициенты, характеризующие
влияние теплоизолирующего слоя на температуру поверхности покрытия; при
асфальтобетонном покрытии и теплоизолирующем слое из пенопласта К1 = 1,33, а Кг = 1,125; при других материалах
теплоизолирующего слоя К1 =
К2
1,0.
Значения многолетней температуры воздуха tв.м. амплитуды колебания ее Ав.м. и среднеквадратические отклонения от них σt и σА
|
Название города |
tв.м., ºС |
σt,°C |
Ав.м., ºС |
σА, ºС |
|
Великие Луки |
4,4 |
0,93 |
12,70 |
2,10 |
|
Вильнюс |
6,2 |
0,80 |
11,75 |
1,30 |
|
Вологда |
2,4 |
0,82 |
14,20 |
1,44 |
|
Вышний Волочок |
3,7 |
0,84 |
13,50 |
1,39 |
|
Горький |
3,1 |
0,80 |
15,05 |
1,30 |
|
Иваново |
2,7 |
0,84 |
14,80 |
1,50 |
|
Казань |
2,8 |
0,90 |
16,25 |
1,38 |
|
Калинин |
3,3 |
0,90 |
13,80 |
1,82 |
|
Калуга |
3,8 |
0,80 |
13,80 |
2,00 |
|
Каунас |
8,5 |
0,84 |
11,45 |
1,68 |
|
Кострома |
2,7 |
0,80 |
14,70 |
1,70 |
|
Киров |
1,5 |
0,84 |
16,00 |
1,57 |
|
Курск |
5,4 |
0,92 |
13,95 |
1,05 |
|
Ленинград |
3,7 |
0,90 |
12,80 |
2,10 |
|
Минск |
5,4 |
0,71 |
12,85 |
1,52 |
|
Москва |
4,8 |
0,95 |
13,85 |
1,30 |
|
Новгород |
3,7 |
0,80 |
12,80 |
1,50 |
|
Пермь |
1,5 |
0,70 |
16,60 |
2,50 |
|
Петрозаводск |
2,2 |
0,99 |
13,40 |
1,30 |
|
Псков |
4,6 |
0,90 |
12,50 |
1,70 |
|
Рига |
5,6 |
0,90 |
11,05 |
2,00 |
|
Рязань |
3,9 |
1,00 |
14,95 |
1,15 |
|
Саратов |
5,3 |
0,90 |
17,90 |
1,20 |
|
Смоленск |
4,4 |
0,84 |
13,10 |
2,00 |
|
Таллин |
5,0 |
0,94 |
10,65 |
1,33 |
|
Тамбов |
4,8 |
0,90 |
15,50 |
1,63 |
Наконец, среднегодовую температуру поверхности покрытия в расчетном году tп.ср и амплитуду колебания температуры Ап находят по формулам
(7)
(8)
(заимствовано из СНиП II-Б.6-66, п. 27)
Значение влажности WH за счет намерзающей воды, содержащейся в мерзлом грунте, определяют по формуле
WH = KHWP,
где WP - влажность грунта на границе раскатывания, доли единицы;
KH - коэффициент, принимаемый по таблице в зависимости от вида грунта, числа пластичности Wn и температуры мерзлого грунта.
|
Грунт |
Число пластичности |
Значение Кп при температуре грунтов, °С |
|||||
|
-0,3 |
-0,5 |
-1,0 |
-2,0 |
-4,0 |
-10,0 |
||
|
Пески |
Wn < 1 |
0,0 |
0,00 |
0,00 |
0,00 |
0,00 |
0,00 |
|
Супеси |
1 ≤ Wn ≤ 2 |
0,0 |
0,00 |
0,00 |
0,00 |
0,00 |
0,00 |
|
Супеси |
2 < Wn ≤ 7 |
0,6 |
0,50 |
0,40 |
0,35 |
0,30 |
0,25 |
|
Суглинки |
7 < Wn ≤13 |
0,7 |
0,65 |
0,60 |
0,50 |
0,45 |
0,40 |
|
Суглинки |
13< Wn ≤17 |
х) |
0,75 |
0,65 |
0.55 |
0,50 |
0,45 |
|
Глины |
Wn >17 |
х) |
0,85 |
0,90 |
0,65 |
0,60 |
0,55 |
х) Вся вода в порах грунта находится в немерзлом состоянии.
Номограммы (рис. 1-7) составлены по результатам теоретического решения операционным методом нестационарной тепловой задачи о слоистом полупространстве. При постановке задачи приняты следующие предпосылки: в конструкции преобладает кондуктивный перенос тепла; влиянием миграции влаги в грунте земляного полотна на первом этапе инженерного расчета можно пренебречь; содержащаяся в грунте вода замерзает при определенной температуре; скрытой теплотой льдообразования в слоях дорожной одежды и ее влиянием на перенос тепла можно пренебречь. Степень влияния миграции влаги от уровня грунтовых вод на толщину теплоизолирующего слоя проверяют расчетом конструкции на морозоустойчивость (см. п.4.13 настоящих "Методических рекомендаций").
Номограммами связаны следующие комплексы характеристик:
![]()


и ![]()
Каждая из номограмм
составлена для конкретного значения
(
= 0,5; 0,7; 0,8; 0,9; 1,0; 1,2; 2,0).
При величинах
, находящихся между указанными выше в скобках, искомые
параметры находят интерполяцией.
Имеющимися номограммами охвачены практически все возможные дорожные конструкции с теплоизолирующими слоями.
Порядок расчета показан
стрелками на номограмме рис. 1 при
= 0,5.
Номограммы для расчете теплоизолирующих слоев дорожной конструкции

Рис. 1
=0,5

Рис.2.
= 0,7

Рис. 3.
= 0,8

Рис. 4.
= 0,9

Рис. 5.
= 1

Рис. 6.
= 1,2

Рис. 6.
= 2
Пример 1. Запроектировать дорожную одежду с асфальтобетонным покрытием и теплоизолирующим слоем из пенопласта.
Исходные данные. Участок дороги II категории находится в центральной части II дорожно-климатической зоны (Московская область).
Проектируемый участок проходит в нулевых рабочих отметках. Расстояние от поверхности покрытия до расчетного уровня грунтовых вод составляет 1 м (3-й тип местности по степени увлажнения). Грунт земляного полотна - пылеватая супесь. Расчетная приведенная интенсивность движения по дороге 1000 авт./сутки на одну полосу с учетом перспективы. Расчетная нагрузка - автомобиль группы А по ГОСТ 9314-59 (удельное давление на поверхности покрытия Р = 6 кгс/см, диаметр круга, равновеликого следу колеса, D = 33 см).
Для устройства основания и теплоизолирующего слоя имеются следующие материалы: битумоминеральная смесь, щебень известняковый 3-го класса прочности, пенопласт ПС-4.
Конструирование и расчет.
1. Исходя из требований эксплуатации с учетом особенностей вертикальной планировки, а также исходя из наличия техники и стоимости отдельных материалов, условий их транспортирования, намечают следующую конструкцию одежды, которая должна предотвратить промерзание и пучение грунта земляного полотна и обладать достаточной прочностью: покрытие - два слоя асфальтобетона, верхний слой основания - битумоминеральная смесь, нижний слой основания - щебень известняковый 3-го класса прочности, теплоизолирующий слой - пенопласт ПС-4.
2. Производят теплотехнический расчет конструкции.
Принимают следующие расчетные значения теплофизических характеристик слоев дорожной конструкции:
а) для верхнего и нижнего слоев асфальтобетона коэффициент теплопроводности λ1,2 = 0,9 ккал/м.ч.град, удельная теплоемкость С1,2 = 0,4 ккал/кг.град, объемная масса γ = 2350 кг/м3 (см.табл.5 приложения 1);
б) для верхнего слоя основания из битумоминеральной смеси λ3 = 0,85 ккал/м.ч.град, С3 = 0,4 ккал/кг.град, γ3 = 2300кг/м3 (см. табл.5 приложения 1);
в) для нижнего слоя основания из известнякового щебня λ4 = 1,2 ккал/м.ч.град, С4 = 0,22 ккал/кг.град, γ4 = 1600 кг/м3 (см. табл.5 приложения 1);
г) для теплоизолирующего слоя из пенопласта ПС-4 λ5 = 0,045 ккал/м.ч.град , С5 = 0,35 ккал/кг.град, γ5 - 60 кг/м3 (см. табл.1 приложения 1);
д) для грунта земляного полотна - пылеватой супеси - λ6 = 1,55 ккал/м.ч.град, С6 = 0,32 ккал/кг.град, γ6 = 2100 кг/м3, так как должна быть запроектирована конструкция, предотвращающая промерзание земляного полотна; характеристики приняты для талого грунта при расчетной влажности (см. табл.6 приложения 1).
Многослойную конструкцию приводят к трехслойной модели, эквивалентной по теплофизическим свойствам (п. 4.10 настоящих "Методических рекомендаций"). Эквивалентный коэффициент теплопроводности однородного слоя толщиной h = h1+ h2 + h3 + h4, заменяющего слои, находящиеся над теплоизоляцией, рассчитывают по формуле (9), он равен 1,01 ккал/м.ч.град.
Эквивалентная объемная масса γ1.3 и эквивалентная удельная теплоемкость С1,3, вычисленные по формулам (10) и (11), соответственно равны 1950 кг/м3 и 0,31 ккал/кг.трад.
Расчетные значения
коэффициента теплоусвоения слоев трехслойной модели (см. рис.7),
определенные по формуле
(1), оказались равными S1
24,7, S2
0,97 и S3
32,3.
Устанавливают расчетные параметры годовой закономерности изменения температуры поверхности покрытия. Поскольку для района проектирования дороги нет достаточно надежных данных измерения температуры асфальтобетонного покрытия, расчетные параметры прогнозируют, руководствуясь рекомендациями приложения 4.
По таблице приложения 4 находят, что многолетняя от среднегодовых температур воздуха района Москвы tв.н составляет 4,8оС, а среднеквадратическое отклонение от нее σt = 0,95oС устанавливают, что амплитуда годовых колебаний температуры воздуха по многолетним данным Ав.м - 13,85оС, а среднеквадратическое отклонение от нее σА = 1,3оС.
Среднегодовая температура воздуха в расчетном году с надежностью Q = 0,95 (капитальный тип покрытия), найденная по формуле (1) приложения 4, равна 3,3oС, а амплитуда колебаний температуры воздуха в расчетном году Ав, определенная по формуле (2), составляет16оС.
Среднемесячная температура воздуха самого холодного месяца tв.min = tв.ср = 3,3 - 16 = -12,7°С, а самого теплого месяца tв.max = tв.ср + Ав = 3,3 + 16,0 = 19,3оС.
Среднемесячные
температуры поверхности асфальтобетонного покрытия конструкции с теплоизоляцией
из пенопласта в самом холодном и самом теплом месяце определенные по формулам
(5) - (8) приложения 4, оказались равными:
и ![]()
Среднегодовая температура
поверхности покрытия в расчетном году и амплитуда колебаний температур
соответственно равна:
и ![]()
Для того чтобы грунт земляного полотна не замерз, необходимо соблюдать следующее соотношение амплитуд колебаний температуры под теплоизоляцией и на поверхности покрытия:
![]()
Располагая этим
отношением амплитуд и отношением коэффициентов теплоусвоения
и
а также значениями
коэффициентов температуропроводности
и
находят по номограмме
толщину теплоизолирующего слоя. По номограмме приложения 6 (
) при
и
и
получают, что
= 0,021, откуда
= 0,051 м.
По номограмме приложения 6
(
)
= 0,028, откуда δ
0,064 м.
Интерполяцией определяют,
что для
= 0,765 толщина
теплоизолирующего слоя δ
предотвращающего промерзание земляного полотна, в рассматриваемых условиях
должна быть равна 6 см.
3. Оценивают прочность намеченной конструкции (рис.1). Приняты следующие расчетные деформационные и прочностные характеристики грунта и материалов дорожной одежды:
а) модуль упругости верхнего слоя асфальтобетона при 10оС 15000 кгс/см2, нижнего слоя - 10000 кгс/ см2 (см. приложение 3 ВСН 46-72); сопротивление растяжению при изгибе нижнего слоя асфальтобетона при N = 1000 авт./сутки на полосу движения Ru =12,0 кгс/см2;
б) модуль упругости битумоминерального материала 7000 кгс/см2 (см. табл. 3 приложения 3 ВСН 46-72);
в) модуль упругости щебеночного материала 4000 кгс/см2;
г) расчетная влажность грунта земляного полотна (пылеватой супеси) в соответствии с указаниями п.5.3 настоящих "Методических рекомендаций" составляет 0,75 Wт; при этой влажности модуль упругости грунта Е = 280 кгс/см2; φ = 15°: и С = 0,15 кгс/см2 (см. табл. 4 приложения 2. ВСН 46-72); деформационные и прочностные характеристики пенопласта из-за малого значения его модуля упругости (Е =280 кгс/см2) и незначительной толщины слоя при расчете конструкции на прочность не учитывают.

Рис.1. Схема конструкции к примеру 1:
1, 2 - верхний и нижний слои асфальтобетона; 3 - битумоминеральная смесь; 4 - щебень известняковый; 5 - пенопласт ПС-4; 6 - пылеватая супесь
Требуемый модуль упругости конструкции при перспективных размерах движения Етр = 2270 кгс/см2 (см. рис.2 ВСН 46-72).
Результаты послойного расчета конструкции (см. рис.1) на прочность по всем трем критериям, приведенным в ВСН 46-72, даны в табл. 1, свидетельствующей о том, что запроектированная конструкция отвечает требованиям ВСН 46-72 по всем трем критериям прочности.
Таблица 1
|
Номер слоя |
Материал слоя |
Е, кгс/см2 |
h, см |
|
Общий модуль упругости (на поверхности слоев) Еобщ, кгс/см2 |
Активное напряжение сдвигав грунте τов, кгс/см2 |
Напряжение растяжения в нижнем слое асфальтобетона Ru , кгс/см2 |
Коэффициент прочности |
||
|
По прогибу |
По сдвигу |
По изгибу |
||||||||
|
1 |
Асфальтобетон верхнего слоя |
15000 |
4 |
0,12 |
Еобщ = 2290 |
- |
- |
1,01 |
- |
- |
|
2 |
Асфальтобетон нижнего слоя |
10000 |
5 |
0,15 |
Е'общ = 2000 |
- |
11,8 |
- |
- |
1,02 |
|
3 |
Битумоминеральная смесь |
7000 |
15 |
0,455 |
Е"общ - 1750 |
- |
- |
- |
- |
- |
|
4 |
Щебень известняковый |
4000 |
25 |
0,76 |
Е'"общ = 960 |
- |
- |
- |
- |
- |
|
5 |
Пенопласт ПС-4 |
280 |
6 |
0,18 |
- |
- |
- |
- |
- |
- |
|
6 |
Пылеватая супесь |
280 |
- |
- |
- |
0,092 |
- |
- |
1,03 |
- |
Руководствуясь указаниями раздела 3 и данными, полученными в результате теплотехнического расчета и оценки прочности, составляют поперечный профиль дорожной конструкции.
О высокой эффективности применения в данном случае теплоизоляции из пенопласта можно судить по приводимому ниже сопоставлению.
Если допустить, что на проектируемом участке могут быть повышены рабочие отметки продольного профиля, и предусмотреть обычные меры по обеспечению морозоустойчивости конструкции, то, как показывает анализ по ВСН 46-72, это привело бы к следующим изменениям по сравнению с конструкцией рис.1.
Во-первых, рабочая отметка поверхности покрытия должна быть увеличена на 85 см.
Во-вторых, общая толщина слоев из стабильных материалов должна составить 135 см, что на 80 см больше, чем в конструкции с пенопластом (при расчете учтено, что пенопласт является стабильным материалом и что верхние четыре слоя одинаковы в обеих конструкциях).
В-третьих, при конструкции без пенопласта необходимо заменить слой из местного грунта толщиной 50 см стабильным материалом.
И, наконец, в-четвертых, на поверхности покрытия в конструкции без пенопласта будут более интенсивно накапливаться в процессе эксплуатации неровности, обусловленные морозным пучением грунта, так как нормами ВСН 46-72 допускается общая величина пучения до 4 см.
Пример 2. Запроектировать дорожную одежду с асфальтобетонным покрытием и теплоизолирующим слоем из стиропорбетона.
Исходные данные. Пучиноопасный участок дороги II категории находится на территории Ленинградской области (II дорожно-климатическая зона). Грунтовые воды расположены близко к поверхности земли. По условиям проектирования продольного профиля дороги расстояние от поверхности покрытия до расчетного уровня грунтовых вод не должно превышать 1,6 м (3-й тип местности по степени увлажнения). Грунт земляного полотна - тяжелый пылеватый суглинок.
Расчетная приведенная интенсивность движения по дороге - 300 авт./сутки на одну полосу (с учетом перспективы). Расчетная нагрузка - автомобиль группы А по ГОСТ 9314-59.
Для устройства основания дорожной одежды строительная организация может использовать битумоминеральную смесь и стиропорбетон.
Конструирование и расчет
1. Исходя из эксплуатационных требований к проезжей части дороги и учитывая материальные возможности строительной организации, намечают следующую конструкцию дорожной одежды: покрытие - два слоя асфальтобетона, верхний слой основания - битумоминеральная смесь, нижний конструктивно-теплоизоляционный слой основания - стиропорбетон. Ввиду того, что стиропорбетон не является таким высокоэффективным теплоизолятором, как пенопласт, его применяют только для ограничения глубины промерзания земляного полотна и снижения величины пучения грунта.
2. Теплотехнический расчет производят следующим образом.
Принимают расчетные значения теплофизических характеристик слоев дорожной конструкции:
а) для верхнего и нижнего слоев асфальтобетона - λ1,2 = 0,9 ккал/м.ч.град; С1,2 = 0,4 ккал/кг.град; γ1,2 = 2350 кг/м3;
б) для битумоминеральной смеси λ3 = 0,85 ккал/м.ч.град; C3 = 0,4 ккал/кг.град; γ3 = 2300 кг/м3;
в) для стиропорбетона (конструкционно-теплоизолирующий слой) λ4 = 0,2 ккал/м град; С4 =0,4 ккал/кг.град; γ4 = 1100 кг/м3;
г) для грунта земляного полотна - тяжелого пылеватого суглинка - λs - 1,7 ккал/м.ч.град; С5 = 0,27 ккал/кг.град; γ5 = 2000 кг/м3 (характеристики относятся к мерзлому грунту, так как в рассматриваемом примере допускается некоторая величина промерзания земляного полотна).
Многослойная конструкция, приводимая к трехслойной расчетной модели (см. пример 1 и п.4.10), характеризуется следующими значениями параметров:
λ1,9 - 0,87 ккал/м.ч.град; C1,9 = 0,4 ккал/кг.град; γ1,9 = 2320 кг/м3.
По формуле (1) находят, что расчетные значения коэффициента теплоусвоения слоев трехслойной модели (см. рис.7) равны: S1 - 28,4; S2 - 8,12 и S3 ~ 30,27 ккал/м.ч.град.
Устанавливают расчетные параметры годовой закономерности изменения температуры поверхности асфальтобетонного покрытия вблизи Ленинграда (см. пример 1 и приложение 4). По таблице приложения 4 находят tв.n = 3,7°С; σt = 0,9°С; Ав.м = 12,8°С и σA = 2,1°С.
Аналогично тому, как это делается в примере 1, рассчитывают температуру поверхности покрытия в расчетном году и амплитуду колебания температур. В результате этого получают, что tп.cp – 9,4°С, а Ап - 21,4°С.
Определяют допускаемую глубину промерзания земляного полотна от низа теплоизолирующего слоя [Z]. Для этого предварительно по ВСН 48-72 устанавливают, что для одежд с асфальтобетонным покрытием величина пучения не должна превышать 4 см, затем по формуле (8) находят, что коэффициент пучения тяжелого пылеватого суглинка равен
![]()
Величины параметров В и α0 приняты по ВСН 46-72.
Наконец, по формуле (7)
получают, что ![]()
По формуле (6), учитывающей фазовые превращения воды, определяют допускаемое значение произведения средневзвешенной отрицательной температуры поверхности земляного полотна t и продолжительности промерзания его τ:
![]()
Здесь WT = 0,30; WH = КH WP = 0,75.0,17 = 0,13 (см. приложение 5).
По графику рис.8 при
известном значении
находят, что
, откуда t = 9,4.0,16 = 1,5оС.
Таким образом, допускаемое значение самой низкой отрицательной температуры поверхности земляного полотна за период промерзания должно составлять (см. п.4.5) [t1 + tзам] = (-l,5) + (-0,6) = -2,l°C, а допускаемая амплитуда колебаний температур [A(h + в)] = tn.cp + [t1 + tзам] = 9,4 + 2,1 = 11,5°C.
Для того чтобы промерзание земляного полотна за зиму не превысило 46 см, необходимо выдержать следующее соотношение амплитуд:
. При данном отношении амплитуд, а также при
![]()
определяют толщину
слоя из стиропорбетона. По номограмме приложения 6
при
и
= 0,15 получают, что
откуда
= 19,5 см.
По номограмме приложения 6
δ.0,77 = 0,17, откуда δ = 22 см. Интерполяцией находят, что при
толщину слоя из
стиропорбетона следует принять равной ~ 20 см.
3. Конструкцию (рис.2) проверяют на морозоустойчивость. Делают это в соответствии с требованиями ВСН 46-72 и с учетом дополнений, изложенных в (см. п.4.13).
Предварительно проводят следующие расчеты. Устанавливают глубину промерзания конструкции от поверхности покрытия с учетом влияния теплоизолирующего слоя и величины [Z]n:
![]()
Уточняют расчетную толщину слоев из стабильных материалов, включая стиропорбетон, с учетом теплотехнических эквивалентов Z1,3 = 1,2 - 0,46 = 0,74 м. По формулам (14) и (15) определяют величину климатического показателя:
![]()
где ![]()

Рис.2. Схема конструкции к примеру 2:
1, 2 - верхний и нижний слои асфальтобетона; 3 - битумоминеральная смесь; 4 - стиропорбетон; 5 - тяжелый пылеватый суглинок
После выполнения этих
предварительных расчетов по номограмме - рис. 24 ВСН 48-72 при
находят, что
, откуда
что незначительно
отличается от [l] = 4 см. Следовательно, практически обеспечивается необходимая
устойчивость конструкции.
4. Оценка прочности конструкции (см. рис.2). Прежде всего определяют расчетную влажность грунта земляного полотна.
В соответствии с указаниями п.5.3 это выполняют с помощью метода, изложенного в "Методических рекомендациях" /3/. Применительно к условиям рассматриваемого примера при максимальной объемной массе скелета грунта δтах = 1,7 г/см3, оптимальной его влажности Wопт - 0,15, пределе текучести WT = 0,30, δлет = 0,98.δmax, δвес = 0,92 δmax и сумме осенних осадков 125 мм анализ показал, что расчетная влажность грунта составляет 0,8 WТ.
Таблица 2
|
Номер слоя |
Материал слоя |
Е, кгс/см2 |
h,см |
|
Общий модуль упругости (на поверхности слоев) Еобщ, кгс/см2 |
Активное напряжение сдвига в грунте, τав, кгс/см2 |
Напряжение растяжения, кгс/см2 |
Коэффициент прочности |
||||
|
По пробегу |
По сдвигу |
по изгибу |
||||||||||
|
асфальтобетонный |
Стиропорбетон |
асфальтобетонный |
Стиропорбетон |
|||||||||
|
1 |
Асфальтобетон верхнего слоя |
15000 |
4 |
0,12 |
Еобщ = 1950 |
- |
- |
- |
0,99 |
- |
- |
- |
|
2 |
Асфальтобетон нижнего слоя |
10000 |
5 |
0,.15 |
Е'общ = 1630 |
- |
12,8 |
- |
- |
- |
.1,00 |
- |
|
3 |
Битумоминеральная смесь |
8000 |
15 |
0,455 |
Е"общ - 1330 |
- |
- |
- |
- |
- |
- |
- |
|
4 |
Стиропорбетон |
8000 |
20 |
0,605 |
- |
- |
- |
2,7 |
- |
- |
- |
1,1 |
|
5 |
Тяжелый пылеватый суглинок |
240 |
- |
- |
- |
0,075 |
- |
- |
- |
0,98 |
- |
- |
Для оценки прочности намеченной конструкции приняты следующие расчетные деформационные и прочностные характеристики:
а) модуль упругости верхнего слоя асфальтобетона при 10оС - 15000 кгс/см2, а нижнего при 10оС - 10000 кгс/см2; сопротивление растяжению при изгибе асфальтобетона (нижнего слоя) при N = 300 авт./сутки Ru = 12.1,15 = 12,8 кгс/см2 (см. приложение 3 ВСН 46-72);
б) модуль упругости битумоминерального материала - 8000 кгс/см2;
в) модуль упругости стиропорбетона - 8000 кгс/см2; сопротивление растяжению при изгибе Ru = 4,0 кгс/см2 (см. приложение 1);
г) расчетная влажность грунта земляного полотна (тяжелый пылеватый суглинок) - 0,8 WТ; при этой влажности модуль упругости грунта Егр = 240 кгс/см2, φ = 13°, С = 0,10 кгс/см2 (см. табл.4 приложения 2 ВСН 46-72).
Требуемый модуль упругости конструкции при N =300 авт./сутки Eтр = 1980 кгс/см2.
Результаты послойного расчета конструкции (см. рис.2) на прочность по всем трем критериям ВСН 46-72 приведены в табл.2, показывающей, что запроектированная дорожная конструкция отвечает всем требованиям ВСН 46-72 к прочности и морозоустойчивости конструкций.
1.
"Инструкция" по проектированию дорожных одежд нежесткого типа ВСН 46-
2. СНиП II-Д.5-72, "Автомобильные дороги общей сети Союза ССР. Нормы проектирования
3. Методические рекомендации по осушению земляного полотна и оснований дорожных одежд в районах избыточного увлажнения и сезонного промерзания грунтов, М., Союздорнии, 1974.
4. СНиП 1-Д.2-70. Автомобильные дороги. Материалы и изделия.
5.
"Инструкция по применению грунтов, укрепленных вяжущими материалами, для
устройства оснований и покрытий автомобильных дорог и аэродромов" СН 25-
6. Типовая методика определения экономической эффективности капитальных вложений. М., "Экономика", 1969.
7. Корсунский М.Б. Технико-экономическое обоснование конструкций дорожных одежд. М., "Транспорт*, 1964.
8. Справочник инженера-дорожника. "Содержание и ремонт автомобильных дорог". Под редакцией А.П. Алексеева. М., "Транспорт", 1974.
9. СНиП III-Д.5-73 Автомобильные дороги. Правила производства и приемки работ. Приемка в эксплуатацию,
10. СНиП II-А.7-71. Строительная теплотехника. Нормы проектирования.
11. СНиП II-Б.6-66. Основания и фундаменты зданий и сооружений на вечномерзлых грунтах. Нормы проектирования.
12. Бирюков Н.С., Казарновский В.Д., Мотылев Ю.Л. Методическое пособие по определению физико-механических свойств грунтов. М., "Недра", 1975.
13. Шимановский С.В., Шимановская Т.С. Инструктивные указания по определению теплопроводности грунтов при положительных и отрицательных температурах. Сб.2 "Материалы по лабораторному исследованию грунтов", 1954.
14. Методическое пособие по инженерно-геологическому изучению горных пород. Т.2. Под ред. Е.М. Сергеева и др. М., Изд-во МГУ, 1968.
15. Нерсесова З.А. Инструктивные указания по определению количества незамерзшей воды и льда в мерзлых грунтах. Сб.2 Материалы по лабораторным исследованиям мерзлых грунтов, 1954.