МИНИСТЕРСТВО ЭНЕРГЕТИКИ И
ЭЛЕКТРИФИКАЦИИ СССР
ГЛАВНОЕ НАУЧНО-ТЕХНИЧЕСКОЕ УПРАВЛЕНИЕ
ЭНЕРГЕТИКИ И ЭЛЕКТРИФИКАЦИИ
ТИПОВАЯ ИНСТРУКЦИЯ ПО
КОМПЕНСАЦИИ ЕМКОСТНОГО
ТОКА
ЗАМЫКАНИЯ НА ЗЕМЛЮ В ЭЛЕКТРИЧЕСКИХ СЕТЯХ 6-35 кВ
РД 34.20.179
(ТИ
34-70-070-87)
Срок действия установлен
с 06.04.88 г. до 06.04.93 г.
РАЗРАБОТАНО Производственным объединением по наладке, совершенствованию технологии и эксплуатации электростанций и сетей "Союзтехэнерго"
ИСПОЛНИТЕЛЬ А.И. Левковский (цех электрических сетей)
УТВЕРЖДЕНО Главным научно-техническим управлением энергетики и электрификации 06.06.87 г.
Заместитель начальника К.М. АНТИПОВ
Содержание
Настоящая Типовая инструкция (далее Инструкция) содержит основные указания по выполнению компенсации емкостного тока замыкания на землю в электрических сетях, а также по производству специальных измерений с целью настройки компенсации емкостного тока.
При разработке данной Инструкции учтен опыт эксплуатации электрических сетей с компенсацией емкостного тока в энергосистемах Белглавэнерго, Куйбышевэнерго, Саратовэнерго, Свердловэнерго и др.
В Инструкцию внесены изменения и дополнения, учитывающие особенности эксплуатации дугогасящих реакторов, требования новых стандартов и технических условий на конкретные типы реакторов.
При эксплуатации сетей с компенсацией емкостного тока необходимо руководствоваться также инструкциями заводов-изготовителей электрооборудования и требованиями ПТЭ и ПУЭ.
Настоящая Инструкция предназначена для персонала служб РЭУ (ПЭО), занимающегося эксплуатацией электрических сетей 6-35 кВ.
1.1. Компенсация емкостного тока замыкания на землю в сетях 6-35 кВ применяется для уменьшения тока замыкания на землю, снижения скорости восстановления напряжения на поврежденной фазе после гашения заземляющей дуги, уменьшения перенапряжений при повторных зажиганиях дуги и создания условий для ее самопогасания.
Основные определения, используемые при характеристике сетей с компенсацией емкостного тока, приведены в приложении 1.
1.2. Компенсация должна применяться при следующих значениях емкостного тока замыкания на землю сети в нормальных режимах ее работы:
в воздушных сетях 6-20 кВ на железобетонных или металлических опорах и во всех сетях 35 кВ - при токе более 10 А;
в воздушных сетях, не имеющих железобетонных или металлических опор: при напряжении 6 кВ - при токе более 30 А, при напряжении 10 кВ - более 20 А, при напряжении 15-20 кВ - более 15 А.
Компенсацию допускается применять также в воздушных сетях 6-10 кВ при емкостном токе менее 10 А.
1.3. Для компенсации емкостного тока замыкания на землю должны применяться дугогасящие заземляющие реакторы с плавным или ступенчатым регулированием индуктивности.
Основные технические характеристики дугогасящих реакторов приведены в приложении 2 (табл. 1-7).
1.4. В электрических сетях, где в процессе эксплуатации емкостный ток замыкания на землю изменяется не более чем на ±10 %, рекомендуется применять дугогасящие реакторы со ступенчатым регулированием индуктивности.
В электрических сетях, где в процессе эксплуатации емкостный ток замыкания на землю изменяется более чем на ±10 %, рекомендуется применять реакторы с плавным регулированием индуктивности, настраиваемые вручную или автоматически.
Автоматическая настройка компенсации рекомендуется в сетях 35 кВ при емкостном токе замыкания на землю более 10 А и в сетях 6-10 кВ при емкостном токе более 50 А.
1.5. Дугогасящие реакторы должны быть настроены на ток компенсации, как правило, равный емкостному току замыкания на землю (резонансная настройка). Допускается настройка с перекомпенсацией, при которой индуктивная составляющая тока замыкания на землю не превышает 5 А, а степень расстройки – 5 %.
Если установленные в сетях 6-20 кВ дугогасящие реакторы со ступенчатым регулированием индуктивности имеют большую разность токов смежных ответвлений, допускается настройка с индуктивной составляющей тока замыкания на землю не более 10 А.
В сетях 35 кВ при емкостном токе менее 15 А допускается степень расстройки не более 10 %.
В воздушных сетях 6-10 кВ с емкостным током замыкания на землю менее 10 А степень расстройки не нормируется.
Настройка с недокомпенсацией допускается только при недостаточной мощности дугогасящего реактора и при условии, что любые аварийно возникающие несимметрии емкостей фаз сети (обрыв проводов, растяжка жил кабеля) не могут привести к появлению напряжения смещения нейтрали, превышающего 70 % фазного напряжения. При недокомпенсации расстройка не должна превышать 5 %.
1.6. В сетях с компенсацией емкостного тока степень несимметрии фазных напряжений не должна превышать 0,75 % фазного напряжения, а напряжение смещения нейтрали 15 % фазного напряжения.
Допускается напряжение смещения нейтрали в течение 1 ч до 30 % и в течение времени поиска места замыкания на землю – 100 % фазного напряжения.
1.7. Измерения емкостных токов, напряжений несимметрии и смещения нейтрали с целью настройки компенсации емкостного тока должны проводиться при вводе дугогасящих реакторов в работу и при значительных изменениях схемы сети, но не реже одного раза в 6 лет.
2.1. Дугогасящие реакторы должны устанавливаться на питающих подстанциях, связанных с электрической сетью не менее чем двумя линиями электропередачи. Установка реакторов на тупиковых подстанциях не допускается.
2.2. Выбор подстанций для установки дугогасящих реакторов должен производиться с учетом возможного разделения сети на отдельно работающие участки. Реакторы должны размещаться таким образом, чтобы в каждой части сети после ее разделения сохранялась возможность настройки компенсации емкостного тока, близкой к резонансной.
3.1. Мощность реакторов должна выбираться по значению емкостного тока сети с учетом ее развития в ближайшие 10 лет.
При отсутствии данных о развитии сети мощность реакторов следует определять по значению емкостного тока сети, увеличенному на 25 %.
Определение емкостного тока сети для выбора мощности дугогасящих реакторов можно производить путем расчетов (приложение 3).
Расчетная мощность реакторов Qк (кВ×А) определяется по формуле
(1)
где Uном - номинальное напряжение сети, кВ;
Iс - емкостный ток замыкания на землю, А.
3.2. При применении в сети дугогасящих реакторов со ступенчатым регулированием тока количество и мощность реакторов следует выбирать с учетом возможных изменений емкостного тока сети с тем, чтобы ступени регулирования тока позволяли устанавливать настройку, близкую к резонансной при всех возможных схемах сети.
При емкостном токе замыкания на землю более 50 А рекомендуется применять не менее двух реакторов.
3.3. Для подключения реакторов должны использоваться силовые трансформаторы со схемой соединения обмоток "звезда с выведенной нейтралью - треугольник".
В сетях 35 кВ для этой цели могут использоваться трехобмоточные трансформаторы 110/35/10(6) кВ с обмоткой 10 (6) кВ, соединенной в треугольник.
В сетях 6-10 кВ
могут использоваться ненагруженные трансформаторы или трансформаторы
собственных нужд (ТСН) с обмоткой 0,4 (0,23) кВ, соединенной в треугольник. В
этом случае ТСН должны быть проверены по длительно допустимой нагрузке.
Допустимая нагрузка
(А) трансформатора
определяется по формуле (2).
(2)
где Iном.т - номинальный ток трансформатора, А;
Iк - ток компенсации реактора, А.
Трансформаторы, используемые для подключения реакторов, приведены в приложении 4 (табл. 12).
3.4. При отсутствии трансформаторов со схемой соединения обмоток "звезда - треугольник" для подключения реакторов допускается использовать ненагруженные трехфазные трансформаторы со схемой соединения обмоток "звезда - звезда". Мощность трансформаторов при этом должна не менее чем в четыре раза быть больше мощности реакторов.
Трансформаторы броневого типа или группы однофазных трансформаторов со схемой соединения обмоток "звезда - звезда" использовать для подключения реакторов недопустимо.
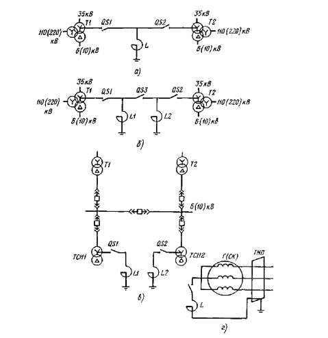
4.1. Рекомендуемые схемы включения дугогасящих реакторов приведены на рис. 1.
Дугогасящие реакторы должны подключаться к нейтралям трансформаторов, генераторов или синхронных компенсаторов через разъединители. В цепи заземления реакторов должен быть установлен трансформатор тока.
Трансформаторы 6 (10) кВ с дугогасящими реакторами в нейтрали должны подключаться к шинам подстанций выключателями. При использовании трансформаторов только для подключения реакторов допускается замена выключателей на трехполюсные разъединители.
4.2. На двухтрансформаторных подстанциях схемы включения дугогасящих реакторов должны предусматривать возможность подключения реакторов как к одному, так и к другому трансформатору (рис. 1, а; 1, б). Нейтрали трансформаторов должны быть разделены разъединителями.
4.3. Применение предохранителей в схемах питания трансформаторов с дугогасящими реакторами в нейтрали недопустимо.
4.4. Установка дугогасящих реакторов в распределительных устройствах должна выполнялся в соответствии с действующими Правилами устройства электроустановок и инструкциями заводов-изготовителей.
Подключение реакторов к трансформаторам рекомендуется выполнять сталеалюминиевыми проводами или шинами сечением 50-70 мм2. Допускается выполнять подключение кабелем без стальной бронеленты.
Неиспользуемые обмотки ненагруженных трансформаторов, в нейтрали которых включены дугогасящие реакторы, должны быть, как правило, заземлены путем соединения одного из выводов обмотки с заземляющим устройством подстанции.
4.5. Рекомендуемые схемы сигнализации и контроля работы дугогасящих реакторов приведены в приложении 5.
На сооружаемых и реконструируемых подстанциях приводы разъединителей, которыми дугогасящие реакторы подключаются к нейтралям трансформаторов, должны выполняться с электромагнитной блокировкой, запрещающей отключение под нагрузкой.
На действующих подстанциях, на которых разъединители дугогасящих реакторов выполнены без электромагнитной блокировки, допускается эксплуатация реакторов без блокировки. При этом возле разъединителей должны быть установлены две параллельно включенные сигнальные лампы, подключенные к сигнальной обмотке реакторов (две лампы на случай повреждения одной из них).

Рис. 1. Схемы включения дугогасящих реакторов:
а - включение одного реактора; б - включение двух реакторов; в - включение реакторов в нейтрали трансформаторов СН; г - включение реактора в нейтраль генератора (синхронного компенсатора)
5.1. В сети с компенсацией емкостного тока замыкания на землю напряжение несимметрии и смещения нейтрали не должно превышать указанных в п. 1.6 значений.
В сетях 35 кВ выравнивание емкостей фаз относительно земли должно выполняться транспозицией проводов (рис. 2), а также распределением конденсаторов высокочастотной связи.
Предварительную оценку напряжения несимметрии сети, а также емкостного тока замыкания на землю следует производить на основании расчетов по удельным емкостям проводов и кабелей относительно земли. Значения удельных емкостей проводов и кабелей и степени несимметрии некоторых линий приведены в приложении 3.
Пример расчета напряжения несимметрии сети и выравнивания емкостей фаз приведен в приложении 6.
5.2. Настройка дугогасящих реакторов должна быть выполнена в соответствии с требованиями п. 1.5.
5.3. В случае выбора настройки с недокомпенсацией допустимость такого режима должна быть проверена расчетом значения напряжения смещения нейтрали при появлении несимметрии емкостей фаз сети.
Пример расчета зависимости степени смещения нейтрали от степени однофазной несимметрии в сети с недокомпенсацией емкостного тока замыкания на землю при появлении несимметрии емкостей фаз, приведен в приложении 7.
5.4. Методы измерений напряжений несимметрии, смещения нейтрали и определения емкостного тока замыкания на землю с целью настройки компенсации емкостного тока приведены в приложении 8.
5.5. При выборе ответвлений дугогасящих реакторов со ступенчатым регулированием тока необходимо учитывать снижение тока реакторов вследствие влияния сопротивления трансформаторов, в нейтрали которых включены реакторы.

Рис. 2. Транспозиция фазных проводов на воздушных линиях
Действительный ток компенсации Iрд (А) определяется по формуле (1).
(3)
где
- сопротивление
трансформатора, Ом;
- сопротивление реактора, Ом;
Uном - номинальное напряжение трансформатора, кВ;
Sт - номинальная мощность трансформатора, кВ×А;
Uк - напряжение КЗ трансформатора, %;
- номинальное напряжение реактора, В.
В случае использования для подключения реактора трансформатора со схемой соединения обмоток "звезда - звезда" действительный ток компенсации определяется по формуле
(4)
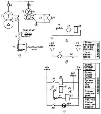
5.6. Выбор настроек дугогасящих реакторов со ступенчатым регулированием тока для разных схем сети должен производиться на основании результатов измерений емкостных токов сети и отдельных участков. Результаты выбора настроек реакторов должны быть оформлены в виде карты настроек и храниться у оперативного персонала для контроля режима компенсации емкостного тока.
5.7. Настройка плавнорегулируемых реакторов, не имеющих автоматических регуляторов настройки, должна производиться вручную с помощью измерителей (указателей) настройки или с помощью вольтметра, подключенного к сигнальной обмотке реакторов. Реакторы должны быть настроены на значении тока, при котором напряжение на сигнальной обмотке имеет наибольшее значение.
Для настройки плавнорегулируемых реакторов вручную могут применяться также другие методы, обеспечивающие настройку реакторов, близкую к резонансной.
5.8. Если в одном из режимов работы сети дугогасящий реактор окажется подключенным к шинам подстанции, от которой отходит только одна линия, то на время существования такого режима реактор должен быть выведен из работы.
5.9. Эксплуатация дугогасящих реакторов, текущие и капитальные ремонты должны производиться в соответствии с инструкцией завода-изготовителя и действующими Нормами испытаний электрооборудования.
6.1. Включение или отключение трансформаторов, предназначенных для подключения дугогасящих реакторов, допускается производить только при отключенном дугогасящем реакторе (разъединитель в цепи реактора должен быть отключен).
6.2. Не допускается включать или отключать дугогасящий реактор при возникновении в сети замыкания на землю.
6.3. Переключение ответвлений реактора со ступенчатым регулированием тока может производиться только после отключения реактора.
6.4. Не допускается объединять нейтрали раздельно работающих трансформаторов, к которым подключены дугогасящие реакторы.
6.5. Измерения емкостных токов замыкания на землю, напряжений несимметрии и смещения нейтрали с целью настройки компенсации емкостного тока должны производиться по программам, составленным и утвержденным в установленном порядке.
1. При работе
сети с изолированной нейтралью и отсутствии замыкания на землю на нейтрали сети
появляется напряжение несимметрии
(В), обусловленное
несимметрией емкостей фаз относительно земли, которое определяется по формуле
(5)
где ![]()
- вектор напряжения
фазы А, В;
СA, СB и СC - емкости фаз относительно земли, мкФ;
а - фазный множитель.
![]()
Степень несимметрии напряжений определяется по формуле
(6)
2. Емкостный ток замыкания на землю Iс (А) определяется по формуле
(7)
где w - угловая частота напряжения, с-1;
Сф - емкость фазы сети, мкФ;
uф - фазное напряжение, В.
3. Ток iк (А) компенсации дугогасящего реактора определяется по формуле
(8)
где Lp - индуктивность реактора, Гн.
4. Степень расстройки компенсации J (%) определяется по формуле
(9)
5. В сети с
подключенным дугогасящим реактором на нейтрали появляется напряжение смещения
нейтрали
, определяемое по формуле
(10)
где
- коэффициент
успокоения сети, равный отношению активной составляющей тока замыкания на землю
к полному емкостному току сети.
Для воздушных сетей с нормальным состоянием изоляции коэффициент d = 2-6 %. При загрязнениях и увлажнениях коэффициент d может увеличиваться до 10 %.
Для кабельных сетей d = 2-4 %.
Модель вектора напряжения смещения нейтрали равен
(11)
степень напряжения смещения нейтрали равна
(12)
6. При замыкании на землю в месте повреждения протекает остаточный ток замыкания Iз (А), равный
(13)
где
- дополнительный
коэффициент успокоения;
Rз - переходное сопротивление в месте замыкания на землю, Ом.
Характеристика реакторов серии РЗДСОМ
|
Тип реактора |
Номинальное напряжен не, кВ |
Предельный ток, А |
Тип трансформатора тока |
Коэффициент трансформации трансформа торов тока |
Масса, кг |
||
|
полная |
активной части |
масла |
|||||
|
РЗДСОМ-115/6У1 |
6,6/ |
12,5-25 |
ТВ-35-25 |
75/5 |
740 |
315 |
235 |
|
РЗДСОМ-230/6У1 |
6,6/ |
25-50 |
ТВ-35-25 |
75/5 |
995 |
405 |
315 |
|
РЗДСОМ-460/6У1 |
6,6/ |
50-100 |
ТВ-35-25 |
100/5 |
1370 |
650 |
410 |
|
РЗДСОМ-920/6У1 |
6,6/ |
100-200 |
ТВ-35-25 |
200/5 |
2090 |
1055 |
600 |
|
РЗДСОМ-190/10У1 |
11/ |
12,5-25 |
ТВ-35-25 |
75/5 |
955 |
400 |
310 |
|
РЗДСОМ-380/10У1 |
11/ |
25-50 |
ТВ-35-25 |
75/5 |
1370 |
650 |
410 |
|
РЗДСОМ-760/10У1 |
11/ |
50-100 |
ТВ-35-25 |
100/5 |
2070 |
1030 |
600 |
|
РЗДСОМ-1520/10У1 |
11/ |
100-200 |
ТВ-35-25 |
200/5 |
3610 |
1840 |
1110 |
|
РЗДСОМ-115/15,75У1 |
15,75/ |
5-10 |
ТВ-35-25 |
75/5 |
980 |
370 |
360 |
|
РЗДСОМ-155/20У1 |
22/
|
5-10 |
ТВ-35-25 |
75/5 |
1090 |
405 |
395 |
|
РЗДСОМ-310/35У1 |
38,5/
|
6,25-12,5 |
ТВ-35-25 |
75/5 |
2100 |
771 |
880 |
|
РЗДСОМ-620/35У1 |
38,5/
|
12,5-25 |
ТВ-35-25 |
75/5 |
2670 |
1165 |
950 |
|
РЗДСОМ-1240/35У1 |
38,5/
|
25-50 |
ТВ-35-25 |
75/5 |
3640 |
1805 |
1100 |
Примечания: 1. Для изменения тока в реактор встроен переключатель, имеющий пять положений. Привод переключателя выведен на стенку бака. 2. Допустимая продолжительность работы при наибольшем токе компенсации - 6 ч, при меньших токах - указана в паспорте реактора. 3. Магнитопровод изготовлен из электротехнической стали, стержни разделены зазорами, ярма прямоугольной формы. 4. Обмотка - цилиндрическая, слоевая, из медного провода.
Таблица 2
Характеристика реакторов серии РЗДПОМ
|
Тип реактора |
Номинальное напряжение, кВ |
Наибольшее рабочее напряжение, кВ |
Предельные значения токов при номинальном напряжении реактора, А |
|
РЗДПОМ-120/6У1 |
6,6/ |
7,2/
|
26,2 ¸ 5,2 |
|
РЗДПОМ-300/6У1 |
6,6/ |
7,2/
|
65,5 ¸ 13,1 |
|
РЗДПОМ-190/10У1 |
11/ |
12/
|
25,5 ¸ 5,0 |
|
РЗДПОМ-480/10У1 |
11/ |
12/
|
63,0 ¸ 12,6 |
|
РЗДПОМ-480/20У1 |
22/
|
24/
|
31,4 ¸ 6,3 |
|
РЗДПОМ-700/35У1 |
38,5/
|
40,5/
|
28,4 ¸ 5,7 |
|
РЗДПОМ-800/35У1 |
38,5/
|
40,5/
|
36,0 ¸ 7,2 |
Примечания: 1. Плавное регулирование тока осуществляется изменением зазора в магнитной системе с помощью электропривода, установленного на крышке бака реактора. 2. Номинальное напряжение сигнальной обмотки 100±10 В при среднем значении предельных токов. Номинальный ток сигнальной обмотки - 10 А. 3. Электрическая схема управления электроприводом реакторов приведена на рис. 3.
Таблица 3
Характеристика дугогасящих реакторов завода имени К. Либкнехта (ГДР)
|
Тип реактора |
Мощность, кВ×А |
Напряжение, кВ |
Предельное значение тока компенсации, А |
Масса, кг |
|
|
полная |
масла |
||||
|
GEUF 401/6 |
275 |
6/ |
32-80 |
1350 |
550 |
|
GEUF 631/6 |
400 |
6/ |
50-117 |
- |
- |
|
GEUF 801/6 |
485 |
6/ |
56-140 |
1690 |
550 |
|
GEUF 801/10 |
125 |
10/ |
8,6-21,6 |
1020 |
350 |
|
GEUF 1001/10 |
600 |
10/ |
40-100 |
1550 |
- |
|
GEUF 1251/10 |
800 |
10/ |
55-138 |
2100 |
700 |
|
GEUF 801/35 |
505 |
35/ |
12,2-25 |
2650 |
950 |
|
GEUF 1601/35 |
1010 |
35/ |
20-50 |
- |
- |
Примечания: 1. Обмотки реакторов выполняются с ответвлениями для девяти (6 и 10 кВ) и шести (35 кВ) значений тока компенсации. 2. Допустимая продолжительность непрерывной работы (ч) на ответвлениях:
|
Номер ответвления |
1 |
2 |
3 |
4 |
5 |
6 |
7 |
8 |
9 |
|
Напряжения, кВ |
|
|
|
|
|
|
|
|
|
|
6 |
Длительно |
8 |
7 |
6 |
5 |
4 |
3 |
2 |
2 |
|
10 |
Длительно |
8 |
6 |
4 |
3 |
2 |
- |
- |
- |
Таблица 4
Характеристики плунжерных реакторов ЦРМЗ Мосэнерго
|
Тип реактора |
Мощность, кВ×А |
Номинальное напряжение, кВ |
Предел регулирования тока, А |
|
РДМР-300/6 |
300 |
6,6/ |
15-80 |
|
РДМР-760/6 |
760 |
6,6/ |
50-200 |
|
РДМР-485/10 |
485 |
10,5/ |
15-80 |
|
РДМР-1210/10 |
1210 |
10,5/
|
50-200 |

Рис. 3. Электрическая схема управления электроприводом реакторов серии РЗДПОМ:
LL - дугогасящий реактор; М - электродвигатель; КМ - магнитный пускатель; QF - выключатель автоматический; RP - потенциометр; SQ - конечный выключатель;
1 - шкаф управления; 2 - местное управление; 3 - крайнее верхнее положение верхней половины стержня; 4 - крайнее нижнее положение верхней половины стержня; 5 - смещение нейтрали; 6 - датчик положения стержня
Таблица 5
Характеристика плунжерных дугогасящих реакторов, изготовляемых в ЧССР для двухчасовой продолжительности непрерывной работы
|
Тип реактора |
Мощность, кВ×А |
Номинальное напряжение, кВ |
Предельное значение тока компенсации, А |
|
ZTCC-50 |
200 |
6,3/ |
6-55 |
|
|
|
10,5/ |
4-33 |
|
|
|
15,75/ |
3-22 |
|
ZTC-250 |
400 |
6,3/ |
11-110 |
|
|
|
10,5/ |
6-66 |
|
|
|
15,75/ |
4-44 |
|
|
|
21/ |
3,2-32 |
|
ZTСС-250 |
500 |
6,3/ |
14-138 |
|
|
|
10,5/ |
8-83 |
|
|
|
15,75/ |
5,5-55 |
|
|
|
21/ |
4-42 |
|
ZTC-800 |
800 |
6,3/ |
22-220 |
|
ZTC-800 |
1250 |
10,5/ |
20-206 |
|
|
|
15,75/ |
13-137 |
|
|
|
21/ |
10-105 |
|
|
|
36,75/ |
5-60 |
|
ZTC-1250 |
2000 |
21/ |
17-165 |
|
|
|
36,75/ |
10-95 |
|
ZTC-4000 |
5000 |
21/ |
42-415 |
|
|
|
36,75/ |
24-240 |
Таблица 6
Характеристика плунжерных дугогасящих реакторов, изготовленных в ЧССР для 24-часовой продолжительности непрерывной работы
|
Тип реактора |
Мощность, кВ×А |
Номинальное напряжение, кВ |
Предельное значение тока компенсации, А |
|
ZTC-50 |
125 |
6,3/ |
4-35 |
|
|
|
10,5/ |
3-21 |
|
|
|
15,75/ |
2-14 |
|
ZTC-250 |
250 |
6,3 |
7-70 |
|
|
|
10,5/ |
4-41 |
|
|
|
15,75/ |
2,8-28 |
|
|
|
21/ |
2,1-21 |
|
ZTC-1250 |
800 |
6,3/ |
22-220 |
|
ZTC-800 |
800 |
10,5/ |
13-131 |
|
|
|
15,75/ |
8-88 |
|
|
|
21/ |
5-66 |
|
|
|
36,75/ |
3-38 |
|
ZTC-1250 |
1250 |
21/ |
10-105 |
|
|
|
36,75/ |
5-60 |
|
ZTCC-1250 |
1600 |
21/ |
13-134 |
|
|
|
36,75/ |
7,5-76 |
|
ZTC-4000 |
2500 |
21/ |
21-210 |
|
|
|
36,75/ |
11-118 |
Таблица 7
Техническая характеристика дугогасящего устройства ТАДТМ-30/10
|
Тип реактора |
Напряжение, кВ |
Ток в нейтрали обмоток высокого напряжения, А |
Ток в обмотке низкого напряжения, А |
Номинальная мощность, кВ×А |
|
ТАДТМ-30/10 |
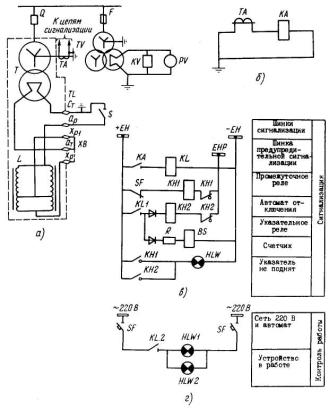
10 |
3-5 |
43,3-75,2 |
30 |
Примечания: 1. Дугогасящее устройство может применяться в сети напряжением 6 кВ. 2. Устройство состоит из трехфазного двухобмоточного пятистержневого трансформатора и однофазного реактора, размещенных в одном баке. Стержни магнитопровода реактора имеют по четыре немагнитных зазора. 3. Обмотки устройства многослойные цилиндрические, из медного провода. 4. Полная масса устройства - 1050 кг. 5. Электрическая схема устройства приведена на рис. 4.

Рис. 4. Электрическая схема дугогасящего устройства ТАДТМ-30/10:
I - первичная обмотка; II - вторичная обмотка; III - реактор
Степень несимметрии и удельные емкостные токи воздушных линий даны в табл. 8.
Удельные емкостные токи кабелей различных сечений и разных номинальных напряжений указаны в табл. 9-11.
Емкости проводов воздушных линий определены по формулам Максвелла. Для линии без тросов емкость провода определяется:
C1 = C11 + C12 + C13, (14)
где С11 - собственная частичная емкость провода относительно земли;
C12 и С13 - взаимные частичные емкости относительно второго и третьего провода. Для линии с тросами в выражение (14) добавляются частичные емкости относительно тросов.
Частичные емкости определяются по формуле
(15)
Здесь через D обозначен определитель, составленный из собственных и взаимных потенциальных коэффициентов:
(16)
D11, D12 и т.д. - алгебраические дополнения элементов определителя D.
Собственные и взаимные потенциальные коэффициенты рассчитываются:
(17)
(18)
Здесь hk - средняя высота подвески провода в пролете;
rk - радиус провода;
вkn - расстояние между проводом k и зеркальным изображением провода (троса) n;
akn - расстояние между проводом k и проводом (тросом) n;
eo = 8,85×10-12 ф/м.
Степень несимметрии и удельные емкостные токи воздушных линий
|
Расположение проводов и тросов на опоре (расстояние между проводами указано в м) |
Удельные емкости проводов относительно земли, мкФ/км |
Степень несимметрии линии угол j |
Удельный емкостный ток линий при фазном напряжении 1 кВ ic=3wCcp10-3 А/км |
||||
|
обозначение |
без троса |
с тросом |
без троса |
с тросом |
без троса |
с тросом |
|
|
1.
|
C1 |
0,00458 |
0,00527 |
|
|
|
|
|
С2 |
0,00406 |
0,00487 |
|
|
|
|
|
|
C3 |
0,00458 |
0,00527 |
0,0392 60° |
0,0258 60° |
0,00415 |
0,00484 |
|
|
Сcр |
0,00441 |
0,00514 |
|
|
|
|
|
|
2.
|
C1 |
0,00483 |
0,00558 |
0,0366 60° |
0,023 60° |
0,0044 |
0,00515 |
|
С2 |
0,00432 |
0,0052 |
|
|
|
|
|
|
C3 |
0,00483 |
0,00558 |
|
|
|
|
|
|
Сcр |
0,00466 |
0,00546 |
|
|
|
|
|
|
3.
|
C1 |
0,00546 |
0,00628 |
|
|
|
|
|
С2 |
0,0049 |
0,00588 |
0,0356 60° |
0,0212 60° |
0,0047 |
0,0058 |
|
|
C3 |
0,00546 |
0,00628 |
|
|
|
|
|
|
Сcр |
0,00528 |
0,00615 |
|
|
|
|
|
|
4.
|
C1 |
0,00453 |
0,00565 |
|
|
|
|
|
С2 |
0,00465 |
0,00557 |
0,011 157°13' |
0,01 325°15' |
0,00437 |
0,00525 |
|
|
C3 |
0,00472 |
0,00545 |
|
|
|
|
|
|
Сcр |
0,00464 |
0,00557 |
|
|
|
|
|
|
5.
|
C1 |
0,004955 |
0,00525 |
|
|
|
|
|
С2 |
0,004683 |
0,005346 |
|
|
|
|
|
|
C3 |
0,00484 |
0,005112 |
0,0163 34°10' |
0,013 274°24' |
0,00455 |
0,00493 |
|
|
Сcр |
0,004826 |
0,005236 |
|
|
|
|
|
|
6.
|
C1 |
0,00516 |
0,005508 |
|
|
|
|
|
С2 |
0,00486 |
0,005605 |
0,0169 30°20' |
0,0159 279°22' |
0,00472 |
0,00516 |
|
|
C3 |
0,00501 |
0,005309 |
|
|
|
|
|
|
Сcр |
0,00501 |
0,005477 |
|
|
|
|
|
|
7.
|
C1 |
0,00502 |
0,00537 |
|
|
|
|
|
С2 |
0,00454 |
0,005164 |
|
|
|
|
|
|
C3 |
0,004738 |
0,005027 |
0,0293 24°33' |
0,0192 336°10' |
0,00449 |
0,00489 |
|
|
Сcр |
0,004766 |
0,005187 |
|
|
|
|
|
|
8.
|
C1 |
0,004935 |
0,005335 |
|
|
|
|
|
С2 |
0,004496 |
0,005502 |
|
|
|
|
|
|
C3 |
0,004817 |
0,005167 |
0,0276 44°29' |
0,0181 268°56' |
0,00447 |
0,00503 |
|
|
Сср |
0,004749 |
0,005335 |
|
|
|
|
|
|
9.
|
C1 |
0,005052 |
0,005395 |
|
|
|
|
|
С2 |
0,004703 |
0,005618 |
|
|
|
|
|
|
C3 |
0,004916 |
0,005233 |
0,0208 28°23' |
0,0206 265°23' |
0,00461 |
0,0051 |
|
|
Сcр |
0,00489 |
0,005415 |
|
|
|
|
|
|
10.
|
C1 |
0,004751 |
0,005133 |
|
|
|
|
|
С2 |
0,004415 |
0,005211 |
|
|
|
|
|
|
C3 |
0,004569 |
0,00492 |
0,0212 28°17' |
0,0171 315°47' |
0,00431 |
0,00479 |
|
|
Сcр |
0,004578 |
0,005088 |
|
|
|
|
|
|
11.
|
C1 |
0,00495 |
0,00515 |
|
|
|
|
|
С2 |
0,00448 |
0,00485 |
|
|
|
|
|
|
C3 |
0,005 |
0,00537 |
0,0345 64°42' |
0,0292 84°45' |
0,00453 |
0,00482 |
|
|
Сcр |
0,00481 |
0,00512 |
|
|
|
|
|
|
12.
|
C1 |
0,00415 |
0,0052 |
|
|
|
|
|
С2 |
0,00455 |
0,00545 |
0,0276 224° |
0,0202 255°57' |
0,00408 |
0,00494 |
|
|
C3 |
0,00426 |
0,0051 |
|
|
|
|
|
|
Сcр |
0,00432 |
0,00525 |
|
|
|
|
|
|
13.
|
C1 |
0,00473 |
0,00547 |
|
|
|
|
|
С2 |
0,00431 |
0,00499 |
0,0277 18°28' |
0,0267 25°47' |
0,00423 |
0,00491 |
|
|
C3 |
0,00444 |
0,0052 |
|
|
|
|
|
|
Сcр |
0,00449 |
0,00522 |
|
|
|
|
|
|
14.
|
C1 |
0,00451 |
|
|
|
|
|
|
С2 |
0,00434 |
|
0,0127 60° |
|
0,0042 |
|
|
|
C3 |
0,00451 |
|
|
|
|
|
|
|
Сcр |
0,00445 |
|
|
|
|
|
|
|
15.
|
C1 |
0,00501 |
|
|
|
|
|
|
С2 |
0,004584 |
|
|
|
|
|
|
|
C3 |
0,00501 |
|
0,0291 60° |
|
0,00459 |
|
|
|
Сcр |
0,004868 |
|
|
|
|
|
|
|
16.
|
C1 |
0,005044 |
|
|
|
|
|
|
С2 |
0,004558 |
|
|
|
|
|
|
|
C3 |
0,005044 |
|
|
|
|
|
|
|
Сcр |
0,004882 |
|
0,0322 60° |
|
0,00459 |
|
|
|
17.
|
C1 |
0,0044 |
|
|
|
|
|
|
С2 |
0,00411 |
|
|
|
|
|
|
|
C3 |
0,0044 |
|
|
|
|
|
|
|
Сcр |
0,004303 |
|
0,0222 60° |
|
0,00405 |
|
|
|
18.
|
C1 |
0,004864 |
0,005187 |
|
|
|
|
|
С2 |
0,00447 |
0,005114 |
|
|
|
|
|
|
C3 |
0,00475 |
0,005045 |
|
|
|
|
|
|
Сcр |
0,004695 |
0,005115 |
0,0252 42°30' |
0,00801 330°37' |
0,00442 |
0,00482 |
|
|
19.
|
C1 |
0,004935 |
0,005203 |
|
|
|
|
|
С2 |
0,004654 |
0,005381 |
0,0436 98°11' |
0,0297 137°49' |
0,00471 |
0,00513 |
|
|
C3 |
0,005406 |
0,005753 |
|
|
|
|
|
|
Сcр |
0,004998 |
0,005446 |
|
|
|
|
|
|
20.
|
C1 |
0,00486 |
|
|
|
|
|
|
С2 |
0,004582 |
|
0,0431 97°57' |
|
0,00463 |
|
|
|
C3 |
0,005313 |
|
|
|
|
|
|
|
Сcр |
0,004918 |
|
|
|
|
|
|
|
21.
|
C1 |
0,004946 |
0,005305 |
|
|
|
|
|
С2 |
0,004289 |
0,0048 |
0,0414 25°02' |
0,0315 7°46' |
0,00433 |
0,0047 |
|
|
C3 |
0,004563 |
0,004876 |
|
|
|
|
|
|
Сcр |
0,004599 |
0,004994 |
|
|
|
|
|
|
22.
|
C1 |
0,004939 |
|
|
|
|
|
|
С2 |
0,004494 |
|
0,0308 60° |
|
0,00451 |
|
|
|
C3 |
0,004939 |
|
|
|
|
|
|
|
Сcр |
0,004791 |
|
|
|
|
|
|
|
23.
|
C1 |
0,004892 |
0,005249 |
|
|
|
|
|
С2 |
0,004607 |
0,005338 |
0,0175 23°30' |
0,0169 281°32' |
0,00447 |
0,00491 |
|
|
C3 |
0,004723 |
0,00504 |
|
|
|
|
|
|
Сcр |
0,004741 |
0,005209 |
|
|
|
|
|
|
24.
|
C1 |
0,004753 |
|
|
|
|
|
|
С2 |
0,00421 |
|
0,0396 60° |
|
0,00431 |
|
|
|
C3 |
0,004753 |
|
|
|
|
|
|
|
Сcр |
0,004572 |
|
|
|
|
|
|
|
25.
|
C1 |
0,00445 |
0,00572 |
|
|
|
|
|
С2 |
0,00422 |
0,00472 |
|
|
|
|
|
|
C3 |
0,00518 |
0,00523 |
|
|
|
|
|
|
C4 |
0,00445 |
0,00572 |
|
|
|
|
|
|
C5 |
0,00422 |
0,00472 |
0,0623 106°50' |
0,0548 31°05' |
0,00435 |
0,00492 |
|
|
C6 |
0,00518 |
0,00523 |
|
|
|
|
|
|
Сcр |
0,00462 |
0,00522 |
|
|
|
|
|
Примечания: 1. Для двухцепной линии емкости фаз относительно земли, степень несимметрии и удельный емкостный ток приведены для одной цепи, когда другая цепь отключена, но не заземлена. 2. В знаменателе п.п. 6 и 7 указан угол j, определяющий положение вектора напряжения несимметрии относительно напряжения первой фазы. 3. d - диаметр провода.
Зарядные и емкостные токи замыкания на землю кабелей с секторными жилами и поясной изоляцией, А/км
|
Сечение, мм2 |
Кабели 6 кВ |
Кабели 10 кВ |
||
|
Зарядный ток |
Ток замыкания на землю |
Зарядный ток |
Ток замыкания на землю |
|
|
16 |
0,24 |
0,37 |
0,33 |
0,52 |
|
25 |
0,32 |
0,46 |
0,42 |
0,62 |
|
35 |
0,36 |
0,52 |
0,47 |
0,69 |
|
50 |
0,41 |
0,59 |
0,54 |
0,77 |
|
70 |
0,49 |
0,71 |
0,6 |
0,9 |
|
95 |
0,51 |
0,82 |
0,69 |
1,0 |
|
120 |
0,62 |
0,89 |
0,74 |
1,1 |
|
150 |
0,7 |
1,1 |
0,84 |
1,3 |
|
185 |
0,79 |
1,2 |
0,95 |
1,4 |
|
240 |
0,89 |
1,3 |
1,06 |
1,6 |
|
300 |
1,00 |
1,5 |
1,16 |
1,8 |
Таблица 10
Зарядные и емкостные токи замыкания на землю кабелей ОСБ, А/км
|
Сечение, мм2 |
Кабели 20 кВ |
Кабели 35 кВ |
||
|
Зарядный ток |
Ток замыкания на землю |
Зарядный ток |
Ток замыкания на землю |
|
|
25 |
0,66 |
2,00 |
- |
- |
|
35 |
0,74 |
2,2 |
- |
- |
|
50 |
0,84 |
2,5 |
- |
- |
|
70 |
0,95 |
2,8 |
1,2 |
3,7 |
|
95 |
1,0 |
3,1 |
1,4 |
4,1 |
|
120 |
1,1 |
3,4 |
1,5 |
4,4 |
|
150 |
1,3 |
3,7 |
1,6 |
4,8 |
|
185 |
1,4 |
4,0 |
1,7 |
5,2 |
Зарядные и емкостные токи замыкания на землю кабелей с пластмассовой изоляцией, А/км
|
Сечение, мм2 |
Кабель 6 кВ |
Кабель 10 кВ |
Кабель 20 кВ |
Кабель 35 кВ |
||||
|
Зарядный ток |
Ток замыкания на землю |
Зарядный ток |
Ток замыкания на землю |
Зарядный ток |
Ток замыкания на землю |
Зарядный ток |
Ток замыкания на землю |
|
|
25 |
0,33 |
0,55 |
0,62 |
1,9 |
1,0 |
3,0 |
1,1 |
3,3 |
|
35 |
0,35 |
0,60 |
0,69 |
2,1 |
1,1 |
3,3 |
1,2 |
3,6 |
|
50 |
0,35 |
0,66 |
0,78 |
2,3 |
1,2 |
3,6 |
1,3 |
3,9 |
|
70 |
0,38 |
0,70 |
0,87 |
2,6 |
1,3 |
3,9 |
1,5 |
4,5 |
|
95 |
0,41 |
0,75 |
0,96 |
2,9 |
1,9 |
4,2 |
1,6 |
4,8 |
|
120 |
0,47 |
0,85 |
1,05 |
3,2 |
1,6 |
4,8 |
1,8 |
5,4 |
|
150 |
0,49 |
0,9 |
1,14 |
3,4 |
1,7 |
5,1 |
1,9 |
5,7 |
|
185 |
0,55 |
1,0 |
1,25 |
3,8 |
1,9 |
5,7 |
2,1 |
6,3 |
|
240 |
0,6 |
1,0 |
1,51 |
4,5 |
2,1 |
6,3 |
2,3 |
6,9 |
|
300 |
- |
- |
1,65 |
5,0 |
2,3 |
6,9 |
2,5 |
7,5 |
|
400 |
- |
- |
1,85 |
5,6 |
2,5 |
7,5 |
2,7 |
8,1 |
|
500 |
- |
- |
- |
- |
4,8 |
8,4 |
3,0 |
9,0 |
Примечания: 1. Три жилы кабелей 6 кВ имеют общий металлический экран. 2. Каждая жила кабелей 10-35 кВ имеет отдельный металлический экран.
Типы и параметры трансформаторов
|
Заземляющий реактор |
Трансформатор* |
Действительное значение тока компенсации Iрд, А |
Снижение тока реактора, % |
Относительная нагрузка трансформатора током реактора, % |
Допустимая нагрузка на стороне НН трансформатора, %*** |
||||||
|
Тип |
Предел регулирования тока, А |
Номинальное напряжение, кВ |
Номинальное сопротивление реактора хр, Ом |
Тип |
Номинальный ток, А |
Напряжение КЗ Uк, % |
Сопротивление, Хт, Ом |
||||
|
РЗДСОМ-115/6У1 |
12,5-25 |
6,6/ |
152 |
ТМ-250/6** |
24 |
4,5 |
6,5 |
24,6 |
1,6 |
34 |
100 |
|
РЗДСОМ-230/6У1 |
25-50 |
-"- |
76 |
ТМ-250/6 |
24 |
4,5 |
6,5 |
48,7 |
2,6 |
68 |
90 |
|
РЗДСОМ-460/6У1 |
50-100 |
-"- |
38 |
ТМ-400/6 |
38,5 |
4,5 |
4,0 |
96,6 |
3,4 |
84 |
70 |
|
РЗДСОМ-920/6У1 |
100-200 |
-"- |
19 |
ТМ-630/6 |
61,0 |
5,5 |
3,14 |
189,5 |
5,25 |
104 |
40 |
|
РЗДСОМ-190/10У1 |
12,5-25 |
11/ |
254 |
ТМ-250/10** |
14,5 |
4,5 |
18,0 |
24,6 |
1,6 |
57 |
95 |
|
РЗДСОМ-380/10У1 |
25-50 |
-"- |
127 |
ТМ-250/10 |
14,5 |
4,5 |
18,0 |
47,8 |
4,5 |
110 |
0 |
|
РЗДСОМ-760/10У1 |
50-100 |
-"- |
63,5 |
ТМ-630/10 |
36,4 |
6,5 |
8,75 |
95,6 |
4,4 |
87 |
65 |
|
РЗДСОМ-1520/10У1 |
100-200 |
-"- |
31,8 |
2´ТМ-630/10 |
72,8 |
6,5 |
24,4 |
191,2 |
4,4 |
87 |
65 |
Примечания: * - схема соединения обмоток Yo/D; ** - по п. 1 не применен ТМ-100, а по п. 2 и 5 - ТМ-160 из-за отсутствия у них нулевого вывода обмотки ВН; *** - см. п. 3.3.
Схема сигнализации и контроля работы дугогасящих реакторов приведена на рис. 5.
Для сигнализации замыкания на землю вместо трансформатора тока ТА может быть использовано реле напряжения KV, подключенное к сигнальной обмотке реактора или к обмотке 3Uo трансформатора напряжения TV.
Для более точного измерения напряжения смещения нейтрали в обмотку 3Uo через размыкающий контакт реле KV может быть включен дополнительный вольтметр PV с пределами измерений 0-30 В. Реле KV должно при этом иметь уставку срабатывания 30 В.
Схема сигнализации и контроля работы трехфазного дугогасящего устройства приведена на рис. 6.
Для сигнализации замыкания на землю вместо трансформатора тока ТА может быть использовано реле напряжения, подключенное к обмотке 3Uo трансформатора напряжения TV или к выводам Ст-ат дугогасящего устройства.

Рис. 5. Схема сигнализации и контроля работы дугогасящего реактора:
а - схема первичных соединений; б - схема токовых цепей; в - схема электромагнитной блокировки разъединителя; г - схема сигнализации

Рис. 6. Схема сигнализации и контроля работы дугогасящего устройства ТАДТМ-30/10:
а - схема первичных соединений; б - схема токовых цепей; в - схема сигнализации;
г - схема контроля работы
1. Для выравнивания емкостей фаз сети путем транспозиции проводов необходимо:
определить, насколько емкости фаз различаются между собой.
Пусть Св - наименьшая емкость, DСА и DСС - превышения емкостей фаз А и С над емкостью фазы В:
рассчитать, насколько необходимо увеличить емкость фазы В и уменьшить емкости фаз А и С.
Емкость фазы В должна быть увеличена на
(19)
Емкости фаз А и С должны быть уменьшены на
(20)
рассчитать длину линий, на которых необходимо выполнить транспозицию проводов.
Если Са, Св и Сс - удельные емкости проводов фаз А, В и С, мкф/км, то для выравнивания емкостей следует поменять местами провода фаз А и В на длине
(21)
и фаз В и С на длине
(21')
2. При выравнивании емкостей фаз сети путем переноса конденсаторов высокочастотной связи с одной фазы на другую изменение напряжения несимметрии DUнс, В, определяется по формуле
(22)
где DCк - емкость конденсатора высокочастотной связи, мкФ.
При переносе конденсатора, например с фазы А на фазу В, напряжение несимметрии уменьшается в направлении вектора напряжения фазы А на DUнс и увеличивается на то же значение в направлении вектора напряжения фазы В. Общее изменение напряжения несимметрии
DUнс рез =
DUнс. (23)
Последовательность изменения напряжения несимметрии при переносе конденсатора с фазы А на фазу В показана на рис. 7.

Рис. 7. Изменение напряжения несимметрии сети при переносе конденсаторов высокочастотной связи с фазы А на фазу В
а - изменение напряжения несимметрии при отключении конденсаторов на фазе А; б - изменение напряжения несимметрии при подключении конденсаторов на фазу В; в - суммарное изменение напряжения несимметрии; г - результирующее напряжение несимметрии
3. При подключении новой линии к действующей сети необходимо учитывать значение и фазу напряжения несимметрии сети и новой линии. Подключение должно быть выполнено таким образом, чтобы результирующее напряжение несимметрии имело наименьшее значение. Порядок определения наивыгоднейшего присоединения новой линии к сети показан на рис. 8.


Рис. 8. Определение результирующего напряжения несимметрии сети при подключении линии электропередачи:
а - напряжение несимметрии сети до подключения линии; б - напряжение несимметрии подключаемой линии; в - определение результирующего напряжения несимметрии при наивыгоднейшем присоединении линии
4. Числовой пример приведен ниже.
Данные для расчета:
емкостный ток замыкания на землю сети 35 кВ до подключения новых линий Iс=10 А;
вектор степени
несимметрии сети ![]()
емкостный ток
новой воздушной линии Iс вл = 2 А, степень несимметрии ![]()
емкостный ток новой кабельной линии Iс кл = 3 А, степень несимметрии Uнс кл = 0.
Емкостный ток сети после подключения линий
IcS = Iс+Iс ВЛ+Iс кл = 10+2+3 = 15 А.
Результирующая степень несимметрии сети после подключения новых линий определяется по формуле

Вектор результирующей степени несимметрии сети имеет модуль 2,1 % и угол 71° относительно направления вектора напряжения фазы А. Перед введением компенсации емкостного тока необходимо выполнить выравнивание емкостей фаз и снизить степень несимметрии по крайней мере до 0,75 %.
1. Для расчета зависимости степени смещения нейтрали от однофазной несимметрии задаются значениями m относительного уменьшения емкости фазы, рассчитывают степень несимметрии
(24)
расстройку компенсации
(25)
и определяют степень смещения нейтрали Uo
(26)
2. По рассчитанной зависимости Uo = f (m) определяют значение mn, при котором Uo = 0,7. Для найденного mn рассчитывается предельная длина провода lпр, обрыв которого вызывает опасное смещение нейтрали.
(27)
Если в сети линии длиннее lпр отсутствуют, то опасные смещения нейтрали при неполнофазных режимах возникнуть не могут.
3. Числовой пример расчета приведен ниже.
Данные для расчета:
емкостный ток Ic воздушной сети 35 кВ равен 27 А. Удельный емкостный ток ВЛ ic=0,1 А/км;
степень расстройки компенсации J = +0,063; d = 0,05.
Расчет Uo = f (m) представлен в табл. 13.
Кривая зависимости Uo = f (m) построена на рис. 9.
Степени смещения нейтрали Uo = 0,7 соответствует mn = 0,88.
Для mn = 0,88 предельная длина линии

|
Степень уменьшения емкости на одной фазе m |
Степень несимметрии
|
Степень расстройки |
Степень смещения нейтрали |
Степень уменьшения емкости на одной фазе m |
Степень несимметрии |
Степень расстройки |
Степень смещения нейтрали |
|
0,1 |
0,429 |
-0,338 |
1,26 |
0,7 |
0,111 |
-0,041 |
1,72 |
|
0,2 |
0,363 |
-0,277 |
1,29 |
0,8 |
0,0715 |
-0,004 |
1,43 |
|
0,3 |
0,304 |
-0,221 |
1,34 |
0,85 |
0,0526 |
+0,0138 |
1,0 |
|
0,4 |
0,25 |
-0,171 |
1,4 |
0,9 |
0,0345 |
+0,0307 |
0,59 |
|
0,5 |
0,20 |
-0,124 |
1,49 |
0,95 |
0,017 |
+0,417 |
0,248 |
|
0,6 |
0,154 |
-0,081 |
1,62 |
1,0 |
0 |
+0,063 |
0 |

Рис. 9. Кривая зависимости напряжения смещения нейтрали от степени однофазной несимметрии m
Если в сети линии такой длины отсутствуют, настройки с недокомпенсацией неопасны.
1. Измерения напряжений несимметрии и смещения нейтрали должны быть проведены во всех основных режимах работы сети и при всех настройках дугогасящих реакторов со ступенчатым регулированием тока.
По значению вектора напряжения несимметрии и положению его относительно векторов линейных напряжений определяются необходимость и способ выравнивания емкостей фаз сети.
Измерения должны проводиться по схеме рис. 10 с использованием трансформатора напряжения, рассчитанного на номинальное напряжение сети, вольтметра и фазометра ВАФ-85. Один вывод первичной обмотки трансформатора напряжения заземляется, другой подсоединяется к концу изолирующей штанги.

Рис. 10. Схема измерений напряжений несимметрии и смещения нейтрали сети
Во вторичную обмотку трансформатора включаются вольтметр и фазометр ВАФ-85. Измерения производятся при кратковременном подключении трансформатора напряжения изолирующей штангой к нулевому выводу трансформатора, предназначенного для подключения дугогасящего реактора.
2. Измерения напряжения смещения нейтрали должны начинаться при наибольшем токе дугогасящего реактора. Последовательной перестройкой ответвлений у реактора со ступенчатым регулированием тока или изменением положения плунжера (тока подмагничивания) у плавнорегулируемого реактора настройку приближают к резонансу и переводят сеть из режима перекомпенсации в режим недокомпенсации.
Если сеть имеет значительную несимметрию емкостей фаз относительно земли, то при настройке, близкой к резонансной, напряжение смещения нейтрали может достигнуть значений, соизмеримых с фазным напряжением, а через реактор пойдет ток, отключение которого разъединителем будет недопустимо. Предельно допустимые смещения нейтрали и наибольшие токи, отключение которых допускаются разъединителями, приведены в табл. 14.
Таблица 14
|
Напряжение сети, кВ |
Предельное смещение нейтрали, кВ |
Предельный отключаемый ток, А |
|
6 |
1,75 |
30 |
|
10 |
3,0 |
20 |
|
35 |
4,3 |
15 |
При возникновении такого режима перед отключением разъединителя необходимо уменьшить смещение нейтрали путем изменения емкости сети (например, подключить или отключить одну из линий, объединить секции шин и т.п.).
По результатам измерений строится кривая зависимости напряжения смещения нейтрали от настройки дугогасящего реактора, по которой в дальнейшем производится определение емкостного тока замыкания на землю.
Пример построения указанной зависимости для сети 35 кВ, в которой установлены дугогасящие реакторы со ступенчатым регулированием тока, приведен на рис. 11.
3. Предварительная приближенная оценка емкостного тока замыкания на землю Iс (А) воздушной сети может быть произведена на основании расчета по формуле
Ic = (2,7¸3,3) Uл l 10-3, (28)
где Uл - линейное напряжение сети, кВ;
l - длина линии, км.

Рис. 11. Кривая зависимости напряжения смещения нейтрали от настройки дугогасящего реактора:
1 - область недокомпенсации; 2 - область перекомпенсации; 3 - резонансная настройка
Для линий 6-10 кВ, а также линий 35 кВ без тросов принимается коэффициент 2,7; для линий 35 кВ на деревянных опорах с тросами - 3,3; на металлических опорах с тросами - 3,0.
Емкостный ток двухцепной линии может быть определен по формуле
Iс дв = (1,6¸1,3)Iс одн, (29)
где Iс одн - емкостный ток одноцепной линии, А.
Увеличение емкостного тока сети за счет емкости оборудования подстанций может ориентировочно оцениваться для воздушных и кабельных сетей 6-10 кВ - на 10 %, для воздушных сетей 35 кВ - на 12 %. Для кабельных сетей 35 кВ увеличение емкостного тока за счет оборудования подстанций учитывать не следует.
4. Определение емкостного тока сети по результатам измерения напряжения смещения нейтрали при разных настройках дугогасящего реактора со ступенчатым регулированием тока (см. рис. 11) производится по формуле
(30)
где I1к и I2к - значения установленных токов компенсации, А;
U01 и U02 - возникшие при этих настройках напряжения смещения нейтрали, В.
Если в сети установлены два реактора или более, под значениями I1к и I2к следует понимать соответствующие суммы значений токов компенсации реакторов.
Для подсчета емкостного тока необходимо брать значения напряжения смещения нейтрали в непрерывно возрастающей либо в непрерывно убывающей области зависимости (см. рис. 11).
Точность определения емкостного тока повышается с увеличением количества измерений и всех расчетов. Значение емкостного тока определяется при этом как среднее арифметическое всех расчетов.
Емкостный ток может быть определен по результатам измерения значения и фазы напряжения смещения нейтрали, выполненных с помощью фазометра ВАФ-85 на вторичной стороне трансформатора напряжения контроля изоляции в обмотке 3Uo. Измерение фазы напряжения смещения нейтрали выполняется относительно одного из линейных напряжений. Емкостный ток сети определяется по формуле
(31)
где I1к и I2к - значения установленных токов компенсации, А;
U01 и U02 - напряжения смещения нейтрали при соответствующих токах компенсации, В;
d - угол между векторами U01 и U02.
Для повышения точности расчетов по указанным формулам рекомендуется учитывать снижение токов компенсации дугогасящих реакторов вследствие влияния сопротивления трансформаторов, в нейтрали которых включены реакторы (см. п. 5.5).
5. Емкостный ток сети может быть определен по результатам измерения тока, протекающего через реактор со ступенчатым регулированием тока при двух его настройках. Значение емкостного тока определяется по формуле
(32)
где I2изм и I1изм - фактические значения протекающих через реактор токов при двух его настройках, А.
6. При применении плавнорегулируемого реактора емкостный ток сети может быть определен по значению тока реактора, настроенного в резонанс с емкостью сети. Реактор тогда настроен в резонанс, когда на нейтрали сети появляется наибольшее напряжение смещения нейтрали. Емкостный ток сети определяется по формуле
(33)
где Iр изм - ток, протекающий через реактор при наибольшем смещении нейтрали, А;
Uo макс - значение наибольшего смещения нейтрали, В.
Для достижения необходимой точности измерения значение Uo макс должно составлять 5-15 % Uф. При необходимости несимметрия сети может быть увеличена путем подключения к одной из фаз емкости равной 0,5-1 % суммарной емкости сети. В качестве такой емкости может быть использована фаза резервной кабельной линии. Длина линии должна составлять ~1 % суммарной длины линий сети.
7. Определить емкостный ток в кабельной сети без дугогасящих реакторов можно с помощью создания искусственной несимметрии при подключении дополнительной емкости, например косинусного конденсатора, к одной из фаз сети. Дополнительная емкость должна составлять 10-15 % суммарной емкости всех трех фаз сети.
Емкостный ток сети Ic (А) определяется по формуле
(34)
где DС - дополнительная емкость, мкф;
Uнс.и - напряжение несимметрии при подключении дополнительной емкости, кВ.
При отсутствии или недоступности нейтрали сети определение емкостного тока можно выполнить расчетом по формуле
(35)
где U1ф и U2ф - напряжения какой-либо фазы сети относительно земли до и после подключения дополнительной емкости, измеренное на вторичной стороне трансформатора напряжения контроля изоляции, В;
U1л и U2л - линейные напряжения сети до и после подключения дополнительной емкости, В.
Эта формула применима как в кабельной, так и в воздушной сети.
8. Схема измерения значений емкостного тока сети и тока дугогасящего реактора методом искусственного смещения нейтрали от дополнительного источника напряжения приведена на рис. 12.
Значение напряжения постороннего источника рекомендуется выбирать равным примерно 30 % фазного напряжения для воздушной сети и примерно 10 % для кабельной сети.
Номинальный ток источника должен быть больше емкостного тока сети, умноженного на отношение напряжения источника к фазному напряжению сети, т.е.
(36)
Подаваемое на нейтраль напряжение должно быть в противофазе с одним из фазных напряжений сети.
Трансформаторы тока ТА1 и ТА2 могут быть любого номинального напряжения, трансформатор тока ТА3 в нейтрали силового трансформатора должен быть рассчитан на полное рабочее напряжение сети.
Если во время измерений в сети возникнет замыкание на землю, через источник постороннего напряжения пойдет ток
(37)
где Хист - сопротивление источника, Ом.
Этот ток может превышать в несколько раз ток двухфазного КЗ на выводах источника. Поэтому выключатель Qз должен быть оборудован токовой защитой без выдержки времени.

Рис. 12. Схема измерения емкостного тока с помощью дополнительного источника напряжения
Емкостный ток сети, ток реактора и ток замыкания на землю определяются по формуле
(38)
Первые гармонические составляющие этих токов вычисляются по показаниям ваттметра и подведенному к нему напряжению
(39)
где Кт - коэффициент трансформации соответствующего трансформатора тока.
При использовании данного метода определения значения емкостного тока сети дополнительный источник напряжения может включаться также последовательно с обмоткой дугогасящего реактора.
В этом случае должна быть предусмотрена защита, действующая при замыкании на землю в сети на отключение дополнительного источника и на включение выключателя, имитирующего включенную последовательно с дугогасящим реактором обмотку дополнительного источника.
9. Схема измерения значения емкостного тока сети методом искусственного замыкания фазы сети на землю приведена на рис. 13.
Для замыкания на землю используется выключатель резервной ячейки (Qз). С двух полюсов этого выключателя (например В и С) со стороны питания снимается ошиновка, все три полюса соединяются последовательно с помощью закоротки. Закоротка должна быть рассчитана на ток КЗ.
Защита выключателя Qз (токовая отсечка) выставляется на ток срабатывания, равный пятикратному значению емкостного тока сети.
Для измерения тока замыкания на землю в цепи выключателя Qз устанавливается трансформатор тока ТА2. Класс точности трансформатора тока должен быть не ниже 1,0. Его номинальное напряжение может быть любым. Сопротивление вторичных цепей не должно превышать значение, допустимое для работы трансформатора тока в классе точности 1,0.

Рис. 13. Схема измерения емкостного тока методом искусственного замыкания на землю
Включение и отключение выключателя Qз должно осуществляться дистанционно с места установки измерительных приборов. Место установки приборов должно выбираться на безопасном удалении от ячейки Qз.
Первая гармоническая составляющая, реактивная и активная составляющие тока замыкания на землю, емкостного тока сети, тока реактора определяются по показаниям ваттметра PW при поочередном подведении к нему напряжения между не замкнутыми на землю фазами UВС и напряжения 3U0 от трансформатора напряжения.
Реактивная Iр и активная Iа составляющие определяются по формуле
(40)
где Кт - коэффициент трансформации трансформатора тока.
Эквивалентное действующее значение токов высших гармонических составляющих в токе замыкания на землю определяется по формуле
(41)
где Iизм - полный ток замыкания на землю, измеренный амперметром.
При необходимости может быть выполнено осциллографирование тока замыкания на землю.
Если при измерениях частота напряжения f не была равна 50 Гц, действительные значения токов компенсации и емкостного тока сети должны быть приведены к частоте 50 Гц по формулам
(42)
где
и
- токи, измеренные при частоте f.
Переключатель тока SA должен быть устроен так, чтобы при включении токовой обмотки ваттметра и амперметра в цепь одного трансформатора тока второй трансформатор тока закорачивался. При наличии двух комплектов приборов переключатель тока не требуется.
Количество замыканий на землю при проведении измерений должно быть минимальным. Измерения тока реакторов производятся одновременно с измерением тока замыкания на землю. В конце испытаний для контроля результатов измерений целесообразно измерить полный емкостный ток сети при отключенных дугогасящих реакторах.
1. ЛИХАЧЕВ Ф.А. Инструкция по выбору, установке и эксплуатации дугогасящих катушек. - М.: Энергия, 1971.
2. ЧЕРНИКОВ А.А. Компенсация емкостных токов в сетях с незаземленной нейтралью. - М.: Энергия, 1974.
3. МАВРИЦЫН A.M., ПЕТРОВ О.А. Электроснабжение угольных разрезов. - М.: Недра, 1977.
4. ЧАДОВ Г.Е. Определение емкостного тока в компенсированных сетях 6-35 кВ. - Энергетик, 1984, № 7.