ГОСУДАРСТВЕННЫЙ КОМИТЕТ СССР ПО ДЕЛАМ СТРОИТЕЛЬСТВА (ГОССТРОЙ СССР)
СНиП
IV-15-82
СТРОИТЕЛЬНЫЕ НОРМЫ И ПРАВИЛА
Часть IV
СМЕТНЫЕ НОРМЫ И ПРАВИЛА
Глава 15
Правила разработки и применения прейскурантов на строительство зданий и
сооружений
ПРИЛОЖЕНИЕ
Прейскуранты на строительство зданий и сооружений межотраслевого назначения
Прейскурант на строительство зданий и сооружений водоснабжения и канализации
Выпуск 1
Утвержден постановлением Государственного комитета СССР по делам строительства от 28 марта 1983 г. № 46
ГОСУДАРСТВЕННЫЙ КОМИТЕТ СССР ПО ДЕЛАМ СТРОИТЕЛЬСТВА (ГОССТРОЙ СССР)
|
СНиП IV-15-82 |
СТРОИТЕЛЬНЫЕ НОРМЫ И ПРАВИЛА |
|
Часть IV |
СМЕТНЫЕ НОРМЫ И ПРАВИЛА |
|
Глава 15 |
Правила разработки и применения прейскурантов на строительство зданий и сооружений |
|
ПРИЛОЖЕНИЕ |
Прейскуранты на строительство
зданий Прейскурант на строительство Выпуск 1 Утвержден |
СНиП IV-15-82. Приложение. Прейскуранты на строительство зданий и сооружений межотраслевого назначения. Прейскурант на строительство зданий и сооружений водоснабжения и канализации. Вып. 1/Госстрой СССР. - М.: Стройиздат, 1984.
Разработан проектным институтом Гипропромтрансстрой и рассмотрен Отделом сметных норм и ценообразования в строительстве Госстроя СССР.
Редакторы - инженеры А. Д. Бобров, В. В. Мазуровская (Госстрой СССР), В. Г. Еремеев, Т. А. Голубева (Гипропромтрансстрой)
|
Государственный комитет СССР по делам строительства (Госстрой СССР) |
Строительные нормы и правила |
СНиП IV-15-82 |
|
Прейскурант на строительство зданий и сооружений водоснабжения и канализации Выпуск 1 |
Взамен |
1.1. Настоящий Прейскурант содержит цены на строительство зданий и сооружений водоснабжения и канализации, разработанные в нормах и ценах, вводимых с 1 января 1984 г., взамен аналогичных цен, разработанных в нормах и ценах, введенных с 1 января 1969 г. Перечень цен настоящего Прейскуранта и соответствующих им аналогичных цен, разработанных в нормах и ценах, введенных с 1 января 1969 г., приведен в прил. 1.
1.2. Прейскурант предназначен для определения сметной стоимости при проектировании зданий и сооружений на стадиях проекта, рабочего проекта и рабочей документации и является обязательным для применения всеми организациями независимо от их ведомственной принадлежности при проектировании строительства в территориальных районах и подрайонах, указанных в прил. 2 (кроме местностей, приравненных к районам Крайнего Севера).
1.3. Цены Прейскуранта составлены на основе:
методических указаний по разработке прейскурантов на строительство зданий и сооружений;
смет к действующим типовым проектам на здания и сооружения;
сметных норм, цен, тарифов, единых районных единичных расценок на строительные работы и конструкции и расценок на монтаж оборудования, вводимых с 1 января 1984 г.;
сметных цен на местные строительные материалы и конструкции из сборного бетона и железобетона франко-объект строительства, утвержденных в установленном порядке.
|
Внесен |
Утвержден |
Срок
введения |
1.4. Цены Прейскуранта не применяются при составлении смет на здания и сооружения, строящиеся в условиях вечной мерзлоты, на просадочных грунтах, горных выработках и в местностях, в которых проектами предусмотрены специальные антисейсмические мероприятия.
1.5. Цены Прейскуранта учитывают полный комплекс строительно-монтажных работ, предусмотренный типовыми проектами и необходимый для осуществления строительства здания или сооружения с учетом мастных условий, а именно: все общестроительные и специально-строительные работы, включая устройство отмосток вокруг здания или сооружения, разработку, погрузку и разгрузку излишнего грунта и перемещение его на 1 км.
Примечания: 1. При перемещении излишнего грунта на расстояние свыше 1 км разница в стоимости транспортирования учитывается дополнительно по Сборнику сметных цен на перевозки грузов для строительства.
2. При составлении баланса земляных работ по площадке в целом объемы излишнего или недостающего грунта принимаются по данным прил. 12.
3. Стоимость разработки, погрузки, доставки и разгрузки недостающего грунта определяется отдельным расчетом и учитывается дополнительно при составлении смет.
4. При строительстве зданий и сооружений в стесненных условиях затраты, связанные с работами по отвозке грунта во временный отвал и последующей его подвозке для засыпки котлованов и траншей (если эти работы предусмотрены проектом организации строительства), учитываются дополнительно;
все работы по внутренним санитарно-техническим устройствам (отоплению, вентиляции, водопроводу, горячему водоснабжению, канализации и водостокам), силовым и осветительным сетям и другим работам, предусмотренные типовыми проектами.
Примечание. Точками раздела внешних и внутренних трубопроводов и кабелей, учтенных в Прейскуранте, являются: для канализации, водопровода, теплоснабжения и водостоков с закрытым выпуском - внешняя поверхность наружной стены здания; для внешних и внутренних водостоков с открытым выпуском - места слива в лоток отмостки; для силовых, осветительных и других устройств - кабельные концевые вводы и проходные изоляторы (муфты относятся к наружным сетям, а проходные изоляторы - к внутренним). В случае когда кабельная линия непосредственно у здания переходит в воздушную линию, точкой раздела является столбовая концевая муфта, которая в этом случае относится к внутренним сетям;
все работы по монтажу технологического, энергетического оборудования, систем автоматики и др.;
стоимость оборудования, включаемого в объем выполненных строительно-монтажных работ (учитывается в разделах «Монтаж санитарно-технического оборудования»).
1.6. Ценами Прейскуранта не учтено следующее:
подготовка и освоение территории строительства (снос и перенос существующих зданий и сооружений, осушение участка застройки, вертикальная, планировка и др.);
прокладка наружных инженерных сетей;
благоустройство участка застройки (устройство дорог, тротуары, озеленение и др.);
затраты на приобретение оборудования, не учитываемые в объемах строительно-монтажных работ;
накладные расходы, плановые накопления и другие лимитированные затраты, предусматриваемые в объектных сметах и сметных расчетах (затраты на временные здания и сооружения, дополнительные затраты при производстве строительно-монтажных работ в зимнее время, непредвиденные работы и затраты и др.);
все другие работы и затраты, включаемые в главу «Прочие работы и затраты» сводных сметных расчетов стоимости строительства;
затраты на содержание дирекции (технический надзор) строящегося предприятия и авторский надзор;
подготовка эксплуатационных кадров;
проектные и изыскательские работы.
1.7. Заработная плата рабочих исчислена в Прейскуранте на основе элементных сметных норм и расценок на монтаж оборудования, вводимых в действие с 1 января 1984 г. и тарифных ставок по оплате труда рабочих в строительстве по состоянию на 1 января 1980 г. с применением коэффициентов по территориальным районам, приведенных в табл. 1.
|
Территориальные районы |
Коэффициенты |
|
1, 3-6 |
1 |
|
2а, 2в, 8в, 8д, 8е, 9, 12г-12е |
1,2 |
|
26, 7, 8а, 86, 8г, 11, 12а-12в |
1,15 |
|
2г |
1,4 |
|
10 |
1,3 |
По стройкам, расположенным в отдельных районах, областях, краях и республиках, входящих в состав указанных в табл. 1 территориальных районов и подрайонов, для которых установлены коэффициенты, отличающиеся от принятых в Прейскуранте, к заработной плате рабочих (включая заработную плату рабочих, обслуживающих машины) должны применяться соответствующие коэффициенты.
Прейскурантом не учтены:
коэффициенты к заработной плате, предусмотренные в «Указаниях по применению единых районных единичных расценок на строительные конструкции и работы» (ЕРЕР-84) и в «Указаниях по применению расценок на монтаж оборудования» для особых случаев строительства (при работе в стесненных и вредных условиях труда и др.);
косвенные расходы, предусмотренные п. 2.7 «Указаний по применению расценок на монтаж оборудования»;
коэффициенты к заработной плате рабочих устанавливаемые решениями соответствующих органов для отдельных строек (или районов), для высокогорных, безводных, пустынных местностей и других сложных условий.
1.8. Стоимость эксплуатации строительных машин исчислена в Прейскуранте в соответствии с п. 1.7 «Указаний по применению единых районных единичных расценок на строительные конструкции и работы» (ЕРЕР-84), причем заработная плата рабочих, обслуживающих машины, во всех территориальных районах учтена с поясными коэффициентами, приведенными в табл. 1 настоящей Технической части.
1.9. Стоимость всех привозных материалов, изделий и конструкций принята в Прейскуранте по «Сборнику средних районных сметных цен на материалы, изделия и конструкции».
В случаях, когда по местным условиям строительства транспортная схема по доставке на строящийся объект привозных материалов, изделий и конструкций отличается от принятой в указанном Сборнике, дополнительная стоимость их транспортирования определяется с учетом положений, изложенных в «Указаниях по применению единых районных единичных расценок на строительные конструкции и работы» (ЕРЕР-84).
1.10. Стоимость местных строительных материалов и сборных бетонных и железобетонных конструкций учтена по усредненным ценам франко-объект строительства, причем в отдельных случаях (когда стоимость этих материалов и конструкций составляет в общей стоимости здания или сооружения значительный удельный вес) допускается корректировка цен Прейскуранта по стоимости указанных материалов и конструкций в конкретных условиях стройки.
В этих целях в табл. 2 настоящей Технической части приведены учтенные в Прейскуранте усредненные транспортные расходы на 1 т кирпича строительного и сборных бетонных и железобетонных конструкций, а в табл. 3 приведена масса материалов и конструкций, стоимость транспортирования которых может корректироваться по местным условиям.
Кроме того, в прил. 9 приведены поправки, учитывающие разницу в оптовых ценах на кирпич строительный и сборные бетонные и железобетонные конструкции, а также разницу сметных цен на остальные местные строительные материалы при поступлении их на строительство из отдельных областей, краев и республик, в которых эти цены отличаются от принятых в Прейскуранте.
|
Районы |
Усредненные транспортные расходы, учтенные в Прейскуранте, руб. за 1 т |
|
||||||
|
кирпич строительный |
сборные бетонные и железобетонные конструкции |
|
||||||
|
блоки фундаментные, плиты, перемычки и другие конструкции длиной до 3 м, шириной до 2,3 м, оголовки водонапорных башен |
плиты покрытий и перекрытий длиной от 3 до 6,5 м |
|
||||||
|
1а |
4,3 |
7,3 |
7,7 |
|
||||
|
1б |
4,28 |
8,2 |
8,33 |
|
||||
|
1в |
4,3 |
8 |
8,88 |
|
||||
|
1г |
4,83 |
8,7 |
9,52 |
|
||||
|
1д |
5,61 |
8,4 |
8,64 |
|
||||
|
1е |
12,16 |
8,8 |
10 |
|
||||
|
1ж |
3,15 |
7,8 |
8 |
|
||||
|
2а |
6,81 |
10,7 |
10,8 |
|
||||
|
2б |
6,46 |
9,4 |
10,8 |
|
||||
|
2в |
6,9 |
12 |
12,3 |
|
||||
|
2г |
8,1 |
11,7 |
11,9 |
|
||||
|
3а - 3в |
4,27 |
7,4 |
7,45 |
|
||||
|
3г |
10,98 |
7,4 |
7,45 |
|
||||
|
4а |
4,01 |
7,9 |
8 |
|
||||
|
4б |
5,88 |
7,9 |
8 |
|
||||
|
5а |
5,14 |
7,6 |
8,88 |
|
||||
|
5б |
6,51 |
8,8 |
8,91 |
|
||||
|
6а |
4,64 |
7,2 |
7,79 |
|
||||
|
6б |
4,97 |
7,2 |
7,79 |
|
||||
|
6в |
3,07 |
11,8 |
15,1 |
|
||||
|
7а |
5,16 |
9,1 |
9,79 |
|
||||
|
7б |
5,13 |
8,6 |
8,88 |
|
||||
|
7в |
5,31 |
8,7 |
8,91 |
|
||||
|
7г |
3,66 |
8,3 |
9,12 |
|
||||
|
8а |
5 |
8,5 |
9,64 |
||||
|
8б |
6,14 |
5 |
4,73 |
||||
|
8в |
4,07 |
10,4 |
10,72 |
||||
|
8г |
5,44 |
9,3 |
9,52 |
||||
|
8д |
2,84 |
8,9 |
9,09 |
||||
|
8е |
6,81 |
8,9 |
9,09 |
||||
|
9а |
6,81 |
10,7 |
10,8 |
||||
|
9б |
4,48 |
4,9 |
6 |
||||
|
9в |
3,46 |
5,8 |
6,7 |
||||
|
10а |
3,85 |
7,2 |
8,52 |
||||
|
10б |
5,34 |
8 |
14,2 |
||||
|
10в |
5,64 |
8,5 |
8,82 |
||||
|
11а |
7,14 |
8,5 |
9,55 |
||||
|
11б |
4,71 |
9,6 |
8,76 |
||||
|
11в |
7,07 |
8,7 |
9,4 |
||||
|
11г |
5,01 |
8,8 |
8,88 |
||||
|
11д |
5,49 |
7,8 |
8,03 |
||||
|
11е |
5,54 |
9 |
9,03 |
||||
|
12а |
4,68 |
7 |
7,94 |
||||
|
12б |
5,26 |
10 |
10,19 |
||||
|
12в |
7,15 |
9,8 |
10,24 |
||||
|
12г |
4,93 |
9 |
8,79 |
||||
|
12д |
5,62 |
10,1 |
11,19 |
||||
|
12е |
7,96 |
9,8 |
10,24 |
||||
|
Номера цен |
Конструктивные элементы зданий и сооружений |
Материалы и конструкции |
Масса местных строительных материалов и сборных бетонных и железобетонных конструкций, т, по территориальным районам (на измеритель цен) |
|||||||||||||||
|
1ж, 3-6, 12 |
1a - 1e, 2б, 2г, 7а, 7в, 10а, 11а - 11г |
2а, 2в, 7б, 7г, 8, 9, 10б, 10в, 11д, 11е |
||||||||||||||||
|
1 |
Ствол башни |
Кирпич строительный |
13 |
13 |
13 |
|||||||||||||
|
2 |
То же |
То же |
21 |
21 |
21 |
|||||||||||||
|
3 |
» |
» |
25 |
25 |
25 |
|||||||||||||
|
4 |
» |
» |
32 |
32 |
32 |
|||||||||||||
|
5 |
» |
» |
41 |
41 |
41 |
|||||||||||||
|
6 |
» |
» |
49 |
49 |
49 |
|||||||||||||
|
7 |
» |
» |
93 |
93 |
93 |
|||||||||||||
|
8 |
» |
» |
33 |
33 |
33 |
|||||||||||||
|
9 |
» |
» |
44 |
44 |
44 |
|||||||||||||
|
10 |
» |
» |
54 |
54 |
54 |
|||||||||||||
|
11 |
» |
» |
97 |
97 |
97 |
|||||||||||||
|
12 |
» |
» |
124 |
124 |
124 |
|||||||||||||
|
13 |
» |
» |
151 |
151 |
151 |
|||||||||||||
|
14 |
Ствол башни |
Кирпич строительный |
80 |
80 |
80 |
|||||||||||||
|
Оголовок и перемычки сборные железобетонные |
3 |
3 |
3 |
|||||||||||||||
|
15 |
То же |
Кирпич строительный |
98 |
98 |
08 |
|||||||||||||
|
Оголовок и перемычки сборные железобетонные |
3 |
3 |
3 |
|||||||||||||||
|
16 |
» |
Кирпич строительный |
115 |
115 |
115 |
|||||||||||||
|
Оголовок и перемычки сборные железобетонные |
3 |
3 |
3 |
|||||||||||||||
|
17 |
» |
Кирпич строительный |
139 |
139 |
139 |
|||||||||||||
|
Оголовок и перемычки сборные железобетонные |
3 |
3 |
3 |
|||||||||||||||
|
18 |
» |
Кирпич строительный |
160 |
160 |
160 |
|||||||||||||
|
Оголовок и перемычки сборные железобетонные |
3 |
3 |
3 |
|||||||||||||||
|
19 |
» |
Кирпич строительный |
130 |
130 |
130, |
|||||||||||||
|
Оголовок и перемычки сборные железобетонные |
3,4 |
3,4 |
3,4 |
|||||||||||||||
|
20 |
Ствол башни |
Кирпич строительный |
170 |
170 |
170 |
|
|||||||||||||
|
|
Оголовок и перемычки сборные железобетонные |
3,4 |
3,4 |
3,4 |
|
||||||||||||||
|
21 |
То же |
Кирпич строительный |
93 |
93 |
93 |
|
|||||||||||||
|
Оголовок и перемычки сборные железобетонные |
4 |
4 |
4 |
|
|||||||||||||||
|
22 |
» |
Кирпич строительный |
114 |
114 |
114 |
|
|||||||||||||
|
Оголовок и перемычки сборные железобетонные |
4 |
4 |
4 |
|
|||||||||||||||
|
23 |
|
Кирпич строительный |
135 |
135 |
135 |
|
|||||||||||||
|
Оголовок и перемычки сборные железобетонные |
4,2 |
4,2 |
4,2 |
|
|||||||||||||||
|
24 |
» |
Кирпич строительный |
157 |
157 |
157 |
|
|||||||||||||
|
Оголовок и перемычки сборные железобетонные |
4,2 |
4,2 |
4,2 |
|
|||||||||||||||
|
25 |
» |
Кирпич строительный |
175 |
175 |
175 |
|
|||||||||||||
|
Оголовок и перемычки сборные железобетонные |
4,2 |
4,2 |
4,2 |
|
|||||||||||||||
|
26-32 |
Колодцы и лотки |
Плиты и другие сборные бетонные и железобетонные конструкции длиной до 3 м, шириной до 2,3 м |
4,6 |
4,6 |
4,6 |
|
|||||||||||||
|
33 |
Фундаменты |
Блоки фундаментные |
23 |
36 |
60 |
|
|||||||||||||
|
Остальные части здания |
Плиты покрытий длиной от 3 до 6,5 м |
5,3 |
5,3 |
5,3 |
|
||||||||||||||
|
Плиты, перемычки и другие конструкции длиной до 3 м, шириной до 2,3 м |
2,2 |
2,5 |
3,1 |
|
|||||||||||||||
|
Кирпич строительный |
47 |
60 |
80 |
|
|||||||||||||||
|
34 |
Фундаменты |
Блоки фундаментные |
27 |
41 |
69 |
|
||||||||||||
|
|
Остальные части здания |
Плиты покрытий длиной от 3 до 6,5 м |
8 |
8 |
8 |
|
||||||||||||
|
Плиты, перемычки и другие конструкции длиной до 3 м, шириной до 2,3 м |
2,8 |
3,1 |
4 |
|
||||||||||||||
|
Кирпич строительный |
54 |
73 |
92 |
|
||||||||||||||
|
35 |
Фундаменты |
Блоки фундаментные |
92 |
130 |
204 |
|
||||||||||||
|
|
Остальные части здания |
Плиты покрытий длиной от 3 до 6,5 м |
65 |
65 |
65 |
|
||||||||||||
|
Плиты, перемычки и другие конструкции длиной до 3 м, шириной до 2,3 м |
22 |
23 |
28 |
|
||||||||||||||
|
Кирпич строительный |
223 |
280 |
337 |
|
||||||||||||||
|
36 |
Фундаменты |
Блоки фундаментные |
111 |
158 |
247 |
|
||||||||||||
|
Остальные части здания |
Плиты покрытий длиной от 3 до 6,5 м |
85 |
85 |
85 |
|
|||||||||||||
|
Плиты, перемычки и другие конструкции длиной до 3 м, шириной до 2,3 м |
29 |
31 |
38 |
|
||||||||||||||
|
Кирпич строительный |
275 |
339 |
393 |
|
||||||||||||||
|
37 |
Фундаменты |
Блоки фундаментные |
50 |
72 |
102 |
|
||||||||||||
|
Остальные части здания |
Плиты покрытий и перекрытий длиной от 3 до 6,5 м |
15 |
15 |
15 |
|
|||||||||||||
|
Плиты, перемычки и другие конструкции длиной до 3 м, шириной до 2,3м |
6,6 |
7,6 |
8,2 |
|
||||||||||||||
|
Кирпич строительный |
142 |
183 |
183 |
|
||||||||||||||
1.11. Цены Прейскуранта разработаны исходя из следующих условий строительства:
разработки грунтов II группы при естественной влажности и плотности;
устройства фундаментов во всех территориальных районах в непучинистых и непросадочных грунтах с нормативной характеристикой, предусмотренной «Инструкцией по типовому проектированию» (СН 227-82), и глубиной заложения, принятой из условия промерзания грунтов (табл. 4).
Таблица 4
|
Номера цен |
Глубина заложения фундаментов, м, по территориальным районам |
||
|
1ж, 3-6, 12 |
1a - 1e, 2б, 2г, 7а, 7в, 10а, 11а - 11г |
2а, 2в, 7б, 7г, 8, 9, 10б, 10в, 11д, 11e |
|
|
1-32 |
В соответствии с принятой в типовых проектах |
||
|
33-37 |
1,3 |
1,6 |
2,2 |
Примечания: 1. При разработке цен Прейскуранта глубина заложения фундаментов принята от планировочной отметки земли у здания, указанной в типовых проектах.
2. Если под отдельными частями здания типовыми проектами предусмотрена глубина заложения фундаментов большая, чем указана в настоящей таблице (при устройстве подвалов, приямков и т. п.), то цены Прейскуранта учитывают под этими частями здания глубину заложения фундамента, предусмотренную типовыми проектами.
3. В ценах Прейскуранта на отапливаемые здания глубина заложения фундаментов, указанная в настоящей таблице, принята только под наружными стенами, под внутренними - принята в соответствии с типовыми проектами;
толщина ограждающих конструкций и другие проектные решения в отдельных территориальных районах и подрайонах, учтены такие, какие они предусмотрены в типовых проектах исходя из зимней расчетной температуры наружного воздуха, приведенной в табл. 5.
Таблица 5
|
Территориальные районы |
Зимняя расчетная температура наружного воздуха, °С |
|
1ж, 3-6, 12 |
-20 |
|
1a - 1e, 2б, 2г, 7а, 7в, 10а, 11а, 11г |
-30 |
|
2а, 2в, 7б, 7г, 8, 9, 10б, 10в, 11д - 11e |
-40 |
Цены Прейскуранта учитывают материалы, конструкции и виды работ, предусмотренные основными вариантами типовых проектов. Краткая характеристика конструктивных элементов и видов работ зданий и сооружений приведена в табл. 6.
|
Номера цен |
Конструктивные элементы, и виды работ зданий и сооружений |
Краткая характеристика конструктивных элементов и видов работ |
|
|||
|
1-13 |
Фундаменты |
Монолитные железобетонные |
|
|||
|
Стены подземной части |
Бутобетонные |
|
||||
|
Стволы башен |
Кирпичные |
|
||||
|
Остальные конструкции |
Баки стальные, лестницы металлические, дверные проемы деревянные |
|
||||
|
14-25 |
Фундаменты и стены подземной части |
Монолитные железобетонные |
|
|||
|
Стволы башен |
Кирпичные |
|
||||
|
Остальные конструкции |
Баки стальные, лестницы металлические, дверные проемы деревянные |
|
||||
|
26-32 |
Фундаменты |
Монолитные железобетонные |
|
|||
|
Остальные конструкции |
Опоры и баки башен стальные, лестницы металлические, лотки для отвода переливной воды за пределы грунтовой обсыпки сборные |
|
||||
|
33-37 |
Фундаменты |
Сборные бетонные ленточные |
|
|||
|
33-36 |
Стены наружные надземной части |
Из полнотелого кирпича толщиной 38 см при t -20°C, 51 см при t -30°С, 64 см при t -40°C |
|
|||
|
37 |
То же |
Из полнотелого кирпича толщиной 38 см при t -20°C, 51 см при t -30°C и -40°C |
|
|||
|
33-37 |
Покрытия и перекрытия |
Сборные железобетонные |
|
|||
|
33-37 |
Кровля |
Совмещенная рулонная |
|
|||
|
33-37 |
Внутренняя отделка |
Учтена в соответствии с основным вариантом, предусмотренным в типовых проектах |
|||
|
33-37 |
Наружная отделка |
Расшивка швов, цементная штукатурка цоколя |
|||
|
33-37 |
Остальные конструктивные элементы и виды работ |
Предусмотрены основными вариантами типовых проектов |
|||
Примечание. В случае когда типовым проектом, привязанным к местным условиям, предусматривается толщина или материал наружных стен, отличающиеся от принятых в Прейскуранте, сметная стоимость строительства здания определяется с учетом корректировки стоимости наружных стен по ЕРЕР-84.
1.12. Таблицы цен Прейскуранта содержат следующие показатели, приведенные на принятый измеритель:
прямые затраты - в рублях (гр. 2), по всем территориальным районам и подрайонам, включающие стоимость работ и затрат, перечисленных в п. 1.5. Технической части;
основную заработную плату и стоимость эксплуатации машин - в рублях (гр. 3-5), по всем территориальным районам и подрайонам, определенные с учетом коэффициентов на заработную плату (включая заработную плату рабочих, обслуживающих машины) приведенных в табл. 1 Технической части;
материальные ресурсы - в рублях (гр. 6), по всем территориальным районам и подрайонам, определенные в соответствии с п.п. 1.9 и 1.10 Технической части;
затраты труда рабочих в чел.-ч (гр. 7) по работам и затратам, перечисленным в п. 1.5 Технической части.
2.1. Составление локальных и объектных смет на строительство зданий и сооружений по показателям, приведенным в основных ценах и поправках Прейскуранта, производится по формам, установленным «Инструкцией о составе, порядке разработки, согласования и утверждения проектно-сметной документации на строительство предприятий, зданий и сооружений» (СН 202-81*).
При этом накладные расходы, плановые накопления и другие лимитированные затраты (затраты на временные здания и сооружения, дополнительные затраты при производстве строительно-монтажных работ в зимнее время, непредвиденные работы и затраты и др.) начисляются непосредственно в сметах по нормам, установленным для конкретного строительства.
Пример составления смет на строительство зданий и сооружений с применением цен Прейскуранта приведен в прил. 13.
2.2. При составлении локальных и объектных смет на строительство зданий и сооружений по конкретной стройке необходимо учитывать следующие поправки и коэффициенты, отражающие местные условия строительства:
а) поправки и коэффициенты, учитывающие возможные отклонения гидрогеологических и климатических условий строительства от принятых при разработке цен Прейскуранта, а также поправки, учитывающие применение вариантов проектных решений (табл. 7);
Таблица 7
|
Поправки и коэффициенты к ценам Прейскуранта |
Номера цен, для которых разработаны поправки и коэффициенты |
Номера приложений |
|
При производстве земляных работ в грунтах, отличающихся от принятых в Прейскуранте |
1-37 |
|
|
При устройстве фундаментов из материалов, отличающихся от принятых в Прейскуранте |
26-30, 33-37 |
|
|
При заложении фундаментов на глубину, отличающуюся от принятой в Прейскуранте |
33-37 |
|
|
При устройстве фундаментов с нормативным давлением на грунт, отличающимся от принятого в Прейскуранте |
1-32 |
|
|
На утепление водонапорных башен |
1-32 |
|
|
При строительстве отапливаемых зданий в местностях с зимней расчетной температурой наружного воздуха, отличающейся от принятой в Прейскуранте |
33-37 |
Примечание: При привязке типового проекта на участке с особо сложными гидрогеологическими условиями, где требуется выполнение специальных работ (цементация, силикатизация и другие виды укрепления грунтов, искусственное водопонижение, свайные и другие виды искусственных оснований, отпорная гидроизоляция, оклеечная гидроизоляция с устройством защитных стенок и другие сложные конструкции боковой изоляции) разрешается вместо применения поправок определять по Прейскуранту только стоимость работ от отметки «0» и выше, а стоимость работ ниже отметки «0» устанавливать по особой смете, составляемой в каждом отдельном случае по рабочим чертежам, учитывающим местные условия;
б) поправки к основной заработной плате и заработной плате рабочих, обслуживающих машины (Пз), учитывающие районный коэффициент к заработной плате рабочих, отличающийся от принятого в Прейскуранте или коэффициент, установленный решением соответствующих органов для отдельных строек (или районов) для высокогорных, безводных, пустынных местностей и других сложных условий, определяются по формуле
Пз=З
,
где З - основная заработная плата или заработная плата рабочих, обслуживающих машины, приведенная в гр. 3 и 5 таблиц основных цен Прейскуранта, откорректированная с учетом поправок, указанных в п. 2.2а; Кс - районный коэффициент к заработной плате рабочих по отдельным районам, областям, краям и республикам отличающийся от принятого в Прейскуранте, или коэффициент, установленный решением соответствующих органов для отдельных строек (или районов), для высокогорных, безводных, пустынных местностей и других сложных условий; Кn - коэффициент к заработной плате рабочих, учтенный в Прейскуранте (приведен в табл. 1 настоящей Технической части).
Примечание. При строительстве зданий и сооружений в особых условиях, оговоренных в «Указаниях по применению единых районных единичных расценок на строительные конструкции и работы» (ЕРЕР-84) и «Указаниях по применению расценок на монтаж оборудования», к заработной плате применяются коэффициенты, приведенные в этих Указаниях;
в) поправку, учитывающую изменение стоимости перевозки кирпича строительного и сборных бетонных или железобетонных конструкций в связи с отклонением условий их транспортирования от принятых в Прейскуранте, определяемую по формуле
П=(Тм-Тп)Q,
где Тм - транспортные расходы, руб., за 1 т кирпича строительного или сборных бетонных и железобетонных конструкций, приведенные в зональных каталогах или определенные расчетом по местным условиям строительства; Тп - транспортные расходы, руб., за 1 т кирпича строительного или сборных бетонных и железобетонных конструкций, учтенные в настоящем Прейскуранте и приведенные в табл. 2 Технической части; Q - масса кирпича строительного или сборных бетонных и железобетонных конструкций, приведенная в табл. 3 Технической части;
г) поправку, учитывающую разницу в оптовых ценах на кирпич строительный и сборные бетонные и железобетонные конструкции, а также разницу сметных цен на остальные местные строительные материалы между действующими в отдельных областях, краях и республиках и принятыми в ценах Прейскуранта (прил. 9).
Примечание. Все поправки разработаны в прямых затратах, поэтому накладные расходы, плановые накопления и другие лимитированные затраты начисляются непосредственно в сметах.
Последовательность внесения поправок в смету и применения коэффициентов аналогична порядку их записи в настоящем пункте.
2.3. При составлении смет с применением цен Прейскуранта следует иметь в виду, что:
а) затраты на транспортирование излишнего грунта учтены в ценах Прейскуранта и полностью отнесены к эксплуатации машин (прил. 10);
б) ценами Прейскуранта № 1-25 не учтено устройство контрфорсов, стоимость которых должна определяться дополнительно по проектным данным на строительство конкретной водонапорной башни;
в) цены Прейскуранта № 1-32 разработаны в соответствии с проектами для неутепленных вариантов, в случае применения утепленных вариантов необходимо увеличивать цены на величину поправки, приведенную в прил. 7;
г) в составе строительных работ надземной и подземной частей здания или сооружения выделяются затраты только по конструктивным элементам, имеющим значительный удельный вес или являющимся необходимыми по технологии составления смет (земляные работы, фундаменты), поэтому в отдельных случаях сумма затрат по приведенным в Прейскуранте конструктивным элементам не будет равна суммарной их величине по подземной или надземной части здания или сооружения.
2.4. Вносить в цены Прейскуранта изменения, не предусмотренные Технической частью, поправками и коэффициентами, приведенными в приложениях, не разрешается.
2.5. При составлении смет следует применять сокращенное название настоящего Прейскуранта - ПРЦ (м-в.к.).

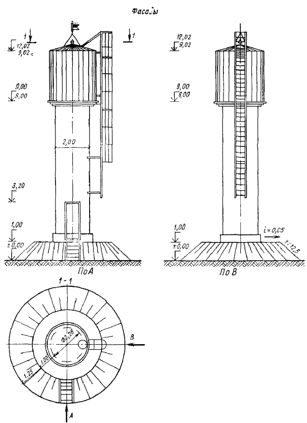
Рис. 1. Водонапорные бесшатровые кирпичные башни со стальным баком вместимостью 15 м3, высотой ствола 6 и 9 м, типовой проект 901-5-14/70 (к ценам № 1, 2)
Водонапорная бесшатровая кирпичная башня со стальным баком вместимостью 15 м3, высотой ствола 6 м
Измеритель - 1 башня
|
Районы |
Прямые затраты, руб |
В том числе, руб. |
Затраты труда рабочих чел.-ч |
|||||||||||||||||||||||||||||||||||||||||||||||||
|
основная заработная плата рабочих |
эксплуатация машин |
материальные ресурсы |
||||||||||||||||||||||||||||||||||||||||||||||||||
|
всего |
в том числе заработная плата рабочих, обслуживающих машины |
|||||||||||||||||||||||||||||||||||||||||||||||||||
|
1 |
2 |
3 |
4 |
5 |
6 |
7 |
||||||||||||||||||||||||||||||||||||||||||||||
|
I. Строительные работы |
||||||||||||||||||||||||||||||||||||||||||||||||||||
|
1а |
854 |
96,7 |
22,1 |
7,37 |
735,2 |
170 |
||||||||||||||||||||||||||||||||||||||||||||||
|
16, 1в, 3в |
869 |
96,7 |
22,1 |
7,37 |
750,2 |
170 |
||||||||||||||||||||||||||||||||||||||||||||||
|
1г, 5а |
879 |
96,7 |
22,1 |
7,37 |
760,2 |
170 |
||||||||||||||||||||||||||||||||||||||||||||||
|
1д, 3г, 6б, 6в |
900 |
96,7 |
22,1 |
7,37 |
781,2 |
170 |
||||||||||||||||||||||||||||||||||||||||||||||
|
1е |
982 |
96,7 |
22,1 |
7,37 |
863,2 |
170 |
||||||||||||||||||||||||||||||||||||||||||||||
|
1ж, 3б |
826 |
96,7 |
22,1 |
7,37 |
707,2 |
170 |
||||||||||||||||||||||||||||||||||||||||||||||
|
2а |
1060 |
116 |
23,5 |
8,84 |
920,5 |
170 |
||||||||||||||||||||||||||||||||||||||||||||||
|
2б |
1140 |
111 |
23,2 |
8,48 |
1005,8 |
170 |
||||||||||||||||||||||||||||||||||||||||||||||
|
2в, 8е |
1120 |
116 |
23,5 |
8,84 |
980,5 |
170 |
||||||||||||||||||||||||||||||||||||||||||||||
|
2г |
1120 |
135 |
25 |
10,3 |
960 |
170 |
||||||||||||||||||||||||||||||||||||||||||||||
|
3а |
834 |
96,7 |
22,1 |
7,37 |
715,2 |
170 |
||||||||||||||||||||||||||||||||||||||||||||||
|
4а |
844 |
96,7 |
22,1 |
7,37 |
725,2 |
170 |
||||||||||||||||||||||||||||||||||||||||||||||
|
46, 6а |
921 |
96,7 |
22,1 |
7,37 |
802,2 |
170 |
||||||||||||||||||||||||||||||||||||||||||||||
|
5б |
942 |
96,7 |
22,1 |
7,37 |
823,2 |
170 |
||||||||||||||||||||||||||||||||||||||||||||||
|
7а, 12в |
918 |
111 |
23,2 |
8,48 |
783,8 |
170 |
||||||||||||||||||||||||||||||||||||||||||||||
|
7б, 12б |
887 |
111 |
23,2 |
8,48 |
752,8 |
170 |
||||||||||||||||||||||||||||||||||||||||||||||
|
7в, 8а, 11б, 11г |
948 |
111 |
23,2 |
8,48 |
813,8 |
170 |
||||||||||||||||||||||||||||||||||||||||||||||
|
7г, 12а |
872 |
111 |
23,2 |
8,48 |
737,8 |
170 |
||||||||||||||||||||||||||||||||||||||||||||||
|
8б, 11в, 11е |
978 |
111 |
23,2 |
8,48 |
843,8 |
170 |
||||||||||||||||||||||||||||||||||||||||||||||
|
8в, 12д |
981 |
116 |
23,5 |
8,84 |
841,5 |
170 |
||||||||||||||||||||||||||||||||||||||||||||||
|
8г |
1200 |
111 |
23,2 |
8,48 |
1065,8 |
170 |
||||||||||||||||||||||||||||||||||||||||||||||
|
8д |
880 |
116 |
23,5 |
8,84 |
740,5 |
170 |
||||||||||||||||||||||||||||||||||||||||||||||
|
9а, 12е |
1040 |
116 |
23,5 |
8,84 |
900,5 |
170 |
||||||||||||||||||||||||||||||||||||||||||||||
|
9б, 12г |
922 |
116 |
23,5 |
8,84 |
782,5 |
170 |
||||||||||||||||||||||||||||||||||||||||||||||
|
9в |
966 |
116 |
23,5 |
8,84 |
826,5 |
170 |
||||||||||||||||||||||||||||||||||||||||||||||
|
10а, 10б |
1070 |
126 |
24,3 |
9,58 |
919,7 |
170 |
||||||||||||||||||||||||||||||||||||||||||||||
|
10в |
1060 |
126 |
24,3 |
9,58 |
909,7 |
170 |
||||||||||||||||||||||||||||||||||||||||||||||
|
11а |
1070 |
111 |
23,2 |
8,48 |
835,8 |
170 |
||||||||||||||||||||||||||||||||||||||||||||||
|
11д |
960 |
111 |
23,2 |
8,48 |
825,8 |
170 |
||||||||||||||||||||||||||||||||||||||||||||||
|
В том числе: |
||||||||||||||||||||||||||||||||||||||||||||||||||||
|
а) земляные работы |
||||||||||||||||||||||||||||||||||||||||||||||||||||
|
1, 3-6 |
12 |
6,31 |
5,69 |
2,23 |
- |
10,5 |
||||||||||||||||||||||||||||||||||||||||||||||
|
2а, 2в, 8в, 8д - 9в, 12г - 12е |
13,7 |
7,57 |
6,13 |
2,68 |
- |
10,5 |
||||||||||||||||||||||||||||||||||||||||||||||
|
2б, 7а - 8б, 8г, 11а-12в |
13,3 |
7,26 |
6,04 |
2,57 |
- |
10,5 |
||||||||||||||||||||||||||||||||||||||||||||||
|
2г |
15,4 |
8,84 |
6,56 |
3,12 |
- |
10,5 |
||||||||||||||||||||||||||||||||||||||||||||||
|
10 |
14,6 |
8,2 |
6,4 |
2,9 |
- |
10,5 |
||||||||||||||||||||||||||||||||||||||||||||||
|
б) фундаменты |
||||||||||||||||||||||||||||||||||||||||||||||||||||
|
1а, 1б, 5, 6б |
368 |
26,2 |
6,91 |
2,15 |
334,89 |
46,1 |
||||||||||||||||||||||||||||||||||||||||||||||
|
1в, 3а, 3в, 4а |
861 |
26,2 |
6,91 |
2,15 |
327,89 |
46,1 |
||||||||||||||||||||||||||||||||||||||||||||||
|
1г, 6а |
082 |
26,2 |
6,91 |
2,15 |
348,89 |
46,1 |
||||||||||||||||||||||||||||||||||||||||||||||
|
1д, 1е |
378 |
26,2 |
6,91 |
2,15 |
344,89 |
46,1 |
||||||||||||||||||||||||||||||||||||||||||||||
|
1ж, 3г |
339 |
26,2 |
6,91 |
2,15 |
305,89 |
46,1 |
||||||||||||||||||||||||||||||||||||||||||||||
|
2а |
447 |
31,4 |
7,34 |
2,58 |
408,26 |
46,1 |
||||||||||||||||||||||||||||||||||||||||||||||
|
2б, 11a |
462 |
30,1 |
7,23 |
2,47 |
424,67 |
46,1 |
||||||||||||||||||||||||||||||||||||||||||||||
|
2в |
465 |
31,4 |
7,34 |
2,58 |
426,26 |
46,1 |
||||||||||||||||||||||||||||||||||||||||||||||
|
2г |
487 |
36,7 |
7,77 |
3,01 |
442,53 |
46,1 |
||||||||||||||||||||||||||||||||||||||||||||||
|
3б |
348 |
26,2 |
6,91 |
2,15 |
314,89 |
46,1 |
||||||||||||||||||||||||||||||||||||||||||||||
|
4б |
373 |
26,2 |
6,91 |
2,15 |
339,89 |
46,1 |
||||||||||||||||||||||||||||||||||||||||||||||
|
6в |
387 |
26,2 |
6,91 |
2,15 |
353,89 |
46,1 |
||||||||||||||||||||||||||||||||||||||||||||||
|
7а - 7в, 12б |
375 |
30,1 |
7,23 |
2,47 |
337,67 |
46,1 |
||||||||||||||||||||||||||||||||||||||||||||||
|
7г |
364 |
30,1 |
7,23 |
2,47 |
326,67 |
46,1 |
||||||||||||||||||||||||||||||||||||||||||||||
|
8а |
384 |
30,1 |
7,23 |
2,47 |
346,67 |
46,1 |
||||||||||||||||||||||||||||||||||||||||||||||
|
8б |
411 |
30,1 |
7,23 |
2,47 |
373,67 |
46,1 |
||||||||||||||||||||||||||||||||||||||||||||||
|
8в, 9а, 9в |
422 |
31,4 |
7,34 |
2,58 |
383,26 |
46,1 |
||||||||||||||||||||||||||||||||||||||||||||||
|
8г |
555 |
30,1 |
7,23 |
2,47 |
517,67 |
46,1 |
||||||||||||||||||||||||||||||||||||||||||||||
|
8д |
394 |
31,4 |
7,34 |
2,58 |
355,26 |
46,1 |
||||||||||||||||||||||||||||||||||||||||||||||
|
8е |
537 |
31,4 |
7,34 |
2,58 |
498,26 |
46,1 |
||||||||||||||||||||||||||||||||||||||||||||||
|
9б |
404 |
31,4 |
7,34 |
2,58 |
365,26 |
46,1 |
||||||||||||||||||||||||||||||||||||||||||||||
|
10а, 10б |
453 |
34,1 |
7,55 |
2,8 |
411,35 |
46,1 |
||||||||||||||||||||||||||||||||||||||||||||||
|
10в |
438 |
34,1 |
7,55 |
2,8 |
396,35 |
46,1 |
||||||||||||||||||||||||||||||||||||||||||||||
|
11б - 11e |
398 |
30,1 |
7,23 |
2,47 |
360,67 |
46,1 |
||||||||||||||||||||||||||||||||||||||||||||||
|
12a |
359 |
30,1 |
7,23 |
2,47 |
321,67 |
46,1 |
||||||||||||||||||||||||||||||||||||||||||||||
|
12в |
352 |
30,1 |
7,23 |
2,47 |
314,67 |
46,1 |
||||||||||||||||||||||||||||||||||||||||||||||
|
12г |
382 |
81,4 |
7,34 |
2,58 |
343,26 |
46,1 |
||||||||||||||||||||||||||||||||||||||||||||||
|
12д |
389 |
31,4 |
7,34 |
2,58 |
350,26 |
46,1 |
||||||||||||||||||||||||||||||||||||||||||||||
|
12e |
438 |
31,4 |
7,34 |
2,58 |
399,26 |
46,1 |
||||||||||||||||||||||||||||||||||||||||||||||
|
в) укрепление обвалования дёрном |
|
|||||||||||||||||||||||||||||||||||||||||||||||||||
|
1a, 1б, 1г - 1е, 3г, 4б, 5б, 6б, 6в |
64 |
20,2 |
1,44 |
0,42 |
42,36 |
39 |
|
|||||||||||||||||||||||||||||||||||||||||||||
|
1в, 3а, 3в |
61,4 |
20,2 |
1,44 |
0,42 |
39,76 |
39 |
|
|||||||||||||||||||||||||||||||||||||||||||||
|
1ж, 36, 4а |
62,7 |
20,2 |
1,44 |
0,42 |
41,06 |
39 |
|
|||||||||||||||||||||||||||||||||||||||||||||
|
2а, 2в, 8е, 9а, 9в, 12г |
70,4 |
24,3 |
1,53 |
0,51 |
44,57 |
39 |
|
|||||||||||||||||||||||||||||||||||||||||||||
|
2б, 7в, 8а, 8б, 8г, 11а, 12в |
69,8 |
23,3 |
1,51 |
0,49 |
44,99 |
39 |
|
|||||||||||||||||||||||||||||||||||||||||||||
|
2г |
85,2 |
28,4 |
1,61 |
0,59 |
55,19 |
39 |
|
|||||||||||||||||||||||||||||||||||||||||||||
|
5а |
66,6 |
20,2 |
1,44 |
0,42 |
44,96 |
39 |
|
|||||||||||||||||||||||||||||||||||||||||||||
|
6а |
64,8 |
20,2 |
1,44 |
0,42 |
43,16 |
39 |
|
|||||||||||||||||||||||||||||||||||||||||||||
|
7а, 7б, 7г, 11 г - 12б |
67,7 |
23,3 |
1,51 |
0,49 |
42,89 |
39 |
|
|||||||||||||||||||||||||||||||||||||||||||||
|
8в |
71,9 |
24,3 |
1,53 |
0,51 |
46,07 |
39 |
|
|||||||||||||||||||||||||||||||||||||||||||||
|
8д, 9б, 12д |
69,6 |
24,3 |
1,53 |
0,51 |
43,77 |
39 |
|
|||||||||||||||||||||||||||||||||||||||||||||
|
10 |
73,1 |
26,3 |
1,57 |
0,55 |
45,23 |
39 |
|
|||||||||||||||||||||||||||||||||||||||||||||
|
11б, 11в |
65,8 |
23,3 |
1,51 |
0,49 |
40,99 |
|
|
|||||||||||||||||||||||||||||||||||||||||||||
|
12е |
79,81 |
24,3 |
1,53 |
0,51 |
53,97 |
39 |
|
|||||||||||||||||||||||||||||||||||||||||||||
|
г) ствол башни |
|
|||||||||||||||||||||||||||||||||||||||||||||||||||
|
1a |
354 |
40,4 |
7,3 |
2,33 |
306,3 |
68,9 |
|
|||||||||||||||||||||||||||||||||||||||||||||
|
1б, 1б, 5а |
367 |
40,4 |
7,3 |
2,33 |
319,3 |
68,9 |
|
|||||||||||||||||||||||||||||||||||||||||||||
|
1в, 3в, 6в |
381 |
40,4 |
7,3 |
2,33 |
333,3 |
68,9 |
|
|||||||||||||||||||||||||||||||||||||||||||||
|
1д, 6а, 6б |
390 |
40,4 |
7,3 |
2,33 |
342,3 |
68,9 |
|
|||||||||||||||||||||||||||||||||||||||||||||
|
1e |
475 |
40,4 |
7,3 |
2,33 |
427,3 |
68,9 |
|
|||||||||||||||||||||||||||||||||||||||||||||
|
1ж, 3а, 4а |
347 |
40,4 |
7,3 |
2,33 |
299,3 |
68,9 |
|
|||||||||||||||||||||||||||||||||||||||||||||
|
2а |
469 |
48,5 |
7,77 |
2,79 |
412,73 |
68,9 |
|
|||||||||||||||||||||||||||||||||||||||||||||
|
2б |
542 |
46,4 |
7,65 |
2,68 |
487,95 |
68,9 |
|
|||||||||||||||||||||||||||||||||||||||||||||
|
2в |
508 |
48,5 |
7,77 |
2,79 |
451,73 |
68,9 |
|
|||||||||||||||||||||||||||||||||||||||||||||
|
2г |
459 |
56,6 |
8,24 |
3,26 |
394,16 |
68,9 |
|
|||||||||||||||||||||||||||||||||||||||||||||
|
3б |
358 |
40,4 |
7,3 |
2,33 |
310,3 |
68,9 |
|
|||||||||||||||||||||||||||||||||||||||||||||
|
8г |
428 |
40,4 |
7,3 |
2,33 |
380,3 |
68,9 |
|
|||||||||||||||||||||||||||||||||||||||||||||
|
4б |
418 |
40,4 |
7,3 |
2,33 |
370,3 |
68,9 |
|
|||||||||||||||||||||||||||||||||||||||||||||
|
5б |
436 |
40,4 |
7,3 |
6,33 |
388,3 |
68,9 |
|
|||||||||||||||||||||||||||||||||||||||||||||
|
7а, 11б, 11г |
403 |
46,4 |
7,65 |
2,68 |
348,95 |
68,9 |
|
|||||||||||||||||||||||||||||||||||||||||||||
|
7б, 7г, 11а |
372 |
46,4 |
7,65 |
2,68 |
317,95 |
68,9 |
|
|||||||||||||||||||||||||||||||||||||||||||||
|
7в, 11e |
434 |
46,4 |
7,65 |
2,68 |
379,95 |
68,9 |
|
|||||||||||||||||||||||||||||||||||||||||||||
|
8а, 11д |
412 |
46,4 |
7,65 |
2,68 |
857,95 |
68,9 |
|
|||||||||||||||||||||||||||||||||||||||||||||
|
8б, 11в,12в |
425 |
46,4 |
7,65 |
2,68 |
370,95 |
68,9 |
|
|||||||||||||||||||||||||||||||||||||||||||||
|
8в |
480 |
48,5 |
7,77 |
2,79 |
363,73 |
68,9 |
|
|||||||||||||||||||||||||||||||||||||||||||||
|
8г |
497 |
46,4 |
7,65 |
2,68 |
442,95 |
68,9 |
|
|||||||||||||||||||||||||||||||||||||||||||||
|
8д |
341 |
48,5 |
7,77 |
2,79 |
284,73 |
68,9 |
|
|||||||||||||||||||||||||||||||||||||||||||||
|
8е |
405 |
48,5 |
7,77 |
2,79 |
348,73 |
68,9 |
|
|||||||||||||||||||||||||||||||||||||||||||||
|
9а |
475 |
48,5 |
7,77 |
2,79 |
418,73 |
68,9 |
|
|||||||||||||||||||||||||||||||||||||||||||||
|
9б |
370 |
48,5 |
7,77 |
2,79 |
313,73 |
68,9 |
|
|||||||||||||||||||||||||||||||||||||||||||||
|
9в |
390 |
48,5 |
7,77 |
2,79 |
333,73 |
68,9 |
|
|||||||||||||||||||||||||||||||||||||||||||||
|
10а, 10в |
471 |
52,5 |
8 |
3,03 |
410,5 |
68,9 |
|
|||||||||||||||||||||||||||||||||||||||||||||
|
10б |
452 |
52,5 |
8 |
3,03 |
391,5 |
68,9 |
|
|||||||||||||||||||||||||||||||||||||||||||||
|
11a |
457 |
46,4 |
7,65 |
2,68 |
402,95 |
68,9 |
|
|||||||||||||||||||||||||||||||||||||||||||||
|
12б |
367 |
46,4 |
7,65 |
2,68 |
312,95 |
68,9 |
|
|||||||||||||||||||||||||||||||||||||||||||||
|
12г |
398 |
48,5 |
7,77 |
2,79 |
341,73 |
68,9 |
|
|||||||||||||||||||||||||||||||||||||||||||||
|
12д |
445 |
48,5 |
7,77 |
2,79 |
388,73 |
68,9 |
|
|||||||||||||||||||||||||||||||||||||||||||||
|
12е |
431 |
48,5 |
7,77 |
2,79 |
374,73 |
68,9 |
|
|||||||||||||||||||||||||||||||||||||||||||||
|
II. Монтаж металлоконструкций |
|
|||||||||||||||||||||||||||||||||||||||||||||||||||
|
1, 3-5 |
516 |
16,7 |
33,8 |
11,5 |
465,5 |
26,1 |
|
|||||||||||||||||||||||||||||||||||||||||||||
|
2а, 2в, 8в, 8д, 8е, 12г - 12е |
528 |
20 |
36,1 |
13,8 |
471,9 |
26,1 |
|
|||||||||||||||||||||||||||||||||||||||||||||
|
2б, 8а, 8б, 8г, 12а - 12в |
527 |
19,2 |
35,5 |
13,2 |
472,3 |
2,1 |
|
|||||||||||||||||||||||||||||||||||||||||||||
|
2г |
540 |
23,4 |
38,4 |
16 |
478,2 |
26,1 |
|
|||||||||||||||||||||||||||||||||||||||||||||
|
6 |
526 |
16,7 |
33,8 |
11,5 |
475,5 |
26,1 |
|
|||||||||||||||||||||||||||||||||||||||||||||
|
7, 11 |
522 |
19,2 |
35,5 |
10,2 |
467,3 |
26,1 |
|
|||||||||||||||||||||||||||||||||||||||||||||
|
9 |
541 |
20 |
36,1 |
13,8 |
484,9 |
26,1 |
|
|||||||||||||||||||||||||||||||||||||||||||||
|
10 |
586 |
21,7 |
37,2 |
14,9 |
527,1 |
26,1 |
|
|||||||||||||||||||||||||||||||||||||||||||||
|
III. Электромонтажные работы |
|
|||||||||||||||||||||||||||||||||||||||||||||||||||
|
(электроосвещение, КИП, автоматика и грозозащита) |
|
|||||||||||||||||||||||||||||||||||||||||||||||||||
|
1, 3-6 |
556 |
155 |
113 |
42,6 |
288 |
274 |
|
|||||||||||||||||||||||||||||||||||||||||||||
|
2а, 2в, 8в, 8д, 9, 12г, 12д |
598 |
186 |
122 |
51,2 |
290 |
274 |
|
|||||||||||||||||||||||||||||||||||||||||||||
|
2б, 7а - 8б, 8г, 11а - 12в |
587 |
178 |
120 |
49 |
289 |
274 |
|
|||||||||||||||||||||||||||||||||||||||||||||
|
8г |
656 |
217 |
130 |
59,7 |
309 |
274 |
|
|||||||||||||||||||||||||||||||||||||||||||||
|
8е |
636 |
186 |
122 |
51,2 |
328 |
274 |
|
|||||||||||||||||||||||||||||||||||||||||||||
|
10 |
636 |
202 |
126 |
65,4 |
308 |
274 |
|
|||||||||||||||||||||||||||||||||||||||||||||
|
12е |
619 |
186 |
122 |
51,2 |
311 |
274 |
|
|||||||||||||||||||||||||||||||||||||||||||||
|
IV. Монтаж технологических трубопроводов |
|
|||||||||||||||||||||||||||||||||||||||||||||||||||
|
1, 3-5 |
558 |
100 |
27,7 |
10,1 |
430,3 |
177 |
|
|||||||||||||||||||||||||||||||||||||||||||||
|
2а, 2в |
575 |
120 |
29,7 |
12,2 |
425,3 |
177 |
|
|||||||||||||||||||||||||||||||||||||||||||||
|
2б, 11 |
572 |
116 |
29,2 |
11,7 |
426,8 |
177 |
|
|||||||||||||||||||||||||||||||||||||||||||||
|
2г |
620 |
141 |
31,7 |
14,2 |
447,3 |
177 |
|
|||||||||||||||||||||||||||||||||||||||||||||
|
6 |
566 |
100 |
27,7 |
10,1 |
438,3 |
177 |
|
|||||||||||||||||||||||||||||||||||||||||||||
|
7а - 8б, 8г, 12а - 12в |
581 |
116 |
29,2 |
11,7 |
435,8 |
177 |
|
|||||||||||||||||||||||||||||||||||||||||||||
|
8в, 8д, 12г - 12e |
586 |
120 |
29,7 |
12,2 |
436,3 |
177 |
|
|||||||||||||||||||||||||||||||||||||||||||||
|
8е - 9в |
608 |
120 |
29,7 |
12,2 |
458,3 |
177 |
|
|||||||||||||||||||||||||||||||||||||||||||||
|
10 |
656 |
131 |
30,7 |
13,2 |
494,3 |
177 |
|
|||||||||||||||||||||||||||||||||||||||||||||
|
|
||||||||||||||||||||||||||||||||||||||||||||||||||||
|
Водонапорная бесшатровая кирпичная башня со стальным баком вместимостью 15 м3, высотой ствола 9 м |
|
|||||||||||||||||||||||||||||||||||||||||||||||||||
|
Измеритель - 1 башня |
|
|||||||||||||||||||||||||||||||||||||||||||||||||||
|
I. Строительные работы |
|
|||||||||||||||||||||||||||||||||||||||||||||||||||
|
1а |
1040 |
118 |
25,4 |
8,39 |
896,6 |
207 |
|
|||||||||||||||||||||||||||||||||||||||||||||
|
1б - 1г, 3в |
1070 |
118 |
25,4 |
8,39 |
926,6 |
207 |
|
|||||||||||||||||||||||||||||||||||||||||||||
|
1д, 6б, 6в |
1100 |
118 |
25,4 |
8,39 |
956,6 |
207 |
|
|||||||||||||||||||||||||||||||||||||||||||||
|
1е |
1240 |
118 |
25,4 |
8,39 |
1096,6 |
207 |
|
|||||||||||||||||||||||||||||||||||||||||||||
|
1ж, 3а |
1010 |
118 |
25,4 |
8,39 |
866,6 |
207 |
|
|||||||||||||||||||||||||||||||||||||||||||||
|
2а, 8е |
1320 |
142 |
27 |
10,1 |
1151 |
207 |
|
|||||||||||||||||||||||||||||||||||||||||||||
|
2б |
1440 |
136 |
26,6 |
9,65 |
1277,4 |
207 |
|
|||||||||||||||||||||||||||||||||||||||||||||
|
2в |
1390 |
142 |
27 |
10,1 |
1221 |
207 |
|
|||||||||||||||||||||||||||||||||||||||||||||
|
2г |
1360 |
166 |
28,7 |
11,8 |
1165,3 |
207 |
|
|||||||||||||||||||||||||||||||||||||||||||||
|
3б, 4а |
1020 |
118 |
25,4 |
8,39 |
876,6 |
207 |
|
|||||||||||||||||||||||||||||||||||||||||||||
|
3г, 4б, 6а |
1140 |
118 |
25,4 |
8,39 |
996,6 |
207 |
|
|||||||||||||||||||||||||||||||||||||||||||||
|
5а |
1070 |
118 |
25,4 |
8,39 |
926,6 |
207 |
|
|||||||||||||||||||||||||||||||||||||||||||||
|
5б |
1180 |
118 |
25,4 |
8,39 |
1036,6 |
207 |
|
|||||||||||||||||||||||||||||||||||||||||||||
|
7а |
1130 |
136 |
26,6 |
9,65 |
967,4 |
207 |
|
|||||||||||||||||||||||||||||||||||||||||||||
|
7б, 7г, 12б |
1080 |
136 |
26,6 |
9,65 |
917,4 |
207 |
|
|||||||||||||||||||||||||||||||||||||||||||||
|
7в, 11д |
1180 |
136 |
26,6 |
9,65 |
1017,4 |
207 |
|
|||||||||||||||||||||||||||||||||||||||||||||
|
8а, 11б, 11г, 12в |
1160 |
136 |
26,6 |
9,65 |
997,4 |
207 |
|
|||||||||||||||||||||||||||||||||||||||||||||
|
8б, 11в, 11е |
1210 |
136 |
26,6 |
9,65 |
1047,4 |
207 |
|
|||||||||||||||||||||||||||||||||||||||||||||
|
8в, 12д |
1210 |
142 |
27 |
10,1 |
1041 |
207 |
|
|||||||||||||||||||||||||||||||||||||||||||||
|
8г |
1460 |
136 |
26,6 |
9,65 |
1297,4 |
207 |
|
|||||||||||||||||||||||||||||||||||||||||||||
|
8д |
1050 |
142 |
27 |
10,1 |
881 |
207 |
|
|||||||||||||||||||||||||||||||||||||||||||||
|
9а |
1300 |
142 |
27 |
10,1 |
1131 |
207 |
|
|||||||||||||||||||||||||||||||||||||||||||||
|
96 |
1110 |
142 |
27 |
10,1 |
941 |
207 |
|
|||||||||||||||||||||||||||||||||||||||||||||
|
9в |
1170 |
142 |
27 |
10,1 |
1001 |
207 |
|
|||||||||||||||||||||||||||||||||||||||||||||
|
10а |
1330 |
154 |
27,9 |
10,9 |
1148,1 |
207 |
|
|||||||||||||||||||||||||||||||||||||||||||||
|
10б, 10в |
1310 |
154 |
27,9 |
10,9 |
1128,1 |
207 |
|
|||||||||||||||||||||||||||||||||||||||||||||
|
11а |
1310 |
136 |
26,6 |
9,65 |
1147,4 |
207 |
|
|||||||||||||||||||||||||||||||||||||||||||||
|
12а |
1070 |
136 |
26,6 |
9,65 |
907,4 |
207 |
|
|||||||||||||||||||||||||||||||||||||||||||||
|
12г |
1140 |
142 |
27 |
10,1 |
971 |
207 |
|
|||||||||||||||||||||||||||||||||||||||||||||
|
12е |
1250 |
142 |
27 |
10,1 |
1081 |
207 |
|
|||||||||||||||||||||||||||||||||||||||||||||
|
В том числе: |
|
|||||||||||||||||||||||||||||||||||||||||||||||||||
|
а) земляные работы |
|
|||||||||||||||||||||||||||||||||||||||||||||||||||
|
1, 3-6 |
12 |
6,31 |
5,69 |
2,23 |
- |
10,5 |
|
|||||||||||||||||||||||||||||||||||||||||||||
|
2а, 2в, 8в, 8д - 9в, 12г - 12е |
13,7 |
7,57 |
6,13 |
2,68 |
- |
10,5 |
|
|||||||||||||||||||||||||||||||||||||||||||||
|
2б, 7а - 8б, 8г, 11а - 12в |
13,3 |
7,26 |
6,04 |
2,57 |
- |
10,5 |
|
|||||||||||||||||||||||||||||||||||||||||||||
|
2г |
15,4 |
8,84 |
6,56 |
3,12 |
- |
10,5 |
|
|||||||||||||||||||||||||||||||||||||||||||||
|
10 |
14,6 |
8,2 |
6,4 |
2,9 |
- |
10,5 |
|
|||||||||||||||||||||||||||||||||||||||||||||
|
б) фундаменты |
|
|||||||||||||||||||||||||||||||||||||||||||||||||||
|
1а, 1б, 5, 6б |
375 |
26,4 |
7,39 |
2,33 |
341,21 |
46,4 |
|
|||||||||||||||||||||||||||||||||||||||||||||
|
1в, 3а, 3в, 4а |
367 |
26,4 |
7,39 |
2,33 |
333,21 |
46,4 |
|
|||||||||||||||||||||||||||||||||||||||||||||
|
1г, 6а |
388 |
26,4 |
7,39 |
2,33 |
354,21 |
46,4 |
|
|||||||||||||||||||||||||||||||||||||||||||||
|
1д, 1е |
384 |
26,4 |
7,39 |
2,33 |
350,21 |
46,4 |
|
|||||||||||||||||||||||||||||||||||||||||||||
|
1ж, 3г |
346 |
56,4 |
7,39 |
2,33 |
312,21 |
46,4 |
|
|||||||||||||||||||||||||||||||||||||||||||||
|
2а |
454 |
31,7 |
7,86 |
2,79 |
414,44 |
46,4 |
|
|||||||||||||||||||||||||||||||||||||||||||||
|
2б, 11a |
468 |
30,4 |
7,74 |
2,68 |
429,86 |
46,4 |
|
|||||||||||||||||||||||||||||||||||||||||||||
|
2в |
471 |
31,7 |
7,86 |
2,79 |
431,44 |
46,4 |
|
|||||||||||||||||||||||||||||||||||||||||||||
|
2г |
494 |
37 |
8,32 |
3,26 |
448,68 |
46,4 |
|
|||||||||||||||||||||||||||||||||||||||||||||
|
3б |
355 |
26,4 |
7,39 |
2,33 |
821,21 |
46,4 |
|
|||||||||||||||||||||||||||||||||||||||||||||
|
4б |
380 |
26,4 |
7,39 |
2,33 |
346,21 |
46,4 |
|
|||||||||||||||||||||||||||||||||||||||||||||
|
6в |
394 |
26,4 |
7,39 |
2,33 |
360,21 |
46,4 |
|
|||||||||||||||||||||||||||||||||||||||||||||
|
7а - 7в, 12б |
381 |
30,4 |
7,74 |
2,68 |
342,86 |
46,4 |
|
|||||||||||||||||||||||||||||||||||||||||||||
|
7г |
370 |
30,4 |
7,74 |
2,68 |
331,86 |
46,4 |
|
|||||||||||||||||||||||||||||||||||||||||||||
|
8а |
390 |
30,4 |
7,74 |
2,68 |
351,86 |
46,4 |
|
|||||||||||||||||||||||||||||||||||||||||||||
|
8б |
417 |
30,4 |
7,74 |
2,68 |
378,86 |
46,4 |
|
|||||||||||||||||||||||||||||||||||||||||||||
|
8в, 9а, 9в |
429 |
31,7 |
7,86 |
2,79 |
389,44 |
46,4 |
|
|||||||||||||||||||||||||||||||||||||||||||||
|
8г |
561 |
30,4 |
7,74 |
8,68 |
522,86 |
46,4 |
|
|||||||||||||||||||||||||||||||||||||||||||||
|
8д |
401 |
31,7 |
7,86 |
2,79 |
361,44 |
46,4 |
|
|||||||||||||||||||||||||||||||||||||||||||||
|
8е |
543 |
31,7 |
7,86 |
8,79 |
503,44 |
46,4 |
|
|||||||||||||||||||||||||||||||||||||||||||||
|
9б |
410 |
31,7 |
7,86 |
2,79 |
370,44 |
46,4 |
|
|||||||||||||||||||||||||||||||||||||||||||||
|
10а, 10б |
460 |
34,3 |
8,09 |
3,03 |
417,61 |
46,4 |
|
|||||||||||||||||||||||||||||||||||||||||||||
|
10в |
445 |
34,3 |
8,09 |
3,03 |
402,61 |
46,4 |
|
|||||||||||||||||||||||||||||||||||||||||||||
|
11б - 11e |
404 |
30,4 |
7,74 |
2,68 |
365,86 |
46,4 |
|
|||||||||||||||||||||||||||||||||||||||||||||
|
12а |
365 |
30,4 |
7,74 |
2,68 |
326,86 |
46,4 |
|
|||||||||||||||||||||||||||||||||||||||||||||
|
12в |
358 |
30,4 |
7,74 |
2,68 |
319,86 |
46,4 |
|
|||||||||||||||||||||||||||||||||||||||||||||
|
12г |
388 |
31,7 |
7,86 |
2,79 |
348,44 |
46,4 |
|
|||||||||||||||||||||||||||||||||||||||||||||
|
12д |
396 |
31,7 |
7,86 |
2,79 |
356,44 |
46,4 |
|
|||||||||||||||||||||||||||||||||||||||||||||
|
12е |
445 |
31,7 |
7,86 |
2,79 |
405,44 |
46,4 |
|
|||||||||||||||||||||||||||||||||||||||||||||
|
в) укрепление обвалования дёрном |
|
|||||||||||||||||||||||||||||||||||||||||||||||||||
|
1а, 1б, 1г – 1е, 3г, 4б, 5б, 6б, 6в |
64 |
20,2 |
1,44 |
0,42 |
42,36 |
39 |
|
|||||||||||||||||||||||||||||||||||||||||||||
|
1в, 3а, 3в |
61,4 |
20,2 |
1,44 |
0,42 |
39,76 |
39 |
|
|||||||||||||||||||||||||||||||||||||||||||||
|
1ж, 3б, 4а |
62,7 |
20,2 |
1,44 |
0,42 |
41,06 |
39 |
|
|||||||||||||||||||||||||||||||||||||||||||||
|
2а, 2в, 8е, 9а, 9в, 12г |
70,4 |
24,3 |
1,53 |
0,51 |
44,57 |
39 |
|
|||||||||||||||||||||||||||||||||||||||||||||
|
2б, 7в, 8а, 8б, 8г, 11а, 12в |
69,8 |
23,3 |
1,51 |
0,49 |
44,99 |
39 |
|
|||||||||||||||||||||||||||||||||||||||||||||
|
2г |
85,2 |
28,4 |
1,61 |
0,59 |
55,19 |
39 |
|
|||||||||||||||||||||||||||||||||||||||||||||
|
5а |
66,6 |
20,2 |
1,44 |
0,42 |
44,96 |
39 |
|
|||||||||||||||||||||||||||||||||||||||||||||
|
6а |
64,8 |
20,2 |
1,44 |
0,42 |
43,16 |
39 |
|
|||||||||||||||||||||||||||||||||||||||||||||
|
7а, 7б, 7г, 11г – 12б |
67,7 |
23,3 |
1,51 |
0,49 |
42,89 |
39 |
|
|||||||||||||||||||||||||||||||||||||||||||||
|
8в |
71,9 |
24,3 |
1,53 |
0,51 |
46,07 |
39 |
|
|||||||||||||||||||||||||||||||||||||||||||||
|
8д, 9б, 12д |
69,6 |
24,3 |
1,53 |
0,51 |
43,77 |
39 |
|
|||||||||||||||||||||||||||||||||||||||||||||
|
10 |
73,1 |
26,3 |
1,57 |
0,55 |
45,23 |
39 |
|
|||||||||||||||||||||||||||||||||||||||||||||
|
11б, 11в |
65,8 |
23,3 |
1,51 |
0,49 |
40,99 |
39 |
|
|||||||||||||||||||||||||||||||||||||||||||||
|
12е |
79,8 |
24,3 |
1,53 |
0,51 |
53,97 |
39 |
|
|||||||||||||||||||||||||||||||||||||||||||||
|
г) ствол башни |
|
|||||||||||||||||||||||||||||||||||||||||||||||||||
|
1а |
533 |
61,7 |
10,1 |
3,17 |
461,2 |
105 |
|
|||||||||||||||||||||||||||||||||||||||||||||
|
1б, 1г, 5а |
555 |
61,7 |
10,1 |
3,17 |
483,2 |
105 |
|
|||||||||||||||||||||||||||||||||||||||||||||
|
1в, 3в, 6в |
577 |
61,7 |
10,1 |
3,17 |
505,2 |
105 |
|
|||||||||||||||||||||||||||||||||||||||||||||
|
1д, 6а, 6б |
592 |
61,7 |
10,1 |
3,17 |
520,2 |
105 |
|
|||||||||||||||||||||||||||||||||||||||||||||
|
1e |
728 |
61,7 |
10,1 |
3,17 |
656,2 |
105 |
|
|||||||||||||||||||||||||||||||||||||||||||||
|
1ж, 3а, 4а |
524 |
61,7 |
10,1 |
3,17 |
452,2 |
105 |
|
|||||||||||||||||||||||||||||||||||||||||||||
|
2а |
712 |
74 |
10,7 |
3,81 |
627,3 |
105 |
|
|||||||||||||||||||||||||||||||||||||||||||||
|
2б |
829 |
70,9 |
10,6 |
3,65 |
747,5 |
105 |
|
|||||||||||||||||||||||||||||||||||||||||||||
|
2в |
773 |
74 |
10,7 |
3,81 |
688,3 |
105 |
|
|||||||||||||||||||||||||||||||||||||||||||||
|
2г |
687 |
86,3 |
11,4 |
4,44 |
589,3 |
105 |
|
|||||||||||||||||||||||||||||||||||||||||||||
|
3б |
541 |
61,7 |
10,1 |
3,17 |
469,2 |
105 |
|
|||||||||||||||||||||||||||||||||||||||||||||
|
3г |
656 |
61,7 |
10,1 |
3,17 |
584,2 |
105 |
|
|||||||||||||||||||||||||||||||||||||||||||||
|
4б |
637 |
61,7 |
10,1 |
3,17 |
565,2 |
105 |
|
|||||||||||||||||||||||||||||||||||||||||||||
|
5б |
665 |
61,7 |
10,1 |
3,17 |
593,2 |
105 |
|
|||||||||||||||||||||||||||||||||||||||||||||
|
7а, 11б, 11г |
610 |
70,9 |
10,6 |
3,65 |
528,5 |
105 |
|
|||||||||||||||||||||||||||||||||||||||||||||
|
7б, 7г, 12a |
562 |
70,9 |
10,6 |
3,65 |
480,5 |
105 |
|
|||||||||||||||||||||||||||||||||||||||||||||
|
7в |
664 |
70,9 |
10,6 |
3,65 |
582,5 |
105 |
|
|||||||||||||||||||||||||||||||||||||||||||||
|
8а |
629 |
70,9 |
10,6 |
3,65 |
547,5 |
105 |
|
|||||||||||||||||||||||||||||||||||||||||||||
|
8б, 11в |
644 |
70,9 |
10,6 |
3,65 |
562,5 |
105 |
|
|||||||||||||||||||||||||||||||||||||||||||||
|
8в |
634 |
74 |
10,7 |
3,81 |
549,3 |
105 |
|
|||||||||||||||||||||||||||||||||||||||||||||
|
8г |
749 |
70,9 |
10,6 |
3,65 |
667,5 |
105 |
|
|||||||||||||||||||||||||||||||||||||||||||||
|
8д |
509 |
74 |
10,7 |
3,81 |
424,3 |
105 |
|
|||||||||||||||||||||||||||||||||||||||||||||
|
8е, 12г |
602 |
74 |
10,7 |
3,81 |
517,3 |
105 |
|
|||||||||||||||||||||||||||||||||||||||||||||
|
9а |
723 |
74 |
10,7 |
3,81 |
638,3 |
105 |
|
|||||||||||||||||||||||||||||||||||||||||||||
|
9б |
555 |
74 |
10,7 |
3,81 |
470,3 |
105 |
|
|||||||||||||||||||||||||||||||||||||||||||||
|
9в |
586 |
74 |
10,7 |
3,81 |
501,3 |
105 |
|
|||||||||||||||||||||||||||||||||||||||||||||
|
10а |
718 |
80,2 |
11 |
4,12 |
626,8 |
105 |
|
|||||||||||||||||||||||||||||||||||||||||||||
|
10б |
684 |
80,2 |
11 |
4,12 |
592,8 |
105 |
|
|||||||||||||||||||||||||||||||||||||||||||||
|
10в |
710 |
80,2 |
11 |
4,12 |
618,8 |
105 |
|
|||||||||||||||||||||||||||||||||||||||||||||
|
11а |
692 |
70,9 |
10,6 |
3,65 |
610,5 |
105 |
|
|||||||||||||||||||||||||||||||||||||||||||||
|
11д |
621 |
70,9 |
10,6 |
3,65 |
539,5 |
105 |
|
|||||||||||||||||||||||||||||||||||||||||||||
|
11е, 12в |
652 |
70,9 |
10,6 |
3,65 |
570,5 |
105 |
|
|||||||||||||||||||||||||||||||||||||||||||||
|
12б |
553 |
70,9 |
10,6 |
3,65 |
471,5 |
105 |
|
|||||||||||||||||||||||||||||||||||||||||||||
|
12д |
676 |
74 |
10,7 |
3,81 |
591,3 |
105 |
|
|||||||||||||||||||||||||||||||||||||||||||||
|
12е |
646 |
74 |
10,7 |
3,81 |
581,3 |
105 |
|
|||||||||||||||||||||||||||||||||||||||||||||
|
II. Монтаж металлоконструкций |
|
||||||||||||||||||||||||||||||||||||||||||||||||||||
|
1, 3-5 |
540 |
17,5 |
35,6 |
12,1 |
486,9 |
27,4 |
|
||||||||||||||||||||||||||||||||||||||||||||||
|
2а, 2в, 8в, 8д, 8е, 12г - 12е |
552 |
21 |
38 |
14,6 |
493 |
27,4 |
|
||||||||||||||||||||||||||||||||||||||||||||||
|
2б, 8а, 8б, 8г, 12a - 12в |
550 |
20,1 |
37,4 |
14 |
492,5 |
27,4 |
|
||||||||||||||||||||||||||||||||||||||||||||||
|
2г |
564 |
24,5 |
40,5 |
17 |
499 |
27,4 |
|
||||||||||||||||||||||||||||||||||||||||||||||
|
6 |
549 |
17,5 |
35,6 |
12,1 |
495,9 |
27,4 |
|
||||||||||||||||||||||||||||||||||||||||||||||
|
7, 11 |
545 |
20,1 |
37,4 |
14 |
487,5 |
27,4 |
|
||||||||||||||||||||||||||||||||||||||||||||||
|
9 |
566 |
21 |
38 |
14,6 |
507 |
27,4 |
|
||||||||||||||||||||||||||||||||||||||||||||||
|
10 |
612 |
22,7 |
39,2 |
15,8 |
550,1 |
27,4 |
|
||||||||||||||||||||||||||||||||||||||||||||||
|
III. Электромонтажные работы |
|
||||||||||||||||||||||||||||||||||||||||||||||||||||
|
(электроосвещение, КИП, автоматика и грозозащита) |
|
||||||||||||||||||||||||||||||||||||||||||||||||||||
|
1, 3-6 |
556 |
155 |
113 |
42,6 |
288 |
274 |
|
||||||||||||||||||||||||||||||||||||||||||||||
|
2а, 2в, 8в, 8д, 9, 12г, 12д |
598 |
186 |
122 |
51,2 |
290 |
274 |
|
||||||||||||||||||||||||||||||||||||||||||||||
|
2б, 7а - 8б, 8г, 11а - 12в |
587 |
178 |
120 |
49 |
289 |
274 |
|
||||||||||||||||||||||||||||||||||||||||||||||
|
2г |
656 |
217 |
130 |
59,7 |
309 |
274 |
|
||||||||||||||||||||||||||||||||||||||||||||||
|
8е |
636 |
186 |
122 |
51,2 |
328 |
274 |
|
||||||||||||||||||||||||||||||||||||||||||||||
|
10 |
636 |
202 |
126 |
55,4 |
308 |
274 |
|
||||||||||||||||||||||||||||||||||||||||||||||
|
12е |
619 |
186 |
122 |
51,2 |
311 |
274 |
|
||||||||||||||||||||||||||||||||||||||||||||||
|
IV. Монтаж технологических трубопроводов |
|
||||||||||||||||||||||||||||||||||||||||||||||||||||
|
1, 3-5 |
645 |
116 |
32 |
11,7 |
497 |
205 |
|
||||||||||||||||||||||||||||||||||||||||||||||
|
2а, 2в |
665 |
139 |
34,3 |
14,1 |
491,7 |
205 |
|
||||||||||||||||||||||||||||||||||||||||||||||
|
2б, 11 |
661 |
134 |
33,7 |
13,5 |
493,3 |
205 |
|
||||||||||||||||||||||||||||||||||||||||||||||
|
2г |
716 |
163 |
36,7 |
16,4 |
516,3 |
205 |
|
||||||||||||||||||||||||||||||||||||||||||||||
|
6 |
654 |
116 |
32 |
11,7 |
506 |
205 |
|
||||||||||||||||||||||||||||||||||||||||||||||
|
7а - 8б, 8г, 12a - 12в |
672 |
134 |
33,7 |
13,5 |
504,3 |
205 |
|
||||||||||||||||||||||||||||||||||||||||||||||
|
8в, 8д, 12г - 12е |
678 |
139 |
34,3 |
14,1 |
504,7 |
205 |
|
||||||||||||||||||||||||||||||||||||||||||||||
|
8е - 9в |
703 |
139 |
34,3 |
14,1 |
529,7 |
205 |
|
||||||||||||||||||||||||||||||||||||||||||||||
|
10 |
758 |
151 |
35,5 |
15,2 |
571,5 |
205 |
|
||||||||||||||||||||||||||||||||||||||||||||||

Рис. 2. Водонапорные бесшатровые кирпичные башни со стальным баком вместимостью 25 м3, типовой проект 901-5-20/70 (к ценам № 3-7)
Водонапорная бесшатровая кирпичная башня со стальным баком вместимостью 25 м3, высотой ствола 9м
Измеритель - 1 башня
|
Районы |
Прямые затраты, руб. |
В том числе, руб. |
Затраты труда рабочих, чел.-ч. |
||||||||||||||||||
|
основная заработная плата рабочих |
эксплуатация машин |
материальные ресурсы |
|||||||||||||||||||
|
всего |
в том числе заработная плата рабочих, обслуживающих машины |
||||||||||||||||||||
|
1 |
2 |
3 |
4 |
5 |
6 |
7 |
|||||||||||||||
|
I. Строительные работы |
|||||||||||||||||||||
|
1а |
1520 |
154 |
74,1 |
25,4 |
1291,9 |
266 |
|||||||||||||||
|
1б, 1в, 3в, 5а |
1550 |
154 |
74,1 |
25,4 |
1321,9 |
266 |
|||||||||||||||
|
1г |
1570 |
154 |
74,1 |
25,4 |
1341,9 |
266 |
|||||||||||||||
|
1д, 6б, 6в |
1600 |
154 |
72,7 |
25,4 |
1373,3 |
266 |
|||||||||||||||
|
1е |
1800 |
154 |
74,1 |
25,4 |
1571,9 |
266 |
|||||||||||||||
|
1ж |
1450 |
154 |
71,4 |
25,4 |
1224,6 |
266 |
|||||||||||||||
|
2а |
1940 |
185 |
83,1 |
30,6 |
1671,9 |
266 |
|||||||||||||||
|
2б |
2110 |
177 |
81,5 |
29 |
1851,5 |
266 |
|||||||||||||||
|
2в, 9в |
2040 |
185 |
83,1 |
30,6 |
1771,9 |
266 |
|||||||||||||||
|
2г |
2000 |
216 |
91 |
35,8 |
1693 |
266 |
|||||||||||||||
|
3а, 4а |
1490 |
154 |
70,3 |
25,4 |
1265,7 |
266 |
|||||||||||||||
|
3б |
1480 |
154 |
71,4 |
25,4 |
1254,6 |
266 |
|||||||||||||||
|
3г, 6а |
1630 |
154 |
74,1 |
25,4 |
1401,9 |
266 |
|||||||||||||||
|
4б |
1660 |
154 |
74,1 |
25,4 |
1431,9 |
266 |
|||||||||||||||
|
5б |
1710 |
154 |
78,4 |
25,4 |
1477,6 |
266 |
|||||||||||||||
|
7а, ,12в |
1640 |
177 |
76,4 |
29 |
1386,6 |
266 |
|||||||||||||||
|
7б |
1580 |
177 |
77,7 |
29 |
1325,3 |
266 |
|||||||||||||||
|
7в, 11б, 11г, 11д |
1710 |
177 |
78,8 |
29 |
1454,2 |
266 |
|||||||||||||||
|
7г, 12б |
1550 |
177 |
77,7 |
29 |
1295,3 |
266 |
|||||||||||||||
|
8а |
1690 |
177 |
77,7 |
29 |
1435,3 |
266 |
|||||||||||||||
|
8б, 11в, 11е |
1760 |
177 |
77,7 |
29 |
1505,3 |
266 |
|||||||||||||||
|
8в |
1760 |
185 |
80,9 |
30,6 |
1494,1 |
266 |
|||||||||||||||
|
8г |
2190 |
177 |
79,9 |
29 |
1933,1 |
266 |
|||||||||||||||
|
8д |
1560 |
185 |
80,9 |
30,6 |
1294,1 |
266 |
|||||||||||||||
|
8е |
1990 |
185 |
83,1 |
30,6 |
1721,9 |
266 |
|||||||||||||||
|
9а |
1900 |
185 |
83,1 |
30,6 |
1631,9 |
266 |
|||||||||||||||
|
9б, 12г |
1640 |
185 |
79 |
30,6 |
1376 |
266 |
|||||||||||||||
|
10а, 10в |
1940 |
200 |
83,5 |
33,2 |
1656,5 |
266 |
|||||||||||||||
|
106 |
1930 |
200 |
83,5 |
33,2 |
1646,5 |
266 |
|||||||||||||||
|
11а |
1940 |
177 |
81,5 |
29 |
1681,5 |
266 |
|||||||||||||||
|
12а |
1520 |
177 |
75 |
29 |
1268 |
266 |
|||||||||||||||
|
12д |
1740 |
185 |
77,1 |
30,6 |
1477,9 |
266 |
|||||||||||||||
|
12е |
1800 |
185 |
83,1 |
30,6 |
1531,9 |
266 |
|||||||||||||||
|
В том числе: |
|
||||||||||||||||||||
|
а) земляные работы |
|
||||||||||||||||||||
|
1а – 1е, 3в, 3г, 4б, 5а, 6а, 6в |
64,1 |
18,4 |
|
16,4 |
- |
30,6 |
|
||||||||||||||
|
1ж, 3б, 4а, 6б |
61,4 |
18,4 |
43 |
16,4 |
- |
30,6 |
|
||||||||||||||
|
2а, 2в, 8е, 9а, 9в, 12е |
75 |
22,1 |
52,9 |
19,8 |
- |
30,6 |
|
||||||||||||||
|
2б, 11а |
73 |
21,2 |
51,8 |
18,7 |
- |
30,6 |
|
||||||||||||||
|
2г |
84,8 |
25,8 |
59 |
23,2 |
- |
30,6 |
|
||||||||||||||
|
3а |
59,2 |
18,4 |
40,8 |
16,4 |
- |
30,6 |
|
||||||||||||||
|
5б |
68,5 |
18,4 |
50,1 |
18,7 |
- |
30,6 |
|
|||||||||||||||
|
7а, 76, 7г - 8б, 11б - 11е, 12б |
69,2 |
21,2 |
48 |
18,7 |
- |
30,6 |
|
|||||||||||||||
|
7в, 8г |
71,3 |
21,2 |
50,1 |
18,7 |
- |
30,6 |
|
||||||||||||||
|
8в, 8д, 9б |
72,8 |
22,1 |
50,7 |
19,8 |
- |
30,6 |
|
||||||||||||||
|
10 |
76,4 |
23,9 |
52,5 |
21,5 |
- |
30,6 |
|
||||||||||||||
|
12а, 12в |
66,4 |
21,2 |
45,2 |
18,7 |
- |
30,6 |
|
|||||||||||||||
|
12г, 12д |
69 |
22,1 |
46,9 |
19,8 |
- |
30,6 |
|
||||||||||||||
|
б) фундаменты |
|
||||||||||||||||||||
|
1а, 1б, 4б, 5а |
584 |
42,8 |
12,1 |
3,76 |
529,1 |
76,8 |
|
|||||||||||||||
|
1в, 3а, 3в, 4а, 5б, 6б |
570 |
42,8 |
12,1 |
3,76 |
515,1 |
76,8 |
|
|||||||||||||||
|
1г - 1е, 6а |
601 |
42,8 |
12,1 |
3,76 |
546,1 |
76,8 |
|
||||||||||||||
|
1ж, 3г |
527 |
42,8 |
12,1 |
3,76 |
472,1 |
76,8 |
|
||||||||||||||
|
2а |
727 |
51,4 |
12,8 |
4,51 |
662,8 |
76,8 |
|
||||||||||||||
|
2б |
754 |
49,2 |
12,6 |
4,32 |
692,2 |
76,8 |
|
||||||||||||||
|
2в |
757 |
51,4 |
12,8 |
4,51 |
692,8 |
76,8 |
|
||||||||||||||
|
2г |
796 |
59,9 |
13,6 |
5,26 |
722,5 |
76,8 |
|
||||||||||||||
|
3б |
550 |
42,8 |
12,1 |
3,76 |
495,1 |
76,8 |
|
||||||||||||||
|
6в |
609 |
42,8 |
12,1 |
3,76 |
554,1 |
76,8 |
|
||||||||||||||
|
7а - 7в |
589 |
49,2 |
12,6 |
4,32 |
527,2 |
76,8 |
|
||||||||||||||
|
7г, 12б |
570 |
49,2 |
12,6 |
4,32 |
508,2 |
76,8 |
|
||||||||||||||
|
8а |
605 |
49,2 |
12,6 |
4,32 |
543,2 |
76,8 |
|
||||||||||||||
|
8б |
662 |
49,2 |
12,6 |
4,32 |
600,2 |
76,8 |
|
||||||||||||||
|
8в, 9а |
676 |
51,4 |
12,8 |
4,51 |
611,8 |
76,8 |
|
||||||||||||||
|
8г |
934 |
49,2 |
12,6 |
4,32 |
872,2 |
76,8 |
|
||||||||||||||
|
8д |
630 |
51,4 |
12,8 |
4,51 |
565,8 |
76,8 |
|
||||||||||||||
|
8е |
904 |
51,4 |
12,8 |
4,51 |
839,8 |
76,8 |
|
||||||||||||||
|
9б |
614 |
51,4 |
12,8 |
4,51 |
579,8 |
76,8 |
|
||||||||||||||
|
9в |
685 |
5,4 |
12,8 |
4,51 |
620,8 |
76,8 |
|
||||||||||||||
|
10а |
724 |
55,6 |
13,2 |
4,89 |
655,2 |
76,8 |
|
||||||||||||||
|
10б |
737 |
55,6 |
13,2 |
4,89 |
668,2 |
76,8 |
|
||||||||||||||
|
10в |
711 |
55,6 |
13,2 |
4,89 |
642,2 |
76,8 |
|
||||||||||||||
|
10а |
736 |
49,2 |
12.6 |
4,32 |
674,2 |
76,8 |
|
||||||||||||||
|
11б - 11е |
624 |
49,2 |
12,6 |
4,32 |
562,2 |
76,8 |
|
||||||||||||||
|
12а, 12в |
552 |
49,2 |
12,6 |
4,32 |
490,2 |
76,8 |
|
||||||||||||||
|
12г |
598 |
51,4 |
12,8 |
4,51 |
533,8 |
76,8 |
|
||||||||||||||
|
12д |
611 |
51,4 |
12,8 |
4,51 |
546,8 |
76,8 |
|
||||||||||||||
|
12е |
706 |
51,4 |
12,8 |
4,51 |
641,8 |
76,8 |
|
||||||||||||||
|
в) ствол башни |
|
||||||||||||||||||||
|
1а |
708 |
80,8 |
12,7 |
3,96 |
614,5 |
137 |
|
||||||||||||||
|
1б, 1г, 5a |
738 |
80,8 |
12,7 |
3,96 |
644,5 |
137 |
|
||||||||||||||
|
1в, 3в, 6в |
766 |
80,8 |
12,7 |
3,96 |
672,5 |
137 |
|
||||||||||||||
|
1д, 6а, 6б |
788 |
80,8 |
12,7 |
3,96 |
694,5 |
137 |
|
||||||||||||||
|
1е |
972 |
80,8 |
12,7 |
3,96 |
878,5 |
137 |
|
||||||||||||||
|
1ж, 4а |
698 |
80,8 |
12,7 |
3,96 |
604,5 |
137 |
|
||||||||||||||
|
2а |
948 |
97 |
13,5 |
4,75 |
837,5 |
137 |
|
||||||||||||||
|
2б |
1110 |
92,9 |
13,3 |
4,55 |
1003,8 |
137 |
|
||||||||||||||
|
2в |
1030 |
97 |
13,5 |
4,75 |
919,5 |
137 |
|
||||||||||||||
|
2г |
913 |
113 |
14,3 |
5,54 |
785,7 |
137 |
|
||||||||||||||
|
3а |
692 |
80,8 |
12,7 |
3,96 |
598,5 |
137 |
|
||||||||||||||
|
36 |
719 |
80,8 |
12,7 |
3,96 |
625,5 |
137 |
|
||||||||||||||
|
3г |
876 |
80,8 |
12,7 |
3,96 |
782,5 |
137 |
|
||||||||||||||
|
4б |
849 |
80,8 |
12,7 |
3,96 |
755,5 |
137 |
|
||||||||||||||
|
5б |
886 |
80,8 |
12,7 |
3,96 |
792,5 |
137 |
|
||||||||||||||
|
7а, 11б, 11г |
810 |
92,9 |
13,3 |
4,55 |
703,8 |
137 |
|
||||||||||||||
|
7б, 7г, 12а |
746 |
92,9 |
13,3 |
4,55 |
639,8 |
137 |
|
||||||||||||||
|
7в |
885 |
92,9 |
13,3 |
4,55 |
778,8 |
137 |
|
||||||||||||||
|
8а |
838 |
92,9 |
13,3 |
4,55 |
731,8 |
137 |
|
||||||||||||||
|
8б, 11в |
857 |
92,9 |
13,3 |
4,55 |
750,8 |
137 |
|
||||||||||||||
|
8в |
843 |
97 |
13,5 |
4,75 |
732,5 |
137 |
|
||||||||||||||
|
8г |
999 |
92,9 |
13,3 |
4,55 |
892,8 |
137 |
|
||||||||||||||
|
8д |
674 |
97 |
18,5 |
4,75 |
563,5 |
137 |
|
||||||||||||||
|
8е, 12г |
798 |
97 |
13,5 |
4,75 |
687,5 |
137 |
|
||||||||||||||
|
9а |
964 |
97 |
13,5 |
4,75 |
853,5 |
137 |
|
||||||||||||||
|
9б |
737 |
97 |
13,5 |
4,75 |
626,5 |
137 |
|
||||||||||||||
|
9в |
776 |
97 |
13,5 |
4,75 |
665,5 |
137 |
|
||||||||||||||
|
10а |
958 |
105 |
13,9 |
5,15 |
839,1 |
137 |
|
||||||||||||||
|
10б |
909 |
105 |
13,9 |
5,15 |
790,1 |
137 |
|
||||||||||||||
|
10в |
944 |
105 |
13,9 |
5,15 |
825,1 |
137 |
|
|||||||||||||||
|
11а |
918 |
92,9 |
13,3 |
4,55 |
811,8 |
137 |
|
|||||||||||||||
|
11д |
826 |
92,9 |
13,3 |
4,55 |
719,8 |
137 |
|
|||||||||||||||
|
11е, 12в |
868 |
92,9 |
13,3 |
4,55 |
761,8 |
137 |
|
|||||||||||||||
|
12б |
733 |
92,9 |
13,3 |
4,55 |
626,8 |
137 |
|
|||||||||||||||
|
12д |
898 |
97 |
13,5 |
4,75 |
787,5 |
137 |
|
|||||||||||||||
|
12е |
853 |
97 |
13,5 |
4,75 |
742,5 |
137 |
|
|||||||||||||||
|
II. Монтаж металлоконструкций |
|
|||||||||||||||||||||
|
1, 3-5 |
746 |
24,2 |
49,4 |
16,7 |
672,4 |
37,8 |
|
|||||||||||||||
|
2а, 2в, 8в, 8д, 8е, 12г - 12е |
764 |
29 |
52,7 |
20,1 |
682,3 |
37,8 |
|
|||||||||||||||
|
2б, 8а, 8б, 8г, 12а - 12в |
761 |
27,8 |
51,9 |
19,2 |
681,3 |
37,8 |
|
|||||||||||||||
|
2г |
780 |
33,9 |
56,1 |
23,4 |
690 |
37,8 |
|
|||||||||||||||
|
6 |
760 |
24,2 |
49,4 |
16,7 |
686,4 |
37,8 |
|
|||||||||||||||
|
7, 11 |
755 |
27,8 |
51,9 |
19,2 |
675,3 |
37,8 |
|
|||||||||||||||
|
9 |
782 |
29 |
52,7 |
20,1 |
700,3 |
37,8 |
|
|||||||||||||||
|
10 |
846 |
31,5 |
54,4 |
21,8 |
760,1 |
37,8 |
|
|||||||||||||||
|
III. Электромонтажные работы |
|
|||||||||||||||||||||
|
(электроосвещение, КИП, автоматика и грозозащита) |
|
|||||||||||||||||||||
|
1, 3-6 |
586 |
164 |
119 |
44,9 |
303 |
289 |
|
|||||||||||||||
|
2а, 2в, 8в, 8д, 9, 12г, 12д |
630 |
196 |
128 |
53,9 |
306 |
289 |
|
|||||||||||||||
|
26, 7а - 8б, 8г, 11a - 12в |
618 |
188 |
126 |
51,7 |
304 |
289 |
|
|||||||||||||||
|
2г |
691 |
229 |
137 |
62,9 |
325 |
289 |
|
|||||||||||||||
|
8е |
671 |
196 |
128 |
53,9 |
347 |
289 |
|
|||||||||||||||
|
10 |
670 |
213 |
133 |
58,4 |
324 |
289 |
|
|||||||||||||||
|
12e |
653 |
196 |
128 |
53,9 |
329 |
289 |
|
|||||||||||||||
|
IV. Монтаж технологических трубопроводов |
|
|||||||||||||||||||||
|
1, 3-5 |
737 |
133 |
36,5 |
13,4 |
567,5 |
234 |
|
|||||||||||||||
|
2а, 2в |
760 |
159 |
39,2 |
16,1 |
561,8 |
234 |
|
|||||||||||||||
|
2б, 11 |
756 |
153 |
38,5 |
15,4 |
564,5 |
234 |
|
|||||||||||||||
|
2г |
818 |
186 |
41,9 |
18,8 |
590,1 |
234 |
|
|||||||||||||||
|
6 |
748 |
133 |
36,5 |
13,4 |
578,5 |
234 |
|
|||||||||||||||
|
7а - 8б, 8г, 12а - 12в |
767 |
153 |
38,5 |
15,4 |
575,5 |
234 |
|
|||||||||||||||
|
8в, 8д, 12г - 12е |
775 |
159 |
39,2 |
16,1 |
576,8 |
234 |
|
|||||||||||||||
|
8е - 9в |
803 |
159 |
39,2 |
16,1 |
604,8 |
234 |
|
|||||||||||||||
|
10 |
866 |
172 |
40,6 |
17,4 |
653,4 |
234 |
|
|||||||||||||||
РАЙОННАЯ ЦЕНА № 4
Водонапорная бесшатровая кирпичная башня со стальным баком вместимостью 25, м3, высотой ствола 12 м
Измеритель - 1 башня
|
Районы |
Прямые затраты, руб. |
В том числе, руб. |
Затраты труда рабочих, чел.-ч. |
|
|||||||||||||||||||||||||
|
основная заработная плата рабочих |
эксплуатация машин |
материальные ресурсы |
|
||||||||||||||||||||||||||
|
всего |
в том числе заработная плата рабочих, обслуживающих машины |
|
|||||||||||||||||||||||||||
|
1 |
2 |
3 |
4 |
5 |
6 |
7 |
|
||||||||||||||||||||||
|
I. Строительные работы |
|
||||||||||||||||||||||||||||
|
1а |
1720 |
179 |
77,7 |
26,5 |
1463,3 |
309 |
|
||||||||||||||||||||||
|
1б - 1г, 3в, 5а |
1770 |
179 |
77,7 |
26,5 |
1513,3 |
309 |
|
||||||||||||||||||||||
|
1д, 6б, 6в |
1830 |
179 |
76,3 |
26,5 |
1574,7 |
309 |
|
||||||||||||||||||||||
|
1e |
2080 |
179 |
77,7 |
26,5 |
1823,3 |
309 |
|
||||||||||||||||||||||
|
1ж |
1650 |
179 |
75 |
26,5 |
1396 |
309 |
|
||||||||||||||||||||||
|
2а, 8е |
2210 |
215 |
86,9 |
31,9 |
1908,1 |
309 |
|
||||||||||||||||||||||
|
2б |
2420 |
206 |
85,3 |
30,3 |
2128,7 |
309 |
|
||||||||||||||||||||||
|
2в |
2340 |
215 |
86,9 |
31,9 |
2038,1 |
309 |
|
||||||||||||||||||||||
|
2г |
2260 |
251 |
95 |
37,3 |
1914 |
309 |
|
||||||||||||||||||||||
|
3а, 36, 4а |
1690 |
179 |
73,9 |
26,5 |
1437,1 |
309 |
|
||||||||||||||||||||||
|
3г, 4б |
1890 |
179 |
77,7 |
26,5 |
1633,3 |
309 |
|
||||||||||||||||||||||
|
5б |
1960 |
179 |
82 |
26,5 |
1699 |
309 |
|
||||||||||||||||||||||
|
6а |
1850 |
179 |
77,7 |
26,5 |
1593,3 |
309 |
|
||||||||||||||||||||||
|
7а, 12в |
1880 |
206 |
80,1 |
30,3 |
1593,9 |
309 |
|
||||||||||||||||||||||
|
7б |
1790 |
206 |
81,5 |
30,3 |
1502,5 |
309 |
|
||||||||||||||||||||||
|
7в, 11д |
1960 |
206 |
82,6 |
30,3 |
1671,4 |
309 |
|
||||||||||||||||||||||
|
7г |
1770 |
206 |
81,5 |
30,3 |
1482,5 |
309 |
|
||||||||||||||||||||||
|
8а,11б, 11г |
1930 |
206 |
81,5 |
30,3 |
1642,5 |
309 |
|
||||||||||||||||||||||
|
8б, 11в, 11е |
2000 |
206 |
81,5 |
30,3 |
1712,5 |
309 |
|
||||||||||||||||||||||
|
8в, 12д |
2000 |
215 |
82,8 |
31,9 |
1702,2 |
309 |
|
||||||||||||||||||||||
|
8г |
2470 |
206 |
83,7 |
30,3 |
2180,3 |
309 |
|
||||||||||||||||||||||
|
8д |
1740 |
215 |
84,7 |
31,9 |
1440,3 |
309 |
|
||||||||||||||||||||||
|
9а |
2170 |
215 |
86,9 |
31,9 |
1868,1 |
309 |
|
||||||||||||||||||||||
|
9б, 12г |
1850 |
215 |
82,8 |
31,9 |
1552,2 |
309 |
|
||||||||||||||||||||||
|
9в |
2250 |
215 |
86,9 |
31,9 |
1948,1 |
309 |
|
||||||||||||||||||||||
|
10а, 10в |
2220 |
233 |
87,4 |
34,6 |
1899,6 |
309 |
|
||||||||||||||||||||||
|
10б |
2190 |
233 |
87,4 |
34,6 |
1869,6 |
309 |
|
||||||||||||||||||||||
|
11а |
2200 |
206 |
85,3 |
30,3 |
1908,7 |
309 |
|
||||||||||||||||||||||
|
12а |
1730 |
206 |
78,8 |
30,3 |
1445,2 |
309 |
|
||||||||||||||||||||||
|
12б |
1750 |
206 |
81,5 |
30,3 |
1462,5 |
309 |
|
||||||||||||||||||||||
|
12е |
2040 |
215 |
86,9 |
31,9 |
1738,1 |
309 |
|
||||||||||||||||||||||
|
В том числе: |
|
||||||||||||||||||||||||||||
|
а) земляные работы |
|
||||||||||||||||||||||||||||
|
1а - 1е, 3в, 3г, 4б, 5а, 6а, 6в |
64,1 |
18,4 |
45,7 |
16,4 |
- |
30,6 |
|
||||||||||||||||||||||
|
1ж, 3б, 4а, 6б |
61,4 |
18,4 |
43 |
16,4 |
- |
30,6 |
|
||||||||||||||||||||||
|
2а, 2в, 8е, 9а, 9в, 12е |
75 |
22,1 |
52,9 |
19,8 |
- |
30,6 |
|
||||||||||||||||||||||
|
2б, 11а |
73 |
21,2 |
51,8 |
18,7 |
- |
30,6 |
|
||||||||||||||||||||||
|
2г |
84,8 |
25,8 |
59 |
23,2 |
- |
30,6 |
|
||||||||||||||||||||||
|
3а |
59,2 |
18,4 |
40,8 |
16,4 |
- |
30,6 |
|
||||||||||||||||||||||
|
5б |
68,5 |
18,4 |
50,1 |
16,4 |
- |
30,6 |
|
||||||||||||||||||||||
|
7а, 7б, 7г - 8б, 11б - 11е, 12б |
69,2 |
21,2 |
48 |
18,7 |
- |
30,6 |
|
||||||||||||||||||||||
|
7в, 8г |
71,3 |
21,2 |
50,1 |
18,7 |
- |
30,6 |
|
||||||||||||||||||||||
|
8в, 8д, 9б |
72,8 |
22,1 |
50,7 |
119,8 |
- |
30,6 |
|
||||||||||||||||||||||
|
10 |
76,4 |
23,9 |
52,5 |
21,5 |
- |
30,6 |
|
||||||||||||||||||||||
|
12а, 12в |
66,4 |
21,2 |
45,2 |
18,7 |
- |
30,6 |
|
||||||||||||||||||||||
|
12г, 12д |
69 |
22,1 |
46,9 |
19,8 |
- |
30,6 |
|
||||||||||||||||||||||
|
б) фундаменты |
|
||||||||||||||||||||||||||||
|
1а, 1б, 4б, 5а |
592 |
43,1 |
12,7 |
3,99 |
536,2 |
77,2 |
|
||||||||||||||||||||||
|
1в, 3а, 3в, 4а, 5б, 6б |
578 |
43,1 |
12,7 |
3,99 |
522,2 |
77,2 |
|
||||||||||||||||||||||
|
1г - 1е, 6а |
609 |
43,1 |
12,7 |
3,99 |
553,2 |
77,2 |
|
||||||||||||||||||||||
|
1ж, 3г |
536 |
43,1 |
12,7 |
3,99 |
480,2 |
77,2 |
|
||||||||||||||||||||||
|
2а |
736 |
51,7 |
13,5 |
4,79 |
670,8 |
77,2 |
|
||||||||||||||||||||||
|
2б |
763 |
49,5 |
13,3 |
4,59 |
700,2 |
77,2 |
|
||||||||||||||||||||||
|
2в |
765 |
51,7 |
13,5 |
4,79 |
699,8 |
77,2 |
|
||||||||||||||||||||||
|
2г |
804 |
60,3 |
14,3 |
5,59 |
729,4 |
77,2 |
|
||||||||||||||||||||||
|
3б |
558 |
43,1 |
12,7 |
3,99 |
502,2 |
77,2 |
|
||||||||||||||||||||||
|
6в |
618 |
43,1 |
12,7 |
3,99 |
562,2 |
77,2 |
|
||||||||||||||||||||||
|
7а - 7в |
598 |
49,5 |
13,3 |
4,59 |
535,2 |
77,2 |
|
||||||||||||||||||||||
|
7г, 12б |
579 |
49,5 |
13,3 |
4,59 |
516,2 |
77,2 |
|
||||||||||||||||||||||
|
8а |
613 |
49,5 |
13,3 |
4,59 |
550,2 |
77,2 |
|
||||||||||||||||||||||
|
8б |
670 |
49,5 |
13,3 |
4,59 |
607,2 |
77,2 |
|
||||||||||||||||||||||
|
8в, 9а |
684 |
51,7 |
13,5 |
4,79 |
618,8 |
77,2 |
|
||||||||||||||||||||||
|
8г |
942 |
49,5 |
13,3 |
4,59 |
879,2 |
77,2 |
|
||||||||||||||||||||||
|
8д |
639 |
51,7 |
13,5 |
4,79 |
573,8 |
77,2 |
|
||||||||||||||||||||||
|
8е |
913 |
51,7 |
13,5 |
4,79 |
847,8 |
77,2 |
|
||||||||||||||||||||||
|
96 |
652 |
51,7 |
13,5 |
4,79 |
586,8 |
77,2 |
|
||||||||||||||||||||||
|
9в |
694 |
51,7 |
13,5 |
4,79 |
628,8 |
77,2 |
|
||||||||||||||||||||||
|
10а |
734 |
56 |
13,9 |
5,19 |
664,1 |
77,2 |
|
||||||||||||||||||||||
|
10б |
746 |
56 |
13,9 |
5,19 |
676,1 |
77,2 |
|
||||||||||||||||||||||
|
10в |
720 |
56 |
13,9 |
5,19 |
650,1 |
77,2 |
|
||||||||||||||||||||||
|
11a |
744 |
49,5 |
13,3 |
4,59 |
681,2 |
77,2 |
|
||||||||||||||||||||||
|
11б - 11e |
633 |
49,5 |
13,3 |
4,59 |
570,2 |
77,2 |
|
||||||||||||||||||||||
|
12а, 12в |
560 |
49,5 |
13,3 |
4,59 |
497,2 |
77,2 |
|
|||||||||||||||||||||||
|
12г |
607 |
51,7 |
13,5 |
4,79 |
541,8 |
77,2 |
|
|||||||||||||||||||||||
|
12д |
620 |
51,7 |
13,5 |
4,79 |
554,8 |
77,2 |
|
|||||||||||||||||||||||
|
12е |
715 |
51,7 |
13,5 |
4,79 |
649,8 |
77,2 |
|
|||||||||||||||||||||||
|
в) ствол башни |
|
|||||||||||||||||||||||||||||
|
1а, 1ж |
894 |
105 |
15,7 |
4,84 |
773,3 |
179 |
|
|||||||||||||||||||||||
|
1б, 1г, 5a |
936 |
105 |
15,7 |
4,84 |
815,3 |
179 |
|
|||||||||||||||||||||||
|
1в, 3в, 6в |
973 |
105 |
15,7 |
4,84 |
852,3 |
179 |
|
|||||||||||||||||||||||
|
1д, 6а |
1000 |
105 |
15,7 |
4,84 |
879,3 |
179 |
|
|||||||||||||||||||||||
|
1е |
1240 |
105 |
15,7 |
4,84 |
1119,3 |
179 |
|
|||||||||||||||||||||||
|
2а |
1200 |
126 |
16,6 |
5,81 |
1057,4 |
179 |
|
|||||||||||||||||||||||
|
2б |
1410 |
121 |
16,4 |
5,57 |
1272,6 |
179 |
|
|||||||||||||||||||||||
|
2в |
1310 |
126 |
16,6 |
5,81 |
1167,4 |
179 |
|
|||||||||||||||||||||||
|
2г |
1150 |
147 |
17,6 |
6,78 |
985,4 |
179 |
|
|||||||||||||||||||||||
|
3а, 4а |
811 |
105 |
15,7 |
4,84 |
760,3 |
179 |
|
|||||||||||||||||||||||
|
3б |
913 |
105 |
15,7 |
4,84 |
792,3 |
179 |
|
|||||||||||||||||||||||
|
3г |
1120 |
105 |
15,7 |
4,84 |
999,3 |
179 |
|
|||||||||||||||||||||||
|
4б |
1080 |
105 |
15,7 |
4,84 |
959,3 |
179 |
|
|||||||||||||||||||||||
|
5б |
1130 |
105 |
15,7 |
4,84 |
1009,3 |
179 |
|
|||||||||||||||||||||||
|
6б |
1010 |
105 |
15,7 |
4,84 |
889,3 |
179 |
|
|||||||||||||||||||||||
|
7а, 11б, 11г |
1030 |
121 |
16,4 |
5,57 |
892,6 |
179 |
|
|||||||||||||||||||||||
|
7б, 7г, 12а |
948 |
121 |
16,4 |
5,57 |
810,6 |
179 |
|
|||||||||||||||||||||||
|
7в |
1130 |
121 |
16,4 |
5,57 |
992,6 |
179 |
|
|||||||||||||||||||||||
|
8а |
1060 |
121 |
16,4 |
5,57 |
922,6 |
179 |
|
|||||||||||||||||||||||
|
8б, 11в |
1090 |
121 |
16,4 |
5,57 |
952,6 |
179 |
|
|||||||||||||||||||||||
|
8в, 12е |
1080 |
126 |
16,6 |
5,81 |
937,4 |
179 |
|
|||||||||||||||||||||||
|
8г |
1270 |
121 |
16,4 |
5,57 |
1132,6 |
179 |
|
|||||||||||||||||||||||
|
8д |
853 |
126 |
16,6 |
5,81 |
710,4 |
179 |
|
|||||||||||||||||||||||
|
8е |
1000 |
126 |
16,6 |
5,81 |
857,4 |
179 |
|
|||||||||||||||||||||||
|
9а |
1230 |
126 |
16,6 |
5,81 |
1087,4 |
179 |
|
|||||||||||||||||||||||
|
9б |
935 |
126 |
16,6 |
5,81 |
792,4 |
179 |
|
|||||||||||||||||||||||
|
9в |
984 |
126 |
16,6 |
5,81 |
841,4 |
179 |
|
|||||||||||||||||||||||
|
10а |
1220 |
137 |
17,1 |
6,3 |
1065,9 |
179 |
|
|||||||||||||||||||||||
|
10б |
1150 |
137 |
17,1 |
6,3 |
995,9 |
179 |
|
|||||||||||||||||||||||
|
10в |
1200 |
137 |
17,1 |
6,3 |
1045,9 |
179 |
|
|||||||||||||||||||||||
|
11а |
1170 |
121 |
16,4 |
5,57 |
1032,6 |
179 |
|
|||||||||||||||||||||||
|
11д |
1050 |
121 |
16,4 |
5,57 |
912 |
179 |
|
|||||||||||||||||||||||
|
11e, 12в |
1110 |
121 |
16,4 |
5,57 |
972,6 |
179 |
|
|||||||||||||||||||||||
|
12б |
931 |
121 |
16,4 |
5,57 |
793,6 |
179 |
|
|||||||||||||||||||||||
|
12г |
1020 |
126 |
16,6 |
5,81 |
877,4 |
179 |
|
|||||||||||||||||||||||
|
12д |
1140 |
126 |
16,6 |
5,81 |
997,4 |
179 |
|
|||||||||||||||||||||||
|
II. Монтаж металлоконструкций |
|||||||||||||||||||||||||||||
|
1, 3-5 |
771 |
25 |
51,3 |
17,5 |
694,7 |
39,1 |
|||||||||||||||||||||||
|
2а, 2в, 8в, 8д, 8е, 12г - 12е |
790 |
30,1 |
54,8 |
21 |
705,1 |
39,1 |
|||||||||||||||||||||||
|
2б, 8а, 8б, 8г, 12а - 12в |
787 |
28,8 |
53,9 |
20,1 |
704,3 |
39,1 |
|||||||||||||||||||||||
|
2г |
806 |
35,1 |
58,3 |
24,4 |
712,6 |
39,1 |
|||||||||||||||||||||||
|
6 |
785 |
25 |
51,3 |
17,5 |
708,7 |
39,1 |
|||||||||||||||||||||||
|
7, 11 |
780 |
28,8 |
53,9 |
20,1 |
697,3 |
39,1 |
|||||||||||||||||||||||
|
9 |
808 |
30,1 |
54,8 |
21 |
723,1 |
39,1 |
|||||||||||||||||||||||
|
10 |
874 |
32,6 |
56,6 |
22,7 |
784,8 |
39,1 |
|||||||||||||||||||||||
|
III. Электромонтажные работы |
|||||||||||||||||||||||||||||
|
(электроосвещение, КИП, автоматика и грозозащита) |
|||||||||||||||||||||||||||||
|
1, 3-6 |
586 |
164 |
119 |
44,9 |
303, |
289 |
|||||||||||||||||||||||
|
2а, 2в, 8в, 8д, 9, 12г, 12д |
630 |
196 |
128 |
53,9 |
306 |
289 |
|||||||||||||||||||||||
|
26, 7а - 8б, 8г, 11а-12в |
618 |
188 |
126 |
51,7 |
304 |
289 |
|||||||||||||||||||||||
|
2г |
691 |
229 |
137 |
62,9 |
325 |
289 |
|||||||||||||||||||||||
|
8е |
671 |
196 |
128 |
53,9 |
347 |
289 |
|||||||||||||||||||||||
|
10 |
670 |
213 |
133 |
58,4 |
324 |
289 |
|||||||||||||||||||||||
|
12е |
653 |
196 |
128 |
53,9 |
329 |
289 |
|||||||||||||||||||||||
|
IV. Монтаж технологических трубопроводов |
|||||||||||||||||||||||||||||
|
1, 3-5 |
806 |
145 |
40 |
14,6 |
62,1 |
256 |
|||||||||||||||||||||||
|
2а, 2в |
831 |
174 |
42,9 |
17,6 |
614,1 |
256 |
|||||||||||||||||||||||
|
2б, 11 |
826 |
167 |
42,2 |
16,8 |
616,8 |
256 |
|||||||||||||||||||||||
|
2г |
895 |
203 |
45,8 |
20,5 |
646,2 |
256 |
|||||||||||||||||||||||
|
6 |
818 |
145 |
40 |
14,6 |
633 |
256 |
|||||||||||||||||||||||
|
7а - 8б, 8г, 12а - 12в |
839 |
167 |
42,2 |
16,8 |
629,8 |
256 |
|||||||||||||||||||||||
|
8в, 8д, 12г - 12е |
847 |
174 |
42,9 |
17,6 |
630,1 |
256 |
|||||||||||||||||||||||
|
8е - 9в |
878 |
174 |
42,9 |
17,б |
661,1 |
256 |
|||||||||||||||||||||||
|
10 |
947 |
189 |
44,4 |
19 |
713,6 |
256 |
|||||||||||||||||||||||
РАЙОННАЯ ЦЕНА № 5
Водонапорная бесшатровая кирпичная башня со стальным баком вместимостью 25 м3, высотой ствола 15 м
Измеритель - 1 башня
|
Районы |
Прямые затраты, руб. |
В том числе, руб. |
Затраты труда рабочих, чел.-ч. |
|
|||||||||||||||||||||||||
|
основная заработная плата рабочих |
эксплуатация машин |
материальные ресурсы |
|
||||||||||||||||||||||||||
|
всего |
в том числе заработная плата рабочих, обслуживающих машины |
|
|||||||||||||||||||||||||||
|
1 |
2 |
3 |
4 |
5 |
6 |
7 |
|
||||||||||||||||||||||
|
I. Строительные работы |
|
||||||||||||||||||||||||||||
|
1а |
1950 |
205 |
81,8 |
27,8 |
1663,2 |
352 |
|
||||||||||||||||||||||
|
1б, 11г, 3в, 5а |
2010 |
205 |
81,8 |
27,8 |
1723,2 |
352 |
|
||||||||||||||||||||||
|
1в |
2030 |
205 |
81,8 |
27,8 |
174,3,2 |
352 |
|
||||||||||||||||||||||
|
1д, 6б, 6в |
2080 |
205 |
80,5 |
27,8 |
1,794,5 |
352 |
|
||||||||||||||||||||||
|
1е |
2400 |
205 |
81,8 |
27,8 |
2,113,2 |
352 |
|
||||||||||||||||||||||
|
1ж |
1880 |
205 |
79,1 |
27,8 |
1595,9 |
352 |
|
||||||||||||||||||||||
|
2а, 9в |
2510 |
246 |
91,3 |
33,5 |
2172,7 |
352 |
|
||||||||||||||||||||||
|
2б, 8г |
2790 |
236 |
88,8 |
31,8 |
2465,2 |
352 |
|
||||||||||||||||||||||
|
2в |
2670 |
246 |
91,3 |
33,5 |
23,32,7 |
352 |
|
||||||||||||||||||||||
|
2г |
2550 |
287 |
99,7 |
39,1 |
2163,3 |
352 |
|
||||||||||||||||||||||
|
3а, 3б, 4а |
1920 |
205 |
78 |
27,8 |
1637 |
352 |
|
||||||||||||||||||||||
|
3г, 4б |
2170 |
205 |
81,8 |
27,8 |
1883,2 |
352 |
|
||||||||||||||||||||||
|
5б |
2260 |
205 |
86,2 |
27,8 |
1068,8 |
352 |
|
||||||||||||||||||||||
|
6а |
2110 |
205 |
81,8 |
27,8 |
1823,2 |
352 |
|
||||||||||||||||||||||
|
7а |
2140 |
236 |
85,8 |
31,8 |
1818,2 |
352 |
|
||||||||||||||||||||||
|
7б, 7г |
2020 |
236 |
85,8 |
31,8 |
1698,2 |
352 |
|
||||||||||||||||||||||
|
7в, 11в |
2260 |
236 |
86,9 |
31,8 |
1937,1 |
352 |
|
||||||||||||||||||||||
|
8а, 11б, 11г, 11д, 12в |
2200 |
236 |
84,4 |
31,8 |
1879,6 |
352 |
|
||||||||||||||||||||||
|
8б, 11e |
2290 |
236 |
85,8 |
31,8 |
1968,2 |
352 |
|
||||||||||||||||||||||
|
8в, 12д |
2280 |
246 |
87,2 |
33,5 |
1946,8 |
352 |
|
||||||||||||||||||||||
|
8д |
1960 |
246 |
89,1 |
33,5 |
1624,9 |
352 |
|
||||||||||||||||||||||
|
8е |
2460 |
246 |
91,3 |
33,5 |
2122,7 |
352 |
|
||||||||||||||||||||||
|
9а |
2490 |
246 |
91,3 |
33,5 |
2152,7 |
352 |
|
||||||||||||||||||||||
|
9б |
2080 |
246 |
89,1 |
33,5 |
1744,9 |
352 |
|
||||||||||||||||||||||
|
10а, 10в |
2520 |
267 |
92 |
36,3 |
2161 |
352 |
|
||||||||||||||||||||||
|
10б |
2480 |
267 |
92 |
36,3 |
2121 |
352 |
|
||||||||||||||||||||||
|
11а |
2490 |
236 |
89,6 |
81,8 |
2164,4 |
352 |
|
||||||||||||||||||||||
|
12а, 12б |
1980 |
236 |
84,4 |
31,8 |
1659,6 |
352 |
|
||||||||||||||||||||||
|
12г |
2120 |
246 |
85,3 |
33,5 |
1788,7 |
352 |
|
||||||||||||||||||||||
|
12е |
2320 |
246 |
91,3 |
33,5 |
1982,7 |
352 |
|
||||||||||||||||||||||
|
В том числе: |
|
|||||||||||||||||||||||||||||
|
а) земляные работы |
|
|||||||||||||||||||||||||||||
|
1а - 1е, 3в, 3г, 4б, 5а, 6а, 6в |
64,1 |
18,4 |
45,7 |
16,4 |
- |
30,6 |
|
|||||||||||||||||||||||
|
1ж, 3б, 4а, 6б |
61,4 |
18,4 |
43 |
16,4 |
- |
30,6 |
|
|||||||||||||||||||||||
|
2а, 2в, 8е, 9а, 9в, 12е |
75 |
22,1 |
52,9 |
19,8 |
- |
30,6 |
|
|||||||||||||||||||||||
|
2б, 11а |
73 |
21,2 |
51,8 |
18,7 |
- |
30,6 |
|
|||||||||||||||||||||||
|
2г |
84,8 |
25,8 |
59 |
23,2 |
- |
30,6 |
|
|||||||||||||||||||||||
|
3а |
59,2 |
18,4 |
40,8 |
16,4 |
- |
30,6 |
|
|||||||||||||||||||||||
|
5б |
68,5 |
18,4 |
50,1 |
16,4 |
- |
30,6 |
|
|||||||||||||||||||||||
|
7а, 7б, 7г - 8б, 11б - 11е, 12б |
69,2 |
21,2 |
48 |
18,7 |
- |
30,6 |
|
|||||||||||||||||||||||
|
7в, 8г |
71,3 |
21,2 |
50,1 |
18,7 |
- |
30,6 |
|
|||||||||||||||||||||||
|
8в, 8д, 9б |
72,8 |
22,1 |
50,7 |
19,8 |
- |
30,6 |
|
|||||||||||||||||||||||
|
10 |
76,4 |
23,9 |
52,5 |
21,5 |
- |
30,6 |
|
|||||||||||||||||||||||
|
12а, 12в |
66,4 |
21,2 |
45,2 |
18,7 |
- |
30,6 |
|
|||||||||||||||||||||||
|
12г, 12д |
69 |
22,1 |
46,9 |
19,8 |
- |
30,6 |
|
|||||||||||||||||||||||
|
б) фундаменты |
|
|||||||||||||||||||||||||||||
|
1а, 1б, 4б, 5а |
601 |
43,4 |
13,4 |
4,23 |
544,2 |
77,7 |
|
|||||||||||||||||||||||
|
1в, 3а, 3в, 4а, 5б, 6б |
587 |
43,4 |
13,4 |
4,23 |
530,2 |
77,7 |
|
|||||||||||||||||||||||
|
1г - 1е, 6а |
617 |
43,4 |
13,4 |
4,23 |
560,2 |
77,7 |
|
|||||||||||||||||||||||
|
1ж, 3г |
544 |
43,4 |
13,4 |
4,23 |
487,2 |
77,7 |
|
|||||||||||||||||||||||
|
2а |
744 |
52 |
14,2 |
5,08 |
677,8 |
77,7 |
|
|||||||||||||||||||||||
|
2б |
771 |
49,9 |
14 |
4,86 |
707,1 |
77,7 |
|
|||||||||||||||||||||||
|
2в |
774 |
52 |
14,2 |
5,08 |
707,8 |
77,7 |
|
|||||||||||||||||||||||
|
2г |
813 |
60,7 |
15 |
5,92 |
737,3 |
77,7 |
|
|||||||||||||||||||||||
|
3б |
569 |
43,4 |
13,4 |
4,2,3 |
509,2 |
77,7 |
|
|||||||||||||||||||||||
|
6в |
626 |
43,4 |
13,4 |
4,23 |
569,2 |
77,7 |
|
|||||||||||||||||||||||
|
7а - 7в |
606 |
49,9 |
14 |
4,86 |
542,1 |
77,7 |
|
|||||||||||||||||||||||
|
7г, 12б |
587 |
49,9 |
14 |
4,86 |
523,1 |
77,7 |
|
|||||||||||||||||||||||
|
8а |
621 |
49,9 |
14 |
4,86 |
557,1 |
77,7 |
|
|||||||||||||||||||||||
|
8б |
678 |
49,9 |
14 |
4,86 |
614,1 |
77,7 |
|
|||||||||||||||||||||||
|
8в, 9а |
693 |
52 |
14,2 |
5,08 |
626,8 |
77,7 |
|
|||||||||||||||||||||||
|
8г |
950 |
49,9 |
14 |
4,86 |
886,1 |
77,7 |
|
|||||||||||||||||||||||
|
8д |
647 |
52 |
14,2 |
5,08 |
580,8 |
77,7 |
|
|||||||||||||||||||||||
|
8е |
922 |
52 |
14,2 |
5,08 |
855,8 |
77,7 |
|
|||||||||||||||||||||||
|
9б |
661 |
52 |
14,2 |
5,08 |
594,8 |
77,7 |
|
|||||||||||||||||||||||
|
9в |
702 |
52 |
14,2 |
5,08 |
635,8 |
77,7 |
|||||||||||||||||||||||
|
10а |
743 |
56,4 |
14,6 |
5,5 |
672 |
77,7 |
|||||||||||||||||||||||
|
10б |
756 |
56,4 |
14,6 |
5,5 |
685 |
77,7 |
|||||||||||||||||||||||
|
10в |
730 |
56,4 |
14,6 |
5,5 |
659 |
77,7 |
|||||||||||||||||||||||
|
11а |
753 |
49,9 |
14 |
4,86 |
689,1 |
77,7 |
|||||||||||||||||||||||
|
11б - 11е |
641 |
49,9 |
14 |
4,86 |
577,1 |
77,7 |
|||||||||||||||||||||||
|
12а, 12в |
569 |
49,9 |
14 |
4,86 |
505,1 |
77,7 |
|||||||||||||||||||||||
|
12г |
615 |
52 |
14,2 |
5,08 |
548,8 |
77,7 |
|||||||||||||||||||||||
|
12д |
628 |
52 |
14,2 |
5,08 |
561,8 |
77,7 |
|||||||||||||||||||||||
|
12е |
723 |
52 |
14,2 |
5,08 |
656,8 |
77,7 |
|||||||||||||||||||||||
|
в) ствол башни |
|||||||||||||||||||||||||||||
|
1а, 1ж |
1110 |
130 |
19,1 |
5,88 |
960,9 |
221 |
|||||||||||||||||||||||
|
1б, 5а |
1170 |
130 |
19,1 |
5,88 |
1020,9 |
221 |
|||||||||||||||||||||||
|
1в, 3в, 6в |
1210 |
130 |
19,1 |
5,88 |
1060,9 |
221 |
|||||||||||||||||||||||
|
1г |
1150 |
130 |
19,1 |
5,88 |
1000,9 |
221 |
|||||||||||||||||||||||
|
1д, 6a |
1250 |
130 |
19,1 |
5,88 |
1100,9 |
221 |
|||||||||||||||||||||||
|
1e |
1550 |
130 |
19,1 |
5,88 |
1400,9 |
221 |
|||||||||||||||||||||||
|
2а |
1500 |
158 |
20,3 |
7,06 |
1323,7 |
221 |
|||||||||||||||||||||||
|
2б |
1760 |
150 |
20 |
6,76 |
1590 |
221 |
|||||||||||||||||||||||
|
2в |
1640 |
156 |
20,3 |
7,06 |
1463,7 |
221 |
|||||||||||||||||||||||
|
2г |
1430 |
182 |
21,5 |
8,24 |
1226,5 |
221 |
|||||||||||||||||||||||
|
3а, 4а |
1100 |
130 |
19,1 |
5,88 |
850,9 |
221 |
|||||||||||||||||||||||
|
3б |
1140 |
130 |
19,1 |
5,88 |
990,9 |
221 |
|||||||||||||||||||||||
|
3г, 5б |
1400 |
130 |
19,1 |
5,88 |
1250,9 |
221 |
|||||||||||||||||||||||
|
4б |
1350 |
130 |
19,1 |
5,88 |
1200,9 |
221 |
|||||||||||||||||||||||
|
6б |
1260 |
130 |
19,1 |
5,88 |
1110,9 |
221 |
|||||||||||||||||||||||
|
7а, 11б, 11г |
1280 |
150 |
20 |
6,76 |
1110 |
221 |
|||||||||||||||||||||||
|
7б, 7г, 12а |
1180 |
150 |
20 |
6,76 |
1010 |
221 |
|||||||||||||||||||||||
|
7в |
1410 |
150 |
20 |
6,76 |
1240 |
221 |
|||||||||||||||||||||||
|
8а |
1330 |
150 |
20 |
6,76 |
1160 |
221 |
|||||||||||||||||||||||
|
86, 11в |
1360 |
150 |
20 |
6,76 |
1190 |
221 |
|||||||||||||||||||||||
|
8в, 12е |
1340 |
156 |
20,3 |
7,06 |
1163,7 |
221 |
|||||||||||||||||||||||
|
8г |
1580 |
150 |
20 |
6,76 |
1410 |
221 |
|||||||||||||||||||||||
|
8д |
1060 |
156 |
20,3 |
7,06 |
883,7 |
221 |
|||||||||||||||||||||||
|
8е |
1240 |
156 |
20,3 |
7,06 |
1063,7 |
221 |
|||||||||||||||||||||||
|
9а |
1530 |
156 |
20,3 |
7,06 |
1353,7 |
221 |
|||||||||||||||||||||||
|
9б |
1160 |
156 |
20,3 |
7,06 |
983,7 |
221 |
|||||||||||||||||||||||
|
9в |
1220 |
156 |
20,3 |
7,06 |
1043,7 |
221 |
|||||||||||||||||||||||
|
10а |
1520 |
169 |
20,9 |
7,65 |
1330,1 |
221 |
|||||||||||||||||||||||
|
10б |
1440 |
169 |
20,9 |
7,65 |
1250,1 |
221 |
|||||||||||||||||||||||
|
10в |
1500 |
169 |
20,9 |
7,65 |
1310,1 |
221 |
|
||||||||||||||||||||||
|
11a |
1450 |
150 |
20 |
6,76 |
1280 |
221 |
|
||||||||||||||||||||||
|
11д |
1310 |
150 |
20 |
6,76 |
1140 |
221 |
|
||||||||||||||||||||||
|
11е, 12в |
1380 |
150 |
20 |
6,76 |
1210 |
221 |
|
||||||||||||||||||||||
|
12б |
1160 |
150 |
20 |
6,76 |
990 |
221 |
|
||||||||||||||||||||||
|
12г |
1270 |
156 |
20,3 |
7,06 |
1093,7 |
221 |
|
||||||||||||||||||||||
|
12д |
1430 |
156 |
20,3 |
7,06 |
1253,7 |
221 |
|
||||||||||||||||||||||
|
II. Монтаж металлоконструкций |
|
||||||||||||||||||||||||||||
|
1, 3-5 |
794 |
25,8 |
53,1 |
18,1 |
715,1 |
40,4 |
|
||||||||||||||||||||||
|
2а, 2в, 8в, 8д, 8е, 12г - 12е |
813 |
31 |
56,7 |
21,7 |
725,3 |
40,4 |
|
||||||||||||||||||||||
|
26, 8а, 8б, 8г, 12а - 12в |
810 |
29,7 |
55,8 |
20,8 |
724,5 |
40,4 |
|
||||||||||||||||||||||
|
2г |
830 |
36,2 |
60,4 |
25,4 |
733,4 |
40,4 |
|
||||||||||||||||||||||
|
6 |
809 |
25,8 |
53,1 |
18,1 |
730,1 |
40,4 |
|
||||||||||||||||||||||
|
7, 11 |
803 |
29,7 |
55,8 |
20,8 |
717,5 |
40,4 |
|
||||||||||||||||||||||
|
9 |
833 |
31 |
56,7 |
21,7 |
745,3 |
40,4 |
|
||||||||||||||||||||||
|
10 |
901 |
33,6 |
58,6 |
23,6 |
808,8 |
40,4 |
|
||||||||||||||||||||||
|
III. Электромонтажные работы |
|
||||||||||||||||||||||||||||
|
(электроосвещение, КИП, автоматика и грозозащита) |
|
||||||||||||||||||||||||||||
|
1, 3-6 |
586 |
164 |
119 |
44,9 |
303 |
289 |
|
||||||||||||||||||||||
|
2а, 2в, 8в, 8д, 9, 12г, 12д |
630 |
196 |
128 |
53,9 |
306 |
289 |
|
||||||||||||||||||||||
|
26, 7а - 8б, 8г, 11а - 12в |
618 |
188 |
126 |
51,7 |
304 |
289 |
|
||||||||||||||||||||||
|
2г |
691 |
229 |
137 |
62,9 |
325 |
289 |
|
||||||||||||||||||||||
|
8е |
671 |
196 |
128 |
53,9 |
347 |
289 |
|
||||||||||||||||||||||
|
10 |
670 |
213 |
133 |
58,4 |
324 |
289 |
|
||||||||||||||||||||||
|
12е |
653 |
196 |
128 |
63,9 |
329 |
289 |
|
||||||||||||||||||||||
|
IV. Монтаж технологических трубопроводов |
|
||||||||||||||||||||||||||||
|
1, 3-5 |
907 |
164 |
45 |
16,5 |
698 |
288 |
|
||||||||||||||||||||||
|
2а, 2в |
936 |
196 |
48,3 |
19,8 |
691,7 |
288 |
|
||||||||||||||||||||||
|
2б, 11 |
931 |
188 |
47,5 |
19 |
695,5 |
288 |
|
||||||||||||||||||||||
|
2г |
1010 |
229 |
51,6 |
23,1 |
729,4 |
288 |
|
||||||||||||||||||||||
|
6 |
921 |
164 |
45 |
16,5 |
702 |
288 |
|
||||||||||||||||||||||
|
7а - 8б, 8г, 12а - 12в |
945 |
188 |
47,5 |
19 |
709,5 |
288 |
|
||||||||||||||||||||||
|
8в, 8д, 12г - 12е |
954 |
196 |
48,3 |
19,8 |
709,7 |
288 |
|
||||||||||||||||||||||
|
8е - 9в |
989 |
196 |
48,3 |
19,8 |
744,7 |
288 |
|
||||||||||||||||||||||
|
10 |
1070 |
212 |
50 |
21,4 |
608 |
288 |
|
||||||||||||||||||||||
РАЙОННАЯ ЦЕНА № 6
Водонапорная бесшатровая кирпичная башня со стальным баком вместимостью 25 м3, высотой ствола 18 м
Измеритель - 1 башня
|
Районы |
Прямые затраты, руб. |
В том числе, руб. |
Затраты труда, чел.-ч. |
|
||||||||||||||||||
|
основная заработная плата рабочих |
эксплуатация машин |
материальные ресурсы |
|
|||||||||||||||||||
|
всего |
в том числе заработная плата рабочих, обслуживающих машины |
|
||||||||||||||||||||
|
1 |
2 |
3 |
4 |
5 |
6 |
7 |
|
|||||||||||||||
|
I. Строительные работы |
|
|||||||||||||||||||||
|
1а |
2160 |
228 |
85,5 |
28,9 |
1846,5 |
391 |
|
|||||||||||||||
|
1б, 1г, 3в, 5а |
2230 |
228 |
85,5 |
28,9 |
1916,5 |
391 |
|
|||||||||||||||
|
1в |
2260 |
228 |
85,5 |
28,9 |
1946,5 |
391 |
|
|||||||||||||||
|
1д, 6б, 6в |
2320 |
228 |
84,1 |
28,9 |
2007,9 |
391 |
|
|||||||||||||||
|
1е |
2700 |
228 |
85,5 |
28,9 |
2386,5 |
391 |
|
|||||||||||||||
|
1ж |
2090 |
228 |
82,8 |
28,9 |
1779,2 |
391 |
|
|||||||||||||||
|
2а, 9а |
2790 |
274 |
95,2 |
34,8 |
2420,8 |
391 |
|
|||||||||||||||
|
2б |
3120 |
282 |
93,4 |
33,1 |
2764,6 |
391 |
|
|||||||||||||||
|
2в |
2990 |
274 |
95,2 |
34,8 |
2620,8 |
391 |
|
|||||||||||||||
|
2г |
2820 |
319 |
104 |
40,7 |
2397 |
391 |
|
|||||||||||||||
|
3а, 3б, 4а |
2130 |
228 |
81,7 |
28,9 |
1820,3 |
391 |
|
|||||||||||||||
|
3г, 4б |
2440 |
228 |
85,5 |
28,9 |
2126,5 |
391 |
|
|||||||||||||||
|
5б |
2530 |
228 |
89,8 |
28,9 |
2212,2 |
391 |
|
|||||||||||||||
|
6а |
2350 |
228 |
85,5 |
28,9 |
2036,5 |
391 |
|
|||||||||||||||
|
7а |
2380 |
262 |
89,6 |
33,1 |
2028,4 |
391 |
|
|||||||||||||||
|
7б, 7г |
2250 |
262 |
89,6 |
33,1 |
1898,4 |
391 |
|
|||||||||||||||
|
7в, 8б, 11в |
2530 |
262 |
90,7 |
33,1 |
2177,3 |
391 |
|
|||||||||||||||
|
8а, 11б, 11г, 11д, 12в |
2450 |
262 |
88,3 |
33,1 |
2099,7 |
391 |
|
|||||||||||||||
|
8в |
2530 |
274 |
93 |
34,8 |
2163 |
391 |
|
|||||||||||||||
|
8г |
3090 |
262 |
91,8 |
33,1 |
2736,2 |
391 |
|
|||||||||||||||
|
8д |
2160 |
274 |
93 |
34,8 |
1793 |
391 |
|
|||||||||||||||
|
8е |
2690 |
274 |
95,2 |
34,8 |
2320,8 |
391 |
|
|||||||||||||||
|
9б |
2300 |
274 |
93 |
34,8 |
1933 |
391 |
|
|||||||||||||||
|
9в |
2730 |
274 |
95,2 |
34,8 |
2360,8 |
391 |
|
|||||||||||||||
|
10а, 10в |
2810 |
297 |
96 |
37,8 |
2417 |
391 |
|
|||||||||||||||
|
10б |
2760 |
297 |
96 |
37,8 |
2367 |
391 |
|
|||||||||||||||
|
11a |
2770 |
262 |
93,4 |
33,1 |
2414,6 |
391 |
|
|||||||||||||||
|
11e |
2560 |
262 |
89,6 |
33,1 |
2208,4 |
391 |
|
|||||||||||||||
|
12а, 12б |
2200 |
262 |
88,3 |
33,1 |
1849,7 |
391 |
|
|||||||||||||||
|
12г |
2360 |
274 |
89,2 |
34,8 |
1996,8 |
391 |
|
|||||||||||||||
|
12д |
2560 |
274 |
89,2 |
34,8 |
2196,8 |
391 |
|
|||||||||||||||
|
12е |
2570 |
274 |
95,2 |
34,8 |
2200,8 |
391 |
|
|||||||||||||||
|
В том числе: |
|
||||||||||||||||||||
|
а) земляные работы |
|
||||||||||||||||||||
|
1a - 1e, 3в, 3г, 4б, 5а, 6а, 6в |
64,1 |
18,4 |
45,7 |
16,4 |
- |
30,6 |
|
||||||||||||||
|
1ж, 3б, 4а, 6б |
61,4 |
18,4 |
43 |
16,4 |
- |
30,6 |
|
||||||||||||||
|
2а, 2в, 8е, 9а, 9в, 12е |
75 |
22,1 |
52,9 |
19,8 |
- |
30,6 |
|
||||||||||||||
|
2б, 11а |
73 |
21,2 |
51,8 |
18,7 |
- |
30,6 |
|
||||||||||||||
|
2г |
84,8 |
25,8 |
59 |
23,2 |
- |
30,6 |
|
||||||||||||||
|
3а |
59,2 |
18,4 |
40,8 |
16,4 |
- |
30,6 |
|
||||||||||||||
|
5б |
68,5 |
18,4 |
50,1 |
16,4 |
- |
30,6 |
|
||||||||||||||
|
7а, 7б, 7г - 8б, 11б - 11e, 12б |
69,2 |
21,2 |
48 |
18,7 |
- |
30,6 |
|
||||||||||||||
|
7в, 8г |
71,3 |
21,2 |
50,1 |
18,7 |
- |
30,6 |
|
||||||||||||||
|
8в, 8д, 9б |
72,8 |
22,1 |
50,7 |
19,8 |
- |
30,6 |
|
||||||||||||||
|
10 |
76,4 |
23,9 |
52,5 |
21,5 |
- |
30,6 |
|
||||||||||||||
|
12а, 12в |
66,4 |
21,2 |
45,2 |
18,7 |
- |
30,6 |
|
||||||||||||||
|
12г, 12д |
69 |
22,1 |
46,9 |
19,8 |
- |
30,6 |
|
||||||||||||||
|
б) фундаменты |
|
||||||||||||||||||||
|
1а, 1б, 4б, 5а |
605 |
43,5 |
13,7 |
4,35 |
547,8 |
77,9 |
|
||||||||||||||
|
1в, 3а, ,3в, 4а, 5б, 6б |
591 |
43,5 |
13,7 |
4,35 |
533,8 |
77,9 |
|
||||||||||||||
|
1г - 1е, 6а |
622 |
43,5 |
13,7 |
4,35 |
564,8 |
77,9 |
|
||||||||||||||
|
1ж, 3г |
548 |
43,5 |
13,7 |
4,35 |
490,8 |
77,9 |
|
||||||||||||||
|
2а |
749 |
52,2 |
14,6 |
5,22 |
682,2 |
77,9 |
|
||||||||||||||
|
2б |
776 |
50 |
14,3 |
5 |
711,7 |
77,9 |
|
||||||||||||||
|
2в |
778 |
52,2 |
14,6 |
5,22 |
711,2 |
77,9 |
|
||||||||||||||
|
2г |
817 |
60,9 |
15,4 |
6,09 |
740,7 |
77,9 |
|
||||||||||||||
|
3б |
570 |
43,5 |
13,7 |
4,35 |
512,8 |
77,9 |
|
||||||||||||||
|
6в |
630 |
43,5 |
13,7 |
4,35 |
572,8 |
77,9 |
|
||||||||||||||
|
7а - 7в |
610 |
50 |
14,3 |
5 |
545,7 |
77,9 |
|
||||||||||||||
|
7г, 12б |
591 |
50 |
14,3 |
5 |
526,7 |
77,9 |
|
||||||||||||||
|
8а |
626 |
50 |
14,3 |
5 |
1561,7 |
77,9 |
|
||||||||||||||
|
8б |
683 |
50 |
14,3 |
5 |
618,7 |
77,9 |
|
||||||||||||||
|
8в, 9а |
697 |
52,2 |
14,6 |
5,22 |
630,2 |
77,9 |
|
||||||||||||||
|
8г |
955 |
50 |
14,3 |
5 |
890,7 |
77,9 |
|
||||||||||||||
|
8д |
651 |
52,2 |
14,6 |
5,22 |
684,2 |
77,9 |
|
||||||||||||||
|
8е |
926 |
52,2 |
14,6 |
5,22 |
869,2 |
77,9 |
|
||||||||||||||
|
9б |
666 |
52,2 |
14,6 |
5,22 |
599,2 |
77,9 |
|||||||||||||||
|
9в |
707 |
52,2 |
14,6 |
5,22 |
640,2 |
77,9 |
|||||||||||||||
|
10а |
748 |
56,5 |
15 |
5,65 |
676,5 |
77,9 |
|||||||||||||||
|
10б |
760 |
56,5 |
15 |
5,65 |
688,5 |
77,9 |
|||||||||||||||
|
10в |
734 |
56,5 |
15 |
5,65 |
662,5 |
77,9 |
|||||||||||||||
|
11а |
757 |
50 |
14,3 |
5 |
692,7 |
77,9 |
|||||||||||||||
|
11б - 11e |
645 |
50 |
14,3 |
5 |
580,7 |
77,9 |
|||||||||||||||
|
12а, 12в |
573 |
50 |
14,3 |
5 |
508,7 |
77,9 |
|||||||||||||||
|
12г |
619 |
52,2 |
14,6 |
5,22 |
552,2 |
77,9 |
|||||||||||||||
|
12д |
633 |
52,2 |
14,6 |
5,22 |
566,2 |
77,9 |
|||||||||||||||
|
12е |
727 |
52,2 |
14,6 |
5,22 |
660,2 |
77,9 |
|||||||||||||||
|
в) ствол башни |
|||||||||||||||||||||
|
1я, 1ж |
1320 |
152 |
22,4 |
6,86 |
1145,6 |
257 |
|||||||||||||||
|
1б, 5а |
1390 |
152 |
22,4 |
6,86 |
1215,6 |
257 |
|||||||||||||||
|
1в, 3в, 6в |
1440 |
152 |
22,4 |
6,86 |
1265,6 |
257 |
|||||||||||||||
|
1г |
1370 |
152 |
22,4 |
6,86 |
1195,6 |
257 |
|||||||||||||||
|
1д, 6а |
1480 |
152 |
22,4 |
6,86 |
1305,6 |
257 |
|||||||||||||||
|
1е |
1840 |
152 |
22,4 |
6,86 |
1665,6 |
257 |
|||||||||||||||
|
2а |
1780 |
182 |
23,8 |
8,23 |
1574,2 |
257 |
|||||||||||||||
|
26 |
2100 |
175 |
23,4 |
7,89 |
1901,6 |
257 |
|||||||||||||||
|
2в |
1940 |
182 |
23,8 |
8,23 |
1734,2 |
257 |
|||||||||||||||
|
2г |
1690 |
213 |
25,1 |
9,6 |
1451,9 |
257 |
|||||||||||||||
|
3а, 4а |
1300 |
152 |
22,4 |
6,86 |
1125,6 |
257 |
|||||||||||||||
|
3б |
1350 |
152 |
22,4 |
6,86 |
1175,6 |
257 |
|||||||||||||||
|
3г, 5б |
1670 |
152 |
22,4 |
6,86 |
1495,6 |
257 |
|||||||||||||||
|
4б |
1600 |
152 |
22,4 |
6,86 |
1425,6 |
257 |
|||||||||||||||
|
6б |
1490 |
152 |
22,4 |
6,86 |
1315,6 |
257 |
|||||||||||||||
|
7а, 11б, 11г |
1520 |
175 |
23,4 |
7,89 |
1321,6 |
257 |
|||||||||||||||
|
7б, 7г, 12а |
1400 |
175 |
23,4 |
7,89 |
1201,6 |
257 |
|||||||||||||||
|
7в |
1670 |
175 |
23,4 |
7,89 |
1471,6 |
257 |
|||||||||||||||
|
8а |
1570 |
175 |
23,4 |
7,89 |
1371,6 |
257 |
|||||||||||||||
|
8б, 11в |
1610 |
175 |
23,4 |
7,89 |
1411,6 |
257 |
|||||||||||||||
|
8в, 12е |
1580 |
182 |
23,8 |
8,23 |
1374,2 |
257 |
|||||||||||||||
|
8г |
1870 |
175 |
23,4 |
7,89 |
1671,6 |
257 |
|||||||||||||||
|
8д |
1250 |
182 |
23,8 |
8,23 |
1044,2 |
257 |
|||||||||||||||
|
8е |
1470 |
182 |
23,8 |
8,23 |
1264,2 |
257 |
|||||||||||||||
|
9а |
1820 |
182 |
23,8 |
8,23 |
1614,2 |
257 |
|||||||||||||||
|
9б |
1370 |
182 |
23,8 |
8,23 |
1164,2 |
257 |
|||||||||||||||
|
9в |
1440 |
182 |
23,8 |
8,23 |
1234,2 |
257 |
|||||||||||||||
|
10а |
1800 |
198 |
24,4 |
8,92 |
1577,6 |
257 |
|||||||||||||||
|
10б |
1700 |
198 |
24,4 |
8,92 |
1477,6 |
257 |
|||||||||||||||
|
10в |
1770 |
198 |
24,4 |
8,92 |
1547,6 |
257 |
|
||||||||||||||
|
11а |
1720 |
175 |
23,4 |
7,89 |
1521,6 |
257 |
|
||||||||||||||
|
11д |
1550 |
175 |
23,4 |
7,89 |
1351,6 |
257 |
|
||||||||||||||
|
11е, 12в |
1640 |
175 |
23,4 |
7,89 |
1441,6 |
257 |
|
||||||||||||||
|
12б |
1370 |
175 |
23,4 |
7,89 |
1171,6 |
257 |
|
||||||||||||||
|
12г |
1500 |
182 |
23,8 |
8,23 |
1294,2 |
257 |
|
||||||||||||||
|
12д |
1690 |
182 |
23,8 |
8,23 |
1484,2 |
257 |
|
||||||||||||||
|
II. Монтаж металлоконструкций |
|
||||||||||||||||||||
|
1, 3-5 |
922 |
30,4 |
63,7 |
22 |
827,9 |
47,9 |
|
||||||||||||||
|
2а, 2в, 8в, 8д, 8е, 12г - 12е |
944 |
36,5 |
68,2 |
26,4 |
839,3 |
47,9 |
|
||||||||||||||
|
2б, 8а, 8б, 8г, 12а - 12в |
941 |
35 |
67 |
25,3 |
839 |
47,9 |
|
||||||||||||||
|
2г |
965 |
42,6 |
72,6 |
30,8 |
849,8 |
47,9 |
|
||||||||||||||
|
6 |
939 |
30,4 |
63,7 |
22 |
844,9 |
47,9 |
|
||||||||||||||
|
7, 11 |
933 |
35 |
67 |
25,3 |
831 |
47,9 |
|
||||||||||||||
|
9 |
968 |
36,5 |
68,2 |
26,4 |
863,3 |
47,9 |
|
||||||||||||||
|
10 |
1050 |
39,5 |
70,4 |
28,6 |
940,1 |
47,9 |
|
||||||||||||||
|
III. Электромонтажные работы |
|
||||||||||||||||||||
|
(электроосвещение, КИП, автоматика и грозозащита) |
|
||||||||||||||||||||
|
1, 3-6 |
647 |
181 |
132 |
49,6 |
334 |
319 |
|
||||||||||||||
|
2а, 2в, 8в, 8д, 9, 12г, 12д |
696 |
217 |
142 |
59,6 |
337 |
319 |
|
||||||||||||||
|
2б, 7а - 8б, 8г, 11а - 12в |
683 |
208 |
139 |
571 |
336 |
319 |
|
||||||||||||||
|
2г |
764 |
253 |
152 |
69,5 |
369 |
319 |
|
||||||||||||||
|
8е |
741 |
217 |
142 |
59,6 |
382 |
319 |
|
||||||||||||||
|
10 |
740 |
235 |
147 |
64,5 |
358 |
319 |
|
||||||||||||||
|
12е |
721 |
217 |
142 |
59,6 |
362 |
319 |
|
||||||||||||||
|
IV. Монтаж технологических трубопроводов |
|
||||||||||||||||||||
|
1, 3-5 |
991 |
178 |
49,1 |
18 |
763,9 |
314 |
|
||||||||||||||
|
2а, 2в |
1020 |
214 |
52,7 |
21,6 |
763,3 |
314 |
|
||||||||||||||
|
2б, 11 |
1020 |
205 |
51,8 |
20,7 |
763,2 |
314 |
|
||||||||||||||
|
2г |
1100 |
250 |
56,3 |
25,2 |
793,7 |
314 |
|
||||||||||||||
|
6 |
1000 |
178 |
49,1 |
18 |
772,9 |
314 |
|
||||||||||||||
|
7a - 8б, 8г, 12а - 12в |
1030 |
205 |
51,8 |
20,7 |
773,2 |
314 |
|
||||||||||||||
|
8в, 8д, 12г - 12е |
1040 |
214 |
52,7 |
21,6 |
773,3 |
314 |
|
||||||||||||||
|
8е - 9в |
1080 |
214 |
52,7 |
21,6 |
813,3 |
314 |
|
||||||||||||||
|
10 |
1160 |
232 |
54,5 |
23,4 |
873,5 |
314 |
|
||||||||||||||
Водонапорная бесшатровая кирпичная башня со стальным баком вместимостью 25 м3, высотой ствола 21 м
Измеритель - 1 башня
|
Районы |
Прямые затраты, руб. |
В том числе, руб. |
Затраты труда рабочих, чел.-ч. |
||||||||||||||||||||||||||
|
основная заработная плата рабочих |
эксплуатация машин |
материальные ресурсы |
|||||||||||||||||||||||||||
|
всего |
в том числе заработная плата рабочих, обслуживающих машины |
||||||||||||||||||||||||||||
|
1 |
2 |
3 |
4 |
9 |
6 |
7 |
|||||||||||||||||||||||
|
I. Строительные работы |
|||||||||||||||||||||||||||||
|
1а, 3б |
3410 |
334 |
108 |
36,4 |
2968 |
570 |
|||||||||||||||||||||||
|
1б, 1г, 5а |
3540 |
334 |
110 |
36,4 |
3096 |
570 |
|||||||||||||||||||||||
|
1в, 3в |
3600 |
334 |
110 |
36,4 |
3156 |
570 |
|||||||||||||||||||||||
|
1д, 6б, 6в |
3700 |
334 |
108 |
36,4 |
3258 |
570 |
|||||||||||||||||||||||
|
1е |
4410 |
334 |
110 |
36,4 |
3966 |
570 |
|||||||||||||||||||||||
|
1ж, 4а |
3330 |
334 |
107 |
36,4 |
2889 |
570 |
|||||||||||||||||||||||
|
2а, 9а |
4500 |
401 |
122 |
43,8 |
3977 |
570 |
|||||||||||||||||||||||
|
2б |
5110 |
385 |
119 |
41,7 |
4606 |
570 |
|||||||||||||||||||||||
|
2в |
4830 |
401 |
122 |
43,8 |
4307 |
570 |
|||||||||||||||||||||||
|
2г |
4430 |
468 |
132 |
51,3 |
3830 |
570 |
|||||||||||||||||||||||
|
3а |
3360 |
334 |
105 |
36,4 |
2921 |
570 |
|||||||||||||||||||||||
|
3г, 4б |
3950 |
334 |
110 |
36,4 |
3506 |
570 |
|||||||||||||||||||||||
|
5б |
4090 |
334 |
115 |
36,4 |
3641 |
570 |
|||||||||||||||||||||||
|
6а |
3760 |
334 |
110 |
36,4 |
3316 |
570 |
|||||||||||||||||||||||
|
7а |
3810 |
385 |
115 |
41,7 |
3310 |
570 |
|||||||||||||||||||||||
|
7б, 7г |
3560 |
385 |
115 |
41,7 |
3060 |
570 |
|||||||||||||||||||||||
|
7в, 8б, 11в, 11е |
4070 |
385 |
116 |
41,7 |
3569 |
570 |
|||||||||||||||||||||||
|
8а, 11д, 12в |
3950 |
385 |
114 |
41,7 |
3451 |
570 |
|||||||||||||||||||||||
|
8в |
4020 |
401 |
119 |
43,8 |
3600 |
570 |
|||||||||||||||||||||||
|
8г |
4920 |
385 |
118 |
41,7 |
4417 |
570 |
|||||||||||||||||||||||
|
8д |
3350 |
401 |
119 |
43,8 |
2830 |
570 |
|||||||||||||||||||||||
|
8е, 9в, 12д |
4130 |
401 |
118 |
43,8 |
3611 |
570 |
|||||||||||||||||||||||
|
9б |
3610 |
401 |
119 |
43,8 |
3090 |
570 |
|||||||||||||||||||||||
|
10а |
4520 |
435 |
123 |
47,6 |
3962 |
570 |
|||||||||||||||||||||||
|
10б |
4370 |
435 |
123 |
47,6 |
3812 |
570 |
|||||||||||||||||||||||
|
10в |
4470 |
436 |
123 |
47,6 |
3912 |
570 |
|||||||||||||||||||||||
|
11а |
4420 |
385 |
119 |
41,7 |
3916 |
570 |
|||||||||||||||||||||||
|
11б, 11г |
3870 |
385 |
115 |
41,7 |
3370 |
570 |
|||||||||||||||||||||||
|
12a, 12б |
3500 |
385 |
114 |
41,7 |
3001 |
570 |
|||||||||||||||||||||||
|
12г |
3760 |
401 |
115 |
43,8 |
3244 |
670 |
|||||||||||||||||||||||
|
12e |
4080 |
401 |
122 |
43,8 |
3557 |
570 |
|||||||||||||||||||||||
|
B том числе: |
|
||||||||||||||||||||||||||||
|
а) земляные работы |
|
||||||||||||||||||||||||||||
|
1а - 1е, 3в, 3г, 4б, 5а, 6а, 6в |
70,2 |
22,1 |
48,1 |
17,2 |
- |
36,7 |
|
||||||||||||||||||||||
|
1ж, 3б, 4а, 6б |
67,2 |
22,1 |
45,1 |
17,2 |
- |
36,7 |
|
||||||||||||||||||||||
|
2а, 2в, 8е, 9а, 9в, 12е |
82,3 |
26,5 |
55,8 |
20,8 |
- |
36,7 |
|
||||||||||||||||||||||
|
2б, 11а |
80 |
25,4 |
54,6 |
19,6 |
- |
36,7 |
|
||||||||||||||||||||||
|
2г |
93,2 |
30,9 |
62,3 |
24,4 |
- |
36,7 |
|
||||||||||||||||||||||
|
3а |
64,8 |
22,1 |
42,7 |
17,2 |
- |
36,7 |
|
||||||||||||||||||||||
|
5б |
74,9 |
22,1 |
52,8 |
17,2 |
- |
36,7 |
|
||||||||||||||||||||||
|
7а, 7б, 7г - 8б, 11б -11e, 12б |
75,8 |
25,4 |
50,4 |
19,6 |
- |
36,7 |
|
||||||||||||||||||||||
|
7в, 8г |
78,2 |
25,4 |
52,8 |
19,6 |
- |
36,7 |
|
||||||||||||||||||||||
|
8в, 8д, 9б |
79,9 |
26,5 |
53,4 |
20,8 |
- |
36,7 |
|
||||||||||||||||||||||
|
10 |
83,9 |
28,7 |
55,2 |
22,6 |
- |
36,7 |
|
||||||||||||||||||||||
|
12а, 12в |
72,9 |
25,4 |
47,5 |
19,6 |
- |
36,7 |
|
||||||||||||||||||||||
|
12г, 12д |
75,8 |
26,5 |
49,3 |
20,8 |
- |
36,7 |
|
||||||||||||||||||||||
|
б) фундаменты |
|
||||||||||||||||||||||||||||
|
1a, 1б, 4б, 5а |
807 |
57,2 |
18,7 |
5,93 |
731,1 |
102 |
|
||||||||||||||||||||||
|
1в, 3а, 3в, 4а, 5б, 6б |
788 |
57,2 |
18,7 |
5,93 |
712,1 |
102 |
|
||||||||||||||||||||||
|
1г - 1е, 6а |
829 |
57,2 |
18,7 |
5,93 |
753,1 |
102 |
|
||||||||||||||||||||||
|
1ж, 3г |
728 |
57,2 |
18,7 |
5,93 |
652,1 |
102 |
|
||||||||||||||||||||||
|
2а |
1000 |
68,7 |
19,9 |
7,12 |
911,4 |
102 |
|
||||||||||||||||||||||
|
2б |
1040 |
65,8 |
19,6 |
6,82 |
954,6 |
102 |
|
||||||||||||||||||||||
|
2в |
1040 |
68,7 |
19,9 |
7,12 |
951,4 |
102 |
|
||||||||||||||||||||||
|
2г |
1090 |
80,1 |
21,1 |
8,3 |
988,8 |
102 |
|
||||||||||||||||||||||
|
3б |
758 |
57,2 |
18,7 |
5,93 |
682,1 |
102 |
|
||||||||||||||||||||||
|
6в |
841 |
57,2 |
18,7 |
5,93 |
765,1 |
102 |
|
||||||||||||||||||||||
|
7а - 7в |
814 |
65,8 |
19,6 |
6,82 |
728,6 |
102 |
|
||||||||||||||||||||||
|
7г, 12б |
787 |
65,8 |
19,6 |
6,82 |
701,6 |
102 |
|
||||||||||||||||||||||
|
8а |
834 |
65,8 |
19,6 |
6,82 |
748,6 |
102 |
|
||||||||||||||||||||||
|
8б |
913 |
65,8 |
19,6 |
6,82 |
827,6 |
102 |
|
||||||||||||||||||||||
|
8в, 9а |
931 |
68,7 |
19,9 |
7,12 |
842,4 |
102 |
|
||||||||||||||||||||||
|
8г |
1290 |
65,8 |
19,6 |
6,82 |
1204,6 |
102 |
|
||||||||||||||||||||||
|
8д |
868 |
68,7 |
19,9 |
7,12 |
779,4 |
102 |
|
||||||||||||||||||||||
|
8e |
1240 |
68,7 |
19,9 |
7,12 |
1151,4 |
102 |
|
||||||||||||||||||||||
|
9б |
889 |
68,7 |
19,9 |
7,12 |
800,4 |
102 |
|
||||||||||||||||||||||
|
9в |
945 |
68,7 |
19,9 |
7,12 |
856,4 |
102 |
|
|||||||||||||||||||||||
|
10а |
1000 |
74,4 |
20,5 |
7,71 |
905,1 |
102 |
|
|||||||||||||||||||||||
|
10б |
1020 |
74,4 |
20,5 |
7,71 |
925,1 |
102 |
|
|||||||||||||||||||||||
|
10в |
982 |
74,4 |
20,5 |
7,71 |
887,1 |
102 |
|
|||||||||||||||||||||||
|
11а |
1020 |
65,8 |
19,6 |
6,82 |
934,6 |
102 |
|
|||||||||||||||||||||||
|
11б - 11e |
860 |
65,8 |
19,6 |
6,82 |
774,6 |
102 |
|
|||||||||||||||||||||||
|
12a, 12в |
763 |
65,8 |
19,6 |
6,82 |
677,6 |
102 |
|
|||||||||||||||||||||||
|
12г |
823 |
68,7 |
19,9 |
7,12 |
734,4 |
102 |
|
|||||||||||||||||||||||
|
12д |
843 |
68,7 |
19,9 |
7,12 |
754,4 |
102 |
|
|||||||||||||||||||||||
|
12е |
969 |
68,7 |
19,9 |
7,12 |
880,4 |
102 |
|
|||||||||||||||||||||||
|
в) ствол башни |
|
|||||||||||||||||||||||||||||
|
1а, 1ж |
2360 |
240 |
39,5 |
12 |
2080,5 |
405 |
|
|||||||||||||||||||||||
|
1б, 5а |
2490 |
240 |
39,5 |
12 |
2210,5 |
405 |
|
|||||||||||||||||||||||
|
1в, 3в, 6в |
2580 |
240 |
39,5 |
12 |
2300,5 |
405 |
|
|||||||||||||||||||||||
|
1г |
2450 |
240 |
39,5 |
12 |
2170,5 |
405 |
|
|||||||||||||||||||||||
|
1д, 6а |
2660 |
240 |
39,5 |
12 |
2380,5 |
405 |
|
|||||||||||||||||||||||
|
1е |
3340 |
240 |
39,5 |
12 |
3060,5 |
405 |
|
|||||||||||||||||||||||
|
2а |
3220 |
288 |
41,9 |
14,4 |
2890,1 |
405 |
|
|||||||||||||||||||||||
|
2б |
3800 |
276 |
41,3 |
13,8 |
3482,7 |
405 |
|
|||||||||||||||||||||||
|
2в |
3510 |
288 |
41,9 |
14,4 |
3180,1 |
405 |
|
|||||||||||||||||||||||
|
2г |
3020 |
336 |
44,3 |
16,8 |
2639,7 |
405 |
|
|||||||||||||||||||||||
|
3а, 4а |
2320 |
240 |
39,5 |
12 |
2040,5 |
405 |
|
|||||||||||||||||||||||
|
3б |
2420 |
240 |
39,5 |
12 |
2140,5 |
405 |
|
|||||||||||||||||||||||
|
3г, 5б |
3020 |
240 |
39,5 |
12 |
2740,5 |
405 |
|
|||||||||||||||||||||||
|
4б |
2890 |
240 |
39,5 |
12 |
2610,5 |
405 |
|
|||||||||||||||||||||||
|
6б |
2680 |
240 |
39,5 |
12 |
2400,5 |
405 |
|
|||||||||||||||||||||||
|
7а, 11б, 11г |
2720 |
276 |
41,3 |
13,8 |
2402,7 |
405 |
|
|||||||||||||||||||||||
|
7б, 7г, 12a |
2500 |
276 |
41,3 |
13,8 |
2182,7 |
405 |
|
|||||||||||||||||||||||
|
7в |
3020 |
276 |
41,3 |
13,8 |
2702,7 |
405 |
|
|||||||||||||||||||||||
|
8а |
2830 |
276 |
41,3 |
13,8 |
2512,7 |
405 |
|
|||||||||||||||||||||||
|
8б, 11в |
2890 |
276 |
41,3 |
13,8 |
2572,7 |
405 |
|
|||||||||||||||||||||||
|
8в, 12е |
2840 |
288 |
41,9 |
14,4 |
2510,1 |
405 |
|
|||||||||||||||||||||||
|
8г |
3360 |
276 |
41,3 |
13,8 |
3042,7 |
405 |
|
|||||||||||||||||||||||
|
8д |
2210 |
288 |
41,9 |
14,4 |
1880,1 |
405 |
|
|||||||||||||||||||||||
|
8e, 9в |
2590 |
288 |
41,9 |
14,4 |
2260,1 |
405 |
|
|||||||||||||||||||||||
|
9а |
3280 |
288 |
41,9 |
14,4 |
2950,1 |
405 |
|
|||||||||||||||||||||||
|
9б |
2450 |
288 |
41,9 |
14,4 |
2120,1 |
405 |
|
|||||||||||||||||||||||
|
10а |
3230 |
312 |
43,1 |
15,6 |
2874,9 |
405 |
|
|||||||||||||||||||||||
|
10б |
3060 |
312 |
43,1 |
15,6 |
2704,9 |
405 |
|
|||||||||||||||||||||||
|
10в |
3190 |
312 |
43,1 |
15,6 |
2834,9 |
405 |
|
|||||||||||||||||||||||
|
11а |
3100 |
276 |
41,3 |
13,8 |
2782,7 |
405 |
|
||||||||||||||||||||||
|
11д |
2780 |
276 |
41,3 |
13,8 |
2462,7 |
405 |
|
||||||||||||||||||||||
|
11е, 12в |
2960 |
276 |
41,3 |
13,8 |
2642,7 |
405 |
|
||||||||||||||||||||||
|
12б |
2450 |
276 |
41,3 |
13,8 |
2132,7 |
405 |
|
||||||||||||||||||||||
|
12г |
2690 |
288 |
41,9 |
14,4 |
2360,1 |
405 |
|
||||||||||||||||||||||
|
12д |
3050 |
288 |
41,9 |
14,4 |
2720,1 |
405 |
|
||||||||||||||||||||||
|
II. Монтаж металлоконструкций |
|
||||||||||||||||||||||||||||
|
1, 3-5 |
957 |
31,5 |
66,4 |
23 |
859,1 |
49,8 |
|
||||||||||||||||||||||
|
2а, 2в, 8в, 8д, 8е, 12г - 12е |
979 |
37,8 |
71 |
27,6 |
870,2 |
49,8 |
|
||||||||||||||||||||||
|
2б, 8а, 8б, 8г, 12а - 12в |
976 |
36,3 |
69,9 |
26,5 |
869,8 |
49,8 |
|
||||||||||||||||||||||
|
2г |
1000 |
44,2 |
75,6 |
32,2 |
880,2 |
49,8 |
|
||||||||||||||||||||||
|
6 |
974 |
31,5 |
66,4 |
23 |
876,1 |
49,8 |
|
||||||||||||||||||||||
|
7, 11 |
967 |
36,3 |
69,9 |
26,5 |
860,8 |
49,8 |
|
||||||||||||||||||||||
|
9 |
1000 |
37,8 |
71 |
27,6 |
891,2 |
49,8 |
|
||||||||||||||||||||||
|
10 |
1080 |
411 |
73,3 |
29,9 |
965,7 |
49,8 |
|
||||||||||||||||||||||
|
III. Электромонтажные работы |
|
||||||||||||||||||||||||||||
|
(электроосвещение, КИП, автоматика и грозозащита) |
|
||||||||||||||||||||||||||||
|
1, 3-6 |
647 |
181 |
132 |
48,6 |
334 |
319 |
|
||||||||||||||||||||||
|
2а, 2в, 8в, 8д, 9, 12г, 12д |
696 |
217 |
142 |
59,6 |
337 |
319 |
|
||||||||||||||||||||||
|
26, 7а - 8б, 8г, 11а - 12в |
683 |
208 |
139 |
57,1 |
336 |
319 |
|
||||||||||||||||||||||
|
2г |
764 |
253 |
152 |
69,5 |
359 |
319 |
|
||||||||||||||||||||||
|
8е |
741 |
217 |
142 |
59,6 |
382 |
319 |
|
||||||||||||||||||||||
|
10 |
740 |
235 |
147 |
64,5 |
358 |
319 |
|
||||||||||||||||||||||
|
12е |
721 |
217 |
142 |
59,6 |
362 |
319 |
|
||||||||||||||||||||||
|
IV. Монтаж технологических трубопроводов |
|
||||||||||||||||||||||||||||
|
1, 3-5 |
1080 |
194 |
53,4 |
19,6 |
832,6 |
342 |
|
||||||||||||||||||||||
|
2а, 2в |
1110 |
233 |
57,3 |
53,5 |
819,7 |
342 |
|
||||||||||||||||||||||
|
2б, 11 |
1100 |
223 |
56,3 |
22,5 |
820,7 |
342 |
|
||||||||||||||||||||||
|
2г |
1200 |
272 |
61,2 |
27,4 |
866,8 |
342 |
|
||||||||||||||||||||||
|
6 |
1090 |
194 |
53,4 |
19,6 |
842,6 |
342 |
|
||||||||||||||||||||||
|
7а - 8в, 8г, 12а - 12в |
1120 |
223 |
56,3 |
22,5 |
840,7 |
342 |
|
||||||||||||||||||||||
|
8в, 8д, 12г - 12е |
1130 |
233 |
57,3 |
23,5 |
839,7 |
342 |
|
||||||||||||||||||||||
|
8е - 9в |
1170 |
233 |
57,13 |
23,5 |
879,7 |
342 |
|
||||||||||||||||||||||
|
10 |
1260 |
252 |
59,3 |
25,4 |
948,7 |
342 |
|
||||||||||||||||||||||

Рис. 3. Водонапорные бесшатровые кирпичные башни со стальным баком вместимостью 50 м3, типовой проект 901-5-21/70 (к ценам № 8-13)
Водонапорная бесшатровая кирпичная башня со стальным баком вместимостью 50 м3, высотой ствола 9 м
Измеритель - 1 башня
|
Районы |
Прямые затраты, руб. |
В том числе, руб. |
Затраты труда рабочих, чел.-ч. |
||||||||||||||||||||||||||||
|
основная заработная плата |
эксплуатация машин |
материальные ресурсы |
|||||||||||||||||||||||||||||
|
всего |
в том числе заработная плата рабочих, обслуживающих машины |
||||||||||||||||||||||||||||||
|
1 |
2 |
3 |
4 |
5 |
6 |
7 |
|||||||||||||||||||||||||
|
I. Строительные работы |
|||||||||||||||||||||||||||||||
|
1а |
1940 |
177 |
79 |
26,7 |
1684 |
304 |
|||||||||||||||||||||||||
|
1б - 1г, 3в, 5а |
1980 |
177 |
79 |
26,7 |
1724 |
304 |
|||||||||||||||||||||||||
|
1д, 3г, 6а, 6в |
2060 |
177 |
79 |
26,7 |
1804 |
304 |
|||||||||||||||||||||||||
|
1е |
2300 |
177 |
79 |
26,7 |
2044 |
304 |
|||||||||||||||||||||||||
|
1ж |
1850 |
177 |
76 |
26,7 |
1597 |
304 |
|||||||||||||||||||||||||
|
2а |
2470 |
212 |
88,6 |
32,2 |
2169,4 |
304 |
|||||||||||||||||||||||||
|
2б |
2700 |
203 |
86,9 |
30,5 |
2410,1 |
304 |
|||||||||||||||||||||||||
|
2в |
2610 |
212 |
88,6 |
32,2 |
2309,4 |
304 |
|||||||||||||||||||||||||
|
2г |
2580 |
248 |
97 |
37,6 |
2235 |
304 |
|||||||||||||||||||||||||
|
3а, 4а |
1900 |
177 |
74,8 |
26,7 |
1648,2 |
304 |
|||||||||||||||||||||||||
|
3б |
1890 |
177 |
76 |
26,7 |
1637 |
304 |
|||||||||||||||||||||||||
|
4б |
2120 |
177 |
79 |
26,7 |
1864 |
304 |
|||||||||||||||||||||||||
|
5б |
2180 |
177 |
83,7 |
26,7 |
1919,3 |
304 |
|||||||||||||||||||||||||
|
6б |
2030 |
177 |
76 |
26,7 |
1777 |
304 |
|||||||||||||||||||||||||
|
7а |
2100 |
203 |
82,8 |
30,5 |
1814,2 |
304 |
|||||||||||||||||||||||||
|
7б |
2010 |
203 |
82,8 |
30,5 |
1724,2 |
304 |
|||||||||||||||||||||||||
|
7в, 11д |
2180 |
203 |
83,9 |
30,5 |
1893,1 |
304 |
|||||||||||||||||||||||||
|
7г |
1990 |
203 |
82,8 |
30,5 |
1704,2 |
304 |
|||||||||||||||||||||||||
|
8а, 11б, 11г |
2160 |
203 |
82,8 |
30,5 |
1874,2 |
304 |
|||||||||||||||||||||||||
|
8б, 11e |
2240 |
203 |
82,8 |
30,5 |
1954,2 |
304 |
|||||||||||||||||||||||||
|
8в |
2250 |
212 |
86,2 |
3.2,2 |
1951,8 |
304 |
|||||||||||||||||||||||||
|
8г |
2780 |
203 |
85,1 |
30,5 |
2491,9 |
304 |
|||||||||||||||||||||||||
|
8д |
1980 |
212 |
86,2 |
32,2 |
1681,8 |
304 |
|||||||||||||||||||||||||
|
8е |
2510 |
212 |
88,6 |
32,2 |
2209,4 |
304 |
|||||||||||||||||||||||||
|
9а |
2420 |
212 |
88,6 |
32,2 |
2119,4 |
304 |
|||||||||||||||||||||||||
|
9б, 12г |
2080 |
212 |
84,1 |
32,2 |
1783,9 |
304 |
|||||||||||||||||||||||||
|
9в |
2550 |
212 |
88,6 |
32,2 |
2249,4 |
304 |
|||||||||||||||||||||||||
|
10а |
2480 |
230 |
88,9 |
34,9 |
2161,1 |
304 |
|||||||||||||||||||||||||
|
10б, 10в |
2450 |
230 |
88,9 |
34,9 |
2131,1 |
304 |
|||||||||||||||||||||||||
|
10а |
2450 |
203 |
86,9 |
30,5 |
2160,1 |
304 |
|||||||||||||||||||||||||
|
11в |
2220 |
203 |
82,8 |
30,5 |
1934,2 |
304 |
|||||||||||||||||||||||||
|
12а |
1930 |
203 |
79,8 |
30,5 |
1647,2 |
304 |
|||||||||||||||||||||||||
|
12б |
1960 |
203 |
82,8 |
30,5 |
1674,2 |
304 |
|
||||||||||||||||||||||||
|
12в |
2050 |
203 |
79,8 |
30,5 |
1767,2 |
304 |
|
||||||||||||||||||||||||
|
12д |
2210 |
212 |
82 |
32,2 |
1916 |
304 |
|
||||||||||||||||||||||||
|
12е |
2310 |
212 |
88,6 |
32,2 |
2009,4 |
304 |
|
||||||||||||||||||||||||
|
В том числе: |
|
||||||||||||||||||||||||||||||
|
а) земляные работы |
|
||||||||||||||||||||||||||||||
|
1a - 1e, 3в, 3г, 4б, 5а, 6а, 6в |
67,2 |
21,9 |
45,3 |
16,1 |
- |
36,5 |
|
||||||||||||||||||||||||
|
1ж, 36, 4а, 6б |
64,2 |
21,9 |
42,3 |
16,1 |
- |
36,5 |
|
||||||||||||||||||||||||
|
2а, 2в, 8е, 9а, 9в, 12е |
79 |
26,3 |
52,7 |
19,4 |
- |
36,5 |
|
||||||||||||||||||||||||
|
2б, 11а |
76,8 |
25,2 |
51,6 |
18,3 |
- |
36,5 |
|
||||||||||||||||||||||||
|
2г |
89,7 |
30,7 |
59 |
22,8 |
- |
36,5 |
|
||||||||||||||||||||||||
|
3а |
61,8 |
21,9 |
39,9 |
16,1 |
- |
36,5 |
|
||||||||||||||||||||||||
|
5б |
71,9 |
21,9 |
50 |
16,1 |
- |
36,5 |
|
||||||||||||||||||||||||
|
7а, 7б, 7г - 8б, 11б - 11е, 12б |
72,6 |
25,2 |
47,4 |
18,3 |
- |
36,5 |
|
||||||||||||||||||||||||
|
7в, 8г |
75 |
25,2 |
49,8 |
18,3 |
- |
36,5 |
|
||||||||||||||||||||||||
|
8в, 8д, 9б |
76,6 |
26,3 |
50,3 |
19,4 |
- |
36,5 |
|
||||||||||||||||||||||||
|
10 |
80,5 |
28,5 |
52 |
21,1 |
- |
36,5 |
|
||||||||||||||||||||||||
|
12а, 12в |
69,7 |
25,2 |
44,5 |
18,3 |
- |
36,5 |
|
||||||||||||||||||||||||
|
12г, 12д |
72,5 |
26,3 |
46,2 |
19,4 |
- |
36,5 |
|
||||||||||||||||||||||||
|
б) фундаменты |
|
||||||||||||||||||||||||||||||
|
1a, 1б, 4б, 5а |
659 |
32,8 |
11,3 |
3,45 |
614,9 |
59,2 |
|
||||||||||||||||||||||||
|
1в, 3а, 4а, 5б, 6б |
640 |
32,8 |
11,3 |
3,45 |
595,9 |
59,2 |
|
||||||||||||||||||||||||
|
1г - 1е, 6а, 6в |
676 |
32,8 |
11,3 |
3,45 |
631,9 |
59,2 |
|
||||||||||||||||||||||||
|
1ж |
591 |
32,8 |
11,3 |
3,45 |
546,9 |
59,2 |
|
||||||||||||||||||||||||
|
2а |
820 |
39,3 |
12 |
4,14 |
768,7 |
59,2 |
|
||||||||||||||||||||||||
|
2б |
858 |
37,7 |
11,8 |
3,97 |
808,5 |
59,2 |
|
||||||||||||||||||||||||
|
2в |
860 |
39,3 |
12 |
4,14 |
808,7 |
59,2 |
|
||||||||||||||||||||||||
|
2г |
928 |
45,9 |
12,7 |
4,83 |
869,4 |
59,2 |
|
||||||||||||||||||||||||
|
3б |
612 |
32,8 |
11,3 |
3,45 |
567,9 |
59,2 |
|
||||||||||||||||||||||||
|
3а |
630 |
32,8 |
11,3 |
3,45 |
585,9 |
59,2 |
|
||||||||||||||||||||||||
|
3г |
580 |
32,8 |
11,3 |
3,45 |
535,9 |
59,2 |
|
||||||||||||||||||||||||
|
7а - 7в |
666 |
37,7 |
11,8 |
3,97 |
616,5 |
59,2 |
|
||||||||||||||||||||||||
|
7г, 12б |
643 |
37,7 |
11,8 |
3,97 |
593,5 |
59,2 |
|
||||||||||||||||||||||||
|
8а |
679 |
37,7 |
11,8 |
3,97 |
629,5 |
59,2 |
|
||||||||||||||||||||||||
|
8б |
746 |
37,7 |
11,8 |
3,97 |
696,5 |
59,2 |
|
||||||||||||||||||||||||
|
8в, 9а, 9в |
763 |
39,3 |
12 |
4,14 |
711,7 |
59,2 |
|
||||||||||||||||||||||||
|
8г |
1060 |
37,7 |
11,8 |
3,97 |
1010,5 |
59,2 |
|
||||||||||||||||||||||||
|
8д |
710 |
39,3 |
12 |
4,14 |
658,7 |
59,2 |
|
||||||||||||||||||||||||
|
8е |
1010 |
39,3 |
12 |
4,14 |
958,7 |
59,2 |
|
||||||||||||||||||||||||
|
9б |
723 |
39,3 |
12 |
4,14 |
671,7 |
59,2 |
|
||||||||||||||||||||||||
|
10а, 10б |
818 |
42,6 |
12,4 |
4,49 |
768 |
59,2 |
|
||||||||||||||||||||||||
|
10в |
791 |
42,6 |
12,4 |
4,49 |
736 |
59,2 |
|
||||||||||||||||||||||||
|
11а |
821 |
37,7 |
11,8 |
3,97 |
771,5 |
59,2 |
|
||||||||||||||||||||||||
|
11б - 11е |
694 |
37,7 |
11,8 |
3,97 |
644,5 |
59,2 |
|
||||||||||||||||||||||||
|
12а |
618 |
37,7 |
11,8 |
3,97 |
568,5 |
59,2 |
|
||||||||||||||||||||||||
|
12в |
577 |
37,7 |
11,8 |
3,97 |
527,5 |
59,2 |
|
||||||||||||||||||||||||
|
12г |
673 |
39,3 |
12 |
4,14 |
621,7 |
59,2 |
|
||||||||||||||||||||||||
|
12д |
684 |
39,3 |
12 |
4,14 |
632,7 |
59,2 |
|
||||||||||||||||||||||||
|
12е |
803 |
39,3 |
12 |
4,14 |
751,7 |
59,2 |
|
||||||||||||||||||||||||
|
в) ствол башни |
|
||||||||||||||||||||||||||||||
|
1а, 3б |
960 |
84,7 |
17,8 |
5,56 |
867,5 |
142 |
|
||||||||||||||||||||||||
|
1б, 1г, 5а |
994 |
84,7 |
17,8 |
5,56 |
891,5 |
142 |
|
||||||||||||||||||||||||
|
1в, 3в |
1020 |
84,7 |
17,8 |
5,56 |
917,5 |
142 |
|
||||||||||||||||||||||||
|
1д, 6а, 6б |
1060 |
84,7 |
17,8 |
5,56 |
957,5 |
142 |
|
||||||||||||||||||||||||
|
1е |
1300 |
84,7 |
17,8 |
5,56 |
1197,5 |
142 |
|
||||||||||||||||||||||||
|
1ж, 3а, 4а |
937 |
84,7 |
17,8 |
5,56 |
834,5 |
142 |
|
||||||||||||||||||||||||
|
2а |
1270 |
102 |
18,9 |
6,68 |
1149,1 |
142 |
|
||||||||||||||||||||||||
|
2б |
1480 |
97,4 |
18,6 |
6,4 |
1364 |
142 |
|
||||||||||||||||||||||||
|
2в |
1380 |
102 |
18,9 |
6,68 |
1259,1 |
142 |
|
||||||||||||||||||||||||
|
2г |
1240 |
119 |
20 |
7,79 |
1101 |
142 |
|
||||||||||||||||||||||||
|
3г |
1170 |
84,7 |
17,8 |
5,56 |
1067,5 |
142 |
|
||||||||||||||||||||||||
|
4б |
1140 |
84,7 |
17,8 |
5,56 |
1037,5 |
142 |
|
||||||||||||||||||||||||
|
5б |
1180 |
84,7 |
17,8 |
5,56 |
1077,5 |
142 |
|
||||||||||||||||||||||||
|
6в |
1040 |
84,7 |
17,8 |
5,56 |
937,5 |
142 |
|
||||||||||||||||||||||||
|
7а, 11б, 11г |
1090 |
97,4 |
18,6 |
6,4 |
974 |
142 |
|
||||||||||||||||||||||||
|
7б, 7г, 12а |
1000 |
97,4 |
18,6 |
6,4 |
884 |
142 |
|
||||||||||||||||||||||||
|
7в |
1180 |
97,4 |
18,6 |
6,4 |
1064 |
142 |
|
||||||||||||||||||||||||
|
8а |
1120 |
97,4 |
18,6 |
6,4 |
1004 |
142 |
|
||||||||||||||||||||||||
|
8б, 11в, 12в |
1150 |
97,4 |
18,6 |
6,4 |
1034 |
142 |
|
||||||||||||||||||||||||
|
8в |
1130 |
102 |
18,9 |
6,68 |
1009,1 |
142 |
|
||||||||||||||||||||||||
|
8г |
1360 |
97,4 |
18,6 |
6,4 |
1244 |
142 |
|
||||||||||||||||||||||||
|
8д |
910 |
102 |
18,9 |
6,68 |
789,1 |
142 |
|
||||||||||||||||||||||||
|
8е |
1090 |
102 |
18,9 |
6,68 |
969,1 |
142 |
|
||||||||||||||||||||||||
|
9а |
1290 |
102 |
18,9 |
6,68 |
1169,1 |
142 |
|
||||||||||||||||||||||||
|
9б |
992 |
102 |
18,9 |
6,68 |
871,1 |
142 |
|
||||||||||||||||||||||||
|
9в |
1040 |
102 |
18,9 |
6,68 |
919,1 |
142 |
|
||||||||||||||||||||||||
|
10а |
1280 |
110 |
19,5 |
7,23 |
1150,5 |
142 |
|
||||||||||||||||||||||||
|
10б |
1220 |
110 |
19,5 |
7,23 |
1090,5 |
142 |
|
||||||||||||||||||||||||
|
10в |
1260 |
110 |
19,5 |
7,23 |
1130,5 |
142 |
|
||||||||||||||||||||||||
|
11а |
1240 |
97,4 |
18,6 |
6,4 |
1124 |
142 |
|
||||||||||||||||||||||||
|
11д |
1110 |
97,4 |
18,6 |
6,4 |
994 |
142 |
|
||||||||||||||||||||||||
|
11e |
1170 |
97,4 |
18,6 |
6,4 |
1054 |
142 |
|
||||||||||||||||||||||||
|
12б |
982 |
97,4 |
18,6 |
6,4 |
866 |
142 |
|
||||||||||||||||||||||||
|
12г |
1070 |
102 |
18,9 |
6,68 |
949,1 |
142 |
|
||||||||||||||||||||||||
|
12д |
1200 |
102 |
18,9 |
6,68 |
1079,1 |
142 |
|
||||||||||||||||||||||||
|
12е |
1150 |
102 |
18,9 |
6,68 |
1029,1 |
142 |
|
||||||||||||||||||||||||
|
II. Монтаж металлоконструкций |
|
||||||||||||||||||||||||||||||
|
1, 3 - 5 |
1240 |
40 |
84,8 |
28,7 |
1115,2 |
62,1 |
|
||||||||||||||||||||||||
|
2а, 2в, 8в, 8д, 8е, 12г - 12е |
1270 |
48,1 |
90,6 |
34,5 |
1131,3 |
62,1 |
|
||||||||||||||||||||||||
|
26, 8а, 8б, 8г, 12а - 12в |
1270 |
46,1 |
89,1 |
33 |
1134,8 |
62,1 |
|
||||||||||||||||||||||||
|
2г |
1300 |
56,1 |
96,3 |
40,2 |
1147,6 |
62,1 |
|
||||||||||||||||||||||||
|
6 |
1270 |
40 |
84,8 |
28,7 |
1145,2 |
62,1 |
|
||||||||||||||||||||||||
|
7, 11 |
1260 |
46,1 |
89,1 |
33 |
1124,8 |
62,1 |
|
||||||||||||||||||||||||
|
9 |
1300 |
48,1 |
90,6 |
34,5 |
1161,3 |
62,1 |
|
||||||||||||||||||||||||
|
10 |
1410 |
52,1 |
93,4 |
37,4 |
1264,5 |
62,1 |
|
||||||||||||||||||||||||
|
III. Электромонтажные работы |
|
||||||||||||||||||||||||||||||
|
(электроосвещение, КИП, автоматика и грозозащита) |
|
||||||||||||||||||||||||||||||
|
1, 3 - 6 |
586 |
164 |
119 |
44,9 |
303 |
289 |
|
||||||||||||||||||||||||
|
2а, 2в, 8в, 8д, 9, 12г, 12д |
630 |
196 |
128 |
63,9 |
306 |
289 |
|
||||||||||||||||||||||||
|
2б, 7а - 8б, 8г, 11а - 12в |
618 |
188 |
126 |
51,7 |
304 |
289 |
|
||||||||||||||||||||||||
|
2г |
691 |
229 |
137 |
62,9 |
325 |
289 |
|
||||||||||||||||||||||||
|
8е |
671 |
196 |
128 |
53,9 |
347 |
289 |
|
||||||||||||||||||||||||
|
10 |
670 |
213 |
133 |
58,4 |
334 |
289 |
|
||||||||||||||||||||||||
|
12е |
653 |
196 |
128 |
53,9 |
329 |
289 |
|
||||||||||||||||||||||||
|
IV. Монтаж технологических трубопроводов |
|
||||||||||||||||||||||||||||||
|
1, 3 - 5 |
768 |
138 |
38,1 |
14 |
591,9 |
244 |
|
||||||||||||||||||||||||
|
2а, 2в |
792 |
166 |
40,9 |
16,8 |
585,1 |
244 |
|
||||||||||||||||||||||||
|
2б, 11 |
788 |
159 |
40,2 |
16,1 |
588,8 |
244 |
|
||||||||||||||||||||||||
|
2г |
853 |
194 |
43,7 |
19,6 |
615,3 |
244 |
|
||||||||||||||||||||||||
|
6 |
780 |
138 |
38,1 |
14 |
603,9 |
244 |
|
||||||||||||||||||||||||
|
7а - 8б, 8г, 12а - 12в |
800 |
159 |
40,2 |
16,1 |
600,8 |
244 |
|
||||||||||||||||||||||||
|
8в, 8д, 12г - 15е |
808 |
166 |
40,9 |
16,8 |
601,1 |
244 |
|
||||||||||||||||||||||||
|
8е - 9в |
837 |
166 |
40,9 |
16,8 |
630,1 |
244 |
|
||||||||||||||||||||||||
|
10 |
903 |
180 |
42,3 |
18,2 |
680,7 |
244 |
|
||||||||||||||||||||||||
|
РАЙОННАЯ ЦЕНА № 9 |
|
||||||||||||||||||||||||||||||
|
Водонапорная бесшатровая кирпичная башня со стальным баком вместимостью 50 м3, высотой ствола 112 м |
|
||||||||||||||||||||||||||||||
|
Измеритель - 1 башня |
|
||||||||||||||||||||||||||||||
|
I. Строительные работы |
|
||||||||||||||||||||||||||||||
|
1а |
2220 |
210 |
83,8 |
28,2 |
1926,2 |
360 |
|
||||||||||||||||||||||||
|
1б, 1г, 3в, 5а |
2280 |
210 |
83,8 |
28,2 |
1986,2 |
360 |
|
||||||||||||||||||||||||
|
1в |
2300 |
210 |
83,8 |
28,2 |
2006,2 |
360 |
|
||||||||||||||||||||||||
|
1д, 6 |
2370 |
210 |
82,4 |
28,2 |
2077,6 |
360 |
|
||||||||||||||||||||||||
|
1е |
2700 |
210 |
83,8 |
28,2 |
2406,2 |
360 |
|
||||||||||||||||||||||||
|
1ж |
2140 |
210 |
80,9 |
28,2 |
1849,1 |
360 |
|
||||||||||||||||||||||||
|
2а, 9в |
2860 |
252 |
93,8 |
34 |
2514,2 |
360 |
|
||||||||||||||||||||||||
|
2б |
3150 |
241 |
92 |
32,2 |
2817 |
360 |
|
||||||||||||||||||||||||
|
2в |
3030 |
252 |
93,8 |
34 |
2684,2 |
360 |
|
||||||||||||||||||||||||
|
2г |
2940 |
294 |
102 |
39,7 |
2644 |
360 |
|
||||||||||||||||||||||||
|
3а, 3б, 4а |
2180 |
210 |
79,7 |
28,2 |
1890,3 |
360 |
|
||||||||||||||||||||||||
|
3г |
2430 |
210 |
83,8 |
28,2 |
2136,2 |
360 |
|
||||||||||||||||||||||||
|
4б |
2460 |
210 |
83,8 |
28,2 |
2166,2 |
360 |
|
||||||||||||||||||||||||
|
5б |
2540 |
210 |
88,6 |
28,2 |
2241,4 |
360 |
|
||||||||||||||||||||||||
|
7а, 12в |
2420 |
241 |
86,4 |
32,2 |
2092,6 |
360 |
|
||||||||||||||||||||||||
|
7б, 7г |
2300 |
241 |
87,9 |
32,2 |
1971,1 |
360 |
|
||||||||||||||||||||||||
|
7в, 11в |
2560 |
241 |
89 |
32,2 |
2230 |
360 |
|
||||||||||||||||||||||||
|
8а, 11б, 11г, 11д |
2490 |
241 |
87,9 |
32,2 |
2161,1 |
360 |
|
||||||||||||||||||||||||
|
8б, 11e |
2590 |
241 |
87,9 |
32,2 |
2261,1 |
360 |
|
||||||||||||||||||||||||
|
8в, 12д |
2580 |
252 |
89,3 |
34 |
2238,7 |
360 |
|
||||||||||||||||||||||||
|
8г |
3180 |
241 |
90,2 |
32,2 |
2848,8 |
360 |
|
||||||||||||||||||||||||
|
8д |
2240 |
252 |
91,4 |
34 |
1896,6 |
360 |
|
||||||||||||||||||||||||
|
8е, 9а |
2810 |
252 |
93,8 |
34 |
2464,2 |
360 |
|
||||||||||||||||||||||||
|
9б |
2380 |
252 |
91,4 |
34 |
2036,6 |
360 |
|
||||||||||||||||||||||||
|
10а |
2870 |
273 |
94,3 |
36,8 |
2502,7 |
360 |
|
||||||||||||||||||||||||
|
10б, 10в |
2820 |
273 |
94,3 |
36,8 |
2452,7 |
360 |
|
||||||||||||||||||||||||
|
11а |
2820 |
241 |
92 |
32,2 |
2487 |
360 |
|
||||||||||||||||||||||||
|
12а, 12б |
2240 |
241 |
86,4 |
32,2 |
1912,6 |
360 |
|
||||||||||||||||||||||||
|
12г |
2400 |
252 |
87,2 |
34 |
2060,8 |
360 |
|
||||||||||||||||||||||||
|
12е |
2650 |
252 |
93,8 |
34 |
2304,2 |
360 |
|
||||||||||||||||||||||||
|
В том числе: |
|
||||||||||||||||||||||||||||||
|
а) земляные работы |
|
||||||||||||||||||||||||||||||
|
1a - 1e, 3в, 3г, 4б, 5а, 6а, 6в |
67,2 |
21,9 |
45,3 |
16,1 |
- |
36,5 |
|
||||||||||||||||||||||||
|
1ж, 3б, 4а, 6б |
64,2 |
21,9 |
42,3 |
16,1 |
- |
36,5 |
|
||||||||||||||||||||||||
|
2а, 2в, 8е, 9а, 9в, 12е |
79 |
26,3 |
52,7 |
19,4 |
- |
36,5 |
|
||||||||||||||||||||||||
|
2б, 11а |
76,8 |
25,2 |
51,6 |
18,3 |
- |
36,5 |
|
||||||||||||||||||||||||
|
2г |
89,7 |
30,7 |
59 |
22,8 |
- |
36,5 |
|
||||||||||||||||||||||||
|
3а |
61,8 |
21,9 |
39,9 |
16,1 |
- |
36,5 |
|
||||||||||||||||||||||||
|
5б |
71,9 |
21,9 |
50 |
16,1 |
- |
36,5 |
|
||||||||||||||||||||||||
|
7а, 7б, 7г - 8б, 11б - 11e, 12б |
72,6 |
25,2 |
47,4 |
18,3 |
- |
36,5 |
|
||||||||||||||||||||||||
|
7в, 8г |
75 |
25,2 |
49,8 |
18,3 |
- |
36,5 |
|
||||||||||||||||||||||||
|
8в, 8д, 9б |
76,6 |
26,3 |
50,3 |
19,4 |
- |
36,5 |
|
||||||||||||||||||||||||
|
10 |
80,5 |
28,5 |
52 |
21,1 |
- |
36,5 |
|
||||||||||||||||||||||||
|
12а, 12в |
68,7 |
25,2 |
44,5 |
18,3 |
- |
36,5 |
|
||||||||||||||||||||||||
|
12г, 12д |
72.5 |
26,3 |
46,2 |
19,4 |
- |
36,5 |
|
||||||||||||||||||||||||
|
б) фундаменты |
|
||||||||||||||||||||||||||||||
|
1a, 1б, 4б, 5а |
669 |
32,8 |
11,3 |
3,45 |
614,9 |
59,2 |
|
||||||||||||||||||||||||
|
1в, 3а, 4а, 5б, 6б |
640 |
32,8 |
11,3 |
3,45 |
595,9 |
59,2 |
|
||||||||||||||||||||||||
|
1г - 1е, 6а, 6в |
676 |
32,8 |
11,3 |
3,45 |
631,9 |
59,2 |
|
||||||||||||||||||||||||
|
1ж |
591 |
32,8 |
11,3 |
3,46 |
546,9 |
59,2 |
|
||||||||||||||||||||||||
|
2а |
820 |
39,3 |
12 |
4,14 |
768,7 |
59,2 |
|
||||||||||||||||||||||||
|
2б |
868 |
37,7 |
11,8 |
3,97 |
808,5 |
59,2 |
|
||||||||||||||||||||||||
|
2в |
860 |
39,3 |
12 |
4,14 |
808,7 |
59,2 |
|
||||||||||||||||||||||||
|
2г |
928 |
46,9 |
12,7 |
4,83 |
869,4 |
59,2 |
|
||||||||||||||||||||||||
|
3б |
612 |
32,8 |
11,3 |
3,45 |
567,9 |
59,2 |
|
||||||||||||||||||||||||
|
3в |
680 |
32,8 |
11,3 |
3,45 |
585,9 |
59,2 |
|
||||||||||||||||||||||||
|
3г |
580 |
32,8 |
11,3 |
3,45 |
585,9 |
59,2 |
|
||||||||||||||||||||||||
|
7а - 7в |
666 |
37,7 |
11,8 |
3,97 |
616,5 |
59,2 |
|
||||||||||||||||||||||||
|
7г, 12б |
643 |
37,7 |
11,8 |
3,97 |
593,5 |
59,2 |
|
||||||||||||||||||||||||
|
8а |
679 |
37,7 |
11,8 |
3,97 |
629,5 |
59,2 |
|
||||||||||||||||||||||||
|
8б |
746 |
37,7 |
11,8 |
3,97 |
696,5 |
59,2 |
|
||||||||||||||||||||||||
|
8в, 9а, 9в |
763 |
39,3 |
12 |
4,14 |
711,7 |
59,2 |
|
||||||||||||||||||||||||
|
8г |
1060 |
37,7 |
11,8 |
3,97 |
1010,5 |
59,2 |
|
||||||||||||||||||||||||
|
8д |
710 |
39,3 |
12 |
4,14 |
658,7 |
59,2 |
|
||||||||||||||||||||||||
|
8е |
1010 |
39,3 |
12 |
4,14 |
958,7 |
59,2 |
|
||||||||||||||||||||||||
|
9б |
723 |
39,3 |
12 |
4,14 |
671,7 |
59,2 |
|
||||||||||||||||||||||||
|
10а, 10б |
818 |
42,6 |
12,4 |
4,49 |
768 |
59,2 |
|
||||||||||||||||||||||||
|
10в |
791 |
42,6 |
12,4 |
4,49 |
736 |
59,2 |
|
||||||||||||||||||||||||
|
11а |
821 |
37,7 |
11,8 |
3,97 |
771,5 |
59,2 |
|
||||||||||||||||||||||||
|
11б - 11e |
694 |
37,7 |
11,8 |
3,97 |
644,5 |
59,2 |
|
||||||||||||||||||||||||
|
12а |
618 |
37,7 |
11,8 |
3,97 |
568,5 |
59,2 |
|
||||||||||||||||||||||||
|
12в |
577 |
37,7 |
11,8 |
3,97 |
527,5 |
59,2 |
|
||||||||||||||||||||||||
|
12г |
673 |
39,3 |
12 |
4,14 |
621,7 |
59,2 |
|
||||||||||||||||||||||||
|
12д |
684 |
39,3 |
12 |
4,14 |
632,7 |
59,2 |
|
||||||||||||||||||||||||
|
12е |
803 |
39,3 |
12 |
4,14 |
751,7 |
59,2 |
|
||||||||||||||||||||||||
|
в) ствол башни |
|
||||||||||||||||||||||||||||||
|
1а |
1230 |
110 |
22,6 |
7,04 |
1097,4 |
184 |
|
||||||||||||||||||||||||
|
1б, 1г, 5а |
1280 |
110 |
22,6 |
7,04 |
1147,4 |
184 |
|
||||||||||||||||||||||||
|
1в, 3в, 6в |
1320 |
110 |
22,6 |
7,04 |
1187,4 |
184 |
|
||||||||||||||||||||||||
|
1д, 6а, 6б |
1360 |
110 |
22,6 |
7,04 |
1227,4 |
184 |
|
||||||||||||||||||||||||
|
1e |
1680 |
110 |
22,6 |
7,04 |
1547,4 |
184 |
|
||||||||||||||||||||||||
|
1ж, 4а |
1210 |
110 |
22,6 |
7,04 |
1077,4 |
184 |
|
||||||||||||||||||||||||
|
2а |
1640 |
132 |
24 |
8,45 |
1484 |
184 |
|
||||||||||||||||||||||||
|
2б |
1920 |
126 |
23,6 |
8,1 |
1770,4 |
184 |
|
||||||||||||||||||||||||
|
2в |
1780 |
132 |
24 |
8,45 |
1624 |
184 |
|
||||||||||||||||||||||||
|
2г |
1580 |
154 |
25,4 |
9,86 |
1400,6 |
184 |
|
||||||||||||||||||||||||
|
3а |
1200 |
110 |
22,6 |
7,04 |
1067,4 |
184 |
|
||||||||||||||||||||||||
|
3б |
1240 |
110 |
22,6 |
7,04 |
1107 |
184 |
|
||||||||||||||||||||||||
|
3г |
1510 |
110 |
2.2,6 |
7,04 |
1377,4 |
184 |
|
||||||||||||||||||||||||
|
4б |
1470 |
110 |
22,6 |
7,04 |
1337,4 |
184 |
|
||||||||||||||||||||||||
|
5б |
1530 |
110 |
22,6 |
7,04 |
1397,4 |
184 |
|
||||||||||||||||||||||||
|
7а, 11б,11г |
1400 |
126 |
23,6 |
8,1 |
1250,4 |
184 |
|
||||||||||||||||||||||||
|
7б, 7г, 12а |
1290 |
126 |
23,6 |
8,1 |
1140,4 |
184 |
|
||||||||||||||||||||||||
|
7в |
1530 |
126 |
23,6 |
8,1 |
1380,4 |
184 |
|
||||||||||||||||||||||||
|
8а |
1440 |
126 |
23,6 |
8,1 |
1290,4 |
184 |
|
||||||||||||||||||||||||
|
8б, 11в, 12в |
1480 |
126 |
23,6 |
8,1 |
1330,4 |
184 |
|
||||||||||||||||||||||||
|
8в |
1460 |
132 |
24 |
8,45 |
1304 |
184 |
|
||||||||||||||||||||||||
|
8г |
1740 |
126 |
213,6 |
8,1 |
1590,4 |
184 |
|
||||||||||||||||||||||||
|
8д |
1160 |
132 |
24 |
8,45 |
1004 |
184 |
|
||||||||||||||||||||||||
|
8е,12г |
1380 |
132 |
24 |
8,45 |
1224 |
184 |
|
||||||||||||||||||||||||
|
9а |
1660 |
132 |
24 |
8,45 |
1504 |
184 |
|
||||||||||||||||||||||||
|
9б |
1270 |
132 |
24 |
8,45 |
1114 |
184 |
|
||||||||||||||||||||||||
|
9в |
1340 |
132 |
24 |
8,45 |
1184 |
184 |
|
||||||||||||||||||||||||
|
10а |
1650 |
143 |
24,7 |
9,16 |
1482,3 |
184 |
|
||||||||||||||||||||||||
|
10б |
1570 |
143 |
24,7 |
9,16 |
1402,3 |
184 |
|
|||||||||||||||||||||||||
|
10в |
1630 |
143 |
24,7 |
9,16 |
1462,3 |
184 |
|
|||||||||||||||||||||||||
|
11а |
1590 |
126 |
23,6 |
8,1 |
1440,4 |
184 |
|
|||||||||||||||||||||||||
|
11д |
1430 |
126 |
23,6 |
8,1 |
1280,4 |
184 |
|
|||||||||||||||||||||||||
|
11e |
1500 |
126 |
23,6 |
8,1 |
1350,4 |
184 |
|
|||||||||||||||||||||||||
|
12б |
1260 |
126 |
23,6 |
8,1 |
1110,4 |
184 |
|
|||||||||||||||||||||||||
|
12д |
1550 |
132 |
24 |
8,45 |
1394 |
184 |
|
|||||||||||||||||||||||||
|
12е |
1480 |
132 |
24 |
8,45 |
1324 |
184 |
|
|||||||||||||||||||||||||
|
II. Монтаж металлоконструкций |
|
|||||||||||||||||||||||||||||||
|
1, 3 - 5 |
1270 |
40,8 |
86,6 |
29,4 |
1142,6 |
63,4 |
|
|||||||||||||||||||||||||
|
2а, 2в, 8в, 8д, 8е, 12г - 12е |
1300 |
49 |
92,5 |
35,3 |
1158,5 |
63,4 |
|
|||||||||||||||||||||||||
|
2б, 8а, 8б, 8г, 12а - 12в |
1290 |
47 |
91 |
33,8 |
1152 |
63,4 |
|
|||||||||||||||||||||||||
|
2г |
1320 |
57,2 |
98,4 |
41,2 |
1164,4 |
63,4 |
|
|||||||||||||||||||||||||
|
6 |
1290 |
40,8 |
86,6 |
29,4 |
1162,6 |
63,4 |
|
|||||||||||||||||||||||||
|
7, 11 |
1280 |
47 |
91 |
33,8 |
1142 |
63,4 |
|
|||||||||||||||||||||||||
|
9 |
1330 |
49 |
92,5 |
35,3 |
1188,5 |
63,4 |
|
|||||||||||||||||||||||||
|
10 |
1440 |
53,1 |
95,5 |
38,2 |
1291,4 |
63,4 |
|
|||||||||||||||||||||||||
|
III. Электромонтажные работы |
|
|||||||||||||||||||||||||||||||
|
(электроосвещение, КИП, автоматика и грозозащита) |
|
|||||||||||||||||||||||||||||||
|
1, 3 - 6 |
586 |
164 |
119 |
44,9 |
303 |
289 |
|
|||||||||||||||||||||||||
|
2а, 2в, 8в, 8д, 9, 12г, 12д |
630 |
196 |
128 |
53,9 |
306 |
289 |
|
|||||||||||||||||||||||||
|
2б, 7а - 8б, 8г, 11а-12в |
618 |
188 |
126 |
51,7 |
304 |
289 |
|
|||||||||||||||||||||||||
|
2г |
691 |
229 |
137 |
62,9 |
325 |
289 |
|
|||||||||||||||||||||||||
|
8е |
671 |
196 |
128 |
53,9 |
347 |
289 |
|
|||||||||||||||||||||||||
|
10 |
670 |
213 |
133 |
58,4 |
324 |
289 |
|
|||||||||||||||||||||||||
|
12е |
653 |
196 |
128 |
33,9 |
329 |
289 |
|
|||||||||||||||||||||||||
|
IV. Монтаж технологических трубопроводов |
|
|||||||||||||||||||||||||||||||
|
1, 3 - 5 |
859 |
155 |
42,6 |
15,6 |
661,4 |
273 |
|
|||||||||||||||||||||||||
|
2а, 2в |
886 |
186 |
45,7 |
18,7 |
654,3 |
273 |
|
|||||||||||||||||||||||||
|
2б, 11 |
881 |
178 |
44,9 |
18 |
658,1 |
273 |
|
|||||||||||||||||||||||||
|
2г |
954 |
217 |
48,8 |
21,9 |
688,2 |
273 |
|
|||||||||||||||||||||||||
|
6 |
872 |
155 |
42,6 |
15,6 |
674,4 |
273 |
|
|||||||||||||||||||||||||
|
7а - 8б, 8г, 12а - 12в |
894 |
178 |
44,9 |
18 |
671,1 |
273 |
|
|||||||||||||||||||||||||
|
8в, 8д, 12г - 12е |
903 |
186 |
45,7 |
18,7 |
671,3 |
273 |
|
|||||||||||||||||||||||||
|
8е - 9в |
936 |
186 |
45,7 |
18,7 |
704,3 |
273 |
|
|||||||||||||||||||||||||
|
10 |
1010 |
201 |
47,3 |
20,3 |
761,7 |
273 |
|
|||||||||||||||||||||||||
РАЙОННАЯ ЦЕНА № 10
Водонапорная бесшатровая кирпичная башня со стальным баком вместимостью 50 м3, высотой ствола 15 м
Измеритель - 1 башня
|
Районы |
Прямые затраты, руб. |
В том числе, руб. |
Затараты труда рабочих, чел.-ч. |
|
||||||||||
|
основная заработная плата рабочих |
эксплуатация машин |
материальные ресурсы |
|
|||||||||||
|
всего |
в том числе заработная плата рабочих, обслуживающих машины |
|
||||||||||||
|
1 |
2 |
3 |
4 |
5 |
6 |
7 |
|
|||||||
|
I. Строительные работы |
|
|||||||||||||
|
1а |
2660 |
251 |
98,5 |
33,4 |
2310,5 |
430 |
|
|||||||
|
1б, 1г, 3в, 5а |
2740 |
251 |
98,5 |
33,4 |
2390,5 |
430 |
|
|||||||
|
1в |
2760 |
251 |
98,5 |
33,4 |
2410,5 |
430 |
|
|||||||
|
1д, 6 |
2850 |
251 |
97 |
33,4 |
2502 |
430 |
|
|||||||
|
1е |
3250 |
251 |
98,5 |
33,4 |
2900,5 |
430 |
|
|||||||
|
1ж |
25б0 |
251 |
95,5 |
33,4 |
2203,5 |
430 |
|
|||||||
|
2а |
3430 |
302 |
109 |
40,2 |
3019 |
430 |
|
|||||||
|
2б, 8г |
3820 |
289 |
106 |
38,2 |
3425 |
430 |
|
|||||||
|
2в |
3650 |
302 |
109 |
40,2 |
3239 |
430 |
|
|||||||
|
2г |
3520 |
352 |
119 |
47 |
3049 |
430 |
|
|||||||
|
3а, 3б, 4а |
2610 |
251 |
94,3 |
33,4 |
2264,7 |
430 |
|
|||||||
|
3г |
2920 |
251 |
98,5 |
33,4 |
2570,5 |
430 |
|
|||||||
|
4б |
2960 |
251 |
98,5 |
33,4 |
2610,5 |
430 |
|
|||||||
|
5б |
3050 |
251 |
103 |
33,4 |
2696 |
430 |
|
|||||||
|
7а, 12в |
2900 |
289 |
102 |
38,2 |
2509 |
430 |
|
|||||||
|
7б, 7г |
2760 |
289 |
103 |
38,2 |
2368 |
430 |
|
|||||||
|
7в, ,11в |
3070 |
289 |
104 |
38,2 |
2677 |
430 |
|
|||||||
|
8а, 11б, 11г, 11д |
2980 |
289 |
103 |
38,2 |
2588 |
430 |
|
|||||||
|
8б, 11е |
3110 |
289 |
103 |
38,2 |
2718 |
430 |
|
|||||||
|
8в, 12д |
3110 |
302 |
105 |
40,2 |
2703 |
430 |
|
|||||||
|
8д |
2680 |
302 |
107 |
40,2 |
2270 |
430 |
|
|||||||
|
8е, 9а, 9в |
3370 |
302 |
109 |
40,2 |
2959 |
430 |
|
|||||||
|
9б |
2840 |
302 |
107 |
40,2 |
2431 |
430 |
|
|||||||
|
10а |
3450 |
327 |
110 |
48,6 |
3013 |
430 |
|
|||||||
|
10б, 10в |
3390 |
327 |
110 |
43,6 |
2953 |
430 |
|
|||||||
|
11а |
3380 |
289 |
107 |
38,2 |
2984 |
430 |
|
|||||||
|
12а, 12б |
2690 |
289 |
102 |
38,2 |
2299 |
430 |
|
|||||||
|
12г |
2890 |
302 |
103 |
40,2 |
2485 |
430 |
|
|||||||
|
12е |
3180 |
302 |
109 |
40,2 |
2769 |
430 |
|
|||||||
|
В том числе: |
|
|||||||||||||
|
а) земляные работы |
|
|||||||||||||
|
1a - 1e, 3в, 3г, 4б, 5а, 6а, 6в |
78,8 |
25,9 |
52,9 |
19,1 |
- |
43,1 |
|
|||||||
|
1ж, 3б, 4а,6б |
75,8 |
25,9 |
49,9 |
19,1 |
|
43,1 |
|
|||||||
|
2а, 2в, 8е, 9а, 9в, 12e |
92 |
31,1 |
60,9 |
23 |
- |
43,1 |
|
|||||||
|
2б, 11a |
89,4 |
29,8 |
59,6 |
21,7 |
- |
43,1 |
|
|||||||
|
2г |
104 |
36,3 |
67,7 |
27 |
- |
43,1 |
|
|||||||
|
3а |
73,4 |
25,9 |
47,5 |
19,1 |
- |
43,1 |
|
|||||||
|
5б |
83,5 |
25,9 |
57,6 |
19,1 |
- |
43,1 |
|
|||||||
|
7а, 7б, 7г - 8б, 11б - 11e, 12б |
85,3 |
29,8 |
55,5 |
21,7 |
- |
43,1 |
|
|||||||
|
7в, 8г |
87,7 |
29,8 |
57,9 |
21,7 |
- |
43,1 |
|
|||||||
|
8в, 8д, 9б |
89,6 |
31,1 |
58,5 |
23 |
- |
43,1 |
|
|||||||
|
10 |
94,2 |
33,7 |
60,5 |
25 |
- |
43,1 |
|
|||||||
|
12а, 12в |
82,3 |
29,8 |
52,5 |
21,7 |
- |
43,1 |
|
|||||||
|
12г, 12д |
85,5 |
31,1 |
54,4 |
23 |
- |
43,1 |
|
|||||||
|
б) фундаменты |
|
|||||||||||||
|
1a, 1б, 4б, 5а |
802 |
37,4 |
13,6 |
4,12 |
751 |
67,7 |
|
|||||||
|
1в, 3а, 4а, 5б, 6б |
777 |
37,4 |
13,6 |
4,12 |
726 |
67,7 |
|
|||||||
|
1г - 1е, 6а, 6в |
825 |
37,4 |
13,6 |
4,12 |
774 |
67,7 |
|
|||||||
|
1ж |
715 |
37,4 |
13,6 |
4,12 |
664 |
67,7 |
|
|||||||
|
2а |
1000 |
44,8 |
14,4 |
4,95 |
940,8 |
67,7 |
|
|||||||
|
2б |
1050 |
48 |
14,2 |
4,74 |
992,8 |
67,7 |
|
|||||||
|
2в |
1060 |
44,8 |
14,4 |
4,95 |
1000,8 |
67,7 |
|
|||||||
|
2г |
1130 |
52,3 |
15,2 |
5,77 |
1062,5 |
67,7 |
|
|||||||
|
3б |
746 |
37,4 |
13,6 |
4,12 |
695 |
67,7 |
|
|||||||
|
3в |
768 |
37,4 |
13,6 |
4,12 |
717 |
67,7 |
|
|||||||
|
3г |
699 |
37,4 |
13,6 |
4,12 |
648 |
67,7 |
|
|||||||
|
7а - 7в |
808 |
43 |
14,2 |
4,74 |
750,8 |
67,7 |
|
|||||||
|
7г, 12б |
781 |
43 |
14,2 |
4,74 |
723,8 |
67,7 |
|
|||||||
|
8а |
825 |
43 |
14,2 |
4,74 |
767,8 |
67,7 |
|
|||||||
|
8б |
910 |
43 |
14,2 |
4,74 |
852,8 |
67,7 |
|
|||||||
|
8в, 9в |
937 |
44,8 |
14,4 |
4,95 |
877,8 |
67,7 |
|
|||||||
|
8г |
1300 |
43 |
14,2 |
4,74 |
1242,8 |
67,7 |
|
|||||||
|
8д |
867 |
44,8 |
14,4 |
4,95 |
807,8 |
67,7 |
|
|||||||
|
8е |
1260 |
44,8 |
14,4 |
4,95 |
1190 |
67,7 |
|
|||||||
|
9а |
928 |
44,8 |
14,4 |
4,95 |
868,8 |
67,7 |
|
|||||||
|
9б |
881 |
44,8 |
14,4 |
4,95 |
821,8 |
67,7 |
|
|||||||
|
10а, 10б |
1000 |
48,6 |
14,8 |
5,36 |
936,6 |
67,7 |
|
|||||||
|
10в |
966 |
48,6 |
14,8 |
5,36 |
902,6 |
67,7 |
|
|||||||
|
11а |
1000 |
43 |
14,2 |
4,74 |
942,8 |
67,7 |
|
|||||||
|
11б - 11е |
846 |
43 |
14,2 |
4,74 |
788,8 |
67,7 |
|
|||||||
|
12а |
750 |
43 |
14,2 |
4,74 |
692,8 |
67,7 |
|
|||||||
|
12 в |
700 |
43 |
14,2 |
4,74 |
642,8 |
67,7 |
|||||||
|
12г |
820 |
44,8 |
14,4 |
4,95 |
760,8 |
67,7 |
|||||||
|
12д |
832 |
44,8 |
14,4 |
4,95 |
772,8 |
67,7 |
|||||||
|
12е |
980 |
44,8 |
14,4 |
4,95 |
920,8 |
67,7 |
|||||||
|
в) ствол башни |
|||||||||||||
|
1а |
1600 |
1,35 |
27,4 |
8,52 |
1337,6 |
225 |
|||||||
|
1б, 1г, 5а |
1660 |
1,35 |
27,4 |
8,52 |
1397,6 |
225 |
|||||||
|
1в, 3в, 6в |
1620 |
1,35 |
27,4 |
8,62 |
1457,6 |
225 |
|||||||
|
1д, 6а, 6б |
1670 |
1,35 |
27,4 |
8,52 |
1507,6 |
225 |
|||||||
|
1е |
2070 |
1,35 |
27,4 |
8,52 |
1907,6 |
225 |
|||||||
|
1ж, 4а |
1480 |
1,35 |
27,4 |
8,52 |
1317,6 |
225 |
|||||||
|
2а |
2010 |
162 |
29,1 |
10,2 |
1818,9 |
225 |
|||||||
|
2б |
2360 |
155 |
28,7 |
9,8 |
2176,3 |
225 |
|||||||
|
2в |
2180 |
162 |
29,1 |
10,2 |
1988,9 |
225 |
|||||||
|
2г |
1920 |
189 |
30,8 |
11,9 |
1700,2 |
225 |
|||||||
|
3а |
1460 |
135 |
27,4 |
8,52 |
1297,6 |
225 |
|||||||
|
3б |
1520 |
135 |
27,4 |
8,52 |
1357,6 |
225 |
|||||||
|
3г |
1860 |
135 |
27,4 |
8,52 |
1697,6 |
225 |
|||||||
|
4б |
1800 |
135 |
27,4 |
8,52 |
1637,6 |
225 |
|||||||
|
5б |
1880 |
135 |
27,4 |
8,52 |
1717,6 |
225 |
|||||||
|
7а, 11б, 11г |
1710 |
155 |
28,7 |
9,8 |
1526,3 |
225 |
|||||||
|
7б, 7г, 12а |
1570 |
155 |
28,7 |
9,8 |
1386,3 |
225 |
|||||||
|
7в |
1870 |
155 |
28,7 |
9,8 |
1686,3 |
225 |
|||||||
|
8а |
1770 |
155 |
28,7 |
9,8 |
1586,3 |
225 |
|||||||
|
8б, 11в, 12в |
1820 |
155 |
28,7 |
9,8 |
1636,3 |
225 |
|||||||
|
8в |
1780 |
162 |
29,1 |
10,2 |
1588,9 |
225 |
|||||||
|
8г |
2120 |
155 |
28,7 |
9,8 |
1936,3 |
225 |
|||||||
|
8д |
1410 |
192 |
29,1 |
10,2 |
1218,9 |
225 |
|||||||
|
8е, ,12г |
1680 |
162 |
29,1 |
10,2 |
1488,9 |
225 |
|||||||
|
9а |
2040 |
162 |
29,1 |
10,2 |
1848,9 |
225 |
|||||||
|
9б |
1550 |
162 |
29,1 |
10,2 |
1358,9 |
225 |
|||||||
|
9в |
1630 |
162 |
29,1 |
10,2 |
1438,9 |
225 |
|||||||
|
10а |
2020 |
175 |
30 |
11,1 |
11815 |
225 |
|||||||
|
10б |
1920 |
175 |
30 |
11,1 |
1715 |
225 |
|||||||
|
10в |
1990 |
175 |
30 |
11,1 |
1785 |
225 |
|||||||
|
11а |
1940 |
155 |
28,7 |
9,8 |
1756,3 |
225 |
|||||||
|
11д |
1740 |
155 |
28,7 |
9,8 |
1556,3 |
225 |
|||||||
|
11е |
1840 |
155 |
28,7 |
9,8 |
1656,3 |
225 |
|||||||
|
12б |
1540 |
155 |
28,7 |
9,8 |
1356,3 |
225 |
|||||||
|
12д |
1900 |
102 |
29,1 |
10,2 |
1708,9 |
225 |
|||||||
|
12е |
1800 |
162 |
29,1 |
10,2 |
1608,9 |
225 |
|||||||
|
II. Монтаж металлоконструкций |
|||||||||||||
|
1, 3 - 5 |
1290 |
41,6 |
88,4 |
30,1 |
1160 |
64,6 |
|||||||
|
2а, 2в, 8в, 8д, 8е, 12г - 12е |
1320 |
49,9 |
94,4 |
36,1 |
1175,7 |
64,6 |
|||||||
|
2б, 8а, 6б, 8г, 12а - 12в |
1320 |
47,9 |
92,9 |
34,6 |
1179,2 |
64,6 |
|||||||
|
2г |
1350 |
58,3 |
100 |
42,1 |
1191,7 |
64,6 |
|||||||
|
6 |
1310 |
41,6 |
88,4 |
30,1 |
1180 |
64,6 |
|||||||
|
7, 11 |
1300 |
47,9 |
92,9 |
34,6 |
1159,2 |
64,6 |
|||||||
|
9 |
1350 |
49,9 |
94,4 |
36,1 |
1205,7 |
64,6 |
|||||||
|
10 |
1460 |
54,1 |
97,4 |
39,1 |
1308,5 |
64,6 |
|||||||
|
III. Электромонтажные работы |
|||||||||||||
|
(электроосвещение, КИП, автоматика и грозозащита) |
|||||||||||||
|
1, 3 - 6 |
586 |
164 |
119 |
44,9 |
303 |
289 |
|||||||
|
2а, 2в, 8в, 8д, 9, 12г, 12д |
600 |
196 |
128 |
53,9 |
306 |
289 |
|||||||
|
2б, 7а - 8б, 8г, 11а - 12в |
618 |
188 |
126 |
51,7 |
304 |
289 |
|||||||
|
2г |
691 |
229 |
137 |
62,9 |
325 |
289 |
|||||||
|
8е |
671 |
196 |
128 |
53,9 |
347 |
289 |
|||||||
|
10 |
670 |
213 |
133 |
58,4 |
324 |
289 |
|||||||
|
12е |
653 |
196 |
128 |
53,9 |
329 |
289 |
|||||||
|
IV. Монтаж технологических трубопроводов |
|||||||||||||
|
1, 3 - 5 |
947 |
171 |
47 |
17,2 |
729 |
391 |
|||||||
|
2а, 2в |
977 |
205 |
50,4 |
20,7 |
721,6 |
301 |
|||||||
|
2б, 11 |
972 |
196 |
49,6 |
19,8 |
726,4 |
301 |
|||||||
|
2г |
1050 |
239 |
53,9 |
24,1 |
757,1 |
301 |
|||||||
|
6 |
961 |
171 |
47 |
17,2 |
743 |
301 |
|||||||
|
7а - 8б, 8г, 12a - |
986 |
196 |
49,6 |
19,8 |
740,4 |
301 |
|||||||
|
12в |
|
|
|
|
|
|
|||||||
|
8в, 8д, 12г-1;2,е |
996 |
205 |
50,4 |
20,7 |
740,6 |
301 |
|||||||
|
8е-9в |
1030 |
205 |
50,4 |
20,7 |
774,6 |
301 |
|||||||
|
10 |
1110 |
222 |
52,1 |
22,4 |
935,9 |
301 |
|||||||
РАЙОННАЯ ЦЕНА № 11
Водонапорная бесшатровая кирпичная башня со стальным баком вместимостью 50 м3, высотой ствола 18 м
Измеритель - 1 башня
|
Районы |
Прямые затраты, руб. |
В том числе, руб. |
Затарты труда рабочих, чел.-ч. |
||||||
|
основная заработная плата рабочих |
эксплуатация машин |
материальные ресурсы |
|||||||
|
всего |
в том числе заработная плата рабочих, обслуживающих машины |
||||||||
|
1 |
2 |
3 |
4 |
5 |
6 |
7 |
|||
|
I. Строительные работы |
|||||||||
|
1а |
3900 |
367 |
144 |
48,6 |
3389 |
626 |
|||
|
1б, 1г, 5а |
4030 |
367 |
144 |
48,6 |
3519 |
626 |
|||
|
1в, 3в |
4080 |
367 |
144 |
48,6 |
3569 |
626 |
|||
|
1д, 6б, 6в |
4200 |
367 |
142 |
48,6 |
3691 |
626 |
|||
|
1е |
4940 |
367 |
144 |
48,6 |
4429 |
626 |
|||
|
1ж |
3770 |
367 |
139 |
48,6 |
3264 |
626 |
|||
|
2а, 9а |
5100 |
441 |
160 |
58,4 |
4499 |
626 |
|||
|
2б |
5750 |
423 |
157 |
55,4 |
5170 |
626 |
|||
|
2в |
5470 |
441 |
160 |
58,4 |
4869 |
626 |
|||
|
2г |
5160 |
514 |
176 |
68,3 |
4471 |
626 |
|||
|
3а, 3б, 4а |
3830 |
367 |
137 |
48,6 |
3326 |
626 |
|||
|
3г, 4б |
4440 |
367 |
144 |
48,6 |
3929 |
626 |
|||
|
5б |
4600 |
367 |
151 |
48,6 |
4082 |
626 |
|||
|
6а |
4260 |
367 |
144 |
48,6 |
3749 |
626 |
|||
|
7а |
4330 |
423 |
151 |
55,4 |
3756 |
926 |
|||
|
7б, 7г |
4070 |
423 |
151 |
55,4 |
3496 |
926 |
|||
|
7в, 8б, 11в, 11е |
4920 |
423 |
153 |
55,4 |
4044 |
626 |
|||
|
8а, 11б, 11д, 12в |
4450 |
423 |
149 |
55,4 |
8878 |
626 |
|||
|
8в |
4600 |
441 |
157 |
58,4 |
4002 |
926 |
|||
|
8г |
5620 |
423 |
165 |
55,4 |
5042 |
626 |
|||
|
8д |
3880 |
441 |
157 |
58,4 |
3282 |
626 |
|||
|
8е |
4800 |
441 |
160 |
58,4 |
4229 |
626 |
|||
|
9б |
4160 |
441 |
157 |
58,4 |
3582 |
626 |
|||
|
9в, 12е |
4700 |
441 |
160 |
58,4 |
4129 |
626 |
|||
|
10а |
5140 |
478 |
162 |
63,4 |
4500 |
626 |
|||
|
10б |
4990 |
478 |
162 |
63,4 |
4350 |
626 |
|||
|
10в |
5080 |
478 |
162 |
63,4 |
4440 |
626 |
|||
|
11а |
5020 |
423 |
157 |
55,4 |
4440 |
626 |
|||
|
11г |
4400 |
423 |
161 |
55,4 |
3826 |
626 |
|||
|
12а, 12б |
3990 |
423 |
149 |
55,4 |
3418 |
621 |
|||
|
12г |
4300 |
441 |
150 |
58,4 |
3709 |
626 |
|||
|
12д |
4660 |
441 |
150 |
58,4 |
4069 |
626 |
|||
|
В том числе: |
|||||||||
|
а) земляные работы |
|||||||||
|
1a - 1e, 3в, 3г, 4б, 5а, 6а, 6в |
112 |
35,1 |
76,9 |
27,7 |
- |
58,4 |
|||
|
1ж, 3б, 4а, 6б |
108 |
35,1 |
72,9 |
27,7 |
- |
58,4 |
|||
|
2а, 2в, 8е, 9а, 9в, 12е |
131 |
42,1 |
88,9 |
33,4 |
- |
58,4 |
|||
|
2б, 11а |
128 |
40,4 |
87,6 |
31,5 |
- |
58,4 |
|||
|
2г |
149 |
49,1 |
99,9 |
39,1 |
- |
58,4 |
|||
|
3а |
104 |
35,1 |
68,9 |
27,7 |
- |
58,4 |
|||
|
5б |
120 |
35,1 |
84,9 |
27,7 |
- |
58,4 |
|||
|
7а, 7б, 7г - 8б, 11б - 11е, 12б |
121 |
40,4 |
80,6 |
31,5 |
- |
58,4 |
|||
|
7в, 8г |
125 |
40,4 |
84,6 |
31,5 |
- |
58,4 |
|||
|
8в, 8д, 9б |
128 |
42,1 |
85,9 |
33,4 |
- |
58,4 |
|||
|
10 |
134 |
45,6 |
88,4 |
36,3 |
- |
58,4 |
|||
|
12a, 12в |
117 |
40,4 |
76,6 |
31,5 |
- |
58,4 |
|||
|
12г, 12д |
121 |
42,1 |
78,9 |
33,4 |
- |
58,4 |
|||
|
б) фундаменты |
|||||||||
|
1a, 1б, 4б, 5а |
932 |
44,2 |
15,8 |
4,76 |
872 |
80,2 |
|||
|
1в, 3а, 3в, 4а, 5б, 6б |
907 |
44,2 |
15,8 |
4,76 |
847 |
80,2 |
|||
|
1г - 1е, 6в |
962 |
44,2 |
15,8 |
4,76 |
902 |
80,2 |
|||
|
1ж |
834 |
44,2 |
15,8 |
4,76 |
774 |
80,2 |
|||
|
2а, 12е |
1170 |
53,1 |
16,7 |
5,71 |
1100,2 |
80,2 |
|||
|
2б |
1230 |
50,9 |
16,5 |
5,47 |
1162,6 |
80,2 |
|||
|
2в |
1230 |
53,1 |
16,7 |
5,71 |
1160,2 |
80,2 |
|||
|
2г |
1320 |
61,9 |
17,6 |
6,66 |
1240,5 |
80,2 |
|||
|
3б |
860 |
44,2 |
15,8 |
4,76 |
800 |
80,2 |
|||
|
3г |
818 |
44,2 |
15,8 |
4,76 |
758 |
80,2 |
|||
|
6а |
951 |
44,2 |
16,8 |
4,76 |
891 |
80,2 |
|||
|
7а - 7в |
944 |
50,9 |
16,5 |
5,47 |
876,6 |
80,2 |
|||
|
7г, 12б |
913 |
50,9 |
16,5 |
5,47 |
846,6 |
80,2 |
|||
|
8а |
963 |
50,9 |
16,5 |
5,47 |
895,6 |
80,2 |
|||
|
8б |
1060 |
50,9 |
16,5 |
5,47 |
992,6 |
80,2 |
|||
|
8в, 9в |
1090 |
53,1 |
16,7 |
5,71 |
1020,2 |
80,2 |
|||
|
8г |
1520 |
50,9 |
16,5 |
5,47 |
1452,6 |
80,2 |
|||
|
8д |
1010 |
53,1 |
16,7 |
5,71 |
940,2 |
80,2 |
|||
|
8е |
1450 |
53,1 |
16,7 |
5,71 |
1380,2 |
80,2 |
|||
|
9а |
1080 |
53,1 |
16,7 |
5,71 |
1010,2 |
80,2 |
|||
|
9б |
1030 |
53,1 |
16,7 |
5,71 |
960,2 |
80,2 |
|||
|
10а, 10б |
1160 |
57,5 |
17,2 |
6,18 |
1085,3 |
80,2 |
|||
|
10в |
1130 |
57,5 |
17,2 |
6,18 |
1055,3 |
80,2 |
|||
|
11a |
1170 |
50,9 |
16,5 |
5,47 |
1102,6 |
80,2 |
|||
|
11б - 11е |
985 |
50,9 |
16,5 |
5,47 |
917,6 |
80,2 |
|||
|
12a |
857 |
50,9 |
16,5 |
5,47 |
789,6 |
80,2 |
|||
|
12в |
831 |
50,9 |
16,5 |
5,47 |
763,6 |
80,2 |
|||
|
12г, 12д |
952 |
53,1 |
16,7 |
5,71 |
882,2 |
80,2 |
|||
|
в) ствол башни |
|||||||||
|
1а, 1ж |
2480 |
224 |
45,7 |
14,1 |
2210,3 |
373 |
|||
|
1б, 5а |
2620 |
224 |
45,7 |
14,1 |
2350,3 |
373 |
|||
|
1в, 3в, 6в |
2720 |
224 |
45,7 |
14,1 |
2450,3 |
373 |
|||
|
1г |
2680 |
2124 |
45,7 |
14,1 |
2310,3 |
373 |
|||
|
1д, 6а |
2800 |
2124 |
45,7 |
14,1 |
2530,3 |
373 |
|||
|
1е |
3510 |
2124 |
45,7 |
14,1 |
3240,3 |
373 |
|||
|
2а |
3390 |
26,8 |
48,6 |
17 |
3073,4 |
373 |
|||
|
2б |
4000 |
257 |
47,8 |
16,2 |
3695,2 |
373 |
|||
|
2в |
3700 |
268 |
48,6 |
17 |
3383,4 |
373 |
|||
|
2г |
3200 |
313 |
61,4 |
19,8 |
2835,6 |
373 |
|||
|
3а, 4а |
2440 |
224 |
45,7 |
14,1 |
2170,3 |
373 |
|||
|
3б |
2540 |
224 |
45,7 |
14,1 |
2270,3 |
373 |
|||
|
3г |
3150 |
224 |
45,7 |
14,1 |
2880,3 |
373 |
|||
|
4б |
3040 |
224 |
45,7 |
14,1 |
2770,3 |
373 |
|||
|
5б |
3190 |
224 |
45,7 |
14,1 |
2920,3 |
373 |
|||
|
6б |
2820 |
224 |
45,7 |
14,1 |
2550,3 |
373 |
|||
|
7а, 11б, 11г |
2870 |
257 |
47,8 |
16,2 |
2565,2 |
373 |
|||
|
7б, 7г, 12a |
2930 |
257 |
47,8 |
16,2 |
2325,3 |
373 |
|||
|
7в |
3170 |
257 |
47,8 |
16,2 |
2865,2 |
373 |
|||
|
8а |
2980 |
257 |
47,8 |
16,2 |
2675,2 |
373 |
|||
|
8б, 11в |
3040 |
25,7 |
47,8 |
16,2 |
2735,2 |
373 |
|||
|
8в, 12е |
3000 |
268 |
48,6 |
17 |
2683,4 |
373 |
|||
|
8г |
3580 |
257 |
47,8 |
16,2 |
3255,2 |
373 |
|||
|
8д |
2040 |
268 |
48,6 |
17 |
2023,4 |
373 |
|||
|
8е |
2760 |
268 |
48,6 |
17 |
2443,3 |
373 |
|||
|
9а |
3450 |
268 |
48,6 |
17 |
3133,4 |
373 |
|||
|
9б |
2580 |
268 |
48,6 |
17 |
2263,4 |
373 |
|||
|
9в |
2720 |
268 |
48,6 |
17 |
2403,4 |
373 |
|||
|
10а |
3400 |
291 |
50 |
18,4 |
3059 |
373 |
|||
|
10б |
3210 |
291 |
50 |
18,4 |
2869 |
373 |
|||
|
10в |
3350 |
291 |
50 |
18,4 |
3009 |
373 |
|||
|
11a |
3270 |
257 |
47,8 |
16,2 |
2965,2 |
373 |
|||
|
11д |
2930 |
257 |
47,8 |
16,2 |
2625,2 |
373 |
|||
|
11е, 12в |
3100 |
257 |
47,8 |
16,2 |
2795,2 |
373 |
|||
|
12б |
2580 |
257 |
47,8 |
16,2 |
2275,2 |
373 |
|||
|
11г |
2830 |
268 |
48,6 |
17 |
2513,4 |
373 |
|||
|
12д |
3200 |
268 |
48,6 |
17 |
2883,4 |
373 |
|||
|
II. Монтаж металлоконструкций |
|||||||||
|
1, 3 - 5 |
1830 |
60,4 |
133 |
46,4 |
1636,6 |
95,6 |
|||
|
2а, 2в, 8в, 8д, 8е, 12г - 12e |
1870 |
72,5 |
142 |
55,6 |
1655,5 |
95,6 |
|||
|
26, 8а, 86, 8г, 12a-12te |
1870 |
69,5 |
140 |
53,3 |
1660,5 |
95,6 |
|||
|
2г |
1020 |
84,6 |
161 |
64,9 |
1684,4 |
95,6 |
|||
|
6 |
1860 |
60,4 |
133 |
46,4 |
1666,6 |
95,6 |
|||
|
7, 11 |
1850 |
69,5 |
140 |
53,3 |
1640,5 |
95,6 |
|||
|
9 |
1920 |
72,5 |
142 |
55,6 |
1705,5 |
95,6 |
|||
|
10 |
2090 |
78,6 |
146 |
603 |
1865,4 |
95,6 |
|||
|
III. Электромонтажные работы |
|||||||||
|
(электроосвещение, КИП, автоматика и грозозащита) |
|||||||||
|
1, 3 - 6 |
586 |
164 |
119 |
44,9 |
303 |
289 |
|||
|
2а, 2в, 8в, 8д, 9, 12г, 12д |
630 |
196 |
128 |
53,9 |
306 |
289 |
|||
|
2б, 7а - 8б, 8г, 11а - 12в |
618 |
188 |
126 |
51,7 |
304 |
289 |
|||
|
2г |
691 |
229 |
137 |
62,9 |
326 |
289 |
|||
|
8е |
671 |
196 |
128 |
83,9 |
347 |
289 |
|||
|
10 |
670 |
213 |
183 |
58,4 |
324 |
289 |
|||
|
12е |
653 |
196 |
128 |
53,9 |
329 |
289 |
|||
|
IV. Монтаж технологических трубопроводов |
|||||||||
|
1, 3 - 5 |
1040 |
187 |
51,5 |
18,9 |
801,5 |
330 |
|||
|
2а, 2в |
1070 |
225 |
66,3 |
22,7 |
789,7 |
330 |
|||
|
2б, 11 |
1060 |
215 |
54,4 |
21,7 |
790,6 |
330 |
|||
|
2г |
1150 |
262 |
59,1 |
26,4 |
828,9 |
330 |
|||
|
6 |
1050 |
187 |
61,5 |
18,9 |
811,5 |
330 |
|||
|
7а - 8б, 8г, ,12а - 12в |
1080 |
215 |
54,4 |
21,7 |
810,6 |
330 |
|||
|
8в, 8д, 12г - 12е |
1090 |
225 |
55,3 |
22,7 |
809,7 |
330 |
|||
|
8е - 9в |
1130 |
225 |
55 |
22,7 |
849,7 |
330 |
|||
|
10 |
1220 |
243 |
572 |
24,6 |
919,8 |
330 |
|||
РАЙОННАЯ ЦЕНА № 12
Водонапорная бесшатровая кирпичная башня со стальным баком вместимостью 50 м3, высотой ствола 21 м
Измеритель - 1 башня
|
Районы |
Прямые затраты, руб. |
В том числе, руб. |
Затраты труда рабочих, чел.-ч. |
|||
|
основная заработная плата рабочих |
эксплуатация машин |
материальные ресурсы |
||||
|
всего |
в том числе заработная плата рабочих, обслуживающих машины |
|||||
|
1 |
2 |
3 |
4 |
5 |
6 |
7 |
|
I. Строительные работы |
||||||
|
1а |
5050 |
441 |
161 |
53,7 |
4448 |
750 |
|
1б, 1г, 5а |
5210 |
441 |
161 |
53,7 |
4608 |
750 |
|
1в, 3в |
5280 |
441 |
161 |
53,7 |
4678 |
750 |
|
1д, 6 |
5450 |
441 |
159 |
53,7 |
4850 |
750 |
|
1е |
6380 |
441 |
161 |
53,7 |
5778 |
750 |
|
1ж |
5860 |
441 |
157 |
53,7 |
5262 |
750 |
|
2а, 9а |
6590 |
529 |
179 |
64,6 |
5882 |
750 |
|
2б |
7450 |
507 |
176 |
61,4 |
6767 |
750 |
|
2в |
7080 |
529 |
170 |
64,6 |
6372 |
750 |
|
2г |
6730 |
618 |
194 |
75,5 |
5918 |
750 |
|
3а, 3б, 4а |
4950 |
441 |
155 |
53,7 |
4354 |
750 |
|
3г, 4б |
5730 |
441 |
181 |
53,7 |
5128 |
750 |
|
5б |
5920 |
441 |
169 |
53,7 |
5310 |
750 |
|
7а |
5590 |
507 |
169 |
61,3 |
4914 |
750 |
|
7б, 7г |
5260 |
507 |
169 |
61,3 |
4584 |
750 |
|
7в, 8б, 11в, 11е |
5950 |
507 |
171 |
61,3 |
5272 |
750 |
|
8а, 11б, 11д |
5730 |
507 |
169 |
61,3 |
5054 |
750 |
|
8в, 9в, 12д |
5990 |
529 |
174 |
64,6 |
5287 |
750 |
|
8г |
7320 |
507 |
173 |
81,4 |
6640 |
750 |
|
8д |
5020 |
529 |
175 |
64,6 |
4316 |
750 |
|
8е |
6280 |
529 |
179 |
64,6 |
5572 |
750 |
|
9б |
5370 |
529 |
175 |
64,6 |
4666 |
750 |
|
10а |
6640 |
573 |
181 |
70 |
5886 |
750 |
|
10б |
6440 |
573 |
181 |
70 |
5686 |
750 |
|
10в |
6550 |
573 |
181 |
70 |
5796 |
750 |
|
11a |
6470 |
507 |
176 |
61,4 |
5787 |
750 |
|
11г, 12в |
6670 |
507 |
167 |
61,4 |
4996 |
750 |
|
12а, 12б |
5140 |
507 |
167 |
61,4 |
4466 |
750 |
|
12г |
5550 |
529 |
169 |
64,6 |
4852 |
750 |
|
12e |
8160 |
529 |
179 |
64,6 |
6492 |
750 |
|
В том числе: |
||||||
|
а) земляные работы |
||||||
|
1a - 1e, 3в, 3г, 4б, 5а, 6а, 6в |
112 |
35,1 |
76,9 |
27,7 |
- |
58,4 |
|
1ж, 3б, 4а, 6б |
108 |
35,1 |
72,9 |
27,7 |
- |
58,4 |
|
2а, 2в, 8е, 9а, 9в, 12е |
131 |
42,1 |
88,9 |
33,4 |
- |
58,4 |
|
2б, 11а |
128 |
40,4 |
87,6 |
31,5 |
- |
58,4 |
|
2г |
149 |
49,1 |
99,9 |
39,1 |
- |
58,4 |
|
3а |
104 |
35,1 |
68,9 |
27,7 |
- |
58,4 |
|
5б |
120 |
35,1 |
84,9 |
27,7 |
- |
58,4 |
|
7а, 7б, 7г - 8б, 11б - 11e, 12б |
121 |
40,4 |
80,6 |
31,5 |
- |
58,4 |
|
7в, 8г |
125 |
40,4 |
84,6 |
31,5 |
- |
58,4 |
|
8в, 8д, 9б |
128 |
42,1 |
85,9 |
33,4 |
- |
58,4 |
|
10 |
134 |
45,6 |
88,4 |
36,3 |
- |
58,4 |
|
12а, 12в |
117 |
40,4 |
76,6 |
31,5 |
- |
58,4 |
|
12г, 12д |
121 |
42,1 |
78,9 |
33,4 |
- |
58,4 |
|
б) фундаменты |
||||||
|
1a, 1б, 4б, 5а |
1420 |
57,2 |
22,3 |
6,73 |
1340,5 |
104 |
|
1в, 3а, 3в, 4а, 5б |
1380 |
57,2 |
22,3 |
6,73 |
1300,5 |
104 |
|
1г - 1е, 6в |
1460 |
57,2 |
22,3 |
6,73 |
1380,5 |
104 |
|
1ж |
1270 |
57,2 |
22,3 |
6,73 |
1190,5 |
104 |
|
2а |
1760 |
68,6 |
23,7 |
8,08 |
1667,7 |
104 |
|
2б |
1850 |
65,8 |
23,3 |
7,74 |
1760,9 |
104 |
|
2в |
1850 |
68,6 |
23,7 |
8,08 |
1757,7 |
104 |
|
2г |
2050 |
80,1 |
25 |
9,42 |
1944,9 |
104 |
|
3б |
1310 |
57,2 |
22,3 |
6,73 |
1230,5 |
104 |
|
3г |
1250 |
57,2 |
22,3 |
6,73 |
1170,5 |
104 |
|
6а |
1440 |
57,2 |
22,3 |
6,73 |
1360,5 |
104 |
|
6б |
1370 |
57,2 |
22,3 |
6,73 |
1290,5 |
104 |
|
7а - 7в |
1440 |
65,8 |
23,3 |
7,74 |
1350,9 |
104 |
|
7г |
1400 |
65,8 |
23,3 |
7,74 |
1310,9 |
104 |
|
8а |
1460 |
65,8 |
23,3 |
7,74 |
1370,9 |
104 |
|
8б |
1610 |
65,8 |
23,3 |
7,74 |
1520,9 |
104 |
|
8в, 9в |
1660 |
68,6 |
23,7 |
8,08 |
1557,7 |
104 |
|
8г |
2270 |
85,8 |
23,3 |
7,74 |
2180,9 |
104 |
|
8д |
1540 |
68,6 |
23,7 |
8,08 |
1447,7 |
104 |
|
8е |
2180 |
68,6 |
23,7 |
8,08 |
2087,7 |
104 |
|
9а |
1640 |
68,6 |
23,7 |
8,08 |
1547,7 |
104 |
|
9б |
1560 |
68,6 |
23,7 |
8,08 |
1467,7 |
104 |
|
10а, 10б |
1760 |
74,3 |
24,3 |
8,75 |
1661,4 |
104 |
|
10в |
1700 |
74,3 |
24,3 |
8,75 |
1601,4 |
104 |
|
11а |
1760 |
65,8 |
23,3 |
7,74 |
1660,9 |
104 |
|
11б - 11e |
1490 |
65,8 |
23,3 |
7,74 |
1400,9 |
104 |
|
12a |
1300 |
65,8 |
23,3 |
7,74 |
1210,9 |
104 |
|
12б |
1380 |
65,8 |
23,3 |
7,74 |
1290,9 |
104 |
|
12в |
1240 |
65,8 |
23,3 |
7,74 |
1150,9 |
104 |
|
12г |
1460 |
68,6 |
23,7 |
8,08 |
1367,7 |
104 |
|
12д |
1440 |
68,6 |
23,7 |
8,08 |
1347,7 |
104 |
|
12e |
1810 |
68,6 |
23,7 |
8,08 |
1717,7 |
104 |
|
в) ствол башни |
||||||
|
1a, 1ж |
3130 |
281 |
56,4 |
173 |
2792,6 |
468 |
|
1б, 5а |
3310 |
281 |
56,4 |
17 |
2972,6 |
468 |
|
1в, 3в, 6в |
3430 |
281 |
56,4 |
17,3 |
3092,6 |
468 |
|
1г |
3260 |
281 |
56,4 |
17,3 |
2922,6 |
468 |
|
1д, 6а |
3540 |
281 |
56,4 |
173 |
3202,6 |
468 |
|
1е |
4450 |
281 |
56,4 |
173 |
4112,6 |
468 |
|
2а |
4280 |
337 |
59,8 |
20,8 |
3883,2 |
468 |
|
2б |
5060 |
323 |
59 |
19,9 |
4678 |
468 |
|
2в |
4670 |
337 |
59,8 |
20,8 |
4273,2 |
468 |
|
2г |
4030 |
393 |
68,3 |
24,2 |
3573,7 |
468 |
|
3а, 4а |
3080 |
281 |
56,4 |
17,3 |
2742,6 |
468 |
|
3б |
3210 |
281 |
56,4 |
17,3 |
2872,6 |
468 |
|
3г, 5б |
4010 |
281 |
56,4 |
17,3 |
3672,6 |
468 |
|
4б |
3840 |
281 |
56,4 |
17,3 |
3502,6 |
468 |
|
6б |
3560 |
281 |
66,4 |
17,3 |
3222,6 |
468 |
|
7а, 11б, 11г |
3620 |
323 |
59 |
19,9 |
3238 |
468 |
|
7б, 7г, 12a |
3920 |
323 |
59 |
19,9 |
2938 |
468 |
|
7в |
4000 |
323 |
59 |
19,9 |
3618 |
468 |
|
8а |
3760 |
323 |
59 |
19,9 |
3378 |
468 |
|
8б, 11в |
3860 |
323 |
59 |
19,9 |
3468 |
468 |
|
8в, 12e |
3780 |
337 |
59,8 |
20,8 |
3383,2 |
468 |
|
8г |
4490 |
323 |
59 |
19,9 |
4108 |
468 |
|
8д |
2940 |
337 |
59,8 |
20,8 |
2543,2 |
468 |
|
8е |
3470 |
337 |
59,8 |
20,8 |
3073,2 |
468 |
|
9а |
4360 |
337 |
59,8 |
20,8 |
3963,2 |
468 |
|
9б |
3250 |
337 |
59,8 |
20,8 |
2853,2 |
468 |
|
9в |
3420 |
337 |
59,8 |
20,8 |
3023,2 |
468 |
|
10а |
4290 |
365 |
61,6 |
22,5 |
3863,4 |
468 |
|
10б |
4060 |
365 |
61,6 |
22,5 |
3633,4 |
468 |
|
10в |
4240 |
365 |
61,6 |
22,5 |
3813,4 |
468 |
|
11a |
4140 |
323 |
59 |
19,9 |
3758 |
468 |
|
11д |
3690 |
323 |
59 |
19,9 |
3308 |
468 |
|
11e, 12в |
3920 |
323 |
59 |
19,9 |
3638 |
468 |
|
12б |
3250 |
323 |
59 |
19,9 |
2868 |
468 |
|
12г |
31570 |
337 |
59,8 |
20,8 |
3173,2 |
468 |
|
12д |
4060 |
337 |
59,8 |
20,8 |
3653,2 |
468 |
|
II. Монтаж металлоконструкций |
||||||
|
1, 3 - 5 |
1870 |
61,8 |
136 |
47,5 |
1672,2 |
97,8 |
|
2а, 2в, 8в, 8д, 8е, 12г - 12е |
1920 |
74,2 |
145 |
57 |
1700,8 |
97,8 |
|
2б, 8а, 8б, 8г, 12а - 12в |
1910 |
71,1 |
143 |
54,7 |
1695,9 |
97,8 |
|
2г |
1960 |
86,6 |
155 |
66,6 |
1718,4 |
97,8 |
|
6 |
1900 |
61,8 |
136 |
47,5 |
1702,2 |
97,8 |
|
7, 11 |
1890 |
71,1 |
143 |
54,7 |
1675,9 |
97,8 |
|
9 |
1960 |
74,2 |
145 |
57 |
1740,8 |
97,8 |
|
10 |
2130 |
80,4 |
150 |
61,8 |
1899,6 |
97,8 |
|
III. Электромонтажные работы |
||||||
|
(электроосвещение, КИП, автоматика и грозозащита) |
||||||
|
1, 3 - 6 |
647 |
181 |
132 |
49,6 |
334 |
319 |
|
2а, 2в, 8в, 8д, 9, 12г, 12д |
696 |
217 |
142 |
59,6 |
337 |
319 |
|
2б, 7а - 8б, 8г, 11a -12в |
683 |
208 |
139 |
57,1 |
336 |
319 |
|
2г |
764 |
253 |
152 |
69,5 |
359 |
319 |
|
8е |
741 |
217 |
142 |
59,6 |
382 |
319 |
|
10 |
740 |
235 |
147 |
64,5 |
368 |
319 |
|
12e |
721 |
217 |
142 |
59,6 |
362 |
319 |
|
IV. Монтаж технологических трубопроводов |
||||||
|
1, 3 - 5 |
1100 |
199 |
54,7 |
20,1 |
846,3 |
350 |
|
2а, 2в |
1140 |
238 |
58,7 |
24,1 |
843,3 |
350 |
|
2б, 11 |
1130 |
229 |
57,7 |
23,1 |
843,3 |
350 |
|
2г |
1220 |
278 |
62,7 |
28,1 |
879,3 |
350 |
|
6 |
1120 |
199 |
54,7 |
20,1 |
866,3 |
350 |
|
7а - 8б, 8г, 12a - 12в |
1150 |
229 |
57,7 |
23,1 |
863,3 |
350 |
|
8в, 8д, 12г - 12е |
1160 |
238 |
58,7 |
24,1 |
863,3 |
350 |
|
8е - 9в |
1200 |
238 |
58,7 |
24,1 |
903,3 |
350 |
|
10 |
1300 |
268 |
60,7 |
26,1 |
981,3 |
350 |
Водонапорная бесшатровая кирпичная башня со стальным баком вместимостью 50 м3, высотой ствола 24 м
Измеритель-1 башня
|
Районы |
Прямые затраты, руб. |
В том числе, руб. |
Затраты труда рабочих, чел.- ч. |
||||||||||||
|
основная заработная плата рабочих |
эксплуатация машин |
материальные ресурсы |
|||||||||||||
|
всего |
в том числе заработная плата рабочих, обслуживающих машины |
||||||||||||||
|
1 |
2 |
3 |
4 |
5 |
6 |
7 |
|||||||||
|
I. Строительные работы |
|||||||||||||||
|
1a |
5810 |
507 |
175 |
58 |
5128 |
861 |
|||||||||
|
1б, 1г, 5а |
6010 |
507 |
175 |
58 |
5328 |
861 |
|||||||||
|
1в, 3в |
6090 |
507 |
175 |
58 |
5408 |
861 |
|||||||||
|
1д, 6 |
6290 |
507 |
173 |
58 |
5610 |
861 |
|||||||||
|
1е |
7420 |
507 |
175 |
58 |
6738 |
861 |
|||||||||
|
1ж |
5610 |
507 |
171 |
58 |
4932 |
861 |
|||||||||
|
2а, 9а |
7610 |
608 |
194 |
69,8 |
6808 |
861 |
|||||||||
|
2б |
8650 |
583 |
190 |
66,3 |
7877 |
861 |
|||||||||
|
2в |
8190 |
608 |
194 |
69,8 |
7388 |
861 |
|||||||||
|
2г |
7700 |
710 |
210 |
81,6 |
6780 |
861 |
|||||||||
|
3а, 3б, 4а |
5690 |
507 |
169 |
58 |
5014 |
861 |
|||||||||
|
3г, 4б |
6640 |
507 |
175 |
58 |
5958 |
861 |
|||||||||
|
5б |
6870 |
507 |
183 |
58 |
6180 |
861 |
|||||||||
|
7а, 11г |
6480 |
583 |
184 |
66,3 |
5713 |
861 |
|||||||||
|
7б, 7г |
6050 |
583 |
184 |
66,3 |
5283 |
861 |
|||||||||
|
7в, 8б, 11a, 11e |
6860 |
583 |
186 |
66,3 |
6091 |
861 |
|||||||||
|
8а, 11д, 112в |
6620 |
583 |
182 |
66,3 |
586В |
861 |
|||||||||
|
8в, 9в |
6850 |
608 |
192 |
69,8 |
6050 |
861 |
|||||||||
|
8г |
8410 |
983 |
188 |
66,3 |
7639 |
861 |
|||||||||
|
8д |
5730 |
608 |
190 |
69,8 |
4936 |
861 |
|||||||||
|
8е |
7160 |
608 |
194 |
69,8 |
6358 |
861 |
|||||||||
|
9б |
6150 |
608 |
190 |
69,8 |
5352 |
861 |
|||||||||
|
10а |
7680 |
859 |
196 |
75,7 |
6825 |
881 |
|||||||||
|
10б |
7480 |
659 |
196 |
75,7 |
6575 |
861 |
|||||||||
|
10в |
7570 |
659 |
196 |
75,7 |
6715 |
861 |
|||||||||
|
11a |
7470 |
583 |
190 |
66,3 |
6697 |
861 |
|||||||||
|
11б |
6550 |
583 |
184 |
66,3 |
5783 |
861 |
|||||||||
|
12a, 12б |
5910 |
583 |
182 |
66,3 |
5145 |
861 |
|||||||||
|
12г |
6400 |
608 |
184 |
69,8 |
5608 |
861 |
|||||||||
|
12д |
6960 |
608 |
184 |
69,8 |
6168 |
861 |
|||||||||
|
12е |
7060 |
608 |
194 |
69,8 |
6258 |
861 |
|||||||||
|
В том числе: |
|||||||||||||||
|
а) земляные работы |
|||||||||||||||
|
1а - 1е, 3в, 3г, 4б, 5а, 6а, 6в |
112 |
35,1 |
76,9 |
27,7 |
- |
58,4 |
|
|||||||||
|
1ж, 3б, 4а, 6б |
108 |
35,1 |
72,9 |
27,7 |
- |
58,4 |
|
|||||||||
|
2а, 2в, 8е, 9а, 9в, 12е |
131 |
42,1 |
88,9 |
33,4 |
- |
58,4 |
|
|||||||||
|
2б, 11а |
128 |
40,4 |
87,6 |
31,5 |
- |
58,4 |
|
|||||||||
|
2г |
149 |
49,1 |
99,9 |
39,1 |
- |
58,4 |
|
|||||||||
|
3а |
104 |
35,1 |
68,9 |
27,7 |
- |
58,4 |
|
|||||||||
|
5б |
120 |
35,1 |
84,9 |
27,7 |
- |
58,4 |
|
|||||||||
|
7а, 7б, 7г - 8б, 11б - 11е, 12б |
121 |
40,4 |
80,6 |
31,5 |
- |
58,4 |
|
|||||||||
|
7в, 8г |
125 |
40,4 |
84,6 |
31,5 |
- |
58,4 |
|
|||||||||
|
8в, 8д, 9 |
128 |
42,1 |
85,9 |
33,4 |
- |
58,4 |
|
|||||||||
|
10 |
134 |
45,6 |
88,4 |
36,3 |
- |
58,4 |
|
|||||||||
|
12а, 12в |
117 |
40,4 |
76,6 |
31,5 |
- |
58,4 |
|
|||||||||
|
12г, 12д |
121 |
42,1 |
78,6 |
33,4 |
- |
58,4 |
|
|||||||||
|
б) фундаменты |
|||||||||||||||
|
1a, 1б, 4б, 5а |
1520 |
63,5 |
24,6 |
7,44 |
1431,9 |
115 |
|||||||||
|
1в, 3а, 3в, 4а, 5б |
1470 |
63,5 |
24,6 |
7,44 |
1381,9 |
115 |
|||||||||
|
1г - 1e, 6в |
1560 |
63,5 |
24,6 |
7,44 |
1471,9 |
116 |
|||||||||
|
1ж |
1360 |
63,5 |
24,6 |
7,44 |
1271,9 |
115 |
|||||||||
|
2а |
1890 |
76,2 |
26,1 |
8,92 |
1787,7 |
115 |
|||||||||
|
2б |
1980 |
73 |
25,8 |
8,55 |
1881,2 |
115 |
|||||||||
|
2в |
1980 |
76,2 |
26,1 |
10,4 |
1877,7 |
115 |
|||||||||
|
2г |
2180 |
88,9 |
27,6 |
7,44 |
2063,5 |
115 |
|||||||||
|
3б |
1390 |
63,5 |
24,6 |
7,44 |
1301,9 |
115 |
|||||||||
|
3г |
1330 |
63,5 |
24,6 |
7,44 |
1241,9 |
115 |
|||||||||
|
6а |
1540 |
63,5 |
24,6 |
7,44 |
1451,9 |
115 |
|||||||||
|
6б |
1460 |
63,5 |
24,6 |
8,55 |
1371,9 |
115 |
|||||||||
|
7а - 7в |
1530 |
73 |
25,8 |
8,55 |
1431,2 |
115 |
|||||||||
|
7г, 12б |
1480 |
73 |
25,8 |
8,55 |
1381,2 |
115 |
|||||||||
|
8а |
1560 |
73 |
25,8 |
8,55 |
1461,2 |
115 |
|||||||||
|
8б |
1720 |
73 |
25,8 |
8,92 |
1621,2 |
115 |
|||||||||
|
8в, 9в |
1770 |
76,2 |
26,1 |
8,55 |
1667,7 |
115 |
|||||||||
|
8г |
2440 |
73 |
25,8 |
8,92 |
2341,2 |
115 |
|||||||||
|
8д |
1640 |
76,2 |
26,1 |
8,92 |
1537,7 |
115 |
|||||||||
|
8е |
2330 |
76,2 |
26,1 |
8,92 |
2227,7 |
115 |
|||||||||
|
9а |
1750 |
76,2 |
26,1 |
8,92 |
1647,7 |
115 |
|||||||||
|
9б |
1660 |
76,2 |
26,1 |
8,92 |
1557,7 |
115 |
|||||||||
|
10а, 10б |
1880 |
82,6 |
26,9 |
9,67 |
1770,5 |
115 |
|||||||||
|
10в |
1820 |
82,6 |
26,9 |
9,67 |
1710,5 |
115 |
|||||||||
|
11а |
1880 |
73 |
25,8 |
8,55 |
1781,2 |
115 |
|||||||||
|
11б - 11e |
1590 |
73 |
25,8 |
8,55 |
1491,2 |
115 |
|||||||||
|
12а |
1390 |
73 |
25,8 |
8,55 |
1291,2 |
115 |
|||||||||
|
12в |
1330 |
73 |
25,8 |
8,55 |
1231,2 |
115 |
|||||||||
|
12г, 12д |
1540 |
76,2 |
26,1 |
8,92 |
1437,7 |
115 |
|||||||||
|
12е |
1930 |
76,2 |
26,1 |
8,92 |
1827,7 |
115 |
|||||||||
|
в) ствол башни |
|||||||||||||||
|
1а, 1ж |
3790 |
338 |
68 |
20,9 |
3384 |
564 |
|||||||||
|
1б, 5а |
4000 |
338 |
68 |
20,9 |
3594 |
564 |
|||||||||
|
1в, 3в, 6в |
4150 |
338 |
68 |
20,9 |
3744 |
564 |
|||||||||
|
1г |
3940 |
338 |
68 |
20,9 |
3534 |
564 |
|||||||||
|
1д, 6а |
4280 |
338 |
68 |
20,9 |
3874 |
564 |
|||||||||
|
1е |
5390 |
338 |
68 |
20,9 |
4984 |
564 |
|||||||||
|
2а |
5180 |
406 |
72,2 |
25 |
4701,8 |
564 |
|||||||||
|
2б |
6130 |
389 |
71,2 |
24 |
5669,8 |
564 |
|||||||||
|
2в |
5650 |
406 |
72,2 |
25 |
5171,8 |
564 |
|||||||||
|
2г |
4860 |
474 |
76,4 |
29,2 |
4309,6 |
564 |
|||||||||
|
3а, 4а |
3720 |
338 |
68 |
20,9 |
3314 |
564 |
|||||||||
|
3б |
3880 |
338 |
68 |
20,9 |
3474 |
564 |
|||||||||
|
3г, 5б |
4860 |
338 |
68 |
20,9 |
4454 |
564 |
|||||||||
|
4б |
4650 |
338 |
68 |
20,9 |
4244 |
564 |
|||||||||
|
6б |
4310 |
338 |
68 |
20,9 |
3904 |
564 |
|||||||||
|
7а, 11б, 11г |
4370 |
389 |
71,2 |
24 |
3909,8 |
564 |
|||||||||
|
7б, 7г, 12а |
4010 |
389 |
71,2 |
24 |
3549,8 |
564 |
|||||||||
|
7в |
4840 |
389 |
71,2 |
24 |
4379,8 |
564 |
|||||||||
|
8а |
4550 |
389 |
71,2 |
24 |
4089,8 |
564 |
|||||||||
|
8б, 11в |
4650 |
389 |
71,2 |
24 |
4189,8 |
564 |
|||||||||
|
8в, 12е |
4560 |
406 |
72,2 |
25 |
4081,8 |
564 |
|||||||||
|
8г |
5420 |
389 |
71,2 |
24 |
4959,8 |
564 |
|||||||||
|
8д |
3540 |
406 |
72,2 |
26 |
3061,8 |
564 |
|||||||||
|
8е |
4180 |
406 |
72,2 |
25 |
3701,8 |
564 |
|||||||||
|
9а |
5280 |
406 |
72,2 |
25 |
4801,8 |
564 |
|||||||||
|
9б |
3920 |
406 |
72,2 |
215 |
3441,8 |
564 |
|||||||||
|
9в |
4140 |
406 |
72,2 |
215 |
3661,8 |
564 |
|||||||||
|
10а |
5190 |
440 |
74,3 |
27,1 |
4675,7 |
564 |
|||||||||
|
10б |
4900 |
440 |
74,3 |
27,1 |
4385,7 |
564 |
|||||||||
|
10в |
5120 |
440 |
74,3 |
27,1 |
4605,7 |
564 |
|||||||||
|
11а |
5000 |
389 |
71,2 |
24 |
4539,8 |
564 |
|||||||||
|
11д |
4460 |
389 |
71,2 |
24 |
3999,8 |
564 |
|||||||||
|
11e, 12в |
4750 |
389 |
71,2 |
24 |
4289,8 |
564 |
|||||||||
|
12б |
3930 |
389 |
71,2 |
24 |
3469,8 |
564 |
|||||||||
|
12г |
4320 |
406 |
72,2 |
25 |
3841,8 |
564 |
|||||||||
|
12д |
4900 |
406 |
72,2 |
25 |
4421,8 |
564 |
|||||||||
|
II. Монтаж металлоконструкций |
|||||||||||||||
|
1, 3 - 5 |
2000 |
66,2 |
146 |
51,3 |
1787,8 |
105 |
|||||||||
|
2а, 2в, 8в, 8д, 8е, ,12г - 12е |
2050 |
79,5 |
156 |
61,6 |
1804,5 |
104 |
|||||||||
|
2б, 8а, 8б, 8г, 12а - 12в |
2040 |
76,2 |
154 |
59 |
1809,8 |
105 |
|||||||||
|
2г |
2090 |
92,7 |
167 |
71,8 |
1830,3 |
105 |
|||||||||
|
6 |
2040 |
66,2 |
146 |
51,3 |
1827,8 |
105 |
|||||||||
|
7, 11 |
2020 |
76,2 |
154 |
59 |
1789,8 |
105 |
|||||||||
|
9 |
2100 |
79,5 |
156 |
61,6 |
1864,5 |
105 |
|||||||||
|
10 |
2280 |
86,1 |
162 |
66,7 |
2031,9 |
105 |
|||||||||
|
III. Электромонтажные работы |
|||||||||||||||
|
(электроосвещение, КИП, автоматика и грозозащита) |
|||||||||||||||
|
1, 3 - 6 |
647 |
181 |
132 |
49,6 |
834 |
319 |
|||||||||
|
2а, 2в, 8в, 8д, 9, 12г, 12д |
696 |
217 |
142 |
69,6 |
337 |
319 |
|||||||||
|
2б, 7а - 8б, 8г, 11а - 12в |
683 |
208 |
139 |
57,1 |
336 |
319 |
|||||||||
|
2г |
764 |
253 |
152 |
69,5 |
359 |
319 |
|||||||||
|
8е |
741 |
217 |
142 |
59,6 |
382 |
319 |
|||||||||
|
10 |
740 |
235 |
147 |
64,5 |
358 |
319 |
|||||||||
|
12e |
721 |
218 |
142 |
59,6 |
362 |
319 |
|||||||||
|
IV. Монтаж технологических трубопроводов |
|||||||||||||||
|
1, 3 - 5 |
1190 |
215 |
59,2 |
21,7 |
915,8 |
379 |
|||||||||
|
2а, 2в |
1230 |
258 |
63,6 |
26 |
908,4 |
379 |
|||||||||
|
2б, 11 |
1220 |
247 |
62,5 |
26 |
910,5 |
379 |
|||||||||
|
2г |
1330 |
301 |
67,9 |
30,4 |
961,1 |
379 |
|||||||||
|
6 |
1210 |
215 |
59,2 |
21,7 |
935,8 |
379 |
|||||||||
|
7а - 8б, 8г, 12а - 12в |
1240 |
247 |
62,5 |
25 |
930,5 |
379 |
|||||||||
|
8в, 8д. 12г - 12e |
1260 |
258 |
68,6 |
26 |
938,4 |
379 |
|||||||||
|
8е - 9в |
1300 |
258 |
63,6 |
26 |
978,4 |
379 |
|||||||||
|
10 |
1400 |
280 |
65,7 |
28,2 |
1054,3 |
379 |
|||||||||

Рис. 4. Водонапорные бесшатровые кирпичные башни со стальным баком вместимостью 100 м3, типовой проект 901-5-22/70 (к ценам № 14-18)
Водонапорная бесшатровая кирпичная башня со стальным баком вместимостью 100 м3, высотой до дна бака 12 м
Измеритель - 1 башня
|
Районы |
Прямые затраты, руб. |
В том числе, руб. |
Затраты труда рабочих, чел.-ч. |
|
||||||||||||||||||||||||||||||||||||||||||||||||||||||
|
основная заработная плата рабочих |
эксплуатация машин |
материальные ресурсы |
|
|||||||||||||||||||||||||||||||||||||||||||||||||||||||
|
всего |
в том числе заработная плата рабочих, обслуживающих машины |
|
||||||||||||||||||||||||||||||||||||||||||||||||||||||||
|
1 |
2 |
3 |
4 |
5 |
6 |
7 |
|
|||||||||||||||||||||||||||||||||||||||||||||||||||
|
I. Строительные работы |
|
|||||||||||||||||||||||||||||||||||||||||||||||||||||||||
|
1а, 3б |
3450 |
355 |
112 |
38,4 |
2983 |
614 |
|
|||||||||||||||||||||||||||||||||||||||||||||||||||
|
1б, 1г, 6а |
3590 |
355 |
114 |
38,4 |
3121 |
614 |
|
|||||||||||||||||||||||||||||||||||||||||||||||||||
|
1в, 3в |
3640 |
355 |
114 |
38,4 |
3171 |
614 |
|
|||||||||||||||||||||||||||||||||||||||||||||||||||
|
1д, 6б, 6в |
3730 |
355 |
112 |
38,4 |
3263 |
614 |
|
|||||||||||||||||||||||||||||||||||||||||||||||||||
|
1е |
4390 |
355 |
114 |
38,4 |
3921 |
614 |
|
|||||||||||||||||||||||||||||||||||||||||||||||||||
|
1ж, 3а |
3370 |
355 |
110 |
38,4 |
2905 |
614 |
|
|||||||||||||||||||||||||||||||||||||||||||||||||||
|
2а, 9а |
4490 |
426 |
125 |
46,2 |
3939 |
614 |
|
|||||||||||||||||||||||||||||||||||||||||||||||||||
|
2б |
5050 |
409 |
123 |
44 |
4518 |
614 |
|
|||||||||||||||||||||||||||||||||||||||||||||||||||
|
2в |
4870 |
426 |
125 |
46,2 |
4319 |
614 |
|
|||||||||||||||||||||||||||||||||||||||||||||||||||
|
2г |
4480 |
498 |
135 |
54 |
3847 |
614 |
|
|||||||||||||||||||||||||||||||||||||||||||||||||||
|
3г, 4б |
3940 |
355 |
114 |
38,4 |
3471 |
614 |
|
|||||||||||||||||||||||||||||||||||||||||||||||||||
|
4а |
3400 |
355 |
111 |
38,4 |
2934 |
614 |
|
|||||||||||||||||||||||||||||||||||||||||||||||||||
|
5б |
4100 |
355 |
118 |
38,4 |
3627 |
614 |
|
|||||||||||||||||||||||||||||||||||||||||||||||||||
|
6a |
3790 |
355 |
114 |
38,4 |
3321 |
614 |
|
|||||||||||||||||||||||||||||||||||||||||||||||||||
|
7a |
3830 |
409 |
119 |
44 |
3302 |
614 |
|
|||||||||||||||||||||||||||||||||||||||||||||||||||
|
7б, 7г, 12б |
3590 |
409 |
119 |
44 |
3062 |
614 |
|
|||||||||||||||||||||||||||||||||||||||||||||||||||
|
7в, 8б, 11в, 11e |
4090 |
409 |
120 |
44 |
3561 |
614 |
|
|||||||||||||||||||||||||||||||||||||||||||||||||||
|
8a, 11б, 11д, 12в |
3940 |
409 |
118 |
44 |
3413 |
614 |
|
|||||||||||||||||||||||||||||||||||||||||||||||||||
|
8в |
4080 |
426 |
123 |
46,2 |
3531 |
614 |
|
|||||||||||||||||||||||||||||||||||||||||||||||||||
|
8г |
4920 |
409 |
121 |
44 |
4390 |
614 |
|
|||||||||||||||||||||||||||||||||||||||||||||||||||
|
8д |
3450 |
426 |
123 |
46,2 |
2901 |
614 |
|
|||||||||||||||||||||||||||||||||||||||||||||||||||
|
8е, 9в, 12д |
4200 |
426 |
122 |
46,2 |
3652 |
614 |
|
|||||||||||||||||||||||||||||||||||||||||||||||||||
|
9б |
3660 |
426 |
123 |
46,2 |
3111 |
614 |
|
|||||||||||||||||||||||||||||||||||||||||||||||||||
|
10а, 10в |
4550 |
462 |
127 |
50,1 |
3961 |
614 |
|
|||||||||||||||||||||||||||||||||||||||||||||||||||
|
10б |
4430 |
462 |
127 |
50,1 |
3841 |
614 |
|
|||||||||||||||||||||||||||||||||||||||||||||||||||
|
11a |
4480 |
409 |
123 |
44 |
3948 |
614 |
|
|||||||||||||||||||||||||||||||||||||||||||||||||||
|
11г |
3880 |
409 |
119 |
44 |
3352 |
614 |
|
|||||||||||||||||||||||||||||||||||||||||||||||||||
|
12а |
3550 |
409 |
117 |
44 |
3024 |
614 |
|
|||||||||||||||||||||||||||||||||||||||||||||||||||
|
12г |
3830 |
426 |
119 |
46,2 |
3285 |
614 |
|
|||||||||||||||||||||||||||||||||||||||||||||||||||
|
12е |
4150 |
426 |
125 |
46,2 |
3599 |
614 |
|
|||||||||||||||||||||||||||||||||||||||||||||||||||
|
В том числе: |
|
|||||||||||||||||||||||||||||||||||||||||||||||||||||||||
|
а) земляные работы |
|
|||||||||||||||||||||||||||||||||||||||||||||||||||||||||
|
1a - 1e, 3в, 3г, 4б, 5а, 6а, 6в |
108 |
53,8 |
54,2 |
20,1 |
- |
89,6 |
|
|||||||||||||||||||||||||||||||||||||||||||||||||||
|
1ж, 3б, 4а, 6б |
106 |
53,8 |
52,2 |
20,1 |
- |
89,6 |
|
|||||||||||||||||||||||||||||||||||||||||||||||||||
|
2а, 2в, 8е, 9а, 9в, 12е |
127 |
64,5 |
62,5 |
24,2 |
- |
89,6 |
|
|||||||||||||||||||||||||||||||||||||||||||||||||||
|
2б, 11а |
123 |
61,8 |
61,2 |
22,9 |
- |
89,6 |
|
|||||||||||||||||||||||||||||||||||||||||||||||||||
|
2г |
144 |
75,3 |
68,7 |
28,3 |
- |
89,6 |
|
|||||||||||||||||||||||||||||||||||||||||||||||||||
|
3а |
104 |
53,8 |
50,2 |
20,1 |
- |
89,6 |
|
|||||||||||||||||||||||||||||||||||||||||||||||||||
|
5б |
112 |
53,8 |
58,2 |
20,1 |
- |
89,6 |
|
|
||||||||||||||||||||||||||||||||||||||||||||||||||
|
7а, 7б, 7г - 8б, 11б - 11е, 12б |
119 |
61,8 |
57,2 |
22,9 |
- |
89,6 |
|
|||||||||||||||||||||||||||||||||||||||||||||||||||
|
7в, 8г |
121 |
61,8 |
59,2 |
22,9 |
- |
89,6 |
|
|||||||||||||||||||||||||||||||||||||||||||||||||||
|
8в, 8д, 9б |
125 |
64,5 |
60,5 |
24,2 |
- |
89,6 |
|
|||||||||||||||||||||||||||||||||||||||||||||||||||
|
10 |
132 |
69,9 |
62,1 |
226,3 |
- |
89,6 |
|
|||||||||||||||||||||||||||||||||||||||||||||||||||
|
12а, 12в |
117 |
61,8 |
55,2 |
22,9 |
- |
89,6 |
|
|||||||||||||||||||||||||||||||||||||||||||||||||||
|
12г, 12д |
121 |
64,5 |
56,5 |
24,2 |
- |
89,6 |
|
|||||||||||||||||||||||||||||||||||||||||||||||||||
|
б) фундаменты |
|
|
||||||||||||||||||||||||||||||||||||||||||||||||||||||||
|
1a, 1б, 3в, 5а |
810 |
47,9 |
11,4 |
3,41 |
750,7 |
86 |
|
|
||||||||||||||||||||||||||||||||||||||||||||||||||
|
1в, 4a, 6б |
790 |
47,9 |
11,4 |
3,41 |
730,7 |
86 |
|
|
||||||||||||||||||||||||||||||||||||||||||||||||||
|
1г - 1e, 4б |
825 |
47,9 |
11,4 |
3,41 |
765,7 |
86 |
|
|
||||||||||||||||||||||||||||||||||||||||||||||||||
|
1ж |
714 |
47,9 |
11,4 |
3,41 |
654,7 |
86 |
|
|
||||||||||||||||||||||||||||||||||||||||||||||||||
|
2a |
1010 |
57,4 |
12 |
4,1 |
940,6 |
86 |
|
|
||||||||||||||||||||||||||||||||||||||||||||||||||
|
2б |
1070 |
55 |
11,9 |
3,93 |
1003,1 |
86 |
|
|
||||||||||||||||||||||||||||||||||||||||||||||||||
|
2в |
1070 |
57,4 |
12 |
4,1 |
1000,6 |
86 |
|
|
||||||||||||||||||||||||||||||||||||||||||||||||||
|
2г |
1140 |
67 |
12,7 |
4,78 |
1060,3 |
86 |
|
|
||||||||||||||||||||||||||||||||||||||||||||||||||
|
3а |
773 |
47,9 |
11,4 |
3,41 |
713,7 |
86 |
|
|
||||||||||||||||||||||||||||||||||||||||||||||||||
|
3б |
755 |
47,9 |
11,4 |
3,41 |
695,7 |
86 |
|
|
||||||||||||||||||||||||||||||||||||||||||||||||||
|
3г |
691 |
47,9 |
11,4 |
3,41 |
631,7 |
86 |
|
|
||||||||||||||||||||||||||||||||||||||||||||||||||
|
5б |
764 |
47,9 |
11,4 |
3,41 |
704,7 |
86 |
|
|
||||||||||||||||||||||||||||||||||||||||||||||||||
|
6а, 6в |
839 |
47,9 |
11,4 |
3,41 |
779,7 |
86 |
|
|
||||||||||||||||||||||||||||||||||||||||||||||||||
|
7а - 7в |
804 |
55 |
11,9 |
3,93 |
737,1 |
86 |
|
|
||||||||||||||||||||||||||||||||||||||||||||||||||
|
7г, 12б |
794 |
55 |
11,9 |
3,93 |
727,1 |
86 |
|
|
||||||||||||||||||||||||||||||||||||||||||||||||||
|
8а |
823 |
55 |
11,9 |
3,93 |
756,1 |
86 |
|
|
||||||||||||||||||||||||||||||||||||||||||||||||||
|
8б |
914 |
55 |
11,9 |
3,93 |
847,1 |
86 |
|
|
||||||||||||||||||||||||||||||||||||||||||||||||||
|
8в |
958 |
57,4 |
12 |
4,1 |
888,6 |
86 |
|
|
||||||||||||||||||||||||||||||||||||||||||||||||||
|
8г |
1320 |
55 |
11,9 |
3,93 |
1253,1 |
86 |
|
|
||||||||||||||||||||||||||||||||||||||||||||||||||
|
8д, 9б |
882 |
57,4 |
12 |
4,1 |
812,6 |
86 |
|
|
||||||||||||||||||||||||||||||||||||||||||||||||||
|
8е |
1260 |
57,4 |
12 |
4,1 |
1190,6 |
86 |
|
|
||||||||||||||||||||||||||||||||||||||||||||||||||
|
9а, 9в |
936 |
57,4 |
12 |
4,1 |
866,6 |
86 |
|
|
||||||||||||||||||||||||||||||||||||||||||||||||||
|
10а, 10б |
1000 |
62,2 |
12,4 |
4,44 |
925,4 |
86 |
|
|
||||||||||||||||||||||||||||||||||||||||||||||||||
|
10в |
968 |
62,2 |
12,4 |
4,44 |
893,4 |
86 |
|
|
||||||||||||||||||||||||||||||||||||||||||||||||||
|
11a |
990 |
55 |
11,9 |
3,93 |
923,1 |
86 |
|
|
||||||||||||||||||||||||||||||||||||||||||||||||||
|
11б - 11e |
856 |
55 |
11,9 |
3,93 |
789,1 |
86 |
|
|
||||||||||||||||||||||||||||||||||||||||||||||||||
|
12а |
763 |
55 |
11,9 |
3,93 |
696,1 |
86 |
|
|
||||||||||||||||||||||||||||||||||||||||||||||||||
|
12в |
715 |
55 |
11,9 |
3,93 |
648,1 |
86 |
|
|
||||||||||||||||||||||||||||||||||||||||||||||||||
|
12г |
836 |
57,4 |
12 |
4,1 |
766,6 |
86 |
|
|
||||||||||||||||||||||||||||||||||||||||||||||||||
|
12д |
850 |
57,4 |
12 |
4,1 |
780,6 |
86 |
|
|
||||||||||||||||||||||||||||||||||||||||||||||||||
|
12e |
1020 |
57,4 |
12 |
4,1 |
950,6 |
86 |
|
|
||||||||||||||||||||||||||||||||||||||||||||||||||
|
в) ствол башни |
|
|
||||||||||||||||||||||||||||||||||||||||||||||||||||||||
|
1а, 1ж |
2290 |
236 |
41,4 |
12,8 |
2012,6 |
399 |
|
|
||||||||||||||||||||||||||||||||||||||||||||||||||
|
1б, 5а |
2420 |
236 |
41,4 |
12,8 |
2142,6 |
399 |
|
|
||||||||||||||||||||||||||||||||||||||||||||||||||
|
1в, 6в |
2510 |
236 |
41,4 |
12,8 |
2232,6 |
309 |
|
|
||||||||||||||||||||||||||||||||||||||||||||||||||
|
1г |
2380 |
236 |
41,4 |
12,8 |
2102,6 |
399 |
|
|
||||||||||||||||||||||||||||||||||||||||||||||||||
|
1д, 6а |
2570 |
236 |
41,4 |
12,8 |
2292,6 |
399 |
|
|
||||||||||||||||||||||||||||||||||||||||||||||||||
|
1е |
3200 |
236 |
41,4 |
12,8 |
2922,6 |
399 |
|
|
||||||||||||||||||||||||||||||||||||||||||||||||||
|
2а |
3090 |
283 |
43,9 |
15,4 |
2763,1 |
399 |
|
|
||||||||||||||||||||||||||||||||||||||||||||||||||
|
2б |
3600 |
271 |
43,3 |
14,7 |
3285,7 |
399 |
|
|
||||||||||||||||||||||||||||||||||||||||||||||||||
|
2в |
3390 |
283 |
43,9 |
15,4 |
3063,1 |
399 |
|
|
|||||||||||||||||||||||||||||||||||||||||||||||||||
|
2г |
2890 |
330 |
46,5 |
17,9 |
2513,5 |
399 |
|
|
|||||||||||||||||||||||||||||||||||||||||||||||||||
|
3а, 4a |
2250 |
236 |
41,4 |
12,8 |
1972,6 |
399 |
|
|
|||||||||||||||||||||||||||||||||||||||||||||||||||
|
3б |
2340 |
236 |
41,4 |
12,8 |
2062,6 |
399 |
|
|
|||||||||||||||||||||||||||||||||||||||||||||||||||
|
3в |
2480 |
236 |
41,4 |
12,8 |
2202,6 |
399 |
|
|
|||||||||||||||||||||||||||||||||||||||||||||||||||
|
3г |
2880 |
236 |
41,4 |
12,8 |
2602,6 |
399 |
|
|
|||||||||||||||||||||||||||||||||||||||||||||||||||
|
4б |
2770 |
236 |
41,4 |
12,8 |
2492,6 |
399 |
|
|
|||||||||||||||||||||||||||||||||||||||||||||||||||
|
5б |
2940 |
236 |
41,4 |
12,8 |
2662,6 |
399 |
|
|
|||||||||||||||||||||||||||||||||||||||||||||||||||
|
6б |
2590 |
236 |
41,4 |
12,8 |
2312,6 |
399 |
|
|
|||||||||||||||||||||||||||||||||||||||||||||||||||
|
7а, 11б, 11г |
2640 |
271 |
43,3 |
14,7 |
2325,7 |
399 |
|
|
|||||||||||||||||||||||||||||||||||||||||||||||||||
|
7б, 7г, 12a, 12б |
2420 |
271 |
43,3 |
14,7 |
2105,7 |
399 |
|
|
|||||||||||||||||||||||||||||||||||||||||||||||||||
|
7в |
2900 |
271 |
43,3 |
14,7 |
2585,7 |
399 |
|
|
|||||||||||||||||||||||||||||||||||||||||||||||||||
|
8а |
2730 |
271 |
43,3 |
14,7 |
2415,7 |
399 |
|
|
|||||||||||||||||||||||||||||||||||||||||||||||||||
|
8б |
2780 |
271 |
43,3 |
14,7 |
2465,7 |
399 |
|
|
|||||||||||||||||||||||||||||||||||||||||||||||||||
|
8в, 12е |
2740 |
283 |
43,9 |
15,4 |
2413,1 |
399 |
|
|
|||||||||||||||||||||||||||||||||||||||||||||||||||
|
8г |
3190 |
271 |
43,9 |
14,7 |
2876,7 |
399 |
|
|
|||||||||||||||||||||||||||||||||||||||||||||||||||
|
8д |
2170 |
283 |
43,9 |
15,4 |
1843,1 |
399 |
|
|
|||||||||||||||||||||||||||||||||||||||||||||||||||
|
8е |
2510 |
283 |
43,9 |
15,4 |
2183,1 |
399 |
|
|
|||||||||||||||||||||||||||||||||||||||||||||||||||
|
9а |
3130 |
283 |
43,9 |
15,4 |
2803,1 |
399 |
|
|
|||||||||||||||||||||||||||||||||||||||||||||||||||
|
9б |
2370 |
283 |
43,9 |
15,4 |
2043,1 |
399 |
|
|
|||||||||||||||||||||||||||||||||||||||||||||||||||
|
9в |
2560 |
283 |
43,9 |
15,4 |
2233,1 |
399 |
|
|
|||||||||||||||||||||||||||||||||||||||||||||||||||
|
10а, 10в |
3130 |
307 |
45,2 |
16,6 |
2777,8 |
399 |
|
|
|||||||||||||||||||||||||||||||||||||||||||||||||||
|
10б |
2980 |
307 |
45,2 |
16,6 |
2627,8 |
399 |
|
|
|||||||||||||||||||||||||||||||||||||||||||||||||||
|
11a |
3060 |
271 |
43,3 |
14,7 |
2745,7 |
399 |
|
|
|||||||||||||||||||||||||||||||||||||||||||||||||||
|
11в, 11e, 12в |
2850 |
271 |
43,3 |
14,7 |
2535,7 |
399 |
|
|
|||||||||||||||||||||||||||||||||||||||||||||||||||
|
11д |
2680 |
271 |
43,3 |
14,7 |
2365,7 |
399 |
|
|
|||||||||||||||||||||||||||||||||||||||||||||||||||
|
12г |
2620 |
283 |
43,9 |
16,4 |
2293,1 |
399 |
|
|
|||||||||||||||||||||||||||||||||||||||||||||||||||
|
12д |
2980 |
283 |
43,9 |
16,4 |
2653,1 |
399 |
|
|
|||||||||||||||||||||||||||||||||||||||||||||||||||
|
II. Монтаж металлоконструкций |
|
|
|||||||||||||||||||||||||||||||||||||||||||||||||||||||||
|
1, 3, 5 |
2320 |
76,3 |
135 |
46,8 |
2108,7 |
121 |
|
|
|||||||||||||||||||||||||||||||||||||||||||||||||||
|
2a, 2в, 8е, 12д, 12е |
2370 |
91,6 |
144 |
54,9 |
2134,4 |
121 |
|
|
|||||||||||||||||||||||||||||||||||||||||||||||||||
|
2б |
2370 |
87,7 |
142 |
52,6 |
2140,3 |
121 |
|
|
|||||||||||||||||||||||||||||||||||||||||||||||||||
|
2г |
2420 |
107 |
153 |
64,1 |
2160 |
121 |
|
|
|||||||||||||||||||||||||||||||||||||||||||||||||||
|
4 |
2270 |
76,3 |
135 |
45,8 |
2058,7 |
121 |
|
|
|||||||||||||||||||||||||||||||||||||||||||||||||||
|
6 |
2360 |
76,3 |
135 |
45,8 |
2148,7 |
121 |
|
|
|||||||||||||||||||||||||||||||||||||||||||||||||||
|
7а - 8б, 8г, 11а - 12в |
2330 |
87,7 |
142 |
52,6 |
2100,3 |
121 |
|
|
|||||||||||||||||||||||||||||||||||||||||||||||||||
|
8в, 8д, 12г |
2350 |
91,6 |
144 |
54,9 |
2114,4 |
121 |
|
|
|||||||||||||||||||||||||||||||||||||||||||||||||||
|
9 |
2440 |
91,6 |
144 |
54,9 |
2204,4 |
121 |
|
|
|||||||||||||||||||||||||||||||||||||||||||||||||||
|
10 |
2720 |
99,2 |
148 |
59,5 |
2472,8 |
121 |
|
|
|||||||||||||||||||||||||||||||||||||||||||||||||||
|
III. Электромонтажные работы |
|
|
||||||||||||||||||||||||||||||||||||||||||||||||||||||||
|
(электроосвещение, КИП, автоматика и грозозащита) |
|
|
||||||||||||||||||||||||||||||||||||||||||||||||||||||||
|
1, 3 - 6 |
647 |
181 |
132 |
49,6 |
334 |
319 |
|
|
||||||||||||||||||||||||||||||||||||||||||||||||||
|
2а, 2в, 8в, 8д, 9, 12г, 12д |
696 |
217 |
142 |
59,6 |
337 |
319 |
|
|
||||||||||||||||||||||||||||||||||||||||||||||||||
|
2б, 7а - 8б, 8г, 11a - 12в |
683 |
208 |
139 |
57,1 |
336 |
319 |
|
|
||||||||||||||||||||||||||||||||||||||||||||||||||
|
2г |
764 |
253 |
152 |
69,5 |
359 |
319 |
|
|
||||||||||||||||||||||||||||||||||||||||||||||||||
|
8е |
741 |
217 |
142 |
69,6 |
382 |
319 |
|
|
||||||||||||||||||||||||||||||||||||||||||||||||||
|
10 |
740 |
236 |
147 |
64,5 |
358 |
319 |
|
|
||||||||||||||||||||||||||||||||||||||||||||||||||
|
12е |
721 |
217 |
142 |
59,6 |
362 |
319 |
|
|
||||||||||||||||||||||||||||||||||||||||||||||||||
|
IV. Монтаж технологических трубопроводов |
|
|
||||||||||||||||||||||||||||||||||||||||||||||||||||||||
|
3 - 5 |
1170 |
210 |
57,9 |
21,2 |
902,1 |
370 |
|
|
||||||||||||||||||||||||||||||||||||||||||||||||||
|
2а, 2в |
1200 |
252 |
62,1 |
25,5 |
885,9 |
370 |
|
|
||||||||||||||||||||||||||||||||||||||||||||||||||
|
2б, 11 |
1200 |
242 |
61,1 |
24,4 |
896,9 |
370 |
|
|
||||||||||||||||||||||||||||||||||||||||||||||||||
|
2г |
1300 |
294 |
66,4 |
29,7 |
939,6 |
370 |
|
|
||||||||||||||||||||||||||||||||||||||||||||||||||
|
6 |
1180 |
210 |
57,9 |
21,2 |
912,1 |
370 |
|
|
||||||||||||||||||||||||||||||||||||||||||||||||||
|
7а - 8б, 8г, 12а - 12в |
1220 |
242 |
61,1 |
24,4 |
916,9 |
370 |
|
|
||||||||||||||||||||||||||||||||||||||||||||||||||
|
8в, 8д, 12г - 12е |
1230 |
252 |
62,1 |
25,5 |
916,9 |
370 |
|
|
||||||||||||||||||||||||||||||||||||||||||||||||||
|
8е - 9в |
1270 |
252 |
62,1 |
25,5 |
955,9 |
370 |
|
|
||||||||||||||||||||||||||||||||||||||||||||||||||
|
10 |
1370 |
273 |
64,3 |
27,6 |
1032,7 |
370 |
|
|
||||||||||||||||||||||||||||||||||||||||||||||||||
|
РАЙОННАЯ ЦЕНА № 15 |
|
|
||||||||||||||||||||||||||||||||||||||||||||||||||||||||
|
Водонапорная бесшатровая кирпичная башня со стальным баком вместимостью 100 м3, высотой до дна бака 15 м |
|
|
||||||||||||||||||||||||||||||||||||||||||||||||||||||||
|
Измеритель - 1 башня |
|
|
||||||||||||||||||||||||||||||||||||||||||||||||||||||||
|
I. Строительные работы |
|
|
||||||||||||||||||||||||||||||||||||||||||||||||||||||||
|
1а, 3б |
3980 |
408 |
120 |
40,8 |
3402 |
703 |
|
|
||||||||||||||||||||||||||||||||||||||||||||||||||
|
1б, 1г, 5а |
4080 |
408 |
121 |
40,8 |
3591 |
703 |
|
|
||||||||||||||||||||||||||||||||||||||||||||||||||
|
1в, 3в |
4160 |
408 |
121 |
40,8 |
3601 |
703 |
|
|
||||||||||||||||||||||||||||||||||||||||||||||||||
|
1д, 6б, 6в |
4260 |
408 |
120 |
40,8 |
3732 |
703 |
|
|
||||||||||||||||||||||||||||||||||||||||||||||||||
|
1е |
5060 |
408 |
121 |
40,8 |
4531 |
703 |
|
|
||||||||||||||||||||||||||||||||||||||||||||||||||
|
1ж, 3а |
3830 |
408 |
118 |
40,8 |
3304 |
703 |
|
|
||||||||||||||||||||||||||||||||||||||||||||||||||
|
2а, 9а |
5140 |
490 |
133 |
49,1 |
4517 |
703 |
|
|
||||||||||||||||||||||||||||||||||||||||||||||||||
|
2б |
5810 |
470 |
131 |
46,8 |
5209 |
703 |
|
|
||||||||||||||||||||||||||||||||||||||||||||||||||
|
2в |
5570 |
490 |
133 |
49,1 |
4947 |
703 |
|
|
||||||||||||||||||||||||||||||||||||||||||||||||||
|
2г |
6080 |
572 |
144 |
57,4 |
4364 |
703 |
|
|
||||||||||||||||||||||||||||||||||||||||||||||||||
|
3г, 4б |
4520 |
408 |
121 |
40,8 |
3991 |
703 |
|
|||||||||||||||||||||||||||||||||||||||||||||||||||
|
4а |
3870 |
408 |
119 |
40,8 |
3343 |
703 |
|
|||||||||||||||||||||||||||||||||||||||||||||||||||
|
5б |
4700 |
408 |
125 |
40,8 |
4167 |
703 |
|
|||||||||||||||||||||||||||||||||||||||||||||||||||
|
6а |
4320 |
408 |
121 |
40,8 |
3791 |
703 |
|
|||||||||||||||||||||||||||||||||||||||||||||||||||
|
7а |
4380 |
470 |
127 |
46,8 |
3783 |
703 |
|
|||||||||||||||||||||||||||||||||||||||||||||||||||
|
7б, 7г, 12б |
4090 |
470 |
127 |
46,8 |
3493 |
703 |
|
|||||||||||||||||||||||||||||||||||||||||||||||||||
|
7в, 8б, 11в, 11e |
4670 |
470 |
128 |
46,8 |
4072 |
703 |
|
|||||||||||||||||||||||||||||||||||||||||||||||||||
|
8a, 11б, 11д, 12в |
4010 |
470 |
126 |
46,8 |
3914 |
703 |
|
|||||||||||||||||||||||||||||||||||||||||||||||||||
|
8в |
4650 |
490 |
131 |
49,1 |
4029 |
703 |
|
|||||||||||||||||||||||||||||||||||||||||||||||||||
|
8г |
5580 |
470 |
129 |
46,8 |
4981 |
703 |
|
|||||||||||||||||||||||||||||||||||||||||||||||||||
|
8д |
3890 |
490 |
131 |
49,1 |
3269 |
703 |
|
|||||||||||||||||||||||||||||||||||||||||||||||||||
|
8е, 9в, 12е |
4720 |
490 |
133 |
49,1 |
4097 |
703 |
|
|||||||||||||||||||||||||||||||||||||||||||||||||||
|
9б |
4140 |
490 |
131 |
49,1 |
3519 |
703 |
|
|||||||||||||||||||||||||||||||||||||||||||||||||||
|
10а, 10в |
5190 |
531 |
135 |
53,2 |
4524 |
703 |
|
|||||||||||||||||||||||||||||||||||||||||||||||||||
|
10б |
5040 |
531 |
135 |
53,2 |
4374 |
703 |
|
|||||||||||||||||||||||||||||||||||||||||||||||||||
|
10а |
5100 |
470 |
131 |
46,8 |
4499 |
703 |
|
|||||||||||||||||||||||||||||||||||||||||||||||||||
|
11г |
4420 |
470 |
127 |
46,8 |
3823 |
703 |
|
|||||||||||||||||||||||||||||||||||||||||||||||||||
|
12a |
4050 |
470 |
125 |
46,8 |
3455 |
703 |
|
|||||||||||||||||||||||||||||||||||||||||||||||||||
|
12г |
4370 |
490 |
128 |
49,1 |
3752 |
703 |
|
|||||||||||||||||||||||||||||||||||||||||||||||||||
|
12д |
4810 |
490 |
128 |
49,1 |
4192 |
703 |
|
|||||||||||||||||||||||||||||||||||||||||||||||||||
|
В том числе: |
|
|||||||||||||||||||||||||||||||||||||||||||||||||||||||||
|
а) земляные работы |
|
|||||||||||||||||||||||||||||||||||||||||||||||||||||||||
|
1a - 1e, 3в, 3г, 4б, 5а, 6а, 6в |
108 |
53,8 |
54,2 |
20,1 |
- |
89,6 |
|
|||||||||||||||||||||||||||||||||||||||||||||||||||
|
1ж, 3б, 4а, 6б |
106 |
53,8 |
55,2 |
20,1 |
- |
89,6 |
|
|||||||||||||||||||||||||||||||||||||||||||||||||||
|
2а, 2в, 8е, 9а, 9в,12е |
127 |
64,5 |
62,5 |
24,2 |
- |
89,6 |
|
|||||||||||||||||||||||||||||||||||||||||||||||||||
|
2б, 11а |
123 |
61,8 |
61,2 |
22,9 |
- |
89,6 |
|
|||||||||||||||||||||||||||||||||||||||||||||||||||
|
2г |
144 |
75,3 |
68,7 |
28,3 |
- |
89,6 |
|
|||||||||||||||||||||||||||||||||||||||||||||||||||
|
3а |
104 |
53,8 |
50,2 |
20,1 |
- |
89,6 |
|
|||||||||||||||||||||||||||||||||||||||||||||||||||
|
5б |
112 |
53,8 |
58,2 |
20,1 |
- |
89,6 |
|
|||||||||||||||||||||||||||||||||||||||||||||||||||
|
7а, 7б, 7г - 8б, 11б - 11е, 12б |
119 |
61,8 |
57,2 |
22,9 |
- |
89,6 |
|
|||||||||||||||||||||||||||||||||||||||||||||||||||
|
7в, 8г |
121 |
61,8 |
59,2 |
22,9 |
- |
89,6 |
|
|||||||||||||||||||||||||||||||||||||||||||||||||||
|
8в, 8д, 9б |
125 |
64,5 |
60,5 |
24,2 |
- |
89,6 |
|
|||||||||||||||||||||||||||||||||||||||||||||||||||
|
10 |
132 |
69,9 |
62,1 |
26,3 |
- |
89,6 |
|
|||||||||||||||||||||||||||||||||||||||||||||||||||
|
12а, 12в |
117 |
61,8 |
55,2 |
22,9 |
- |
89,6 |
|
|||||||||||||||||||||||||||||||||||||||||||||||||||
|
12г, 12д |
121 |
64,5 |
56,2 |
24,2 |
- |
89,6 |
|
|||||||||||||||||||||||||||||||||||||||||||||||||||
|
б) фундаменты |
|
|
|||||||||||||||||||||||||||||||||||||||||||||||||||||||||
|
1а, 1б, 3в, 5а |
810 |
47,9 |
11,4 |
3,41 |
750,7 |
86 |
|
|
|||||||||||||||||||||||||||||||||||||||||||||||||||
|
1в, 4а, 6б |
790 |
47,9 |
11,4 |
3,41 |
730,7 |
86 |
|
|
|||||||||||||||||||||||||||||||||||||||||||||||||||
|
1г - 1e, 4б |
825 |
47,9 |
11,4 |
3,41 |
765,7 |
86 |
|
|
|||||||||||||||||||||||||||||||||||||||||||||||||||
|
1ж |
714 |
47,9 |
11,4 |
3,41 |
654,7 |
86 |
|
|
|||||||||||||||||||||||||||||||||||||||||||||||||||
|
2а |
1010 |
57,4 |
12 |
4,1 |
940,6 |
86 |
|
|
|||||||||||||||||||||||||||||||||||||||||||||||||||
|
2б |
1070 |
55 |
11,9 |
3,93 |
1003,1 |
86 |
|
|
|||||||||||||||||||||||||||||||||||||||||||||||||||
|
2в |
1070 |
57,4 |
12 |
4,1 |
1000,6 |
86 |
|
|
|||||||||||||||||||||||||||||||||||||||||||||||||||
|
2г |
1140 |
67 |
12,7 |
4,78 |
1060,3 |
86 |
|
|
|||||||||||||||||||||||||||||||||||||||||||||||||||
|
3а |
773 |
47,9 |
11,4 |
3,41 |
713,7 |
86 |
|
|
|||||||||||||||||||||||||||||||||||||||||||||||||||
|
3б |
755 |
47,9 |
11,4 |
3,41 |
695,7 |
86 |
|
|
|||||||||||||||||||||||||||||||||||||||||||||||||||
|
3г |
691 |
47,9 |
11,4 |
3,41 |
631,7 |
86 |
|
|
|||||||||||||||||||||||||||||||||||||||||||||||||||
|
5б |
764 |
47,9 |
11,4 |
3,41 |
704,7 |
86 |
|
|
|||||||||||||||||||||||||||||||||||||||||||||||||||
|
6а, 6в |
839 |
47,9 |
11,4 |
3,41 |
779,7 |
86 |
|
|
|||||||||||||||||||||||||||||||||||||||||||||||||||
|
7а - 7в |
804 |
55 |
11,9 |
3,93 |
731,7 |
86 |
|
|
|||||||||||||||||||||||||||||||||||||||||||||||||||
|
7г, 12б |
794 |
55 |
11,9 |
3,93 |
727,1 |
86 |
|
|
|||||||||||||||||||||||||||||||||||||||||||||||||||
|
8а |
823 |
55 |
11,9 |
3,93 |
756,1 |
86 |
|
|
|||||||||||||||||||||||||||||||||||||||||||||||||||
|
8б |
914 |
55 |
11,9 |
3,93 |
847,1 |
86 |
|
|
|||||||||||||||||||||||||||||||||||||||||||||||||||
|
8в |
958 |
57,4 |
12 |
4,1 |
888,6 |
86 |
|
|
|||||||||||||||||||||||||||||||||||||||||||||||||||
|
8г |
1320 |
55 |
11,9 |
3,93 |
1253,1 |
86 |
|
|
|||||||||||||||||||||||||||||||||||||||||||||||||||
|
8д, 9б |
882 |
57,4 |
12 |
4,1 |
812,6 |
86 |
|
|
|||||||||||||||||||||||||||||||||||||||||||||||||||
|
8е |
1260 |
57,4 |
12 |
4,1 |
1190,6 |
86 |
|
|
|||||||||||||||||||||||||||||||||||||||||||||||||||
|
9а, 9в |
936 |
57,4 |
12 |
4,1 |
866,6 |
86 |
|
|
|||||||||||||||||||||||||||||||||||||||||||||||||||
|
10а, 10б |
1000 |
62,2 |
12,4 |
4,44 |
925,4 |
86 |
|
|
|||||||||||||||||||||||||||||||||||||||||||||||||||
|
10в |
968 |
62,2 |
12,4 |
4,44 |
893,4 |
86 |
|
|
|||||||||||||||||||||||||||||||||||||||||||||||||||
|
11а |
990 |
55 |
11,9 |
3,93 |
923,1 |
86 |
|
|
|||||||||||||||||||||||||||||||||||||||||||||||||||
|
11б - 11е |
856 |
55 |
11,9 |
3,3 |
789,1 |
86 |
|
|
|||||||||||||||||||||||||||||||||||||||||||||||||||
|
12a |
763 |
55 |
11,9 |
3,93 |
696,1 |
86 |
|
|
|||||||||||||||||||||||||||||||||||||||||||||||||||
|
12в |
715 |
55 |
11,9 |
3,93 |
648,1 |
86 |
|
|
|||||||||||||||||||||||||||||||||||||||||||||||||||
|
12г |
836 |
57,4 |
12 |
4,1 |
766,6 |
86 |
|
|
|||||||||||||||||||||||||||||||||||||||||||||||||||
|
12д |
850 |
57,4 |
12 |
4,1 |
780,6 |
86 |
|
|
|||||||||||||||||||||||||||||||||||||||||||||||||||
|
12е |
1020 |
57,4 |
12 |
4,1 |
950,6 |
86 |
|
|
|||||||||||||||||||||||||||||||||||||||||||||||||||
|
в) ствол башни |
|
|
|||||||||||||||||||||||||||||||||||||||||||||||||||||||||
|
1а, 1ж |
2750 |
288 |
48,7 |
15 |
2413,3 |
487 |
|
|
|||||||||||||||||||||||||||||||||||||||||||||||||||
|
1б, 5а |
2900 |
288 |
48,7 |
15 |
2563,3 |
487 |
|
|
|||||||||||||||||||||||||||||||||||||||||||||||||||
|
1в, 3в, 6в |
3000 |
288 |
48,7 |
15 |
2663,3 |
487 |
|
|
|||||||||||||||||||||||||||||||||||||||||||||||||||
|
1г |
2860 |
288 |
48,7 |
15 |
2523,3 |
487 |
|
|
|||||||||||||||||||||||||||||||||||||||||||||||||||
|
1д, 6а |
3090 |
288 |
48,7 |
15 |
2753,3 |
487 |
|
|
|||||||||||||||||||||||||||||||||||||||||||||||||||
|
1е |
3860 |
288 |
48,7 |
15 |
3523,3 |
487 |
|
|
|||||||||||||||||||||||||||||||||||||||||||||||||||
|
2а |
3720 |
346 |
51,7 |
15 |
3322,3 |
487 |
|
|
|||||||||||||||||||||||||||||||||||||||||||||||||||
|
2б |
4340 |
331 |
50,9 |
17,2 |
3958,1 |
487 |
|
|
|||||||||||||||||||||||||||||||||||||||||||||||||||
|
2в |
4080 |
346 |
51,7 |
18 |
3682,3 |
487 |
|
|
|||||||||||||||||||||||||||||||||||||||||||||||||||
|
2г |
3480 |
403 |
54,7 |
21 |
3022,3 |
487 |
|
|
|||||||||||||||||||||||||||||||||||||||||||||||||||
|
3а, 4а |
2710 |
288 |
48,7 |
15 |
2373,9 |
487 |
|
|
|||||||||||||||||||||||||||||||||||||||||||||||||||
|
3б |
2810 |
288 |
48,7 |
15 |
2473,3 |
487 |
|
|
|||||||||||||||||||||||||||||||||||||||||||||||||||
|
3г |
3470 |
288 |
48,7 |
15 |
3133,3 |
487 |
|
|
|||||||||||||||||||||||||||||||||||||||||||||||||||
|
4б |
3340 |
288 |
48,7 |
15 |
3003,3 |
487 |
|
|
|||||||||||||||||||||||||||||||||||||||||||||||||||
|
5б |
3540 |
288 |
48,7 |
15 |
3208,3 |
487 |
|
|
|||||||||||||||||||||||||||||||||||||||||||||||||||
|
6б |
3120 |
288 |
48,7 |
15 |
2783,3 |
487 |
|
|
|||||||||||||||||||||||||||||||||||||||||||||||||||
|
7а, 11б, 11г |
3180 |
331 |
50,9 |
17,2 |
2798,1 |
487 |
|
|
|||||||||||||||||||||||||||||||||||||||||||||||||||
|
7б, 7г, 12a, 12б |
2900 |
331 |
50,9 |
17,2 |
2518,1 |
487 |
|
|
|||||||||||||||||||||||||||||||||||||||||||||||||||
|
7в |
3500 |
331 |
50,9 |
17,2 |
3118,1 |
487 |
|
|
|||||||||||||||||||||||||||||||||||||||||||||||||||
|
8а |
3290 |
331 |
50,9 |
17,2 |
2908,1 |
487 |
|
|
|||||||||||||||||||||||||||||||||||||||||||||||||||
|
8б |
3340 |
331 |
50,9 |
17,2 |
2858,1 |
487 |
|
|
|||||||||||||||||||||||||||||||||||||||||||||||||||
|
8в, 12е |
3290 |
346 |
51,7 |
18 |
2892,3 |
487 |
|
|
|||||||||||||||||||||||||||||||||||||||||||||||||||
|
8г |
3840 |
331 |
50,9 |
17,2 |
3458,1 |
487 |
|
|
|||||||||||||||||||||||||||||||||||||||||||||||||||
|
8д |
2600 |
346 |
51,7 |
18 |
2202,3 |
487 |
|
|
|||||||||||||||||||||||||||||||||||||||||||||||||||
|
8е |
3010 |
346 |
51,7 |
18 |
2612,3 |
487 |
|
|
|||||||||||||||||||||||||||||||||||||||||||||||||||
|
9а |
3780 |
346 |
51,7 |
18 |
3382,3 |
487 |
|
|
|||||||||||||||||||||||||||||||||||||||||||||||||||
|
9б |
2850 |
346 |
51,7 |
18 |
2452,3 |
487 |
|
|
|||||||||||||||||||||||||||||||||||||||||||||||||||
|
9в |
3060 |
346 |
51,7 |
18 |
2662,3 |
487 |
|
|
|||||||||||||||||||||||||||||||||||||||||||||||||||
|
10а, 10в |
3760 |
374 |
53,2 |
19,5 |
3332,8 |
487 |
|
|
|||||||||||||||||||||||||||||||||||||||||||||||||||
|
10б |
3580 |
374 |
53,2 |
19,5 |
3152,8 |
487 |
|
|
|||||||||||||||||||||||||||||||||||||||||||||||||||
|
11a |
3670 |
331 |
50,9 |
17,2 |
3288,1 |
487 |
|
|
|||||||||||||||||||||||||||||||||||||||||||||||||||
|
11в, 11e, 12в |
3430 |
331 |
50,9 |
17,2 |
3048,1 |
487 |
|
|
|||||||||||||||||||||||||||||||||||||||||||||||||||
|
11д |
3230 |
331 |
50,9 |
17,2 |
2848,1 |
487 |
|
|
|||||||||||||||||||||||||||||||||||||||||||||||||||
|
12г |
3140 |
346 |
51,7 |
18 |
2742,3 |
487 |
|
|
|||||||||||||||||||||||||||||||||||||||||||||||||||
|
12д |
3580 |
346 |
51,7 |
18 |
3182,3 |
487 |
|
|
|||||||||||||||||||||||||||||||||||||||||||||||||||
|
II. Монтаж металлоконструкций |
|
|
|||||||||||||||||||||||||||||||||||||||||||||||||||||||||
|
1, 3, 5 |
2860 |
77,9 |
138 |
47,1 |
2144,1 |
124 |
|
|
|||||||||||||||||||||||||||||||||||||||||||||||||||
|
2а, 2в, 8е, 12д, 12е |
2420 |
93,4 |
148 |
56,5 |
2178,6 |
124 |
|
|
|||||||||||||||||||||||||||||||||||||||||||||||||||
|
2б |
2420 |
89,6 |
145 |
54,2 |
2185,4 |
124 |
|
|
|||||||||||||||||||||||||||||||||||||||||||||||||||
|
2г |
2470 |
109 |
157 |
66 |
2204 |
124 |
|
|
|||||||||||||||||||||||||||||||||||||||||||||||||||
|
4 |
2320 |
77,9 |
138 |
47,1 |
2104,1 |
134 |
|
|
|||||||||||||||||||||||||||||||||||||||||||||||||||
|
6 |
2410 |
77,9 |
138 |
47,1 |
2194,1 |
124 |
|
|
|||||||||||||||||||||||||||||||||||||||||||||||||||
|
7а - 8б, 8г, 11а - 12в |
2380 |
89,6 |
145 |
54,2 |
2145,4 |
124 |
|
|
|||||||||||||||||||||||||||||||||||||||||||||||||||
|
8в, 8д, 12г |
2400 |
93,4 |
148 |
56,5 |
2158,6 |
124 |
|
|
|||||||||||||||||||||||||||||||||||||||||||||||||||
|
9 |
2500 |
93,4 |
148 |
56,5 |
2258,6 |
124 |
|
|
|||||||||||||||||||||||||||||||||||||||||||||||||||
|
10 |
2770 |
101 |
152 |
61,2 |
21517 |
124 |
|
|
|||||||||||||||||||||||||||||||||||||||||||||||||||
|
III. Электромонтажные работы |
|
|||||||||||||||||||||||||||||||||||||||||||||||||||||||||
|
(электроосвещение, КИП, автоматика и грозозащита) |
|
|||||||||||||||||||||||||||||||||||||||||||||||||||||||||
|
1, 3 - 6 |
647 |
181 |
132 |
49,6 |
334 |
319 |
|
|||||||||||||||||||||||||||||||||||||||||||||||||||
|
2а, 2в, 8в, 8д, 9, 12г, 12д |
696 |
217 |
142 |
59,6 |
337 |
319 |
|
|||||||||||||||||||||||||||||||||||||||||||||||||||
|
2б, 7а - 8б, 8г, 11а - 12в |
683 |
208 |
139 |
57,1 |
336 |
319 |
|
|||||||||||||||||||||||||||||||||||||||||||||||||||
|
2г |
764 |
253 |
152 |
69,5 |
359 |
319 |
|
|||||||||||||||||||||||||||||||||||||||||||||||||||
|
8е |
741 |
217 |
142 |
59,6 |
382 |
319 |
|
|||||||||||||||||||||||||||||||||||||||||||||||||||
|
10 |
740 |
235 |
147 |
64,5 |
358 |
319 |
|
|||||||||||||||||||||||||||||||||||||||||||||||||||
|
12е |
721 |
217 |
142 |
59,6 |
362 |
319 |
|
|||||||||||||||||||||||||||||||||||||||||||||||||||
|
IV. Монтаж технологических трубопроводов |
|
|||||||||||||||||||||||||||||||||||||||||||||||||||||||||
|
1, 3 - 6 |
1330 |
239 |
65,8 |
24,1 |
1025,2 |
421 |
|
|||||||||||||||||||||||||||||||||||||||||||||||||||
|
2а, 2в |
1370 |
287 |
70,6 |
29 |
1012,4 |
421 |
|
|||||||||||||||||||||||||||||||||||||||||||||||||||
|
2б, 11 |
1060 |
275 |
69,4 |
27,8 |
1015,6 |
421 |
|
|||||||||||||||||||||||||||||||||||||||||||||||||||
|
2г |
1470 |
335 |
75,5 |
33,8 |
1059,5 |
421 |
|
|||||||||||||||||||||||||||||||||||||||||||||||||||
|
6 |
1350 |
239 |
65,8 |
24,1 |
1045,2 |
421 |
|
|||||||||||||||||||||||||||||||||||||||||||||||||||
|
7а - 8б, 8г, 12а - 12в |
1380 |
275 |
69,4 |
27,8 |
1035,6 |
421 |
|
|||||||||||||||||||||||||||||||||||||||||||||||||||
|
8в, 8д, 12г - 12е |
1400 |
287 |
70,6 |
29 |
1042,4 |
421 |
|
|||||||||||||||||||||||||||||||||||||||||||||||||||
|
8е - 9в |
1450 |
287 |
70,6 |
29 |
1092,4 |
421 |
|
|||||||||||||||||||||||||||||||||||||||||||||||||||
|
10 |
1560 |
311 |
73,1 |
31,4 |
1175,9 |
421 |
|
|||||||||||||||||||||||||||||||||||||||||||||||||||
|
РАЙОННАЯ ЦЕНА № 16 |
|
|||||||||||||||||||||||||||||||||||||||||||||||||||||||||
|
Водонапорная бесшатровая кирпичная башня со стальным баком вместимостью 1ЮО м3, высотой до дна бака 18 м |
|
|||||||||||||||||||||||||||||||||||||||||||||||||||||||||
|
Измеритель - 1 башня |
|
|||||||||||||||||||||||||||||||||||||||||||||||||||||||||
|
I. Строительные работы |
|
|||||||||||||||||||||||||||||||||||||||||||||||||||||||||
|
1а, 3б |
4450 |
464 |
132 |
44,5 |
3854 |
800 |
|
|||||||||||||||||||||||||||||||||||||||||||||||||||
|
1б, 1г, 5а |
4630 |
464 |
133 |
44,5 |
4033 |
800 |
|
|||||||||||||||||||||||||||||||||||||||||||||||||||
|
1в, 3в |
4720 |
464 |
133 |
44,5 |
4123 |
800 |
|
|||||||||||||||||||||||||||||||||||||||||||||||||||
|
1д, 6б, 6в |
4840 |
464 |
132 |
44,5 |
4244 |
800 |
|
|||||||||||||||||||||||||||||||||||||||||||||||||||
|
1е |
5760 |
464 |
133 |
44,5 |
5163 |
800 |
|
|||||||||||||||||||||||||||||||||||||||||||||||||||
|
1ж, 3а, 4а |
4370 |
464 |
129 |
44,5 |
3777 |
800 |
|
|||||||||||||||||||||||||||||||||||||||||||||||||||
|
2а, 9а |
5840 |
556 |
146 |
53,5 |
5138 |
800 |
|
|||||||||||||||||||||||||||||||||||||||||||||||||||
|
2б |
6610 |
533 |
143 |
51 |
5934 |
800 |
|
|||||||||||||||||||||||||||||||||||||||||||||||||||
|
2в |
6330 |
556 |
146 |
53,5 |
5628 |
800 |
|
|||||||||||||||||||||||||||||||||||||||||||||||||||
|
2г |
5780 |
649 |
157 |
62,6 |
4974 |
800 |
|
|||||||||||||||||||||||||||||||||||||||||||||||||||
|
3г, 4б |
5160 |
464 |
131 |
44,5 |
4563 |
800 |
|
|
||||||||||||||||||||||||||||||||||||||||||||||||||
|
5б |
5360 |
464 |
137 |
44,5 |
4769 |
800 |
|
|
||||||||||||||||||||||||||||||||||||||||||||||||||
|
6a |
4920 |
464 |
133 |
44,5 |
4323 |
800 |
|
|
||||||||||||||||||||||||||||||||||||||||||||||||||
|
7a |
4970 |
533 |
139 |
51 |
4298 |
800 |
|
|
||||||||||||||||||||||||||||||||||||||||||||||||||
|
7б, 7г, 12а, 12б |
4630 |
533 |
138 |
51 |
3959 |
800 |
|
|
||||||||||||||||||||||||||||||||||||||||||||||||||
|
7в, 8б, 11в, 11e |
5310 |
533 |
140 |
51 |
4637 |
800 |
|
|
||||||||||||||||||||||||||||||||||||||||||||||||||
|
8a, 11б, 11д, 12в |
5140 |
533 |
138 |
51 |
4469 |
800 |
|
|
||||||||||||||||||||||||||||||||||||||||||||||||||
|
8в, 9в |
5290 |
556 |
144 |
53,5 |
4590 |
800 |
|
|
||||||||||||||||||||||||||||||||||||||||||||||||||
|
8г |
6330 |
533 |
141 |
51 |
5656 |
800 |
|
|
||||||||||||||||||||||||||||||||||||||||||||||||||
|
8д |
4400 |
556 |
143 |
53,5 |
3701 |
800 |
|
|
||||||||||||||||||||||||||||||||||||||||||||||||||
|
8е, 12е |
5370 |
556 |
146 |
53,5 |
4668 |
800 |
|
|
||||||||||||||||||||||||||||||||||||||||||||||||||
|
9б |
4700 |
556 |
143 |
53,5 |
4001 |
800 |
|
|
||||||||||||||||||||||||||||||||||||||||||||||||||
|
10а, 10в |
5900 |
603 |
148 |
58 |
5149 |
800 |
|
|
||||||||||||||||||||||||||||||||||||||||||||||||||
|
10б |
5720 |
608 |
148 |
58 |
4969 |
800 |
|
|
||||||||||||||||||||||||||||||||||||||||||||||||||
|
11а |
5800 |
533 |
148 |
51 |
5124 |
800 |
|
|
||||||||||||||||||||||||||||||||||||||||||||||||||
|
11г |
5040 |
533 |
139 |
51 |
4368 |
800 |
|
|
||||||||||||||||||||||||||||||||||||||||||||||||||
|
12г |
4960 |
556 |
140 |
53,5 |
4264 |
800 |
|
|
||||||||||||||||||||||||||||||||||||||||||||||||||
|
12д |
5470 |
556 |
140 |
53,5 |
4774 |
800 |
|
|
||||||||||||||||||||||||||||||||||||||||||||||||||
|
В том числе |
|
|
||||||||||||||||||||||||||||||||||||||||||||||||||||||||
|
а) земляные работы |
|
|
||||||||||||||||||||||||||||||||||||||||||||||||||||||||
|
1а - 1е, 3в, 3г, 4б, 5а, 6a, 6в |
119 |
60 |
59 |
21,9 |
- |
99,9 |
|
|
||||||||||||||||||||||||||||||||||||||||||||||||||
|
1ж, 3б, 4а, 6б |
117 |
60 |
57 |
21,9 |
- |
99,9 |
|
|
||||||||||||||||||||||||||||||||||||||||||||||||||
|
2а, 2в, 8е, 9а, 9в, 12е |
140 |
72 |
68 |
26,3 |
- |
99,9 |
|
|
||||||||||||||||||||||||||||||||||||||||||||||||||
|
2б, 11a |
135 |
69 |
66 |
25 |
- |
99,9 |
|
|
||||||||||||||||||||||||||||||||||||||||||||||||||
|
2г |
159 |
84 |
75 |
30,8 |
- |
99,9 |
|
|
||||||||||||||||||||||||||||||||||||||||||||||||||
|
3а |
115 |
60 |
55 |
21,9 |
- |
99,9 |
|
|
||||||||||||||||||||||||||||||||||||||||||||||||||
|
5б |
124 |
60 |
64 |
21,9 |
- |
99,9 |
|
|
||||||||||||||||||||||||||||||||||||||||||||||||||
|
7a, 7б, 7г - 8б, 11б - 11е, 12б |
132 |
69 |
63 |
25 |
- |
99,9 |
|
|
||||||||||||||||||||||||||||||||||||||||||||||||||
|
7в, 8г |
134 |
69 |
65 |
25 |
- |
99,9 |
|
|
||||||||||||||||||||||||||||||||||||||||||||||||||
|
8в, 8д, 9б |
137 |
72 |
65 |
26,3 |
- |
99,9 |
|
|
||||||||||||||||||||||||||||||||||||||||||||||||||
|
10 |
146 |
78 |
68 |
28,6 |
- |
99,9 |
|
|
||||||||||||||||||||||||||||||||||||||||||||||||||
|
12а, 12в |
129 |
69 |
60 |
25 |
- |
99,9 |
|
|
||||||||||||||||||||||||||||||||||||||||||||||||||
|
12г, 12д |
134 |
72 |
62 |
26,3 |
- |
99,9 |
|
|
||||||||||||||||||||||||||||||||||||||||||||||||||
|
б) фундаменты |
|
|
||||||||||||||||||||||||||||||||||||||||||||||||||||||||
|
1a, 1б, 3в, 5а |
876 |
91 |
12 |
3,62 |
813 |
91,8 |
|
|
||||||||||||||||||||||||||||||||||||||||||||||||||
|
1в, 4а, 6б |
854 |
51 |
12 |
3,62 |
791 |
91,8 |
|
|
||||||||||||||||||||||||||||||||||||||||||||||||||
|
1г - 1e, 4б, 6a |
896 |
51 |
12 |
3,62 |
833 |
91,8 |
|
|
|
|
|
|
|
|
|
|
|
|
|
|
|
|
|
|
|
|
|
|
|
|
|
|||||||||||||||||||||||||||
|
1ж |
772 |
51 |
12 |
3,62 |
709 |
91,8 |
|
|
|
|
|
|
|
|
|
|
|
|
|
|
|
|
|
|
|
|
|
|
|
|
|
|||||||||||||||||||||||||||
|
2a |
1090 |
61,3 |
12,8 |
4,84 |
1015,9 |
91,8 |
|
|
|
|
|
|
|
|
|
|
|
|
|
|
|
|
|
|
|
|
|
|
|
|
|
|||||||||||||||||||||||||||
|
2б |
1150 |
58,7 |
12,6 |
4,16 |
1078,7 |
91,8 |
|
|
|
|
|
|
|
|
|
|
|
|
|
|
|
|
|
|
|
|
|
|
|
|
|
|||||||||||||||||||||||||||
|
2в |
1160 |
61,3 |
12,8 |
4,34 |
1085,9 |
91,8 |
|
|
|
|
|
|
|
|
|
|
|
|
|
|
|
|
|
|
|
|
|
|
|
|
|
|||||||||||||||||||||||||||
|
2г |
1240 |
71,5 |
13,5 |
5,06 |
1155 |
91,8 |
|
|
|
|
|
|
|
|
|
|
|
|
|
|
|
|
|
|
|
|
|
|
|
|
|
|||||||||||||||||||||||||||
|
3а |
836 |
51 |
12 |
3,62 |
773 |
91,8 |
|
|
|
|
|
|
|
|
|
|
|
|
|
|
|
|
|
|
|
|
|
|
|
|
|
|||||||||||||||||||||||||||
|
3б |
816 |
51 |
12 |
3,62 |
753 |
91,8 |
|
|
|
|
|
|
|
|
|
|
|
|
|
|
|
|
|
|
|
|
|
|
|
|
|
|||||||||||||||||||||||||||
|
3г |
748 |
51 |
12 |
3,62 |
685 |
91,8 |
|
|
|
|
|
|
|
|
|
|
|
|
|
|
|
|
|
|
|
|
|
|
|
|
|
|||||||||||||||||||||||||||
|
5б |
826 |
51 |
12 |
3,62 |
763 |
91,8 |
|
|
|
|
|
|
|
|
|
|
|
|
|
|
|
|
|
|
|
|
|
|
|
|
|
|||||||||||||||||||||||||||
|
6в |
907 |
51 |
12 |
3,62 |
844 |
91,8 |
|
|
|
|
|
|
|
|
|
|
|
|
|
|
|
|
|
|
|
|
|
|
|
|
|
|||||||||||||||||||||||||||
|
7а - 7в |
870 |
58,7 |
12,6 |
4,16 |
798,7 |
91,8 |
|
|
|
|
|
|
|
|
|
|
|
|
|
|
|
|
|
|
|
|
|
|
|
|
|
|||||||||||||||||||||||||||
|
7г, 12б |
858 |
58,7 |
12,6 |
4,16 |
786,7 |
91,8 |
|
|
|
|
|
|
|
|
|
|
|
|
|
|
|
|
|
|
|
|
|
|
|
|
|
|||||||||||||||||||||||||||
|
8а |
890 |
58,7 |
12,6 |
4,16 |
818,7 |
91,8 |
|
|
|
|
|
|
|
|
|
|
|
|
|
|
|
|
|
|
|
|
|
|
|
|
|
|||||||||||||||||||||||||||
|
8б |
988 |
58,7 |
12,6 |
4,16 |
916,7 |
91,8 |
|
|
|
|
|
|
|
|
|
|
|
|
|
|
|
|
|
|
|
|
|
|
|
|
|
|||||||||||||||||||||||||||
|
8в |
1030 |
61,3 |
12,8 |
4,34 |
955,9 |
91,8 |
|
|
|
|
|
|
|
|
|
|
|
|
|
|
|
|
|
|
|
|
|
|
|
|
|
|||||||||||||||||||||||||||
|
8г |
1430 |
58,7 |
12,6 |
4,16 |
1358,7 |
91,8 |
|
|
|
|
|
|
|
|
|
|
|
|
|
|
|
|
|
|
|
|
|
|
|
|
|
|||||||||||||||||||||||||||
|
8д, 9б |
953 |
61,3 |
12,8 |
4,34 |
878,9 |
91,8 |
|
|
|
|
|
|
|
|
|
|
|
|
|
|
|
|
|
|
|
|
|
|
|
|
|
|||||||||||||||||||||||||||
|
8е |
1360 |
61,3 |
12,8 |
4,34 |
1285,9 |
91,8 |
|
|
|
|
|
|
|
|
|
|
|
|
|
|
|
|
|
|
|
|
|
|
|
|
|
|||||||||||||||||||||||||||
|
9а, 9в |
1010 |
61,3 |
12,8 |
4,34 |
935,9 |
91,8 |
|
|
|
|
|
|
|
|
|
|
|
|
|
|
|
|
|
|
|
|
|
|
|
|
|
|||||||||||||||||||||||||||
|
10а, 10б |
1090 |
66,4 |
13,1 |
4,7 |
1010,5 |
91,8 |
|
|
|
|
|
|
|
|
|
|
|
|
|
|
|
|
|
|
|
|
|
|
|
|
|
|||||||||||||||||||||||||||
|
10в |
1050 |
66,4 |
13,1 |
4,7 |
970,5 |
91,8 |
|
|
|
|
|
|
|
|
|
|
|
|
|
|
|
|
|
|
|
|
|
|
|
|
|
|||||||||||||||||||||||||||
|
11а |
1070 |
58,7 |
12,6 |
4,16 |
998,7 |
91,8 |
|
|
|
|
|
|
|
|
|
|
|
|
|
|
|
|
|
|
|
|
|
|
|
|
|
|||||||||||||||||||||||||||
|
11б - 11е |
925 |
58,7 |
12,6 |
4,16 |
853,7 |
91,8 |
|
|
|
|
|
|
|
|
|
|
|
|
|
|
|
|
|
|
|
|
|
|
|
|
|
|||||||||||||||||||||||||||
|
12а |
825 |
58,7 |
12,6 |
4,16 |
753,7 |
91,8 |
|
|
|
|
|
|
|
|
|
|
|
|
|
|
|
|
|
|
|
|
|
|
|
|
|
|||||||||||||||||||||||||||
|
12в |
771 |
58,7 |
12,6 |
4,16 |
699,7 |
91,8 |
|
|
|
|
|
|
|
|
|
|
|
|
|
|
|
|
|
|
|
|
|
|
|
|
|
|||||||||||||||||||||||||||
|
12г |
904 |
61,3 |
12,8 |
4,34 |
829,9 |
91,8 |
|
|
|
|
|
|
|
|
|
|
|
|
|
|
|
|
|
|
|
|
|
|
|
|
|
|||||||||||||||||||||||||||
|
12д |
918 |
61,3 |
12,8 |
4,34 |
843,9 |
91,8 |
|
|
|
|
|
|
|
|
|
|
|
|
|
|
|
|
|
|
|
|
|
|
|
|
|
|||||||||||||||||||||||||||
|
12e |
1110 |
61,3 |
12,8 |
4,34 |
1035,9 |
91,8 |
|
|
|
|
|
|
|
|
|
|
|
|
|
|
|
|
|
|
|
|
|
|
|
|
|
|||||||||||||||||||||||||||
|
в) ствол башни |
|
|
|
|
|
|
|
|
|
|
|
|
|
|
|
|
|
|
|
|
|
|
|
|
|
|||||||||||||||||||||||||||||||||
|
1а, 1ж |
3180 |
331 |
56,3 |
17,4 |
2792,7 |
558 |
|
|
|
|
|
|
|
|
|
|
|
|
|
|
|
|
|
|
|
|
|
|
|
|
|
|||||||||||||||||||||||||||
|
1б, 5а |
3350 |
331 |
56,3 |
17,4 |
2962,7 |
558 |
|
|
|
|
|
|
|
|
|
|
|
|
|
|
|
|
|
|
|
|
|
|
|
|
|
|||||||||||||||||||||||||||
|
1в, 3в, 6в |
3460 |
331 |
56,3 |
17,4 |
3072,7 |
558 |
|
|
|
|
|
|
|
|
|
|
|
|
|
|
|
|
|
|
|
|
|
|
|
|
|
|||||||||||||||||||||||||||
|
1г |
3300 |
331 |
56,3 |
17,4 |
2912,7 |
558 |
|
|
|
|
|
|
|
|
|
|
|
|
|
|
|
|
|
|
|
|
|
|
|
|
|
|||||||||||||||||||||||||||
|
1д, 6a |
3560 |
331 |
56,3 |
17,4 |
3172,7 |
558 |
|
|
|
|
|
|
|
|
|
|
|
|
|
|
|
|
|
|
|
|
|
|
|
|
|
|||||||||||||||||||||||||||
|
1е |
4460 |
331 |
56,3 |
17,4 |
4072,7 |
558 |
|
|
|
|
|
|
|
|
|
|
|
|
|
|
|
|
|
|
|
|
|
|
|
|
|
|||||||||||||||||||||||||||
|
2a |
4300 |
397 |
59,8 |
20,8 |
3848,2 |
558 |
|
|
|
|
|
|
|
|
|
|
|
|
|
|
|
|
|
|
|
|
|
|
|
|
|
|||||||||||||||||||||||||||
|
2б |
5020 |
380 |
58,9 |
20 |
4581,1 |
558 |
|
|
|
|
|
|
|
|
|
|
|
|
|
|
|
|
|
|
|
|
|
|
|
|
|
|||||||||||||||||||||||||||
|
2в |
4710 |
397 |
59,8 |
20,8 |
4253,3 |
558 |
|
|
|
|
|
|
|
|
|
|
|
|
|
|
|
|
|
|
|
|
|
|
|
|
|
|||||||||||||||||||||||||||
|
2г |
4020 |
463 |
63,8 |
24,3 |
3493,7 |
558 |
|
|
|
|
|
|
|
|
|
|
|
|
|
|
|
|
|
|
|
|
|
|
|
|
|
|||||||||||||||||||||||||||
|
3а, 4а |
3120 |
331 |
56,3 |
17,4 |
2732,7 |
558 |
|
|
|
|
|
|
|
|
|
|
|
|
|
|
|
|
|
|
|
|
|
|
|
|
|
|||||||||||||||||||||||||||
|
3б |
3240 |
331 |
56,3 |
17,4 |
2852,7 |
558 |
|
|
|
|
|
|
|
|
|
|
|
|
|
|
|
|
|
|
|
|
|
|
|
|
|
|||||||||||||||||||||||||||
|
3г |
4010 |
331 |
56,3 |
17,4 |
3622,7 |
558 |
|
|
|
|
|
|
|
|
|
|
|
|
|
|
|
|
|
|
|
|
|
|
|
|
|
|||||||||||||||||||||||||||
|
4б |
3860 |
331 |
56,3 |
17,4 |
3472,7 |
558 |
|
|
|
|
|
|
|
|
|
|
|
|
|
|
|
|
|
|
|
|
|
|
|
|
|
|||||||||||||||||||||||||||
|
5б |
4080 |
331 |
56,3 |
17,4 |
3692,7 |
558 |
|
|
|
|
|
|
|
|
|
|
|
|
|
|
|
|
|
|
|
|
|
|
|
|
|
|||||||||||||||||||||||||||
|
6б |
3600 |
331 |
56,3 |
17,4 |
3212,7 |
558 |
|
|
|
|
|
|
|
|
|
|
|
|
|
|
|
|
|
|
|
|
|
|
|
|
|
|||||||||||||||||||||||||||
|
7а, 11б, 11г |
3660 |
380 |
58,9 |
20 |
3221,1 |
558 |
|
|
|
|
|
|
|
|
|
|
|
|
|
|
|
|
|
|
|
|
|
|
|
|
|
|||||||||||||||||||||||||||
|
7б, 7г, 12а, 12б |
3350 |
380 |
58,9 |
20 |
2911,1 |
558 |
|
|
|
|
|
|
|
|
|
|
|
|
|
|
|
|
|
|
|
|
|
|
|
|
|
|||||||||||||||||||||||||||
|
7в |
4040 |
380 |
38,9 |
20 |
3601,1 |
558 |
|
|
|
|
|
|
|
|
|
|
|
|
|
|
|
|
|
|
|
|
|
|
|
|
|
|||||||||||||||||||||||||||
|
8а |
3790 |
380 |
58,9 |
20 |
3351,1 |
558 |
|
|
|
|
|
|
|
|
|
|
|
|
|
|
|
|
|
|
|
|
|
|
|
|
|
|||||||||||||||||||||||||||
|
8б |
3860 |
380 |
58,9 |
20 |
3421,1 |
558 |
|
|
|
|
|
|
|
|
|
|
|
|
|
|
|
|
|
|
|
|
|
|
|
|
|
|||||||||||||||||||||||||||
|
8в, 12е |
3800 |
397 |
59,8 |
20,8 |
3343,2 |
558 |
|
|
|
|
|
|
|
|
|
|
|
|
|
|
|
|
|
|
|
|
|
|
|
|
|
|||||||||||||||||||||||||||
|
8г |
4440 |
380 |
58,9 |
20 |
4001,1 |
558 |
|
|
|
|
|
|
|
|
|
|
|
|
|
|
|
|
|
|
|
|
|
|
|
|
|
|||||||||||||||||||||||||||
|
8д |
3000 |
397 |
59,8 |
20,8 |
2543,2 |
558 |
|
|
|
|
|
|
|
|
|
|
|
|
|
|
|
|
|
|
|
|
|
|
|
|
|
|||||||||||||||||||||||||||
|
8е |
3470 |
397 |
59,8 |
20,8 |
30132 |
558 |
|
|
|
|
|
|
|
|
|
|
|
|
|
|
|
|
|
|
|
|
|
|
|
|
|
|||||||||||||||||||||||||||
|
9а |
4360 |
397 |
59,8 |
20,8 |
3903,2 |
558 |
|
|
|
|
|
|
|
|
|
|
|
|
|
|
|
|
|
|
|
|
|
|
|
|
|
|||||||||||||||||||||||||||
|
9б |
3280 |
397 |
59,8 |
20,8 |
2823,2 |
558 |
|
|
|
|
|
|
|
|
|
|
|
|
|
|
|
|
|
|
|
|
|
|
|
|
|
|||||||||||||||||||||||||||
|
9в |
3580 |
397 |
59,8 |
20,8 |
3073,2 |
558 |
|
|
|
|
|
|
|
|
|
|
|
|
|
|
|
|
|
|
|
|
|
|
|
|
|
|||||||||||||||||||||||||||
|
10а, 10в |
4340 |
430 |
61,5 |
22,6 |
3848,5 |
558 |
|
|
|
|
|
|
|
|
|
|
|
|
|
|
|
|
|
|
|
|
|
|
|
|
|
|||||||||||||||||||||||||||
|
10б |
4120 |
430 |
61,5 |
22,6 |
3628,5 |
558 |
|
|
|
|
|
|
|
|
|
|
|
|
|
|
|
|
|
|
|
|
|
|
|
|
|
|||||||||||||||||||||||||||
|
11а |
4230 |
380 |
58,9 |
20 |
3791,1 |
558 |
|
|
|
|
|
|
|
|
|
|
|
|
|
|
|
|
|
|
|
|
|
|
|
|
|
|||||||||||||||||||||||||||
|
11в, 11e |
3940 |
380 |
58,9 |
20 |
3501,1 |
558 |
|
|
|
|
|
|
|
|
|
|
|
|
|
|
|
|
|
|
|
|
|
|
|
|
|
|||||||||||||||||||||||||||
|
11д |
3730 |
380 |
58,9 |
20 |
3291,1 |
558 |
|
|
|
|
|
|
|
|
|
|
|
|
|
|
|
|
|
|
|
|
|
|
|
|
|
|||||||||||||||||||||||||||
|
12в |
3980 |
380 |
58,9 |
20 |
3541,1 |
558 |
|
|
|
|
|
|
|
|
|
|
|
|
|
|
|
|
|
|
|
|
|
|
|
|
|
|||||||||||||||||||||||||||
|
12г |
3620 |
397 |
59,8 |
20,8 |
3163,2 |
558 |
|
|
|
|
|
|
|
|
|
|
|
|
|
|
|
|
|
|
|
|
|
|
|
|
|
|||||||||||||||||||||||||||
|
12д |
4120 |
397 |
59,8 |
20,8 |
3663,2 |
558 |
|
|
|
|
|
|
|
|
|
|
|
|
|
|
|
|
|
|
|
|
|
|
|
|
|
|||||||||||||||||||||||||||
|
II. Монтаж металлоконструкций |
|
|
|
|
|
|
|
|
|
|
|
|
|
|
|
|
|
|
|
|
|
|
|
|
|
|||||||||||||||||||||||||||||||||
|
1, 3, 5 |
2760 |
91,1 |
170 |
58,8 |
2498,9 |
145 |
|
|
|
|
|
|
|
|
|
|
|
|
|
|
|
|
|
|
|
|
|
|
|
|
|
|||||||||||||||||||||||||||
|
2a, 2в, 8е, 12д, 12е |
2820 |
109 |
182 |
70,6 |
2529 |
145 |
|
|
|
|
|
|
|
|
|
|
|
|
|
|
|
|
|
|
|
|
|
|
|
|
|
|||||||||||||||||||||||||||
|
2б |
2820 |
105 |
179 |
67,6 |
2536 |
145 |
|
|
|
|
|
|
|
|
|
|
|
|
|
|
|
|
|
|
|
|
|
|
|
|
|
|||||||||||||||||||||||||||
|
2г |
2880 |
128 |
194 |
82,3 |
2558 |
145 |
|
|
|
|
|
|
|
|
|
|
|
|
|
|
|
|
|
|
|
|
|
|
|
|
|
|||||||||||||||||||||||||||
|
4 |
2710 |
91,1 |
170 |
58,8 |
2448,9 |
145 |
|
|
|
|
|
|
|
|
|
|
|
|
|
|
|
|
|
|
|
|
|
|
|
|
|
|||||||||||||||||||||||||||
|
6 |
2810 |
91,1 |
170 |
58,8 |
2548,9 |
145 |
|
|
|
|
|
|
|
|
|
|
|
|
|
|
|
|
|
|
|
|
|
|
|
|
|
|||||||||||||||||||||||||||
|
7а - 8б, 8г, 11a - 12в |
2780 |
105 |
179 |
67,6 |
2496 |
145 |
|
|
|
|
|
|
|
|
|
|
|
|
|
|
|
|
|
|
|
|
|
|
|
|
|
|||||||||||||||||||||||||||
|
8в, 8д, 12г |
2800 |
109 |
182 |
70,6 |
2509 |
145 |
|
|
|
|
|
|
|
|
|
|
|
|
|
|
|
|
|
|
|
|
|
|
|
|
|
|||||||||||||||||||||||||||
|
9 |
2910 |
109 |
182 |
70,6 |
2619 |
145 |
|
|
|
|
|
|
|
|
|
|
|
|
|
|
|
|
|
|
|
|
|
|
|
|
|
|||||||||||||||||||||||||||
|
10 |
3210 |
118 |
188 |
76,4 |
2904 |
145 |
|
|
|
|
|
|
|
|
|
|
|
|
|
|
|
|
|
|
|
|
|
|
|
|
|
|||||||||||||||||||||||||||
|
III. Электромонтажные работы |
|
|
|
|
|
|
|
|
|
|
|
|
|
|
|
|
|
|
|
|
|
|
|
|
|
|||||||||||||||||||||||||||||||||
|
(электроосвещение, КИП, автоматика и грозозащита) |
|
|
|
|
|
|
|
|
|
|
|
|
|
|
|
|
|
|
|
|
|
|
|
|
|
|||||||||||||||||||||||||||||||||
|
1, 3 - 6 |
691 |
193 |
141 |
53 |
357 |
341 |
|
|
|
|
|
|
|
|
|
|
|
|
|
|
|
|
|
|
|
|
|
|
|
|
|
|||||||||||||||||||||||||||
|
2а, 2в, 8в, .8д, 9, 12г, 12д |
743 |
232 |
151 |
63,6 |
360 |
341 |
|
|
|
|
|
|
|
|
|
|
|
|
|
|
|
|
|
|
|
|
|
|
|
|
|
|||||||||||||||||||||||||||
|
2б, 7а - 8б, 8г, 11а - 12в |
729 |
222 |
149 |
60,9 |
358 |
341 |
|
|
|
|
|
|
|
|
|
|
|
|
|
|
|
|
|
|
|
|
|
|
|
|
|
|||||||||||||||||||||||||||
|
2г |
815 |
270 |
162 |
74,2 |
383 |
341 |
|
|
|
|
|
|
|
|
|
|
|
|
|
|
|
|
|
|
|
|
|
|
|
|
|
|||||||||||||||||||||||||||
|
8е |
791 |
232 |
151 |
63,6 |
408 |
341 |
|
|
|
|
|
|
|
|
|
|
|
|
|
|
|
|
|
|
|
|
|
|
|
|
|
|||||||||||||||||||||||||||
|
10 |
791 |
251 |
157 |
68,9 |
383 |
341 |
|
|
|
|
|
|
|
|
|
|
|
|
|
|
|
|
|
|
|
|
|
|
|
|
|
|||||||||||||||||||||||||||
|
12е |
770 |
232 |
151 |
63,6 |
387 |
341 |
|
|
|
|
|
|
|
|
|
|
|
|
|
|
|
|
|
|
|
|
|
|
|
|
|
|||||||||||||||||||||||||||
|
IV. Монтаж технологических трубопроводов |
|
|
|
|
|
|
|
|
|
|
|
|
|
|
|
|
|
|
|
|
|
|
|
|
|
|||||||||||||||||||||||||||||||||
|
1, 3 - 5 |
1500 |
270 |
74,4 |
27,3 |
1155,6 |
476 |
|
|
|
|
|
|
|
|
|
|
|
|
|
|
|
|
|
|
|
|
|
|
|
|
|
|||||||||||||||||||||||||||
|
2а, 2в |
1550 |
324 |
79,8 |
32,7 |
1146;2 |
476 |
|
|
|
|
|
|
|
|
|
|
|
|
|
|
|
|
|
|
|
|
|
|
|
|
|
|||||||||||||||||||||||||||
|
2б, 11 |
1540 |
311 |
78,5 |
31,4 |
1150,5 |
476 |
|
|
|
|
|
|
|
|
|
|
|
|
|
|
|
|
|
|
|
|
|
|
|
|
|
|||||||||||||||||||||||||||
|
2г |
1670 |
378 |
85,3 |
38,2 |
1206,7 |
476 |
|
|
|
|
|
|
|
|
|
|
|
|
|
|
|
|
|
|
|
|
|
|
|
|
|
|||||||||||||||||||||||||||
|
6 |
1520 |
270 |
74,4 |
27,3 |
1175,6 |
476 |
|
|
|
|
|
|
|
|
|
|
|
|
|
|
|
|
|
|
|
|
|
|
|
|
|
|||||||||||||||||||||||||||
|
7а - 8б, 8г, 12а - 12в |
1560 |
311 |
78,5 |
31,4 |
1170,5 |
476 |
|
|
|
|
|
|
|
|
|
|
|
|
|
|
|
|
|
|
|
|
|
|
|
|
|
|||||||||||||||||||||||||||
|
8в, 8д, 12г - 12е |
1580 |
324 |
79,8 |
32,7 |
1176,2 |
476 |
|
|
|
|
|
|
|
|
|
|
|
|
|
|
|
|
|
|
|
|
|
|
|
|
|
|||||||||||||||||||||||||||
|
8е - 9в |
1630 |
324 |
79,8 |
32,7 |
1226,2 |
476 |
|
|
|
|
|
|
|
|
|
|
|
|
|
|
|
|
|
|
|
|
|
|
|
|
|
|||||||||||||||||||||||||||
|
10 |
1760 |
351 |
82,6 |
35,5 |
1326,4 |
476 |
|
|
|
|
|
|
|
|
|
|
|
|
|
|
|
|
|
|
|
|
|
|
|
|
|
|||||||||||||||||||||||||||
|
РАЙОННАЯ ЦЕНА № 17 |
|
|
|
|
|
|
|
|
|
|
|
|
|
|
|
|
|
|
|
|
|
|
|
|
|
|||||||||||||||||||||||||||||||||
|
Водонапорная бесшатровая кирпичная башня со стальным баком вместимостью 100 м3, высотой до дна бака 21 м |
|
|
|
|
|
|
|
|
|
|
|
|
|
|
|
|
|
|
|
|
|
|
|
|
|
|||||||||||||||||||||||||||||||||
|
Измеритель - 1 башня |
|
|
|
|
|
|
|
|
|
|
|
|
|
|
|
|
|
|
|
|
|
|
|
|
|
|||||||||||||||||||||||||||||||||
|
I. Строительные работы |
|
|
|
|
|
|
|
|
|
|
|
|
|
|
|
|
|
|
|
|
|
|
|
|
|
|||||||||||||||||||||||||||||||||
|
1а, 3б |
5300 |
539 |
152 |
51,3 |
4609 |
928 |
|
|
|
|
|
|
|
|
|
|
|
|
|
|
|
|
|
|
|
|
|
|
|
|
|
|||||||||||||||||||||||||||
|
1б, 11г, 5a |
5510 |
539 |
153 |
51,3 |
4818 |
928 |
|
|
|
|
|
|
|
|
|
|
|
|
|
|
|
|
|
|
|
|
|
|
|
|
|
|||||||||||||||||||||||||||
|
1в, 3в |
5620 |
539 |
153 |
51,3 |
4928 |
928 |
|
|
|
|
|
|
|
|
|
|
|
|
|
|
|
|
|
|
|
|
|
|
|
|
|
|||||||||||||||||||||||||||
|
1д, 6б, 6в |
5760 |
539 |
152 |
51,3 |
5069 |
928 |
|
|
|
|
|
|
|
|
|
|
|
|
|
|
|
|
|
|
|
|
|
|
|
|
|
|||||||||||||||||||||||||||
|
1е |
6870 |
539 |
153 |
51,3 |
6178 |
928 |
|
|
|
|
|
|
|
|
|
|
|
|
|
|
|
|
|
|
|
|
|
|
|
|
|
|||||||||||||||||||||||||||
|
1ж, 3а, 4а |
5180 |
539 |
149 |
51,3 |
4492 |
928 |
|
|
|
|
|
|
|
|
|
|
|
|
|
|
|
|
|
|
|
|
|
|
|
|
|
|||||||||||||||||||||||||||
|
2а, 9а |
6960 |
647 |
168 |
61,6 |
6145 |
928 |
|
|
|
|
|
|
|
|
|
|
|
|
|
|
|
|
|
|
|
|
|
|
|
|
|
|||||||||||||||||||||||||||
|
2б |
7910 |
620 |
165 |
58,8 |
7125 |
928 |
|
|
|
|
|
|
|
|
|
|
|
|
|
|
|
|
|
|
|
|
|
|
|
|
|
|||||||||||||||||||||||||||
|
2в |
7550 |
647 |
168 |
61,6 |
6735 |
928 |
|
|
|
|
|
|
|
|
|
|
|
|
|
|
|
|
|
|
|
|
|
|
|
|
|
|||||||||||||||||||||||||||
|
2г |
6890 |
755 |
181 |
72 |
5954 |
928 |
|
|
|
|
|
|
|
|
|
|
|
|
|
|
|
|
|
|
|
|
|
|
|
|
|
|||||||||||||||||||||||||||
|
3г, 4б |
6150 |
539 |
153 |
51,3 |
5458 |
928 |
|
|
|
|
|
|
|
|
|
|
|
|
|
|
|
|
|
|
|
|
|
|
|
|
|
|||||||||||||||||||||||||||
|
5б |
6370 |
539 |
158 |
51,3 |
5673 |
928 |
|
|
|
|
|
|
|
|
|
|
|
|
|
|
|
|
|
|
|
|
|
|
|
|
|
|||||||||||||||||||||||||||
|
6а |
5850 |
539 |
153 |
51,3 |
5158 |
928 |
|
|
|
|
|
|
|
|
|
|
|
|
|
|
|
|
|
|
|
|
|
|
|
|
|
|||||||||||||||||||||||||||
|
7а |
5920 |
620 |
161 |
58,8 |
5139 |
928 |
|
|
|
|
|
|
|
|
|
|
|
|
|
|
|
|
|
|
|
|
|
|
|
|
|
|||||||||||||||||||||||||||
|
7б, 7г, 12б |
5530 |
620 |
161 |
58,8 |
4749 |
928 |
|
|
|
|
|
|
|
|
|
|
|
|
|
|
|
|
|
|
|
|
|
|
|
|
|
|||||||||||||||||||||||||||
|
7в, 8б, 11в |
6340 |
620 |
162 |
58,8 |
5558 |
928 |
|
|
|
|
|
|
|
|
|
|
|
|
|
|
|
|
|
|
|
|
|
|
|
|
|
|||||||||||||||||||||||||||
|
8а, 11б, 11г, 11д, 12в |
6100 |
620 |
159 |
58,8 |
5321 |
928 |
|
|
|
|
|
|
|
|
|
|
|
|
|
|
|
|
|
|
|
|
|
|
|
|
|
|||||||||||||||||||||||||||
|
8в, 9в |
6260 |
647 |
166 |
61,6 |
5447 |
928 |
|
|
|
|
|
|
|
|
|
|
|
|
|
|
|
|
|
|
|
|
|
|
|
|
|
|||||||||||||||||||||||||||
|
8г |
7580 |
620 |
163 |
58,8 |
6797 |
928 |
|
|
|
|
|
|
|
|
|
|
|
|
|
|
|
|
|
|
|
|
|
|
|
|
|
|||||||||||||||||||||||||||
|
8д |
5230 |
647 |
165 |
61,6 |
4418 |
928 |
|
|
|
|
|
|
|
|
|
|
|
|
|
|
|
|
|
|
|
|
|
|
|
|
|
|||||||||||||||||||||||||||
|
8е, 12е |
6400 |
647 |
168 |
61,6 |
5585 |
928 |
|
|
|
|
|
|
|
|
|
|
|
|
|
|
|
|
|
|
|
|
|
|
|
|
|
|||||||||||||||||||||||||||
|
9б |
5580 |
647 |
165 |
6,8 |
4768 |
928 |
|
|
|
|
|
|
|
|
|
|
|
|
|
|
|
|
|
|
|
|
|
|
|
|
|
|||||||||||||||||||||||||||
|
10а, 10в |
7010 |
701 |
170 |
66,8 |
6139 |
928 |
|
|
|
|
|
|
|
|
|
|
|
|
|
|
|
|
|
|
|
|
|
|
|
|
|
|||||||||||||||||||||||||||
|
10б |
6800 |
701 |
170 |
58,8 |
5929 |
928 |
|
|
|
|
|
|
|
|
|
|
|
|
|
|
|
|
|
|
|
|
|
|
|
|
|
|||||||||||||||||||||||||||
|
11а |
6940 |
620 |
165 |
58,8 |
6155 |
928 |
|
|
|
|
|
|
|
|
|
|
|
|
|
|
|
|
|
|
|
|
|
|
|
|
|
|||||||||||||||||||||||||||
|
11е |
6410 |
620 |
161 |
58,8 |
5629 |
928 |
|
|
|
|
|
|
|
|
|
|
|
|
|
|
|
|
|
|
|
|
|
|
|
|
|
|||||||||||||||||||||||||||
|
12а |
5470 |
620 |
158 |
58,8 |
4692 |
928 |
|
|
|
|
|
|
|
|
|
|
|
|
|
|
|
|
|
|
|
|
|
|
|
|
|
|||||||||||||||||||||||||||
|
12г |
5900 |
647 |
161 |
61,6 |
5092 |
928 |
|
|
|
|
|
|
|
|
|
|
|
|
|
|
|
|
|
|
|
|
|
|
|
|
|
|||||||||||||||||||||||||||
|
12д |
6510 |
647 |
161 |
61,6 |
5702 |
928 |
|
|
|
|
|
|
|
|
|
|
|
|
|
|
|
|
|
|
|
|
|
|
|
|
|
|||||||||||||||||||||||||||
|
В том числе: |
|
|
|
|
|
|
|
|
|
|
|
|
|
|
|
|
|
|
|
|
|
|
|
|
|
|||||||||||||||||||||||||||||||||
|
а) земляные работы |
|
|
|
|
|
|
|
|
|
|
|
|
|
|
|
|
|
|
|
|
|
|
|
|
|
|||||||||||||||||||||||||||||||||
|
1a - 1e, 3в, 3г, 4б, 5a, 6а, 6в |
136 |
68,8 |
67,2 |
24,9 |
- |
114 |
|
|
|
|
|
|
|
|
|
|
|
|
|
|
|
|
|
|
|
|
|
|
|
|
|
|||||||||||||||||||||||||||
|
1ж, 3б, 4а, 6б |
133 |
68,8 |
64,2 |
24,9 |
- |
114 |
|
|
|
|
|
|
|
|
|
|
|
|
|
|
|
|
|
|
|
|
|
|
|
|
|
|||||||||||||||||||||||||||
|
2а, 2в, 8е, 9а, 9в, 12е |
159 |
82,5 |
76,5 |
30 |
- |
114 |
|
|
|
|
|
|
|
|
|
|
|
|
|
|
|
|
|
|
|
|
|
|
|
|
|
|||||||||||||||||||||||||||
|
2б, 11a |
154 |
79,1 |
74,9 |
28,4 |
- |
114 |
|
|
|
|
|
|
|
|
|
|
|
|
|
|
|
|
|
|
|
|
|
|
|
|
|
|||||||||||||||||||||||||||
|
2г |
181 |
96,2 |
84,8 |
35,1 |
- |
114 |
|
|
|
|
|
|
|
|
|
|
|
|
|
|
|
|
|
|
|
|
|
|
|
|
|
|||||||||||||||||||||||||||
|
3а |
131 |
68,8 |
62,2 |
24,9 |
- |
114 |
|
|
|
|
|
|
|
|
|
|
|
|
|
|
|
|
|
|
|
|
|
|
|
|
|
|||||||||||||||||||||||||||
|
5б |
141 |
68,8 |
72,2 |
24,9 |
- |
114 |
|
|
|
|
|
|
|
|
|
|
|
|
|
|
|
|
|
|
|
|
|
|
|
|
|
|||||||||||||||||||||||||||
|
7а, 7б, 7г - 8б, 11б - 11e, 12б |
150 |
79,1 |
70,9 |
28,4 |
- |
114 |
|
|
|
|
|
|
|
|
|
|
|
|
|
|
|
|
|
|
|
|
|
|
|
|
|
|||||||||||||||||||||||||||
|
7в, 8г |
152 |
79,1 |
72,9 |
28,4 |
- |
114 |
|
|
|
|
|
|
|
|
|
|
|
|
|
|
|
|
|
|
|
|
|
|
|
|
|
|||||||||||||||||||||||||||
|
8в, 8д, 9б |
157 |
82,5 |
74,5 |
30 |
- |
114 |
|
|
|
|
|
|
|
|
|
|
|
|
|
|
|
|
|
|
|
|
|
|
|
|
|
|||||||||||||||||||||||||||
|
10 |
166 |
89,4 |
76,6 |
32,5 |
- |
114 |
|
|
|
|
|
|
|
|
|
|
|
|
|
|
|
|
|
|
|
|
|
|
|
|
|
|||||||||||||||||||||||||||
|
12a, 12в |
147 |
79,1 |
67,9 |
28,4 |
- |
114 |
|
|
|
|
|
|
|
|
|
|
|
|
|
|
|
|
|
|
|
|
|
|
|
|
|
|||||||||||||||||||||||||||
|
12г, 12д |
153 |
82,5 |
70,5 |
30 |
- |
114 |
|
|
|
|
|
|
|
|
|
|
|
|
|
|
|
|
|
|
|
|
|
|
|
|
|
|||||||||||||||||||||||||||
|
б) фундаменты |
|
|
|
|
|
|
|
|
|
|
|
|
|
|
|
|
|
|
|
|
|
|
|
|
|
|||||||||||||||||||||||||||||||||
|
1a, 1б, 5а |
1100 |
61,8 |
14,7 |
4,42 |
1023,5 |
111 |
|
|
|
|
|
|
|
|
|
|
|
|
|
|
|
|
|
|
|
|
|
|
|
|
|
|||||||||||||||||||||||||||
|
1в, 4а, 6б |
1080 |
61,8 |
14,7 |
4,42 |
1003,5 |
111 |
|
|
|
|
|
|
|
|
|
|
|
|
|
|
|
|
|
|
|
|
|
|
|
|
|
|||||||||||||||||||||||||||
|
1г - 1е, 3в, 6а |
1180 |
61,8 |
14,7 |
4,42 |
1053,5 |
111 |
|
|
|
|
|
|
|
|
|
|
|
|
|
|
|
|
|
|
|
|
|
|
|
|
|
|||||||||||||||||||||||||||
|
1ж |
1000 |
61,8 |
14,7 |
4,42 |
923,5 |
111 |
|
|
|
|
|
|
|
|
|
|
|
|
|
|
|
|
|
|
|
|
|
|
|
|
|
|||||||||||||||||||||||||||
|
2а |
1370 |
74,2 |
15,6 |
5,3 |
1280,2 |
111 |
|
|
|
|
|
|
|
|
|
|
|
|
|
|
|
|
|
|
|
|
|
|
|
|
|
|||||||||||||||||||||||||||
|
2б |
1460 |
71,1 |
15,4 |
5,08 |
1373,5 |
111 |
|
|
|
|
|
|
|
|
|
|
|
|
|
|
|
|
|
|
|
|
|
|
|
|
|
|||||||||||||||||||||||||||
|
2в |
1460 |
74,2 |
16,6 |
5,3 |
1370,2 |
111 |
|
|
|
|
|
|
|
|
|
|
|
|
|
|
|
|
|
|
|
|
|
|
|
|
|
|||||||||||||||||||||||||||
|
2г |
1570 |
86,5 |
16,5 |
6,18 |
1467 |
111 |
|
|
|
|
|
|
|
|
|
|
|
|
|
|
|
|
|
|
|
|
|
|
|
|
|
|||||||||||||||||||||||||||
|
3а, 3б |
1020 |
61,8 |
14,7 |
4,42 |
943,5 |
111 |
|
|
|
|
|
|
|
|
|
|
|
|
|
|
|
|
|
|
|
|
|
|
|
|
|
|||||||||||||||||||||||||||
|
3г |
943 |
61,8 |
14,7 |
4,42 |
866,5 |
111 |
|
|
|
|
|
|
|
|
|
|
|
|
|
|
|
|
|
|
|
|
|
|
|
|
|
|||||||||||||||||||||||||||
|
4б, 6в |
1140 |
61,8 |
14,7 |
4,42 |
1063,5 |
111 |
|
|
|
|
|
|
|
|
|
|
|
|
|
|
|
|
|
|
|
|
|
|
|
|
|
|||||||||||||||||||||||||||
|
5б |
1040 |
61,8 |
14,7 |
4,42 |
963,5 |
111 |
|
|
|
|
|
|
|
|
|
|
|
|
|
|
|
|
|
|
|
|
|
|
|
|
|
|||||||||||||||||||||||||||
|
7а, 7б, 12б |
1110 |
71,1 |
15,4 |
5,08 |
1023,5 |
111 |
|
|
|
|
|
|
|
|
|
|
|
|
|
|
|
|
|
|
|
|
|
|
|
|
|
|||||||||||||||||||||||||||
|
7в, 7г |
1090 |
71,1 |
15,4 |
5,08 |
1003,5 |
111 |
|
|
|
|
|
|
|
|
|
|
|
|
|
|
|
|
|
|
|
|
|
|
|
|
|
|||||||||||||||||||||||||||
|
8а |
1120 |
71,1 |
15,4 |
5,08 |
1033,5 |
111 |
|
|
|
|
|
|
|
|
|
|
|
|
|
|
|
|
|
|
|
|
|
|
|
|
|
|||||||||||||||||||||||||||
|
8б |
1250 |
71,1 |
15,4 |
5,08 |
1163,5 |
111 |
|
|
|
|
|
|
|
|
|
|
|
|
|
|
|
|
|
|
|
|
|
|
|
|
|
|||||||||||||||||||||||||||
|
8в |
1310 |
74,2 |
15,6 |
5,3 |
1220,2 |
111 |
|
|
|
|
|
|
|
|
|
|
|
|
|
|
|
|
|
|
|
|
|
|
|
|
|
|||||||||||||||||||||||||||
|
8г |
1800 |
71,1 |
15,4 |
5,08 |
1713,5 |
111 |
|
|
|
|
|
|
|
|
|
|
|
|
|
|
|
|
|
|
|
|
|
|
|
|
|
|||||||||||||||||||||||||||
|
8д, 9б |
1200 |
74,2 |
15,6 |
5,3 |
1110,2 |
111 |
|
|
|
|
|
|
|
|
|
|
|
|
|
|
|
|
|
|
|
|
|
|
|
|
|
|||||||||||||||||||||||||||
|
8е |
1720 |
74,2 |
15,6 |
5,3 |
1630,2 |
111 |
|
|
|
|
|
|
|
|
|
|
|
|
|
|
|
|
|
|
|
|
|
|
|
|
|
|||||||||||||||||||||||||||
|
9а, 9в |
1280 |
74,2 |
15,6 |
5,3 |
1190,2 |
111 |
|
|
|
|
|
|
|
|
|
|
|
|
|
|
|
|
|
|
|
|
|
|
|
|
|
|||||||||||||||||||||||||||
|
10а, 10б |
1370 |
80,4 |
16 |
5,74 |
1273,6 |
111 |
|
|
|
|
|
|
|
|
|
|
|
|
|
|
|
|
|
|
|
|
|
|
|
|
|
|||||||||||||||||||||||||||
|
10в |
1320 |
80,4 |
16 |
5,74 |
1223,6 |
111 |
|
|
|
|
|
|
|
|
|
|
|
|
|
|
|
|
|
|
|
|
|
|
|
|
|
|||||||||||||||||||||||||||
|
11а |
1400 |
71,1 |
15,4 |
5,08 |
1313,5 |
111 |
|
|
|
|
|
|
|
|
|
|
|
|
|
|
|
|
|
|
|
|
|
|
|
|
|
|||||||||||||||||||||||||||
|
11б - 11е |
1230 |
71,1 |
15,4 |
5,08 |
1143,5 |
111 |
|
|
|
|
|
|
|
|
|
|
|
|
|
|
|
|
|
|
|
|
|
|
|
|
|
|||||||||||||||||||||||||||
|
12а |
1040 |
71,1 |
15,4 |
5,08 |
953,5 |
111 |
|
|
|
|
|
|
|
|
|
|
|
|
|
|
|
|
|
|
|
|
|
|
|
|
|
|||||||||||||||||||||||||||
|
12в |
969 |
71,1 |
15,4 |
5,08 |
882,5 |
111 |
|
|
|
|
|
|
|
|
|
|
|
|
|
|
|
|
|
|
|
|
|
|
|
|
|
|||||||||||||||||||||||||||
|
12г |
1140 |
74,2 |
15,6 |
5,3 |
1050,2 |
111 |
|
|
|
|
|
|
|
|
|
|
|
|
|
|
|
|
|
|
|
|
|
|
|
|
|
|||||||||||||||||||||||||||
|
12д |
1160 |
74,2 |
15,6 |
5,3 |
1070,2 |
111 |
|
|
|
|
|
|
|
|
|
|
|
|
|
|
|
|
|
|
|
|
|
|
|
|
|
|||||||||||||||||||||||||||
|
12е |
1400 |
74,2 |
15,6 |
5,3 |
1310,2 |
111 |
|
|
|
|
|
|
|
|
|
|
|
|
|
|
|
|
|
|
|
|
|
|
|
|
|
|||||||||||||||||||||||||||
|
в) ствол башни |
|
|
|
|
|
|
|
|
|
|
|
|
|
|
|
|
|
|
|
|
|
|
|
|
|
|||||||||||||||||||||||||||||||||
|
1а, 1ж |
3770 |
386 |
66 |
20,2 |
3318 |
651 |
|
|
|
|
|
|
|
|
|
|
|
|
|
|
|
|
|
|
|
|
|
|
|
|
|
|||||||||||||||||||||||||||
|
1б, 5а |
3980 |
386 |
66 |
20,2 |
3528 |
651 |
|
|
|
|
|
|
|
|
|
|
|
|
|
|
|
|
|
|
|
|
|
|
|
|
|
|||||||||||||||||||||||||||
|
1в, 3в, 6в |
4120 |
386 |
66 |
20,2 |
3668 |
651 |
|
|
|
|
|
|
|
|
|
|
|
|
|
|
|
|
|
|
|
|
|
|
|
|
|
|||||||||||||||||||||||||||
|
1г |
3910 |
386 |
66 |
20,2 |
3458 |
651 |
|
|
|
|
|
|
|
|
|
|
|
|
|
|
|
|
|
|
|
|
|
|
|
|
|
|||||||||||||||||||||||||||
|
1д, 6а |
4240 |
386 |
66 |
20,2 |
3788 |
651 |
|
|
|
|
|
|
|
|
|
|
|
|
|
|
|
|
|
|
|
|
|
|
|
|
|
|||||||||||||||||||||||||||
|
1е |
5310 |
386 |
66 |
20,2 |
4858 |
651 |
|
|
|
|
|
|
|
|
|
|
|
|
|
|
|
|
|
|
|
|
|
|
|
|
|
|||||||||||||||||||||||||||
|
2а |
5110 |
463 |
70 |
24,3 |
4577 |
651 |
|
|
|
|
|
|
|
|
|
|
|
|
|
|
|
|
|
|
|
|
|
|
|
|
|
|||||||||||||||||||||||||||
|
2б |
5990 |
444 |
69 |
23,3 |
5477 |
651 |
|
|
|
|
|
|
|
|
|
|
|
|
|
|
|
|
|
|
|
|
|
|
|
|
|
|||||||||||||||||||||||||||
|
2в |
5600 |
463 |
70 |
24,3 |
5067 |
651 |
|
|
|
|
|
|
|
|
|
|
|
|
|
|
|
|
|
|
|
|
|
|
|
|
|
|||||||||||||||||||||||||||
|
2г |
4770 |
540 |
74 |
28,4 |
4156 |
651 |
|
|
|
|
|
|
|
|
|
|
|
|
|
|
|
|
|
|
|
|
|
|
|
|
|
|||||||||||||||||||||||||||
|
3а, 4а |
3710 |
386 |
66 |
20,2 |
3258 |
651 |
|
|
|
|
|
|
|
|
|
|
|
|
|
|
|
|
|
|
|
|
|
|
|
|
|
|||||||||||||||||||||||||||
|
3б |
3850 |
386 |
66 |
20,2 |
3398 |
651 |
|
|
|
|
|
|
|
|
|
|
|
|
|
|
|
|
|
|
|
|
|
|
|
|
|
|||||||||||||||||||||||||||
|
3г |
4770 |
386 |
66 |
20,2 |
4318 |
651 |
|
|
|
|
|
|
|
|
|
|
|
|
|
|
|
|
|
|
|
|
|
|
|
|
|
|||||||||||||||||||||||||||
|
4б |
4590 |
386 |
66 |
20,2 |
4138 |
651 |
|
|
|
|
|
|
|
|
|
|
|
|
|
|
|
|
|
|
|
|
|
|
|
|
|
|||||||||||||||||||||||||||
|
5б |
4860 |
386 |
66 |
20,2 |
4408 |
651 |
|
|
|
|
|
|
|
|
|
|
|
|
|
|
|
|
|
|
|
|
|
|
|
|
|
|||||||||||||||||||||||||||
|
6б |
4270 |
386 |
66 |
20,2 |
3818 |
651 |
|
|
|
|
|
|
|
|
|
|
|
|
|
|
|
|
|
|
|
|
|
|
|
|
|
|||||||||||||||||||||||||||
|
7а, 11б, 11г |
4350 |
444 |
69 |
23,3 |
3837 |
651 |
|
|
|
|
|
|
|
|
|
|
|
|
|
|
|
|
|
|
|
|
|
|
|
|
|
|||||||||||||||||||||||||||
|
7б, 7г, 12а |
4000 |
444 |
69 |
23,3 |
3487 |
651 |
|
|
|
|
|
|
|
|
|
|
|
|
|
|
|
|
|
|
|
|
|
|
|
|
|
|||||||||||||||||||||||||||
|
7в |
4800 |
444 |
69 |
23,3 |
4287 |
651 |
|
|
|
|
|
|
|
|
|
|
|
|
|
|
|
|
|
|
|
|
|
|
|
|
|
|||||||||||||||||||||||||||
|
8а |
4510 |
444 |
69 |
23,3 |
3997 |
651 |
|
|
|
|
|
|
|
|
|
|
|
|
|
|
|
|
|
|
|
|
|
|
|
|
|
|||||||||||||||||||||||||||
|
8б |
4580 |
444 |
69 |
23,3 |
4067 |
651 |
|
|
|
|
|
|
|
|
|
|
|
|
|
|
|
|
|
|
|
|
|
|
|
|
|
|||||||||||||||||||||||||||
|
8в, 12е |
4510 |
463 |
70 |
24,3 |
3977 |
651 |
|
|
|
|
|
|
|
|
|
|
|
|
|
|
|
|
|
|
|
|
|
|
|
|
|
|||||||||||||||||||||||||||
|
8г |
5290 |
444 |
69 |
23,3 |
4777 |
651 |
|
|
|
|
|
|
|
|
|
|
|
|
|
|
|
|
|
|
|
|
|
|
|
|
|
|||||||||||||||||||||||||||
|
8д |
3550 |
463 |
70 |
24,3 |
3017 |
651 |
|
|
|
|
|
|
|
|
|
|
|
|
|
|
|
|
|
|
|
|
|
|
|
|
|
|||||||||||||||||||||||||||
|
8е |
4120 |
463 |
70 |
24,3 |
3587 |
651 |
|
|
|
|
|
|
|
|
|
|
|
|
|
|
|
|
|
|
|
|
|
|
|
|
|
|||||||||||||||||||||||||||
|
9а |
5200 |
463 |
70 |
24,3 |
4667 |
651 |
|
|
|
|
|
|
|
|
|
|
|
|
|
|
|
|
|
|
|
|
|
|
|
|
|
|||||||||||||||||||||||||||
|
9б |
3900 |
463 |
70 |
24,3 |
3367 |
651 |
|
|
|
|
|
|
|
|
|
|
|
|
|
|
|
|
|
|
|
|
|
|
|
|
|
|||||||||||||||||||||||||||
|
9в |
4180 |
463 |
70 |
24,3 |
3647 |
651 |
|
|
|
|
|
|
|
|
|
|
|
|
|
|
|
|
|
|
|
|
|
|
|
|
|
|||||||||||||||||||||||||||
|
10а, 10в |
5150 |
502 |
72 |
26,3 |
4576 |
651 |
|
|
|
|
|
|
|
|
|
|
|
|
|
|
|
|
|
|
|
|
|
|
|
|
|
|||||||||||||||||||||||||||
|
10б |
4890 |
502 |
72 |
26,3 |
4316 |
651 |
|
|
|
|
|
|
|
|
|
|
|
|
|
|
|
|
|
|
|
|
|
|
|
|
|
|||||||||||||||||||||||||||
|
11а |
5010 |
444 |
69 |
23,3 |
4497 |
651 |
|
|
|
|
|
|
|
|
|
|
|
|
|
|
|
|
|
|
|
|
|
|
|
|
|
|||||||||||||||||||||||||||
|
11в, 11е |
4680 |
444 |
69 |
23,3 |
4167 |
651 |
|
|
|
|
|
|
|
|
|
|
|
|
|
|
|
|
|
|
|
|
|
|
|
|
|
|||||||||||||||||||||||||||
|
11д |
4430 |
444 |
69 |
23,3 |
3917 |
651 |
|
|
|
|
|
|
|
|
|
|
|
|
|
|
|
|
|
|
|
|
|
|
|
|
|
|||||||||||||||||||||||||||
|
12б |
3930 |
444 |
69 |
23,3 |
3417 |
651 |
|
|
|
|
|
|
|
|
|
|
|
|
|
|
|
|
|
|
|
|
|
|
|
|
|
|||||||||||||||||||||||||||
|
12в |
4730 |
444 |
69 |
23,3 |
4217 |
651 |
|
|
|
|
|
|
|
|
|
|
|
|
|
|
|
|
|
|
|
|
|
|
|
|
|
|||||||||||||||||||||||||||
|
12г |
4300 |
463 |
70 |
24,3 |
3767 |
651 |
|
|
|
|
|
|
|
|
|
|
|
|
|
|
|
|
|
|
|
|
|
|
|
|
|
|||||||||||||||||||||||||||
|
12д |
4900 |
463 |
70 |
24,3 |
4367 |
651 |
|
|
|
|
|
|
|
|
|
|
|
|
|
|
|
|
|
|
|
|
|
|
|
|
|
|||||||||||||||||||||||||||
|
II. Монтаж металлоконструкций |
|
|
|
|
|
|
|
|
|
|
|
|
|
|
|
|
|
|
|
|
|
|
|
|
|
|||||||||||||||||||||||||||||||||
|
1, 3, 5 |
2840 |
93,8 |
176 |
61,2 |
2570,2 |
150 |
|
|
|
|
|
|
|
|
|
|
|
|
|
|
|
|
|
|
|
|
|
|
|
|
|
|||||||||||||||||||||||||||
|
2а, 2в, 8е, 12д, 12е |
2900 |
113 |
189 |
73,4 |
2598 |
150 |
|
|
|
|
|
|
|
|
|
|
|
|
|
|
|
|
|
|
|
|
|
|
|
|
|
|||||||||||||||||||||||||||
|
2б |
2900 |
108 |
186 |
70,3 |
2606 |
150 |
|
|
|
|
|
|
|
|
|
|
|
|
|
|
|
|
|
|
|
|
|
|
|
|
|
|||||||||||||||||||||||||||
|
2г |
2970 |
131 |
201 |
85,6 |
2638 |
150 |
|
|
|
|
|
|
|
|
|
|
|
|
|
|
|
|
|
|
|
|
|
|
|
|
|
|||||||||||||||||||||||||||
|
4 |
2790 |
93,8 |
176 |
61,2 |
2520,2 |
150 |
|
|
|
|
|
|
|
|
|
|
|
|
|
|
|
|
|
|
|
|
|
|
|
|
|
|||||||||||||||||||||||||||
|
6 |
2890 |
93,8 |
176 |
61,2 |
2620,2 |
150 |
|
|
|
|
|
|
|
|
|
|
|
|
|
|
|
|
|
|
|
|
|
|
|
|
|
|||||||||||||||||||||||||||
|
7а - 8б, 8г, 11а - 12в |
2860 |
108 |
186 |
70,3 |
2566 |
150 |
|
|
|
|
|
|
|
|
|
|
|
|
|
|
|
|
|
|
|
|
|
|
|
|
|
|||||||||||||||||||||||||||
|
8в, 8д, 12г |
2880 |
113 |
189 |
73,4 |
2578 |
150 |
|
|
|
|
|
|
|
|
|
|
|
|
|
|
|
|
|
|
|
|
|
|
|
|
|
|||||||||||||||||||||||||||
|
9 |
2990 |
113 |
189 |
73,4 |
2688 |
150 |
|
|
|
|
|
|
|
|
|
|
|
|
|
|
|
|
|
|
|
|
|
|
|
|
|
|||||||||||||||||||||||||||
|
10 |
3310 |
122 |
195 |
79,5 |
2993 |
150 |
|
|
|
|
|
|
|
|
|
|
|
|
|
|
|
|
|
|
|
|
|
|
|
|
|
|||||||||||||||||||||||||||
|
III. Электромонтажные работы |
|
|
|
|
|
|
|
|
|
|
|
|
|
|
|
|
|
|
|
|
|
|
|
|
|
|||||||||||||||||||||||||||||||||
|
(электроосвещение, КИП, автоматика и грозозащита) |
|
|
|
|
|
|
|
|
|
|
|
|
|
|
|
|
|
|
|
|
|
|
|
|
|
|||||||||||||||||||||||||||||||||
|
1, 3 - 6 |
691 |
188 |
141 |
53 |
357 |
341 |
|
|
|
|
|
|
|
|
|
|
|
|
|
|
|
|
|
|
|
|
|
|
|
|
|
|||||||||||||||||||||||||||
|
2а, 2в, 8в, 8д, 9, 12г, 12д |
743 |
232 |
151 |
63,6 |
360 |
341 |
|
|
|
|
|
|
|
|
|
|
|
|
|
|
|
|
|
|
|
|
|
|
|
|
|
|||||||||||||||||||||||||||
|
2б, 7а - 8б, 8г, 11а - 12в |
729 |
222 |
149 |
60,9 |
358 |
341 |
|
|
|
|
|
|
|
|
|
|
|
|
|
|
|
|
|
|
|
|
|
|
|
|
|
|||||||||||||||||||||||||||
|
2г |
815 |
270 |
162 |
74,2 |
383 |
341 |
|
|
|
|
|
|
|
|
|
|
|
|
|
|
|
|
|
|
|
|
|
|
|
|
|
|||||||||||||||||||||||||||
|
8е |
791 |
232 |
151 |
63,6 |
408 |
341 |
|
|
|
|
|
|
|
|
|
|
|
|
|
|
|
|
|
|
|
|
|
|
|
|
|
|||||||||||||||||||||||||||
|
10 |
791 |
251 |
157 |
68,9 |
383 |
341 |
|
|
|
|
|
|
|
|
|
|
|
|
|
|
|
|
|
|
|
|
|
|
|
|
|
|||||||||||||||||||||||||||
|
12е |
770 |
232 |
151 |
63,6 |
387 |
341 |
|
|
|
|
|
|
|
|
|
|
|
|
|
|
|
|
|
|
|
|
|
|
|
|
|
|||||||||||||||||||||||||||
|
IV. Монтаж технологических трубопроводов |
|
|
|
|
|
|
|
|
|
|
|
|
|
|
|
|
|
|
|
|
|
|
|
|
|
|||||||||||||||||||||||||||||||||
|
1, 3 - 5 |
1630 |
294 |
81 |
29,7 |
1255 |
518 |
|
|
|
|
|
|
|
|
|
|
|
|
|
|
|
|
|
|
|
|
|
|
|
|
|
|||||||||||||||||||||||||||
|
2а, 2в |
1680 |
353 |
86,9 |
35,6 |
1240,1 |
518 |
|
|
|
|
|
|
|
|
|
|
|
|
|
|
|
|
|
|
|
|
|
|
|
|
|
|||||||||||||||||||||||||||
|
2б, 11 |
1680 |
338 |
85,4 |
34,2 |
1256,6 |
518 |
|
|
|
|
|
|
|
|
|
|
|
|
|
|
|
|
|
|
|
|
|
|
|
|
|
|||||||||||||||||||||||||||
|
2г |
1810 |
412 |
92,9 |
41,6 |
1305,1 |
518 |
|
|
|
|
|
|
|
|
|
|
|
|
|
|
|
|
|
|
|
|
|
|
|
|
|
|||||||||||||||||||||||||||
|
6 |
1660 |
294 |
81 |
29,7 |
1285 |
518 |
|
|
|
|
|
|
|
|
|
|
|
|
|
|
|
|
|
|
|
|
|
|
|
|
|
|||||||||||||||||||||||||||
|
7а - 8б, 8г, 12а - 12в |
1700 |
338 |
85,4 |
34,2 |
1276,6 |
518 |
|
|
|
|
|
|
|
|
|
|
|
|
|
|
|
|
|
|
|
|
|
|
|
|
|
|||||||||||||||||||||||||||
|
8в, 8д, 12г - 12е |
1720 |
353 |
86,9 |
35,6 |
1280,1 |
518 |
|
|
|
|
|
|
|
|
|
|
|
|
|
|
|
|
|
|
|
|
|
|
|
|
|
|||||||||||||||||||||||||||
|
8е - 9в |
1780 |
353 |
86,9 |
35,6 |
1340,1 |
518 |
|
|
|
|
|
|
|
|
|
|
|
|
|
|
|
|
|
|
|
|
|
|
|
|
|
|||||||||||||||||||||||||||
|
10 |
1920 |
382 |
89,9 |
38,6 |
1448,1 |
518 |
|
|
|
|
|
|
|
|
|
|
|
|
|
|
|
|
|
|
|
|
|
|
|
|
|
|||||||||||||||||||||||||||
|
|
|
|
|
|
|
|
|
|
|
|
|
|
|
|
|
|
|
|
|
|
|
|
|
|
||||||||||||||||||||||||||||||||||
|
Водонапорная бесшатровая кирпичная башня со стальным баком вместимостью 100 м3, высотой до дна бака 24 м |
|
|
|
|
|
|
|
|
|
|
|
|
|
|
|
|
|
|
|
|
|
|
|
|
|
|||||||||||||||||||||||||||||||||
|
Измеритель - 1 башня |
|
|
|
|
|
|
|
|
|
|
|
|
|
|
|
|
|
|
|
|
|
|
|
|
|
|||||||||||||||||||||||||||||||||
|
I. Строительные работы |
|
|
|
|
|
|
|
|
|
|
|
|
|
|
|
|
|
|
|
|
|
|
|
|
|
|||||||||||||||||||||||||||||||||
|
1а, 3б |
5810 |
588 |
160 |
53,7 |
5062 |
1010 |
|
|
|
|
|
|
|
|
|
|
|
|
|
|
|
|
|
|
|
|
|
|
|
|
|
|||||||||||||||||||||||||||
|
1б, 1г, 5а |
6040 |
588 |
161 |
53,7 |
5291 |
1010 |
|
|
|
|
|
|
|
|
|
|
|
|
|
|
|
|
|
|
|
|
|
|
|
|
|
|||||||||||||||||||||||||||
|
1в, 3в |
6180 |
588 |
161 |
53,7 |
5431 |
1010 |
|
|
|
|
|
|
|
|
|
|
|
|
|
|
|
|
|
|
|
|
|
|
|
|
|
|||||||||||||||||||||||||||
|
1д, 6б, 6в |
6330 |
588 |
160 |
53,7 |
5582 |
1010 |
|
|
|
|
|
|
|
|
|
|
|
|
|
|
|
|
|
|
|
|
|
|
|
|
|
|||||||||||||||||||||||||||
|
1е |
7600 |
588 |
161 |
53,7 |
6851 |
1010 |
|
|
|
|
|
|
|
|
|
|
|
|
|
|
|
|
|
|
|
|
|
|
|
|
|
|||||||||||||||||||||||||||
|
1ж, 3а, 4а |
5680 |
588 |
157 |
58,7 |
4935 |
1010 |
|
|
|
|
|
|
|
|
|
|
|
|
|
|
|
|
|
|
|
|
|
|
|
|
|
|||||||||||||||||||||||||||
|
2а, 9а |
7670 |
706 |
176 |
64,6 |
6788 |
1010 |
|
|
|
|
|
|
|
|
|
|
|
|
|
|
|
|
|
|
|
|
|
|
|
|
|
|||||||||||||||||||||||||||
|
2б |
8740 |
677 |
173 |
61,6 |
7890 |
1010 |
|
|
|
|
|
|
|
|
|
|
|
|
|
|
|
|
|
|
|
|
|
|
|
|
|
|||||||||||||||||||||||||||
|
2в |
8310 |
706 |
176 |
64,6 |
7428 |
1010 |
|
|
|
|
|
|
|
|
|
|
|
|
|
|
|
|
|
|
|
|
|
|
|
|
|
|||||||||||||||||||||||||||
|
2г |
7540 |
824 |
190 |
75,5 |
6526 |
1010 |
|
|
|
|
|
|
|
|
|
|
|
|
|
|
|
|
|
|
|
|
|
|
|
|
|
|||||||||||||||||||||||||||
|
3г, 4б |
6790 |
588 |
161 |
53,7 |
6041 |
1010 |
|
|
|
|
|
|
|
|
|
|
|
|
|
|
|
|
|
|
|
|
|
|
|
|
|
|||||||||||||||||||||||||||
|
5б |
7030 |
588 |
166 |
53,7 |
6276 |
1010 |
|
|
|
|
|
|
|
|
|
|
|
|
|
|
|
|
|
|
|
|
|
|
|
|
|
|||||||||||||||||||||||||||
|
6а |
6430 |
588 |
161 |
53,7 |
5681 |
1010 |
|
|
|
|
|
|
|
|
|
|
|
|
|
|
|
|
|
|
|
|
|
|
|
|
|
|||||||||||||||||||||||||||
|
7а |
6500 |
677 |
169 |
61,6 |
5654 |
1010 |
|
|
|
|
|
|
|
|
|
|
|
|
|
|
|
|
|
|
|
|
|
|
|
|
|
|||||||||||||||||||||||||||
|
7б, 7г, 12а, 12б |
6040 |
677 |
168 |
61,6 |
5195 |
1010 |
|
|
|
|
|
|
|
|
|
|
|
|
|
|
|
|
|
|
|
|
|
|
|
|
|
|||||||||||||||||||||||||||
|
7в, 8б, 11в, 11e |
6980 |
677 |
170 |
61,6 |
6133 |
1010 |
|
|
|
|
|
|
|
|
|
|
|
|
|
|
|
|
|
|
|
|
|
|
|
|
|
|||||||||||||||||||||||||||
|
8а, 11б, 11д |
6720 |
677 |
169 |
61,6 |
5874 |
1010 |
|
|
|
|
|
|
|
|
|
|
|
|
|
|
|
|
|
|
|
|
|
|
|
|
|
|||||||||||||||||||||||||||
|
8в, 8е |
6920 |
706 |
175 |
64,6 |
6039 |
1010 |
|
|
|
|
|
|
|
|
|
|
|
|
|
|
|
|
|
|
|
|
|
|
|
|
|
|||||||||||||||||||||||||||
|
8г |
8300 |
677 |
172 |
61,6 |
7451 |
1010 |
|
|
|
|
|
|
|
|
|
|
|
|
|
|
|
|
|
|
|
|
|
|
|
|
|
|||||||||||||||||||||||||||
|
8д |
5700 |
706 |
174 |
64,6 |
4820 |
1010 |
|
|
|
|
|
|
|
|
|
|
|
|
|
|
|
|
|
|
|
|
|
|
|
|
|
|||||||||||||||||||||||||||
|
9б |
6110 |
706 |
174 |
64,6 |
5230 |
1010 |
|
|
|
|
|
|
|
|
|
|
|
|
|
|
|
|
|
|
|
|
|
|
|
|
|
|||||||||||||||||||||||||||
|
9в |
6790 |
706 |
176 |
64,6 |
5908 |
1010 |
|
|
|
|
|
|
|
|
|
|
|
|
|
|
|
|
|
|
|
|
|
|
|
|
|
|||||||||||||||||||||||||||
|
10а, 10в |
7710 |
765 |
179 |
70 |
6766 |
1010 |
|
|
|
|
|
|
|
|
|
|
|
|
|
|
|
|
|
|
|
|
|
|
|
|
|
|||||||||||||||||||||||||||
|
10б |
7460 |
765 |
179 |
70 |
6516 |
1010 |
|
|
|
|
|
|
|
|
|
|
|
|
|
|
|
|
|
|
|
|
|
|
|
|
|
|||||||||||||||||||||||||||
|
11а |
7610 |
677 |
173 |
61,6 |
6760 |
1010 |
|
|
|
|
|
|
|
|
|
|
|
|
|
|
|
|
|
|
|
|
|
|
|
|
|
|||||||||||||||||||||||||||
|
11г |
6630 |
677 |
169 |
61,6 |
5784 |
1010 |
|
|
|
|
|
|
|
|
|
|
|
|
|
|
|
|
|
|
|
|
|
|
|
|
|
|||||||||||||||||||||||||||
|
12в |
6800 |
677 |
166 |
61,6 |
5957 |
1010 |
|
|
|
|
|
|
|
|
|
|
|
|
|
|
|
|
|
|
|
|
|
|
|
|
|
|||||||||||||||||||||||||||
|
12г |
6480 |
706 |
170 |
64,6 |
5604 |
1010 |
|
|
|
|
|
|
|
|
|
|
|
|
|
|
|
|
|
|
|
|
|
|
|
|
|
|||||||||||||||||||||||||||
|
12д |
7170 |
706 |
170 |
64,6 |
6294 |
1010 |
|
|
|
|
|
|
|
|
|
|
|
|
|
|
|
|
|
|
|
|
|
|
|
|
|
|||||||||||||||||||||||||||
|
12е |
7000 |
706 |
176 |
64,6 |
6118 |
1010 |
|
|
|
|
|
|
|
|
|
|
|
|
|
|
|
|
|
|
|
|
|
|
|
|
|
|||||||||||||||||||||||||||
|
В том числе: |
|
|
|
|
|
|
|
|
|
|
|
|
|
|
|
|
|
|
|
|
|
|
|
|
|
|||||||||||||||||||||||||||||||||
|
а) земляные работы |
|
|
|
|
|
|
|
|
|
|
|
|
|
|
|
|
|
|
|
|
|
|
|
|
|
|||||||||||||||||||||||||||||||||
|
1а - 1е, 3в, 3г, 4б, 5а, 6а, 6в |
136 |
68,8 |
67,2 |
24,9 |
- |
114 |
|
|
|
|
|
|
|
|
|
|
|
|
|
|
|
|
|
|
|
|
|
|
|
|
|
|||||||||||||||||||||||||||
|
1ж, 3б, 4а, 6б |
133 |
68,8 |
64,2 |
24,9 |
- |
114 |
|
|
|
|
|
|
|
|
|
|
|
|
|
|
|
|
|
|
|
|
|
|
|
|
|
|||||||||||||||||||||||||||
|
2а, 2в, 8е, 9а, 9в, 12е |
159 |
82,5 |
76,5 |
30 |
- |
114 |
|
|
|
|
|
|
|
|
|
|
|
|
|
|
|
|
|
|
|
|
|
|
|
|
|
|||||||||||||||||||||||||||
|
2б, 11а |
154 |
79,1 |
74,9 |
28,4 |
- |
114 |
|
|
|
|
|
|
|
|
|
|
|
|
|
|
|
|
|
|
|
|
|
|
|
|
|
|||||||||||||||||||||||||||
|
2г |
181 |
96,2 |
84,8 |
35,1 |
- |
114 |
|
|
|
|
|
|
|
|
|
|
|
|
|
|
|
|
|
|
|
|
|
|
|
|
|
|||||||||||||||||||||||||||
|
3а |
131 |
68,8 |
62,2 |
24,9 |
- |
114 |
|
|
|
|
|
|
|
|
|
|
|
|
|
|
|
|
|
|
|
|
|
|
|
|
|
|||||||||||||||||||||||||||
|
5б |
141 |
68,8 |
72,2 |
24,9 |
- |
114 |
|
|
|
|
|
|
|
|
|
|
|
|
|
|
|
|
|
|
|
|
|
|
|
|
|
|||||||||||||||||||||||||||
|
7а, 7б, 7г - 8б, 11б - 11е, 12б |
150 |
79,1 |
70,9 |
28,4 |
- |
114 |
|
|
|
|
|
|
|
|
|
|
|
|
|
|
|
|
|
|
|
|
|
|
|
|
|
|||||||||||||||||||||||||||
|
7в, 8г |
152 |
79,1 |
72,9 |
28,4 |
- |
114 |
|
|
|
|
|
|
|
|
|
|
|
|
|
|
|
|
|
|
|
|
|
|
|
|
|
|||||||||||||||||||||||||||
|
8в, 8д, 9б |
157 |
82,5 |
74,5 |
30 |
- |
114 |
|
|
|
|
|
|
|
|
|
|
|
|
|
|
|
|
|
|
|
|
|
|
|
|
|
|||||||||||||||||||||||||||
|
10 |
166 |
89,4 |
76,6 |
32,5 |
- |
114 |
|
|
|
|
|
|
|
|
|
|
|
|
|
|
|
|
|
|
|
|
|
|
|
|
|
|||||||||||||||||||||||||||
|
12а, 12в |
147 |
79,1 |
67,9 |
28,4 |
- |
114 |
|
|
|
|
|
|
|
|
|
|
|
|
|
|
|
|
|
|
|
|
|
|
|
|
|
|||||||||||||||||||||||||||
|
12г, 12д |
153 |
82,5 |
70,5 |
30 |
- |
114 |
|
|
|
|
|
|
|
|
|
|
|
|
|
|
|
|
|
|
|
|
|
|
|
|
|
|||||||||||||||||||||||||||
|
б) фундаменты |
|
|
|
|
|
|
|
|
|
|
|
|
|
|
|
|
|
|
|
|
|
|
|
|
|
||||||||||||||||||||||||||||||||||
|
1a, 1б, 5а |
1100 |
61,8 |
14,7 |
4,42 |
1023,5 |
111 |
|
|
|
|
|
|
|
|
|
|
|
|
|
|
|
|
|
|
|
|
|
|
|
|
|
||||||||||||||||||||||||||||
|
1в, 4а, 6б |
1080 |
61,8 |
14,7 |
4,42 |
1003,5 |
111 |
|
|
|
|
|
|
|
|
|
|
|
|
|
|
|
|
|
|
|
|
|
|
|
|
|
||||||||||||||||||||||||||||
|
1г - 1е, 3в, 6а |
1130 |
91,8 |
14,7 |
4,42 |
1053,5 |
111 |
|
|
|
|
|
|
|
|
|
|
|
|
|
|
|
|
|
|
|
|
|
|
|
|
|
||||||||||||||||||||||||||||
|
1ж |
1000 |
61,8 |
14,7 |
4,42 |
923,5 |
111 |
|
|
|
|
|
|
|
|
|
|
|
|
|
|
|
|
|
|
|
|
|
|
|
|
|
||||||||||||||||||||||||||||
|
2а |
1370 |
74,2 |
15,6 |
5,3 |
1280,2 |
111 |
|
|
|
|
|
|
|
|
|
|
|
|
|
|
|
|
|
|
|
|
|
|
|
|
|
||||||||||||||||||||||||||||
|
2б |
1460 |
71,1 |
15,4 |
5,08 |
1373,5 |
111 |
|
|
|
|
|
|
|
|
|
|
|
|
|
|
|
|
|
|
|
|
|
|
|
|
|
||||||||||||||||||||||||||||
|
2в |
1460 |
74,2 |
15,6 |
5,3 |
1370,2 |
111 |
|
|
|
|
|
|
|
|
|
|
|
|
|
|
|
|
|
|
|
|
|
|
|
|
|
||||||||||||||||||||||||||||
|
2г |
1570 |
86,5 |
16,5 |
6,18 |
1467 |
111 |
|
|
|
|
|
|
|
|
|
|
|
|
|
|
|
|
|
|
|
|
|
|
|
|
|
||||||||||||||||||||||||||||
|
3а, 3б |
1020 |
61,8 |
14,7 |
4,42 |
943,5 |
111 |
|
|
|
|
|
|
|
|
|
|
|
|
|
|
|
|
|
|
|
|
|
|
|
|
|
||||||||||||||||||||||||||||
|
3г |
943 |
61,8 |
14,7 |
4,42 |
866,5 |
111 |
|
|
|
|
|
|
|
|
|
|
|
|
|
|
|
|
|
|
|
|
|
|
|
|
|
||||||||||||||||||||||||||||
|
4б, 6в |
1140 |
61,8 |
14,7 |
4,42 |
1063,5 |
111 |
|
|
|
|
|
|
|
|
|
|
|
|
|
|
|
|
|
|
|
|
|
|
|
|
|
||||||||||||||||||||||||||||
|
5б |
1040 |
61,8 |
14,7 |
4,42 |
963,5 |
111 |
|
|
|
|
|
|
|
|
|
|
|
|
|
|
|
|
|
|
|
|
|
|
|
|
|
||||||||||||||||||||||||||||
|
7а, 7б, 12б |
1110 |
71,1 |
15,4 |
5,08 |
1023,5 |
111 |
|
|
|
|
|
|
|
|
|
|
|
|
|
|
|
|
|
|
|
|
|
|
|
|
|
||||||||||||||||||||||||||||
|
7в, 7г |
1090 |
71,1 |
15,4 |
5,08 |
1003,5 |
111 |
|
|
|
|
|
|
|
|
|
|
|
|
|
|
|
|
|
|
|
|
|
|
|
|
|
||||||||||||||||||||||||||||
|
8а |
1120 |
71,1 |
15,4 |
5,08 |
1033,5 |
111 |
|
|
|
|
|
|
|
|
|
|
|
|
|
|
|
|
|
|
|
|
|
|
|
|
|
||||||||||||||||||||||||||||
|
8б |
1250 |
71,1 |
15,4 |
5,08 |
1163,5 |
111 |
|
|
|
|
|
|
|
|
|
|
|
|
|
|
|
|
|
|
|
|
|
|
|
|
|
||||||||||||||||||||||||||||
|
8в |
1310 |
74,2 |
15,6 |
5,3 |
1220,2 |
111 |
|
|
|
|
|
|
|
|
|
|
|
|
|
|
|
|
|
|
|
|
|
|
|
|
|
||||||||||||||||||||||||||||
|
8г |
1800 |
71,1 |
15,4 |
5,08 |
1713,5 |
111 |
|
|
|
|
|
|
|
|
|
|
|
|
|
|
|
|
|
|
|
|
|
|
|
|
|
||||||||||||||||||||||||||||
|
8д, 9б |
1200 |
74,2 |
15,6 |
5,3 |
1110,2 |
111 |
|
|
|
|
|
|
|
|
|
|
|
|
|
|
|
|
|
|
|
|
|
|
|
|
|
||||||||||||||||||||||||||||
|
8е |
1720 |
74,2 |
15,6 |
5,3 |
1630,2 |
111 |
|
|
|
|
|
|
|
|
|
|
|
|
|
|
|
|
|
|
|
|
|
|
|
|
|
||||||||||||||||||||||||||||
|
9а, 9в |
1280 |
74,2 |
15,6 |
5,3 |
1190,2 |
111 |
|
|
|
|
|
|
|
|
|
|
|
|
|
|
|
|
|
|
|
|
|
|
|
|
|
||||||||||||||||||||||||||||
|
10а, 10б |
1370 |
80,4 |
16 |
5,74 |
1273,6 |
111 |
|
|
|
|
|
|
|
|
|
|
|
|
|
|
|
|
|
|
|
|
|
|
|
|
|
||||||||||||||||||||||||||||
|
10в |
1320 |
80,4 |
16 |
5,74 |
1223,6 |
111 |
|
|
|
|
|
|
|
|
|
|
|
|
|
|
|
|
|
|
|
|
|
|
|
|
|
||||||||||||||||||||||||||||
|
11а |
1400 |
71,1 |
15,4 |
5,08 |
1313,5 |
111 |
|
|
|
|
|
|
|
|
|
|
|
|
|
|
|
|
|
|
|
|
|
|
|
|
|
||||||||||||||||||||||||||||
|
11б - 11e |
1230 |
71,1 |
15,4 |
5,08 |
1143,5 |
111 |
|
|
|
|
|
|
|
|
|
|
|
|
|
|
|
|
|
|
|
|
|
|
|
|
|
||||||||||||||||||||||||||||
|
12а |
1040 |
71,1 |
15,4 |
5,08 |
953,5 |
111 |
|
|
|
|
|
|
|
|
|
|
|
|
|
|
|
|
|
|
|
|
|
|
|
|
|
||||||||||||||||||||||||||||
|
12в |
969 |
71,1 |
15,4 |
5,08 |
882,5 |
111 |
|
|
|
|
|
|
|
|
|
|
|
|
|
|
|
|
|
|
|
|
|
|
|
|
|
||||||||||||||||||||||||||||
|
12г |
1140 |
74,2 |
16,6 |
5,3 |
1050,2 |
111 |
|
|
|
|
|
|
|
|
|
|
|
|
|
|
|
|
|
|
|
|
|
|
|
|
|
||||||||||||||||||||||||||||
|
12д |
1160 |
74,2 |
15,6 |
5,3 |
1070,2 |
111 |
|
|
|
|
|
|
|
|
|
|
|
|
|
|
|
|
|
|
|
|
|
|
|
|
|
||||||||||||||||||||||||||||
|
12е |
1400 |
74,2 |
15,6 |
5,3 |
1310,2 |
111 |
|
|
|
|
|
|
|
|
|
|
|
|
|
|
|
|
|
|
|
|
|
|
|
|
|
||||||||||||||||||||||||||||
|
в) ствол башни |
|
|
|
|
|
|
|
|
|
|
|
|
|
|
|
|
|
|
|
|
|
|
|
|
|
||||||||||||||||||||||||||||||||||
|
1а, 1ж |
4270 |
434 |
74,1 |
22,7 |
3761,9 |
731 |
|
|
|
|
|
|
|
|
|
|
|
|
|
|
|
|
|
|
|
|
|
|
|
|
|
||||||||||||||||||||||||||||
|
1б, 5а |
4510 |
434 |
74,1 |
22,7 |
4001,9 |
731 |
|
|
|
|
|
|
|
|
|
|
|
|
|
|
|
|
|
|
|
|
|
|
|
|
|
||||||||||||||||||||||||||||
|
1в, 3в, 6в |
4670 |
434 |
74,1 |
22,7 |
4161,9 |
731 |
|
|
|
|
|
|
|
|
|
|
|
|
|
|
|
|
|
|
|
|
|
|
|
|
|
||||||||||||||||||||||||||||
|
1г |
4440 |
434 |
74,1 |
22,7 |
3931,9 |
731 |
|
|
|
|
|
|
|
|
|
|
|
|
|
|
|
|
|
|
|
|
|
|
|
|
|
||||||||||||||||||||||||||||
|
1д, 6а |
4810 |
434 |
74,1 |
22,7 |
4301,9 |
731 |
|
|
|
|
|
|
|
|
|
|
|
|
|
|
|
|
|
|
|
|
|
|
|
|
|
||||||||||||||||||||||||||||
|
1е |
6040 |
434 |
74,1 |
22,7 |
5531,9 |
731 |
|
|
|
|
|
|
|
|
|
|
|
|
|
|
|
|
|
|
|
|
|
|
|
|
|
||||||||||||||||||||||||||||
|
2а |
5800 |
521 |
78,7 |
27,2 |
5200,3 |
731 |
|
|
|
|
|
|
|
|
|
|
|
|
|
|
|
|
|
|
|
|
|
|
|
|
|
||||||||||||||||||||||||||||
|
2б |
6810 |
499 |
77,5 |
26,1 |
6233,5 |
731 |
|
|
|
|
|
|
|
|
|
|
|
|
|
|
|
|
|
|
|
|
|
|
|
|
|
||||||||||||||||||||||||||||
|
2в |
6360 |
521 |
78,7 |
27,2 |
5760,3 |
731 |
|
|
|
|
|
|
|
|
|
|
|
|
|
|
|
|
|
|
|
|
|
|
|
|
|
|||||||||||||||||||||||||||
|
2г |
5420 |
608 |
83,2 |
31,8 |
4728,8 |
731 |
|
|
|
|
|
|
|
|
|
|
|
|
|
|
|
|
|
|
|
|
|
|
|
|
|
|||||||||||||||||||||||||||
|
3а, 4а |
4200 |
434 |
74,1 |
22,7 |
3691,9 |
731 |
|
|
|
|
|
|
|
|
|
|
|
|
|
|
|
|
|
|
|
|
|
|
|
|
|
|||||||||||||||||||||||||||
|
3б |
4370 |
434 |
74,1 |
22,7 |
3861,9 |
731 |
|
|
|
|
|
|
|
|
|
|
|
|
|
|
|
|
|
|
|
|
|
|
|
|
|
|||||||||||||||||||||||||||
|
3г |
5420 |
434 |
74,1 |
22,7 |
4911,9 |
731 |
|
|
|
|
|
|
|
|
|
|
|
|
|
|
|
|
|
|
|
|
|
|
|
|
|
|||||||||||||||||||||||||||
|
4б |
5210 |
434 |
74,1 |
22,7 |
4701,9 |
731 |
|
|
|
|
|
|
|
|
|
|
|
|
|
|
|
|
|
|
|
|
|
|
|
|
|
|||||||||||||||||||||||||||
|
5б |
5510 |
434 |
74,1 |
22,7 |
5001,9 |
731 |
|
|
|
|
|
|
|
|
|
|
|
|
|
|
|
|
|
|
|
|
|
|
|
|
|
|||||||||||||||||||||||||||
|
6б |
4850 |
434 |
74,1 |
22,7 |
4341,9 |
731 |
|
|
|
|
|
|
|
|
|
|
|
|
|
|
|
|
|
|
|
|
|
|
|
|
|
|||||||||||||||||||||||||||
|
7а, 11б, 11г |
4930 |
499 |
77,5 |
26,1 |
4353,5 |
731 |
|
|
|
|
|
|
|
|
|
|
|
|
|
|
|
|
|
|
|
|
|
|
|
|
|
|||||||||||||||||||||||||||
|
7б, 7г, 12а |
4530 |
499 |
77,5 |
26,1 |
3953,5 |
731 |
|
|
|
|
|
|
|
|
|
|
|
|
|
|
|
|
|
|
|
|
|
|
|
|
|
|||||||||||||||||||||||||||
|
7в |
5450 |
499 |
77,5 |
26,1 |
4873,5 |
731 |
|
|
|
|
|
|
|
|
|
|
|
|
|
|
|
|
|
|
|
|
|
|
|
|
|
|||||||||||||||||||||||||||
|
8а |
5120 |
499 |
77,5 |
26,1 |
4548,5 |
731 |
|
|
|
|
|
|
|
|
|
|
|
|
|
|
|
|
|
|
|
|
|
|
|
|
|
|||||||||||||||||||||||||||
|
8б |
5200 |
499 |
77,5 |
26,1 |
4623,5 |
731 |
|
|
|
|
|
|
|
|
|
|
|
|
|
|
|
|
|
|
|
|
|
|
|
|
|
|||||||||||||||||||||||||||
|
8в, 12е |
5120 |
499 |
78,7 |
27,2 |
4520,3 |
731 |
|
|
|
|
|
|
|
|
|
|
|
|
|
|
|
|
|
|
|
|
|
|
|
|
|
|||||||||||||||||||||||||||
|
8г |
6010 |
521 |
77,5 |
26,1 |
5433,5 |
731 |
|
|
|
|
|
|
|
|
|
|
|
|
|
|
|
|
|
|
|
|
|
|
|
|
|
|||||||||||||||||||||||||||
|
8д |
4020 |
521 |
78,7 |
27,2 |
3420,3 |
731 |
|
|
|
|
|
|
|
|
|
|
|
|
|
|
|
|
|
|
|
|
|
|
|
|
|
|||||||||||||||||||||||||||
|
8е |
4670 |
521 |
78,7 |
27,2 |
4070,3 |
731 |
|
|
|
|
|
|
|
|
|
|
|
|
|
|
|
|
|
|
|
|
|
|
|
|
|
|||||||||||||||||||||||||||
|
9а |
5900 |
521 |
78,7 |
27,2 |
5300,3 |
731 |
|
|
|
|
|
|
|
|
|
|
|
|
|
|
|
|
|
|
|
|
|
|
|
|
|
|||||||||||||||||||||||||||
|
9б |
4420 |
521 |
78,7 |
27,2 |
3820,3 |
731 |
|
|
|
|
|
|
|
|
|
|
|
|
|
|
|
|
|
|
|
|
|
|
|
|
|
|||||||||||||||||||||||||||
|
9в |
4720 |
521 |
78,7 |
27,2 |
4120,3 |
731 |
|
|
|
|
|
|
|
|
|
|
|
|
|
|
|
|
|
|
|
|
|
|
|
|
|
|||||||||||||||||||||||||||
|
10а, 10в |
5840 |
564 |
80,9 |
29,5 |
5195,1 |
731 |
|
|
|
|
|
|
|
|
|
|
|
|
|
|
|
|
|
|
|
|
|
|
|
|
|
|||||||||||||||||||||||||||
|
10б |
5550 |
564 |
80,9 |
29,5 |
4905,1 |
731 |
|
|
|
|
|
|
|
|
|
|
|
|
|
|
|
|
|
|
|
|
|
|
|
|
|
|||||||||||||||||||||||||||
|
11а |
5680 |
499 |
77,5 |
26,1 |
5103,5 |
731 |
|
|
|
|
|
|
|
|
|
|
|
|
|
|
|
|
|
|
|
|
|
|
|
|
|
|||||||||||||||||||||||||||
|
11в, 11e |
5300 |
499 |
77,5 |
26,1 |
4723,5 |
731 |
|
|
|
|
|
|
|
|
|
|
|
|
|
|
|
|
|
|
|
|
|
|
|
|
|
|||||||||||||||||||||||||||
|
11д |
5020 |
499 |
77,5 |
26,1 |
4443,5 |
731 |
|
|
|
|
|
|
|
|
|
|
|
|
|
|
|
|
|
|
|
|
|
|
|
|
|
|||||||||||||||||||||||||||
|
12б |
4460 |
499 |
77,5 |
26,1 |
3883,5 |
731 |
|
|
|
|
|
|
|
|
|
|
|
|
|
|
|
|
|
|
|
|
|
|
|
|
|
|||||||||||||||||||||||||||
|
12в |
5380 |
499 |
77,5 |
26,1 |
4803,5 |
731 |
|
|
|
|
|
|
|
|
|
|
|
|
|
|
|
|
|
|
|
|
|
|
|
|
|
|||||||||||||||||||||||||||
|
12г |
4880 |
521 |
78,7 |
27,2 |
4280,3 |
731 |
|
|
|
|
|
|
|
|
|
|
|
|
|
|
|
|
|
|
|
|
|
|
|
|
|
|||||||||||||||||||||||||||
|
12д |
5560 |
521 |
78,7 |
27,2 |
4960,3 |
731 |
|
|
|
|
|
|
|
|
|
|
|
|
|
|
|
|
|
|
|
|
|
|
|
|
|
|||||||||||||||||||||||||||
|
II. Монтаж металлоконструкций |
|
|
|
|
|
|
|
|
|
|
|
|
|
|
|
|
|
|
|
|
|
|
|
|
||||||||||||||||||||||||||||||||||
|
1, 3, 5 |
2930 |
96,9 |
184 |
63,8 |
2649,1 |
155 |
|
|
|
|
|
|
|
|
|
|
|
|
|
|
|
|
|
|
|
|
|
|
|
|
||||||||||||||||||||||||||||
|
2а, 2в, 8е, 12д, 12е |
3000 |
116 |
196 |
76,5 |
2688 |
155 |
|
|
|
|
|
|
|
|
|
|
|
|
|
|
|
|
|
|
|
|
|
|
|
|
||||||||||||||||||||||||||||
|
2б |
3000 |
111 |
193 |
73,3 |
2696 |
155 |
|
|
|
|
|
|
|
|
|
|
|
|
|
|
|
|
|
|
|
|
|
|
|
|
||||||||||||||||||||||||||||
|
2г |
3060 |
136 |
209 |
89,3 |
2715 |
155 |
|
|
|
|
|
|
|
|
|
|
|
|
|
|
|
|
|
|
|
|
|
|
|
|
||||||||||||||||||||||||||||
|
4 |
2880 |
96,9 |
184 |
63,8 |
2599,1 |
155 |
|
|
|
|
|
|
|
|
|
|
|
|
|
|
|
|
|
|
|
|
|
|
|
|
||||||||||||||||||||||||||||
|
6 |
2980 |
96,9 |
184 |
63,8 |
2699,1 |
155 |
|
|
|
|
|
|
|
|
|
|
|
|
|
|
|
|
|
|
|
|
|
|
|
|
||||||||||||||||||||||||||||
|
7а - 8б, 8г, 11а - 12в |
2950 |
111 |
493 |
73,3 |
2646 |
155 |
|
|
|
|
|
|
|
|
|
|
|
|
|
|
|
|
|
|
|
|
|
|
|
|
||||||||||||||||||||||||||||
|
8в, 8д, 12г |
2970 |
116 |
196 |
76,5 |
2658 |
155 |
|
|
|
|
|
|
|
|
|
|
|
|
|
|
|
|
|
|
|
|
|
|
|
|
||||||||||||||||||||||||||||
|
9 |
3090 |
116 |
196 |
76,5 |
2778 |
155 |
|
|
|
|
|
|
|
|
|
|
|
|
|
|
|
|
|
|
|
|
|
|
|
|
||||||||||||||||||||||||||||
|
10 |
3410 |
126 |
203 |
82,9 |
3081 |
155 |
|
|
|
|
|
|
|
|
|
|
|
|
|
|
|
|
|
|
|
|
|
|
|
|
||||||||||||||||||||||||||||
|
III. Электромонтажные работы |
|
|
|
|
|
|
|
|
|
|
|
|
|
|
|
|
|
|
|
|
|
|
|
|
||||||||||||||||||||||||||||||||||
|
(электроосвещение, КИП, автоматика и грозозащита) |
|
|
|
|
|
|
|
|
|
|
|
|
|
|
|
|
|
|
|
|
|
|
|
|
||||||||||||||||||||||||||||||||||
|
1, 3 - 6 |
691 |
193 |
141 |
53 |
357 |
341 |
|
|
|
|
|
|
|
|
|
|
|
|
|
|
|
|
|
|
|
|
|
|
|
|
||||||||||||||||||||||||||||
|
2а, 2в, 8в, 8д, 9, 12г, 12д |
743 |
232 |
151 |
63,6 |
360 |
341 |
|
|
|
|
|
|
|
|
|
|
|
|
|
|
|
|
|
|
|
|
|
|
|
|
||||||||||||||||||||||||||||
|
2б, 7а - 8б, 8г, 11а - 12в |
729 |
222 |
149 |
60,9 |
358 |
341 |
|
|
|
|
|
|
|
|
|
|
|
|
|
|
|
|
|
|
|
|
|
|
|
|
||||||||||||||||||||||||||||
|
2г |
815 |
270 |
162 |
74,2 |
383 |
341 |
|
|
|
|
|
|
|
|
|
|
|
|
|
|
|
|
|
|
|
|
|
|
|
|
||||||||||||||||||||||||||||
|
8е |
791 |
232 |
151 |
63,6 |
408 |
341 |
|
|
|
|
|
|
|
|
|
|
|
|
|
|
|
|
|
|
|
|
|
|
|
|
||||||||||||||||||||||||||||
|
10 |
791 |
251 |
157 |
68,9 |
383 |
341 |
|
|
|
|
|
|
|
|
|
|
|
|
|
|
|
|
|
|
|
|
|
|
|
|
||||||||||||||||||||||||||||
|
12е |
770 |
232 |
151 |
63,6 |
387 |
341 |
|
|
|
|
|
|
|
|
|
|
|
|
|
|
|
|
|
|
|
|
|
|
|
|
||||||||||||||||||||||||||||
|
IV. Монтаж технологических трубопроводов |
|
|
|
|
|
|
|
|
|
|
|
|
|
|
|
|
|
|
|
|
|
|
|
|
||||||||||||||||||||||||||||||||||
|
1, 3 - 5 |
1840 |
332 |
91,5 |
33,6 |
1416,5 |
586 |
|
|
|
|
|
|
|
|
|
|
|
|
|
|
|
|
|
|
|
|
|
|
|
|
||||||||||||||||||||||||||||
|
2а, 2в |
1900 |
399 |
98,2 |
40,3 |
1402,8 |
586 |
|
|
|
|
|
|
|
|
|
|
|
|
|
|
|
|
|
|
|
|
|
|
|
|
||||||||||||||||||||||||||||
|
2б, 11 |
1890 |
382 |
96,5 |
38,6 |
1411,5 |
586 |
|
|
|
|
|
|
|
|
|
|
|
|
|
|
|
|
|
|
|
|
|
|
|
|
||||||||||||||||||||||||||||
|
2г |
2050 |
465 |
105 |
47 |
1480 |
586 |
|
|
|
|
|
|
|
|
|
|
|
|
|
|
|
|
|
|
|
|
|
|
|
|
||||||||||||||||||||||||||||
|
6 |
1870 |
332 |
91,5 |
33,6 |
1446,5 |
586 |
|
|
|
|
|
|
|
|
|
|
|
|
|
|
|
|
|
|
|
|
|
|
|
|
||||||||||||||||||||||||||||
|
7а - 8б, 8г, 12а - 12в |
1920 |
382 |
96,5 |
38,6 |
1441,5 |
586 |
|
|
|
|
|
|
|
|
|
|
|
|
|
|
|
|
|
|
|
|
|
|
|
|
||||||||||||||||||||||||||||
|
8в, 8д, 12г - 12е |
1940 |
399 |
98,2 |
40,3 |
1442,8 |
586 |
|
|
|
|
|
|
|
|
|
|
|
|
|
|
|
|
|
|
|
|
|
|
|
|
||||||||||||||||||||||||||||
|
8е - 9в |
2010 |
399 |
98,2 |
40,3 |
1512,8 |
586 |
|
|
|
|
|
|
|
|
|
|
|
|
|
|
|
|
|
|
|
|
|
|
|
|
||||||||||||||||||||||||||||
|
10 |
2170 |
432 |
102 |
43,6 |
1636 |
586 |
|
|
|
|
|
|
|
|
|
|
|
|
|
|
|
|
|
|
|
|
|
|
|
|
||||||||||||||||||||||||||||

Рис. 5. Водонапорные бесшатровые кирпичные башни со стальным баком вместимостью 150 м3, типовой проект 901-5-9/70 (к ценам № 19, 20)
Водонапорная бесшатровая кирпичная башня со стальным баком вместимостью 150 м3, высотой до дна бака 18 м
Измеритель - 1 башня
|
Районы |
Прямые затраты, руб. |
В том числе, руб. |
Затраты труда рабочих, чел.-ч. |
|||||||||||||||||||||||||||||||
|
основная заработная плата рабочих |
эксплуатация машин |
материальные ресурсы |
||||||||||||||||||||||||||||||||
|
всего |
в том числе заработная плата рабочих, обслуживающих машины |
|||||||||||||||||||||||||||||||||
|
1 |
2 |
3 |
4 |
5 |
6 |
7 |
||||||||||||||||||||||||||||
|
I. Строительные работы |
||||||||||||||||||||||||||||||||||
|
1а |
5260 |
479 |
180 |
58,8 |
4601 |
812 |
||||||||||||||||||||||||||||
|
1б, 1г, 5а |
5450 |
479 |
180 |
58,8 |
4791 |
812 |
||||||||||||||||||||||||||||
|
1в, 3в |
5560 |
479 |
180 |
58,8 |
4901 |
812 |
||||||||||||||||||||||||||||
|
1д, 6б, 6в |
5680 |
479 |
177 |
58,8 |
5024 |
812 |
||||||||||||||||||||||||||||
|
1е |
6680 |
479 |
180 |
58,8 |
6021 |
812 |
||||||||||||||||||||||||||||
|
1ж, 3а |
5080 |
479 |
170 |
58,8 |
4431 |
812 |
||||||||||||||||||||||||||||
|
2а, 9а |
6840 |
574 |
202 |
70,8 |
6064 |
812 |
||||||||||||||||||||||||||||
|
2б |
7750 |
550 |
198 |
67,1 |
7002 |
812 |
||||||||||||||||||||||||||||
|
2в |
7430 |
574 |
202 |
70,8 |
6654 |
812 |
||||||||||||||||||||||||||||
|
2г |
6810 |
670 |
221 |
82,8 |
5919 |
812 |
||||||||||||||||||||||||||||
|
3б, 4а |
5180 |
479 |
173 |
58,8 |
4528 |
812 |
||||||||||||||||||||||||||||
|
3г |
5940 |
479 |
180 |
58,8 |
5281 |
812 |
||||||||||||||||||||||||||||
|
4б |
6040 |
479 |
180 |
58,8 |
5381 |
812 |
||||||||||||||||||||||||||||
|
5б |
6190 |
479 |
191 |
58,8 |
5520 |
812 |
||||||||||||||||||||||||||||
|
6а |
5780 |
479 |
180 |
58,8 |
5121 |
812 |
||||||||||||||||||||||||||||
|
7а |
5790 |
550 |
188 |
67,1 |
5052 |
812 |
||||||||||||||||||||||||||||
|
7б, 7г, 12б |
5460 |
550 |
188 |
67,1 |
4722 |
812 |
||||||||||||||||||||||||||||
|
7в, 8б |
6190 |
550 |
191 |
67,1 |
5449 |
812 |
||||||||||||||||||||||||||||
|
8а, 11г, 12в |
6000 |
550 |
185 |
67,1 |
5265 |
812 |
||||||||||||||||||||||||||||
|
8в, 9в |
6210 |
574 |
199 |
70,8 |
5487 |
812 |
||||||||||||||||||||||||||||
|
8г |
7620 |
550 |
194 |
67,1 |
6876 |
812 |
||||||||||||||||||||||||||||
|
8д |
5230 |
574 |
196 |
70,8 |
4460 |
812 |
||||||||||||||||||||||||||||
|
8е |
6520 |
574 |
202 |
70,8 |
5744 |
812 |
||||||||||||||||||||||||||||
|
9б |
5540 |
574 |
196 |
70,8 |
4770 |
812 |
||||||||||||||||||||||||||||
|
10а |
6930 |
622 |
202 |
76,8 |
6106 |
812 |
||||||||||||||||||||||||||||
|
10б |
6720 |
622 |
202 |
76,8 |
5896 |
812 |
||||||||||||||||||||||||||||
|
10в |
6850 |
622 |
202 |
76,8 |
6026 |
812 |
||||||||||||||||||||||||||||
|
11а |
6870 |
550 |
198 |
67,1 |
6122 |
812 |
||||||||||||||||||||||||||||
|
11б, 11д |
6060 |
550 |
188 |
67,1 |
5322 |
812 |
||||||||||||||||||||||||||||
|
11в, 11е |
6310 |
550 |
188 |
67,1 |
5572 |
812 |
||||||||||||||||||||||||||||
|
12а |
5370 |
550 |
182 |
67,1 |
4638 |
812 |
||||||||||||||||||||||||||||
|
12г |
5800 |
574 |
187 |
70,8 |
5039 |
812 |
||||||||||||||||||||||||||||
|
12д |
6370 |
574 |
187 |
70,8 |
5609 |
812 |
||||||||||||||||||||||||||||
|
12е |
6360 |
574 |
202 |
70,8 |
5584 |
812 |
||||||||||||||||||||||||||||
|
В том числе: |
||||||||||||||||||||||||||||||||||
|
а) земляные работы |
||||||||||||||||||||||||||||||||||
|
1a - 1e, 3в, 3г, 4б, 5а, 6а, 6в |
117 |
34,6 |
82,4 |
28,5 |
- |
57,6 |
||||||||||||||||||||||||||||
|
1ж, 3б, 4а, 6б |
110 |
34,6 |
75,4 |
28,5 |
- |
57,6 |
||||||||||||||||||||||||||||
|
2а, 2в, 8е, 9а, 9в, 12е |
140 |
41,6 |
98,4 |
34,5 |
- |
57,6 |
||||||||||||||||||||||||||||
|
2б, 11а |
136 |
39,8 |
96,2 |
32,3 |
- |
57,6 |
||||||||||||||||||||||||||||
|
2г |
160 |
49 |
111 |
40,5 |
- |
57,6 |
||||||||||||||||||||||||||||
|
3а |
104 |
34,6 |
69,4 |
28,5 |
- |
57,6 |
||||||||||||||||||||||||||||
|
5б |
128 |
34,6 |
93,4 |
28,5 |
- |
57,6 |
||||||||||||||||||||||||||||
|
7а, 7б, 7г - 8б, 11б - 11е, 12б |
126 |
39,8 |
86,2 |
32,3 |
- |
57,6 |
||||||||||||||||||||||||||||
|
7в, 8г |
132 |
39,8 |
92,2 |
32,3 |
- |
57,6 |
||||||||||||||||||||||||||||
|
8в, 8д, 9б |
134 |
41,6 |
92,4 |
34,5 |
- |
57,6 |
||||||||||||||||||||||||||||
|
10 |
141 |
45 |
96 |
37,5 |
- |
57,6 |
||||||||||||||||||||||||||||
|
12а, 12в |
119 |
39,8 |
79,2 |
32,3 |
- |
57,6 |
||||||||||||||||||||||||||||
|
12г, 12д |
124 |
41,6 |
82,4 |
34,5 |
- |
57,6 |
||||||||||||||||||||||||||||
|
б) фундаменты |
||||||||||||||||||||||||||||||||||
|
1a, 1б, 5а |
1440 |
97,6 |
22,4 |
6,73 |
1320 |
174 |
||||||||||||||||||||||||||||
|
1в, 4а, 6б |
1400 |
97,6 |
22,4 |
6,73 |
1280 |
174 |
||||||||||||||||||||||||||||
|
1г - 1e, 4б |
1480 |
97,6 |
22,4 |
6,73 |
1360 |
174 |
||||||||||||||||||||||||||||
|
1ж, 3а |
1300 |
97,6 |
22,4 |
6,73 |
1180 |
174 |
||||||||||||||||||||||||||||
|
2а |
1790 |
117 |
23,8 |
8,08 |
1649,2 |
174 |
||||||||||||||||||||||||||||
|
2б |
1910 |
112 |
23,4 |
7,74 |
1774,6 |
174 |
||||||||||||||||||||||||||||
|
2в |
1920 |
117 |
23,8 |
8,08 |
1779,2 |
174 |
||||||||||||||||||||||||||||
|
2г |
1980 |
137 |
25,1 |
9,42 |
1817,9 |
174 |
||||||||||||||||||||||||||||
|
3б |
1330 |
97,6 |
22,4 |
6,73 |
1210 |
174 |
||||||||||||||||||||||||||||
|
3в, 6а, 6в |
1500 |
97,6 |
22,4 |
6,73 |
1380 |
174 |
||||||||||||||||||||||||||||
|
3г |
1220 |
97,6 |
22,4 |
6,73 |
1100 |
174 |
||||||||||||||||||||||||||||
|
5б |
1350 |
97,6 |
22,4 |
6,73 |
1230 |
174 |
||||||||||||||||||||||||||||
|
7а, 7б |
1430 |
112 |
23,4 |
7,74 |
1294,6 |
174 |
||||||||||||||||||||||||||||
|
7в, 7г |
1400 |
112 |
23,4 |
7,74 |
1264,6 |
174 |
||||||||||||||||||||||||||||
|
8а |
1450 |
112 |
23,4 |
7,74 |
1314,6 |
174 |
|
|||||||||||||||||||||||||||
|
8б, 11б - 11е |
1610 |
112 |
23,4 |
7,74 |
1474,6 |
174 |
|
|||||||||||||||||||||||||||
|
8в |
1710 |
117 |
23,8 |
8,08 |
1569,2 |
174 |
|
|||||||||||||||||||||||||||
|
8г |
2380 |
112 |
23,4 |
7,74 |
2244,6 |
174 |
|
|||||||||||||||||||||||||||
|
8д, 9б |
1560 |
117 |
23,8 |
8,08 |
1419,2 |
174 |
|
|||||||||||||||||||||||||||
|
8е |
2260 |
117 |
23,8 |
8,08 |
2119,2 |
174 |
|
|||||||||||||||||||||||||||
|
9а, 9в |
1660 |
117 |
23,8 |
8,08 |
1519,2 |
174 |
|
|||||||||||||||||||||||||||
|
10а, 10б |
1800 |
127 |
24,4 |
8,75 |
1648,6 |
174 |
|
|||||||||||||||||||||||||||
|
10в |
1730 |
127 |
24,4 |
8,75 |
1578,6 |
174 |
|
|||||||||||||||||||||||||||
|
11а |
1850 |
112 |
23,4 |
7,74 |
1714,6 |
174 |
|
|||||||||||||||||||||||||||
|
12а |
1350 |
112 |
23,4 |
7,74 |
1214,6 |
174 |
|
|||||||||||||||||||||||||||
|
12б |
1470 |
112 |
23,4 |
7,74 |
1334,6 |
174 |
|
|||||||||||||||||||||||||||
|
12в |
1320 |
112 |
23,4 |
7,74 |
1184,6 |
174 |
|
|||||||||||||||||||||||||||
|
12г |
1470 |
117 |
23,8 |
8,08 |
1329,2 |
174 |
|
|||||||||||||||||||||||||||
|
12д |
1510 |
117 |
23,8 |
8,08 |
1369,2 |
174 |
|
|||||||||||||||||||||||||||
|
12е |
1820 |
117 |
23,8 |
8,08 |
1679,2 |
174 |
|
|||||||||||||||||||||||||||
|
в) ствол башни |
|
|||||||||||||||||||||||||||||||||
|
1а, 1ж |
3360 |
306 |
65,6 |
20,5 |
2988,4 |
512 |
|
|||||||||||||||||||||||||||
|
1б, 5а |
3350 |
306 |
65,6 |
20,5 |
3178,4 |
512 |
|
|||||||||||||||||||||||||||
|
1в, 6в |
3690 |
306 |
65,6 |
20,5 |
3318,4 |
512 |
|
|||||||||||||||||||||||||||
|
1г |
3490 |
306 |
65,6 |
20,5 |
3118,4 |
512 |
|
|||||||||||||||||||||||||||
|
1д, 6а |
3780 |
306 |
65,6 |
20,5 |
3404,4 |
512 |
|
|||||||||||||||||||||||||||
|
1е |
450 |
306 |
65,6 |
20,5 |
4378,4 |
512 |
|
|||||||||||||||||||||||||||
|
2а |
460 |
368 |
69,7 |
24,6 |
4122,3 |
512 |
|
|||||||||||||||||||||||||||
|
2б |
5340 |
352 |
68,6 |
23,5 |
4919,4 |
512 |
|
|||||||||||||||||||||||||||
|
2в |
5010 |
368 |
69,7 |
24,6 |
4572,3 |
512 |
|
|||||||||||||||||||||||||||
|
2г |
4250 |
429 |
73,8 |
28,6 |
3747,2 |
512 |
|
|||||||||||||||||||||||||||
|
3а, 4а |
3300 |
306 |
65,6 |
20,5 |
2928,4 |
512 |
|
|||||||||||||||||||||||||||
|
3б |
3430 |
306 |
65,6 |
20,5 |
3058,4 |
512 |
|
|||||||||||||||||||||||||||
|
3в |
3640 |
306 |
65,6 |
20,5 |
3268,4 |
512 |
|
|||||||||||||||||||||||||||
|
3г |
4260 |
306 |
65,6 |
20,5 |
3888,4 |
512 |
|
|||||||||||||||||||||||||||
|
4б |
4100 |
306 |
65,6 |
20,5 |
3728,4 |
512 |
|
|||||||||||||||||||||||||||
|
5б |
4340 |
306 |
65,6 |
20,5 |
3968,4 |
512 |
|
|||||||||||||||||||||||||||
|
6б |
3810 |
306 |
65,6 |
20,5 |
3438,4 |
512 |
|
|||||||||||||||||||||||||||
|
7а, 11б, 11г |
3880 |
352 |
68,6 |
23,5 |
3459,4 |
512 |
|
|||||||||||||||||||||||||||
|
7б, 7г, 12а |
3560 |
352 |
68,6 |
23,5 |
3139,4 |
512 |
|
|||||||||||||||||||||||||||
|
7в |
4280 |
352 |
68,6 |
23,5 |
3859,4 |
512 |
|
|||||||||||||||||||||||||||
|
8а |
4020 |
352 |
68,6 |
23,5 |
3599,4 |
512 |
|
|||||||||||||||||||||||||||
|
8б |
4090 |
352 |
68,6 |
23,5 |
3669,4 |
512 |
|
|||||||||||||||||||||||||||
|
8в, 12е |
4020 |
368 |
69,7 |
24,6 |
3582,3 |
512 |
|
||||||||||||||||||||||||||||
|
8г |
4720 |
352 |
68,6 |
23,5 |
4299,4 |
512 |
|
||||||||||||||||||||||||||||
|
8д |
3160 |
368 |
69,7 |
24,6 |
2722,3 |
512 |
|
||||||||||||||||||||||||||||
|
8е |
3660 |
368 |
69,7 |
24,6 |
3222,3 |
512 |
|
|||||||||||||||||||||||||||
|
9а |
4630 |
368 |
69,7 |
24,6 |
4192,3 |
512 |
|
|||||||||||||||||||||||||||
|
9б |
3460 |
368 |
69,7 |
24,6 |
3022,3 |
512 |
|
|||||||||||||||||||||||||||
|
9в |
3730 |
368 |
69,7 |
24,6 |
3292 |
512 |
|
|||||||||||||||||||||||||||
|
10а, 10в |
4590 |
398 |
71,7 |
26,6 |
4120,3 |
512 |
|
|||||||||||||||||||||||||||
|
10б |
4370 |
398 |
71,7 |
26,6 |
3900,3 |
512 |
|
|||||||||||||||||||||||||||
|
11а |
4490 |
352 |
68,6 |
23,5 |
4069,4 |
512 |
|
|||||||||||||||||||||||||||
|
11в, 11е |
4170 |
352 |
68,6 |
23,5 |
3749,4 |
512 |
|
|||||||||||||||||||||||||||
|
11д |
3950 |
352 |
68,6 |
23,5 |
3529,4 |
512 |
|
|||||||||||||||||||||||||||
|
12б |
3500 |
352 |
68,6 |
23,5 |
3079,4 |
512 |
|
|||||||||||||||||||||||||||
|
12в |
4220 |
352 |
68,6 |
23,5 |
3799,4 |
512 |
|
|||||||||||||||||||||||||||
|
12г |
3840 |
368 |
69,7 |
24,6 |
3402,3 |
512 |
|
|||||||||||||||||||||||||||
|
12д |
4380 |
368 |
69,7 |
24,6 |
3942,3 |
512 |
|
|||||||||||||||||||||||||||
|
II. Монтаж металлоконструкций |
|
|||||||||||||||||||||||||||||||||
|
1, 3, 5 |
3160 |
104 |
195 |
67 |
2861 |
166 |
|
|||||||||||||||||||||||||||
|
2а, 2в,8е, 12д, 12е |
3230 |
125 |
209 |
80,5 |
2896 |
166 |
|
|||||||||||||||||||||||||||
|
2б |
3230 |
120 |
205 |
77,1 |
2905 |
166 |
|
|||||||||||||||||||||||||||
|
2г |
3300 |
146 |
222 |
93,9 |
2932 |
166 |
|
|||||||||||||||||||||||||||
|
4 |
3100 |
104 |
195 |
67 |
2801 |
166 |
|
|||||||||||||||||||||||||||
|
6 |
3220 |
104 |
195 |
67 |
2921 |
166 |
|
|||||||||||||||||||||||||||
|
7а - 8б, 8г, 11а - 12в |
3180 |
120 |
205 |
77,1 |
2855 |
166 |
|
|||||||||||||||||||||||||||
|
8в, 8д, 12г |
3200 |
125 |
209 |
80,5 |
2866 |
166 |
|
|||||||||||||||||||||||||||
|
9 |
3340 |
125 |
209 |
80,5 |
3006 |
166 |
|
|||||||||||||||||||||||||||
|
10 |
3720 |
136 |
215 |
87,2 |
3369 |
166 |
|
|||||||||||||||||||||||||||
|
III. Электромонтажные работы |
|
|||||||||||||||||||||||||||||||||
|
(электроосвещение, КИП, автоматика и грозозащита) |
|
|||||||||||||||||||||||||||||||||
|
1, 3 - 6 |
691 |
193 |
141 |
53 |
357 |
341 |
|
|||||||||||||||||||||||||||
|
2а, 2в, 8в, 8д, 9, 12г, 12д |
748 |
232 |
151 |
63,6 |
360 |
341 |
|
|||||||||||||||||||||||||||
|
2б, 7а - 8б, 8г, 11а - 12в |
729 |
222 |
149 |
60,9 |
358 |
341 |
|
|||||||||||||||||||||||||||
|
2г |
815 |
270 |
162 |
74,2 |
383 |
341 |
|
|||||||||||||||||||||||||||
|
8е |
791 |
232 |
151 |
63,6 |
408 |
341 |
|
|||||||||||||||||||||||||||
|
10 |
791 |
251 |
157 |
68,9 |
383 |
341 |
|
|||||||||||||||||||||||||||
|
12е |
770 |
232 |
151 |
63,6 |
387 |
341 |
|
|||||||||||||||||||||||||||
|
IV. Монтаж технологических трубопроводов |
|
|||||||||||||||||||||||||||||||||
|
1, 3 - 5 |
1560 |
281 |
77,5 |
28,4 |
1201,5 |
496 |
|
|||||||||||||||||||||||||||
|
2а, 2в |
1610 |
338 |
83,1 |
34,1 |
1188,9 |
496 |
|
|||||||||||||||||||||||||||
|
2б, 11 |
1600 |
324 |
81,7 |
32,7 |
1194,3 |
496 |
|
|||||||||||||||||||||||||||
|
2г |
1740 |
394 |
88,8 |
39,8 |
1257,2 |
496 |
|
|||||||||||||||||||||||||||
|
6 |
1580 |
281 |
77,5 |
28,4 |
1221,5 |
496 |
|
|||||||||||||||||||||||||||
|
7а - 8б, 8г, 12а - 12в |
1630 |
324 |
81,7 |
32,7 |
1224,3 |
496 |
|
|||||||||||||||||||||||||||
|
8в, 8д, 12г - 12е |
1640 |
338 |
83,1 |
34.1 |
1218,9 |
496 |
|
|||||||||||||||||||||||||||
|
8е - 9в |
1700 |
388 |
83,1 |
34,1 |
1278,9 |
496 |
|
|||||||||||||||||||||||||||
|
10 |
1840 |
366 |
86 |
36,9 |
1388 |
496 |
|
|||||||||||||||||||||||||||
|
|
||||||||||||||||||||||||||||||||||
|
Водонапорная бесшатровая кирпичная башня со стальным баком вместимостью 150 м3, высотой до дна бака 24 м |
|
|||||||||||||||||||||||||||||||||
|
Измеритель - 1 башня |
|
|||||||||||||||||||||||||||||||||
|
I. Строительные работы |
|
|||||||||||||||||||||||||||||||||
|
1а, 3б |
6220 |
573 |
192 |
63,5 |
5455 |
970 |
|
|||||||||||||||||||||||||||
|
1б, 1г, 5а |
6470 |
573 |
196 |
63,5 |
5701 |
970 |
|
|||||||||||||||||||||||||||
|
1в, 3в |
6630 |
573 |
196 |
63,5 |
5861 |
970 |
|
|||||||||||||||||||||||||||
|
1д, 6б, 6в |
6760 |
573 |
192 |
63,5 |
5995 |
970 |
|
|||||||||||||||||||||||||||
|
1е |
8070 |
573 |
196 |
63,5 |
7301 |
970 |
|
|||||||||||||||||||||||||||
|
1ж, 4а |
6110 |
573 |
189 |
63,5 |
5348 |
970 |
|
|||||||||||||||||||||||||||
|
2а, 9а |
8190 |
688 |
219 |
76,5 |
7283 |
970 |
|
|||||||||||||||||||||||||||
|
2б |
9340 |
659 |
215 |
72,6 |
8466 |
970 |
|
|||||||||||||||||||||||||||
|
2в |
8890 |
688 |
219 |
76,5 |
7983 |
970 |
|
|||||||||||||||||||||||||||
|
2г |
8050 |
802 |
238 |
89,5 |
7010 |
970 |
|
|||||||||||||||||||||||||||
|
3а |
6010 |
573 |
183 |
63,5 |
5254 |
970 |
|
|||||||||||||||||||||||||||
|
3г, 4б |
7220 |
573 |
196 |
63,5 |
6451 |
970 |
|
|||||||||||||||||||||||||||
|
5б |
7450 |
578 |
207 |
63,5 |
6670 |
970 |
|
|||||||||||||||||||||||||||
|
6а |
6890 |
573 |
196 |
63,5 |
6121 |
970 |
|
|||||||||||||||||||||||||||
|
7а |
6920 |
659 |
205 |
72,6 |
6056 |
970 |
|
|||||||||||||||||||||||||||
|
7б, 7г, 12б |
6480 |
659 |
205 |
72,6 |
5616 |
970 |
|
|||||||||||||||||||||||||||
|
7в, 8б, 11в |
7450 |
659 |
208 |
72,6 |
6583 |
970 |
|
|||||||||||||||||||||||||||
|
8a, 11б, 11г |
7140 |
659 |
205 |
72,6 |
6276 |
970 |
|
|||||||||||||||||||||||||||
|
8в |
7390 |
688 |
213 |
76,5 |
6489 |
970 |
|
|||||||||||||||||||||||||||
|
8г |
9000 |
659 |
210 |
72,6 |
8131 |
970 |
|
|||||||||||||||||||||||||||
|
8д |
6130 |
688 |
213 |
76,5 |
5229 |
970 |
|
|||||||||||||||||||||||||||
|
8e, 12e |
7560 |
688 |
219 |
76,5 |
6653 |
970 |
||||||||||||||||||||||||||||
|
9б |
6540 |
688 |
213 |
76,5 |
5639 |
970 |
||||||||||||||||||||||||||||
|
9в |
7260 |
688 |
218 |
76,5 |
6353 |
970 |
||||||||||||||||||||||||||||
|
10а |
8270 |
745 |
220 |
83 |
7305 |
970 |
||||||||||||||||||||||||||||
|
10б |
7980 |
745 |
220 |
83 |
7016 |
970 |
||||||||||||||||||||||||||||
|
10в |
8170 |
745 |
220 |
83 |
7205 |
970 |
||||||||||||||||||||||||||||
|
11а |
8160 |
659 |
215 |
72,6 |
7286 |
970 |
||||||||||||||||||||||||||||
|
11д, 12в |
7240 |
659 |
202 |
72,6 |
6379 |
970 |
||||||||||||||||||||||||||||
|
11е |
7540 |
659 |
205 |
72,6 |
6676 |
970 |
||||||||||||||||||||||||||||
|
12а |
6400 |
659 |
198 |
72,6 |
5543 |
970 |
||||||||||||||||||||||||||||
|
12г |
6910 |
688 |
203 |
76,5 |
6019 |
970 |
||||||||||||||||||||||||||||
|
12д |
7630 |
688 |
203 |
76,5 |
6739 |
970 |
||||||||||||||||||||||||||||
|
В том числе: |
||||||||||||||||||||||||||||||||||
|
а) земляные работы |
||||||||||||||||||||||||||||||||||
|
1a - 1e, 3в, 3г, 4б, 5а, 6а, 6в |
117 |
34,6 |
82,4 |
28,5 |
- |
57,6 |
||||||||||||||||||||||||||||
|
1ж, 3б, 4а, 6б |
110 |
34,6 |
75,4 |
28,5 |
- |
57,6 |
||||||||||||||||||||||||||||
|
2а, 2в, 8e, 9а, 9в, 12e |
140 |
41,6 |
98,4 |
34,5 |
- |
57,6 |
||||||||||||||||||||||||||||
|
2б, 11а |
136 |
39,8 |
96,2 |
32,3 |
- |
57,6 |
||||||||||||||||||||||||||||
|
2г |
160 |
49 |
111 |
40,5 |
- |
57,6 |
||||||||||||||||||||||||||||
|
3а |
104 |
34,6 |
69,4 |
28,5 |
- |
57,6 |
||||||||||||||||||||||||||||
|
5б |
128 |
34,6 |
93,4 |
28,5 |
|
57,6 |
||||||||||||||||||||||||||||
|
7а, 7б, 7г - 8б, 11б - 11e, 12б |
126 |
39,8 |
86,2 |
32.3 |
- |
57,6 |
||||||||||||||||||||||||||||
|
7в, 8г |
132 |
39,8 |
92,2 |
32.3 |
- |
57,6 |
||||||||||||||||||||||||||||
|
8в, 8д, 9б |
134 |
46 |
92,4 |
34,5 |
- |
57,6 |
||||||||||||||||||||||||||||
|
10 |
141 |
45 |
96 |
37,5 |
- |
57,6 |
||||||||||||||||||||||||||||
|
12а, 12в |
119 |
39,8 |
79,2 |
32,3 |
- |
57,6 |
||||||||||||||||||||||||||||
|
12г, 12д |
124 |
41,6 |
82,4 |
34,5 |
- |
57,6 |
||||||||||||||||||||||||||||
|
б) фундаменты |
||||||||||||||||||||||||||||||||||
|
1a, 1б, 5а |
1440 |
97,6 |
22,4 |
6,73 |
1320 |
174 |
||||||||||||||||||||||||||||
|
1в, 4а, 6б |
1400 |
97,6 |
22,4 |
6,73 |
1280 |
174 |
||||||||||||||||||||||||||||
|
1г - 1е, 4б |
1480 |
97,6 |
22,4 |
6,73 |
1360 |
174 |
||||||||||||||||||||||||||||
|
1ж, 3а |
1300 |
97,6 |
22,4 |
6,73 |
1180 |
174 |
||||||||||||||||||||||||||||
|
2а |
1790 |
117 |
23,8 |
8,08 |
1649,2 |
174 |
||||||||||||||||||||||||||||
|
2б |
1910 |
112 |
23,4 |
7,74 |
1774,6 |
174 |
||||||||||||||||||||||||||||
|
2в |
1920 |
117 |
23,8 |
8,08 |
1779,2 |
174 |
|
|||||||||||||||||||||||||||
|
2г |
1980 |
137 |
25,1 |
9,42 |
1817,9 |
174 |
|
|||||||||||||||||||||||||||
|
3б |
1330 |
97,6 |
22,4 |
6,73 |
1210 |
174 |
|
|||||||||||||||||||||||||||
|
3в, 6а, 6в |
1500 |
97,6 |
22,4 |
6,73 |
1380 |
174 |
|
|||||||||||||||||||||||||||
|
3г |
1220 |
97,6 |
22,4 |
6,73 |
1100 |
174 |
|
|||||||||||||||||||||||||||
|
5б |
1350 |
97,6 |
22,4 |
6,73 |
1230 |
174 |
|
|||||||||||||||||||||||||||
|
7а, 7б |
1430 |
112 |
23,4 |
7,74 |
1294,6 |
174 |
|
|||||||||||||||||||||||||||
|
7в, 7г |
1400 |
112 |
23,4 |
7,74 |
1264,6 |
174 |
|
|||||||||||||||||||||||||||
|
8а |
1450 |
112 |
23,4 |
7,74 |
1314,6 |
174 |
|
|||||||||||||||||||||||||||
|
8б, 11б - 11e |
1610 |
112 |
23,4 |
7,74 |
1474,6 |
174 |
|
|||||||||||||||||||||||||||
|
8в |
1710 |
117 |
23,8 |
8,08 |
1569,2 |
174 |
|
|||||||||||||||||||||||||||
|
8г |
2380 |
112 |
23,4 |
7,74 |
2244,6 |
174 |
|
|||||||||||||||||||||||||||
|
8д, 9б |
1560 |
117 |
23,8 |
8,08 |
1419,2 |
174 |
|
|||||||||||||||||||||||||||
|
8е |
2260 |
117 |
23,8 |
8,08 |
2119,2 |
174 |
|
|||||||||||||||||||||||||||
|
9а, 9в |
1660 |
117 |
23,8 |
8,08 |
1519,2 |
174 |
|
|||||||||||||||||||||||||||
|
10а, 10б |
1800 |
127 |
24,4 |
8,75 |
1648,6 |
174 |
|
|||||||||||||||||||||||||||
|
10в |
1730 |
127 |
24,4 |
8,75 |
1578,6 |
174 |
|
|||||||||||||||||||||||||||
|
11а |
1850 |
112 |
23,4 |
7,74 |
1714,6 |
174 |
|
|||||||||||||||||||||||||||
|
12а |
1350 |
112 |
23,4 |
7,74 |
1214,6 |
174 |
|
|||||||||||||||||||||||||||
|
12б |
1470 |
112 |
23,4 |
7,74 |
1334,6 |
174 |
|
|||||||||||||||||||||||||||
|
12в |
1320 |
112 |
23,4 |
7,74 |
1184,6 |
174 |
|
|||||||||||||||||||||||||||
|
12г |
1470 |
117 |
23,8 |
8,08 |
1329,2 |
174 |
|
|||||||||||||||||||||||||||
|
12д |
1510 |
117 |
23,8 |
8,08 |
1369,2 |
174 |
|
|||||||||||||||||||||||||||
|
12е |
1820 |
117 |
23,8 |
8,08 |
1679,2 |
174 |
|
|||||||||||||||||||||||||||
|
в) ствол башни |
|
|||||||||||||||||||||||||||||||||
|
1а, 1ж |
4330 |
398 |
81,3 |
25,2 |
3850,7 |
666 |
|
|||||||||||||||||||||||||||
|
1б, 5а |
4580 |
398 |
81,3 |
25,2 |
4100,7 |
666 |
|
|||||||||||||||||||||||||||
|
1в, 3в, 6в |
4740 |
398 |
81,3 |
25,2 |
4260,7 |
666 |
|
|||||||||||||||||||||||||||
|
1г |
4500 |
398 |
81,3 |
25,2 |
4020,7 |
666 |
|
|||||||||||||||||||||||||||
|
1д, 6а |
4880 |
398 |
81,3 |
25,2 |
4400,7 |
666 |
|
|||||||||||||||||||||||||||
|
1е |
6140 |
398 |
81,3 |
25,2 |
5660,7 |
666 |
|
|||||||||||||||||||||||||||
|
2а |
5890 |
478 |
86,3 |
30,2 |
5325,7 |
666 |
|
|||||||||||||||||||||||||||
|
2б |
6920 |
458 |
85,1 |
29 |
6376,9 |
666 |
|
|||||||||||||||||||||||||||
|
2в |
6460 |
478 |
86,3 |
30,2 |
5895,7 |
666 |
|
|||||||||||||||||||||||||||
|
2г |
5480 |
558 |
91,4 |
35,2 |
4830,6 |
666 |
|
|||||||||||||||||||||||||||
|
3а, 4а |
4250 |
398 |
81,3 |
25,2 |
3770,7 |
666 |
|
|||||||||||||||||||||||||||
|
3б |
4420 |
398 |
81,3 |
25,2 |
3940,7 |
666 |
|
|||||||||||||||||||||||||||
|
3г |
5510 |
398 |
81,3 |
25,2 |
5030,7 |
666 |
|
|||||||||||||||||||||||||||
|
4б |
5290 |
398 |
81,3 |
25,2 |
4810,7 |
666 |
|
|||||||||||||||||||||||||||
|
5б |
5600 |
398 |
81,3 |
25,2 |
5120,7 |
666 |
||||||||||||||||||||||||||||
|
6б |
4920 |
398 |
81,3 |
25,2 |
4440,7 |
666 |
||||||||||||||||||||||||||||
|
7а, 11б, 11г |
5000 |
458 |
85,1 |
29 |
4456,9 |
666 |
||||||||||||||||||||||||||||
|
7б, 7г, 12a |
4590 |
458 |
85,1 |
29 |
4046,9 |
666 |
||||||||||||||||||||||||||||
|
7в |
5530 |
458 |
85,1 |
29 |
4986,9 |
666 |
||||||||||||||||||||||||||||
|
8а |
5190 |
458 |
85,1 |
29 |
4646,9 |
666 |
||||||||||||||||||||||||||||
|
8б |
5280 |
458 |
85,1 |
29 |
4736,9 |
666 |
||||||||||||||||||||||||||||
|
8в, 12е |
5190 |
478 |
86,3 |
30,2 |
4625,7 |
666 |
||||||||||||||||||||||||||||
|
8г |
6100 |
458 |
85,1 |
29 |
5556,9 |
666 |
||||||||||||||||||||||||||||
|
8д |
4060 |
478 |
86,3 |
30,2 |
3495,7 |
666 |
||||||||||||||||||||||||||||
|
8е |
4720 |
478 |
86,3 |
30,2 |
4155,7 |
666 |
||||||||||||||||||||||||||||
|
9а |
5990 |
478 |
86,3 |
30,2 |
5425,7 |
666 |
||||||||||||||||||||||||||||
|
9б |
4460 |
478 |
86,3 |
30,2 |
3895,7 |
666 |
||||||||||||||||||||||||||||
|
9в |
4790 |
478 |
86,3 |
30,2 |
4225,7 |
666 |
||||||||||||||||||||||||||||
|
10а, 10в |
5920 |
518 |
88,8 |
32,7 |
5313,2 |
666 |
||||||||||||||||||||||||||||
|
10б |
5620 |
518 |
88,8 |
32,7 |
5013,2 |
666 |
||||||||||||||||||||||||||||
|
11а |
5770 |
458 |
85,1 |
29 |
5226,9 |
666 |
||||||||||||||||||||||||||||
|
11в, 11е |
5380 |
458 |
85,1 |
29 |
4836,9 |
666 |
||||||||||||||||||||||||||||
|
11д |
5090 |
458 |
85,1 |
29 |
4546,9 |
666 |
||||||||||||||||||||||||||||
|
12б |
4510 |
458 |
85,1 |
29 |
3966,9 |
666 |
||||||||||||||||||||||||||||
|
12в |
5450 |
458 |
85,1 |
29 |
4906,9 |
666 |
||||||||||||||||||||||||||||
|
12г |
4940 |
478 |
86,3 |
30,2 |
4375,7 |
666 |
||||||||||||||||||||||||||||
|
12д |
5640 |
478 |
86,3 |
30,2 |
5075,7 |
666 |
||||||||||||||||||||||||||||
|
II. Монтаж металлоконструкций |
||||||||||||||||||||||||||||||||||
|
1, 3, 5 |
3310 |
110 |
208 |
71,6 |
2992 |
174 |
||||||||||||||||||||||||||||
|
2а, 2в,8е, 12д,12е |
3390 |
132 |
222 |
85,9 |
3036 |
174 |
||||||||||||||||||||||||||||
|
2б |
3390 |
126 |
218 |
82,3 |
3046 |
174 |
||||||||||||||||||||||||||||
|
2г |
3460 |
154 |
236 |
100 |
3070 |
174 |
||||||||||||||||||||||||||||
|
4 |
3250 |
110 |
208 |
71,6 |
2932 |
174 |
||||||||||||||||||||||||||||
|
6 |
3380 |
110 |
208 |
71,6 |
3062 |
174 |
||||||||||||||||||||||||||||
|
7а - 8б, 8г, 11а - 12в |
3340 |
126 |
218 |
82,3 |
2996 |
174 |
||||||||||||||||||||||||||||
|
8в, 8д, 12г |
3360 |
132 |
222 |
85,9 |
3006 |
174 |
||||||||||||||||||||||||||||
|
9 |
3500 |
132 |
222 |
85,9 |
3146 |
174 |
||||||||||||||||||||||||||||
|
10 |
3900 |
142 |
229 |
93 |
3529 |
174 |
||||||||||||||||||||||||||||
|
III. Электромонтажные работы |
||||||||||||||||||||||||||||||||||
|
(электроосвещение, КИП, автоматика и грозозащита) |
||||||||||||||||||||||||||||||||||
|
1, 3 - 6 |
691 |
193 |
141 |
53 |
357 |
341 |
||||||||||||||||||||||||||||
|
2а, 2в, 8в, 8д, 9, 12г, 12д |
743 |
232 |
151 |
63,6 |
360 |
341 |
||||||||||||||||||||||||||||
|
2б, 7а - 8б, 8г, 11а - 12в |
729 |
222 |
149 |
60,9 |
358 |
341 |
||||||||||||||||||||||||||||
|
2г |
815 |
270 |
162 |
74,2 |
383 |
341 |
||||||||||||||||||||||||||||
|
8е |
791 |
232 |
151 |
63,6 |
408 |
341 |
||||||||||||||||||||||||||||
|
10 |
791 |
251 |
157 |
68,9 |
383 |
341 |
||||||||||||||||||||||||||||
|
12е |
770 |
232 |
161 |
63,6 |
387 |
341 |
||||||||||||||||||||||||||||
|
IV. Монтаж технологических трубопроводов |
||||||||||||||||||||||||||||||||||
|
1, 3 - 5 |
1820 |
329 |
90,5 |
33,2 |
1400,5 |
579 |
||||||||||||||||||||||||||||
|
2а, 2в |
1880 |
394 |
97,1 |
39,8 |
1388,9 |
579 |
||||||||||||||||||||||||||||
|
2б, 11 |
1870 |
378 |
95,4 |
38,2 |
1396,6 |
579 |
||||||||||||||||||||||||||||
|
2г |
2030 |
460 |
104 |
46,4 |
1466 |
579 |
||||||||||||||||||||||||||||
|
6 |
1850 |
329 |
90,5 |
33,2 |
1430,5 |
579 |
||||||||||||||||||||||||||||
|
7а - 8б, 8г, 12а - 12в |
1900 |
378 |
95,4 |
38,2 |
1426,6 |
579 |
||||||||||||||||||||||||||||
|
8в, 8д, 12г - 12е |
1920 |
394 |
97,1 |
39,8 |
1428,9 |
579 |
||||||||||||||||||||||||||||
|
8е - 9в |
1990 |
394 |
97,1 |
39,8 |
1498,9 |
579 |
||||||||||||||||||||||||||||
|
10 |
2140 |
427 |
100 |
43,1 |
1613 |
579 |
||||||||||||||||||||||||||||

Рис. 6. Водонапорные бесшатровые кирпичные башни со стальным баком вместимостью 200 м3, типовой проект 901-5-23/70 (к ценам № 21-25)
Водонапорная бесшатровая кирпичная башня со стальным баком вместимостью 200 м3, высотой до дна бака 12 м
Измеритель - 1 башня
|
Районы |
Прямые затраты, руб. |
В том числе, руб. |
Затраты труда рабочих, чел.-ч. |
|
||||||||||||
|
основная заработная плата рабочих |
эксплуатация машин |
материальные ресурсы |
|
|||||||||||||
|
всего |
в том числе заработная плата рабочих, обслуживающих машины |
|
||||||||||||||
|
1 |
2 |
3 |
4 |
5 |
6 |
7 |
|
|||||||||
|
I. Строительные работы |
|
|||||||||||||||
|
1а |
3910 |
405 |
144 |
48,5 |
3361 |
697 |
|
|||||||||
|
1б, 1г, 5а |
4040 |
405 |
144 |
48,5 |
3491 |
697 |
|
|||||||||
|
1в, 3в |
4090 |
405 |
144 |
48,5 |
3541 |
697 |
|
|||||||||
|
1д, 6б, 6в |
4190 |
405 |
141 |
48,5 |
3644 |
697 |
|||||||||
|
1e |
4870 |
405 |
144 |
48,5 |
4321 |
697 |
|||||||||
|
1ж, 3а |
3790 |
405 |
137 |
48,5 |
3248 |
697 |
|||||||||
|
2а |
5060 |
486 |
160 |
58,4 |
4414 |
697 |
|||||||||
|
2б, 8г |
5600 |
466 |
156 |
55,4 |
4978 |
697 |
|||||||||
|
2в |
5470 |
486 |
160 |
58,4 |
4824 |
697 |
|||||||||
|
2г |
5090 |
567 |
174 |
68,3 |
4349 |
697 |
|||||||||
|
3б, 4а |
3850 |
405 |
139 |
48,5 |
3306 |
697 |
|||||||||
|
3г |
4330 |
405 |
144 |
48,5 |
3781 |
697 |
|||||||||
|
4б |
4410 |
405 |
144 |
48,5 |
3861 |
697 |
|||||||||
|
5б |
4550 |
405 |
151 |
48,5 |
3994 |
697 |
|||||||||
|
6а |
4250 |
405 |
144 |
48,5 |
3701 |
697 |
|||||||||
|
7а |
4290 |
466 |
151 |
55,4 |
3673 |
697 |
|||||||||
|
7б, 7г, 12б |
4040 |
466 |
151 |
55,4 |
3423 |
697 |
|||||||||
|
7в, 8б, 11e |
4560 |
466 |
162 |
55,4 |
3942 |
697 |
|||||||||
|
8а, 11б, 11д, 12в |
4410 |
466 |
148 |
55,4 |
3796 |
697 |
|||||||||
|
8в |
4610 |
486 |
156 |
58,4 |
3968 |
697 |
|||||||||
|
8д |
3930 |
486 |
156 |
58,4 |
3288 |
697 |
|||||||||
|
8е |
4850 |
486 |
160 |
58,4 |
4204 |
697 |
|||||||||
|
9а |
4990 |
486 |
160 |
58,4 |
4344 |
697 |
|||||||||
|
9б |
4140 |
486 |
156 |
58,4 |
3498 |
697 |
|||||||||
|
9в, 12д, 12е |
4720 |
486 |
155 |
58,4 |
4079 |
697 |
|||||||||
|
10а, 10в |
5110 |
527 |
161 |
63,3 |
4422 |
697 |
|||||||||
|
10б |
5000 |
527 |
161 |
63,3 |
4312 |
697 |
|||||||||
|
11а |
5060 |
466 |
157 |
55,4 |
4437 |
697 |
|||||||||
|
11в |
4600 |
466 |
151 |
55,4 |
3983 |
697 |
|||||||||
|
11г |
4360 |
466 |
151 |
55,4 |
3743 |
697 |
|||||||||
|
12а |
3990 |
466 |
146 |
55,4 |
3378 |
697 |
|||||||||
|
12г |
4310 |
466 |
150 |
58,4 |
3674 |
697 |
|||||||||
|
В том числе: |
|||||||||||||||
|
а) земляные работы |
|||||||||||||||
|
1a - 1e, 3в, 3г, 4б, 5а, 6а, 6в |
161 |
84,3 |
76,7 |
27,6 |
- |
140 |
|||||||||
|
1ж, 3б, 4а, 6б |
156 |
84,3 |
71,7 |
27,6 |
- |
140 |
|||||||||
|
2а, 2в, 8е, 9а, 9в, 12е |
190 |
101 |
89 |
33,2 |
- |
140 |
|||||||||
|
2б, 11а |
184 |
96,9 |
87,1 |
31,4 |
- |
140 |
|||||||||
|
2г |
217 |
118 |
99 |
38,9 |
- |
140 |
|||||||||
|
3а |
153 |
84,3 |
68,7 |
27,6 |
- |
140 |
|||||||||
|
5б |
168 |
84,3 |
83,7 |
27,6 |
- |
140 |
|||||||||
|
7а, 7б, 7г - 8б, 11б - 11e, 12б |
177 |
96,9 |
80,1 |
31,4 |
- |
140 |
|||||||||
|
7в, 8г |
181 |
96,9 |
84,1 |
31,4 |
- |
140 |
|||||||||
|
8в, 8д, 9б |
186 |
101 |
85 |
33,2 |
- |
140 |
|||||||||
|
10 |
198 |
110 |
88 |
36,1 |
- |
140 |
|||||||||
|
12a, 12в |
173 |
96,9 |
76,1 |
31,4 |
- |
140 |
|||||||||
|
12г, 12д |
180 |
101 |
79 |
33,2 |
- |
140 |
|||||||||
|
б) фундаменты |
|||||||||||||||
|
1a, 1б, 3в, 5а |
1100 |
65,1 |
15,6 |
4,67 |
1019,3 |
117 |
|||||||||
|
1в, 4а, 6б |
1070 |
65,1 |
15,6 |
4,67 |
989,3 |
117 |
|||||||||
|
1г - 1е |
1130 |
65,1 |
15,6 |
4,67 |
1049,3 |
117 |
|||||||||
|
1ж |
969 |
65,1 |
15,6 |
4,67 |
888,3 |
117 |
|||||||||
|
2а |
1370 |
78,1 |
16,5 |
5,61 |
1,275,4 |
117 |
|||||||||
|
2б |
1460 |
74,8 |
16,3 |
5,37 |
1368,9 |
117 |
|||||||||
|
2в |
1460 |
78,1 |
16,5 |
5,61 |
1365,4 |
117 |
|||||||||
|
2г |
1550 |
91,1 |
17,4 |
6,54 |
1441,5 |
117 |
|||||||||
|
3а |
1050 |
65,1 |
15,6 |
4,67 |
969,3 |
117 |
|||||||||
|
3б |
1020 |
65,1 |
15,6 |
4,67 |
939,3 |
117 |
|||||||||
|
3г |
938 |
65,1 |
15,6 |
4,67 |
857,3 |
117 |
|||||||||
|
4б |
1120 |
65,1 |
15,6 |
4,67 |
1039,3 |
117 |
|||||||||
|
5б |
1040 |
65,1 |
15,6 |
4,67 |
959,3 |
117 |
|||||||||
|
6а, 6в |
1140 |
65,1 |
15,6 |
4,67 |
1059,3 |
117 |
|||||||||
|
7а - 7в |
1090 |
74,8 |
16,3 |
5,37 |
998,9 |
117 |
|||||||||
|
7г, 12б |
1080 |
74,8 |
16,3 |
5,37 |
988,9 |
117 |
|||||||||
|
8а |
1120 |
74,8 |
16,3 |
5,37 |
1028,9 |
117 |
|||||||||
|
8б |
1240 |
74,8 |
16,3 |
5,37 |
1148,9 |
117 |
|||||||||
|
8в |
1300 |
78,1 |
16,5 |
5,61 |
1205,4 |
117 |
|||||||||
|
8г |
1810 |
74,8 |
16,3 |
5,37 |
1718,9 |
117 |
|||||||||
|
8д, 9б |
1200 |
78,1 |
16,5 |
5,61 |
1105,4 |
117 |
|||||||||
|
8е |
1720 |
78,1 |
16,5 |
5,61 |
1625,4 |
117 |
|||||||||
|
9а, 9в |
1270 |
78,1 |
16,5 |
5,61 |
1175,4 |
117 |
|||||||||
|
10а, 10б |
1370 |
84,6 |
17 |
6,07 |
1268,4 |
117 |
|||||||||
|
10в |
1320 |
84,6 |
17 |
6,07 |
1218,4 |
117 |
|||||||||
|
11а |
1350 |
74,8 |
16,3 |
5,37 |
1258,9 |
117 |
|||||||||
|
11б - 11e |
1160 |
74,8 |
16,3 |
5,37 |
1068,9 |
117 |
|||||||||
|
12а |
1040 |
74,8 |
16,3 |
5,37 |
948,9 |
117 |
|||||||||
|
12в |
974 |
74,8 |
16,3 |
5,37 |
882,9 |
117 |
|||||||||
|
12г |
1140 |
78,1 |
16,5 |
5,61 |
1045,4 |
117 |
|||||||||
|
12д |
1160 |
78,1 |
16,5 |
5,61 |
1065,4 |
117 |
|||||||||
|
12е |
1390 |
78,1 |
16,5 |
5,61 |
1295,4 |
117 |
|||||||||
|
в) ствол башни |
|||||||||||||||
|
1а, 1ж |
2360 |
234 |
44,7 |
13,9 |
2081,3 |
395 |
|||||||||
|
1б, 5а |
2490 |
234 |
44,7 |
13,9 |
2211,3 |
395 |
|||||||||
|
1в, 6в |
2590 |
234 |
44,7 |
13,9 |
2311,3 |
395 |
|||||||||
|
1г |
2450 |
234 |
44,7 |
13,9 |
2171,3 |
395 |
|||||||||
|
1д |
2620 |
234 |
44,7 |
13,9 |
2341,3 |
395 |
|||||||||
|
1е |
3290 |
234 |
44,7 |
13,9 |
3011,3 |
395 |
|||||||||
|
2а |
3180 |
281 |
47,5 |
16,7 |
2851,5 |
395 |
|||||||||
|
2б |
3680 |
269 |
46,8 |
16 |
3364,2 |
395 |
|||||||||
|
2в |
3500 |
281 |
47,5 |
16,7 |
3171,5 |
395 |
|||||||||
|
2г |
2970 |
327 |
50,3 |
19,5 |
2592,7 |
395 |
|||||||||
|
3а, 4а |
2320 |
234 |
44,7 |
13,9 |
2041,3 |
395 |
|||||||||
|
3б |
2400 |
234 |
44,7 |
13,9 |
2121,3 |
395 |
|||||||||
|
3в |
2540 |
234 |
44,7 |
13,9 |
2261,3 |
395 |
|||||||||
|
3г |
2950 |
234 |
44,7 |
13,9 |
2671,3 |
395 |
|||||||||
|
4б |
2850 |
234 |
44,7 |
13,9 |
2571,3 |
395 |
|||||||||
|
5б |
3030 |
234 |
44,7 |
13,9 |
2751,3 |
395 |
|||||||||
|
6а, 6б |
2660 |
234 |
44,7 |
13,9 |
2381,3 |
395 |
|||||||||
|
7а, 11б, 11г |
2720 |
269 |
46,8 |
16 |
2404,2 |
395 |
|||||||||
|
7б, 7г, 12а, 12б |
2490 |
269 |
46,8 |
16 |
2174,2 |
395 |
|||||||||
|
7в |
2990 |
269 |
46,8 |
16 |
2674,2 |
395 |
|||||||||
|
8а |
2810 |
269 |
46,8 |
16 |
2494,2 |
395 |
|||||||||
|
8б |
2860 |
269 |
46,8 |
16 |
2544,2 |
395 |
|||||||||
|
8в, 12е |
2820 |
281 |
47,5 |
16,7 |
2491,5 |
395 |
|||||||||
|
8г |
3280 |
269 |
46,8 |
16 |
2964,2 |
395 |
|||||||||
|
8д |
2240 |
281 |
47,5 |
16,7 |
1911,5 |
395 |
|||||||||
|
8е |
2580 |
281 |
47,5 |
16,7 |
2251,5 |
395 |
|||||||||
|
9а |
3210 |
281 |
47,5 |
16,7 |
2881,5 |
395 |
|||||||||
|
9б |
2440 |
281 |
47,5 |
16,7 |
2111,5 |
395 |
|||||||||
|
9в |
2660 |
281 |
47,5 |
16,7 |
2331,5 |
395 |
|||||||||
|
10а, 10в |
3230 |
304 |
48,9 |
181, |
2877,1 |
395 |
|||||||||
|
10б |
3080 |
304 |
48,9 |
18,1 |
2727,1 |
395 |
|||||||||
|
11а |
3170 |
269 |
46,8 |
16 |
2854,2 |
395 |
|||||||||
|
11в, 11е, 12в |
2930 |
269 |
46,8 |
16 |
2614,2 |
395 |
|||||||||
|
11д |
2760 |
269 |
46,8 |
16 |
2444,2 |
395 |
|||||||||
|
12г |
2700 |
281 |
47,5 |
16,7 |
2371,5 |
395 |
|||||||||
|
12д |
3080 |
281 |
47,5 |
16,7 |
2751,5 |
395 |
|||||||||
|
II. Монтаж металлоконструкций |
|||||||||||||||
|
1, 3 |
3700 |
120 |
221 |
74,6 |
3359 |
188 |
|||||||||
|
2а, 2в, 8е, 12д |
3820 |
144 |
236 |
89,6 |
3440 |
188 |
|||||||||
|
2б |
3810 |
138 |
232 |
85,8 |
3440 |
188 |
|||||||||
|
2г |
3890 |
168 |
251 |
104 |
3471 |
188 |
|||||||||
|
4 |
3640 |
120 |
221 |
74,6 |
3299 |
188 |
|||||||||
|
5 |
3740 |
120 |
221 |
74,6 |
3399 |
188 |
|||||||||
|
6 |
3800 |
120 |
221 |
74,6 |
3459 |
188 |
|||||||||
|
7а - 8б, 8г, 11а - 12в |
3740 |
138 |
232 |
85,8 |
3370 |
188 |
|||||||||
|
8в, 8д, 12г, 12е |
3770 |
144 |
236 |
89,6 |
3390 |
188 |
|||||||||
|
9 |
3950 |
144 |
236 |
89,6 |
3570 |
188 |
|||||||||
|
10 |
4430 |
166 |
243 |
97 |
4031 |
188 |
|||||||||
|
III. Электромонтажные работы |
|||||||||||||||
|
(электроосвещение, КИП, автоматика и грозозащита) |
|||||||||||||||
|
1, 3 - 6 |
647 |
181 |
132 |
49,6 |
334 |
319 |
|||||||||
|
2а, 2в, 8в, 8д, 9, 12г, 12д |
696 |
217 |
142 |
59,6 |
337 |
319 |
|||||||||
|
2б, 7а - 8б, 8г, 11а - 12в |
683 |
208 |
139 |
57,1 |
336 |
319 |
|||||||||
|
2г |
764 |
253 |
152 |
69,5 |
359 |
319 |
|||||||||
|
8е |
741 |
217 |
142 |
59,6 |
382 |
319 |
|||||||||
|
10 |
740 |
235 |
147 |
64,5 |
358 |
319 |
|||||||||
|
12е |
721 |
217 |
142 |
59,6 |
362 |
319 |
|||||||||
|
IV. Монтаж технологических трубопроводов |
|||||||||||||||
|
1, 3 - 5 |
1100 |
198 |
54,4 |
20 |
847,6 |
348 |
|||||||||
|
2а, 2в |
1130 |
237 |
58,4 |
23,9 |
834,6 |
348 |
|||||||||
|
2б, 11 |
1120 |
227 |
57,4 |
22,9 |
835,6 |
348 |
|||||||||
|
2г |
1220 |
277 |
62,4 |
27,9 |
880,6 |
348 |
|||||||||
|
6 |
1110 |
198 |
54,4 |
20 |
857,6 |
348 |
|||||||||
|
7а - 8б, 8г, 12а - 12в |
1140 |
227 |
57,4 |
22,9 |
855,6 |
348 |
|||||||||
|
8в, 8д, 12г - 12е |
1150 |
237 |
58,4 |
23,9 |
854,6 |
348 |
|||||||||
|
8е - 9в |
1200 |
237 |
58,4 |
23,9 |
904,6 |
348 |
|||||||||
|
10 |
1290 |
257 |
60,4 |
25,9 |
972,6 |
348 |
|||||||||
РАЙОННАЯ ЦЕНА № 22
Водонапорная бесшатровая кирпичная башня со стальным баком вместимостью 200 м3, высотой до дна бака 15 м
Измеритель - 1 башня
|
Районы |
Прямые затраты, руб. |
В том числе, руб. |
Затраты труда рабочих, чел.-ч. |
|
|||||||||||||||||||||||||||||||||||||||||||||||||||||
|
основная заработная плата рабочих |
эксплуатация машин |
материальные ресурсы |
|
||||||||||||||||||||||||||||||||||||||||||||||||||||||
|
всего |
в том числе заработная плата рабочих, обслуживающих машины |
|
|||||||||||||||||||||||||||||||||||||||||||||||||||||||
|
1 |
2 |
3 |
4 |
5 |
6 |
7 |
|
||||||||||||||||||||||||||||||||||||||||||||||||||
|
I. Строительные работы |
|
||||||||||||||||||||||||||||||||||||||||||||||||||||||||
|
1а, 3б |
4360 |
456 |
149 |
50,9 |
3755 |
784 |
|
||||||||||||||||||||||||||||||||||||||||||||||||||
|
1 - 6, 1г, 5а |
4540 |
456 |
152 |
50,9 |
3932 |
784 |
|
||||||||||||||||||||||||||||||||||||||||||||||||||
|
1в, 3в |
4600 |
456 |
152 |
50,9 |
3992 |
784 |
|
||||||||||||||||||||||||||||||||||||||||||||||||||
|
1д, 6б, 6в |
4720 |
456 |
149 |
50,9 |
4115 |
784 |
|
||||||||||||||||||||||||||||||||||||||||||||||||||
|
1е |
5530 |
456 |
152 |
50,9 |
4922 |
784 |
|
||||||||||||||||||||||||||||||||||||||||||||||||||
|
1ж, 3а |
4250 |
456 |
145 |
50,9 |
3649 |
784 |
|
||||||||||||||||||||||||||||||||||||||||||||||||||
|
2а, 9а |
5680 |
547 |
168 |
61,3 |
4965 |
784 |
|
||||||||||||||||||||||||||||||||||||||||||||||||||
|
2б |
6380 |
525 |
165 |
58,2 |
5690 |
784 |
|
||||||||||||||||||||||||||||||||||||||||||||||||||
|
2в |
6170 |
547 |
168 |
61,3 |
5455 |
784 |
|
||||||||||||||||||||||||||||||||||||||||||||||||||
|
2г |
5690 |
639 |
183 |
71,6 |
4868 |
784 |
|
||||||||||||||||||||||||||||||||||||||||||||||||||
|
3г, 4б |
4960 |
456 |
152 |
50,9 |
4352 |
784 |
|
||||||||||||||||||||||||||||||||||||||||||||||||||
|
4а |
4310 |
456 |
147 |
50,9 |
3707 |
784 |
|
||||||||||||||||||||||||||||||||||||||||||||||||||
|
5б |
5160 |
456 |
159 |
50,9 |
4545 |
784 |
|
||||||||||||||||||||||||||||||||||||||||||||||||||
|
6а |
4790 |
456 |
162 |
50,9 |
4182 |
784 |
|
||||||||||||||||||||||||||||||||||||||||||||||||||
|
7а |
4840 |
525 |
159 |
58,2 |
4156 |
784 |
|
||||||||||||||||||||||||||||||||||||||||||||||||||
|
7б, 7г, 12б |
4540 |
525 |
159 |
58,2 |
3856 |
784 |
|
||||||||||||||||||||||||||||||||||||||||||||||||||
|
7в, 8б, 11в, e |
5170 |
525 |
161 |
58,2 |
4484 |
784 |
|
||||||||||||||||||||||||||||||||||||||||||||||||||
|
8а, 11б, 11д, 12в |
4970 |
525 |
157 |
58,2 |
4288 |
784 |
|
||||||||||||||||||||||||||||||||||||||||||||||||||
|
8в |
5170 |
547 |
165 |
61,3 |
4458 |
784 |
|
||||||||||||||||||||||||||||||||||||||||||||||||||
|
8г |
6250 |
525 |
162 |
58,2 |
5563 |
784 |
|
||||||||||||||||||||||||||||||||||||||||||||||||||
|
8д |
4380 |
547 |
165 |
61,3 |
3668 |
784 |
|
||||||||||||||||||||||||||||||||||||||||||||||||||
|
8е |
5370 |
547 |
168 |
61,3 |
4655 |
784 |
|
||||||||||||||||||||||||||||||||||||||||||||||||||
|
9б |
4630 |
547 |
165 |
61,3 |
3918 |
784 |
|
||||||||||||||||||||||||||||||||||||||||||||||||||
|
9в, 12е |
5260 |
547 |
168 |
61,3 |
4545 |
784 |
|
||||||||||||||||||||||||||||||||||||||||||||||||||
|
10а, 10в |
5750 |
593 |
170 |
66,5 |
4987 |
784 |
|
||||||||||||||||||||||||||||||||||||||||||||||||||
|
10б |
5600 |
593 |
170 |
66,5 |
4837 |
784 |
|
||||||||||||||||||||||||||||||||||||||||||||||||||
|
11а |
5670 |
525 |
165 |
58,2 |
4980 |
784 |
|
||||||||||||||||||||||||||||||||||||||||||||||||||
|
11г |
4900 |
525 |
159 |
58,2 |
4216 |
784 |
|
||||||||||||||||||||||||||||||||||||||||||||||||||
|
12а |
4490 |
525 |
154 |
58,2 |
3811 |
784 |
|
||||||||||||||||||||||||||||||||||||||||||||||||||
|
12г |
4840 |
547 |
158 |
61,3 |
4135 |
784 |
|
||||||||||||||||||||||||||||||||||||||||||||||||||
|
12д |
5310 |
547 |
158 |
61,3 |
4605 |
784 |
|
||||||||||||||||||||||||||||||||||||||||||||||||||
|
В том числе: |
|
||||||||||||||||||||||||||||||||||||||||||||||||||||||||
|
а) земляные работы |
|
||||||||||||||||||||||||||||||||||||||||||||||||||||||||
|
1a - 1e, 3в, 3г,4б, 5а, 6а, 6в |
161 |
84,3 |
76,7 |
27,6 |
- |
140 |
|
||||||||||||||||||||||||||||||||||||||||||||||||||
|
1ж, 3б, 4а, 6б |
156 |
84,3 |
71,7 |
27,6 |
- |
140 |
|
||||||||||||||||||||||||||||||||||||||||||||||||||
|
2а, 2в, 8е, 9а, 9в, 12е |
190 |
101 |
89 |
33,2 |
- |
140 |
|
||||||||||||||||||||||||||||||||||||||||||||||||||
|
2б, 11а |
184 |
96,9 |
87,1 |
31,4 |
- |
140 |
|
||||||||||||||||||||||||||||||||||||||||||||||||||
|
2г |
217 |
118 |
99 |
38,9 |
- |
140 |
|
||||||||||||||||||||||||||||||||||||||||||||||||||
|
3а |
153 |
84,3 |
68,7 |
27,6 |
- |
140 |
|
||||||||||||||||||||||||||||||||||||||||||||||||||
|
5б |
168 |
84,3 |
83,7 |
27,6 |
- |
140 |
|
||||||||||||||||||||||||||||||||||||||||||||||||||
|
7а, 7б, 7г - 8б, 11б - 11e, 12б |
177 |
96,9 |
80,1 |
31,4 |
- |
140 |
|
||||||||||||||||||||||||||||||||||||||||||||||||||
|
7в, 8г |
181 |
96,9 |
84,1 |
31,4 |
- |
140 |
|
||||||||||||||||||||||||||||||||||||||||||||||||||
|
8в, 8д, 9б |
186 |
101 |
85 |
33,2 |
- |
140 |
|
||||||||||||||||||||||||||||||||||||||||||||||||||
|
10 |
198 |
110 |
88 |
36,1 |
- |
140 |
|
||||||||||||||||||||||||||||||||||||||||||||||||||
|
12а, 12в |
173 |
96,9 |
76,1 |
31,4 |
- |
140 |
|
||||||||||||||||||||||||||||||||||||||||||||||||||
|
12г, 12д |
180 |
101 |
79 |
33,2 |
- |
140 |
|
||||||||||||||||||||||||||||||||||||||||||||||||||
|
б) фундаменты |
|
||||||||||||||||||||||||||||||||||||||||||||||||||||||||
|
1a, 1б, 3в, 5а |
1100 |
65,1 |
15,6 |
4,67 |
1019,3 |
117 |
|
||||||||||||||||||||||||||||||||||||||||||||||||||
|
1в, 4а, 6б |
1070 |
65,1 |
15,6 |
4,67 |
989,3 |
117 |
|
||||||||||||||||||||||||||||||||||||||||||||||||||
|
1г - 1е |
1130 |
65,1 |
15,6 |
4,67 |
1049,3 |
117 |
|
||||||||||||||||||||||||||||||||||||||||||||||||||
|
1ж |
969 |
65,1 |
15,6 |
4,67 |
888,3 |
117 |
|
||||||||||||||||||||||||||||||||||||||||||||||||||
|
2а |
1370 |
78,1 |
16,5 |
5,61 |
1275,4 |
117 |
|
||||||||||||||||||||||||||||||||||||||||||||||||||
|
2б |
1460 |
74,8 |
16,3 |
5,37 |
1368,9 |
117 |
|
||||||||||||||||||||||||||||||||||||||||||||||||||
|
2в |
1460 |
78,1 |
16,5 |
5,61 |
1365,4 |
117 |
|
||||||||||||||||||||||||||||||||||||||||||||||||||
|
2г |
1550 |
91,1 |
17,4 |
6,54 |
1441,5 |
117 |
|
||||||||||||||||||||||||||||||||||||||||||||||||||
|
3а |
1050 |
65,1 |
15,6 |
4,67 |
969,3 |
117 |
|
||||||||||||||||||||||||||||||||||||||||||||||||||
|
3б |
1020 |
65,1 |
15,6 |
4,67 |
939,3 |
117 |
|
||||||||||||||||||||||||||||||||||||||||||||||||||
|
3г |
938 |
65,1 |
15,6 |
4,67 |
857,3 |
117 |
|
||||||||||||||||||||||||||||||||||||||||||||||||||
|
4б |
1120 |
65,1 |
15,6 |
4,67 |
1039,3 |
117 |
|
||||||||||||||||||||||||||||||||||||||||||||||||||
|
5б |
1040 |
65,1 |
15,6 |
4,67 |
959,3 |
117 |
|
||||||||||||||||||||||||||||||||||||||||||||||||||
|
6а, 6в |
1140 |
65,1 |
15,6 |
4,67 |
1059,3 |
117 |
|
||||||||||||||||||||||||||||||||||||||||||||||||||
|
7а - 7в |
1090 |
74,8 |
16,3 |
5,37 |
998,9 |
117 |
|
||||||||||||||||||||||||||||||||||||||||||||||||||
|
7г, 12б |
1080 |
74,8 |
16,3 |
5,37 |
988,9 |
117 |
|
||||||||||||||||||||||||||||||||||||||||||||||||||
|
8а |
1120 |
74,8 |
16,3 |
5,37 |
1028,9 |
117 |
|
||||||||||||||||||||||||||||||||||||||||||||||||||
|
8б |
1240 |
74,8 |
16,3 |
5,37 |
1148,9 |
117 |
|
||||||||||||||||||||||||||||||||||||||||||||||||||
|
8в |
1300 |
78,1 |
16,5 |
5,61 |
1205,4 |
117 |
|
||||||||||||||||||||||||||||||||||||||||||||||||||
|
8г |
1810 |
74,8 |
16,3 |
5,37 |
1718,9 |
117 |
|
||||||||||||||||||||||||||||||||||||||||||||||||||
|
8д, 9б |
1200 |
78,1 |
16,5 |
5,61 |
1105,4 |
117 |
|
||||||||||||||||||||||||||||||||||||||||||||||||||
|
8е |
1720 |
78,1 |
16,5 |
5,61 |
1625,4 |
117 |
|
||||||||||||||||||||||||||||||||||||||||||||||||||
|
9а, 9в |
1270 |
78,1 |
16,5 |
5,61 |
1175,4 |
117 |
|
||||||||||||||||||||||||||||||||||||||||||||||||||
|
10а, 10б |
1370 |
84,6 |
17 |
6,07 |
1268,4 |
117 |
|
||||||||||||||||||||||||||||||||||||||||||||||||||
|
10в |
1320 |
84,6 |
17 |
6,07 |
1218,4 |
117 |
|
||||||||||||||||||||||||||||||||||||||||||||||||||
|
11а |
1350 |
74,8 |
16,3 |
5,37 |
1258,9 |
117 |
|
||||||||||||||||||||||||||||||||||||||||||||||||||
|
11б - 11е |
1160 |
74,8 |
16,3 |
5,37 |
1068,9 |
117 |
|
||||||||||||||||||||||||||||||||||||||||||||||||||
|
12а |
1040 |
74,8 |
16,3 |
5,37 |
948,9 |
117 |
|
||||||||||||||||||||||||||||||||||||||||||||||||||
|
12в |
974 |
74,8 |
16,3 |
5,37 |
882,9 |
117 |
|
||||||||||||||||||||||||||||||||||||||||||||||||||
|
12г |
1140 |
78,1 |
16,5 |
5,61 |
1045,4 |
117 |
|
||||||||||||||||||||||||||||||||||||||||||||||||||
|
12д |
1160 |
78,1 |
16,5 |
5,61 |
1065,4 |
117 |
|
||||||||||||||||||||||||||||||||||||||||||||||||||
|
12е |
1390 |
78,1 |
16,5 |
5,61 |
1295,4 |
117 |
|
||||||||||||||||||||||||||||||||||||||||||||||||||
|
в) ствол башни |
|
||||||||||||||||||||||||||||||||||||||||||||||||||||||||
|
1а, 1ж |
2820 |
284 |
52 |
16,1 |
2484 |
480 |
|
||||||||||||||||||||||||||||||||||||||||||||||||||
|
1б, 5а |
2980 |
284 |
52 |
16,1 |
2644 |
480 |
|
||||||||||||||||||||||||||||||||||||||||||||||||||
|
1в, 6в |
3090 |
284 |
52 |
16,1 |
2754 |
480 |
|
||||||||||||||||||||||||||||||||||||||||||||||||||
|
1г |
2930 |
284 |
52 |
16,1 |
2594 |
480 |
|
||||||||||||||||||||||||||||||||||||||||||||||||||
|
1д |
3140 |
284 |
52 |
16,1 |
2804 |
480 |
|
||||||||||||||||||||||||||||||||||||||||||||||||||
|
1е |
3950 |
284 |
52 |
16,1 |
3614 |
480 |
|
||||||||||||||||||||||||||||||||||||||||||||||||||
|
2а |
3810 |
340 |
55,3 |
19,4 |
3414,7 |
480 |
|
||||||||||||||||||||||||||||||||||||||||||||||||||
|
2б |
4480 |
326 |
54,4 |
18,6 |
4049,6 |
480 |
|
||||||||||||||||||||||||||||||||||||||||||||||||||
|
2в |
4190 |
340 |
55,3 |
18,4 |
3794,7 |
480 |
|
||||||||||||||||||||||||||||||||||||||||||||||||||
|
2г |
3560 |
397 |
58,5 |
22,6 |
3104,5 |
480 |
|
||||||||||||||||||||||||||||||||||||||||||||||||||
|
3а, 4а |
2770 |
284 |
52 |
16,1 |
2434 |
480 |
|
||||||||||||||||||||||||||||||||||||||||||||||||||
|
3б |
2880 |
284 |
52 |
16,1 |
2544 |
480 |
|
||||||||||||||||||||||||||||||||||||||||||||||||||
|
3в |
3040 |
284 |
52 |
16,1 |
2704 |
480 |
|
||||||||||||||||||||||||||||||||||||||||||||||||||
|
3г |
3540 |
284 |
52 |
16,1 |
3204 |
480 |
|
||||||||||||||||||||||||||||||||||||||||||||||||||
|
4б |
3420 |
284 |
52 |
16,1 |
3084 |
480 |
|
||||||||||||||||||||||||||||||||||||||||||||||||||
|
5б |
3630 |
284 |
52 |
16,1 |
3294 |
480 |
|
||||||||||||||||||||||||||||||||||||||||||||||||||
|
6а, 6б |
3180 |
284 |
52 |
16,1 |
2844 |
480 |
|
||||||||||||||||||||||||||||||||||||||||||||||||||
|
7а, 11б, 11г |
3260 |
326 |
54,4 |
18,6 |
2879,6 |
480 |
|
||||||||||||||||||||||||||||||||||||||||||||||||||
|
7б, 7г, 12а, 12б |
2980 |
326 |
54,4 |
18,6 |
2599,6 |
480 |
|
||||||||||||||||||||||||||||||||||||||||||||||||||
|
7в |
3580 |
326 |
54,4 |
18,6 |
3199,6 |
480 |
|
||||||||||||||||||||||||||||||||||||||||||||||||||
|
8а |
3360 |
326 |
54,4 |
18,6 |
2979,6 |
480 |
|
||||||||||||||||||||||||||||||||||||||||||||||||||
|
8б |
3420 |
326 |
54,4 |
18,6 |
3039,6 |
480 |
|
||||||||||||||||||||||||||||||||||||||||||||||||||
|
8в, 12е |
3370 |
340 |
55,3 |
19,4 |
2974,7 |
480 |
|
||||||||||||||||||||||||||||||||||||||||||||||||||
|
8г |
3930 |
326 |
54,4 |
18,6 |
3549,6 |
480 |
|
||||||||||||||||||||||||||||||||||||||||||||||||||
|
8д |
2670 |
340 |
553 |
19,4 |
2274,7 |
480 |
|
||||||||||||||||||||||||||||||||||||||||||||||||||
|
8е |
3090 |
340 |
55,3 |
19,4 |
2694,7 |
480 |
|
||||||||||||||||||||||||||||||||||||||||||||||||||
|
9а |
3860 |
340 |
55,3 |
19,4 |
3464,7 |
480 |
|
||||||||||||||||||||||||||||||||||||||||||||||||||
|
9б |
2910 |
340 |
55,3 |
19,4 |
2514,7 |
480 |
|
||||||||||||||||||||||||||||||||||||||||||||||||||
|
9в |
3160 |
340 |
55,3 |
19,4 |
2764,7 |
480 |
|
||||||||||||||||||||||||||||||||||||||||||||||||||
|
10а, 10в |
3860 |
369 |
56,9 |
21 |
3434,1 |
480 |
|
||||||||||||||||||||||||||||||||||||||||||||||||||
|
10б |
3670 |
369 |
56,9 |
21 |
3244,1 |
480 |
|
||||||||||||||||||||||||||||||||||||||||||||||||||
|
11а |
3780 |
326 |
54,4 |
18,6 |
3399,6 |
480 |
|
||||||||||||||||||||||||||||||||||||||||||||||||||
|
11в, 11e, 12в |
3510 |
326 |
54,4 |
18,6 |
3129,6 |
480 |
|
||||||||||||||||||||||||||||||||||||||||||||||||||
|
11д |
3310 |
326 |
54,4 |
18,6 |
2929,6 |
480 |
|
||||||||||||||||||||||||||||||||||||||||||||||||||
|
12г |
3220 |
340 |
55,3 |
19,4 |
2824,7 |
480 |
|
||||||||||||||||||||||||||||||||||||||||||||||||||
|
12д |
3680 |
340 |
55,3 |
19,4 |
3284,7 |
480 |
|
||||||||||||||||||||||||||||||||||||||||||||||||||
|
II. Монтаж металлоконструкций |
|
||||||||||||||||||||||||||||||||||||||||||||||||||||||||
|
1, 3 |
3760 |
122 |
225 |
76,2 |
3413 |
191 |
|
||||||||||||||||||||||||||||||||||||||||||||||||||
|
2а, 2в, 8е, 12д |
3880 |
146 |
240 |
91,4 |
3494 |
191 |
|
||||||||||||||||||||||||||||||||||||||||||||||||||
|
2б |
3860 |
140 |
237 |
87,6 |
3483 |
191 |
|
||||||||||||||||||||||||||||||||||||||||||||||||||
|
2г |
3950 |
170 |
256 |
107 |
3524 |
191 |
|
||||||||||||||||||||||||||||||||||||||||||||||||||
|
4 |
3700 |
122 |
225 |
76,2 |
3353 |
191 |
|
||||||||||||||||||||||||||||||||||||||||||||||||||
|
5 |
3790 |
122 |
225 |
76,2 |
3443 |
191 |
|
||||||||||||||||||||||||||||||||||||||||||||||||||
|
6 |
3860 |
122 |
225 |
76,2 |
3513 |
191 |
|
||||||||||||||||||||||||||||||||||||||||||||||||||
|
7а - 8б, 8г, 11а - 12в |
3800 |
140 |
237 |
87,6 |
3423 |
191 |
|
||||||||||||||||||||||||||||||||||||||||||||||||||
|
8в, 8д, 12г, 12е |
3830 |
146 |
240 |
91,4 |
3444 |
191 |
|
||||||||||||||||||||||||||||||||||||||||||||||||||
|
9 |
4000 |
146 |
240 |
91,4 |
3614 |
191 |
|
||||||||||||||||||||||||||||||||||||||||||||||||||
|
10 |
4490 |
158 |
248 |
99 |
4084 |
191 |
|
||||||||||||||||||||||||||||||||||||||||||||||||||
|
III. Электромонтажные работы |
|
||||||||||||||||||||||||||||||||||||||||||||||||||||||||
|
(электроосвещение, КИП, автоматика и грозозащита) |
|
||||||||||||||||||||||||||||||||||||||||||||||||||||||||
|
1, 3 - 6 |
647 |
181 |
132 |
49,6 |
334 |
319 |
|
||||||||||||||||||||||||||||||||||||||||||||||||||
|
2а, 2а, 8в, 8д, 9, 12г, 12д |
696 |
217 |
142 |
59,6 |
337 |
319 |
|
||||||||||||||||||||||||||||||||||||||||||||||||||
|
2б, 7а - 8б, 8г, 11а - 12в |
683 |
208 |
139 |
57,1 |
336 |
319 |
|
||||||||||||||||||||||||||||||||||||||||||||||||||
|
2г |
764 |
253 |
152 |
69,5 |
359 |
319 |
|
||||||||||||||||||||||||||||||||||||||||||||||||||
|
8е |
741 |
217 |
142 |
59,6 |
382 |
319 |
|
||||||||||||||||||||||||||||||||||||||||||||||||||
|
10 |
740 |
235 |
147 |
64,5 |
358 |
319 |
|
||||||||||||||||||||||||||||||||||||||||||||||||||
|
12е |
721 |
217 |
142 |
59,6 |
362 |
319 |
|
||||||||||||||||||||||||||||||||||||||||||||||||||
|
IV. Монтаж технологических трубопроводов |
|
||||||||||||||||||||||||||||||||||||||||||||||||||||||||
|
1, 3-5 |
1210 |
218 |
60 |
22 |
932 |
384 |
|
||||||||||||||||||||||||||||||||||||||||||||||||||
|
2а, 2в |
1250 |
262 |
64,4 |
26,4 |
923,6 |
384 |
|
||||||||||||||||||||||||||||||||||||||||||||||||||
|
2б, 11 |
1240 |
251 |
63,3 |
25,3 |
925,7 |
384 |
|
||||||||||||||||||||||||||||||||||||||||||||||||||
|
2г |
1340 |
305 |
68,8 |
30,8 |
966,2 |
384 |
|
||||||||||||||||||||||||||||||||||||||||||||||||||
|
6 |
1230 |
218 |
60 |
22 |
952 |
384 |
|
||||||||||||||||||||||||||||||||||||||||||||||||||
|
7а - 8б, 8г, 12а - 12в |
1260 |
251 |
63,3 |
25,3 |
945,7 |
384 |
|
||||||||||||||||||||||||||||||||||||||||||||||||||
|
8в, 8д, 12г - 12е |
1270 |
262 |
64,4 |
26,4 |
943,6 |
384 |
|
||||||||||||||||||||||||||||||||||||||||||||||||||
|
8е - 9в |
1320 |
262 |
64,4 |
26,4 |
993,6 |
384 |
|
||||||||||||||||||||||||||||||||||||||||||||||||||
|
10 |
1420 |
283 |
66,6 |
28,6 |
1070,4 |
384 |
|
||||||||||||||||||||||||||||||||||||||||||||||||||
|
РАЙОННАЯ ЦЕНА № 23 |
|
||||||||||||||||||||||||||||||||||||||||||||||||||||||||
|
Водонапорная бесшатровая кирпичная башня со стальным баком вместимостью 200 м3, высотой до дна бака 18 м |
|
||||||||||||||||||||||||||||||||||||||||||||||||||||||||
|
Измеритель - 1 башня |
|
||||||||||||||||||||||||||||||||||||||||||||||||||||||||
|
I. Строительные работы |
|
||||||||||||||||||||||||||||||||||||||||||||||||||||||||
|
1а, 3б |
5550 |
573 |
168 |
56,6 |
4809 |
986 |
|
||||||||||||||||||||||||||||||||||||||||||||||||||
|
1б, 1г, 5а |
5780 |
573 |
171 |
56,6 |
5036 |
986 |
|
||||||||||||||||||||||||||||||||||||||||||||||||||
|
1в, 3в |
5880 |
573 |
171 |
56,6 |
5136 |
986 |
|
||||||||||||||||||||||||||||||||||||||||||||||||||
|
1д, 6б, 6в |
6030 |
573 |
168 |
56,6 |
5289 |
986 |
|
||||||||||||||||||||||||||||||||||||||||||||||||||
|
1е |
7150 |
573 |
171 |
56,6 |
6406 |
986 |
|
||||||||||||||||||||||||||||||||||||||||||||||||||
|
1ж, 3а |
5410 |
573 |
164 |
56,6 |
4673 |
986 |
|
||||||||||||||||||||||||||||||||||||||||||||||||||
|
2а, 9а |
7280 |
687 |
188 |
68,1 |
6405 |
986 |
|
||||||||||||||||||||||||||||||||||||||||||||||||||
|
2б |
8240 |
659 |
185 |
64,8 |
7396 |
986 |
|
||||||||||||||||||||||||||||||||||||||||||||||||||
|
2в |
7910 |
687 |
188 |
68,1 |
7035 |
986 |
|
||||||||||||||||||||||||||||||||||||||||||||||||||
|
2г |
7220 |
802 |
205 |
79,6 |
6213 |
986 |
|
||||||||||||||||||||||||||||||||||||||||||||||||||
|
3г, 4б |
6690 |
573 |
171 |
56,6 |
5646 |
986 |
|
||||||||||||||||||||||||||||||||||||||||||||||||||
|
4а |
5480 |
573 |
166 |
56,6 |
4741 |
986 |
|
||||||||||||||||||||||||||||||||||||||||||||||||||
|
5б |
6640 |
573 |
178 |
56,6 |
5889 |
986 |
|
||||||||||||||||||||||||||||||||||||||||||||||||||
|
6а |
6130 |
573 |
171 |
56,6 |
5386 |
986 |
|
||||||||||||||||||||||||||||||||||||||||||||||||||
|
7а |
6180 |
659 |
179 |
64,8 |
5342 |
986 |
|
||||||||||||||||||||||||||||||||||||||||||||||||||
|
7б, 7г, 12б |
5780 |
659 |
179 |
64,8 |
4942 |
986 |
|
||||||||||||||||||||||||||||||||||||||||||||||||||
|
7в, 8б, 11в, 11е |
6620 |
659 |
181 |
64,8 |
5780 |
986 |
|
||||||||||||||||||||||||||||||||||||||||||||||||||
|
8а, 11б, 11д, 12в |
6380 |
659 |
176 |
64,8 |
5545 |
986 |
|
||||||||||||||||||||||||||||||||||||||||||||||||||
|
8в, 9в |
6580 |
687 |
187 |
68,1 |
5706 |
986 |
|
||||||||||||||||||||||||||||||||||||||||||||||||||
|
8г |
7980 |
659 |
182 |
64,8 |
7139 |
986 |
|
||||||||||||||||||||||||||||||||||||||||||||||||||
|
8д |
5520 |
687 |
185 |
68,1 |
4648 |
986 |
|
||||||||||||||||||||||||||||||||||||||||||||||||||
|
8е, 12д |
6800 |
687 |
184 |
68,1 |
5929 |
986 |
|
||||||||||||||||||||||||||||||||||||||||||||||||||
|
9б |
5870 |
687 |
185 |
68,1 |
4998 |
986 |
|
||||||||||||||||||||||||||||||||||||||||||||||||||
|
10а, 10в |
7360 |
745 |
191 |
73,9 |
6424 |
986 |
|
||||||||||||||||||||||||||||||||||||||||||||||||||
|
10б |
7150 |
745 |
191 |
73,9 |
6214 |
986 |
|
||||||||||||||||||||||||||||||||||||||||||||||||||
|
11а |
7240 |
659 |
185 |
64,8 |
6396 |
986 |
|
||||||||||||||||||||||||||||||||||||||||||||||||||
|
11г |
6270 |
659 |
179 |
64,8 |
5432 |
986 |
|
||||||||||||||||||||||||||||||||||||||||||||||||||
|
12а |
5730 |
659 |
174 |
64,8 |
4897 |
986 |
|
||||||||||||||||||||||||||||||||||||||||||||||||||
|
12г |
6180 |
687 |
178 |
68,1 |
5315 |
986 |
|
||||||||||||||||||||||||||||||||||||||||||||||||||
|
12е |
6700 |
687 |
188 |
68,1 |
5825 |
986 |
|
||||||||||||||||||||||||||||||||||||||||||||||||||
|
В том числе: |
|
||||||||||||||||||||||||||||||||||||||||||||||||||||||||
|
а) земляные работы |
|
||||||||||||||||||||||||||||||||||||||||||||||||||||||||
|
1a - 1е, 3в, 3г, 4б, 5а, 6а, 6в |
162 |
84,4 |
77,6 |
27,9 |
- |
140 |
|
||||||||||||||||||||||||||||||||||||||||||||||||||
|
1ж, 3б, 4а, 6б |
157 |
84,4 |
72,6 |
27,9 |
- |
140 |
|
||||||||||||||||||||||||||||||||||||||||||||||||||
|
2а, 2в, 8е, 9а, 9в, 12е |
191 |
101 |
90 |
33,7 |
- |
140 |
|
||||||||||||||||||||||||||||||||||||||||||||||||||
|
2б, 11а |
185 |
97 |
88 |
31,8 |
- |
140 |
|
||||||||||||||||||||||||||||||||||||||||||||||||||
|
2г |
218 |
118 |
100 |
39,4 |
- |
140 |
|
||||||||||||||||||||||||||||||||||||||||||||||||||
|
3а |
154 |
84,4 |
69,6 |
27,9 |
- |
140 |
|
||||||||||||||||||||||||||||||||||||||||||||||||||
|
5б |
169 |
84,4 |
84,6 |
27,9 |
- |
140 |
|
||||||||||||||||||||||||||||||||||||||||||||||||||
|
7а, 7б, 7г - 8б, 11б - 11e, 12б |
178 |
97 |
81 |
31,8 |
- |
140 |
|
||||||||||||||||||||||||||||||||||||||||||||||||||
|
7в, 8г |
182 |
97 |
85 |
31,8 |
- |
140 |
|
||||||||||||||||||||||||||||||||||||||||||||||||||
|
8в, 8д, 9б |
187 |
101 |
86 |
33,7 |
- |
140 |
|
||||||||||||||||||||||||||||||||||||||||||||||||||
|
10 |
199 |
110 |
89 |
36,6 |
- |
140 |
|
||||||||||||||||||||||||||||||||||||||||||||||||||
|
12а, 12в |
174 |
97 |
77 |
31,8 |
- |
140 |
|
||||||||||||||||||||||||||||||||||||||||||||||||||
|
12г, 12д |
181 |
101 |
80 |
33,7 |
- |
140 |
|
||||||||||||||||||||||||||||||||||||||||||||||||||
|
б) фундаменты |
|
||||||||||||||||||||||||||||||||||||||||||||||||||||||||
|
1a, 1б, 3в, 5а |
1260 |
76,2 |
18,5 |
5,55 |
1165,3 |
137 |
|
||||||||||||||||||||||||||||||||||||||||||||||||||
|
1в, 4а, 6б |
1230 |
76,2 |
18,5 |
5,55 |
1135,3 |
137 |
|
||||||||||||||||||||||||||||||||||||||||||||||||||
|
1г - 1e |
1290 |
76,2 |
18,5 |
5,55 |
1195,3 |
137 |
|
||||||||||||||||||||||||||||||||||||||||||||||||||
|
1ж |
1100 |
76,2 |
18,5 |
5,55 |
1005,3 |
137 |
|
||||||||||||||||||||||||||||||||||||||||||||||||||
|
2а, 12е |
1580 |
91,5 |
19,6 |
6,66 |
1468,9 |
137 |
|
||||||||||||||||||||||||||||||||||||||||||||||||||
|
2б |
1670 |
87,6 |
19,3 |
6,39 |
1563,1 |
137 |
|
||||||||||||||||||||||||||||||||||||||||||||||||||
|
2в |
1680 |
91,5 |
19,6 |
6,66 |
1568,9 |
137 |
|
||||||||||||||||||||||||||||||||||||||||||||||||||
|
2г |
1760 |
107 |
20,7 |
7,77 |
1632,3 |
137 |
|
||||||||||||||||||||||||||||||||||||||||||||||||||
|
3а |
1200 |
76,2 |
18,5 |
5,55 |
1105,3 |
137 |
|
||||||||||||||||||||||||||||||||||||||||||||||||||
|
3б |
1170 |
76,2 |
18,5 |
5,55 |
1075,3 |
137 |
|
||||||||||||||||||||||||||||||||||||||||||||||||||
|
3г |
1070 |
76,2 |
18,5 |
5,55 |
975,3 |
137 |
|
||||||||||||||||||||||||||||||||||||||||||||||||||
|
4б |
1270 |
76,2 |
18,5 |
5,55 |
1175,3 |
137 |
|
||||||||||||||||||||||||||||||||||||||||||||||||||
|
5б |
1180 |
76,2 |
18,5 |
5,55 |
1085,3 |
137 |
|
||||||||||||||||||||||||||||||||||||||||||||||||||
|
6а, 6в |
1310 |
76,2 |
18,5 |
5,55 |
1215,3 |
137 |
|
||||||||||||||||||||||||||||||||||||||||||||||||||
|
7а - 7в |
1240 |
87,6 |
19,3 |
6,39 |
1133,1 |
137 |
|
||||||||||||||||||||||||||||||||||||||||||||||||||
|
7г, 12б |
1230 |
87,6 |
19,3 |
6,39 |
1123,1 |
137 |
|
||||||||||||||||||||||||||||||||||||||||||||||||||
|
8а |
1280 |
87,6 |
19,3 |
6,39 |
1173,1 |
137 |
|
||||||||||||||||||||||||||||||||||||||||||||||||||
|
8б |
1420 |
87,6 |
19,3 |
6,39 |
1313,1 |
137 |
|
||||||||||||||||||||||||||||||||||||||||||||||||||
|
8в |
1500 |
91,5 |
19,6 |
6,66 |
1388,9 |
137 |
|
||||||||||||||||||||||||||||||||||||||||||||||||||
|
8г |
2090 |
87,6 |
19,3 |
6,39 |
1983,1 |
137 |
|
||||||||||||||||||||||||||||||||||||||||||||||||||
|
8д, 9б |
1370 |
91,5 |
19,6 |
6,66 |
1258,9 |
137 |
|
||||||||||||||||||||||||||||||||||||||||||||||||||
|
8е |
1980 |
91,5 |
19,6 |
6,66 |
1868,9 |
137 |
|
||||||||||||||||||||||||||||||||||||||||||||||||||
|
9а, 9в |
1460 |
91,5 |
19,6 |
6,66 |
1348,9 |
137 |
|
||||||||||||||||||||||||||||||||||||||||||||||||||
|
10а, 10б |
1570 |
99,1 |
20,2 |
7,22 |
1450,7 |
137 |
|
||||||||||||||||||||||||||||||||||||||||||||||||||
|
10в |
1510 |
99,1 |
20,2 |
7,22 |
1390,7 |
137 |
|
||||||||||||||||||||||||||||||||||||||||||||||||||
|
11а |
1550 |
87,6 |
19,3 |
6,39 |
1443,1 |
137 |
|
||||||||||||||||||||||||||||||||||||||||||||||||||
|
11б - 11е |
1330 |
87,6 |
19,3 |
6,39 |
1223,1 |
137 |
|
||||||||||||||||||||||||||||||||||||||||||||||||||
|
12а |
1180 |
87,6 |
19,3 |
6,39 |
1073,1 |
137 |
|
||||||||||||||||||||||||||||||||||||||||||||||||||
|
12в |
1120 |
87,6 |
19,3 |
6,39 |
1013,1 |
137 |
|
||||||||||||||||||||||||||||||||||||||||||||||||||
|
12г |
1300 |
91,5 |
19,6 |
6,66 |
1188,9 |
137 |
|
||||||||||||||||||||||||||||||||||||||||||||||||||
|
12д |
1320 |
91,5 |
19,6 |
6,66 |
1208,9 |
137 |
|
||||||||||||||||||||||||||||||||||||||||||||||||||
|
в) ствол башни |
|
||||||||||||||||||||||||||||||||||||||||||||||||||||||||
|
1а, 1ж |
3820 |
385 |
68,8 |
21,2 |
3366,2 |
650 |
|
||||||||||||||||||||||||||||||||||||||||||||||||||
|
1б, 5а |
4030 |
385 |
68,8 |
21,2 |
3576,2 |
650 |
|
||||||||||||||||||||||||||||||||||||||||||||||||||
|
1в, 6в |
4190 |
385 |
68,8 |
21,2 |
3736,2 |
650 |
|
||||||||||||||||||||||||||||||||||||||||||||||||||
|
1г |
3960 |
385 |
68,8 |
21,2 |
3506,2 |
650 |
|
||||||||||||||||||||||||||||||||||||||||||||||||||
|
1д, 6а |
4280 |
385 |
68,8 |
21,2 |
3826,2 |
650 |
|
||||||||||||||||||||||||||||||||||||||||||||||||||
|
1е |
5360 |
385 |
68,8 |
21,2 |
4906,2 |
650 |
|
||||||||||||||||||||||||||||||||||||||||||||||||||
|
2а |
5170 |
462 |
73,1 |
25,5 |
4634,9 |
650 |
|
||||||||||||||||||||||||||||||||||||||||||||||||||
|
2б |
6040 |
443 |
72 |
24,4 |
5525 |
650 |
|
||||||||||||||||||||||||||||||||||||||||||||||||||
|
2в |
5680 |
462 |
73,1 |
25,5 |
5144,9 |
650 |
|
||||||||||||||||||||||||||||||||||||||||||||||||||
|
2г |
4830 |
539 |
77,4 |
29,8 |
4213,6 |
650 |
|
||||||||||||||||||||||||||||||||||||||||||||||||||
|
3а, 4а |
3750 |
385 |
68,8 |
21,2 |
3296,2 |
650 |
|
||||||||||||||||||||||||||||||||||||||||||||||||||
|
3б |
3890 |
385 |
68,8 |
21,2 |
3436,2 |
650 |
|
||||||||||||||||||||||||||||||||||||||||||||||||||
|
8в |
4130 |
385 |
68,8 |
21,2 |
3676,2 |
650 |
|
||||||||||||||||||||||||||||||||||||||||||||||||||
|
3г |
4820 |
385 |
68,8 |
21,2 |
4366,2 |
650 |
|
||||||||||||||||||||||||||||||||||||||||||||||||||
|
4б |
4640 |
385 |
68,8 |
21,2 |
4186,2 |
650 |
|
||||||||||||||||||||||||||||||||||||||||||||||||||
|
5б |
4910 |
385 |
68,8 |
21,2 |
4456,2 |
650 |
|
||||||||||||||||||||||||||||||||||||||||||||||||||
|
6б |
4320 |
385 |
68,8 |
21,2 |
3866,2 |
650 |
|
||||||||||||||||||||||||||||||||||||||||||||||||||
|
7а, 11б, 11г |
4400 |
443 |
72 |
24,4 |
3885 |
650 |
|
||||||||||||||||||||||||||||||||||||||||||||||||||
|
7б, 7г, 12а, 12б |
4020 |
443 |
72 |
24,4 |
3505 |
650 |
|
||||||||||||||||||||||||||||||||||||||||||||||||||
|
7в |
4850 |
443 |
72 |
24,4 |
4335 |
650 |
|
||||||||||||||||||||||||||||||||||||||||||||||||||
|
8а |
4560 |
443 |
72 |
24,4 |
4045 |
650 |
|
||||||||||||||||||||||||||||||||||||||||||||||||||
|
8б |
4640 |
443 |
72 |
24,4 |
4125 |
650 |
|
||||||||||||||||||||||||||||||||||||||||||||||||||
|
8в, 15е |
4570 |
462 |
73,1 |
25,5 |
4034,9 |
650 |
|
||||||||||||||||||||||||||||||||||||||||||||||||||
|
8г |
5340 |
443 |
72 |
24,4 |
4825 |
650 |
|
||||||||||||||||||||||||||||||||||||||||||||||||||
|
8д |
3600 |
462 |
73,1 |
25,5 |
3064,9 |
650 |
|
||||||||||||||||||||||||||||||||||||||||||||||||||
|
8е |
4170 |
462 |
73,1 |
25,5 |
3634,9 |
650 |
|
||||||||||||||||||||||||||||||||||||||||||||||||||
|
9а |
5240 |
462 |
73,1 |
25,5 |
4704,9 |
650 |
|
||||||||||||||||||||||||||||||||||||||||||||||||||
|
9б |
3840 |
462 |
73,1 |
25,5 |
3404,9 |
650 |
|
||||||||||||||||||||||||||||||||||||||||||||||||||
|
9в |
4250 |
462 |
73,1 |
25,5 |
3714,9 |
650 |
|
||||||||||||||||||||||||||||||||||||||||||||||||||
|
10а, 10в |
5220 |
500 |
75,2 |
27,6 |
4644,8 |
650 |
|
||||||||||||||||||||||||||||||||||||||||||||||||||
|
10б |
4960 |
500 |
75,2 |
27,6 |
4384,8 |
650 |
|
||||||||||||||||||||||||||||||||||||||||||||||||||
|
11а |
5100 |
443 |
72 |
24,4 |
4585 |
650 |
|
||||||||||||||||||||||||||||||||||||||||||||||||||
|
11в, 11е, 12в |
4760 |
443 |
72 |
24,4 |
4245 |
650 |
|
||||||||||||||||||||||||||||||||||||||||||||||||||
|
11д |
4480 |
443 |
72 |
24,4 |
3965 |
650 |
|
||||||||||||||||||||||||||||||||||||||||||||||||||
|
12г |
4360 |
462 |
73,1 |
25,5 |
3824,9 |
650 |
|
||||||||||||||||||||||||||||||||||||||||||||||||||
|
12д |
4970 |
462 |
73,1 |
25,5 |
4434,9 |
650 |
|
||||||||||||||||||||||||||||||||||||||||||||||||||
|
II. Монтаж металлоконструкций |
|
||||||||||||||||||||||||||||||||||||||||||||||||||||||||
|
1, 3, 5 |
4200 |
136 |
261 |
89,4 |
3803 |
216 |
|
||||||||||||||||||||||||||||||||||||||||||||||||||
|
2а, 2в, 8е, 12д |
4320 |
164 |
279 |
107 |
3877 |
216 |
|
||||||||||||||||||||||||||||||||||||||||||||||||||
|
2б |
4300 |
157 |
274 |
103 |
3869 |
216 |
|
||||||||||||||||||||||||||||||||||||||||||||||||||
|
2г |
4390 |
191 |
297 |
125 |
3902 |
216 |
|
||||||||||||||||||||||||||||||||||||||||||||||||||
|
4 |
4110 |
136 |
261 |
89,4 |
3713 |
216 |
|
||||||||||||||||||||||||||||||||||||||||||||||||||
|
6 |
4280 |
136 |
261 |
89,4 |
3883 |
216 |
|
||||||||||||||||||||||||||||||||||||||||||||||||||
|
7а - 8б, 8г, 11а - 12в |
4220 |
157 |
274 |
103 |
3789 |
216 |
|
||||||||||||||||||||||||||||||||||||||||||||||||||
|
8в, 8д, 12г, 12е |
4260 |
164 |
279 |
107 |
3817 |
216 |
|
||||||||||||||||||||||||||||||||||||||||||||||||||
|
9 |
4450 |
164 |
279 |
107 |
4007 |
216 |
|
||||||||||||||||||||||||||||||||||||||||||||||||||
|
10 |
4990 |
178 |
288 |
116 |
4524 |
216 |
|
||||||||||||||||||||||||||||||||||||||||||||||||||
|
III. Электромонтажные работы |
|
||||||||||||||||||||||||||||||||||||||||||||||||||||||||
|
(электроосвещение, КИП, автоматика и грозозащита) |
|
||||||||||||||||||||||||||||||||||||||||||||||||||||||||
|
1, 3 - 6 |
685 |
192 |
140 |
52,6 |
353 |
338 |
|
||||||||||||||||||||||||||||||||||||||||||||||||||
|
2а, 2в, 8в, 8д, 9, 12г, 12д |
737 |
28.0 |
150 |
63,1 |
357 |
338 |
|
||||||||||||||||||||||||||||||||||||||||||||||||||
|
2б, 7а - 8б, 8г, 11а - 12в |
723 |
220 |
148 |
60,4 |
355 |
338 |
|
||||||||||||||||||||||||||||||||||||||||||||||||||
|
2г |
809 |
268 |
161 |
73,6 |
380 |
338 |
|
||||||||||||||||||||||||||||||||||||||||||||||||||
|
8е |
785 |
230 |
150 |
63,1 |
405 |
338 |
|
||||||||||||||||||||||||||||||||||||||||||||||||||
|
10 |
784 |
249 |
155 |
68,3 |
380 |
338 |
|
||||||||||||||||||||||||||||||||||||||||||||||||||
|
12е |
764 |
230 |
150 |
63,1 |
384 |
338 |
|
||||||||||||||||||||||||||||||||||||||||||||||||||
|
IV. Монтаж технологических трубопроводов |
|
||||||||||||||||||||||||||||||||||||||||||||||||||||||||
|
1, 3 - 5 |
1260 |
226 |
62,3 |
22,8 |
971,7 |
399 |
|
||||||||||||||||||||||||||||||||||||||||||||||||||
|
2а, 2в |
1300 |
272 |
66,9 |
27,4 |
961,1 |
399 |
|
||||||||||||||||||||||||||||||||||||||||||||||||||
|
2б, 11 |
1290 |
260 |
65,8 |
26,3 |
964,2 |
399 |
|
||||||||||||||||||||||||||||||||||||||||||||||||||
|
2г |
1400 |
317 |
71,5 |
32 |
1011,5 |
399 |
|
||||||||||||||||||||||||||||||||||||||||||||||||||
|
6 |
1280 |
226 |
62,3 |
22,8 |
991,7 |
399 |
|
||||||||||||||||||||||||||||||||||||||||||||||||||
|
7а - 8б, 8г, 12а - 12в |
1310 |
260 |
65,8 |
26,3 |
984,2 |
399 |
|
||||||||||||||||||||||||||||||||||||||||||||||||||
|
8в, 8д, 12г - 12e |
1320 |
272 |
66,9 |
27,4 |
981,1 |
399 |
|
||||||||||||||||||||||||||||||||||||||||||||||||||
|
8е - 9в |
1370 |
272 |
66,9 |
27,4 |
1031,1 |
399 |
|
||||||||||||||||||||||||||||||||||||||||||||||||||
|
10 |
1480 |
294 |
69,2 |
29,7 |
1116,8 |
399 |
|
||||||||||||||||||||||||||||||||||||||||||||||||||
|
РАЙОННАЯ ЦЕНА № 24 |
|
||||||||||||||||||||||||||||||||||||||||||||||||||||||||
|
Водонапорная бесшатровая кирпичная башня со стальным баком вместимостью 200 м3, высотой до дна бака 21 м |
|
||||||||||||||||||||||||||||||||||||||||||||||||||||||||
|
Измеритель - 1 башня |
|
||||||||||||||||||||||||||||||||||||||||||||||||||||||||
|
I. Строительные работы |
|
||||||||||||||||||||||||||||||||||||||||||||||||||||||||
|
1а, 3б |
6740 |
708 |
200 |
67,6 |
5832 |
1220 |
|
||||||||||||||||||||||||||||||||||||||||||||||||||
|
1б, 1г, 5а |
7020 |
708 |
203 |
67,6 |
6109 |
1220 |
|
||||||||||||||||||||||||||||||||||||||||||||||||||
|
1в, 3в |
7150 |
708 |
203 |
67,6 |
6239 |
1220 |
|
||||||||||||||||||||||||||||||||||||||||||||||||||
|
1д, 6б, 6в |
7320 |
708 |
200 |
67,6 |
6412 |
1220 |
|
||||||||||||||||||||||||||||||||||||||||||||||||||
|
1е |
8700 |
708 |
203 |
67,6 |
7789 |
1220 |
|
||||||||||||||||||||||||||||||||||||||||||||||||||
|
1ж, 3а |
6570 |
708 |
196 |
67,6 |
5666 |
1220 |
|
||||||||||||||||||||||||||||||||||||||||||||||||||
|
2а, 9а |
8860 |
849 |
223 |
81,3 |
7788 |
1220 |
|
||||||||||||||||||||||||||||||||||||||||||||||||||
|
2б |
10000 |
814 |
219 |
77,4 |
8967 |
1220 |
|
||||||||||||||||||||||||||||||||||||||||||||||||||
|
2в |
9620 |
849 |
223 |
81,3 |
8548 |
1220 |
|
||||||||||||||||||||||||||||||||||||||||||||||||||
|
2г |
8780 |
991 |
241 |
95 |
7548 |
1220 |
|
||||||||||||||||||||||||||||||||||||||||||||||||||
|
3г, 4б |
7770 |
708 |
203 |
67,6 |
6859 |
1220 |
|
||||||||||||||||||||||||||||||||||||||||||||||||||
|
4а |
6650 |
708 |
198 |
67,6 |
5744 |
1220 |
|
||||||||||||||||||||||||||||||||||||||||||||||||||
|
5б |
8060 |
708 |
210 |
67,6 |
7142 |
1220 |
|
||||||||||||||||||||||||||||||||||||||||||||||||||
|
6а |
7440 |
708 |
203 |
67,6 |
6529 |
1220 |
|
||||||||||||||||||||||||||||||||||||||||||||||||||
|
7а |
7510 |
814 |
212 |
77,4 |
6484 |
1220 |
|
||||||||||||||||||||||||||||||||||||||||||||||||||
|
7б, 7г, 12б |
7020 |
814 |
212 |
77,4 |
599,4 |
1220 |
|
||||||||||||||||||||||||||||||||||||||||||||||||||
|
7в, 8б, 11в, 11е |
8040 |
814 |
214 |
77,4 |
7012 |
1220 |
|
||||||||||||||||||||||||||||||||||||||||||||||||||
|
8а, 11б, 11д, 12в |
7750 |
814 |
210 |
77,4 |
6726 |
1220 |
|
||||||||||||||||||||||||||||||||||||||||||||||||||
|
8в |
8020 |
849 |
219 |
81,3 |
6952 |
1220 |
|
||||||||||||||||||||||||||||||||||||||||||||||||||
|
8г |
9720 |
814 |
216 |
77,4 |
8690 |
1220 |
|
||||||||||||||||||||||||||||||||||||||||||||||||||
|
8д |
6690 |
849 |
219 |
81,3 |
5622 |
1220 |
|
||||||||||||||||||||||||||||||||||||||||||||||||||
|
8е, 12д, 12е |
8210 |
849 |
218 |
81,3 |
7143 |
1220 |
|
||||||||||||||||||||||||||||||||||||||||||||||||||
|
9б |
7120 |
849 |
219 |
81,3 |
6052 |
1220 |
|
||||||||||||||||||||||||||||||||||||||||||||||||||
|
9в |
7880 |
849 |
223 |
81,3 |
6808 |
1220 |
|
||||||||||||||||||||||||||||||||||||||||||||||||||
|
10а, 10в |
8930 |
920 |
226 |
88,1 |
7784 |
1220 |
|
||||||||||||||||||||||||||||||||||||||||||||||||||
|
10б |
8670 |
920 |
226 |
88,1 |
7524 |
1220 |
|
||||||||||||||||||||||||||||||||||||||||||||||||||
|
11а |
8780 |
814 |
219 |
77,4 |
7747 |
1220 |
|
||||||||||||||||||||||||||||||||||||||||||||||||||
|
11г |
7610 |
814 |
212 |
77,4 |
6584 |
1220 |
|
||||||||||||||||||||||||||||||||||||||||||||||||||
|
12а |
6960 |
814 |
208 |
77,4 |
5938 |
1220 |
|
||||||||||||||||||||||||||||||||||||||||||||||||||
|
12г |
7510 |
849 |
213 |
81,3 |
6448 |
1220 |
|
||||||||||||||||||||||||||||||||||||||||||||||||||
|
В том числе; |
|
||||||||||||||||||||||||||||||||||||||||||||||||||||||||
|
а) земляные работы |
|
||||||||||||||||||||||||||||||||||||||||||||||||||||||||
|
1a - 1e, 3в, 3г, 4б, 5а, 6а, 6в |
185 |
93,5 |
91,5 |
33,5 |
- |
156 |
|
||||||||||||||||||||||||||||||||||||||||||||||||||
|
1ж, 3б, 4а, 6б |
181 |
93,5 |
87,5 |
33,5 |
- |
156 |
|
||||||||||||||||||||||||||||||||||||||||||||||||||
|
2а, 2в, 8е, 9а, 9в, 12е |
217 |
112 |
105 |
40,4 |
- |
156 |
|
||||||||||||||||||||||||||||||||||||||||||||||||||
|
2б, 11а |
210 |
108 |
102 |
38,2 |
- |
156 |
|
||||||||||||||||||||||||||||||||||||||||||||||||||
|
2г |
247 |
131 |
116 |
47,3 |
- |
156 |
|
||||||||||||||||||||||||||||||||||||||||||||||||||
|
3а |
177 |
93,5 |
83,5 |
33,5 |
- |
156 |
|
||||||||||||||||||||||||||||||||||||||||||||||||||
|
5б |
193 |
93,5 |
99,5 |
33,5 |
- |
156 |
|
||||||||||||||||||||||||||||||||||||||||||||||||||
|
7а, 7б, 7г - 8б, 11б - 11е, 12б |
204 |
108 |
96 |
38,2 |
- |
156 |
|
||||||||||||||||||||||||||||||||||||||||||||||||||
|
7в, 8г |
208 |
108 |
100 |
38,2 |
- |
156 |
|
||||||||||||||||||||||||||||||||||||||||||||||||||
|
8в, 8д, 9б |
214 |
112 |
102 |
40,4 |
- |
156 |
|
||||||||||||||||||||||||||||||||||||||||||||||||||
|
10 |
226 |
122 |
104 |
43,8 |
- |
156 |
|
||||||||||||||||||||||||||||||||||||||||||||||||||
|
12а, 12в |
200 |
108 |
92 |
38,2 |
- |
156 |
|
||||||||||||||||||||||||||||||||||||||||||||||||||
|
12г, 12д |
207 |
112 |
95 |
40,4 |
- |
156 |
|
||||||||||||||||||||||||||||||||||||||||||||||||||
|
б) фундаменты |
|
||||||||||||||||||||||||||||||||||||||||||||||||||||||||
|
1a, 1б, 3в, 5а |
1540 |
92,1 |
22,5 |
6,75 |
1425,4 |
166 |
|
||||||||||||||||||||||||||||||||||||||||||||||||||
|
1в, 4а, 6б |
1500 |
92,1 |
22,5 |
6,75 |
1385,4 |
166 |
|
||||||||||||||||||||||||||||||||||||||||||||||||||
|
1г - 1е |
1580 |
92,1 |
22,5 |
6,75 |
1465,4 |
166 |
|
||||||||||||||||||||||||||||||||||||||||||||||||||
|
1ж |
1350 |
92,1 |
22,5 |
6,75 |
1235,4 |
166 |
|
||||||||||||||||||||||||||||||||||||||||||||||||||
|
2а, 12е |
1940 |
110 |
23,8 |
8,1 |
1806,2 |
166 |
|
||||||||||||||||||||||||||||||||||||||||||||||||||
|
2б |
2050 |
106 |
23,5 |
7,76 |
1920,5 |
166 |
|
||||||||||||||||||||||||||||||||||||||||||||||||||
|
2в |
2060 |
110 |
23,8 |
8,1 |
1926,2 |
166 |
|
||||||||||||||||||||||||||||||||||||||||||||||||||
|
2г |
2160 |
129 |
25,2 |
9,44 |
2005,8 |
166 |
|
||||||||||||||||||||||||||||||||||||||||||||||||||
|
3а |
1470 |
92,1 |
22,5 |
6,75 |
1355,4 |
166 |
|
||||||||||||||||||||||||||||||||||||||||||||||||||
|
3б |
1430 |
92,1 |
22,5 |
6,75 |
1315,4 |
166 |
|
||||||||||||||||||||||||||||||||||||||||||||||||||
|
3г |
1310 |
92,1 |
22,5 |
6,75 |
1195,4 |
166 |
|
||||||||||||||||||||||||||||||||||||||||||||||||||
|
4б |
1560 |
92,1 |
22,5 |
6,75 |
1445,4 |
166 |
|
||||||||||||||||||||||||||||||||||||||||||||||||||
|
5б |
1450 |
92,1 |
22,5 |
6,75 |
1335,4 |
166 |
|
||||||||||||||||||||||||||||||||||||||||||||||||||
|
6а, 6в |
1600 |
92,1 |
22,5 |
6,75 |
1485,4 |
166 |
|
||||||||||||||||||||||||||||||||||||||||||||||||||
|
7а - 7в |
1530 |
106 |
23,5 |
7,76 |
1400,5 |
166 |
|
||||||||||||||||||||||||||||||||||||||||||||||||||
|
7г, 12б |
1510 |
106 |
23,5 |
7,76 |
1380,5 |
166 |
|
||||||||||||||||||||||||||||||||||||||||||||||||||
|
8а |
1560 |
106 |
23,5 |
7,76 |
1430,5 |
166 |
|
||||||||||||||||||||||||||||||||||||||||||||||||||
|
8б |
1740 |
106 |
23,5 |
7,76 |
1610,5 |
166 |
|
||||||||||||||||||||||||||||||||||||||||||||||||||
|
8в |
1830 |
110 |
23,8 |
8,1 |
1696,2 |
166 |
|
||||||||||||||||||||||||||||||||||||||||||||||||||
|
8г |
2550 |
106 |
23,5 |
7,76 |
2420,5 |
166 |
|
||||||||||||||||||||||||||||||||||||||||||||||||||
|
8д, 9б |
1680 |
110 |
23,8 |
8,1 |
1546,2 |
166 |
|
||||||||||||||||||||||||||||||||||||||||||||||||||
|
8е |
2430 |
110 |
23,8 |
8,1 |
2296,2 |
166 |
|
||||||||||||||||||||||||||||||||||||||||||||||||||
|
9а, 9в |
1790 |
110 |
23,8 |
8,1 |
1656,2 |
166 |
|
||||||||||||||||||||||||||||||||||||||||||||||||||
|
10а, 10б |
1920 |
120 |
24,5 |
8,77 |
1775,5 |
166 |
|
||||||||||||||||||||||||||||||||||||||||||||||||||
|
10в |
1850 |
120 |
24,5 |
8,77 |
1705,5 |
166 |
|
||||||||||||||||||||||||||||||||||||||||||||||||||
|
11а |
1900 |
106 |
23,5 |
7,76 |
1770,5 |
166 |
|
||||||||||||||||||||||||||||||||||||||||||||||||||
|
11б - 11е |
1630 |
106 |
23,5 |
7,76 |
1500,5 |
166 |
|
||||||||||||||||||||||||||||||||||||||||||||||||||
|
12а |
1450 |
106 |
23,5 |
7,76 |
1320,5 |
166 |
|
||||||||||||||||||||||||||||||||||||||||||||||||||
|
12в |
1370 |
106 |
23,5 |
7,76 |
1240,5 |
166 |
|
||||||||||||||||||||||||||||||||||||||||||||||||||
|
12г |
1590 |
110 |
23,8 |
8,1 |
1456,2 |
166 |
|
||||||||||||||||||||||||||||||||||||||||||||||||||
|
12д |
1620 |
110 |
23,8 |
8,1 |
1486,2 |
166 |
|
||||||||||||||||||||||||||||||||||||||||||||||||||
|
в) ствол башни |
|
||||||||||||||||||||||||||||||||||||||||||||||||||||||||
|
1а, 1ж |
4690 |
494 |
82,7 |
25,4 |
4113,3 |
836 |
|
||||||||||||||||||||||||||||||||||||||||||||||||||
|
1б, 5а |
4960 |
494 |
82,7 |
25,4 |
4383,3 |
836 |
|
||||||||||||||||||||||||||||||||||||||||||||||||||
|
1в, 3в, 6в |
5130 |
494 |
82,7 |
25,4 |
4553,3 |
836 |
|
||||||||||||||||||||||||||||||||||||||||||||||||||
|
1г |
4870 |
494 |
82,7 |
25,4 |
4293,3 |
836 |
|
||||||||||||||||||||||||||||||||||||||||||||||||||
|
1д, 6а |
5270 |
494 |
82,7 |
25,4 |
4693,3 |
836 |
|
||||||||||||||||||||||||||||||||||||||||||||||||||
|
1е |
6600 |
494 |
82,7 |
25,4 |
6023,3 |
836 |
|
||||||||||||||||||||||||||||||||||||||||||||||||||
|
2а |
6360 |
592 |
87,8 |
30,5 |
5680,2 |
836 |
|
||||||||||||||||||||||||||||||||||||||||||||||||||
|
2б |
7440 |
568 |
86,5 |
29,2 |
6785,5 |
836 |
|
||||||||||||||||||||||||||||||||||||||||||||||||||
|
2в |
6970 |
592 |
87,8 |
30,5 |
6290,2 |
836 |
|
||||||||||||||||||||||||||||||||||||||||||||||||||
|
2г |
5950 |
691 |
92,8 |
35,6 |
5166,2 |
836 |
|
||||||||||||||||||||||||||||||||||||||||||||||||||
|
3а, 4а |
4620 |
494 |
82,7 |
25,4 |
4043,3 |
836 |
|
||||||||||||||||||||||||||||||||||||||||||||||||||
|
3б |
4800 |
494 |
82,7 |
25,4 |
4223,3 |
836 |
|
||||||||||||||||||||||||||||||||||||||||||||||||||
|
3г |
5940 |
494 |
82,7 |
25,4 |
5363,3 |
836 |
|
||||||||||||||||||||||||||||||||||||||||||||||||||
|
4б |
5710 |
494 |
82,7 |
25,4 |
5133,3 |
836 |
|
||||||||||||||||||||||||||||||||||||||||||||||||||
|
5б |
6040 |
494 |
82,7 |
25,4 |
5468 |
836 |
|
||||||||||||||||||||||||||||||||||||||||||||||||||
|
6б |
5320 |
494 |
82,7 |
25,4 |
4743,3 |
836 |
|
||||||||||||||||||||||||||||||||||||||||||||||||||
|
7а, 11б, 11г |
5420 |
568 |
86,5 |
29,2 |
4765,5 |
836 |
|
||||||||||||||||||||||||||||||||||||||||||||||||||
|
7б, 7г, 12a, 12б |
4950 |
568 |
86,5 |
29,2 |
4295,5 |
836 |
|
||||||||||||||||||||||||||||||||||||||||||||||||||
|
7в |
5980 |
568 |
86,5 |
29,2 |
5325,5 |
836 |
|
||||||||||||||||||||||||||||||||||||||||||||||||||
|
8а |
5620 |
568 |
86,5 |
29,2 |
4965,5 |
836 |
|
||||||||||||||||||||||||||||||||||||||||||||||||||
|
8б |
5710 |
568 |
86,5 |
29,2 |
5055,5 |
836 |
|
||||||||||||||||||||||||||||||||||||||||||||||||||
|
8в, 12e |
5620 |
592 |
87,8 |
30,5 |
4940,2 |
836 |
|
||||||||||||||||||||||||||||||||||||||||||||||||||
|
8г |
6580 |
568 |
86,5 |
29,2 |
5925,5 |
836 |
|
||||||||||||||||||||||||||||||||||||||||||||||||||
|
8д |
4430 |
592 |
87,8 |
30,5 |
3750,2 |
836 |
|
||||||||||||||||||||||||||||||||||||||||||||||||||
|
8е |
5140 |
592 |
87,8 |
30,5 |
4460,2 |
836 |
|
||||||||||||||||||||||||||||||||||||||||||||||||||
|
9а |
6460 |
592 |
87,8 |
30,5 |
5780,2 |
836 |
|
||||||||||||||||||||||||||||||||||||||||||||||||||
|
9б |
4860 |
592 |
87,8 |
30,5 |
4180,2 |
836 |
|
||||||||||||||||||||||||||||||||||||||||||||||||||
|
9в |
5210 |
592 |
87,8 |
30,5 |
4530,2 |
836 |
|
||||||||||||||||||||||||||||||||||||||||||||||||||
|
10а, 10в |
6410 |
642 |
90,3 |
33 |
5677,7 |
836 |
|
||||||||||||||||||||||||||||||||||||||||||||||||||
|
10б |
6100 |
642 |
90,3 |
33 |
5367,7 |
836 |
|
||||||||||||||||||||||||||||||||||||||||||||||||||
|
11а |
6250 |
568 |
86,5 |
29,2 |
5595,5 |
836 |
|
||||||||||||||||||||||||||||||||||||||||||||||||||
|
11в, 11е |
5820 |
568 |
86,5 |
29,2 |
5165,5 |
836 |
|
||||||||||||||||||||||||||||||||||||||||||||||||||
|
11д |
5510 |
568 |
86,5 |
29,2 |
4855,5 |
836 |
|
||||||||||||||||||||||||||||||||||||||||||||||||||
|
12в |
5890 |
568 |
86,5 |
29,2 |
5235,5 |
836 |
|
||||||||||||||||||||||||||||||||||||||||||||||||||
|
12г |
5360 |
592 |
87,8 |
30,5 |
4680,2 |
836 |
|
||||||||||||||||||||||||||||||||||||||||||||||||||
|
12д |
6100 |
592 |
87,8 |
30,5 |
5420,2 |
836 |
|
||||||||||||||||||||||||||||||||||||||||||||||||||
|
II. Монтаж металлоконструкций |
|
||||||||||||||||||||||||||||||||||||||||||||||||||||||||
|
1, 3, 5 |
4288 |
140 |
268 |
92,1 |
3872 |
221 |
|
||||||||||||||||||||||||||||||||||||||||||||||||||
|
2а, 2в, 8е, 12д |
4410 |
168 |
287 |
110 |
3955 |
221 |
|
||||||||||||||||||||||||||||||||||||||||||||||||||
|
2б |
4390 |
161 |
282 |
106 |
3947 |
221 |
|
||||||||||||||||||||||||||||||||||||||||||||||||||
|
2г |
4480 |
196 |
305 |
129 |
3979 |
221 |
|
||||||||||||||||||||||||||||||||||||||||||||||||||
|
4 |
4200 |
140 |
268 |
92,1 |
3792 |
221 |
|
||||||||||||||||||||||||||||||||||||||||||||||||||
|
6 |
4380 |
140 |
268 |
92,1 |
3972 |
221 |
|
||||||||||||||||||||||||||||||||||||||||||||||||||
|
7а - 8б, 8г, 11a - 12в |
4310 |
161 |
282 |
106 |
3867 |
221 |
|
||||||||||||||||||||||||||||||||||||||||||||||||||
|
8в, 8д, 12г, 12e |
4350 |
168 |
287 |
110 |
3895 |
221 |
|
||||||||||||||||||||||||||||||||||||||||||||||||||
|
9 |
4540 |
168 |
287 |
110 |
4085 |
221 |
|
||||||||||||||||||||||||||||||||||||||||||||||||||
|
10 |
5090 |
182 |
296 |
120 |
4612 |
221 |
|
||||||||||||||||||||||||||||||||||||||||||||||||||
|
III. Электромонтажные работы |
|
||||||||||||||||||||||||||||||||||||||||||||||||||||||||
|
(электроосвещение, КИП, автоматика и грозозащита) |
|
||||||||||||||||||||||||||||||||||||||||||||||||||||||||
|
1, 3 - 6 |
685 |
192 |
140 |
52,6 |
353 |
338 |
|
||||||||||||||||||||||||||||||||||||||||||||||||||
|
2а, 2в, 8в, 8д, 9, 12г, 12д |
737 |
230 |
150 |
63,1 |
357 |
388 |
|
||||||||||||||||||||||||||||||||||||||||||||||||||
|
2б, 7а - 8б, 8г, 11а - 12в |
723 |
220 |
148 |
60,4 |
355 |
338 |
|
||||||||||||||||||||||||||||||||||||||||||||||||||
|
2г |
809 |
268 |
161 |
73,6 |
380 |
338 |
|
||||||||||||||||||||||||||||||||||||||||||||||||||
|
8е |
785 |
230 |
150 |
63,1 |
405 |
338 |
|
||||||||||||||||||||||||||||||||||||||||||||||||||
|
10 |
784 |
249 |
155 |
68,3 |
380 |
338 |
|
||||||||||||||||||||||||||||||||||||||||||||||||||
|
12е |
764 |
230 |
460 |
63,1 |
384 |
338 |
|
||||||||||||||||||||||||||||||||||||||||||||||||||
|
IV. Монтаж технологических трубопроводов |
|
||||||||||||||||||||||||||||||||||||||||||||||||||||||||
|
1, 3 - 5 |
11370 |
247 |
67,9 |
24,9 |
1055,1 |
435 |
|
||||||||||||||||||||||||||||||||||||||||||||||||||
|
2а, 2в |
1410 |
296 |
72,9 |
29,9 |
1041,1 |
435 |
|
||||||||||||||||||||||||||||||||||||||||||||||||||
|
2б, 11 |
1400 |
284 |
71,6 |
28,6 |
1044,4 |
435 |
|
||||||||||||||||||||||||||||||||||||||||||||||||||
|
2г |
1520 |
345 |
77,9 |
34,9 |
1097,1 |
435 |
|
||||||||||||||||||||||||||||||||||||||||||||||||||
|
6 |
1390 |
247 |
67,9 |
24,9 |
1075,1 |
435 |
|
||||||||||||||||||||||||||||||||||||||||||||||||||
|
7а - 8б, 8г, 12а - 12в |
1430 |
284 |
71,6 |
28,6 |
1074,4 |
435 |
|
||||||||||||||||||||||||||||||||||||||||||||||||||
|
8в, 8д, 12г - 12е |
1440 |
296 |
72,9 |
29,9 |
1071,1 |
435 |
|
||||||||||||||||||||||||||||||||||||||||||||||||||
|
8е - 9в |
1490 |
296 |
72,9 |
29,9 |
1121,1 |
435 |
|
||||||||||||||||||||||||||||||||||||||||||||||||||
|
10 |
1610 |
321 |
75,4 |
32,4 |
1213,6 |
435 |
|
||||||||||||||||||||||||||||||||||||||||||||||||||
|
|
|||||||||||||||||||||||||||||||||||||||||||||||||||||||||
|
Водонапорная бесшатровая кирпичная башня со стальным баком вместимостью 200 м3, высотой до дна бака 24 м |
|
||||||||||||||||||||||||||||||||||||||||||||||||||||||||
|
Измеритель - 1 башня |
|
||||||||||||||||||||||||||||||||||||||||||||||||||||||||
|
I. Строительные работы |
|
||||||||||||||||||||||||||||||||||||||||||||||||||||||||
|
1а, 3б |
7300 |
765 |
209 |
70,2 |
6326 |
1310 |
|
||||||||||||||||||||||||||||||||||||||||||||||||||
|
1б, 1г, 5а |
7590 |
765 |
211 |
70,2 |
6614 |
1310 |
|
||||||||||||||||||||||||||||||||||||||||||||||||||
|
1в, 3в |
7750 |
765 |
211 |
70,2 |
6774 |
1310 |
|
||||||||||||||||||||||||||||||||||||||||||||||||||
|
1д, 6б, 6в |
7940 |
765 |
209 |
70,2 |
6966 |
1310 |
|
||||||||||||||||||||||||||||||||||||||||||||||||||
|
1е |
9490 |
765 |
211 |
70,2 |
8514 |
1310 |
|
||||||||||||||||||||||||||||||||||||||||||||||||||
|
1ж, 3а |
7110 |
765 |
205 |
70,2 |
6140 |
1310 |
|
||||||||||||||||||||||||||||||||||||||||||||||||||
|
2а, 9а |
9620 |
918 |
232 |
84,5 |
8470 |
1310 |
|
||||||||||||||||||||||||||||||||||||||||||||||||||
|
2б |
10900 |
879 |
228 |
80,4 |
9793 |
1310 |
|
||||||||||||||||||||||||||||||||||||||||||||||||||
|
2в |
10400 |
918 |
232 |
84,5 |
9250 |
1310 |
|
||||||||||||||||||||||||||||||||||||||||||||||||||
|
2г |
9480 |
1070 |
251 |
98,7 |
8159 |
1310 |
|
||||||||||||||||||||||||||||||||||||||||||||||||||
|
3г, 4б |
8460 |
765 |
211 |
70,2 |
7484 |
1310 |
|
||||||||||||||||||||||||||||||||||||||||||||||||||
|
4а |
7190 |
765 |
207 |
70,2 |
6218 |
1310 |
|
||||||||||||||||||||||||||||||||||||||||||||||||||
|
5б |
8770 |
765 |
219 |
70,2 |
7786 |
1310 |
|
||||||||||||||||||||||||||||||||||||||||||||||||||
|
6а |
8070 |
765 |
211 |
70,2 |
7094 |
1310 |
|
||||||||||||||||||||||||||||||||||||||||||||||||||
|
7а |
8150 |
879 |
222 |
80,4 |
7049 |
1310 |
|
||||||||||||||||||||||||||||||||||||||||||||||||||
|
7б, 7г, 12а, 12б |
7580 |
879 |
219 |
80,4 |
6482 |
1310 |
|
||||||||||||||||||||||||||||||||||||||||||||||||||
|
7в, 8б, 11в, 11е |
8720 |
879 |
224 |
80,4 |
7617 |
1310 |
|
||||||||||||||||||||||||||||||||||||||||||||||||||
|
8а, 11б, 11д |
8370 |
879 |
222 |
80,4 |
7269 |
1310 |
|
||||||||||||||||||||||||||||||||||||||||||||||||||
|
8в |
8670 |
918 |
228 |
84,5 |
7524 |
1310 |
|
||||||||||||||||||||||||||||||||||||||||||||||||||
|
8г |
10500 |
879 |
225 |
80,4 |
9396 |
1310 |
|||||||||||||||||||||||||||||||||||||||||||||||||||
|
8д |
7200 |
918 |
228 |
84,5 |
6054 |
1310 |
|||||||||||||||||||||||||||||||||||||||||||||||||||
|
8е, 12е |
8830 |
918 |
232 |
84,5 |
7680 |
1310 |
|||||||||||||||||||||||||||||||||||||||||||||||||||
|
9б |
7690 |
918 |
228 |
84,5 |
6544 |
1310 |
|||||||||||||||||||||||||||||||||||||||||||||||||||
|
9в |
8480 |
918 |
232 |
84,5 |
7330 |
1310 |
|||||||||||||||||||||||||||||||||||||||||||||||||||
|
10а, 10в |
9680 |
994 |
236 |
91,6 |
8450 |
1310 |
|||||||||||||||||||||||||||||||||||||||||||||||||||
|
10б |
9380 |
994 |
236 |
91,6 |
8150 |
1310 |
|||||||||||||||||||||||||||||||||||||||||||||||||||
|
11а |
9500 |
879 |
228 |
80,4 |
8393 |
1310 |
|||||||||||||||||||||||||||||||||||||||||||||||||||
|
11г |
8240 |
879 |
222 |
80,4 |
7139 |
1310 |
|||||||||||||||||||||||||||||||||||||||||||||||||||
|
12в |
8510 |
879 |
217 |
80,4 |
7414 |
1310 |
|||||||||||||||||||||||||||||||||||||||||||||||||||
|
12г |
8140 |
918 |
222 |
84,5 |
7000 |
1310 |
|||||||||||||||||||||||||||||||||||||||||||||||||||
|
12д |
8980 |
918 |
222 |
84,5 |
7840 |
1310 |
|||||||||||||||||||||||||||||||||||||||||||||||||||
|
В том числе: |
|||||||||||||||||||||||||||||||||||||||||||||||||||||||||
|
а) земляные работы |
|||||||||||||||||||||||||||||||||||||||||||||||||||||||||
|
1a - 1e, 3в, 3г, 4б, 5а, 6а,6в |
185 |
93,5 |
91,5 |
33,5 |
- |
156 |
|||||||||||||||||||||||||||||||||||||||||||||||||||
|
1ж, 3б, 4а, 6б |
181 |
93,5 |
87,5 |
33,5 |
- |
156 |
|||||||||||||||||||||||||||||||||||||||||||||||||||
|
2а, 2в, 8е, 9а, 9в, 12е |
217 |
112 |
105 |
40,4 |
- |
156 |
|||||||||||||||||||||||||||||||||||||||||||||||||||
|
2б, 11а |
210 |
108 |
102 |
38,2 |
- |
156 |
|||||||||||||||||||||||||||||||||||||||||||||||||||
|
2г |
247 |
131 |
116 |
47,3 |
- |
156 |
|||||||||||||||||||||||||||||||||||||||||||||||||||
|
3а |
177 |
93,5 |
83,5 |
33,5 |
- |
156 |
|||||||||||||||||||||||||||||||||||||||||||||||||||
|
5б |
193 |
93,5 |
99,5 |
33,5 |
- |
156 |
|||||||||||||||||||||||||||||||||||||||||||||||||||
|
7а, 7б, 7г - 8б, 11б - 11е,12б |
204 |
108 |
96 |
38,2 |
- |
156 |
|||||||||||||||||||||||||||||||||||||||||||||||||||
|
7в, 8г |
208 |
108 |
100 |
38,2 |
- |
156 |
|||||||||||||||||||||||||||||||||||||||||||||||||||
|
8в, 8д, 9б |
214 |
112 |
102 |
40,4 |
- |
156 |
|||||||||||||||||||||||||||||||||||||||||||||||||||
|
10 |
226 |
122 |
104 |
43,8 |
- |
156 |
|||||||||||||||||||||||||||||||||||||||||||||||||||
|
12а, 12в |
200 |
108 |
92 |
38,2 |
- |
156 |
|||||||||||||||||||||||||||||||||||||||||||||||||||
|
12г, 12д |
207 |
112 |
95 |
40,4 |
- |
156 |
|||||||||||||||||||||||||||||||||||||||||||||||||||
|
б) фундаменты |
|||||||||||||||||||||||||||||||||||||||||||||||||||||||||
|
1a, 1б, 3в, 5а |
1540 |
92,1 |
22,5 |
6,75 |
1425,4 |
166 |
|||||||||||||||||||||||||||||||||||||||||||||||||||
|
1в, 4а, 6б |
1500 |
92,1 |
22,5 |
6,75 |
1385,4 |
166 |
|||||||||||||||||||||||||||||||||||||||||||||||||||
|
1г - 1е |
1580 |
92,1 |
22,5 |
6,75 |
1465,4 |
166 |
|||||||||||||||||||||||||||||||||||||||||||||||||||
|
1ж |
1350 |
92,1 |
22,5 |
6,75 |
1235,4 |
166 |
|||||||||||||||||||||||||||||||||||||||||||||||||||
|
2а, 12е |
1940 |
110 |
23,8 |
8,1 |
1806,2 |
166 |
|||||||||||||||||||||||||||||||||||||||||||||||||||
|
2б |
2050 |
106 |
23,5 |
7,76 |
1920,5 |
166 |
|||||||||||||||||||||||||||||||||||||||||||||||||||
|
2в |
2060 |
110 |
23,8 |
8,1 |
1926,2 |
166 |
|
||||||||||||||||||||||||||||||||||||||||||||||||||
|
2г |
2160 |
129 |
25,2 |
9,44 |
2005,8 |
166 |
|
||||||||||||||||||||||||||||||||||||||||||||||||||
|
3а |
1470 |
92,1 |
22,5 |
6,75 |
1355,4 |
166 |
|
||||||||||||||||||||||||||||||||||||||||||||||||||
|
3б |
1430 |
92,1 |
22,5 |
6,75 |
1315,4 |
166 |
|
||||||||||||||||||||||||||||||||||||||||||||||||||
|
3г |
1310 |
92,1 |
22,5 |
6,75 |
1195,4 |
166 |
|
||||||||||||||||||||||||||||||||||||||||||||||||||
|
4б |
1560 |
92,1 |
22,5 |
6,75 |
1445,4 |
166 |
|
||||||||||||||||||||||||||||||||||||||||||||||||||
|
5б |
1450 |
92,1 |
22,5 |
6,75 |
1335,4 |
166 |
|
||||||||||||||||||||||||||||||||||||||||||||||||||
|
6а, 6в |
1600 |
92,1 |
22,5 |
6,75 |
1485,4 |
166 |
|
||||||||||||||||||||||||||||||||||||||||||||||||||
|
7а - 7в |
1530 |
106 |
23,5 |
7,76 |
1400,5 |
166 |
|
||||||||||||||||||||||||||||||||||||||||||||||||||
|
7г, 12б |
1510 |
106 |
23,5 |
7,76 |
1380,5 |
166 |
|
||||||||||||||||||||||||||||||||||||||||||||||||||
|
8а |
1560 |
106 |
23,5 |
7,76 |
1430,5 |
166 |
|
||||||||||||||||||||||||||||||||||||||||||||||||||
|
8б |
1740 |
106 |
23,5 |
7,76 |
1610,5 |
166 |
|
||||||||||||||||||||||||||||||||||||||||||||||||||
|
8в |
1830 |
110 |
23,8 |
8,1 |
1696,2 |
166 |
|
||||||||||||||||||||||||||||||||||||||||||||||||||
|
8г |
2550 |
106 |
23,5 |
7,76 |
2420,5 |
166 |
|
||||||||||||||||||||||||||||||||||||||||||||||||||
|
8д, 9б |
1680 |
110 |
23,8 |
8,1 |
1546,2 |
166 |
|
||||||||||||||||||||||||||||||||||||||||||||||||||
|
8е |
2430 |
110 |
23,8 |
8,1 |
2296,2 |
166 |
|
||||||||||||||||||||||||||||||||||||||||||||||||||
|
9а, 9в |
1790 |
110 |
23,8 |
8,1 |
1656,2 |
166 |
|
||||||||||||||||||||||||||||||||||||||||||||||||||
|
10а, 10б |
1920 |
120 |
24,5 |
8,77 |
1775,5 |
166 |
|
||||||||||||||||||||||||||||||||||||||||||||||||||
|
10в |
1850 |
120 |
24,5 |
8,77 |
1705,5 |
166 |
|
||||||||||||||||||||||||||||||||||||||||||||||||||
|
11а |
1900 |
106 |
23,5 |
7,76 |
1770,5 |
166 |
|
||||||||||||||||||||||||||||||||||||||||||||||||||
|
11б - 11е |
1630 |
106 |
23,5 |
7,76 |
1500,5 |
166 |
|
||||||||||||||||||||||||||||||||||||||||||||||||||
|
12а |
1450 |
106 |
23,5 |
7,76 |
1320,5 |
166 |
|
||||||||||||||||||||||||||||||||||||||||||||||||||
|
12в |
1370 |
106 |
23,5 |
7,76 |
1240,5 |
166 |
|
||||||||||||||||||||||||||||||||||||||||||||||||||
|
12г |
1590 |
110 |
23,8 |
8,1 |
1456,2 |
166 |
|
||||||||||||||||||||||||||||||||||||||||||||||||||
|
12д |
1620 |
110 |
23,8 |
8,1 |
1486,2 |
166 |
|
||||||||||||||||||||||||||||||||||||||||||||||||||
|
в) ствол башни |
|
||||||||||||||||||||||||||||||||||||||||||||||||||||||||
|
1а, 1ж |
5240 |
549 |
91,4 |
28 |
4599,6 |
929 |
|
||||||||||||||||||||||||||||||||||||||||||||||||||
|
1б, 5а |
5530 |
549 |
91,4 |
28 |
4889,6 |
929 |
|
||||||||||||||||||||||||||||||||||||||||||||||||||
|
1в, 3в, 6в |
5720 |
549 |
91,4 |
28 |
5079,6 |
929 |
|
||||||||||||||||||||||||||||||||||||||||||||||||||
|
1г |
5440 |
549 |
91,4 |
28 |
4799,6 |
929 |
|
||||||||||||||||||||||||||||||||||||||||||||||||||
|
1д, 6а |
5890 |
549 |
91,4 |
28 |
5249,6 |
929 |
|
||||||||||||||||||||||||||||||||||||||||||||||||||
|
1е |
7380 |
549 |
91,4 |
28 |
6739,6 |
929 |
|
||||||||||||||||||||||||||||||||||||||||||||||||||
|
2а |
7110 |
659 |
97,1 |
33,6 |
6353,9 |
929 |
|
||||||||||||||||||||||||||||||||||||||||||||||||||
|
2б |
8330 |
632 |
95,6 |
32,2 |
7602,4 |
929 |
|
||||||||||||||||||||||||||||||||||||||||||||||||||
|
2в |
7790 |
659 |
97,1 |
33,6 |
7033,9 |
929 |
|
||||||||||||||||||||||||||||||||||||||||||||||||||
|
2г |
6640 |
769 |
108 |
39,3 |
5768 |
929 |
|
||||||||||||||||||||||||||||||||||||||||||||||||||
|
3а, 4а |
5150 |
549 |
91,4 |
28 |
4509,6 |
929 |
|
||||||||||||||||||||||||||||||||||||||||||||||||||
|
3б |
5350 |
549 |
91,4 |
28 |
4709,6 |
929 |
|
||||||||||||||||||||||||||||||||||||||||||||||||||
|
8г |
6640 |
549 |
91,4 |
28 |
5999,6 |
929 |
|
||||||||||||||||||||||||||||||||||||||||||||||||||
|
4б |
6380 |
549 |
91,4 |
28 |
5739,6 |
929 |
|
||||||||||||||||||||||||||||||||||||||||||||||||||
|
5б |
6740 |
549 |
91,4 |
28 |
6099,6 |
929 |
|
||||||||||||||||||||||||||||||||||||||||||||||||||
|
6б |
5940 |
549 |
91,4 |
28 |
5299,6 |
929 |
|
|||||||||||||||||||||||||||||||||||||||||||||||||||
|
7а, 11б, 11г |
6050 |
632 |
95,6 |
32,2 |
5322,4 |
929 |
|
|||||||||||||||||||||||||||||||||||||||||||||||||||
|
7б, 7г, 12а |
5560 |
632 |
95,6 |
32,2 |
4832,4 |
929 |
|
|||||||||||||||||||||||||||||||||||||||||||||||||||
|
7в |
6680 |
632 |
95,6 |
32,2 |
5952,4 |
929 |
|
|||||||||||||||||||||||||||||||||||||||||||||||||||
|
8а |
6270 |
632 |
95,6 |
32,2 |
5542,4 |
929 |
|
|||||||||||||||||||||||||||||||||||||||||||||||||||
|
8б |
6380 |
632 |
95,6 |
32,2 |
5652,4 |
929 |
|
|||||||||||||||||||||||||||||||||||||||||||||||||||
|
8в, 12е |
6280 |
659 |
97,1 |
33,6 |
5523,9 |
929 |
|
|||||||||||||||||||||||||||||||||||||||||||||||||||
|
8г |
7360 |
632 |
95,6 |
32,2 |
6632,4 |
929 |
|
|||||||||||||||||||||||||||||||||||||||||||||||||||
|
8д |
4940 |
659 |
97,1 |
33,6 |
4183,9 |
929 |
|
|||||||||||||||||||||||||||||||||||||||||||||||||||
|
8е |
5740 |
659 |
97,1 |
33,6 |
4983,9 |
929 |
|
|||||||||||||||||||||||||||||||||||||||||||||||||||
|
9а |
7220 |
659 |
97,1 |
33,6 |
6463,9 |
929 |
|
|||||||||||||||||||||||||||||||||||||||||||||||||||
|
9б |
5420 |
659 |
97,1 |
33,6 |
4663,9 |
929 |
|
|||||||||||||||||||||||||||||||||||||||||||||||||||
|
9в |
5800 |
659 |
97,1 |
33,6 |
5043,9 |
929 |
|
|||||||||||||||||||||||||||||||||||||||||||||||||||
|
10а, 10в |
7160 |
714 |
99,9 |
36,5 |
6346,1 |
929 |
|
|||||||||||||||||||||||||||||||||||||||||||||||||||
|
10б |
6810 |
714 |
99,9 |
36,5 |
5996,1 |
929 |
|
|||||||||||||||||||||||||||||||||||||||||||||||||||
|
11а |
6970 |
632 |
95,6 |
32,2 |
6242,4 |
929 |
|
|||||||||||||||||||||||||||||||||||||||||||||||||||
|
11в, 11е |
6500 |
632 |
95,6 |
32,2 |
5772,4 |
929 |
|
|||||||||||||||||||||||||||||||||||||||||||||||||||
|
11д |
6160 |
632 |
95,6 |
32,2 |
5432,4 |
929 |
|
|||||||||||||||||||||||||||||||||||||||||||||||||||
|
12б |
5470 |
632 |
95,6 |
32,2 |
4742,4 |
929 |
|
|||||||||||||||||||||||||||||||||||||||||||||||||||
|
12в |
6580 |
632 |
95,6 |
32,2 |
5852,4 |
929 |
|
|||||||||||||||||||||||||||||||||||||||||||||||||||
|
12г |
5980 |
659 |
97,1 |
33,6 |
5223,9 |
929 |
|
|||||||||||||||||||||||||||||||||||||||||||||||||||
|
12д |
6810 |
659 |
97,1 |
33,6 |
6053,9 |
929 |
|
|||||||||||||||||||||||||||||||||||||||||||||||||||
|
II. Монтаж металлоконструкций |
|
||||||||||||||||||||||||||||||||||||||||||||||||||||||||
|
1, 3, 5 |
4390 |
143 |
276 |
95,1 |
3971 |
227 |
|
||||||||||||||||||||||||||||||||||||||||||||||||||
|
2а, 2в, 8е, 12д |
4510 |
172 |
296 |
114 |
4042 |
227 |
|
||||||||||||||||||||||||||||||||||||||||||||||||||
|
2б |
4490 |
165 |
291 |
109 |
4034 |
227 |
|
||||||||||||||||||||||||||||||||||||||||||||||||||
|
2г |
4590 |
200 |
315 |
133 |
4075 |
227 |
|
||||||||||||||||||||||||||||||||||||||||||||||||||
|
4 |
4300 |
143 |
276 |
95,1 |
3881 |
227 |
|
||||||||||||||||||||||||||||||||||||||||||||||||||
|
6 |
4480 |
143 |
276 |
95,1 |
4061 |
227 |
|
||||||||||||||||||||||||||||||||||||||||||||||||||
|
7а - 8б, 8г, 11а - 12в |
4420 |
165 |
291 |
109 |
3964 |
227 |
|
||||||||||||||||||||||||||||||||||||||||||||||||||
|
8в, 8д, 12г, 12е |
4450 |
172 |
296 |
114 |
3982 |
227 |
|
||||||||||||||||||||||||||||||||||||||||||||||||||
|
9 |
4650 |
172 |
296 |
114 |
4182 |
227 |
|
||||||||||||||||||||||||||||||||||||||||||||||||||
|
10 |
5210 |
186 |
305 |
124 |
4719 |
227 |
|
||||||||||||||||||||||||||||||||||||||||||||||||||
|
III. Электромонтажные работы |
|
||||||||||||||||||||||||||||||||||||||||||||||||||||||||
|
(электроосвещение, КИП, автоматика и грозозащита) |
|
||||||||||||||||||||||||||||||||||||||||||||||||||||||||
|
1, 3 - 6 |
685 |
192 |
140 |
52,6 |
353 |
338 |
|
||||||||||||||||||||||||||||||||||||||||||||||||||
|
2а, 2в, 8в, 8д, 9, 12г, 12д |
737 |
230 |
150 |
63,1 |
357 |
338 |
|
||||||||||||||||||||||||||||||||||||||||||||||||||
|
2б, 7а - 8б, 8г, 11а - 12в |
723 |
220 |
148 |
60,4 |
355 |
338 |
|
||||||||||||||||||||||||||||||||||||||||||||||||||
|
2г |
809 |
268 |
161 |
73,6 |
380 |
338 |
|
||||||||||||||||||||||||||||||||||||||||||||||||||
|
8е |
785 |
230 |
150 |
63,1 |
405 |
338 |
|
||||||||||||||||||||||||||||||||||||||||||||||||||
|
10 |
784 |
249 |
155 |
68,3 |
380 |
338 |
|
||||||||||||||||||||||||||||||||||||||||||||||||||
|
12е |
764 |
230 |
150 |
63,1 |
384 |
338 |
|
||||||||||||||||||||||||||||||||||||||||||||||||||
|
IV. Монтаж технологических трубопроводов |
|
||||||||||||||||||||||||||||||||||||||||||||||||||||||||
|
1, 3 - 5 |
1460 |
263 |
72,3 |
26,5 |
1124,7 |
463 |
|
||||||||||||||||||||||||||||||||||||||||||||||||||
|
2а, 2в |
1500 |
315 |
77,6 |
31,8 |
1107,4 |
463 |
|
||||||||||||||||||||||||||||||||||||||||||||||||||
|
2б, 11 |
1500 |
302 |
76,3 |
30,5 |
1121,7 |
463 |
|
||||||||||||||||||||||||||||||||||||||||||||||||||
|
2г |
1620 |
368 |
82,9 |
37,1 |
1169,1 |
463 |
|
||||||||||||||||||||||||||||||||||||||||||||||||||
|
6 |
1480 |
263 |
72,3 |
26,5 |
1144,7 |
463 |
|
||||||||||||||||||||||||||||||||||||||||||||||||||
|
7а - 8б, 8г, 12а - 12з |
1520 |
302 |
76,3 |
30,5 |
1141,7 |
463 |
|
||||||||||||||||||||||||||||||||||||||||||||||||||
|
8в, 8д, 12г - 12е |
1630 |
315 |
77,6 |
31,8 |
1137,4 |
463 |
|
||||||||||||||||||||||||||||||||||||||||||||||||||
|
8е - 9в |
1590 |
315 |
77,6 |
31,8 |
1197,4 |
463 |
|
||||||||||||||||||||||||||||||||||||||||||||||||||
|
10 |
1710 |
341 |
80,2 |
34,5 |
1288,8 |
463 |
|
||||||||||||||||||||||||||||||||||||||||||||||||||

Рис. 7. Унифицированные водонапорные стальные башни заводского изготовления (системы Рожновского) вместимостью 15, 25, 60, 160 м3, высотой опоры 12, 16 и 18 м, типовой проект 901-6-29 (к ценам № 26-32)
Водонапорная стальная башня (системы Рожновского) с опорой диаметром 1220 мм, высотой 12 м, с баком вместимостью 15 м3
Измеритель - 1 башня
|
Районы |
Прямые затраты, руб. |
В том числе, руб. |
Затраты труда рабочих, чел.-ч. |
|
||||||||||
|
основная заработная плата рабочих |
эксплуатация машин |
материальные ресурсы |
|
|||||||||||
|
всего |
в том числе заработная плата рабочих, обслуживающих машины |
|
||||||||||||
|
1 |
2 |
3 |
4 |
5 |
6 |
7 |
|
|||||||
|
I. Строительные работы |
|
|||||||||||||
|
1а, 1в, 3в |
842 |
106 |
59,8 |
20 |
676,2 |
190 |
|
|||||||
|
1б, 4 |
861 |
106 |
59,8 |
20 |
695,2 |
190 |
|
|||||||
|
1г, 1е, 5а, 6а, 6в |
890 |
106 |
59,8 |
20 |
724,2 |
190 |
|
|||||||
|
1д, 6б |
874 |
106 |
59,8 |
20 |
708,2 |
190 |
|
|||||||
|
1ж, 3г |
813 |
106 |
59,8 |
20 |
647,2 |
190 |
|
|||||||
|
2а |
1010 |
128 |
63,8 |
24 |
818,2 |
190 |
|
|||||||
|
2б |
988 |
122 |
62,8 |
23 |
803,2 |
190 |
|
|||||||
|
2в, 8е |
1090 |
128 |
63,8 |
24 |
898,2 |
190 |
|
|||||||
|
2г |
1050 |
149 |
67,8 |
27,9 |
833,2 |
190 |
|
|||||||
|
3а, 3б |
829 |
106 |
59,8 |
20 |
663,2 |
190 |
|
|||||||
|
5б |
922 |
106 |
59,8 |
20 |
756,2 |
190 |
|
|||||||
|
7а, 12в |
907 |
122 |
62,8 |
23 |
722,2 |
190 |
|
|||||||
|
7б, 7г, 12а |
877 |
122 |
62,8 |
23 |
692,2 |
190 |
|
|||||||
|
7в |
888 |
122 |
62,8 |
23 |
703,2 |
190 |
|
|||||||
|
8а, 8б |
926 |
122 |
62,8 |
23 |
741,2 |
190 |
|
|||||||
|
8в |
972 |
128 |
63,8 |
24 |
780,2 |
190 |
|
|||||||
|
8г |
1100 |
122 |
62,8 |
23 |
915,2 |
190 |
|
|||||||
|
8д, 9б, 12г |
930 |
128 |
63,8 |
24 |
738,2 |
190 |
|
|||||||
|
9а |
958 |
128 |
63,8 |
24 |
766,2 |
190 |
|
|||||||
|
9в |
1050 |
128 |
63,8 |
24 |
858,2 |
190 |
|
|||||||
|
10а |
1040 |
138 |
65,8 |
25,9 |
836,2 |
190 |
|
|||||||
|
10б |
1080 |
138 |
65,8 |
25,9 |
876,2 |
190 |
|
|||||||
|
10в |
1090 |
138 |
65,8 |
25,9 |
886,2 |
190 |
|
|||||||
|
11а |
1110 |
122 |
62,8 |
23 |
925,2 |
190 |
|
|||||||
|
11б, 11е |
957 |
122 |
62,8 |
23 |
772,2 |
190 |
|
|||||||
|
11в |
971 |
122 |
62,8 |
23 |
786,2 |
190 |
|
|||||||
|
11г, 12б |
935 |
122 |
62,8 |
23 |
750,2 |
190 |
|
|||||||
|
11д |
947 |
122 |
62,8 |
23 |
762,2 |
190 |
|
|||||||
|
12д, 12е |
994 |
128 |
62,8 |
24 |
802,2 |
190 |
|
|||||||
|
В том числе: |
|
|||||||||||||
|
а) земляные работы |
|
|||||||||||||
|
1, 3 - 6 |
29,2 |
14 |
15,5 |
5,95 |
- |
23,4 |
|
|||||||
|
2а, 2в, 8в, 8д - 9в, 12г - 12е |
33,2 |
16,8 |
16,4 |
7,14 |
- |
23,4 |
|
|||||||
|
2б, 7а - 8б, 8г, 11а - 12в |
32,2 |
16,1 |
16,1 |
6,84 |
- |
23,4 |
|
|||||||
|
2г |
37,2 |
19,6 |
17,6 |
8,33 |
- |
23,4 |
|
|||||||
|
10 |
35,2 |
18,2 |
17 |
7,74 |
- |
23,4 |
|
|||||||
|
б) фундаменты |
|||||||||||||
|
1a, 1б, 3б, 5б |
286 |
23 |
6,82 |
2,06 |
256,18 |
41,4 |
|||||||
|
1в |
280 |
23 |
6,82 |
2,06 |
250,18 |
41,4 |
|||||||
|
1г - 1e |
306 |
23 |
6,82 |
2,06 |
276,18 |
41,4 |
|||||||
|
1ж |
266 |
23 |
6,82 |
2,06 |
236,18 |
41,4 |
|||||||
|
2а |
368 |
27,6 |
7,23 |
2,47 |
333,17 |
41,4 |
|||||||
|
2б |
385 |
26,4 |
7,13 |
2,36 |
351,47 |
41,4 |
|||||||
|
2в |
386 |
27,6 |
7,23 |
2,47 |
351,17 |
41,4 |
|||||||
|
2г |
392 |
32,2 |
7,64 |
2,88 |
352,16 |
41,4 |
|||||||
|
3а |
291 |
23 |
6,82 |
2,06 |
281,18 |
41,4 |
|||||||
|
3в, 4а, 6б |
296 |
23 |
6,82 |
2,06 |
266,18 |
41,4 |
|||||||
|
3г |
262 |
23 |
6,82 |
2,06 |
232,18 |
41,4 |
|||||||
|
4б, 5а |
300 |
23 |
6,82 |
2,06 |
270,18 |
41,4 |
|||||||
|
6а, 6в |
316 |
23 |
6,82 |
2,06 |
286,18 |
41,4 |
|||||||
|
7а - 7в |
294 |
26,4 |
7,13 |
2,36 |
260,47 |
41,4 |
|||||||
|
7г, 12в |
290 |
26,4 |
7,13 |
2,36 |
256,47 |
41,4 |
|||||||
|
8а |
304 |
26,4 |
7,13 |
2,36 |
270,47 |
41,4 |
|||||||
|
8б |
336 |
26,4 |
7,13 |
2,36 |
302,47 |
41,4 |
|||||||
|
8в, 9в |
347 |
27,6 |
7,23 |
2,47 |
312,17 |
41,4 |
|||||||
|
8г |
481 |
26,4 |
7,13 |
2,36 |
447,47 |
41,4 |
|||||||
|
8д, 9б |
325 |
27,6 |
7,23 |
2,47 |
290,17 |
41,4 |
|||||||
|
8е |
471 |
27,6 |
7,23 |
2,47 |
436,17 |
41,4 |
|||||||
|
9а |
343 |
27,6 |
7,23 |
2,47 |
308,17 |
41,4 |
|||||||
|
10а |
371 |
29,8 |
7,44 |
2,67 |
333,76 |
41,4 |
|||||||
|
10б |
378 |
29,8 |
7,44 |
2,67 |
340,76 |
41,4 |
|||||||
|
10в |
363 |
29,8 |
7,44 |
2,67 |
325,76 |
41,4 |
|||||||
|
11а |
366 |
26,4 |
7,13 |
2,36 |
332,47 |
41,4 |
|||||||
|
11б - 11е |
320 |
26,4 |
7,13 |
2,36 |
286,47 |
41,4 |
|||||||
|
12а |
284 |
26,4 |
7,13 |
2,36 |
250,47 |
41,4 |
|||||||
|
12б |
298 |
26,4 |
7,13 |
2,36 |
264,47 |
41,4 |
|||||||
|
12г |
308 |
27,6 |
7,23 |
2,47 |
273,17 |
41,4 |
|||||||
|
12д |
318 |
27,6 |
7,23 |
2,47 |
283,17 |
41,4 |
|||||||
|
12е |
360 |
27,6 |
7,23 |
2,47 |
325,17 |
41,4 |
|||||||
|
в) укрепление обвалования дерном |
|||||||||||||
|
1а, 1б, 1г - 1е, 4б, 5б, 6б |
56,6 |
22,1 |
0,12 |
0,02 |
34,38 |
43,9 |
|||||||
|
1в, 3а |
53,5 |
22,1 |
0,12 |
0,02 |
31,28 |
43,9 |
|||||||
|
1ж, 3б |
55,5 |
22,1 |
0,12 |
0,02 |
33,28 |
43,9 |
|||||||
|
2а, 2в |
65,1 |
26,5 |
0,13 |
0,03 |
38,47 |
43,9 |
|||||||
|
2б, 8а, 8г, 11а, 12в |
64 |
25,4 |
0,13 |
0,03 |
38,47 |
43,9 |
|
|||||||
|
2г |
83,8 |
30,9 |
0,13 |
0,03 |
52,77 |
43,9 |
|
|||||||
|
3в, 4а |
54,5 |
22,1 |
0,12 |
0,02 |
32,28 |
43,9 |
|
|||||||
|
3г, 6а, 6в |
57,9 |
22,1 |
0,12 |
0,02 |
35,68 |
43,9 |
|
|||||||
|
5а |
60,5 |
22,1 |
0,12 |
0,02 |
38,28 |
43,9 |
|
|||||||
|
7а, 7б, 7г, 11г - 12а |
61 |
25,4 |
0,13 |
0,03 |
35,47 |
43,9 |
|
|||||||
|
7в |
64,9 |
25,4 |
0,13 |
0,03 |
39,37 |
43,9 |
|
|||||||
|
8б |
63 |
25,4 |
0,13 |
0,03 |
37,47 |
43,9 |
|
|||||||
|
8в |
66,5 |
26,5 |
0,13 |
0,03 |
39,87 |
43,9 |
|
|||||||
|
8д, 9б, 9в, 12г |
63,3 |
26,5 |
0,13 |
0,03 |
36,67 |
43,9 |
|
|||||||
|
8е, 9а, 12д |
64,2 |
26,5 |
0,13 |
0,03 |
37,57 |
43,9 |
|
|||||||
|
10 |
67,6 |
28,7 |
0,13 |
0,03 |
38,77 |
43,9 |
|
|||||||
|
11б, 11в |
58,8 |
25,4 |
0,13 |
0,03 |
33,27 |
43,9 |
|
|||||||
|
12б |
62,1 |
25,4 |
0,13 |
0,03 |
36,57 |
43,9 |
|
|||||||
|
12е |
76,9 |
26,5 |
0,13 |
0,03 |
50,27 |
43,9 |
|
|||||||
|
II. Монтаж металлоконструкций |
|
|||||||||||||
|
1, 3 - 5 |
291 |
37,5 |
86,7 |
29,3 |
166,8 |
57,4 |
|
|||||||
|
2а, 2в, 8в, 8д, 8е, 12г - 12е |
307 |
45 |
92,6 |
35,2 |
169,4 |
57,4 |
|
|||||||
|
2б, 7а - 8б, 8г, 11а - 12в |
303 |
43,1 |
91,1 |
33,8 |
168,8 |
57,4 |
|
|||||||
|
2г |
322 |
52,5 |
98,5 |
41,1 |
171 |
57,4 |
|
|||||||
|
6 |
295 |
37,5 |
86,7 |
29,3 |
170,8 |
57,4 |
|
|||||||
|
9 |
311 |
45 |
92,6 |
35,2 |
173,4 |
57,4 |
|
|||||||
|
10 |
332 |
48,7 |
95,5 |
38,2 |
187,8 |
57,4 |
|
|||||||
|
III. Электромонтажные работы |
|
|||||||||||||
|
(монтаж оборудования, КИП и автоматики) |
|
|||||||||||||
|
1, 4 - 6 |
13,4 |
5,66 |
1,3 |
0,5 |
6,44 |
9,62 |
|
|||||||
|
2а, 2в, 8в, 8д, 9, 12г, 12д |
14,7 |
6,79 |
1,4 |
0,61 |
6,51 |
9,62 |
|
|||||||
|
2б, 8а, 8б, 8г, 11а - 12в |
14,4 |
6,5 |
1,38 |
0,58 |
6,52 |
9,62 |
|
|||||||
|
2г |
16,2 |
7,92 |
1,5 |
0,71 |
6,78 |
9,62 |
|
|||||||
|
3 |
13,5 |
5,66 |
1,3 |
0,5 |
6,54 |
9,62 |
|
|||||||
|
7 |
14,2 |
6,5 |
1,38 |
0,58 |
6,32 |
9,62 |
|
|||||||
|
8е |
15,4 |
6,79 |
1,4 |
0,61 |
7,21 |
9,62 |
|
|||||||
|
10 |
15,6 |
7,35 |
1,45 |
0,66 |
6,8 |
9,62 |
|
|||||||
|
12е |
151 |
6,79 |
1,4 |
0,61 |
6,91 |
9,62 |
|
|||||||
|
IV. Монтаж технологических трубопроводов |
|
|||||||||||||
|
1, 3 - 5 |
275 |
30,6 |
4,84 |
1,98 |
239,56 |
53,9 |
|
|||||||
|
2а, 2в |
279 |
36,7 |
5,24 |
2,38 |
237,06 |
53,9 |
|
|||||||
|
2б, 11 |
279 |
35,2 |
5,14 |
2,28 |
238,66 |
53,9 |
|
|||||||
|
2г |
298 |
42,8 |
5,63 |
2,77 |
249,57 |
53,9 |
|
|||||||
|
6 |
280 |
30,6 |
4,84 |
1,98 |
244,56 |
53,9 |
|
|||||||
|
7а - 8б, 8г, 12а - 12в |
283 |
35,2 |
514 |
2,28 |
242,66 |
53,9 |
|
|||||||
|
8в, 8д, 12г - 12е |
285 |
36,7 |
5,24 |
2,38 |
243,06 |
53,9 |
|
|||||||
|
8е - 9в |
297 |
36,7 |
5,24 |
2,38 |
255,06 |
53,9 |
|
|||||||
|
10 |
320 |
39,8 |
5,43 |
2,57 |
274,77 |
53,9 |
|
|||||||
|
РАЙОННАЯ ЦЕНА № 27 |
|
|||||||||||||
|
Водонапорная стальная башня (системы Рожновского) с опорой диаметром 1220 мм, высотой 12 м, с баком вместимостью 25 м3 |
|
|||||||||||||
|
Измеритель - 1 башня |
|
|||||||||||||
|
I. Строительные работы |
|
|||||||||||||
|
1а, 1в, 3в |
997 |
136 |
63,7 |
21,1 |
797,3 |
240 |
|
|||||||
|
1б, 4, 6б |
1020 |
136 |
63,7 |
21,1 |
820,3 |
240 |
|
|||||||
|
1г - 1e, 5а, 6а, 6в |
1050 |
136 |
63,7 |
21,1 |
850,3 |
240 |
|
|||||||
|
1ж, 3г |
951 |
136 |
63,7 |
21,1 |
751,3 |
240 |
|
|||||||
|
2а |
1210 |
163 |
67,9 |
25,4 |
979,1 |
240 |
|
|||||||
|
2б |
1200 |
156 |
66,8 |
24,3 |
977,2 |
240 |
|
|||||||
|
2в |
1300 |
163 |
67,9 |
25,4 |
1069,1 |
240 |
|
|||||||
|
2г |
1270 |
190 |
72,1 |
29,6 |
1007,9 |
240 |
|
|||||||
|
3а, 3б |
981 |
136 |
63,7 |
21,1 |
781,8 |
240 |
|
|||||||
|
5б |
1070 |
136 |
63,7 |
21,1 |
870,3 |
240 |
|
|||||||
|
7а, 12в |
1060 |
156 |
66,8 |
24,3 |
837,2 |
240 |
|
|||||||
|
7б - 7г, 12а |
1040 |
156 |
66,8 |
24,3 |
817,2 |
240 |
|
|||||||
|
8а, 12б |
1090 |
156 |
66,8 |
24,3 |
867,2 |
240 |
|
|||||||
|
8б, 11г, 11д |
1110 |
156 |
66,8 |
24,3 |
887,2 |
240 |
|
|||||||
|
8в, 12д |
1160 |
163 |
67,9 |
25,4 |
929,1 |
240 |
|
|||||||
|
8г |
1360 |
156 |
66,8 |
24,3 |
1137,2 |
240 |
|
|||||||
|
8д, 9б |
1110 |
163 |
67,9 |
25,4 |
879,1 |
240 |
|
|||||||
|
8е |
1850 |
163 |
67,9 |
25,4 |
1119,1 |
240 |
|
|||||||
|
9а |
1140 |
163 |
67,9 |
25,4 |
909,1 |
240 |
|
|||||||
|
9в |
1240 |
163 |
67,9 |
25,4 |
1009,1 |
240 |
|
|||||||
|
10а |
1240 |
176 |
70 |
27,5 |
994 |
240 |
|
|||||||
|
10б, 10в |
1280 |
176 |
70 |
27,5 |
1034 |
240 |
|
|||||||
|
11а |
1310 |
156 |
66,8 |
24,3 |
1087,2 |
240 |
|
|||||||
|
11б, 11в, 11e |
1140 |
156 |
66,8 |
24,3 |
917,2 |
240 |
|
|||||||
|
12г |
1090 |
163 |
67,9 |
25,4 |
859,1 |
240 |
|
|||||||
|
12е |
1190 |
163 |
67,9 |
25,4 |
959,1 |
240 |
|
|||||||
|
В том числе. |
|
|||||||||||||
|
а) земляные работы |
|
|||||||||||||
|
1, 3 - 6 |
47,2 |
32 |
15,2 |
5,95 |
- |
53,4 |
|
|||||||
|
2а, 2в, 8в, 8д - 9в, 12г - 12е |
54,8 |
38,4 |
16,4 |
7,14 |
- |
53,4 |
|
|||||||
|
2б, 7а - 8б, 8г, 11а - 12в |
52,9 |
36,8 |
16,1 |
6,84 |
- |
53,4 |
|
|||||||
|
2г |
62,4 |
44,8 |
17,6 |
8,33 |
- |
53,4 |
|
|||||||
|
10 |
58,6 |
41,6 |
17 |
7,74 |
- |
53,4 |
|
|||||||
|
б) фундаменты |
|
|||||||||||||
|
1а, 1б, 3а, 3в |
422 |
32,6 |
10,5 |
3,17 |
378,9 |
59 |
|
|||||||
|
1в, 3б, 5б |
410 |
32,6 |
10,5 |
3,17 |
366,9 |
59 |
|
|||||||
|
1г - 1е |
443 |
32,6 |
10,5 |
3,17 |
399,9 |
59 |
|
|||||||
|
1ж |
380 |
32,6 |
10,5 |
3,17 |
336,9 |
59 |
|
|||||||
|
2а |
538 |
39,1 |
11,2 |
3,81 |
487,7 |
59 |
|
|||||||
|
2б |
566 |
37,5 |
11 |
3,65 |
517,5 |
59 |
|
|||||||
|
2в |
567 |
39,1 |
11,2 |
3,81 |
516,7 |
59 |
|
|||||||
|
2г |
571 |
45,6 |
11,8 |
4,44 |
513,6 |
59 |
|
|||||||
|
3г |
373 |
32,6 |
10,5 |
3,17 |
329,9 |
59 |
|
|||||||
|
4а, 6б |
427 |
32,6 |
10,5 |
3,17 |
383,9 |
59 |
|
|||||||
|
4б, 5а |
433 |
32,6 |
10,5 |
3,17 |
383,9 |
59 |
|
|||||||
|
6а, 6в |
457 |
32,6 |
10,5 |
3,17 |
413,9 |
59 |
|
|||||||
|
7а - 7в |
423 |
37,5 |
11 |
3,65 |
374,5 |
59 |
|
|||||||
|
7г, 12в |
418 |
37,5 |
11 |
3,65 |
369,5 |
59 |
|
|||||||
|
8а |
439 |
37,5 |
11 |
3,65 |
390,5 |
59 |
|
|||||||
|
8б |
488 |
37,5 |
11 |
3,65 |
439,5 |
59 |
|
|||||||
|
8в, 9в |
506 |
39,1 |
11,2 |
3,81 |
455,7 |
59 |
|
|||||||
|
8г |
715 |
37,5 |
11 |
3,65 |
666,5 |
59 |
|
|||||||
|
8д, 9б |
470 |
39,1 |
11,2 |
3,81 |
419,7 |
59 |
|
|||||||
|
8е |
697 |
39,1 |
11,2 |
3,81 |
646,7 |
59 |
|
|||||||
|
9а |
500 |
39,1 |
11,2 |
3,81 |
449,7 |
59 |
|
|||||||
|
10а |
540 |
42,4 |
11,5 |
4,12 |
486,1 |
59 |
|
|||||||
|
10б |
552 |
42,4 |
11,5 |
4,12 |
498,1 |
59 |
|
|||||||
|
10в |
529 |
42,4 |
11,5 |
4,12 |
475,1 |
59 |
|
|||||||
|
11а |
536 |
37,5 |
11 |
3,65 |
487,5 |
59 |
|
|||||||
|
11б - 11е |
464 |
37,5 |
11 |
3,65 |
415,5 |
59 |
|
|||||||
|
12а |
408 |
37,5 |
11 |
3,65 |
359,5 |
59 |
|
|||||||
|
12б |
430 |
37,5 |
11 |
3,65 |
381,5 |
59 |
|
|||||||
|
12г |
444 |
39,1 |
11,2 |
3,81 |
393,7 |
59 |
|
|||||||
|
12д |
458 |
39,1 |
11,2 |
3,81 |
407,7 |
59 |
|
|||||||
|
12е |
523 |
39,1 |
11,2 |
3,81 |
472,7 |
59 |
|
|||||||
|
в) укрепление обвалования дерном |
|
|||||||||||||
|
1а, 1б, 1г - 1е, 4б, 5б, 6б |
56,5 |
22,1 |
0,12 |
0,02 |
34,38 |
43,9 |
|
|||||||
|
1в, 3а |
53,5 |
22,1 |
0,12 |
0,02 |
31,28 |
43,9 |
|
|||||||
|
1ж, 3б |
55,5 |
22,1 |
0,12 |
0,02 |
33,28 |
43,9 |
|
|||||||
|
2а, 2в |
65,1 |
26,5 |
0,13 |
0,03 |
38,47 |
43,9 |
|
|||||||
|
2б, 8а, 8г, 11а, 12в |
64 |
25,4 |
0,13 |
0,03 |
38,47 |
43,9 |
|
|||||||
|
2г |
83,8 |
30,9 |
0,13 |
0,03 |
52,77 |
43,9 |
|
|||||||
|
3в, 4а |
54,5 |
22,1 |
0,12 |
0,02 |
32,28 |
43,9 |
|
|||||||
|
3г, 6а, 6в |
57,9 |
22,1 |
0,12 |
0,02 |
35,68 |
43,9 |
|
|||||||
|
5а |
60,5 |
22,1 |
0,12 |
0,02 |
38,28 |
43,9 |
|
|||||||
|
7а, 7б, 7г, 11г - 12а |
61 |
25,4 |
0,13 |
0,03 |
35,47 |
43,9 |
|
|||||||
|
7в |
64,9 |
25,4 |
0,13 |
0,03 |
39,37 |
43,9 |
|
|||||||
|
8б |
63 |
25,4 |
0,13 |
0,03 |
37,47 |
43,9 |
|
|||||||
|
8в |
66,5 |
26,5 |
0,13 |
0,03 |
39,87 |
43,9 |
|
|||||||
|
8д, 9б, 9в, 12г |
63,3 |
26,5 |
0,13 |
0,03 |
36,67 |
43,9 |
|
|||||||
|
8е, 9а, 12д |
64,2 |
26,5 |
0,13 |
0,03 |
37,57 |
43,9 |
|
|||||||
|
10 |
67,6 |
28,7 |
0,13 |
0,03 |
38,77 |
43,9 |
|
|||||||
|
11б, 11в |
58,8 |
25,4 |
0,13 |
0,03 |
33,27 |
43,9 |
|
|||||||
|
12б |
62,1 |
25,4 |
0,13 |
0,03 |
36,57 |
43,9 |
|
|||||||
|
12е |
76,9 |
26,5 |
0,13 |
0,03 |
50,27 |
43,9 |
|
|||||||
|
II. Монтаж металлоконструкций |
|
|||||||||||||
|
1, 3 - 6 |
381 |
51,8 |
128 |
40,5 |
209,2 |
79 |
|
|||||||
|
2а, 2в, 8в, 8д, 8е, 12г - 12е |
401 |
62,2 |
128 |
48,6 |
210,8 |
79 |
|
|||||||
|
2б, 7а - 8б, 8г, 11а - 12в |
396 |
59,6 |
126 |
46,5 |
210,4 |
79 |
|
|||||||
|
2г |
422 |
72,5 |
136 |
56,7 |
213,5 |
79 |
|
|||||||
|
9 |
407 |
62,2 |
128 |
48,6 |
216,8 |
79 |
|
|||||||
|
10 |
433 |
67,4 |
132 |
52,6 |
233,6 |
79 |
|
|||||||
|
III. Электромонтажные работы |
|
|||||||||||||
|
(монтаж оборудования, КИП и автоматики) |
|
|||||||||||||
|
1, 4 - 6 |
13,4 |
5,66 |
1,3 |
0,5 |
6,44 |
9,62 |
|
|||||||
|
2а, 2в, 8в, 8д, 9, 12г, 12д |
14,7 |
6,79 |
1,4 |
0,61 |
6,51 |
9,62 |
|
|||||||
|
2б, 8а, 8б, 8г, 11а - 12в |
14,4 |
6,5 |
1,38 |
0,58 |
6,52 |
9,62 |
|
|||||||
|
2г |
16,2 |
7,92 |
1,5 |
0,71 |
6,78 |
9,62 |
|
|||||||
|
3 |
13,5 |
5,66 |
1,3 |
0,5 |
6,54 |
9,62 |
|
|||||||
|
7 |
14,2 |
6,5 |
1,38 |
0,58 |
6,32 |
9,62 |
|
|||||||
|
8е |
15,4 |
6,79 |
1,4 |
0,61 |
7,21 |
9,62 |
|
|||||||
|
10 |
15,6 |
7,35 |
1,45 |
0,66 |
6,8 |
9,62 |
|
|||||||
|
12е |
15,1 |
6,79 |
1,4 |
0,61 |
6,91 |
9,62 |
|
|||||||
|
IV. Монтаж технологических трубопроводов |
|
|||||||||||||
|
1, 3 - 5 |
275 |
30,6 |
4,84 |
1,98 |
239,56 |
53,9 |
|
|||||||
|
2а, 2в |
279 |
36,7 |
5,24 |
2,38 |
237,06 |
53,9 |
|
|||||||
|
2б, 11 |
279 |
35,2 |
5,14 |
2,28 |
238,66 |
53,9 |
|
|||||||
|
2г |
298 |
42,8 |
5,63 |
2,77 |
249,57 |
53,9 |
|
|||||||
|
6 |
280 |
30,6 |
4,84 |
1,98 |
244,56 |
53,9 |
|
|||||||
|
7а - 8б, 8г, 12а - 12в |
283 |
35,2 |
5,14 |
2,28 |
242,66 |
53,9 |
|
|||||||
|
8в, 8д, 12г - 12е |
285 |
36,7 |
5,24 |
2,38 |
243,06 |
53,9 |
|
|||||||
|
8е - 9в |
297 |
36,7 |
5,24 |
2,38 |
255,06 |
53,9 |
|
|||||||
|
10 |
320 |
39,8 |
5,43 |
2,57 |
274,77 |
53,9 |
|
|||||||
|
РАЙОННАЯ ЦЕНА № 28 |
|
|||||||||||||
|
Водонапорная стальная башня (системы Рожновского) с опорой диаметром 1220 мм, высотой 15 м, с баком вместимостью 25 м3 |
|
|||||||||||||
|
Измеритель - 1 башня |
|
|||||||||||||
|
I. Строительные работы |
|
|||||||||||||
|
1а, 1в, 3в |
1000 |
137 |
63,8 |
21,2 |
799,2 |
242 |
|
|||||||
|
1б, 4, 6б |
1030 |
137 |
63,8 |
21,2 |
829,2 |
242 |
|
|||||||
|
1г - 1е, 5a, 6a |
1060 |
137 |
63,8 |
21,2 |
859,2 |
242 |
|
|||||||
|
1ж, 3г |
957 |
137 |
63,8 |
21,2 |
756,2 |
242 |
|
|||||||
|
2а |
1220 |
164 |
68 |
25,4 |
988 |
242 |
|
|||||||
|
2б |
1200 |
157 |
67 |
24,3 |
976 |
242 |
|
|||||||
|
2в |
1310 |
164 |
68 |
25,4 |
1078 |
242 |
|
|||||||
|
2г |
1270 |
192 |
72,3 |
29,6 |
1005,7 |
242 |
|
|||||||
|
3а, 3б |
987 |
137 |
63,8 |
21,2 |
786,2 |
242 |
|
|||||||
|
5б, 6в |
1070 |
137 |
63,8 |
21,2 |
869,2 |
242 |
|
|||||||
|
7а, 12в |
1070 |
157 |
67 |
24,3 |
846 |
242 |
|
|||||||
|
7б - 7г, 12а |
1040 |
157 |
67 |
24,3 |
816 |
242 |
|
|||||||
|
8а, 12б |
1100 |
157 |
67 |
24,3 |
876 |
242 |
|
|||||||
|
8б, 11г, 11д |
1120 |
157 |
67 |
24,3 |
896 |
242 |
|
|||||||
|
8в, 12д |
1170 |
164 |
68 |
25,4 |
938 |
242 |
|
|||||||
|
8г |
1370 |
157 |
67 |
24,3 |
1146 |
242 |
|
|||||||
|
8д, 9б |
1120 |
164 |
68 |
25,4 |
888 |
242 |
|
|||||||
|
8е |
1360 |
1164 |
68 |
25,4 |
1128 |
242 |
|
|||||||
|
9а |
1150 |
164 |
68 |
25,4 |
918 |
242 |
|
|||||||
|
9в |
1250 |
164 |
68 |
25,4 |
1018 |
242 |
|
|||||||
|
10а |
1240 |
178 |
70,1 |
27,5 |
991,9 |
242 |
|
|||||||
|
10б, 10в |
1290 |
178 |
70,1 |
27,5 |
1041,9 |
242 |
|
|||||||
|
11а |
1320 |
157 |
67 |
24,3 |
1096 |
242 |
|
|||||||
|
11б, 11в, 11е |
1140 |
157 |
67 |
24,3 |
916 |
242 |
|
|||||||
|
12г |
1100 |
164 |
68 |
25,4 |
868 |
242 |
|
|||||||
|
12е |
1200 |
164 |
68 |
25,4 |
968 |
242 |
|
|||||||
|
В том числе: |
|
|||||||||||||
|
а) земляные работы |
|
|||||||||||||
|
1, 3 - 6 |
47,2 |
32 |
15,2 |
5,95 |
- |
53,4 |
|
|||||||
|
2а, 2в, 8в, 8д - 9в, 12г - 12е |
54,8 |
38,4 |
16,4 |
7,14 |
- |
53,4 |
|
|||||||
|
2б, 7а - 8б, 8г, 11а - 12в |
52,9 |
36,8 |
16,1 |
6,84 |
- |
53,4 |
|
|||||||
|
2г |
62,4 |
44,8 |
17,6 |
8,33 |
- |
53,4 |
|
|||||||
|
10 |
58,6 |
41,6 |
17 |
7,74 |
- |
53,4 |
|
|||||||
|
б) фундаменты |
|
|||||||||||||
|
1а, 1б, 3а, 3в |
422 |
32,6 |
10,5 |
3,17 |
378,9 |
59 |
|
|||||||
|
1в, 3б, 5б |
410 |
32,6 |
10,5 |
3,17 |
366,9 |
59 |
|
|||||||
|
1г - 1е |
443 |
32,6 |
10,5 |
3,17 |
399,9 |
59 |
|
|||||||
|
1ж |
380 |
32,6 |
10,5 |
3,17 |
336,9 |
59 |
|
|||||||
|
2а |
538 |
39,1 |
11,2 |
3,81 |
487,7 |
59 |
|
|||||||
|
2б |
566 |
37,5 |
11 |
3,65 |
517,5 |
59 |
|
|||||||
|
2в |
567 |
39,1 |
11,2 |
3,81 |
516,7 |
59 |
|
|||||||
|
2г |
571 |
45,6 |
11,8 |
4,44 |
513,6 |
59 |
|
|||||||
|
3г |
373 |
32,6 |
10,5 |
3,17 |
329,9 |
59 |
|
|||||||
|
4а, 6б |
427 |
32,6 |
10,5 |
3,17 |
383,9 |
59 |
|
|||||||
|
4б, 5а |
433 |
32,6 |
10,5 |
3,17 |
389,9 |
59 |
|
|||||||
|
6а, 6в |
457 |
32,6 |
10,5 |
3,17 |
413,9 |
59 |
|
|||||||
|
7а - 7в |
423 |
37,5 |
11 |
3,65 |
374,5 |
59 |
|
|||||||
|
7г, 12в |
418 |
37,5 |
11 |
3,65 |
369,5 |
59 |
|
|||||||
|
8а |
439 |
37,5 |
11 |
3,65 |
390,5 |
59 |
|
|||||||
|
8б |
488 |
37,5 |
11 |
3,65 |
439,5 |
59 |
|
|||||||
|
8в, 9в |
506 |
39,1 |
11,2 |
3,81 |
455,7 |
59 |
|
|||||||
|
8г |
715 |
37,5 |
11 |
3,65 |
666,5 |
59 |
|
|||||||
|
8д, 9б |
470 |
39,1 |
11,2 |
3,81 |
419,7 |
59 |
|
|||||||
|
8е |
697 |
39,1 |
11,2 |
3,81 |
646,7 |
59 |
|
|||||||
|
9а |
500 |
39,1 |
11,2 |
3,81 |
449,7 |
59 |
|
|||||||
|
10а |
540 |
42,4 |
11,5 |
4,12 |
486,1 |
59 |
|
|||||||
|
10б |
552 |
42,4 |
11,5 |
4,12 |
498,1 |
59 |
|
|||||||
|
10в |
529 |
42,4 |
11,5 |
4,12 |
475,1 |
59 |
|
|||||||
|
11а |
536 |
37,5 |
11 |
3,65 |
487,5 |
59 |
|
|||||||
|
11б - 11е |
464 |
37,5 |
11 |
3,65 |
415,5 |
59 |
|
|||||||
|
12а |
408 |
37,5 |
11 |
3,65 |
359,5 |
59 |
|
|||||||
|
12б |
430 |
37,5 |
11 |
3,65 |
381,5 |
59 |
|
|||||||
|
12г |
444 |
39,1 |
11,2 |
3,81 |
393,7 |
59 |
|
|||||||
|
12д |
458 |
39,1 |
11,2 |
3,81 |
407,7 |
59 |
|
|||||||
|
12е |
523 |
39,1 |
11,2 |
3,81 |
472,7 |
59 |
|
|||||||
|
в) укрепление обвалования дерном |
|
|||||||||||||
|
1а, 1б, 1г - 1е,4б, 5б, 6б |
56,6 |
22,1 |
0,12 |
0,02 |
34,38 |
43,9 |
|
|||||||
|
1в, 3а |
53,5 |
22,1 |
0,12 |
0,02 |
31,28 |
43,9 |
|
|||||||
|
1ж, 3б |
55,5 |
22,1 |
0,12 |
0,02 |
33,28 |
43,9 |
|
|||||||
|
2а, 2в |
65,1 |
26,5 |
0,13 |
0,03 |
38,47 |
43,9 |
|
|||||||
|
2б, 8а, 8г, 11а, 12в |
64 |
25,4 |
0.13 |
0,03. |
38,47 |
43,9 |
|
|||||||
|
2г |
83,8 |
30,9 |
0,13 |
0,03 |
52,77 |
43,9 |
|
|||||||
|
3в, 4а |
54,5 |
22,1 |
0,12 |
0,02 |
32,28 |
43,9 |
|
|||||||
|
3г, 6а, 6в |
57,9 |
22,1 |
0,12 |
0,02 |
35,68 |
43,9 |
|
|||||||
|
5а |
60,5 |
22,1 |
0,12 |
0,02 |
38,28 |
43,9 |
|
|||||||
|
7а, 7б, 7г, 11г - 12а |
61 |
25,4 |
0,13 |
0,03 |
35,47 |
43,9 |
|
|||||||
|
7в |
64,9 |
25,4 |
0,13 |
0,03 |
39,37 |
43,9 |
|
|||||||
|
8б |
63 |
25,4 |
0,13 |
0,03 |
37,47 |
43,9 |
|
|||||||
|
8в |
66,5 |
26,5 |
0,13 |
0,03 |
39,87 |
43,9 |
|
|||||||
|
8д, 9б, 9в, 12г |
63,3 |
26,5 |
0,13 |
0,03 |
36,67 |
43,9 |
|
|||||||
|
8е, 9а, 12д |
64,2 |
26,5 |
0,13 |
0,03 |
37,57 |
43,9 |
|
|||||||
|
10 |
67,6 |
28,7 |
0,13 |
0,03 |
38,77 |
43,9 |
|
|||||||
|
11б, 11в |
58,8 |
25,4 |
0,13 |
0,03 |
33,27 |
43,9 |
|
|||||||
|
12б |
62,1 |
25,4 |
0,13 |
003 |
36,57 |
43,9 |
|
|||||||
|
12е |
76,9 |
26,5 |
0,13 |
0,03 |
50,27 |
43,9 |
|
|||||||
|
II. Монтаж металлоконструкций |
|
|||||||||||||
|
1, 3 - 6 |
431 |
59,3 |
137 |
46,3 |
234,7 |
90,6 |
|
|||||||
|
2а, 2в, 8в, 8д, 8е, 12г - 12е |
454 |
71,2 |
146 |
55,6 |
236,8 |
90,6 |
|
|||||||
|
2б, 7а - 8б, 8г, 11а - 12в |
448 |
68,2 |
144 |
53,3 |
236,8 |
90,6 |
|
|||||||
|
2г |
477 |
83,1 |
156 |
64,8 |
237,9 |
90,6 |
|
|||||||
|
9 |
460 |
71,2 |
146 |
55,6 |
242,8 |
90,6 |
|
|||||||
|
10 |
489 |
77,1 |
151 |
60,2 |
260,9 |
90,6 |
|
|||||||
|
III. Электромонтажные работы |
|
|||||||||||||
|
(монтаж оборудования, КИП и автоматики) |
|
|||||||||||||
|
1, 4 - 6 |
13,4 |
5,66 |
1,3 |
0,5 |
6,44 |
9,62 |
|
|||||||
|
2а, 2в, 8в, 8д, 9, 12г, 12д |
14,7 |
6,79 |
1,4 |
0,61 |
6,51 |
9,62 |
|
|||||||
|
2б, 8а, 8б, 8г, 11а - 12в |
14,4 |
6,5 |
1,38 |
0,58 |
6,52 |
9,62 |
|
|||||||
|
2г |
16,2 |
7,92 |
5 |
0,71 |
6,78 |
9,62 |
|
|||||||
|
3 |
13,5 |
5,66 |
3 |
0,5 |
6,54 |
9,62 |
|
|||||||
|
7 |
14,2 |
6,5 |
38 |
0,58 |
6,32 |
9,62 |
|
|||||||
|
8е |
15,4 |
6,79 |
4 |
0,61 |
7,21 |
9,62 |
|
|||||||
|
10 |
15,6 |
7,35 |
45 |
0,66 |
6,8 |
9,62 |
|
|||||||
|
12е |
15,1 |
6,79 |
4 |
0,61 |
6,91 |
9,62 |
|
|||||||
|
IV. Монтаж технологических трубопроводов |
|
|||||||||||||
|
1, 3 - 5 |
275 |
30,6 |
4,84 |
1,98 |
239,56 |
53,9 |
|
|||||||
|
2а, 2в |
279 |
36,7 |
5,24 |
2,38 |
237,06 |
53,9 |
|
|||||||
|
2б, 11 |
279 |
35,2 |
5,14 |
2,28 |
238,66 |
53,9 |
|
|||||||
|
2г |
298 |
42,8 |
5,63 |
2,77 |
249,57 |
53,9 |
|
|||||||
|
6 |
280 |
30,6 |
4,84 |
1,98 |
244,56 |
53,9 |
|
|||||||
|
7а - 8б, 8г, 12а - 12в |
283 |
35,2 |
5,14 |
2,28 |
242,66 |
53,9 |
|
|||||||
|
8в, 8д, 12г - 12е |
285 |
36,7 |
5,24 |
2,38 |
243,0б |
53,9 |
|
|||||||
|
8е - 9в |
297 |
36,7 |
5,24 |
2,38 |
255,06 |
53,9 |
|
|||||||
|
10 |
320 |
39,8 |
5,43 |
2,57 |
274,77 |
53,9 |
|
|||||||
РАЙОННАЯ ЦЕНА № 29
Водонапорная стальная башня (системы Рожновского) с опорой диаметром 1220 мм, высотой 15 м, с баком вместимостью 50 м3
Измеритель - 1 башня
|
Районы |
Прямые затраты, руб. |
В том числе, руб. |
Затраты труда рабочих, чел.-ч. |
||||||||||
|
основная заработная плата рабочих |
эксплуатация машин |
материальные ресурсы |
|||||||||||
|
всего |
в том числе заработная плата рабочих, обслуживающих машины |
||||||||||||
|
1 |
2 |
3 |
4 |
5 |
6 |
7 |
|||||||
|
I. Строительные работы |
|||||||||||||
|
1а, 1в, 4а |
1230 |
157 |
70,1 |
23,1 |
1002,9 |
278 |
|||||||
|
1б, 4б, 6б |
1250 |
157 |
70,1 |
23,1 |
1022,9 |
278 |
|||||||
|
1г - 1е, 5б |
1290 |
157 |
70,1 |
23,1 |
1062,9 |
278 |
|||||||
|
1ж, 3г |
1150 |
157 |
70,1 |
23,1 |
922,9 |
278 |
|||||||
|
2а, 9в |
1510 |
188 |
74,8 |
27,7 |
1247,2 |
278 |
|||||||
|
2б |
1510 |
180 |
73,6 |
26,5 |
1256,4 |
278 |
|||||||
|
2в |
1620 |
188 |
74,8 |
27,7 |
1357,2 |
278 |
|||||||
|
2г |
1580 |
220 |
79,4 |
32,3 |
1280,6 |
278 |
|||||||
|
3а, 3в |
1210 |
157 |
70,1 |
23,1 |
982,9 |
278 |
|||||||
|
3б |
1190 |
157 |
70,1 |
23,1 |
962,9 |
278 |
|||||||
|
5а |
1270 |
157 |
70,1 |
23,1 |
1042,9 |
278 |
|||||||
|
6а, 6в |
1310 |
157 |
70,1 |
23,1 |
1082,9 |
278 |
|||||||
|
7а, 12в |
1290 |
180 |
73,6 |
26,5 |
1036,4 |
278 |
|||||||
|
7б - 7г |
1260 |
180 |
73,6 |
26,5 |
1006,4 |
278 |
|||||||
|
8а, 12б |
1320 |
180 |
73,6 |
26,5 |
1066,4 |
278 |
|||||||
|
8б, 11б, 11д, 11e |
1380 |
180 |
73,6 |
26,5 |
1126,4 |
278 |
|||||||
|
8в |
1440 |
188 |
74,8 |
27,7 |
1177,2 |
278 |
|||||||
|
8г |
1770 |
180 |
73,6 |
26,5 |
1516,4 |
278 |
|||||||
|
8д, 9б |
1360 |
188 |
74,8 |
27,7 |
1097,2 |
278 |
|||||||
|
8е |
1740 |
188 |
74,8 |
27,7 |
1477,2 |
278 |
|||||||
|
9а, 12д |
1410 |
188 |
74,8 |
27,7 |
1147,2 |
278 |
|||||||
|
10а |
1540 |
204 |
77,1 |
30 |
1258,9 |
278 |
|||||||
|
10б, 10в |
1580 |
204 |
77,1 |
30 |
1298,9 |
278 |
|||||||
|
11а |
1610 |
180 |
73,6 |
26,5 |
1356,4 |
278 |
|||||||
|
11в |
1390 |
180 |
73,6 |
26,5 |
1136,4 |
278 |
|||||||
|
11г |
1360 |
180 |
73,6 |
26,5 |
1106,4 |
278 |
|||||||
|
12а |
1250 |
180 |
73,6 |
26,5 |
996,4 |
278 |
|||||||
|
12г |
1330 |
188 |
74,8 |
27,7 |
1067,2 |
278 |
|||||||
|
12е |
1470 |
188 |
74,8 |
27,7 |
1207,2 |
278 |
|||||||
|
В том числе: |
|
|||||||||||||
|
а) земляные работы |
|
|||||||||||||
|
1, 3 - 6 |
53,2 |
38 |
15,2 |
5,95 |
- |
63,4 |
|
|||||||
|
2а, 2в, 8в, 8д - 9в, 12г - 12е |
62 |
45,6 |
16,4 |
7,14 |
- |
63,4 |
|
|||||||
|
2б, 7а - 8б, 8г, 11а - 12в |
59,8 |
43,7 |
16,1 |
6,84 |
- |
63,4 |
|
|||||||
|
2г |
70,8 |
53,2 |
17,6 |
8,33 |
- |
63,4 |
|
|||||||
|
10 |
66,4 |
49,4 |
17 |
7,74 |
- |
63,4 |
|
|||||||
|
б) фундаменты |
|
|||||||||||||
|
1a, 1б, 3в, 4а, 6б |
637 |
45,4 |
16,8 |
5,04 |
574,8 |
82,8 |
|
|||||||
|
1в, 5б |
614 |
45,4 |
16,8 |
5,04 |
551,8 |
82,8 |
|
|||||||
|
1г - 1е |
663 |
45,4 |
16,8 |
5,04 |
600,8 |
82,8 |
|
|||||||
|
1ж |
560 |
45,4 |
16,8 |
5,04 |
497,8 |
82,8 |
|
|||||||
|
2а |
815 |
54,4 |
17,8 |
6,05 |
742,8 |
82,8 |
|
|||||||
|
2б |
861 |
52,2 |
17,5 |
5,8 |
791,3 |
82,8 |
|
|||||||
|
2в |
864 |
54,4 |
17,8 |
6,05 |
791,8 |
82,8 |
|
|||||||
|
2г |
861 |
63,5 |
18,8 |
7,06 |
778,7 |
82,8 |
|
|||||||
|
3а |
623 |
45,4 |
16,8 |
5,04 |
560,8 |
82,8 |
|
|||||||
|
3б |
607 |
45,4 |
16,8 |
5,04 |
544,8 |
82,8 |
|
|||||||
|
3г |
549 |
45,4 |
16,8 |
5,04 |
486,8 |
82,8 |
|
|||||||
|
4б, 5а |
647 |
45,4 |
16,8 |
5,04 |
584,8 |
82,8 |
|
|||||||
|
6а, 6в |
686 |
45,4 |
16,8 |
5,04 |
623,8 |
82,8 |
|
|||||||
|
7а - 7в, 12в |
628 |
52,2 |
17,5 |
5,8 |
558,3 |
82,8 |
|
|||||||
|
7г |
619 |
52,2 |
17,5 |
5,8 |
549,3 |
82,8 |
|
|||||||
|
8а |
654 |
52,2 |
17,5 |
5,8 |
584,3 |
82,8 |
|
|||||||
|
8б |
734 |
52,2 |
17,5 |
5,8 |
664,3 |
82,8 |
|
|||||||
|
8в, 9в |
763 |
54,4 |
17,8 |
6,05 |
690,8 |
82,8 |
|
|||||||
|
8г |
1100 |
52,2 |
17,5 |
5,8 |
1030,3 |
82,8 |
|
|||||||
|
8д, 9б |
705 |
54,4 |
17,8 |
6,05 |
632,8 |
82,8 |
|
|||||||
|
8е |
1070 |
54,4 |
17,8 |
6,05 |
997,8 |
82,8 |
|
|||||||
|
9а |
752 |
54,4 |
17,8 |
6,05 |
679,8 |
82,8 |
|
|||||||
|
10а |
815 |
59 |
18,3 |
6,55 |
737,7 |
82,8 |
|
|||||||
|
10б |
835 |
59 |
18,3 |
6,55 |
757,7 |
82,8 |
|
|||||||
|
10в |
796 |
59 |
18,3 |
6,55 |
718,7 |
82,8 |
|
|||||||
|
11а |
813 |
52,2 |
17,5 |
5,8 |
743,3 |
82,8 |
|
|||||||
|
11б - 11е |
695 |
52,2 |
17,5 |
5,8 |
625,3 |
82,8 |
|
|||||||
|
12а |
605 |
52,2 |
17,5 |
5,8 |
535,3 |
82,8 |
|
|||||||
|
12б |
642 |
52,2 |
17,5 |
5,8 |
572,3 |
82,8 |
|
|||||||
|
12г |
662 |
54,4 |
17,8 |
6,05 |
589,8 |
82,8 |
|
|||||||
|
12д |
684 |
54,4 |
17,8 |
6,05 |
611,8 |
82,8 |
|
|||||||
|
12е |
788 |
54,4 |
17,8 |
6,05 |
715,8 |
82,8 |
|
|||||||
|
в) укрепление обвалования дерном |
|
|||||||||||||
|
1а, 1б, 1г - 1е, 4б, 5б, 6б |
56,6 |
22,1 |
0,12 |
0,02 |
34,38 |
43,9 |
|
|||||||
|
1в, 3а |
53,5 |
22,1 |
0,12 |
0,02 |
31,28 |
43,9 |
|
|||||||
|
1ж, 3б |
55,5 |
22,1 |
0,12 |
0,02 |
33,28 |
43,9 |
|
|||||||
|
2а, 2в |
65,1 |
26,5 |
0,13 |
0,03 |
38,47 |
43,9 |
|
|||||||
|
2б, 8а, 8г, 11а, 12в |
64 |
25,4 |
0,13 |
0,03 |
38,47 |
43,9 |
|
|||||||
|
2г |
83,8 |
30,9 |
0,13 |
0,03 |
52,77 |
43,9 |
|
|||||||
|
3в, 4а |
54,5 |
22,1 |
0,12 |
0,02 |
32,28 |
43,9 |
|
|||||||
|
3г, 6а, 6в |
57,9 |
22,1 |
0,12 |
0,02 |
35,68 |
43,9 |
|
|||||||
|
5а |
60,5 |
22,1 |
0,12 |
0,02 |
38,28 |
43,9 |
|
|||||||
|
7а, 7б, 7г, 11г - 12а |
61 |
25,4 |
0,13 |
0,03 |
35,47 |
43,9 |
|
|||||||
|
7в |
64,9 |
25,4 |
0,13 |
0,03 |
39,37 |
43,9 |
|
|||||||
|
8б |
63 |
25,4 |
0,13 |
0,03 |
37,47 |
43,9 |
|
|||||||
|
8в |
66,5 |
26,5 |
0,13 |
0,03 |
39,87 |
43,9 |
|
|||||||
|
8д, 9б, 9в, 12г |
63,3 |
26,5 |
0,13 |
0,03 |
36,67 |
43,9 |
|
|||||||
|
8е, 9а, 12д |
64,2 |
26,5 |
0,13 |
0,03 |
37,57 |
43,9 |
|
|||||||
|
10 |
67,6 |
28,7 |
0,13 |
0,03 |
38,77 |
43,9 |
|
|||||||
|
11б, 11в |
58,8 |
25,4 |
0,13 |
0,03 |
33,27 |
43,9 |
|
|||||||
|
12б |
62,1 |
25,4 |
0,13 |
0,03 |
36,57 |
43,9 |
|
|||||||
|
12е |
76,9 |
26,5 |
0,13 |
0,03 |
50,27 |
43,9 |
|
|||||||
|
II. Монтаж металлоконструкций |
|
|||||||||||||
|
1, 3 - 6 |
535 |
75,5 |
175 |
58,9 |
284,5 |
115 |
|
|||||||
|
2а, 2в, 8в, 8д, 8е, 12г - 12е |
564 |
90,6 |
186 |
70,7 |
287,4 |
115 |
|
|||||||
|
2б, 7а - 8б, 8г, 11а - 12в |
556 |
86,8 |
183 |
67,7 |
286,2 |
115 |
|
|||||||
|
2г |
593 |
106 |
198 |
82,4 |
289 |
115 |
|
|||||||
|
9 |
571 |
90,6 |
186 |
70,7 |
294,4 |
115 |
|
|||||||
|
10 |
606 |
98,1 |
192 |
76,6 |
315,9 |
115 |
|
|||||||
|
III. Электромонтажные работы |
|
|||||||||||||
|
(монтаж оборудования, КИП и автоматики) |
|
|||||||||||||
|
1, 4 - 6 |
13,4 |
5,66 |
1,3 |
0,5 |
6,44 |
9,62 |
|
|||||||
|
2а, 2в. 8в, 8д, 9, 12г, 12д |
14,7 |
6,79 |
1,4 |
0,61 |
6,51 |
9,62 |
|
|||||||
|
2б, 8а, 8б, 8г, 11а - 12в |
14,4 |
6,5 |
1,38 |
0,58 |
6,52 |
9,62 |
|
|||||||
|
2г |
16,2 |
7,92 |
1,5 |
0,71 |
6,78 |
9,62 |
|
|||||||
|
3 |
13,5 |
5,66 |
1,3 |
0,5 |
6,54 |
9,62 |
|
|||||||
|
7 |
14,2 |
6,5 |
1,38 |
0,58 |
6,32 |
9,62 |
|
|||||||
|
8е |
15,4 |
6,79 |
1,4 |
0,61 |
7,21 |
9,62 |
|
|||||||
|
10 |
15,6 |
7,35 |
1,45 |
0,66 |
6,8 |
9,62 |
|
|||||||
|
12е |
15,1 |
6,79 |
1,4 |
0,61 |
6,91 |
9,62 |
|
|||||||
|
IV. Монтаж технологических трубопроводов |
|
|||||||||||||
|
1, 3 - 5 |
275 |
30,6 |
4,84 |
1,98 |
239,56 |
53,9 |
|
|||||||
|
2а, 2в |
279 |
36,7 |
5,24 |
2,38 |
237,06 |
53,9 |
|
|||||||
|
2б, 11 |
279 |
35,2 |
5,14 |
2,28 |
238,66 |
53,9 |
|
|||||||
|
2г |
298 |
42,8 |
5,63 |
2,77 |
249,57 |
53,9 |
|
|||||||
|
6 |
280 |
30,6 |
4,84 |
1,98 |
244,56 |
53,9 |
|
|||||||
|
7а - 8б, 8г, 12а - 12в |
283 |
35,2 |
5,14 |
2,28 |
242,66 |
53,9 |
|
|||||||
|
8в, 8д, 12г - 12е |
285 |
36,7 |
5,24 |
2,38 |
243,06 |
53,9 |
|
|||||||
|
8е - 9в |
297 |
36,7 |
5,24 |
2,38 |
256,06 |
53,9 |
|
|||||||
|
10 |
320 |
39,8 |
5,43 |
2,57 |
274,77 |
53,9 |
|
|||||||
|
РАЙОННАЯ ЦЕНА № 30 |
|
|||||||||||||
|
Водонапорная стальная башня (системы Рожновского) с опорой диаметром 1220 мм, высотой 18 м, с баком вместимостью 50 м3 |
|
|||||||||||||
|
Измеритель - 1 башня |
|
|||||||||||||
|
I. Строительные работы |
|
|||||||||||||
|
1а, 1в, 4а |
1340 |
160 |
73,4 |
24 |
1103,6 |
291 |
|
|||||||
|
1б, 4б, 6б |
1360 |
168 |
73,4 |
24 |
1123,6 |
291 |
|
|||||||
|
1г - 1e, 6б |
1400 |
168 |
73,4 |
24 |
1163,6 |
291 |
|
|||||||
|
1ж, 3г |
1240 |
163 |
73,4 |
24 |
1003,6 |
291 |
|
|||||||
|
2а, 9в |
1660 |
196 |
78,2 |
28,9 |
1385,8 |
291 |
|
|||||||
|
2б |
1670 |
188 |
77 |
27,6 |
1405 |
291 |
|
|||||||
|
2в |
1780 |
196 |
78,2 |
28,9 |
1505,8 |
291 |
|
|||||||
|
2г |
1730 |
229 |
83 |
33,7 |
1418 |
291 |
|
|||||||
|
3а |
1320 |
163 |
73,4 |
24 |
1083,6 |
291 |
|
|||||||
|
3б |
1300 |
163 |
73,4 |
24 |
1063,6 |
291 |
|
|||||||
|
3в |
1380 |
168 |
73,4 |
24 |
1093,6 |
291 |
|
|||||||
|
5а |
1390 |
163 |
73,4 |
24 |
1513,6 |
291 |
|
|||||||
|
6а, 6в |
1430 |
163 |
73,4 |
24 |
1193,6 |
291 |
|
|||||||
|
7а, 12в |
1400 |
188 |
77 |
27 |
1136 |
291 |
|
|||||||
|
7б - 7г |
1370 |
188 |
77 |
27,6 |
1105 |
291 |
|
|||||||
|
8а, 12б |
1440 |
188 |
77 |
27,6 |
1175 |
291 |
|
|||||||
|
8б, 11б, 11в, 11д, 11e |
1500 |
188 |
77 |
27,6 |
1235 |
291 |
|
|||||||
|
8в |
1570 |
196 |
78,2 |
28,9 |
1295,8 |
291 |
|
|||||||
|
8г |
1970 |
188 |
77 |
27,6 |
1705 |
291 |
|
|||||||
|
8д, 9б |
1490 |
196 |
78,2 |
28,9 |
1216,8 |
291 |
|
|||||||
|
8е |
1940 |
196 |
78,2 |
28,9 |
1665,8 |
291 |
|
|||||||
|
9а |
1550 |
196 |
78,2 |
28,9 |
1275,8 |
291 |
|
|||||||
|
10а |
1680 |
212 |
80,6 |
31,3 |
1387,4 |
291 |
|
|||||||
|
10б, 10в |
1720 |
212 |
80,6 |
31,3 |
1427,4 |
291 |
|
|||||||
|
11а |
1750 |
188 |
77 |
27,6 |
1485 |
291 |
|
|||||||
|
11г |
1480 |
188 |
77 |
27,6 |
1215 |
291 |
|
|||||||
|
12а |
1350 |
188 |
77 |
27,6 |
1085 |
291 |
|
|||||||
|
12г |
1450 |
196 |
78,2 |
28,9 |
1175,8 |
291 |
|
|||||||
|
12д |
1530 |
196 |
78,2 |
28,9 |
1255,8 |
291 |
|
|||||||
|
12е |
1610 |
196 |
78,2 |
28,9 |
1335,8 |
291 |
|
|||||||
|
В том числе: |
|
|||||||||||||
|
а) земляные работы |
|
|||||||||||||
|
1, 3 - 6 |
53,2 |
38 |
15,2 |
5,95 |
- |
63,4 |
|
|||||||
|
2а, 2в, 8в, 8д - 9в, 12г - 12е |
62 |
45,6 |
16,4 |
7,14 |
- |
63,4 |
|
|||||||
|
2б, 7а - 8б, 8г, 11а - 12в |
59,8 |
43,7 |
16,1 |
6,84 |
- |
63,4 |
|
|||||||
|
2г |
70,8 |
50,2 |
17,6 |
8,33 |
- |
63,4 |
|
|||||||
|
10 |
66,4 |
49,4 |
17 |
7,74 |
- |
63,4 |
|
|||||||
|
б) фундаменты |
|
|||||||||||||
|
1a, 16, 3в, 4а, 6б |
742 |
50,8 |
19,9 |
5,97 |
671,3 |
93 |
|
|||||||
|
1в, 3а, 5б |
719 |
50,8 |
19,9 |
5,97 |
648,3 |
93 |
|
|||||||
|
1г - 1е |
774 |
50,8 |
19,9 |
5,97 |
703,3 |
93 |
|
|||||||
|
1ж |
651 |
50,8 |
19,9 |
5,97 |
580,3 |
93 |
|
|||||||
|
2а |
955 |
60,9 |
21,1 |
7,16 |
873 |
93 |
|
|||||||
|
2б |
1010 |
58,4 |
20,8 |
6,87 |
930,8 |
93 |
|
|||||||
|
2в |
1010 |
60,9 |
21,1 |
7,16 |
928 |
93 |
|
|||||||
|
2г |
1010 |
71,1 |
22,2 |
8,36 |
916,7 |
93 |
|
|||||||
|
3б |
707 |
50,8 |
19,9 |
5,97 |
636,3 |
93 |
|
|||||||
|
3г |
638 |
50,8 |
19,9 |
5,97 |
567,3 |
93 |
|
|||||||
|
4б, 5а |
755 |
50,8 |
19,9 |
5,97 |
684,3 |
93 |
|
|||||||
|
6а, 6в |
802 |
50,8 |
19,9 |
5,97 |
731,3 |
93 |
|
|||||||
|
7а - 7в, 12в |
732 |
58,4 |
20,8 |
6,87 |
652,8 |
93 |
|
|||||||
|
7г |
721 |
58,4 |
20,8 |
6,87 |
641,8 |
93 |
|
|||||||
|
8а |
762 |
58,4 |
20,8 |
6,87 |
682,8 |
93 |
|
|||||||
|
8б |
858 |
58,4 |
20,8 |
6,87 |
778,8 |
93 |
|
|||||||
|
8в, 9в |
893 |
60,9 |
21,1 |
7,16 |
811 |
93 |
|
|||||||
|
8г |
1300 |
58,4 |
20,8 |
6,87 |
1220,8 |
93 |
|
|||||||
|
8д, 9б |
824 |
60,9 |
21,1 |
7,16 |
742 |
93 |
|
|||||||
|
8е |
1260 |
60,9 |
21,1 |
7,16 |
1178 |
93 |
|
|||||||
|
9а |
880 |
60,9 |
21,1 |
7,16 |
798 |
93 |
|
|||||||
|
10а |
953 |
66 |
21,6 |
7,76 |
865,4 |
93 |
|
|||||||
|
10б |
978 |
66 |
21,6 |
7,76 |
890,4 |
93 |
|
|||||||
|
10в |
931 |
66 |
21,6 |
7,76 |
843,4 |
93 |
|
|||||||
|
11а |
952 |
58,4 |
20,8 |
6,87 |
872,8 |
93 |
|
|||||||
|
11б - 11е |
811 |
58,4 |
20,8 |
6,87 |
731,8 |
93 |
|
|||||||
|
12а |
705 |
58,4 |
20,8 |
6,87 |
625,8 |
93 |
|
|||||||
|
12б |
748 |
58,4 |
20,8 |
6,87 |
668,8 |
93 |
|
|||||||
|
12г |
773 |
60,9 |
21,1 |
7,16 |
691 |
93 |
|
|||||||
|
12д |
798 |
60,9 |
21,1 |
7,16 |
716 |
93 |
|
|||||||
|
12е |
922 |
60,9 |
21,1 |
7,16 |
840 |
93 |
|
|||||||
|
в) укрепление обвалования дёрном |
|
|||||||||||||
|
1а, 1б, 1г - 1е, 4б, 5б, 6б |
56,6 |
22,1 |
0,12 |
0,02 |
34,38 |
43,9 |
|
|||||||
|
1в, 3а |
53,5 |
22,1 |
0,12 |
0,02 |
31,28 |
43,9 |
|
|||||||
|
1ж, 3б |
55,5 |
22,1 |
012 |
0,02 |
33,28 |
43,9 |
|
|||||||
|
2а, 2в |
65,1 |
26,5 |
0,13 |
0,03 |
38,47 |
43,9 |
|
|||||||
|
2б, 8а, 8г, 11а, 12в |
64 |
25,4 |
0,13 |
0,03 |
38,47 |
43,9 |
|
|||||||
|
2г |
83,8 |
30,9 |
0,13 |
0,03 |
52,77 |
43,9 |
|
|||||||
|
3в, 4а |
54,5 |
22,1 |
0,12 |
0,02 |
32,28 |
43,9 |
|
|||||||
|
3г, 6а, 6в |
57,9 |
22,1 |
0,12 |
0,02 |
35,68 |
43,9 |
|
|||||||
|
5а |
60,5 |
22,1 |
0,12 |
0,02 |
38,28 |
43,9 |
|
|||||||
|
7а, 7б, 7г, 11г - 12а |
61 |
25,4 |
0,13 |
0,03 |
35,47 |
43,9 |
|
|||||||
|
7в |
64,9 |
25,4 |
0,13 |
0,03 |
39,37 |
43,9 |
|
|||||||
|
8б |
63 |
25,4 |
0,13 |
0,03 |
37,47 |
43,9 |
|
|||||||
|
8в |
66,5 |
26,5 |
0,13 |
0,03 |
39,87 |
43,9 |
|
|||||||
|
8д, 9б, 9в, 12г |
63,3 |
26,5 |
0,13 |
0,03 |
36,67 |
43,9 |
|
|||||||
|
8е, 9а, 12д |
64,2 |
26,5 |
0,13 |
0,03 |
37,57 |
43,9 |
|
|||||||
|
10 |
67,6 |
28,7 |
0,13 |
0,03 |
38,77 |
43,9 |
|
|||||||
|
11б, 11в |
58,8 |
25,4 |
0,13 |
0,03 |
33,27 |
43,9 |
|
|||||||
|
12б |
92,1 |
25,4 |
0,13 |
0,03 |
36,57 |
43,9 |
|
|||||||
|
12е |
76,9 |
26,5 |
0,13 |
0,03 |
50,27 |
43,9 |
|
|||||||
|
II. Монтаж металлоконструкций |
|
|||||||||||||
|
1, 3 - 6 |
592 |
81,3 |
188 |
63,5 |
322,7 |
124 |
|
|||||||
|
2а, 2в, 8в, 8д, 8е, 12г - 12е |
623 |
97,6 |
201 |
76,2 |
324,4 |
124 |
|
|||||||
|
2б, 7а - 8б, 8г, 11а - 12в |
614 |
93,5 |
198 |
73 |
322,5 |
124 |
|
|||||||
|
2г |
655 |
114 |
214 |
88,9 |
327 |
124 |
|
|||||||
|
9 |
631 |
97,6 |
201 |
76,2 |
332,4 |
124 |
|
|||||||
|
10 |
672 |
106 |
207 |
82,6 |
359 |
124 |
|
|||||||
|
III. Электромонтажные работы |
|
|||||||||||||
|
(монтаж оборудования, КИП и автоматики) |
|
|||||||||||||
|
1, 4 - 6 |
13,4 |
5,66 |
1,3 |
0,5 |
6,44 |
9,62 |
|
|||||||
|
2а, 2в, 8в, 8д, 9, 12г, 12д |
14,7 |
6,79 |
1,4 |
0,61 |
6,51 |
9,62 |
|
|||||||
|
2б, 8а, 8б, 8г, 11а - 12в |
14,4 |
6,5 |
1,38 |
0,58 |
6,92 |
9,62 |
|
|||||||
|
2г |
16,2 |
7,92 |
1,5 |
0,71 |
6,78 |
9,62 |
|
|||||||
|
3 |
13,5 |
5,66 |
1,3 |
0,5 |
6,54 |
9,62 |
|
|||||||
|
7 |
14,2 |
6,5 |
1,38 |
0,58 |
6,32 |
9,62 |
|
|||||||
|
8е |
15,4 |
6,79 |
1,4 |
0,61 |
7,21 |
9,62 |
|
|||||||
|
10 |
15,6 |
7,35 |
1,45 |
0,66 |
6,8 |
9,62 |
|
|||||||
|
12е |
15,1 |
6,79 |
1,4 |
0,61 |
6,91 |
9,62 |
|
|||||||
|
IV. Монтаж технологических трубопроводов |
|
|||||||||||||
|
1, 3 - 5 |
276 |
30,6 |
4,84 |
1,98 |
239,56 |
53.9 |
|
|||||||
|
2а, 2в |
279 |
36,7 |
5,24 |
2,38 |
237,06 |
53,9 |
|
|||||||
|
2б, 11 |
279 |
86,2 |
5,14 |
2,28 |
238,66 |
53,9 |
|
|||||||
|
2г |
298 |
42,8 |
5,63 |
2,77 |
249,57 |
53,9 |
|
|||||||
|
6 |
280 |
30,6 |
4,84 |
1,98 |
244,56 |
53,9 |
|
|||||||
|
7а - 8б, 8г, 12а - 12в |
283 |
35,2 |
5,14 |
2,28 |
242,66 |
53,9 |
|
|||||||
|
8в, 8д, 12г - 12е |
285 |
36,7 |
5,24 |
2,38 |
243,06 |
63,9 |
|
|||||||
|
8е - 9в |
297 |
36,7 |
5,24 |
2,38 |
255,06 |
53,9 |
|
|||||||
|
10 |
320 |
39,8 |
5,43 |
2,57 |
274,77 |
53,9 |
|
|||||||
РАЙОННАЯ ЦЕНА № 31
Водонапорная стальная башня (системы Рожновского) с опорой диаметром 2000 мм, высотой 18 м с баком вместимостью 50 м3
Измеритель - 1 башня
|
Районы |
Прямые затраты, руб. |
В том числе, руб. |
Затраты труда рабочих, чел.-ч. |
|
|||||||||||||||||||||||||||
|
основная заработная плата рабочих |
эксплуатация машин |
материальные ресурсы |
|
||||||||||||||||||||||||||||
|
всего |
в том числе заработная плата рабочих обслуживающих машинь |
|
|||||||||||||||||||||||||||||
|
1 |
2 |
3 |
4 |
5 |
6 |
7 |
|
||||||||||||||||||||||||
|
I. Строительные работы |
|
||||||||||||||||||||||||||||||
|
1а, 1б, 4а |
1560 |
187 |
79 |
25,7 |
1294 |
332 |
|
||||||||||||||||||||||||
|
1в, 3в |
1530 |
187 |
79 |
25,7 |
1264 |
332 |
|
||||||||||||||||||||||||
|
1г - 1е |
1610 |
187 |
79 |
25,7 |
1344 |
332 |
|
||||||||||||||||||||||||
|
1ж |
1420 |
187 |
79 |
25,7 |
1154 |
332 |
|
||||||||||||||||||||||||
|
2а, 9в |
1900 |
224 |
84,1 |
30,9 |
1591,9 |
332 |
|
||||||||||||||||||||||||
|
2б |
1940 |
215 |
82,8 |
29,6 |
1642,2 |
332 |
|
||||||||||||||||||||||||
|
2в |
2050 |
224 |
84,1 |
30,9 |
1741,9 |
332 |
|
||||||||||||||||||||||||
|
2г |
2000 |
262 |
89,3 |
36 |
1648,7 |
332 |
|
||||||||||||||||||||||||
|
3а |
1510 |
187 |
79 |
25,7 |
1244 |
332 |
|
||||||||||||||||||||||||
|
3б |
1490 |
187 |
79 |
25,7 |
1224 |
332 |
|
||||||||||||||||||||||||
|
3г |
1410 |
187 |
79 |
25,7 |
1144 |
332 |
|
||||||||||||||||||||||||
|
4б, 6б |
1570 |
187 |
79 |
25,7 |
1304 |
332 |
|
||||||||||||||||||||||||
|
5 |
1590 |
187 |
79 |
25,7 |
1324 |
332 |
|
||||||||||||||||||||||||
|
6а, 6в |
1640 |
187 |
79 |
25,7 |
1374 |
332 |
|
||||||||||||||||||||||||
|
7а, 12в |
1600 |
215 |
82,8 |
29,6 |
1302,2 |
332 |
|
||||||||||||||||||||||||
|
7б - 7г |
1560 |
215 |
82,8 |
29,6 |
1262,2 |
332 |
|
||||||||||||||||||||||||
|
8а, 12б |
1640 |
215 |
82,8 |
29,6 |
1342,2 |
332 |
|
||||||||||||||||||||||||
|
8б, 11б, 11в |
1730 |
215 |
82,8 |
29,6 |
1432,2 |
332 |
|
||||||||||||||||||||||||
|
8в |
1810 |
224 |
84,1 |
30,9 |
1501,9 |
332 |
|
||||||||||||||||||||||||
|
8г |
2320 |
215 |
82,8 |
29,6 |
2022,2 |
332 |
|
||||||||||||||||||||||||
|
8д, 9б |
1710 |
224 |
84,1 |
30,9 |
1401,9 |
332 |
|
||||||||||||||||||||||||
|
8е |
2280 |
224 |
84,1 |
30,9 |
191,9 |
332 |
|
||||||||||||||||||||||||
|
9а |
1790 |
224 |
84,1 |
30,9 |
1481,9 |
332 |
|
||||||||||||||||||||||||
|
10а |
1940 |
243 |
86,7 |
33,4 |
1610,3 |
332 |
|
||||||||||||||||||||||||
|
10б |
2000 |
243 |
86,7 |
33,4 |
1670,3 |
332 |
|
||||||||||||||||||||||||
|
10в |
1970 |
243 |
86,7 |
33,4 |
1640,3 |
332 |
|
||||||||||||||||||||||||
|
11а |
2010 |
215 |
82,8 |
29,6 |
1712,2 |
332 |
|
||||||||||||||||||||||||
|
11г - 11е |
1710 |
215 |
82,8 |
29,6 |
1412,2 |
332 |
|
||||||||||||||||||||||||
|
12а |
1540 |
215 |
82,8 |
29,6 |
1242,2 |
332 |
|
||||||||||||||||||||||||
|
12г |
1650 |
224 |
84,1 |
30,9 |
1341,9 |
332 |
|
||||||||||||||||||||||||
|
12д |
1740 |
224 |
84,1 |
30,9 |
1431,9 |
332 |
|
||||||||||||||||||||||||
|
12е |
1860 |
224 |
84,1 |
30,9 |
1551,9 |
332 |
|
||||||||||||||||||||||||
|
В том числе: |
||||||||||||||||||||||||||||||
|
а) земляные работы |
||||||||||||||||||||||||||||||
|
1, 3 - 6 |
61,6 |
46,4 |
15,2 |
5,95 |
- |
77,4 |
||||||||||||||||||||||||
|
2а, 2в, 8в, 8д - 9в, 12г - 12е |
78,1 |
55,7 |
16,4 |
7,14 |
- |
77,4 |
||||||||||||||||||||||||
|
2б, 7а - 8б, 8г, 11а - 12в |
69,4 |
53,4 |
16 |
6,84 |
- |
77,4 |
||||||||||||||||||||||||
|
2г |
82,6 |
65 |
17,6 |
8,33 |
- |
77,4 |
||||||||||||||||||||||||
|
10 |
77,3 |
60,4 |
16,9 |
7,74 |
- |
77,4 |
||||||||||||||||||||||||
|
б) фундаменты |
||||||||||||||||||||||||||||||
|
1а, 1б, 3в, 4а, 6б |
913 |
61,8 |
25 |
7,51 |
826,2 |
114 |
||||||||||||||||||||||||
|
1в, 3а |
888 |
61,8 |
25 |
7,51 |
801,2 |
114 |
||||||||||||||||||||||||
|
1г - 1е |
952 |
61,8 |
25 |
7,51 |
865,2 |
114 |
||||||||||||||||||||||||
|
1ж |
797 |
61,8 |
25 |
7,51 |
710,2 |
114 |
||||||||||||||||||||||||
|
2а |
1180 |
74,2 |
26,5 |
9,01 |
1079,3 |
114 |
||||||||||||||||||||||||
|
2б |
1250 |
71,1 |
26,1 |
8,64 |
1152,8 |
114 |
||||||||||||||||||||||||
|
2в |
1250 |
74,2 |
26,5 |
9,01 |
1149,3 |
114 |
||||||||||||||||||||||||
|
2г |
1240 |
86,6 |
28 |
10,5 |
1125,4 |
114 |
||||||||||||||||||||||||
|
3б, 5б |
872 |
61,8 |
25 |
7,51 |
785,2 |
114 |
||||||||||||||||||||||||
|
3г |
781 |
61,8 |
25 |
7,51 |
694,2 |
114 |
||||||||||||||||||||||||
|
4б, 5а |
929 |
61,8 |
25 |
7,51 |
842,2 |
114 |
||||||||||||||||||||||||
|
6а, 6в |
988 |
61,8 |
25 |
7,51 |
901,2 |
114 |
||||||||||||||||||||||||
|
7а - 7в, 12в |
899 |
71,1 |
26,1 |
8,64 |
801,8 |
114 |
||||||||||||||||||||||||
|
7г |
885 |
71,1 |
26,1 |
8,64 |
787,8 |
114 |
||||||||||||||||||||||||
|
8а |
937 |
71,1 |
26,1 |
8,64 |
839,8 |
114 |
||||||||||||||||||||||||
|
8б |
1060 |
71,1 |
26,1 |
8,64 |
962,8 |
114 |
||||||||||||||||||||||||
|
8в, 9в |
1100 |
74,2 |
26,5 |
9/31 |
999,3 |
114 |
||||||||||||||||||||||||
|
8г |
1620 |
71,1 |
26,1 |
8,64 |
1522,8 |
114 |
||||||||||||||||||||||||
|
8д, 9б |
1010 |
74,2 |
26,5 |
9,01 |
909,3 |
114 |
||||||||||||||||||||||||
|
8е |
1560 |
74,2 |
26,5 |
9,01 |
1459,3 |
114 |
||||||||||||||||||||||||
|
9а |
1080 |
74,2 |
26,15 |
9,01 |
979,3 |
114 |
||||||||||||||||||||||||
|
10а |
1180 |
804 |
27,2 |
9,77 |
1072,4 |
114 |
||||||||||||||||||||||||
|
10б |
1210 |
80,4 |
27,2 |
9,77 |
1102,4 |
114 |
||||||||||||||||||||||||
|
10в |
1150 |
80,4 |
27,2 |
9,77 |
1042,4 |
114 |
||||||||||||||||||||||||
|
11а |
1180 |
71,1 |
26,1 |
8,64 |
1082,8 |
114 |
||||||||||||||||||||||||
|
11б - 11е |
999 |
71,1 |
26,1 |
8,04 |
901,8 |
114 |
||||||||||||||||||||||||
|
12а |
864 |
71,1 |
26,1 |
8,64 |
766,8 |
114 |
||||||||||||||||||||||||
|
12б |
920 |
71,1 |
26,1 |
8,64 |
822,8 |
114 |
||||||||||||||||||||||||
|
12г |
960 |
74,2 |
26,5 |
9,01 |
849,3 |
114 |
||||||||||||||||||||||||
|
12д |
981 |
74,2 |
26,5 |
9,01 |
880,3 |
114 |
|
|||||||||||||||||||||||
|
12е |
1140 |
74,2 |
26,5 |
9,01 |
1039,3 |
114 |
|
|||||||||||||||||||||||
|
в) укрепление обвалования дёрном |
|
|||||||||||||||||||||||||||||
|
1а, 1б, 1г - 1е, 4б, 5б, 6б |
56,6 |
22,1 |
0,12 |
0,02 |
34,38 |
43,9 |
|
|||||||||||||||||||||||
|
1в, 3а |
53,5 |
22,1 |
0,12 |
0,02 |
31,28 |
43,9 |
|
|||||||||||||||||||||||
|
1ж, 3б |
55,5 |
22,1 |
0,12 |
0,02 |
33,28 |
43,9 |
|
|||||||||||||||||||||||
|
2а, 2в |
65,1 |
26,5 |
0,13 |
0,03 |
38,47 |
43,9 |
|
|||||||||||||||||||||||
|
2б, 8а, 8г, 11а, 12в |
64 |
25,4 |
0,13 |
0,03 |
38,47 |
43,9 |
|
|||||||||||||||||||||||
|
2г |
83,8 |
30,9 |
0,13 |
0,03 |
52,77 |
43,9 |
|
|||||||||||||||||||||||
|
3в, 4а |
54,5 |
22,1 |
0,12 |
0,02 |
32,28 |
43,9 |
|
|||||||||||||||||||||||
|
3г, 6а, 6в |
57,9 |
22,1 |
0,12 |
0,02 |
35,68 |
43,9 |
|
|||||||||||||||||||||||
|
5а |
60,5 |
22,1 |
0,12 |
0,02 |
38,28 |
43,9 |
|
|||||||||||||||||||||||
|
7а, 7б, 7г, 11г - 12а |
61 |
25,4 |
0,18 |
0,03 |
35,47 |
43,9 |
|
|||||||||||||||||||||||
|
7в |
64,9 |
25,4 |
0,18 |
0,03 |
39,37 |
43,9 |
|
|||||||||||||||||||||||
|
8б |
63 |
25,4 |
0,13 |
0,03 |
37,47 |
43,9 |
|
|||||||||||||||||||||||
|
8в |
66,5 |
26,5 |
0,18 |
0,03 |
39,87 |
43,9 |
|
|||||||||||||||||||||||
|
8д, 9б, 9в, 12г |
63,3 |
26,5 |
0,18 |
0,03 |
36,67 |
43,9 |
|
|||||||||||||||||||||||
|
8е, 9а, 12д |
64,2 |
26,5 |
0,13 |
0,03 |
37,57 |
43,9 |
|
|||||||||||||||||||||||
|
10 |
67,6 |
28,7 |
0,13 |
0,03 |
38,77 |
43,9 |
|
|||||||||||||||||||||||
|
11б, 11в |
58,8 |
25,4 |
0,13 |
0,03 |
33,27 |
43,9 |
|
|||||||||||||||||||||||
|
12б |
62,1 |
25,4 |
0,13 |
0,03 |
36,57 |
43,9 |
|
|||||||||||||||||||||||
|
12е |
76,9 |
26,5 |
0,13 |
0,03 |
50,27 |
43,9 |
|
|||||||||||||||||||||||
|
II. Монтаж металлоконструкций |
|
|||||||||||||||||||||||||||||
|
1, 3 - 6 |
683 |
102 |
237 |
79,8 |
344 |
156 |
|
|||||||||||||||||||||||
|
2а, 2в, 8в, 8д - 9в, 12г - 12е |
725 |
123 |
258 |
95,8 |
349 |
156 |
|
|||||||||||||||||||||||
|
2б, 7а - 8б, 8г, 11а - 12в |
711 |
118 |
249 |
91,8 |
344 |
156 |
|
|||||||||||||||||||||||
|
2г |
761 |
144 |
269 |
112 |
348 |
156 |
|
|||||||||||||||||||||||
|
10 |
772 |
133 |
261 |
104 |
378 |
156 |
|
|||||||||||||||||||||||
|
III. Электромонтажные работы |
|
|||||||||||||||||||||||||||||
|
(монтаж оборудования, КИП и автоматики) |
|
|||||||||||||||||||||||||||||
|
1, 4 - 6 |
18,4 |
5,66 |
1,3 |
0,5 |
6,44 |
9,62 |
|
|||||||||||||||||||||||
|
2а, 2в, 8в, 8д, 9, 12г, 12д |
14,7 |
6,79 |
1,4 |
0,61 |
6,51 |
9,62 |
|
|||||||||||||||||||||||
|
2б, 8а, 8б, 8г, 11а - 12в |
14,4 |
6,5 |
1,38 |
0,58 |
6,52 |
9,62 |
|
||||||||||||||||||||||||
|
2г |
16,2 |
7,92 |
1,5 |
0,71 |
6,78 |
9,62 |
|
||||||||||||||||||||||||
|
3 |
13,5 |
5,66 |
1,3 |
0,5 |
6,54 |
9,62 |
|
||||||||||||||||||||||||
|
7 |
14,2 |
6,5 |
1,38 |
0,58 |
6,32 |
9,62 |
|
||||||||||||||||||||||||
|
8е |
15,4 |
6,79 |
1,4 |
0,61 |
7,21 |
9,62 |
|
||||||||||||||||||||||||
|
10 |
15,6 |
7,35 |
1,45 |
0,66 |
6,8 |
9,62 |
|
||||||||||||||||||||||||
|
12е |
15,1 |
6,78 |
1,4 |
0,61 |
6,91 |
9,62 |
|
||||||||||||||||||||||||
|
IV. Монтаж технологических трубопроводов |
|
||||||||||||||||||||||||||||||
|
1,3 - 5 |
377 |
42 |
6,64 |
2,72 |
328,36 |
74 |
|
||||||||||||||||||||||||
|
2а, 2в |
383 |
50,4 |
7,19 |
3,26 |
325,41 |
74 |
|
||||||||||||||||||||||||
|
2б, 11 |
382 |
48,3 |
7,05 |
3,12 |
326,65 |
74 |
|
||||||||||||||||||||||||
|
2г |
409 |
58,8 |
7,73 |
3,8 |
342,47 |
74 |
|
||||||||||||||||||||||||
|
6 |
384 |
42 |
6,64 |
2,72 |
336,36 |
74 |
|
||||||||||||||||||||||||
|
7а - 8б, 8г, 12а - 12в |
389 |
48,3 |
7,05 |
3,12 |
333,65 |
74 |
|
||||||||||||||||||||||||
|
8в, 8д, 12г - 12е |
391 |
50,4 |
7,19 |
3,26 |
333,41 |
74 |
|
||||||||||||||||||||||||
|
8е - 9в |
408 |
50,4 |
7,19 |
3,26 |
350,41 |
74 |
|
||||||||||||||||||||||||
|
10 |
440 |
54,6 |
746 |
3,53 |
377,94 |
74 |
|
||||||||||||||||||||||||
|
|||||||||||||||||||||||||||||||
|
Водонапорная стальная башня-колонна (системы Рожновского) диаметром 3020 мм, высотой 25 м, вместимостью 160 м3 |
|
||||||||||||||||||||||||||||||
|
Измеритель - 1 башня |
|
||||||||||||||||||||||||||||||
|
I. Строительные работы |
|
||||||||||||||||||||||||||||||
|
1а, 1б, 4, 6б |
1800 |
216 |
85,5 |
27,7 |
1498,5 |
384 |
|
||||||||||||||||||||||||
|
1в, 3в |
1760 |
2116 |
85,5 |
27,7 |
1458,5 |
384 |
|
||||||||||||||||||||||||
|
1г - 1e |
1860 |
216 |
85,5 |
27,7 |
1558,5 |
384 |
|
||||||||||||||||||||||||
|
1ж |
1630 |
216 |
85,5 |
27,7 |
1328,5 |
384 |
|
||||||||||||||||||||||||
|
2а |
2210 |
560 |
91,1 |
33,2 |
1858,9 |
384 |
|
||||||||||||||||||||||||
|
2б |
2260 |
249 |
89,7 |
31,8 |
1921,3 |
384 |
|
||||||||||||||||||||||||
|
2в |
2370 |
260 |
91,1 |
33,2 |
2018,9 |
384 |
|
||||||||||||||||||||||||
|
2г |
2320 |
303 |
96,6 |
38,8 |
1920,4 |
384 |
|
||||||||||||||||||||||||
|
3а |
1740 |
216 |
85,5 |
27,7 |
1438,5 |
384 |
|
||||||||||||||||||||||||
|
3б |
1710 |
216 |
85,5 |
27,7 |
1408,5 |
384 |
|
||||||||||||||||||||||||
|
3г |
1610 |
216 |
85,5 |
27,7 |
1308,5 |
384 |
|
||||||||||||||||||||||||
|
5 |
1Я20 |
216 |
85,5 |
27,7 |
1518,5 |
384 |
|
||||||||||||||||||||||||
|
6а, 6в |
1900 |
216 |
85,5 |
27,7 |
1598,5 |
384 |
|
||||||||||||||||||||||||
|
7а, 12в |
1830 |
249 |
89,7 |
31,8 |
1491,3 |
384 |
|
|||||||||||||||||||||||
|
7б - 7г |
1800 |
249 |
89,7 |
31,8 |
1461,3 |
384 |
|
|||||||||||||||||||||||
|
8а, 12б |
1880 |
249 |
89,7 |
31,8 |
1541,3 |
384 |
|
|||||||||||||||||||||||
|
8б, 11в |
2000 |
249 |
89,7 |
31,8 |
1661,3 |
384 |
|
|||||||||||||||||||||||
|
8в |
2100 |
260 |
91,1 |
33,2 |
1748,9 |
384 |
|
|||||||||||||||||||||||
|
8г |
2720 |
249 |
89,7 |
31,8 |
2381,3 |
384 |
|
|||||||||||||||||||||||
|
8д, 9б |
1970 |
260 |
91,1 |
33,2 |
1618,9 |
384 |
|
|||||||||||||||||||||||
|
8е |
2670 |
260 |
91,1 |
33,2 |
2318,9 |
384 |
|
|||||||||||||||||||||||
|
9a |
2070 |
260 |
91,1 |
33,2 |
1718,9 |
384 |
|
|||||||||||||||||||||||
|
9в |
2180 |
260 |
91,1 |
33,2 |
1828,9 |
384 |
|
|||||||||||||||||||||||
|
10а, 10в |
2250 |
282 |
93,8 |
36 |
1874,2 |
384 |
|
|||||||||||||||||||||||
|
10б |
2310 |
282 |
93,8 |
36 |
1934,2 |
384 |
|
|||||||||||||||||||||||
|
11а |
2310 |
249 |
89,7 |
31,8 |
1971,3 |
384 |
|
|||||||||||||||||||||||
|
11б, 11д, 11е |
1980 |
249 |
89,7 |
31,8 |
1641,3 |
384 |
|
|||||||||||||||||||||||
|
11г |
1960 |
249 |
89,7 |
31,8 |
1621,3 |
384 |
|
|||||||||||||||||||||||
|
12а |
1770 |
249 |
89,7 |
31,8 |
1431,3 |
384 |
|
|||||||||||||||||||||||
|
12г |
1900 |
260 |
91,1 |
33,2 |
1548,9 |
384 |
|
|||||||||||||||||||||||
|
12д |
2000 |
260 |
91,1 |
33,2 |
1648,9 |
384 |
|
|||||||||||||||||||||||
|
12е |
2150 |
260 |
91,1 |
33,2 |
1798,9 |
384 |
|
|||||||||||||||||||||||
|
В том числе: |
|
|||||||||||||||||||||||||||||
|
а) земляные работы |
|
|||||||||||||||||||||||||||||
|
1, 3 - 6 |
71,2 |
56 |
15,2 |
5,96 |
- |
93,4 |
|
|||||||||||||||||||||||
|
2а, 2в, 8в, 8д - 9в, 12г - 12е |
83,6 |
67,2 |
16,4 |
7,14 |
- |
93,4 |
|
|||||||||||||||||||||||
|
2б, 7а - 8б, 8г, 11а - 12в |
80,5 |
64,4 |
16,1 |
6,84 |
- |
93,4 |
|
|||||||||||||||||||||||
|
2г |
96 |
78,4 |
17,6 |
8,33 |
- |
93,4 |
|
|||||||||||||||||||||||
|
10 |
89,8 |
72,8 |
17 |
7,74 |
- |
93,4 |
|
|||||||||||||||||||||||
|
б) фундаменты |
|
|||||||||||||||||||||||||||||
|
1a, 1б, 3в, 4, 6б |
1110 |
74,2 |
308 |
9,24 |
1005 |
136 |
|
|||||||||||||||||||||||
|
1в, 3а |
1080 |
714,2 |
30,8 |
924 |
975 |
136 |
|
|||||||||||||||||||||||
|
1г - 1е |
1150 |
74,2 |
30,8 |
9,24 |
1045 |
136 |
|
|||||||||||||||||||||||
|
1ж |
962 |
74,2 |
30,8 |
9,24 |
857 |
136 |
|
|||||||||||||||||||||||
|
2а |
1130 |
89,1 |
32,6 |
11,1 |
1308,3 |
136 |
|
|||||||||||||||||||||||
|
2б |
1520 |
86,4 |
32,1 |
10,6 |
1402,5 |
136 |
|
|||||||||||||||||||||||
|
2в |
1520 |
89,1 |
32,6 |
11,1 |
1398,3 |
136 |
|
|||||||||||||||||||||||
|
2г |
1500 |
104 |
34,4 |
12,9 |
1361,6 |
136 |
|
|||||||||||||||||||||||
|
3б, 5б |
1050 |
74,2 |
30,8 |
9,24 |
945 |
136 |
|
|||||||||||||||||||||||
|
3г |
941 |
74,2 |
30,8 |
9,24 |
836 |
136 |
|
|||||||||||||||||||||||
|
5а |
1130 |
74,2 |
30,8 |
9,24 |
1025 |
136 |
|
|||||||||||||||||||||||
|
6а, 6в |
1200 |
74,2 |
30,8 |
9,24 |
1095 |
136 |
|
|||||||||||||||||||||||
|
7а - 7в, 12в |
1090 |
85,4 |
32,1 |
10,6 |
972,5 |
136 |
|
|||||||||||||||||||||||
|
7г |
1070 |
85,4 |
32,1 |
10,6 |
952,5 |
136 |
|
|||||||||||||||||||||||
|
8а |
110 |
85,4 |
32,1 |
10,6 |
1012,5 |
136 |
|
|||||||||||||||||||||||
|
8б |
1280 |
85,4 |
32,1 |
10,6 |
1162,5 |
136 |
|
|||||||||||||||||||||||
|
8в, 9в |
1340 |
89,1 |
32,6 |
11,1 |
1218,3 |
136 |
|
|||||||||||||||||||||||
|
8г |
1970 |
85,4 |
32,1 |
10,6 |
1852,5 |
136 |
|
|||||||||||||||||||||||
|
8д, 9б |
1230 |
89,1 |
32,6 |
11,1 |
1108,3 |
136 |
|
|||||||||||||||||||||||
|
8е |
1900 |
89,1 |
32,6 |
11,1 |
1778,3 |
136 |
|
|||||||||||||||||||||||
|
9а |
1320 |
89,1 |
33,6 |
11,1 |
1198,3 |
136 |
|
|||||||||||||||||||||||
|
10а |
1430 |
96,5 |
33,5 |
12 |
1300 |
136 |
|
|||||||||||||||||||||||
|
10б |
1470 |
06,5 |
33,5 |
12 |
1340 |
136 |
|
|||||||||||||||||||||||
|
10в |
1390 |
96,5 |
33,5 |
12 |
1260 |
136 |
|
|||||||||||||||||||||||
|
11а |
1430 |
86,4 |
32,1 |
10,6 |
1312,5 |
136 |
|
|||||||||||||||||||||||
|
11б - 11е |
1210 |
85,4 |
32,1 |
10,6 |
1092,5 |
136 |
|
|||||||||||||||||||||||
|
12а |
1040 |
85,4 |
32,1 |
10,6 |
922,5 |
136 |
|
|||||||||||||||||||||||
|
12б |
1110 |
85,4 |
32,1 |
10,6 |
992,5 |
136 |
|
|||||||||||||||||||||||
|
12г |
1150 |
89,1 |
32,6 |
11,1 |
1028,3 |
136 |
|
|||||||||||||||||||||||
|
12д |
1190 |
89,1 |
32,6 |
11,1 |
1068,3 |
136 |
|
|||||||||||||||||||||||
|
12е |
1380 |
89,1 |
32,6 |
11,1 |
1258,3 |
136 |
|
|||||||||||||||||||||||
|
в) укрепление обвалования дёрном |
|
|||||||||||||||||||||||||||||
|
1а, 1б, 1г - 1e, 4б, 5б, 6б |
56,6 |
22,1 |
0,12 |
o,oe |
34,38 |
43.9 |
|
|||||||||||||||||||||||
|
1в, 3а |
53,5 |
22,1 |
0,12 |
0,02 |
31,28 |
43,9 |
|
|||||||||||||||||||||||
|
1ж, 3б |
56,5 |
22,1 |
0,12 |
0,02 |
33,28 |
43,9 |
|
|||||||||||||||||||||||
|
2а, 2в |
65,1 |
26,5 |
0,13 |
0,03 |
38,47 |
43,9 |
|
|||||||||||||||||||||||
|
2б, 8а, 8г, 11а, 12в |
64 |
25,4 |
0,13 |
0,03 |
38,47 |
43,9 |
|
|||||||||||||||||||||||
|
2г |
83,8 |
30,9 |
0,13 |
0,03 |
52,77 |
43,9 |
|
|||||||||||||||||||||||
|
3в, 4а |
54,5 |
22,1 |
0,12 |
0,02 |
32,28 |
43,9 |
|
|||||||||||||||||||||||
|
3г, 6a, 6в |
57,9 |
22,1 |
0,12 |
0,02 |
35,68 |
43,9 |
|
|||||||||||||||||||||||
|
5а |
60,5 |
22,1 |
0,12 |
0,02 |
38,28 |
43,9 |
|
|||||||||||||||||||||||
|
7а, 7б, 7г, 11г - 12а |
61 |
25,4 |
0,13 |
0,03 |
36,47 |
43,9 |
|
|||||||||||||||||||||||
|
7в |
64,9 |
25,4 |
0,13 |
0,03 |
39,37 |
43,9 |
|
|||||||||||||||||||||||
|
8б |
63 |
25,4 |
0,13 |
0,03 |
37,47 |
43,9 |
|
|||||||||||||||||||||||
|
8в |
66,5 |
26,5 |
0,13 |
0,03 |
39,87 |
43,9 |
|
|||||||||||||||||||||||
|
8д, 9б, 9в, 12г |
63,3 |
26,5 |
0,13 |
0,03 |
36,67 |
43,9 |
|
|||||||||||||||||||||||
|
8е, 9а, 12д |
64,2 |
26,5 |
0,13 |
0,03 |
37,57 |
43,9 |
|
|||||||||||||||||||||||
|
10 |
87,6 |
28,7 |
0,13 |
0,03 |
38,77 |
43,9 |
|
|||||||||||||||||||||||
|
11б, 11в |
58,6 |
25,4 |
0,13 |
0,03 |
33,27 |
43,9 |
|
|||||||||||||||||||||||
|
12б |
62,1 |
25,4 |
0,13 |
0,03 |
36,57 |
43,9 |
|
|||||||||||||||||||||||
|
12е |
76,9 |
26,5 |
0,13 |
0,03 |
50,27 |
43,9 |
|
|||||||||||||||||||||||
|
II. Монтаж металлоконструкций |
|
|||||||||||||||||||||||||||||
|
1, 3 - 6 |
858 |
135 |
311 |
105 |
412 |
205 |
|
|||||||||||||||||||||||
|
2а, 2в, 8в, 8д - 9в, 12г - 12е |
912 |
162 |
332 |
126 |
418 |
205 |
|
|||||||||||||||||||||||
|
2б, 7а - 8б, 8г, 11а - 12в |
895 |
155 |
327 |
120 |
413 |
205 |
|
|||||||||||||||||||||||
|
2г |
959 |
188 |
353 |
146 |
418 |
205 |
|
|||||||||||||||||||||||
|
10 |
968 |
175 |
343 |
136 |
450 |
205 |
|
|||||||||||||||||||||||
|
III. Электромонтажные работы |
|
|||||||||||||||||||||||||||||
|
(монтаж оборудования, КИП и автоматики) |
|
|||||||||||||||||||||||||||||
|
1, 4 - 6 |
13,4 |
5,66 |
1,3 |
0,5 |
6,44 |
9,62 |
|
|||||||||||||||||||||||
|
2а, 2в, 8в, 8д, 9, 12г, 12д |
14,7 |
6,79 |
1,4 |
0,61 |
6,51 |
9,62 |
|
|||||||||||||||||||||||
|
2б, 8а, 8б, 8г, 11а - 12в |
14,4 |
6,5 |
1,38 |
0,58 |
6,52 |
9,62 |
|
|||||||||||||||||||||||
|
2г |
16,2 |
7,92 |
1,5 |
0,71 |
6,78 |
9,62 |
|
|||||||||||||||||||||||
|
3 |
13,5 |
5,66 |
1,3 |
0,5 |
6.54 |
9,62 |
|
|||||||||||||||||||||||
|
7 |
14,2 |
6,5 |
1,38 |
0,58 |
6,32 |
9,62 |
|
|||||||||||||||||||||||
|
8е |
15,4 |
6,79 |
1,4 |
0,61 |
7,21 |
9,62 |
|
|||||||||||||||||||||||
|
10 |
15,6 |
7,35 |
1,45 |
0,66 |
6,8 |
9,62 |
|
|||||||||||||||||||||||
|
12е |
15,1 |
6,79 |
1,4 |
0,61 |
6,91 |
9,62 |
|
|||||||||||||||||||||||
|
IV. Монтаж технологических трубопроводов |
|
|||||||||||||||||||||||||||||
|
1, 3 - 5 |
377 |
42 |
6,64 |
2,72 |
328,36 |
74 |
|
|||||||||||||||||||||||
|
2а, 2в |
383 |
50,4 |
7,19 |
3,26 |
325,41 |
74 |
|
|||||||||||||||||||||||
|
2б, 11 |
382 |
48,3 |
7,05 |
3,12 |
326,65 |
74 |
|
|||||||||||||||||||||||
|
2г |
409 |
58,8 |
7,73 |
3,8 |
342,47 |
74 |
|
|||||||||||||||||||||||
|
6 |
384 |
42 |
6,64 |
2,72 |
336,36 |
74 |
|
|||||||||||||||||||||||
|
7а - 8б, 8г, 12а - 12в |
389 |
48,3 |
7,05 |
3,12 |
333,65 |
74 |
|
|||||||||||||||||||||||
|
8в, 8д, 12г - 12е |
391 |
50,4 |
7,19 |
3,26 |
333,41 |
74 |
|
|||||||||||||||||||||||
|
8е - 9в |
408 |
50,4 |
7,19 |
3,26 |
350,41 |
74 |
|
|||||||||||||||||||||||
|
10 |
440 |
54,6 |
7,46 |
3,53 |
377,94 |
74 |
|
|||||||||||||||||||||||

Рис 8. Установки обезжелезивания воды с содержанием железа до 5 мг/л
а) производительностью 50-100 м3/сут по напорной схеме, типовой проект 901-3-37 (к цене № 33);
б) производительностью 100-200 м3/сут по напорной схеме, типовой проект 901-3-38 (к цене № 34) 1-фильтровальный зал; 2-служебное помещение
Установка обезжелезивания воды с содержанием железа до 5 мг/л производительностью 50-100 м3/сут по напорной схеме. Стены кирпичные, отопление центральное от встроенной котельной
Измеритель - 1 установка
|
Районы |
Прямые затраты, руб. |
В том числе, руб. |
Затраты труда рабочих, чел.-ч. |
||||||
|
основная заработная плата рабочих |
эксплуатация машин |
материальные ресурсы |
|||||||
|
всего |
в том числе заработная плата рабочих, обслуживающих машины |
||||||||
|
1 |
2 |
3 |
4 |
5 |
6 |
7 |
|||
|
I. Строительные работы |
|||||||||
|
1. Подземная часть |
|||||||||
|
1а |
1190 |
56,2 |
77,5 |
27,5 |
1056,3 |
97,5 |
|||
|
1б |
1340 |
56,2 |
77,5 |
27,5 |
1206,3 |
97,5 |
|||
|
1в |
1240 |
56,2 |
77,5 |
27,5 |
1106,3 |
97,5 |
|||
|
1г, 1е |
1310 |
56,2 |
77,5 |
27,5 |
1176,3 |
97,5 |
|||
|
1д |
1370 |
56,2, |
77,5 |
27,5 |
1236,3 |
97,5 |
|||
|
1ж |
733 |
45 |
44,1 |
16,9 |
643,9 |
77,7 |
|||
|
2а |
2610 |
85,2 |
133 |
51,7 |
2391,8 |
124 |
|||
|
2б, 11г |
1400 |
64,7 |
82,6 |
31,5 |
1252,7 |
97,5 |
|||
|
2в |
3300 |
85,2 |
133 |
51,7 |
3081,8 |
124 |
|||
|
2г |
1530 |
78,7 |
92 |
38,6 |
1359,3 |
97,5 |
|||
|
3а, 3б |
720 |
45 |
43,7 |
15,9 |
631,3 |
77,7 |
|||
|
3в |
722 |
45 |
45,1 |
15,9 |
631,9 |
77,7 |
|||
|
3г |
713 |
45 |
45,1 |
15,9 |
622,9 |
77,7 |
|||
|
4 |
768 |
45 |
44,6 |
15,9 |
678,4 |
77,7 |
|||
|
5а |
777 |
45 |
45,1 |
15,9 |
686,9 |
77,7 |
|||
|
5б |
951 |
45 |
46,7 |
15,9 |
859,3 |
77,7 |
|||
|
6а |
753 |
45 |
45,1 |
15,9 |
662,9 |
77,7 |
|||
|
6б |
745 |
45 |
44,1 |
15,9 |
655,9 |
77,7 |
|||
|
6в |
873 |
45 |
45,1 |
15,9 |
782,9 |
77,7 |
|||
|
7а, 7в |
1320 |
64,7 |
82,1 |
31,5 |
1173,2 |
97,5 |
|||
|
7б, 7г, 8б |
2110 |
81,6 |
127 |
49,3 |
1901,4 |
124 |
|||
|
8а |
2230 |
81,6 |
127 |
49,3 |
2021,4 |
124 |
|||
|
8в |
2480 |
85,2 |
131 |
51,7 |
2263,8 |
124 |
|||
|
8г, 11е |
2370 |
81,6 |
128 |
49,3 |
2160,4 |
124 |
|||
|
8д |
2240 |
85,2 |
131 |
51,7 |
2023,8 |
124 |
|||
|
8е |
2300 |
85,2 |
133 |
51,7 |
2081,8 |
124 |
|||
|
9а |
2410 |
85,2 |
133 |
51,7 |
2191,8 |
124 |
|||
|
9б |
2060 |
85,2 |
131 |
51,7 |
18143,8 |
124 |
|||
|
9в |
2980 |
85,2 |
133 |
51,7 |
2761,8 |
124 |
|||
|
10а |
1450 |
73,1 |
86,7 |
35,8 |
1290,2 |
97,5 |
|||
|
10б |
2960 |
92,3 |
135 |
56,1 |
2732,7 |
124 |
|||
|
10в |
3210 |
92,3 |
135 |
56,1 |
2982,7 |
124 |
|||
|
11а |
2110 |
64,7 |
83,5 |
34,5 |
1961,8 |
97,5 |
|||
|
11б |
1530 |
64,7 |
81,6 |
31,5 |
1388,7 |
97,5 |
|||
|
11в |
1420 |
64,7 |
81,6 |
31,5 |
1273,7 |
97,5 |
|||
|
11д |
2310 |
81,6 |
127 |
49,3 |
2101,4 |
124 |
|||
|
12a |
752 |
51,8 |
46,4 |
18,2 |
653,8 |
77,7 |
|||
|
12б |
925 |
51,8 |
47,4 |
18,2 |
825,8 |
77,7 |
|||
|
12в |
868 |
51,8 |
46,4 |
18,2 |
769,8 |
77,7 |
|||
|
12г |
868 |
54 |
47,5 |
19,1 |
766,5 |
77,7 |
|||
|
12д |
1140 |
54 |
47,5 |
19,1 |
1038,5 |
77,7 |
|||
|
12е |
893 |
54 |
49,8 |
19,1 |
789,2 |
77,7 |
|||
|
В том числе: |
|||||||||
|
а) земляные работы |
|||||||||
|
1a - 1e |
38,7 |
28,1 |
10,6 |
3,47 |
- |
47,8 |
|||
|
1ж, 3б, 4а, 6б |
32,3 |
26,4 |
6,9 |
2,2 |
- |
44,4 |
|||
|
2а, 2в, 8е, 9а, 9в |
59.5 |
37,6 |
21,9 |
7,16 |
- |
54,3 |
|||
|
2б, 11a |
45,3 |
32,3 |
13 |
3,89 |
- |
47,8 |
|||
|
2г |
54,8 |
39,4 |
45,4 |
4,97 |
- |
47,8 |
|||
|
3а |
31,5 |
26,4 |
5,1 |
2,2 |
- |
44,4 |
|||
|
3в, 3г, 4б, 5а, 6а, 6в |
33,3 |
26,4 |
6,9 |
2,2 |
- |
44,4 |
|||
|
5б |
34,9 |
26,4 |
8,5 |
2,2 |
- |
44,4 |
|||
|
7а, 11б - 11г |
43,3 |
32,3 |
11 |
3,89 |
- |
47,8 |
|||
|
7б, 7г - 8б, 11д, 11е |
54,3 |
36 |
18,3 |
6,63 |
- |
54,3 |
|||
|
7в |
44,4 |
32,3 |
12,1 |
3,89 |
- |
47,8 |
|||
|
8в, 8д, 9б |
57,7 |
37,6 |
20,1 |
7,16 |
- |
54,3 |
|||
|
8г |
56,1 |
36 |
20,1 |
6,63 |
- |
64,3 |
|||
|
10а |
49,1 |
36,5 |
12,6 |
4,6 |
- |
47,8 |
|||
|
10б, 10в |
61,5 |
40,8 |
20,7 |
7,8 |
- |
54,3 |
|||
|
12а, 12в |
36,5 |
30,4 |
6,1 |
2,46 |
- |
44,4 |
|||
|
12б |
37,6 |
30,4 |
7,2 |
2,46 |
- |
44,4 |
|||
|
12г, 12д |
38,3 |
31,7 |
6,6 |
2,68 |
- |
44,4 |
|||
|
12е |
40,5 |
31,7 |
8,8 |
2,68 |
- |
44,4 |
|||
|
б) фундаменты |
|||||||||
|
1а |
1070 |
22,7 |
64,2 |
23,2 |
983,1 |
39,6 |
|||
|
1б |
1220 |
22,7 |
64,2 |
23,2 |
1133,1 |
39,6 |
|||
|
1в |
1120 |
22,7 |
64,2 |
23,2 |
1033,1 |
39,6 |
|||
|
1г, 1е |
1190 |
22,7 |
64,2 |
23,2 |
1103,1 |
39,6 |
|||
|
1д |
1250 |
22,7 |
64,2 |
23,2 |
1163,1 |
39,6 |
|||
|
1ж, 6а, 6б |
634 |
13,2 |
35,4 |
12,8 |
585,4 |
23,2 |
|||
|
2а |
2450 |
41,1 |
108 |
43,6 |
2300,9 |
59,4 |
|||
|
2б |
1240 |
26,1 |
67,7 |
26,7 |
1146,2 |
39,6 |
|||
|
2в |
3130 |
41,1 |
108 |
43,6 |
2980,9 |
59,4 |
|||
|
2г |
1370 |
31,8 |
73,5 |
32,5 |
1264,7 |
39,6 |
|||
|
3 |
612 |
13,2 |
35,4 |
12,8 |
563 |
23,2 |
|||
|
4а - 5а |
660 |
13,2 |
35,4 |
12,8 |
611,4 |
23,2 |
|||
|
5б |
841 |
13,2 |
35,4 |
12,8 |
792,4 |
23,2 |
|||
|
6в |
754 |
13,2 |
35,4 |
12,8 |
705,4 |
23,2 |
|||
|
7а, 7в |
1200 |
26,1 |
67,7 |
26,7 |
1106,2 |
39,6 |
|||
|
7б, 7г, 8б |
1980 |
39,4 |
106 |
41,7 |
1834,6 |
59,4 |
|||
|
8а |
2090 |
39,4 |
106 |
41,7 |
1944,6 |
59,4 |
|||
|
8в |
2330 |
41,1 |
108 |
43,6 |
2180,9 |
59,4 |
|||
|
8г, 11д |
2170 |
39,4 |
106 |
41,7 |
2024,6 |
59,4 |
|||
|
8д, 8е |
2100 |
41,1 |
108 |
43,6 |
1950,9 |
59,4 |
|||
|
9а |
2260 |
41,1 |
108 |
43,6 |
2110,9 |
59,4 |
|||
|
9б |
1910 |
41,1 |
108 |
43,6 |
1760,9 |
59,4 |
|||
|
9в |
2820 |
41,1 |
108 |
43,6 |
2670,9 |
59,4 |
|||
|
10а |
1300 |
29,6 |
71,2 |
30,1 |
1199,2 |
39,6 |
|||
|
10б |
2790 |
44,5 |
112 |
47,2 |
2633,5 |
59,4 |
|||
|
10в |
3050 |
44,5 |
112 |
47,2 |
2893,5 |
59,4 |
|||
|
11а |
1960 |
26,1 |
67,7 |
26,7 |
1866,2 |
39,6 |
|||
|
11б |
1400 |
26,1 |
67,7 |
26,7 |
1306,2 |
39,6 |
|||
|
11в |
1290 |
26,1 |
67,7 |
26,7 |
1196,2 |
39,6 |
|||
|
11г |
1260 |
26,1 |
67,7 |
26,7 |
1166,2 |
39,6 |
|||
|
11e |
2240 |
39,4 |
106 |
41,7 |
2094,6 |
59,4 |
|||
|
12а |
642 |
15,2 |
37,4 |
14,8 |
589,4 |
23,2 |
|||
|
12б |
809 |
15,2 |
37,4 |
14,8 |
756,4 |
23,2 |
|||
|
12в |
752 |
15,2 |
37,4 |
14,8 |
699,4 |
23,2 |
|||
|
12г, 12е |
751 |
15,9 |
38 |
15,4 |
697,1 |
23,2 |
|||
|
12д |
1010 |
15,9 |
38 |
15,4 |
956,1 |
23,2 |
|||
|
2. Надземная часть |
|||||||||
|
1а |
2360 |
227 |
64,1 |
21,4 |
2068,9 |
401 |
|||
|
1б, 1г |
2440 |
227 |
64,1 |
21,4 |
2148,9 |
401 |
|||
|
1в |
2500 |
227 |
64,1 |
21,4 |
2208,9 |
401 |
|||
|
1д |
2540 |
227 |
64,1 |
21,4 |
2248,9 |
401 |
|||
|
1e |
3000 |
227 |
64,1 |
21,4 |
2708,9 |
401 |
|||
|
1ж, 4а |
2010 |
207 |
54,9 |
18,5 |
1748,1 |
363 |
|||
|
2а, 9а |
3730 |
310 |
86,2 |
32,1 |
3333,8 |
458 |
|||
|
2б |
3330 |
261 |
67,3 |
24,6 |
3001,7 |
401 |
|||
|
2в |
4030 |
310 |
86,2 |
32,1 |
3633,8 |
458 |
|||
|
2г |
2940 |
318 |
72,6 |
29,9 |
2549,4 |
491 |
|||
|
3а, 3б |
2040 |
207 |
54,9 |
18,5 |
1778,1 |
363 |
|||
|
3в |
2100 |
207 |
54,9 |
18,5 |
1838,1 |
363 |
|||
|
3г |
2320 |
207 |
54,9 |
18,5 |
2058,1 |
363 |
|||
|
4б, 6а |
2260 |
207 |
54,9 |
18,5 |
1998,1 |
363 |
|||
|
5а |
2130 |
207 |
54,9 |
18,5 |
1868,1 |
363 |
|||
|
5б |
2480 |
207 |
54,9 |
18,5 |
2218,1 |
363 |
|||
|
6б, 6в |
2230 |
207 |
54,9 |
18,5 |
1968,1 |
363 |
|||
|
7а |
2640 |
261 |
67,3 |
24,6 |
2311,7 |
401 |
|||
|
7б, 7г |
3000 |
298 |
84,9 |
30,8 |
2617,1 |
458 |
|||
|
7в, 11б |
2780 |
261 |
67,3 |
24,6 |
2451,7 |
401 |
|||
|
8а, 8б, 11д |
3360 |
298 |
84,9 |
30,8 |
2977,1 |
458 |
|||
|
8в, 8е |
3330 |
310 |
86,2 |
32,1 |
2933,8 |
458 |
|||
|
8г |
3840 |
298 |
84,9 |
30,8 |
3457,1 |
458 |
|||
|
8д |
2810 |
310 |
86,2 |
32,1 |
2413,8 |
458 |
|||
|
9б |
3040 |
310 |
86,2 |
32,1 |
2643,8 |
458 |
|||
|
9в |
3670 |
310 |
86,2 |
32,1 |
3273,8 |
458 |
|||
|
10а |
3110 |
295 |
70,5 |
27,8 |
2744,5 |
401 |
|||
|
10б |
3710 |
336 |
88,9 |
34,8 |
3285,1 |
458 |
|||
|
10в |
3860 |
336 |
88,9 |
34,8 |
3435,1 |
458 |
|||
|
11а |
3140 |
261 |
67,3 |
24,6 |
2811,7 |
401 |
|||
|
11в |
2860 |
261 |
87,3 |
24,6 |
2531,7 |
401 |
|||
|
11г |
2720 |
261 |
67,3 |
24,6 |
2391,7 |
401 |
|||
|
11е |
3520 |
298 |
84,9 |
30,8 |
3137,1 |
458 |
|||
|
12а |
221C |
238 |
57,6 |
21,3 |
1914,4 |
363 |
|||
|
12б |
2300 |
238 |
57,6 |
21,3 |
2004,4 |
363 |
|||
|
12в |
2480 |
238 |
57,6 |
21,3 |
2184,4 |
363 |
|||
|
12г |
2360 |
248 |
58,6 |
22,2 |
2053,4 |
363 |
|||
|
12д |
2530 |
248 |
58,6 |
22,2 |
2223,4 |
363 |
|||
|
12е |
2470 |
248 |
58,6 |
22,2 |
2163,4 |
363 |
|||
|
В том числе: |
|||||||||
|
а) стены наружные |
|||||||||
|
1a |
1450 |
106 |
46,3 |
14,7 |
1297,7 |
191 |
|||
|
1б |
1520 |
106 |
46,3 |
14,7 |
1367,7 |
191 |
|||
|
1в |
1590 |
106 |
46,3 |
14,7 |
1437,7 |
191 |
|||
|
1г |
1500 |
106 |
46,3 |
14,7 |
1347,7 |
191 |
|||
|
1д |
1620 |
106 |
46,3 |
14,7 |
1467,7 |
191 |
|||
|
1e |
2070 |
106 |
46,3 |
14,7 |
1917,7 |
191 |
|||
|
1ж |
1120 |
85,5 |
37,1 |
11,8 |
997,4 |
154 |
|||
|
2a |
2630 |
165 |
67,1 |
24,2 |
2397,9 |
249 |
|||
|
2б |
2330 |
122 |
48,5 |
16,9 |
2159,5 |
191 |
|||
|
2в |
2880 |
165 |
67,1 |
24,2 |
2647,9 |
249 |
|||
|
2г |
1880 |
148 |
52,2 |
20,6 |
1629,8 |
191 |
|||
|
3а, 4а |
1100 |
85,5 |
37,1 |
11,8 |
977,4 |
154 |
|||
|
3б |
1150 |
85,5 |
37,1 |
11,8 |
1027,4 |
154 |
|||
|
3в |
1220 |
85,5 |
37,1 |
11,8 |
1097,4 |
154 |
|||
|
3г |
1440 |
85,5 |
37,1 |
11,8 |
1317,4 |
154 |
|||
|
4б |
1390 |
85,5 |
37,1 |
11,8 |
1267,4 |
151 |
|||
|
5а |
1190 |
85,5 |
37,1 |
11,8 |
1067,4 |
154 |
|||
|
5б |
1460 |
85,5 |
37,1 |
11,8 |
1337,4 |
154 |
|||
|
6а, 6б |
1280 |
85,5 |
37,1 |
11,8 |
1157,4 |
154 |
|||
|
6в |
1240 |
85,5 |
37,1 |
11,8 |
1117,4 |
154 |
|||
|
7а, 11б, 11г |
1680 |
122 |
48,5 |
16,9 |
1509,5 |
191 |
|||
|
7б, 7г |
2030 |
158 |
66,1 |
23,1 |
1805,9 |
249 |
|||
|
7в |
1850 |
122 |
48,5 |
16,9 |
1679,5 |
191 |
|||
|
8а |
2310 |
158 |
66,1 |
23,1 |
2085,9 |
249 |
|||
|
8б |
2340 |
158 |
66,1 |
23,1 |
2115,9 |
249 |
|||
|
8в |
2300 |
165 |
67,1 |
24,2 |
2067,9 |
249 |
|||
|
8г |
2720 |
158 |
66,1 |
23,1 |
2495,9 |
249 |
|||
|
8д |
1780 |
165 |
67,1 |
24,2 |
1547,9 |
249 |
|||
|
8е |
2080 |
165 |
67,1 |
24,2 |
1847,9 |
249 |
|||
|
9a |
2670 |
165 |
67,1 |
24,2 |
2437,9 |
249 |
|||
|
9б |
1980 |
165 |
67,1 |
24,2 |
1747,9 |
249 |
|||
|
9e |
2110 |
166 |
67,1 |
24,2 |
1877,9 |
249 |
|||
|
10а |
1980 |
138 |
50,7 |
19,1 |
1791,3 |
191 |
|||
|
10б |
2490 |
178 |
69,1 |
26,2 |
2242,9 |
249 |
|||
|
10в |
2620 |
178 |
69,1 |
26,2 |
2372,9 |
249 |
|||
|
11а |
1940 |
122 |
48,5 |
16,9 |
1769,5 |
191 |
|||
|
11в |
1810 |
122 |
48,5 |
16,9 |
1639,5 |
191 |
|||
|
11д |
2280 |
158 |
66,1 |
23,1 |
2055,9 |
249 |
|||
|
11e |
2420 |
158 |
66,1 |
23,1 |
2195,9 |
249 |
|||
|
12а, 12б |
1180 |
98,3 |
38,9 |
13,6 |
1042,8 |
154 |
|||
|
12в |
1400 |
98,3 |
38,9 |
13,6 |
1262,8 |
154 |
|||
|
12г |
1280 |
102 |
39.5 |
14.2 |
1138,5 |
154 |
|||
|
12д |
1470 |
102 |
39,5 |
14,2 |
1328,5 |
154 |
|||
|
12е |
1330 |
102 |
39,5 |
14,2 |
1188,5 |
154 |
|||
|
б) отделочные работы |
|||||||||
|
1, 3а - 3в, 4а |
252 |
73,6 |
6,13 |
2,67 |
173,27 |
125 |
|||
|
2а, 8д |
278 |
88,8 |
5,66 |
3,21 |
184,04 |
125 |
|||
|
2б, 8г, 11 |
282 |
84,6 |
5,53 |
3,08 |
191,87 |
125 |
|||
|
2в, 8в, 9а, 9в |
286 |
88,3 |
5,66 |
3,21 |
192,04 |
125 |
|||
|
2г |
304 |
103 |
6,2 |
3,74 |
194,8 |
125 |
|||
|
3г |
245 |
73,6 |
5,13 |
2,67 |
166,27 |
125 |
|||
|
4б |
248 |
73,6 |
5,13 |
2,67 |
169,27 |
125 |
|||
|
5 |
259 |
73,6 |
5,13 |
2,67 |
180,27 |
125 |
|||
|
6 |
264 |
7,3,6 |
5,13 |
2,67 |
185,2,7 |
125 |
|||
|
7, 8б |
266 |
84,6 |
5,53 |
3,08 |
175,87 |
125 |
|||
|
8а |
270 |
84,6 |
5,53 |
3,08 |
179,87 |
125 |
|||
|
8е |
315 |
88,3 |
5,66 |
3,21 |
221,04 |
125 |
|||
|
9б |
282 |
88,3 |
5,66 |
3,21 |
188,04 |
125 |
|||
|
10а |
310 |
95,7 |
5,93 |
3,48 |
208,37 |
125 |
|||
|
10б |
294 |
95,7 |
5,93 |
3,48 |
192,37 |
125 |
|||
|
10в |
287 |
95,7 |
5,93 |
3,48 |
185,37 |
125 |
|||
|
12а, 12в |
366 |
84,6 |
5,53 |
3,08 |
275,87 |
125 |
|||
|
12б |
377 |
84,6 |
5,53 |
3,08 |
28,6,87 |
125 |
|||
|
12г, 12д |
372 |
88,3 |
5,66 |
3,21 |
278,04 |
125 |
|||
|
12е |
378 |
88,3 |
5,66 |
3,21 |
284,04 |
125 |
|||
|
II. Внутренние санитарно-технические устройства |
|||||||||
|
1. Санитарно-технические работы (центральное отопление и вентиляция) |
|||||||||
|
1a - 1e |
125 |
14,2 |
1,91 |
0,43 |
108,89 |
22,4 |
|||
|
1ж |
110 |
12,4 |
1,68 |
0,37 |
95,92 |
19,6 |
|||
|
2а, 2в, 9 |
138 |
17,5 |
2,05 |
0,52 |
118,45 |
23 |
|||
|
2б |
134 |
16,3 |
1,97 |
0,49 |
115,73 |
22,4 |
|||
|
2г |
140 |
19,9 |
2,08 |
0,6 |
118,02 |
22,4 |
|||
|
3 - 6 |
112 |
12,4 |
1,68 |
0,37 |
97,92 |
19,6 |
|||
|
7а, 7в, 11а - 11г |
130 |
16,3 |
1,97 |
0,49 |
111,73 |
22,4 |
|||
|
7б, 7г - 8б, 8г, 11д, 11e |
133 |
16,8 |
2,03 |
0,5 |
114,17 |
23 |
|||
|
8в, 8д |
134 |
17,5 |
2,05 |
0,52 |
114,45 |
23 |
|||
|
8е |
145 |
17,5 |
2,05 |
0,52 |
125,45 |
23 |
|||
|
10а |
161 |
18,4 |
2,01 |
0,55 |
140,56 |
22,4 |
|||
|
10б, 10а |
166 |
19 |
2,09 |
0,57 |
144,91 |
23 |
|||
|
12а - 12в |
114 |
14,3 |
1,73 |
0,43 |
97,97 |
19,6 |
|||
|
12г, 12д |
115 |
14,9 |
1,75 |
0,45 |
98,36 |
19,6 |
|||
|
12е |
121 |
14,9 |
1,75 |
0,45 |
104,35 |
19,6 |
|||
|
2. Строительные работы, сопутствующие санитарно-техническим |
|||||||||
|
1а - 1е |
14,4 |
5,96 |
0,32 |
0,09 |
8,12 |
10,4 |
|||
|
1ж, 3 - 6 |
12 |
4,97 |
0,26 |
0,07 |
6,77 |
8,69 |
|||
|
2а, 8в, 8д, 9 |
16,5 |
7,15 |
0,34 |
0,11 |
9,01 |
10,4 |
|||
|
2б, 7а - 8б, 8г, 11 |
15,7 |
6,85 |
0,33 |
0,1 |
8,52 |
10,4 |
|||
|
2в |
16 |
7,15 |
0,34 |
0,11 |
8,51 |
10,4 |
|||
|
2г |
17,5 |
8,34 |
0,35 |
0,12 |
8,81 |
10,4 |
|||
|
8е |
17,5 |
7,15 |
0,34 |
0,11 |
10,01 |
10,4 |
|||
|
10 |
17,6 |
7,74 |
0,35 |
0,11 |
9,52 |
10,4 |
|||
|
12а - 12в |
13 |
5,72 |
0,27 |
0,08 |
7,01 |
8,69 |
|||
|
12г - 12д |
13,7 |
5,97 |
0,28 |
0,09 |
7,45 |
8,69 |
|||
|
12е |
14,3 |
5,97 |
0,28 |
0,09 |
8,06 |
8,69 |
|||
|
III. Электроосвещение и монтаж электросилового оборудования |
|||||||||
|
1, 3 - 6 |
276 |
104 |
28,7 |
10,7 |
143,3 |
183 |
|||
|
2а, 2в, 8в, 8д, 9, 12г, 12д |
301 |
125 |
30,9 |
12,9 |
145,1 |
183 |
|||
|
2б, 8а, 8б, 8г, 11a - 12в |
296 |
119 |
30,3 |
12,3 |
146,7 |
183 |
|||
|
2г |
330 |
145 |
33 |
15 |
152 |
183 |
|||
|
7 |
293 |
119 |
30,3 |
12,3 |
143,7 |
183 |
|||
|
8е |
313 |
125 |
30,9 |
12,9 |
157,1 |
183 |
|||
|
10 |
319 |
135 |
31,9 |
13,9 |
152,1 |
183 |
|||
|
12е |
307 |
125 |
30,9 |
12,9 |
151,1 |
183 |
|||
|
IV. Монтаж технологического оборудования |
|||||||||
|
1, 3 - 6 |
1040 |
423 |
161 |
57,7 |
456 |
746 |
|||
|
2а, 2в, 8в, 8д, 12г - 12е |
1140 |
5,08 |
178 |
69,2 |
459 |
746 |
|||
|
2б, 7a - 8б, 8г, 11а - 12в |
1110 |
486 |
170 |
66,4 |
454 |
746 |
|||
|
2г |
1240 |
592 |
185 |
80,8 |
463 |
746 |
|||
|
8е |
1150 |
508 |
173 |
69,2 |
460 |
746 |
|||
|
9 |
11160 |
508 |
173 |
69,2 |
479 |
746 |
|||
|
10 |
1240 |
550 |
178 |
75 |
512 |
746 |
|||
|
V. Монтаж санитарно-технического оборудования |
|||||||||
|
1, 3, 4 |
139 |
15 |
1,1 |
0,33 |
122,9 |
23,5 |
|||
|
2а, 2в, 8в, 8д, 9, 12г, 12д |
147 |
18 |
1,17 |
0,4 |
127,83 |
23,5 |
|||
|
2б, 8а, 8б, 8г, 11а - 12в |
146 |
17,3 |
1,15 |
0,38 |
127,55 |
23,5 |
|||
|
2г |
155 |
21 |
1,23 |
0,46 |
132,77 |
23,5 |
|||
|
5, 6 |
143 |
15 |
1,1 |
0,33 |
126,9 |
23,5 |
|||
|
7 |
142 |
17,3 |
1,15 |
0,38 |
123,55 |
23,5 |
|||
|
8e |
166 |
18 |
1,17 |
0,4 |
146,83 |
23,5 |
|||
|
10 |
156 |
19,5 |
1,2 |
0,43 |
135,3 |
23,5 |
|||
|
12e |
155 |
18 |
1,17 |
0,4 |
135,83 |
23,5 |
|||
|
Установка обезжелезивания воды с содержанием железа до 5 мг/.ч производительностью 100-200 м3/сут и с содержанием железа 5-15 мг/л производительностью 50-100 м3/сут по напорной схеме. Стены кирпичные, отопление центральное от встроенной котельной |
|||||||||
|
Измеритель - 1 установка |
|||||||||
|
I. Строительные работы |
|||||||||
|
1. Подземная часть |
|||||||||
|
1а |
1370 |
70,9 |
87,4 |
31 |
1211,7 |
122 |
|||
|
1б |
1540 |
70,9 |
87,4 |
31 |
1381,7 |
122 |
|||
|
1в |
1430 |
70,9 |
87,4 |
31 |
1271,7 |
122 |
|||
|
1г, 1е |
1520 |
70,9 |
87,4 |
31 |
1361,7 |
122 |
|||
|
1д |
1590 |
70,9 |
87,4 |
31 |
1431,7 |
122 |
|||
|
1ж |
828 |
57,1 |
46,4 |
16,6 |
724,5 |
97,9 |
|||
|
2а |
3020 |
105 |
150 |
58,6 |
2765 |
152 |
|||
|
2б, 11г |
1610 |
81,6 |
93 |
35,5 |
1435,4 |
122 |
|||
|
2в |
3820 |
105 |
150 |
58,6 |
3565 |
152 |
|||
|
2г |
1770 |
98,3 |
104 |
43,5 |
1566,7 |
122 |
|||
|
3а, 3б |
812 |
57,1, |
45,9 |
16,6 |
709 |
97,9 |
|||
|
3в |
815 |
57,1 |
47,4 |
16,6 |
710,5 |
97,9 |
|||
|
3г |
806 |
57,1 |
47,4 |
16,6 |
701,5 |
97,9 |
|||
|
4а - 5а |
871 |
57,1 |
46,9 |
16,6 |
767 |
97,9 |
|||
|
5б |
1070 |
57,1 |
49,1 |
16,6 |
963,8 |
97,9 |
|||
|
6а, 6б |
844 |
57,1 |
46,9 |
16,6 |
740 |
97,9 |
|||
|
6в |
986 |
57,1 |
47,4 |
16,6 |
881,5 |
97,9 |
|||
|
7а, 7в |
1520 |
81,6 |
92,6 |
35,5 |
1345,8 |
122 |
|||
|
7б, 7г, 8б |
2440 |
101 |
144 |
55,9 |
2195 |
152 |
|||
|
8а |
2580 |
101 |
144 |
55,9 |
2335 |
152 |
|||
|
8в |
2880 |
105 |
148 |
58,6 |
2627 |
152 |
|||
|
8г, 1e |
2750 |
101 |
145 |
55,9 |
2504 |
152 |
|||
|
8д |
2600 |
105 |
148 |
58,6 |
2347 |
152 |
|||
|
8e |
2650 |
105 |
150 |
58,6 |
2395 |
152 |
|||
|
9а |
2790 |
105 |
150 |
58,6 |
2536 |
152 |
|||
|
9б |
2380 |
105 |
148 |
58,6 |
2127 |
152 |
|||
|
9в |
3450 |
105 |
150 |
58,6 |
3195 |
152 |
|||
|
10а |
1670 |
92,2 |
97,7 |
40,4 |
1480,1 |
122 |
|||
|
10б |
3430 |
114 |
153 |
63,5 |
3163 |
152 |
|||
|
10в |
3720 |
114 |
153 |
63,5 |
3453 |
152 |
|||
|
11а |
2430 |
81,6 |
94,1 |
35,5 |
2254,3 |
122 |
|||
|
11б |
1770 |
81,6 |
92 |
35,5 |
1596,4 |
122 |
|||
|
11в |
1650 |
81,6 |
92 |
35,5 |
1476,4 |
122 |
|||
|
11д |
2680 |
101 |
144 |
55,9 |
2435 |
152 |
|||
|
12а |
849 |
65,6 |
48,8 |
19,1 |
734,6 |
97,9 |
|||
|
12б |
1050 |
65,6 |
49,8 |
19,1 |
934,6 |
97,9 |
|||
|
12в |
981 |
65,6 |
48,8 |
19,1 |
866,6 |
97,9 |
|||
|
12г |
981 |
68,5 |
49,9 |
20 |
862,6 |
97,9 |
|||
|
12д |
1280 |
68,5 |
49,9 |
20 |
1161,6 |
97,9 |
|||
|
12e |
1010 |
68,5 |
62,2 |
20 |
889,3 |
97,9 |
|||
|
В том числе: |
|||||||||
|
а) земляные работы |
|||||||||
|
1a - 1e |
50,9 |
39,4 |
11,5 |
3,81 |
- |
66,7 |
|||
|
1ж, 3б, 4а, 6б |
43,7 |
37,4 |
6,3 |
2,34 |
- |
62,8 |
|||
|
2а, 2в, 8e, 9а, 9в |
76,2 |
51,8 |
24,4 |
8,06 |
- |
74,3 |
|||
|
2б, 11а |
59,4 |
45,3 |
14,4 |
4,27 |
- |
66,7 |
|||
|
2г |
71,9 |
55,1 |
16,8 |
5,45 |
- |
66,7 |
|||
|
3а |
42,8 |
37,4 |
5,4 |
2,34 |
- |
62,8 |
|||
|
3в, 3г, 4б, 5а, 6а, 6в |
44,7 |
37,4 |
7,3 |
2,31 |
- |
62,8 |
|||
|
5б |
46,4 |
37,4 |
9 |
2,34 |
- |
62,8 |
|||
|
7а, 11б - 11г |
57,3 |
45,3 |
12 |
4,27 |
- |
66,7 |
|||
|
7б, 7г - 8б, 11д, 11e |
70,1 |
49,6 |
20,5 |
7,46 |
- |
74,3 |
|||
|
7в |
58,5 |
46,8 |
13,2 |
4,27 |
- |
66,7 |
|||
|
8в, 8д, 9б |
74,3 |
51,8 |
22,5 |
8,06 |
- |
74,3 |
|||
|
8г |
72 |
49,6 |
22,4 |
7,46 |
- |
74,3 |
|||
|
10а |
64,8 |
51,2 |
13,6 |
5,04 |
- |
65,7 |
|||
|
10б, 10в |
79,3 |
56,1 |
23,2 |
8,76 |
- |
74,3 |
|||
|
12а, 12в |
49,6 |
43 |
6,6 |
2,62 |
- |
62,8 |
|||
|
12б |
50,6 |
43 |
7,6 |
2,62 |
- |
62,8 |
|||
|
12г, 12д |
51,9 |
44,9 |
7 |
2,85 |
- |
62,8 |
|||
|
12е |
64,2 |
44,9 |
9,3 |
2,85 |
- |
62,8 |
|||
|
б) фундаменты |
|||||||||
|
1а |
1240 |
25,9 |
73 |
26,3 |
1141,1 |
45,2 |
|||
|
1б |
1410 |
25,9 |
73 |
26,3 |
1311,1 |
45,2 |
|||
|
1в |
1300 |
25,9 |
73 |
26,3 |
1201,1 |
45,2 |
|||
|
1г, 1е |
1380 |
25,9 |
73 |
26,3 |
1281,1 |
45,2 |
|||
|
1д |
1450 |
25,9 |
73 |
26,3 |
1351,1 |
45,2 |
|||
|
1ж, 6а, 6б |
714 |
14,1 |
37,2 |
13,4 |
662,7 |
24,7 |
|||
|
2а |
2840 |
46,9 |
123 |
49,5 |
2670,1 |
67,8 |
|||
|
2б |
1440 |
29,8 |
77 |
30,3 |
1333,2 |
45,3 |
|||
|
2в |
3640 |
46,9 |
123 |
49,5 |
3470,1 |
67,8 |
|||
|
2г |
1590 |
36,3 |
83,5 |
36,9 |
1470,2 |
45,2 |
|||
|
3 |
690 |
14,1 |
37,2 |
13,4 |
638,7 |
24,7 |
|||
|
4а - 5а |
744 |
14,1 |
37,2 |
13,4 |
692,7 |
24,7 |
|||
|
5б |
948 |
14,1 |
37,2 |
13,4 |
896,7 |
24,7 |
|||
|
6в |
85,2 |
14,1 |
37,2 |
13,4 |
800,7 |
24,7 |
|||
|
7а, 7в |
1380 |
29,8 |
77 |
30,3 |
1273,2 |
45,2 |
|||
|
7б, 7г, 8б |
2290 |
44,9 |
131 |
47,5 |
2124,1 |
67,8 |
|||
|
8а |
2420 |
44,9 |
121 |
47,5 |
3254,1 |
67,8 |
|||
|
8в |
2700 |
46,9 |
123 |
49,5 |
2530,1 |
67,8 |
|||
|
8г, 11д |
2520 |
44,9 |
121 |
47,5 |
2354,1 |
67,8 |
|||
|
8д, 8е |
2430 |
46,9 |
123 |
49,5 |
2260,1 |
67,8 |
|||
|
9а |
2620 |
46,9 |
123 |
49,5 |
2450,1 |
67,8 |
|||
|
9б |
2220 |
46,9 |
123 |
49,5 |
2050,1 |
67,8 |
|||
|
9в |
3270 |
46,9 |
123 |
49,5 |
3100,1 |
67,8 |
|||
|
10а |
1500 |
33,7 |
80,9 |
34,2 |
1385,4 |
45,2 |
|||
|
10б |
3240 |
50,8 |
127 |
53,6 |
3062,2 |
67,8 |
|||
|
10в |
3540, |
50,8 |
127 |
53,6 |
3362,2 |
67,8 |
|||
|
11а |
2270 |
29,8 |
77 |
30,3 |
2163,2 |
45,2 |
|||
|
11б |
1620 |
29,8 |
77 |
30,3 |
1513,2 |
45,2 |
|||
|
11в |
1500 |
29,8 |
77 |
30,3 |
1393,2 |
45,2 |
|||
|
11г |
1460 |
29,8 |
77 |
30,3 |
1353,2 |
45,2 |
|||
|
11е |
2590 |
44,9 |
121 |
47,5 |
2424,1 |
67,8 |
|||
|
12а |
722 |
16,2 |
89,2 |
15,4 |
666,6 |
24,7 |
|||
|
12б |
913 |
16,2 |
39,2 |
15,4 |
857,6 |
24,7 |
|||
|
12в |
849 |
16,2 |
89,2 |
15,4 |
793,6 |
24,7 |
|||
|
12г, 12е |
847 |
16,9 |
39,9 |
16,1 |
790,2 |
24,7 |
|||
|
12д |
1140 |
16,9 |
39,9 |
16,1 |
1083,2 |
24,7 |
|||
|
2. Надземная часть |
|||||||||
|
1а |
3090 |
308 |
84,9 |
28,7 |
2697,1 |
542 |
|||
|
1б, 1г |
3200 |
308 |
84,9 |
28,7 |
2807,1 |
542 |
|||
|
1в |
3260 |
308 |
84,9 |
28,7 |
2867,1 |
542 |
|||
|
1д |
3310 |
308 |
84,9 |
28,7 |
2917,1 |
542 |
|||
|
1e |
3870 |
308 |
84,9 |
28,7 |
3477,1 |
542 |
|||
|
1ж, 4а |
2610 |
279 |
70 |
24 |
2261 |
490 |
|||
|
2а, 9а, 9в |
4650 |
406 |
107 |
40,4 |
4137 |
598 |
|||
|
2б |
4300 |
354 |
89,2 |
33 |
3856,8 |
542 |
|||
|
2в |
5030 |
406 |
107 |
40,4 |
4517 |
598 |
|||
|
2г |
3860 |
431 |
96,4 |
40,2 |
3332,6 |
542 |
|||
|
3а, 3б |
2650 |
279 |
70 |
24 |
2301 |
490 |
|||
|
3в |
2720 |
279 |
70 |
24 |
2371 |
490 |
|||
|
3г |
2970 |
279 |
70 |
24 |
2621 |
490 |
|||
|
4б, 6 |
2910 |
279 |
70 |
24 |
2561 |
490 |
|||
|
5а |
2760 |
279 |
70 |
24 |
2411 |
490 |
|||
|
5б |
3210 |
279 |
70 |
24 |
2861 |
490 |
|||
|
7а |
3430 |
354 |
89,2 |
33 |
2986,8 |
542 |
|||
|
7б, 7г |
3780 |
389 |
10,6 |
38,8 |
3285 |
598 |
|||
|
7в, 11б, 11г |
3610 |
354 |
89,2 |
33 |
3166,8 |
542 |
|||
|
8а, 8б |
4190 |
389 |
106 |
38,8 |
3696 |
598 |
|||
|
8в |
4200 |
406 |
107 |
40,4 |
3687 |
598 |
|||
|
8г |
4810 |
389 |
106 |
38,8 |
4315 |
598 |
|||
|
8д |
3570 |
406 |
107 |
40,4 |
3057 |
598 |
|||
|
8е |
4260 |
406 |
107 |
40,4 |
3747 |
598 |
|||
|
9б |
3840 |
406 |
107 |
40,4 |
3327 |
598 |
|||
|
10а |
4050 |
400 |
93,5 |
37,4 |
3556,5 |
542 |
|||
|
10б |
4680 |
440 |
110 |
43,8 |
4130 |
598 |
|||
|
10в |
4860 |
440 |
110 |
43,8 |
4310 |
598 |
|||
|
11а |
4130 |
354 |
89,2 |
33 |
3686,8 |
542 |
|||
|
11в |
3750 |
354 |
89,2 |
33 |
3306,8 |
542 |
|||
|
11д |
4260 |
389 |
10,6 |
38,8 |
3765 |
598 |
|||
|
11е |
4430 |
389 |
106 |
38,8 |
3935 |
598 |
|||
|
12а |
2860 |
321 |
73,6 |
27,6 |
2465,4 |
490 |
|||
|
12б |
3000 |
321 |
73,6 |
27,6 |
2605,4 |
490 |
|||
|
12в |
3200 |
321 |
73,6 |
27,6 |
2805,4 |
490 |
|||
|
12г |
3060 |
335 |
74,8 |
28,8 |
2650,2 |
490 |
|||
|
12д |
3240 |
335 |
74,8 |
28,8 |
2830,2 |
490 |
|||
|
12е |
3210 |
365 |
74,8 |
28,8 |
2800,2 |
490 |
|||
|
В том числе: |
|||||||||
|
а) стены наружные |
|||||||||
|
1а |
1700 |
125 |
57,8 |
18,6 |
1517,2 |
225 |
|||
|
1б |
1780 |
125 |
57,8 |
18,6 |
1597,2 |
225 |
|||
|
1в |
1860 |
125 |
57,8 |
18,6 |
1677,2 |
225 |
|||
|
1г |
1760 |
125 |
57,8 |
18,6 |
1577,2 |
225 |
|||
|
1д |
1900 |
125 |
57,8 |
18,6 |
1717,2 |
225 |
|||
|
1e |
2420 |
125 |
57,8 |
18,6 |
2237,2 |
225 |
|||
|
1ж |
1250 |
95,9 |
42,8 |
13,8 |
1111,3 |
173 |
|||
|
2а |
2950 |
186 |
78 |
28,2 |
2686 |
281 |
|||
|
2б |
2730 |
143 |
60,5 |
21,3 |
2526,5 |
225 |
|||
|
2в |
3240 |
186 |
78 |
28,2 |
2976 |
281 |
|||
|
2г |
2140 |
175 |
65,2 |
26 |
1899,8 |
225 |
|||
|
3а, 4а |
1230 |
95,9 |
42,8 |
13,8 |
1091,3 |
173 |
|||
|
3б |
1280 |
95,9 |
42,8 |
13,8 |
1141,3 |
173 |
|||
|
3в |
1360 |
95,9 |
42,8 |
13,8 |
1221,3 |
173 |
|||
|
3г |
1600 |
95,9 |
42,8 |
13,8 |
1461,3 |
173 |
|||
|
4б |
1540 |
95,9 |
42,8 |
13,8 |
1401,3 |
173 |
|||
|
5а |
1330 |
95,9 |
42,8 |
13,8 |
1191,3 |
173 |
|||
|
5б |
1630 |
95,9 |
42,8 |
138 |
1491,3 |
173 |
|||
|
6а, 6б |
1420 |
95,9 |
42,8 |
13,8 |
1281,3 |
173 |
|||
|
6в |
1380 |
96,9 |
42,8 |
13,8 |
1241,3 |
173 |
|||
|
7а, 11б, 11г |
1970 |
143 |
60,5 |
21,3 |
1766,5 |
225 |
|||
|
7б, 7г |
2280 |
179 |
76,8 |
27 |
2024,2 |
281 |
|||
|
7в |
2170 |
143 |
60,5 |
21,3 |
1966,5 |
225 |
|||
|
8а |
2600 |
179 |
76,8 |
27 |
2344,2 |
281 |
|||
|
8б |
2640 |
179 |
76,8 |
27 |
2384,2 |
281 |
|||
|
8в |
2590 |
186 |
78 |
28,2 |
2326 |
281 |
|||
|
8г |
3060 |
179 |
76,8 |
27 |
2804,2 |
281 |
|||
|
8д |
2010 |
186 |
78 |
28,2 |
1746 |
281 |
|||
|
8е |
2350 |
186 |
78 |
28,2 |
2086 |
281 |
|||
|
9а |
3000 |
186 |
78 |
28,2 |
2736 |
281 |
|||
|
9б |
2230 |
186 |
78 |
28,2 |
1966 |
281 |
|||
|
9в |
2380 |
186 |
78 |
28,2 |
2116 |
281 |
|||
|
10а |
2320 |
162 |
63,3 |
24,1 |
2094,7 |
225 |
|||
|
10б |
2800 |
202 |
80,4 |
30,6 |
2517,6 |
281 |
|||
|
10в |
2940 |
202 |
80,4 |
30,6 |
2657,6 |
281 |
|||
|
11а |
2270 |
143 |
60,5 |
21,3 |
2066,5 |
225 |
|||
|
11в |
2110 |
143 |
60,5 |
21,3 |
1906,5 |
225 |
|||
|
11д |
2560 |
179 |
76,8 |
27 |
2304,2 |
281 |
|||
|
11е |
2730 |
179 |
76,8 |
27 |
2474,2 |
281 |
|||
|
12а, 12б |
1320 |
110 |
44,9 |
15,8 |
1165,1 |
173 |
|||
|
12в |
1560 |
110 |
44,9 |
15,8 |
1405,1 |
173 |
|||
|
12г |
1420 |
115 |
45,6 |
16,5 |
1259,4 |
173 |
|||
|
12д |
1680 |
115 |
45,6 |
16,5 |
1469,4 |
173 |
|||
|
12e |
1480 |
115 |
45,6 |
16,5 |
1319,4 |
173 |
|||
|
б) отделочные работы |
|||||||||
|
1, 3а, 3в, 4 |
332 |
102 |
7,73 |
4,08 |
222,27 |
173 |
|||
|
2а, 8д |
369 |
123 |
8,55 |
4,9 |
237,45 |
173 |
|||
|
2б, 8г, 11 |
375 |
118 |
8,34 |
4,7 |
248,66 |
173 |
|||
|
2в, 8в, 9а, 9в |
380 |
123 |
8,55 |
4,9 |
248,45 |
173 |
|||
|
2г |
402 |
143 |
9,36 |
5,72 |
249,64 |
173 |
|||
|
3б, 5б |
338 |
102 |
7,73 |
4,08 |
228,27 |
173 |
|||
|
3г |
322 |
102 |
7,73 |
4,08 |
212,27 |
173 |
|||
|
5а |
344 |
102 |
7,73 |
4,08 |
234,27 |
173 |
|||
|
6 |
349 |
102 |
7,73 |
4,08 |
239,27 |
173 |
|||
|
7, 8б |
352 |
118 |
8,34 |
4,7 |
225,66 |
173 |
|||
|
8а |
357 |
118 |
8,34 |
4,7 |
230,66 |
173 |
|||
|
8е |
413 |
123 |
8,55 |
4,9 |
281,45 |
173 |
|||
|
9б |
374 |
123 |
8,55 |
4,9 |
242,45 |
173 |
|||
|
10а |
413 |
133 |
8,96 |
6,31 |
271,04 |
173 |
|||
|
10б |
388 |
133 |
8,96 |
6,31 |
246,04 |
173 |
|||
|
10в |
376 |
133 |
8,96 |
6,31 |
234,04 |
173 |
|||
|
12а, 12в |
466 |
118 |
8,34 |
4,7 |
339,66 |
173 |
|||
|
12б |
480 |
118 |
8,34 |
4,7 |
353,66 |
173 |
|||
|
12г - 12е |
478 |
123 |
8,55 |
4,9 |
346,45 |
173 |
|||
|
II. Внутренние санитарно-технические устройства |
|||||||||
|
1. Санитарно-технические работы (центральное отопление и вентиляция) |
|||||||||
|
1a - 1e |
156 |
17,8 |
2,4 |
0,53 |
135,8 |
28 |
|||
|
1ж |
139 |
15,8 |
2,12 |
0,47 |
121,08 |
24,9 |
|||
|
2а, 2в,9 |
176 |
22,3 |
2,61 |
0,67 |
151,09 |
29,3 |
|||
|
2б |
168 |
20,4 |
2,48 |
0,61 |
145,12 |
28 |
|||
|
2г |
175 |
24,9 |
2,61 |
0,75 |
147,49 |
28 |
|||
|
3 - 6 |
142 |
15,8 |
2,12 |
0,47 |
124,08 |
24,9 |
|||
|
7а, 7в, 11а - 11г |
162 |
20,4 |
2,48 |
0,61 |
139,12 |
28 |
|||
|
7б, 7г - 8б, 8г, 11д, 11е |
170 |
21,4 |
2.59 |
0,64 |
146,01 |
29,3 |
|||
|
8в, 8д |
171 |
22,3 |
2,61 |
0,67 |
146,09 |
29,3 |
|||
|
8е |
185 |
22,3 |
2,61 |
0,67 |
160,09 |
29,3 |
|||
|
10а |
202 |
23,1 |
2,56 |
0,69 |
176,34 |
28 |
|||
|
10б, 10в |
211 |
24,1 |
2,67 |
0,72 |
184,23 |
29,3 |
|||
|
12а - 12в |
144 |
18,1 |
2,2 |
0,54 |
123,7 |
24,9 |
|||
|
12г, 12д |
145 |
18,9 |
2,22 |
0,57 |
123,88 |
24,9 |
|||
|
12е |
153 |
18,9 |
2,22 |
0,57 |
131,88 |
24,9 |
|||
|
2. Строительные работы, сопутствующие санитарно-техническим |
|||||||||
|
1a - 1е |
18 |
7,43 |
0,41 |
0,11 |
10,16 |
13 |
|||
|
1ж, 3 - 6 |
15,6 |
6,45 |
0,35 |
0,1 |
8,8 |
11,3 |
|||
|
2а, 8в, 8д, 9 |
20,6 |
8,92 |
0,43 |
0,13 |
11,25 |
13 |
|||
|
2б, 7а - 8б, 8г, 11 |
19,6 |
8,55 |
0,42 |
0,13 |
10,63 |
13 |
|||
|
2в |
20 |
8,92 |
0,43 |
0,13 |
10,65 |
13 |
|||
|
2г |
21,9 |
10,4 |
0,45 |
0,16 |
11,05 |
13 |
|||
|
8е |
21,9 |
8,92 |
0,43 |
0,13 |
12,55 |
13 |
|||
|
10 |
22 |
9,66 |
0,44 |
0,15 |
11,9 |
13 |
|||
|
12а - 12в |
17 |
7,42 |
0,36 |
0,11 |
9,22 |
11,3 |
|||
|
12г, 12д |
17,8 |
7,74 |
0,37 |
0,12 |
9,69 |
11,3 |
|||
|
12е |
18,7 |
7,74 |
0,37 |
0,12 |
10,59 |
11,3 |
|||
|
III. Электроосвещение и монтаж электросилового оборудования |
|||||||||
|
1, 3 - 6 |
326 |
124 |
32,7 |
12,2 |
169,3 |
218 |
|||
|
2а, 2в, 8в, 8д, 9, 12г, 12д |
356 |
149 |
35,2 |
14,6 |
171,8 |
218 |
|||
|
2б, 8а, 8б, 8г,11а - 12в |
349 |
142 |
34,5 |
14 |
172,5 |
218 |
|||
|
2г |
390 |
173 |
37,6 |
17,1 |
179,4 |
218 |
|||
|
7 |
346 |
142 |
34,5 |
14 |
169,5 |
218 |
|||
|
8е |
369 |
149 |
35,2 |
14,6 |
184,8 |
218 |
|||
|
10 |
377 |
161 |
36,4 |
15,9 |
179,6 |
218 |
|||
|
12е |
362 |
149 |
35,2 |
14,6 |
177,8 |
218 |
|||
|
IV. Монтаж технологического оборудования |
|||||||||
|
1, 3 - 6 |
1440 |
588 |
224 |
80,1 |
628 |
1040 |
|||
|
2а, 2в, 8в, 8д, 12г - 12e |
1670 |
706 |
240 |
96,1 |
724 |
1040 |
|||
|
2б, 7а - 8б, 8г, 11а - 12в |
1540 |
676 |
237 |
92,1 |
627 |
1040 |
|||
|
2г |
1730 |
823 |
257 |
112 |
650 |
1040 |
|||
|
8е |
1580 |
706 |
240 |
96,1 |
634 |
1040 |
|||
|
9 |
1610 |
706 |
240 |
96,1 |
664 |
1040 |
|||
|
10 |
1730 |
764 |
248 |
104 |
718 |
1040 |
|||
|
V. Монтаж санитарно-технического оборудования |
|||||||||
|
1, 3, 4 |
165 |
15 |
1,1 |
0,33 |
138,9 |
23,5 |
|||
|
2а, 2в, 8в, 8д, 9, 12г, 12д |
163 |
18 |
1,17 |
0,4 |
143,83 |
23,5 |
|||
|
2б, 8а, 8б, 8г, 11а - 12в |
162 |
17,3 |
1,15 |
0,38 |
143,55 |
23,5 |
|||
|
2г |
172 |
21 |
1,23 |
0,46 |
149,77 |
23,5 |
|||
|
5, 6 |
159 |
15 |
1,1 |
0,33 |
142,9 |
23,5 |
|||
|
7 |
157 |
17,3 |
1,15 |
0,38 |
138,55 |
23,5 |
|||
|
8е |
184 |
18 |
1,17 |
0,4 |
164,83 |
23,5 |
|||
|
10 |
173 |
19,5 |
1,2 |
0,43 |
152,3 |
23,5 |
|||
|
12е |
172 |
18 |
1,17 |
0,4 |
152,83 |
23,5 |
|||

Рис. 9. Установки обезжелезивания воды с содержанием железа от 5 до 15 мг/л
а) производительностью 1600 м3/сут по напорной схеме, типовой проект 901-3-34 (к цене № 35);
б) производительностью 3200 м3/сут по напорной схеме, типовой проект 901-3-40 (к цене № 36)
1 - фильтровальный зал; 2 - насосная; 3 - топочное помещение; 4 - лаборатория; 5 - мастерская; 6 - комната обслуживающего персонала; 7 - гардеробная; 8 - душевая
Установка обезжелезивания воды с содержанием железа 5 - 15 мг/л производительностью 1600 м3/сут по напорной схеме. Стены кирпичные, отопление центральное от встроенной котельной
Измеритель - 1 установка
|
Районы |
Прямые затрты, руб. |
В том числе, руб. |
Затраты труда рабочих, чел.-ч. |
|||
|
основная заработная плата рабочих |
эксплуатация машин |
материальные ресурсы |
||||
|
всего |
в том числе заработная плата рабочих, обслуживающих машины |
|||||
|
1 |
2 |
3 |
4 |
5 |
6 |
7 |
|
I. Строительные работы |
||||||
|
1. Подземная часть |
||||||
|
1a |
5040 |
252 |
349 |
124 |
4439 |
440 |
|
1б |
5580 |
252 |
349 |
124 |
4979 |
440 |
|
1в |
5220 |
252 |
349 |
124 |
4619 |
440 |
|
1г, 1е |
5510 |
252 |
349 |
124 |
4909 |
440 |
|
1д |
5730 |
252 |
349 |
124 |
5129 |
440 |
|
1ж, 3а - 3в |
3520 |
213 |
230 |
832 |
3077 |
370 |
|
2а |
9850 |
354 |
518 |
203 |
8978 |
515 |
|
2б, 11в |
5960 |
290 |
371 |
143 |
5299 |
440 |
|
2в |
12300 |
354 |
518 |
203 |
11428 |
515 |
|
2г |
6510 |
353 |
414 |
175 |
5743 |
440 |
|
3г |
3450 |
213 |
234 |
83,2 |
3003 |
370 |
|
4, 6а |
3710 |
213 |
232 |
83,2 |
3265 |
370 |
|
5а |
3760 |
213 |
234 |
83,2 |
3313 |
370 |
|
5б |
4440 |
213 |
242 |
83,2 |
3985 |
370 |
|
6б |
3630 |
213 |
229 |
83,2 |
3188 |
370 |
|
6в |
4190 |
213 |
234 |
83,2 |
3743 |
370 |
|
7а, 7в |
5500 |
290 |
370 |
143 |
4840 |
440 |
|
7б, 7г, 8б |
8010 |
339 |
497 |
193 |
7174 |
515 |
|
8а |
8400 |
339 |
497 |
193 |
7564 |
515 |
|
8в |
9360 |
354 |
512 |
203 |
8494 |
515 |
|
8г |
9250 |
339 |
504 |
198 |
8407 |
515 |
|
8д |
8490 |
354 |
512 |
203 |
7624 |
515 |
|
8е |
8980 |
354 |
518 |
203 |
8108 |
515 |
|
9а |
9110 |
354 |
518 |
203 |
8238 |
515 |
|
9б |
7860 |
354 |
512 |
203 |
6994 |
515 |
|
9в |
11100 |
354 |
518 |
203 |
10228 |
515 |
|
10а |
6140 |
328 |
390 |
162 |
5422 |
440 |
|
10б |
11100 |
383 |
529 |
220 |
10188 |
515 |
|
10в |
11900 |
383 |
529 |
220 |
10988 |
515 |
|
11а |
8540 |
290 |
376 |
143 |
7874 |
440 |
|
11б |
6340 |
290 |
367 |
143 |
5683 |
440 |
|
11г |
5840 |
290 |
367 |
143 |
5183 |
440 |
|
11д |
8720 |
339 |
497 |
193 |
7884 |
515 |
|
11е |
8950 |
339 |
497 |
193 |
8114 |
515 |
|
12а |
3640 |
245 |
241 |
95,4 |
3154 |
370 |
|
12б |
4350 |
245 |
246 |
95,4 |
3859 |
370 |
|
12в |
4140 |
245 |
241 |
95,4 |
3654 |
370 |
|
12г |
4150 |
255 |
247 |
100 |
3648 |
370 |
|
12д |
5190 |
255 |
247 |
100 |
4688 |
370 |
|
12e |
4370 |
255 |
258 |
100 |
3857 |
370 |
|
В том числе: |
||||||
|
а) земляные работы |
||||||
|
1a - 1e |
185 |
85,2 |
99,8 |
36,3 |
- |
144 |
|
1ж, 3б, 4а, 6б |
164 |
79,5 |
84,5 |
32,4 |
- |
134 |
|
2а, 2в, 8е, 9а, 9в |
256 |
114 |
142 |
52,8 |
- |
164 |
|
2б, 11а |
211 |
98 |
113 |
41,3 |
- |
144 |
|
2г |
248 |
119 |
129 |
51,3 |
- |
144 |
|
3а |
160 |
79,5 |
80,5 |
32,4 |
- |
134 |
|
3в, 3г, 4б, 5а, 6а, 6в |
169 |
79,5 |
89,5 |
32,4 |
- |
134 |
|
5б |
176 |
79,5 |
96,5 |
32,4 |
- |
134 |
|
7а, 11б - 11г |
203 |
98 |
105 |
41,3 |
- |
144 |
|
7б, 7г - 8б, 11д, 11е |
237 |
109 |
128 |
49,7 |
- |
164 |
|
7в |
208 |
98 |
110 |
41,3 |
- |
144 |
|
8в, 8д, 9б |
249 |
114 |
135 |
52,8 |
- |
164 |
|
8г |
243 |
109 |
134 |
49,7 |
- |
164 |
|
10а |
225 |
110 |
115 |
47,6 |
- |
144 |
|
10б, 10в |
264 |
123 |
141 |
57,4 |
- |
164 |
|
12а, 12в |
180 |
91,5 |
88,5 |
37 |
- |
134 |
|
12б |
185 |
91,5 |
93,5 |
37 |
- |
134 |
|
12г, 12д |
188 |
96 |
92 |
39,1 |
- |
134 |
|
12е |
198 |
96 |
102 |
39,1 |
- |
134 |
|
б) фундаменты |
||||||
|
1а |
3840 |
81,1 |
221 |
79,6 |
3537,9 |
141 |
|
1б |
4380 |
81,1 |
221 |
79,6 |
4077,9 |
141 |
|
1в |
4040 |
81,1 |
221 |
79,6 |
3737,9 |
141 |
|
1г, 1е |
4290 |
81,1 |
221 |
79,6 |
3987,9 |
141 |
|
1д |
4510 |
81,1 |
221 |
79,6 |
4207,9 |
141 |
|
1ж, 6а, 6б |
2460 |
46,7 |
118 |
42,2 |
2295,3 |
81,6 |
|
2а |
8340 |
136 |
347 |
140 |
7857 |
197 |
|
2б |
4460 |
93,2 |
233 |
91,5 |
4133,8 |
141 |
|
2в |
10700 |
136 |
347 |
140 |
10217 |
197 |
|
2г |
4940 |
114 |
253 |
1111 |
4573 |
141 |
|
3 |
2370 |
46,7 |
118 |
42,2 |
2205,3 |
81,6 |
|
4а - 5а |
2560 |
46,7 |
118 |
42,2 |
2395,3 |
81,6 |
|
5б |
3260 |
46,7 |
118 |
42,2 |
3095,3 |
81,6 |
|
6в |
2940 |
46,7 |
118 |
42,2 |
2775,3 |
81,6 |
|
7а, 7в |
4300 |
93,2 |
233 |
91,5 |
3973,8 |
41 |
|
7б, 7г, 8б |
6730 |
130 |
341 |
134 |
6259 |
197 |
|
8а |
7120 |
130 |
341 |
134 |
6649 |
197 |
|
8в |
7940 |
136 |
347 |
140 |
7457 |
197 |
|
8г, 11д |
7390 |
130 |
341 |
134 |
6919 |
197 |
|
8д, 8е |
7140 |
136 |
347 |
140 |
6657 |
197 |
|
9а |
7690 |
136 |
347 |
140 |
7207 |
197 |
|
9б |
6500 |
136 |
347 |
140 |
6017 |
197 |
|
9в |
9610 |
136 |
347 |
140 |
9127 |
197 |
|
10а |
4650 |
105 |
245 |
103 |
4300 |
141 |
|
10б |
9510 |
147 |
359 |
151 |
9004 |
197 |
|
10в |
10400 |
147 |
359 |
151 |
9894 |
1971 |
|
11а |
7030 |
93,2 |
233 |
91,5 |
6703,8 |
141 |
|
11б |
5030 |
93,2 |
233 |
91,5 |
4703,8 |
141 |
|
11в |
4650 |
93,2 |
233 |
91,5 |
4323,8 |
141 |
|
11г |
4550 |
93,2 |
233 |
91,5 |
4223,8 |
141 |
|
11е |
7620 |
130 |
341 |
134 |
7149 |
197 |
|
12а |
2480 |
53,7 |
124 |
48,6 |
2302,3 |
81,6 |
|
12б |
3140 |
53,7 |
124 |
48,6 |
2962,3 |
81,6 |
|
12в |
2930 |
53,7 |
124 |
48,6 |
2752,3 |
81,6 |
|
12г, 12e |
2920 |
56 |
126 |
50,7 |
2738 |
81,6 |
|
12д |
3920 |
56 |
126 |
50,7 |
3738 |
81,6 |
|
2. Надземная часть |
||||||
|
1а |
14600 |
1530 |
360 |
121 |
12710 |
2700 |
|
1б |
15000 |
1530 |
360 |
121 |
13110 |
2700 |
|
1в, 1г |
15300 |
1530 |
360 |
121 |
13410 |
2700 |
|
1д |
15500 |
1530 |
360 |
121 |
13610 |
2700 |
|
1е |
17800 |
1530 |
360 |
121 |
15910 |
2700 |
|
1ж, 3а |
12900 |
1440 |
307 |
104 |
11153 |
2530 |
|
2а, 9в |
20800 |
1930 |
416 |
156 |
18454 |
2850 |
|
2б |
19600 |
1760 |
378 |
139 |
17462 |
2700 |
|
2в |
22600 |
1930 |
416 |
156 |
20254 |
2850 |
|
2г |
18200 |
2140 |
408 |
170 |
15652 |
2700 |
|
3б, 4а |
13100 |
1440 |
307 |
104 |
11353 |
2530 |
|
3в |
13500 |
1440 |
307 |
104 |
11753 |
2530 |
|
3г, 4б, 6а, 6б |
14400 |
1440 |
307 |
104 |
12653 |
2530 |
|
5а |
13800 |
1440 |
307 |
104 |
12053 |
2530 |
|
5б |
15900 |
1440 |
307 |
104 |
14153 |
2530 |
|
6в |
14600 |
1440 |
307 |
104 |
12853 |
2530 |
|
7а |
16100 |
1760 |
378 |
139 |
13962 |
2700 |
|
7б, 7г |
17100 |
1850 |
409 |
149 |
14841 |
2850 |
|
7в |
16700 |
1760 |
378 |
139 |
14562 |
2700 |
|
8а, 8б |
18700 |
1850 |
409 |
149 |
16441 |
2850 |
|
8в |
19000 |
1930 |
416 |
156 |
16654 |
2850 |
|
8г |
21400 |
1850 |
409 |
149 |
19141 |
2850 |
|
8д |
16500 |
1930 |
416 |
156 |
14154 |
2850 |
|
8е |
19600 |
1930 |
416 |
156 |
17254 |
2850 |
|
9а |
20500 |
1930 |
416 |
156 |
18164 |
2850 |
|
9б |
17600 |
1930 |
416 |
156 |
15254 |
2850 |
|
10а |
19000 |
1980 |
396 |
157 |
16624 |
2700 |
|
10б |
21300 |
2090 |
429 |
169 |
18781 |
2850 |
|
10в |
22200 |
2090 |
429 |
169 |
19681 |
2850 |
|
11а |
20000 |
1760 |
378 |
139 |
17862 |
2700 |
|
11б |
17400 |
1760 |
378 |
139 |
15262 |
2700 |
|
11в |
17600 |
1760 |
378 |
139 |
15462 |
2700 |
|
11г |
17000 |
1760 |
378 |
139 |
14862 |
2700 |
|
11д |
19300 |
1850 |
409 |
149 |
17041 |
2850 |
|
11e |
20000 |
1850 |
409 |
149 |
17741 |
2850 |
|
12а |
14600 |
1650 |
323 |
119 |
12627 |
2530 |
|
12б |
15300 |
1650 |
323 |
119 |
13327 |
2530 |
|
12в |
15800 |
1650 |
323 |
119 |
13827 |
2530 |
|
12г |
15300 |
1720 |
328 |
125 |
13152 |
2530 |
|
12д |
16300 |
1720 |
328 |
125 |
14252 |
2530 |
|
12е |
16000 |
1720 |
328 |
125 |
13952 |
2530 |
|
В том числе: |
||||||
|
а) стены наружные |
||||||
|
1а |
5410 |
381 |
176 |
56,4 |
4853 |
690 |
|
1б |
5690 |
381 |
176 |
56,4 |
5133 |
690 |
|
1в |
5920 |
381 |
176 |
56,4 |
5363 |
690 |
|
1г |
5620 |
381 |
176 |
56,4 |
5063 |
690 |
|
1д |
6060 |
381 |
176 |
56,4 |
5503 |
690 |
|
1e |
7670 |
381 |
176 |
56,4 |
7113 |
690 |
|
1ж |
3980 |
291 |
123 |
39,2 |
3566 |
525 |
|
2а |
9250 |
558 |
319 |
78,4 |
8473 |
842 |
|
2б |
8620 |
469 |
184 |
84,9 |
7997 |
690 |
|
2в |
10200 |
558 |
219 |
78,4 |
9423 |
842 |
|
2г |
6830 |
534 |
199 |
79 |
6097 |
690 |
|
3а, 4а |
3920 |
291 |
123 |
39,2 |
3506 |
525 |
|
3б |
4080 |
291 |
123 |
39,2 |
3666 |
525 |
|
3в |
4320 |
291 |
123 |
39,2 |
3906 |
525 |
|
3г |
5060 |
291 |
123 |
39,2 |
4646 |
525 |
|
4б |
4900 |
291 |
123 |
39,2 |
4486 |
525 |
|
5а |
4240 |
291 |
123 |
39,2 |
3826 |
525 |
|
5б |
5200 |
291 |
123 |
39,2 |
4786 |
525 |
|
6а, 6б |
4530 |
291 |
123 |
39,2 |
4116 |
525 |
|
6в |
4380 |
291 |
123 |
39,2 |
3966 |
525 |
|
7а, 11б, 11г |
6290 |
439 |
184 |
64,9 |
5667 |
690 |
|
7б, 7г |
7150 |
534 |
216 |
75,1 |
6400 |
842 |
|
7в |
6890 |
439 |
184 |
64,9 |
6267 |
690 |
|
8а |
8140 |
534 |
216 |
75,1 |
7390 |
842 |
|
8б |
8250 |
534 |
216 |
75,1 |
7500 |
842 |
|
8в |
8120 |
558 |
219 |
78,4 |
7343 |
842 |
|
8г |
9580 |
534 |
216 |
75,1 |
8830 |
842 |
|
8д |
6340 |
558 |
219 |
78,4 |
5563 |
842 |
|
8е |
7370 |
558 |
219 |
78,4 |
6593 |
842 |
|
9а |
9380 |
558 |
219 |
78,4 |
2603 |
842 |
|
9б |
7000 |
558 |
219 |
78,4 |
6223 |
842 |
|
9в |
7550 |
558 |
219 |
78,4 |
6773 |
842 |
|
10a |
7410 |
496 |
193 |
73,4 |
6721 |
690 |
|
10б |
8830 |
604 |
226 |
84,9 |
8000 |
842 |
|
10д |
9290 |
604 |
226 |
84,9 |
8460 |
842 |
|
11а |
7330 |
439 |
184 |
64,9 |
6707 |
690 |
|
11в |
6770 |
439 |
184 |
54,9 |
6147 |
690 |
|
11д |
8050 |
534 |
216 |
75,1 |
7300 |
842 |
|
11e |
8550 |
534 |
216 |
75,1 |
7800 |
842 |
|
12а, 12б |
4200 |
335 |
129 |
45,1 |
3736 |
525 |
|
12в |
4970 |
335 |
12,9 |
45,1 |
4506 |
525 |
|
12г |
4540 |
349 |
131 |
47 |
4060 |
525 |
|
12д |
5230 |
349 |
131 |
47 |
4750 |
525 |
|
12e |
4730 |
349 |
131 |
47 |
4250 |
525 |
|
б) отделочные работы |
||||||
|
1, 3а - 3в, 4а |
1660 |
519 |
30,9 |
16 |
1110,1 |
887 |
|
2а, 8д |
1820 |
623 |
34,1 |
19,2 |
1162,9 |
887 |
|
2б, 8г, 11 |
1840 |
597 |
33,3 |
18,4 |
1209,7 |
887 |
|
2в, 8в, 9а, 9в |
1870 |
623 |
34,1 |
19,2 |
1212,9 |
887 |
|
2г |
1960 |
727 |
37,3 |
22,4 |
1195,7 |
887 |
|
3г, 4б |
1620 |
519 |
30,9 |
16 |
1070,1 |
887 |
|
5 |
1700 |
519 |
30,9 |
16 |
1150,1 |
887 |
|
6 |
1720 |
519 |
30,9 |
16 |
1170,1 |
887 |
|
7, 8б |
1750 |
597 |
33,3 |
18,4 |
1119,7 |
887 |
|
8а |
1770 |
597 |
33,3 |
18,4 |
1139,7 |
887 |
|
8е |
2060 |
623 |
34,1 |
19,2 |
1402,9 |
887 |
|
9б |
1850 |
623 |
34,1 |
19,2 |
1192,9 |
887 |
|
10а |
1980 |
675 |
35,7 |
20,8 |
1269,3 |
887 |
|
10б |
1890 |
675 |
35,7 |
20,8 |
1179,3 |
887 |
|
10в |
1850 |
675 |
35,7 |
20,8 |
1139,3 |
887 |
|
12а, 12в |
2320 |
597 |
33,3 |
18,4 |
1689,7 |
887 |
|
12б |
2390 |
597 |
33,3 |
18,4 |
1759,7 |
887 |
|
12г - 12е |
2360 |
623 |
34,1 |
19,2 |
1702,9 |
887 |
|
II. Внутренние санитарно-технические устройства |
||||||
|
1. Санитарно-технические работы |
||||||
|
1a - 1e |
1560 |
164 |
17,4 |
3,79 |
1378,6 |
257 |
|
1ж, 5, 6 |
1520 |
158 |
16,6 |
3,61 |
1345,4 |
247 |
|
2а, 2в, 9 |
1680 |
202 |
18,7 |
4,69 |
1459,3 |
263 |
|
2б, 11а - 11г |
1630 |
189 |
18 |
4,36 |
1423 |
257 |
|
2г |
1720 |
230 |
19 |
5,31 |
1471 |
257 |
|
3, 4 |
1530 |
158 |
16,6 |
3,61 |
1355,4 |
247 |
|
7а, 7в |
1600 |
189 |
18 |
4,36 |
1393 |
257 |
|
7б, 7г - 8б, 8г |
1640 |
193 |
18,5 |
4,49 |
1428,5 |
263 |
|
8в, 8д |
1660 |
202 |
18,7 |
4,69 |
1439,3 |
263 |
|
8е |
1800 |
202 |
18,7 |
4,69 |
1579,3 |
263 |
|
10а |
1830 |
214 |
18,6 |
4,93 |
1597,4 |
257 |
|
10б, 10в |
1870 |
219 |
19,1 |
5,08 |
1631,9 |
263 |
|
11д, 11е |
1660 |
193 |
18,5 |
4,49 |
1448,5 |
263 |
|
12а - 12в |
1570 |
182 |
17,1 |
4,15 |
1370,9 |
247 |
|
12г, 12д |
1580 |
190 |
17,3 |
4,33 |
1372,7 |
247 |
|
12е |
1610 |
190 |
17,3 |
4,33 |
1402,7 |
247 |
|
В том числе: |
||||||
|
а) холодное и горячее водоснабжение, канализация |
||||||
|
1 |
337 |
41,2 |
3,04 |
0,48 |
292,76 |
65,1 |
|
2а, 2в, 8в, 8д, 9 |
353 |
49,5 |
3,14 |
0,57 |
300,36 |
65,1 |
|
2б, 8а, 8б, 8г |
351 |
47,4 |
3,11 |
0,55 |
300,49 |
65,1 |
|
2г |
368 |
57,7 |
3,23 |
0,67 |
307,07 |
65,1 |
|
3, 4 |
347 |
41,2 |
3,04 |
0,48 |
302,76 |
65,1 |
|
5, 6 |
342 |
41,2 |
3,04 |
0,48 |
297,76 |
65,1 |
|
7 |
346 |
47,4 |
3,11 |
0,55 |
295,49 |
65,1 |
|
8е |
378 |
49,5 |
3,14 |
0,57 |
325,36 |
65,1 |
|
10 |
366 |
53,6 |
3,18 |
0,62 |
309,22 |
65,1 |
|
11а - 12в |
360 |
47,4 |
3,11 |
0,55 |
309,22 |
65,1 |
|
12г - 12е |
364 |
49,5 |
3,14 |
0,57 |
311,36 |
65,1 |
|
б) центральное отопление и вентиляция |
||||||
|
1а - 1е |
1220 |
123 |
14,4 |
3,31 |
1082,6 |
192 |
|
1ж, 3 - 6 |
1180 |
117 |
13,6 |
3,13 |
1049,4 |
182 |
|
2а, 2в, 9 |
1330 |
152 |
15,6 |
4,11 |
1162,4 |
198 |
|
2б |
1290 |
142 |
14,9 |
3,81 |
1133,1 |
192 |
|
2г |
1350 |
172 |
15,7 |
4,64 |
1162,3 |
192 |
|
7а, 7в, 11а - 11г |
1260 |
142 |
14,9 |
3,81 |
1103,1 |
192 |
|
7б, 7г - 8б, 8г, 11д, 11е |
1300 |
146 |
15,4 |
3,94 |
1138,6 |
198 |
|
8в, 8д |
1310 |
152 |
15,6 |
4,11 |
1142,4 |
198 |
|
8е |
1420 |
152 |
15,6 |
4,11 |
1252,4 |
198 |
|
10а |
1460 |
160 |
15,4 |
4,3 |
1284,6 |
192 |
|
10б, 10в |
1500 |
165 |
15,9 |
4,46 |
1319,1 |
198 |
|
12а - 12в |
1210 |
134 |
14 |
3,6 |
1062 |
182 |
|
11г, 12д |
1220 |
140 |
14,2 |
3,75 |
1065,8 |
182 |
|
12е |
1250 |
140 |
14,2 |
3,75 |
1095,8 |
182 |
|
2. Строительные работы, сопутствующие саиитарно-техническим |
||||||
|
1а - 1е |
142 |
63,4 |
3,03 |
0,84 |
75,57 |
111 |
|
1ж, 3 - 6 |
137 |
61,4 |
2,91 |
0,81 |
72,69 |
107 |
|
2а, 8в, 8д, 9 |
167 |
77,8 |
3,29 |
1,04 |
85,91 |
113 |
|
2б, 7а, 7в, 11a - 11г |
165 |
72,9 |
3,16 |
0,97 |
78,94 |
111 |
|
2в |
163 |
77,8 |
3,29 |
1,04 |
81,91 |
113 |
|
2г |
175 |
88,7 |
3,37 |
1,18 |
82,93 |
111 |
|
7б, 7г - 8б, 8г, 11д, 11e |
169 |
74,6 |
3,25 |
0,99 |
81,15 |
113 |
|
8e |
178 |
77,8 |
3,29 |
1,04 |
96,91 |
113 |
|
10а |
175 |
82,4 |
3,28 |
1,09 |
89,32 |
111 |
|
10б, 10в |
179 |
84,3 |
3,38 |
1,12 |
91,32 |
113 |
|
12а - 12в |
150 |
70,6 |
3,04 |
0,93 |
76,36 |
107 |
|
12г, 12д |
158 |
73,7 |
3,08 |
0,97 |
81,22 |
107 |
|
12e |
165 |
73,7 |
3,08 |
0,97 |
88,22 |
107 |
|
III. Электроосвещение и монтаж электросилового оборудования |
||||||
|
1, 3 - 6 |
484 |
135 |
98,6 |
37,1 |
250,4 |
238 |
|
2а, 2в, 8в, 8д, 9, 12г, 12д |
520 |
162 |
106 |
44,5 |
252 |
238 |
|
2б, 7а - 8б, 8г, 11а - 12в |
510 |
156 |
104 |
42,7 |
251 |
238 |
|
2г |
571 |
189 |
113 |
51,9 |
269 |
238 |
|
8e |
554 |
162 |
106 |
44,5 |
286 |
238 |
|
10 |
554 |
176 |
110 |
48,2 |
268 |
238 |
|
12e |
539 |
162 |
106 |
44,5 |
271 |
238 |
|
IV. Монтаж технологического оборудования |
||||||
|
1, 3 - 6 |
5350 |
2180 |
831 |
297 |
2339 |
3840 |
|
2а, 2в, 8в, 8д, 12г - 12e |
5850 |
2620 |
891 |
356 |
2339 |
3840 |
|
2б, 7а - 8б, 8г, 11а - 12в |
5730 |
2510 |
877 |
342 |
2343 |
3840 |
|
2г |
6420 |
3050 |
953 |
416 |
2417 |
3840 |
|
8e |
5880 |
2820 |
891 |
356 |
2369 |
3840 |
|
9 |
5980 |
2620 |
891 |
356 |
2469 |
3840 |
|
10 |
6430 |
2830 |
919 |
386 |
2681 |
3840 |
|
V. Монтаж санитарно-технического оборудования |
||||||
|
1, 3, 4 |
757 |
41,6 |
3,65 |
1,09 |
711,75 |
66,7 |
|
2а, 2в, 8в, 8д, 9, 12г, 12д |
787 |
49,9 |
3,87 |
1,31 |
733,23 |
66,7 |
|
2б, 8а, 8б, 8г, 11а - 12в |
781 |
47,8 |
3,81 |
1,25 |
732,39 |
66,7 |
|
2г |
828 |
58,2 |
4,09 |
1,53 |
765,71 |
66,7 |
|
5, 6 |
776 |
41,6 |
3,65 |
1,09 |
730,75 |
66,7 |
|
7 |
765 |
47,8 |
3,81 |
1,25 |
713,39 |
66,7 |
|
8e |
892 |
49,9 |
3,87 |
1,31 |
838,23 |
66,7 |
|
10 |
835 |
54,1 |
3,98 |
1,42 |
776,92 |
66,7 |
|
12e |
835 |
49,9 |
3,87 |
1,31 |
781,23 |
66,7 |
|
Установка обезжелезиваяия воды с содержанием железа 5 - 15 мг/л производительностью 3200 м3/сут по напорной схеме. Стены кирпичные, отопление центральное от встроенной котельной |
||||||
|
Измеритель - 1 установка |
||||||
|
I. Строительные работы |
||||||
|
1. Подземная часть |
||||||
|
1а |
6520 |
326 |
439 |
156 |
5755 |
568 |
|
1б, 1г, 1е |
7140 |
326 |
439 |
156 |
6375 |
568 |
|
1в |
6730 |
326 |
439 |
156 |
5965 |
568 |
|
1д |
7370 |
326 |
439 |
156 |
6605 |
568 |
|
1ж, 3а, 3б |
4580 |
278 |
292 |
107 |
4010 |
484 |
|
2а |
12400 |
452 |
646 |
252 |
11302 |
659 |
|
2б |
7780 |
374 |
474 |
179 |
6932 |
568 |
|
2в |
15400 |
452 |
646 |
252 |
14302 |
659 |
|
2г |
8460 |
456 |
522 |
220 |
7482 |
568 |
|
3в |
4650 |
278 |
301 |
107 |
4071 |
484 |
|
3г |
4480 |
278 |
301 |
107 |
3901 |
484 |
|
4, 6а |
4860 |
278 |
298 |
107 |
4284 |
484 |
|
5а |
4920 |
278 |
301 |
107 |
4341 |
484 |
|
5б |
5720 |
278 |
312 |
107 |
5130 |
484 |
|
6б |
4740 |
278 |
295 |
107 |
4167 |
484 |
|
6в |
5450 |
278 |
301 |
107 |
4871 |
484 |
|
7а, 7в |
7080 |
374 |
466 |
179 |
6240 |
568 |
|
7б, 7г |
10000 |
433 |
619 |
240 |
8948 |
659 |
|
8а |
10600 |
433 |
619 |
240 |
9548 |
659 |
|
8б |
10200 |
433 |
619 |
240 |
9148 |
659 |
|
8в |
11800 |
452 |
637 |
252 |
10711 |
659 |
|
8г |
11800 |
433 |
628 |
240 |
10739 |
659 |
|
8д |
10700 |
452 |
687 |
252 |
9611 |
659 |
|
8e, 9а |
11500 |
452 |
646 |
252 |
10402 |
659 |
|
9б |
9940 |
452 |
637 |
252 |
8851 |
659 |
|
9в |
13900 |
452 |
646 |
252 |
12802 |
659 |
|
10а |
7960 |
423 |
492 |
204 |
7045 |
568 |
|
10б |
13900 |
489 |
658 |
273 |
12753 |
659 |
|
10в |
14900 |
489 |
658 |
273 |
13753 |
659 |
|
11а |
10900 |
374 |
474 |
179 |
10052 |
568 |
|
11б |
8140 |
374 |
462 |
179 |
7304 |
568 |
|
11в |
7660 |
374 |
462 |
179 |
6824 |
568 |
|
11г |
7530 |
374 |
462 |
179 |
6694 |
568 |
|
11д |
11000 |
433 |
619 |
240 |
9948 |
659 |
|
11е |
11200 |
433 |
619 |
240 |
10148 |
659 |
|
12а |
4750 |
320 |
310 |
123 |
4120 |
484 |
|
12б |
5630 |
320 |
317 |
123 |
4993 |
484 |
|
12в |
5340 |
320 |
310 |
123 |
4710 |
484 |
|
12г |
5390 |
333 |
318 |
129 |
4739 |
484 |
|
12д |
6650 |
333 |
318 |
129 |
5999 |
484 |
|
12е |
5760 |
333 |
332 |
129 |
5095 |
484 |
|
В том числе: |
||||||
|
а) земляные работы |
||||||
|
1a - 1e |
258 |
120 |
138 |
50,6 |
- |
200 |
|
1ж, 3б, 4а, 6б |
231 |
113 |
118 |
45,7 |
- |
188 |
|
2а, 2в, 8е, 9а, 9в |
350 |
158 |
192 |
71,9 |
- |
225 |
|
2б, 11а |
294 |
137 |
157 |
57,5 |
- |
200 |
|
2г |
345 |
166 |
179 |
71,4 |
- |
200 |
|
3а |
225 |
112 |
113 |
45,7 |
- |
188 |
|
3в, 3г, 4б, 5а, 6а, 6в |
237 |
112 |
125 |
45,7 |
- |
188 |
|
5б |
248 |
113 |
136 |
45,7 |
- |
188 |
|
7а, 11б - 11г |
282 |
137 |
145 |
57,5 |
- |
200 |
|
7б, 7г - 8б, 11д, 11e |
324 |
151 |
173 |
67,8 |
- |
225 |
|
7в |
289 |
137 |
152 |
57,5 |
- |
200 |
|
8в, 8д, 9б |
341 |
157 |
184 |
71,9 |
- |
225 |
|
8г |
332 |
150 |
182 |
67,8 |
- |
225 |
|
10а |
314 |
155 |
159 |
66,1 |
- |
200 |
|
10б, 10в |
360 |
170 |
190 |
78,1 |
- |
225 |
|
12а, 12в |
254 |
130 |
124 |
52,1 |
- |
188 |
|
12б |
260 |
129 |
131 |
52,1 |
- |
188 |
|
12г, 12д |
264 |
135 |
129 |
55,1 |
- |
188 |
|
12е |
278 |
135 |
143 |
55,1 |
- |
188 |
|
б) фундаменты |
||||||
|
1а |
4660 |
96 |
261 |
93,9 |
4303 |
167 |
|
1б |
5320 |
96 |
261 |
93,9 |
4963 |
167 |
|
1в |
4900 |
96 |
261 |
93,9 |
4543 |
167 |
|
1г, 1е |
5210 |
96 |
261 |
93,9 |
4853 |
167 |
|
1д |
5470 |
96 |
261 |
93,9 |
5113 |
167 |
|
1ж, 6а, 6б |
2930 |
54,7 |
237 |
49,2 |
2738,3 |
95,7 |
|
2а |
10000 |
162 |
275 |
166 |
9426 |
234 |
|
2б |
5420 |
110 |
412 |
108 |
5035 |
167 |
|
2в |
12900 |
162 |
299 |
166 |
12326 |
234 |
|
2г |
5990 |
134 |
137 |
131 |
5557 |
167 |
|
3 |
2830 |
54,7 |
137 |
49,2 |
2638,3 |
95,7 |
|
4а - 5а |
3050 |
54,7 |
137 |
49,2 |
2858,3 |
95,7 |
|
5б |
3890 |
54,7 |
137 |
49,2 |
3698,3 |
95,7 |
|
6в |
3500 |
54,7 |
137 |
49,2 |
3308,3 |
95,7 |
|
7а, 7в |
5220 |
110 |
275 |
108 |
4835 |
167 |
|
7б, 7г, 8б |
8120 |
155 |
405 |
169 |
7560 |
234 |
|
8a |
8590 |
155 |
405 |
159 |
8030 |
234 |
|
8в |
9570 |
162 |
412 |
166 |
8996 |
234 |
|
8г, 11д |
8910 |
155 |
405 |
159 |
8350 |
234 |
|
8д, 8е |
8610 |
162 |
412 |
166 |
8036 |
234 |
|
9а |
9270 |
162 |
412 |
166 |
8696 |
234 |
|
9б |
7840 |
162 |
412 |
166 |
7266 |
234 |
|
9в |
11600 |
162 |
412 |
166 |
11026 |
234 |
|
10а |
5640 |
125 |
289 |
122 |
5226 |
167 |
|
10б |
11500 |
175 |
425 |
179 |
10900 |
234 |
|
10в |
12500 |
175 |
425 |
179 |
11900 |
234 |
|
11а |
8540 |
110 |
275 |
108 |
8155 |
167 |
|
11б |
6100 |
110 |
275 |
108 |
5715 |
167 |
|
11в |
5640 |
110 |
275 |
108 |
5255 |
167 |
|
11г |
5510 |
110 |
275 |
108 |
5125 |
167 |
|
11е |
9180 |
155 |
405 |
159 |
8620 |
234 |
|
12а |
2950 |
63 |
144 |
56,5 |
2743 |
95,7 |
|
12б |
3750 |
63 |
144 |
56,5 |
3543 |
95,7 |
|
12в |
3490 |
63 |
144 |
56,5 |
3283 |
95,7 |
|
12г, 12е |
3480 |
65,7 |
147 |
59 |
3267,3 |
95,7 |
|
12д |
4680 |
65,7 |
147 |
59 |
4467,3 |
95,7 |
|
2. Надземная часть |
||||||
|
1a |
18500 |
1980 |
482 |
166 |
16038 |
3480 |
|
1б |
19000 |
1980 |
482 |
166 |
16538 |
3480 |
|
1в, 1г |
19300 |
1980 |
482 |
1b6 |
16838 |
3480 |
|
1д |
19600 |
1980 |
482 |
166 |
17138 |
3480 |
|
1е |
22300 |
1980 |
482 |
166 |
19838 |
3480 |
|
1ж, 3а |
16600 |
1870 |
425 |
148 |
14305 |
3290 |
|
2а, 9в |
26100 |
2500 |
571 |
220 |
23029 |
3670 |
|
2б |
24600 |
2270 |
506 |
191 |
21824 |
3480 |
|
2в |
28400 |
2500 |
571 |
220 |
25329 |
3670 |
|
2г |
23000 |
2770 |
548 |
232 |
19882 |
3480 |
|
3б, 4а |
16800 |
1870 |
425 |
148 |
14505 |
3290 |
|
3в |
17400 |
1870 |
425 |
148 |
16105 |
3290 |
|
3г, 4б, 6а 6б |
18400 |
1870 |
425 |
148 |
16105 |
3290 |
|
5а |
17600 |
1870 |
425 |
148 |
16305 |
3290 |
|
5б |
20300 |
1870 |
425 |
148 |
18005 |
3290 |
|
6в |
18800 |
1870 |
425 |
148 |
16505 |
3290 |
|
7а |
20300 |
2270 |
506 |
191 |
17524 |
3480 |
|
7б, 7г |
21500 |
2390 |
562 |
210 |
18548 |
3670 |
|
7в |
21000 |
2270 |
506 |
191 |
18224 |
3480 |
|
8а, 8б |
23500 |
2390 |
562 |
210 |
2058 |
3670 |
|
8в |
23900 |
2500 |
571 |
220 |
20829 |
3670 |
|
8г |
26800 |
2390 |
562 |
210 |
23848 |
3670 |
|
8д |
20800 |
2500 |
571 |
220 |
17729 |
3670 |
|
8е |
24700 |
2500 |
571 |
220 |
21629 |
3670 |
|
9а |
25700 |
2500 |
571 |
220 |
22629 |
3670 |
|
9б |
22200 |
2500 |
571 |
220 |
19129 |
3670 |
|
10а |
24000 |
2570 |
531 |
216 |
20899 |
3480 |
|
10б |
26800 |
2700 |
590 |
238 |
23510 |
3670 |
|
10в |
28000 |
2700 |
590 |
238 |
24710 |
3670 |
|
11а |
25300 |
2270 |
506 |
191 |
22524 |
3480 |
|
11б |
22000 |
2270 |
506 |
191 |
19224 |
3480 |
|
11в |
22200 |
2270 |
506 |
191 |
19424 |
3480 |
|
11г |
21400 |
2270 |
506 |
191 |
18624 |
3480 |
|
11д |
24300 |
2390 |
562 |
210 |
21348 |
3670 |
|
11e |
25100 |
2390 |
562 |
210 |
22148 |
3670 |
|
12a |
18800 |
2150 |
447 |
170 |
16203 |
3290 |
|
12б |
19600 |
2150 |
447 |
170 |
17003 |
3290 |
|
12в |
20200 |
2150 |
447 |
170 |
17603 |
3290 |
|
12г |
19500 |
2250 |
454 |
177 |
16796 |
3290 |
|
12д |
20900 |
2250 |
454 |
177 |
18196 |
3290 |
|
12e |
20500 |
2250 |
454 |
177 |
17796 |
3290 |
|
В том числе: |
||||||
|
а) стены наружные |
||||||
|
1а |
7920 |
566 |
264 |
84,4 |
7090 |
1020 |
|
1б |
8320 |
566 |
264 |
84,4 |
7490 |
1020 |
|
1в |
8670 |
566 |
264 |
84,4 |
7840 |
1020 |
|
1г |
8220 |
566 |
284 |
84,4 |
7390 |
1020 |
|
1д |
8880 |
566 |
264 |
84,4 |
8050 |
1020 |
|
1е |
11300 |
566 |
264 |
84,4 |
10470 |
1020 |
|
1ж |
6330 |
464 |
206 |
66 |
5660 |
838 |
|
2а |
13000 |
806 |
337 |
122 |
11857 |
1220 |
|
2б |
12700 |
651 |
276 |
97,1 |
11773 |
1020 |
|
2в |
14300 |
806 |
337 |
122 |
13157 |
1220 |
|
2г |
10000 |
793 |
297 |
118 |
8910 |
1020 |
|
3а, 4а |
6220 |
464 |
206 |
66 |
5550 |
838 |
|
3б |
6480 |
464 |
206 |
66 |
5810 |
838 |
|
3в |
6870 |
464 |
206 |
66 |
6200 |
838 |
|
3г |
8090 |
464 |
206 |
66 |
7420 |
838 |
|
4б |
7810 |
464 |
206 |
66 |
7140 |
838 |
|
5а |
6740 |
464 |
206 |
66 |
6070 |
838 |
|
5б |
8270 |
464 |
206 |
66 |
7600 |
838 |
|
6а, 6б |
7210 |
464 |
206 |
66 |
6540 |
838 |
|
6в |
6960 |
464 |
206 |
66 |
6290 |
838 |
|
7а, 11б, 11г |
9210 |
651 |
276 |
97,1 |
8283 |
1020 |
|
7б, 7г |
10000 |
772 |
332 |
116 |
8896 |
1220 |
|
7в |
10100 |
651 |
276 |
97,1 |
9173 |
1020 |
|
8а |
11400 |
772 |
332 |
116 |
10296 |
1220 |
|
8б |
11600 |
772 |
332 |
116 |
10496 |
1220 |
|
8в |
11400 |
806 |
337 |
122 |
10257 |
1220 |
|
8г |
13500 |
772 |
332 |
116 |
12396 |
1220 |
|
8д |
8880 |
806 |
337 |
122 |
7737 |
1220 |
|
8е |
10400 |
806 |
337 |
122 |
9257 |
1220 |
|
9а |
13200 |
806 |
337 |
122 |
12057 |
1220 |
|
9б |
9820 |
816 |
337 |
122 |
8677 |
1220 |
|
9в |
10500 |
806 |
337 |
122 |
9357 |
1220 |
|
10а |
10800 |
736 |
289 |
110 |
9775 |
1020 |
|
10б |
12400 |
873 |
347 |
132 |
11180 |
1220 |
|
10в |
13000 |
873 |
347 |
132 |
11780 |
1220 |
|
11а |
10600 |
651 |
276 |
97,1 |
9673 |
1020 |
|
11в |
9900 |
651 |
276 |
97,1 |
8973 |
1020 |
|
11д |
11300 |
772 |
332 |
116 |
10196 |
1220 |
|
11е |
12000 |
772 |
332 |
116 |
10896 |
1220 |
|
12а, 12б |
6660 |
534 |
316 |
75,8 |
5910 |
838 |
|
12в |
7920 |
534 |
216 |
75,8 |
7170 |
838 |
|
12г |
7220 |
557 |
220 |
79,1 |
6443 |
838 |
|
12д |
8300 |
557 |
220 |
79,1 |
7523 |
838 |
|
12е |
7520 |
557 |
220 |
79,1 |
6743 |
838 |
|
б) отделочные работы |
||||||
|
1, 3а, 4б |
2160 |
67,8 |
51,6 |
27,5 |
1430,4 |
1150 |
|
2а, 8д |
2390 |
814 |
57,1 |
33 |
1518,9 |
1150 |
|
2б, 8г, 11 |
2440 |
780 |
55,7 |
31,6 |
1604,3 |
1150 |
|
2в, 8в, 9а, 9в |
2470 |
814 |
57,1 |
33 |
1598,9 |
1150 |
|
2г |
2600 |
949 |
62,6 |
38,5 |
1588,4 |
1150 |
|
3б, 4а, 5б |
2200 |
678 |
51,6 |
27,5 |
1470,4 |
1150 |
|
3в |
2130 |
678 |
51,6 |
27,5 |
1400,4 |
1150 |
|
3г |
2090 |
678 |
51,6 |
27,5 |
1360,4 |
1150 |
|
5а |
2230 |
678 |
51,6 |
27,5 |
1500,4 |
1150 |
|
6 |
2270 |
678 |
51,6 |
27,5 |
1540,4 |
1150 |
|
7, 8б |
2280 |
780 |
65,7 |
31,6 |
1444,3 |
1150 |
|
8а |
12420 |
780 |
55,7 |
31,6 |
1484,3 |
1150 |
|
8е |
2670 |
814 |
57,1 |
33 |
1798,9 |
1150 |
|
9б |
2430 |
814 |
57,1 |
33 |
1558,9 |
1150 |
|
10а |
2670 |
881 |
59,8 |
35,8 |
1729,2 |
1150 |
|
10б |
2510 |
881 |
59,8 |
35,8 |
1569,2 |
1150 |
|
10в |
2430 |
881 |
59,8 |
35,8 |
1489,2 |
1150 |
|
12а, 12в |
3980 |
780 |
55,7 |
31,6 |
2144,3 |
1150 |
|
12б |
3060 |
780 |
55,7 |
31,6 |
2224,3 |
1150 |
|
12г - 12е |
3040 |
81,4 |
57,1 |
33 |
2168,9 |
1150 |
|
II. Внутренние санитарно-технические устройства |
||||||
|
1. Санитарно-технические работы |
||||||
|
1a - 1e |
1860 |
201 |
21,9 |
4,79 |
1637,1 |
314 |
|
1ж |
1760 |
190 |
20,5 |
4,47 |
1549,5 |
298 |
|
2а, 2в, 9 |
2010 |
246 |
23,4 |
5,89 |
1740,6 |
321 |
|
2б |
1960 |
231 |
22,6 |
5,51 |
1706,4 |
314 |
|
2г |
2050 |
281 |
23,8 |
6,7 |
1745,2 |
314 |
|
3 - 6 |
1790 |
190 |
20,5 |
4,47 |
1579,5 |
298 |
|
7a, 7в, 11a - 11г |
1920 |
231 |
22,6 |
5,51 |
1666,4 |
314 |
|
7б, 7г - 8б, 8г, 11д, 11e |
1960 |
236 |
23,2 |
5,65 |
1700,8 |
321 |
|
8в, 8д |
1970 |
246 |
23,4 |
5,89 |
1700,6 |
321 |
|
8е |
2130 |
246 |
23,4 |
5,89 |
1860,6 |
321 |
|
10а |
2210 |
261 |
23,4 |
6,22 |
1925,6 |
314 |
|
10б, 10в |
2250 |
266 |
23,9 |
6,38 |
1960,1 |
321 |
|
12а - 12в |
1840 |
219 |
21,1 |
5,14 |
1599,9 |
298 |
|
12г, 12д |
1850 |
228 |
21,4 |
5,36 |
1600,6 |
298 |
|
12е |
1900 |
228 |
21,4 |
5,36 |
1650,6 |
298 |
|
В том числе: |
||||||
|
а) холодное и горячее водоснабжение, канализация |
||||||
|
1 |
360 |
46,3 |
3,25 |
0,53 |
310,45 |
73,2 |
|
2а, 2в, 8в, 8д, 9 |
377 |
55,5 |
3,36 |
0,63 |
318,14 |
73,2 |
|
2б, 7а - 8б, 8г |
375 |
53,2 |
3,33 |
0,61 |
318,47 |
73,2 |
|
2г |
394 |
64,8 |
3,46 |
0,74 |
325,74 |
73,2 |
|
3, 4 |
376 |
46,3 |
3,25 |
0,53 |
326,45 |
73,2 |
|
5, 6 |
365 |
46,3 |
3,25 |
0,53 |
315,45 |
73,2 |
|
8е |
404 |
55,5 |
3,36 |
0,63 |
345,14 |
73,2 |
|
10 |
390 |
60,2 |
3,41 |
0,69 |
326,39 |
73,2 |
|
11а - 12в |
384 |
53,2 |
3,33 |
0,61 |
327,47 |
73,2 |
|
12г - 12е |
388 |
55,5 |
3,36 |
0,63 |
329,14 |
73,2 |
|
б) центральное отопление и вентиляция |
||||||
|
1 - 1е |
1500 |
154 |
18,7 |
4,26 |
1327,3 |
241 |
|
1ж |
1400 |
144 |
17,2 |
3,94 |
1238,8 |
224 |
|
2а, 2в, 9 |
1630 |
190 |
20,1 |
5,26 |
1419,9 |
248 |
|
2б |
1580 |
178 |
19,3 |
4,9 |
1382,7 |
241 |
|
2г |
1660 |
216 |
20,4 |
5,96 |
1423,6 |
241 |
|
3 - 6 |
1420 |
144 |
17,2 |
3,94 |
1258,8 |
224 |
|
7а, 7в, 11а - 11г |
1540 |
178 |
19,3 |
4,9 |
1342,7 |
241 |
|
7б, 7г - 8б, 8г, 11д, 11е |
1580 |
182 |
19,9 |
5,04 |
1378,1 |
248 |
|
8в, 8д |
1600 |
190 |
20,1 |
5,26 |
1389,9 |
248 |
|
8е |
1730 |
190 |
20,1 |
5,26 |
1519,9 |
248 |
|
10а |
1820 |
201 |
19,9 |
5,54 |
1599,1 |
241 |
|
10б, 10в |
1860 |
206 |
20,5 |
5,7 |
1633,5 |
248 |
|
12а - 12в |
1450 |
165 |
17,8 |
4,53 |
1267,2 |
224 |
|
12г, 12д |
1460 |
173 |
18 |
4,73 |
1269 |
224 |
|
12е |
1510 |
173 |
18 |
4,73 |
1319 |
224 |
|
2. Строительные работы, сопутствующие санитарно-техническим |
||||||
|
1a - 1e |
138 |
61,7 |
3,04 |
0,84 |
73,26 |
108 |
|
1ж, 3 - 6 |
134 |
60,2 |
2,96 |
0,82 |
70,84 |
105 |
|
2а, 8в, 8д, 9 |
172 |
79,3 |
3,49 |
1,1 |
89,21 |
116 |
|
2б, 7а, 7в, 11а - 11г |
152 |
70,9 |
3,17 |
0,97 |
77,93 |
108 |
|
2в |
167 |
79,3 |
3,49 |
1,1 |
84,21 |
116 |
|
2г |
170 |
86,4 |
3,36 |
1,18 |
80,22 |
105 |
|
7б, 7г - 8б, 8г, 11д, 11е |
163 |
76 |
3,44 |
1,05 |
83,56 |
116 |
|
8е |
188 |
79,3 |
3,49 |
1,1 |
100,21 |
116 |
|
10а |
170 |
80,2 |
3,3 |
1,1 |
86,5 |
108 |
|
10б, 10в |
184 |
85,9 |
3,58 |
1,19 |
94,52 |
116 |
|
12а - 12в |
148 |
69,2 |
3,08 |
0,94 |
75,72 |
105 |
|
12г, 12д |
155 |
72,2 |
3,12 |
0,98 |
79,68 |
105 |
|
12е |
162 |
72,2 |
3,12 |
0,98 |
86,68 |
105 |
|
III. Электроосвещение и монтаж электросилового оборудования |
||||||
|
1, 3 - 6 |
768 |
252 |
118 |
44,5 |
398 |
443 |
|
2а, 2в, 8в, 8д, 9, 12г, 12д |
834 |
302 |
127 |
53,4 |
405 |
443 |
|
2б, 8а, 8б, 8г, 11а - 12в |
819 |
289 |
125 |
51,2 |
405 |
443 |
|
2г |
913 |
352 |
136 |
62,3 |
425 |
443 |
|
7 |
811 |
289 |
125 |
51,2 |
397 |
443 |
|
8е |
875 |
302 |
127 |
53,4 |
446 |
443 |
|
10 |
884 |
327 |
132 |
67,8 |
425 |
443 |
|
12е |
855 |
302 |
127 |
53,4 |
426 |
443 |
|
IV. Монтаж технологического оборудования |
||||||
|
1, 3 - 6 |
6900 |
2810 |
1070 |
382 |
3020 |
4940 |
|
2а, 2в, 8в, 8д, 12г - 12е |
7540 |
3370 |
1150 |
458 |
3020 |
4940 |
|
2б, 7а - 8б, 8г, 11а - 12в |
7380 |
3230 |
1130 |
439 |
3020 |
4940 |
|
2г |
8160 |
3930 |
1220 |
535 |
3010 |
4940 |
|
ве |
7570 |
3370 |
1500 |
458 |
3050 |
4940 |
|
9 |
7690 |
3370 |
1150 |
458 |
3170 |
4940 |
|
10 |
8260 |
3650 |
1180 |
497 |
3480 |
4940 |
|
V Монтаж санитарно-технического оборудования |
||||||
|
1, 3, 4 |
757 |
41,6 |
3,65 |
1,09 |
711,75 |
66,7 |
|
2а, 2в, 8в, 8д, 9, 12г, 12д |
787 |
49,9 |
3,87 |
1,31 |
733,23 |
66,7 |
|
2б, 8а, 8б, 8г, 11а - 12в |
784 |
47,8 |
3,81 |
1,25 |
732,39 |
66,7 |
|
2г |
828 |
58,2 |
4,09 |
1,53 |
765,71 |
66,7 |
|
5, 6 |
776 |
41,6 |
3,65 |
1,09 |
730,75 |
66,7 |
|
7 |
765 |
47,8 |
3,811 |
1,2,5 |
713,39 |
66,7 |
|
8е |
892 |
49,9 |
3,87 |
1,31 |
838,23 |
66,7 |
|
10 |
835 |
54,1 |
3,98 |
1,42 |
776,92 |
66,7 |
|
12е |
836 |
49,9 |
3,87 |
1,31 |
781,23 |
66,7 |

Рис 10 Установка для хлорирования воды жидким хлором, типовой проект 901-3-64 (к цене № 37)
1 – хлоратор; 2 - грязевик для хлора; 3 - футляр для поврежденных баллонов; 4 – весы; 5 - стойка на 10 баллонов; 6 – нейтрализатор; 7 - баллон с нейтральным газом; 8 - таль червячная ручная грузоподъемностью 1 т; 9 – кран-балка ручка подвесная грузоподъемностью 0,5 т
Установка для хлорирования воды жидким хлором производительностью до 1 кг/ч, здание кирпичное, отопление центральное от теплосети
Измеритель - 1 здание
|
Районы |
Прямые затраты, руб. |
В том числе, р/б |
Затраты труда рабочих, чел.-ч. |
||||||||||
|
основная заработная плата рабочих |
эксплуатация машин |
материальные ресурсы |
|||||||||||
|
всего |
в том числе заработная плата рабочих, обслуживающих машины |
||||||||||||
|
1 |
2 |
3 |
4 |
5 |
6 |
7 |
|||||||
|
I. Строительные работы |
|||||||||||||
|
1 Подземная часть |
|||||||||||||
|
1а |
2400 |
69,5 |
142 |
61 |
2188,5 |
123 |
|||||||
|
1б |
2700 |
69,5 |
142 |
51 |
2488,5 |
123 |
|||||||
|
1в |
2500 |
69,5 |
142 |
61 |
2288,6 |
123 |
|||||||
|
1г, 1е |
2650 |
69,5 |
142 |
51 |
2438,5 |
123 |
|||||||
|
1д |
2780 |
69,5 |
142 |
51 |
2568,5 |
123 |
|||||||
|
1ж |
1690 |
58 |
101 |
37,2 |
1531 |
102 |
|||||||
|
2а |
4470 |
108 |
218 |
84,8 |
4144 |
161 |
|||||||
|
2б |
2840 |
79,9 |
155 |
58,3 |
2605,1 |
123 |
|||||||
|
2в |
5620 |
108 |
2118 |
84,8 |
5294 |
161 |
|||||||
|
2г |
3100 |
97,3 |
172 |
71,6 |
2830,7 |
123 |
|||||||
|
3а |
1660 |
58 |
98,8 |
37,2 |
1503,2 |
102 |
|||||||
|
3б |
1660 |
58 |
101 |
37,2 |
1501 |
102 |
|||||||
|
3в |
1670 |
58 |
105 |
37,2 |
1507 |
102 |
|||||||
|
3г |
1640 |
58 |
105 |
37,2 |
1477 |
102 |
|||||||
|
4а |
1770 |
5в |
101 |
37,2 |
1911 |
102 |
|||||||
|
4б, 5а |
1780 |
58 |
105 |
37,2 |
1617 |
102 |
|||||||
|
5б |
2190 |
58 |
110 |
37,2 |
2022 |
102 |
|||||||
|
6а |
1740 |
58 |
106 |
37,2 |
1577 |
102 |
|||||||
|
6б |
1720 |
58 |
101 |
37,2 |
1561 |
102 |
|||||||
|
6в |
2030 |
58 |
105 |
37,2 |
1867 |
102 |
|||||||
|
7а, 7в |
2640 |
79,9 |
151 |
58,3 |
2409,1 |
123 |
|||||||
|
7б, 7г, 8б |
3600 |
104 |
207 |
80,8 |
3289 |
161 |
|||||||
|
8а |
3780 |
104 |
207 |
80,8 |
3469 |
161 |
|||||||
|
8в |
4240 |
108 |
214 |
84,8 |
3918 |
161 |
|||||||
|
8г |
4170 |
104 |
210 |
80,8 |
3856 |
161 |
|||||||
|
8д |
3820 |
108 |
214 |
84,8 |
3498 |
161 |
|||||||
|
8е |
4030 |
108 |
218 |
84,8 |
3704 |
161 |
|||||||
|
9а |
4110 |
108 |
218 |
84,8 |
3784 |
161 |
|||||||
|
9б |
3520 |
108 |
214 |
84,8 |
3198 |
161 |
|||||||
|
9в |
5060 |
108 |
218 |
84,8 |
4734 |
161 |
|||||||
|
10а |
2920 |
90,4 |
160 |
66,5 |
2669,6 |
123 |
|||||||
|
10б |
5040 |
117 |
221 |
92 |
4702 |
161 |
|||||||
|
10в |
5450 |
117 |
221 |
92 |
5112 |
161 |
|||||||
|
11a |
4260 |
79,9 |
155 |
58,3 |
4025,1 |
123 |
|||||||
|
11б |
3080 |
79,9 |
150 |
58,3 |
2850,1 |
123 |
|||||||
|
11в |
2870 |
79,9 |
150 |
58,3 |
2640,1 |
123 |
|||||||
|
11г |
2810 |
79,9 |
150 |
58,3 |
2580,1 |
123 |
|||||||
|
11д |
3940 |
104 |
207 |
80,8 |
3629 |
161 |
|||||||
|
11е |
4050 |
104 |
207 |
80,8 |
8739 |
161 |
|||||||
|
12а |
1720 |
66,7 |
107 |
42,6 |
1546,3 |
102 |
|||||||
|
12б |
2130 |
66,7 |
110 |
42,6 |
1953,3 |
102 |
|||||||
|
12в |
2000 |
66,7 |
107 |
42,6 |
1826,3 |
102 |
|||||||
|
12г |
2000 |
69,6 |
110 |
44,8 |
1820,4 |
102 |
|||||||
|
12д |
2620 |
69,6 |
110 |
44,8 |
2440,4 |
102 |
|||||||
|
12е |
2070 |
69,6 |
117 |
44,8 |
1883,4 |
102 |
|||||||
|
В том числе: |
|||||||||||||
|
а) земляные работы |
|||||||||||||
|
1a - 1e |
65,2 |
25,2 |
40 |
13,8 |
- |
43,8 |
|||||||
|
1ж, 3б, 4а, 6б |
54,6 |
22,9 |
31,7 |
12 |
- |
39,1 |
|||||||
|
2а, 2в, 8е, 9а, 9в |
96,1 |
35,8 |
60,3 |
20,8 |
- |
53 |
|||||||
|
2б, 11a |
76,1 |
29 |
47,1 |
15,6 |
- |
43,8 |
|||||||
|
2г |
90,2 |
35,3 |
54,9 |
19,6 |
- |
43,8 |
|||||||
|
3а |
52 |
22,9 |
29,1 |
12 |
- |
39,1 |
|||||||
|
3в, 3г, 4б, 5а, 6а, 6в |
57,8 |
22,9 |
34,9 |
12 |
- |
39,1 |
|||||||
|
5б |
83 |
22,9 |
40,1 |
12 |
- |
39,1 |
|||||||
|
7а, 11б - 11г |
70,8 |
29 |
41,8 |
15,6 |
- |
43,8 |
|||||||
|
7б, 7г - 8б,11д, 11е |
86,4 |
34,3 |
52,1 |
19,4 |
- |
53 |
|||||||
|
7в |
73,8 |
29 |
44,8 |
15,6 |
|
43,8 |
|||||||
|
8в, 8д, 9б |
92,2 |
36,8 |
56,4 |
20,8 |
- |
53 |
|||||||
|
8г |
90,3 |
34,3 |
56 |
19,4 |
- |
53 |
|||||||
|
10а |
79,4 |
32,8 |
45,6 |
18,1 |
- |
43,8 |
|||||||
|
10б, 10в |
97 |
38,8 |
58,2 |
22,6 |
- |
53 |
|||||||
|
12а, 12в |
59,6 |
26,3 |
33,3 |
13,6 |
- |
39,1 |
|||||||
|
12б |
62,8 |
26,3 |
36,5 |
13,6 |
- |
39,1 |
|||||||
|
12г, 12д |
62,3 |
27,5 |
34,8 |
14,5 |
- |
39,1 |
|||||||
|
12е |
69,4 |
27,5 |
41,9 |
14,5 |
- |
39,1 |
|||||||
|
б) фундаменты |
|||||||||||||
|
1a |
2330 |
44,3 |
102 |
37,2 |
2183,7 |
79,4 |
|||||||
|
1б |
2830 |
44,3 |
102 |
37,2 |
2483,7 |
79,4 |
|||||||
|
1в |
2440 |
44,8 |
102 |
37,2 |
2293,7 |
79,4 |
|||||||
|
1г, 1e |
2590 |
44,3 |
102 |
37,2 |
2443,7 |
79,4 |
|||||||
|
1д |
2710 |
44,3 |
102 |
37,2 |
2563,7 |
79,4 |
|||||||
|
1ж |
1630 |
35,1 |
69,9 |
25,2 |
1525 |
63,3 |
|||||||
|
2а |
4370 |
72,6 |
157 |
64 |
4140,4 |
108 |
|||||||
|
2б, 11г |
2750 |
50,9 |
108 |
42,8 |
2591,1 |
79,4 |
|||||||
|
2в |
5530 |
72,6 |
157 |
64 |
5300,4 |
108 |
|||||||
|
2г |
3010 |
62 |
117 |
52,1 |
2831 |
79,4 |
|||||||
|
3а - 3в |
1610 |
35,1 |
69,9 |
25,2 |
1505 |
63,3 |
|||||||
|
3г |
1580 |
35,1 |
69,9 |
25,2 |
1475 |
63,3 |
|||||||
|
4а - 5а |
1720 |
35,1 |
69,9 |
25,2 |
1615 |
68,8 |
|||||||
|
5б |
2130 |
35,1 |
69,9 |
25,2 |
2025 |
63,3 |
|||||||
|
6а |
1680 |
35,1 |
69,9 |
25,2 |
1575 |
63,3 |
|||||||
|
6б |
1660 |
35,1 |
69,9 |
25,2 |
1555 |
63,3 |
|||||||
|
6в |
1970 |
35,1 |
69,9 |
25,2 |
1865 |
63,3 |
|||||||
|
7а, 7в |
2570 |
50,9 |
108 |
42,8 |
2411,1 |
79,4 |
|||||||
|
7б, 7г, 8б |
3510 |
69,6 |
155 |
61,3 |
3285,4 |
108 |
|||||||
|
8а |
3700 |
69,6 |
155 |
61,3 |
3475,4 |
108 |
|||||||
|
8в |
4150 |
72,6 |
157 |
64 |
3920,4 |
108 |
|||||||
|
8г |
4080 |
69,6 |
155 |
61,3 |
3855,4 |
108 |
|||||||
|
8д |
3730 |
72,6 |
167 |
64 |
3500,4 |
108 |
|||||||
|
8е |
3980 |
72,6 |
157 |
64 |
3700,4 |
108 |
|||||||
|
9а |
4020 |
72,6 |
157 |
64 |
3790,4 |
108 |
|||||||
|
9б |
3430 |
72,6 |
157 |
64 |
3200,4 |
108 |
|||||||
|
9в |
4960 |
72,6 |
157 |
64 |
4780,4 |
108 |
|||||||
|
10а |
2840 |
57,6 |
114 |
48,4 |
2668,4 |
79,4 |
|||||||
|
10б |
4950 |
78,7 |
168 |
69,3 |
4708,3 |
108 |
|||||||
|
10в |
5350 |
78,7 |
163 |
69,3 |
5108 |
108 |
|||||||
|
11a |
4190 |
50,9 |
108 |
42,8 |
4031,1 |
79,4 |
|||||||
|
11б |
3010 |
50,9 |
106 |
42,8 |
2851,1 |
79,4 |
|||||||
|
11в |
2800 |
50,9 |
108 |
42,8 |
2641,1 |
79,4 |
|||||||
|
11д |
3850 |
69,6 |
155 |
61,8 |
3625,4 |
108 |
|||||||
|
11e |
8960 |
69,6 |
155 |
61,3 |
3735,4 |
108 |
|||||||
|
12а |
1660 |
40,4 |
73,7 |
29 |
1545,9 |
63,3 |
|||||||
|
12б |
2070 |
40,4 |
73,7 |
29 |
1955,9 |
63,8 |
|||||||
|
12в |
1940 |
40,4 |
73,7 |
29 |
1825,9 |
63,3 |
|||||||
|
12г |
1930 |
42,2 |
75 |
30,3 |
1812,8 |
63,3 |
|||||||
|
12д |
2550 |
42,2 |
75 |
30,3 |
2432,8 |
63,3 |
|||||||
|
12е |
2000 |
42,2 |
75 |
30,3 |
1882,6 |
63,3 |
|||||||
|
2. Надземная часть |
|||||||||||||
|
1a |
8120 |
795 |
167 |
56,1 |
7158 |
1390 |
|||||||
|
1б |
8370 |
795 |
167 |
56,1 |
7408 |
1390 |
|||||||
|
1в, 1г |
8520 |
795 |
167 |
56,1 |
7558 |
1890 |
|||||||
|
1д |
8740 |
795 |
167 |
56,1 |
7778 |
1390 |
|||||||
|
1e |
10200 |
795 |
167 |
56,1 |
9238 |
1390 |
|||||||
|
1ж |
6980 |
736 |
148 |
50,1 |
6097 |
1280 |
|||||||
|
2a, 9a |
10500 |
954 |
179 |
67,4 |
9367 |
1390 |
|||||||
|
2б |
11400 |
914 |
176 |
64,5 |
10910 |
1390 |
|||||||
|
11в |
11400 |
954 |
179 |
67,4 |
10267 |
1390 |
|||||||
|
2г |
10300 |
1110 |
190 |
78,6 |
9000 |
1390 |
|||||||
|
3а, 3б |
7230 |
735 |
148 |
50,1 |
6347 |
1280 |
|||||||
|
3в |
7340 |
735 |
148 |
50,1 |
6457 |
1280 |
|||||||
|
3г, 4б |
7960 |
735 |
148 |
50,1 |
7077 |
1280 |
|||||||
|
4а |
7120 |
735 |
148 |
50,1 |
6237 |
1280 |
|||||||
|
5а |
7470 |
735 |
148 |
50,1 |
6587 |
1280 |
|||||||
|
5б |
8640 |
735 |
148 |
50,1 |
7757 |
1280 |
|||||||
|
6а, 6б |
7760 |
735 |
148 |
50,1 |
6877 |
1280 |
|||||||
|
6в |
8040 |
735 |
148 |
50,1 |
7157 |
1280 |
|||||||
|
7а |
9030 |
914 |
176 |
64,6 |
7940 |
1390 |
|||||||
|
7б, 7г |
8580 |
914 |
176 |
64,6 |
7490 |
1390 |
|||||||
|
7в, 8а, 8б, 11б |
9490 |
914 |
176 |
64,6 |
8400 |
1390 |
|||||||
|
8в, 8е |
9610 |
954 |
179 |
67,4 |
8477 |
1390 |
|||||||
|
8г |
11100 |
914 |
176 |
64,6 |
10010 |
1390 |
|||||||
|
8д |
8240 |
954 |
179 |
67,4 |
7107 |
1390 |
|||||||
|
9б |
8820 |
954 |
179 |
67,4 |
7687 |
1390 |
|||||||
|
9в |
11000 |
954 |
179 |
67,4 |
9867 |
1390 |
|||||||
|
10а, 10б |
10700 |
1000 |
184 |
73 |
9486 |
1390 |
|||||||
|
10в |
11100 |
1030 |
184 |
73 |
9886 |
1390 |
|||||||
|
11а |
10900 |
914 |
176 |
64,6 |
9810 |
1390 |
|||||||
|
11в |
9760 |
914 |
176 |
64,6 |
8670 |
1390 |
|||||||
|
11г |
9340 |
914 |
176 |
64,6 |
8250 |
1390 |
|||||||
|
11д |
9590 |
914 |
176 |
64,6 |
8500 |
1390 |
|||||||
|
11е |
9930 |
914 |
176 |
64,6 |
8840 |
1390 |
|||||||
|
12а |
7430 |
846 |
155 |
57,7 |
6429 |
1280 |
|||||||
|
12б |
7710 |
846 |
155 |
57,7 |
6709 |
1280 |
|||||||
|
12в |
8190 |
846 |
155 |
57,7 |
7189 |
1280 |
|||||||
|
12г |
7850 |
882 |
158 |
60,2 |
6810 |
1280 |
|||||||
|
12д |
8480 |
882 |
158 |
60,2 |
7440 |
1280 |
|||||||
|
12е |
8340 |
882 |
158 |
60,2 |
7300 |
1280 |
|||||||
|
В том числе: |
|||||||||||||
|
а) стены наружные |
|||||||||||||
|
1а |
4800 |
820 |
85,8 |
25,9 |
3894,2 |
578 |
|||||||
|
1б |
4510 |
320 |
85,8 |
25,9 |
4104,2 |
578 |
|||||||
|
1в |
4700 |
320 |
85,8 |
25,9 |
4294,2 |
578 |
|||||||
|
1г |
4450 |
320 |
85,8 |
25,9 |
4044,2 |
578 |
|||||||
|
1д |
4820 |
320 |
85,8 |
25,9 |
4414,2 |
578 |
|||||||
|
1е |
6150 |
320 |
85,8 |
25,9 |
5744,2 |
578 |
|||||||
|
1ж |
3310 |
261 |
66 |
19,9 |
12983 |
469 |
|||||||
|
2а |
5870 |
384 |
91 |
31 |
5395 |
578 |
|||||||
|
2б |
6950 |
368 |
89,7 |
29,8 |
6492,3 |
578 |
|||||||
|
2в |
6430 |
384 |
91 |
31 |
5955 |
578 |
|||||||
|
2г |
5430 |
448 |
96,2 |
36,2 |
4885,8 |
578 |
|||||||
|
3а, 4а |
3260 |
261 |
66 |
19,9 |
2933 |
469 |
|||||||
|
3б |
3400 |
261 |
66 |
19,9 |
3073 |
469 |
|||||||
|
3в |
3600 |
261 |
66 |
19,9 |
3273 |
469 |
|||||||
|
3г |
4260 |
261 |
66 |
19,9 |
3933 |
469 |
|||||||
|
4б |
4100 |
261 |
66 |
19,9 |
3773 |
469 |
|||||||
|
5а |
3520 |
261 |
66 |
19,9 |
3193 |
469 |
|||||||
|
5б |
4320 |
261 |
66 |
19,9 |
3993 |
469 |
|||||||
|
6а, 6б |
3780 |
261 |
66 |
19,9 |
3453 |
469 |
|||||||
|
6в |
3650 |
261 |
66 |
19,9 |
3328 |
469 |
|||||||
|
7а, 11б, 11г |
4990 |
368 |
89,7 |
29,8 |
4532,3 |
578 |
|||||||
|
7б, 7г |
4530 |
368 |
89,7 |
29,8 |
4072,3 |
578 |
|||||||
|
7в |
5500 |
368 |
89,7 |
29,8 |
5042,3 |
578 |
|||||||
|
8а |
5160 |
368 |
89,7 |
29,8 |
4702,3 |
578 |
|||||||
|
8б |
5240 |
368 |
89,7 |
29,8 |
4782,3 |
578 |
|||||||
|
8в |
5130 |
384 |
91 |
31 |
4655 |
578 |
|||||||
|
8г |
6100 |
868 |
89,7 |
29,8 |
5642,3 |
578 |
|||||||
|
8д |
3980 |
384 |
91 |
3,1 |
3505 |
578 |
|||||||
|
8е, 9в |
4670 |
384 |
91 |
3,1 |
4195 |
578 |
|||||||
|
9a |
5980 |
384 |
91 |
31 |
6505 |
578 |
|||||||
|
9б |
4410 |
384 |
91 |
31 |
3935 |
578 |
|||||||
|
10а, 10в |
6860 |
416 |
93,6 |
33,6 |
5350,4 |
578 |
|||||||
|
10б |
5560 |
416 |
93,6 |
33,6 |
5050,4 |
578 |
|||||||
|
11а |
5740 |
368 |
89,7 |
89,8 |
5282,3 |
578 |
|||||||
|
11в |
5350 |
368 |
89,7 |
28,8 |
4892,3 |
578 |
|||||||
|
11д |
5090 |
368 |
89,7 |
28,8 |
4632,3 |
578 |
|||||||
|
11е |
5410 |
368 |
89,7 |
28,8 |
4952,3 |
578 |
|||||||
|
12a, 12б |
3480 |
300 |
69 |
22,9 |
3111 |
469 |
|||||||
|
12в |
4150 |
300 |
69 |
22,9 |
3781 |
469 |
|||||||
|
12г |
3780 |
313 |
70 |
23,8 |
3397 |
469 |
||||||
|
12д |
4320 |
313 |
70 |
23,8 |
3937 |
469 |
||||||
|
12е |
3940 |
313 |
70 |
23,8 |
3557 |
469 |
||||||
|
б) отделочные работы |
||||||||||||
|
1, 4б, 5б |
579 |
245 |
19,8 |
10,4 |
314,2 |
411 |
||||||
|
2а |
650 |
294 |
2,1,9 |
12,5 |
334,1 |
411 |
||||||
|
2б, 11 |
668 |
382 |
21,4 |
12 |
364,6 |
411 |
||||||
|
2в, 8в, 9а, 9в, 12е |
684 |
294 |
21,9 |
12,5 |
368,1 |
411 |
||||||
|
2г |
754 |
843 |
24 |
14,6 |
387 |
411 |
||||||
|
3а, 3б, 5,а |
592 |
245 |
19,8 |
10,4 |
327,2 |
411 |
||||||
|
3в |
572 |
245 |
19,8 |
10,4 |
307,2 |
411 |
||||||
|
3г |
555 |
245 |
19,8 |
10,4 |
890,2 |
411 |
||||||
|
4а |
604 |
245 |
19,8 |
10,4 |
339,2 |
411 |
||||||
|
6 |
612 |
245 |
19,8 |
10,4 |
347,2 |
411 |
||||||
|
7, 12а |
625 |
282 |
21,4 |
12 |
321,6 |
411 |
||||||
|
8а |
662 |
282 |
21,4 |
12 |
328,6 |
411 |
||||||
|
8б |
616 |
282 |
21,4 |
12 |
312,6 |
411 |
||||||
|
8г |
682 |
282 |
21,4 |
12 |
378,6 |
411 |
||||||
|
8д, 9б, 12г, 12д |
664 |
294 |
21,9 |
12,5 |
348,1 |
411 |
||||||
|
8е |
710 |
294 |
21,9 |
12,5 |
394,1 |
411 |
||||||
|
10а |
787 |
318 |
22,9 |
13,5 |
446,1 |
411 |
||||||
|
10б |
726 |
318 |
22,9 |
13,5 |
385,1 |
411 |
||||||
|
10в |
695 |
318 |
22,9 |
13,5 |
354,1 |
411 |
||||||
|
12б, 12в |
644 |
282 |
21,4 |
12 |
340,6 |
411 |
||||||
|
II. Монтаж металлоконструкций |
||||||||||||
|
1, 3, 5 |
726 |
57,2 |
31,5 |
10,9 |
637,3 |
88,8 |
||||||
|
2а, 2в, 8в, 8д, 8е, 12д |
748 |
68,6 |
33,7 |
13,1 |
645,7 |
88,8 |
||||||
|
2б, 8а, 8б, 8г |
743 |
65,8 |
33,2 |
12,6 |
644 |
88,8 |
||||||
|
2г |
776 |
80,1 |
35,9 |
15,2 |
659 |
88,8 |
||||||
|
4 |
708 |
57,2 |
31,5 |
10,9 |
619,3 |
88,8 |
||||||
|
6 |
736 |
57,2 |
31,5 |
10,9 |
647,3 |
88,8 |
||||||
|
7, 11a - 12в |
729 |
65,8 |
33,2 |
12,5 |
630 |
88,8 |
||||||
|
9 |
777 |
68,6 |
33,7 |
13,1 |
674,7 |
88,8 |
||||||
|
10 |
864 |
74,4 |
34,8 |
14,2 |
754,8 |
88,8 |
||||||
|
12г, 12е |
737 |
68,6 |
33,7 |
13,1 |
634,7 |
88,8 |
||||||
|
III. Внутренние санитарно-технические устройства |
|||||||||||||
|
1. Санитарно-технические работы |
|||||||||||||
|
1a – 1e |
1510 |
150 |
15,3 |
3,45 |
1344,7 |
232 |
|||||||
|
1ж, 3 - 6 |
1440 |
142 |
14,3 |
3,21 |
1283,7 |
220 |
|||||||
|
2а, 2в, 9 |
1660 |
189 |
17,2 |
4,43 |
1453,8 |
245 |
|||||||
|
2б, 11a - 11г |
1570 |
172 |
15,8 |
3,96 |
1382,2 |
232 |
|||||||
|
2г |
1650 |
210 |
16,7 |
4,82 |
1423,3 |
232 |
|||||||
|
7а, 7в |
1540 |
172 |
15,8 |
3,96 |
1352,2 |
232 |
|||||||
|
7б, 7г - 8б, 8г |
1640 |
182 |
17 |
4,24 |
1421 |
245 |
|||||||
|
8в, 8д |
1780 |
189 |
17,2 |
4,43 |
1433,8 |
245 |
|||||||
|
8е |
1620 |
189 |
17,2 |
4,43 |
1573,8 |
245 |
|||||||
|
10а |
1720 |
195 |
16,4 |
4,48 |
1508,6 |
232 |
|||||||
|
10б, 10в |
1820 |
205 |
17,5 |
4,8 |
1597,5 |
245 |
|||||||
|
11д, 11е |
1630 |
182 |
17 |
4,24 |
1431 |
245 |
|||||||
|
12а - 12в |
1490 |
163 |
14,8 |
3,69 |
1312,2 |
220 |
|||||||
|
12г, 12д |
1500 |
170 |
14,9 |
3,85 |
1315,1 |
220 |
|||||||
|
12е |
1520 |
170 |
14,9 |
3,85 |
1335,1 |
220 |
|||||||
|
В том числе: |
|||||||||||||
|
а) холодное водоснабжение и канализация |
|||||||||||||
|
1 |
202 |
25,3 |
1,82 |
0,28 |
174,88 |
39,8 |
|||||||
|
2а, 2в, 8в, 8д, 9 |
212 |
30,4 |
1,88 |
0,33 |
179,72 |
39,8 |
|||||||
|
2б, 8а, 8б, 8г |
210 |
29,1 |
1,86 |
0,32 |
179,04 |
39,8 |
|||||||
|
2г |
220 |
35,4 |
1,93 |
0,39 |
182,67 |
39,8 |
|||||||
|
3, 4 |
208 |
25,3 |
1,82 |
0,28 |
180,88 |
39,8 |
|||||||
|
5, 6 |
205 |
25,3 |
1,82 |
0,28 |
177,88 |
39,8 |
|||||||
|
7 |
208 |
29,1 |
1,86 |
0,32 |
177,04 |
39,8 |
|||||||
|
8е |
226 |
30,4 |
1,88 |
0,33 |
193,72 |
39,8 |
|||||||
|
10 |
219 |
32,9 |
1,9 |
0,36 |
184,2 |
39,8 |
|||||||
|
11а - 12в |
215 |
29,1 |
1,86 |
0,32 |
184,04 |
39,8 |
|||||||
|
12г - 12е |
218 |
30,4 |
1,88 |
0,33 |
185,72 |
39,8 |
|||||||
|
б) центральное отопление и вентиляция |
|||||||||||||
|
1a - 1e |
1300 |
124 |
13,5 |
3,17 |
1162,5 |
192 |
|||||||
|
1ж, 3 - 6 |
1240 |
117 |
12,4 |
2,93 |
1110,6 |
180 |
|||||||
|
2а, 2в, 9 |
1450 |
159 |
15,3 |
4,1 |
1275,7 |
205 |
|||||||
|
2б |
1360 |
143 |
14 |
3,64 |
1203 |
192 |
|||||||
|
2г |
1430 |
174 |
14,8 |
4,44 |
1241,2 |
192 |
|||||||
|
7а, 7в |
1330 |
148 |
14 |
3,64 |
1173 |
192 |
|||||||
|
7б, 7г - 8б, 8г, 11д, 11е |
1410 |
152 |
15,1 |
3,93 |
1242,9 |
205 |
|||||||
|
8в, 8д |
1480 |
159 |
15,3 |
4,1 |
1255,7 |
205 |
|||||||
|
8е |
1550 |
150 |
15,3 |
4,1 |
1375,7 |
205 |
|||||||
|
10а |
1500 |
162 |
14,5 |
4,12 |
1323,5 |
192 |
|||||||
|
10б, 10в |
1600 |
172 |
15,6 |
4,44 |
1412,4 |
205 |
|||||||
|
11а - 11г |
1350 |
143 |
14 |
3,64 |
1193 |
192 |
|||||||
|
12а - 12в |
1280 |
134 |
12,9 |
3,37 |
1133,1 |
180 |
|||||||
|
12г, 12д |
1280 |
140 |
13 |
3,52 |
1127 |
180 |
|||||||
|
12е |
1300 |
140 |
13 |
3,52 |
1147 |
180 |
|||||||
|
2. Строительные работы, сопутствующие санитарно-техннческим |
|||||||||||||
|
1a - 1e |
89,9 |
39,1 |
1,25 |
0,34 |
49,55 |
68,3 |
|||||||
|
1ж, 3 - 6 |
87,5 |
38,2 |
1,19 |
0,33 |
48,11 |
66,6 |
|||||||
|
2а, 8в, 8д, 9 |
106 |
48,7 |
1,41 |
0,44 |
55,89 |
70,9 |
|||||||
|
2б, 7а, 7в, 11a - 11г |
98,4 |
45 |
1,3 |
0,4 |
52,1 |
68,3 |
|||||||
|
2в |
104 |
48,7 |
1,41 |
0,44 |
53,89 |
70,9 |
|||||||
|
2г |
110 |
54,8 |
1,38 |
0,48 |
53,82 |
68,3 |
|||||||
|
7б, 7г - 8б, 8г, 11д, 11е |
102 |
46,7 |
1,39 |
0,42 |
53,91 |
70,9 |
|||||||
|
8е |
113 |
48,7 |
1,41 |
0,44 |
62,89 |
70,9 |
|||||||
|
10а |
109 |
50,9 |
1,35 |
0,45 |
56,75 |
68,3 |
|||||||
|
10б, 10в |
113 |
52,8 |
1,44 |
0,48 |
58,76 |
70,9 |
|||||||
|
12а - 12в |
95,8 |
43,9 |
1,24 |
0,38 |
50,66 |
66,6 |
|||||||
|
12г, 12д |
99,5 |
45,8 |
1,25 |
0,39 |
52,45 |
66,6 |
|||||||
|
12е |
104 |
45,8 |
1,25 |
0,39 |
56,96 |
66,6 |
|||||||
|
IV. Электроосвещение и монтаж электросилового оборудования |
|||||||||||||
|
1, 3 - 6 |
596 |
205 |
102 |
38,6 |
289 |
345 |
|||||||
|
2а, 2в, 8в, 8д, 9, 12г, 12д |
647 |
246 |
110 |
46,3 |
291 |
345 |
|||||||
|
2б, 7а - 8б, 8г, 11а - 12в |
633 |
236 |
108 |
44,4 |
289 |
345 |
|||||||
|
2г |
714 |
287 |
118 |
54 |
309 |
345 |
|||||||
|
8е |
984 |
246 |
110 |
46,3 |
328 |
345 |
|||||||
|
10 |
689 |
267 |
114 |
50,2 |
308 |
345 |
|||||||
|
12е |
668 |
246 |
110 |
46,3 |
312 |
345 |
|||||||
|
V. Монтаж оборудования |
|||||||||||||
|
1, 3 - 6 |
407 |
116 |
40,2 |
14,52 |
250,8 |
205,4 |
|||||||
|
2а, 2в, 12г, 12е |
431 |
140 |
43,1 |
17,4 |
247,9 |
205,4 |
|||||||
|
2б, 11а - 12в |
426 |
134 |
42,4 |
16,6 |
249,6 |
206,4 |
|||||||
|
2г |
467 |
162 |
46 |
20,28 |
259 |
205,4 |
|||||||
|
7а - 8б, 8г |
428 |
134 |
42,4 |
16,6 |
251,6 |
205,4 |
|||||||
|
8в, 3д, 12д |
435 |
140 |
43,1 |
17,4 |
251,9 |
205,4 |
|||||||
|
8е - 9в |
448 |
140 |
43,1 |
17,4 |
264,9 |
205,4 |
|||||||
|
10 |
481 |
151 |
44,5 |
18,79 |
285,5 |
205,4 |
|||||||
|
В том числе: |
|||||||||||||
|
а) монтаж технологического оборудования |
|||||||||||||
|
1, 8 - 6 |
190 |
77,6 |
29,5 |
10,6 |
82,9 |
137 |
|||||||
|
2а, 2в, 12г, 12е |
207 |
93,1 |
31,6 |
12,7 |
82,3 |
137 |
|||||||
|
2б, 11а - 12в |
203 |
88,2 |
31,1 |
12,1 |
82,7 |
137 |
|||||||
|
2г |
228 |
108 |
33,8 |
14,8 |
86,2 |
137 |
|||||||
|
7а - 8б, 8г |
205 |
89,2 |
31,1 |
12,1 |
84,7 |
137 |
|||||||
|
8в, 8д, 12д |
209 |
93,1 |
31,6 |
12,7 |
84,3 |
137 |
|||||||
|
8е - 9в |
213 |
93,1 |
31,6 |
12,7 |
88,3 |
137 |
|||||||
|
10 |
228 |
101 |
82,7 |
13,7 |
94,3 |
137 |
|||||||
|
б) монтаж технологических трубопроводов |
|||||||||||||
|
1, 8 - 6 |
2116 |
38,8 |
10,7 |
3,92 |
165,6 |
68,4 |
|||||||
|
2а, 2в |
1222 |
46,6 |
11,5 |
4,7 |
183,9 |
68,4 |
|||||||
|
2б, 11 |
221 |
44,6 |
11,3 |
4,5 |
165,1 |
68,4 |
|||||||
|
2г |
239 |
54,3 |
12,2 |
5,48 |
172,6 |
68,4 |
|||||||
|
6 |
218 |
38,3 |
10,7 |
3,92 |
168,5 |
68,4 |
|||||||
|
7а - 8б, 8г, 12а - 12в |
234 |
44,6 |
11,3 |
4,5 |
168,1 |
68,4 |
|||||||
|
8в, 8д, 12г-12е |
226 |
46,6 |
11,5 |
4,7 |
167,9 |
68,4 |
|||||||
|
8е - 9в |
236 |
46,6 |
11,5 |
4,7 |
176,9 |
68,4 |
|||||||
|
10 |
353 |
50,4 |
11,8 |
5,09 |
190,8 |
68,4 |
|||||||
Перечень цен настоящего Прейскуранта и соответствующих им аналогичных цен, разработанных в нормах и ценах, введенных с 1 января 1969 г.
|
Номера цен |
||
|
настоящего Прейскуранта |
Прейскуранта на строительство зданий и сооружений водоснабжения и канализации, вып. 1, изд. 1978 г. |
Прейскурантов па строительство объектов железнодорожного транспорта (ПРЦ ж. д.) ч. VIII, вып. 2 и 5, изд. 1972 и 1977 гг. |
|
1 |
1 |
- |
|
2 |
2 |
- |
|
3 |
3 |
- |
|
4 |
4 |
- |
|
5 |
5 |
- |
|
6 |
6 |
- |
|
7 |
7 |
- |
|
8 |
8 |
- |
|
9 |
9 |
- |
|
10 |
10 |
- |
|
11 |
11 |
- |
|
12 |
12 |
- |
|
13 |
13 |
- |
|
14 |
14 |
- |
|
15 |
15 |
- |
|
16 |
16 |
- |
|
17 |
17 |
- |
|
18 |
18 |
- |
|
19 |
19 |
- |
|
20 |
20 |
- |
|
21 |
21 |
- |
|
22 |
22 |
- |
|
23 |
23 |
- |
|
24 |
24 |
- |
|
25 |
25 |
- |
|
26 |
26 |
- |
|
27 |
27 |
- |
|
28 |
28 |
- |
|
29 |
29 |
- |
|
30 |
30 |
- |
|
31 |
31 |
- |
|
32 |
32 |
- |
|
33 |
- |
VIII-72 |
|
34 |
- |
VIII-73 |
|
35 |
- |
VIII-71 |
|
36 |
- |
VIII-75 |
|
37 |
- |
VIII-556 |
Распределение отдельных частей территории СССР по территориальным районам, для которых разработаны цены Прейскуранта
1-й территориальный район
Подрайон 1а
1. Брянская область
2. Владимирская область
3. Калининская область
4. Ленинградская область
5. Московская область
6. Новгородская область
7. Тульская область
Подрайон 1б
1. Чувашская АССР
2. Горьковская область
3. Ивановская область
4. Ярославская область
Подрайон 1в
1. Башкирская АССР
2. Мордовская АССР
3. Татарская АССР
4. Белгородская область
5. Волгоградская область
6. Воронежская область
7. Куйбышевская область
8. Курская область
9. Липецкая область
10. Орловская область
11. Пензенская область
12. Саратовская область
13. Тамбовская область
14. Ульяновская область
Подрайон 1г
1. Вологодская область
2. Кировская область
3. Костромская область
Подрайон 1д
1.. Марийская АССР
2. Калужская область
3. Псковская область
4. Рязанская область
5. Смоленская область
Подрайон 1е
Астрахаздокая область
Подрайон 1ж
Белорусская ССР
2-й территориальный район
Подрайон 2а
Архангельская область (южнее Полярного круга)
Подрайон 2б
Карельская АССР
Подрайон 2в
Коми АССР (южнее Полярного круга)
Подрайон 2г
Мурманская область
3-й территориальный район
Подрайон 3а
Латвийская ССР
Подрайон 3б
Литовская ССР
Подрайон 3в
Эстонская ССР
Подрайон 3г
Калининградская область
4-й территориальный район
Подрайон 4а
Украинская ССР
Подрайон 4б
Молдавская ССР
5-й территориальный район,
Подрайон 5а
1. Дагестанская АССР
2. Кабардино-Балкарская АССР
3. Северо-Осетинская АССР
4. Чечено-Ингушская АССР
5. Краснодарский край
6. Ставропольский край
7. Ростовская область
Подрайон 5б
Калмыцкая АССР
6-й территориальный район
Подрайон 6а
Армянская ССР
Подрайон 6б
Азербайджанская ССР
Подрайон 6в
Грузинская ССР
7-й территориальный район
Подрайон 7а
Пермская область
Подрайон 7б
Свердловская область
Подрайон 7в
Удмуртская АССР
Подрайон 7г
1. Курганская область
2. Оренбургская область
3. Челябинская область
8-й территориальный район
Подрайон 8а
1. Алтайский край
2. Кемеровская область
3. Новосибирская область
Подрайон 8б
Омская область
Подрайон 8в
Томская область (южнее 60-й параллели)
Подрайон 8г
Тюменская область (южнее 60-й параллели)
Подрайон 8д
Красноярский край (южнее 60-й параллели без Тувинской АССР)
Подрайон 8е
Тувинская АССР
9-й территориальный район
Подрайон 9а
Бурятская АССР
Подрайон 9б
Иркутская область (южнее 60-й параллели)
Подрайон 9в
Читинская область
10-й территориальный район
Подрайон 10а
Приморский край
Подрайон 10б
Хабаровский край (южнее 55-й параллели)
Подрайон 10в
Амурская область
11-й территориальный район
Казахская ССР
Подрайон 11а
Мангышлакская область
Подрайон 11б
1. Актюбинская область
2. Джамбулская область
3. Кзыл-Ординская область
4. Уральская область
Подрайон 11в
1. Гурьевская область
2. Чимкентская область
Подрайон 11г
1. Алма-Атинская область
2. Джезказганская область
3. Талды-Курганская область
Подрайон 11д
1. Восточно-Казахстанская область
2. Карагандинская область
3. Кокчетавская область
4. Павлодарская область
5. Северо-Казахстанская обл.
6. Тургайская область
7. Целиноградская область
Подрайон 11е
1. Кустанайская область
2. Семипалатинская область
12-й территориальный район
Подрайон 12а
Узбекская ССР
1. Андижанская область
2. Бухарская область
3. Джизакская область
4. Кашкадарьинская область
5. Намангавская область
6. Самаркандская область
7. Сырдарьинская область
8. Сурхандарьинская область
9. Ташкентская область
10. Ферганская область
11. Хорезмская область
Подрайон 12б
Киргизская ССР
Подрайон 12в
Таджикская ССР
1. Кулябская область
2. Кургая-Тюбинская область
3. Ленинабадская область
4. Районы республиканского подчинения
Подрайон 12г
Туркменская ССР
Подрайон 12д
Каракалпакская АССР
Подрайон 12е
Горно-Бадахшанская автономная область Таджикской ССР
Коэффициенты к элементам затрат при производстве земляных работ в грунтах, отличающихся от принятых в Прейскуранте
|
Элементы затрат |
Группа грунтов и их состояние |
Водоотлив, м3/ч, до |
||||||||
|
I |
II |
III |
IV |
|||||||
|
сухие |
мокрые |
мокрые |
сухие |
мокрые |
сухие |
мокрые |
30 |
60 |
||
|
а |
б |
в |
г |
д |
e |
ж |
з |
и |
||
|
Основная заработная плата |
0,77 |
0,83 |
1,13 |
1,45 |
11,69 |
2,07 |
2,5 |
- |
- |
|
|
Эксплуатация машин |
0,89 |
0,94 |
1,06 |
1,16 |
1,23 |
1,53 |
1,64 |
1,81 |
2,23 |
|
|
Заработная плата рабочих, обслуживающих машины |
0,88 |
0,93 |
1,06 |
1,19 |
1,25 |
1,55 |
1,65 |
2,87 |
2,87 |
|
|
Затраты труда |
0,78 |
0,84 |
1,13 |
1,38 |
1,61 |
1,84 |
2,23 |
- |
- |
|
Примечания: 1. К сухим относятся грунты естественной влажности, а к мокрым - грунты, сильно налипающие на землеройные механизмы и инструменты.
2. Коэффициенты для мокрых грунтов разработаны исходя из усредненного соотношения объемов сухих и мокрых грунтов в котлованах и траншеях и не учитывают производство водоотливных работ, которые предусматриваются в сметах дополнительно путем применения коэффициентов, приведенных в графах «з» и «и».
3. Настоящие коэффициенты применяются при составлении смет к элементам затрат разделов земляных работ основных цен Прейскуранта.
4. Коэффициентами не учтены работы по устройству оклеечной гидроизоляции конструкций фундаментов, прижимных стенок, железобетонных плит против напора грунтовых вод, искусственного понижения уровня грунтовых вод, шпунтового ограждения и других подобных работ.
5. При строительстве зданий и сооружений в скальных грунтах V-XI группы стоимость их разработки определяется по отдельному расчету с исключением затрат по земляным работам, учтенных в Прейскуранте.
6. Коэффициенты по водоотливу определены из условия производства работ в котлованах площадью по дну до 30 м2 и траншей шириной по дну до 2 м; при водоотливе из котлованов площадью по дну более 30 м2, из траншей шириной по дну более 2 м стоимость водоотлива должна определяться на основании проектных данных о силе притока воды, продолжительности производства водоотливных работ и применяемых водоотливных средств.
Поправки к ценам при устройстве фундаментов из материалов, отличающихся от принятых в Прейскуранте (на измеритель цен)
1. При разработке настоящих поправок глубина заложения сборных и монолитных фундаментов принята по Технической части.
2. Если при привязке типового проекта к местным условиям глубина заложения фундаментов будет отличаться от принятой, то дополнительно к настоящим поправкам следует вводить поправки, приведенные в прил. 5.
3. Поправки со знаком «+» к элеметам затрат цен следует добавлять, а со знаком «-» вычитать.
А. ПРИ УСТРОЙСТВЕ СБОРНЫХ ФУНДАМЕНТОВ ВЗАМЕН МОНОЛИТНЫХ
|
Номера цен |
Элементы затрат |
Измеритель |
Территорнальные районы |
|||||||||||
|
1а, 1г - 1е |
1б, 1в, 1ж |
2а, 8в, 8д, 9а |
2б |
2в |
2г |
3а - 3в, 6б |
3г, 6в |
4, 5а |
5б |
6а |
7а - 8а, 12г |
|||
|
26 |
Прямые затраты |
руб. |
-23 |
-3 |
-30 |
-72 |
-1 |
-65 |
-32 |
-14 |
-26 |
+23 |
-44 |
-16 |
|
Основная заработная плата |
» |
-12 |
-12 |
-14 |
-13 |
-14 |
-16 |
-12 |
-12 |
-12 |
-12 |
-12 |
-13 |
|
|
Эксплуатация машин |
» |
- |
- |
- |
- |
- |
- |
- |
- |
- |
- |
- |
- |
|
|
Заработная плата рабочих, обслуживающих машины |
» |
- |
- |
- |
- |
- |
- |
- |
- |
- |
- |
- |
- |
|
|
Затраты труда рабочих |
чел.-ч |
-21 |
-21 |
-21 |
-21 |
-21 |
-21 |
-21 |
-21 |
-21 |
-21 |
-21 |
-21 |
|
|
27,28 |
Прямые затраты |
руб. |
-106 |
-84 |
-130 |
-188 |
-111 |
-179 |
-110 |
-90 |
-108 |
-47 |
-132 |
-92 |
|
0ановная заработная плата |
» |
-17 |
-17 |
-20 |
-19 |
-20 |
-24 |
-17 |
-17 |
-17 |
-17 |
-17 |
-17 |
|
|
Эксплуатация машин |
» |
-4 |
-4 |
-4 |
-4 |
-4 |
-4 |
-4 |
-4 |
-4 |
-4 |
-4 |
-4 |
|
|
Заработная плата рабочих обслуживающих машины |
» |
-1 |
-1 |
-1 |
-1 |
-1 |
-1 |
-1 |
-1 |
-1 |
-1 |
-1 |
-1 |
|
|
Затраты труда рабочих |
чел.-ч |
-31 |
-31 |
-31 |
-31 |
-31 |
-31 |
-31 |
-31 |
-31 |
-31 |
-31 |
-31 |
|
|
29 |
Прямые затраты |
руб. |
-217 |
-180 |
-270 |
-331 |
-255 |
-330 |
-214 |
-200 |
-220 |
-152 |
-250 |
-201 |
|
Основная заработная плата |
» |
-23 |
-23 |
-27 |
-26 |
-27 |
-32 |
-23 |
-23 |
-23 |
-23 |
-23 |
-26 |
|
|
Эксплуатация машин |
» |
-10 |
-10 |
-11 |
-10 |
-11 |
-11 |
-10 |
-10 |
-10 |
-10 |
-10 |
-10 |
|
|
Заработная плата рабочих, обслуживающих машины |
» |
-3 |
-3 |
-3 |
-3 |
-3 |
-4 |
3 |
-3 |
-3 |
-3 |
-3 |
-3 |
|
|
Затраты труда рабочих |
чел.-ч |
-42 |
-42 |
-42 |
-42 |
-42 |
-42 |
-42 |
-42 |
-42 |
-42 |
-42 |
-42 |
|
|
30 |
Прямые затраты |
руб. |
-237 |
-210 |
-280 |
-351 |
-275 |
-361 |
-240 |
-220 |
-240 |
-173 |
-272 |
-221 |
|
Основная заработная плата |
» |
-23 |
-23 |
-27 |
-26 |
-27 |
-32 |
-23 |
-23 |
-23 |
-23 |
-23 |
-26 |
|
|
Эксплуатация машин |
» |
-13 |
-13 |
-14 |
-14 |
-14 |
-16 |
-13 |
-13 |
-13 |
-13 |
-13 |
-14 |
|
|
Заработная плата рабочих, обслуживающих машины |
» |
-4 |
-4 |
-4 |
-4 |
-4 |
-5 |
-4 |
-4 |
-4 |
-4 |
-4 |
-4 |
|
|
Затраты труда рабочих |
чел.-ч |
-43 |
-43 |
-43 |
-43 |
-43 |
-43 |
-43 |
-43 |
-43 |
-43 |
-43 |
-43 |
|
Продолжение прил. 4
|
Номера цен |
Элементы затрат |
Измеритель |
Территориальные районы |
||||||||||
|
8б |
8г, 8е |
9б, 12е |
9в, 12б |
10а |
10б |
10в |
11а, 12д |
11б |
11в - 12а |
12в |
|||
|
26 |
Прямые затраты |
руб. |
-51 |
-138 |
-44 |
+5 |
-53 |
-22 |
+11 |
+32 |
-8 |
-20 |
-1 |
|
Основная заработная плата |
» |
-13 |
-14 |
-14 |
-13 |
-15 |
-15 |
-15 |
-14 |
-13 |
-13 |
-13 |
|
|
Эксплуатация машин |
» |
- |
- |
- |
- |
- |
- |
- |
- |
- |
- |
- |
|
|
Заработная плата рабочих, обслуживающих машины |
» |
- |
- |
- |
- |
- |
- |
- |
- |
- |
- |
- |
|
|
Затраты труда рабочих |
чел.-ч |
-21 |
-21 |
-21 |
-21 |
-21 |
-21 |
-21 |
-21 |
-21 |
-21 |
-21 |
|
|
27,28 |
Прямые затраты |
руб. |
-147 |
-294 |
-145 |
-80 |
-157 |
-158 |
-86 |
-56 |
-19 |
-108 |
-76 |
|
Основная заработная плата |
» |
-19 |
-19 |
-20 |
-20 |
-22 |
-22 |
-22 |
-20 |
-4 |
-19 |
-19 |
|
|
Эксплуатация машин |
» |
-4 |
-4 |
-4 |
-4 |
-4 |
-4 |
-4 |
-4 |
-94 |
-4 |
-4 |
|
|
Заработная плата рабочих, обслуживающих машины |
» |
-1 |
-1 |
-1 |
-1 |
-1 |
-1 |
-1 |
-1 |
-1 |
-1 |
-1 |
|
|
Затраты труда рабочих |
чел.-ч |
-31 |
-31 |
-31 |
-31 |
-31 |
-31 |
-31 |
-31 |
-31 |
-31 |
-31 |
|
|
29 |
Прямые затраты |
руб. |
-271 |
-480 |
-270 |
-200 |
-294 |
-272 |
-222 |
-180 |
-213 |
-227 |
-185 |
|
Основная заработная плата |
» |
-26 |
-27 |
-27 |
-27 |
-29 |
-29 |
-29 |
-27 |
-26 |
-26 |
-26 |
|
|
Эксплуатация машин |
» |
-10 |
-10 |
-11 |
-11 |
-11 |
-11 |
-11 |
-11 |
-10 |
-10 |
-10 |
|
|
Заработная плата рабочих, обслуживающих машины |
» |
-3 |
-3 |
-3 |
-3 |
-3 |
-3 |
-3 |
-3 |
-3 |
-3 |
-3 |
|
|
Затраты труда рабочих |
чел.-ч |
-42 |
-42 |
-42 |
-42 |
-42 |
-42 |
-42 |
-42 |
-42 |
-42 |
-43 |
|
|
30 |
Прямые затраты |
руб. |
-294 |
-510 |
-300 |
-230 |
-316 |
-298 |
-247 |
-210 |
-235 |
-235 |
-206 |
|
Основная заработная плата |
» |
-26 |
-27 |
-27 |
-26 |
-29 |
-30 |
-30 |
-26 |
-26 |
-26 |
-26 |
|
|
Эксплуатация машин |
» |
-14 |
-14 |
-14 |
-14 |
-14 |
-14 |
-14 |
-14 |
-114 |
-14 |
-14 |
|
|
Заработная плата рабочих, обслуживающих машины |
» |
-4 |
-4 |
-4 |
-4 |
-5 |
-5 |
-5 |
-4 |
-4 |
-4 |
-4 |
|
|
Затраты труда рабочих |
чел.-ч |
-43 |
-43 |
-43 |
-43 |
-43 |
-43 |
-43 |
-43 |
-43 |
-43 |
-43 |
|
Продолжение прил. 4
Б. ПРИ УСТРОЙСТВЕ МОНОЛИТНЫХ ФУНДАМЕНТОВ ВЗАМЕН СБОРНЫХ
|
Номера цен |
Элементы затрат |
Измеритель |
Территориальные районы |
|||||||||||
|
1а |
1б - 1e |
1ж, 3 - 5а |
2а, 8в |
2б, 7а, 7в |
2в, 9в |
2г |
5б |
6a, 6б |
6в |
7б, 7г, 8а |
8б, 9б |
|||
|
33 |
Прямые затраты |
руб. |
-660 |
-800 |
-370 |
-1550 |
-770 |
-2100 |
-820 |
-570 |
-360 |
-470 |
-1350 |
-1170 |
|
Основная заработная плата |
» |
+4 |
+4 |
+5 |
+11 |
+5 |
+11 |
+6 |
+5 |
+5 |
+5 |
+10 |
+11 |
|
|
Эксплуатация машин |
» |
-54 |
-54 |
-29 |
-91 |
-57 |
-91 |
-62 |
-29 |
-29 |
-28 |
-89 |
-91 |
|
|
Заработная плата рабочих, обслуживающих машины |
» |
-20 |
-20 |
-11 |
-38 |
-23 |
-38 |
-28 |
-11 |
-11 |
-11 |
-36 |
-38 |
|
|
Затраты труда рабочих |
чел.-ч |
+9 |
+9 |
+10 |
+19 |
+9 |
+19 |
+9 |
+10 |
+10 |
+10 |
+19 |
+19 |
|
|
34 |
Прямые затраты |
руб. |
-760 |
-930 |
-420 |
-1800 |
-890 |
-2500 |
-950 |
-640 |
-400 |
-530 |
-1540 |
-1360 |
|
Основная заработная плата |
» |
+5 |
+5 |
+7 |
+14 |
+6 |
+14 |
+7 |
+7 |
+7 |
+7 |
+13 |
+14 |
|
|
Эксплуатация машяч |
» |
-62 |
-62 |
-30 |
-103 |
-65 |
-103 |
-71 |
-30 |
-30 |
-30 |
-101 |
-103 |
|
|
Заработная плата рабочих, обслуживающих машины |
» |
-23 |
-23 |
-11 |
-43 |
-26 |
-43 |
-32 |
-11 |
-11 |
-11 |
-41 |
-43 |
|
|
Затраты труда рабочих |
чел.-ч |
+11 |
+11 |
+13 |
+23 |
+11 |
+23 |
+11 |
+13 |
+13 |
+13 |
+23 |
+23 |
|
Продолжение прил. 4
|
Номера цен |
Элементы затрат |
Измеритель |
Территориальные районы |
|||||||||||
|
8г |
8д, 9а |
8e |
10а |
10б |
10в |
11а |
11б - 11г |
11д, 11e |
12a - 12в |
12г, 12е |
12д |
|||
|
33 |
Прямые затраты |
руб. |
-990 |
-1410 |
-990 |
-770 |
-1920 |
-2210 |
-1400 |
-880 |
-1480 |
-490 |
-460 |
-730 |
|
Основная заработная плата |
» |
+10 |
+11 |
+11 |
+5 |
+12 |
+12 |
+5 |
+5 |
+10 |
+6 |
+6 |
+8 |
|
|
Эксплуатация машин |
» |
-89 |
-91 |
-91 |
-60 |
-94 |
-94 |
-57 |
-57 |
-89 |
-31 |
-31 |
-31 |
|
|
Заработная плата рабочих, обслуживающих машины |
» |
-36 |
-38 |
-38 |
-26 |
-41 |
-41 |
-23 |
-23 |
-36 |
-13 |
-13 |
-13 |
|
|
Затраты труда рабочих |
чел.-ч |
+19 |
+19 |
+19 |
+9 |
+19 |
+19 |
+9 |
+9 |
+19 |
+10 |
+10 |
+10 |
|
|
34 |
Прямые затраты |
руб. |
-1150 |
-1630 |
-1150 |
-890 |
-2220 |
-2560 |
-1620 |
-1000 |
-1720 |
-550 |
-500 |
-830 |
|
Основная заработная плата |
» |
+13 |
+14 |
+14 |
+7 |
+15 |
+15 |
+6 |
+6 |
+13 |
+8 |
+8 |
+8 |
|
|
Эксплуатация машин |
» |
-101 |
-103 |
-103 |
-68 |
-110 |
-106 |
-65 |
-66 |
-101 |
-32 |
-32 |
-32 |
|
|
Заработная плата рабочих, обслуживающих машины |
» |
-41 |
-43 |
-43 |
-30 |
-46 |
-46 |
-26 |
-26 |
-41 |
-13 |
-13 |
-13 |
|
|
Затраты труда рабочих |
чел.-ч |
+23 |
+23 |
+23 |
+11 |
+23 |
+23 |
+111 |
+11 |
+23 |
+13 |
+13 |
+13 |
|
Продолжение прил. 4
|
Номера цен |
Элементы затрат |
Измеритель |
Территориальные районы |
|||||||||||
|
1а |
1б - 1e |
1ж, 3 - 5a |
2a, 8в |
2б, 7а, 7в |
2в, 9в |
2г |
5б |
6а, 6б |
6в |
7б, 7г, 8a |
8б, 9б |
|||
|
35 |
Прямые затраты |
руб. |
-2340 |
-2880 |
-1460 |
-5250 |
-2740 |
-7000 |
-2900 |
-2190 |
-1380 |
-1820 |
-4500 |
-3950 |
|
Основная заработная плата |
» |
+19 |
+19 |
+27 |
+45 |
+21 |
+45 |
+26 |
+27 |
+27 |
+27 |
+43 |
+46 |
|
|
Эксплуатация машин |
» |
-186 |
-186 |
-92 |
-297 |
-196 |
-287 |
-213 |
-92 |
-92 |
-92 |
-282 |
-287 |
|
|
Заработная плата рабочих, обслуживающих машины |
» |
-69 |
-69 |
-35 |
-119 |
-79 |
-119 |
-96 |
-35 |
-35 |
-35 |
-114 |
-119 |
|
|
Затраты труда рабочих |
чел.-ч |
+39 |
+39 |
+51 |
+76 |
+39 |
+76 |
+39 |
+51 |
+51 |
+51 |
+76 |
+76 |
|
|
36 |
Прямые затраты |
руб. |
-2830 |
-3490 |
-1700 |
-6300 |
-3320 |
-8600 |
-3520 |
-2600 |
-1630 |
-2160 |
-5500 |
-4750 |
|
Основная заработная плата |
» |
+25 |
+25 |
+33 |
+58 |
+29 |
+58 |
+35 |
+33 |
+33 |
+33 |
+55 |
+56 |
|
|
Эксплуатация машин |
» |
-218 |
-218 |
-106 |
-339 |
-230 |
-339 |
-250 |
-106 |
-106 |
-106 |
-333 |
-336 |
|
|
Заработная плата рабочих, обслуживающих машины |
» |
-81 |
-81 |
-40 |
-141 |
-93 |
-141 |
-113 |
-40 |
-40 |
-40 |
-135 |
-141 |
|
|
Затраты труда рабочих |
чел.-ч |
+52 |
+52 |
+64 |
+97 |
+52 |
+97 |
+52 |
+64 |
+64 |
+64 |
+97 |
+97 |
|
|
37 |
Прямые затраты |
руб. |
-1290 |
-1600 |
-890 |
-2500 |
-1510 |
-3300 |
-1610 |
-1320 |
-840 |
-1100 |
-2110 |
-1860 |
|
Основная заработная плата |
» |
+23 |
+23 |
+18 |
+38 |
+27 |
+38 |
+32 |
+13 |
+18 |
+18 |
+37 |
+38 |
|
|
Эксплуатация машин |
» |
-75 |
-75 |
-56 |
-117 |
-80 |
-117 |
-87 |
-56 |
-56 |
-60 |
-115 |
-117 |
|
|
Заработная плата рабочих, обслуживающих машины |
» |
-29 |
-29 |
-21 |
-50 |
-33 |
-50 |
-41 |
-21 |
-21 |
-21 |
-48 |
-50 |
|
|
Затраты труда рабочих |
чел.-ч |
+43 |
+43 |
+33 |
+60 |
+43 |
+60 |
+43 |
+33 |
+33 |
+33 |
+60 |
+60 |
|
Продолжение прил. 4
|
Номера цен |
Элементы затрат |
Измеритель |
Территориальные районы |
||||||||||||||||||||||||||
|
8г |
8д, 9а |
8е |
10а |
10б |
10в |
11а |
11б - 11г |
11д, 11е |
12a - 12в |
12г, 12е |
12д |
||||||||||||||||||
|
36 |
Прямые затраты |
руб. |
-3350 |
-4750 |
-3340 |
-2740 |
-6480 |
-7500 |
-4990 |
-3200 |
-5000 |
-2000 |
-1750 |
-2810 |
|||||||||||||||
|
Основная заработная плата |
» |
+43 |
+45 |
+45 |
+24 |
+49 |
+49 |
+21 |
+21 |
+43 |
+31 |
+32 |
+32 |
||||||||||||||||
|
Эксплуатация машин |
» |
-282 |
-287 |
-287 |
-206 |
-297 |
-297 |
-196 |
-196 |
-282 |
-97 |
-99 |
-99 |
||||||||||||||||
|
Заработная плата рабочих, обслуживающих машины |
» |
-114 |
-119 |
-119 |
-89 |
-129 |
-129 |
-79 |
-79 |
-114 |
-40 |
-41 |
-41 |
||||||||||||||||
|
Затраты труда рабочих |
чел.-ч |
+76 |
+76 |
+76 |
+39 |
+76 |
+76 |
+38 |
+39 |
+76 |
+51 |
+51 |
+51 |
||||||||||||||||
|
36 |
Прямые затраты |
руб. |
-4000 |
-5700 |
-4000 |
-3320 |
-7800 |
-9030 |
-6060 |
-3800 |
-6000 |
-2230 |
-2100 |
-3340 |
|||||||||||||||
|
Основная заработная плата |
» |
+55 |
+58 |
+58 |
+32 |
+63 |
+63 |
+29 |
+29 |
+55 |
+38 |
+39 |
+40 |
||||||||||||||||
|
Эксплуатация машин |
» |
-333 |
-339 |
-339 |
-242 |
-361 |
-351 |
-230 |
-200 |
-333 |
-112 |
-114 |
-114 |
||||||||||||||||
|
Заработная плата рабочих, обслуживающих машины |
» |
-135 |
-141 |
-141 |
-105 |
-152 |
-152 |
-93 |
-93 |
-135 |
-46 |
-48 |
-48 |
||||||||||||||||
|
Затраты труда рабочих |
чел.-ч |
+97 |
+97 |
+97 |
+52 |
+97 |
+97 |
+52 |
+52 |
+97 |
+64 |
+64 |
+64 |
||||||||||||||||
|
|
Прямые затраты |
руб. |
-1560 |
-2200 |
-1560 |
-1520 |
-3080 |
-3570 |
-2790 |
-1800 |
-2400 |
-1140 |
-1050 |
-1690 |
|
|||||||||||||||
|
37 |
Основная заработная плата |
» |
+37 |
+38 |
+38 |
+30 |
+42 |
+42 |
+27 |
+27 |
+37 |
+20 |
+21 |
+21 |
|
|||||||||||||||
|
Эксплуатация машин |
» |
-115 |
-117 |
-117 |
-84 |
-122 |
-122 |
-80 |
-80 |
-115 |
-59 |
-60 |
-60 |
|
||||||||||||||||
|
Заработная плата рабочих, обслуживающих машины |
» |
-48 |
-50 |
-50 |
-38 |
-55 |
-55 |
-33 |
-33 |
-48 |
-25 |
-26 |
-26 |
|
||||||||||||||||
|
Затраты труда рабочих |
чел.-ч |
+60 |
+60 |
+60 |
+43 |
+60 |
+60 |
+43 |
+43 |
+60 |
+33 |
+33 |
+33 |
|
||||||||||||||||
Поправки к ценам при заложении фундаментов на глубину, отличающуюся от принятой в Прейскуранте (на измеритель цен)
А. ПОПРАВКИ К ЦЕНАМ ПРИ ИЗМЕНЕНИИ ГЛУБИНЫ ЗАЛОЖЕНИЯ СБОРНЫХ ФУНДАМЕНТОВ НА КАЖДЫЕ ±0,3 м
|
Номера цен |
Элементы затрат |
Измеритель |
Территориальные районы |
|||||||||||||||||||||
|
1а, 1в, 1ж, 3, 4, 6а, 6б |
1б, 1г, 1е |
1д, 6в |
2а |
2б, 11в, 11г, 12в, 12г, 12е |
2в |
2г |
5а |
5б |
7а, 7в |
7б, 7г, 8б, 9б |
8а, 8д, 8е |
8в, 9а |
8г, 11д, 11е |
9в |
10а |
10б |
10в |
11а |
11б, 12б |
12а |
12д |
|||
|
33 |
Прямые затраты |
руб. |
250 |
280 |
300 |
330 |
300 |
430 |
318 |
270 |
340 |
280 |
290 |
290 |
310 |
300 |
390 |
310 |
390 |
420 |
460 |
260 |
260 |
400 |
|
Основная заработная плата |
» |
8 |
8 |
8 |
10 |
10 |
10 |
10 |
8 |
8 |
9 |
9 |
10 |
10 |
9 |
10 |
10 |
10 |
10 |
9 |
9 |
9 |
10 |
|
|
Эксплуатация машин |
» |
24 |
24 |
24 |
36 |
25 |
26 |
28 |
24 |
24 |
25 |
25 |
26 |
26 |
25 |
26 |
27 |
27 |
27 |
26 |
25 |
25 |
26 |
|
|
Заработная плата рабочих, обслуживающих машины |
» |
9 |
9 |
9 |
10 |
9 |
10 |
10 |
9 |
9 |
10 |
10 |
10 |
10 |
10 |
10 |
10 |
10 |
11 |
10 |
10 |
10 |
10 |
|
|
Затраты труда рабочих |
чел.-ч |
14 |
14 |
14 |
14 |
14 |
14 |
14 |
14 |
14 |
14 |
14 |
14 |
14 |
14 |
14 |
14 |
14 |
14 |
14 |
14 |
14 |
14 |
|
|
34 |
Прямые затраты |
руб. |
300 |
380 |
350 |
390 |
350 |
500 |
371 |
310 |
390 |
330 |
320 |
340 |
360 |
350 |
460 |
360 |
450 |
490 |
530 |
380 |
310 |
470 |
|
Основная заработная плата |
» |
9 |
9 |
9 |
11 |
11 |
11 |
13 |
9 |
9 |
11 |
11 |
11 |
11 |
11 |
11 |
12 |
12 |
12 |
11 |
11 |
11 |
11 |
|
|
Эксплуатация машин |
» |
38 |
28 |
20 |
30 |
29 |
30 |
32 |
30 |
28 |
29 |
30 |
30 |
30 |
29 |
30 |
31 |
31 |
31 |
30 |
30 |
30 |
30 |
|
|
Заработная плата рабочих, обслуживающих машины |
» |
10 |
10 |
10 |
12 |
1,2 |
12 |
14 |
10 |
10 |
12 |
12 |
12 |
12 |
12 |
12 |
13 |
13 |
13 |
12 |
12 |
12 |
12 |
|
|
Затраты труда рабочих |
чел.-ч |
17 |
17 |
17 |
17 |
17 |
17 |
17 |
17 |
17 |
17 |
17 |
17 |
17 |
17 |
17 |
17 |
17 |
17 |
17 |
17 |
17 |
17 |
|
|
35 |
Прямые затраты |
руб. |
660 |
720 |
760 |
860 |
770 |
1100 |
819 |
690 |
870 |
720 |
710 |
740 |
800 |
780 |
1020 |
790 |
1000 |
1090 |
1180 |
830 |
670 |
1040 |
|
Основная заработная плата |
» |
21 |
21 |
21 |
25 |
25 |
25 |
29 |
21 |
21 |
24 |
25 |
25 |
25 |
24 |
25 |
27 |
127 |
27 |
24 |
24 |
24 |
25 |
|
|
Эксплуатация машин |
» |
61 |
62 |
62 |
67 |
66 |
67 |
72 |
62 |
63 |
70 |
67 |
67 |
67 |
65 |
67 |
69 |
69 |
69 |
66 |
65 |
64 |
66 |
|
|
Заработная плата рабочих, обслуживающих машины |
» |
22 |
22 |
22 |
27 |
27 |
27 |
32 |
22 |
22 |
26 |
27 |
27 |
27 |
26 |
27 |
29 |
29 |
29 |
26 |
26 |
26 |
27 |
|
|
Затраты труда рабочих |
чел.-ч |
37 |
37 |
37 |
37 |
37 |
37 |
37 |
37 |
37 |
37 |
37 |
37 |
37 |
37 |
37 |
37 |
37 |
37 |
37 |
37 |
37 |
37 |
|
|
36 |
Прямые затраты |
руб. |
960 |
1060 |
1120 |
1260 |
1120 |
1600 |
1200 |
1010 |
1270 |
1050 |
1040 |
1090 |
1180 |
1140 |
480 |
1160 |
1460 |
1590 |
1720 |
1220 |
980 |
1520 |
|
Основная заработная плата |
» |
30 |
30 |
30 |
36 |
34 |
36 |
42 |
30 |
30 |
34 |
34 |
36 |
36 |
35 |
36 |
39 |
39 |
39 |
34 |
34 |
34 |
36 |
|
|
Эксплуатация машин |
» |
89 |
89 |
89 |
97 |
94 |
97 |
104 |
89 |
91 |
95 |
97 |
97 |
97 |
34 |
97 |
100 |
100 |
100 |
96 |
94 |
93 |
95 |
|
|
Заработная плата рабочих, обслуживающих машины |
» |
33 |
33 |
33 |
39 |
37 |
39 |
46 |
33 |
33 |
37 |
39 |
39 |
39 |
37 |
39 |
42 |
42 |
42 |
37 |
37 |
37 |
39 |
|
|
Затраты труда рабочих |
чел.-ч |
53 |
53 |
53 |
53 |
53 |
53 |
53 |
53 |
53 |
53 |
53 |
53 |
53 |
53 |
53 |
53 |
53 |
53 |
53 |
53 |
53 |
53 |
|
|
37 |
Прямые затраты |
руб. |
550 |
610 |
650 |
730 |
650 |
930 |
700 |
580 |
730 |
610 |
620 |
650 |
680 |
670 |
860 |
680 |
840 |
920 |
1000 |
700 |
560 |
870 |
|
Основная заработная плата |
» |
13 |
13 |
13 |
16 |
15 |
16 |
18 |
13 |
13 |
15 |
15 |
16 |
16 |
15 |
16 |
17 |
17 |
17 |
15 |
15 |
15 |
16 |
|
|
Эксплуатация машин |
» |
37 |
37 |
37 |
41 |
39 |
41 |
44 |
37 |
38 |
40 |
40 |
41 |
41 |
39 |
41 |
42 |
42 |
42 |
40 |
39 |
39 |
40 |
|
|
Заработная плата рабочих, обслуживающих машины |
» |
14 |
14 |
14 |
16 |
16 |
16 |
19 |
14 |
14 |
16 |
16 |
16 |
16 |
16 |
16 |
18 |
18 |
18 |
16 |
16 |
16 |
16 |
|
|
Затраты труда рабочих |
чел.-ч |
24 |
24 |
24 |
24 |
24 |
24 |
24 |
24 |
24 |
24 |
24 |
24 |
24 |
24 |
24 |
24 |
24 |
24 |
24 |
24 |
24 |
24 |
|
Продолжение прил. 5
Б. ПОПРАВКИ К ЦЕНАМ ПРИ ИЗМЕНЕНИИ ГЛУБИНЫ ЗАЛОЖЕНИЯ МОНОЛИТНЫХ ФУНДАМЕНТОВ НА КАЖДЫЕ ±0,1 м
|
Номера цен |
Элементы затрат |
Измеритель |
Территориальные районы |
||||||||||||||
|
1а - 1в, 3а, 3в, 4а, 4б, 5, 6б |
1г - 1е, 6а, 6в |
1ж, 3б, 3г |
2а |
2б, 2в, 11а |
2г |
7а - 7в, 8а, 8д, 11б - 11е |
7г, 12а - 12в |
8б, 8в, 9а |
8г |
8е |
9б, 9в, 12е |
10а, 10б |
10в |
12г, 12д |
|||
|
33 |
Прямые затраты |
руб. |
27 |
29 |
25 |
36 |
38 |
38 |
29 |
26 |
32 |
48 |
45 |
32 |
35 |
34 |
28 |
|
Основная заработная плата |
» |
2 |
2 |
2 |
2 |
2 |
3 |
2 |
2 |
2 |
2 |
2 |
2 |
3 |
3 |
2 |
|
|
Эксплуатация машин |
» |
1 |
1 |
1 |
1 |
2 |
2 |
1 |
1 |
1 |
1 |
1 |
2 |
2 |
2 |
1 |
|
|
Заработная плата рабочих, обслуживающих машины |
» |
- |
- |
- |
- |
- |
- |
- |
- |
- |
- |
- |
- |
- |
- |
- |
|
|
Затраты труда рабочих |
чел.-ч |
4 |
4 |
4 |
4 |
4 |
4 |
4 |
4 |
4 |
4 |
4 |
4 |
4 |
4 |
4 |
|
|
34 |
Прямые затраты |
руб. |
32 |
33 |
29 |
42 |
44 |
44 |
33 |
31 |
37 |
56 |
53 |
37 |
41 |
40 |
33 |
|
Основная заработная плата |
» |
2 |
2 |
2 |
3 |
3 |
3 |
3 |
3 |
3 |
3 |
3 |
3 |
3 |
3 |
3 |
|
|
Эксплуатация машин |
» |
2 |
2 |
2 |
2 |
2 |
2 |
2 |
2 |
2 |
2 |
2 |
2 |
2 |
2 |
2 |
|
|
Заработная плата рабочих, обслуживающих машины |
» |
- |
- |
- |
- |
- |
- |
- |
- |
- |
- |
- |
- |
- |
- |
- |
|
|
Затраты труда рабочих |
чел.-ч |
4 |
4 |
4 |
4 |
4 |
4 |
4 |
4 |
4 |
4 |
4 |
4 |
4 |
4 |
4 |
|
|
35 |
Прямые затраты |
руб. |
70 |
73 |
63 |
93 |
96 |
96 |
74 |
68 |
83 |
122 |
115 |
82 |
91 |
88 |
72 |
|
Основная заработная плата |
» |
5 |
5 |
5 |
6 |
6 |
7 |
6 |
6 |
6 |
6 |
6 |
6 |
7 |
7 |
в |
|
|
Эксплуатация машин |
» |
3 |
3 |
3 |
4 |
4 |
4 |
4 |
3 |
4 |
4 |
4 |
4 |
4 |
4 |
4 |
|
|
Заработная плата рабочих, обслуживающих машины |
» |
1 |
1 |
1 |
1 |
1 |
2 |
1 |
1 |
|
1 |
1 |
1 |
1 |
1 |
1 |
|
|
Затраты труда рабочих |
чел.-ч |
9 |
9 |
9 |
9 |
9 |
9 |
9 |
9 |
9 |
9 |
9 |
9 |
9 |
9 |
9 |
|
|
36 |
Прямые затраты |
руб. |
102 |
108 |
93 |
136 |
141 |
141 |
108 |
100 |
121 |
179 |
169 |
120 |
134 |
129 |
106 |
|
Основная заработная плата |
» |
7 |
7 |
7 |
9 |
9 |
10 |
9 |
9 |
9 |
9 |
9 |
9 |
10 |
10 |
9 |
|
|
Эксплуатация машин |
» |
5 |
5 |
5 |
6 |
6 |
6 |
5 |
5 |
6 |
в |
6 |
6 |
6 |
6 |
5 |
|
|
Заработная плата рабочих, обслуживающих машины |
» |
2 |
2 |
2 |
2 |
2 |
2 |
2 |
2 |
2 |
2 |
2 |
2 |
2 |
2 |
2 |
|
|
Затраты труда рабочих |
чел.-ч |
14 |
14 |
14 |
14 |
14 |
14 |
14 |
14 |
14 |
14 |
14 |
14 |
14 |
14 |
14 |
|
|
37 |
Прямые затраты |
руб. |
57 |
60 |
52 |
76 |
79 |
79 |
61 |
55 |
68 |
100 |
95 |
67 |
75 |
72 |
59 |
|
Основная заработная плата |
» |
4 |
4 |
4 |
5 |
5 |
6 |
5 |
5 |
5 |
5 |
5 |
5 |
5 |
5 |
5 |
|
|
Эксплуатация машин |
» |
3 |
3 |
3 |
3 |
3 |
4 |
3 |
3 |
3 |
3 |
3 |
3 |
3 |
3 |
3 |
|
|
Заработная плата рабочих, обслуживающих машины |
» |
- |
- |
- |
1 |
1 |
1 |
1 |
1 |
1 |
1 |
1 |
1 |
1 |
1 |
1 |
|
|
Затраты труда рабочих |
чел.-ч |
8 |
8 |
8 |
8 |
8 |
8 |
8 |
8 |
8 |
8 |
8 |
8 |
8 |
8 |
8 |
|
Примечания. 1. Поправки к районным ценам № 33-37 (при сборных фундаментах) разработаны при изменении глубины заложения на каждые ±0,3 м и применяются в том случае, когда при привязке проекта к местным условиям глубина заложения фундамента отличается от принятой в ценах на ±0,2 м и более.
2. Поправки к районным ценам № 33-37 (при монолитных фундаментах) разработаны при изменении глубины заложения на каждые ±0,1 м и применяются в том случае, когда при привязке к местным условиям глубина заложения фундамента отличается от принятой в ценах на ±0,1 м более.
3. Поправки к районным ценам № 33-37 учитывают изменение глубины заложения фундаментов только под наружными стенами, а при изменении глубины заложения фундаментов и под внутренними стенами против принятых в типовом проекте разница в стоимости оплачивается дополнительно.
4. Если при привязке типового проекта к местным условиям конструкция и материал фундамента изменились по сравнению с указанными в табл. 6 Техн. части, то перед применением поправки настоящего приложения следует учесть поправку на замену фундаментов, приведенную в прил. 4.
5. Изменение массы, т, сборных бетонных и железобетонных конструкций фундаментов в связи с изменением глубины их заложения на каждые ±0,3 м следует принимать по следующей таблице:
|
Территориальные районы |
Номера цен |
||||
|
33 |
34 |
35 |
36 |
37 |
|
|
1ж, 3 - 6, 12 |
7,1 |
8,3 |
18,3 |
26,8 |
15 |
|
1a - 1e, 2б, 2г, 7а, 7в, 10а, 11а - 11г |
7,1 |
8,3 |
18,3 |
26,8 |
15 |
|
2а, 2в, 7б, 7г, 8, 9, 10б, 10в, 11д, 11е |
7,1 |
8,3 |
18,3 |
26,8 |
15 |
Поправки к ценам № 1, 2 при устройстве фундаментов с нормативным давлением на грунт, отличающимся от принятого в Прейскуранте (на измеритель цен)
|
Районы |
Прямые затраты, руб. |
В том числе, руб. |
Затраты труда рабочих, чел.-ч. |
||||||||||
|
основная заработная плата рабочих |
эксплуатация машин |
материальные ресурсы |
|||||||||||
|
всего |
в том числе заработная плата рабочих, обслуживающих машины |
||||||||||||
|
1а, 1б, 4б, 5а |
20,7 |
1,35 |
0,38 |
0,12 |
18,97 |
2,43 |
|||||||
|
1в, 3а, 4а, 5б, 6б |
20,1 |
1,35 |
0,38 |
0,12 |
18,37 |
2,43 |
|||||||
|
1г - 1е, 6в |
21,3 |
1,35 |
0,38 |
012 |
19,57 |
2,43 |
|||||||
|
1ж |
18,6 |
1,35 |
0,38 |
0,12 |
16,87 |
2,43 |
|||||||
|
2а |
26 |
1,62 |
0,41 |
0,14 |
23,97 |
2,43 |
|||||||
|
2б |
27,1 |
1,55 |
0,4 |
0,13 |
25,15 |
2,43 |
|||||||
|
2в |
27,2 |
1,62 |
0,41 |
0,14 |
25,17 |
2,43 |
|||||||
|
2г |
28,4 |
1,89 |
0,43 |
0,16 |
26,08 |
2,43 |
|||||||
|
3б |
19,1 |
1,35 |
0,38 |
0,12 |
17,37 |
2,43 |
|||||||
|
3в |
19,8 |
1,35 |
0,38 |
0,12 |
18,07 |
2,43 |
|||||||
|
3г |
18,3 |
1,35 |
0,38 |
0,12 |
16,57 |
2,43 |
|||||||
|
6а |
21,1 |
1,35 |
0,38 |
0,12 |
19,37 |
2,43 |
|||||||
|
7а - 7в |
21 |
1,55 |
0,4 |
0,13 |
19,05 |
2,43 |
|||||||
|
7г |
20,2 |
1,55 |
0,4 |
0,13 |
18,25 |
2,43 |
|||||||
|
8а |
21,4 |
1,56 |
0,4 |
0,13 |
19,45 |
2,43 |
|||||||
|
8б |
23,4 |
1,55 |
0,4 |
0,13 |
21,45 |
2,43 |
|||||||
|
8в, 9а, 9в |
24,1 |
1,62 |
0,41 |
0,14 |
22,07 |
2,43 |
|||||||
|
8г |
33,5 |
1,55 |
0,4 |
0,13 |
31,55 |
2,43 |
|||||||
|
8д |
22,2 |
1,62 |
0,41 |
0,14 |
20,17 |
2,43 |
|||||||
|
8e |
32 |
1,62 |
0,41 |
0,14 |
29,97 |
2,43 |
|||||||
|
9б |
22,8 |
1,62 |
0,41 |
0,14 |
20,77 |
2,43 |
|||||||
|
10а, 10б |
26 |
1,76 |
0,42 |
0,15 |
23,82 |
2,43 |
|||||||
|
10в |
25 |
1,76 |
0,42 |
0,15 |
22,82 |
2,43 |
|||||||
|
11а |
26,6 |
1,55 |
0,4 |
0,13 |
24,65 |
2,43 |
|||||||
|
11б - 11е |
22,2 |
1,55 |
0,4 |
0,13 |
20,25 |
2,43 |
|||||||
|
12а |
19,4 |
1,55 |
0,4 |
0,13 |
17,45 |
2,43 |
|||||||
|
12б |
20,4 |
1,55 |
0,4 |
0,13 |
18,45 |
2,43 |
|||||||
|
12в |
18,9 |
1,55 |
0,4 |
0,13 |
16,95 |
2,43 |
|||||||
|
12г |
21 |
1,62 |
0,41 |
0,14 |
18,97 |
2,43 |
|||||||
|
12е |
21,5 |
1,62 |
0,41 |
0,14 |
19,47 |
2,43 |
|
|||||||
|
12д |
24,8 |
1,62 |
0,41 |
0,14 |
22,7 |
2,43 |
|
|||||||
Примечания. 1. При устройстве фундаментов водонапорных башен на грунтах с нормативным давлением 0,15 МПа (1,5 кгс/см2) настоящие поправки следует добавлять к ценам Прейскуранта, а при нормативном давлении 0,25 МПа (2,5 кгс/см2) - вычитать.
2. При составлении смет на строительство водонапорных башен по ценам № 3-32 настоящие поправки следует применять с коэффициентами, приведенными в таблице:
|
Номера цен |
Коэффициенты |
|||||
|
к прямым затратам |
к основной заработной плате |
к эксплуатации машин |
к заработной плате рабочих, обслуживающих машины |
к материальным ресурсам |
к затратам труда рабочих |
|
|
3 - 6 |
1,86 |
2,12 |
1,89 |
1,83 |
1,84 |
2,12 |
|
7 |
2,51 |
2,83 |
2,68 |
2,58 |
2,48 |
2,83 |
|
8, 9 |
2,23 |
1,71 |
2 |
1,92 |
2,27 |
1,71 |
|
10 |
2,72 |
1,96 |
2,42 |
2,33 |
2,78 |
1,96 |
|
11 |
3,18 |
2,3 |
2,89 |
2,75 |
3,25 |
2,3 |
|
12 |
4,81 |
2,98 |
4,11 |
3,92 |
4,96 |
2,98 |
|
13 |
5,12 |
3,29 |
4,53 |
4,53 |
5,26 |
3,29 |
|
14, 15 |
2,73 |
2,49 |
2,11 |
2 |
2,76 |
2,49 |
|
16 |
2,95 |
2,64 |
2,21 |
2,08 |
2,98 |
2,64 |
|
17, 18 |
3,72 |
3,21 |
2,71 |
2,58 |
3,78 |
3,21 |
|
19, 20 |
5,24 |
5,05 |
4,13 |
3,92 |
4,87 |
5,05 |
|
21, 22 |
3,72 |
3,38 |
2,87 |
2,75 |
3,76 |
3,38 |
|
23 |
4,25 |
3,95 |
3,42 |
3,24 |
4,3 |
3,95 |
|
24, 25 |
5,21 |
4,78 |
4,16 |
3,93 |
5,26 |
4,78 |
|
26 |
0,97 |
1,19 |
1,26 |
1,17 |
0,94 |
1,19 |
|
27, 28 |
1,43 |
1,69 |
1,95 |
1,83 |
1,39 |
1,69 |
|
29 |
2,15 |
2,36 |
3,08 |
2,92 |
2,12 |
2,36 |
|
30 |
2,51 |
2,63 |
3,66 |
3,5 |
2,48 |
2,63 |
|
31 |
3,09 |
3,21 |
4,61 |
4,42 |
3,05 |
3,21 |
|
32 |
8,75 |
3,85 |
5,66 |
5,42 |
3,71 |
3,85 |
Поправки к ценам на утепление водонапорных башен (на измеритель цен)
А. НА УТЕПЛЕНИЕ БАКА ВОДОНАПОРНЫХ БЕСШАТРОВЫХ КИРПИЧНЫХ БАШЕН ПРИ ТЕМПЕРАТУРЕ ПОСТУПАЕМОЙ ВОДЫ +0,5°С ПО ЦЕНАМ №1, 2
|
Районы |
Прямые затраты, руб. |
В том числе, руб. |
Затраты труда рабочих, чел.-ч. |
||||||||||
|
основная заработная плата рабочих |
эксплуатация машин |
материальные ресурсы |
|||||||||||
|
всего |
в том числе заработная плата рабочих, обслуживающих машины |
||||||||||||
|
I. Строительные работы |
|||||||||||||
|
1а - 1г, 3б, 3в |
149 |
42,7 |
3,43 |
1,01 |
102,87 |
75,5 |
|||||||
|
1д, 1е |
152 |
42,7 |
3,43 |
1,01 |
105,87 |
75,5 |
|||||||
|
1ж, 3а, 4а |
139 |
42,7 |
3,4,3 |
1,01 |
9,2,87 |
75,5 |
|||||||
|
2а, 2в, 9 |
189 |
51,2 |
3,63 |
1,21 |
134,17 |
75,5 |
||||||
|
2б |
162 |
49,1 |
3,58 |
1,16 |
109,32 |
75,5 |
||||||
|
2г |
184 |
59,8 |
3,83 |
1,41 |
120,37 |
75,5 |
||||||
|
3г |
133 |
42,7 |
3,43 |
1,01 |
86,87 |
75,5 |
||||||
|
46, 5б |
141 |
42,7 |
3,43 |
1,01 |
94,87 |
75,5 |
||||||
|
5а, 6 |
145 |
42,7 |
3,43 |
1,01 |
98,87 |
75,5 |
||||||
|
7а, 7в |
166 |
49,1 |
3,58 |
1,16 |
103,32 |
75,5 |
||||||
|
7б, 7г - 8б, 8г, 12а - 12в |
179 |
49,1 |
3.58 |
1,16 |
126,32 |
75,5 |
||||||
|
8в, 8д, 12г, 12е |
180 |
51,2 |
3,63 |
1,21 |
1.25,17 |
75,5 |
||||||
|
8е |
234 |
51,2 |
3,63 |
1,21 |
179,17 |
75,5 |
||||||
|
10a |
194 |
55,5 |
3,73 |
1,31 |
134,77 |
75,5 |
||||||
|
10б, 10в |
225 |
55,5 |
3,73 |
1,31 |
165,77 |
75,5 |
||||||
|
11a - 11г |
166 |
49,1 |
3,58 |
1,16 |
113,32 |
75,5 |
||||||
|
11д, 11е |
190 |
49,1 |
3,58 |
1,16 |
137,32 |
75,5 |
||||||
|
12д |
174 |
51,2 |
3,63 |
1,21 |
119,17 |
75,5 |
||||||
|
II. Монтаж металлоконструкций |
||||||||||||
|
1,3 - 5 |
109 |
6,41 |
6,81 |
2,24 |
96,78 |
10,1 |
||||||
|
2а, 2в, 8е |
114 |
7,7 |
7,26 |
2,68 |
99,04 |
10,1 |
||||||
|
2б |
113 |
7,37 |
7,14 |
2,57 |
98,49 |
10,1 |
||||||
|
2г |
117 |
8,98 |
7,7 |
3,13 |
100,32 |
10,1 |
||||||
|
6 |
111 |
6,41 |
6,81 |
2,24 |
97,78 |
10,1 |
||||||
|
7, 11а - 12в |
111 |
7,37 |
7,14 |
2,57 |
916,4е |
10,1 |
||||||
|
8а, 8б, 8г |
112 |
7,37 |
7,14 |
2,57 |
97,49 |
10,1 |
||||||
|
8в, 8д, 12г - 12е |
112 |
7,7 |
7,26 |
2,88 |
97,04 |
10,1 |
||||||
|
9 |
116 |
7,7 |
7,26 |
2,68 |
101,04 |
10,1 |
||||||
|
10 |
122 |
8,34 |
7,48 |
2,91 |
106,18 |
10,1 |
||||||
Б. НА УТЕПЛЕНИЕ БАКА ВОДОНАПОРНЫХ БЕСШАТРОВЫХ КИРПИЧНЫХ БАШЕН ПРИ ТЕМПЕРАТУРЕ ПОСТУПАЕМОИ ВОДЫ +3°С ПО ЦЕНАМ №1, 2
|
Районы |
Прямые затраты, руб. |
В том числе, руб. |
Затраты труда рабочих, чел.-ч. |
|||
|
основная заработная плата рабочих |
эксплуатация машин |
материальные ресурсы |
||||
|
всего |
в том числе заработная плата рабочих, обслуживающих машины |
|||||
|
I. Строительные работы |
||||||
|
1a - 1г, 1ж, 3а, 4а |
110 |
37,4 |
3,1 |
0,88 |
69,5 |
66,7 |
|
1д, 1е, 4б, 5б |
111 |
37,4 |
3,1 |
0,88 |
70,5 |
66,7 |
|
2а, 2в, 9, 12д |
136 |
44,9 |
3,28 |
1,06 |
87,82 |
66,7 |
|
2б |
119 |
43 |
3,23 |
1,01 |
72,77 |
66,7 |
|
2г |
135 |
52,4 |
3,45 |
1,23 |
79,15 |
66,7 |
|
3б, 8в |
117 |
37,4 |
3,1 |
0,88 |
76,5 |
66,7 |
|
3г |
106 |
37,4 |
3,1 |
0,88 |
65,6 |
66,7 |
|
5а, 6 |
114 |
37,4 |
3,1 |
0,88 |
73,5 |
66,7 |
|
7а, 7в |
116 |
43 |
3,23 |
1,01 |
69,77 |
66,7 |
|
7б, 7г - 8б, 8г |
130 |
43 |
3,23 |
1,01 |
83,77 |
66,7 |
|
8в, 8д |
131 |
44,9 |
3,28 |
1,06 |
82,82 |
66,7 |
|
8е |
162 |
44,9 |
3,28 |
1,06 |
113,82 |
66,7 |
|
10а |
143 |
48,6 |
3,36 |
1,14 |
91,04 |
66,7 |
|
10б, 10в |
161 |
48,6 |
3,36 |
1,14 |
109,04 |
66,7 |
|
11а - 11г |
122 |
43 |
3,23 |
1,01 |
75,77 |
66,7 |
|
11д - 12в |
138 |
43 |
3,23 |
1,01 |
91,77 |
66,7 |
|
12г, 12e |
140 |
44,9 |
3,28 |
1,06 |
91,82 |
66,7 |
|
II. Монтаж металлоконструкций |
||||||
|
1, 3 - 5 |
109 |
6,41 |
6,81 |
2,24 |
95,78 |
10,1 |
|
2а, 2в, 8е |
114 |
7,7 |
7,26 |
2,68 |
99,04 |
10,1 |
|
2б |
113 |
7,37 |
7,14 |
2,57 |
98,49 |
10,1 |
|
2г |
117 |
8,98 |
7,7 |
3,13 |
100,32 |
10,1 |
|
6 |
111 |
6,41 |
6,81 |
2,24 |
97,48 |
10,1 |
|
7, 11а - 12в |
111 |
7,37 |
7,14 |
2,57 |
96,49 |
10,1 |
|
8а, 8б, 8г |
112 |
7,37 |
7,14 |
2,68 |
97,49 |
10,1 |
|
8в, 8д, 12г - 12е |
112 |
7,7 |
7,28 |
2,68 |
97,04 |
10,1 |
|
9 |
116 |
7,7 |
7,26 |
2,68 |
101,04 |
10,1 |
|
10 |
122 |
8,34 |
7,48 |
2,91 |
106,18 |
10,1 |
В. НА УТЕПЛЕНИЕ ТРУБОПРОВОДОВ ВОДОНАПОРНЫХ БЕСШАТРОВЫХ КИРПИЧНЫХ БАШЕН ПРИ ТЕМПЕРАТУРЕ ПОСТУПАЕМОИ ВОДЫ +0,5 И +3°С ПО ЦЕНАМ №1, 2
|
Районы |
Прямые затраты, руб. |
В том числе, руб. |
Затраты труда рабочих, чел.-ч. |
||||
|
основная заработная плата рабочих |
эксплуатация машин |
материальные ресурсы |
|||||
|
всего |
в том числе заработная плата рабочих, обслуживающих машины |
||||||
|
Строительные работы |
|||||||
|
1а - 1г |
209 |
46,3 |
0,96 |
0,33 |
161,74 |
80,6 |
|
|
1д, 1е |
214 |
46,3 |
0,96 |
0,33 |
166,74 |
80,6 |
|
|
1ж, 3а, 4а |
180 |
46,3 |
0,96 |
0,33 |
132,74 |
80,6 |
|
|
2а, 11в, 9 |
263 |
55,6 |
1,03 |
0,4 |
206,37 |
80,6 |
|
|
2б, 11а - 11г |
228 |
53,3 |
1,01 |
0,38 |
173,69 |
80,6 |
|
|
2г |
256 |
64,9 |
1,09 |
0,46 |
190,01 |
80,6 |
|
|
3б, 3в |
200 |
46,3 |
0,96 |
0,33 |
152,74 |
80,6 |
|
|
3г |
168 |
46,3 |
0,96 |
0,33 |
120,74 |
80,6 |
|
|
4б - 6в |
184 |
46,3 |
0,96 |
0,33 |
136,74 |
80,6 |
|
|
7а, 7в |
216 |
53,3 |
1,01 |
0,38 |
161,69 |
80,6 |
|
|
7б, 7г - 8б, 8г, 12a - 12в |
244 |
53,3 |
1,01 |
0,38 |
189,69 |
80,6 |
|
|
8в, 8д |
244 |
55,6 |
1,03 |
0,4 |
187,37 |
80,6 |
|
|
8е |
348 |
55,6 |
1,03 |
0,4 |
291,37 |
80,6 |
|
|
10а |
269 |
60,2 |
1,06 |
0,43 |
207,74 |
80,6 |
|
|
10б, 10в |
306 |
60,2 |
1,06 |
0,43 |
244,74 |
80,6 |
|
|
11д, 11е |
259 |
53,3 |
1,01 |
0,38 |
204,89 |
80,6 |
|
|
12г, 12е |
248 |
55,6 |
1,03 |
0,4 |
191,37 |
80,6 |
|
|
12д |
235 |
55,6 |
1,03 |
0,4 |
178,37 |
80,6 |
|
Г. НА УТЕПЛЕНИЕ ВОДОНАПОРНЫХ БАШЕН СИСТЕМЫ РОЖНОВСКОГО ПО ЦЕНЕ № 26
|
Районы |
Прямые затраты, руб. |
В том числе, руб. |
Затраты труда рабочих, чел.-ч. |
|||
|
основная заработная плата рабочих |
эксплуатация машин |
материальные ресурсы |
||||
|
всего |
в том числе заработная плата рабочих, обслуживающих машины |
|||||
|
I. Строительные работы |
||||||
|
1а - 1г, 1ж, 3а, 4а |
240 |
68,4 |
5,52 |
1,64 |
166,08 |
122 |
|
1д, 1е, 4б, 5б |
245 |
68,4 |
5,52 |
1,64 |
171,08 |
122 |
|
2а, 2в, 9 |
265 |
82,1 |
5,85 |
1,97 |
177,05 |
122 |
|
2б |
261 |
78,7 |
5,77 |
1,89 |
176,53 |
122 |
|
2г |
295 |
95,8 |
6,18 |
2,3 |
193,02 |
122 |
|
3б, 3в |
260 |
68,4 |
5,52 |
1,64 |
186,08 |
122 |
|
3г |
229 |
68,4 |
5,52 |
1,64 |
155,08 |
122 |
|
5а, 6 |
251 |
68,4 |
5,52 |
1,64 |
177,08 |
122 |
|
7а - 8б, 8г |
250 |
78,7 |
5,77 |
1,89 |
165,53 |
122 |
|
8в, 8д |
253 |
82,1 |
5,85 |
1,97 |
165,05 |
122 |
|
8е, 12г, 12е |
318 |
82,1 |
5,85 |
1,97 |
230,05 |
122 |
|
10 |
313 |
88,9 |
6,01 |
2,13 |
218,09 |
122 |
|
11 |
266 |
78,7 |
5,77 |
1,89 |
181,53 |
122 |
|
12а - 12в |
314 |
78,7 |
5,77 |
1,89 |
229,53 |
122 |
|
12д |
304 |
82,1 |
5,85 |
1,97 |
216,05 |
122 |
|
II. Монтаж металлоконструкций |
||||||
|
1, 3 - 5 |
247 |
14,5 |
14,3 |
4,57 |
218,2 |
22,9 |
|
2а, 2в, 8е |
257 |
17,4 |
15,2 |
5,49 |
224,4 |
22,9 |
|
2б |
256 |
16,7 |
15 |
5,26 |
224,3 |
22,9 |
|
2г |
264 |
20,3 |
16,2 |
6,4 |
227,5 |
22,9 |
|
6 |
250 |
14,5 |
14,3 |
4,57 |
221,2 |
22,9 |
|
7, 11а - 12в |
251 |
16,7 |
15 |
5,26 |
219,3 |
22,9 |
|
8а, 8б, 8г |
253 |
16,7 |
15 |
5,26 |
221,3 |
22,9 |
|
8в, 8д, 12г - 12е |
252 |
17,4 |
15,2 |
5,49 |
219,4 |
22,9 |
|
9 |
261 |
17,4 |
15,2 |
5,49 |
228,4 |
22,9 |
|
10 |
273 |
18,9 |
15,7 |
5,95 |
238,4 |
22,9 |
Примечание. При составлении смет на строительство водонапорных башен к элементам затрат поправок А, Б и В необходимо применять нижеследующие коэффициенты
|
Номера цен |
Коэффициенты |
||||||||||
|
к прямым затратам |
к основной заработной плате |
к эксплуатации машин |
к заработной плате рабочих, обслуживающих машины |
к материальным ресурсам |
к затратам труда рабочих |
||||||
|
1. К поправкам на утепление бака водонапорных бесшатровых кирпичных башен при поступлении воды с температурой +0,5°С: |
|||||||||||
|
а) по строительным работам |
|||||||||||
|
1, 2 |
1 |
1 |
1 |
1 |
1 |
1 |
|||||
|
3 - 7 |
1,17 |
1,16 |
1,16 |
1,1,7 |
1,18 |
1,16 |
|||||
|
8 - 13 |
2,01 |
2 |
2 |
2,03 |
2,02 |
2 |
|||||
|
14 - 18 |
2,79 |
2,76 |
2,78 |
2,8 |
2,79 |
2,76 |
|||||
|
19, 20 |
3,46 |
3,44 |
3,47 |
3,5 |
3,47 |
3,44 |
|||||
|
21 - 25 |
4,33 |
4,29 |
4,31 |
4,35 |
4,35 |
4,29 |
|||||
|
б) по монтажу металлоконструкций |
|||||||||||
|
1, 2 |
1 |
1 |
1 |
1 |
1 |
1 |
|||||
|
3 - 7 |
1,32 |
1,38 |
1,35 |
1,34 |
1,32 |
1,38 |
|||||
|
8 - 13 |
2,4 |
2,65 |
2,56 |
2,5 |
2,38 |
2,65 |
|||||
|
14 - 18 |
3,5 |
3,56 |
3,52 |
3,51 |
3,5 |
3,56 |
|||||
|
19, 20 |
4,57 |
4,62 |
4,58 |
4,55 |
4,56 |
4,62 |
|||||
|
21 - 25 |
5,64 |
5,68 |
5,65 |
5,63 |
5,64 |
5,68 |
|||||
|
2. К поправкам на утепление бака водонапорных бесшатровых кирпичных башен при поступлении воды с температурой +3°С: |
|||||||||||
|
а) по строительным работам |
|||||||||||
|
1, 2 |
1 |
1 |
1 |
1 |
1 |
1 |
|||||
|
3 - 7 |
1,15 |
1,33 |
1,29 |
1,35 |
1,06 |
1,38 |
|||||
|
8 - 13 |
1,95 |
2,29 |
2,22 |
2,33 |
1,75 |
2,29 |
|||||
|
14 - 18 |
3,2 |
3,15 |
3,07 |
3,22 |
3,23 |
3,15 |
|||||
|
19, 20 |
3,94 |
3,93 |
3,84 |
4,01 |
3,96 |
3,93 |
|||||
|
21 - 25 |
4,92 |
4,89 |
4,77 |
4,99 |
4,94 |
4,89 |
|||||
|
б) по монтажу металлоконструкций |
|||||||||||
|
1, 2 |
1 |
1 |
1 |
1 |
1 |
1 |
|||||
|
3 - 7 |
1,32 |
1,38 |
1,35 |
1,34 |
1,32 |
1,8 |
|||||
|
8 - 13 |
2,4 |
2,65 |
2,56 |
2,5 |
2,38 |
2,65 |
|||||
|
14 - 18 |
3,5 |
3,56 |
3,52 |
3,51 |
3,5 |
3,56 |
|||||
|
19, 20 |
4,57 |
4,62 |
4,58 |
4,55 |
4,56 |
4,62 |
|||||
|
21 - 25 |
5,64 |
5,68 |
5,65 |
5,63 |
5,64 |
5,68 |
|||||
|
3. К поправкам на утепление трубопроводов водонапорных бесшатровых башен при поступлении воды с температурой +0,5 и +3°С: |
|||||||||||
|
по строительным работам |
|||||||||||
|
1 |
1 |
1 |
1 |
1 |
1 |
1 |
|||||
|
2 |
1,13 |
1,14 |
1,18 |
1,15 |
1,13 |
1,14 |
|||||
|
3 |
0,59 |
0,61 |
0,74 |
0,7 |
0,59 |
0,61 |
|||||
|
4 |
0,76 |
0,78 |
0,94 |
0,88 |
0,75 |
0,78 |
|||||
|
5 |
1,01 |
1,03 |
1,22 |
1,15 |
1 |
1,03 |
|||||
|
6 |
1,18 |
1,21 |
1,44 |
1,36 |
1,17 |
1,21 |
|||||
|
7 |
1,39 |
1,42 |
1,68 |
1,58 |
1,4 |
1,42 |
|||||
|
8 |
0,67 |
0,68 |
0,77 |
0,76 |
0,66 |
0,68 |
|||||
|
9 |
0,85 |
0,87 |
1 |
0,97 |
0,85 |
0,87 |
|||||
|
10 |
0,99 |
1,02 |
1,19 |
1,12 |
0,99 |
1,02 |
|||||
|
11 |
1,19 |
1,22 |
1,42 |
1,36 |
1,18 |
1,22 |
|||||
|
12 |
1,33 |
1,36 |
1,58 |
1,52 |
1,33 |
1,36 |
|||||
|
13 |
1,5 |
1,54 |
1,81 |
1,73 |
1,49 |
1,54 |
|||||
|
14 |
1,25 |
1,3 |
1,69 |
1,58 |
1,24 |
1,3 |
|||||
|
15 |
1,4 |
1,46 |
1,91 |
1,76 |
1,38 |
1,46 |
|||||
|
16 |
1,6 |
1,66 |
2,15 |
2 |
1,58 |
1,66 |
|||||
|
17 |
1,82 |
1,89 |
2,43 |
2,27 |
1,79 |
1,89 |
|||||
|
18 |
2,02 |
2,09 |
2,66 |
2,48 |
1,99 |
2,09 |
|||||
|
19 |
1,48 |
1,54 |
2 |
1,85 |
1,46 |
1,54 |
|||||
|
20 |
1,77 |
1,84 |
2,32 |
2,18 |
1,75 |
1,84 |
|||||
|
21 |
1,39 |
1,45 |
1,99 |
1,82 |
1,37 |
1,45 |
|||||
|
22 |
1,58 |
1,65 |
2,23 |
2,06 |
1,56 |
1,65 |
|||||
|
23 |
1,78 |
1,87 |
2,48 |
2,27 |
1,76 |
1,87 |
|||||
|
24 |
1,95 |
2,02 |
2,67 |
2,45 |
1,92 |
2,02 |
|||||
|
25 |
2,2 |
2,29 |
2,96 |
2,76 |
2,17 |
2,29 |
|||||
|
4. К поправкам на утепление водонапорных башен системы Рожновского: |
|||||||||||
|
а) по строительным работам |
|||||||||||
|
26 |
1 |
1 |
1 |
1 |
1 |
1 |
|||||
|
27 |
1,25 |
1,25 |
1,25 |
1,25 |
1,25 |
1,25 |
|||||
|
28 |
1,43 |
1,43 |
1,43 |
1,43 |
1,43 |
1,43 |
|||||
|
29 |
1,88 |
1,87 |
1,88 |
1,88 |
1,88 |
1,87 |
|||||
|
30 |
2,06 |
2,05 |
2,05 |
2,05 |
2,05 |
2,05 |
|||||
|
31 |
2,63 |
2,63 |
2,63 |
2,63 |
2,63 |
2,63 |
|||||
|
32 |
3,35 |
3,35 |
3,35 |
3,35 |
3,35 |
3,35 |
|||||
|
б) по монтажу металлокоиструкций |
|||||||||||
|
26 |
1 |
1 |
1 |
1 |
1 |
1 |
|||||
|
27 |
1,25 |
1,28 |
1,27 |
1,27 |
1,24 |
1,28 |
|||||
|
28 |
1,43 |
1,46 |
1,45 |
1,45 |
1,42 |
1,46 |
|||||
|
29 |
1,84 |
1,9 |
1,93 |
1,88 |
1,83 |
1,9 |
|||||
|
30 |
2,01 |
2,08 |
2,07 |
2,06 |
2 |
2,08 |
|||||
|
31 |
2,57 |
2,65 |
2,64 |
2,63 |
2,57 |
2,65 |
|||||
|
32 |
3,95 |
3,68 |
3,66 |
3,65 |
3,54 |
3,68 |
|||||
Поправки к ценам при строительстве отапливаемых зданий в местностях с зимней расчетной температурой наружного воздуха, отличающейся от принятой в Прейскуранте (на измеритель цен)
|
Номера цен |
Элементы затрат |
Измеритель |
Территориальные районы |
|||||||||||||
|
1в |
1e |
10a |
11а |
11б |
11в |
11г |
1ж |
4а |
5а |
2а |
2в |
7б |
||||
|
Зимняя температура наружного воздуха, °С |
||||||||||||||||
|
-20 |
-30 |
|||||||||||||||
|
33 |
Прямые затраты |
руб. |
-440 |
-550 |
-540 |
-570 |
-480 |
-500 |
-470 |
+410 |
+400 |
+430 |
-780 |
-880 |
-610 |
|
|
Основная заработная плата |
» |
-20 |
-20 |
-30 |
-30 |
-30 |
-30 |
-30 |
+25 |
+25 |
+25 |
-40 |
-40 |
-38 |
||
|
Эксплуатация машин |
» |
-10 |
-10 |
-10 |
-10 |
-10 |
-10 |
-10 |
+10 |
+10 |
+10 |
-21 |
-21 |
-20 |
||
|
Заработная плата рабочих, обслуживающих машины |
» |
-4 |
-4 |
-5 |
-5 |
-5 |
-5 |
-5 |
+4 |
+4 |
+4 |
-8 |
-8 |
-7 |
||
|
Затраты труда рабочих |
чел.-ч |
-40 |
-40 |
-40 |
-40 |
-40 |
-40 |
-40 |
+40 |
+40 |
+40 |
-60 |
-60 |
-60 |
||
|
34 |
Прямые затраты |
руб. |
-590 |
-740 |
-730 |
-760 |
-650 |
-670 |
-630 |
+550 |
+540 |
+580 |
-820 |
-920 |
-630 |
|
|
Основная заработная плата |
» |
-30 |
-30 |
-40 |
-40 |
-40 |
-40 |
-40 |
+30 |
+30 |
+30 |
-40 |
-40 |
40 |
||
|
Эксплуатация машин |
» |
-20 |
-20 |
-20 |
-20 |
-20 |
-20 |
-20 |
+20 |
+20 |
+20 |
-20 |
-20 |
-20 |
||
|
Заработная плата рабочих, обслуживающих машины |
» |
-6 |
-6 |
-9 |
-7 |
-7 |
-7 |
-8 |
+6 |
+7 |
+7 |
-7 |
-7 |
-6 |
||
|
Затраты труда рабочих |
чел.-ч |
-60 |
-60 |
-60 |
-60 |
-60 |
60 |
-60 |
+60 |
+60 |
+60 |
-60 |
-60 |
-60 |
||
|
35 |
Прямые затраты |
руб. |
-1850 |
-2320 |
-2280 |
-2400 |
-2020 |
-2110 |
-1970 |
+1700 |
+1690 |
+1800 |
-2700 |
-3090 |
-2110 |
|
|
Основная заработная плата |
» |
-110 |
-110 |
-140 |
-120 |
-120 |
-100 |
-120 |
+110 |
+110 |
+110 |
-110 |
-110 |
-100 |
||
|
Эксплуатация машин |
» |
-70 |
-70 |
-80 |
-80 |
-80 |
-80 |
-80 |
+70 |
+70 |
+70 |
30 |
-30 |
-30 |
||
|
Заработная плата рабочих, обслуживающих машины |
» |
-20 |
-30 |
-30 |
-30 |
-30 |
-30 |
-30 |
+30 |
+20 |
+20 |
-10 |
-10 |
-10 |
||
|
Затраты труда рабочих |
чел.-ч |
-190 |
-190 |
-190 |
-190 |
-190 |
-1190 |
-190 |
+190 |
+190 |
+190 |
-160 |
-160 |
-160 |
||
Продолжение прил. 8
|
Номера цен |
Элементы затрат |
Измеритель |
Территориальные районы |
||||||||||||
|
7г |
9а |
9б |
9в |
10б |
10в |
11д |
11e |
1в |
1е |
1д |
2б |
7а |
|||
|
Зимняя температура наружного воздуха, °С |
|||||||||||||||
|
-30 |
-40 |
||||||||||||||
|
33 |
Прямые затраты |
руб. |
-610 |
-780 |
-590 |
-670 |
-760 |
-810 |
-680 |
-720 |
+620 |
+600 |
+650 |
+880 |
+660 |
|
Основная заработная плата |
» |
-40 |
-40 |
-40 |
-40 |
-40 |
-40 |
-40 |
-40 |
+30 |
+30 |
+30 |
+40 |
+40 |
|
|
Эксплуатация машин |
» |
-20 |
-20 |
-20 |
-20 |
-20 |
-20 |
-20 |
-20 |
+20 |
+20 |
+120 |
+20 |
+20 |
|
|
Заработная плата рабочих, обслуживающих машины |
» |
-7 |
-8 |
-8 |
-8 |
-8 |
-8 |
-7 |
-7 |
+6 |
+6 |
+6 |
+7 |
+7 |
|
|
Затраты труда рабочих |
чел.-ч |
-60 |
-60 |
-60 |
-60 |
-60 |
-60 |
-60 |
-60 |
+60 |
+60 |
+60 |
+60 |
+60 |
|
|
34 |
Прямые затраты |
руб. |
-640 |
-810 |
-620 |
-720 |
-800 |
-860 |
-710 |
-750 |
+650 |
+630 |
+680 |
+910 |
+690 |
|
Основная заработная плата |
» |
-40 |
-40 |
-40 |
-40 |
-40 |
-40 |
-40 |
-40 |
+30 |
+30 |
+30 |
+40 |
+40 |
|
|
Эксплуатация машин |
» |
-20 |
-20 |
-20 |
-20 |
-20 |
-20 |
-20 |
-20 |
+20 |
+20 |
+20 |
+20 |
+20 |
|
|
Заработная плата рабочих, обслуживающих машины |
» |
-6 |
-7 |
-7 |
-7 |
-7 |
-7 |
-6 |
-6 |
+6 |
+6 |
+6 |
+6 |
+6 |
|
|
Затраты труда рабочих |
чел.-ч |
-60 |
-60 |
-60 |
-60 |
-60 |
-60 |
-60 |
-60 |
+60 |
+60 |
+60 |
+60 |
+60 |
|
|
35 |
Прямые затраты |
руб. |
-2130 |
-2640 |
-2100 |
-2500 |
-2700 |
-2920 |
-2370 |
-2480 |
+2160 |
+2110 |
+2230 |
+2920 |
+2280 |
|
Основная заработная плата |
» |
-100 |
-110 |
-110 |
-110 |
-120 |
-120 |
-100 |
-100 |
+90 |
+90 |
+90 |
+100 |
+100 |
|
|
Эксплуатация машин |
» |
-30 |
-30 |
-30 |
-30 |
-30 |
-30 |
-30 |
-30 |
+30 |
+30 |
+30 |
+130 |
+30 |
|
|
Заработная плата рабочих, обслуживающих машины |
» |
-10 |
-10 |
-10 |
-10 |
-10 |
-10 |
-110 |
-10 |
+10 |
+10 |
+10 |
+10 |
+10 |
|
|
Затраты труда рабочих |
чел.-ч |
-160 |
-160 |
-160 |
-160 |
-160 |
-160 |
-160 |
-160 |
+160 |
+160 |
+160 |
+160 |
+160 |
|
Продолжение прил. 8
|
Номера цен |
Элементы затрат |
Измеритель |
Территориальные районы |
||||||||||||
|
1в |
1e |
10a |
11а |
11б |
11в |
11г |
1ж |
4a |
5a |
2a |
2в |
7б |
|||
|
Зимняя температура наружного воздуха, °С |
|||||||||||||||
|
-20 |
-30 |
||||||||||||||
|
36 |
Прямые затраты |
руб. |
-2120 |
-2660 |
-2620 |
-2740 |
-2320 |
-2410 |
-2260 |
+1960 |
+1940 |
+2070 |
-3210 |
-3670 |
-2510 |
|
Основная заработная плата |
» |
-120 |
-120 |
-160 |
-140 |
-140 |
-140 |
-140 |
+120 |
+120 |
+120 |
-140 |
-140 |
-130 |
|
|
Эксплуатация машин |
» |
-80 |
-80 |
-90 |
-80 |
-80 |
-80 |
-80 |
+80 |
+80 |
+80 |
-60 |
-60 |
-60 |
|
|
Заработная плата рабочих, обслуживающих машины |
» |
-30 |
-30 |
-30 |
-30 |
-30 |
30 |
-30 |
+30 |
+30 |
+30 |
-20 |
-20 |
-20 |
|
|
Затраты труда рабочих |
чел.-ч |
-220 |
-220 |
-220 |
-220 |
-220 |
-2120 |
-230 |
+220 |
+1220 |
+220 |
-2110 |
-210 |
-210 |
|
|
37 |
Прямые затраты |
руб. |
-1320 |
-1660 |
-1630 |
-1700 |
-1440 |
-1490 |
-1400 |
+1210 |
+1200 |
+1280 |
-140 |
-150 |
-130 |
|
Основная заработная плата |
» |
-710 |
-70 |
-90 |
-80 |
-80 |
-80 |
-80 |
+70 |
+70 |
+70 |
-10 |
-10 |
-10 |
|
|
Эксплуатация машин |
» |
20 |
-20 |
-20 |
-20 |
-20 |
-20 |
-20 |
+210 |
+120 |
+20 |
-11 |
-1 |
-1 |
|
|
Заработная плата рабочих, обслуживающих машины |
» |
-6 |
-6 |
-10 |
-10 |
10 |
-10 |
-10 |
+10 |
+10 |
+10 |
- |
- |
- |
|
|
Затраты труда рабочих |
чел.-ч |
-120 |
-120 |
-120 |
-120 |
-120 |
-120 |
-120 |
+120 |
+120 |
+120 |
-20 |
-20 |
20 |
|
Продолжение прил. 8
|
Номера цен |
Элементы затрат |
Измеритель |
Территориальные районы |
||||||||||||
|
7г |
9a |
9б |
9в |
10б |
10в |
11д |
11e |
1в |
1г |
1д |
2б |
7a |
|||
|
Зимняя температура наружного воздуха, °С |
|||||||||||||||
|
-30 |
-40 |
||||||||||||||
|
36 |
Прямые затраты |
руб. |
-2530 |
-3130 |
-2510 |
-2980 |
-3210 |
-3480 |
-2820 |
-2950 |
+2570 |
+2510 |
+2650 |
+3460 |
+2710 |
|
Основная заработная плата |
» |
-130 |
-1140 |
-4140 |
-140 |
-150 |
-150 |
-130 |
-130 |
+110 |
+110 |
+110 |
+130 |
+1130 |
|
|
Эксплуатация машин |
» |
-60 |
-60 |
-160 |
-60 |
-60 |
-60 |
-60 |
-60 |
+50 |
+50 |
+50 |
+60 |
+60 |
|
|
Заработная плата рабочих, обслуживающих машины |
» |
-20 |
-20 |
-60 |
-20 |
-20 |
-20 |
-20 |
-20 |
+20 |
+20 |
+20 |
+20 |
+20 |
|
|
Затраты труда рабочих |
чел.-ч |
-210 |
-210 |
-210 |
-210 |
-210 |
-310 |
-210 |
-210 |
+210 |
+210 |
+310 |
+210 |
+210 |
|
|
37 |
Прямые затраты |
руб. |
-130 |
-130 |
-130 |
-180 |
-160 |
-170 |
-130 |
-130 |
+120 |
+120 |
+120 |
+130 |
+130 |
|
Основная заработная плата |
» |
-10 |
-10 |
-10 |
-10 |
-10 |
-10 |
-10 |
-10 |
+10 |
+10 |
+10 |
+10 |
+10 |
|
|
Эксплуатация машин |
» |
-1 |
-1 |
-1 |
-1 |
-1 |
-1 |
-1 |
-1 |
+1 |
+1 |
+1 |
+1 |
+1 |
|
|
Заработная плата рабочих, обслуживающих машины |
» |
- |
- |
- |
- |
- |
- |
- |
- |
- |
- |
- |
- |
- |
|
|
Затраты труда рабочих |
чел.-ч |
-20 |
-20 |
-20 |
-20 |
-20 |
-20 |
-20 |
-20 |
+20 |
+20 |
+20 |
+20 |
+20 |
|
Примечания: 1. Поправки настоящего приложения учитывают изменения объемов работ по отдельным конструктивным элементам - стенам, утеплителям перекрытий, отоплению и др. Эти поправки не учитывают изменения глубины заложения фундаментов (стоимость фундаментов в связи с изменением глубины заложения следует корректировать по прил. 5).
2. Поправки со знаком «+» к элементам затрат цен следует добавлять, а поправки со знаком «-» - вычитать.
Поправки к прямым затратам цен, учитывающие разницу в оптовых ценах на кирпич строительный и сборные бетонные и железобетонные конструкции, а также разницу сметных цен на остальные местные строительные материалы между действующими в отдельных областях, краях и республиках и принятыми в Прейскуранте (в руб. на измеритель цен)
|
№ п.п. |
Наименование территориальных районов, областей, краев и республик |
Номера цен |
|
|||||||||||||||||||||||||||||||||||||||||||||||||||||||||||
|
1, 2 |
3, 4 |
5 |
6 |
7 |
8 |
9 |
10 |
11 |
12 |
13 |
14 |
15 |
16 |
17 |
18, 20 |
19 |
|
|||||||||||||||||||||||||||||||||||||||||||||
|
|
1-й территориальный район РСФСР |
|
|
|
|
|
|
|
|
|
|
|
|
|
|
|
|
|
|
|||||||||||||||||||||||||||||||||||||||||||
|
1 |
Астраханская обл. |
+20 |
+30 |
+30 |
+30 |
+40 |
+30 |
+30 |
+50 |
+50 |
+80 |
+80 |
+40 |
+40 |
+40 |
+60 |
+80 |
+90 |
|
|||||||||||||||||||||||||||||||||||||||||||
|
2 |
Брянская обл. |
+60 |
+90 |
+100 |
+150 |
+280 |
+100 |
+130 |
+170 |
+300 |
+380 |
+460 |
+260 |
+310 |
+360 |
+440 |
+510 |
+390 |
|
|||||||||||||||||||||||||||||||||||||||||||
|
3 |
Белгородская обл. |
- |
- |
- |
- |
- |
- |
- |
- |
- |
- |
- |
- |
- |
- |
- |
- |
- |
|
|||||||||||||||||||||||||||||||||||||||||||
|
4 |
Владимирская обл. |
- |
- |
- |
- |
- |
- |
- |
- |
- |
- |
- |
+10 |
+10 |
+10 |
+10 |
+10 |
+10 |
|
|||||||||||||||||||||||||||||||||||||||||||
|
5 |
Волгоградская обл. |
-60 |
-110 |
-130 |
-150 |
-260 |
-130 |
-150 |
-190 |
-290 |
-380 |
-450 |
-250 |
-290 |
-330 |
-400 |
-470 |
-400 |
|
|||||||||||||||||||||||||||||||||||||||||||
|
6 |
Воронежская обл. |
-10 |
-но |
-20 |
-20 |
-40 |
-10 |
-20 |
-20 |
-40 |
-50 |
-60 |
-30 |
-40 |
-40 |
-50 |
-60 |
-50 |
|
|||||||||||||||||||||||||||||||||||||||||||
|
7 |
Вологодская обл. |
-50 |
-90 |
-100 |
-120 |
-200 |
-100 |
-120 |
-150 |
-220 |
-300 |
-350 |
-190 |
-220 |
-250 |
-310 |
-360 |
-320 |
|
|||||||||||||||||||||||||||||||||||||||||||
|
8 |
Горьковская обл. |
+50 |
+90 |
+90 |
+90 |
+120 |
+110 |
+110 |
+140 |
+160 |
+220 |
+240 |
+140 |
+140 |
+150 |
+190 |
+220 |
+250 |
|
|||||||||||||||||||||||||||||||||||||||||||
|
9 |
Ивановская обл. |
+80 |
+170 |
+210 |
+240 |
+410 |
+190 |
+230 |
+29С |
+450 |
+590 |
+690 |
+390 |
+450 |
+520 |
+630 |
+740 |
+630 |
|
|||||||||||||||||||||||||||||||||||||||||||
|
10 |
Калининская обл. |
+100 |
+190 |
+250 |
+290 |
+520 |
+290 |
+270 |
+340 |
+600 |
+730 |
+870 |
+480 |
+570 |
+660 |
+800 |
+940 |
+760 |
|
|||||||||||||||||||||||||||||||||||||||||||
|
11 |
Куйбышевская обл. |
-30 |
-50 |
-60 |
-60 |
-90 |
-60 |
-70 |
-90 |
-110 |
-150 |
-170 |
-80 |
-90 |
-100 |
-130 |
-160 |
-160 |
|
|||||||||||||||||||||||||||||||||||||||||||
|
12 |
Курская обл. |
-30 |
-60 |
-90 |
-110 |
-200 |
-70 |
-90 |
-120 |
-210 |
-270 |
-330 |
-180 |
-220 |
-260 |
-310 |
-370 |
-280 |
|
|||||||||||||||||||||||||||||||||||||||||||
|
13 |
Кировская обл. |
+80 |
+150 |
+180 |
+210 |
+360 |
+170 |
+210 |
+260 |
+400 |
+520 |
+610 |
+390 |
+400 |
+450 |
+550 |
+650 |
+550 |
|
|||||||||||||||||||||||||||||||||||||||||||
|
14 |
Костромская обл. |
+10 |
+20 |
+30 |
+20 |
+60 |
+20 |
+20 |
+30 |
+50 |
+60 |
+70 |
+40 |
+50 |
+50 |
+70 |
+80 |
+60 |
|
|||||||||||||||||||||||||||||||||||||||||||
|
16 |
Калужская обл. |
-10 |
-20 |
-20 |
-20 |
-40 |
-10 |
-20 |
-20 |
-40 |
-50 |
-60 |
-40 |
-60 |
-60 |
-70 |
-80 |
-60 |
|
|||||||||||||||||||||||||||||||||||||||||||
|
16 |
Ленинградская обл. |
-60 |
-110 |
-130 |
-140 |
-240 |
-130 |
-150 |
-190 |
-270 |
-360 |
-420 |
-230 |
-260 |
-300 |
-360 |
-425 |
-380 |
|
|||||||||||||||||||||||||||||||||||||||||||
|
17 |
г. Ленинград |
- |
- |
- |
- |
- |
- |
- |
- |
- |
- |
- |
+20 |
+20 |
+20 |
+20 |
+20 |
+10 |
|
|||||||||||||||||||||||||||||||||||||||||||
|
18 |
Липецкая обл. |
-30 |
-60 |
-70 |
-70 |
-110 |
-70 |
-80 |
-100 |
-130 |
-170 |
-200 |
-110 |
+120 |
-140 |
-170 |
-190 |
-190 |
|
|||||||||||||||||||||||||||||||||||||||||||
|
19 |
Московская обл. |
- |
- |
- |
- |
- |
- |
- |
- |
- |
- |
- |
+10 |
+10 |
+10 |
+10 |
+10 |
+10 |
|
|||||||||||||||||||||||||||||||||||||||||||
|
20 |
Новгородская обл. |
- |
- |
- |
- |
- |
- |
- |
- |
- |
- |
- |
-10 |
-10 |
-10 |
-10 |
-10 |
-10 |
|
|||||||||||||||||||||||||||||||||||||||||||
|
21 |
Орловская обл. |
+80 |
+160 |
+220 |
+270 |
+500 |
+180 |
+240 |
+290 |
+520 |
+670 |
+820 |
+460 |
+560 |
+650 |
+780 |
+910 |
+710 |
|
|||||||||||||||||||||||||||||||||||||||||||
|
22 |
Пензенская обл. |
+80 |
+150 |
+170 |
+180 |
+280 |
+180 |
+200 |
+250 |
+330 |
+450 |
+510 |
+290 |
+320 |
+350 |
+430 |
+510 |
+490 |
|
|||||||||||||||||||||||||||||||||||||||||||
|
23 |
Псковская обл. |
-30 |
-50 |
-50 |
-60 |
-90 |
-60 |
-70 |
-80 |
-110 |
-140 |
-160 |
-90 |
-100 |
-110 |
-140 |
-160 |
-160 |
|
|||||||||||||||||||||||||||||||||||||||||||
|
24 |
Рязанская обл. |
-10 |
-10 |
-20 |
-20 |
-40 |
-10 |
-20 |
-20 |
-40 |
-50 |
-60 |
-40 |
-40 |
-50 |
-60 |
-70 |
-60 |
|
|||||||||||||||||||||||||||||||||||||||||||
|
25 |
Саратовская обл. |
+150 |
+100 |
+140 |
+170 |
+310 |
+110 |
+150 |
+180 |
+330 |
+420 |
+510 |
+280 |
+350 |
+400 |
+480 |
+560 |
+440 |
|
|||||||||||||||||||||||||||||||||||||||||||
|
26 |
Смоленская обл. |
-30 |
-50 |
-70 |
-80 |
-140 |
50 |
-70 |
-80 |
-150 |
-190 |
-230 |
-140 |
-170 |
-200 |
-230 |
-260 |
-200 |
|
|||||||||||||||||||||||||||||||||||||||||||
|
27 |
Тамбовская обл. |
+70 |
+130 |
+160 |
+190 |
+330 |
+150 |
+180 |
+230 |
+360 |
+470 |
+560 |
+310 |
+360 |
+410 |
+500 |
+590 |
+500 |
|
|||||||||||||||||||||||||||||||||||||||||||
|
28 |
Тульская обл. |
-20 |
-40 |
-50 |
-60 |
-120 |
-40 |
-60 |
-70 |
-130 |
160 |
-200 |
-110 |
-130 |
-160 |
-190 |
-220 |
-170 |
|
|||||||||||||||||||||||||||||||||||||||||||
|
29 |
Ульяновская обл. |
+50 |
+100 |
+110 |
+120 |
+210 |
+110 |
+130 |
+160 |
+230 |
+310 |
+360 |
+200 |
+230 |
+260 |
+320 |
+380 |
+330 |
|
|||||||||||||||||||||||||||||||||||||||||||
|
30 |
Ярославская обл. |
-40 |
-70 |
-90 |
-110 |
-210 |
-70 |
-100 |
-120 |
-220 |
-280 |
-350 |
-180 |
-220 |
-260 |
-320 |
-380 |
-280 |
|
|||||||||||||||||||||||||||||||||||||||||||
|
31 |
Башкирская АССР |
-60 |
120 |
-130 |
-150 |
-350 |
-140 |
-160 |
-190 |
-280 |
-380 |
-430 |
-220 |
-250 |
-290 |
-360 |
-420 |
-380 |
|
|||||||||||||||||||||||||||||||||||||||||||
|
32 |
Мордовская АССР |
+60 |
+100 |
+100 |
+100 |
+130 |
+130 |
+130 |
+160 |
+170 |
+240 |
+260 |
+140 |
+140 |
+150 |
+180 |
+220 |
+270 |
|
|||||||||||||||||||||||||||||||||||||||||||
|
33 |
Марийская АССР |
+100 |
+190 |
+230 |
+270 |
+450 |
+220 |
+260 |
+330 |
+500 |
+660 |
+780 |
+410 |
+480 |
+550 |
+670 |
+800 |
+680 |
|
|||||||||||||||||||||||||||||||||||||||||||
|
34 |
Татарская АССР |
+10 |
+10 |
+20 |
+20 |
+40 |
+10 |
+20 |
+20 |
+40 |
+50 |
+60 |
+40 |
+40 |
+50 |
+60 |
+80 |
+60 |
|
|||||||||||||||||||||||||||||||||||||||||||
|
35 |
Чувашская АССР |
+60 |
+120 |
+140 |
+160 |
+290 |
+140 |
+160 |
+200 |
+310 |
+410 |
+480 |
+280 |
+320 |
+370 |
+450 |
+520 |
+440 |
|
|||||||||||||||||||||||||||||||||||||||||||
|
|
Белорусская ССР |
|
|
|
|
|
|
|
|
|
|
|
|
|
|
|
|
|
|
||||||||||||||||||||||||||||||||||||||||||
|
36 |
Брестская, Гомельская, Минская, Могилевская, Гродненская области |
- |
- |
- |
- |
- |
- |
- |
- |
- |
- |
- |
+20 |
+20 |
+20 |
+20 |
+20 |
+20 |
|
||||||||||||||||||||||||||||||||||||||||||
|
37 |
Витебская обл. |
- |
- |
- |
- |
- |
- |
- |
- |
- |
- |
- |
+10 |
+10 |
+10 |
+10 |
+10 |
+10 |
|
||||||||||||||||||||||||||||||||||||||||||
|
|
2-й территориальный район РСФСР |
|
|
|
|
|
|
|
|
|
|
|
|
|
|
|
|
|
|
||||||||||||||||||||||||||||||||||||||||||
|
38 |
Архангельская обл. (южнее Полярного круга) |
- |
- |
- |
- |
- |
- |
- |
- |
- |
- |
- |
- |
- |
- |
- |
- |
- |
|
||||||||||||||||||||||||||||||||||||||||||
|
39 |
Мурманская обл. |
- |
- |
- |
- |
- |
- |
- |
- |
- |
- |
- |
- |
- |
- |
- |
- |
- |
|
||||||||||||||||||||||||||||||||||||||||||
|
40 |
Карельская АССР |
-70 |
-130 |
-130 |
-130 |
-170 |
-60 |
-60 |
-40 |
-60 |
-20 |
-50 |
+100 |
+100 |
+110 |
-270 |
-310 |
-350 |
|
||||||||||||||||||||||||||||||||||||||||||
|
41 |
Коми АССР (южнее Полярного круга) |
- |
- |
- |
- |
- |
- |
- |
- |
- |
- |
- |
- |
- |
- |
- |
- |
- |
|
||||||||||||||||||||||||||||||||||||||||||
|
|
3-й территориальный район |
|
|
|
|
|
|
|
|
|
|
|
|
|
|
|
|
|
|
||||||||||||||||||||||||||||||||||||||||||
|
42 |
Литовская ССР, Латвийская ССР, Эстонская ССР |
- |
- |
- |
- |
- |
- |
- |
- |
- |
- |
- |
- |
- |
- |
- |
- |
- |
|
||||||||||||||||||||||||||||||||||||||||||
|
42a |
Калиниградская область |
- |
- |
- |
- |
- |
- |
- |
- |
- |
- |
- |
- |
- |
- |
- |
- |
- |
|
||||||||||||||||||||||||||||||||||||||||||
|
|
4-й территориальный район |
|
|
|
|
|
|
|
|
|
|
|
|
|
|
|
|
|
|
||||||||||||||||||||||||||||||||||||||||||
|
|
Украинская ССР |
|
|
|
|
|
|
|
|
|
|
|
|
|
|
|
|
|
|
||||||||||||||||||||||||||||||||||||||||||
|
43 |
Волынская и Ворошиловградская области |
- |
- |
- |
- |
- |
- |
- |
- |
- |
- |
- |
- |
- |
- |
- |
- |
- |
|
||||||||||||||||||||||||||||||||||||||||||
|
44 |
Днепропетровская область |
- |
- |
- |
- |
- |
- |
- |
- |
- |
- |
- |
+10 |
+10 |
+10 |
+10 |
+10 |
+10 |
|
||||||||||||||||||||||||||||||||||||||||||
|
45 |
Донецкая обл. |
- |
- |
- |
- |
- |
- |
- |
- |
- |
- |
- |
- |
- |
- |
- |
- |
- |
|
||||||||||||||||||||||||||||||||||||||||||
|
46 |
Житомирская обл. |
- |
- |
- |
- |
- |
- |
- |
- |
- |
- |
- |
- |
- |
- |
- |
- |
- |
|
||||||||||||||||||||||||||||||||||||||||||
|
47 |
Закарпатская обл. |
+10 |
+10 |
+10 |
+10 |
+10 |
+10 |
+10 |
+10 |
+30 |
+40 |
+50 |
+20 |
+20 |
+30 |
+40 |
+50 |
+40 |
|
||||||||||||||||||||||||||||||||||||||||||
|
48 |
Запорожская обл. |
+30 |
+60 |
+80 |
+100 |
+180 |
+60 |
+90 |
+110 |
+190 |
+240 |
+300 |
+170 |
+210 |
+240 |
+290 |
+340 |
+260 |
|
||||||||||||||||||||||||||||||||||||||||||
|
49 |
Ивано-Франковская обл. |
-20 |
-40 |
-50 |
-70 |
130 |
-40 |
-60 |
-70 |
-130 |
-170 |
-210 |
-130 |
-150 |
-180 |
-210 |
-250 |
-190 |
|
||||||||||||||||||||||||||||||||||||||||||
|
50 |
Киевская обл. |
- |
- |
- |
- |
- |
- |
- |
- |
- |
- |
- |
+10 |
+10 |
+10 |
+10 |
+10 |
- |
|
||||||||||||||||||||||||||||||||||||||||||
|
51 |
Кировоградская область |
- |
- |
- |
- |
- |
- |
- |
- |
- |
- |
- |
- |
- |
- |
- |
- |
- |
|
||||||||||||||||||||||||||||||||||||||||||
|
52 |
Крымская обл. |
-20 |
-30 |
-40 |
-50 |
-100 |
-30 |
-50 |
-60 |
-100 |
-130 |
-160 |
-90 |
-110 |
-130 |
-160 |
-180 |
-140 |
|
||||||||||||||||||||||||||||||||||||||||||
|
53 |
Львовская обл. |
-30 |
-60 |
-80 |
-90 |
-180 |
-60 |
-80 |
-100 |
-190 |
-240 |
-290 |
-170 |
-210 |
-240 |
-290 |
-340 |
-260 |
|
||||||||||||||||||||||||||||||||||||||||||
|
54 |
Николаевская обл. |
+30 |
+40 |
+50 |
+70 |
+120 |
+40 |
+60 |
+70 |
+130 |
+160 |
+200 |
+110 |
+130 |
+160 |
+190 |
+220 |
+170 |
|
||||||||||||||||||||||||||||||||||||||||||
|
55 |
Одесская обл. |
- |
- |
- |
- |
+10 |
+10 |
+10 |
+10 |
+10 |
+10 |
+10 |
- |
- |
- |
- |
- |
- |
|
||||||||||||||||||||||||||||||||||||||||||
|
56 |
Полтавская обл. |
-30 |
-60 |
-70 |
-90 |
-160 |
-60 |
-80 |
-100 |
-170 |
-220 |
-260 |
-150 |
-180 |
-210 |
-260 |
-300 |
-230 |
|
||||||||||||||||||||||||||||||||||||||||||
|
57 |
Ровенская обл. |
- |
- |
- |
- |
- |
- |
- |
- |
- |
- |
- |
- |
- |
- |
- |
- |
- |
|
||||||||||||||||||||||||||||||||||||||||||
|
58 |
Сумская и Харьковская области |
+10 |
+10 |
+10 |
+10 |
+10 |
+10 |
+10 |
+10 |
+10 |
+10 |
+10 |
+10 |
+10 |
+10 |
+10 |
+10 |
+10 |
|
||||||||||||||||||||||||||||||||||||||||||
|
59 |
Тернопольская обл. |
- |
- |
- |
- |
- |
- |
- |
- |
- |
- |
- |
- |
- |
- |
- |
- |
- |
|
||||||||||||||||||||||||||||||||||||||||||
|
60 |
Херсонская обл. |
+40 |
+80 |
+120 |
+140 |
+250 |
+90 |
+120 |
+150 |
+270 |
+340 |
+410 |
+230 |
+280 |
+320 |
+390 |
+450 |
+340 |
|
||||||||||||||||||||||||||||||||||||||||||
|
61 |
Хмельницкая обл. |
- |
- |
- |
- |
- |
- |
- |
- |
- |
- |
- |
+10 |
+10 |
+10 |
+10 |
+10 |
+10 |
|
||||||||||||||||||||||||||||||||||||||||||
|
62 |
Черкасская обл. |
- |
- |
- |
- |
- |
- |
- |
- |
- |
- |
- |
- |
- |
- |
- |
- |
- |
|
||||||||||||||||||||||||||||||||||||||||||
|
63 |
Черниговская обл. |
-40 |
-80 |
-110 |
-140 |
-260 |
-90 |
-120 |
-150 |
-270 |
-340 |
-420 |
-230 |
-280 |
-330 |
-400 |
-470 |
-360 |
|
||||||||||||||||||||||||||||||||||||||||||
|
64 |
Черновицкая обл. |
+40 |
+80 |
+110 |
+120 |
+230 |
+90 |
+110 |
+140 |
+240 |
+310 |
+370 |
+200 |
+250 |
+290 |
+340 |
+400 |
+310 |
|
||||||||||||||||||||||||||||||||||||||||||
|
65 |
Молдавская ССР |
- |
- |
- |
- |
- |
- |
- |
- |
- |
- |
- |
- |
- |
- |
- |
- |
- |
|
||||||||||||||||||||||||||||||||||||||||||
|
|
5-й территориальный район РСФСР |
|
|
|
|
|
|
|
|
|
|
|
|
|
|
|
|
|
|
||||||||||||||||||||||||||||||||||||||||||
|
66 |
Дагестанская АССР |
+60 |
+110 |
+140 |
+160 |
+280 |
+130 |
+160 |
+200 |
+310 |
+400 |
+470 |
+260 |
+300 |
+340 |
+420 |
+500 |
+430 |
|
||||||||||||||||||||||||||||||||||||||||||
|
67 |
Кабардино-Балкарская АССР и Северо-Осетинская АССР |
-30 |
-50 |
-70 |
-90 |
-160 |
-60 |
-70 |
-90 |
-170 |
-210 |
-260 |
-150 |
-180 |
-210 |
-250 |
-290 |
-220 |
|
||||||||||||||||||||||||||||||||||||||||||
|
68 |
Калмыцкая АССР |
- |
- |
- |
- |
- |
- |
- |
- |
- |
- |
- |
- |
- |
- |
- |
- |
- |
|
||||||||||||||||||||||||||||||||||||||||||
|
69 |
Чечено-Ингушская АССР |
- |
- |
- |
- |
- |
- |
- |
- |
- |
- |
- |
- |
- |
- |
- |
- |
- |
|
||||||||||||||||||||||||||||||||||||||||||
|
70 |
Краснодарский край |
- |
- |
- |
- |
- |
- |
- |
- |
- |
- |
- |
+10 |
+10 |
+10 |
+10 |
+10 |
+10 |
|
||||||||||||||||||||||||||||||||||||||||||
|
71 |
Ставропольский край |
+30 |
+60 |
+60 |
+70 |
+110 |
+70 |
+80 |
+90 |
+130 |
+180 |
+200 |
+110 |
+120 |
+140 |
+170 |
+200 |
+190 |
|
||||||||||||||||||||||||||||||||||||||||||
|
72 |
Ростовская обл. |
-10 |
-20 |
-30 |
-30 |
-60 |
-20 |
-30 |
-40 |
-60 |
-80 |
-100 |
-50 |
-60 |
-80 |
-90 |
-110 |
-80 |
|
||||||||||||||||||||||||||||||||||||||||||
|
|
6-й территориальный район |
|
|
|
|
|
|
|
|
|
|
|
|
|
|
|
|
|
|
||||||||||||||||||||||||||||||||||||||||||
|
73 |
Армянская ССР |
- |
- |
- |
- |
- |
- |
- |
- |
- |
- |
- |
-10 |
-10 |
-10 |
-10 |
-110 |
-10 |
|
||||||||||||||||||||||||||||||||||||||||||
|
74 |
Азербайджанская ССР |
- |
- |
- |
- |
- |
- |
- |
- |
- |
- |
- |
- |
- |
- |
- |
+10 |
- |
|
||||||||||||||||||||||||||||||||||||||||||
|
75 |
Грузинская ССР |
- |
- |
- |
- |
- |
- |
- |
- |
- |
- |
- |
+10 |
+10 |
+20 |
+20 |
+20 |
+10 |
|
||||||||||||||||||||||||||||||||||||||||||
|
|
7-й территориальный район РСФСР |
|
|
|
|
|
|
|
|
|
|
|
|
|
|
|
|
|
|||||||||||||||||||||||||||||||||||||||||||
|
76 |
Пермская обл. |
- |
- |
- |
- |
- |
- |
- |
- |
- |
- |
- |
+10 |
+10 |
+10 |
+10 |
+10 |
+10 |
|||||||||||||||||||||||||||||||||||||||||||
|
77 |
Свердловская обл. |
- |
- |
- |
- |
- |
- |
- |
- |
- |
- |
- |
- |
- |
- |
- |
- |
- |
|||||||||||||||||||||||||||||||||||||||||||
|
78 |
Удмуртская АССР |
- |
- |
- |
- |
- |
- |
- |
- |
- |
- |
- |
-10 |
-10 |
-10 |
-10 |
-10 |
-10 |
|||||||||||||||||||||||||||||||||||||||||||
|
79 |
Курганская обл. |
+40 |
+80 |
+80 |
+80 |
+110 |
+100 |
+100 |
+130 |
+140 |
+200 |
+220 |
+110 |
+120 |
+120 |
+150 |
+200 |
+210 |
|||||||||||||||||||||||||||||||||||||||||||
|
80 |
Оренбургская обл. |
- |
- |
- |
- |
- |
- |
- |
- |
- |
- |
- |
+20 |
+20 |
+20 |
+20 |
+20 |
+20 |
|||||||||||||||||||||||||||||||||||||||||||
|
81 |
Челябинская обл. |
- |
- |
- |
- |
- |
- |
- |
- |
- |
- |
- |
- |
- |
- |
- |
- |
- |
|||||||||||||||||||||||||||||||||||||||||||
|
|
8-й территориальный район |
|
|
|
|
|
|
|
|
|
|
|
|
|
|
|
|
|
|||||||||||||||||||||||||||||||||||||||||||
|
82 |
Алтайский край |
+10 |
+20 |
+20 |
+30 |
+50 |
+20 |
+20 |
+30 |
+50 |
+60 |
+80 |
+40 |
+50 |
+60 |
+70 |
+80 |
+60 |
|||||||||||||||||||||||||||||||||||||||||||
|
83 |
Кемеровская обл. |
-20 |
-30 |
-30 |
-30 |
-40 |
-40 |
-40 |
-50 |
-50 |
-80 |
-80 |
-40 |
-40 |
-50 |
-60 |
-80 |
-90 |
|||||||||||||||||||||||||||||||||||||||||||
|
84 |
Омская обл. |
- |
- |
- |
- |
- |
- |
- |
- |
- |
- |
- |
- |
- |
- |
- |
- |
- |
|||||||||||||||||||||||||||||||||||||||||||
|
85 |
Томская обл. (южнее 60-й параллели) |
- |
- |
- |
- |
- |
- |
- |
- |
- |
- |
- |
- |
- |
- |
- |
- |
- |
|||||||||||||||||||||||||||||||||||||||||||
|
86 |
Тюменская обл. (южнее 60-й параллели) |
- |
-10 |
-10 |
-10 |
-10 |
-10 |
-10 |
-10 |
-10 |
-40 |
-10 |
-60 |
-60 |
-60 |
-60 |
-60 |
-60 |
|||||||||||||||||||||||||||||||||||||||||||
|
87 |
Красноярский край (южнее 60-й параллели без Тувинской АССР) |
- |
- |
- |
- |
- |
- |
- |
- |
- |
- |
- |
- |
- |
- |
- |
- |
- |
|||||||||||||||||||||||||||||||||||||||||||
|
88 |
Тувинская АССР |
- |
-20 |
-20 |
-20 |
-20 |
-20 |
-20 |
-20 |
-20 |
-20 |
-20 |
-100 |
-100 |
-100 |
-110 |
-100 |
-100 |
|||||||||||||||||||||||||||||||||||||||||||
|
|
9-й территориальный район |
|
|
|
|
|
|
|
|
|
|
|
|
|
|
|
|
|
|||||||||||||||||||||||||||||||||||||||||||
|
89 |
Бурятская АССР |
- |
- |
- |
- |
- |
- |
- |
- |
- |
- |
- |
-20 |
-20 |
-20 |
-20 |
-20 |
-20 |
|||||||||||||||||||||||||||||||||||||||||||
|
90 |
Иркутская обл. (южнее 60-й параллели) |
- |
- |
- |
- |
- |
- |
- |
- |
- |
- |
- |
+10 |
+10 |
+10 |
+10 |
+10 |
+10 |
|||||||||||||||||||||||||||||||||||||||||||
|
91 |
Читинская обл. |
- |
- |
- |
- |
- |
- |
- |
- |
- |
- |
- |
- |
- |
- |
- |
- |
- |
|||||||||||||||||||||||||||||||||||||||||||
|
|
10-й территориальный район |
|
|
|
|
|
|
|
|
|
|
|
|
|
|
|
|
|
|||||||||||||||||||||||||||||||||||||||||||
|
92 |
Приморский край |
- |
- |
- |
- |
- |
- |
- |
- |
- |
- |
- |
+10 |
+10 |
+10 |
+10 |
+10 |
+10 |
|||||||||||||||||||||||||||||||||||||||||||
|
93 |
Хабаровский край (южнее 55-й параллели) |
- |
- |
- |
- |
- |
- |
- |
- |
- |
- |
- |
+10 |
+10 |
+10 |
+10 |
+10 |
+10 |
|||||||||||||||||||||||||||||||||||||||||||
|
94 |
Амурская обл. |
- |
- |
- |
- |
- |
- |
- |
- |
- |
- |
- |
- |
- |
- |
- |
- |
- |
|
|
|
|
|
|
|
|
|
|
|
|
|
|
|
|
|
|
|
|
|
|
|
|
|||||||||||||||||||
|
|
11-й территориальный район |
|
|
|
|
|
|
|
|
|
|
|
|
|
|
|
|
|
|
|
|
|
|
|
|
|
|
|
|
|
|
|
|
|
|
|
|
|
|
|
|
|
|||||||||||||||||||
|
95 |
Мангышлакокая область |
- |
- |
- |
- |
- |
- |
- |
- |
- |
- |
- |
- |
- |
- |
- |
- |
- |
|
|
|
|
|
|
|
|
|
|
|
|
|
|
|
|
|
|
|
|
|
|
|
|
|||||||||||||||||||
|
96 |
Актюбинская обл. |
- |
- |
- |
- |
- |
- |
- |
- |
- |
- |
- |
+20 |
+20 |
+20 |
+20 |
+20 |
+20 |
|
|
|
|
|
|
|
|
|
|
|
|
|
|
|
|
|
|
|
|
|
|
|
|
|||||||||||||||||||
|
97 |
Джамбулская обл. |
-70 |
-110 |
-150 |
-180 |
-330 |
-120 |
-160 |
-190 |
-340 |
-440 |
-530 |
-290 |
-360 |
-420 |
-500 |
-590 |
-450 |
|
|
|
|
|
|
|
|
|
|
|
|
|
|
|
|
|
|
|
|
|
|
|
|
|||||||||||||||||||
|
98 |
Кзыл-Ординская область |
+90 |
+170 |
+240 |
+280 |
+530 |
+190 |
+250 |
+310 |
+550 |
+700 |
+860 |
+500 |
+600 |
+700 |
+830 |
+970 |
+750 |
|
|
|
|
|
|
|
|
|
|
|
|
|
|
|
|
|
|
|
|
|
|
|
|
|||||||||||||||||||
|
99 |
Уральская обл. |
+40 |
+80 |
+110 |
+130 |
+240 |
+90 |
+110 |
+140 |
+250 |
+320 |
+390 |
+230 |
+280 |
+320 |
+380 |
+450 |
+350 |
|
|
|
|
|
|
|
|
|
|
|
|
|
|
|
|
|
|
|
|
|
|
|
|
|||||||||||||||||||
|
100 |
Гурьевская обл. |
+80 |
+50 |
+80 |
+90 |
+180 |
+60 |
+80 |
+100 |
+190 |
+250 |
+300 |
+160 |
+200 |
+240 |
+290 |
+340 |
+270 |
|
|
|
|
|
|
|
|
|
|
|
|
|
|
|
|
|
|
|
|
|
|
|
|
|||||||||||||||||||
|
101 |
Чимкентская обл. |
-10 |
-20 |
-20 |
-30 |
-50 |
-20 |
-20 |
-30 |
-50 |
-60 |
-80 |
-10 |
-10 |
-10 |
-20 |
-30 |
-10 |
|
|
|
|
|
|
|
|
|
|
|
|
|
|
|
|
|
|
|
|
|
|
|
|
|||||||||||||||||||
|
102 |
Алма-Атинская область |
- |
- |
- |
- |
- |
- |
- |
- |
- |
- |
- |
+10 |
+10 |
+10 |
+10 |
+10 |
+10 |
|
|
|
|
|
|
|
|
|
|
|
|
|
|
|
|
|
|
|
|
|
|
|
|
|||||||||||||||||||
|
103 |
Джезказганская область |
- |
- |
- |
- |
- |
- |
- |
- |
- |
- |
- |
+10 |
+10 |
+10 |
+10 |
+10 |
+10 |
|
|
|
|
|
|
|
|
|
|
|
|
|
|
|
|
|
|
|
|
|
|
|
|
|||||||||||||||||||
|
104 |
Талды-Курганская область |
+40 |
+70 |
+100 |
+120 |
+230 |
+80 |
+110 |
+140 |
+240 |
+310 |
+380 |
+220 |
+270 |
+310 |
+370 |
+130 |
+330 |
|
|
|
|
|
|
|
|
|
|
|
|
|
|
|
|
|
|
|
|
|
|
|
|
|||||||||||||||||||
|
105 |
Восточно-Казахстанская обл. |
-50 |
-90 |
-130 |
-160 |
-290 |
-100 |
-140 |
-170 |
-310 |
-390 |
-480 |
-260 |
-320 |
-380 |
-450 |
-530 |
-400 |
|
|
|
|
|
|
|
|
|
|
|
|
|
|
|
|
|
|
|
|
|
|
|
|
|||||||||||||||||||
|
106 |
Карагандинская область |
- |
- |
- |
- |
- |
- |
- |
- |
- |
- |
- |
+10 |
+10 |
+10 |
+10 |
+10 |
+10 |
|
|
|
|
|
|
|
|
|
|
|
|
|
|
|
|
|
|
|
|
|
|
|
|
|||||||||||||||||||
|
107 |
Кокчетавская обл. |
+40 |
+70 |
+100 |
+120 |
+220 |
+80 |
+100 |
+130 |
+230 |
+300 |
+360 |
+200 |
+240 |
+280 |
+340 |
+400 |
+300 |
|
|
|
|
|
|
|
|
|
|
|
|
|
|
|
|
|
|
|
|
|
|
|
|
|||||||||||||||||||
|
108 |
Павлодарская и Северо-Казахстанская области |
- |
- |
- |
- |
- |
- |
- |
- |
- |
- |
- |
-10 |
-10 |
-10 |
-10 |
-10 |
-10 |
|
|
|
|
|
|
|
|
|
|
|
|
|
|
|
|
|
|
|
|
|
|
|
|
|||||||||||||||||||
|
109 |
Тургайская обл. |
+10 |
+20 |
+30 |
+30 |
+60 |
+20 |
+30 |
+40 |
+60 |
+80 |
+100 |
+50 |
+60 |
+70 |
+80 |
+100 |
+70 |
|
|
|
|
|
|
|
|
|
|
|
|
|
|
|
|
|
|
|
|
|
|
|
|
|||||||||||||||||||
|
110 |
Целиноградская область |
+50 |
+90 |
+120 |
+150 |
+270 |
+100 |
+130 |
+160 |
+280 |
+360 |
+440 |
+250 |
+300 |
+350 |
+420 |
+490 |
+380 |
|
|
|
|
|
|
|
|
|
|
|
|
|
|
|
|
|
|
|
|
|
|
|
|
|||||||||||||||||||
|
111 |
Кустанайская обл. |
- |
- |
- |
- |
- |
- |
- |
- |
- |
- |
- |
-20 |
-20 |
-20 |
-20 |
-20 |
-20 |
|
|
|
|
|
|
|
|
|
|
|
|
|
|
|
|
|
|
|
|
|
|
|
|
|||||||||||||||||||
|
112 |
Семипалатинская область |
-30 |
-60 |
-80 |
-100 |
-190 |
-60 |
-90 |
-110 |
-190 |
-250 |
-300 |
-170 |
-210 |
-240 |
-280 |
-350 |
-260 |
|
|
|
|
|
|
|
|
|
|
|
|
|
|
|
|
|
|
|
|
|
|
|
|
|||||||||||||||||||
|
|
12-й территориальный район |
|
|
|
|
|
|
|
|
|
|
|
|
|
|
|
|
|
|
|
|
|
|
|
|
|
|
|
|
|
|
|
|
|
|
|
|
|
|
|
|
|
|||||||||||||||||||
|
|
Узбекская ССР |
|
|
|
|
|
|
|
|
|
|
|
|
|
|
|
|
|
|
|
|
|
|
|
|
|
|
|
|
|
|
|
|
|
|
|
|
|
|
|
|
|
|||||||||||||||||||
|
113 |
Бухарская обл. |
+40 |
+80 |
+80 |
+90 |
+140 |
+90 |
+100 |
+120 |
+170 |
+230 |
+260 |
+140 |
+160 |
+180 |
+220 |
+260 |
+240 |
|
|
|
|
|
|
|
|
|
|
|
|
|
|
|
|
|
|
|
|
|
|
|
|
|||||||||||||||||||
|
114 |
Джиззкская обл. |
- |
- |
- |
- |
- |
- |
- |
- |
- |
- |
- |
+10 |
+10 |
+10 |
+10 |
+10 |
+10 |
|
|
|
|
|
|
|
|
|
|
|
|
|
|
|
|
|
|
|
|
|
|
|
|
|||||||||||||||||||
|
115 |
Кашкадарьияская область |
+110 |
+210 |
+280 |
+320 |
+580 |
+240 |
+300 |
+380 |
+620 |
+800 |
+960 |
+540 |
+640 |
+740 |
+890 |
+1030 |
+840 |
|
|
|
|
|
|
|
|
|
|
|
|
|
|
|
|
|
|
|
|
|
|
|
|
|||||||||||||||||||
|
116 |
Намангаяская обл. |
-10 |
-10 |
-10 |
-10 |
-10 |
-10 |
-10 |
-10 |
-10 |
-10 |
-10 |
-10 |
-10 |
-10 |
-10 |
-10 |
-10 |
|
|
|
|
|
|
|
|
|
|
|
|
|
|
|
|
|
|
|
|
|
|
|
|
|||||||||||||||||||
|
117 |
Самаркандская область |
-50 |
-100 |
-140 |
-170 |
-320 |
-110 |
-150 |
-180 |
-330 |
-420 |
-510 |
-290 |
-350 |
-410 |
-490 |
-570 |
-440 |
|
|
|
|
|
|
|
|
|
|
|
|
|
|
|
|
|
|
|
|
|
|
|
|
|||||||||||||||||||
|
118 |
Сырдарьинская область |
- |
- |
- |
- |
- |
- |
- |
- |
- |
- |
- |
- |
- |
- |
- |
- |
- |
|
|
|
|
|
|
|
|
|
|
|
|
|
|
|
|
|
|
|
|
|
|
|
|
|
|||||||||||||||||||
|
119 |
Сурхандарьинская область |
+110 |
+200 |
+270 |
+310 |
+560 |
+240 |
+300 |
+370 |
+610 |
+780 |
+940 |
+630 |
+630 |
+730 |
+880 |
+1020 |
+830 |
|
|
|
|
|
|
|
|
|
|
|
|
|
|
|
|
|
|
|
|
|
|
|
|
|
|||||||||||||||||||
|
120 |
Ташкентская обл. |
-20 |
-40 |
-50 |
-60 |
-20 |
-40 |
-60 |
-70 |
-130 |
-160 |
-200 |
-100 |
-130 |
-150 |
-180 |
-220 |
-160 |
|
|
|
|
|
|
|
|
|
|
|
|
|
|
|
|
|
|
|
|
|
|
|
|
|
|||||||||||||||||||
|
121 |
Ферганская обл. |
-70 |
-130 |
-180 |
-240 |
-410 |
-140 |
-190 |
-240 |
-420 |
-540 |
-660 |
-340 |
-420 |
-500 |
-600 |
-7110 |
-550 |
|
|
|
|
|
|
|
|
|
|
|
|
|
|
|
|
|
|
|
|
|
|
|
|
|
|||||||||||||||||||
|
122 |
Хорезмская обл. |
+90 |
+170 |
+210 |
+250 |
+440 |
+190 |
+240 |
+290 |
+470 |
+610 |
+730 |
+410 |
+480 |
+550 |
+670 |
+780 |
+650 |
|
|
|
|
|
|
|
|
|
|
|
|
|
|
|
|
|
|
|
|
|
|
|
|
|
|||||||||||||||||||
|
123 |
Каракалпакская АССР |
-10 |
-10 |
-10 |
-10 |
-10 |
-10 |
-10 |
-10 |
-10 |
-10 |
-10 |
+10 |
+10 |
+10 |
+10 |
+20 |
+20 |
|
|
|
|
|
|
|
|
|
|
|
|
|
|
|
|
|
|
|
|
|
|
|
|
|
|||||||||||||||||||
|
|
Киргизская ССР |
|
|
|
|
|
|
|
|
|
|
|
|
|
|
|
|
|
|
|
|
|
|
|
|
|
|
|
|
|
|
|
|
|
|
|
|
|
|
|
|
|
|
|||||||||||||||||||
|
124 |
Ошская область |
- |
- |
- |
- |
- |
- |
- |
- |
- |
+10 |
+10 |
+10 |
+10 |
+10 |
+10 |
+10 |
+10 |
|
|
|
|
|
|
|
|
|
|
|
|
|
|
|
|
|
|
|
|
|
|
|
|
|
|||||||||||||||||||
|
125 |
Другие районы |
- |
- |
- |
- |
- |
- |
- |
- |
- |
+10 |
+10 |
+10 |
+10 |
+20 |
+20 |
+20 |
+10 |
|
|
|
|
|
|
|
|
|
|
|
|
|
|
|
|
|
|
|
|
|
|
|
|
|
|||||||||||||||||||
|
|
Таджикская ССР |
|
|
|
|
|
|
|
|
|
|
|
|
|
|
|
|
|
|
|
|
|
|
|
|
|
|
|
|
|
|
|
|
|
|
|
|
|
|
|
|
|
|
|||||||||||||||||||
|
126 |
Кулябская и Ленинабадская области |
- |
- |
- |
- |
- |
- |
- |
- |
- |
+10 |
+10 |
+10 |
+10 |
+10 |
+10 |
+10 |
+10 |
|
|
|
|
|
|
|
|
|
|
|
|
|
|
|
|
|
|
|
|
|
|
|
|
|
|||||||||||||||||||
|
127 |
Курган-Тюбинская область |
-30 |
-50 |
-60 |
-60 |
-80 |
-70 |
-70 |
-90 |
-100 |
-140 |
-150 |
-80 |
+80 |
-80 |
-110 |
-130 |
-150 |
|
|
|
|
|
|
|
|
|
|
|
|
|
|
|
|
|
|
|
|
|
|
|
|
|
|||||||||||||||||||
|
128 |
Районы республиканского подчинения |
- |
- |
- |
- |
- |
- |
- |
- |
- |
+10 |
+10 |
+10 |
+10 |
+10 |
+10 |
+10 |
+10 |
|
|
|
|
|
|
|
|
|
|
|
|
|
|
|
|
|
|
|
|
|
|
|
|
|
|||||||||||||||||||
|
129 |
Горно-Бадахшанская автономная область |
- |
- |
- |
- |
- |
- |
- |
- |
- |
+120 |
+20 |
+20 |
+20 |
+120 |
+20 |
+20 |
+20 |
|
|
|
|
|
|
|
|
|
|
|
|
|
|
|
|
|
|
|
|
|
|
|
|
|
|||||||||||||||||||
|
130 |
Туркменская ССР |
- |
- |
- |
- |
- |
- |
- |
- |
- |
+10 |
+10 |
+10 |
+10 |
+10 |
+10 |
+10 |
+10 |
|
|
|
|
|
|
|
|
|
|
|
|
|
|
|
|
|
|
|
|
|
|
|
|
|
|||||||||||||||||||
|
№ п.п. |
Наименование территориальных районов, областей, краев и республик |
Номера цен |
|
||||||||||||||||||||||||||||||||||||||||||||||||||||||||||
|
21 |
22 |
23 |
24 |
25 |
26 |
27 |
28 |
29 |
30 |
31 |
32 |
33 |
34 |
35 |
36 |
37 |
|||||||||||||||||||||||||||||||||||||||||||||
|
|
1-й территориальный район РСФСР |
|
|
|
|
|
|
|
|
|
|
|
|
|
|
|
|
|
|||||||||||||||||||||||||||||||||||||||||||
|
1 |
Астраханская обл. |
+60 |
+60 |
+70 |
+90 |
+90 |
-10 |
-10 |
-10 |
-30 |
-30 |
-50 |
-60 |
+160 |
+200 |
+890 |
+1160 |
+440 |
|||||||||||||||||||||||||||||||||||||||||||
|
2 |
Брянская обл. |
+260 |
+320 |
+440 |
+540 |
+610 |
- |
- |
- |
- |
- |
- |
- |
+190 |
+230 |
+810 |
+980 |
+550 |
|||||||||||||||||||||||||||||||||||||||||||
|
3 |
Белгородская обл. |
- |
- |
- |
- |
- |
- |
- |
- |
- |
- |
- |
- |
+30 |
+40 |
+140 |
+180 |
+70 |
|||||||||||||||||||||||||||||||||||||||||||
|
4 |
Владимирская обл. |
+10 |
+10 |
+10 |
+10 |
+10 |
-10 |
-10 |
-10 |
-10 |
-10 |
-10 |
-10 |
-30 |
-40 |
-260 |
-340 |
-110 |
|||||||||||||||||||||||||||||||||||||||||||
|
5 |
Волгоградская обл. |
-270 |
-310 |
-420 |
-510 |
-560 |
+30 |
+40 |
+40 |
+60 |
+70 |
+90 |
+110 |
-110 |
-140 |
-630 |
-810 |
-420 |
|||||||||||||||||||||||||||||||||||||||||||
|
6 |
Воронежская обл. |
-30 |
-40 |
-50 |
-60 |
-70 |
- |
- |
- |
- |
- |
- |
- |
-50 |
-60 |
-260 |
-320 |
-140 |
|||||||||||||||||||||||||||||||||||||||||||
|
7 |
Вологодская обл. |
-210 |
-240 |
-320 |
-400 |
-440 |
+10 |
+20 |
+20 |
+40 |
+50 |
+60 |
+80 |
-160 |
-200 |
-860 |
-1100 |
-510 |
|||||||||||||||||||||||||||||||||||||||||||
|
8 |
Горьковская обл. |
+190 |
+190 |
+220 |
+270 |
+270 |
-50 |
-80 |
-80 |
-120 |
-140 |
-180 |
-220 |
-60 |
-60 |
-60 |
-10 |
-10 |
|||||||||||||||||||||||||||||||||||||||||||
|
9 |
Ивановская обл. |
+430 |
+490 |
+660 |
+810 |
+880 |
-20 |
-40 |
-40 |
-70 |
-80 |
-110 |
-140 |
+270 |
+340 |
+1480 |
+1880 |
+890 |
|||||||||||||||||||||||||||||||||||||||||||
|
10 |
Калининская обл. |
+510 |
+600 |
+820 |
+1010 |
+1120 |
-10 |
-10 |
-10 |
-30 |
-40 |
-60 |
-80 |
+400 |
+340 |
+2000 |
+2490 |
+1220 |
|||||||||||||||||||||||||||||||||||||||||||
|
11 |
Куйбышевская обд |
-100 |
-110 |
-140 |
-180 |
-190 |
+10 |
+20 |
+20 |
+40 |
+50 |
+70 |
+90 |
-100 |
-130 |
-620 |
-820 |
-320 |
|||||||||||||||||||||||||||||||||||||||||||
|
12 |
Курская обл. |
-180 |
-200 |
-310 |
-380 |
-430 |
+10 |
+10 |
+10 |
+10 |
+10 |
+10 |
+10 |
-90 |
-110 |
-380 |
-450 |
-290 |
|||||||||||||||||||||||||||||||||||||||||||
|
13 |
Кировская обл. |
+380 |
+430 |
+570 |
+710 |
+480 |
-20 |
-30 |
-30 |
-60 |
-80 |
-100 |
-130 |
+280 |
+340 |
+1400 |
+1760 |
+850 |
|||||||||||||||||||||||||||||||||||||||||||
|
14 |
Костромская обл. |
+40 |
+50 |
+70 |
+80 |
+90 |
+20 |
+10 |
+10 |
+10 |
+10 |
+10 |
+10 |
+120 |
+140 |
+560 |
+700 |
+290 |
|||||||||||||||||||||||||||||||||||||||||||
|
15 |
Калужская обл. |
-50 |
-50 |
-70 |
-80 |
-90 |
+20 |
+20 |
+20 |
+20 |
+20 |
+20 |
+20 |
- |
- |
+100 |
+120 |
+10 |
|||||||||||||||||||||||||||||||||||||||||||
|
16 |
Ленинградская область |
-260 |
-290 |
-380 |
-470 |
-510 |
+20 |
+40 |
+40 |
+70 |
+80 |
+110 |
+130 |
-160 |
-190 |
-920 |
-1200 |
-540 |
|||||||||||||||||||||||||||||||||||||||||||
|
17 |
г. Ленинград |
+20 |
+20 |
+20 |
+20 |
+20 |
-20 |
-20 |
-20 |
-20 |
-20 |
-20 |
-20 |
-170 |
-210 |
-900 |
-1130 |
-420 |
|||||||||||||||||||||||||||||||||||||||||||
|
18 |
Липецкая обл. |
-140 |
-150 |
-180 |
-220 |
-240 |
+40 |
+50 |
+50 |
+70 |
+80 |
+100 |
+120 |
+70 |
+80 |
+250 |
+270 |
+80 |
|||||||||||||||||||||||||||||||||||||||||||
|
19 |
Московская обл. |
+10 |
+10 |
+10 |
+10 |
+10 |
-20 |
-20 |
-20 |
-20 |
-20 |
-20 |
-20 |
-80 |
-100 |
-510 |
-660 |
-230 |
|||||||||||||||||||||||||||||||||||||||||||
|
20 |
Новгородская обл. |
-10 |
-10 |
-10 |
-10 |
-10 |
+20 |
+20 |
+10 |
+20 |
+10 |
+10 |
+10 |
+80 |
+100 |
+360 |
+440 |
+180 |
|||||||||||||||||||||||||||||||||||||||||||
|
21 |
Орловская обл. |
+470 |
+570 |
+790 |
+970 |
-1090 |
- |
- |
- |
- |
- |
- |
- |
+350 |
+420 |
+1610 |
+1960 |
+1040 |
|||||||||||||||||||||||||||||||||||||||||||
|
22 |
Пензенская обл. |
+350 |
+380 |
+480 |
+580 |
-620 |
-40 |
-70 |
-70 |
-120 |
-150 |
-190 |
-240 |
+240 |
+290 |
+1320 |
+1710 |
+750 |
|||||||||||||||||||||||||||||||||||||||||||
|
23 |
Псковская обл. |
-110 |
-120 |
-150 |
-180 |
-190 |
+10 |
+20 |
+20 |
+40 |
+50 |
+70 |
+90 |
-160 |
-200 |
-820 |
-1060 |
-440 |
|||||||||||||||||||||||||||||||||||||||||||
|
24 |
Рязанская обл. |
-40 |
-40 |
-60 |
-70 |
-80 |
- |
- |
- |
- |
- |
- |
- |
-130 |
-160 |
-580 |
-730 |
-320 |
|||||||||||||||||||||||||||||||||||||||||||
|
25 |
Саратовская обл. |
+290 |
+350 |
+480 |
+600 |
+670 |
+20 |
+20 |
+20 |
+20 |
+20 |
+20 |
+20 |
+320 |
+380 |
+1500 |
+1860 |
+890 |
|||||||||||||||||||||||||||||||||||||||||||
|
26 |
Смоленская обл. |
-150 |
-180 |
-240 |
-290 |
-320 |
+20 |
+20 |
+20 |
+20 |
+20 |
+20 |
+20 |
-30 |
-30 |
- |
+30 |
-90 |
|||||||||||||||||||||||||||||||||||||||||||
|
27 |
Тамбовская обл. |
+340 |
+390 |
+520 |
+650 |
+710 |
-10 |
-20 |
-20 |
-50 |
-60 |
-80 |
-100 |
+290 |
+360 |
+1460 |
+1840 |
+870 |
|||||||||||||||||||||||||||||||||||||||||||
|
28 |
Тульская обл. |
-110 |
-130 |
-190 |
-230 |
-260 |
-10 |
-10 |
-10 |
-10 |
-10 |
-10 |
-10 |
-110 |
-140 |
-610 |
-770 |
-340 |
|||||||||||||||||||||||||||||||||||||||||||
|
28 |
Ульяновская обл. |
+230 |
+260 |
+340 |
+420 |
+450 |
-20 |
-20 |
-20 |
-40 |
-60 |
-80 |
-100 |
+250 |
+310 |
+1300 |
+1660 |
+720 |
|||||||||||||||||||||||||||||||||||||||||||
|
30 |
Ярославская обл. |
-180 |
-220 |
-310 |
-390 |
-440 |
-20 |
-20 |
-20 |
-20 |
-20 |
-20 |
-20 |
-280 |
-340 |
-1320 |
-1630 |
-760 |
|||||||||||||||||||||||||||||||||||||||||||
|
31 |
Башкирская АССР |
-250 |
-280 |
-380 |
-470 |
-10 |
+10 |
+30 |
+30 |
+60 |
+80 |
+110 |
+140 |
-250 |
-300 |
-1390 |
-1790 |
-770 |
|||||||||||||||||||||||||||||||||||||||||||
|
32 |
Мордовская АССР |
+200 |
+200 |
+230 |
+280 |
+270 |
-40 |
-70 |
-70 |
-120 |
-150 |
-190 |
-240 |
+150 |
+190 |
+940 |
+1280 |
+480 |
|||||||||||||||||||||||||||||||||||||||||||
|
33 |
Марийская АССР |
+460 |
+530 |
+700 |
+870 |
+950 |
-30 |
-30 |
-30 |
-70 |
-90 |
-120 |
-160 |
+360 |
+440 |
+2010 |
+2570 |
+1150 |
|||||||||||||||||||||||||||||||||||||||||||
|
34 |
Татарская АССР |
+40 |
+50 |
+60 |
+80 |
+90 |
- |
- |
- |
- |
- |
- |
- |
+60 |
+80 |
+290 |
+370 |
160 |
|||||||||||||||||||||||||||||||||||||||||||
|
35 |
Чувашская АССР |
+310 |
+350 |
+460 |
+570 |
+620 |
-30 |
-40 |
-40 |
-60 |
-70 |
-90 |
-110 |
+80 |
+100 |
+490 |
+640 |
+350 |
|||||||||||||||||||||||||||||||||||||||||||
|
36 |
Брестская, Гомельская, Минская, Могилевская и Гродненская области |
+20 |
+20 |
+20 |
+20 |
+20 |
-10 |
-10 |
-10 |
-10 |
-10 |
-10 |
-10 |
-30 |
-40 |
-190 |
-240 |
-90 |
|||||||||||||||||||||||||||||||||||||||||||
|
37 |
Витебская обл. |
+10 |
+10 |
+10 |
+10 |
+10 |
- |
- |
- |
- |
- |
- |
- |
- |
- |
+10 |
+20 |
+10 |
|||||||||||||||||||||||||||||||||||||||||||
|
|
2-й территориальный район РСФСР |
|
|
|
|
|
|
|
|
|
|
|
|
|
|
|
|
|
|
|
||||||||||||||||||||||||||||||||||||||||||
|
38 |
Архангельская область (южнее Полярного круга) |
- |
- |
- |
- |
- |
-10 |
-10 |
-10 |
-10 |
-10 |
10 |
-10 |
-40 |
-40 |
-160 |
-210 |
-70 |
|
|
||||||||||||||||||||||||||||||||||||||||||
|
39 |
Мурманская обл. |
- |
- |
- |
- |
- |
- |
- |
- |
- |
- |
- |
- |
-30 |
-20 |
-100 |
-130 |
-50 |
|
|
||||||||||||||||||||||||||||||||||||||||||
|
40 |
Карельская АССР |
+140 |
+140 |
+180 |
+230 |
+230 |
-40 |
-80 |
-80 |
-140 |
-170 |
-220 |
-280 |
+60 |
+70 |
+160 |
+120 |
+20 |
|
|
||||||||||||||||||||||||||||||||||||||||||
|
41 |
Коми АССР (южнее Полярного круга) |
- |
- |
- |
- |
- |
- |
- |
- |
- |
- |
- |
- |
-50 |
-60 |
-220 |
-280 |
-100 |
|
|
||||||||||||||||||||||||||||||||||||||||||
|
|
3-й территориальный район |
|
|
|
|
|
|
|
|
|
|
|
|
|
|
|
|
|
|
|
||||||||||||||||||||||||||||||||||||||||||
|
42 |
Литовская ССР, Латвийская ССР, Эстонская ССР |
- |
- |
- |
- |
- |
- |
- |
- |
- |
- |
- |
- |
-10 |
-20 |
-110 |
-140 |
-50 |
|
|
||||||||||||||||||||||||||||||||||||||||||
|
42а |
Калининградская область |
- |
- |
- |
- |
- |
-10 |
-10 |
-10 |
-10 |
-10 |
-10 |
-10 |
+20 |
+20 |
+90 |
+120 |
+50 |
|
|
||||||||||||||||||||||||||||||||||||||||||
|
|
4-й территориальный район |
|
|
|
|
|
|
- |
|
|
|
|
|
|
|
|
|
|
|
|
||||||||||||||||||||||||||||||||||||||||||
|
|
Украинская ССР |
|
|
|
|
|
|
|
|
|
|
|
|
|
|
|
|
|
|
|
||||||||||||||||||||||||||||||||||||||||||
|
43 |
Волынская и Ворошилов-градская области |
- |
- |
- |
- |
- |
- |
- |
- |
- |
- |
- |
- |
-30 |
-30 |
-130 |
-170 |
-60 |
|
|
||||||||||||||||||||||||||||||||||||||||||
|
44 |
Днепропетровская область |
+10 |
+10 |
+10 |
+10 |
+10 |
-10 |
-10 |
-10 |
-10 |
-10 |
-10 |
-10 |
-50 |
-60 |
-250 |
-310 |
-120 |
|
|
||||||||||||||||||||||||||||||||||||||||||
|
45 |
Донецкая обл. |
- |
- |
- |
- |
- |
- |
- |
- |
- |
- |
- |
- |
-30 |
-30 |
-130 |
-170 |
-60 |
|
|
||||||||||||||||||||||||||||||||||||||||||
|
46 |
Житомирская обл. |
+10 |
+10 |
+10 |
+10 |
+10 |
-10 |
-10 |
-10 |
-10 |
-10 |
-10 |
-10 |
-40 |
-50 |
-240 |
-310 |
-110 |
|
|
||||||||||||||||||||||||||||||||||||||||||
|
47 |
Закарпатская обл. |
+10 |
+120 |
+30 |
+50 |
+60 |
+10 |
+20 |
+10 |
+10 |
+10 |
+10 |
+20 |
+90 |
+120 |
+490 |
+630 |
+250 |
|
|
||||||||||||||||||||||||||||||||||||||||||
|
48 |
Запорожская обл. |
+170 |
+210 |
+290 |
+360 |
+400 |
-10 |
-10 |
-10 |
-10 |
-10 |
-10 |
-10 |
-90 |
+110 |
+390 |
+470 |
+280 |
|
|
||||||||||||||||||||||||||||||||||||||||||
|
49 |
Ивано-Франковская обл. |
-130 |
-160 |
-210 |
-260 |
-290 |
+10 |
+10 |
+10 |
+10 |
+10 |
+10 |
+10 |
-60 |
-70 |
-260 |
-300 |
-190 |
|
|
||||||||||||||||||||||||||||||||||||||||||
|
50 |
Киевская обл. |
+10 |
+10 |
+10 |
+10 |
+10 |
-10 |
-10 |
-10 |
-10 |
-10 |
-10 |
-10 |
-50 |
-60 |
-250 |
-310 |
-120 |
|
|
||||||||||||||||||||||||||||||||||||||||||
|
51 |
Кировоградская область |
- |
- |
- |
- |
- |
- |
- |
- |
- |
- |
- |
- |
-20 |
-30 |
-130 |
-170 |
-60 |
|
|
||||||||||||||||||||||||||||||||||||||||||
|
62 |
Крымская обл. |
-100 |
-120 |
-160 |
-200 |
-220 |
- |
- |
- |
- |
- |
- |
- |
-60 |
-70 |
-270 |
-310 |
190 |
|
|
||||||||||||||||||||||||||||||||||||||||||
|
53 |
Львовская обл. |
-180 |
-210 |
-290 |
-360 |
-400 |
+10 |
+10 |
+10 |
+10 |
+10 |
+10 |
+10 |
-90 |
-110 |
-400 |
-480 |
-290 |
|
|
||||||||||||||||||||||||||||||||||||||||||
|
54 |
Николаевская обл. |
+110 |
+130 |
+190 |
+230 |
+260 |
+10 |
+10 |
+10 |
+10 |
+10 |
+10 |
+10 |
+90 |
+110 |
+470 |
+570 |
+280 |
|
|
||||||||||||||||||||||||||||||||||||||||||
|
55 |
Одесская обл. |
- |
- |
- |
- |
- |
+10 |
+10 |
+10 |
+10 |
+10 |
+10 |
+10 |
+20 |
+30 |
+140 |
+180 |
+70 |
|
|
||||||||||||||||||||||||||||||||||||||||||
|
56 |
Полтавская обл. |
-160 |
-190 |
-260 |
-1320 |
-360 |
- |
- |
- |
- |
- |
- |
- |
-100 |
-130 |
-480 |
-580 |
310 |
|
|
||||||||||||||||||||||||||||||||||||||||||
|
57 |
Ровенская обл. |
- |
- |
- |
- |
- |
- |
- |
- |
- |
- |
- |
- |
-10 |
-10 |
-10 |
-20 |
-10 |
|
|
||||||||||||||||||||||||||||||||||||||||||
|
58 |
Сумская и Харьковская области |
- |
- |
- |
- |
- |
- |
- |
- |
- |
- |
- |
- |
- |
- |
+20 |
+20 |
+10 |
|
||||||||||||||||||||||||||||||||||||||||||
|
59 |
Тернопольскаяобласть |
-10 |
-10 |
-10 |
-10 |
-10 |
+10 |
+10 |
+10 |
+10 |
+10 |
+10 |
+10 |
+10 |
+20 |
+100 |
+130 |
+40 |
|
||||||||||||||||||||||||||||||||||||||||||
|
60 |
Херсонская обл. |
+230 |
+280 |
+380 |
+480 |
+530 |
- |
- |
- |
- |
- |
- |
- |
+180 |
+220 |
+860 |
+1050 |
+540 |
|
||||||||||||||||||||||||||||||||||||||||||
|
61 |
Хмельницкая обл. |
+10 |
+10 |
+10 |
+10 |
+10 |
-10 |
-10 |
-10 |
-10 |
-10 |
-10 |
-10 |
-50 |
-60 |
-250 |
-310 |
-120 |
|
||||||||||||||||||||||||||||||||||||||||||
|
62 |
Черкасская обл. |
+10 |
+10 |
+10 |
+10 |
+10 |
-10 |
-10 |
-10 |
-10 |
-10 |
-10 |
-10 |
-40 |
-50 |
-240 |
-310 |
-110 |
|
||||||||||||||||||||||||||||||||||||||||||
|
63 |
Черниговская обл. |
-240 |
-290 |
-400 |
-490 |
-560 |
- |
- |
- |
- |
- |
- |
- |
-180 |
-230 |
-890 |
-1080 |
-560 |
|
||||||||||||||||||||||||||||||||||||||||||
|
64 |
Черновицкая обл. |
+210 |
+250 |
+340 |
+420 |
+480 |
-10 |
-10 |
-10 |
-10 |
-10 |
-10 |
-10 |
+170 |
+200 |
+810 |
+1000 |
+500 |
|
||||||||||||||||||||||||||||||||||||||||||
|
65 |
Молдавская ССР |
- |
- |
- |
- |
- |
-10 |
-10 |
-10 |
-10 |
-10 |
-10 |
-10 |
-40 |
-50 |
-240 |
-300 |
-110 |
|
||||||||||||||||||||||||||||||||||||||||||
|
|
5-й территориальный район РСФСР |
|
|
|
|
|
|
|
|
|
|
|
|
|
|
|
|
|
|
||||||||||||||||||||||||||||||||||||||||||
|
66 |
Дагестанская АССР |
+290 |
+330 |
+440 |
+540 |
+590 |
-10 |
-20 |
-20 |
-40 |
-50 |
-70 |
-100 |
+210 |
+250 |
+1210 |
+1570 |
+660 |
|
||||||||||||||||||||||||||||||||||||||||||
|
67 |
Кабардино-Балкарская АССР и Северо-Осетинская АССР |
-150 |
-180 |
-250 |
-310 |
-350 |
- |
- |
- |
- |
- |
- |
- |
-80 |
-90 |
-350 |
-430 |
-230 |
|
||||||||||||||||||||||||||||||||||||||||||
|
68 |
Калмыцкая АССР |
- |
- |
- |
- |
- |
- |
- |
- |
- |
- |
- |
- |
-20 |
-20 |
-100 |
-130 |
-50 |
|
||||||||||||||||||||||||||||||||||||||||||
|
69 |
Чечено-Ингушская АССР |
- |
- |
- |
- |
- |
+20 |
+20 |
+20 |
+20 |
+20 |
+20 |
+20 |
+50 |
+70 |
+350 |
+450 |
+160 |
|
||||||||||||||||||||||||||||||||||||||||||
|
70 |
Краснодарский край |
+10 |
+10 |
+10 |
+10 |
+10 |
-20 |
-20 |
-20 |
-20 |
-20 |
-20 |
-20 |
-60 |
-70 |
-360 |
-460 |
-170 |
|
||||||||||||||||||||||||||||||||||||||||||
|
71 |
Ставропольский край |
+130 |
+140 |
+180 |
+230 |
+240 |
-20 |
-30 |
-30 |
-50 |
-60 |
-70 |
-90 |
+50 |
+70 |
+350 |
+490 |
+200 |
|
||||||||||||||||||||||||||||||||||||||||||
|
72 |
Ростовская обл. |
-50 |
-60 |
-90 |
-110 |
-130 |
- |
- |
- |
- |
- |
- |
- |
-40 |
-40 |
-160 |
-220 |
-100 |
|
||||||||||||||||||||||||||||||||||||||||||
|
|
6-й территориальный район |
|
|
|
|
|
|
|
|
|
|
|
|
|
|
|
|
|
|
||||||||||||||||||||||||||||||||||||||||||
|
73 |
Армянская ССР |
-10 |
-10 |
-10 |
-10 |
-10 |
+10 |
+10 |
+10 |
+10 |
+10 |
+10 |
+10 |
+40 |
+50 |
+270 |
+340 |
+120 |
|
||||||||||||||||||||||||||||||||||||||||||
|
74 |
Азербайджанская ССР |
- |
- |
- |
- |
- |
- |
- |
- |
- |
- |
- |
- |
-10 |
-10 |
-30 |
-40 |
-20 |
|
||||||||||||||||||||||||||||||||||||||||||
|
75 |
Грузинская ССР |
+20 |
+20 |
+20 |
+20 |
+20 |
-20 |
-20 |
-20 |
-20 |
-20 |
-20 |
-20 |
-70 |
-80 |
-380 |
-480 |
-190 |
|
||||||||||||||||||||||||||||||||||||||||||
|
|
7-й территориальный район РСФСР |
|
|
|
|
|
|
|
|
|
|
|
|
|
|
|
|
|
|
||||||||||||||||||||||||||||||||||||||||||
|
76 |
Пермская обл. |
+10 |
+10 |
+10 |
+10 |
+10 |
-20 |
-20 |
-20 |
-20 |
-20 |
-20 |
-20 |
-30 |
-40 |
-240 |
-300 |
-100 |
|
||||||||||||||||||||||||||||||||||||||||||
|
77 |
Свердловская обл. |
- |
- |
- |
- |
- |
-10 |
-10 |
-10 |
-10 |
-10 |
-10 |
-20 |
-50 |
-60 |
-270 |
-340 |
-110 |
|
||||||||||||||||||||||||||||||||||||||||||
|
78 |
Удмуртская АССР |
-10 |
-10 |
-10 |
-10 |
-10 |
+20 |
+20 |
+20 |
+20 |
+20 |
+20 |
+20 |
+130 |
+160 |
+730 |
+930 |
+340 |
|
||||||||||||||||||||||||||||||||||||||||||
|
79 |
Курганская обл. |
+160 |
+160 |
+190 |
+230 |
+230 |
-20 |
-40 |
-40 |
-80 |
-100 |
-140 |
-170 |
+230 |
+280 |
+1120 |
+1440 |
+550 |
|
||||||||||||||||||||||||||||||||||||||||||
|
80 |
Оренбургская обл. |
- |
- |
- |
- |
- |
- |
- |
- |
- |
- |
- |
- |
+30 |
+30 |
+50 |
+40 |
+30 |
|
|
|
|
|
|
|
|
|
|
|
|
|
|
|
|
|
|
|
|
|
|
|
|
|
|
|
|
|
|
|
|
|
|
|
|
|
|
|
|
||||
|
81 |
Челябинская обл. |
+20 |
+20 |
+20 |
+20 |
+20 |
-20 |
-20 |
-20 |
-20 |
-20 |
-20 |
-20 |
-150 |
-180 |
-800 |
-1020 |
-330 |
|
|
|
|
|
|
|
|
|
|
|
|
|
|
|
|
|
|
|
|
|
|
|
|
|
|
|
|
|
|
|
|
|
|
|
|
|
|
|
|
||||
|
|
8-й территориальный район |
|
|
|
|
|
|
|
|
|
|
|
|
|
|
|
|
|
|
|
|
|
|
|
|
|
|
|
|
|
|
|
|
|
|
|
|
|
|
|
|
|
|
|
|
|
|
|
|
|
|
|
|
|
|
|
|
|
||||
|
82 |
Алтайский край |
+40 |
+50 |
+70 |
+90 |
+100 |
- |
- |
- |
- |
- |
- |
- |
+50 |
+60 |
+170 |
+210 |
+100 |
|
|
|
|
|
|
|
|
|
|
|
|
|
|
|
|
|
|
|
|
|
|
|
|
|
|
|
|
|
|
|
|
|
|
|
|
|
|
|
|
||||
|
83 |
Кемеровская обл. |
-60 |
-60 |
-70 |
-90 |
-90 |
- |
+10 |
+10 |
+30 |
+40 |
+50 |
+60 |
-130 |
-160 |
-720 |
-930 |
-320 |
|
|
|
|
|
|
|
|
|
|
|
|
|
|
|
|
|
|
|
|
|
|
|
|
|
|
|
|
|
|
|
|
|
|
|
|
|
|
|
|
||||
|
84 |
Омская обл. |
- |
- |
- |
- |
- |
- |
- |
- |
- |
- |
- |
- |
-30 |
-40 |
-160 |
-190 |
-70 |
|
|
|
|
|
|
|
|
|
|
|
|
|
|
|
|
|
|
|
|
|
|
|
|
|
|
|
|
|
|
|
|
|
|
|
|
|
|
|
|
||||
|
85 |
Томская обл. (южнее 60-й параллели) |
- |
- |
- |
- |
- |
+10 |
+10 |
+10 |
+10 |
+10 |
+10 |
+10 |
+80 |
+100 |
+450 |
+580 |
+180 |
|
|
|
|
|
|
|
|
|
|
|
|
|
|
|
|
|
|
|
|
|
|
|
|
|
|
|
|
|
|
|
|
|
|
|
|
|
|
|
|
||||
|
86 |
Тюменская обл. (южнее 60-й параллели) |
-80 |
-80 |
-80 |
-90 |
-90 |
+70 |
+70 |
+70 |
+70 |
+70 |
+70 |
+70 |
+790 |
+950 |
+3450 |
+4270 |
+1510 |
|
|
|
|
|
|
|
|
|
|
|
|
|
|
|
|
|
|
|
|
|
|
|
|
|
|
|
|
|
|
|
|
|
|
|
|
|
|
|
|
||||
|
87 |
Красноярский край (южнее 60-й параллели без Тувинской АССР) |
- |
- |
- |
- |
- |
- |
- |
- |
- |
- |
- |
- |
-30 |
-40 |
-140 |
-180 |
-60 |
|
|
|
|
|
|
|
|
|
|
|
|
|
|
|
|
|
|
|
|
|
|
|
|
|
|
|
|
|
|
|
|
|
|
|
|
|
|
|
|
||||
|
88 |
Тувинская АССР |
-130 |
-130 |
-140 |
-140 |
-140 |
+120 |
+120 |
+120 |
+120 |
+120 |
+120 |
+120 |
+1320 |
+1590 |
+5960 |
+7410 |
+2580 |
|
|
|
|
|
|
|
|
|
|
|
|
|
|
|
|
|
|
|
|
|
|
|
|
|
|
|
|
|
|
|
|
|
|
|
|
|
|
|
|
||||
|
|
9-й территориальный район |
|
|
|
|
|
|
|
|
|
|
|
|
|
|
|
|
|
|
|
|
|
|
|
|
|
|
|
|
|
|
|
|
|
|
|
|
|
|
|
|
|
|
|
|
|
|
|
|
|
|
|
|
|
|
|
|
|
||||
|
89 |
Бурятская АССР |
-30 |
-30 |
-30 |
-30 |
-30 |
+30 |
+30 |
+30 |
+30 |
+30 |
+30 |
+30 |
+210 |
+260 |
+1060 |
+1330 |
+440 |
|
|
|
|
|
|
|
|
|
|
|
|
|
|
|
|
|
|
|
|
|
|
|
|
|
|
|
|
|
|
|
|
|
|
|
|
|
|
|
|
||||
|
90 |
Иркутская обл. (южнее 60-й параллели) |
+10 |
+10 |
+10 |
+10 |
+10 |
-10 |
-10 |
-10 |
-10 |
-10 |
-10 |
-10 |
-40 |
-50 |
-240 |
-310 |
-90 |
|
|
|
|
|
|
|
|
|
|
|
|
|
|
|
|
|
|
|
|
|
|
|
|
|
|
|
|
|
|
|
|
|
|
|
|
|
|
|
|
||||
|
91 |
Читинская обл. |
- |
- |
- |
- |
- |
- |
- |
- |
- |
- |
- |
- |
-50 |
-70 |
-250 |
-310 |
-110 |
|
|
|
|
|
|
|
|
|
|
|
|
|
|
|
|
|
|
|
|
|
|
|
|
|
|
|
|
|
|
|
|
|
|
|
|
|
|
|
|
||||
|
|
10-й территориальный район |
|
|
|
|
|
|
|
|
|
|
|
|
|
|
|
|
|
|
|
|
|
|
|
|
|
|
|
|
|
|
|
|
|
|
|
|
|
|
|
|
|
|
|
|
|
|
|
|
|
|
|
|
|
|
|
|
|
||||
|
92 |
Приморский край |
+10 |
+10 |
+10 |
+20 |
+20 |
-30 |
-30 |
-30 |
-30 |
-30 |
-30 |
-30 |
-90 |
-100 |
-430 |
-520 |
-200 |
|
|
|
|
|
|
|
|
|
|
|
|
|
|
|
|
|
|
|
|
|
|
|
|
|
|
|
|
|
|
|
|
|
|
|
|
|
|
|
|
||||
|
93 |
Хабаровский край (южнее 55-й параллели) |
+10 |
+10 |
+10 |
+10 |
+10 |
+10 |
+10 |
+10 |
+10 |
+10 |
+10 |
+10 |
-10 |
- |
+260 |
+360 |
+70 |
|
|
|
|
|
|
|
|
|
|
|
|
|
|
|
|
|
|
|
|
|
|
|
|
|
|
|
|
|
|
|
|
|
|
|
|
|
|
|
|
||||
|
94 |
Амурская обл. |
- |
- |
- |
- |
- |
- |
- |
- |
- |
- |
- |
- |
-50 |
-70 |
-250 |
-310 |
-110 |
|
|
|
|
|
|
|
|
|
|
|
|
|
|
|
|
|
|
|
|
|
|
|
|
|
|
|
|
|
|
|
|
|
|
|
|
|
|
|
|
||||
|
|
11-й территориальный район |
|
|
|
|
|
|
|
|
|
|
|
|
|
|
|
|
|
|
|
|
|
|
|
|
|
|
|
|
|
|
|
|
|
|
|
|
|
|
|
|
|
|
|
|
|
|
|
|
|
|
|
|
|
|
|
|
|
||||
|
|
Казахская ССР |
|
|
|
|
|
|
|
|
|
|
|
|
|
|
|
|
|
|
|
|
|
|
|
|
|
|
|
|
|
|
|
|
|
|
|
|
|
|
|
|
|
|
|
|
|
|
|
|
|
|
|
|
|
|
|
|
|
||||
|
95 |
Мангышлакская область |
- |
- |
- |
- |
- |
- |
- |
- |
- |
- |
- |
- |
-40 |
-50 |
-190 |
-240 |
-90 |
|
|
|
|
|
|
|
|
|
|
|
|
|
|
|
|
|
|
|
|
|
|
|
|
|
|
|
|
|
|
|
|
|
|
|
|
|
|
|
|
||||
|
96 |
Актюбинская обл. |
+20 |
+20 |
+20 |
+20 |
+20 |
-10 |
-10 |
-10 |
-10 |
-10 |
-10 |
-10 |
-40 |
-60 |
-320 |
-420 |
-140 |
|
|
|
|
|
|
|
|
|
|
|
|
|
|
|
|
|
|
|
|
|
|
|
|
|
|
|
|
|
|
|
|
|
|
|
|
|
|
|
|
||||
|
97 |
Джамбулская обл. |
-300 |
-360 |
-500 |
-620 |
-700 |
- |
- |
- |
- |
- |
- |
- |
-210 |
-250 |
-990 |
-1200 |
-650 |
|
|
|
|
|
|
|
|
|
|
|
|
|
|
|
|
|
|
|
|
|
|
|
|
|
|
|
|
|
|
|
|
|
|
|
|
|
|
|
|
||||
|
98 |
Кзыл-Ординская область |
+510 |
+620 |
+840 |
+1030 |
+1160 |
-10 |
-10 |
-10 |
-10 |
-10 |
-10 |
-10 |
+300 |
+360 |
+1270 |
+1520 |
+900 |
|
|
|
|
|
|
|
|
|
|
|
|
|
|
|
|
|
|
|
|
|
|
|
|
|
|
|
|
|
|
|
|
|
|
|
|
|
|
|
|
||||
|
99 |
Уральская обл. |
+240 |
+280 |
+390 |
+480 |
+530 |
- |
- |
- |
- |
- |
- |
- |
+160 |
+190 |
+690 |
+830 |
+460 |
|
|
|
|
|
|
|
|
|
|
|
|
|
|
|
|
|
|
|
|
|
|
|
|
|
|
|
|
|
|
|
|
|
|
|
|
|
|
|
|
||||
|
100 |
Гурьевская обл. |
+170 |
+210 |
+290 |
+360 |
+410 |
+20 |
+20 |
+20 |
+20 |
+20 |
+20 |
+20 |
+540 |
+660 |
+2690 |
+3400 |
+1420 |
|
|
|
|
|
|
|
|
|
|
|
|
|
|
|
|
|
|
|
|
|
|
|
|
|
|
|
|
|
|
|
|
|
|
|
|
|
|
|
|
||||
|
101 |
Чимкентская обл. |
+20 |
+20 |
+20 |
+20 |
+30 |
-60 |
-60 |
-60 |
-60 |
-60 |
-60 |
-60 |
-150 |
-180 |
-750 |
-890 |
-360 |
|
|
|
|
|
|
|
|
|
|
|
|
|
|
|
|
|
|
|
|
|
|
|
|
|
|
|
|
|
|
|
|
|
|
|
|
|
|
|
|
||||
|
102 |
Алма-Атинская область |
+10 |
+10 |
+10 |
+10 |
+10 |
-20 |
-20 |
-20 |
-20 |
-20 |
-20 |
-20 |
-100 |
-130 |
-540 |
-680 |
-260 |
|
|
|
|
|
|
|
|
|
|
|
|
|
|
|
|
|
|
|
|
|
|
|
|
|
|
|
|
|
|
|
|
|
|
|
|
|
|
|
|
||||
|
103 |
Джезказганская область |
+10 |
+10 |
+10 |
+10 |
+10 |
-10 |
-10 |
-10 |
-10 |
-10 |
-10 |
-10 |
-50 |
-60 |
-260 |
-330 |
-120 |
|
|
|
|
|
|
|
|
|
|
|
|
|
|
|
|
|
|
|
|
|
|
|
|
|
|
|
|
|
|
|
|
|
|
|
|
|
|
|
|
||||
|
104 |
Талды-Курганская область |
+230 |
+270 |
+370 |
+460 |
+510 |
-20 |
-20 |
-20 |
-20 |
-20 |
-20 |
-20 |
+20 |
+20 |
- |
-30 |
+120 |
|
|
|
|
|
|
|
|
|
|
|
|
|
|
|
|
|
|
|
|
|
|
|
|
|
|
|
|
|
|
|
|
|
|
|
|
|
|
|
|
||||
|
105 |
Восточно-Казахстанская область |
-270 |
-330 |
-450 |
-560 |
-630 |
-10 |
-10 |
-10 |
-10 |
-10 |
-10 |
-10 |
-340 |
-400 |
-1500 |
-1830 |
-770 |
|
|
|
|
|
|
|
|
|
|
|
|
|
|
|
|
|
|
|
|
|
|
|
|
|
|
|
|
|
|
|
|
|
|
|
|
|
|
|
|
||||
|
106 |
Карагандинская область |
+10 |
+10 |
+10 |
+10 |
+10 |
-10 |
-10 |
-10 |
-10 |
-10 |
-10 |
-10 |
-90 |
-110 |
-440 |
-560 |
-180 |
|
|
|
|
|
|
|
|
|
|
|
|
|
|
|
|
|
|
|
|
|
|
|
|
|
|
|
|
|
|
|
|
|
|
|
|
|
|
|
|
||||
|
107 |
Кокчетавская обл. |
+200 |
+240 |
+340 |
+420 |
+470 |
+10 |
+10 |
+10 |
+10 |
+10 |
+10 |
+10 |
+200 |
+250 |
+970 |
+1180 |
+500 |
|
|
|
|
|
|
|
|
|
|
|
|
|
|
|
|
|
|
|
|
|
|
|
|
|
|
|
|
|
|
|
|
|
|
|
|
|
|
|
|
||||
|
108 |
Павлодарская и Северо-Казахстанская области |
-10 |
-10 |
-10 |
-10 |
-10 |
+10 |
+10 |
+10 |
+10 |
+10 |
+10 |
+10 |
+20 |
+30 |
+170 |
+220 |
+60 |
|
|
|
|
|
|
|
|
|
|
|
|
|
|
|
|
|
|
|
|
|
|
|
|
|
|
|
|
|
|
|
|
|
|
|
|
|
|
|
|
||||
|
109 |
Тургайская обл. |
+50 |
+60 |
+80 |
+100 |
+120 |
+10 |
+10 |
+10 |
+10 |
+10 |
+10 |
+10 |
+80 |
+100 |
+440 |
+570 |
+210 |
|
|
|
|
|
|
|
|
|
|
|
|
|
|
|
|
|
|
|
|
|
|
|
|
|
|
|
|
|
|
|
|
|
|
|
|
|
|
|
|
||||
|
110 |
Целиноградская область |
+250 |
+310 |
+420 |
+520 |
+580 |
-10 |
-10 |
-10 |
-10 |
-10 |
-10 |
-10 |
+180 |
+210 |
+740 |
+880 |
+430 |
|
|
|
|
|
|
|
|
|
|
|
|
|
|
|
|
|
|
|
|
|
|
|
|
|
|
|
|
|
|
|
|
|
|
|
|
|
|
|
|
||||
|
111 |
Кустанайская обл. |
-20 |
-20 |
-20 |
-20 |
-20 |
- |
- |
- |
- |
- |
- |
- |
+80 |
+100 |
+380 |
+490 |
+170 |
|
|
|
|
|
|
|
|
|
|
|
|
|
|
|
|
|
|
|
|
|
|
|
|
|
|
|
|
|
|
|
|
|
|
|
|
|
|
|
|
||||
|
112 |
Семипалатинская область |
-180 |
-210 |
-290 |
-360 |
-400 |
-30 |
-30 |
-30 |
-30 |
-30 |
-30 |
-30 |
-320 |
-380 |
-1490 |
-1830 |
-700 |
|
|
|
|
|
|
|
|
|
|
|
|
|
|
|
|
|
|
|
|
|
|
|
|
|
|
|
|
|
|
|
|
|
|
|
|
|
|
|
|
||||
|
|
12-й территориальный район |
|
|
|
|
|
|
|
|
|
|
|
|
|
|
|
|
|
|
|
|
|
|
|
|
|
|
|
|
|
|
|
|
|
|
|
|
|
|
|
|
|
|
|
|
|
|
|
|
|
|
|
|
|
|
|
|
|
||||
|
|
Узбекская ССР |
|
|
|
|
|
|
|
|
|
|
|
|
|
|
|
|
|
|
|
|
|
|
|
|
|
|
|
|
|
|
|
|
|
|
|
|
|
|
|
|
|
|
|
|
|
|
|
|
|
|
|
|
|
|
|
|
|
||||
|
113 |
Бухарская обл. |
+170 |
+190 |
+240 |
+290 |
+310 |
-10 |
-20 |
-20 |
-40 |
-60 |
-70 |
-100 |
+120 |
+150 |
+740 |
+980 |
+400 |
|
|
|
|
|
|
|
|
|
|
|
|
|
|
|
|
|
|
|
|
|
|
|
|
|
|
|
|
|
|
|
|
|
|
|
|
|
|
|
|
||||
|
114 |
Джизакская обл. |
+10 |
+10 |
+10 |
+10 |
+10 |
- |
- |
- |
- |
- |
- |
- |
-30 |
-40 |
-200 |
-260 |
-90 |
|
|
|
|
|
|
|
|
|
|
|
|
|
|
|
|
|
|
|
|
|
|
|
|
|
|
|
|
|
|
|
|
|
|
|
|
|
|
|
|
||||
|
115 |
Кашкадарьинская область |
+570 |
+670 |
+910 |
+1120 |
+1240 |
-10 |
-20 |
-20 |
-40 |
-60 |
-80 |
-100 |
+340 |
+400 |
+1760 |
+2240 |
+1060 |
|
|
|
|
|
|
|
|
|
|
|
|
|
|
|
|
|
|
|
|
|
|
|
|
|
|
|
|
|
|
|
|
|
|
|
|
|
|
|
|
||||
|
116 |
Наманганская обл. |
- |
- |
- |
- |
- |
+10 |
+10 |
+10 |
+10 |
+10 |
+10 |
+10 |
- |
- |
-20 |
-30 |
-10 |
|
|
|
|
|
|
|
|
|
|
|
|
|
|
|
|
|
|
|
|
|
|
|
|
|
|
|
|
|
|
|
|
|
|
|
|
|
|
|
|
||||
|
117 |
Самаркандская область |
-290 |
-350 |
-490 |
-600 |
-680 |
- |
- |
- |
- |
- |
- |
- |
-150 |
-170 |
-730 |
-910 |
-460 |
|
|
|
|
|
|
|
|
|
|
|
|
|
|
|
|
|
|
|
|
|
|
|
|
|
|
|
|
|
|
|
|
|
|
|
|
|
|
|
|
||||
|
118 |
Сырдарьинская область |
- |
- |
- |
- |
- |
+20 |
+20 |
+20 |
+20 |
+20 |
+20 |
+20 |
+60 |
+70 |
+330 |
+410 |
+160 |
|
|
|
|
|
|
|
|
|
|
|
|
|
|
|
|
|
|
|
|
|
|
|
|
|
|
|
|
|
|
|
|
|
|
|
|
|
|
|
|
||||
|
119 |
Сурхандарьинская область |
+570 |
+670 |
+900 |
+1100 |
+1220 |
-30 |
-30 |
-30 |
-60 |
-70 |
-100 |
-120 |
+240 |
+280 |
+1190 |
+1510 |
+780 |
|
|
|
|
|
|
|
|
|
|
|
|
|
|
|
|
|
|
|
|
|
|
|
|
|
|
|
|
|
|
|
|
|
|
|
|
|
|
|
|
||||
|
120 |
Ташкентская обл. |
-100 |
-120 |
-180 |
-220 |
-250 |
-10 |
-10 |
-10 |
-10 |
-10 |
-10 |
-10 |
-120 |
-140 |
-690 |
-870 |
-360 |
|
|
|
|
|
|
|
|
|
|
|
|
|
|
|
|
|
|
|
|
|
|
|
|
|
|
|
|
|
|
|
|
|
|
|
|
|
|
|
|
||||
|
121 |
Ферганская обл. |
-340 |
-420 |
-600 |
-740 |
-840 |
-30 |
-30 |
-30 |
-30 |
-30 |
-30 |
-30 |
-360 |
-430 |
-1940 |
-2430 |
-1070 |
|
|
|
|
|
|
|
|
|
|
|
|
|
|
|
|
|
|
|
|
|
|
|
|
|
|
|
|
|
|
|
|
|
|
|
|
|
|
|
|
||||
|
122 |
Хорезмская обл. |
+440 |
+520 |
+690 |
+850 |
+940 |
-10 |
-20 |
-20 |
-40 |
-60 |
-70 |
-100 |
+270 |
+320 |
+1420 |
+1820 |
+840 |
|
|
|
|
|
|
|
|
|
|
|
|
|
|
|
|
|
|
|
|
|
|
|
|
|
|
|
|
|
|
|
|
|
|
|
|
|
|
|
|
||||
|
123 |
Каракалпакская АССР |
+10 |
+10 |
+10 |
+10 |
+10 |
+10 |
+10 |
+10 |
+10 |
+10 |
+10 |
+10 |
-20 |
-10 |
+400 |
+600 |
+800 |
|
|
|
|
|
|
|
|
|
|
|
|
|
|
|
|
|
|
|
|
|
|
|
|
|
|
|
|
|
|
|
|
|
|
|
|
|
|
|
|
||||
|
|
Киргизская ССР |
|
|
|
|
|
|
|
|
|
|
|
|
|
|
|
|
|
|
|
|
|
|
|
|
|
|
|
|
|
|
|
|
|
|
|
|
|
|
|
|
|
|
|
|
|
|
|
|
|
|
|
|
|
|
|
|
|
||||
|
124 |
Ошская обл. |
+10 |
+10 |
+10 |
+10 |
+10 |
-20 |
-20 |
-20 |
-20 |
-20 |
-20 |
-20 |
-90 |
-110 |
-550 |
-700 |
-350 |
|
|
|
|
|
|
|
|
|
|
|
|
|
|
|
|
|
|
|
|
|
|
|
|
|
|
|
|
|
|
|
|
|
|
|
|
|
|
|
|
||||
|
125 |
Другие районы |
+20 |
+20 |
+20 |
+20 |
+20 |
-30 |
-30 |
-30 |
-30 |
-30 |
-30 |
-30 |
-120 |
160 |
-750 |
-950 |
-350 |
|
|
|
|
|
|
|
|
|
|
|
|
|
|
|
|
|
|
|
|
|
|
|
|
|
|
|
|
|
|
|
|
|
|
|
|
|
|
|
|
||||
|
|
Таджикская ССР |
|
|
|
|
|
|
|
|
|
|
|
|
|
|
|
|
|
|
|
|
|
|
|
|
|
|
|
|
|
|
|
|
|
|
|
|
|
|
|
|
|
|
|
|
|
|
|
|
|
|
|
|
|
|
|
|
|
||||
|
126 |
Кулябская и Ленинабадская области |
+10 |
+10 |
+10 |
+10 |
+10 |
-10 |
-10 |
-10 |
-10 |
-10 |
-10 |
-10 |
-60 |
-70 |
-370 |
-470 |
-170 |
|
|
|
|
|
|
|
|
|
|
|
|
|
|
|
|
|
|
|
|
|
|
|
|
|
|
|
|
|
|
|
|
|
|
|
|
|
|
|
|
||||
|
127 |
Курган-Тюбинская область |
-100 |
-100 |
-120 |
-150 |
-150 |
+20 |
+40 |
-40 |
+60 |
+80 |
+100 |
+130 |
-80 |
-100 |
-550 |
-740 |
-280 |
|
|
|
|
|
|
|
|
|
|
|
|
|
|
|
|
|
|
|
|
|
|
|
|
|
|
|
|
|
|
|
|
|
|
|
|
|
|
|
|
||||
|
128 |
Районы республн-каиского подчинения |
+10 |
+10 |
+10 |
+10 |
+10 |
-10 |
-10 |
-10 |
-10 |
10 |
-10 |
-10 |
-60 |
-70 |
-370 |
-470 |
-170 |
|
|
|
|
|
|
|
|
|
|
|
|
|
|
|
|
|
|
|
|
|
|
|
|
|
|
|
|
|
|
|
|
|
|
|
|
|
|
|
|
||||
|
129 |
Горно-Бадахшанская автономная область |
+20 |
+20 |
+20 |
+20 |
+20 |
-10 |
-10 |
-10 |
-10 |
-,10 |
-10 |
-10 |
-60 |
-70 |
-370 |
-470 |
-170 |
|
|
|
|
|
|
|
|
|
|
|
|
|
|
|
|
|
|
|
|
|
|
|
|
|
|
|
|
|
|
|
|
|
|
|
|
|
|
|
|
||||
|
130 |
Туркменская ССР |
+10 |
+10 |
+10 |
+10 |
+10 |
+10 |
+10 |
+10 |
+10 |
+10 |
+10 |
+10 |
+60 |
+70 |
+380 |
+480 |
+170 |
|
|
|
|
|
|
|
|
|
|
|
|
|
|
|
|
|
|
|
|
|
|
|
|
|
|
|
|
|
|
|
|
|
|
|
|
|
|
|
|
||||
Примечания: 1. Настоящие поправки определены по объемам местных строительных материалов и сборных бетонных и железобетонных конструкций с учетом изменения конструктивных элементов зданий и сооружений в конкретных условиях отдельных областей, краев и республик.
2. Поправки со знаком «+» к прямым затратам цен Прейскуранта следует прибавлять, а со знаком «-» - вычитать.
Затраты на транспортирование излишнего грунта, учтенные в ценах Прейскуранта (в руб. на измеритель цен)
|
Номера цен |
Территориальные районы |
||||||||
|
1а - 1е, 7а, 11а - 11г |
1ж, 3б, 3в, 4а, 6б, 12а, 12в - 12д |
2а, 2в, 8в - 9, 10б, 10в |
2б, 7в, 0а |
2г |
3а |
3г, 4б, 5а, 6а, 6в, 12б |
5б, 12е |
7б, 7г, 8а, 8б, 11д, 11е |
|
|
3 - 6 |
17 |
14 |
20 |
20 |
25 |
12 |
17 |
20 |
17 |
|
7 - 10 |
19 |
16 |
32 |
22 |
27 |
13 |
19 |
22 |
19 |
|
11 - 13 |
29 |
24 |
34 |
34 |
43 |
20 |
29 |
34 |
29 |
|
14,15 |
16 |
13 |
18 |
18 |
23 |
11 |
16 |
18 |
16 |
|
16 |
17 |
11 |
19 |
19 |
24 |
11 |
17 |
19 |
17 |
|
17, 18 |
18 |
15 |
21 |
21 |
27 |
12 |
18 |
21 |
18 |
|
19, 20 |
44 |
37 |
51 |
51 |
64 |
30 |
44 |
61 |
44 |
|
21 - 25 |
29 |
24 |
34 |
34 |
42 |
19 |
29 |
34 |
29 |
|
33, 34 |
9 |
5 |
17 |
11 |
13 |
4 |
7 |
8 |
15 |
|
35 |
38 |
26 |
62 |
45 |
56 |
21 |
31 |
2 |
53 |
|
36 |
51 |
35 |
81 |
60 |
75 |
26 |
42 |
49 |
69 |
|
37 |
24 |
16 |
37 |
29 |
36 |
14 |
20 |
21 |
31 |
Ведомость стоимости оборудования, предусмотренного типовыми проектами, но не учтенного Прейскурантом
1 Стоимость оборудования определена в оптовых ценах, введенных в действие с 1 января 1982 г.
2. Стоимость производственного и хозяйственного инвентаря, инструмента и мебели определяется дополнительно в соответствии с утвержденными нормами затрат на приобретение инструмента, производственного и хозяйственного инвентаря и мебели для вновь возводимых зданий.
3. Монтаж оборудования, приведенного в настоящей ведомости, учтен Прейскурантом.
4. Показатели настоящей ведомости приведены в целом на объект, для которого разработаны цены Прейскуранта (количество - в шт. или компл.; стоимость - в руб.).
Продолжение прил. 11
|
№ п.п. |
Наименование оборудования |
Номера цен Прейскуранта |
||||||||
|
1 - 13 |
14 - 18 |
19, 20 |
21 - 25 |
|||||||
|
количество |
стоимость |
количество |
стоимость |
количество |
стоимость |
количество |
стоимость |
|||
|
|
Технологическое оборудование |
|
|
|
|
|
|
|
|
|
|
1 |
Задвижка 30ч906бр диаметром 200 мм |
- |
- |
- |
- |
- |
- |
1 |
98 |
|
|
2 |
Задвижка 30ч906брБ диаметром 200 мм |
- |
- |
- |
- |
1 |
132 |
- |
- |
|
|
|
Итого |
|
- |
|
- |
|
132 |
|
98 |
|
|
|
Электрооборудование |
|
|
|
|
|
|
|
|
|
|
3 |
Датчики уровня воды |
3 |
130 |
4 |
174 |
4 |
074 |
4 |
174 |
|
|
|
Шкафы автоматики размером, мм: |
|
|
|
|
|
|
|
|
|
|
4 |
1000´600 |
1 |
205 |
- |
- |
- |
- |
- |
- |
|
|
5 |
1400´800 |
- |
- |
1 |
310 |
1 |
310 |
1 |
310 |
|
|
6 |
Прочее оборудование |
- |
85 |
- |
40 |
- |
65 |
- |
68 |
|
|
|
|
Итого |
|
420 |
|
524 |
|
549 |
|
552 |
|
|
Всего |
|
420 |
|
524 |
|
681 |
|
650 |
|
|
№ п.п. |
Наименование оборудования |
Номера цен Прейскуранта |
|||||||||||||
|
26 |
27 |
28 |
29 |
30 |
31 |
32 |
|||||||||
|
количество |
стоимость |
количество |
стоимость |
количество |
стоимость |
количество |
стоимость |
количество |
стоимость |
количество |
стоимость |
количество |
стоимость |
||
|
1 |
Водонапорные башни системы Рожновского |
1 |
775 |
1 |
1097 |
1 |
1263 |
1 |
1621 |
1 |
1729 |
1 |
2249 |
1 |
2994 |
|
2 |
Реле давления РДК-3 |
2 |
25 |
2 |
25 |
2 |
25 |
2 |
25 |
2 |
25 |
2 |
25 |
2 |
25 |
|
|
Итого |
|
800 |
|
1122 |
|
1288 |
|
1646 |
|
1754 |
|
2274 |
|
|
Продолжение прил. 11
|
№ п.п. |
Наименование оборудования |
Номера цен Прейскуранта |
|
|||||||||||||||||||||||
|
33 |
34 |
36 |
|
|||||||||||||||||||||||
|
количество |
стоимость |
количество |
стоимость |
количество |
стоимость |
|
||||||||||||||||||||
|
|
Технологическое оборудование |
|
|
|
|
|
|
|
||||||||||||||||||
|
1 |
Воздухосборники |
1 |
670 |
1 |
670 |
2 |
1340 |
|
||||||||||||||||||
|
2 |
Вентили с электроприводом диаметром 500 мм типа 14С-917П |
1 |
1134 |
- |
- |
- |
- |
|
||||||||||||||||||
|
|
Диафрагмы дисковые типа ДКН-10 диаметром, мм: |
|
|
|
|
|
|
|
||||||||||||||||||
|
3 |
80 |
1 |
17 |
- |
- |
1 |
17 |
|
||||||||||||||||||
|
4 |
50 |
1 |
15 |
2 |
30 |
- |
- |
|
||||||||||||||||||
|
5 |
100 |
- |
- |
1 |
19 |
6 |
114 |
|
||||||||||||||||||
|
6 |
200 |
- |
- |
- |
- |
1 |
34 |
|
||||||||||||||||||
|
7 |
Дифманометры поплавковые типа ДП-781Р |
2 |
488 |
3 |
732 |
8 |
1952 |
|
||||||||||||||||||
|
8 |
Задвижни чугунные диаметром 100 мм |
- |
- |
1 |
123 |
- |
- |
|
||||||||||||||||||
|
9 |
Задвижки диаметром 200 мм с электроприводом |
- |
- |
- |
- |
1 |
185 |
|
||||||||||||||||||
|
10 |
Насосы центробежные типа 3К-9 |
2 |
216 |
12 |
216 |
- |
- |
|
||||||||||||||||||
|
11 |
То же, типа 8К-18 |
- |
- |
- |
- |
2 |
687 |
|
||||||||||||||||||
|
12 |
Смесители |
1 |
86 |
1 |
86 |
11 |
86 |
|
||||||||||||||||||
|
13 |
Установки бактерицидные типа OB-III |
3 |
3090 |
4 |
4120 |
- |
- |
|
||||||||||||||||||
|
14 |
То же, типа ОВ-3П-РКС |
- |
- |
- |
- |
2 |
5000 |
|
||||||||||||||||||
|
15 |
Установки стационарные компрессорные КХ-406 |
- |
- |
- |
- |
1 |
420 |
|
||||||||||||||||||
|
16 |
Установки передвижные компрессорные |
2 |
300 |
2 |
300 |
1 |
150 |
|
||||||||||||||||||
|
17 |
Фильтры напорные механические диаметром 1000 мм |
1 |
610 |
1 |
610 |
- |
- |
|
||||||||||||||||||
|
18 |
Фильтры осветительные |
- |
- |
- |
- |
3 |
3060 |
|||||||||||||||||||
|
19 |
Фильтры контактные |
- |
- |
- |
- |
3 |
3030 |
|||||||||||||||||||
|
|
Итого |
|
5626 |
|
6906 |
|
16075 |
|||||||||||||||||||
|
|
Электрооборудование |
|
|
|
|
|
|
|||||||||||||||||||
|
|
Выключатели автоматические трехполюсные типа: |
|
|
|
|
|
|
|||||||||||||||||||
|
20 |
АП50-ЗМТ |
2 |
13 |
3 |
20 |
12 |
13 |
|||||||||||||||||||
|
21 |
А-3163 |
1 |
6 |
1 |
6 |
- |
- |
|||||||||||||||||||
|
22 |
Датчики температуры типа ДТКМ-38 |
1 |
181 |
1 |
181 |
- |
- |
|||||||||||||||||||
|
23 |
Датчики липа ДМ-375 |
1 |
33 |
1 |
33 |
- |
- |
|||||||||||||||||||
|
24 |
Манометры типа ЭКМ |
1 |
8 |
1 |
8 |
- |
- |
|||||||||||||||||||
|
|
Пускатели магнитные типа: |
|
|
|
|
|
|
|||||||||||||||||||
|
25 |
ПМЕ-222 |
1 |
9 |
1 |
9 |
- |
- |
|||||||||||||||||||
|
26 |
ПМЕ-122 |
1 |
6 |
1 |
6 |
- |
- |
|||||||||||||||||||
|
27 |
ПМЕ-111 |
1 |
3 |
1 |
3 |
- |
- |
|||||||||||||||||||
|
28 |
ПМЕ-211 |
1 |
6 |
1 |
6 |
- |
- |
|||||||||||||||||||
|
29 |
ПМЕ-113 |
- |
- |
1 |
7 |
1 |
7 |
|||||||||||||||||||
|
30 |
ПА-422 |
- |
- |
- |
- |
2 |
32 |
|||||||||||||||||||
|
31 |
Переключатели универсальные типа УП-5311-С29 |
2 |
4 |
1 |
2 |
- |
- |
|||||||||||||||||||
|
32 |
То же, типа УП-5311-A |
1 |
2 |
1 |
2 |
- |
- |
|||||||||||||||||||
|
38 |
Реле времени типа РВП-2 |
1 |
26 |
1 |
26 |
- |
- |
|||||||||||||||||||
|
34 |
Реле промежуточное типа ПЭ-6 |
2 |
10 |
2 |
10 |
- |
- |
|||||||||||||||||||
|
35 |
Реле уровня типа РМ-51 |
1 |
11 |
1 |
11 |
1 |
11 |
|||||||||||||||||||
|
36 |
Реле времени типа ВС-10-34 |
- |
- |
- |
- |
2 |
37 |
|||||||||||||||||||
|
37 |
Шкафы управления бактерицидными установками |
1 |
160 |
1 |
160 |
1 |
160 |
|
|||||||||||||||||||
|
38 |
Шкафы управления задвижкой |
1 |
115 |
1 |
115 |
1 |
115 |
|
|||||||||||||||||||
|
39 |
Шкафы силовые типа СП 62-8 |
- |
- |
- |
- |
1 |
60 |
|
|||||||||||||||||||
|
40 |
Электронагреватели трубчатые |
1 |
5 |
1 |
5 |
- |
- |
|
|||||||||||||||||||
|
41 |
Ячейки управления типа АН-370 |
1 |
97 |
1 |
97 |
- |
- |
|
|||||||||||||||||||
|
42 |
Ячейки сигнализации типа АС-373 |
1 |
9 |
1 |
9 |
- |
- |
|
|||||||||||||||||||
|
43 |
Прочее мелкое оборудование |
- |
3 |
- |
15 |
- |
14 |
|
|||||||||||||||||||
|
|
Итого |
|
707 |
|
731 |
|
449 |
|
|||||||||||||||||||
|
|
Всего |
|
6838 |
|
7637 |
|
16524 |
|
|||||||||||||||||||
|
№ п.п. |
Наименование оборудования |
Номера цен Прейскуранта |
|||||
|
35 |
|||||||
|
количество |
стоимость |
||||||
|
|
Технологическое оборудование |
|
|
||||
|
1 |
Воздухосборники типа В-6,3 диаметром 1400 мм |
3 |
2010 |
||||
|
|
Диафрагмы дисковые камерные диаметром, мм: |
|
|
||||
|
2 |
250 |
1 |
43 |
||||
|
3 |
150 |
1 |
25 |
||||
|
4 |
100 |
2 |
38 |
||||
|
5 |
80 |
2 |
35 |
||||
|
6 |
Дифманометры поплавковые типа ДП-612М |
2 |
300 |
||||
|
7 |
То же, типа ДП-780 |
4 |
440 |
||||
|
8 |
Насосы центробежные типа 8К-18 |
2 |
687 |
||||
|
9 |
Смесители |
1 |
86 |
||||
|
10 |
Установки компрессорные типа КХ-406 |
1 |
420 |
||||
|
11 |
Установки компрессорные передвижные типа О-386 |
1 |
145 |
||||
|
12 |
Установки бактерицидные типа ОВ-III-РКС-1 |
2 |
2060 |
|
||||
|
13 |
Фильтры механические диаметром 2000 мм типа П-3 |
2 |
1900 |
|
||||
|
14 |
То же, механические ооветлительные диаметром 2600 мм |
2 |
2040 |
|
||||
|
Итого |
|
10229 |
|
|||||
|
|
Электрооборудование |
|
|
|
||||
|
|
Пускатели магнитные типа: |
|
|
|
||||
|
15 |
П-322М |
1 |
12 |
|
||||
|
16 |
ПА-312М |
1 |
12 |
|
||||
|
17 |
ПА-422М |
1 |
16 |
|
||||
|
18 |
Реле давления типа РД-8-Г |
1 |
13 |
|
||||
|
19 |
Шкафы силовые распределительные типа СП67-8/1 |
1 |
47 |
|
||||
|
20 |
Прочее мелкое оборудование |
- |
7 |
|
||||
|
|
Итого |
|
107 |
|
||||
|
Всего |
|
10336 |
|
|||||
|
№ п.п. |
Наименование оборудования |
Номера цен Прейскуранта |
|||||
|
37 |
|||||||
|
количество |
стоимость |
||||||
|
|
Оборудование водоснабжения |
|
|
||||
|
1 |
Грязевики для хлора |
2 |
36 |
|
||||
|
2 |
Нейтрализаторы |
1 |
347 |
|
||||
|
3 |
Хлораторы типа ЛОНИИ-100 |
2 |
155 |
|
||||
|
|
Итого |
|
538 |
||||
|
|
Технологическое оборудование |
|
|
||||
|
4 |
Весы марки ВПГ-500(Б) грузоподъемностью 0,5 т |
2 |
112 |
||||
|
5 |
Захваты для подъема баллонов |
2 |
74 |
||||
|
6 |
Кран-балки ручные подвесные грузоподъемностью 0,5 т |
1 |
248 |
||||
|
7 |
Переключатели путевые на весах типа ВПГ-500(б) |
1 |
15 |
||||
|
8 |
Переключатели путевые статические типа БРП |
2 |
15 |
||||
|
9 |
Тали ручные червячные грузоподъемностью 1 т |
2 |
174 |
||||
|
10 |
Прочее мелкое оборудоваиие |
- |
16 |
||||
|
|
Итого |
|
654 |
||||
|
|
Электрооборудование и оборудование автоматики |
|
|
||||
|
11 |
Выключатели автоматические типа АП50-3МТ |
6 |
39 |
||||
|
12 |
То же, типа АП50-2МТ |
6 |
30 |
||||
|
13 |
Клапаны регулирующие с моторным исполнительным механизмом диаметром 15 мм |
1 |
88 |
||||
|
14 |
Кнопки управления |
4 |
15 |
||||
|
15 |
Переключатели универсальные типа УП-5313-А-19 |
1 |
4 |
||||
|
16 |
То же, типа УП-5314-С141 |
1 |
5 |
||||
|
17 |
Плиты размером 500´600 |
5 |
47 |
||||
|
18 |
Пускатели магнитные типа ПМЕ-112 |
6 |
31 |
||||
|
19 |
Реле времени типа РВП-2 |
1 |
12 |
||||
|
20 |
Реле промежуточные типа ПЭ-6 |
6 |
33 |
||||
|
21 |
То же, типа ПЭ-21 |
1 |
3 |
||||
|
22 |
Регуляторы температуры полупроводниковые, пропорциональные. Предел настройки регулируемой t = от +5 до +35°C |
1 |
133 |
||||
|
23 |
Трансформаторы однофазные типа ТБС-2-0,05 |
1 |
4 |
||||
|
24 |
Устройства терморегулирующие, дилатометрические типа ТУДЭ-1 |
1 |
21 |
||||
|
25 |
То же, типа ТУДЭ-4 |
1 |
21 |
||||
|
26 |
Шкафы типа ШКОК размером 1900´800´600 |
2 |
238 |
||||
|
27 |
Прочее мелкое оборудование |
- |
5 |
||||
|
|
Итого |
|
729 |
||||
|
|
Всего |
|
1921 |
||||
Ведомость объемов излишнего или недостающего грунта, подлежащего учету при составлении баланса земляных работ в целом по строительной площадке (м3 на измеритель цен)
|
Номера цен |
Территориальные районы |
|||||
|
1ж, 3 - 6, 12 |
1a - 1e, 2б, 2г, 7а, 7в, 10а, 11а - 11г |
2а, 2в, 7б, 7г, 8, 9, 10б, 10в, 11д, 11e |
||||
|
Объем грунта, м3 |
||||||
|
излишнего |
недостающего |
излишнего |
недостающего |
излишнего |
недостающего |
|
|
1, 2 |
- |
31 |
- |
31 |
- |
31 |
|
3 - 6 |
34 |
- |
34 |
- |
34 |
- |
|
7 - 10 |
37 |
- |
37 |
- |
3,7 |
- |
|
11 - 13 |
58 |
- |
58 |
- |
58 |
- |
|
14, 15 |
31 |
- |
31 |
- |
31 |
- |
|
16 |
33 |
- |
33 |
- |
33 |
- |
|
17, 18 |
36 |
- |
36 |
- |
36 |
- |
|
19, 20 |
87 |
- |
87 |
- |
87 |
- |
|
21 - 25 |
57 |
- |
57 |
- |
57 |
- |
|
26 |
- |
252 |
- |
252 |
- |
252 |
|
27, 28 |
- |
244 |
- |
244 |
- |
244 |
|
29, 30 |
- |
240 |
- |
240 |
- |
240 |
|
31 |
|
229 |
- |
229 |
- |
229 |
|
32 |
- |
215 |
- |
215 |
- |
215 |
|
33, 34 |
13 |
- |
18 |
- |
29 |
- |
|
35 |
61 |
- |
76 |
- |
105 |
- |
|
36 |
83 |
- |
102 |
- |
138 |
- |
|
37 |
39 |
- |
48 |
- |
61 |
- |
Примечание. Растительный грунт в объем излишнего не включен. При составлении смет на озеленение площадок он должен учитываться в следующих объемах: по ценам 1-9, 14-18 - 10 м3; по цене 10 - 13 м3; по ценам 11-13, 19-25, 37 - 16 м3; по ценам 26-32 - 17 м3; по ценам 33, 34 - 22 м3; по цене 35 - 62 м3; по цене 36 - 75 м3.
Пример определения сметной стоимости строительства зданий и сооружений с применением цен Прейскуранта
Исходные данные
по составлению сметы на строительство установки для хлорирования воды жидким хлором производительностью до 1 кг хлора в час, здание кирпичное, отопление центральное от теплосети (типовой проект № 901-3-64)
|
1. Наименоваяие стройки |
Строительство предприятия Н |
|
2. Район строительства |
г. Б Свердловской области (район 7б) |
|
3. Коэффициент к заработной плате в районе строительства |
1, 2 |
|
4. Группа и влажность грунтов на площадке строительства |
III группа, мокрые с водоотливом до 30 м3/ч |
|
5. Глубина заложения фундаментов здания или сооружения, установленная в рабочих чертежах |
1, 9 |
|
6. Зимняя расчетная температура наружного воздуха в районе строительства |
-40°С |
|
7. Предельные накладные расходы на строительные работы, установленные для подрядной строительной организации |
18% (доля нормативной условно-чистой продукции (НУЧП) 50% суммы основной заработной платы и эксплуатации машин) |
|
8. Норма затрат на временные здания и сооружения |
3,4% (доля в них нормативной условно-чистой продукции 30%) |
|
9. Норма дополнительных затрат при производстве строительно-монтажных работ в зимнее время |
7% ´1,1=7,7% (часть приведенной нормы зимних удорожаний, определяющую НУЧП 5,5´1,1=6,1) |
|
10. Организация, занимающаяся транспортированием грунта |
Автотранспортное предприятие, находящееся на балансе подрядной строительной организации |
Строительство предприятия Н
(наименование стройки)
ЛОКАЛЬНАЯ СМЕТА № 1
на строительные работы подземной и надземной части установки для хлорирования воды жидким хлором
_________________________________________________________________________________________________________________________
(наименование работ и затрат, наименование объема)
Сметная стоимость - 15,43 тыс. руб.
Нормативная условно-чистая продукция - 2,86 тыс. руб.
Составлена в ценах 1984 г. Основание: типовой проект № 901-3-64
|
№ п.п. |
№ прейскурантов, УСН, расценок и др. |
Наименование работ и затрат |
Единица измерения |
Количество |
Стоимость единицы, руб. |
Общая стоимость, руб. |
||||||||||||||||||||||||||||||||||||||||||||||||||
|
всего |
в том числе |
всего |
в том числе |
нормативной условно-чистой продукции |
||||||||||||||||||||||||||||||||||||||||||||||||||||
|
основной заработной платы |
эксплуатации машин |
в том числе заработной платы |
основной заработной платы |
эксплуатации машин |
в том числе заработной платы |
|||||||||||||||||||||||||||||||||||||||||||||||||||
|
|
ПРЦ (м-вк) |
|
|
|
|
|
|
|
|
|
|
|
|
|||||||||||||||||||||||||||||||||||||||||||
|
1 |
Районная цена № 37 |
Строительные работы по основной цене (подземная и надземная части) |
здание |
1 |
12180 |
1018 |
383 |
145,4 |
12180 |
1018 |
383 |
145,4 |
1401 |
|||||||||||||||||||||||||||||||||||||||||||
|
2 |
Поправка к цене при заложении фундаментов на глубину 1,9 м вместо учтенной в Прейскуранте 2,2 м |
» |
1 |
-620 |
-15 |
-40 |
-16 |
620 |
-15 |
-40 |
-16 |
-55 |
||||||||||||||||||||||||||||||||||||||||||||
|
3 |
Поправка к цене при производстве работ в мокрых грунтах III группы с водоотливом до 30 м3/ч вместо учтенных сухих грунтов II группы- |
|
|
|
|
|
|
|
|
|
|
|
|
||||||||||||||||||||||||||||||||||||||||||||
|
|
|
а) к основной заработной плате 34,3 (0,69-1) |
здание |
1 |
24 |
24 |
- |
- |
24 |
24 |
- |
- |
24 |
|
|||||||||||||||||||||||||||||||||||||||||||
|
|
|
б) к эксплуатации машин 52,1[(1,23-1)+(1,81-1)] |
» |
1 |
54 |
- |
54 |
- |
54 |
- |
54 |
- |
54 |
|
|||||||||||||||||||||||||||||||||||||||||||
|
|
|
в) к заработной плате рабочих, обслуживающих машины 19,4[(1,25-1)+(2,87-1)] |
» |
1 |
41 |
- |
- |
41 |
41 |
- |
- |
41 |
- |
|
|||||||||||||||||||||||||||||||||||||||||||
|
4 |
Поправка
по заработной плате |
здание |
1 |
51 |
44 |
7 |
7 |
51 |
44 |
7 |
7 |
51 |
|
||||||||||||||||||||||||||||||||||||||||||||
|
5 |
Поправка к цене, учитывающая изменение стоимости кирпича строительного и сборных бетонных и железобетонных конструкций в связи с отклонением условий их транспортирования от учтенных (11,5-8,6)(102-15)+(12,1-8,88)15+(11,5-8,6)8,2+(6-5,13)183=484 |
» |
1 |
484 |
- |
- |
- |
484 |
- |
- |
- |
- |
|
||||||||||||||||||||||||||||||||||||||||||||
|
6 |
Поправка к цене, учитывающая разницу в оптовых ценах на кирпич строительный и сборные бетонные и железобетонные конструкции, а также разницу сметных цен на остальные местные строительные материалы |
» |
1 |
-110 |
- |
- |
- |
110 |
- |
- |
- |
- |
|
||||||||||||||||||||||||||||||||||||||||||||
|
|
|
Итого по пп. 1-6 |
руб. |
|
|
|
|
|
12104 |
1071 |
404 |
177 |
1475 |
|
|||||||||||||||||||||||||||||||||||||||||||
|
Накладные расходы на строительные работы 18% |
» |
|
|
|
|
|
2179 |
- |
- |
- |
- |
|
|||||||||||||||||||||||||||||||||||||||||||||
|
НУЧП по накладным расходам (1071+404)0,5 |
» |
|
|
|
|
|
- |
- |
- |
- |
738 |
|
|||||||||||||||||||||||||||||||||||||||||||||
|
Плановые накопления 8% |
» |
|
|
|
|
|
1143 |
- |
- |
- |
- |
|
|||||||||||||||||||||||||||||||||||||||||||||
|
НУЧП по плановым накоплениям 1475´0,44 |
» |
|
|
|
|
|
- |
- |
- |
- |
649 |
|
|||||||||||||||||||||||||||||||||||||||||||||
|
Итого по строительным работам |
руб. |
|
|
|
|
|
15426 |
1071 |
|
|
2862 |
|
|||||||||||||||||||||||||||||||||||||||||||||
Строительство предприятия Н
(наименование стройки)
ЛОКАЛЬНАЯ СМЕТА № 2
на монтаж металлоконструкций установки для хлорирования воды жидким хлором
_________________________________________________________________________________________________________________________
(наименование работ и затрат, наименование объекта)
Сметная стоимость - 0,86 тыс. руб.
Нормативная условно-чистая продукция - 0,19 тыс. руб.
Составлена в ценах 1884 г. Основание: типовой проект № 901-3-64
|
№ п.п. |
№ прейскурантов, УСН, расценок, ценников и др. |
Наименование работ и затрат |
Единица изметения |
Количество |
Стоимость единицы, руб. |
Общая стоимость, руб. |
|||||||
|
всего |
в том числе |
всего |
в том числе |
нормативной условно-чистой продукции |
|||||||||
|
Основной заработной платы |
эксплуатации машин |
в том числе заработной платы |
основнойзаработной платы |
эксплуатации машин |
в том числе заработной платы |
||||||||
|
|
ПРЦ (м-вк) |
|
|
|
|
|
|
|
|
|
|
|
|
|
1 |
Районная цена № 37 |
Монтаж металлоконструкций |
здание |
1 |
729 |
65,8 |
33,2 |
12,5 |
729 |
65,8 |
33,2 |
12,5 |
99 |
|
2 |
Поправка по заработной плате |
руб. |
|
|
|
|
|
3,3 |
2,8 |
0,5 |
0,5 |
3,3 |
|
|
|
|
Итого пп. 1, 2 |
руб. |
|
|
|
|
|
732 |
69 |
33,7 |
13 |
103 |
|
|
|
Накладные расходы на монтаж металлоконструкций 8,6% |
руб. |
|
|
|
|
|
63 |
- |
- |
- |
- |
|
|
|
НУЧП по накладным расходам (69+33,7)0,41 |
» |
|
|
|
|
|
- |
- |
- |
- |
42 |
|
|
|
Плановые накопления 8% |
» |
|
|
|
|
|
64 |
- |
- |
- |
- |
|
|
|
НУЧП по плановым накоплениям 103´0,44 |
» |
|
|
|
|
|
- |
- |
- |
- |
45 |
|
|
|
Итого по монтажу металлоконструкций |
руб. |
|
|
|
|
|
859 |
69 |
33,7 |
13 |
190 |
Строительство предприятия Н
(наименование стройки)
ЛОКАЛЬНАЯ СМЕТА № 3
на внутренние санитарно-технические устройства установки для хлорирования воды жидким хлором
_________________________________________________________________________________________________________________________
(наименование работ и затрат, наименование объема)
Сметная стоимость - 2,13 тыс. руб.
Нормативная условно-чистая продукция - 0,53 тыс. руб.
Составлена в ценах 1984 г. Основание: типовой проект № 901-3-64
|
№ п.п. |
№ прейскурантов, УСН, расценок, ценников и др. |
Наименование работ и затрат |
Единица измерения |
Количество |
Стоимость единицы, руб. |
Общая стоимость, руб. |
|
||||||||||||||||||||||
|
всего |
в том числе |
всего |
в том числе |
нормативной условно-чистой продукции |
|
||||||||||||||||||||||||
|
основной заработной платы |
эксплуатации машин |
в том числе заработной платы |
основной заработной платы |
эксплуатации машин |
в том числе заработной платы |
|
|||||||||||||||||||||||
|
|
ПРЦ (м-вк) |
|
|
|
|
|
|
|
|
|
|
|
|
|
|||||||||||||||
|
1 |
Районная цена № 37 |
I. Санятарно-техииче-скве работы (холодное водоснабжение, канализация, центральное отопление и вентиляция) |
здание |
1 |
1620 |
182 |
17 |
4,24 |
1620 |
182 |
17 |
4,24 |
199 |
|
|||||||||||||||
|
2 |
Поправка
по заработной плате |
руб. |
|
|
|
|
|
8 |
7,8 |
0,2 |
0,2 |
8 |
||||||||||||||||
|
|
|
Итого по пп. 1, 2 |
руб. |
|
|
|
|
|
1628 |
190 |
17,2 |
4,44 |
207 |
|||||||||||||||
|
|
|
Накладные расходы на санитарно-технические работы 13,3% |
» |
|
|
|
|
|
217 |
- |
- |
- |
- |
|||||||||||||||
|
|
|
НУЧП по накладным расходам (190+17)0,63 |
|
|
|
|
|
|
- |
- |
- |
- |
130 |
|||||||||||||||
|
|
|
Плановые накопления 8% |
|
|
|
|
|
|
148 |
- |
- |
- |
- |
|||||||||||||||
|
|
|
НУЧП по плановым накоплениям 207´0,44 |
руб. |
- |
- |
- |
- |
- |
- |
- |
- |
- |
91 |
|
|||||||||||||||
|
|
|
Итого по внутренним санитарно-техническим работам |
» |
|
|
|
|
|
1993 |
190 |
17,2 |
4,44 |
428 |
|
|||||||||||||||
|
3 |
Районная цена № 37 |
II. Строительные работы, сопутствующие санитарно-техническим |
здание |
1 |
102 |
46,7 |
1,39 |
0,42 |
102 |
46,7 |
1,39 |
0,42 |
48 |
|
|||||||||||||||
|
4 |
Поправка
по заработной плате |
руб. |
|
|
|
|
|
2,02 |
2 |
0,02 |
0,02 |
2,02 |
|
||||||||||||||||
|
|
|
Итого по пп. 3, 4 |
руб. |
|
|
|
|
|
104 |
49 |
1,41 |
0,44 |
50 |
|
|||||||||||||||
|
|
|
Накладные расходы на строительные работы 18% |
» |
|
|
|
|
|
19 |
- |
- |
- |
- |
|
|||||||||||||||
|
|
|
НУЧП по накладным расходам (49+1,4)0,5 |
» |
|
|
|
|
|
- |
- |
- |
- |
25 |
|
|||||||||||||||
|
|
|
Плановые накопления 8% |
руб. |
|
|
|
|
|
10 |
- |
- |
- |
- |
|
|||||||||||||||
|
|
|
НУЧП по плановым накоплениям 50´0,44 |
» |
|
|
|
|
|
- |
- |
- |
- |
22 |
|
|||||||||||||||
|
|
|
Итого по строительным работам, сопутствующим санитарно-техничвским |
руб. |
|
|
|
|
|
133 |
49 |
1,41 |
0,44 |
97 |
|
|||||||||||||||
|
|
|
Итого по внутренним санитарно-техническим устройствам |
руб. |
|
|
|
|
|
2126 |
239 |
18,6 |
4,88 |
525 |
|
|||||||||||||||
Строительство предприятия Н
(наименование стройки)
ЛОКАЛЬНАЯ СМЕТА № 4
на приобретение и монтаж электроосвещения и электросилового оборудования установки хлорирования воды жидким хлором _____________________________________________________________
(вид оборудования и работ, наименование объекта)
Сметная стоимость - 1,73 тыс. руб.
В том числе:
оборудования - 0,8 тыс. руб.
монтажных работ - 0,93 тыс. руб.
Нормативная условно-чистая продукция - 0,63 тыс. руб.
Составлена в ценах 1984 г. Основание: типовой проект № 90;1-3-64
|
№ п.п. |
Шифр и № позиций Прейскуранта, УСН, ценника и др. |
Наименование и характеристика оборудования и монтажных работ |
Единица измерения |
Количество |
Масса, т, брутто |
Стоимость единицы, руб. |
Общая стоимость, руб. |
|
||||||||||||||||||||||||||
|
нетто |
оборудования |
монтажных работ |
оборудования |
монтажных работ |
|
|||||||||||||||||||||||||||||
|
единицы |
общая |
всего |
в том числе |
всего |
в том числе |
|
||||||||||||||||||||||||||||
|
основной заработной платы |
эксплуатации машин |
в том числе заработной платы |
основной заработной платы |
эксплуатации машин |
в том числе заработной платы |
|
||||||||||||||||||||||||||||
|
1 |
ПРЦ (м-вк) Районная цена № 37 |
Монтаж электроосвещения и электросилового оборудования |
здание |
1 |
- |
- |
729 |
633 |
336 |
108 |
44,4 |
729 |
633 |
236 |
108 |
44,4 |
|
|||||||||||||||||
|
2 |
Поправка
по заработной плате |
руб. |
|
|
|
|
|
|
|
|
- |
12 |
10 |
1,9 |
1,9 |
||||||||||||||||||
|
3 |
Техн. ч., п. 1.7 |
Поправка
на косвенные расходы |
» |
|
|
|
|
|
|
|
|
- |
3,1 |
- |
3,1 |
- |
|||||||||||||||||
|
Итого по пп. 1-3 |
руб. |
|
|
|
|
|
|
|
|
|
|
|
|
|
|||||||||||||||||||
|
|
|
Затраты по транспорту, заготовительно-складским расходам, таре, упаковке и комплектации 729´0,1 |
» |
|
|
|
|
|
|
|
|
729 |
648 |
246 |
113 |
46 |
|||||||||||||||||
|
Всего |
руб. |
|
|
|
|
|
|
|
|
802 |
648 |
246 |
113 |
46 |
|||||||||||||||||||
|
|
|
Накладные расходы 0,87´246 |
» |
|
|
|
|
|
|
|
|
- |
214 |
- |
- |
- |
|||||||||||||||||
|
|
|
Плановые накопления 8% |
» |
|
|
|
|
|
|
|
|
- |
69 |
- |
- |
- |
|||||||||||||||||
|
|
|
Итого по электромонтажным работам НУЧП =246+1134+(246+113)0,32+(246+113)0,44=632 руб. |
руб. |
|
|
|
|
|
|
|
|
802 |
931 |
246 |
113 |
46 |
|||||||||||||||||
Строительство предприятия Н
(наименование стройки)
ЛОКАЛЬНАЯ СМЕТА № 5
на приобретение и монтаж технологического оборудования и трубопроводов установки хлорирования воды жидким хлором _________________________________________________________________________________________________________________________
(вид оборудования и работ, наименование)
Сметная стоимость - 1,9 тыс. руб.
В том числе:
оборудования - 1,31 тыс. руб.
монтажных работ - 0,59 тыс. руб.
Нормативная условно-чистая продукция - 0,32 тыс. руб.
Составлена в ценах 1984 г. Основание: типовой проект № 901-3-64
|
№ п.п. |
Шифр и № позиций Прейскуранта, УСН, ценника и др. |
Наименование и характеристика оборудования и монтажных работ |
Единица измерения |
Количество |
Масса, т, брутто |
Стоимость единицы, руб. |
Общая стоимость, руб. |
|||||||||||||||||||||||||||
|
нетто |
оборудования |
монтажных работ |
оборудования |
монтажных работ |
||||||||||||||||||||||||||||||
|
единицы |
общая |
всего |
в том числе |
всего |
в том числе |
|||||||||||||||||||||||||||||
|
основной заработной платы |
эксплуатации машин |
в том числе заработной платы |
основной заработной платы |
эксплуатации машин |
в том числе заработной платы |
|||||||||||||||||||||||||||||
|
1 |
ПРЦ (м-вк) Районная цена № 37 |
Монтаж электроосвещения и электросилового оборудования |
здание |
1 |
- |
- |
1192 |
428 |
134 |
42,4 |
16,6 |
1192 |
428 |
134 |
42,4 |
16,6 |
||||||||||||||||||
|
2 |
Поправка по заработной плате |
руб. |
|
|
|
|
|
|
|
|
- |
6,5 |
5,8 |
0,7 |
0,7 |
||||||||||||||||||
|
3 |
Техн. ч., п. 1.7 |
Поправка на косвенные расходы |
» |
|
|
|
|
|
|
|
|
- |
1,2 |
- |
1,2 |
- |
|||||||||||||||||
|
Итого по пп. 1-3 |
руб. |
|
|
|
|
|
|
|
|
1192 |
436 |
140 |
44,3 |
17,3 |
|||||||||||||||||||
|
|
|
Затраты по транспорту, заготовительно-складским расходам, таре, упаковке и комплектации 1192´0,1 |
» |
|
|
|
119 |
- |
- |
- |
- |
119 |
- |
- |
- |
- |
|||||||||||||||||
|
Всего |
руб. |
|
|
|
|
|
|
|
|
1311 |
436 |
140 |
44,3 |
17,3 |
|||||||||||||||||||
|
|
|
Накладные расходы 0,8´140 |
» |
|
|
|
|
|
|
|
|
- |
112 |
- |
- |
- |
|||||||||||||||||
|
|
|
Плановые накопления 8% |
» |
|
|
|
|
|
|
|
|
- |
44 |
- |
- |
- |
|||||||||||||||||
|
|
|
Итого по монтажу электрооборудования НУЧП =140+44,3+(140+44,3)0,32+(140+44,3)0,44=324 руб. |
руб. |
|
|
|
|
|
|
|
|
1311 |
592 |
140 |
44,3 |
17,3 |
|||||||||||||||||
|
Строительство предприятия Н (наименование стройки) Смета в сумме 24,7 тыс. руб. и нормативная условно-чистая продукция в сумме 6,1 тыс. руб. согласована Подрядчик_________________________________ (должность, подпись, инициалы, фамилия) |
Смета в сумме 24,7 тыс. руб. утверждена Заказчик _____________________________________ (должность, подпись, инициалы, фамилия) « »_____________________19__г. |
ОБЪЕКТНАЯ СМЕТА № 6
на строительство установки для хлорирования воды жидким хлором производительностью до 1 кг хлора в час, здание кирпичное, отопление центральное от теплосети (типовой проект № 901-3-64) ___________________
(наименование объекта)
Сметная стоимость-24,7 тыс. руб.
Нормативная условно-чистая продукция-6,1 тыс. руб.
|
№ п.п. |
№ смет и расчетов |
Наименование работ и затрат |
Сметная стоимость, тыс. руб. |
|||||||||||||||||||||||||
|
строительных работ |
монтажных работ |
оборудования, приспособлений, мебели и инвентаря |
прочих затрат |
всего |
в том числе |
нормативной условно-чистой продукции |
Показатели единичной стоимости, руб. |
|||||||||||||||||||||
|
основной заработной платы |
эксплуатации машин |
|||||||||||||||||||||||||||
|
1 |
1 |
Строительные работы |
15,48 |
- |
- |
- |
15,43 |
1,07 |
0,4 |
2,86 |
|
|||||||||||||||||
|
2 |
2 |
Монтаж металлоконструкций |
0,86 |
- |
- |
- |
0,86 |
0,07 |
0,03 |
0,19 |
|
|||||||||||||||||
|
3 |
3 |
Внутренние санитарно-технические устройства |
2,13 |
- |
- |
- |
2,13 |
0,24 |
0,02 |
0,53 |
|
|||||||||||||||||
|
4 |
4 |
Монтаж электроосвещения и электросилового оборудования |
- |
0,93 |
0,8 |
- |
1,73 |
0,25 |
0,11 |
0,63 |
|
|
|||||||||||||||||
|
5 |
5 |
Монтаж технологического оборудования и трубопроводов |
- |
0,58 |
1,31 |
- |
1,9 |
0,14 |
0,04 |
0,32 |
|
|
|||||||||||||||||
|
|
|
Всего по смете |
18,42 |
1,52 |
2,11 |
- |
22,05 |
1,77 |
0,6 |
4,53 |
|
|
|||||||||||||||||
|
6 |
|
Затраты на временные здания и сооружения (18,42+1,52)0,034 |
0,63 |
0,05 |
- |
- |
0,68 |
- |
- |
- |
|
|
|||||||||||||||||
|
|
|
в том числе НУЧП 0,68´0,3 |
- |
- |
- |
- |
- |
- |
- |
0,2 |
|
|
|||||||||||||||||
|
|
|
Всего по смете с затратами на временные здания и сооружения |
19,05 |
1,57 |
2,11 |
- |
23,73 |
1,77 |
0,6 |
4,73 |
|
|
|||||||||||||||||
|
7 |
|
Дополнительные затраты при производстве строительномонтажных работ в зимнее время (19,05+1,57)0,077 |
1,47 |
0,12 |
- |
- |
1,61 |
- |
- |
- |
|
|
|||||||||||||||||
|
|
|
в
том числе НУЧП 1,59 |
- |
- |
- |
- |
- |
- |
- |
1,26 |
|
|
|||||||||||||||||
|
|
|
Всего по смете с затратами на временные здания и сооружения, дополнительными затратами при производстве строительно-монтажных работ в зимнее время |
20,52 |
1,69 |
2,11 |
- |
24,32 |
1,77 |
0,6 |
5,09 |
|
|
|||||||||||||||||
|
8 |
|
Резерв средств на дополнительные работы и затраты 1,5% |
0,31 |
0,03 |
- |
- |
0,34 |
- |
- |
0,09 |
|
|
|||||||||||||||||
|
|
|
Всего по смете |
20,83 |
17,2 |
2,11 |
- |
24,66 |
1,77 |
0,6 |
6,08 |
|
|
|||||||||||||||||
|
9 |
|
Возвратная сумма от затрат на временные здания и сооружения 0,68´0,15 |
|
|
|
|
0,1 |
|
|
|
|
|
|||||||||||||||||
Примечания: 1. Учтенные в примере составления сметы затраты по транспортированию кирпича и сборных бетонных и железобетонных конструкций, предусмотренные для города Б, а также нормы накладных расходов, плановых накоплений и доля нормативной условно-чистой продукции приняты условные.
2. Построение цен Прейскуранта дает возможность определять не только стоимость отдельных видов работ, но и их составляющих (например, стоимость конструктивных элементов строительных работ или отдельных видов санитарно-технических работ).
3. В объектных сметах в отдельных случаях могут учитываться и другие затраты, кроме учтенных, предусматриваемые решениями Госстроя СССР.
СОДЕРЖАНИЕ
2. Порядок составления смет на строительство зданий и сооружений с применением цен прейскуранта. 9
1. Водонапорные бесшатровые кирпичные башни со стальным баком вместимостью 15 м3 12
2. Водонапорные бесшатровые кирпичные башни со стальным баком вместимостью 25 м3 18
3. Водонапорные бесшатровые кирпичные башни со стальным баком вместимостью 50 м3 34
4. Водонапорные бесшатровые карпичные башни со стальным баком вместимостью 100 м3 51
5. Водонапорные бесшатровые кирпичные башни со стальным баком вместимостью 150 м3 66
6. Водонапорные бесшатровые кирпичные башни со стальным баком вместимостью 200 м3 73
7. Унифицированные водонапорные стальные башни заводского изготовления (системы Рожновского) 87
8. Установки обезжелезивания воды с содержанием железа до 5 мг/л. 104
9. Установки обезжелезивания воды с содержанием железа от 5 до 15 мг/л. 115
10. Установка для хлорирования воды жидким хлором.. 127