
ГОСУДАРСТВЕННЫЙ СТАНДАРТ СОЮЗА ССР
ИЗДЕЛИЯ ОГНЕУПОРНЫЕ
ДЛЯ СИФОННОЙ РАЗЛИВКИ СТАЛИ
ТЕХНИЧЕСКИЕ УСЛОВИЯ
ГОСТ 11586-69
ГОСУДАРСТВЕННЫЙ КОМИТЕТ СССР ПО СТАНДАРТАМ
Москва
ГОСУДАРСТВЕННЫЙ СТАНДАРТ СОЮЗА ССР
|
ИЗДЕЛИЯ
ОГНЕУПОРНЫЕ Технические условия Refractories for bottom
pouring. |
ГОСТ |
Срок действия с 01.07.69
до 01.01.99
Несоблюдение стандарта преследуется по закону
Настоящий стандарт распространяется на огнеупорные шамотные изделия для разливки стали сифонным способом в изложницы и литейные формы, а также на промежуточные воронки со стаканчиками для разливки сверху.
(Измененная редакция, Изм. № 4).
Разд. 1. (Исключен, Изм. № 4).
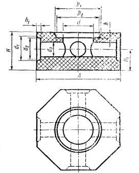
2.1. Форма и размеры изделий должны соответствовать требованиям, указанным на черт. 1 - 4, 6 - 24 и в табл. 1 - 4, 6 - 24.
(Измененная редакция, Изм. № 4).
2.2. При прессовании сифонных изделий на верхней и нижней частях наружной и внутренней их поверхности допускается цилиндрический, а для сифонных трубок призматический поясок высотой до 5 мм.
На воронке в верхней ее части цилиндрический поясок может быть заменен срезом под углом 90° к образующей наружного конуса до середины толщины стенки.
Пазы и буртики изделий изготовляются с радиусами закругления до 4 мм для типоразмеров изделий, имеющих высоту буртика и глубину паза менее 10 мм и до 5 мм для остальных типоразмеров изделий. Радиусы закругления ребер сифонных трубок допускаются до 8 мм, а для трубок с боковыми отверстиями - до 5 мм.
Для четырехходовых, шестиходовых и восьмиходовых звездочек и сифонных тройниковых трубок допускается притупленность внутренних углов до 4 мм.
(Измененная редакция, Изм. № 4).
2.3. Объем, расчетная масса и кажущаяся плотность изделий приведены в приложении 4.
2.4. При проверке готовой продукции замеру подлежат только следующие размеры изделий:
воронки - Н, h, D, D1, D2, D3, D4, d (черт. 1, табл. 1);
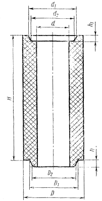
центровые трубки - Н, h, h1, D, D1, D2, d, d1, d2, d3, d4 (черт. 2-3, табл. 2-3);
звездочки - А, Н, h, h1, D1, D2, d, d1, d2, d3 (черт. 4-11, табл. 4-11);
угловые сифонные трубки - В, l, d, d1, d2 (черт. 18, табл. 18)
и другие сифонные трубки - В, L, l, l1, D1, D2, d, d1, d2, d3 (черт. 12-17, 19-20, табл. 12-17, 19-20);
стаканчики для изложниц - H, D, D1, d, d1 (черт. 21, табл. 21);
промежуточные воронки - H, D, D1, D2, d1 (черт. 22, табл. 22);
стаканчики для воронок - H, d, d1, d2 (черт. 23, табл. 23);
вкладыши - H, D, D1 (черт. 24, табл. 24).
Остальные размеры контролю не подлежат. Их точность обеспечивается оснасткой пресс-форм и технологией изготовления.
(Измененная редакция, Изм. № 4).
2.5. Допускается изготовление изделий других форм и размеров по чертежам, согласованным изготовителем и потребителем в установленном порядке.
(Введен дополнительно, Изм. № 4).
Воронки
Черт. 1
Таблица 1
мм
|
H |
H1 |
h |
D |
D1 |
D2 |
D3 |
D4 |
d |
|
|
1 |
200 |
25 |
15 |
120 |
95 |
90 |
225 |
270 |
70 |
|
2 |
300 |
25 |
15 |
140 |
110 |
105 |
245 |
295 |
80 |
|
3 |
300 |
25 |
15 |
150 |
120 |
115 |
270 |
320 |
90 |
|
4 |
300 |
25 |
15 |
160 |
130 |
125 |
270 |
320 |
100 |
|
5 |
250 |
25 |
21 |
180 |
150 |
140 |
280 |
340 |
100 |
Трубки центровые
Черт. 2
Таблица 2
мм
|
H |
h |
h1 |
D |
D1 |
D2 |
d |
d1 |
d2 |
|
|
6 |
300 250 |
15 |
12 |
120 |
95 |
90 |
70 |
101 |
96 |
|
7 |
300 250 |
15 |
12 |
140 |
110 |
105 |
80 |
116 |
111 |
|
8 |
300 250 |
15 |
12 |
150 |
120 |
115 |
90 |
126 |
121 |
|
9 |
300 250 |
15 |
12 |
160 |
130 |
125 |
100 |
136 |
131 |
|
10 |
300 250 |
21 |
18 |
180 |
150 |
140 |
100 |
156 |
146 |
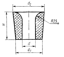
Трубки центровые с двумя пазами
Черт. 3
Таблица 3
мм
|
H |
h |
h1 |
D |
d |
d1 |
d2 |
d3 |
d4 |
|
|
11 |
150 |
18 |
12 |
180 |
80 |
116 |
111 |
146 |
136 |
|
12 |
150 |
18 |
12 |
180 |
90 |
126 |
121 |
151 |
141 |
|
13 |
150 |
18 |
12 |
190 |
100 |
136 |
131 |
156 |
146 |
|
14 |
150 |
18 |
18 |
190 |
100 |
156 |
146 |
156 |
146 |
Примечание. По соглашению сторон допускается изготовление центровых трубок высотой h на 2 мм больше указанной в табл. 3.
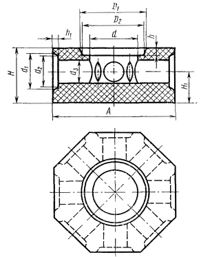
Звездочки двухходовые с пазом
Черт. 4*
Таблица 4*
мм
|
А |
H |
H1 |
h |
h1 |
D1 |
D2 |
d |
d1 |
d2 |
d3 |
|
|
15 |
210 |
95 |
55 |
12 |
8 |
101 |
96 |
70 |
65 |
60 |
35 40 |
|
16 |
210 |
95 |
55 |
12 |
8 |
116 |
111 |
80 |
65 |
60 |
35 40 |
|
17 |
210 |
95 |
55 |
12 |
8 |
126 |
121 |
90 |
65 |
60 |
35 40 |
|
18 |
260 |
115 |
65 |
12 |
10 |
126 |
121 |
90 |
81 |
76 |
50 |
* Чертеж 5, таблица 5 исключены.
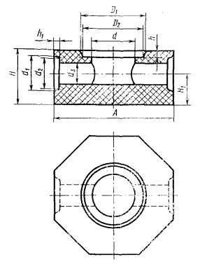
Звездочки четырехходовые прямоугольные с пазом
Черт. 6
Таблица 6
мм
|
А |
Н |
H1 |
h |
h1 |
D1 |
D2 |
d |
d1 |
d2 |
d3 |
|
|
30 |
210 |
95 |
55 |
12 |
8 |
101 |
96 |
70 |
65 |
60 |
35 40 |
|
31 |
210 |
95 |
55 |
12 |
8 |
116 |
111 |
80 |
65 |
60 |
35 40 |
|
32 |
210 |
95 |
55 |
12 |
8 |
126 |
121 |
90 |
65 |
60 |
35 40 |
|
33 |
260 |
115 |
65 |
12 |
10 |
126 |
121 |
90 |
81 |
76 |
50 |
|
35 |
260 |
115 |
65 |
12 |
10 |
136 |
131 |
100 |
81 |
76 |
50 |
|
36 |
260 |
135 |
75 |
12 |
18 |
136 |
131 |
100 |
100 |
94 |
60 |
Примечание. По соглашению сторон допускается изготовление звездочек № 34 и 36 в виде неравносторонних восьмиугольных призм, у которых грани с выходным отверстием имеют в основании следующие размеры: у звездочки № 34 - 100 мм, № 36 - 120 мм.
Звездочки четырехходовые прямоугольные с буртиком

Черт. 7
Таблица 7
мм
|
Номера изделий |
A |
H |
H1 |
h |
h1 |
D1 |
D2 |
d |
d1 |
d2 |
d3 |
|
38 |
210 |
95 |
55 |
21 |
8 |
140 |
130 |
80 |
65 |
60 |
35 40 |
|
39 |
210 |
95 |
55 |
21 |
8 |
145 |
135 |
90 |
65 |
60 |
35 40 |
|
40 |
260 |
115 |
65 |
21 |
10 |
145 |
135 |
90 |
81 |
76 |
50 |
|
41 |
210 |
115 |
65 |
21 |
10 |
150 |
140 |
100 |
81 |
76 |
50 |
|
43 |
260 |
135 |
75 |
21 |
18 |
150 |
140 |
100 |
100 |
94 |
60 |
Примечание. По соглашению сторон допускается изготовление звездочек № 41 и 43 в виде неравносторонних восьмиугольных призм, у которых грани с выходным отверстием имеют в основании следующие размеры: у звездочки № 41 - 100 мм, № 43 - 120 мм.
Звездочки четырехходовые косоугольные с пазом

Черт. 8
Таблица 8
мм
|
Номера изделий |
А |
H |
H1 |
h |
h1 |
D1 |
D2 |
d |
d1 |
d2 |
d3 |
|
46 |
210 |
95 |
55 |
12 |
8 |
116 |
111 |
80 |
65 |
60 |
35 40 |
|
47 |
210 |
95 |
55 |
12 |
8 |
126 |
121 |
90 |
65 |
60 |
35 40 |
|
49 |
210 |
115 |
65 |
12 |
10 |
136 |
131 |
100 |
81 |
76 |
50 |
|
51 |
260 |
135 |
75 |
12 |
18 |
136 |
131 |
100 |
100 |
94 |
60 |
Звездочки четырехходовые косоугольные с буртиком

Черт. 9
Таблица 9
мм
|
Номера изделий |
A |
H |
H1 |
h |
h1 |
D1 |
D2 |
d |
d1 |
d2 |
d3 |
|
54 |
210 |
95 |
55 |
21 |
8 |
145 |
135 |
90 |
65 |
60 |
35 40 |
Звездочки шестиходовые с пазом

Черт. 10
Таблица 10
мм
|
Номера изделий |
А |
Н |
H1 |
h |
h1 |
D1 |
D2 |
d |
d1 |
d2 |
d3 |
|
60 |
210 |
95 |
55 |
12 |
8 |
116 |
111 |
80 |
65 |
60 |
35 40 |
|
61 |
210 |
95 |
55 |
12 |
8 |
126 |
121 |
90 |
65 |
60 |
35 40 |
|
62 |
260 |
115 |
65 |
12 |
10 |
126 |
121 |
90 |
81 |
76 |
50 |
|
64 |
260 |
115 |
65 |
12 |
10 |
136 |
131 |
100 |
81 |
76 |
50 |
Звездочки восьмиходовые с пазом
Черт. 11
Таблица 11
мм
|
А |
H |
Н1 |
h |
h1 |
D1 |
D2 |
d |
d1 |
d2 |
d3 |
|
|
65 |
210 |
95 |
55 |
12 |
8 |
116 |
111 |
80 |
65 |
60 |
35 40 |
|
66 |
210 |
95 |
55 |
12 |
8 |
126 |
121 |
90 |
65 |
60 |
35 40 |
|
67 |
210 |
115 |
65 |
12 |
8 |
136 |
131 |
100 |
65 |
60 |
40 |
|
68 |
260 |
115 |
65 |
12 |
8 |
136 |
131 |
100 |
65 |
60 |
35 40 |
Примечание. По соглашению сторон допускается изготовление восьмиходовых звездочек с двумя заглушенными отверстиями.
Трубки сифонные пролетные
Черт. 12
Таблица 12
мм
|
B |
D1 |
D2 |
d |
d1 |
d2 |
L |
l |
l1 |
|
|
69 |
80 |
62 |
56 |
35 40 |
65 |
60 |
125 150 175 200 225 250 275 300 |
10 |
8 |
|
70 |
100 |
78 |
72 |
50 |
81 |
76 |
150 200 250 300 |
12 |
10 |
|
71 |
120 |
94 |
88 |
60 |
100 |
94 |
150 200 250 300 |
21 |
18 |
Трубки сифонные пролетные с двумя буртиками

Черт. 13
Таблица 13
мм
|
Номера изделий |
B |
D1 |
D2 |
d |
L |
l |
|
73 |
100 |
78 |
72 |
50 |
200 250 300 |
12 |
|
74 |
120 |
94 |
88 |
60 |
200 250 300 |
21 |
Трубки сифонные пролетные с боковым отверстием

Черт. 14
Таблица 14
мм
|
Номера изделий |
B |
D1 |
D2 |
d |
d1 |
d2 |
L |
L1 |
l |
l1 |
|
75 |
80 |
62 |
56 |
35 40 |
65 |
60 |
150 200 250 300 |
75 |
10 |
8 |
|
76 |
100 |
78 |
72 |
50 |
81 |
76 |
150 200 250 300 |
75 |
12 |
10 |
|
77 |
120 |
94 |
88 |
60 |
100 |
94 |
150 200 250 300 |
75 |
21 |
18 |
Трубки сифонные пролетные с двумя боковыми отверстиями

Черт. 15
Таблица 15
мм
|
Номера изделий |
В |
D1 |
D2 |
d |
d1 |
d2 |
L |
L1 |
l |
l1 |
|
78 |
80 |
62 |
56 |
35 40 |
65 |
60 |
150 200 300 |
75 |
10 |
8 |
Трубки сифонные пролетные с двумя боковыми отверстиями

Черт. 16
Таблица 16
мм
|
Номера изделий |
B |
D1 |
D2 |
d |
d1 |
d2 |
L |
L1 |
l |
l1 |
|
79 |
80 |
62 |
56 |
35 40 |
65 |
60 |
150 300 |
75 |
10 |
8 |
Трубки сифонные тройниковые
Черт. 17
Таблица 17
мм
|
B |
D1 |
D2 |
d |
d1 |
d2 |
d3 |
L |
l |
l1 |
|
|
80 |
80 |
62 |
56 |
35 40 |
65 |
60 |
60 |
138 |
10 |
8 |
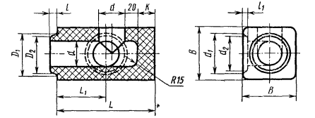
Трубки сифонные угловые
Черт. 18
Таблица 18
мм
|
B |
d |
d1 |
d2 |
L |
L1 |
l1 |
α |
|
|
81 |
80 |
35 40 |
65 |
60 |
100 |
100 |
8 |
135 |
|
82 |
100 |
50 |
81 |
76 |
100 |
100 |
10 |
135 |
|
83 |
120 |
60 |
100 |
94 |
100 |
100 |
18 |
120 135 150 |
Примечания:
1. По соглашению сторон допускается изготовление угловой трубки без отверстия А, а также изготовление угловой трубки № 81 с L = 90 мм и с буртиком вместо паза, аналогичным буртику изделий № 69, 72, 75, 78.
2. По соглашению сторон допускается изготовление косоугольных сифонных изделий по чертежам заказчика.
Трубки сифонные концевые
Черт. 19
Таблица 19
мм
|
B |
D1 |
D2 |
d |
L |
l |
K |
|
|
84 |
80 |
62 |
56 |
35 40 |
150 175 200 250 300 |
10 |
25 |
|
85 |
100 |
78 |
72 |
50 |
150 175 200 250 300 |
12 |
30 |
|
86 |
120 |
94 |
88 |
60 |
150 175 200 |
21 |
40 |
Трубки сифонные концевые с боковым отверстием
Черт. 20
Таблица 20
мм
|
B |
D1 |
D2 |
d |
d1 |
d2 |
L |
L1 |
l |
l1 |
K |
|
|
87 |
80 |
62 |
56 |
35 40 |
65 |
60 |
150 300 |
75 75 |
10 |
8 |
25 |
Стаканчики для изложниц
Черт. 21
Таблица 21
мм
|
Н |
D |
D1 |
d |
d1 |
|
|
88 |
110 |
90 |
105 |
40 50 |
60 |
|
89 |
140 |
95 |
112 |
50 |
65 |
|
90 |
220 |
115 |
135 |
50 60 |
70 |
Воронка промежуточная
Черт. 22
Таблица 22
мм
|
H |
H1 |
D |
D1 |
D2 |
d1 |
d2 |
|
|
91 |
300 |
100 |
160 |
320 |
260 |
95 |
114 |
Стаканчики для промежуточных воронок
Черт. 23
Таблица 23
мм
|
H |
d |
d1 |
d2 |
|
|
92 |
100 |
24 26 28 30 35 40 45 50 |
93 |
112 |
Вкладыши глухие
Черт. 24
Таблица 24
мм
|
H |
D |
D1 |
|
|
93 |
110 |
90 |
105 |
3.1. Огнеупорные изделия по физико-химическим показателям должны соответствовать требованиям, указанным в табл. 25.
Таблица 25
|
Норма для изделий |
||
|
ШС-32 |
ШС-28 |
|
|
1. Массовая доля Al2О3, %, не менее |
32 |
28 |
|
2. Огнеупорность, °С, не ниже |
1690 |
1670 |
|
3. Дополнительная усадка при температуре 1350 °С, (выдержка 2 ч), %, не более |
0,4 |
0,5 |
|
4 Открытая пористость, % |
15-24 |
15-26 |
|
5. Термическая стойкость, теплосмен (нагрев до 800 °С, охлаждение на воздухе): центровой, пролетной и концевой сифонных трубок при внезапном нагреве всего изделия |
1 |
1 |
Примечания:
1. (Исключен, Изм. № 4).
2. Для изделий марки ШС-28 пластического способа производства допускается скрытая пористость не более 28 %.
3, 4. (Исключены, Изм. № 2, 4).
(Измененная редакция, Изм. № 2, 3, 4).
3.2. Предельные отклонения по размерам изделий должны соответствовать требованиям, указанным в табл. 26.
3.3. Огнеупорные изделия по показателям внешнего вида должны соответствовать требованиям, указанным в табл. 27.
Таблица 26
|
Предельные отклонения |
||||
|
Воронки |
Трубки центровые |
Звездочки |
Трубки сифонные - пролетные, тройниковые, угловые, концевые и стаканчики |
|
|
1 Диаметры буртиков, пазов и внутренних каналов |
|
|
|
|
|
для изделий полусухого способа производства: |
|
|
|
|
|
до 60 мм включ. |
Не нормируются |
±1 мм |
±1 мм |
|
|
св. 60 мм |
±2 мм |
±2 мм |
±2 мм |
±2 мм |
|
для изделий пластичного способа производства: |
|
|
|
|
|
до 60 мм включ. |
Не нормируются |
±2 мм |
±2 мм |
|
|
св. 60 мм |
±3 мм |
±3 мм |
±3 мм |
±3 мм |
|
2. Высота буртиков и пазов |
±1 мм |
±1 мм |
±1 мм |
±1 мм |
|
3. Остальные размеры: |
|
|
|
|
|
для изделий полусухого способа производства |
±2,5 % |
±2 % |
±2 % |
±2 % |
|
для изделий пластичного способа производства |
±2,5 % |
±2 % |
±2 % |
±2 % |
Таблица 27
|
Нормы для изделий |
||||
|
Воронки |
Трубки центровые |
Звездочки |
Трубки сифонные - пролетные, тройниковые, угловые, концевые и стаканчики |
|
|
1. Эллипсность, мм, при диаметре до 200 мм, не более |
2 |
2 |
2 |
2 |
|
2. Кривизна (стрела прогиба), мм, не более: |
|
|
|
|
|
для изделий полусухого способа производства |
Не нормируется |
3 |
2 |
2 |
|
для изделий пластичного способа производства |
Не нормируется |
4 |
3 |
3 |
|
3. Скошенность торцовых плоскостей трубок центровых и сифонных, мм, не более: |
|
|
|
|
|
для изделий полусухого способа производства |
Не нормируется |
2 |
Не нормируется |
1 |
|
для изделий пластичного способа производства |
Не нормируется |
2 |
Не нормируется |
1 |
|
4. (Исключен, Изм. № 4). |
|
|||
|
5. Отбитости, шт., не более: |
|
|
|
|
|
на кромках торцовых плоскостей глубиной до 5 мм включ. |
3 |
3 |
3 |
3 |
|
на буртиках и пазах |
Не допускаются |
|||
|
на остальной рабочей поверхности глубиной не более 3 мм, длиной не более 5 мм |
3 |
2 |
2 |
2 |
|
на нерабочей поверхности, включая углы и ребра, глубиной не более: |
|
|
|
|
|
6 мм включ. |
Не нормируются |
3 |
3 |
3 |
|
10 мм включ. |
4 |
Не допускаются |
||
|
6. Вмятины на изделиях пластического способа производства: |
|
|||
|
на стыках торцовых плоскостей |
Не допускаются |
|||
|
на остальных поверхностях: |
|
|||
|
глубиной, мм, не более |
4 |
4 |
4 |
4 |
|
шириной, мм, не более |
25 |
25 |
25 |
25 |
|
количество, шт., не более |
2 |
2 |
2 |
2 |
|
7 Выплавки отдельные диаметрам, им, не более: |
|
|
|
|
|
на рабочей поверхности |
6 |
6 |
6 |
6 |
|
на нерабочей поверхности |
8 |
8 |
8 |
8 |
|
8. Посечки поверхностные, отдельные, не пересекающие ребро, шириной: |
|
|
|
|
|
да 0,3 мм включ. |
Не нормируются |
|||
|
св. 0,3 до 0,5 мм включ., длиной мм, не более: |
|
|||
|
пересекающие буртики и пазы |
Не допускаются |
|||
|
на остальной рабочей поверхности |
25 |
25 |
25 |
25 |
|
на нерабочей поверхности |
Не нормируются |
70 |
70 |
70 |
|
9. Трещины шириной св. 0,5 мм |
Не допускаются |
|||
|
10. (Исключен, Изм. №4). |
|
|||
|
11. Рабочие каналы |
Должны быть свободны от песка, шамотного порошка и других загрязнений и налипов. |
|||
|
12. Поверхность изделий |
На рабочей стороне поверхность должна быть гладкой, без выступающих и выкрашивающихся зерен и заусенцев |
|||
Примечания:
1. Под эллипсностью понимается разность максимального и минимального диаметров измеряемой окружности.
2. (Исключен, Изм. № 4).
3. Рабочей поверхностью изделий считается поверхность, соприкасающаяся с металлом, а также все места непосредственного стыка изделий.
4. (Исключен, Изм. № 4).
(Измененная редакция, Изм. № 4).
3.4. Изделия в изломе должны иметь однородное строение, зерна не должны выкрашиваться. Не допускаются трещины, пустоты и слоистая структура. Допускаются отдельные посечки шириной до 0,5 мм и длиной не более 20 мм.
3.5. (Исключен, Изм. № 4).
4а.1. Правила приемки - по ГОСТ 8179-85 с дополнениями.
4а.1.1. Для приемки изделий, прошедших предварительную разбраковку, применяется план контроля номер 2; для приемки изделий, не прошедших предварительную разбраковку, план контроля номер 5.
4а.2. Масса партии не должна превышать 60 т.
4а.3. При проверке соответствия качества изделий требованиям настоящего стандарта порядок проведения испытаний должен соответствовать требованиям табл. 28а.
Таблица 28а
|
Порядок проведения испытаний |
|
|
Внешний вид и размеры |
От каждой партии |
|
Строение в изломе |
То же |
|
Массовая доля Аl2О3 |
От каждой десятой партии |
|
Огнеупорность |
То же |
|
Дополнительная линейная усадка |
От каждой десятой партии |
|
Пористость открытая |
От каждой партии |
|
Термическая стойкость центровых трубок, сифонных пролетных и концевых трубок |
От каждой пятой партии |
Разд. 4а (Введен дополнительно, Изм. № 4).
4.1 - 4.4 (Исключены, Изм. № 4).
4.5. Массовую долю Аl2О3 определяют по ГОСТ 2642.0-86, ГОСТ 2642.4-86 или другими методами, обеспечивающими требуемую точность. При возникновении разногласий в оценке качества огнеупорных изделий определения проводят по ГОСТ 2642.0-86, ГОСТ 2642.4-86.
Для определения массовой доли Аl2О3 и огнеупорности берут среднюю пробу от трех образцов, у которых контролировали пористость.
(Измененная редакция, Изм. № 4).
4.6. Огнеупорность определяют по ГОСТ 4069-69.
4.7. Дополнительную усадку определяют по ГОСТ 5402-81. Изделия, форма и размеры которых не позволяют изготовить образцы по ГОСТ 5402-81, испытанию на определение дополнительной усадки не подлежат.
(Измененная редакция, Изм. № 4).
4.8. Термическую стойкость определяют по методике, указанной в приложении 1.
(Измененная редакция, Изм. № 4).
4.9. Открытую пористость определяют по ГОСТ 2409-80.
Для изделий номеров 6-10, 69-71, 73-79, 84-87, 93 - по ГОСТ 2409-80 или по ГОСТ 25714-83. Определение открытой пористости по ГОСТ 25714-83 проводят на удвоенном количестве образцов.
(Измененная редакция, Изм. № 4).
4.10. (Исключен, Изм. № 2).
4.11. Размеры изделий проверяют металлической линейкой (ГОСТ 427-75) с ценой деления 1 мм или другим мерительным инструментом, обеспечивающим заданную точность измерения.
4.12. Кривизну изделий (стрелу прогиба) определяют на ровной металлической плите при помощи щупа шириной 10 мм и толщиной, превышающей на 0,1 мм установленную норму кривизны. Щуп не должен входить в зазор между плитой и изделием.
При определении кривизны изделие слегка прижимают к плите и щуп вводят в зазор скольжением по плите без применения усилия.
4.13. Скошенность торцовых плоскостей центровых и сифонных трубок определяют по следующей методике. Поверочный угольник типа УП или УШ (ГОСТ 3749-77) с размером Н не менее 250 мм плотно прикладывают одной стороной к образующей трубке, а второй - к торцу изделия. Скошенность определяют по величине максимального зазора, образующегося между сторонами угольника и торцовой плоскостью. Для изделий, имеющих конусность, скошенность определяют по указанному максимальному зазору, уменьшенному на величину, равную произведению диаметра или размера стороны измеряемого торца трубки на конусность изделия.
Примечание. Под конусностью понимается отношение разности верхнего и нижнего диаметров изделия цилиндрической формы или разность противоположных сторон изделия призматической формы к высоте изделия.
(Измененная редакция, Изм. № 4).
4.13а. Поверхность излома получают приложением ударной нагрузки. Строение в изломе определяют визуально.
(Введен дополнительно, Изм. № 4).
4.14. Глубину отбитости и притупленности углов и ребер определяют по ГОСТ 15136-78.
4.14а. Диаметр выплавок замеряют в месте максимальной ширины выплавки металлической линейкой (ГОСТ 427-75) с ценой деления шкалы 1 мм.
4.14б. Ширину посечек и трещин определяют измерительной лупой типа ЛИ (ГОСТ 25706-83). Измерительную лупу располагают таким образом, чтобы ее шкала была перпендикулярна посечке. Между шкалой измерения и поверхностью изделия помещают полоску бумаги, которую располагают вдоль шкалы вплотную к делению. Ширину посечки или трещины определяют в месте ее максимальной величины. Длину посечки или трещины определяют металлической линейкой (ГОСТ 427-75) с ценой деления шкалы 1 мм.
4.14в. Наличие поверхностных посечек и выплавок в канале изделий, а также качество поверхности изделий определяют органолептическим методом измерения показателей качества продукции (ГОСТ 15467-79).
4.14а - 4.14б (Введены дополнительно, Изм. № 4).
4.15. (Исключен, Изм. № 4).
5.1. Маркировка изделий должна производиться по ГОСТ 24717-81. Перед номером изделия следует ставить маркировочный знак С (сифонные изделия).
5.2. Хранение и транспортирование изделий производят по ГОСТ 24717-81.
5.3. Каждая партия сифонных изделий должна сопровождаться документом, удостоверяющим соответствие поставляемых изделий требованиям настоящего стандарта, в котором указывают:
а) товарный знак или наименование предприятия-изготовителя;
б) наименование изделий;
в) порядковый номер партии и дату выпуска;
г) результаты проверочных испытаний;
д) количество изделий;
е) номер настоящего стандарта.
5.4. (Исключен, Изм. № 4).
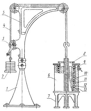
1. Аппаратура
1.1. Общий вид установки для испытания на термическую стойкость центровых трубок, сифонных пролетных и концевых трубок показан на черт. 1.

1 - подпятник; 2 - груз; 3 - рукоятка; 4 - канат; 5 - кронштейн; 6 - электрическая печь с нихромовым нагревателем; 7 - стол; 8 - крышка; 9 - обмотка; 10 - изоляция (легковес); 11 - изоляция (асбест); 12 - трубка; 13 - кожух.
Черт. 1
Установка состоит из следующих элементов:
электрической печи с вертикальной шамотной трубой диаметром 200-300 мм и высотой 400 мм; нагревателя (нихромовая лента). Прибор включается в сеть через трансформатор. Предельная температура в печи 800 °С. Для уменьшения теплопотерь труба изолирована асбестом (ГОСТ 2850-80), а пространство между железным кожухом печи и изолированной асбестом трубой с нихромовой обмоткой заполняется боем огнеупорного легковесного шамотного кирпича; приспособления для загрузки и выгрузки из печи испытуемых изделий; термопары по ГОСТ 6616-74 для замера температуры до 800-900 °С.
2. Проведение испытаний
2.1. Высушенную при 110 °С и остывшую до комнатной температуры испытуемую центровую трубку или пролетную сифонную трубку надевают на металлический стержень, а концевую сифонную трубку - на специальный штырь. Конец металлического стержня защищают от воздействия высокой температуры шамотной шайбой. Верхнюю часть металлического стержня и штыря защищают от перегрева шамотной трубкой.
В центре печи устанавливают термопару, после чего печь включают в сеть. По достижении в печи температуры 800 °С термопару вынимают, подготовленное изделие подвешивают на металлический трос и при помощи специального приспособления быстро загружают в печь.
После загрузки испытуемого изделия трубу печи закрывают составной крышкой. Изделие выдерживают в печи 15 мин. В течение этого времени печь находится под током того же напряжения, которое было при достижении в печи температуры 800 °С. Падение температуры в печи после загрузки в нее изделия не нормируется.
2.2. Через 15 мин нагретое изделие извлекают из печи и охлаждают на воздухе.
3. Оценка термической стойкости изделий
3.1. Испытанию на термическую стойкость подвергают три изделия от одной партии.
Термическая стойкость изделия считается удовлетворительной, если после внезапного нагрева от комнатной температуры до 800 °С с выдержкой в течение 15 мин и последующего охлаждения оно не распадается на части (черт. 2а, б, в, д, е, ж), несмотря на наличие трещин, шелушения и сколов по торцам. Термическая стойкость изделия считается пониженной, если после испытания оно распадается на части (черт. 2г, з).
Черт. 2
4. Запись результатов испытаний
4.1. Результаты испытаний записывают по форме № 1.
Результаты определения термической стойкости сифонных изделий
|
Предприятие |
Номер партии |
Дата испытания |
Номер изделия |
Характер разрушения при испытании |
Оценки термической стойкости образцов при испытании |
Примечание |
|
|
|
|
|
|
|
|
ПРИЛОЖЕНИЕ 2 (Исключено, Изм. № 2).
ПРИЛОЖЕНИЕ 3 (Исключено, Изм. № 4).
|
Номер изделий |
d, мм |
d3, мм |
L, мм |
α° |
Объем, см3 ≈ |
Масса, кг ≈ |
||
|
1 |
- |
- |
- |
- |
2730 |
5,5 |
||
|
2 |
- |
- |
- |
- |
5105 |
10,2 |
||
|
3 |
- |
- |
- |
- |
5590 |
11,2 |
||
|
4 |
- |
- |
- |
- |
5750 |
11,5 |
||
|
5 |
- |
- |
- |
- |
6595 |
13,2 |
||
|
6 |
- |
- |
- |
- |
2235 |
4,5 |
||
|
7 |
- |
- |
- |
- |
3110 |
6,2 |
||
|
8 |
- |
- |
- |
- |
3390 |
6,8 |
||
|
9 |
- |
- |
- |
- |
3675 |
7,4 |
||
|
10 |
- |
- |
- |
- |
5280 |
10,6 |
||
|
11 |
- |
- |
- |
- |
2930 |
5,9 |
||
|
12 |
- |
- |
- |
- |
2715 |
5,4 |
||
|
13 |
- |
- |
- |
- |
2915 |
5,8 |
||
|
14 |
- |
- |
- |
- |
2755 |
5,5 |
||
|
15 |
- |
35 |
- |
- |
3095 |
6,2 |
||
|
|
- |
40 |
- |
- |
3045 |
6,1 |
||
|
16 |
- |
35 |
- |
- |
3050 |
6,1 |
||
|
|
- |
40 |
- |
- |
3005 |
6,0 |
||
|
17 |
- |
35 |
- |
- |
3015 |
6,0 |
||
|
|
- |
40 |
- |
- |
2970 |
5,9 |
||
|
18 |
- |
50 |
- |
- |
5630 |
11,3 |
||
|
30 |
- |
35 |
- |
- |
2850 |
5,7 |
||
|
|
- |
40 |
- |
- |
2770 |
5,5 |
||
|
31 |
- |
35 |
- |
- |
2790 |
5,6 |
||
|
|
- |
40 |
- |
- |
2705 |
5,4 |
||
|
32 |
- |
35 |
- |
- |
2725 |
5,4 |
||
|
|
- |
40 |
- |
- |
2650 |
5,2 |
||
|
33 |
- |
50 |
- |
- |
5090 |
10,2 |
||
|
35 |
- |
50 |
- |
- |
5010 |
10,0 |
||
|
36 |
- |
60 |
- |
- |
5470 |
10,9 |
||
|
38 |
- |
35 |
- |
- |
3070 |
6,1 |
||
|
|
- |
40 |
- |
- |
2990 |
6,0 |
||
|
39 |
- |
35 |
- |
- |
3010 |
6,0 |
||
|
|
- |
40 |
- |
- |
2935 |
5,9 |
||
|
40 |
- |
50 |
- |
- |
5355 |
10,7 |
||
|
41 |
- |
50 |
- |
- |
3255 |
6,5 |
||
|
43 |
- |
60 |
- |
- |
5795 |
11,6 |
||
|
46 |
- |
35 |
- |
- |
2790 |
5,6 |
||
|
|
- |
40 |
- |
- |
2705 |
5,4 |
||
|
47 |
- |
35 |
- |
- |
2725 |
5,4 |
||
|
|
- |
40 |
- |
- |
2650 |
5,2 |
||
|
49 |
- |
50 |
- |
- |
2970 |
5,3 |
||
|
51 |
- |
60 |
- |
- |
5470 |
10,9 |
||
|
54 |
- |
35 |
- |
- |
3010 |
6,0 |
||
|
|
|
40 |
- |
- |
2935 |
5,9 |
||
|
60 |
- |
35 |
- |
- |
2780 |
5,6 |
||
|
|
- |
40 |
- |
- |
2665 |
5,3 |
||
|
61 |
- |
35 |
- |
- |
2725 |
5,4 |
||
|
|
- |
40 |
- |
- |
2620 |
5,2 |
||
|
62 |
- |
50 |
- |
- |
4980 |
10,0 |
||
|
64 |
- |
50 |
- |
- |
4925 |
9,8 |
||
|
65 |
- |
35 |
- |
- |
2460 |
4,9 |
||
|
|
- |
40 |
- |
- |
2310 |
4,6 |
||
|
66 |
- |
35 |
- |
- |
2415 |
4,8 |
||
|
|
- |
40 |
- |
- |
2280 |
4,6 |
||
|
67 |
- |
40 |
- |
- |
2885 |
5,8 |
||
|
68 |
- |
35 |
- |
- |
5060 |
10,1 |
||
|
|
- |
40 |
- |
- |
4875 |
9,8 |
||
|
|
|
|
|
|
d = 35 |
d = 40 |
d = 35 |
d = 40 |
|
69 |
35 |
- |
125 |
- |
680 |
645 |
1,4 |
1,3 |
|
|
40 |
- |
150 |
- |
820 |
775 |
1,6 |
1,6 |
|
|
- |
- |
175 |
- |
955 |
900 |
1,9 |
1,9 |
|
|
- |
- |
200 |
- |
1090 |
1030 |
2,2 |
2,1 |
|
|
- |
- |
225 |
- |
1225 |
1160 |
2,4 |
2,3 |
|
|
- |
- |
250 |
- |
1360 |
1285 |
2,7 |
2,6 |
|
|
- |
- |
275 |
- |
1500 |
1415 |
3,0 |
2,8 |
|
|
- |
- |
300 |
- |
1635 |
1545 |
3,3 |
3,1 |
|
70 |
50 |
- |
150 |
- |
1205 |
2,4 |
||
|
|
- |
- |
200 |
- |
1610 |
3,2 |
||
|
|
- |
- |
250 |
- |
2010 |
4,0 |
||
|
|
- |
- |
300 |
- |
2410 |
4,8 |
||
|
71 |
60 |
- |
150 |
- |
1730 |
3,5 |
||
|
|
- |
- |
200 |
- |
2310 |
4,6 |
||
|
|
- |
- |
250 |
- |
2890 |
5,8 |
||
|
|
- |
- |
300 |
- |
3470 |
6,9 |
||
|
73 |
100 |
- |
200 |
- |
2485 |
5,0 |
||
|
|
- |
- |
250 |
- |
3065 |
6,1 |
||
|
|
- |
- |
300 |
- |
3645 |
7,3 |
||
|
74 |
60 |
- |
200 |
- |
2485 |
5,0 |
||
|
|
- |
- |
250 |
- |
3065 |
6,1 |
||
|
|
- |
- |
300 |
- |
3645 |
7,3 |
||
|
|
|
|
|
|
d = 35 |
d = 40 |
d = 35 |
d = 40 |
|
75 |
35 |
- |
150 |
- |
775 |
730 |
1,6 |
1,5 |
|
|
40 |
- |
200 |
- |
1045 |
985 |
2,1 |
2,0 |
|
|
- |
- |
250 |
- |
1320 |
1245 |
2,6 |
2,5 |
|
|
- |
- |
300 |
- |
1590 |
1500 |
3,2 |
3,0 |
|
76 |
50 |
- |
150 |
- |
1125 |
2,2 |
||
|
|
- |
- |
200 |
- |
1525 |
3,0 |
||
|
|
- |
- |
250 |
- |
1915 |
3,8 |
||
|
|
- |
- |
300 |
- |
2330 |
4,6 |
||
|
77 |
60 |
- |
150 |
- |
1555 |
3,1 |
||
|
|
- |
- |
200 |
- |
2135 |
4,3 |
||
|
|
- |
- |
250 |
- |
2715 |
5,4 |
||
|
|
- |
- |
300 |
- |
3290 |
6,6 |
||
|
|
|
|
|
|
d = 35 |
d = 40 |
d = 35 |
d = 40 |
|
78 |
35 |
- |
150 |
- |
755 |
705 |
1,5 |
1,4 |
|
|
40 |
- |
200 |
- |
1025 |
960 |
2,0 |
1,9 |
|
|
- |
- |
300 |
- |
1570 |
1475 |
3,1 |
3,9 |
|
79 |
35 |
- |
150 |
- |
735 |
685 |
1,5 |
1,4 |
|
|
40 |
- |
300 |
- |
1550 |
1465 |
3,1 |
2,9 |
|
80 |
35 |
- |
- |
- |
1043 |
2,1 |
||
|
|
40 |
- |
- |
- |
975 |
2,0 |
||
|
81 |
35 |
- |
- |
135 |
1010 |
2,0 |
||
|
|
40 |
- |
- |
135 |
950 |
1,9 |
||
|
82 |
50 |
- |
- |
135 |
1455 |
2,9 |
||
|
83 |
60 |
- |
- |
120 |
|
|
||
|
|
|
- |
- |
135 |
1950 |
3,9 |
||
|
|
|
- |
- |
150 |
|
|
||
|
|
|
|
|
|
d = 35 |
d = 40 |
d = 35 |
d = 40 |
|
84 |
35 |
|
150 |
- |
840 |
795 |
1,7 |
1,6 |
|
|
40 |
- |
175 |
- |
980 |
930 |
2,0 |
1,9 |
|
|
- |
- |
200 |
- |
1110 |
1050 |
2,2 |
2,1 |
|
|
- |
- |
250 |
- |
1385 |
1310 |
2,8 |
2,6 |
|
|
- |
- |
300 |
- |
1655 |
1565 |
3,3 |
3,1 |
|
85 |
50 |
- |
150 |
- |
1250 |
2,5 |
||
|
|
- |
- |
175 |
- |
1450 |
2,9 |
||
|
|
- |
- |
200 |
- |
1650 |
3,3 |
||
|
|
- |
- |
250 |
- |
2055 |
4,1 |
||
|
|
- |
- |
300 |
- |
2455 |
4,9 |
||
|
86 |
60 |
- |
150 |
- |
1850 |
3,7 |
||
|
|
- |
- |
175 |
- |
2140 |
4,3 |
||
|
|
- |
- |
200 |
- |
2430 |
4,9 |
||
|
|
|
|
|
|
d = 35 |
d = 40 |
d = 35 |
d = 40 |
|
87 |
35 |
- |
150 |
- |
790 |
745 |
1,6 |
1,5 |
|
|
40 |
- |
300 |
- |
1605 |
1515 |
3,2 |
3,0 |
|
88 |
40 |
- |
- |
- |
605 |
1,2 |
||
|
|
50 |
- |
- |
- |
560 |
1,1 |
||
|
89 |
50 |
- |
- |
- |
815 |
1,6 |
||
|
90 |
50 |
- |
- |
- |
2070 |
4,1 |
||
|
|
60 |
- |
- |
- |
1975 |
3,9 |
||
|
91 |
- |
- |
- |
- |
7435 |
14,9 |
||
|
92 |
24 |
- |
- |
- |
780 |
1,6 |
||
|
|
26 |
- |
- |
- |
770 |
1,5 |
||
|
|
28 |
- |
- |
- |
765 |
1,5 |
||
|
|
30 |
- |
- |
- |
755 |
1,5 |
||
|
|
35 |
- |
- |
- |
730 |
1,5 |
||
|
|
40 |
- |
- |
- |
700 |
1,4 |
||
|
|
45 |
- |
- |
- |
670 |
1,4 |
||
|
|
50 |
- |
- |
- |
630 |
1,3 |
||
|
93 |
- |
- |
- |
- |
825 |
1,6 |
||
Примечание. При расчете массы изделий средняя кажущаяся плотность ориентировочно принята 2,0 г/см3.
1. РАЗРАБОТАН И ВНЕСЕН Государственным комитетом по черной и цветной металлургии при Госплане СССР
ИСПОЛНИТЕЛИ
А.К. Карклит, А.Г. Маранц, И.Ю. Соломинская
2. УТВЕРЖДЕН И ВВЕДЕН В ДЕЙСТВИЕ Постановлением Государственного комитета стандартов, мер и измерительных приборов при Совете Министров СССР от 02.01.69 № 31
3. ВЗАМЕН ГОСТ 4978-49 и ГОСТ 5498-50
4. ССЫЛОЧНЫЕ НОРМАТИВНО-ТЕХНИЧЕСКИЕ ДОКУМЕНТЫ
|
Обозначение НТД, на который дана ссылка |
Номер пункта, подпункта, приложения |
|
ГОСТ 2409-80 |
|
|
ГОСТ 2642.4-86 |
|
|
ГОСТ 2850-80 |
Приложение 1 |
|
ГОСТ 5402-81 |
|
|
ГОСТ 6616-74 |
Приложение 1 |
|
ГОСТ 8179-85 |
|
|
ГОСТ 24717-81 |
|
|
ГОСТ 25706-83 |
|
5. Срок действия продлен до 01.01.99 Постановлением Государственного комитета СССР по стандартам от 22.06.88 № 2091
6. Переиздание (ноябрь 1988 г.) с Изменениями № 2, 3, 4, утвержденными в апреле 1974 г., июне 1979 г., июне 1988 г. (ИУС 6-74, 8-79, 10-88).
СОДЕРЖАНИЕ