СИСТЕМА НОРМАТИВНЫХ ДОКУМЕНТОВ В СТРОИТЕЛЬСТВЕ
СВОД ПРАВИЛ ПО
ПРОЕКТИРОВАНИЮ
И СТРОИТЕЛЬСТВУ
ЕСТЕСТВЕННОЕ ОСВЕЩЕНИЕ
ЖИЛЫХ И ОБЩЕСТВЕННЫХ ЗДАНИЙ
СП 23-102-2003
Москва
2005
ПРЕДИСЛОВИЕ
1 РАЗРАБОТАН Научно-исследовательским институтом строительной физики Российской академии архитектуры и строительных наук (НИИСФ РААСН) и Федеральным государственным унитарным предприятием - Центром методологии нормирования и стандартизации в строительстве (ФГУП ЦНС)
ВНЕСЕН Управлением технического нормирования, стандартизации и сертификации в строительстве и ЖКХ Госстроя России
2 ОДОБРЕН для применения постановлением Госстроя России от 18 июня 2003 г. № 63
3 ВВЕДЕН ВПЕРВЫЕ
СОДЕРЖАНИЕ
Настоящий Свод правил по проектированию естественного освещения жилых и общественных зданий разработан в развитие СНиП 23-05-95* «Естественное и искусственное освещение».
Свод правил дает основные принципы проектирования и методы расчета, которые обеспечивают выполнение обязательных требований СНиП 23-05-95* в части, касающейся вопросов естественного и совмещенного освещения жилых и общественных зданий.
В Своде правил приведены методы расчета нормируемых параметров естественного освещения помещений с боковой и верхней системами освещения для открытых пространств и с учетом городской застройки с различными схемами размещения зданий относительно друг друга, приведены также методы расчета светотехнических параметров, входящих в основные формулы расчета коэффициента естественной освещенности.
Свод правил содержит рекомендации по проектированию совмещенного освещения, выбору уровней искусственного освещения в совмещенной системе в зависимости от времени использования естественного света в помещении.
Применение Свода правил будет способствовать принятию более экономичных проектных решений и экономии тепловой энергии.
При разработке Свода правил использованы положения действующих в Российской Федерации нормативных документов.
По мере накопления опыта проектирования, строительства и эксплуатации жилых и общественных зданий с различными системами естественного освещения будет проанализирована эффективность установленных в Своде правил положений и будут внесены необходимые изменения в нормативные документы.
Настоящий Свод правил разработали: В.А. Земцов (отв. исполнитель), В.Г. Гагарин (НИИСФ РААСН).
СВОД ПРАВИЛ ПО ПРОЕКТИРОВАНИЮ И СТРОИТЕЛЬСТВУ
ЕСТЕСТВЕННОЕ
ОСВЕЩЕНИЕ
ЖИЛЫХ И ОБЩЕСТВЕННЫХ ЗДАНИЙ
Natural lighting of residential and public buildings
Настоящий Свод правил устанавливает требования по проектированию естественного и совмещенного освещения жилых и общественных зданий в соответствии со СНиП 23-05, предусматривающие оптимальное решение систем освещения, обеспечивающее комфортные условия зрительных работ.
Настоящий Свод правил распространяется на проектируемые, реконструируемые и эксплуатируемые жилые и общественные здания.
В настоящем Своде правил приведены ссылки на следующие нормативные документы:
СНиП 2.08.02-89* Общественные здания и сооружения
СНиП 23-01-99* Строительная климатология
СНиП 23-02-2003 Тепловая защита зданий
СНиП 23-05-95* Естественное и искусственное освещение
СНиП 31-01-2003 Здания жилые многоквартирные
СП 23-101-2004 Проектирование тепловой защиты зданий
ГОСТ 26602.4-99 Блоки оконные и дверные. Метод определения общего коэффициента пропускания света
Термины с соответствующими определениями приведены в приложении А.
Основные обозначения, принятые в настоящем Своде правил, приведены в приложении Г.
4.1 При проектировании естественного освещения зданий следует руководствоваться требованиями, установленными СНиП 23-05, указаниями настоящего Свода правил и других документов, утвержденных и согласованных в установленном порядке.
При проектировании освещения следует предпочитать варианты, которые позволяют обеспечивать нормативные требования с наименьшими энергетическими и материальными затратами.
4.2 Система естественного освещения должна обеспечивать:
нормированные значения коэффициента естественной освещенности (КЕО) на рабочих местах или в расчетной точке помещения;
регламентируемые требования к равномерности распределения КЕО в рабочих зонах помещения;
нормированное значение коэффициента запаса;
максимальное время использования естественного света.
5.1 В соответствии со СНиП 23-05 территория Российской Федерации зонирована на пять групп административных районов по ресурсам светового климата. Перечень административных районов, входящих в группы обеспеченности естественным светом, приведен в таблице 1.
Таблица 1
|
Административный район |
|
|
1 |
Московская, Смоленская, Владимирская, Калужская, Тульская, Рязанская, Нижегородская, Свердловская, Пермская, Челябинская, Курганская, Новосибирская, Кемеровская области, Республика Мордовия, Чувашская Республика, Удмуртская Республика, Республика Башкортостан, Республика Татарстан, Красноярский край (севернее 63° с.ш.), Республика Саха (Якутия) (севернее 63° с.ш.), Чукотский автон. округ, Хабаровский край (севернее 55° с.ш.) |
|
2 |
Брянская, Курская, Орловская, Белгородская, Воронежская, Липецкая, Тамбовская, Пензенская, Самарская, Ульяновская, Оренбургская, Саратовская, Волгоградская области, Республика Коми, Кабардино-Балкарская Республика, Республика Северная Осетия-Алания, Чеченская Республика, Республика Ингушетия, Ханты-Мансийский автономный округ, Республика Алтай, Красноярский край (южнее 63° с.ш.), Республика Саха (Якутия) (южнее 63° с.ш.), Республика Тыва, Республика Бурятия, Читинская область, Хабаровский край (южнее 55° с.ш.), Магаданская, Сахалинская области |
|
3 |
Калининградская, Псковская, Новгородская, Тверская, Ярославская, Ивановская, Ленинградская, Вологодская, Костромская, Кировская области, Республика Карелия, Ямало-Ненецкий автономный округ, Ненецкий автономный округ |
|
4 |
Архангельская, Мурманская области |
|
5 |
Республика Калмыкия, Ростовская, Астраханская области, Ставропольский край, Краснодарский край, Республика Дагестан, Амурская область, Приморский край |
5.2 Значения КЕО в жилых и общественных зданиях, расположенных в первой группе административных районов, принимают в соответствии с приложением И СНиП 23-05.
5.3 Значения КЕО в жилых и общественных зданиях, расположенных во второй, третьей, четвертой и пятой группах административных районов, определяют по формуле
eN = eнmN, (1)
где N - номер группы административных районов по таблице 1;
ен - нормированное значение КЕО по приложению И СНиП 23-05;
mN - коэффициент светового климата, принимаемый по таблице 2.
Таблица 2
|
Ориентации световых проемов по сторонам горизонта |
Коэффициент светового климата тN |
|||||
|
Номер группы административных районов |
||||||
|
1 |
2 |
3 |
4 |
5 |
||
|
В наружных стенах зданий |
С |
1 |
0,9 |
1,1 |
1,2 |
0,8 |
|
СВ, СЗ |
1 |
0,9 |
1,1 |
1,2 |
0,8 |
|
|
З, В |
1 |
0,9 |
1,1 |
1,1 |
0,8 |
|
|
ЮВ, ЮЗ |
1 |
0,85 |
1 |
1,1 |
0,8 |
|
|
Ю |
1 |
0,85 |
1 |
1,1 |
0,75 |
|
|
В зенитных фонарях |
- |
1 |
0,9 |
1,2 |
1,2 |
0,75 |
|
Примечание - С - северная; СВ - северовосточная; СЗ - северо-западная; В - восточная; З - западная; Ю - южная; ЮВ - юго-восточная; ЮЗ - юго-западная ориентация. |
||||||
Полученные по формуле (1) значения следует округлять до десятых долей.
Значения КЕО увязывают с нормированными значениями освещенности Ен от искусственного освещения при различных зрительных работах через критические наружные освещенности по формуле
Ен = 0,01ерЕкр, (2)
где ер - расчетный коэффициент естественной освещенности;
Екр - критическая наружная освещенность.
5.4 Проектирование естественного освещения зданий должно базироваться на изучении трудовых процессов, выполняемых в помещениях, а также на светоклиматических особенностях места строительства зданий. При этом должны быть определены следующие параметры:
характеристика и разряд зрительных работ;
группа административного района, в котором предполагается строительство здания;
нормированное значение КЕО с учетом характера зрительных работ и светоклиматических особенностей места расположения зданий;
требуемая равномерность естественного освещения;
продолжительность использования естественного освещения в течение суток для различных месяцев года с учетом назначения помещения, режима работы и светового климата местности;
необходимость защиты помещения от слепящего действия солнечного света.
5.5 Проектирование естественного освещения здания следует выполнять в следующей последовательности:
1-й этап:
определение требований к естественному освещению помещений;
выбор систем освещения;
выбор типов световых проемов и светопропускающих материалов;
выбор средств для ограничения слепящего действия прямого солнечного света;
учет ориентации здания и световых проемов по сторонам горизонта;
2-й этап:
выполнение предварительного расчета естественного освещения помещений (определение необходимой площади световых проемов);
уточнение параметров световых проемов и помещений;
3-й этап:
выполнение проверочного расчета естественного освещения помещений;
определение помещений, зон и участков, имеющих недостаточное по нормам естественное освещение;
определение требований к дополнительному искусственному освещению помещений, зон и участков с недостаточным естественным освещением;
определение требований к эксплуатации световых проемов;
4-й этап:
внесение необходимых корректив в проект естественного освещения и повторный проверочный расчет (при необходимости).
5.6 Систему естественного освещения здания (боковое, верхнее или комбинированное) следует выбирать с учетом следующих факторов:
назначения и принятого архитектурно-планировочного, объемно-пространственного и конструктивного решения здания;
требований к естественному освещению помещений, вытекающих из особенностей технологии производства и зрительной работы (см. 4.2 и 5.2);
климатических и светоклиматических особенностей места строительства;
экономичности естественного освещения (по энергетическим затратам).
5.7 Верхнее и комбинированное естественное освещение следует применять преимущественно в одноэтажных общественных зданиях большой площади (крытые рынки, стадионы, выставочные павильоны и т.п.).
5.8 Боковое естественное освещение следует применять в многоэтажных общественных и жилых зданиях, одноэтажных жилых зданиях, а также в одноэтажных общественных зданиях, в которых отношение глубины помещений к высоте верхней грани светового проема над условной рабочей поверхностью не превышает 8.
5.9 При выборе световых проемов и светопропускающих материалов следует учитывать:
требования к естественному освещению помещений (см. 5.4);
назначение, объемно-пространственное и конструктивное решение здания;
ориентацию здания по сторонам горизонта;
климатические и светоклиматические особенности места строительства;
необходимость защиты помещений от инсоляции;
степень загрязнения воздуха.
5.10 При проектировании бокового естественного освещения следует учитывать затенение, создаваемое противостоящими зданиями. Учет затенения производят в соответствии с разделом 7 настоящего Свода правил.
5.11 Светопрозрачные заполнения светопроемов в жилых и общественных зданиях выбирают с учетом требований СНиП 23-02.
5.12 При боковом естественном освещении общественных зданий с повышенными требованиями к постоянству естественного освещения и солнцезащите (например, картинные галереи) световые проемы следует ориентировать на северную четверть горизонта (С-СЗ-С-СВ).
5.13 Выбор устройств для защиты от слепящего действия прямого солнечного света следует производить с учетом:
ориентации световых проемов по сторонам горизонта;
направления солнечных лучей относительно человека в помещении, имеющего фиксированную линию зрения (ученик за партой, чертежник за чертежной доской и т.п.);
рабочего времени суток и года в зависимости от назначения помещения;
разницы между солнечным временем, по которому построены солнечные карты, и декретным временем, принятым на территории Российской Федерации.
При выборе средств для защиты от слепящего действия прямого солнечного света следует руководствоваться требованиями строительных норм и правил по проектированию жилых и общественных зданий (СНиП 31-01, СНиП 2.08.02).
5.14 При односменном рабочем (учебном) процессе и при эксплуатации помещений в основном в первую половину дня (например, лекционные аудитории), когда помещения ориентированы на западную четверть горизонта, применение солнцезащитных средств необязательно.
6.1 Совмещенное освещение помещений жилых и общественных зданий допускается предусматривать в случаях, когда это требуется по условиям выбора рациональных объемно-планировочных или градостроительных решений, за исключением жилых комнат домов и общежитий, гостиных и номеров гостиниц, спальных помещений санаториев и домов отдыха, групповых и игральных помещений детских дошкольных учреждений, палат лечебно-профилактических учреждений.
Примечания
1 Совмещенным освещением называют освещение, при котором в светлое время суток одновременно используются естественный и искусственный свет, при этом недостаточное по условиям зрительной работы естественное освещение дополняют искусственным освещением.
2 Совмещенное освещение устраивают только в помещениях с недостаточным естественным освещением, в которых расчетное значение КЕО составляет менее 90 % нормированного.
6.2 Нормированные значения КЕО при совмещенном освещении в жилых и общественных зданиях, расположенных в первой группе административных районов обеспеченности естественным светом, в зависимости от назначения помещения следует принимать по приложению И СНиП 23-05.
6.3 Нормированные значения КЕО при совмещенном освещении в жилых и общественных зданиях, расположенных во второй, третьей, четвертой и пятой группах административных районов, следует определять по формуле (1). Полученные значения округляют до десятых долей.
6.4 Нормированные значения освещенности при совмещенном освещении следует принимать в соответствии с приложением И СНиП 23-05 с учетом 6.5 и 6.6 СНиП 23-05.
6.5 При совмещенном освещении нормированную искусственную освещенность в учебных и учебно-производственных помещениях школ, школ-интернатов, профессионально-технических и средних специальных учебных заведений следует повышать на одну ступень по шкале освещенности.
6.6 При совмещенном освещении помещений жилых и общественных зданий с боковым естественным освещением, в которых расчетное значение КЕО составляет 80 % и менее нормированного значения при естественном освещении, нормы искусственной освещенности повышают на одну ступень по шкале освещенности. При боковом естественном освещении торговых залов магазинов и залов буфетов, раздаточных предприятий общественного питания допускается принимать расчетные значения КЕО в пределах от 60 % до 30 % нормированных значений КЕО при повышении норм искусственного освещения в системе общего освещения на одну ступень по шкале освещенности.
6.7 При совмещенном освещении помещений общественных зданий, офисных помещений, учебных и учебно-производственных помещений школ, школ-интернатов, профессионально-технических и средних специальных учебных заведений следует предусматривать раздельное включение рядов светильников, расположенных параллельно светопроемам.
6.8 Проектирование совмещенного освещения основывается на предварительном изучении объемно-планировочного решения здания, функциональных процессов, протекающих в помещениях, светоклиматических и климатических особенностей места строительства.
6.9 Проектирование совмещенного освещения выполняют в следующей последовательности:
а) в соответствии с исходными данными и требованиями 6.2 - 6.4 настоящего Свода правил в зависимости от места расположения здания на территории Российской Федерации устанавливают нормированное значение КЕО и освещенность от искусственного освещения в помещении;
б) определяют характеристики системы естественного освещения: тип, размеры, заполнение и расположение световых проемов, светотехнические параметры заполнения световых проемов;
в) определяют характеристики системы общего искусственного освещения: тип, количество и световой поток источников света, тип и количество светильников, их стоимостные и светотехнические характеристики, время использования искусственного освещения;
г) определяют место расположения здания на карте строительно-климатического районирования территории и устанавливают основные климатические параметры: среднюю температуру наиболее холодной пятидневки, среднюю температуру наружного воздуха за отопительный период; продолжительность отопительного периода; продолжительность вентиляционного периода; среднесуточные значения суммарной солнечной радиации на различно ориентированные поверхности;
д) выполняют расчет срока окупаемости затрат для следующих трех вариантов систем совмещенного освещения:
первый - расчетное значение КЕО равно нормированному или больше его при естественном освещении;
второй - расчетное значение КЕО соответствует нормированному при совмещенном освещении без повышения нормы искусственной освещенности;
третий - расчетное значение КЕО соответствует нормированному при совмещенном освещении с повышением нормы искусственной освещенности на одну ступень по шкале освещенности;
е) выбирают вариант, обеспечивающий минимальный срок окупаемости и удовлетворяющий требованиям СНиП 23-05. Равноэкономичные (различающиеся не более чем на 5 %) по сроку окупаемости варианты освещения следует сравнивать по суммарным энергозатратам и выбрать наименее энергоемкий.
7.1 Размеры и расположение световых проемов в помещении, а также соблюдение требований норм естественного освещения помещений определяют предварительным и проверочным расчетами.
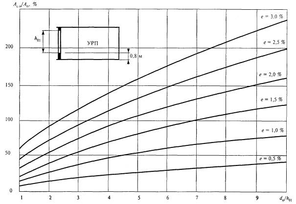
7.2 Предварительный расчет размеров световых проемов при боковом освещении без учета противостоящих зданий следует проводить с применением графиков, приведенных для помещений жилых зданий на рисунке 1, для помещений общественных зданий - на рисунке 2, для школьных классов - на рисунке 3. Расчет следует производить в следующей последовательности:
Рисунок 1 - График для определения относительной площади световых проемов Ас.о/Ап при боковом освещении жилых помещений
Рисунок 2 - График для определения относительной площади световых проемов Ас.о/Ап при боковом освещении помещений общественных зданий
Рисунок 3 - График для определения относительной площади световых проемов Ас.о/Ап при боковом освещении школьных классов
а) в зависимости от разряда зрительной работы или назначения помещения и группы административных районов по ресурсам светового климата Российской Федерации по приложению И СНиП 23-05 определяют нормированное значение КЕО для рассматриваемого помещения;
б) определяют глубину помещения dп, высоту верхней грани световых проемов над уровнем условной рабочей поверхности h01 и отношение dп/h01;
в) на оси абсцисс графика (рисунки 1, 2 или 3) определяют точку, соответствующую определенному значению dп/h01, через найденную точку проводят вертикальную линию до пересечения с кривой, соответствующей нормированному значению КЕО. По ординате точки пересечения определяют значение Ас.о/Ап;
г) разделив найденное значение Ас.о/Ап на 100 и умножив на площадь пола, находят площадь световых проемов в м2.
7.3 В случае когда размеры и расположение световых проемов в проекте зданий были выбраны по архитектурно-строительным соображениям, предварительный расчет значений КЕО в помещениях следует производить по рисункам 1 - 3 в следующей последовательности:
а) по строительным чертежам находят суммарную площадь световых проемов (в свету) Ас.о и освещаемую площадь пола помещения Ап и определяют отношение Ас.о/Ап,
б) определяют глубину помещения dп, высоту верхней грани световых проемов над уровнем условной рабочей поверхности h01 и отношение dп/h01;
в) с учетом типа помещений выбирают соответствующий график (рисунки 1, 2 или 3);
г) по значениям Ас.о/Ап и dп/h01 на графике находят точку с соответствующим значением КЕО.
Графики (рисунки 1 - 3) разработаны применительно к наиболее часто встречающимся в практике проектирования габаритным схемам помещений и типовому решению светопрозрачных конструкций - деревянным спаренным открывающимся переплетам.
Если в проекте здания приняты другие типы заполнения световых проемов, то найденные по рисункам 1 - 3 значения относительной площади световых проемов следует делить, а значение КЕО умножать на коэффициент К1, приведенный в таблице 3.
7.4 Для предварительного расчета площади световых проемов при верхнем освещении следует применять следующие графики: для зенитных фонарей с глубиной проема (светопроводной шахты) до 0,7 м - по рисунку 4; для шахтных фонарей - по рисункам 5, 6; для фонарей прямоугольных, трапециевидных, шед с вертикальным остеклением и шед с наклонным остеклением - по рисунку 7.
Таблица 3
|
Значения коэффициента К1 для графиков на рисунках |
||
|
1 |
2, 3 |
|
|
Один слой оконного стекла в стальных одинарных глухих переплетах |
- |
1,26 |
|
То же, в открывающихся переплетах |
- |
1,05 |
|
Один слой оконного стекла в деревянных одинарных открывающихся переплетах |
1,13 |
1,05 |
|
Три слоя оконного стекла в раздельно-спаренных металлических открывающихся переплетах |
- |
0,82 |
|
То же, в деревянных переплетах |
0,63 |
0,59 |
|
Два слоя оконного стекла в стальных двойных открывающихся переплетах |
- |
0,75 |
|
То же, в глухих переплетах |
- |
- |
|
Стеклопакеты (два слоя остекления) в стальных одинарных открывающихся переплетах* |
- |
1,00 |
|
То же, в глухих переплетах* |
- |
1,15 |
|
Стеклопакеты (три слоя остекления) в стальных глухих спаренных переплетах* |
- |
1,00 |
|
Пустотелые стеклянные блоки |
- |
0,70 |
|
* При применении других видов переплетов (ПВХ, деревянные и др.) коэффициент К1 принимают по таблице 3 до проведения соответствующих испытаний. |
||
Рисунок 4 - График для определения среднего значения КЕО еср в помещениях с зенитными фонарями с глубиной проема до 0,7 м и размерами в плане, м:
1 - 2,9´5,9; 2 - 2,7´2,7; 2,9´2,9; 1,5´5,9; 3 - 1,5´1,7
Рисунок 5 - График для определения среднего значения КЕО еср в общественных помещениях с шахтными фонарями с глубиной светопроводной шахты 3,50 м и размерами в плане, м:
1 - 2,9´5,9; 2 - 2,7´2,7; 2,9´2,9; 1,5´5,9; 3 - 1,5´1,7
Рисунок 6 - График для определения среднего значения КЕО еср в общественных помещениях с шахтными фонарями диффузного света с глубиной светопроводной шахты 3,50 м и размерами в плане, м:
1 - 2,9´5,9; 2 - 2,7´2,7; 2,9´2,9; 1,5´5,9; 3 - 1,5´1,7
Рисунок 7 - График для определения среднего значения КЕО еср в общественных помещениях с фонарями
1 - трапециевидный фонарь; 2 - шед, имеющий наклонное остекление; 3 - прямоугольный фонарь; 4 - шед, имеющий вертикальное остекление
Площадь световых проемов фонарей Ас.ф определяют по графикам на рисунках 4 - 7 в следующей последовательности:
а) в зависимости от разряда зрительной работы или назначения помещения и группы административных районов по ресурсам светового климата Российской Федерации по приложению И СНиП 23-05 или по формуле (1) определяют нормированное значение КЕО для рассматриваемого помещения;
б) на ординате графика определяют точку, соответствующую нормированному значению КЕО, через найденную точку проводят горизонталь до пересечения с соответствующей кривой графика (рисунки 4 - 7), по абсциссе точки пересечения определяют значение Ас.о/Ап;
в) разделив значение Ас.о/Ап на 100 и умножив на площадь пола, находят площадь световых проемов фонарей в м2.
Предварительный расчет значений КЕО в помещениях следует производить с применением графиков на рисунках 4 - 7 в следующей последовательности:
а) по строительным чертежам находят суммарную площадь световых проемов фонарей Ас.ф, освещаемую площадь пола помещения Ап и определяют отношение Ас.о/Ап;
б) с учетом типа фонаря выбирают соответствующий рисунок (4, 5, 6 или 7);
в) на выбранном рисунке через точку с абсциссой Ас.о/Ап проводят вертикальную линию до пересечения с соответствующим графиком; ордината точки пересечения будет равна расчетному среднему значению коэффициента естественной освещенности еср.
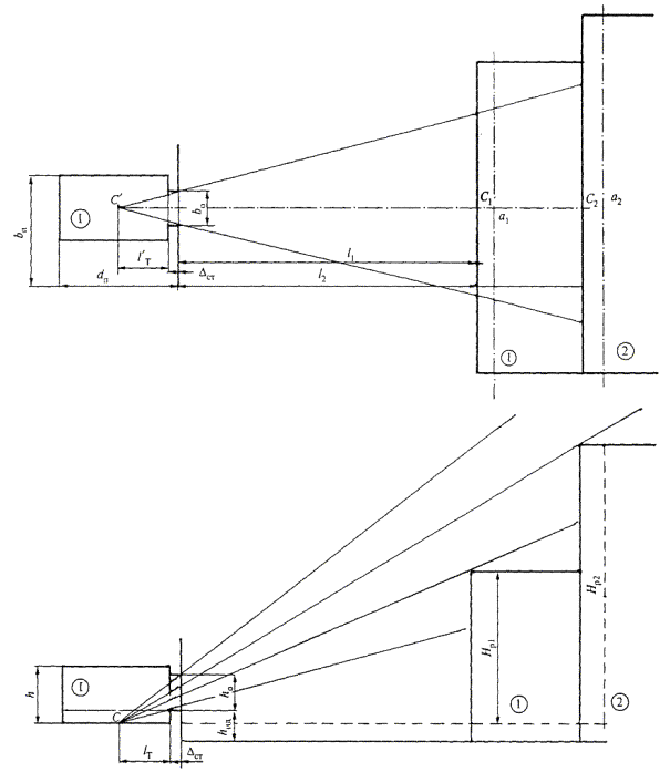
7.5 Проверочный расчет КЕО в точках характерного разреза помещения при боковом освещении следует выполнять в соответствии с методикой, изложенной в приложении Б настоящего Свода правил по формуле (Б.1).
Расчет КЕО следует производить в следующей последовательности:
а) график I (рисунок 8) накладывают на поперечный разрез помещения таким образом, чтобы его полюс (центр) 0 совместился с расчетной точкой А (рисунок 9), а нижняя линия графика - со следом рабочей поверхности;
б) по графику I подсчитывают число лучей, проходящих через поперечный разрез светового проема от неба n1, и от противостоящего здания п¢1 в расчетную точку А;
в) отмечают номера полуокружностей на графике I, совпадающих с серединой С1 участка светопроема, через который из расчетной точки видно небо, и с серединой С2 участка светопроема, через который из расчетной точки видно противостоящее здание (рисунок 9);
г) график II (рисунок 10) накладывают на план помещения таким образом, чтобы его вертикальная ось и горизонталь, номер которой соответствует номеру концентрической полуокружности (пункт «в»), проходили через точку С1 (рисунок 9);
д) подсчитывают число лучей n2 по графику II, проходящих от неба через световой проем на плане помещения в расчетную точку А;
е) определяют значение геометрического КЕО eб, учитывающего прямой свет от неба, по формуле (Б.9) приложения Б;
ж) график II накладывают на план помещения таким образом, чтобы его вертикальная ось и горизонталь, номер которой соответствует номеру концентрической полуокружности (пункт «в»), проходили через точку С2;
з) подсчитывают число лучей п¢2 по графику II, проходящих от противостоящего здания через световой проем на плане помещения в расчетную точку А;
и) по формуле (Б.10) приложения Б определяют значение геометрического коэффициента естественной освещенности eзд, учитывающего свет, отраженный от противостоящего здания;
к) определяют значение угла q, под которым видна середина участка неба из расчетной точки на поперечном разрезе помещения (рисунок 9);
л) по значению угла q и заданным параметрам помещения и окружающей застройки в соответствии с приложением Б определяют значения коэффициентов qi, bф, kзд, r0, t0 и Кз подставляют в формулу (Б.1) и вычисляют значение КЕО в расчетной точке помещения.
Примечания
1 Графики I и II применимы только для световых проемов прямоугольной формы.
2 План и разрез помещения выполняют (вычерчивают) в одинаковом масштабе.
7.6 При наличии в помещении различно ориентированных световых проемов расчет КЕО в точках характерного разреза производят для каждого светового проема отдельно, а полученные значения КЕО для каждой точки суммируют.
7.7 При наличии в помещении балкона или лоджии проверочный расчет выполняют так же, как и для помещений без балкона или лоджии, а наличие балкона или лоджии учитывают понижающим коэффициентом t4 из таблицы Б.8, который входит составной частью в общий коэффициент светопропускания t0.
Разрез
План

А - расчетная точка; 0 - полюс графика I; С1 - середина участка светового проема, через который из расчетной точки видно небо; С2 - середина участка светового проема, через который из расчетной точки видно противостоящее здание
Рисунок 9 - Пример использования графика I для подсчета числа лучей от неба и противостоящего здания
7.8 Проверочный расчет КЕО в точках характерного разреза помещения при верхнем освещении через фонари прямоугольные, шед и трапециевидные следует выполнять в соответствии с приложением Б настоящего Свода правил по формуле (Б.2).
Расчет КЕО производят в следующей последовательности:
а) график I (рисунок 8) накладывают на поперечный разрез помещения таким образом, чтобы полюс (центр) 0 графика совмещался с расчетной точкой, а нижняя линия графика - со следом рабочей поверхности. Подсчитывают число радиально направленных лучей графика I, проходящих через поперечный разрез первого проема (n1)1, второго проема - (n1)2, третьего проема - (n1)3 и т.д.; при этом отмечают номера полуокружностей, которые проходят через середину первого, второго, третьего проемов и т.д.;
б) определяют углы q1, q2, q3 и т.д. между нижней линией графика I и линией, соединяющей полюс (центр) графика I с серединой первого, второго, третьего проемов и т.д.;
в) график II (рисунок 10) накладывают на продольный разрез помещения; при этом график располагают так, чтобы его вертикальная ось и горизонталь, номер которой должен соответствовать номеру полуокружности на графике I, проходили через середину проема (точка С).
Подсчитывают число лучей по графику II, проходящих через продольный разрез первого проема (n2)1, второго проема - (n2)2, третьего проема - (n2)3 и т.д.;
г) вычисляют значение геометрического КЕО eв1 в первой точке характерного разреза помещения по формуле
eВ1 = 0,01[(n1qn2)1 + (n1qn2)2 + (n1qn2)3 + ... + (п1qп2)Р], (3)
где Р - число световых проемов;
q - коэффициент, учитывающий неравномерную яркость участка небосвода, видимого из первой точки соответственно под углами q1, q2, q3 и т.д.;
д) повторяют вычисления в соответствии с пунктами «а», «б», «в», «г» для всех точек характерного разреза помещения до N включительно (где N - число точек, в которых производят расчет КЕО);
е) определяют среднее значение геометрического КЕО eср по формуле (Б.7) приложения Б;
ж) по заданным параметрам помещения и световых проемов в соответствии с приложением Б определяют значения r2, kф, t0;
з) последовательно для всех точек вычисляют расчетное значение КЕО по формуле (Б.2) приложения Б.
7.9 Проверочный расчет значений КЕО в точках характерного разреза помещения при верхнем освещении евр от зенитных и шахтных фонарей следует выполнять по формуле
(4)
где Аф.в - площадь входного верхнего отверстия фонаря;
Nф - число фонарей;
q(ai) - коэффициент, учитывающий неравномерную яркость облачного неба МКО и определяемый по рисунку 11;
a - угол между прямой, соединяющей расчетную точку с центром нижнего отверстия фонаря, и нормалью к этому отверстию;
eср - среднее значение геометрического КЕО;
Кс - коэффициент светопередачи фонаря, определяемый для фонарей с диффузным отражением стенок по рисунку 12, а для фонарей с направленным отражением стенок - по рисунку 13 по значению индекса светового проема шахтного фонаря iф;
Рисунок 11 - График для определения коэффициента q(a) в зависимости от угла a
1 - rд = 0,9; 2 - rд = 0,8; 3 - rд = 0,7; 4 - rд = 0,6; 5 - rд = 0,5
Рисунок 12 - График для определения коэффициента светопередачи Кс фонарей с диффузным отражением стенок шахты
1 - rн = 0,9; 2 - rн = 0,8; 3 - rн = 0,7; 4 - rн = 0,6; 5 - rн = 0,5
Рисунок 13 - График для определения коэффициента светопередачи Кс фонарей с направленным отражением стенок шахты при различных значениях коэффициента диффузного отражения стенок шахты
Кз - расчетный коэффициент, учитывающий снижение КЕО и освещенности в процессе эксплуатации вследствие загрязнения и старения светопрозрачных заполнений в световых проемах, а также снижение отражающих свойств поверхностей помещения (коэффициент запаса). Индекс светового проема фонаря с отверстиями в форме прямоугольника iф определяют по формуле
(5)
где Аф.н - площадь нижнего отверстия фонаря, м2;
Аф.в - площадь верхнего отверстия фонаря, м2;
hс.ф - высота светопроводной шахты фонаря, м.
Рф.в, Рф.н - периметр верхнего и нижнего отверстий фонаря соответственно, м.
То же, с отверстиями в форме круга - по формуле
iф = (rф.в + rф.н)/2hс.ф, (6)
где rф.в, rф.н - радиус верхнего и нижнего отверстий фонаря соответственно.
Коэффициент t0 определяют по формуле (Б.6), r2 - по таблице Б.9 приложения Б, коэффициент запаса Кз - по таблице 3 СНиП 23-05.
Вычисляют значение геометрического КЕО в первой точке характерного разреза помещения по формуле
Повторяют вычисления для всех точек характерного разреза помещения до Nj включительно (где Nj - число точек, в которых производят расчет КЕО).
Определяют eср по формуле
eср = (e1 + e2 + e3 + ... + eNj)/Nj. (8)
Последовательно для всех точек вычисляют прямую составляющую КЕО sпр по формуле
sпр = ejt0/Kз. (9)
Определяют отраженную составляющую КЕО sотр, значение которой одинаково для всех точек, по формуле
sотр = eср(r2 - 1)t0/K3. (10)
Определяют расчетное значение КЕО евp в каждой точке характерного разреза с учетом отраженного от поверхностей помещения и прямого света по формуле
евp = sпр + sотр. (11)
7.10 Проверочный расчет среднего значения КЕО в плоскости характерного разреза помещения при верхнем освещении следует выполнять по формуле (Б.8) приложения Б. Число расчетных точек в плоскости характерного разреза помещения должно быть не менее пяти.
7.11 При расчете КЕО в помещениях со световыми проемами в наружных стенах круглой, полукруглой или эллиптической формы такие светопроемы следует заменять светопроемами прямоугольной формы одинаковой площади, для чего световой проем описывают прямоугольником и определяют его размеры (рисунок 14).
7.12 В помещениях со световыми проемами круглой формы в покрытии значение геометрического КЕО eВi, %, следует определять по формуле
eВi = 100sin2(q/2), (12)
где q - угол, образуемый линиями, проведенными из расчетной точки А к границам светопроема (рисунок 15), град.
r - радиус окружности; а - большая полуось эллипса; b - малая полуось эллипса
Рисунок 14 - Замена круглого (а), полукруглого (б) и эллиптического (в) светопроемов эквивалентными прямоугольными
q - угол, под которым виден диаметр светопроема из расчетной точки А
Рисунок 15 - Схема для определения КЕО от светопроемов круглой формы в покрытии
8.1 Для обеспечения естественного освещения жилых помещений, отвечающего требованиям СНиП 23-05, отношение глубины помещения dп к высоте верхней грани светового проема над уровнем пола h02 (рисунок 16), как правило, не должно превышать 2,5.
8.2 Нормированные значения КЕО при боковом освещении в жилых зданиях, располагаемых в административных районах различных групп по ресурсам светового климата, следует принимать по таблице 4.
При разработке типовых проектов жилых зданий, предназначенных для расположения в административных районах второй, третьей, четвертой и пятой групп по ресурсам светового климата, ориентация которых по сторонам горизонта неизвестна, значение КЕО следует определять согласно 5.3 настоящего Свода правил, при этом коэффициент светового климата mN следует принимать для северной ориентации световых проемов по сторонам горизонта.
8.3 При разработке типовых проектов жилых зданий, когда неизвестно расположение противостоящих зданий, значение КЕО, полученное по формуле (Б.1) приложения Б для открытого горизонта (без противостоящего здания), необходимо умножать на коэффициент Kзд2 = Kзд × bф согласно таблице 5, учитывающий среднестатистическое затенение световых проемов в жилых помещениях первого или второго (в случае расположения на первом этаже магазинов, библиотек, ателье и т.п.) этажа противостоящими зданиями.
8.4 Для увеличения коэффициента использования естественного освещения следует принимать, как правило, светлую отделку фасадов зданий и поверхностей жилых помещений, располагаемых на нижних этажах зданий.
8.5 В жилых зданиях высотой в 3 этажа и более, располагаемых в III и IV климатических районах Российской Федерации, световые проемы, а в IV районе (рисунок 17) также проемы лоджий и веранд, обращенные на сектор горизонта 200° - 290°, должны быть оборудованы наружными регулируемыми солнцезащитными устройствами.
Разрез
План

Рисунок 16 - Разрез и план жилой комнаты
Таблица 4 - Нормированные значения КЕО при боковом естественном освещении в основных помещениях жилых и общественных зданий в различных группах административных районов по ресурсам светового климата
|
Группы административных районов по ресурсам светового климата |
Ориентация световых проемов по сторонам горизонта, град. |
Нормированные значения КЕО, % |
|||||
|
в рабочих кабинетах зданий управления, офисах |
в школьных классах |
в жилых помещениях |
в выставочных залах |
в читальных залах |
в проектных залах, чертежно-конструкторских бюро |
||
|
1 |
69 - 113 249 - 293 |
1,00 |
1,50 |
0,50 |
0,70 |
1,20 |
1,50 |
|
114 - 158 204 - 248 |
1,00 |
1,50 |
0,50 |
0,70 |
1,20 |
1,50 |
|
|
159 - 203 |
1,00 |
1,50 |
0,50 |
0,70 |
1,20 |
1,50 |
|
|
294 - 68 |
1,00 |
- |
0,50 |
0,70 |
1,20 |
1,50 |
|
|
2 |
69 - 113 249 - 293 |
0,90 |
1,40 |
0,50 |
0,60 |
1,10 |
1,40 |
|
114 - 158 204 - 248 |
0,90 |
1,30 |
0,40 |
0,60 |
1,10 |
1,30 |
|
|
159 - 203 |
0,90 |
1,30 |
0,40 |
0,60 |
1,10 |
1,30 |
|
|
294 - 68 |
0,90 |
- |
0,50 |
0,60 |
1,10 |
1,40 |
|
|
3 |
69 - 113 249 - 293 |
1,10 |
1,70 |
0,60 |
0,80 |
1,30 |
1,70 |
|
114 - 158 204 - 248 |
1,00 |
1,50 |
0,50 |
0,70 |
1,20 |
1,50 |
|
|
159 - 203 |
1,00 |
1,50 |
0,50 |
0,70 |
1,20 |
1,50 |
|
|
294 - 68 |
1,10 |
- |
0,60 |
0,80 |
1,30 |
1,70 |
|
|
4 |
69 - 113 249 - 293 |
1,10 |
1,70 |
0,60 |
0,80 |
1,30 |
1,70 |
|
114 - 158 204 - 248 |
1,10 |
1,70 |
0,60 |
0,80 |
1,30 |
1,70 |
|
|
159 - 203 |
1,10 |
1,70 |
0,60 |
0,80 |
1,30 |
1,70 |
|
|
294 - 68 |
1,20 |
- |
0,60 |
0,80 |
1,40 |
1,80 |
|
|
5 |
69 - 113 249 - 293 |
0,80 |
1,20 |
0,40 |
0,60 |
1,00 |
1,20 |
|
114 - 158 204 - 248 |
0,80 |
1,20 |
0,40 |
0,60 |
1,00 |
1,20 |
|
|
159 - 203 |
0,80 |
1,10 |
0,40 |
0,50 |
0,90 |
1,10 |
|
|
294 - 68 |
0,80 |
- |
0,40 |
0,60 |
0,90 |
1,20 |
|
Таблица 5
|
От 2 до 3 |
От 3 до 4 |
От 4 до 5 |
От 5 до 6 |
|
|
Значение коэффициента Кзд2 |
1,00 |
0,75 |
0,60 |
0,50 |
Пример расчета естественного освещения жилой комнаты
Требуется определить площадь светового проема в жилой комнате в Москве (рисунок 18).
Исходные данные. Глубина помещения dп = 6,0 м, ширина помещения bп = 3,4 м, площадь пола помещения Ап = 20,4 м2, толщина наружной стены 0,4 м, высота подоконника h0 = 0,8 м, высота светового проема окна h0 = 1,5 м; переплеты спаренные деревянные с двумя слоями остекления; средневзвешенный коэффициент отражения поверхностей помещения rср = 0,5, коэффициент запаса Кз = 1,2; здание располагается в первой группе административных районов по ресурсам светового климата.
Решение
1 По приложению И СНиП 23-05 определяют нормированное значение КЕО ен, равное 0,5 %.
2 Выполняют предварительный расчет естественного освещения: по глубине помещения dп = 6,0 м и высоте верхней грани светового проема над условной рабочей поверхностью h01 = 1,5 м определяют, что dп/h01 = 4,0.
3 На рисунке 1 на соответствующей кривой е = 0,5 % находят точку с абсциссой 4,0; по ординате этой точки определяют, что необходимая относительная площадь светового проема Ас.о/Ап составляет 19 %.
4 Площадь светового проема определяют по формуле
Ас.о = 0,19 ´ Ап = 0,19 ´ 20,4 = 3,88 м2.
Разрез М 1:50
План

Рисунок 18 - Разрез и план жилой комнаты
Следовательно, ширина светового проема при высоте 1,5 м должна составлять bс.п = = 3,88/1,5 = 2,58 м. Принимают оконный блок размером 1,5 ´ 2,7 м.
5 Производят проверочный расчет по формуле
n2 = 100енKз/(n1qir0bфКЗДt0).
6 По СНиП 23-05 находят коэффициент запаса: Кз = 1,2.
7 Накладывают график I для расчета коэффициента естественной освещенности методом А.М. Данилюка (рисунок 8) на поперечный разрез помещения (рисунок 19), совмещая полюс графика 0 с точкой А, а нижнюю линию графика - с полом; подсчитывают число лучей по графику I, проходящих через поперечный разрез светового проема: п1 = 3,4.
8 Отмечают, что через точку С на разрезе помещения проходит концентрическая полуокружность 27,2 графика I.
9 На поперечном разрезе помещения (рисунок 18) определяют, что угол q, под которым видна середина светового проема из расчетной точки А, равен 16,4°; по таблице Б.1 приложения Б линейной интерполяцией находят, что для этого угла коэффициент qi = 0,67.
Разрез М1:50
План

Рисунок 19 - Разрез и план жилой комнаты
10 По размерам помещения находят, что lT/dп = 0,83; bп/dп = 0,57.
11 По значениям dп/h01; lT/dп; bп/dп; bп/dп; rcp в приложении Б линейной интерполяцией находят r0: r0 = 4,5.
12 Учитывая, что
глубина помещения dп = 6,0 м, по таблице 5
определяют
:
= 0,5.
13 Для спаренного деревянного переплета с двойным остеклением определяют общий коэффициент светопропускания: t0 = 0,8 ´ 0,75 = 0,60.
14 Подставляя
значения коэффициентов ен,
Кз,
и t0 в формулу
пункта 5 данного примера, определяют
значение n2: п2
= 100 × 0,5 ´ 1,2/(3,4 × 0,67 × 4,5 × 0,5 × 0,6) = 19,5.
15 Накладывают график II для расчета КЕО методом А.М. Данилюка (рисунок 10) на план помещения (рисунок 19) таким образом, чтобы ось графика и горизонталь 27,2 проходили через точку С; на внешней поверхности наружной стены отмечают точки пересечения луча 13,6 выше (точка М) и ниже оси графика (точка Д) с линией X-Х; измеряют расстояние между точками М и Д, т.е. d¢ = 4,6 см.
16 Учитывая, что жилая комната изображена на рисунках 18 и 19 в масштабе 1:50, определяют требуемую ширину окна b0 = 50 ´ d¢ = 2,3 м.
Окончательно принимают стандартный оконный блок размером 1,5 ´ 2,4 м.
Примечание - Если помещение имеет балкон (лоджию), проверочный расчет выполняют так же, как и для помещения без балкона (лоджии), а наличие балкона или лоджии учитывают понижающим коэффициентом t4 из таблицы Б.8 приложения Б, который входит в общий коэффициент светопропускания t0.
8.6 Освещение рабочих кабинетов, офисов должно проектироваться на основе следующих требований:
а) создание необходимых условий освещения на рабочих столах, расположенных в глубине помещения при выполнении разнообразных зрительных работ (чтение типографского и машинописного текстов, рукописных материалов, различение деталей графических материалов и т.п.);
б) обеспечение зрительной связи с наружным пространством;
в) защита помещений от слепящего и теплового действия инсоляции;
г) благоприятное распределение яркости в поле зрения.
8.7 Боковое освещение рабочих кабинетов должно осуществляться, как правило, отдельными световыми проемами (одно окно на каждый кабинет). С целью снижения необходимой площади световых проемов высоту подоконника над уровнем пола рекомендуется принимать не менее 1 м.
8.8 При расположении здания в административных районах Российской Федерации первой, третьей и четвертой групп по ресурсам светового климата нормированное значение КЕО следует принимать: при глубине рабочих кабинетов (офисов) 5 м и более - по таблице 6 применительно к совмещенной системе освещения; менее 5 м - по таблице 4 применительно к естественной системе освещения.
8.9 Для обеспечения зрительного контакта с наружным пространством заполнение световых проемов должно, как правило, выполняться светопрозрачным оконным стеклом.
Таблица 6 - Нормированные значения КЕО при боковом совмещенном освещении в основных помещениях жилых и общественных зданий в административных районах различных групп по ресурсам светового климата
|
Группы административных районов по ресурсам светового климата |
Ориентация световых проемов по сторонам горизонта, град. |
КЕО, % |
||||
|
в рабочих кабинетах зданий управления, офисах |
в школьных классах |
в выставочных залах |
в читальных залах |
в проектных залах, чертежно-конструкторских бюро |
||
|
1 |
69 - 113 249 - 293 |
0,60 |
1,30 |
0,40 |
0,70 |
0,90 |
|
114 - 158 204 - 248 |
0,60 |
1,30 |
0,40 |
0,70 |
0,90 |
|
|
159 - 203 |
0,60 |
1,30 |
0,40 |
0,70 |
0,90 |
|
|
294 - 68 |
0,60 |
- |
0,40 |
0,70 |
0,90 |
|
|
2 |
69 - 113 249 - 293 |
0,50 |
1,20 |
0,40 |
0,60 |
0,80 |
|
114 - 158 204 - 248 |
0,50 |
1,10 |
0,40 |
0,60 |
0,80 |
|
|
159 - 203 |
0,50 |
1,10 |
0,40 |
0,60 |
0,80 |
|
|
294 - 68 |
0,50 |
- |
0,40 |
0,60 |
0,80 |
|
|
3 |
69 - 113 249 - 293 |
0,70 |
1,40 |
0,50 |
0,80 |
1,00 |
|
114 - 158 204 - 248 |
0,60 |
1,30 |
0,40 |
0,70 |
0,90 |
|
|
159 - 203 |
0,60 |
1,30 |
0,40 |
0,70 |
0,90 |
|
|
294 - 68 |
0,70 |
- |
0,50 |
0,90 |
1,00 |
|
|
4 |
69 - 113 249 - 293 |
0,70 |
1,40 |
0,50 |
0,80 |
1,00 |
|
114 - 158 204 - 248 |
0,70 |
1,40 |
0,50 |
0,80 |
1,00 |
|
|
159 - 203 |
0,70 |
1,40 |
0,50 |
0,80 |
1,00 |
|
|
294 - 68 |
0,70 |
- |
0,50 |
0,80 |
1,10 |
|
|
5 |
69 - 113 249 - 293 |
0,50 |
1,00 |
0,30 |
0,60 |
0,70 |
|
114 - 158 204 - 248 |
0,50 |
1,00 |
0,30 |
0,60 |
0,70 |
|
|
159 - 203 |
0,50 |
1,00 |
0,30 |
0,50 |
0,70 |
|
|
294 - 68 |
0,50 |
- |
0,30 |
0,60 |
0,70 |
|
8.10 Для ограничения слепящего действия солнечной радиации в рабочих кабинетах и офисах необходимо предусматривать шторы и легкие регулируемые жалюзи. При проектировании зданий управления и зданий под офисы для III и IV климатических районов Российской Федерации следует предусматривать оборудование световых проемов, ориентированных на сектор горизонта в пределах 200° - 290° солнцезащитными устройствами.
8.11 В помещениях значения коэффициента отражения поверхностей ρ должны быть не менее:
потолка и верхней части стен.......0,70
нижней части стен.........................0,50
пола.................................................0,30
Пример расчета естественного освещения рабочего кабинета
Требуется определить необходимую площадь окна в рабочих кабинетах здания управления, располагаемого в Москве (рисунок 20).
Исходные данные. Глубина помещения dп = 5,9 м, высота h = 2,9 м, ширина bп = 3,0 м, площадь пола Ап = 17,7 м2. Заполнение световых проемов двойным остеклением по спаренным алюминиевым переплетам; толщина наружных стен 0,35 м. Коэффициент отражения потолка rпот = 0,70; стен rст = 0,40; пола rп = 0,25. Затенение противостоящими зданиями отсутствует.
Разрез
План

Рисунок 20 - Разрез и план рабочего кабинета
Решение
1 Учитывая, что глубина помещения dп свыше 5 м (см. 8.8), по таблице 6 находят, что нормированное значение КЕО равно 0,6 %.
2 Производят предварительный расчет естественного освещения по исходной глубине помещения dп = 5,9 м и высоте верхней грани светового проема над условной рабочей поверхностью h01 = 1,9 м; определяют, что dп/h01 = 3,1.
3 На рисунке 2 на соответствующей кривой е = 0,6 % находят точку с абсциссой dп/h01 = 3,1. По ординате этой точки определяют, что необходимая относительная площадь светового проема Ао/Ап = 21,5 %.
4 Определяют площадь светового проема А0 по формуле
0,215Ап = 0,215 × 17,7 = 3,81 м2.
Следовательно, ширина светового проема b0 = 3,81/1,8 = 2,12 м.
Принимают оконный блок размером 1,8 ´ 2,1 м.
5 Производят проверочный расчет КЕО в точке М (рисунок 20) в соответствии с приложением Б по формуле
eбр = eбqir0t0/Kз.
Учитывая, что противостоящих зданий нет, eЗД × КЗД = 0.
6 Накладывают график I для расчета КЕО методом А.М. Данилюка на поперечный разрез помещения (рисунок 21), совмещая полюс графика I - 0 с точкой М, а нижнюю линию - с условной рабочей поверхностью; подсчитывают число лучей по графику I, проходящих через поперечный разрез светового проема: n1 = 2,96.
7 Отмечают, что через точку С на разрезе помещения (рисунок 21) проходит концентрическая полуокружность 26 графика I.
8 Накладывают график II для расчета КЕО на план помещения (рисунок 20) таким образом, чтобы его вертикальная ось и горизонталь 26 проходили через точку С; подсчитывают по графику II число лучей, проходящих от неба через световой проем: n2 = 24.
9 Определяют значение геометрического КЕО по формуле
eб = 0,01n1n2 = 0,01 × 2,96 × 24 = 0,71.
Разрез
План

Рисунок 21 - Разрез и план рабочего кабинета
10 На поперечном разрезе помещения в масштабе 1:50 (рисунок 21) определяют, что середина участка неба, видимого из расчетной точки М через световой проем, находится под углом q = 11°; по значению угла q по приложению Б линейной интерполяцией находят коэффициент, учитывающий неравномерную яркость облачного неба МКО: qi = 0,59.
11 По размерам помещения и светового проема находят, что dп/h01 = 3,1; lT/dп = 0,83; bп/dп = 0,51.
12 Находят площади поверхностей потолка Aпот, стен Аст и пола Ап и определяют средневзвешенный коэффициент отражения rср по формуле
rср = (rпотАпот + rстАст + rпАп)/(Апот + Аст + Ап) = 0,41.
13 По найденным значениям dп/h01; lT/dп; bп/dп по таблице Б.4 приложения Б находят, что r0 = 2,95.
14 Для спаренного алюминиевого переплета с двойным остеклением находят общий коэффициент пропускания света t0: t0 = t1t2 = 0,68.
15 По СНиП 23-05 находят, что коэффициент запаса для окон общественных зданий Кз = 1,2.
16 Определяют геометрический КЕО в точке М, подставляя значения коэффициентов eб, qi, r0, t0 и Кз в формулу пункта 5:
ерб = 0,71 × 0,59 × 2,95 × 0,68/1,2 = 0,70 %.
Следовательно, выбранные размеры светового проема обеспечивают требования норм по совмещенному освещению рабочего кабинета.
8.12 При проектировании естественного освещения учебных помещений в общеобразовательных школах должны обеспечиваться нормированные значения КЕО, благоприятная светоцветовая среда, направление светового потока с левой стороны, зрительная связь с наружным пространством, минимизация слепящего и теплового действия прямой солнечной радиации, оптимальная цветовая отделка помещений с учетом ориентации и климатических условий, снижение теплопотерь через световые проемы.
8.13 В школьных классах следует применять левостороннее боковое освещение, при котором окна в наружных стенах располагают с левой стороны от учащихся.
Во всех остальных помещениях (включая рекреации) следует предусматривать, как правило, боковое освещение через световые проемы в наружных стенах, которые должны обеспечивать зрительную связь с наружным пространством. Кабинеты черчения и рисования, а также кабинеты, оборудованные техническими средствами обучения, расположенные на верхних этажах зданий, допускается проектировать с одним верхним освещением через световые проемы в покрытии.
8.14 Нормированные значения КЕО в классах следует принимать по таблице 4 при естественном освещении и по таблице - 6 при совмещенном освещении.
При разработке типовых проектов школ, ориентация которых по сторонам горизонта при строительстве может быть разной, нормированное значение КЕО следует определять по формуле (1), а коэффициент светового климата mN - по таблице 2 для ориентации световых проемов на западный (восточный) сектор горизонта.
8.15 Нормированное значение КЕО в классах обеспечивается выбором размеров и расположения световых проемов.
8.16 В учебных помещениях значения коэффициента отражения поверхности должны быть не менее:
потолков, верхней части стен
и оконных откосов............................0,70;
панелей стен......................................0,55;
пола.....................................................0,40.
8.17 Для цветовой отделки поверхностей интерьера рекомендуются зеленый, желтый, сине-зеленый и белый цвета. При южной ориентации световых проемов рекомендуются холодные тона, при северной - более теплые. В лабораториях, кабинетах черчения и рисования, где важно правильное различение цвета, пол, стены и мебель должны быть окрашены в ахроматические цвета.
8.18 В школах, проектируемых для строительства в южных районах Российской Федерации, должны предусматриваться солнцезащитные устройства для устранения слепящего действия прямой и отраженной блескости и перегрева от проникающей солнечной радиации.
Пример расчета естественного освещения школьного класса
Требуется определить размеры световых проемов школьного класса.
Исходные данные. Район расположения школы - первая группа административных районов по ресурсам светового климата Российской Федерации (Ленинградская область); глубина класса dп = 7,74 м; ширина bп = 7,04 м; высота h = 3 м; высота световых проемов h0 = 2,1 м (высота подоконника hпд = 0,9 м); остекление двойное в раздельных деревянных переплетах; средневзвешенный коэффициент отражения стен пола и потолка rср = 0,50.
План и разрез школьного класса приведены на рисунке 22.
Решение
Предварительный расчет относительной ширины световых проемов производят по графику рисунка 3.
1 Определяют площадь пола: Ап = 7,74 ´ 7,04 = 54,5 м2.
2 Находят отношение глубины помещения dп к высоте окна от уровня условной рабочей поверхности h01: dп/h01 = 7,74/2,2 = 3,50.
3 По графику на рисунке 3 на соответствующей кривой е = 1,5 % находят точку с абсциссой dп/h01 = 3,50, по ординате этой точки определяют Ас.о/Ап = 24 %.
4 Вычисляют площадь световых проемов: Ас.о = Ап0,24 = 54,5 × 0,24 = 13,1 м2 и суммарную ширину окон bсо = 13,1/2,1 = 6,2 м.
5 Принимают два блока размером 2,1 ´ 2,4 м и один блок размером 2,1 ´ 1,8 м.
Проверочный расчет выполняют по формуле (Б.1) приложения Б.
8.19 Одной из главных задач освещения выставочных помещений является обеспечение благоприятных условий восприятия экспонатов, определяемых как освещением самих экспонатов, так и освещением окружающего пространства.
Разрез 1-1
План

Рисунок 22 - Разрез и план школьного помещения
Освещение экспонатов характеризуют средним значением КЕО, равномерностью освещенности в выставочной зоне помещения и направлением падения светового потока на плоскость выставочной зоны.
При освещении окружающего пространства должны обеспечиваться требуемое распределение освещенности в помещении; ограничение слепящего действия световых проемов; устранение инсоляции помещения; требуемое распределение яркости в помещении.
8.20 Среднее значение КЕО еср и предельно допустимое значение неравномерности освещенности в выставочной зоне в зависимости от вида экспозиции устанавливают в соответствии с таблицей 7.
8.21 Направление падения светового потока на выставочную зону зависит от расположения световых проемов относительно выставочной зоны и характеризуется углом j (рисунок 23). Угол падения прямого света на плоские экспонаты (картины, плакаты, гравюры, ткани и т.п.) при расположении их на стенах помещения или вертикальных стендах выбирают в пределах от 45° до 75° по отношению к горизонтали. При углах, больших 75°, на экспонатах создаются тени (от рамок и фактуры), искажающие облик экспонатов; при углах менее 45° отблески от экспонатов с блестящей фактурой будут попадать в глаза посетителей.
Угол падения прямого света на объемные экспонаты выбирают в пределах от 30° до 50°; такое направление падения света в наилучшей степени выявляет форму и детали объемных экспонатов.
8.22 В выставочных помещениях световые проемы по возможности не должны попадать в поле зрения посетителей при обзоре экспонатов; для ограничения слепящего действия световых проемов необходимо применять жалюзи и экраны.
При нормальном удалении посетителя от экспонатов (равном 1,5 высоты экспозиционной зоны) и ориентации глаз на середину выставочной зоны угол b (рисунок 23), под которым виден нижний край светопроема, должен быть не менее 30°. При высоте подоконников 1,2 м от пола и менее наружная стена и простенки не должны использоваться для экспозиции.
8.23 В помещениях, предназначенных для экспозиции живописи, графики, тканей, ковров, гобеленов и т.п., прямой солнечный свет должен быть исключен вследствие его разрушающего действия на красители, ткани и бумагу.
Таблица 7
|
Средние значения КЕО ecp, % |
Отношение максимального значения КЕО к минимальному, не более |
|
|
Выставки монументальной и станковой живописи, гравюр, плакатов, ковров, тканей и т.п. |
1,5 |
1,3 |
|
Выставки скульптуры, архитектуры, мебели |
1,5 |
2,0 |
|
Антропологические, археологические, этнографические выставки |
1,0 |
2,0 |
|
Исторические и военно-исторические выставки |
1,0 |
3,0 |
|
Машины, агрегаты, установки и т.п. |
3,0 |
3,0 |
b - защитный угол; j - угол падения прямого света на середину выставочной зоны
Рисунок 23 - Поперечный разрез выставочного помещения
Для устранения инсоляции в этих помещениях целесообразно выбирать ориентацию световых проемов на СВ, С, СЗ. При другой ориентации световых проемов в этих помещениях необходимо применять регулируемые внутренние (междурамные) или наружные жалюзи.
В экспозиционных помещениях с объемными экспонатами (скульптурами, макетами, машинами и т.п.) инсоляция желательна, так как прямой солнечный свет в наилучшей степени выявляет форму и детали экспонатов. Для этих помещений ориентацию световых проемов следует выбирать на ЮВ, Ю, ЮЗ.
8.24 Дополнительное искусственное освещение целесообразно использовать в следующих случаях:
а) при недостаточном естественном освещении;
б) при необходимости интенсивного местного освещения экспонатов (машины, агрегаты, витрины и стеклянные шкафы с мелкими экспонатами);
в) при необходимости выделить световыми акцентами отдельные экспонаты или их группы из общего объема интерьера (скульптуры, панно, картины и т.п.);
г) при неблагоприятном распределении естественной освещенности в помещении (например, когда часть экспозиционной площади находится в тени).
Искусственное освещение необходимо осуществлять преимущественно источниками света, излучение которых по спектру приближается к дневному. Для подсвета должна применяться специальная осветительная арматура, которую размещают, как правило, скрыто от посетителей (за подвесными потолками, встраивают в мебель или экспозиционное оборудование). При этом необходимо тщательно выбирать направление световых потоков, чтобы исключить возможность попадания в поле зрения посетителей незащищенных источников света и появления ярких бликов на экспонатах с полированными поверхностями.
При подсвете неравномерность распределения яркости в поле зрения не должна превышать 40:1.
8.25 Отделка внутренних поверхностей экспозиционных помещений должна отвечать следующим требованиям:
а) соответствовать назначению помещения, содержанию и характеру экспозиции: нейтральная в картинных галереях, акцентирующая в помещениях промышленных, сельскохозяйственных и строительных выставок;
б) быть увязанной с выбранной системой освещения, при этом поверхности, находящиеся в тени, должны иметь более светлую отделку по сравнению с интенсивно освещенными;
в) создавать необходимый контрастирующий фон для экспонатов (резкие контрасты нежелательны). В оформлении помещения не должно быть пестроты.
Отделку внутренних поверхностей выставочных помещений следует производить с учетом значений коэффициента отражения поверхности, приведенных в таблице 8.
8.26 В одноэтажных общественных зданиях с межферменным этажом с недостаточным боковым естественным освещением и большими по площади помещениями рекомендуется устраивать зенитные и шахтные фонари. К таким помещениям могут быть отнесены читальные, лекционные, спортивные, выставочные, торговые и обеденные залы и помещения верхних этажей общественных зданий.
Размещать фонари следует с учетом конструктивных элементов покрытия, инженерных коммуникаций и инженерного оборудования, размещаемых в межферменном этаже или пространстве подвесного потолка, а также в увязке с предполагаемым расположением светильников и с учетом требований равномерности освещения:
Таблица 8
|
Значения коэффициента отражения r |
|||
|
потолка |
стен |
пола |
|
|
Картинные галереи и выставки |
0,70 |
0,20 - 0,40 |
0,10 - 0,30 |
|
Скульптурные залы |
0,70 |
0,30 - 0,50 |
0,30 - 0,40 |
|
Политехнические и научные музеи |
0,70 - 0,80 |
0,20 - 0,70 |
0,20 - 0,50 |
|
Промышленные и сельскохозяйственные выставки |
0,70 - 0,80 |
0,70 - 0,80 |
0,20 - 0,50 |
а) квадратные в плане и круглые фонари рекомендуется размещать по углам квадрата, а прямоугольные - по углам прямоугольника с соотношением сторон в поперечном и продольном направлениях, соответствующим соотношению сторон основания опорного стакана или выходного отверстия светопроводной шахты;
б) в целях обеспечения равномерности освещения размеры выходных отверстий фонарей должны быть не более 0,25 - 0,50 высоты помещения, а расстояние между крайним рядом фонарей и стеной не должно превышать 0,50 расстояния между средними рядами фонарей;
в) фонари рекомендуется размещать между фермами или балками покрытия на площади, свободной от инженерных коммуникаций и оборудования.
8.27 Шахтные фонари рекомендуется устраивать на базе типовых решений зенитных фонарей. Верхнее отверстие светопроводной шахты стыкуется с нижним отверстием опорного стакана зенитного фонаря; нижнее отверстие светопроводной шахты должно быть на уровне потолка основного помещения.
8.28 Отделку внутренних полостей опорного стакана зенитных фонарей и светопроводную шахту шахтных фонарей диффузного света выполняют белыми красками по тщательно подготовленной, выровненной грунтовкой поверхности.
8.29 Светопроводные шахты шахтных фонарей направленного света облицовывают алюминиевой технической фольгой толщиной от 0,05 до 0,20 мм в зависимости от конструктивного решения светопроводной шахты.
8.30 Выбор фонарей в зависимости от типа зданий рекомендуется производить согласно таблице 9.
8.31 В зданиях с кондиционированным режимом выходное отверстие опорного стакана зенитного фонаря или светопроводной шахты шахтного фонаря рекомендуется заполнять армированным стеклом.
8.32 При расположении зданий в III и IV климатических районах Российской Федерации в зенитных и шахтных фонарях, у которых индекс iф > 0,5, необходимо применять солнцезащитные устройства.
8.33 Суммарная площадь фонарей в зданиях не должна превышать, как правило, 20 % освещаемой площади пола.
Пример расчета естественного освещения помещения с шахтными фонарями
Требуется определить значения КЕО в точках характерного разреза в зале многоцелевого назначения с шахтными фонарями.
Исходные данные. 1 Зал размером в плане 18 ´ 18 м; высота зала от условной рабочей поверхности до подвесного потолка, совпадающего с плоскостью выходного отверстия светопроводной шахты фонаря, 10 м; шахтные фонари направленного света размером в плане 1,5 ´ 1,5 м и высотой h3 = 3,8 м.
Таблица 9
|
Тип фонаря |
Характеристика фонаря |
|||
|
Вид отражения опорного стакана и светопроводной шахты |
Форма опорного стакана и светопроводной шахты |
Размеры входного отверстия в плане, м |
||
|
Инженерно-административное без подвесных потолков |
Зенитный |
Диффузное |
Прямоугольный параллелепипед |
1,5 ´ 1,7; 2,7 ´ 2,7 |
|
То же, с подвесным светопрозрачным потолком |
» |
Направленное |
То же |
То же |
|
То же, с подвесным непрозрачным потолком |
Шахтный |
Диффузное |
Усеченная пирамида |
» |
|
Общественное с техническим этажом |
» |
Направленное |
Прямоугольный параллелепипед Цилиндр |
1,5 ´ 1,7; 2,7 ´ 2,7 Диаметр 1,2; 1,5 |
|
Общественное с подвесным светопрозрачным потолком |
Зенитный |
» |
Усеченная пирамида Усеченный конус |
То же |
|
То же, с подвесным непрозрачным потолком |
Шахтный |
Диффузное |
Усеченная пирамида Усеченный конус |
» |
2 Средневзвешенный коэффициент диффузного отражения потолка, стен и пола rср = 0,4; коэффициент направленного отражения стенок фонаря rн = 0,7; световой проем фонаря заполнен двойным листовым стеклом по металлическим переплетам.
3 Загрязнение остекления незначительное - воздушная среда в зале содержит менее 1 мг/м3 пыли, дыма и копоти.
Решение
1 На плане размещения фонарей в цехе отмечают расчетные точки и фонари (рисунок 24).
2 По плану с учетом масштаба рисунка 24 определяют расстояние lф от каждой из расчетных точек до центров шахтных фонарей и заносят в таблицу 10.
3 По заданной высоте помещения hp и расстояниям lф вычисляют значения tga и заносят их в таблицу 10.
4 По tga определяют значение угла a.
5. По рисунку 11 определяют значения q(a) для всех расчетных точек и фонарей и заносят их в таблицу 10.
6 Определяют индекс шахтного фонаря iф по формуле

7 Определяют коэффициент светопередачи шахтного фонаря Кс по рисунку 13. Для шахтного фонаря с индексом iф = 0,22 и коэффициентом направленного отражения rн = 0,7 Кс = 0,38.
8 Определяют показатель степени косинуса угла a т по формуле
т = 2 + 2/Кс = 2 + 2/0,38 = 7,25.
9 Вычисляют cosma для всех расчетных точек и фонарей и заносят их в графу 8 таблицы 10.
10. Вычисляют произведения q(a)cosma для всех расчетных точек и фонарей и заносят их в графу 9 таблицы 10.
11 Вычисляют для
каждой расчетной точки сумму
и заносят ее в графу
10 таблицы 10.
12 Вычисляют ej по формуле (7) и заносят в графу 11 таблицы 10.
Рисунок 24 - Схема размещения шахтных фонарей
13 По заданным параметрам остекления таблицы Б.7 приложения Б находят, что коэффициент светопропускания двух слоев стекла t1 = 0,8; коэффициент, учитывающий потери света в металлических двойных глухих переплетах, t2 = 0,8. Коэффициент, учитывающий потери света в защитной сетке, t5 = 0,9. По СНиП 23-05 находят, что коэффициент запаса Кз = 1,5.
14 Определяют отношение общего коэффициента светопропускания фонаря к коэффициенту запаса
t0/Кз = 0,8 × 0,8 × 0,9/1,5 = 0,39.
15 Рассчитывают прямую составляющую КЕО sпр в точках характерного разреза по формуле (9) и записывают результаты расчета в графу 12 таблицы 10.
16 Находят отношение hр/bп = 0,56.
17 По заданному rср и hр/bп по таблице Б.9 приложения Б находят, что коэффициент, учитывающий увеличение КЕО за счет света, отраженного от поверхностей помещения, r2 = 1,3.
18 Определяют среднее значение геометрического КЕО по формуле (8)
eср = (2,5 + 2,8 + 2,7 + 2,89 + 3,34 + 2,89 + 2,7 + 2,8 + 2,5)/9 = 2,8 %.
19 Определяют отраженную составляющую КЕО в точках характерного разреза по формуле (10): sотр = 2,8 × 0,39(1,3 - 1,0) = 0,33 % и записывают результат расчета в графу 13 таблицы 10.
20 Суммированием прямой sпр и отраженной sотр составляющих определяют результирующие значения КЕО ej в точках характерного разреза помещения и записывают результаты в графу 14 таблицы 10.
Таблица 10
|
Номер фонаря |
Высота помещения hр от условной рабочей поверхности до низа фонаря, м |
Расстояние lф в плане от расчетной точки до центра фонаря, м |
tga |
a, град., мин. |
q(a) |
cosma |
q(a)cosma |
|
ej, % |
sпр, % |
sотр, % |
ej, % |
|
|
1 |
2 |
3 |
4 |
5 |
6 |
7 |
8 |
9 |
10 |
11 |
12 |
13 |
14 |
|
|
1,7 |
10 |
6,3 |
0,63 |
32°12¢ |
1,16 |
0,32 |
0,360 |
2,5 |
1,8 |
0,73 |
0,33 |
1,06 |
|
|
2,8 |
10 |
10,0 |
1,00 |
45° |
1,07 |
0,08 |
0,085 |
- |
- |
- |
- |
- |
|
|
3,9 |
10 |
15,1 |
1,51 |
56°30¢ |
0,91 |
0,03 |
0,027 |
- |
- |
- |
- |
- |
|
|
4 |
10 |
2,0 |
0,20 |
11°18¢ |
1,28 |
0,88 |
1,130 |
- |
- |
- |
- |
- |
|
|
5 |
10 |
6,0 |
0,60 |
31° |
1,16 |
0,34 |
0,390 |
- |
- |
- |
- |
- |
|
|
6 |
10 |
12,0 |
1,20 |
50°12¢ |
0,98 |
0,04 |
0,039 |
- |
- |
- |
- |
- |
|
|
1, 5, 7 |
10 |
6,0 |
0,60 |
31° |
1,16 |
0,34 |
0,390 |
2,80 |
2,0 |
0,76 |
0,33 |
1,09 |
|
|
2,8 |
10 |
8,5 |
0,35 |
40°24¢ |
1,08 |
0,13 |
0,122 |
- |
- |
- |
- |
- |
|
|
3,9 |
10 |
13,5 |
1,35 |
53°30¢ |
0,95 |
0,06 |
0,257 |
- |
- |
- |
- |
- |
|
|
4 |
10 |
0 |
0 |
0 |
1,29 |
1,00 |
1,290 |
- |
- |
- |
- |
- |
|
|
6 |
10 |
12,0 |
1,20 |
50°12¢ |
0,98 |
0,04 |
0,039 |
- |
- |
- |
- |
- |
|
|
1,7 |
10 |
6,3 |
0,63 |
32°12¢ |
1,16 |
0,32 |
0,360 |
2,70 |
1,9 |
0,75 |
0,33 |
1,08 |
|
|
2,8 |
10 |
2,3 |
0,73 |
36°6¢ |
1,12 |
0,21 |
0,235 |
- |
- |
- |
- |
- |
|
|
3,9 |
10 |
11,7 |
1,17 |
49°30¢ |
0,99 |
0,04 |
0,040 |
- |
- |
- |
- |
- |
|
|
4 |
10 |
2,0 |
0,02 |
11°18¢ |
1,28 |
0,88 |
1,130 |
- |
- |
- |
- |
- |
|
|
5 |
10 |
4,0 |
0,40 |
21°48¢ |
1,21 |
0,59 |
0,215 |
- |
- |
- |
- |
- |
|
|
6 |
10 |
10,0 |
1,00 |
45° |
1,07 |
0,08 |
0,085 |
- |
- |
- |
- |
- |
|
|
1,7 |
10 |
7,3 |
0,73 |
36°6¢ |
1,12 |
0,21 |
0,235 |
2,89 |
2,1 |
0,81 |
0,33 |
1,14 |
|
|
2,8 |
10 |
6,3 |
0,63 |
32°12¢ |
1,16 |
0,32 |
0,360 |
- |
- |
- |
- |
- |
|
|
3,9 |
10 |
10,0 |
1,00 |
45° |
1,07 |
0,08 |
0,085 |
- |
- |
- |
- |
- |
|
|
4 |
10 |
4,0 |
1,21 |
21°48¢ |
0,59 |
0,215 |
0,127 |
- |
- |
- |
- |
- |
|
|
5 |
10 |
2,0 |
0,20 |
11°18¢ |
1,28 |
0,88 |
1,130 |
- |
- |
- |
- |
- |
|
|
6 |
10 |
8,0 |
0,80 |
36°36¢ |
1,09 |
0,17 |
0,185 |
- |
- |
- |
- |
- |
|
|
1, 3, 7, 9 |
10 |
8,5 |
0,85 |
40°24¢ |
1,08 |
0,13 |
0,122 |
3,34 |
2,4 |
0,02 |
0,33 |
1,25 |
|
|
2, 4, 6, 8 |
10 |
6,0 |
0,60 |
31° |
1,16 |
0,34 |
0,390 |
- |
- |
- |
- |
- |
|
|
5 |
10 |
0 |
0 |
0 |
1,29 |
1,00 |
1,290 |
- |
- |
- |
- |
- |
|
Примечание - Значения величин ej, sпр, sотр, ej для точек Е, Ж, 3, И (рисунок 24) аналогичны значениям, рассчитанным соответственно для точек Г, В, Б, А. |
|||||||||||||
9.1 Технико-экономическая оценка различных вариантов естественного и совмещенного освещения помещений должна производиться для всего года или отдельных его сезонов. Продолжительность использования естественного освещения следует определять промежуточным временем между моментами выключения (утром) и включения (вечером) искусственного освещения, когда естественная освещенность становится равной нормированному значению освещенности от установки искусственного освещения.
В помещениях жилых и общественных зданий, в которых расчетное значение КЕО составляет 80 % и менее нормированного значения КЕО, нормы искусственной освещенности повышают на одну ступень по шкале освещенности.
9.2 Расчет естественной освещенности в помещениях следует производить в зависимости от групп административных районов по ресурсам светового климата Российской Федерации и рассматриваемого периода года:
а) при расположении зданий в 1-й, 3-й и 4-й группах административных районов для всех месяцев года - по облачному году;
б) при расположении зданий во 2-й и 5-й группах административных районов для зимней половины года (ноябрь, декабрь, январь, февраль, март, апрель) - по облачному небу, для летней половины года (май, июнь, июль, август, сентябрь, октябрь) - по безоблачному небу.
9.3 Среднюю естественную освещенность в помещении при верхнем освещении от облачного неба в какой-либо момент времени суток определяют по формуле
Еcp = 0,01еcpЕг°, (13)
где е - среднее значение КЕО; определяют по формуле (Б.8) приложения Б;
Ег° - наружная горизонтальная освещенность при сплошной облачности; принимают по таблице В.1 приложения В.
Примечание - Значения наружной освещенности в приложении Г приведены для местного среднего солнечного времени ТМ. Переход от местного декретного времени к местному среднему солнечному производят по формуле
ТМ = ТД - N + l - 1, (14)
где ТД - местное декретное время;
N - номер часового пояса (рисунок 25);
l - географическая долгота пункта, выраженная в часовой мере (15° = 1 ч).
9.4 Значение естественной освещенности в заданной точке AEогА при боковом освещении в условиях сплошной облачности определяют по формуле
EогА = 0,01ербЕг°, (15)
где ерб - расчетное значение КЕО в точке А помещения при боковом освещении; определяют по формуле (Б.1) приложения Б;
Ег° - наружная освещенность на горизонтальной поверхности при облачном небе.
Расчет естественной освещенности ЕягМ в заданной точке М помещения от окон при безоблачном небе следует производить:
а) при отсутствии солнцезащитных средств в светопроемах и противостоящих зданий по формуле
ЕягМ = 0,01t0r0bбeбiEвя; (16)
б) при затенении окон противостоящими зданиями по формуле
ЕягМ = 0,01t0r0(bбeбiEвя - rфbфiKЗДiEвсум); (17)
в) при наличии солнцезащитных средств в светопроемах по формуле
ЕягМ = 0,01t0r0eбiEвсум, (18)
где eбi - геометрический КЕО, определяемый по формуле (Б.9);
bб - коэффициент относительной яркости участка неба, видимого через светопроем; принимают по таблице 11;
Eвя - наружная освещенность на вертикальной поверхности, создаваемая рассеянным светом безоблачного неба; принимают в зависимости от ориентации поверхности фасада здания и времени суток по таблице В.3 приложения В;
bфi - средняя относительная яркость фасадов противостоящих зданий; определяют по таблице Б.2 приложения Б;
KЗДi - определяют по формуле (Б.5);
rф - средневзвешенный коэффициент отражения фасадов противостоящих зданий; принимают по таблице Б.3 приложения Б;
Eвсум - наружная суммарная освещенность на вертикальной поверхности, создаваемая рассеянным светом неба, прямым светом солнца и светом, отраженным от земной поверхности; принимают по таблице В.4 приложения В.
Расчет средней естественной освещенности в помещении от безоблачного неба при верхнем освещении в зависимости от типа светового проема производят:
а) при световых проемах в плоскости покрытия, имеющих заполнение из светорассеивающих материалов, по формуле
Еср = 0,01t0r2kфeсрEгсум; (19)
б) при световых проемах в плоскости покрытия, имеющих заполнение из светопрозрачных материалов, по формуле
Еср = 0,01t0r2kфbВeсрEгсум; (20)
в) при фонарях шед по формуле
Еср = 0,01t0r2kфbВeсрEгя; (21)
г) при прямоугольных фонарях по формуле
Еср = 0,01t0r2kфbВeср(Eвя¢ + Eвя²), (22)
где t0 - см. формулу (Б.1);
r2 и kф - см. формулу (Б.2);
eср - см. формулу (Б.7);
Eгсум - суммарная наружная освещенность на горизонтальной поверхности, создаваемая безоблачным небом и прямым светом солнца; принимают по таблице В.3 приложения В;
Егя - наружная освещенность на горизонтальной поверхности, создаваемая безоблачным небом; принимают по таблице В.3 приложения В;
bв - коэффициент относительной яркости участков безоблачного неба, видимых через светопроемы; принимают по таблице 12;
Eвя - см. формулу (16);
Eвя¢ и Eвя² - наружная освещенность на двух противоположных сторонах вертикальной поверхности; принимают по таблице В.4 приложения В.
Примечания
1 Прямой солнечный свет в расчетах освещенности учитывают при наличии в световых проемах солнцезащитных средств или светорассеивающих материалов; в остальных случаях прямой солнечный свет не учитывают.
2 Значения расчетных коэффициентов в таблицах 11 и 12 приведены для местного среднего солнечного времени.
Таблица 11
|
Значение коэффициента bб |
|||||||||||||||
|
Время суток, ч |
|||||||||||||||
|
5 |
6 |
7 |
8 |
9 |
10 |
11 |
12 |
13 |
14 |
15 |
16 |
17 |
18 |
19 |
|
|
В |
2 |
3,1 |
3 |
1,9 |
1,4 |
1,25 |
1,2 |
1,3 |
1,4 |
1,55 |
1,7 |
1,8 |
1,9 |
1,95 |
1,85 |
|
ЮВ |
1,05 |
1,1 |
1,45 |
2,5 |
2,6 |
1,9 |
1,5 |
1,3 |
1,25 |
1,3 |
1,35 |
1,45 |
1,6 |
1,85 |
1,9 |
|
Ю |
1,5 |
1,35 |
1,1 |
1,2 |
1,3 |
1,5 |
1,7 |
1,85 |
1,7 |
1,5 |
1,3 |
1,2 |
1,1 |
1,35 |
1,5 |
|
ЮЗ |
1,9 |
1,85 |
1,6 |
1,45 |
1,35 |
1,3 |
1,25 |
1,3 |
1,5 |
1,9 |
2,6 |
2,5 |
1,45 |
1,1 |
1,05 |
|
З |
1,85 |
1,95 |
1,9 |
1,8 |
1,7 |
1,55 |
1,4 |
1,3 |
1,2 |
1,25 |
1,4 |
1,9 |
3 |
3,1 |
2 |
|
сз |
1,3 |
1,5 |
1,7 |
1,75 |
1,75 |
1,7 |
1,6 |
1,5 |
1,4 |
1,3 |
1,25 |
1,25 |
1,3 |
1,9 |
2,9 |
|
с |
1,2 |
1,2 |
1,3 |
1,45 |
1,5 |
1,6 |
1,6 |
1,65 |
1,6 |
1,6 |
1,5 |
1,45 |
1,3 |
1,2 |
1,2 |
|
св |
2,9 |
1,9 |
1,3 |
1,25 |
1,25 |
1,3 |
1,4 |
1,5 |
1,6 |
1,7 |
1,75 |
1,75 |
1,7 |
1,5 |
1,3 |
Таблица 12
|
Значение коэффициента bВ |
|||||||||||||||
|
Время суток, ч |
|||||||||||||||
|
5 |
6 |
7 |
8 |
9 |
10 |
11 |
12 |
13 |
14 |
15 |
16 |
17 |
18 |
19 |
|
|
Прямоугольный фонарь |
1,3 |
1,42 |
1,52 |
1,54 |
1,42 |
1,23 |
1,15 |
1,14 |
1,15 |
1,23 |
1,42 |
1,54 |
1,52 |
1,42 |
1,3 |
|
В плоскости покрытия |
0,7 |
0,85 |
0,95 |
1,05 |
1,1 |
1,14 |
1,16 |
1,17 |
1,16 |
1,14 |
1,1 |
1,05 |
0,95 |
0,85 |
0,7 |
|
Шед (ориентированный на СЗ, С, СВ) |
1 |
1,17 |
1,13 |
1,04 |
0,95 |
0,9 |
0,85 |
0,8 |
0,85 |
0,9 |
0,95 |
1,04 |
1,13 |
1,17 |
1 |
Примеры расчета времени использования естественного освещения в помещениях
Пример 1
Требуется определить, как изменится продолжительность использования естественного освещения в марте за средние сутки в рабочей комнате с верхним естественным освещением через зенитные фонари и с системой общего люминесцентного освещения, если уменьшить запроектированную площадь зенитных фонарей в два раза и перейти на совмещенное освещение.
Рабочая комната расположена в Москве, точность зрительных работ, выполняемых в ней, соответствует Б-1 разряду норм по приложению И СНиП 23-05.
Первоначально запроектированная площадь фонарей обеспечивала среднее значение КЕО в рабочей комнате, равное 5 %; при уменьшении площади фонарей в два раза среднее значение КЕО составляет 2,5 %. Работа выполняется в две смены с 7 до 21 ч по местному времени.
Решение
1 В соответствии с таблицей 1 перечня административных районов по ресурсам светового климата Российской Федерации Москва расположена в первой группе и, следовательно, расчет естественной освещенности в помещении выполняют для условий облачного неба.
2 Из таблицы В.1 приложения В выписывают в таблицу 13 значение наружной горизонтальной освещенности Его при сплошной облачности для разных часов дня в марте.
Таблица 13
|
Наружная горизонтальная освещенность Его, лк |
Средняя естественная освещенность в помещении Еср, лк |
||
|
при КЕО = 5 % |
при КЕО = 2,5 % |
||
|
7 |
2300 |
115 |
58 |
|
8 |
5000 |
250 |
125 |
|
9 |
7000 |
350 |
175 |
|
10 |
8500 |
425 |
208 |
|
11 |
10000 |
500 |
250 |
|
12 |
10500 |
525 |
263 |
|
13 |
10200 |
510 |
255 |
|
14 |
9000 |
450 |
225 |
|
15 |
7000 |
350 |
175 |
|
16 |
5200 |
260 |
130 |
|
17 |
3000 |
150 |
75 |
|
18 |
800 |
40 |
20 |
|
19 |
- |
- |
- |
|
20 |
- |
- |
- |
|
21 |
- |
- |
- |
3 Последовательно подставляя значение Его в формулу (13), определяют для соответствующих моментов времени значения средней освещенности внутри помещения Еср. Результаты расчета записывают в таблицу 13.
4 По найденным значениям Еср строят график (рисунок 26) изменения естественной освещенности в помещении в течение рабочего дня при КЕО = 5 % и 2,5 %.
5 В приложении И СНиП 23-05 находят, что для рабочей комнаты, расположенной в Москве, нормированное значение КЕО для Б-1 разряда работ равно 3 %.
1 - изменение естественной освещенности в помещении при КЕО, равном 5 %; 2 - то же, 2,5 %; А - точка, соответствующая времени выключения искусственного освещения утром; Б - точка, соответствующая времени включения искусственного освещения вечером
Рисунок 26 - График изменения естественной освещенности в помещении в течение рабочего дня
Нормированная освещенность равна 300 лк. При уменьшении площади фонарей в два раза среднее расчетное значение КЕО составляет 0,5 нормированного значения КЕО; в этом случае в рабочей комнате нормированное значение освещенности от искусственного освещения необходимо повысить на одну ступень, т.е. вместо 300 лк следует принять 400 лк.
6 На ординате графика рисунка 26 находят точку, соответствующую освещенности 300 лк, через которую проводят горизонталь до пересечения с кривой в первой и второй половине дня. Точки А и Б пересечения с кривой проектируют на ось абсцисс. Точка а на оси абсцисс соответствует времени ta = 8 ч 20 мин, точка б - tб = 15 ч 45 мин.
Время использования естественного освещения в рабочей комнате при среднем КЕО, равном 3 %, определяют как разность tб - ta = 1 ч 25 мин.
7 Из рисунка 26 следует, что горизонталь, соответствующая освещенности 400 лк, не пересекается с кривой изменения естественной освещенности при среднем КЕО = 2,5 %, это означает, что время использования естественного освещения в рабочей комнате с уменьшенной в два раза площадью фонарей равно нулю, т.е. в течение всего рабочего времени в рабочей комнате должно работать постоянное дополнительное искусственное освещение.
Пример 2
Требуется определить естественную освещенность и продолжительность использования естественного освещения в течение дня в сентябре при сплошной облачности в трех точках А, Б и В (рисунок 27) характерного разреза школьного класса на уровне парт (0,8 м от пола). Точки расположены на следующих расстояниях от наружной стены с окнами: А - 1,5 м, Б - 3 м и В - 4,5 м. Расчетное значение КЕО в точке А еА = 4,5 %, в точке Б еБ = 2,3, в точке В еВ = 1,6 %. Нормированная освещенность в классной комнате от установки искусственного освещения равна 300 лк. Школа расположена в Белгороде (50° с. ш.) и работает в одну смену с 8 до 14 ч (местное солнечное время).
Решение
1 Из таблицы В.1 приложения В выписывают значения наружной освещенности в течение дня для сентября. Последовательно подставляя значения Ег° в формулу (15), получают значения естественной освещенности в заданных точках ЕгА, ЕгБ, ЕгВ. Результаты расчета записывают в таблицу 14.
А, Б, В - Расчетные точки
Рисунок 27 - Схематический поперечный разрез школьного класса
Примечание - Учитывая, что в таблице В.1 приложения В для 50° с. ш. наружная освещенность не приведена, находят требуемое значение наружной освещенности методом линейной интерполяции.
Таблица 14
|
Наружная горизонтальная освещенность Ег°, лк |
Естественная освещенность в точках класса, лк |
|||
|
ЕгА |
ЕгБ |
ЕгВ |
||
|
8 |
6000 |
270 |
138 |
96 |
|
9 |
8000 |
260 |
184 |
128 |
|
10 |
9600 |
433 |
223 |
154 |
|
11 |
11000 |
495 |
253 |
176 |
|
12 |
11300 |
510 |
265 |
182 |
|
13 |
10600 |
477 |
244 |
170 |
|
14 |
9400 |
424 |
216 |
150 |
2 По данным таблицы 14 строят график рисунка 28, для этого проводят горизонталь через точку оси ординат, которой соответствует освещенность 300 лк, до пересечения с кривыми освещенности ЕгА, ЕгБ, ЕгВ (кривые 1, 2, 3).
3 Проектируют точки пересечения горизонтали с кривыми на ось абсцисс; время использования естественного освещения в точке А определяют из соотношения:
t2 - t1 = 14 ч 00 мин - 8 ч 20 мин = 5 ч 40 мин.
Из рисунка 28 следует, что в точках Б и В при сплошной облачности осенью необходимо иметь постоянное дополнительное искусственное освещение, так как в течение всего дня на втором и третьем рядах парт естественная освещенность ниже нормированного значения.
1 - в точке А; 2 - в точке Б; 3 - в точке В
Рисунок 28 - График изменения естественной освещенности в трех расчетных точках школьного класса в течение рабочего дня
10.1. Технико-экономическая оценка систем естественного освещения заключается в определении срока окупаемости дополнительных единовременных вложений, требующихся для изменения системы естественного освещения помещения. Методика может быть применена для помещений, в которых допускается совмещенное освещение.
10.2. Технико-экономическую оценку осуществляют в следующей последовательности:
а) определяют нормированные значения КЕО для помещения при естественном и совмещенном освещении в соответствии с 5.2 и 5.3 настоящего Свода правил;
б) определяют нормы искусственной освещенности в соответствии с разрядом и подразрядом зрительных работ в соответствии со СНиП 23-05;
в) определяют расчетное значение КЕО ер по методике приложения Б;
г) расчетное значение КЕО еp сравнивают с нормированным в соответствии с 6.6 настоящего Свода правил, при этом могут иметь место три случая:
1) еp более нормированного. В этом случае возможно уменьшение размеров светопроемов и дальнейший технико-экономический расчет может проводиться для сравнения вариантов систем естественного освещения с различными размерами светопроемов;
2) еp более 0,8 нормированного. В этом случае возможно увеличение размеров светопроемов, и дальнейший технико-экономический расчет может проводиться для сравнения вариантов систем естественного освещения с различными размерами светопроемов;
3) еp более нормированного при совмещенном освещении, но менее 0,8 нормированного при естественном освещении. В этом случае возможно увеличение размеров светопроемов и дальнейший технико-экономический расчет может проводиться для сравнения варианта системы естественного освещения с увеличенными размерами светопроемов с вариантом системы совмещенного освещения без увеличения размеров светопроемов.
10.3. В случае выполнения условия 3 подпункта «г» пункта 10.2 в исследуемом помещении изменяют систему освещения. При этом рассматривают два варианта изменения системы:
1 В рассматриваемой системе освещения помещения нормы искусственной освещенности повышают на одну ступень в соответствии с 6.6 СНиП 23-05. Характеристики этой системы освещения обозначают индексом 1.
2 Изменяют систему естественного освещения, отличающуюся увеличением площади светопроемов. Эта система естественного освещения помещения должна обеспечивать расчетное значение КЕО не менее 0,8 нормированного. Характеристики этой системы освещения обозначают индексом 2.
10.4 Сравнение затрат для вариантов возможных изменений системы освещения помещения производят в следующей последовательности:
а) рассчитывают разницу единовременных затрат DК на первую и вторую системы естественного освещения помещения. Эта разница составляет:
DK = K2 - K1 = (F2 - F1)(xок - xст), (23)
где F1 и F2 - площади светопроемов, м2;
xок - цена заполнения светопроема, руб/м2;
xст - цена возведения ограждающей конструкции, в которой расположен светопроем, руб/м2;
б) рассчитывают разницу среднегодовых затрат на потери теплоты за отопительный период DЗт, обусловленную изменением системы естественного освещения помещения:
DЗт = 0,024ГСОП(F2 - F1)[1/Rокпр - 1/Rстпр]Ст, (24)
где ГСОП - градусо-сутки отопительного периода района строительства, °С×сут/год; определяют в соответствии с СП 23-101 по формуле
гсоп = (tв - tот.пер)zот.пер, (25)
здесь tв - нормируемая температура внутреннего воздуха, °С;
tот.перб - средняя температура отопительного периода района строительства, °С, определяемая по СНиП 23-01;
zот.пер - продолжительность отопительного периода района строительства, сут/ год, определяемая по СНиП 23-01;
Rокпр - приведенное сопротивление теплопередаче заполнения светопроема, м2×°С/Вт;
Rстпр - приведенное сопротивление теплопередаче ограждающей конструкции, в которой расположен светопроем, м2×°С/Вт;
Ст - перспективная цена тепловой энергии, руб/(кВт×ч);
в) рассчитывают разницу среднегодовых затрат на потребление электрической энергии DЗэ, обусловленную изменением системы естественного освещения помещения,
DЗэ = (N2Sz2 - N1Sz1)Cэ, (26)
где N1, N2 - удельная установленная мощность системы искусственного освещения помещения, Вт/м2, для вариантов 1 и 2 (см. 10.3) определяют по таблице 10а СНиП 23-05;
Sz1, Sz2 - продолжительность использования искусственного освещения в помещении, ч/год, для вариантов 1 и 2; определяют расчетом по методике раздела 9;
Сэ - перспективная цена электрической энергии, руб;
г) рассчитывают разницу среднегодовых эксплуатационных затрат:
DЭ = (DЗт - DЗэ). (27)
10.5 Проверяют условие окупаемости затрат на изменение системы естественного освещения помещения с варианта 1 на вариант 2:
DК £ DЭ/(р/100), (28)
где р - процентная ставка по кредиту банка, %.
Если условие (28) не выполняется, то это означает, что затраты на изменение системы естественного освещения помещения в соответствии с вариантом 2 не окупятся и выгоднее принять 1-й вариант системы естественного освещения, т.е. повысить нормы искусственного освещения помещения на ступень. При этом технико-экономический расчет заканчивают.
10.6 При выполнении условия (28) производят расчет срока окупаемости измененной системы естественного освещения помещения по формуле
Т0 = ln[1/(1 - (DК/DЭ) ´ (р/100))]/ln(1 + p/100). (29)
Производят сопоставление расчетного срока окупаемости измененной системы естественного освещения помещения с принятым предельно допустимым значением Tо.доп. Если Тo < То.доп, то экономически оправдан вариант 2 естественного освещения, в противном случае экономически оправдан вариант 1.
Пример технико-экономической оценки систем естественного освещения по энергетическим затратам
Требуется провести технико-экономическую оценку системы естественного освещения в рабочем помещении здания в Москве. Здание расположено в 60 м от параллельного здания высотой 27 м. Рабочее помещение имеет размеры в плане 6 ´ 6 м и высоту 3,6 м, одно окно высотой 2,4 м, шириной 2,4 м, высота подоконника - 0,8 м. Разряд зрительной работы, выполняемой в помещении, Б-1.
Решение
1 Нормированное значение КЕО ен для помещения при естественном освещении по приложению И СНиП 23-05 составляет 1,0 %, при совмещенном освещении - 0,60 %.
2 Норма общей искусственной освещенности в соответствии с разрядом и подразрядом зрительных работ по СНиП 23-05 составляет 300 лк.
3 Расчетное значение КЕО еp, определенное по методике приложения Б, составляет 0,61, что соответствует норме при системе совмещенного освещения.
4 Расчетное значение КЕО еp более ен при совмещенном освещении, но менее 0,8eн при боковом естественном освещении. В соответствии с 10.3 рассмотрим целесообразность перехода от системы совмещенного освещения к системе естественного освещения.
5 Норма искусственной освещенности в рассматриваемой системе совмещенного освещения повышается на одну ступень в соответствии с 6.6 СНиП 23-05 и составляет 400 лк.
В альтернативном случае предлагается система естественного освещения в помещении, при которой окно имеет размеры 2,4 ´ 3,6 м. При этом расчетное значение КЕО составляет 0,91 % и необходимость повышения нормы искусственной освещенности отпадает.
Экономическое сравнение производят между этими двумя системами освещения.
6 Рассчитывают разницу единовременных затрат DK на первую и вторую системы естественного освещения помещения по формуле (23).
DK = (F2 - F1)(xок - xст) = (8,64 - 5,76)(4000 - 3000) = 2880 руб.
7 Рассчитывают разницу среднегодовых затрат на потери теплоты за отопительный период DЗт, обусловленную изменением системы естественного освещения помещения, по формуле (24)
DЗт = 0,024 × 5027(8,64 - 5,76) ´ (1/0,53 - 1/3,17)0,60 = 327,6 руб.
8 Рассчитывают разницу среднегодовых затрат на потребление электрической энергии DЗэ, обусловленную изменением системы естественного освещения помещения, по формуле (26). Установленную мощность системы искусственного освещения в первом случае (при нормированной искусственной освещенности 400 лк) рассчитывают из условия, что удельная установленная мощность составляет 20 Вт/м2, во втором случае (при нормированной искусственной освещенности 300 лк) - 16 Вт/м2. При этом N1 = 20 × 36 = 720 Вт, N2 = 16 × 36 = 576 Вт.
Продолжительность использования искусственного освещения Sz в помещении, ч/год, определяют расчетом по методике раздела 9 (см. таблицу 15). В обоих случаях продолжительность использования искусственного освещения составляет полный рабочий день, т.е. 16 ч/сут. При этом Sz = 16 × 260 = 4160 ч/г.
DЗэ = (0,576 × 4160 - 0,720 × 4160)2 руб/кВт×ч = -599 кВт×ч/г × 2 руб/кВт×ч = - 1198 руб/г.
9 Экономию от снижения затрат определяют по формуле (27)
DЭ = -(327,6 - 1198) = 870,4 руб/г.
10 Проверяют условие окупаемости затрат на изменение системы естественного освещения помещения по формуле (28):
2880 < 870,4/(25/100) = 3481,6,
где р = 25 % - процентная ставка по кредиту банка.
11 Производят расчет срока окупаемости измененной системы естественного освещения помещения по формуле (29)
T0 = ln[1/(1 - (2880/870,4) ´ (25/100))]/ln(1 + 25/100) = 7,88 ≈ 8 лет.
Таким образом единовременные затраты на изменение системы естественного освещения окупятся в течение восьми лет и, следовательно, такое изменение целесообразно.
Таблица 15
|
Естественная освещенность на горизонтальной поверхности в месяцы года |
||||||||||||
|
III |
VI |
IX |
XII |
|||||||||
|
Наружная, клк |
В расчетной точке, лк, при значении КЕО |
Наружная, клк |
В расчетной точке, лк, при значении КЕО |
Наружная, клк |
В расчетной точке, лк, при значении КЕО |
Наружная, клк |
В расчетной точке, лк, при значении КЕО |
|||||
|
0,61 |
0,91 |
0,61 |
0,91 |
0,61 |
0,91 |
0,61 |
0,91 |
|||||
|
6 |
- |
- |
- |
5,7 |
35 |
52 |
0,8 |
5 |
7 |
- |
- |
- |
|
7 |
2,3 |
14 |
21 |
8,5 |
52 |
77 |
3,5 |
21 |
32 |
- |
- |
- |
|
8 |
5 |
31 |
46 |
11 |
67 |
100 |
5,7 |
35 |
52 |
- |
- |
- |
|
9 |
7 |
43 |
64 |
13,2 |
81 |
120 |
7 |
43 |
64 |
1 |
6 |
9 |
|
10 |
8,5 |
52 |
77 |
15,3 |
93 |
139 |
9,5 |
58 |
86 |
2,2 |
13 |
20 |
|
11 |
10 |
61 |
91 |
17 |
104 |
155 |
11 |
67 |
100 |
3 |
18 |
27 |
|
12 |
10,5 |
64 |
96 |
17,5 |
107 |
159 |
11 |
67 |
100 |
3,5 |
21 |
32 |
|
13 |
10,2 |
62 |
93 |
17 |
104 |
155 |
10,5 |
64 |
96 |
3 |
18 |
27 |
|
14 |
9 |
55 |
82 |
15,5 |
95 |
141 |
9,3 |
57 |
85 |
2,2 |
13 |
20 |
|
15 |
7 |
43 |
64 |
13,2 |
81 |
120 |
7,5 |
46 |
68 |
0,8 |
5 |
7 |
|
16 |
5,2 |
32 |
47 |
11 |
67 |
100 |
5,2 |
32 |
47 |
- |
- |
- |
|
17 |
3 |
18 |
27 |
8,5 |
52 |
77 |
2,8 |
17 |
25 |
- |
- |
- |
|
18 |
0,8 |
5 |
7 |
5,7 |
35 |
52 |
- |
- |
- |
- |
- |
- |
|
19 |
- |
- |
- |
3,5 |
21 |
32 |
- |
- |
- |
- |
- |
- |
|
20 |
- |
- |
- |
1,3 |
8 |
12 |
- |
- |
- |
- |
- |
- |
(обязательное)
боковое естественное освещение: Естественное освещение помещения через световые проемы в наружных стенах.
верхнее естественное освещение: Естественное освещение помещения через фонари, световые проемы в стенах в местах перепада высот здания.
геометрический коэффициент естественной освещенности e: Отношение естественной освещенности, создаваемой в рассматриваемой точке заданной плоскости внутри помещения светом, прошедшим через незаполненный световой проем и исходящим непосредственно от равномерно яркого неба к одновременному значению наружной горизонтальной освещенности под открытым полностью небосводом, при этом участие прямого солнечного света в создании той или другой освещенности исключается, %.
дежурное освещение: Освещение в нерабочее время.
естественное освещение: Освещение помещений светом неба (прямым или отраженным), проникающим через световые проемы в наружных ограждающих конструкциях.
комбинированное естественное освещение:
Сочетание верхнего и бокового естественного освещения.
коэффициент естественной освещенности е (КЕО): Отношение естественной освещенности, создаваемой в некоторой точке заданной плоскости внутри помещения светом неба (непосредственным или после отражений), к одновременному значению наружной горизонтальной освещенности, создаваемой светом полностью открытого небосвода, %.
коэффициент запаса Кз: Расчетный коэффициент, учитывающий снижение КЕО и освещенности в процессе эксплуатации вследствие загрязнения и старения светопрозрачных заполнений в световых проемах, а также снижение отражающих свойств поверхностей помещения, доли единицы.
коэффициент светового климата mN: Коэффициент, учитывающий особенности светового климата, доли единицы.
местное освещение: Освещение, дополнительное к общему, создаваемое светильниками, концентрирующими световой поток непосредственно на рабочих местах.
неравномерность естественного освещения: Отношение среднего значения к наименьшему значению КЕО в пределах характерного разреза помещения.
облачное небо МКО (по определению Международной комиссии по освещению - МКО): Небо, полностью закрытое облаками и удовлетворяющее условию, при котором отношение его яркости на высоте 9 над горизонтом к яркости в зените равно (1 + 2sinq)/3.
площадь окон Ас.о: Суммарная площадь световых проемов (в свету), находящихся в наружных стенах освещаемого помещения, м2.
площадь фонарей Ас.ф: Суммарная площадь световых проемов (в свету) всех фонарей, находящихся в покрытии над освещаемым помещением или пролетом, м2.
общее освещение: Освещение, при котором светильники размещаются в верхней зоне помещения равномерно (общее равномерное освещение) или применительно к расположению оборудования (общее локализованное освещение).
относительная площадь световых проемов Ас.ф/Ап; Ас.о/Ап: Отношение площади фонарей или окон к освещаемой площади пола помещения, %.
рабочая поверхность: Поверхность, на которой производится работа и нормируется или измеряется освещенность.
расчетное значение КЕО eр: Значение, полученное расчетным путем при проектировании естественного или совмещенного освещения помещений, %.
световой климат: Совокупность условий естественного освещения в той или иной местности (освещенность и количество освещения на горизонтальной и различно ориентированных по сторонам горизонта вертикальных поверхностях, создаваемых рассеянным светом неба и прямым светом солнца, продолжительность солнечного сияния и альбедо подстилающей поверхности) за период более десяти лет.
селитебная зона: Территория, предназначенная для размещения жилищного фонда, общественных зданий и сооружений, в том числе научно-исследовательских институтов и их комплексов, а также отдельных коммунальных и промышленных объектов, не требующих устройства санитарно-защитных зон: для устройства путей внутригородского сообщения, улиц, площадей, парков, садов, бульваров и других мест общего пользования.
совмещенное освещение: Освещение, при котором недостаточное по нормам естественное освещение дополняется искусственным.
условная рабочая поверхность (УРП): Условно принятая горизонтальная поверхность, расположенная на высоте 0,80 м от пола.
характерный разрез помещения: Поперечный разрез посередине помещения, плоскость которого перпендикулярна к плоскости остекления световых проемов (при боковом освещении) или к продольной оси пролетов помещения. В характерный разрез помещения должны попадать участки с наибольшим количеством рабочих мест, а также точки рабочей зоны, наиболее удаленные от световых проемов.
освещенность наружная критическая Екр: естественная освещенность на горизонтальной площадке под открытым небосводом, при которой естественная освещенность внутри помещения становится равной нормированному значению освещенности от искусственного освещения.
(обязательное)
Методика предназначена для расчета коэффициента естественной освещенности КЕО применительно к боковой системе освещения с различными схемами расположения зданий в условиях застройки, а также для расчета КЕО в помещениях с верхней (через фонари различных конструкций) и комбинированной (верхней и боковой) системами естественного освещения.
Б.1 РАСЧЕТ КОЭФФИЦИЕНТА ЕСТЕСТВЕННОЙ ОСВЕЩЕННОСТИ
Расчет коэффициента естественной освещенности КЕО следует производить:
а) при боковом освещении по формуле
б) при верхнем освещении по формуле
в) при комбинированном (верхнем и боковом) освещении по формуле
ерк = ерв + ерб; (Б.3)
где L - число участков небосвода, видимых через световой проем из расчетной точки;
eбi - геометрический КЕО в расчетной точке при боковом освещении, учитывающий прямой свет от i-го участка неба, определяемый по формуле (Б.9);
qi - коэффициент, учитывающий неравномерную яркость i-го участка облачного неба МКО, определяемый по таблице Б.1;
М - число участков фасадов зданий противостоящей застройки, видимых через световой проем из расчетной точки;
Т - число световых проемов в покрытии;
eЗДj - геометрический КЕО в расчетной точке при боковом освещении, учитывающий свет, отраженный от i-го участка фасадов зданий противостоящей застройки, определяемый по формуле (Б.10);
bфj - средняя относительная яркость j-го участка противостоящего (экранирующего) здания, расположенного параллельно исследуемому зданию (помещению), определяемая по таблице Б.2. Иные схемы застройки необходимо приводить к схеме № 1 с параллельным расположением зданий согласно Б.2;
ro - коэффициент, учитывающий повышение КЕО при боковом освещении благодаря свету, отраженному от поверхностей помещения и подстилающего слоя, прилегающего к зданию, принимаемый по таблицам Б.4 и Б.5;
Кз - коэффициент запаса, определяемый по таблице 3 СНиП 23-05;
eВi - геометрический КЕО в расчетной точке при верхнем освещении от i-го проема, определяемый по графикам на рисунках 8, 10.
При расчете средней относительной яркости фасадов bфj по таблице Б.2 коэффициент отражения строительных и облицовочных материалов r для фасадов противостоящих зданий без оконных проемов, а также средневзвешенный коэффициент отражения фасадов rф с учетом оконных проемов следует принимать по таблице Б.3. Для строящихся зданий допускается принимать rф по данным, приведенным в сертификате на отделочный материал фасада или по данным измерений.
Средневзвешенный коэффициент отражения оконных проемов с учетом переплетов rок в расчетах принимают равным 0,20.
Средневзвешенный коэффициент отражения фасадов rф с отделочными материалами, отличающимися от приведенных в таблице Б.3, с учетом оконных проемов следует определять по формуле
(Б.4)
где r и rок - коэффициент отражения отделочного материала фасада и заполнений оконных проемов с учетом переплетов соответственно;
Афас и Аок - площадь фасада без светопроемов и площадь светопроемов соответственно;
КЗДi - коэффициент, учитывающий изменения внутренней отраженной составляющей КЕО в помещении при наличии противостоящих зданий, определяемый по формуле
здесь
- коэффициент, учитывающий
изменения внутренней отраженной составляющей КЕО в помещении при полном
закрытии небосвода зданиями, видимыми из расчетной точки, определяемый по
таблице Б.6.
Для наиболее часто встречающихся в практике строительства схем застройки зданий, отличающихся от приведенных на рисунке Б.1, коэффициент КЗД определяют согласно схемам, приведенным на рисунках Б.2 - Б.8;
tо - общий коэффициент пропускания света, определяемый по формуле
t0 = t1t2t3t4t5, (Б.6)
здесь t1 - коэффициент светопропускания материала, определяемый по таблице Б.7;
t2 - коэффициент, учитывающий потери света в переплетах светопроема, определяемый по таблице Б.7. Размеры светопроема принимают равными размерам коробки переплета по наружному обмеру;
t3 - коэффициент, учитывающий потери света в несущих конструкциях, определяемый по таблице Б.8 (при боковом освещении t3 = 1);
t4 - коэффициент, учитывающий потери света в солнцезащитных устройствах, определяемый в соответствии с таблицей Б.8;
t5 - коэффициент, учитывающий потери света в защитной сетке, устанавливаемой под фонарями, принимаемый равным 0,9;
eср - среднее значение геометрического КЕО при верхнем освещении на линии пересечения условной рабочей поверхности и плоскости характерного вертикального разреза помещения, определяемое из соотношения
здесь N - число расчетных точек.
Среднее значение КЕО еср при верхнем или комбинированном освещении определяют по формуле
где е1 и eN - значения КЕО при верхнем или комбинированном освещении в первой и последней точках характерного разреза помещения;
еi - значения КЕО в остальных точках характерного разреза помещения (i = 2, 3, ..., N - 1).
Геометрический коэффициент естественной освещенности, учитывающий прямой свет неба от равнояркого небосвода в какой-либо точке помещения при боковом освещении, определяют по формуле
ебi = 0,01(n1n2), (Б.9)
где n1 - число лучей по графику I, проходящих от неба через световые проемы в расчетную точку на поперечном разрезе помещения;
n2 - число лучей по графику II, проходящих от неба через световые проемы в расчетную точку на плане помещения.
Геометрический коэффициент естественной освещенности eЗДj, учитывающий свет, отраженный от противостоящего здания при боковом освещении, определяют по формуле
eЗДj = 0,01(n¢1n¢2)j, (Б.10)
где п¢1 - число лучей по графику I, проходящих от противостоящего здания через световые проемы в расчетную точку на поперечном разрезе помещения;
n¢2 - число лучей по графику II, проходящих от противостоящего здания через световой проем в расчетную точку на плане помещения.
Расчетные значения КЕО еp, полученные по формулам (Б.1) - (Б.3), (Б.7), (Б.8), следует округлять до сотых долей. Допускается снижение расчетного значения КЕО еp от нормированного КЕО на 10 %.
План

Разрез
z1 - индекс экранирующего здания в плане: z2 - индекс экранирующего здания в разрезе
(I) - исследуемое помещение; (1) - экранирующее здание
Рисунок Б.1 - Схема № 1 к определению параметров застройки при параллельном расположении зданий в застройке
План
(I) - исследуемое помещение; (1) - экранирующее здание
Рисунок Б.2 - Схема № 2 к определению параметров застройки при расположении экранирующего здания под углом к исследуемому зданию
План
(I) - исследуемое помещение; (1) - экранирующее здание
Рисунок Б.3 - Схема № 2 к определению параметров застройки при расположении экранирующего здания под углом к исследуемому
План
Разрез

(I) - исследуемое помещение; (1) - экранирующее здание
Рисунок Б.4 - Схема № 3 к определению параметров Г-образного расположения зданий в застройке
План
Разрез

(I) - исследуемое помещение; (1) - экранирующее здание
Рисунок Б.5 - Схема № 3 к определению параметров Г-образного расположения зданий в застройке
План
(I) - исследуемое помещение; (1), (2) - участки а1 и а2 длины экранирующего здания
Рисунок Б.6 - Схема № 4 к определению параметров застройки со сложной конфигурацией экранирующего здания в плане
(I) - исследуемое помещение; (1), (2) - участки здания с различной высотой
Рисунок Б.7 - Схема № 5 к определению параметров застройки со сложной конфигурацией по высоте экранирующего здания
(I) - исследуемое помещение; (1), (2), (3), (4) - экранирующие здания
Рисунок Б.8 - Схема № 6 к определению параметров застройки со смешанным расположением экранирующих зданий
Таблица Б.1 - Значения коэффициента qi
|
Значения коэффициента qi |
|
|
2 |
0,46 |
|
6 |
0,52 |
|
10 |
0,58 |
|
14 |
0,64 |
|
18 |
0,69 |
|
22 |
0,75 |
|
26 |
0,80 |
|
30 |
0,86 |
|
34 |
0,91 |
|
38 |
0,96 |
|
42 |
1,00 |
|
46 |
1,04 |
|
50 |
1,08 |
|
54 |
1,12 |
|
58 |
1,16 |
|
62 |
1,18 |
|
66 |
1,21 |
|
70 |
1,23 |
|
74 |
1,25 |
|
78 |
1,27 |
|
82 |
1,28 |
|
86 |
1,28 |
|
90 |
1,29 |
Примечания
1 При значениях угловых высот среднего луча, отличных от приведенных в таблице, значения коэффициента qi определяют интерполяцией.
2 В практических расчетах угловую высоту среднего луча участка небосвода, видимого из расчетной точки через световой проем в разрезе помещения, следует заменять угловой высотой середины участка небосвода, видимого из расчетной точки через световой проем.
Таблица Б.2 - Значения средней относительной яркости фасадов экранирующих (противостоящих) зданий bф с параллельным их расположением по схеме № 1
|
Отношение расстояния между зданиями l к длине противостоящего здания а |
Значения средней относительной яркости фасада bф противостоящего здания при отношении длины противостоящего здания а к его расчетной высоте Hр |
|||||||
|
0,25 и менее |
0,50 |
1,00 |
1,50 |
2,00 |
3,00 |
4,00 и более |
||
|
0,6 |
2,00 и более |
0,29 |
0,33 |
0,37 |
0,39 |
0,40 |
0,41 |
0,41 |
|
0,6 |
1,00 |
0,24 |
0,27 |
0,32 |
0,34 |
0,35 |
0,36 |
0,36 |
|
0,6 |
0,50 |
0,20 |
0,21 |
0,25 |
0,28 |
0,30 |
0,32 |
0,33 |
|
0,6 |
0,25 и менее |
0,17 |
0,17 |
0,18 |
0,21 |
0,23 |
0,27 |
0,29 |
|
0,5 |
2,00 и более |
0,24 |
0,27 |
0,31 |
0,32 |
0,33 |
0,34 |
0,34 |
|
0,5 |
1,00 |
0,19 |
0,22 |
0,26 |
0,28 |
0,28 |
0,29 |
0,30 |
|
0,5 |
0,50 |
0,15 |
0,16 |
0,19 |
0,22 |
0,24 |
0,26 |
0,27 |
|
0,5 |
0,25 и менее |
0,12 |
0,12 |
0,14 |
0,16 |
0,18 |
0,21 |
0,23 |
|
0,4 |
2,00 и более |
0,19 |
0,22 |
0,24 |
0,25 |
0,26 |
0,27 |
0,27 |
|
0,4 |
1,00 |
0,15 |
0,17 |
0,20 |
0,22 |
0,22 |
0,23 |
0,24 |
|
0,4 |
0,50 |
0,11 |
0,12 |
0,15 |
0,17 |
0,19 |
0,20 |
0,21 |
|
0,4 |
0,25 и менее |
0,09 |
0,09 |
0,10 |
0,12 |
0,14 |
0,16 |
0,18 |
|
0,3 |
2,00 и более |
0,14 |
0,16 |
0,18 |
0,19 |
0,20 |
0,20 |
0,20 |
|
0,3 |
1,00 |
0,11 |
0,12 |
0,15 |
0,16 |
0,17 |
0,17 |
0,18 |
|
0,3 |
0,50 |
0,08 |
0,08 |
0,10 |
0,12 |
0,13 |
0,15 |
0,15 |
|
0,3 |
0,25 и менее |
0,06 |
0,06 |
0,07 |
0,08 |
0,10 |
0,12 |
0,13 |
|
0,2 |
2,00 и более |
0,09 |
0,11 |
0,12 |
0,13 |
0,13 |
0,13 |
0,14 |
|
0,2 |
1,00 |
0,07 |
0,08 |
0,10 |
0,10 |
0,11 |
0,11 |
0,12 |
|
0,2 |
0,50 |
0,05 |
0,05 |
0,07 |
0,08 |
0,09 |
0,10 |
0,10 |
|
0,2 |
0,25 и менее |
0,04 |
0,04 |
0,04 |
0,05 |
0,06 |
0,07 |
0,08 |
|
Примечание - При значениях параметров rф, l/а, а/Нp, отличных от приведенных в таблице, коэффициент bф определяют интерполяцией. |
||||||||
Таблица Б.3 - Значения коэффициента отражения некоторых строительных материалов r и средневзвешенного коэффициента отражения фасада rф
|
Коэффициент отражения материала r |
Средневзвешенный коэффициент отражения фасада rф |
|
|
Белая фасадная краска, белый мрамор |
0,70 |
0,55 |
|
Светло-серый бетон, белый силикатный кирпич, очень светлые фасадные краски |
0,60 |
0,48 |
|
Серый бетон, известняк, желтый песчаник, светло-зеленая, бежевая, светло-серая фасадная краска, светлые породы мрамора |
0,50 |
0,41 |
|
Серый офактуренный бетон, серая фасадная краска, светлое дерево, серый силикатный кирпич |
0,40 |
0,34 |
|
Розовый силикатный кирпич, темно-голубая, темно-бежевая, светло-коричневая фасадная краска, потемневшее дерево |
0,30 |
0,27 |
|
Темно-серый мрамор, гранит, темно-коричневая, синяя, темно-зеленая, красная фасадная краска |
0,20 |
0,20 |
Таблица Б.4 - Значения ro для условной рабочей поверхности
|
Отношение глубины помещения dп к высоте от уровня условной рабочей поверхности до верха окна h01 |
Отношение расстояния расчетной точки от внутренней поверхности наружной стены lT к глубине помещения dп |
Средневзвешенный коэффициент отражения пола, стен и потолка rср |
|||||||||||
|
0,60 |
0,50 |
0,45 |
0,35 |
||||||||||
|
Отношение длины помещения ап к его глубине dп |
|||||||||||||
|
0,5 |
1,0 |
2,0 |
0,5 |
1,0 |
2,0 |
0,5 |
1,0 |
2,0 |
0,5 |
1,0 |
2,0 |
||
|
1,00 |
0,10 |
1,03 |
1,03 |
1,02 |
1,02 |
1,02 |
1,02 |
1,02 |
1,02 |
1,01 |
1,01 |
1,01 |
1,01 |
|
1,00 |
0,50 |
1,66 |
1,59 |
1,46 |
1,47 |
1,42 |
1,33 |
1,37 |
1,34 |
1,26 |
1,19 |
1,17 |
1,13 |
|
1,00 |
0,90 |
2,86 |
2,67 |
2,30 |
2,33 |
2,19 |
1,93 |
2,06 |
1,95 |
1,74 |
1,53 |
1,48 |
1,37 |
|
3,00 |
0,10 |
1,10 |
1,09 |
1,07 |
1,07 |
1,06 |
1,05 |
1,06 |
1,05 |
1,04 |
1,03 |
1,03 |
1,02 |
|
3,00 |
0,20 |
1,32 |
1,29 |
1,22 |
1,23 |
1,20 |
1,16 |
1,18 |
1,16 |
1,13 |
1,09 |
1,08 |
1,06 |
|
3,00 |
0,30 |
1,72 |
1,64 |
1,50 |
1,51 |
1,46 |
1,36 |
1,41 |
1,37 |
1,29 |
1,20 |
1,18 |
1,14 |
|
3,00 |
0,40 |
2,28 |
2,15 |
1,90 |
1,91 |
1,82 |
1,64 |
1,73 |
1,66 |
1,51 |
1,37 |
1,33 |
1,26 |
|
3,00 |
0,50 |
2,97 |
2,77 |
2,38 |
2,40 |
2,26 |
1,98 |
2,12 |
2,01 |
1,79 |
1,56 |
1,51 |
1,39 |
|
3,00 |
0,60 |
3,75 |
3,47 |
2,92 |
2,96 |
2,76 |
2,37 |
2,57 |
2,41 |
2,10 |
1,78 |
1,71 |
1,55 |
|
3,00 |
0,70 |
4,61 |
4,25 |
3,52 |
3,58 |
3,32 |
2,80 |
3,06 |
2,86 |
2,44 |
2,03 |
1,93 |
1,72 |
|
3,00 |
0,80 |
5,55 |
5,09 |
4,18 |
4,25 |
3,92 |
3,27 |
3,60 |
3,34 |
2,82 |
2,30 |
2,17 |
1,91 |
|
3,00 |
0,90 |
6,57 |
6,01 |
4,90 |
4,98 |
4,58 |
3,78 |
4,18 |
3,86 |
3,23 |
2,59 |
2,43 |
2,11 |
|
5,00 |
0,10 |
1,16 |
1,15 |
1,11 |
1,12 |
1,11 |
1,08 |
1,09 |
1,08 |
1,07 |
1,05 |
1,04 |
1,03 |
|
5,00 |
0,20 |
1,53 |
1,48 |
1,37 |
1,38 |
1,34 |
1,27 |
1,30 |
1,27 |
1,21 |
1,15 |
1,14 |
1,11 |
|
5,00 |
0,30 |
2,19 |
2,07 |
1,84 |
1,85 |
1,77 |
1,60 |
1,68 |
1,61 |
1,48 |
1,34 |
1,31 |
1,24 |
|
5,00 |
0,40 |
3,13 |
2,92 |
2,49 |
2,52 |
2,37 |
2,07 |
2,22 |
2,10 |
1,85 |
1,61 |
1,55 |
1,43 |
|
5,00 |
0,50 |
4,28 |
3,95 |
3,29 |
3,34 |
3,11 |
2,64 |
2,87 |
2,68 |
2,31 |
1,94 |
1,84 |
1,66 |
|
5,00 |
0,60 |
5,58 |
5,12 |
4,20 |
4,27 |
3,94 |
3,29 |
3,61 |
3,35 |
2,83 |
2,31 |
2,18 |
1,92 |
|
5,00 |
0,70 |
7,01 |
6,41 |
5,21 |
5,29 |
4,86 |
4,01 |
4,44 |
4,09 |
3,40 |
2,72 |
2,55 |
2,20 |
|
5,00 |
0,80 |
8,58 |
7,82 |
6,31 |
6,41 |
5,87 |
4,79 |
5,33 |
4,90 |
4,03 |
3,17 |
2,95 |
2,52 |
|
5,00 |
0,90 |
10,28 |
9,35 |
7,49 |
7,63 |
6,96 |
5,64 |
6,30 |
5,77 |
4,71 |
3,65 |
3,39 |
2,86 |
Таблица Б.5 - Значения ro на уровне пола
|
Отношение глубины помещения dп к высоте от уровня условной рабочей поверхности до верха окна h01 |
Отношение расстояния расчетной точки от внутренней поверхности наружной стены lT к глубине помещения dп |
Средневзвешенный коэффициент отражения пола, стен и потолка rср |
|||||||||||
|
0,60 |
0,50 |
0,45 |
0,35 |
||||||||||
|
Отношение ширины помещения bп к его глубине dп |
|||||||||||||
|
0,5 |
1,0 |
2,0 |
0,5 |
1,0 |
2,0 |
0,5 |
1,0 |
2,0 |
0,5 |
1,0 |
2,0 |
||
|
1,00 |
0,10 |
1,05 |
1,05 |
1,05 |
1,04 |
1,04 |
1,04 |
1,04 |
1,04 |
1,04 |
1,03 |
1,03 |
1,03 |
|
1,00 |
0,50 |
1,46 |
1,41 |
1,31 |
1,31 |
1,27 |
1,20 |
1,23 |
1,20 |
1,14 |
1,08 |
1,06 |
1,03 |
|
1,00 |
0,90 |
2,32 |
2,17 |
1,88 |
1,89 |
1,79 |
1,57 |
1,68 |
1,59 |
1,42 |
1,25 |
1,21 |
1,12 |
|
3,00 |
0,10 |
1,07 |
1,07 |
1,07 |
1,06 |
1,06 |
1,06 |
1,05 |
1,05 |
1,05 |
1,05 |
1,05 |
1,05 |
|
3,00 |
0,20 |
1,04 |
1,04 |
1,04 |
1,03 |
1,03 |
1,03 |
1,03 |
1,03 |
1,03 |
1,02 |
1,02 |
1,02 |
|
3,00 |
0,30 |
1,32 |
1,29 |
1,23 |
1,22 |
1,20 |
1,16 |
1,17 |
1,16 |
1,12 |
1,08 |
1,07 |
1,05 |
|
3,00 |
0,40 |
1,85 |
1,77 |
1,59 |
1,60 |
1,54 |
1,41 |
1,47 |
1,42 |
1,32 |
1,21 |
1,19 |
1,14 |
|
3,00 |
0,50 |
2,51 |
2,36 |
2,05 |
2,06 |
1,95 |
1,73 |
1,84 |
1,75 |
1,57 |
1,38 |
1,34 |
1,25 |
|
3,00 |
0,60 |
3,21 |
2,98 |
2,53 |
2,55 |
2,39 |
2,06 |
2,22 |
2,09 |
1,83 |
1,56 |
1,50 |
1,37 |
|
3,00 |
0,70 |
3,90 |
3,60 |
3,00 |
3,04 |
2,83 |
2,40 |
2,61 |
2,44 |
2,09 |
1,74 |
1,66 |
1,49 |
|
3,00 |
0,80 |
4,60 |
4,23 |
3,48 |
3,53 |
3,26 |
2,73 |
2,99 |
2,78 |
2,36 |
1,92 |
1,82 |
1,61 |
|
3,00 |
0,90 |
5,29 |
4,85 |
3,96 |
4,02 |
3,70 |
3,06 |
3,38 |
3,12 |
2,62 |
2,10 |
1,98 |
1,72 |
|
5,00 |
0,10 |
1,09 |
1,09 |
1,09 |
1,08 |
1,07 |
1,07 |
1,07 |
1,07 |
1,07 |
1,06 |
1,06 |
1,06 |
|
5,00 |
0,20 |
1,06 |
1,06 |
1,06 |
1,05 |
1,05 |
1,05 |
1,04 |
1,04 |
1,04 |
1,03 |
1,03 |
1,03 |
|
5,00 |
0,30 |
1,53 |
1,48 |
1,38 |
1,38 |
1,34 |
1,27 |
1,30 |
1,27 |
1,22 |
1,15 |
1,13 |
1,10 |
|
5,00 |
0,40 |
2,45 |
2,30 |
2,01 |
2,02 |
1,92 |
1,71 |
1,81 |
1,73 |
1,56 |
1,39 |
1,35 |
1,27 |
|
5,00 |
0,50 |
3,57 |
3,31 |
2,79 |
2,82 |
2,63 |
2,26 |
2,44 |
2,29 |
2,00 |
1,69 |
1,62 |
1,47 |
|
5,00 |
0,60 |
4,74 |
4,36 |
3,60 |
3,65 |
3,38 |
2,83 |
3,10 |
2,88 |
2,45 |
2,01 |
1,90 |
1,68 |
|
5,00 |
0,70 |
5,92 |
5,42 |
4,42 |
4,48 |
4,12 |
3,41 |
3,76 |
3,48 |
2,91 |
2,32 |
2,18 |
1,90 |
|
5,00 |
0,80 |
7,09 |
6,47 |
5,23 |
5,31 |
4,87 |
3,98 |
4,42 |
4,07 |
3,36 |
2,64 |
2,46 |
2,11 |
|
5,00 |
0,90 |
8,26 |
7,52 |
6,04 |
6,14 |
5,61 |
4,56 |
5,08 |
4,66 |
3,81 |
2,96 |
2,75 |
2,32 |
|
Примечания к таблицам Б.4 и Б.5 1 При промежуточных значениях dп/h01, lТ/dп, bп/dп и rср коэффициент ro определяют интерполяцией. 2 Средневзвешенный коэффициент отражения помещения (пола, стен и потолка) рассчитывают по формуле
где rп, rст, rпот - коэффициенты отражения материала пола, стен и потолка соответственно; Ап, Аст, Апот - площадь пола, стен и потолка соответственно. Если отделка поверхности помещения неизвестна, то для помещений жилых и общественных зданий средневзвешенный коэффициент отражения rср следует принимать равным 0,50. |
|||||||||||||
Таблица Б.6 - Значения коэффициента КЗД0 для схемы № 1 (рисунок Б.1) с параллельным расположением зданий
|
Индекс противостоящего здания в плане z1 |
Значения коэффициента КЗД0 при значениях индекса противостоящего здания в разрезе z2 |
|||||||
|
фасада экранирующего здания rф |
внутренней поверхности помещения rср |
0,10 и менее |
0,50 |
1,00 |
1,50 |
2,00 |
4,00 и более |
|
|
Отношение расстояния расчетной точки от наружной стены к глубине помещения lT/dп = 0,90 |
||||||||
|
0,60 |
0,55 |
0,5 и менее |
1,00 |
1,65 |
1,73 |
1,69 |
1,42 |
1,30 |
|
0,60 |
0,55 |
2,0 |
1,00 |
1,54 |
1,63 |
1,59 |
1,39 |
1,28 |
|
0,60 |
0,55 |
4,0 и более |
1,00 |
1,41 |
1,50 |
1,45 |
1,34 |
1,25 |
|
0,60 |
0,50 |
0,5 и менее |
1,00 |
1,58 |
1,67 |
1,62 |
1,38 |
1,28 |
|
0,60 |
0,50 |
2,0 |
1,00 |
1,48 |
1,57 |
1,53 |
1,35 |
1,26 |
|
0,60 |
0,50 |
4,0 и более |
1,00 |
1,36 |
1,45 |
1,40 |
1,30 |
1,23 |
|
0,60 |
0,45 |
0,5 и менее |
1,00 |
1,51 |
1,60 |
1,56 |
1,34 |
1,26 |
|
0,60 |
0,45 |
2,0 |
1,00 |
1,42 |
1,51 |
1,47 |
1,31 |
1,24 |
|
0,60 |
0,45 |
4,0 и более |
1,00 |
1,30 |
1,39 |
1,35 |
1,26 |
1,21 |
|
0,60 |
0,40 |
0,5 и менее |
1,00 |
1,45 |
1,54 |
1,49 |
1,30 |
1,24 |
|
0,60 |
0,40 |
2,0 |
1,00 |
1,36 |
1,45 |
1,41 |
1,26 |
1,22 |
|
0,60 |
0,40 |
4,0 и более |
1,00 |
1,25 |
1,34 |
1,29 |
1,22 |
1,19 |
|
0,50 |
0,55 |
0,5 и менее |
1,00 |
1,76 |
1,85 |
1,80 |
1,50 |
1,34 |
|
0,50 |
0,55 |
2,0 |
1,00 |
1,66 |
1,75 |
1,70 |
1,47 |
1,32 |
|
0,50 |
0,55 |
4,0 и более |
1,00 |
1,52 |
1,61 |
1,57 |
1,43 |
1,30 |
|
0,50 |
0,50 |
0,5 и менее |
1,00 |
1,69 |
1,78 |
1,74 |
1,46 |
1,32 |
|
0,50 |
0,50 |
2,0 |
1,00 |
1,60 |
1,69 |
1,64 |
1,43 |
1,30 |
|
0,50 |
0,50 |
4,0 и более |
1,00 |
1,47 |
1,56 |
1,51 |
1,39 |
1,28 |
|
0,50 |
0,45 |
0,5 и менее |
1,00 |
1,63 |
1,72 |
1,67 |
1,42 |
1,30 |
|
0,50 |
0,45 |
2,0 |
1,00 |
1,54 |
1,63 |
1,58 |
1,39 |
1,28 |
|
0,50 |
0,45 |
4,0 и более |
1,00 |
1,42 |
1,51 |
1,46 |
1,34 |
1,26 |
|
0,50 |
0,40 |
0,5 и менее |
1,00 |
1,56 |
1,65 |
1,60 |
1,38 |
1,28 |
|
0,50 |
0,40 |
2,0 |
1,00 |
1,48 |
1,57 |
1,52 |
1,35 |
1,26 |
|
0,50 |
0,40 |
4,0 и более |
1,00 |
1,36 |
1,45 |
1,41 |
1,30 |
1,24 |
|
0,40 |
0,55 |
0,5 и менее |
1,00 |
1,87 |
1,96 |
1,91 |
1,59 |
1,38 |
|
0,40 |
0,55 |
2,0 |
1,00 |
1,77 |
1,86 |
1,81 |
1,55 |
1,36 |
|
0,40 |
0,55 |
4,0 и более |
1,00 |
1,64 |
1,72 |
1,68 |
1,51 |
1,34 |
|
0,40 |
0,50 |
0,5 и менее |
1,00 |
1,81 |
1,89 |
1,85 |
1,55 |
1,36 |
|
0,40 |
0,50 |
2,0 |
1,00 |
1,71 |
1,80 |
1,75 |
1,51 |
1,34 |
|
0,40 |
0,50 |
4,0 и более |
1,00 |
1,58 |
1,67 |
1,63 |
1,47 |
1,32 |
|
0,40 |
0,45 |
0,5 и менее |
1,00 |
1,74 |
1,83 |
1,78 |
1,51 |
1,34 |
|
0,40 |
0,45 |
2,0 |
1,00 |
1,65 |
1,74 |
1,69 |
1,47 |
1,32 |
|
0,40 |
0,45 |
4,0 и более |
1,00 |
1,53 |
1,62 |
1,57 |
1,43 |
1,30 |
|
0,40 |
0,40 |
0,5 и менее |
1,00 |
1,67 |
1,76 |
1,72 |
1,47 |
1,32 |
|
0,40 |
0,40 |
2,0 |
1,00 |
1,59 |
1,68 |
1,63 |
1,43 |
1,31 |
|
0,40 |
0,40 |
4,0 и более |
1,00 |
1,48 |
1,56 |
1,52 |
1,39 |
1,28 |
|
0,30 |
0,55 |
0,5 и менее |
1,00 |
1,98 |
2,07 |
2,03 |
1,67 |
1,43 |
|
0,30 |
0,55 |
2,0 |
1,00 |
1,88 |
1,97 |
1,93 |
1,64 |
1,41 |
|
0,30 |
0,55 |
4,0 и более |
1,00 |
1,75 |
1,84 |
1,79 |
1,59 |
1,38 |
|
0,30 |
0,50 |
0,5 и менее |
1,00 |
1,92 |
2,01 |
1,96 |
1,63 |
1,41 |
|
0,30 |
0,50 |
2,0 |
1,00 |
1,82 |
1,91 |
1,87 |
1,60 |
1,39 |
|
0,30 |
0,50 |
4,0 и более |
1,00 |
1,70 |
1,78 |
1,74 |
1,55 |
1,36 |
|
0,30 |
0,45 |
0,5 и менее |
1,00 |
1,85 |
1,94 |
1,90 |
1,59 |
1,39 |
|
0,30 |
0,45 |
2,0 |
1,00 |
1,76 |
1,85 |
1,81 |
1,56 |
1,37 |
|
0,30 |
0,45 |
4,0 и более |
1,00 |
1,64 |
1,73 |
1,69 |
1,51 |
1,34 |
|
0,30 |
0,40 |
0,5 и менее |
1,00 |
1,79 |
1,88 |
1,83 |
1,55 |
1,37 |
|
0,30 |
0,40 |
2,0 |
1,00 |
1,70 |
1,79 |
1,75 |
1,52 |
1,35 |
|
0,30 |
0,40 |
4,0 и более |
1,00 |
1,59 |
1,68 |
1,63 |
1,47 |
1,32 |
|
Отношение расстояния расчетной точки от наружной стены к глубине помещения lT/dп = 0,50 |
||||||||
|
0,60 |
0,55 |
0,5 и менее |
1,00 |
1,31 |
1,39 |
1,35 |
1,20 |
1,23 |
|
0,60 |
0,55 |
2,0 |
1,00 |
1,27 |
1,36 |
1,31 |
1,18 |
1,22 |
|
0,60 |
0,55 |
4,0 и более |
1,00 |
1,22 |
1,31 |
1,26 |
1,15 |
1,21 |
|
0,60 |
0,50 |
0,5 и менее |
1,00 |
1,27 |
1,35 |
1,31 |
1,17 |
1,22 |
|
0,60 |
0,50 |
2,0 |
1,00 |
1,24 |
1,32 |
1,28 |
1,15 |
1,21 |
|
0,60 |
0,50 |
4,0 и более |
1,00 |
1,19 |
1,28 |
1,24 |
1,12 |
1,21 |
|
0,60 |
0,45 |
0,5 и менее |
1,00 |
1,23 |
1,31 |
1,27 |
1,14 |
1,21 |
|
0,60 |
0,45 |
2,0 |
1,00 |
1,20 |
1,29 |
1,24 |
1,12 |
1,21 |
|
0,60 |
0,45 |
4,0 и более |
1,00 |
1,17 |
1,25 |
1,21 |
1,09 |
1,20 |
|
0,60 |
0,40 |
0,5 и менее |
1,00 |
1,19 |
1,27 |
1,23 |
1,11 |
1,20 |
|
0,60 |
0,40 |
2,0 |
1,00 |
1,17 |
1,25 |
1,21 |
1,09 |
1,20 |
|
0,60 |
0,40 |
4,0 и более |
1,00 |
1,14 |
1,23 |
1,18 |
1,07 |
1,19 |
|
0,50 |
0,55 |
0,5 и менее |
1,00 |
1,37 |
1,46 |
1,41 |
1,25 |
1,24 |
|
0,50 |
0,55 |
2,0 |
1,00 |
1,33 |
1,42 |
1,37 |
1,23 |
1,23 |
|
0,50 |
0,55 |
4,0 и более |
1,00 |
1,28 |
1,37 |
1,33 |
1,20 |
1,23 |
|
0,50 |
0,50 |
0,5 и менее |
1,00 |
1,33 |
1,42 |
1,37 |
1,22 |
1,23 |
|
0,50 |
0,50 |
2,0 |
1,00 |
1,30 |
1,39 |
1,34 |
1,20 |
1,23 |
|
0,50 |
0,50 |
4,0 и более |
1,00 |
1,26 |
1,34 |
1,30 |
1,18 |
1,22 |
|
0,50 |
0,45 |
0,5 и менее |
1,00 |
1,29 |
1,38 |
1,33 |
1,19 |
1,22 |
|
0,50 |
0,45 |
2,0 |
1,00 |
1,26 |
1,35 |
1,30 |
1,17 |
1,22 |
|
0,50 |
0,45 |
4,0 и более |
1,00 |
1,23 |
1,32 |
1,27 |
1,15 |
1,21 |
|
0,50 |
0,40 |
0,5 и менее |
1,00 |
1,25 |
1,34 |
1,29 |
1,17 |
1,22 |
|
0,50 |
0,40 |
2,0 |
1,00 |
1,23 |
1,32 |
1,27 |
1,15 |
1,21 |
|
0,50 |
0,40 |
4,0 и более |
1,00 |
1,20 |
1,29 |
1,24 |
1,12 |
1,21 |
|
0,40 |
0,55 |
0,5 и менее |
1,00 |
1,43 |
1,52 |
1,47 |
1,30 |
1,25 |
|
0,40 |
0,55 |
2,0 |
1,00 |
1,39 |
1,48 |
1,44 |
1,28 |
1,25 |
|
0,40 |
0,55 |
4,0 и более |
1,00 |
1,34 |
1,43 |
1,39 |
1,26 |
1,24 |
|
0,40 |
0,50 |
0,5 и менее |
1,00 |
1,39 |
1,48 |
1,43 |
1,28 |
1,24 |
|
0,40 |
0,50 |
2,0 |
1,00 |
1,36 |
1,45 |
1,40 |
1,26 |
1,24 |
|
0,40 |
0,50 |
4,0 и более |
1,00 |
1,32 |
1,40 |
1,36 |
1,23 |
1,23 |
|
0,40 |
0,45 |
0,5 и менее |
1,00 |
1,35 |
1,44 |
1,39 |
1,25 |
1,24 |
|
0,40 |
0,45 |
2,0 |
1,00 |
1,32 |
1,41 |
1,37 |
1,23 |
1,23 |
|
0,40 |
0,45 |
4,0 и более |
1,00 |
1,29 |
1,38 |
1,33 |
1,20 |
1,23 |
|
0,40 |
0,40 |
0,5 и менее |
1,00 |
1,31 |
1,40 |
1,35 |
1,22 |
1,23 |
|
0,40 |
0,40 |
2,0 |
1,00 |
1,29 |
1,38 |
1,33 |
1,20 |
1,23 |
|
0,40 |
0,40 |
4,0 и более |
1,00 |
1,26 |
1,35 |
1,30 |
1,17 |
1,22 |
|
0,30 |
0,55 |
0,5 и менее |
1,00 |
1,49 |
1,58 |
1,53 |
1,36 |
1,26 |
|
0,30 |
0,55 |
2,0 |
1,00 |
1,45 |
1,54 |
1,50 |
1,34 |
1,26 |
|
0,30 |
0,55 |
4,0 и более |
1,00 |
1,41 |
1,49 |
1,45 |
1,31 |
1,25 |
|
0,30 |
0,50 |
0,5 и менее |
1,00 |
1,45 |
1,54 |
1,49 |
1,33 |
1,26 |
|
0,30 |
0,50 |
2,0 |
1,00 |
1,42 |
1,51 |
1,46 |
1,31 |
1,25 |
|
0,30 |
0,50 |
4,0 и более |
1,00 |
1,38 |
1,47 |
1,42 |
1,28 |
1,25 |
|
0,30 |
0,45 |
0,5 и менее |
1,00 |
1,41 |
1,50 |
1,45 |
1,30 |
1,25 |
|
0,30 |
0,45 |
2,0 |
1,00 |
1,38 |
1,47 |
1,43 |
1,28 |
1,25 |
|
0,30 |
0,45 |
4,0 и более |
1,00 |
1,35 |
1,44 |
1,39 |
1,25 |
1,24 |
|
0,30 |
0,40 |
0,50 и менее |
1,00 |
1,37 |
1,46 |
1,41 |
1,27 |
1,24 |
|
0,30 |
0,40 |
2,0 |
1,00 |
1,35 |
1,44 |
1,39 |
1,25 |
1,24 |
|
0,30 |
0,40 |
4,0 и более |
1,00 |
1,32 |
1,41 |
1,37 |
1,23 |
1,23 |
|
Отношение расстояния расчетной точки от наружной стены к глубине помещения lT/dп = 0,10 |
||||||||
|
0,60 |
0,55 |
0,5 и менее |
1,00 |
0,97 |
1,06 |
1,01 |
0,97 |
1,16 |
|
0,60 |
0,55 |
2,0 |
1,00 |
1,00 |
1,08 |
1,04 |
0,97 |
1,16 |
|
0,60 |
0,55 |
4,0 и более |
1,00 |
1,03 |
1,12 |
1,08 |
0,96 |
1,18 |
|
0,60 |
0,50 |
0,5 и менее |
1,00 |
0,95 |
1,04 |
1,00 |
0,96 |
1,16 |
|
0,60 |
0,50 |
2,0 |
1,00 |
0,99 |
1,07 |
1,03 |
0,95 |
1,17 |
|
0,60 |
0,50 |
4,0 и более |
1,00 |
1,03 |
1,12 |
1,07 |
0,94 |
1,18 |
|
0,60 |
0,45 |
0,5 и менее |
1,00 |
0,94 |
1,03 |
0,98 |
0,94 |
1,17 |
|
0,60 |
0,45 |
2,0 |
1,00 |
0,98 |
1,07 |
1,02 |
0,94 |
1,18 |
|
0,60 |
0,45 |
4,0 и более |
1,00 |
1,03 |
1,12 |
1,07 |
0,93 |
1,19 |
|
0,60 |
0,40 |
0,5 и менее |
1,00 |
0,92 |
1,01 |
0,97 |
0,93 |
1,17 |
|
0,60 |
0,40 |
2,0 |
1,00 |
0,97 |
1,06 |
1,01 |
0,92 |
1,18 |
|
0,60 |
0,40 |
4,0 и более |
1,00 |
1,03 |
1,11 |
1,07 |
0,91 |
1,19 |
|
0,50 |
0,55 |
0,5 и менее |
1,00 |
0,98 |
1,07 |
1,02 |
1,00 |
1,14 |
|
0,50 |
0,55 |
2,0 |
1,00 |
1,01 |
1,09 |
1,05 |
0,99 |
1,15 |
|
0,50 |
0,55 |
4,0 и более |
1,00 |
1,04 |
1,13 |
1,09 |
0,98 |
1,16 |
|
0,50 |
0,50 |
0,5 и менее |
1,00 |
0,96 |
1,05 |
1,01 |
0,98 |
1,14 |
|
0,50 |
0,50 |
2,0 |
1,00 |
1,00 |
1,08 |
1,04 |
0,97 |
1,15 |
|
0,50 |
0,50 |
4,0 и более |
1,00 |
1,04 |
1,13 |
1,08 |
0,97 |
1,16 |
|
0,50 |
0,45 |
0,5 и менее |
1,00 |
0,95 |
1,04 |
0,99 |
0,97 |
1,15 |
|
0,50 |
0,45 |
2,0 |
1,00 |
0,99 |
1,08 |
1,03 |
0,96 |
1,16 |
|
0,50 |
0,45 |
4,0 и более |
1,00 |
1,04 |
1,13 |
1,08 |
0,95 |
1,17 |
|
0,50 |
0,40 |
0,5 и менее |
1,00 |
0,93 |
1,02 |
0,98 |
0,95 |
1,16 |
|
0,50 |
0,40 |
2,0 |
1,00 |
0,98 |
1,07 |
1,02 |
0,94 |
1,16 |
|
0,50 |
0,40 |
4,0 и более |
1,00 |
1,04 |
1,12 |
1,08 |
0,93 |
1,18 |
|
0,40 |
0,55 |
0,5 и менее |
1,00 |
0,99 |
1,08 |
1,03 |
1,02 |
1,12 |
|
0,40 |
0,55 |
2,0 |
1,00 |
1,02 |
1,10 |
1,06 |
1,01 |
1,13 |
|
0,40 |
0,55 |
4,0 и более |
1,00 |
1,05 |
1,14 |
1,10 |
1,00 |
1,14 |
|
0,40 |
0,50 |
0,5 и менее |
1,00 |
0,97 |
1,06 |
1,02 |
1,00 |
1,13 |
|
0,40 |
0,50 |
2,0 |
1,00 |
1,01 |
1,09 |
1,05 |
1,00 |
1,14 |
|
0,40 |
0,50 |
4,0 и более |
1,00 |
1,05 |
1,14 |
1,09 |
0,99 |
1,15 |
|
0,40 |
0,45 |
0,5 и менее |
1,00 |
0,96 |
1,05 |
1,00 |
0,99 |
1,13 |
|
0,40 |
0,45 |
2,0 |
1,00 |
1,00 |
1,08 |
1,04 |
0,98 |
1,14 |
|
0,40 |
0,45 |
4,0 и более |
1,00 |
1,05 |
1,14 |
1,09 |
0,97 |
1,15 |
|
0,40 |
0,40 |
0,5 и менее |
1,00 |
0,94 |
1,03 |
0,99 |
0,97 |
1,14 |
|
0,40 |
0,40 |
2,0 |
1,00 |
0,99 |
1,08 |
1,03 |
0,97 |
1,15 |
|
0,40 |
0,40 |
4,0 и более |
1,00 |
1,05 |
1,13 |
1,09 |
0,96 |
1,16 |
|
0,30 |
0,55 |
0,5 и менее |
1,00 |
1,00 |
1,09 |
1,04 |
1,04 |
1,10 |
|
0,30 |
0,55 |
2,0 |
1,00 |
1,03 |
1,11 |
1,07 |
1,04 |
1,11 |
|
0,30 |
0,55 |
4,0 и более |
1,00 |
1,06 |
1,15 |
1,11 |
1,03 |
1,12 |
|
0,30 |
0,50 |
0,5 и менее |
1,00 |
0,98 |
1,07 |
1,03 |
1,03 |
1,11 |
|
0,30 |
0,50 |
2,0 |
1,00 |
1,02 |
1,10 |
1,06 |
1,02 |
1,12 |
|
0,30 |
0,50 |
4,0 и более |
1,00 |
1,06 |
1,15 |
1,10 |
1,01 |
1,13 |
|
0,30 |
0,45 |
0,5 и менее |
1,00 |
0,97 |
1,06 |
1,01 |
1,01 |
1,11 |
|
0,30 |
0,45 |
2,0 |
1,00 |
1,01 |
1,09 |
1,05 |
1,01 |
1,12 |
|
0,30 |
0,45 |
4,0 и более |
1,00 |
1,06 |
1,15 |
1,10 |
1,00 |
1,14 |
|
0,30 |
0,40 |
0,5 и менее |
1,00 |
0,95 |
1,04 |
1,00 |
1,00 |
1,12 |
|
0,30 |
0,40 |
2,0 |
1,00 |
1,00 |
1,09 |
1,04 |
0,99 |
1,13 |
|
0,30 |
0,40 |
4,0 и более |
1,00 |
1,06 |
1,14 |
1,10 |
0,98 |
1,14 |
|
Примечания 1 При значениях параметров rф, rср, z1, z2, lT/dп, отличных от приведенных в таблице, коэффициент KЗД0 определяют интерполяцией. 2 Значения коэффициента KЗД0 для схем застройки зданий, отличающихся от схемы № 1, определяют по таблице Б.6 с учетом указаний, приведенных в приложении Б. |
||||||||
Таблица Б.7 - Значения коэффициентов t1 и t2
|
Значения t1 |
Вид переплета |
Значения t2 |
|
|
Стекло оконное листовое: |
|
Переплеты для окон и фонарей промышленных зданий: |
|
|
одинарное |
0,9 |
деревянные: |
|
|
двойное |
0,8 |
одинарные |
0,75 |
|
тройное |
0,75 |
спаренные |
0,7 |
|
Стекло витринное толщиной 6 - 8 мм |
0,8 |
двойные раздельные |
0,6 |
|
|
|
стальные: |
|
|
Стекло листовое армированное |
0,6 |
одинарные открывающиеся |
0,75 |
|
|
|
одинарные глухие |
0,9 |
|
Стекло листовое узорчатое |
0,65 |
двойные открывающиеся |
0,6 |
|
|
|
двойные глухие |
0,8 |
|
Стекло листовое со специальными свойствами: |
|
Переплеты для окон жилых, общественных и вспомогательных зданий: |
|
|
солнцезащитное |
0,65 |
деревянные: |
|
|
контрастное |
0,75 |
одинарные |
0,8 |
|
Органическое стекло: |
|
спаренные |
0,75 |
|
прозрачное |
0,9 |
двойные раздельные |
0,65 |
|
молочное |
0,6 |
с тройным остеклением |
0,5 |
|
|
|
металлические: |
|
|
Пустотелые стеклянные блоки: |
|
одинарные |
0,9 |
|
светорассеивающие |
0,5 |
спаренные |
0,85 |
|
светопрозрачные |
0,55 |
двойные раздельные |
0,8 |
|
|
|
с тройным остеклением |
0,7 |
|
Стеклопакеты |
0,8 |
Стекложелезобетонные панели с пустотелыми стеклянными блоками при толщине шва: |
|
|
|
|
20 мм и менее |
0,9 |
|
|
|
более 20 мм |
0,85 |
|
Примечание - Значения коэффициентов t1 и t2 для светопропускающего материала и переплетов, не указанных в таблице Б.7, следует определять по ГОСТ 26602.4. |
|||
Таблица Б.8 - Значения коэффициентов t3 и t4.
|
Коэффициент, учитывающий потери света в несущих конструкциях, t3 |
Солнцезащитные устройства, изделия и материалы |
Коэффициент, учитывающий потери света в солнцезащитных устройствах, t4 |
|
|
Стальные фермы |
0,9 |
Убирающиеся регулируемые жалюзи и шторы (межстекольные, внутренние, наружные) |
1,0 |
|
Железобетонные и деревянные фермы и арки |
0,8 |
Стационарные жалюзи и экраны с защитным углом не более 45° при расположении пластин жалюзи или экранов под углом 90° к плоскости окна: |
|
|
|
|
горизонтальные |
0,65 |
|
|
|
вертикальные |
0,75 |
|
Балки и рамы сплошные при высоте |
|
Горизонтальные козырьки: |
|
|
сечения: |
|
с защитным углом не более 30° |
0,8 |
|
50 см и более |
0,8 |
с защитным углом от 15° до 45° (многоступенчатые) |
0,9 - 0,6 |
|
менее 50 см |
0,9 |
Балконы глубиной: |
|
|
|
|
до 1,20 м |
0,90 |
|
|
|
1,50 м |
0,85 |
|
|
|
2,00 м |
0,78 |
|
|
|
3,00 м |
0,62 |
|
|
|
Лоджии глубиной: |
|
|
|
|
до 1,20 м |
0,80 |
|
|
|
1,50 м |
0,70 |
|
|
|
2,00 м |
0,55 |
|
|
|
3,00 м |
0,22 |
Таблица Б.9 - Значения коэффициента r2
|
Отношение высоты помещения, принимаемой от условной рабочей поверхности до нижней грани остекления, hф к ширине пролета l1 |
Значения r2 |
||||||||
|
Средневзвешенный коэффициент отражения пола, стен и потолка |
|||||||||
|
rср = 0,5 |
rср = 0,4 |
rср = 0,3 |
|||||||
|
Число пролетов |
|||||||||
|
1 |
2 |
3 и более |
1 |
2 |
3 и более |
1 |
2 |
3 и более |
|
|
2 |
1,7 |
1,5 |
1,15 |
1,6 |
1,4 |
1,1 |
1,4 |
1,1 |
1,05 |
|
1 |
1,5 |
1,4 |
1,15 |
1,4 |
1,3 |
1,1 |
1,3 |
1,1 |
1,05 |
|
0,75 |
1,45 |
1,35 |
1,15 |
1,35 |
1,25 |
1,1 |
1,25 |
1,1 |
1,05 |
|
0,5 |
1,4 |
1,3 |
1,15 |
1,3 |
1,2 |
1,1 |
1,2 |
1,1 |
1,05 |
|
0,25 |
1,35 |
1,25 |
1,15 |
1,25 |
1,15 |
1,1 |
1,15 |
1,1 |
1,05 |
|
Примечания 1 В помещениях с зенитными и шахтными фонарями hф соответствует hp (расчетная высота) от условной рабочей поверхности до нижней грани остекления фонаря). 2 В однопролетных помещениях ширина пролета l1 соответствует ширине помещения bп. |
|||||||||
Таблица Б.10 - Значения коэффициента kф
|
Значения kф |
|
|
Световые проемы в плоскости покрытия, ленточные |
1,0 |
|
Световые проемы в плоскости покрытия, штучные |
1,1 |
|
Фонари с наклонным двусторонним остеклением (трапециевидные) |
1,15 |
|
Фонари с вертикальным двусторонним остеклением (прямоугольные) |
1,2 |
|
Фонари с односторонним наклонным остеклением (шеды) |
1,3 |
|
Фонари с односторонним вертикальным остеклением (шеды) |
1,4 |
Геометрический коэффициент естественной освещенности eBi в какой-либо точке помещения от неба МКО при верхнем освещении определяют по формуле
eBi = 0,01(n1n2qi), (Б.11)
где n1 - число лучей по графику I, проходящих от неба в расчетную точку через i-й световой проем на поперечном разрезе помещения;
n2 - число лучей по графику II, проходящих от неба в расчетную точку через i-й световой проем на продольном разрезе помещения;
r2 - коэффициент, учитывающий повышение КЕО при верхнем освещении, благодаря свету, отраженному от поверхностей помещения, принимаемый по таблице Б.9;
kф - коэффициент, принимаемый в зависимости от типа фонаря и определяемый по таблице Б.10;
екp - расчетное значение КЕО при комбинированном освещении.
Б.2 РАСЧЕТ ПАРАМЕТРОВ ДЛЯ РАЗЛИЧНЫХ СХЕМ ЗАСТРОЙКИ ЗДАНИЙ
В случае когда проектируемое здание и экранирующее его здание расположены не параллельно (т.е. отличаются по схеме застройки от схемы № 1), их необходимо привести к эквивалентной схеме с параллельным расположением по схеме № 1. Ниже рассмотрены наиболее часто встречающиеся схемы застройки и приведение их к схеме № 1 с эквивалентными параметрами. По параметрам схем, приведенным к параметрам схемы № 1, определяют значения средней относительной яркости экранирующих зданий и коэффициент KЗД, учитывающий изменение внутренней отраженной составляющей КЕО в помещении при наличии противостоящих зданий.
Схема № 2
Противостоящее (экранирующее) здание расположено под углом к исследуемому зданию (рисунки Б.2, Б.3)
1 Накладывают график II для расчета КЕО методом A.M. Данилюка на план исследуемого помещения (рисунок Б.3) таким образом, чтобы его вертикальная ось совместилась с характерным разрезом помещения, а полюс графика 0 совместился с расчетной точкой С¢. Подсчитывают по графику II число лучей, проходящих от части фасада (участок 1-2) экранирующего здания через световой проем.
2 Отмечают точку С1, расположенную на середине участка 1-2 экранирующего здания.
4 Определяют расстояние lэ от фасада исследуемого здания (помещения) до условной затеняющей плоскости (рисунок Б.2).
5 Определяют расчетную высоту Нp от уровня пола исследуемого помещения до верха парапета или других затеняющих элементов экранирующего здания.
6 Вычисляют отношение расстояния между исследуемым помещением и условной затеняющей плоскостью к длине условной затеняющей плоскости lэ/aэ.
7 Вычисляют отношение длины условной затеняющей плоскости к расчетной высоте экранирующего здания аэ/Hp.
8 Определяют значение средней относительной яркости фасада экранирующего здания по таблице Б.2.
9 Вычисляют индекс экранирующего здания в плане z1 по формуле
10 Вычисляют индекс экранирующего здания в разрезе z2 по формуле
11 Определяют
значение коэффициента
по таблице Б.6.
Схема № 3
Т-образное расположение зданий (рисунки Б.4, Б.5)
Определение параметров застройки по схеме № 3 аналогично определению параметров застройки по схеме № 2, за исключением пункта 3. Строят условную затеняющую плоскость в плане, равную проекции видимой из расчетной точки части экранирующего здания, находящегося в пределах светового угла (участок 2-3), на плоскость, параллельную плоскости фасада исследуемого здания (помещения) и проходящую через точку С1 (середина участка 1-2).
Схема № 4
Экранирующее здание со сложной конфигурацией в плане (рисунок Б.6)
1 Вычисляют расстояние С¢-С1 от исследуемого помещения до условней затеняющей плоскости, параллельной плоскости фасада по формуле
(Б.14)
где l1 и l2 - расстояния от исследуемого помещения до части длины здания а1 и до части длины здания а2.
2 Строят лучи С¢-1 и С¢-2, соединяющие расчетную точку в плане с крайними точками горизонтальной проекции плоскости фасада экранирующего здания.
3 Определяют длину условной затеняющей плоскости aэ, равную отрезку 1¢-2¢.
4 Вычисляют параметры застройки для схемы № 4 применительно к условной затеняющей плоскости длиной аэ и расстоянием lэ и суммарной шириной окон, включая простенки bс.п, по формулам (Б.12) и (Б.13).
Схема № 5
Экранирующее здание со сложной конфигурацией по высоте (рисунок Б.7)
1 Вычисляют параметры застройки по формулам:
(Б.15)
(Б.16)
(Б.17)
(Б.18)
2 Определяют
коэффициенты bф1,
для части здания высотой Нp1 и длиной l1 и коэффициенты bф2,
для части здания высотой Hp2 и длиной l2 по таблицам Б.2 и Б.6.
3 Определяют
произведение средневзвешенных коэффициентов bф и
от всего
экранирующего здания по формуле
(Б.19)
где bф1 и bф2 - средняя относительная яркость фасадов отдельных частей здания;
и
- коэффициенты,
учитывающие изменения внутренней отраженной составляющей КЕО в помещении при
наличии каждого из отдельных частей экранирующего здания;
и
- геометрические
коэффициенты участков фасадов экранирующих частей зданий, видимых из расчетной
точки через световой проем.
Схема № 6
Смешанное расположение экранирующих зданий (рисунок Б.8)
1 Строят условные затеняющие плоскости для экранирующих зданий (1) и (4).
2 Вычисляют параметры застройки z1 и z2 применительно к каждому экранирующему зданию (2) и (3) и каждой условной затеняющей плоскости зданий (1) и (4).
3 Определяют
коэффициенты bф1, bф2, bф3, bф4 и коэффициенты
,
,
,
для каждого из
экранирующих зданий (2) и (3) и для каждой из условных затеняющих плоскостей
(1) и (4) в отдельности.
4 Определяют
сумму произведений значений геометрических КЕО
на коэффициенты bф1i и
по формуле
(Б.20)
где bф1, bф2, bф3 и bф4 - средняя относительная яркость фасадов каждого из отдельных экранирующих зданий;
,
,
- коэффициенты, учитывающие
изменения внутренней отраженной составляющей КЕО в помещении при наличии
каждого из отдельных экранирующих зданий;
,
,
,
- геометрические
коэффициенты естественного освещения участков фасадов экранирующих зданий,
видимых из расчетной точки через световой проем.
(рекомендуемое)
Таблица В.1
|
Месяц |
Освещенность горизонтальной поверхности Ег° при сплошной облачности, клк |
|||||||||||||||
|
Время суток, ч |
||||||||||||||||
|
6 |
7 |
8 |
9 |
10 |
11 |
12 |
13 |
14 |
15 |
16 |
17 |
18 |
19 |
20 |
||
|
35 |
III |
- |
3,5 |
7 |
10 |
13 |
15,5 |
16,5 |
16 |
14 |
11 |
8 |
4,2 |
0,8 |
- |
- |
|
VI |
4 |
7 |
11 |
15 |
18,5 |
21 |
22 |
21 |
18,5 |
15 |
11 |
7 |
4 |
0,8 |
- |
|
|
IX |
1 |
4,2 |
8 |
11,5 |
14 |
16 |
17 |
16 |
14 |
10,5 |
7 |
3,7 |
- |
- |
- |
|
|
XII |
- |
- |
2,8 |
5 |
7,5 |
9 |
9,3 |
8,7 |
7 |
5 |
2,5 |
- |
- |
- |
- |
|
|
45 |
III |
- |
2,8 |
5,6 |
8,5 |
11 |
12,5 |
13,5 |
13 |
11,8 |
9,3 |
6,6 |
3,5 |
0,8 |
- |
- |
|
VI |
5 |
8 |
11 |
14,3 |
17,5 |
19,5 |
20 |
19,5 |
17,5 |
14,3 |
11,5 |
7,5 |
5 |
2,2 |
- |
|
|
IX |
0,8 |
4 |
7 |
9,5 |
12 |
13,5 |
14 |
13,5 |
11,7 |
9 |
6,3 |
3,4 |
- |
- |
- |
|
|
XII |
- |
- |
1 |
3,3 |
5 |
6 |
6,3 |
6 |
5 |
3 |
0,8 |
- |
- |
- |
- |
|
|
55 |
II |
- |
2,3 |
5 |
7 |
8,5 |
10 |
10,5 |
10,2 |
9 |
7 |
5,2 |
3 |
0,8 |
- |
- |
|
VI |
5,7 |
8,5 |
11 |
13,2 |
15,3 |
17 |
17,5 |
17 |
15,5 |
13,2 |
11 |
8,5 |
5,7 |
3,5 |
1,3 |
|
|
IX |
0,8 |
3,5 |
5,7 |
7 |
9,5 |
11 |
11 |
10,5 |
9,3 |
7,5 |
5,2 |
2,8 |
- |
- |
- |
|
|
XII |
- |
- |
- |
1 |
2,2 |
3 |
3,5 |
3 |
2,2 |
0,8 |
- |
- |
- |
- |
- |
|
|
65 |
III |
- |
2 |
4 |
5 |
6,3 |
7 |
6,5 |
7 |
6,5 |
5, |
4 |
2,3 |
- |
- |
- |
|
VI |
6,5 |
8,2 |
10,5 |
11,6 |
13,5 |
14 |
14,3 |
14 |
13 |
11,6 |
10 |
8,5 |
6,5 |
4,5 |
2,8 |
|
|
IX |
0,8 |
2,5 |
4 |
5,6 |
7 |
8 |
8,3 |
8 |
7 |
5,6 |
4 |
2 |
0,5 |
- |
- |
|
|
XII |
- |
- |
- |
- |
- |
- |
0,8 |
- |
- |
- |
- |
- |
- |
- |
- |
|
Таблица В.2
|
Географическая широта, град. с. ш. |
Месяц |
Освещенность различно ориентированных вертикальных поверхностей Ев° при сплошной облачности, клк |
|||||||||||||||
|
Время суток, ч |
|||||||||||||||||
|
5 |
6 |
7 |
8 |
9 |
10 |
11 |
12 |
13 |
14 |
15 |
16 |
17 |
18 |
19 |
20 |
||
|
35 |
III |
- |
- |
1,4 |
3,2 |
4,9 |
6,4 |
7,4 |
7,7 |
7,6 |
7,0 |
5,5 |
4,0 |
1,8 |
- |
- |
- |
|
VI |
- |
1,8 |
4,0 |
5,7 |
7,5 |
8,6 |
9,2 |
9,6 |
9,2 |
8,6 |
7,5 |
5,7 |
4,0 |
1,8 |
- |
- |
|
|
IX |
- |
1,0 |
2,0 |
4,2 |
5,9 |
7,4 |
8,0 |
8,3 |
8,0 |
7,2 |
5,5 |
4,0 |
1,8 |
- |
- |
- |
|
|
XII |
- |
- |
- |
1,4 |
2,4 |
4,0 |
4,5 |
4,7 |
4,4 |
3,8 |
2,4 |
1,4 |
- |
- |
- |
- |
|
|
45 |
III |
- |
- |
1,2 |
2,4 |
4,2 |
5,3 |
6,0 |
6,4 |
6,2 |
5,7 |
4,4 |
3,2 |
1,6 |
- |
- |
- |
|
VI |
1,2 |
2,2 |
4,2 |
5,7 |
7,3 |
8,3 |
8,8 |
9,0 |
8,8 |
8,3 |
7,3 |
5,8 |
4,0 |
2,2 |
1,1 |
- |
|
|
IX |
- |
0,6 |
1,9 |
3,8 |
5,1 |
6,2 |
7,1 |
7,3 |
7,1 |
6,0 |
4,9 |
3,4 |
1,7 |
0,1 |
- |
- |
|
|
XII |
- |
- |
- |
0,6 |
1,6 |
2,4 |
3,0 |
3,2 |
3,0 |
2,2 |
1,5 |
0,2 |
- |
- |
- |
- |
|
|
55 |
III |
- |
- |
1,0 |
1,8 |
3,2 |
4,1 |
4,5 |
4,9 |
4,9 |
4,3 |
3,6 |
2,2 |
2,4 |
- |
- |
- |
|
VI |
1,6 |
2,8 |
4,3 |
5,6 |
6,8 |
7,6 |
8,1 |
8,3 |
8,1 |
7,7 |
6,8 |
5,6 |
4,3 |
2,6 |
1,6 |
- |
|
|
IX |
- |
0,6 |
1,7 |
3,0 |
4,2 |
5,1 |
5,7 |
5,8 |
5,6 |
4,9 |
4,1 |
2,6 |
1,5 |
0,1 |
- |
- |
|
|
XII |
- |
- |
- |
- |
0,6 |
1,2 |
1,5 |
1,6 |
1,5 |
1,2 |
0,4 |
- |
- |
- |
- |
- |
|
|
65 |
III |
- |
- |
0,6 |
1,5 |
1,9 |
2,6 |
3,2 |
3,4 |
3,4 |
3,0 |
2,2 |
1,6 |
1,0 |
- |
- |
- |
|
VI |
2,0 |
3,2 |
4,3 |
5,3 |
5,9 |
6,8 |
7,2 |
7,3 |
7,1 |
6,8 |
5,9 |
5,3 |
4,3 |
3,2 |
1,9 |
1,4 |
|
|
IX |
- |
0,6 |
1,4 |
2,0 |
3,0 |
3,8 |
4,2 |
4,3 |
4,2 |
3,8 |
3,0 |
2,0 |
1,3 |
- |
- |
- |
|
|
XII |
- |
- |
- |
- |
- |
- |
0 |
0,4 |
0 |
- |
- |
- |
- |
- |
- |
- |
|
Таблица В.3
|
Месяц |
Освещенность горизонтальной поверхности Егя при ясном небе, клк Суммарная освещенность на горизонтальной поверхности Егсум от ясного неба и солнца, клк |
||||||||||||||||
|
Время суток, ч |
|||||||||||||||||
|
5 |
6 |
7 |
8 |
9 |
10 |
11 |
12 |
13 |
14 |
15 |
16 |
17 |
18 |
19 |
20 |
||
|
35 |
III |
- |
- |
3,7 7,8 |
8,5 24,0 |
13,3 44,0 |
16,4 61,7 |
18,0 70,6 |
18,5 75,2 |
18,3 73,8 |
17,0 65,2 |
14,5 49,8 |
10,5 31,0 |
5,3 12,6 |
0,6 1,0 |
- |
- |
|
VI |
1,0 1,7 |
5,3 12,6 |
10,4 31,0 |
15,1 53,8 |
18,1 72,3 |
20,1 87,5 |
21,7 95,0 |
21,5 99,0 |
21,7 95,0 |
20,1 87,5 |
18,1 72,3 |
15,1 53,8 |
10,4 31,0 |
5,3 12,6 |
1,0 1,7 |
- |
|
|
IX |
- |
1,8 3,0 |
6,0 14,9 |
11,3 34,1 |
15,7 56,5 |
17,7 68,8 |
19,0 79,6 |
19,5 83,0 |
19,0 79,6 |
17,5 67,8 |
14,8 51,9 |
10,3 31,0 |
5,3 12,6 |
0,6 0,9 |
- |
- |
|
|
XII |
- |
- |
- |
3,7 8,0 |
6,9 17,9 |
10,5 31,0 |
12,5 40,0 |
13,0 42,0 |
12,1 38,0 |
10,0 29,5 |
6,9 17,9 |
3,2 6,8 |
- |
- |
- |
- |
|
|
45 |
III |
- |
- |
4,0 5,9 |
8,5 18,0 |
12,7 34,1 |
15,8 48,0 |
18,0 58,3 |
18,6 61,5 |
18,3 60,0 |
16,9 53,7 |
13,6 38,1 |
10,3 24,0 |
5,9 10,0 |
- |
- |
- |
|
VI |
2,9 5,9 |
6,5 16,2 |
11,3 34,1 |
15,3 53,8 |
17,7 69,0 |
19,5 83,1 |
20,6 90,1 |
21,1 92,3 |
20,6 90,1 |
19,5 83,1 |
17,7 69,0 |
15,4 55,0 |
10,5 31,0 |
6,5 16,2 |
2,5 4,8 |
- |
|
|
IX |
- |
1,4 2,1 |
5,7 14,0 |
10,0 29,5 |
13,7 46,0 |
16,1 60,0 |
17,1 66,2 |
17,7 69,0 |
17,1 66,2 |
15,9 58,4 |
13,3 43,9 |
9,0 25,9 |
4,9 11,5 |
0,6 0,9 |
- |
- |
|
|
XII |
- |
- |
- |
1,9 2,1 |
5,9 10,0 |
8,6 18,0 |
9,9 22,2 |
10,3 24,0 |
9,9 22,2 |
8,0 16,0 |
5,5 9,9 |
1,5 1,6 |
- |
- |
- |
- |
|
|
55 |
III |
- |
- |
3,0 4,0 |
6,7 12,5 |
10,3 24,0 |
12,3 38,5 |
14,0 40,0 |
14,8 43,9 |
14,8 43,9 |
13,1 36,1 |
11,1 27,7 |
8,1 16,3 |
4,5 6,9 |
- |
- |
- |
|
VI |
4,5 10,0 |
7,7 21,0 |
11,7 36,0 |
14,8 51,8 |
16,9 64,0 |
18,3 73,9 |
19,2 80,8 |
19,5 83,1 |
19,2 80,8 |
18,5 75,0 |
16,9 64,0 |
14,8 51,8 |
11,7 36,0 |
7,3 19,4 |
4,5 10,0 |
- |
|
|
IX |
- |
1,4 2,1 |
4,9 11,4 |
8,1 22,1 |
11,3 34,1 |
13,7 46,0 |
15,1 53,8 |
15,4 55,0 |
14,9 51,8 |
13,3 44,0 |
10,9 32,5 |
7,3 19,2 |
4,1 9,0 |
0,6 0,9 |
- |
- |
|
|
XII |
- |
- |
- |
- |
2,0 2,1 |
4,0 6,0 |
5,5 9,5 |
6,0 10,0 |
5,5 9,5 |
4,0 6,0 |
- |
- |
- |
- |
- |
- |
|
|
65 |
III |
- |
- |
2,0 2,1 |
5,5 9,0 |
7,1 14,0 |
9,0 19,3 |
10,3 24,0 |
10,7 25,8 |
10,7 25,8 |
10,0 22,1 |
8,1 16,2 |
5,9 10,1 |
3,0 4,0 |
- |
- |
- |
|
VI |
6,1 15,0 |
8,6 24,0 |
11,3 34,2 |
14,1 48,0 |
15,7 56,6 |
16,9 64,0 |
17,5 67,8 |
17,7 69,0 |
17,3 66,1 |
16,9 64,0 |
15,7 56,6 |
14,1 48,0 |
11,7 36,1 |
8,6 24,0 |
5,7 13,9 |
3,7 8,0 |
|
|
IX |
- |
1,4 2,1 |
3,7 8,0 |
6,1 15,0 |
8,2 22,4 |
10,0 29,5 |
11,3 34,3 |
11,7 36,0 |
11,3 34,3 |
10,0 29,5 |
8,2 22,4 |
6,1 15,0 |
3,2 6,7 |
- |
- |
- |
|
|
XII |
- |
- |
- |
- |
- |
- |
0,0 0,0 |
1,8 1,8 |
0,0 0,0 |
- |
- |
- |
- |
- |
- |
- |
|
Таблица В.4
|
Ориентация поверхности |
Месяц |
Освещенность различно ориентированных вертикальных поверхностей Евя при ясном небе, клк |
||||||||||||||||
|
Суммарная освещенность различно ориентированных вертикальных поверхностей Евсум от ясного неба и солнца, клк |
||||||||||||||||||
|
Время суток, ч |
||||||||||||||||||
|
5 |
6 |
7 |
8 |
9 |
10 |
11 |
12 |
13 |
14 |
15 |
16 |
17 |
18 |
19 |
20 |
|||
|
35 |
С |
III |
- |
- |
- |
6,5 6,5 |
9,8 9,8 |
9,6 9,6 |
11,3 11,3 |
11,8 11,8 |
11,4 11,4 |
10,1 10,1 |
10,1 10,1 |
8,2 8,2 |
3,7 3,5 |
0,2 0,2 |
- |
- |
|
VI |
0,6 4,4 |
5,7 17,1 |
11,2 21,5 |
12,4 15,5 |
13,6 13,6 |
15,1 15,1 |
16,5 16,5 |
16,4 16,4 |
16,5 16,5 |
15,0 15,0 |
13,6 13,6 |
12,4 15,4 |
11,2 21,5 |
5,7 17,1 |
0,6 4,4 |
- |
||
|
IX |
- |
1,2 1,7 |
4,6 4,6 |
9,2 9,2 |
9,4 9,4 |
11,6 11,6 |
13,0 13,0 |
13,1 13,1 |
13,0 13,0 |
11,4 11,4 |
10,0 10,0 |
8,7 8,7 |
4,1 4,1 |
0,2 0,4 |
- |
- |
||
|
XII |
- |
- |
- |
2,3 2,3 |
4,4 4,4 |
7,2 7,2 |
8,5 8,5 |
8,3 8,3 |
8,1 8,1 |
6,8 6,8 |
4,4 4,4 |
2,0 2,0 |
- |
- |
- |
- |
||
|
35 |
СВ |
III |
- |
- |
4,4 18,6 |
10,4 28,7 |
14,4 28,0 |
12,6 14,8 |
12,4 12,4 |
12,0 12,0 |
11,6 11,6 |
10,0 10,0 |
8,5 8,5 |
7,1 7,1 |
3,1 3,1 |
0,2 0,2 |
- |
- |
|
VI |
0,8 8,4 |
8,0 38,4 |
16,0 54,0 |
17,5 53,9 |
17,5 46,7 |
19,6 35,8 |
19,2 46,0 |
17,6 17,6 |
15,3 15,3 |
13,7 13,7 |
11,7 11,7 |
9,4 9,4 |
7,7 7,7 |
3,4 3,4 |
0,4 0,4 |
- |
||
|
IX |
- |
2,0 12,6 |
7,8 3,0 |
14,3 36,0 |
13,9 28,8 |
13,6 26,2 |
13,9 13,9 |
13,1 13,1 |
12,8 12,8 |
10,4 10,4 |
8,6 8,6 |
7,2 7,2 |
3,1 3,1 |
0,2 0,2 |
- |
- |
||
|
XII |
- |
- |
- |
3,2 6,2 |
5,5 5,5 |
8,6 8,6 |
9,4 9,4 |
9,2 9,2 |
8,3 8,3 |
6,7 6,7 |
4,1 4,1 |
2,0 2,0 |
- |
- |
- |
- |
||
|
35 |
В |
III |
- |
- |
5,9 29,4 |
13,7 53,4 |
19,3 61,0 |
16,9 48,9 |
16,2 36,6 |
14,8 17,3 |
12,8 12,8 |
10,3 10,3 |
9,4 9,4 |
7,1 7,1 |
3,1 3,1 |
0,2 0,2 |
- |
- |
|
VI |
0,7 7,8 |
8,2 39,0 |
17,6 61,4 |
21,2 69,4 |
21,3 66,6 |
22,9 57,1 |
23,5 42,0 |
20,4 20,4 |
16,0 16,0 |
13,4 13,4 |
10,9 10,9 |
8,5 8,5 |
7,0 7,0 |
3,1 3,1 |
0,3 0,3 |
- |
||
|
IX |
- |
2,5 16,9 |
10,1 47,0 |
18,3 61,9 |
18,4 61,9 |
17,5 49,9 |
18,2 35,9 |
15,4 15,4 |
13,7 13,7 |
11,1 11,1 |
8,7 8,7 |
7,0 7,0 |
3,1 3,1 |
0,2 0,2 |
- |
- |
||
|
XII |
- |
- |
- |
6,0 23,8 |
9,1 35,3 |
13,4 35,1 |
13,9 25,1 |
12,0 13,0 |
9,5 9,5 |
7,4 7,4 |
4,5 4,5 |
2,0 2,0 |
- |
- |
- |
- |
||
|
35 |
юв |
III |
- |
- |
5,0 24,3 |
13,3 51,1 |
20,9 68,8 |
20,9 68,4 |
19,8 67,3 |
19,2 52,8 |
16,9 36,5 |
13,4 16,8 |
11,8 11,8 |
8,1 8,1 |
3,3 3,3 |
0,2 0,2 |
- |
- |
|
VI |
0,5 2,8 |
6,0 19,6 |
13,8 38,6 |
16,8 48,8 |
18,1 51,2 |
22,1 53,9 |
26,6 50,2 |
24,6 36,5 |
18,5 18,5 |
14,6 14,6 |
11,8 11,8 |
9,1 9,1 |
7,3 7,3 |
3,1 3,1 |
0,6 0,6 |
- |
||
|
IX |
- |
1,9 11,8 |
8,6 38,2 |
17,5 58,0 |
19,4 65,2 |
21,3 67,4 |
21,6 60,4 |
20,2 49,2 |
17,3 30,1 |
13,1 13,1 |
10,2 10,2 |
7,8 7,8 |
3,2 3,2 |
0,2 0,2 |
- |
- |
||
|
XII |
- |
- |
- |
5,9 29,6 |
11,6 50,3 |
17,2 60,2 |
19,1 59,2 |
17,7 50,8 |
15,2 40,3 |
11,0 21,9 |
5,8 20,0 |
2,3 2,3 |
- |
- |
- |
- |
||
|
35 |
Ю |
III |
- |
- |
3,3 7,1 |
9,4 22,5 |
16,3 40,0 |
16,6 48,6 |
19,0 59,0 |
21,7 65,8 |
20,1 61,9 |
17,4 52,6 |
16,5 43,4 |
12,6 29,6 |
5,0 12,0 |
0,2 0,5 |
- |
- |
|
VI |
0,3 0,3 |
3,5 3,5 |
8,9 8,9 |
11,4 11,4 |
14,2 17,9 |
18,4 28,9 |
22,7 38,6 |
28,2 44,1 |
22,7 38,6 |
18,1 27,3 |
14,2 17,9 |
11,4 11,4 |
8,9 8,9 |
3,5 3,5 |
0,3 0,3 |
|
||
|
IX |
- |
1,2 1,2 |
5,4 10,1 |
13,0 26,3 |
14,9 36,9 |
17,4 48,7 |
21,3 59,0 |
23,4 60,6 |
21,1 57,7 |
17,0 46,8 |
15,9 37,3 |
11,6 22,8 |
4,6 7,5 |
0,2 0,2 |
- |
- |
||
|
XII |
- |
- |
- |
4,5 19,4 |
9,4 38,2 |
16,2 55,8 |
19,3 64,6 |
21,8 68,9 |
19,7 64,3 |
15,4 53,5 |
9,3 37,6 |
3,8 17,3 |
- |
- |
- |
- |
||
|
35 |
ЮЗ |
III |
- |
- |
2,3 2,3 |
6,3 6,3 |
10,7 10,7 |
12,4 12,4 |
15,4 29,9 |
18,8 47,9 |
19,8 59,5 |
19,6 65,8 |
20,6 68,5 |
16,6 57,7 |
7,6 34,7 |
0,4 3,8 |
- |
- |
|
VI |
0,3 0,3 |
3,1 3,1 |
7,3 7,3 |
9,1 9,1 |
11,8 11,8 |
15,1 15,1 |
18,5 18,5 |
24,6 35,2 |
26,6 50,2 |
21,9 52,5 |
18,1 51,2 |
16,8 48,8 |
13,8 38,4 |
6,0 196 |
0,5 2,8 |
- |
||
|
IX |
- |
0,9 0,9 |
3,8 3,8 |
8,5 8,5 |
10,5 10,5 |
13,4 13,4 |
17,7 32,9 |
20,4 48,3 |
21,8 61,7 |
20,9 67,3 |
19,8 65,6 |
16,1 55,2 |
7,3 32,2 |
0,4 3,4 |
- |
- |
||
|
XII |
- |
- |
- |
2,6 2,6 |
5,9 8,0 |
11,8 23,8 |
16,0 40,5 |
17,9 51,8 |
18,8 60,0 |
16,5 59,2 |
11,6 50,3 |
5,2 27,1 |
- |
- |
- |
- |
||
|
35 |
З |
III |
- |
- |
2,3 2,3 |
5,4 5,4 |
8,9 8,9 |
9,6 9,6 |
12,0 12,0 |
14,1 14,1 |
16,4 32,4 |
16,6 46,8 |
18,6 59,0 |
16,6 58,2 |
8,5 40,3 |
0,5 6,0 |
- |
- |
|
VI |
0,3 0,3 |
3,1 3,1 |
7,0 7,0 |
8,5 8,5 |
10,9 10,9 |
13,4 13,4 |
16,9 16,9 |
20,4 20,4 |
23,5 40,7 |
23,0 56,0 |
21,3 66,6 |
21,2 69,4 |
17,6 61,4 |
8,2 38,8 |
0,7 7,8 |
- |
||
|
IX |
- |
0,9 0,9 |
3,7 3,7 |
7,5 7,5 |
9,0 9,0 |
11,5 11,5 |
13,8 33,8 |
15,8 17,1 |
18,5 37,5 |
17,6 51,6 |
19,1 62,1 |
17,3 60,2 |
8,8 41,2 |
0,5 5,0 |
- |
- |
||
|
XII |
- |
- |
- |
2,3 2,3 |
4,5 4,5 |
7,9 7,9 |
10,5 10,5 |
12,2 13,2 |
14,5 28,3 |
12,6 34,6 |
9,1 358 |
4,4 22,7 |
- |
- |
- |
- |
||
|
35 |
сз |
III |
- |
- |
2,3 2,3 |
5,5 5,5 |
8,6 8,6 |
9,5 9,5 |
11,1 11,1 |
12,1 12,1 |
12,5 12,5 |
12,6 12,6 |
14,2 23,4 |
12,7 30,4 |
6,4 24,2 |
0,4 3,3 |
- |
- |
|
VI |
0,4 0,4 |
3,4 3,4 |
7,7 7,7 |
9,4 9,4 |
11,7 11,7 |
13,7 13,7 |
15,3 15,3 |
17,6 17,6 |
19,2 21,9 |
19,8 36,7 |
17,5 46,4 |
17,5 53,9 |
16,0 54,0 |
8,0 34,4 |
0,3 7,9 |
- |
||
|
IX |
|
0,9 0,9 |
3,7 3,7 |
7,6 7,6 |
8,9 8,9 |
10,7 10,7 |
12,9 12,9 |
13,2 13,2 |
14,0 14,0 |
13,8 17,3 |
15,1 31,6 |
13,5 36,0 |
6,8 27,9 |
0,4 3,7 |
|
|
||
|
XII |
- |
- |
- |
2,3 2,3 |
4,1 4,1 |
7,1 7,1 |
8,7 8,7 |
9,2 9,2 |
9,1 9,1 |
8,1 8,1 |
5,6 5,6 |
2,9 6,0 |
- |
- |
- |
- |
||
|
45 |
С |
III |
- |
- |
2,0 2,0 |
4,9 4,9 |
8,3 8,3 |
9,5 9,5 |
9,3 9,3 |
9,5 9,5 |
9,4 9,4 |
8,9 8,9 |
8,8 8,8 |
6,3 6,3 |
3,1 3,1 |
- |
- |
- |
|
VI |
3,3 13,0 |
6,6 16,8 |
11,6 18,8 |
11,4 11,4 |
12,3 12,3 |
13,5 13,5 |
14,3 14,3 |
14,8 14,8 |
14,3 14,3 |
13,5 13,5 |
12,3 12,3 |
11,4 11,4 |
10,7 17,6 |
6,6 16,8 |
2,7 11,0 |
- |
||
|
IX |
- |
0,8 1,0 |
4,2 4 |
7,8 7,8 |
9,8 9,8 |
9,5 9,5 |
10,2 10,2 |
10,7 10,7 |
10,2 10,2 |
9,4 9,4 |
9,7 9,7 |
6,9 6,9 |
3,6 3,6 |
0,2 0,4 |
- |
- |
||
|
XII |
- |
- |
- |
0,6 0,6 |
2,6 2,6 |
4 4,3 |
5,0 5,0 |
5,2 5,2 |
5,0 5,0 |
3,8 3,8 |
2,5 2,5 |
0,3 0,3 |
- |
- |
- |
- |
||
|
45 |
СВ |
III |
- |
- |
3,4 15,3 |
7,8 23,0 |
12,2 22,0 |
11,7 11,7 |
10,5 10,5 |
9,6 9,6 |
9,5 9,5 |
8,5 8,5 |
8,0 8,0 |
5,4 5,4 |
2,6 2,6 |
- |
- |
- |
|
VI |
4,4 24,1 |
9,7 42,9 |
16,8 53,1 |
16,8 48,8 |
16,2 37,5 |
17,1 26,1 |
16,3 16,3 |
5,9 15,9 |
13,8 13,8 |
13,1 13,1 |
11,2 11,2 |
8,9 8,9 |
7,6 7,6 |
4,4 4,4 |
1,7 1,7 |
- |
||
|
IX |
- |
1,3 9,2 |
7,1 26,8 |
12,0 30,1 |
14,1 24,0 |
12,1 12,1 |
11,5 11,5 |
11,5 11,5 |
10,2 10,2 |
9,2 9,2 |
8,5 8,5 |
6,0 6,0 |
2,9 2,9 |
0,2 0,2 |
- |
- |
||
|
XII |
- |
- |
- |
0,9 2,2 |
3,3 3,3 |
5,0 5,0 |
5,6 5,6 |
5,7 5,7 |
5,2 5,2 |
3,8 3,8 |
2,5 2,5 |
0,3 0,3 |
- |
- |
- |
- |
||
|
45 |
В |
III |
- |
- |
4,5 147 |
10,7 46,6 |
17,1 55,3 |
17,6 49,3 |
14,5 32,7 |
12,7 34,7 |
11,0 11,0 |
9,6 9,6 |
8,4 8,4 |
5,5 5,5 |
2,6 2,6 |
- |
- |
- |
|
VI |
4,1 22,4 |
10,3 40,8 |
19,1 64,1 |
21,2 69,4 |
19,9 64,2 |
21,1 54,8 |
20,8 39,1 |
17,9 17,9 |
14,9 14,9 |
13,1 13,1 |
11,0 11,0 |
8,6 8,6 |
7,0 7,0 |
3,8 3,8 |
1,5 1,5 |
|
||
|
IX |
- |
1,6 12,6 |
9,3 43,8 |
16,0 57,0 |
18,9 59,3 |
16,2 45,8 |
15,1 38,1 |
13,4 13,4 |
11,7 11,7 |
9,5 9,5 |
9,0 9,0 |
5,9 5,9 |
2,9 2,9 |
0,2 0,2 |
- |
- |
||
|
XII |
- |
- |
- |
1,3 10,0 |
5,7 23,6 |
8,3 20,2 |
8,1 17,2 |
7,3 7,3 |
6,2 6,2 |
4,4 4,4 |
2,5 2,5 |
0,3 0,3 |
- |
- |
- |
- |
||
|
45 |
ЮВ |
III |
- |
3,9 20,9 |
10,7 46,3 |
18,9 63,4 |
22,1 70,3 |
19,0 63,0 |
17,0 51,8 |
15,2 36,8 |
13,1 20,5 |
10,9 10,9 |
6,6 6,5 |
2,7 2,7 |
- |
- |
- |
|
|
VI |
2,9 8,9 |
7,8 25,8 |
15,2 43,2 |
17,5 53,8 |
18,7 58,2 |
22,3 60,6 |
24,2 56,2 |
22,2 41,9 |
18,3 23,6 |
14,5 14,5 |
11,9 11,9 |
9,1 9,1 |
7,3 7,3 |
3,8 3,8 |
1,5 1,5 |
- |
||
|
IX |
- |
1,3 8,9 |
8,2 36,6 |
15,8 56,8 |
21,0 67,8 |
20,4 67,3 |
18,8 61,2 |
17,3 47,5 |
15,4 34,0 |
12,6 14,8 |
11,0 11,0 |
6,7 6,7 |
3,0 3,0 |
0,2 0,2 |
- |
- |
||
|
XII |
- |
- |
- |
1,6 12,5 |
7,4 35,1 |
11,0 48,2 |
12,2 46,7 |
11,7 41,2 |
10,1 30,7 |
6,7 17,6 |
3,4 5,2 |
0,4 0,4 |
- |
- |
- |
- |
||
|
45 |
Ю |
III |
- |
- |
2,6 6,2 |
7,7 22,9 |
14,9 40,6 |
18,3 54,9 |
18,9 63,6 |
20,8 69,3 |
19,3 65,5 |
18,0 56,8 |
16,3 44,4 |
10,4 28,7 |
4,4 11,3 |
- |
- |
- |
|
VI |
1,9 1,9 |
4,7 4,7 |
10,0 10,0 |
12,4 15,6 |
15,0 28,1 |
19,3 39,8 |
22,2 48,1 |
20,6 49,1 |
22,2 48,1 |
19,4 39,9 |
15,0 28,1 |
12,4 15,6 |
9,2 9,1 |
4,7 4,7 |
1,6 1,6 |
- |
||
|
IX |
- |
0,8 0,8 |
5,2 11,5 |
11,7 27,5 |
16,8 42,7 |
17,2 48,8 |
19,2 63,4 |
21,3 67,4 |
19,0 62,3 |
17,0 52,7 |
16,6 42,9 |
10,3 25,3 |
4,3 8,1 |
0,2 0,8 |
- |
- |
||
|
XII |
- |
- |
- |
1,2 8,0 |
6,1 27,5 |
10,4 44,55 |
13,3 53,3 |
14,4 56,4 |
13,2 52,6 |
9,8 43,4 |
5,5 24,7 |
0,6 5,5 |
- |
- |
- |
- |
||
|
45 |
ЮЗ |
III |
- |
- |
1,8 1,8 |
4,8 4,8 |
9,7 9,7 |
13,0 16,0 |
14,4 33,6 |
16,5 48,6 |
18,2 60,4 |
20,7 52,7 |
20,5 66,4 |
13,7 53,4 |
6,5 30,3 |
- |
- |
- |
|
VI |
1,8 1,8 |
3,8 3,8 |
7,8 7,8 |
9,4 9,4 |
11,9 11,9 |
14,4 14,4 |
18,3 23,6 |
22,2 41,9 |
24,2 55,0 |
22,4 60,7 |
18,7 58,2 |
17,0 52,8 |
14,1 41,4 |
7,8 26,4 |
2,5 8,7 |
- |
||
|
IX |
- |
0,6 0,6 |
3,6 3,6 |
7,7 7,7 |
10,9 10,9 |
13,1 18,6 |
15,6 36,4 |
17,6 49,9 |
18,9 62,2 |
20,7 68,3 |
21,1 67,8 |
14,2 52,4 |
6,7 30,8 |
3,0 6,0 |
- |
- |
||
|
XII |
- |
- |
- |
0,7 0,7 |
3,9 6,4 |
7,2 19,1 |
10,2 32,1 |
11,2 42,0 |
12,3 47,7 |
10,3 46,5 |
6,7 32,0 |
0,8 8,7 |
- |
- |
- |
- |
||
|
45 |
З |
III |
- |
- |
1,8 1,8 |
4,2 4,2 |
7,7 7,7 |
9,7 9,7 |
10,4 10,4 |
12,3 12,3 |
14,2 29,5 |
16,4 45,7 |
17,9 54,8 |
13,3 50,2 |
7,0 33,9 |
- |
- |
- |
|
VI |
1,8 1,8 |
3,8 3,8 |
7,4 7,4 |
8,5 8,5 |
11,0 11,0 |
13,1 13,1 |
14,9 14,9 |
17,9 17,9 |
18,7 37,0 |
21,1 54,8 |
19,9 64,2 |
21,0 69,7 |
17,8 62,0 |
10,3 46,8 |
3,5 20,5 |
- |
||
|
IX |
- |
0,6 0,6 |
3,4 3,4 |
6,8 6,8 |
9,1 9,1 |
9,6 9,6 |
11,8 11,8 |
13,7 14,9 |
15,3 32,7 |
16,4 48,4 |
19,1 58,8 |
14,6 54,5 |
0,5 37,8 |
0,5 5,0 |
- |
- |
||
|
XII |
- |
- |
- |
0,6 0,6 |
2,6 2,6 |
4,7 4,7 |
6,3 6,3 |
7,4 8,2 |
8,4 19,0 |
7,7 25,7 |
5,2 21,8 |
0,7 7,0 |
- |
- |
- |
- |
||
|
45 |
СЗ |
III |
- |
- |
1,8 1,8 |
4,2 4,2 |
7,4 7,4 |
8,5 8,5 |
9,3 9,3 |
9,6 9,6 |
9,6 9,6 |
11,0 11,0 |
12,4 17,9 |
9,5 23,3 |
5,3 19,9 |
- |
- |
- |
|
VI |
2,0 2,0 |
4,4 4,4 |
8,2 8,2 |
9,5 9,5 |
11,2 11,2 |
13,1 13,1 |
13,8 13,8 |
15,9 15,9 |
16,3 16,3 |
17,0 24,8 |
16,2 38,7 |
16,2 48,5 |
15,6 51,3 |
9,7 42,9 |
3,6 21,4 |
- |
||
|
IX |
- |
0,6 0,6 |
3,4 3,4 |
6,7 6,7 |
8,6 8,6 |
9,4 9,4 |
10,2 10,2 |
11,6 11,6 |
11,6 10,6 |
12,2 12 |
14,0 24,7 |
10,9 29,6 |
6,1 25,2 |
0,4 3,7 |
- |
- |
||
|
XII |
- |
- |
- |
0,6 0,6 |
2,6 2,6 |
4,1 4,1 |
5,2 5,2 |
5,7 5,7 |
5,7 5,7 |
4,6 4,6 |
3,1 3,1 |
0,5 0,5 |
- |
- |
- |
- |
||
|
55 |
С |
III |
- |
- |
1,4 1,4 |
3,4 3,4 |
5,9 5,9 |
7,5 7,5 |
8,5 8,5 |
8,4 8,4 |
8,6 8,6 |
8,1 8,1 |
6,7 6,7 |
4,4 4,4 |
2,2 2,2 |
- |
- |
- |
|
VI |
5,0 17,0 |
7,7 17,3 |
11,3 13,1 |
11,0 11,0 |
10,9 10,9 |
12,6 12,6 |
13,8 13,8 |
13,5 13,5 |
13,0 13,0 |
12,1 12,1 |
10,9 10,9 |
11,0 11,1 |
11,3 13,1 |
7,3 16,7 |
5,0 17,0 |
- |
||
|
IX |
- |
0,8 1,0 |
3,5 3,5 |
5,9 5,9 |
8,1 8,1 |
9,2 9,2 |
8,6 8,6 |
8,6 8,6 |
8,6 8,6 |
9,1 9,1 |
7,9 7,9 |
5,2 5,2 |
2,9 2,9 |
0,2 0,4 |
- |
- |
||
|
XII |
- |
- |
- |
- |
- |
0,6 0,6 |
1,8 1,8 |
2,4 2,4 |
2,6 2,6 |
2,4 2,4 |
1,8 1,8 |
0,3 0,3 |
- |
- |
- |
- |
||
|
55 |
св |
III |
- |
- |
2,4 12,0 |
5,8 17,2 |
8,0 12,7 |
9,5 9,5 |
9,6 9,6 |
9,4 9,4 |
8,9 8,9 |
7,8 7,8 |
6,2 6,2 |
3,8 3,8 |
2,0 2,0 |
- |
- |
- |
|
VI |
6,9 33,4 |
11,6 45,8 |
16,8 53,7 |
16,4 44,5 |
14,7 29,5 |
14,3 15,5 |
13,8 13,8 |
13,5 13,5 |
13,1 13,1 |
12,1 12,1 |
9,8 9,8 |
9,0 9,0 |
8,4 8,4 |
4,9 4,9 |
3,0 3,0 |
- |
||
|
IX |
- |
1,3 9,2 |
5,9 22,3 |
9,2 23,5 |
11,3 15,8 |
11,2 11,2 |
10,0 10,0 |
9,0 9,0 |
8,6 8,6 |
8,5 8,5 |
7,1 7,1 |
4,4 4,4 |
2,5 2,5 |
0,2 0,2 |
- |
- |
||
|
XII |
- |
- |
- |
- |
0,7 0,7 |
2,0 2,0 |
2,5 2,5 |
2,6 2,6 |
2,5 2,5 |
1,8 1,8 |
0,3 0,3 |
- |
- |
- |
- |
- |
||
|
55 |
В |
III |
- |
- |
3,1 19,9 |
8,0 37,8 |
12,5 45,9 |
14,6 42,1 |
14,9 31,6 |
12,7 14,7 |
10,7 10,7 |
8,7 8,7 |
6,6 6,6 |
3,8 3,8 |
2,0 2,0 |
- |
- |
- |
|
VI |
6,6 31,7 |
12,5 51,9 |
19,9 66,0 |
20,7 68,5 |
18,5 61,5 |
18,8 50,0 |
18,2 36,0 |
15,6 15,6 |
13,8 13,8 |
12,2 12,2 |
9,8 9,8 |
8,5 8,5 |
7,7 7,7 |
4,4 4,4 |
2,6 2,6 |
- |
||
|
IX |
- |
1,6 6,1 |
7,8 32,9 |
12,7 49,2 |
16,6 56,9 |
17,0 48,1 |
14,2 36,6 |
11,8 11,8 |
10,2 10,2 |
9,5 9,5 |
7,5 7,5 |
4,4 4,4 |
2,5 2,5 |
0,2 0,2 |
- |
- |
||
|
XII |
- |
- |
- |
- |
1,2 8,3 |
3,2 12,3 |
3,8 9,2 |
3,5 3,5 |
2,8 2,8 |
1,8 1,8 |
0,3 0,3 |
- |
- |
- |
- |
- |
||
|
55 |
ЮВ |
III |
- |
- |
2,8 17,1 |
8,1 38,7 |
14,3 56,0 |
18,4 63,0 |
19,5 62,1 |
18,2 53,5 |
16,3 40,0 |
12,9 22,0 |
8,5 8,5 |
4,6 4,6 |
2,0 2,0 |
- |
- |
- |
|
VI |
4,7 13,9 |
9,6 30,3 |
16,4 47,8 |
18,1 58,1 |
19,2 63,9 |
21,5 66,2 |
21,6 59,5 |
20,3 50,5 |
17,9 33,2 |
14,2 14,2 |
11,4 11,4 |
9,6 9,6 |
8,3 8,3 |
4,5 4,5 |
2,6 2,6 |
- |
||
|
IX |
- |
1,3 8,9 |
7,0 32,4 |
12,8 51,1 |
19,2 64,6 |
21,1 68,5 |
18,8 61,5 |
16,4 49,6 |
15,8 33,3 |
13,4 19,3 |
9,5 9,5 |
5,2 5,2 |
2,5 2,5 |
0,2 0,2 |
- |
- |
||
|
XII |
- |
- |
- |
- |
1,6 12,5 |
4,3 23,9 |
5,8 27,3 |
5,9 25,3 |
4,9 18,1 |
2,9 8,9 |
0,5 1,3 |
- |
- |
- |
- |
- |
||
|
55 |
Ю |
III |
- |
- |
1,9 5,2 |
5,9 19,55 |
11,3 37,1 |
16,2 52,5 |
19,8 64,0 |
22,1 69,7 |
20,9 66,9 |
17,7 56,5 |
13,0 42,1 |
7,7 25,7 |
3,2 9,0 |
- |
- |
- |
|
VI |
2,9 2,9 |
5,9 5,9 |
10,9 10,9 |
13,7 22,0 |
15,4 36,8 |
18,6 48,6 |
21,4 58,2 |
23,5 62,9 |
21,4 58,2 |
18,9 49,2 |
15,4 36,8 |
13,7 22,0 |
10,9 10,9 |
5,6 5,6 |
2,9 2,9 |
- |
||
|
IX |
- |
0,8 0,8 |
4,5 10,9 |
9,5 26,6 |
15,4 44,1 |
18,8 58,5 |
19,9 66,2 |
21,2 69,3 |
19,7 65,5 |
18,7 57,0 |
14,6 42,1 |
8,3 23,9 |
3,7 7,7 |
0,2 0,2 |
- |
- |
||
|
XII |
- |
- |
- |
- |
1,3 9,7 |
4,2 22,8 |
6,4 31,3 |
7,5 35,3 |
6,4 31,2 |
4,1 22,4 |
0,7 6,9 |
- |
- |
- |
- |
- |
||
|
55 |
ЮЗ |
III |
- |
- |
1,3 1,3 |
3,5 3,5 |
7,0 7,0 |
11,2 18,2 |
15,4 35,6 |
1,5 49,7 |
19,5 60,3 |
19,4 63,2 |
16,2 59,7 |
10,3 46,5 |
4,7 24,1 |
- - |
- - |
- - |
|
VI |
2,6 2,6 |
4,9 4,9 |
8,3 8,3 |
9,6 9,6 |
11,4 11,4 |
13,9 13,9 |
17,9 33,2 |
20,3 48,1 |
21,6 59,5 |
21,9 66,0 |
19,2 63,9 |
18,1 57,3 |
16,4 47,8 |
9,0 29,2 |
4,7 13,9 |
- |
||
|
IX |
- |
0,6 0,6 |
3,0 3,0 |
6,0 6,0 |
10,2 10,2 |
13,8 21,7 |
15,6 39,2 |
16,8 51,8 |
19,2 62,9 |
21,6 69,7 |
18,4 63,0 |
11,4 47,9 |
5,6 26,3 |
0,4 3,4 |
- |
- |
||
|
XII |
- |
- |
- |
- |
0,8 1,8 |
3,0 9,7 |
4,8 18,9 |
6,0 26,1 |
5,8 27,1 |
4,4 24,0 |
0,8 8,7 |
- |
- |
- |
- |
- |
||
|
55 |
З |
III |
- |
- |
1,3 1,3 |
3,1 3,1 |
5,6 5,6 |
7,9 7,9 |
9,9 9,9 |
12,0 12,0 |
14,4 28,0 |
15,3 40,6 |
19,6 45,8 |
9,8 43,4 |
5,0 26,3 |
- |
- |
- |
|
VI |
2,6 2,6 |
4,7 4,7 |
7,7 7,7 |
8,5 8,5 |
9,8 9,8 |
12,7 12,7 |
13,8 13,8 |
15,6 15,6 |
18,2 36,0 |
.16,3 47,7 |
18,5 61,5 |
20,7 68,5 |
19,9 66,0 |
11,8 50,2 |
6,6 31,7 |
- |
||
|
IX |
- |
0,6 0,6 |
2,9 2,9 |
5,1 5,1 |
7,8 7,8 |
9,7 9,7 |
10,5 10,5 |
12,2 14,3 |
15,3 32,8 |
16,9 45,8 |
16,2 52,5 |
11,4 47,9 |
6,5 31,6 |
0,5 5,0 |
|
- |
||
|
XII |
- |
- |
- |
- |
0,6 0,6 |
1,9 1,9 |
2,8 2,8 |
3,6 4,1 |
3,9 9,7 |
3,3 13,0 |
0,6 5,6 |
- |
- |
- |
- |
- |
||
|
55 |
сз |
III |
- |
- |
1,3 1,3 |
3,1 3,1 |
5,3 5,3 |
7,1 7,1 |
8,6 8,6 |
9,2 9,2 |
9,8 9,8 |
9,9 9,9 |
8,9 11,3 |
6,7 18,3 |
3,7 14,9 |
- |
- |
- |
|
VI |
3,0 3,0 |
5,3 5,3 |
8,4 8,4 |
9,0 9,0 |
9,8 9,8 |
12,7 12,7 |
13,1 13,1 |
13,5 13,5 |
13,8 13,8 |
14,6 15,9 |
14,7 29,5 |
16,4 44,5 |
16,8 51,0 |
11,6 45,3 |
6,9 33,2 |
- |
||
|
IX |
- |
0,6 0,6 |
2,9 2,9 |
5,1 5,1 |
7,4 7,4 |
8,6 8,6 |
8,7 8,7 |
9,1 9,1 |
10,0 10,0 |
11,4 11,4 |
11,2 18,2 |
8,2 23,1 |
5,2 20,2 |
3,3 6,6 |
- |
- |
||
|
XII |
- |
- |
- |
- |
0,6 0,6 |
1,8 1,8 |
2,5 2,5 |
2,6 2,6 |
2,5 2,5 |
2,0 2,0 |
0,4 0,4 |
- |
- |
- |
- |
- |
||
|
65 |
С |
III |
- |
- |
0,7 0,7 |
2,6 2,6 |
3,5 3,5 |
4,6 4,6 |
5,4 5,4 |
5,8 5,8 |
5,9 5,9 |
5,2 5,2 |
4,1 4,1 |
2,8 2,8 |
1,4 1,4 |
- |
- |
- |
|
VI |
7,0 22,1 |
8,3 15,3 |
10,5 10,5 |
10,5 10,5 |
9,3 9,3 |
9,9 9,9 |
10,5 10,5 |
10,7 10,7 |
10,2 10,2 |
9,9 9,9 |
9,3 9,3 |
10,5 10,5 |
10,9 10,9 |
8,3 15,3 |
6,5 20,6 |
4,4 18,3 |
||
|
IX |
- |
0,8 1,0 |
2,5 2,5 |
4,0 4,0 |
5,4 5,4 |
6,8 6,8 |
7,5 7,5 |
7,7 7,7 |
7,5 7,5 |
6,8 6,8 |
5,5 5,5 |
4,0 4,0 |
2,2 2,2 |
- |
- |
- |
||
|
XII |
- |
- |
- |
- |
- |
- |
0,1 0,1 |
0,3 0,3 |
0,1 0,1 |
- |
- |
- |
- |
- |
- |
- |
||
|
65 |
СВ |
III |
- |
- |
1,2 7,0 |
4,2 12,2 |
4,8 7,3 |
5,7 5,7 |
6,2 6,2 |
6,3 6,3 |
6,0 6,0 |
5,0 5,0 |
3,8 3,8 |
2,6 2,6 |
1,3 1,3 |
- |
- |
- |
|
VI |
9,5 44,5 |
12,7 47,2 |
15,8 46,7 |
16,2 38,0 |
13,5 23,1 |
12,6 12,6 |
11,9 11,9 |
11,6 11,6 |
10,2 10,2 |
9,8 9,8 |
8,9 8,9 |
9,1 9,1 |
8,3 8,3 |
5,9 5,9 |
3,8 3,8 |
2,5 2,5 |
||
|
IX |
- |
1,3 9,2 |
4,3 16,8 |
6,4 17,7 |
7,0 9,3 |
8,3 8,3 |
8,5 8,5 |
8,3 8,3 |
7,6 7,6 |
6,6 6,6 |
4,9 4,9 |
3,7 3,7 |
2,0 2,0 |
- |
- |
- |
||
|
XII |
- |
- |
- |
- |
- |
- |
0,1 0,1 |
0,3 0,3 |
0,1 0,1 |
- |
- |
- |
- |
- |
- |
- |
||
|
65 |
В |
III |
- |
- |
1,5 7,0 |
6,0 28,9 |
7,8 34,2 |
9,3 31,4 |
9,3 21,7 |
8,2 10,6 |
7,2 7,2 |
5,7 5,7 |
4,1 4,1 |
2,6 2,6 |
1,3 1,3 |
- |
- |
- |
|
VI |
9,3 43,4 |
14,2 55,6 |
19,2 65,0 |
21,0 66,0 |
17,8 59,0 |
16,6 47,4 |
15,6 33,2 |
13,5 13,5 |
11,7 11,7 |
10,0 10,0 |
9,1 9,1 |
8,9 8,9 |
7,7 7,7 |
5,3 5,3 |
3,4 3,4 |
2,3 2,3 |
||
|
IX |
- |
1,6 12,6 |
5,8 29,1 |
9,2 42,2 |
11,3 41,7 |
12,8 36,3 |
12,8 24,4 |
10,9 10,9 |
9,0 9,0 |
7,3 7,3 |
5,3 5,3 |
3,7 3,7 |
2,0 2,0 |
- |
- |
- |
||
|
XII |
- |
- |
- |
- |
- |
- |
0,2 0,2 |
0,4 0,4 |
0,2 0,2 |
- |
- |
- |
- |
- |
- |
- |
||
|
65 |
ЮВ |
III |
- |
- |
1,4 10,7 |
6,3 30,6 |
9,5 44,4 |
12,0 50,9 |
13,2 50,5 |
12,8 44,2 |
11,4 33,7 |
8,5 19,1 |
5,4 5,4 |
3,1 3,1 |
1,3 1,3 |
- |
- |
- |
|
VI |
6,7 19,9 |
11,1 35,6 |
16,2 50,6 |
19,3 62,5 |
19,8 66,3 |
20,6 67,8 |
19,0 61,8 |
17,5 49,8 |
15,4 34,0 |
12,6 12,6 |
10,9 10,9 |
10,1 10,1 |
8,4 8,4 |
5,6 5,6 |
3,4 3,4 |
2,3 2,3 |
||
|
IX |
- |
1,3 8,9 |
5,2 25,5 |
9,6 45,2 |
13,3 54,2 |
16,6 59,3 |
17,4 57,3 |
16,4 47,8 |
14,1 34,2 |
10,2 16,9 |
6,7 6,7 |
4,2 4,2 |
2,0 2,0 |
- |
- |
- |
||
|
XII |
- |
- |
- |
- |
- |
- |
0,3 0,3 |
0,6 5,1 |
0,2 0,2 |
- |
- |
- |
- |
- |
- |
- |
||
|
65 |
ю |
III |
- |
- |
1,0 3,5 |
4,6 16,4 |
7,4 30,1 |
10,8 43,6 |
13,8 53,5 |
15,3 57,7 |
14,9 56,0 |
12,4 48,3 |
8,7 35,7 |
5,2 19,4 |
2,0 6,7 |
- |
- |
- |
|
VI |
4,1 4,1 |
6,9 6,9 |
10,9 12,7 |
15,1 30,2 |
15,2 41,2 |
17,4 53,1 |
19,1 62,9 |
21,3 67,4 |
19,0 62,3 |
17,4 53,1 |
15,2 41,2 |
15,1 302 |
4,3 13,1 |
6,9 6,9 |
3,8 3,8 |
2,3 2,3 |
||
|
IX |
- |
0,8 0,8 |
3,5 8,9 |
7,1 23,4 |
10,8 39,0 |
15,3 52,9 |
18,5 62,6 |
19,9 66,0 |
18,1 61,2 |
15,1 51,1 |
10,6 37,6 |
7,0 22,7 |
3,1 7,7 |
- |
- |
- |
||
|
XII |
- |
- |
- |
- |
- |
- |
0,3 0,3 |
0,8 8,6 |
0,3 0,3 |
- |
- |
- |
- |
- |
- |
- |
||
|
65 |
юз |
III |
- |
- |
0,6 0,6 |
2,8 2,8 |
4,4 4,4 |
7,0 15,0 |
10,5 29,5 |
12,3 41,3 |
13,8 50,1 |
13,1 52,5 |
10,9 49,0 |
7,0 33,7 |
2,9 17,9 |
- |
- |
- |
|
VI |
3,7 3,7 |
5,6 5,6 |
8,0 8,0 |
10,1 10,1 |
10,9 10,9 |
13,4 18,0 |
15,7 34,5 |
17,5 49,8 |
18,9 62,2 |
20,6 67,8 |
19,8 66,3 |
19,3 62,5 |
16,8 51,0 |
11,1 34,9 |
6,3 19,2 |
3,3 7,1 |
||
|
IX |
- |
0,6 0,6 |
2,3 2,3 |
4,2 4,2 |
6,7 6,7 |
10,7 20,8 |
14,5 37,8 |
16,8 51,0 |
17,6 58,7 |
16,8 60,3 |
13,6 54,2 |
9,5 44,5 |
4,6 232 |
- |
- |
- |
||
|
XII |
- |
- |
- |
- |
- |
- |
0,3 7,3 |
0,7 7,0 |
0,3 0,3 |
- |
- |
- |
- |
- |
- |
- |
||
|
65 |
З |
III |
- |
- |
0,6 0,6 |
2,5 2,5 |
3,4 3,4 |
4,9 4,9 |
6,6 6,6 |
7,7 7,7 |
9,5 20,7 |
10,0 29,9 |
8,7 35,2 |
6,5 30,6 |
3,1 19,6 |
- |
- |
- |
|
VI |
3,7 3,7 |
5,3 5,3 |
7,3 7,3 |
8,9 8,9 |
9,1 9,1 |
10,0 10,0 |
11,9 1,9 |
13,5 13,5 |
15,3 32,7 |
16,6 47,4 |
17,8 59,0 |
20,1 66,0 |
19,9 66,4 |
14,2 55,6 |
8,7 40,6 |
5,0 24,3 |
||
|
IX |
- |
0,6 0,6 |
2,3 2,3 |
3,7 3,7 |
5,3 5,3 |
7,4 7,4 |
9,3 9,3 |
11,3 13,1 |
13,3 28,3 |
13,1 38,7 |
11,5 43,0 |
9,3 42,7 |
5,1 26,7 |
- |
- |
- |
||
|
XII |
- |
- |
- |
- |
- |
- |
0,1 0,1 |
0,5 2,0 |
0,2 0,2 |
- |
- |
- |
- |
- |
- |
- |
||
|
65 |
СЗ |
III |
- |
- |
0,6 0,6 |
2,5 2,5 |
3,4 3,4 |
4,3 4,3 |
5,5 5,5 |
6,2 6,2 |
6,5 6,5 |
6,2 6,2 |
5,4 5,4 |
4,4 11,7 |
2,3 10,6 |
- |
- |
- |
|
VI |
4,1 4,1 |
5,9 5,9 |
7,9 7,9 |
9,1 9,1 |
8,9 8,9 |
9,8 9,8 |
10,6 10,6 |
11,6 11,6 |
19,9 19,9 |
12,6 17,2 |
13,5 24,2 |
16,2 38,9 |
16,4 47,8 |
12,7 47,2 |
8,8 41,5 |
5,9 29,4 |
||
|
IX |
- |
0,6 0,6 |
2,3 2,3 |
3,7 3,7 |
4,9 4,9 |
6,7 6,7 |
7,7 7,7 |
8,4 8,4 |
8,6 8,6 |
8,5 8,5 |
7,2 11,0 |
6,6 19,8 |
3,7 15,9 |
- |
- |
- |
||
|
XII |
- |
- |
- |
- |
- |
- |
0,1 0,1 |
0,3 0,3 |
0,1 0,1 |
- |
- |
- |
- |
- |
- |
- |
||
(обязательное)
Ап - освещаемая площадь пола помещения, м2;
Ао - площадь светового проема окна, м2;
Ас.о - суммарная площадь световых проемов окон, м2;
Аф - площадь светового проема фонаря, м2;
Ас.ф - суммарная площадь световых проемов фонарей, м2;
а - длина здания, м;
bп - ширина помещения, м;
h - высота помещения, м;
dп - глубина помещения, м;
аф - длина светового проема фонаря, м;
bф - ширина светового проема фонаря, м;
bo - ширина светового проема окна, м;
hо - высота светового проема окна, м;
bс.о - суммарная ширина световых проемов окон, м;
bс.п - суммарная ширина световых проемов окон в помещении с учетом простенков между ними, м;
Hр - расчетная высота здания, противостоящего исследуемому;
hпд - высота подоконника, м;
h01 - высота верхней грани светового проема над уровнем условной рабочей поверхности, м;
h02 - высота верхней грани светового проема над уровнем пола, м;
hp - расчетная высота от условной рабочей поверхности до выходного отверстия фонаря, м;
hф - расчетная высота от условной рабочей поверхности до нижней грани остекления фонаря, м;
hс.ф - высота светопроводной шахты фонаря, м;
аэ - эквивалентная длина противостоящего здания, м;
bф - средняя относительная яркость фасадов противостоящих зданий;
Сэ - перспективная цена электрической энергии, руб/(кВт×ч);
Ст - перспективная цена тепловой энергии, руб/(кВт×ч);
dф - шаг установки фонарей, м;
kф - коэффициент, принимаемый в зависимости от типа фонаря;
Е - освещенность, лк;
Ев - освещенность в вертикальной плоскости, лк;
Ег - освещенность в горизонтальной плоскости, лк;
Ер.п - освещенность рабочей поверхности, лк;
Ек - уровень нормированной освещенности при системе комбинированного освещения, лк;
Екр - критическая наружная освещенность, лк;
Емакс - максимальная освещенность, лк;
Емин - минимальная освещенность, лк;
Ен - нормируемая освещенность, лк;
Ео - освещенность от общего освещения, лк;
Еср - средняя освещенность, лк;
е - коэффициент естественной освещенности КЕО, %;
ен - нормированный коэффициент естественной освещенности, %;
eN - нормированный коэффициент естественной освещенности с учетом светоклиматических особенностей места расположения зданий;
ер - расчетный коэффициент естественной освещенности, %;
еср - расчетный средний коэффициент естественной освещенности, %;
iп - индекс помещения;
iф - индекс светового проема фонаря;
Н - высота здания от нулевой отметки, м;
Нр - расчетная высота затеняющего здания (от уровня пола исследуемого помещения до затеняющих элементов экранирующего здания), м;
Кс.п - относительная ширина световых проемов, равная отношению суммарной ширины световых проемов окон к ширине помещения;
К1 - коэффициент, зависящий от типа заполнения светопроема;
К2 - поправочный коэффициент, зависящий от размеров помещения;
Кс - коэффициент светопередачи;
КЗД - коэффициент, учитывающий изменения внутренней отраженной составляющей КЕО в помещении при наличии противостоящих зданий;
Кз - расчетный коэффициент, учитывающий снижение КЕО и освещенности в процессе эксплуатации вследствие загрязнения и старения светопрозрачных заполнений в световых проемах, а также снижение отражающих свойств поверхностей помещения;
l - расстояние между зданиями (наружными плоскостями стен зданий), м;
l1 - ширина пролета здания, м;
lT - расстояние от внутренней поверхности стены со светопроемом до расчетной точки, м;
lэ - расстояние от окна исследуемого помещения до фасада эквивалентного здания, м;
mN - коэффициент светового климата;
Ф - световой поток, лм;
Фл - световой поток источника света, лм;
b - коэффициент яркости;
r - коэффициент отражения отделочного материала;
rср - средневзвешенный коэффициент отражения внутренних поверхностей помещения;
rф - средневзвешенный коэффициент отражения фасада здания;
sпр - прямая составляющая КЕО;
sотр - отраженная составляющая КЕО;
eб - геометрический коэффициент естественного освещения, учитывающий прямой свет от неба при боковом освещении;
eЗД - геометрический коэффициент естественного освещения, учитывающий свет, отраженный от противостоящего здания;
tо - общий коэффициент пропускания света;
eВ - геометрический КЕО в расчетной точке при верхнем освещении;
eср - среднее значение геометрического КЕО при верхнем освещении.
Ключевые слова: естественное освещение, совмещенное освещение, проектирование, жилые и общественные здания